УСТРОЙСТВО ОПОЗНАВАНИЯ ОЛОВЯННОЙ ПОВЕРХНОСТИ ФЛОАТ-СТЕКЛА Российский патент 2013 года по МПК G01N21/64 G01N21/29 

Описание патента на изобретение RU2497103C2

Область техники:

Настоящее изобретение относится к технологии оптического обнаружения для флоат-стекла (термополированного стекла), особенно к устройству опознавания оловянной поверхности флоат-стекла.

Уровень техники:

В настоящее время процесс формования флоат-стекла выполняют в оловянной ванне, в которую подают защитный газ, конкретно следующим образом: расплавленное стекло непрерывно стекает в оловянную ванну из бака стеклоплавильной печи и растекается по поверхности расплавленного олова с большой относительной плотностью, и под воздействием силы тяжести и поверхностного натяжения расплавленное стекло распространяется, становится плоским, затвердевает и охлаждается на поверхности расплавленного олова, а затем подвергается отжигу и другим операциям для получения плоского стеклянного продукта. В вышеуказанном процессе формования флоат-стекла стекло, расплавленное при высокой температуре растекается по расплавленному олову, поэтому некоторое количество олова будет впитываться в нижнюю поверхность стекла, превращая одну поверхность стекла в оловянную поверхность.

Поверхность флоат-стекла, впитывающая олово, имеет много характеристик, способных влиять на дальнейшую глубокую обработку флоат-стекла, такую как трафаретная печать, нанесение мембранных покрытий, рельефное старение и плоскостное старение на большой площади, поэтому очень важно точно определить оловянную поверхность флоат-стекла.

Олово в оловянной поверхности флоат-стекла существует в трех формах валентности, Sn0, Sn2+ и Sn4+. Элемент олова создает состояние возбуждения после поглощения надлежащего количества световой энергии. Состояние возбуждения, которое нестабильное, будет быстро убывать до основного состояния. И переход от состояния возбуждения в основное состояние обычно сопровождается излучением фотонов, т.е., явлением фотолюминесценции. Люминесцентное излучение относится к явлению фотолюминесценции молекул.

В настоящее время тиратрон с горячим катодом, излучающий ультрафиолетовый свет, устанавливают в имеющиеся в продаже устройства опознавания оловянной поверхности флоат-стекла. При практическом применении устройство опознавания оловянной поверхности излучает свет вверх из пространство под флоат-стеклом, тиратрон с горячим катодом в устройстве опознавания оловянной поверхности излучает ультрафиолетовый свет, и в соответствии с явлением ультрафиолетовой фотолюминесценции элемента олова в флоат-стекле, если поверхность, плотно прилегающая к устройству опознавания оловянной поверхности, является оловянной поверхностью флоат-стекла, то оловянная поверхность после облучения ультрафиолетовым светом вызывает ультрафиолетовую фотолюминесценцию белого люминесцентного излучения, и белое люминесцентное излучение видимо для глаз человека, смотрящего вниз с верхней поверхности стекла; а если поверхность, плотно прилегающая к устройству опознавания оловянной поверхности, не является оловянной поверхностью флоат-стекла, такая оловянная поверхность не будет вызывать ультрафиолетовую фотолюминесценцию, и белое люминесцентное излучение не будет видимым для глаз человека.

Хотя существующее устройство опознавания оловянной поверхности имеет определенный эффект обнаружения, излучение ультрафиолетового света тиратроном с горячим катодом сопровождается видимым светом, который может вызывать помехи, так что оловянная поверхность создает эффект вполне неочевидного белого люминесцентного излучения, и детектору возможно потребуется длительное время, чтобы определить, создано ли белое люминесцентное излучение, в результате этого эффективность обнаружения резко снижается, и кроме того, из-за вреда ультрафиолетового света для организма человека, длительное наблюдение будет отрицательно влиять на физическое состояние детектора. Более того, процесс создания белого люминесцентного излучения путем облучения ультрафиолетовым светом оловянной поверхности является преходящим, так что влияние детектора на результат обнаружения будет увеличиваться, если наблюдение проводят несвоевременно.

Раскрытие изобретения:

Соответственно, цель настоящего изобретения главным образом заключается в том, чтобы предложить устройство опознавания оловянной поверхности флоат-стекла, которое может повысить эффект и эффективность опознавания оловянной поверхности флоат-стекла.

Для того, чтобы достигнуть вышеуказанной цели, техническое решение настоящего изобретения реализовано следующим образом.

Настоящее изобретение предлагает устройство опознавания оловянной поверхности флоат-стекла, включающее: наружную оболочку, газоразрядную лампу и источник электропитания, причем газоразрядная лампа и источник электропитания расположены внутри наружной оболочки, окно облучения установлено на наружной оболочке в соответствии с положением газоразрядной лампы, и отметка, поглощающая ультрафиолетовый свет, расположена на внутренней или наружной поверхности окна облучения.

Кроме того, газоразрядной лампой является тиратрон с горячим катодом или тиратрон с холодным катодом или лампа ультрафиолетового света.

Кроме того, газоразрядная лампа может иметь любую форму.

Кроме того, между газоразрядной лампой и окном облучения расположен светофильтр.

Кроме того, метка, поглощающая ультрафиолетовый свет, расположена на внутренней или наружной поверхности светофильтра.

Кроме того, метка, поглощающая ультрафиолетовый свет, расположена на внутренней поверхности окна облучения.

Кроме того, метка расположена таким образом путем печати, связывания, нанесения покрытия или травления.

Кроме того, метка может быть любой формы, включая цифру, символ, букву, число и их сочетание.

Метка, поглощающая ультрафиолетовый свет, расположена на устройстве опознавания настоящего изобретения и во время использования устройства, из-за отсутствия облучения ультрафиолетовым светом, оловянная поверхность, соответствующая положению метки, не излучает белого люминесцентного излучения, когда устройство опознавания оловянной поверхности облучает оловянную поверхность флоат-стекла и, поэтому, становится темной, чтобы быть в резком контрасте с областью окружающей, излучающей ультрафиолетовый свет оловянной поверхностью, которая излучает белое люминесцентное излучение, следовательно пользователь может видеть метку, расположенную непосредственно на флоат-стекле, чтобы получать более очевидный эффект опознавания оловянной поверхности; кроме того, таким образом можно избежать использования светофильтра путем устранения влияния видимого света на результат опознавания, что приводит к упрощению конструкции всего устройства и снижению расходов.

В настоящем изобретении вместо традиционного тиратрона с горячим катодом может быть принят тиратрон с холодным катодом, и срок службы устройства опознавания оловянной поверхности может быть намного продлен из-за длительного срока службы тиратрона с холодным катодом. Кроме того, светофильтр, расположенный на наружной оболочки устройства опознавания оловянной поверхности, способен отклонять и поглощать видимый свет, излучаемый тиратроном с холодным катодом, таким образом делая более очевидным эффект белого люминесцентного излучения, формируемого оловянной поверхностью.

Краткое описание чертежей:

ФИГ.1 - вид спереди части наружной оболочки внутренней основной конструкции устройства опознавания оловянной поверхности в соответствии с настоящим изобретением;

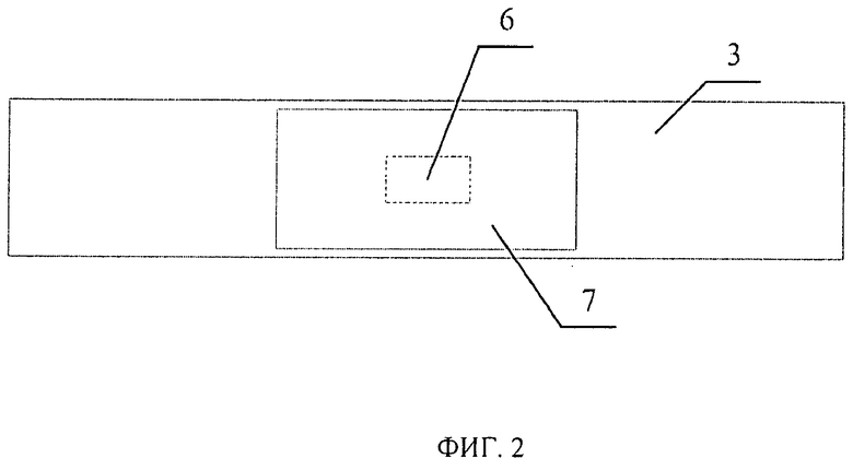
ФИГ.2 - вид снаружи спереди стороны с установленным светофильтром наружной оболочки устройства опознавания оловянной поверхности в соответствии с настоящим изобретением.

Подробное описание:

Настоящее изобретение основано на той основной концепции, что метка, поглощающая ультрафиолетовый свет, расположена на устройство опознавания, и, из-за отсутствия облечения ультрафиолетовым светом, оловянная поверхность, соответствующая положению метки, не излучает белое люминесцентное излучение и, поэтому, становится темной, чтобы быть в резком контрасте с область окружающей, излучающей ультрафиолетовый свет оловянной поверхностью, которая излучает белое люминесцентное излучение, следовательно пользователь может видеть метку, расположенный непосредственно на флоат-стекле, чтобы получать более очевидный эффект опознавания оловянной поверхности.

Дальнейшее подробное описание настоящего изобретения приведено ниже со ссылками на чертежи и варианты осуществления.

На ФИГ.1 приведен вид спереди части наружной оболочки и внутренняя основная конструкция устройства опознавания оловянной поверхности в соответствии с настоящим изобретением, показанным на ФИГ.1, наружная оболочка 3 устройства опознавания оловянной поверхности настоящего изобретения в основном содержит внутри: печатную плату 2, литиевый аккумулятор 1, расположенный на печатной плате 2, тиратрон с холодным катодом 5 и т.д.; и светофильтр 7 расположен на наружной оболочки 3, соответствуя положению тиратрона с холодным катодом 5. Тиратрон с холодным катодом 5 может быть произвольно изогнут для придания любой формы.

При практическом применении тиратрон с холодным катодом 5 получает электропитания от литиевого аккумулятора 1 через задающее устройство и затем излучает ультрафиолетовый свет, сопровождаемый небольшим количеством видимого света, светофильтр 7 может отклонять и поглощать видимый свет, излучаемый тиратроном с холодным катодом 5, так что только ультрафиолетовый свет облучает флоат-стекло в конечном итоге. То есть, когда устройство опознавания оловянной поверхности настоящего изобретения используют для опознавания оловянной поверхности флоат-стекла, поверхность определяется как оловянная поверхность, если свет, облучающий флоат-стекло, является белым люминесцентным излучением на основании наблюдения; в ином случае поверхность не является оловянной поверхностью.

Одна сторона наружной оболочки 3 устройства опознавания оловянной поверхности настоящего изобретения снабжена индикатором включения 4, и, когда тиратрон с холодным катодом 5 получает электропитание от литиевого аккумулятора 1, а именно, когда устройство опознавания оловянной поверхности используется, индикатор включения 4 светится.

Также, метка, поглощающая ультрафиолетовый свет 6, может быть расположена таким образом, чтобы плотно прилегать к внутренней стороне светофильтра 7, форма метки 6 может быть произвольно изменена, например, могут быть приняты такие формы как цифра, символ, буква и число; метка 6 может быть нанесена путем печати, связывания, нанесения покрытия или травления и т.д. Для того, чтобы сделать использование более удобным, метка 6 обычно расположена в центре светофильтра 7. Помимо этого, для снижения себестоимости, окно облучения может быть не снабжено светофильтром 7, и вместо этого можно использовать стеклянный лист для замены светофильтра или расположить светофильтр таким образом, чтобы он плотно прилегал к внутренней поверхности стеклянного листа, и метка 6 может быть соответственно расположена на внутренней или наружной поверхности стеклянного листа.

На ФИГ.2 приведен вид снаружи спереди стороны с установленным светофильтром наружной оболочки устройства опознавания оловянной поверхности в соответствии с настоящим изобретением, при практическом применении ультрафиолетовый свет, излучаемый тиратроном с холодным катодом 5, проходит через светофильтр 7, видимый свет, излучаемый тиратроном с холодным катодом 5 отклоняется и поглощается светофильтром 7; метка 6 поглощает ультрафиолетовый свет, излучаемый тиратроном с холодным катодом 5, т.е., светофильтр 7 не излучает ультрафиолетовый свет, соответствующий положению, где расположена метка 6. В этом случае, из-за отсутствия излучения ультрафиолетового света, оловянная поверхность, соответствующая положению метки 6, не излучает белого люминесцентного излучения, когда устройство опознавания оловянной поверхности облучает оловянную поверхность флоат-стекла и, поэтому, становится темной, чтобы быть в резком контрасте с областью окружающей, излучающей ультрафиолетовый свет оловянной поверхности, которая излучает белое люминесцентное излучение, следовательно достигается более очевидный эффект опознавания оловянной поверхности. Кроме того, литиевый аккумулятор в этом варианте осуществления также может быть заменен другими доступными типами аккумуляторных батарей, и тиратрон с холодным катодом может быть заменен другими доступными типами ламп ультрафиолетового света.

Выше описано то, что просто является предпочтительным вариантом осуществления настоящего изобретения, но не ограничением объема настоящего изобретения, и любые модификации, эквивалентные альтернативы и усовершенствования, не нарушающие сущность и принцип настоящего изобретения, должны рассматриваться как находящиеся в пределах объема настоящего изобретения.

Похожие патенты RU2497103C2

название год авторы номер документа
СВЕТОВОЙ ПРИБОР 1992
  • Федоренко А.С.
  • Горюнов В.А.
  • Прытков А.А.
  • Лавренко Л.М.
  • Федоренко Р.А.
  • Казарбина Т.В.
  • Федоренко Д.А.
RU2054139C1
КОЛПАК ЛАМПЫ И СВЕТОДИОДНАЯ ЛАМПА С ТАКИМ КОЛПАКОМ 2010
  • Нгуйен Тхе Тран
  • Хе Юнчжи
  • Си Френк
RU2480671C1
ИСТОЧНИК СВЕТА 1992
  • Федоренко А.С.
  • Федоренко Д.А.
  • Федоренко Р.А.
  • Лавренко Л.М.
  • Горюнов В.А.
RU2065639C1
ИСТОЧНИК УЛЬТРАФИОЛЕТОВОГО ИЗЛУЧЕНИЯ 1993
  • Солдатченков В.С.
  • Вольнов В.А.
RU2083022C1
ЛЮМИНЕСЦЕНТНЫЙ ФОТОГАЛЬВАНИЧЕСКИЙ ГЕНЕРАТОР И ВОЛНОВОД ДЛЯ ИСПОЛЬЗОВАНИЯ В ФОТОГАЛЬВАНИЧЕСКОМ ГЕНЕРАТОРЕ 2009
  • Ронда Корнелис Р.
  • Де Бур Дирк К. Г.
RU2515182C2
ИЗЛУЧАЮЩАЯ ПОЛЯРИЗОВАННЫЙ СВЕТ ЛЕЧЕБНАЯ ЛАМПА ДЛЯ РУЧНОГО ПРИМЕНЕНИЯ 1995
  • Боллетер Хейнц
RU2136332C1
ОСВЕТИТЕЛЬ ДЛЯ ФОТООТВЕРЖДЕНИЯ И ФОТОПОЛИМЕРИЗАЦИИ КОМПОЗИТНЫХ МАТЕРИАЛОВ 1992
  • Быкова Н.М.
  • Локтев В.Г.
  • Трошкин С.В.
RU2044524C1
Способ снижения зрительного напряжения 2023
  • Вилисов Денис Викторович
RU2819365C1
ГАЗОРАЗРЯДНЫЙ ИСТОЧНИК УЛЬТРАФИОЛЕТОВОГО ИЗЛУЧЕНИЯ ИЛИ ОЗОНА 2004
  • Рахимов Александр Турсунович
  • Саенко Владимир Борисович
RU2285311C2
Бактерицидный облучатель с функцией осветителя 2021
  • Сысун Виктор Викторович
  • Хорошева Татьяна Николаевна
RU2755078C1

Иллюстрации к изобретению RU 2 497 103 C2

Реферат патента 2013 года УСТРОЙСТВО ОПОЗНАВАНИЯ ОЛОВЯННОЙ ПОВЕРХНОСТИ ФЛОАТ-СТЕКЛА

Изобретение относится к технологии оптического обнаружения для флоат-стекла (термополированного стекла), особенно к устройству опознавания оловянной поверхности флоат-стекла. Устройство включает наружную оболочку, газоразрядную лампу, излучающую ультрафиолетовый свет, и источник электропитания. Газоразрядная лампа и источник электропитания расположены внутри наружной оболочки. Окно облучения установлено на наружной оболочке, соответствуя положению газоразрядной лампы. Метка, поглощающая ультрафиолетовый свет, расположена на внутренней или наружной поверхности окна облучения или на внутренней или наружной поверхности светофильтра. Устройство позволяет повысить эффективность опознавания оловянной поверхности флоат-стекла. 2 н. и 6 з.п. ф-лы, 2 ил.

Формула изобретения RU 2 497 103 C2

1. Устройство опознавания оловянной поверхности флоат-стекла, включающее: наружную оболочку, газоразрядную лампу, излучающую ультрафиолетовый свет, и источник электропитания, причем газоразрядная лампа и источник электропитания расположены внутри наружной оболочки, окно облучения установлено на наружной оболочке, соответствуя положению газоразрядной лампы, и отличающееся тем, что метка, поглощающая ультрафиолетовый свет, расположена на внутренней или наружной поверхности окна облучения.

2. Устройство опознавания оловянной поверхности флоат-стекла по п.1, отличающееся тем, что газоразрядной лампой является тиратрон с горячим катодом или тиратрон с холодным катодом или лампа ультрафиолетового света.

3. Устройство опознавания оловянной поверхности флоат-стекла по п.1, отличающееся тем, что газоразрядная лампа может иметь любую форму.

4. Устройство опознавания оловянной поверхности флоат-стекла по п.1, отличающееся тем, что метка расположена таким образом путем печати, связывания, нанесения покрытия или травления.

5. Устройство опознавания оловянной поверхности флоат-стекла по п.4, отличающееся тем, что метка может иметь любую форму, включая цифру, символ, букву, число и их сочетание.

6. Устройство опознавания оловянной поверхности флоат-стекла, включающее: наружную оболочку, газоразрядную лампу, излучающую ультрафиолетовый свет, и источник электропитания, причем газоразрядная лампа и источник электропитания расположены внутри наружной оболочки, окно облучения установлено на наружной оболочке, соответствуя положению газоразрядной лампы, и отличающееся тем, что метка, поглощающая ультрафиолетовый свет, расположена на внутренней или наружной поверхности светофильтра.

7. Устройство опознавания оловянной поверхности флоат-стекла по п.6, отличающееся тем, что метка расположена таким образом путем печати, связывания, нанесения покрытия или травления.

8. Устройство опознавания оловянной поверхности флоат-стекла по п.7, отличающееся тем, что метка может иметь любую форму, включая цифру, символ, букву, число и их сочетание.

Документы, цитированные в отчете о поиске Патент 2013 года RU2497103C2

JP 2001318056 А, 16.11.2001
US 4323785 А, 06.04.1982
Устройство для испытания предметов посредством освещения их ультрафиолетовыми лучами 1926
  • Ф. Гирард
SU5216A1
CN 201262614 Y, 24.06.2009.

RU 2 497 103 C2

Авторы

Цханг Цхемин

Даты

2013-10-27Публикация

2011-04-12Подача