ШИП ДЛЯ ШИН Российский патент 2015 года по МПК B60C11/16 

Описание патента на изобретение RU2554035C2

Область техники, к которой относится изобретение

Данное изобретение относится к шипу для шин, который может обеспечить увеличенную силу сцепления (сцепление при движении по льду) и уменьшение веса.

Уровень техники

Шипы для шин, каждый из которых имеет штифт в форме круглого или прямоугольного цилиндра, известны среди шипов для шин, каждый из которых имеет колоннообразный корпус, предназначенный для крепления к поверхности протектора шины, с его одним концом, расположенным в направлении вдоль его центральной оси, вставляемым в отверстие определенной глубины, образованное в поверхности протектора, и со штифтом, выступающим вдоль его центральной оси с другого конца колоннообразного корпуса в направлении вдоль его центральной оси.

Патентные документы

Патентный документ 1: Публикация нерассмотренной патентной заявки в Японии №2010-95212

Патентный документ 2: EP 1798069 A2

Патентный документ 3: WO 2009/068744 A12

Патентный документ 4: RU 2280564 C1

Раскрытие изобретения

Для улучшения характеристик сцепления при движении по льду шипованных шин, имеющих шипы, прикрепленные к поверхности протектора, считается эффективным, что сила сцепления штифтов с поверхностью льда увеличивается при увеличении выступающего компонента кромки (эквивалентной максимальной ширине штифта) за счет увеличения диаметра штифта шипа шины. Однако вес шипа для шин регулируется таким образом, чтобы он был равен указанному весу или ниже его (например, 1,1 г). Следовательно, существует предел увеличения диаметра штифта, если необходимо удовлетворить требования ограничения веса.

Вышеупомянутый выступающий компонент кромки штифта может быть увеличен, когда шип изготовлен в форме цилиндра круглого сечения. Таким образом, предпочтительно, чтобы шип был выполнен в форме цилиндра круглого сечения, чтобы позволить увеличить выступающий компонент кромки и в то же время ограничить вес штифта.

Однако малое усилие проникновения штифта в поверхность льда может представлять собой проблему, которая возникает, когда штифт имеет форму цилиндра круглого сечения, потому что круглая граничная линия между круглой торцевой гранью и периферийной (наружной) поверхностью штифта не имеет каких-либо углов (вершин, образованных тремя или большим числом поверхностей).

С другой стороны, проблема, которая возникает, когда шип имеет форму прямоугольного цилиндра с треугольным, квадратным или другим поперечным сечением, заключается в невозможности увеличить выступающий компонент кромки и в то же время ограничить вес штифта, в отличие от того, когда штифт имеет форму цилиндра круглого сечения.

Данное изобретение предлагает шип для шин, который обеспечивает не только повышенную силу сцепления с поверхностью льда благодаря большему выступающему компоненту кромки и большему усилию проникновения штифта в лед, но также возможность снижения веса. То есть данное изобретение предлагает штифт для шин, который может реализовать увеличенную силу сцепления (улучшенные характеристики сцепления при движении) и снижение веса.

В одном аспекте данное изобретение предлагает штифт для шин, который включает в себя колоннообразный корпус, предназначенный для крепления к поверхности протектора шины, с его одной торцевой стороной в направлении вдоль его центральной оси, вставляемый в отверстие определенной глубины, выполненное в поверхности протектора шины, и штифт, выступающий из другой торцевой грани колоннообразного корпуса в направлении вдоль его центральной оси. Причем штифт выполнен в форме колоннообразного корпуса сложной формы, выступающего из другой торцевой грани колоннообразного корпуса и имеющего утопленные части, образованные путем удаления частей, расположенных на другой торцевой грани и периферийной поверхности цилиндрического корпуса, чтобы он выступал в направлении вдоль центральной оси колоннообразного корпуса. Таким образом, шип может обеспечить увеличенную силу сцепления (сцепление при движении по льду) и снижение веса.

В еще одном аспекте данное изобретение предлагает шип для шин, имеющий граничную линию между другой торцевой гранью и утопленной частью штифта, сформированную в виде изогнутой линии, и поверхность утопленной части, сформированную в виде изогнутой поверхности. Таким образом, угол, образованный границами между другой торцевой гранью штифта, изогнутой поверхностью, которая является периферийной поверхностью штифта, и изогнутой поверхностью, которая является утопленной поверхностью утопленной части, может быть острым, тем самым увеличивая местное (локальное) давление кромки и соответственно усилие проникновения в поверхность льда.

В еще одном аспекте данное изобретение предлагает шип для шин, штифт которого снабжен множеством утопленных частей и имеет форму цилиндрического корпуса сложной формы, имеющего менее утопленную часть, образованную путем удаления части, расположенной на другой торцевой грани и периферийной поверхности цилиндрического корпуса между утопленными частями, расположенными вдоль окружности рядом друг с другом. Причем менее утопленные части имеют меньшее углубление, чем утопленные части. Таким образом, наличие менее утопленных частей обеспечивает дополнительное снижение веса штифта. Кроме того, возможность увеличения числа углов, образованных границами между другой торцевой гранью штифта и двумя изогнутыми поверхностями, дополнительно способствует увеличению усилия проникновения в поверхность льда и снижению веса.

В еще одном аспекте данное изобретение предлагает шип для шин, имеющий колоннообразный корпус, утопленные части на колоннообразном корпусе, которые расположены на другой торцевой грани и периферийной поверхности колоннообразного корпуса. Причем утопленные части и утопленные части колоннообразного корпуса расположены таким образом, что каждая граничная линия между другой торцевой гранью и утопленной частью колоннообразного корпуса и каждая соответствующая граничная линия между другой торцевой гранью и утопленной частью штифта пересекают прямую линию, проходящую через центральную ось колоннообразного корпуса. Таким образом, эта конструкция позволяет снизить вес колоннообразного корпуса. В то же время усилие проникновения в поверхность льда будет увеличено за счет синергического (взаимоусиливающего) эффекта углов колоннообразного корпуса, образованных утопленными частями колоннообразного корпуса, и углов штифта.

Краткое описание чертежей

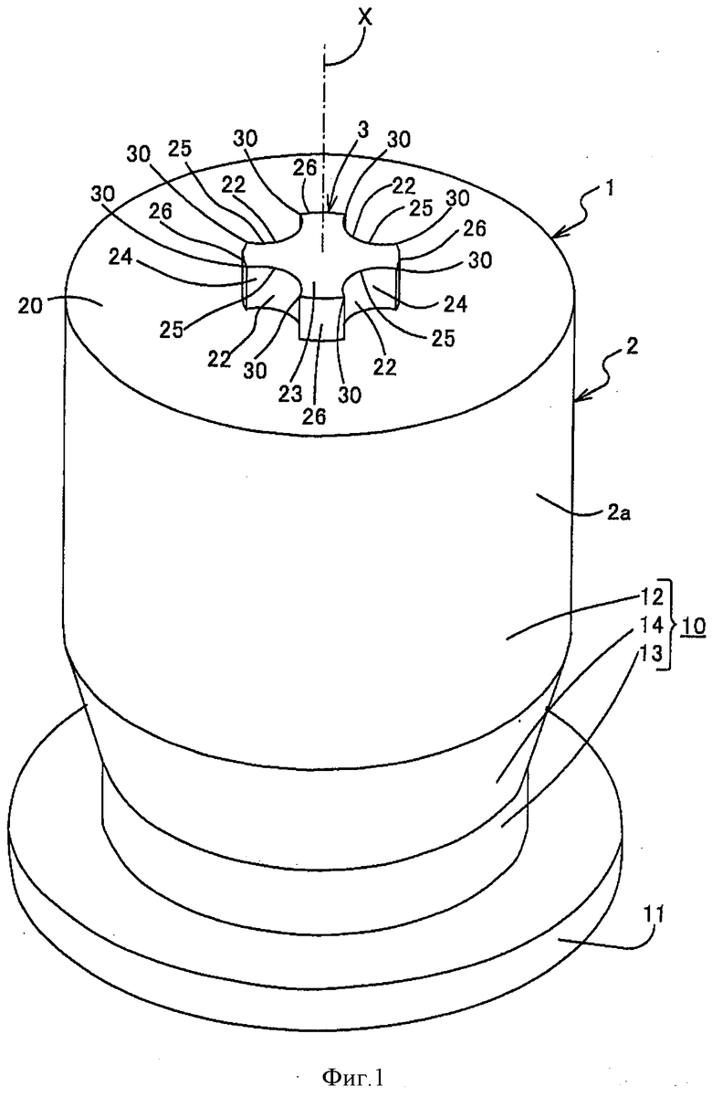
На фиг.1 дан общий вид, показывающий шип для шин (первый вариант осуществления данного изобретения).

На фиг.2 дан вид сверху шипа для шин (первый вариант осуществления данного изобретения).

На фиг.3 дан вид в разрезе, показывающий относительное расположение шины и шипа для шин. На фиг.3B дан вид в разрезе шипа для шин, вставленного в шипованную шину (первый вариант осуществления данного изобретения).

На фиг.4A дан общий вид, показывающий шип для шин (второй вариант осуществления данного изобретения). На фиг.4B дан вид сверху шипа для шин (второй вариант осуществления данного изобретения).

На фиг.5A дан общий вид, показывающий шип для шин (третий вариант осуществления данного изобретения). На фиг.5B дан вид сверху шипа для шин (третий вариант осуществления данного изобретения).

На фиг.6A дан общий вид, показывающий шип для шин (четвертый вариант осуществления данного изобретения). На фиг.5B дан вид сверху шипа для шин (четвертый вариант осуществления данного изобретения).

Осуществление изобретения

Первый вариант осуществления изобретения

Со ссылкой на фиг.1-3 будет дано описание конструкции шипа для шин согласно первому варианту осуществления данного изобретения.

Как показано на фиг.3A и 3B, шип 1 для шин, который изготовлен, например, из металла, используется для формирования шипованной шины со стороной его одной торцевой грани 4 в направлении вдоль его центральной оси X, вставленной в отверстие 7 определенной глубины, сформированное в поверхности 6 протектора шины 5. Причем шип 1 для шин включает в себя колоннообразный корпус 2 и штифт 3.

Шип 1 для шин может быть образован путем объединения колоннообразного корпуса 2 и штифта 3, каждый из которых изготавливается отдельно, или может быть сформирован с колоннообразным корпусом 2 и штифтом 3, которые изготовлены интегрально друг с другом.

Колоннообразный корпус 2, который называется, например, втулкой или корпусом, крепится с его одной торцевой гранью 4 в направлении вдоль центральной оси X, вставленной в отверстие 7 определенной глубины. Колоннообразный корпус 2 вставляется в отверстие 7 определенной глубины по меньшей мере его одной стороной торцевой грани 4. То есть колоннообразный корпус 2 крепится с его стороной одной торцевой грани 4, вставленной в отверстие 7, или он весь вставляется в отверстие 7 определенной глубины.

Колоннообразный корпус 2 включает в себя колоннообразную часть 10 и фланец 11, расположенный на одном конце колоннообразной части 10. Другая концевая часть колоннообразной части 10 образована цилиндрической частью 12 большего диаметра, а ее одна концевая часть образована цилиндрической частью 13 меньшего диаметра, которая имеет диаметр, меньший, чем диаметр цилиндрической части 12 большего диаметра. То есть колоннообразная часть 10 состоит из колоннообразного корпуса с двумя диаметрами, причем одна концевая кромка окружной поверхности цилиндрической части 12 большего диаметра присоединена конической поверхностью 14 к другой концевой кромке окружной поверхности цилиндрической части 13 меньшего диаметра. Фланец 11, который выполнен в форме круглого диска, имеющего диаметр, больший, чем цилиндрическая часть 12 большего диаметра, действует как стопор шипа 1 путем зацепления с зацепляющей полостью 15, сформированной на дне отверстия 7 определенной глубины.

Каждое из отверстий 7 определенной глубины выполнено с диаметром, меньшим, чем диаметр цилиндрической части 12 большего диаметра. Причем, когда колоннообразные корпуса 2 запрессовывают внутрь отверстий 7 определенной глубины с помощью не показанной здесь машины, образуется шипованная шина 8 с шипами 1, вставленными в отверстия 7 определенной глубины.

Штифт 3, который изготавливают с диаметром, меньшим, чем диаметр колоннообразного корпуса 2, расположен таким образом, чтобы он выступал из другой торцевой грани 20 колоннообразного корпуса 2 в направлении, проходящем вдоль центральной оси X колоннообразного корпуса 2. Центральные оси штифта 3, цилиндрической части 12 большего диаметра, цилиндрической части 13 меньшего диаметра и фланца 11 все представляют собой одну и ту же центральную ось.

Штифт 3 сформирован из цилиндрического корпуса 21, который выступает из другой концевой грани 20 колоннообразного корпуса 2, проходящего в направлении вдоль центральной оси X колоннообразного корпуса 2 (показан штрихпунктирной линией (штрихпунктирной линией с двумя точками) на фиг.2).

Иными словами, штифт 3 выполнен в форме колоннообразного корпуса сложной формы, имеющего утопленные части 22, образованные путем удаления частей, расположенных на другой торцевой грани, которая является выступающей концевой стороной цилиндрического корпуса 21, и периферийной поверхности цилиндрического корпуса 21. То есть каждая из утопленных частей 22 представляет собой полую часть, сформированную ближе к центральной оси X из периферийной поверхности цилиндрического корпуса, как если бы часть, расположенная на другой торцевой грани цилиндрического корпуса 21, и его периферийная поверхность были бы выдолблены.

Таким образом, граничная линия 25 между другой торцевой гранью 23 и утопленной поверхностью 24 утопленной части 22 колоннообразного корпуса сложной формы, которая образует штифт 3, сформирована как дугообразная кривая, изогнутая ближе к периферийной поверхности цилиндрического корпуса 21, а утопленная поверхность 24 утопленной части 22 сформирована как изогнутая поверхность.

Утопленные части 22 выполнены в виде полостей (углублений), проходящих непрерывно от другой торцевой грани 23 колоннообразного корпуса сложной формы, образующего штифт 3, к другой торцевой грани 20 колоннообразного корпуса 2. Причем форма полостей в поперечном сечении (форма поперечного сечения, перпендикулярного относительно центральной оси X штифта 3) одинакова в любой точке между другой торцевой гранью 23 штифта 3 и другой торцевой гранью 20 колоннообразного корпуса 2.

Штифт 3 снабжен, например, четырьмя утопленными частями 22, которые расположены на периферийной поверхности цилиндрического корпуса 21 с равными угловыми интервалами, т.е. на 90° друг от друга, вдоль окружности цилиндрического корпуса 21 с его центральной осью X в качестве центра. Иными словами, штифт 3 имеет такую форму, что каждый раз, когда шип 1 поворачивается на 90°, начиная с исходного положения, с центральной осью X штифта 3 в качестве центра, другая торцевая грань 23 штифта 3 принимает ту же самую крестообразную форму.

Кроме того, штифт 3 имеет такую форму, что граничная линия 25 между другой торцевой гранью 23 штифта 3 и утопленной частью 22 сформирована в виде изогнутой линии, приближающейся к центральной оси X от периферийной поверхности цилиндрического корпуса 21, и что утопленная поверхность 24 утопленной части 22 сформирована в виде изогнутой поверхности, приближающейся к центральной оси X от периферийной поверхности цилиндрического корпуса 21.

Соответственно, штифт 3 имеет форму с углами 30, каждый из которых образован границами между плоской поверхностью другой торцевой грани 23 штифта 3, изогнутой поверхностью периферийной поверхности 26 штифта 3 (остальной периферийной поверхностью цилиндрического корпуса 21) и изогнутой поверхностью утопленной поверхности 24 утопленной части 22. Углы 30 являются более острыми, чем углы прямоугольного цилиндра, которые образованы границами между тремя плоскими поверхностями, и соответственно углы 30 увеличивают местные давления кромок, тем самым увеличивая усилие проникновения шипа 1 в поверхность льда.

Шип 1 для шин, выполненный согласно первому варианту осуществления данного изобретения, включает в себя штифт 3, образованный из цилиндрического корпуса 21 в колоннообразный корпус сложной формы, имеющий утопленные части 22, образованные путем удаления частей цилиндрического корпуса 21, расположенных на другой торцевой грани, которая является его выступающей торцевой стороной, и его периферийной поверхности. В отличие от шипов, имеющих штифт в виде цилиндра круглого или квадратного сечения, шип 1 для шин, выполненный согласно первому варианту осуществления данного изобретения, может не только обеспечить снижение веса, но также сделать выступающий компонент H кромки (эквивалентный диаметру цилиндрического корпуса 21 штифта (см. фиг.2)) больше. Кроме того, имея углы 30, шип 1 увеличивает усилие проникновения в поверхность льда. Таким образом, шип 1 для шин обеспечивает возможности не только снижения веса, но также увеличивает силу сцепления (характеристику сцепления при движении по льду).

Второй вариант осуществления изобретения

Шип 1 для шин может представлять собой шип, снабженный колоннообразным корпусом 2A, как показано на фиг.4.

То есть шип 1 для шин может включать в себя, в дополнение к общей конструкции первого варианта осуществления данного изобретения, колоннообразный корпус 2A, имеющий утопленные части 41 колоннообразного корпуса, каждая из которых сформирована путем удаления части, расположенной на круглой другой торцевой грани цилиндрической части 12 большего диаметра, которая равна другой торцевой грани 20 колоннообразного корпуса 2 первого варианта осуществления данного изобретения, и цилиндрической периферийной поверхности цилиндрической части 12 большего диаметра, которая образует периферийную поверхность 2a колоннообразного корпуса 2.

Каждая из утопленных частей 41 колоннообразного корпуса может быть сформирована, например, путем удаления части вблизи кольцевой окружной кромки другой торцевой грани 20 колоннообразного корпуса 2 первого варианта осуществления данного изобретения, которая расположена на другой торцевой грани 20 колоннообразного корпуса 2, и периферийной поверхности 2a колоннообразного корпуса 2 таким образом, что граничная линия 42 между другой торцевой гранью 20 и утопленной частью 41 колоннообразного корпуса образует изогнутую линию, каждый конец которой достигает кольцевой окружной кромки другой торцевой грани 20 колоннообразного корпуса 2.

Утопленная поверхность 43 утопленной части 41 колоннообразного корпуса сформирована, например, в виде изогнутой поверхности.

Соответственно, колоннообразный корпус 2A имеет форму с углами 50, каждый из которых образован границами между плоской поверхностью другой торцевой грани 20 колоннообразного корпуса 2A, изогнутой поверхностью периферийной поверхности 2a колоннообразного корпуса 2A и изогнутой поверхностью утопленной поверхности 41 утопленной части 41 колоннообразного корпуса. Углы 50 являются более острыми, чем углы прямоугольного цилиндра, которые образованы границами между тремя плоскими поверхностями, и соответственно углы 50 увеличивают местные давления кромок, тем самым увеличивая усилие проникновения шипа 1 в поверхность льда.

Кроме того, могут быть обеспечены, например, четыре утопленные части 41 колоннообразного корпуса. Причем четыре утопленные части 41 колоннообразного корпуса могут располагаться с равными угловыми интервалами, т.е. на 90° друг от друга, вдоль окружности колоннообразного корпуса 2 с его центральной осью X в качестве центра.

Причем утопленные части 22 штифта 3 и утопленные части 41 колоннообразного корпуса 2A могут, например, быть расположены таким образом, что каждая изогнутая линия граничной линии 42 между другой торцевой гранью 20 и утопленной частью 41 колоннообразного корпуса 2A и каждая соответствующая изогнутая линия граничной линии 25 между другой торцевой гранью 23 и утопленной частью 23 штифта 3 пересекают соответствующую прямую линию a, проходящую через центральную ось X колоннообразного корпуса 2A. В результате этого усилие проникновения шипа в поверхность льда может быть увеличено за счет синергического эффекта углов 30 штифта 3 и углов 50 колоннообразного корпуса 2. В частности, конструкция может быть такой, что центр каждой изогнутой линии граничной линии 42 между другой торцевой гранью 20 и утопленной частью 41 колоннообразного корпуса 2A и центр каждой соответствующей изогнутой линии граничной линии 25 между другой торцевой гранью 23 и утопленной частью 22 штифта 3 располагаются на соответствующей прямой линии a, проходящей через центральную ось X колоннообразного корпуса 2A. В этом случае усилие проникновения шипа в поверхность льда может быть дополнительно увеличено за счет синергического эффекта углов 30 штифта 3 и углов 50 колоннообразного корпуса 2A. В этой конструкции, следовательно, утопленная часть 41 колоннообразного корпуса и утопленная часть 22 утоплены в том же самом направлении в сторону центральной оси X колоннообразного корпуса 2A.

Шип 1 для шин, выполненный согласно второму варианту осуществления данного изобретения, снабжен штифтом 3, имеющим утопленные части 22, как описано в первом варианте осуществления данного изобретения, и колоннообразным корпусом 2A, имеющим утопленные части 41 колоннообразного корпуса. Следовательно, использование колоннообразного корпуса 2A, который является более легким, чем колоннообразный корпус 2, может снизить вес шипа 1 для шин и также увеличить усилие проникновения шипа в поверхность льда за счет синергического эффекта углов 30 штифта 3 и углов 50 колоннообразного корпуса 2A. Таким образом, по сравнению с первым вариантом осуществления данного изобретения, второй вариант осуществления данного изобретения может обеспечить шип 1 для шин, обеспечивающий дополнительное снижение веса и даже более увеличенную силу сцепления (сцепления со льдом).

Результаты эксперимента описаны ниже. Способ испытания следующий:

- Характеристика торможения на льду оценивалась путем измерения времени, требуемого для замедления от 30 км/ч до 0 км/ч.

- Характеристика сцепления при движении по льду оценивалась путем измерения времени, требуемого для ускорения от 0 км/ч до 20 км/ч.

Испытуемый автомобиль: Фольксваген VW Golf 6

Размер шины: 205/55R16

Испытуемые образцы:

Образец 1: Шип для шин со штифтом, имеющим цилиндрический корпус, диаметр которого равен 2 мм.

Образец 2: Шип для шин со штифтом, имеющим цилиндрический корпус, диаметр которого равен 3 мм.

Образец 3: Шип для шин со штифтом, имеющим колоннообразный корпус с крестообразным поперечным сечением, максимальный диаметр которого равен 3 мм.

Образец 4: Шип для шин первого варианта осуществления данного изобретения (с штифтом 3, сформированным из цилиндрического корпуса 21, диаметр которого равен 3 мм).

Образец 5: Шип для шин второго варианта осуществления данного изобретения (колоннообразный корпус 2 шипа для шин Образца 4, имеющий утопленные части 41 колоннообразного корпуса).

Результаты испытаний, проведенных при описанных выше условиях, следующие:

Что касается характеристики торможения на льду, когда величина оценки Образца 1 была установлена на 100, величина оценки Образца 2 составляла 103, величина оценки Образца 3 составляла 104, величина оценки Образца 4 составляла 106 и величина оценки Образца 5 составляла 107.

Что касается характеристики сцепления при движении по льду, когда величина оценки Образца 1 была установлена на 100, величина оценки Образца 2 составляла 105, величина оценки Образца 3 составляла 106, величина оценки Образца 4 составляла 108 и величина оценки Образца 5 составляла 109.

Иными словами, было доказано, что как шип 1 для шин первого варианта осуществления данного изобретения, так и второго варианта осуществления данного изобретения может обеспечить не только снижение веса, но также обеспечивает отличные характеристики как при торможении на льду, так и сцепления при движении по льду.

В частности, было обнаружено, что шип 1 для шин первого варианта осуществления данного изобретения, который включает в себя штифт 3, имеющий углы 30, образованные границами между плоской поверхностью, изогнутой поверхностью и еще одной изогнутой поверхностью, является высококачественным как в отношении характеристики торможения на льду, так и в отношении характеристики сцепления при движении по льду, по сравнению с шипом для шин Образца 3, имеющим штифт с углами, образованными границами между тремя плоскими поверхностями. Причем было также обнаружено, что шип для шин второго варианта осуществления данного изобретения, который включает в себя колоннообразный корпус, имеющий углы 50, обеспечивает дополнительное улучшение как характеристики торможения на льду, так и характеристики сцепления при движении по льду, по сравнению с шипом для шин первого варианта осуществления данного изобретения.

Третий вариант осуществления изобретения

Шип 1 для шин может представлять собой шип, снабженный штифтом 3A, как показано на фиг.5.

То есть шип 1 для шин может быть снабжен штифтом 3A, выполненным в форме колоннообразного корпуса сложной формы, имеющим менее утопленные части 32, каждая из которых расположена на другой торцевой грани и периферийной поверхности цилиндрического корпуса 21 между соседними по окружности утопленными частями 22, 22. Отметим, что менее утопленные части 32 имеют меньшее углубление, чем утопленные части 22. Граничная линия 34 между другой торцевой гранью 23 и утопленной поверхностью 33 менее утопленной части 32 колоннообразного корпуса сложной формы, образующего штифт 3A, сформирована в виде кривой, подобной дугообразной изогнутой линии, приближающейся к центральной оси X от периферийной поверхности цилиндрического корпуса 21. Кроме того, менее утопленные части 32 сформированы как полости (углубления), проходящие непрерывно от другой торцевой грани 23 колоннообразного корпуса с нечетным числом граней, образующего штифт 3A, к другой торцевой грани 20 колоннообразного корпуса 2. Причем форма поперечного сечения полостей (форма поперечного сечения, перпендикулярная к центральной оси X штифта 3A) является одинаковой в любой точке между другой торцевой гранью 23 штифта 3A и другой торцевой гранью 20 колоннообразного корпуса 2.

Тем же самым способом, как и в первом варианте осуществления данного изобретения, шип 1 для шин, выполненный согласно третьему варианту осуществления данного изобретения, может не только обеспечить снижение веса, но также сделать выступающий компонент H кромки большего размера. Кроме того, снабженный менее утопленными частями 32 шип 1 для шин позволяет снизить вес штифта 3A в большей степени, чем первый вариант осуществления данного изобретения. Кроме того, число углов 30, образованных границами между плоской поверхностью, изогнутой поверхностью и еще одной изогнутой поверхностью, может быть увеличено, тем самым увеличивая усилие проникновения в поверхность льда.

Четвертый вариант осуществления изобретения

Шип 1 для шин может представлять собой шип, снабженный штифтом 3B, как показано на фиг.6.

То есть шип 1 для шин может быть снабжен штифтом 3B, имеющим три утопленные части 22. Три утопленные части 22 расположены на периферийной поверхности цилиндрического корпуса 21 с равными угловыми интервалами, т.е. на расстоянии 120° друг от друга вдоль окружности цилиндрического корпуса 21, с его центральной осью X в качестве центра. Иными словами, штифт 3B имеет такую форму, что каждый раз, когда шип 1 поворачивается на 120°, начиная с исходного положения, с центральной осью X штифта 3B в качестве центра, другая торцевая грань 23 штифта 3B принимает такую же форму в виде треугольника.

Таким же образом, как и в первом варианте осуществления данного изобретения, шип 1 для шин, выполненный согласно четвертому варианту осуществления данного изобретения, может не только обеспечить снижение веса, но также сделать выступающий компонент H кромки большего размера. Кроме того, снабженный углами 30 шип 1 для шин этого варианта осуществления данного изобретения увеличивает усилие проникновения в поверхность льда. В частности, утопленные части 22, которые могут быть сделаны большего размера, чем утопленные части первого варианта осуществления данного изобретения, обеспечивают преимущество, заключающееся в снижении веса.

Пятый вариант осуществления изобретения

Конструкция может быть такой, что шип 1 для шин имеет штифт 3A третьего варианта осуществления данного изобретения и колоннообразный корпус 2A второго варианта осуществления данного изобретения. По сравнению с первым вариантом осуществления данного изобретения этот вариант осуществления данного изобретения может обеспечить шип 1 для шин, характеризующийся как снижением веса, так и даже еще более увеличенной силой сцепления.

Шестой вариант осуществления изобретения

Кроме того, конструкция может быть такой, что шип 1 для шин имеет штифт 3B четвертого варианта осуществления данного изобретения и колоннообразный корпус 2A второго варианта осуществления данного изобретения. По сравнению с четвертым вариантом осуществления данного изобретения, этот вариант осуществления данного изобретения может обеспечить шип 1 для шин, характеризующийся как дополнительным снижением веса, так и даже еще более увеличенной силой сцепления.

Следует понимать, что в пятом варианте или в шестом варианте осуществления данного изобретения утопленные части 22 и утопленные части 41 колоннообразного корпуса могут быть расположены таким образом, что изогнутые линии граничных линий 42 между другой торцевой гранью 20 и утопленной частью 41 колоннообразного корпуса 2A и изогнутые линии соответствующих граничных линий 25 между другой торцевой гранью 23 и утопленной частью 22 штифта 3A или штифта 3B пересекают их соответствующие прямые линии, проходящие через центральную ось X. В этом случае усилие проникновение шипа в поверхность льда может быть увеличено за счет синергического эффекта углов 30 штифта 3A или 3B и углов 50 колоннообразного корпуса 2A.

Следует отметить, что другая торцевая грань 23 штифта может быть выполнена в виде изогнутой поверхности. В этом случае шип для шин будет содержать штифт, имеющий углы, образованные границами между тремя изогнутыми поверхностями, таким образом, что усилие проникновения в поверхность льда будет увеличена в результате повышения местных давлений кромок за счет наличия углов.

Кроме того, шип для шин может представлять собой шип со штифтом, выполненным таким образом, что граничные линии между другой торцевой гранью 23 штифта и утопленными частями 22 и менее утопленными частями 32 представляют собой множество прямых линий (прямых линий, проходящих от окружности другой торцевой грани цилиндрического корпуса 21). В этом случае штифт имеет такую форму, чтобы он имел углы, образованные границами между другой торцевой гранью (плоской или изогнутой поверхностью) штифта, изогнутой поверхностью, которая является периферийной поверхностью штифта (остальная периферийная поверхность цилиндрического корпуса 21), и плоской поверхностью, которая является углубленной поверхностью утопленной части (плоская поверхность, проходящая от периферийной поверхности цилиндрического корпуса 21 к центральной оси X). Следовательно, углы являются более острыми, чем углы прямоугольного цилиндра, образованные границами между тремя плоскими поверхностями, и соответственно они повышают местное давление кромок, тем самым увеличивая усилие проникновения в поверхность льда.

Соответственно, следует отметить, что утопленные части 22 и менее утопленные части 32, предусмотренные данным изобретением, представляют собой либо утопленные части, имеющие изогнутую поверхность, углубленную от периферийной поверхности цилиндрического корпуса 21 в направлении к центральной оси X, или утопленные части, имеющие множество плоских поверхностей, проходящих от периферийной поверхности цилиндрического корпуса 21 по направлению к центральной оси X.

Кроме того, число утопленных частей 22 может быть равно двум. В этом случае предпочтительно, чтобы утопленные части 22 были расположены с равными угловыми интервалами, т.е. на 180° друг от друга, вдоль окружности цилиндрического корпуса 21. Кроме того, число утопленных частей 22 может быть равно единице.

Кроме того, в описанных выше вариантах осуществления данного изобретения штифт был описан как штифт, имеющий утопленные части 22, проходящие непрерывно от другой торцевой грани 23 колоннообразного корпуса с нечетным числом граней к другой торцевой грани 20 колоннообразного корпуса 2. И все же не является необходимым, чтобы утопленные части 22 проходили непрерывно на всем расстоянии до другой торцевой грани 20 колоннообразного корпуса 2.

Похожие патенты RU2554035C2

название год авторы номер документа
ШИП И ШИНА 2016
  • Савада Хироки
  • Вада Юнихиро
RU2670936C9
ШИПЫ ШИНЫ И ШИПОВАННАЯ ШИНА 2012
  • Савада Хироки
  • Кавамата Сатору
  • Сато Хироси
RU2566802C2
ШИП И ПНЕВМАТИЧЕСКАЯ ШИНА ТРАНСПОРТНОГО СРЕДСТВА С ШИПАМИ 2019
  • Шлиттенхард, Ян
  • Кеттер, Майк
  • Шпехтмейер, Торбен
RU2742060C1
ПНЕВМАТИЧЕСКАЯ ШИНА ТРАНСПОРТНОГО СРЕДСТВА 2018
  • Боссе, Штефан
  • Шлиттенхард, Ян
RU2725828C1
ШИП ПРОТИВОСКОЛЬЖЕНИЯ С МЕТАЛЛОКЕРАМИЧЕСКИМ ЭЛЕМЕНТОМ 2003
  • Еромяки Пентти Юхани
  • Пирхонен Юха
RU2292269C2
ШИП ПРОТИВОСКОЛЬЖЕНИЯ И ШИНА ТРАНСПОРТНОГО СРЕДСТВА С ТАКИМ ШИПОМ ПРОТИВОСКОЛЬЖЕНИЯ 2015
  • Брандау Кристиан
  • Шлиттенхард Ян
RU2645998C1
ОЧИСТИТЕЛЬНОЕ УСТРОЙСТВО 2011
  • Катоу Макото
  • Фудзинами Сусуму
  • Санномия Кимие
  • Нода Юкио
  • Хирата Томохиса
  • Хамано Ютака
  • Харада Такуаки
RU2532159C2
ШИНА ТРАНСПОРТНОГО СРЕДСТВА 2017
  • Шлиттенхард Ян
  • Бергер Кристоф
  • Кёттер Майк
  • Шпехтмейер Торбен
RU2689673C1
ШИПОВАЯ ШПИЛЬКА И ПНЕВМАТИЧЕСКАЯ ШИНА 2014
  • Мацумото Кенити
RU2636624C2
ШИП И ШИНА 2016
  • Савада, Хироки
  • Кавамата, Сатору
RU2670549C1

Иллюстрации к изобретению RU 2 554 035 C2

Реферат патента 2015 года ШИП ДЛЯ ШИН

Изобретение относится к автомобильной промышленности. Шип включает в себя колоннообразный корпус (2), предназначенный для крепления к поверхности протектора шины, и штифт (3), выступающий в направлении вдоль центральной оси (X) колоннообразного корпуса (2) из его другой торцевой грани (20). Причем штифт (3), выступающий из другой торцевой грани (20) колоннообразного корпуса (2), выполнен в виде колоннообразного корпуса сложной формы, имеющего утопленные части (22), образованные путем удаления частей, расположенных на другой торцевой грани и периферийной поверхности цилиндрического корпуса, проходящего вдоль центральной оси (X) колоннообразного корпуса (2). Технический результат - улучшение характеристики сцепления шины при движении по льду и снижение веса. 2 з.п. ф-лы, 6 ил.

Формула изобретения RU 2 554 035 C2

1. Шип для шин, содержащий:
- колоннообразный корпус, предназначенный для крепления к поверхности протектора шины, со стороной его одного конца в направлении вдоль его центральной оси, предназначенной для вставки в отверстие определенной глубины, сформированное в поверхности протектора шины; и
- штифт, выступающий из другого конца колоннообразного корпуса в направлении вдоль его центральной оси,
- причем штифт выполнен в виде колоннообразного корпуса сложной формы, выступающего из другой торцевой грани колоннообразного корпуса и имеющего утопленные части, образованные путем удаления частей, расположенных на другой торцевой грани и периферийной поверхности цилиндрического корпуса, чтобы они проходили в направлении вдоль центральной оси колоннообразного корпуса,
при этом штифт снабжен множеством утопленных частей и выполнен в виде колоннообразного корпуса сложной формы, имеющего менее утопленную часть, образованную путем удаления части, расположенной на другой торцевой грани и периферийной поверхности цилиндрического корпуса между утопленными частями, соседними по окружности друг относительно друга, причем менее утопленные части имеют меньшее углубление, чем утопленные части.

2. Шип для шин по п.1, отличающийся тем, что в нем граничная линия между другой торцевой гранью и утопленной частью штифта сформирована в виде изогнутой линии, а поверхность утопленной части сформирована в виде изогнутой поверхности.

3. Шип для шин по п.1 или 2, отличающийся тем, что шип имеет утопленные части колоннообразного корпуса на колоннообразном корпусе, причем утопленные части колоннообразного корпуса расположены на другой торцевой грани и периферийной поверхности колоннообразного корпуса, и причем утопленные части и утопленные части колоннообразного корпуса расположены таким образом, что каждая граничная линия между другой торцевой гранью и утопленной частью колоннообразного корпуса и каждая соответствующая граничная линия между другой торцевой гранью и утопленной частью штифта пересекают соответствующую прямую линию, проходящую через центральную ось колоннообразного корпуса.

Документы, цитированные в отчете о поиске Патент 2015 года RU2554035C2

JP 56146407 А, 13.11.1981
US 20080060733 A1, 13.03.2008
JP S50130003 U, 25.10.1975
WO 2009068744 A1, 04.06.2009

RU 2 554 035 C2

Авторы

Ито Томоаки

Оти Наоя

Ватанабэ Юки

Даты

2015-06-20Публикация

2012-02-24Подача