ФИТОТРОН Российский патент 2015 года по МПК A01G9/26 

Описание патента на изобретение RU2557572C2

Изобретение относится к оборудованию для сельского хозяйства и биологических исследований, в частности к климатическим камерам для выращивания растений.

Известен фитотрон, содержащий рабочую камеру, размещенные в рабочей камере температурный датчик, выполненные с вентиляционными пазами и окнами стеллажи для помещения контейнеров с растениями, установленную над контейнерами подсветку, включающую панели со светодиодами, и систему управления подсветкой, причем светодиоды размещены группами из светодиодов с различными спектральными диапазонами [1].

Как правило, вентиляция внутреннего пространства таких устройств производится естественным путем за счет выполнения в таких устройствах в их нижних и верхних частях вентиляционных отверстий.

При выращивании растений, как правило, для их оптимального роста необходимо поддерживать температуру в довольно узком диапазоне. Кроме того интенсивность излучения, в том числе и в различных спектральных диапазонах, в различное время суток, как показали исследования, для разноых видов растений должна быть разной. При естественной вентиляции температура зависит от температуры окружающей среды и, в некоторых случаях, при соблюдении необходимой интенсивности излучения светильники перегреваются и выходят из строя.

Результат, на достижение которого направлено данное техническое решение, заключается в обеспечении оптимальной температуры в месте расположения контейнеров с растениями при одновременном обеспечении оптимального охлаждения светодиодов.

Указанный результат достигается за счет того, что фитотрон содержит рабочую камеру с расположенными в нижней и верхней частях вентиляционными отверстиями, размещенный в рабочей камере температурный датчик, выполненные с вентиляционными пазами и окнами стеллажи для помещения контейнеров с растениями, установленную над контейнерами подсветку, включающую панели со светодиодами, и систему управления подсветкой, причем светодиоды размещены группами из светодиодов с различными спектральными диапазонами. Фитотрон снабжен воздухоохлаждающей установкой с системой управления, панели изготовлены из теплопроводного материала и выполнены с сообщенными с воздухоохлаждающей установкой вентиляционными пазами и отверстиями, а температурный датчик размещен в месте расположения контейнеров с растениями и соединен с системой управления воздухоохлаждающей установкой. Площадь вентиляционных окон стеллажей и панелей выполнена не менее половины общей площади последних.

Система управления воздухоохлаждающей установкой снабжена задатчиком температуры и блоком сравнения, входы которого соединены с датчиком и задатчиком температуры, а выход, через пороговый элемент, сообщен с блоком выключения воздухоохлаждающей установки. Задатчик температуры соединен с системой управления подсветкой.

Пример выполнения изобретения поясняется чертежами, где на фиг.1 изображено устройство, на фиг.2 - то же (вид сбоку), на фиг.3 - показана система управления воздухоохлаждающей установкой.

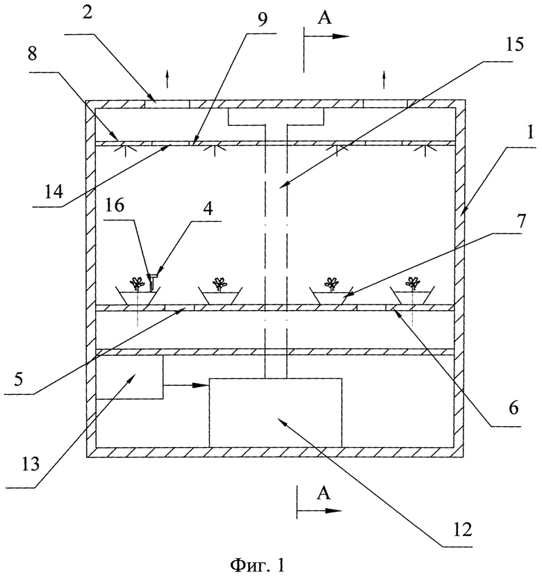
Фитотрон содержит рабочую камеру 1 с расположенными в нижней и верхней частях вентиляционными отверстиями 2, 3, размещенные в рабочей камере температурный датчик 4, выполненные с вентиляционными окнами 5 стеллажи 6 для помещения контейнеров 7 с растениями, установленную над контейнерами подсветку 8, включающую панели 9 со светодиодами 10, и систему 11 управления подсветкой. Светодиоды 10 размещены группами из светодиодов с различными спектральными диапазонами (например, 400-500, 500-600 и 600-700 нм).

Фитотрон снабжен воздухоохлаждающей установкой 12 с системой управления 13. Панели изготовлены из теплопроводного материала и выполнены с вентиляционными отверстиями 14, которые сообщены с воздухоохлаждающей установкой посредством вентиляционных каналов 15. Температурный датчик размещен в месте расположения контейнеров 7 с растениями и соединен с системой управления 13 воздухоохлаждающей установкой. Температурный датчик может быть размещен на выдвижной штанге 16 для того, чтобы регулировать вертикальное положение датчика по мере роста растений.

Площадь вентиляционных как окон стеллажей, так и отверсий панелей, как показала практика, должна быть выполнена не менее половины общей площади последних.

Система управления воздухоохлаждающей установкой 13 снабжена задатчиком 17 температуры и блоком 18 сравнения, входы 19, 20 которого соединены с датчиком 4 и задатчиком 17 температуры, а выход 21, через пороговый элемент 22, сообщен с блоком 23 выключения воздухоохлаждающей установки.

Задатчик 17 температуры соединен с системой 11 управления подсветкой.

Работает устройство следующим образом.

При включении подсветки в месте расположения контейнеров с растениями начинает постепенно повышаться температура. Когда температура повышается до верхнего уровня, задаваемого задатчиком, сигнал поступает от блока сравнения и порогового элемента к блоку выключения воздухоохлаждающей установкой. Охлажденный воздух поступает через каналы и пазы к панелям светодиодов и к месту расположения контейнеров с растениями и охлаждает последние. Температура в месте расположения контейнеров с растениями начинает понижаться, и когда она достигнет нижнего уровня, задаваемого задатчиком, то воздухоохлаждающая установка отключается и цикл повторяется. Верхний и нижний уровень температур можно регулировать в необходимых пределах и тем самым достигать, при необходимости, минимального изменения температуры в месте расположения контейнеров. Диапазон изменения температур можно задавать автоматически, так как задатчик температуры может быть подсоединен к системе управления подсветкой.

Таким образом, предложенное техническое решение позволит:

- оптимизировать и стабилизировать температуру в месте расположения контейнеров с растениями в независимости от температуры в наружном пространстве и интенсивности излучения светодиодов;

- стабилизировать охлаждение и необходимый температурный режим работы светодиодов и тем самым обеспечить их высокую долговечность.

Источники информации

1. Патент США №8061080, МК A01G 9/20, A01G 9/26, 2011.

2. Патент РФ №2326525, МПК A01G 9/26, 2006.

3. Патент РФ №2394420 МПК A01G 9/26, 2009.

Похожие патенты RU2557572C2

название год авторы номер документа
Климатическая камера адаптации растений 2024
  • Измайлов Андрей Юрьевич
  • Дорохов Алексей Семенович
  • Гришин Андрей Александрович
  • Поручиков Дмитрий Витальевич
  • Дорохов Артём Александрович
  • Чилингарян Нарек Овикович
  • Князева Инна Валерьевна
  • Смирнов Александр Анатольевич
RU2832305C1
Климатическая камера для выращивания растений 2020
  • Дорохов Алексей Семёнович
  • Чилингарян Нарек Овикович
  • Гришин Александр Петрович
  • Гришин Андрей Александрович
  • Дорохов Артём Александрович
  • Смирнов Александр Анатольевич
RU2739604C1
Светодиодный универсальный фитооблучатель 2020
  • Качан Сергей Александрович
  • Смирнов Александр Анатольевич
  • Прошкин Юрий Александрович
  • Гришин Андрей Александрович
RU2744302C1
Светодиодная фитоустановка 2022
  • Железникова Ольга Евгеньевна
  • Горбунов Алексей Алексеевич
  • Кудашкин Юрий Владимирович
  • Мышонков Александр Борисович
  • Прытков Сергей Владимирович
RU2790314C1
Система управления фитооблучателем с обратной связью и применением газообразного водорода в качестве катализатора роста растений 2021
  • Качан Сергей Александрович
  • Смирнов Александр Анатольевич
  • Прошкин Юрий Алексеевич
  • Бурынин Дмитрий Александрович
  • Соколов Александр Вячеславович
RU2780199C1
СВЕТОДИОДНЫЙ ФИТООБЛУЧАТЕЛЬ 2010
  • Попова Светлана Александровна
  • Супрун Мария Александровна
RU2454066C2
Теплица 2021
  • Чернявец Владимир Васильевич
RU2765488C1
ИНТЕЛЛЕКТУАЛЬНАЯ СИСТЕМА ПОМОЩИ СБОРЩИКУ ГРИБОВ 2024
RU2836482C1
Светодиодный облучатель с жидкостным охлаждением 2023
  • Качан Сергей Александрович
  • Смирнов Александр Анатольевич
  • Тихонов Павел Валентинович
  • Прошкин Юрий Алексеевич
  • Бурынин Дмитрий Александрович
RU2829989C1
УСТРОЙСТВО ДЛЯ ВЫРАЩИВАНИЯ РАССАДЫ ЦВЕТОЧНЫХ РАСТЕНИЙ В ОРАНЖЕРЕЯХ 2019
  • Голубенко Михаил Иванович
RU2723191C1

Иллюстрации к изобретению RU 2 557 572 C2

Реферат патента 2015 года ФИТОТРОН

Изобретение относится к сельскому хозяйству, в частности к климатическим камерам для выращивания растений. Фитотрон содержит рабочую камеру с расположенными в нижней и верхней частях вентиляционными отверстиями, размещенные в рабочей камере температурный датчик, выполненные с вентиляционными пазами и окнами стеллажи для помещения контейнеров с растениями, установленную над контейнерами подсветку, включающую панели со светодиодами, и систему управления подсветкой. Светодиоды размещены группами из светодиодов с различными спектральными диапазонами, например 400-500, 500-600, и 600-700 нм. Фитотрон снабжен воздухоохлаждающей установкой с блоком выключения. Панели изготовлены из теплопроводного материала и выполнены с вентиляционными отверстиями, которые сообщены с воздухоохлаждающей установкой посредством вентиляционных каналов. Температурный датчик размещен в месте расположения контейнеров с растениями и соединен с системой управления воздухоохлаждающей установкой. Температурный датчик размещен в месте расположения контейнеров с растениями и соединен с системой управления воздухоохлаждающей установкой. Такое выполнение позволит стабилизировать температуру в месте расположения контейнеров с растениями в независимости от температуры наружного пространства и интенсивности излучения светодиодов; стабилизировать охлаждение и необходимый температурный режим работы светодиодов и тем самым обеспечить их высокую долговечность. 4 з.п. ф-лы, 3 ил.

Формула изобретения RU 2 557 572 C2

1. Фитотрон, содержащий рабочую камеру с расположенными в нижней и верхней частях вентиляционными отверстиями, размещенные в рабочей камере температурный датчик, выполненные с вентиляционными пазами и окнами стеллажи для помещения контейнеров с растениями, установленную над контейнерами подсветку, включающую панели со светодиодами, и систему управления подсветкой, причем светодиоды размещены группами из светодиодов с различными спектральными диапазонами, отличающийся тем, что он снабжен воздухоохлаждающей установкой с блоком выключения, панели изготовлены из теплопроводного материала и выполнены с сообщенными с воздухоохлаждающей установкой вентиляционными каналами и отверстиями, а температурный датчик размещен в месте расположения контейнеров с растениями и соединен с системой управления воздухоохлаждающей установкой.

2. Фитотрон по п.1, отличающийся тем, что площадь вентиляционных окон стеллажей и панелей выполнена не менее половины общей площади последних.

3. Фитотрон по п.1, отличающийся тем, что система управления воздухоохлаждающей установкой снабжена задатчиком температуры и блоком сравнения, входы которого соединены с датчиком и задатчиком температуры, а выход через пороговый элемент сообщен с блоком выключения.

4. Фитотрон по п.3, отличающийся тем, что задатчик температуры соединен с системой управления подсветкой.

5. Фитотрон по п.1, отличающийся тем, что датчик размещен на выдвижной штанге.

Документы, цитированные в отчете о поиске Патент 2015 года RU2557572C2

Прибор для испытания равномерности сопротивления язычка трикотажно-вязальных игл поворачиванию 1935
  • Фокин В.З.
SU49420A1
Устройство для выращивания растений 1980
  • Липов Юрий Нойевич
  • Оберг Юрий Леонидович
  • Галкин Михаил Александрович
  • Члачидзе Спартак Иванович
SU865227A1
УСТАНОВКА ДЛЯ ВЫРАЩИВАНИЯ РАСТЕНИЙ 1993
  • Галкин М.А.
  • Липов Ю.Н.
RU2025944C1
WO 00/57688 A2, 05.10
ЩИТОВОЙ ДЛЯ ВОДОЕМОВ ЗАТВОР 1922
  • Гебель В.Г.
SU2000A1

RU 2 557 572 C2

Авторы

Сапрыкин Леонид Григорьевич

Гайдуков Евгений Николаевич

Сапрыкин Дмитрий Леонидович

Даты

2015-07-27Публикация

2013-07-23Подача