ДИОДНЫЙ ОСВЕТИТЕЛЬНЫЙ ПРИБОР Российский патент 2016 года по МПК H01L25/16 

Описание патента на изобретение RU2591041C2

Область техники, к которой относится изобретение

Данное изобретение относится к диодному осветительному прибору, осветительному узлу автомобиля, содержащему такой диодный осветительный прибор, и способу изготовления диодного осветительного прибора.

Характеристика предшествующего уровня техники

Решения, связанные с освещением и предусматривающие использование диодов, становятся распространеннее по мере того, как производство мощных и ярких диодов становится экономичнее. Диодный осветительный прибор может содержать одиночный светоизлучающий диод или несколько светоизлучающих диодов, соединенных последовательно. Диод(ы) следует защищать от электростатического разряда, поскольку скачок тока, проходящий через диод (в любом направлении) в результате электростатического разряда, может серьезно повредить диод. По этой причине известные схемы защиты включают в себя диод защиты от электростатического разряда (ЭСР), обычно - пару диодов Зенера, расположенных бок о бок, соединенных параллельно со светоизлучающим диодом (светоизлучающими диодами). В зависимости от окружающей среды, в которой эксплуатируют диодный осветительный прибор, могут возникнуть высокие напряжения порядка нескольких десятков киловольт. В случае устройства в оболочке, светоизлучающие диоды и диод защиты от ЭСР заключены в пластмассовом обтекателе или корпусе, так что выпустить электростатический разряд можно лишь на вывод устройства в корпусном исполнении, а ток можно безопасно разрядить через диод защиты от ЭСР.

В приборе на светоизлучающих диодах (СИДах) высокой мощности, в котором существенна яркость или освещенность, обеспечиваемая источником света, как бывает, например, в приложениях, связанных с фарами автомобилей, СИДы обычно не заключены в такой обтекатель или пластмассовую крышку. Обтекатель может повысить светоотдачу, но обычно укрупняет источник света и тем самым снижает освещенность. Вместо этого плоские СИДы располагают бок о бок на подложке, и их можно либо оставлять отрытыми, либо покрывать материалом, который служит для регулирования цвета излучаемого света. Белый свет обычно генерируют путем преобразования части синего света, излучаемого из СИДа, в желтый свет. Смешение синего и желтого света приводит к белому цвету. Последовательное соединение двух таких «открытых» светоизлучающих диодов обычно осуществляют посредством металлизированных зон, простирающихся от положительного вывода одного диода до отрицательного вывода следующего диода в последовательности. В таком «многопереходном» или «многокристальном» приборе, кристаллы светоизлучающих диодов могут быть подвержены повреждению посредством ЭСР даже тогда, когда используется диод защиты от ЭСР, поскольку скачок может разряжаться в межкомпонентном соединении между двумя соседними кристаллами, так что через один или несколько открытых кристаллов протекает большой ток. Даже если кристаллы окружены материалом-наполнителем (который можно использовать для сбора любого света, испускаемого по краям люминофорного покрытия, нанесенного на излучающую поверхность кристаллов), такой наполнитель может не простираться настолько, чтобы полностью покрывать края плоских металлизированных поверхностей межкомпонентных соединений. Даже малая открытая зона может служить в качестве места, где возможен выпуск электростатического разряда и повреждение или разрушение одного или нескольких СИДов. Электростатический разряд может возникать, например, на внутренней поверхности пластмассовой или стеклянной внешней крышки, в которой заключен такой диодный осветительный прибор, с расстояния, например, внешней крышки фары или габаритного фонаря транспортного средства, в которой заключены диодный осветительный прибор, балласт, любая вспомогательная оптика и т.д. Электростатический заряд, который легко может достичь 10 кВ или более, мог бы разрядиться на одно из межкомпонентных соединений и привести к большому току, который может повредить или разрушить один или несколько светоизлучающих диодов. Следовательно, эти межкомпонентные соединения являются слабым местом такого осветительного прибора. Одним возможным решением было бы покрытие всей внутренней поверхности такого пластмассового или стеклянного корпуса прозрачным электропроводным материалом, таким, как оксид индия-олова, вследствие чего электростатический разряд возникнуть не сможет. Однако такое покрытие является дорогостоящим, вследствие чего это решение и не является конкретно привлекательным. Альтернативным решением могло бы быть подключение внутренней поверхности пластмассового корпуса (без покрытия) к пониженному потенциалу, такому как «земля», например, посредством плоской металлической полоски, соединенной между крышкой и диодом защиты от ЭСР осветительного прибора или другим стоком тока балласта, так что любой электростатический заряд можно было бы безопасно отводить из осветительного прибора. Вместе с тем, в частности в приложении, связанном с автомобильным освещением, гарантия того, что разные компоненты подключены к «земле», может оказаться сложной и дорогостоящей, поскольку каждый компонент (осветительный прибор, балласт, внешняя крышка) может быть получен каждый раз от другого поставщика. Такое сложное решение может внести значительную добавку в общую стоимость осветительного прибора.

Поэтому задача изобретения состоит в том, чтобы разработать простой и экономичный способ защиты диодного осветительного прибора от электростатического разряда.

Краткое изложение существа изобретения

Задача изобретения решается посредством диодного осветительного прибора по п. 1 формулы изобретения, посредством осветительного узла автомобиля по п. 11 формулы изобретения, содержащего такой диодный осветительный прибор, и способа изготовления диодного осветительного прибора по п. 12 формулы изобретения.

Согласно изобретению, диодный осветительный прибор представляет собой многокристальный прибор на светоизлучающих диодах, содержащий, по меньшей мере, два открытых, последовательно соединенных светоизлучающих диода, соединенных параллельно с диодным прибором для защиты от электростатического разряда, и дополнительный прибор для отвода электростатического разряда (ЭСР), простирающийся в физической близости, по меньшей мере, к одному межкомпонентному соединению между соседними светоизлучающими диодами, причем прибор для отвода ЭСР выполнен с возможностью отвода электростатического разряда от межкомпонентного соединения в область пониженного потенциала.

Здесь выражение «в физической близости к» следует понимать как означающее, что прибор для отвода ЭСР расположен настолько близко к межкомпонентному соединению между соседствующими светоизлучающими диодами, что находится, по существу, на пути электростатического разряда, направленного к диодному осветительному прибору. Межкомпонентное соединение следует понимать как означающее любое электрическое соединение между двумя соседствующими светоизлучающими диодами, например, металлизированную зону на подложке, соединяющую положительный вывод одного светоизлучающего диода с отрицательным выводом следующего светоизлучающего диода в последовательно соединенной цепи.

Преимущество диодного осветительного прибора в соответствии с изобретением заключается в том, что светоизлучающие диоды эффективно экранированы от электростатического разряда, поскольку любой электростатический разряд, выпускаемый в окрестности межкомпонентных соединений, «захватывается» прибором для отвода ЭСР и отводится в область пониженного потенциала, например на «землю» или другой сток тока. Поскольку такой прибор для отвода ЭСР предлагает электростатическому заряду «путь наименьшего сопротивления» (типа молниеотвода), электростатический заряд будет разряжаться через антенну в отвод тока. Таким образом, большой ток имеет защищенный канал к пониженному потенциалу, а прохождение этого тока через любой из светоизлучающих диодов - и их повреждение - эффективно предотвращается.

В соответствии с изобретением, осветительный узел автомобиля содержит диодный осветительный прибор в соответствии с изобретением.

Преимущество такого осветительного узла автомобиля заключается в том, что изготовители различных других компонентов осветительного узла, например изготовители пластмассовой или стеклянной внешней крышки либо пластмассового или стеклянного корпуса, или изготовители балласта, не нуждаются в приложении каких-либо конструкторских усилий для включения в состав такого узла дополнительных заземляющих схем, так что осветительный узел в соответствии с изобретением, предусматривающий надежную защиту от ЭСР для экранирования относительно дорогостоящего диодного осветительного прибора, оказывается очень экономичным.

В соответствии с изобретением, способ изготовления диодного осветительного прибора включает в себя этапы, на которых: последовательно соединяют прибор на светоизлучающих диодах, содержащий, по меньшей мере, два открытых, последовательно соединенных светоизлучающих диода, параллельно с диодным прибором для защиты от электростатического разряда; и располагают прибор для отвода электростатического разряда так, что он простирается в физической близости, по меньшей мере, к одному межкомпонентному соединению между соседними светоизлучающими диодами, причем этот прибор для отвода выполнен с возможностью отвода электростатического разряда от межкомпонентного соединения в область пониженного потенциала.

В зависимых пунктах формулы изобретения и нижеследующем описании раскрыты конкретно предпочтительные варианты осуществления и признаки изобретения. Признаки формулы изобретения можно объединять надлежащим образом, чтобы прийти к дополнительному варианту осуществления. Признаки, описанные в контексте одной категории пунктов формулы изобретения, с тем же успехом применимы к другой категории пунктов формулы изобретения.

Обычно осветительные приборы, в которых применяются открытые светоизлучающие диоды, используются для приложений, связанных с освещением большой мощности, в которых желателен высокий уровень светового потока и/или освещенности. Для таких приложений можно выбрать лазерные диоды, поскольку они способны создавать очень большую светоотдачу. Следовательно, никоим образом не ограничивая изобретение, термины «светоизлучающий диод», «светоизлучающий диод большой мощности» и «лазерный диод» могут употребляться в нижеследующем тексте взаимозаменяемо. Термин «кристалл» также можно употреблять применительно к светоизлучающему диоду или лазерному диоду, поскольку светоизлучающая поверхность такого диода, по существу, представляет собой поверхность самого кристалла.

Прибор для отвода электростатического разряда может содержать любое электропроводное устройство или любой электропроводный элемент, которое или который служит, по существу, в качестве аттрактора для «сбора» или «захвата» электростатического разряда перед его «выпуском» в межкомпонентное соединение между кристаллами. Поэтому в предпочтительном варианте осуществления изобретения, прибор для отвода электростатического разряда содержит антенну или выдвинутый электрод, расположенный, по существу, рядом с межкомпонентным соединением (межкомпонентными соединениями) между последовательно соединенными кристаллами.

Конечно, такой прибор для отвода ЭСР должен быть компактным в как можно большей степени. Поэтому антенна предпочтительно представляет собой металлическую полоску, нанесенную на подложку прибора на светоизлучающих диодах. Тонкую металлическую полоску можно наносить на светоизлучающие диоды прибора цепи в виде каркаса или контура. Металл можно наносить любым подходящим методом, например, с помощью технологии формованных соединительных устройств (ФСУ), подходящего процесса печати, клеевого скрепления и т.д.

Диодный осветительный прибор может быть установлен посредством поверхностного монтажа на подложке осветительного узла. Для сбора света и придания ему формы надлежащим образом может служить дополнительный компонент, зависящий от приложения, для которого надлежит использовать диодный осветительный прибор. Поэтому - в дополнительных предпочтительных вариантах осуществления изобретения - диодный осветительный прибор содержит оболочечный компонент, расположенный вокруг светоизлучающих диодов, причем прибор для отвода ЭСР содержит металлизированную поверхность оболочечного компонента. Здесь термин «расположенный вокруг» следует понимать как означающий, что оболочечный компонент может действовать как оболочка или каркас для светоизлучающих диодов, не преуменьшая светоотдачу. Например, светоизлучающие диоды диодного осветительного прибора можно располагать в основании выемки, а выемка может иметь одну или несколько металлизированных внутренних поверхностей, например, для гарантии поглощения как можно меньшего количества света поверхностью (поверхностями) выемки. Металлизированная внутренняя поверхность, которая простирается вдоль межкомпонентных соединений кристаллов, может быть электрически подключена к пониженному потенциалу, например к узловой точке диода ЭСР диодного осветительного прибора. Таким образом, любой ЭСР, «выходящий» в окрестности металлизированной внутренней поверхности выемки, будет надежно отведен в диод защиты от ЭСР.

Для приложений, связанных с освещением и требующих определенной формы пучка или луча света, обычно используют придающий форму элемент для сбора света, излучаемого светоизлучающими диодами, и придания ему формы. Поэтому в дополнительном предпочтительном варианте осуществления изобретения, оболочечный компонент содержит коллиматор. Для приложения, связанного с передними фарами, такой коллиматор обычно служит, например, для гарантии определенного разграничения светлых и темных зон, а также распределения света, которое является подходящим для освещения области дороги на определенном расстоянии от транспортного средства, в котором установлен осветительный узел. С этой целью, такой коллиматор может иметь сильно отражающее внутреннее покрытие, так что, по существу, ничего из излучаемого света не теряется или не утрачивается, и такое отражающее покрытие обычно представляет собой металлическое покрытие, которое, следовательно, является также электропроводным. Поэтому в еще одном предпочтительном варианте осуществления изобретения, прибор для отвода ЭСР содержит отражающее покрытие коллиматора.

Осветительный узел в соответствии с изобретением предпочтительно воплощен, располагаясь внутри светопропускающего корпуса осветительного устройства автомобиля. На внутренней поверхности корпуса постепенно или быстро может нарастать электрический заряд, например, в результате трения, обуславливаемого физическим контактом на внутренней поверхности корпуса, или даже в результате ветра, проходящего по внешней поверхности корпуса. По причинам, приведенным во вводной части описания, непосредственное соединение между внешней крышкой и «землей» или диодом защиты от ЭСР диодного осветительного прибора является слишком дорогостоящим, чтобы его можно было воплотить на практике. Диодный осветительный прибор в соответствии с изобретением активно обеспечивает притяжение электростатического заряда к диодному осветительному прибору там, где его можно безопасно отводить посредством прибора для отвода ЭСР на «землю». Вместе с тем, поскольку подключение к «земле» не всегда обеспечивается посредством балласта такого диодного осветительного прибора, прибор для отвода ЭСР предпочтительно электрически соединен с узловой точкой диода защиты от ЭСР. При наличии такого диодного осветительного прибора в соответствии с изобретением, любой переход ЭСР с внутренней поверхности корпуса в направлении светоизлучающих диодов будет предусматривать безопасный и эффективный отвод к стоку тока.

Чтобы гарантировать, что любой ЭСР, «выпускаемый» по направлению к осветительному прибору с любого направления, надежно отводится посредством прибора для отвода ЭСР, последний прибор предпочтительно располагают на расстоянии, предпочтительно составляющем, по большей мере 3,0 мм, предпочтительнее - по большей мере, 1,0 мм, наиболее предпочтительно - по большей мере, 0,3 мм от межкомпонентного соединения (межкомпонентных соединений), или от внешних краев межкомпонентного соединения (межкомпонентных соединений) осветительного прибора. Например, антенну можно наносить на расстоянии 0,5 мм рядом с кристаллами осветительного прибора, или коллиматор можно располагать около осветительного прибора так, чтобы основание или нижний край одной из его сторон, имеющий металлизированную поверхность, располагался на расстоянии 0,2 мм рядом с кристаллами осветительного прибора. Столь малый промежуток достаточен для гарантии, что любой ЭСР, «выпускаемый» в направлении осветительного прибора, надежно отводится в сток тока, например, в узловую точку прибора для отвода ЭСР.

Прибору для отвода ЭСР предпочтительно приданы размеры, позволяющие ему приспособиться к скачку напряжения до 2,0 кВ, предпочтительнее до 8 кВ, наиболее предпочтительно до 15 кВ. Этого можно достичь, например, посредством надлежащего выбора ширины и длины антенны, расположенной рядом с межкомпонентными соединениями диодного осветительного прибора, или посредством коллиматора, металлизированного надлежащим образом.

Диодный осветительный прибор может содержать любую подходящую комбинацию приборов на светоизлучающих диодах и диода защиты от ЭСР. Например, диодные осветительные приборы могут быть соединены последовательно для получения осветительного устройства с большей светоотдачей. Последовательное соединение, в сущности, представляет собой еще одно уязвимое межкомпонентное соединение, которое потенциально может быть аттрактором для электростатического разряда. Поэтому в дополнительном предпочтительном варианте осуществления изобретения, диодный осветительный прибор содержит первый прибор на светоизлучающих диодах, соединенный последовательно со вторым прибором на светоизлучающих диодах, и при этом прибор для отвода электростатического разряда проходит в физической близости, по меньшей мере, к одному межкомпонентному соединению между соседними светоизлучающими диодами первого прибора на светоизлучающих диодах и, по меньшей мере, одному межкомпонентному соединению между соседними светоизлучающими диодами второго прибора на светоизлучающих диодах. Таким образом, все межкомпонентные соединения между светоизлучающими диодами комбинированного осветительного прибора можно защитить от повреждения посредством ЭСР с помощью одного-единственного прибора для отвода ЭСР.

Краткое описание чертежей

На фиг. 1 показана электрическая схема известного диодного осветительного прибора;

на фиг. 2 показана электрическая схема диодного осветительного прибора в соответствии с первым вариантом осуществления изобретения;

на фиг. 3 показан осветительный узел автомобиля в соответствии с первым вариантом осуществления изобретения;

на фиг. 4 показано схематическое изображение осветительного узла автомобиля в соответствии со вторым вариантом осуществления изобретения;

на фиг. 5 показана принципиальная схема диодного осветительного прибора в соответствии со вторым вариантом осуществления изобретения;

на фиг. 6 показана электрическая схема диодного осветительного прибора в соответствии со вторым вариантом осуществления изобретения.

Одинаковые объекты на чертежах обозначены одинаковыми позициями. Объекты на чертежах не обязательно начерчены в масштабе.

Подробное описание вариантов осуществления

На фиг. 1 показана электрическая схема известного диодного осветительного прибора. В данном случае, четыре открытых светоизлучающих диода 1 соединены последовательно, так что межкомпонентное соединение 10 находится между соседними светоизлучающими диодами 1 каждой пары. Этот последовательно соединенный прибор соединен параллельно с диодным прибором 2 для защиты от ЭСР, в этом случае - прибором 2 на встречно включенных диодах Зенера, между узловыми точками 21, 22. Между двумя входными выводами 31, 32 можно прикладывать напряжение для возбуждения светоизлучающих диодов. Скачок напряжения, являющийся результатом электростатического заряда S1 на любом из входных выводов 31, 32 или в окрестности узловой точки 21, 22, обычно надежно отводится через диод 2 защиты от ЭСР, например, вдоль направления FOK, так что он не оказывает негативное влияние на светоизлучающие диоды 1. Однако если в окрестности уязвимого межкомпонентного соединения 10 нарастает электростатический заряд S2, результирующий скачок S2 напряжения может разряжаться через светоизлучающие диоды 1 вместо того, чтобы разряжаться в любом из направлений FX, FX' или в них обоих, что приводит к причинению повреждения одному или нескольким светоизлучающим диодам 1 и отказу диодного осветительного прибора.

На фиг. 2 показана электрическая схема диодного осветительного прибора 1 в соответствии с первым вариантом осуществления изобретения. Здесь воплощена та же базовая схема, как примененная на вышеупомянутой фиг. 1. Однако светоизлучающие диоды 1 экранированы от электростатического разряда посредством прибора для отвода ЭСР, в этом случае - «антенны» 4 или дополнительного электрода 4, расположенной или расположенного так, что пролегает рядом со светоизлучающими диодами 1 и их межкомпонентными соединениями 10. Конечно, «антенна» 4 не имеет никакой функции передачи-приема сигналов, а называется антенной лишь с учетом ее длинной узкой формы с разомкнутыми концами. Любой электростатический заряд S2, который может возникнуть в окрестности светоизлучающих диодов 1, можно безопасно разрядить через антенну 4, которая отводит ток в направлении FOK через диод 2 защиты от ЭСР.

На фиг. 3 частично показан первый вариант осуществления осветительного узла 3А автомобиля, в котором используется диодный осветительный прибор согласно фиг. 2. Здесь светоизлучающие диоды 1 установлены на керамическую печатную плату 7, которая затем прикреплена к металлическому основанию 61 или теплоотводу 61. Металлизированные области 21, 22, 10 образуют электрические соединения 21, 22, 10 между положительными и отрицательными выводами светоизлучающих диодов 1. В данном случае, диоды 1 представляют собой, по существу, квадратные кристаллы 1, наложенные так, что частично покрывают металлизированные зоны 21, 22, 10. Металлизированные области под кристаллами 1 указаны пунктирными линиями. Теплоотвод 61 может быть соединен с другой частью, например, со стоком тока корпуса фары (не показан). На основании 61 установлен каркас 62 или оболочка 62, которому или которой может быть придана подходящая форма, предусматривающая заключение внутри нее электрических соединителей для возбуждения светоизлучающих диодов, или форма, приспосабливаемая к электрическим соединителям 310, 320. Каркас 62 (который может быть выполнен из пластмассы) и электрические соединители 310, 320 на этом чертеже показаны весьма схематично. В этом варианте осуществления, антенна 4 нанесена на поверхность каркаса 62 с помощью надлежащего метода, например - по технологии формуемых межкомпонентных устройств (ФМУ). Антенна 4 служит для отвода электростатического разряда в узловые точки 21, 22 диода 2 защиты от ЭСР, чтобы экранировать светоизлучающие диоды 1 от повреждающих воздействий скачка. В данном случае, один конец антенны 4 показан электрически соединенным, например - посредством пайки, с входным выводом 31. Конечно, тот конец антенны с тем же успехом может быть соединен с одной из металлизированных областей 21, 22. Вместе с тем, на керамическую печатную плату нанесено покрытие, чтобы покрыть все элементы 21, 22, 2, 10, за исключением светоизлучающих диодов 1, вследствие чего паяное соединение с входным выводом обычно оказывается проще осуществимым.

На фиг. 4 показано схематическое изображение осветительного узла 3B автомобиля в соответствии со вторым вариантом осуществления изобретения. Диодный осветительный прибор воплощен устанавливаемым изнутри от пластмассовой светопропускающей внешней крышки 8, например, переднего или заднего осветительного устройства. В данном случае, вокруг светоизлучающих диодов 1 расположен коллиматор 5, придавая форму свету, излучаемому светоизлучающими диодами 1 во время работы (следует отметить, что диодный осветительный прибор, коллиматор 5 и внешняя крышка 8 показаны не в масштабе). Чтобы гарантировать отсутствие потерь света, такой коллиматор 5 обычно располагают очень близко к светоизлучающим диодам 1. В этом воплощении, коллиматор 5 имеет отражающую внутреннюю поверхность 50, образованную посредством металлизации внутренности коллиматора. Металлизированная поверхность 50 электрически соединена в некоторой точке, например - точке на своем основании, с узловой точкой диода защиты от ЭСР (не показанного на чертеже), так что металлизированная поверхность 50 действует как прибор для отвода ЭСР. Любой электростатический разряд S2, который мог бы возникнуть вблизи коллиматора 5, например - на внутренней поверхности (обозначенной в данном случае посредством надстройки из отрицательных ионов 9) пластмассовой крышки 8, будет эффективно отводиться от любых межкомпонентных соединений между светоизлучающими диодами 1 в диод защиты от ЭСР, так что эти соединения оказываются защищенными от повреждающих воздействий такого скачка S2.

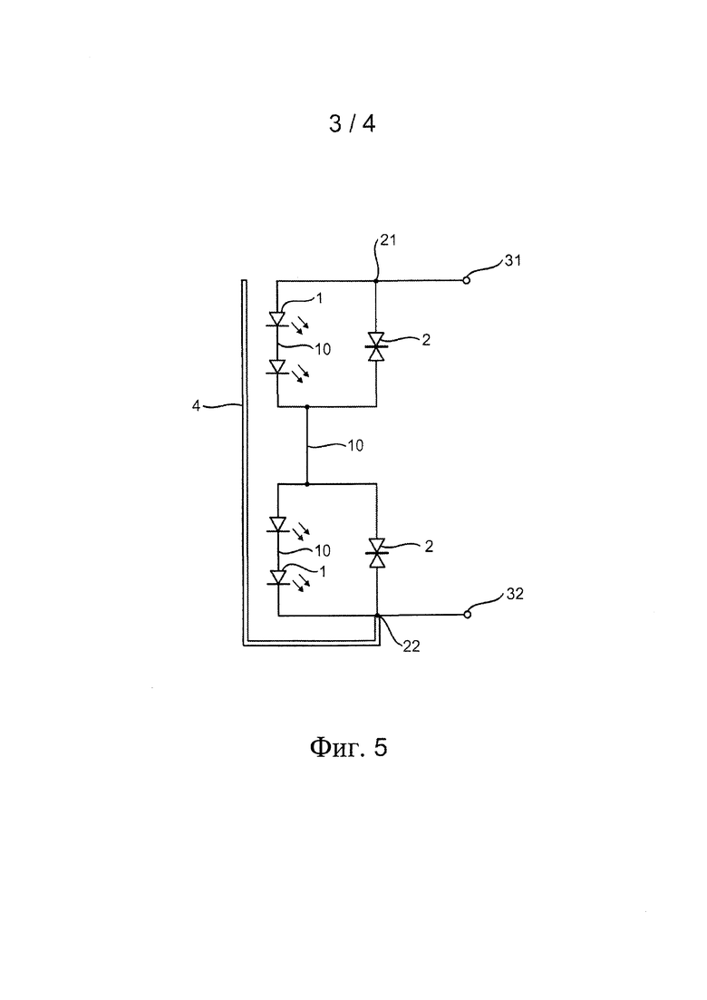
На фиг. 5 показана принципиальная схема диодного осветительного прибора 1В в соответствии со вторым вариантом осуществления изобретения. В данном случае, две пары светоизлучающих диодов 1 соединены последовательно. Каждая пара светоизлучающих диодов соединена параллельно со своим собственным диодным прибором 2 для защиты от ЭСР. В сущности, имеются три межкомпонентных соединения 10, которые могли бы служить в качестве точек входа для скачка напряжения. Следовательно, в этом варианте осуществления, антенна 4 расположена вдоль пар светоизлучающих диодов так, что она может экранировать все эти межкомпонентные соединения 10 от такого скачка, отводя любой ток FOK скачка через узловую точку 22 диода защиты от ЭСР посредством диодного прибора 2 для защиты от ЭСР так, что светоизлучающие диоды 1 оказываются защищенными от повреждения посредством ЭСР.

На фиг. 6 показана электрическая схема диодного осветительного прибора 1С в соответствии со вторым вариантом осуществления изобретения. В этом варианте осуществления, антенна 4 расположена рядом с межкомпонентными соединениями 10 между светоизлучающими диодами 1 и оканчивается у «земли» ЗМЛ, а не в узловой точке диода 2 защиты от ЭСР. Например, металлическое тело антенны может быть расположено в контакте с металлическим теплоотводом 61, показанным на вышеупомянутой фиг. 3 и схематически обозначенном здесь электрическим символом «ЗМЛ». Ввиду относительно большого объема теплоотвода и теплового стока, с которым он соединен, теплоотвод может иметь столь низкий потенциал, что может действовать как «земля», даже если он не соединен с электрической «землей» явно. Конечно, теплоотвод или тепловой сток также может быть соединен с «землей» непосредственно - в зависимости от воплощения осветительного блока. С помощью такого варианта осуществления можно надежно отводить на «землю» любой электростатический разряд, «выпускаемый» в области межкомпонентных соединений.

Хотя данное изобретение описано в форме предпочтительных вариантов осуществления и изменений в них, будет ясно, что в рамках объема притязаний изобретения в него можно внести многочисленные дополнительные модификации и изменения. Например, диодный осветительный прибор может содержать любую комбинацию приборов на открытых диодах и диода ЭСР. Кроме того, диодные приборы для защиты от ЭСР могут быть соединены на любом подходящем расстоянии от диодов, а не обязательно быть соединены в непосредственной близости, как показано на чертежах.

Из соображений ясности изложения, следует понять, что употребление признаков единственного числа по всей этой заявке не исключает множество, а слово «содержащий» не исключает другие этапы или элементы.

Похожие патенты RU2591041C2

название год авторы номер документа
ЗАЩИТА ОТ ЭЛЕКТРОСТАТИЧЕСКОГО РАЗРЯДА ДАТЧИКОВ НА ИОННО-СЕЛЕКТИВНЫХ ПОЛЕВЫХ ТРАНЗИСТОРАХ 1995
  • Рональд Д.Бакстер
  • Джеймс Г.Коннери
  • Джон Д.Фогель
  • Спенсер В.Силверторн
RU2134877C1
ВСТРАИВАЕМЫЙ ОСВЕТИТЕЛЬНЫЙ УЗЕЛ 2011
  • Шуг Йозеф Андреас
  • Шпингер Бенно
RU2553271C2
ОСВЕТИТЕЛЬНЫЙ ПРИБОР С СИД И УЛУЧШЕННЫМ ОТРАЖАЮЩИМ КОЛЛИМАТОРОМ 2013
  • Дросс Оливер
  • Кадейк Симон Эме
RU2636754C2
СПОСОБЫ И УСТРОЙСТВО КОМПЕНСАЦИИ УДАЛЕНИЯ СИДОВ ИЗ МАТРИЦЫ СИД 2013
  • Аляксеев Дмитрий Викторович
  • Ньютон Филип Стивен
  • Энгелен Дирк Валентинус Рене
  • Деккер Тим
RU2640818C2
ОСВЕТИТЕЛЬНОЕ УСТРОЙСТВО 2011
  • Хикмет Рифат Ата Мустафа
  • Криге Ян Корнелис
  • Силлессен Йоханнес Франсискус Мария
  • Вег Рене Теодорус
RU2555199C2
ЗАЩИТА ОТ ЭЛЕКТРОСТАТИЧЕСКОГО РАЗРЯДА В ПЕРЕНОСНОМ УСТРОЙСТВЕ СВЯЗИ 1998
  • Перссон Йёран
RU2204871C2
СПОСОБЫ И УСТРОЙСТВА ДЛЯ ОБЕСПЕЧЕНИЯ ПРОЖЕКТОРНОГО ОСВЕЩЕНИЯ НА ОСНОВЕ СВЕТОИЗЛУЧАЮЩИХ ДИОДОВ В ПРИЛОЖЕНИЯХ ДЛЯ ОСВЕЩЕНИЯ СЦЕНЫ 2008
  • Чемел Брайан
  • Блэкуэлл Майкл К.
  • Пипграс Колин
  • Уорвик Джон
RU2503883C2
УСТРОЙСТВО ДЛЯ ИЗЛУЧЕНИЯ КОДИРОВАННОГО СВЕТА 2011
  • Лопес Тони
  • Зауэрлендер Георг
RU2613430C2
МОДУЛЬ ОСВЕТИТЕЛЬНОГО УСТРОЙСТВА (ВАРИАНТЫ) 2007
  • Харра Шейн
RU2453948C2
УСТРОЙСТВО ЗАЩИТЫ ОТ ПЕРЕНАПРЯЖЕНИЙ 2012
  • Сесинк Герардус Вильхельмус Корнелис
RU2596803C2

Иллюстрации к изобретению RU 2 591 041 C2

Реферат патента 2016 года ДИОДНЫЙ ОСВЕТИТЕЛЬНЫЙ ПРИБОР

Изобретение относится к диодному осветительному прибору, осветительному узлу автомобиля, содержащему такой диодный осветительный прибор, и способу изготовления диодного осветительного прибора. Техническим результатом является защита диодного осветительного прибора от электростатического разряда. Результат достигается тем, что диодный осветительный прибор (1А, 1В, 1С), содержит прибор (1, 2) на светоизлучающих диодах, содержащий, по меньшей мере, два открытых, последовательно соединенных светоизлучающих диода (1), соединенных параллельно с диодным прибором (2) для защиты от электростатического разряда, а также и прибор (4) для отвода электростатического разряда, простирающийся в физической близости к межкомпонентному соединению (10) между соседними светоизлучающими диодами (1) прибора (1, 2) на светоизлучающих диодах, причем прибор (4) для отвода выполнен с возможностью отвода электростатического разряда (S2) от межкомпонентного соединения (10) в область низкого потенциала (21, 22, GND). 3 н. и 10 з.п. ф-лы, 6 ил.

Формула изобретения RU 2 591 041 C2

1. Диодный осветительный прибор (1А, 1В, 1С), содержащий:
прибор (1, 2) на светоизлучающих диодах, содержащий, по меньшей мере, два открытых, последовательно соединенных светоизлучающих диода (1), соединенных параллельно с диодным прибором (2) для защиты от электростатического разряда; и
прибор (4, 50) для отвода электростатического разряда, простирающийся в физической близости к межкомпонентному соединению (10) между соседними светоизлучающими диодами (1) прибора (1, 2) на светоизлучающих диодах, причем прибор (4, 50) для отвода выполнен с возможностью отвода электростатического разряда (S2) от межкомпонентного соединения (10) в область низкого потенциала (21, 22, GND).

2. Диодный осветительный прибор по п. 1, в котором прибор (4) для отвода электростатического разряда содержит антенну (4), расположенную, по существу, рядом с межкомпонентным соединением (10).

3. Диодный осветительный прибор по п. 2, в котором антенна (4) представляет собой металлическую полоску (4), нанесенную на каркас (62) прибора (1, 2) на светоизлучающих диодах.

4. Диодный осветительный прибор по п. 1, содержащий оболочечный компонент (5), расположенный вокруг светоизлучающих диодов (1) прибора (1, 2) на светоизлучающих диодах, причем прибор (50) для отвода электростатического разряда содержит металлизированную поверхность (50) оболочечного компонента (5).

5. Диодный осветительный прибор по п. 4, в котором
оболочечный компонент (5) содержит коллиматор (5).

6. Диодный осветительный прибор по п. 5, в котором прибор (50) для отвода электростатического разряда содержит отражающее покрытие (50) на поверхности коллиматора (5).

7. Диодный осветительный прибор по п. 1, содержащий электрическое соединение между прибором (4, 50) для отвода электростатического разряда и узловой точкой (21, 22) диодного прибора (2) для защиты от электростатического разряда.

8. Диодный осветительный прибор по п. 1, содержащий промежуток между межкомпонентным соединением (10) и прибором (4, 50) для отвода электростатического разряда, составляющий, по большей мере 3,0 мм, предпочтительнее - по большей мере, 1,0 мм, наиболее предпочтительно - по большей мере, 0,3 мм.

9. Диодный осветительный прибор по п. 1, в котором прибору (4, 50) для отвода электростатического разряда приданы размеры, позволяющие ему приспособиться к скачку (S2) напряжения до 2,0 кВ, предпочтительнее - до 8,0 кВ, наиболее предпочтительно - до 15,0 кВ.

10. Диодный осветительный прибор по любому из предыдущих пунктов, содержащий первый прибор (1, 2) на светоизлучающих диодах, соединенный последовательно со вторым прибором (1, 2) на светоизлучающих диодах, и при этом прибор (4, 50) для отвода электростатического разряда проходит в физической близости, по меньшей мере, к одному межкомпонентному соединению (10) между соседними светоизлучающими диодами (1) первого прибора (1, 2) на светоизлучающих диодах и, по меньшей мере, одному межкомпонентному соединению (10) между соседними светоизлучающими диодами (1) второго прибора (1, 2) на светоизлучающих диодах.

11. Осветительный узел (3А, 3D) автомобиля, содержащий диодный осветительный прибор (1А, 1В, 1С) по любому из пп. 1-10.

12. Осветительный узел автомобиля по п. 11, при этом осветительный узел автомобиля (3А, 3В) выполнен с возможностью расположения изнутри светопропускающей внешней крышки (8) осветительного блока автомобиля.

13. Способ изготовления диодного осветительного прибора (1А, 1В, 1С), включающий в себя этапы, на которых:
последовательно соединяют прибор (1, 2) на светоизлучающих диодах, содержащий, по меньшей мере, два открытых, последовательно соединенных светоизлучающих диода (1), параллельно с диодным прибором (2) для защиты от электростатического разряда; и
располагают прибор (4, 50, 60) для отвода электростатического разряда так, что он простирается в физической близости, по меньшей мере, к одному межкомпонентному соединению (10) между соседними светоизлучающими диодами (1) прибора (1, 2) на светоизлучающих диодах, причем этот прибор (4, 50) для отвода выполнен с возможностью отвода электростатического разряда (S2) от межкомпонентного соединения (10) в область низкого потенциала (21, 22, GND).

Документы, цитированные в отчете о поиске Патент 2016 года RU2591041C2

US 7893622 B2, 2011.02.22
US 2005156186 A1, 2005.07.21
US 2009290273 A1, 2009.11.26
US 7151281 B2, 2006.12.19
US 2006267040 A1, 2006.11.30
US 2009316315 A1, 2009.12.24
Устройство для получения парогазовой смеси 1952
  • Влодавец И.Н.
SU97865A1

RU 2 591 041 C2

Авторы

Шуг Йозеф Андреас

Даты

2016-07-10Публикация

2012-05-30Подача