[0001] Данная заявка основана на заявке на патент Китая №201310334335.2, поданной 2 августа 2013 года, по которой испрашивается приоритет и содержание которой целиком включено в состав настоящей заявки посредством ссылки.
ОБЛАСТЬ ТЕХНИКИ
[0002] Раскрытие настоящего изобретения относится к области компьютерной и связной технологии, а более конкретно - к способу и устройству для формирования библиотеки меток, а также к способу и устройству поиска пользователя.
ПРЕДПОСЫЛКИ СОЗДАНИЯ ИЗОБРЕТЕНИЯ
[0003] Благодаря развитию Интернет-технологий пользователи могут применять высокоуровневые многоцелевые услуги, реализуемые посредством современной компьютерной информационной технологии. Услуга поддержки социальных сетей (SNS, Social Networking Service), которая появилась вместе с развитием сети Интернет, стала ключевым фактором для сближения Интернета с реальным миром. В результате Интернет стал не только прикладной платформой для исследовательских институтов, школ, правительственных и коммерческих организаций, но и средством социального общения для обычных людей, удовлетворяющим их социальные запросы и участвующим в процессе обычного социального общения. SNS, основанная на принципе “низких затрат замещения”, эффективно сокращает время и реальную стоимость в процессе социального общения или, другими словами, эффективно сокращает затраты на обработку и передачу информации. С помощью SNS стало возможным передавать и принимать сообщения электронной почты от друзей, находящихся на расстоянии, превышающем тысячи миль, выполнять совместные проекты и просто наслаждаться общением с ними. Кроме того, с помощью SNS можно находить других пользователей этой услуги и добавлять их в список контактов для знакомства с новыми друзьями и расширения области персональных взаимосвязей и социального общения.
[0004] В настоящее время при поиске в SNS контакта в соответствии с конкретным условием пользователь обычно выполняет поиск непосредственно в своем списке контактов или во всей социальной сети.
[0005] Однако указанная выше контактная взаимосвязь между пользователями ограничена только непосредственными контактами. То есть, пользователь может устанавливать взаимное соединение только посредством контактной информации, указанной в его списке контактов. Поиск пользователя на основе конкретного условия может осуществляться только в списке контактов определенного пользователя или во всей социальной сети. Тем не менее, такой способ получения информации о пользователе может не привести к желаемому результату, и в этом случае поиск контакта, удовлетворяющего заданному условию, характеризуется низкими уровнями эффективности и точности.
СУЩНОСТЬ ИЗОБРЕТЕНИЯ
[0006] В свете указанной выше проблемы целью вариантов раскрытия настоящего изобретения является реализация способа и устройства для формирования библиотеки меток, а также способа и устройства для поиска пользователя, с помощью которых пользователь может пометить других пользователей в социальной сети, при этом сделанная метка сохраняется в виде взаимосвязи; библиотека меток формируется посредством сохранения меток, сделанных пользователем для пометки других пользователей, и взаимосвязей; и с помощью библиотеки меток может выполняться поиск контакта на основе метки и взаимосвязи.
[0007] В соответствии с одним из аспектов вариантов раскрытия настоящего изобретения предлагается способ формирования библиотеки меток, включающий следующие шаги:
[0008] прием информации метки, сделанной одним из пользователей (отмечающим пользователем) в отношении другого пользователя (отмечаемого пользователя) в социальной сети; и
[0009] сохранение информации об отмечающем пользователе, отмечаемом пользователе и метке, сделанной отмечающим пользователем в отношении отмечаемого пользователя, в виде взаимосвязи и формирование библиотеки меток на основе по меньшей мере одной взаимосвязи в социальной сети.
[0010] Согласно вариантам раскрытия настоящего изобретения пользователь может пометить других пользователей в социальной сети; при этом сделанная метка сохраняется в виде взаимосвязи; библиотека меток формируется посредством сохранения меток, сделанных пользователем для пометки других пользователей, и взаимосвязей; и с помощью библиотеки меток может выполняться поиск контакта на основе метки и взаимосвязи. Поскольку поиск основан как на информации метки, так и на взаимосвязи, искомый пользовать косвенно сопоставляется с ищущим пользователем. Таким образом, информация об искомом пользователе более надежна, и доля успешных попыток при поиске повышается.
[0011] Согласно варианту осуществления, информация метки, сделанной отмечающим пользователем в отношении отмечаемого пользователя, содержит одно или более следующих сведений об отмечаемом пользователе: род занятий, квалификация, интересы, любимые знаменитости, рабочее положение и семейное положение.
[0012] Согласно варианту осуществления перед приемом информации метки, сделанной отмечающим пользователем в отношении отмечаемого пользователя в социальной сети, способ также включает:
[0013] прием запроса, переданного отмечаемым пользователем, для предложения по меньшей мере одному отмечающему пользователю сделать метку в отношении отмечаемого пользователя; и
[0014] передачу запроса на метку в отношении отмечаемого пользователя по меньшей мере одному отмечающему пользователю.
[0015] В соответствии с вариантами раскрытия настоящего изобретения отмечаемый пользователь может предварительно предложить другому пользователю сделать метку о нем, а не пассивно ожидать выполнения другим пользователем метки о себе, что повышает гибкость процесса выполнения метки и улучшает рабочий интерфейс пользователя.
[0016] Согласно варианту осуществления запрос, переданный отмечаемым пользователем для предложения по меньшей мере одному отмечающему пользователю сделать метку в отношении отмечаемого пользователя, содержит информацию метки, сделанной отмечаемым пользователем в отношении самого себя; и
[0017] запрос на метку в отношении отмечаемого пользователя, передаваемый по меньшей мере одному отмечающему пользователю, содержит информацию метки, сделанной отмечаемым пользователем в отношении самого себя.
[0018] Согласно вариантам раскрытия настоящего изобретения предлагается техническое решение, посредством которого отмечаемый пользователь может предоставить информацию метки и запросить подтверждение у отмечающего пользователя. Таким образом, отмечаемый пользователь может сам сформировать информацию метки, и отмечающему пользователю необходимо только подтвердить или изменить информацию метки, благодаря чему также повышается гибкость выполнения операций отмечающим и отмечаемым пользователями и улучшается пользовательский интерфейс.
[0019] Согласно варианту осуществления после приема информации метки, сформированной отмечающим пользователем в отношении отмечаемого пользователя в социальной сети, способ также включает:
[0020] проверку, разрешает ли отмечаемый пользователь сделать метку;
[0021] при этом процедура сохранения информации об отмечающем пользователе, отмечаемом пользователе и о метке, сделанной отмечающим пользователем в отношении отмечаемого пользователя, в виде взаимосвязи и формирования библиотеки меток на основе по меньшей мере одной взаимосвязи в социальной сети включает следующую операцию: если отмечаемый пользователь разрешает сделать метку, сохранение информации об отмечающем пользователе, отмечаемом пользователе и о метке, сделанной отмечающим пользователем в отношении отмечаемого пользователя, в виде взаимосвязи и формирование библиотеки меток на основе по меньшей мере одной взаимосвязи в социальной сети.
[0022] Согласно вариантам осуществления в соответствии с установками отмечаемого пользователя принимается решение, следует ли сохранить информацию метки, сделанной отмечающим пользователем в отношении отмечаемого пользователя, и только в том случае, если отмечаемый пользователь разрешает сделать метку, может быть сделана метка, указывающая на отмечаемого пользователя. Такая процедура может эффективно предотвратить произвольную пометку пользователя и повысить безопасность и эффективность при создании метки.
[0023] Согласно варианту осуществления, после приема информации метки, сформированной отмечающим пользователем в отношении отмечаемого пользователя в социальной сети, способ также включает:
[0024] передачу отмечаемому пользователю информации метки, сделанной отмечающим пользователем в отношении отмечаемого пользователя, с целью подтверждения и
[0025] определение, поступило ли сообщение, указывающее на то, что отмечаемый пользователь соглашается с информацией метки;
[0026] при этом процедура сохранения информации об отмечающем пользователе, отмечаемом пользователе и о метке, сделанной отмечающим пользователем в отношении отмечаемого пользователя, в виде взаимосвязи и формирования библиотеки меток на основе по меньшей мере одной взаимосвязи в социальной сети включает следующую операцию: если принимается сообщение, указывающее на то, что отмечаемый пользователь соглашается с информацией метки, сохранение информации об отмечающем пользователе, отмечаемом пользователе и о метке, сделанной отмечающим пользователем в отношении отмечаемого пользователя, в виде взаимосвязи и формирование библиотеки меток на основе по меньшей мере одной взаимосвязи в социальной сети.
[0027] Согласно вариантам раскрытия настоящего изобретения дополнительно определяется, соглашается ли отмечаемый пользователь с информацией метки, сделанной отмечающим пользователем в отношении отмечаемого пользователя, и информация метки может сохраняться в библиотеке меток только в том случае, если отмечаемый пользователь согласен с этой информацией. Таким образом, такая процедура может эффективно предотвратить произвольную пометку пользователя и повысить безопасность и эффективность при создании метки.
[0028] Согласно варианту осуществления после приема информации метки, сформированной отмечающим пользователем в отношении отмечаемого пользователя в социальной сети, способ также включает:
[0029] передачу отмечаемому пользователю информации метки, сделанной отмечающим пользователем в отношении отмечаемого пользователя, с целью дополнения и
[0030] прием информации метки, дополненной отмечаемым пользователем;
[0031] при этом процедура сохранения информации об отмечающем пользователе, отмечаемом пользователе и о метке, сделанной отмечающим пользователем в отношении отмечаемого пользователя, в виде взаимосвязи и формирования библиотеки меток на основе по меньшей мере одной взаимосвязи в социальной сети включает сохранение информации об отмечающем пользователе, отмечаемом пользователе и дополненной информации метки в виде взаимосвязи и формирование библиотеки меток на основе по меньшей мере одной взаимосвязи в социальной сети.
[0032] Согласно вариантам раскрытия настоящего изобретения отмечаемый пользователь может дополнить информацию метки для расширения содержимого метки с целью детализации и повышения точности.
[0033] В соответствии с вариантом осуществления способ также включает:
[0034] получение сведений о периоде достоверности информации метки, сделанной отмечающим пользователем в отношении отмечаемого пользователя;
[0035] при этом процедура сохранения информации об отмечающем пользователе, отмечаемом пользователе и о метке, сделанной отмечающим пользователем в отношении отмечаемого пользователя, в виде взаимосвязи и формирования библиотеки меток на основе по меньшей мере одной взаимосвязи в социальной сети включает: сохранение информации об отмечающем пользователе, отмечаемом пользователе, о метке, сделанной отмечающим пользователем в отношении отмечаемого пользователя и о периоде достоверности информации метки в виде взаимосвязи и формирование библиотеки меток на основе по меньшей мере одной взаимосвязи в социальной сети; и
[0036] если период достоверности информации метки истекает, удаление из библиотеки меток информации об отмечающем пользователе, отмечаемом пользователе и о метке, выполненной отмечающим пользователем в отношении отмечаемого пользователя, связанной с периодом достоверности информации метки.
[0037] В соответствии с другим аспектом вариантов раскрытия настоящего изобретения предлагается способ поиска пользователя, включающий:
[0038] прием запроса поиска, переданного в библиотеку меток и содержащего по меньшей мере информацию об инициаторе поиска и ключевое слово поиска; при этом библиотека меток формируется на основе по меньшей мере одной взаимосвязи в социальной сети, в которой сведения об отмечающем пользователе, отмечаемом пользователе и информация метки, созданной отмечающим пользователем в отношении отмечаемого пользователя, сохраняются в виде взаимосвязи;
[0039] определение контакта заранее заданного уровня инициатора поиска на основе по меньшей мере одной взаимосвязи в библиотеке меток; при этом контакт заранее заданного уровня представляет собой контакт, находящийся во взаимосвязи с инициатором поиска в пределах заранее заданного уровня, основанного по меньшей мере на одной взаимосвязи;
[0040] поиск информации метки, согласующейся с ключевым словом поиска из информации метки, относящейся к контакту, как отмечающему пользователю, из библиотеки меток; и
[0041] возврат искомой согласующейся информации метки.
[0042] Согласно вариантам раскрытия настоящего изобретения контакт может быть найден посредством поиска информации метки в библиотеке меток, благодаря чему пользователь может безошибочно и быстро найти другого пользователя, данные которого удовлетворяют условию, содержащемуся в контактной информации заранее заданного уровня. Поскольку поиск пользователя осуществляется в соответствии с информацией метки, сделанной контактом, сведения, предоставляемые об искомом пользователе, являются более надежными, благодаря чему возрастает доля успешных попыток поиска.
[0043] В соответствии с вариантом осуществления запрос поиска передается инициатором поиска в библиотеку меток; и
[0044] процедура возврата согласующейся искомой информации метки заключается в передаче инициатору поиска информации отмечаемого пользователя, связанного с согласующейся информацией метки.
[0045] Согласно варианту осуществления в запросе поиска инициатор поиска является отмечаемым пользователем, связанным с фрагментом информации метки, содержащейся в библиотеке меток, и ключевое слово поиска извлекается из фрагмента информации метки; и
[0046] процедура возврата согласующейся искомой информации метки заключается в передаче согласующейся информации метки инициатору поиска и/или отмечаемому пользователю, связанному с согласующейся информацией метки.
[0047] Согласно вариантам раскрытия настоящего изобретения пользователь может рекомендоваться предварительно и безошибочно с помощью согласующейся информации метки пользователя, что экономит время выполнения процесса поиска, затраты и издержки пользователя.
[0048] В соответствии с вариантом заранее заданный уровень определяется инициатором поиска или задается по умолчанию.
[0049] В соответствии с вариантом осуществления способ также включает:
[0050] на основе по меньшей мере одной взаимосвязи в библиотеке меток получение информации о взаимосвязи между инициатором поиска и отмечающим пользователем, связанным с согласующейся информацией метки, и взаимосвязи между инициатором поиска и отмечаемым пользователем, связанным с согласующейся информацией метки; и
[0051] передачу полученной информации о взаимосвязях инициатору поиска и/или отмечаемому пользователю, связанному с согласующейся информацией метки.
[0052] В соответствии с другим аспектом вариантов раскрытия настоящего изобретения также предлагается устройство формирования библиотеки меток, содержащее:
[0053] первый приемный модуль, сконфигурированный для приема информации метки, сделанной отмечающим пользователем в отношении отмечаемого пользователя в социальной сети; и
[0054] модуль формирования библиотеки меток, сконфигурированный для сохранения информации об отмечающем пользователе, отмечаемом пользователе и о метке, сделанной отмечающим пользователем в отношении отмечаемого пользователя, в виде взаимосвязи и формирования библиотеки меток на основе по меньшей мере одной взаимосвязи в социальной сети.
[0055] Согласно варианту осуществления информация метки, сделанной отмечающим пользователем в отношении отмечаемого пользователя, содержит одно или более следующих сведений об отмечаемом пользователе: род занятий, квалификация, интересы, любимые знаменитости, рабочее положение и семейное положение.
[0056] Согласно варианту осуществления устройство также содержит:
[0057] второй приемный модуль, сконфигурированный для приема запроса, переданного отмечаемым пользователем, для предложения по меньшей мере одному отмечающему пользователю сделать метку в отношении отмечаемого пользователя; и
[0058] первый передающий модуль, сконфигурированный для передачи запроса на метку в отношении отмечаемого пользователя по меньшей мере одному отмечающему пользователю.
[0059] Согласно варианту осуществления запрос, переданный отмечаемым пользователем для предложения по меньшей мере одному отмечающему пользователю сделать метку в отношении отмечаемого пользователя, содержит информацию метки, сделанной отмечаемым пользователем в отношении самого себя; и
[0060] запрос на метку в отношении отмечаемого пользователя, передаваемый по меньшей мере одному отмечающему пользователю, содержит информацию метки, сделанной отмечаемым пользователем в отношении самого себя.
[0061] Согласно варианту осуществления устройство также содержит:
[0062] первый модуль принятия решения, сконфигурированный для определения, разрешает ли отмечаемый пользователь сделать метку;
[0063] при этом модуль формирования библиотеки меток сконфигурирован таким образом, чтобы в том случае, если отмечаемый пользователь разрешает сделать метку, сохранялась информация об отмечающем пользователе, отмечаемом пользователе и о метке, сделанной отмечающим пользователем в отношении отмечаемого пользователя, в виде взаимосвязи, и формировалась библиотека меток на основе по меньшей мере одной взаимосвязи в социальной сети.
[0064] Согласно варианту осуществления устройство также содержит:
[0065] второй передающий модуль, сконфигурированный для передачи отмечаемому пользователю информации метки, сделанной отмечающим пользователем в отношении отмечаемого пользователя, с целью подтверждения; и
[0066] второй модуль принятия решения, сконфигурированный для определения, поступило ли сообщение, указывающее на то, что отмечаемый пользователь соглашается с информацией метки;
[0067] при этом модуль формирования библиотеки меток сконфигурирован таким образом, чтобы в том случае, если поступает сообщение, указывающее на то, что отмечаемый пользователь соглашается с информацией метки, сохранялась информация об отмечающем пользователе, отмечаемом пользователе и о метке, сделанной отмечающим пользователем в отношении отмечаемого пользователя, в виде взаимосвязи, и формировалась библиотека меток на основе по меньшей мере одной взаимосвязи в социальной сети.
[0068] Согласно варианту осуществления устройство также содержит:
[0069] третий передающий модуль, сконфигурированный для передачи отмечаемому пользователю информации метки, сделанной отмечающим пользователем в отношении отмечаемого пользователя, с целью дополнения информации; и
[0070] третий приемный модуль, сконфигурированный для приема информации метки, дополненной отмечаемым пользователем;
[0071] при этом модуль формирования библиотеки меток сконфигурирован для сохранения информации об отмечающем пользователе, отмечаемом пользователе и дополненной информации метки в виде взаимосвязи и формирования библиотеки меток на основе по меньшей мере одной взаимосвязи в социальной сети.
[0072] Согласно варианту осуществления устройство также содержит:
[0073] первый модуль получения информации, сконфигурированный для получения сведений о периоде достоверности информации метки, сделанной отмечающим пользователем в отношении отмечаемого пользователя;
[0074] при этом модуль формирования библиотеки меток сконфигурирован для сохранения информации об отмечающем пользователе, отмечаемом пользователе, о метке, сделанной отмечающим пользователем в отношении отмечаемого пользователя, и о периоде достоверности информации метки в виде взаимосвязи и формирования библиотеки меток на основе по меньшей мере одной взаимосвязи в социальной сети; и
[0075] модуль удаления, сконфигурированный таким образом, чтобы в том случае, если период достоверности информации метки истекает, из библиотеки меток удалялась информация об отмечающем пользователе, отмечаемом пользователе и о метке, выполненной отмечающим пользователем в отношении отмечаемого пользователя, связанная с периодом достоверности информации метки.
[0076] В соответствии с другим аспектом вариантов раскрытия настоящего изобретения также предлагается устройство поиска пользователя, содержащее:
[0077] четвертый приемный модуль, сконфигурированный для приема запроса поиска, переданного в библиотеку меток и содержащего по меньшей мере информацию об инициаторе поиска и ключевое слово поиска; при этом библиотека меток формируется на основе по меньшей мере одной взаимосвязи в социальной сети, в которой сведения об отмечающем пользователе, отмечаемом пользователе и информация метки, сделанной отмечающим пользователем в отношении отмечаемого пользователя, сохраняются в виде взаимосвязи;
[0078] модуль определения, сконфигурированный для определения контакта заранее заданного уровня инициатора поиска на основе по меньшей мере одной взаимосвязи в библиотеке меток; при этом контакт заранее заданного уровня представляет собой находящийся во взаимосвязи контакт с инициатором поиска в пределах заранее заданного уровня, основанного по меньшей мере на одной взаимосвязи;
[0079] модуль поиска, сконфигурированный для поиска информации метки, согласующейся с ключевым словом поиска, в информации метки, относящейся к контакту, как отмечающему пользователю, из библиотеки меток; и
[0080] модуль возврата информации, сконфигурированный для возврата искомой согласующейся информации метки.
[0081] В соответствии с вариантом осуществления запрос поиска передается инициатором поиска в библиотеку меток; и
[0082] модуль возврата информации сконфигурирован для передачи информации отмечаемого пользователя, связанного с согласующейся информацией метки, инициатору поиска.
[0083] Согласно варианту осуществления в запросе поиска инициатор поиска является отмечаемым пользователем, связанным с фрагментом информации метки, содержащейся в библиотеке меток, и ключевое слово поиска извлекается из фрагмента информации метки; и
[0084] модуль возврата информации сконфигурирован для передачи согласующейся информации метки инициатору поиска и/или отмечаемому пользователю, связанному с согласующейся информацией метки.
[0085] В соответствии с вариантом осуществления заранее заданный уровень определяется инициатором поиска или задается по умолчанию.
[0086] Согласно варианту осуществления устройство также содержит:
[0087] второй модуль получения информации, сконфигурированный для получения на основе по меньшей мере одной взаимосвязи в библиотеке меток информации о взаимосвязи между инициатором поиска и отмечающим пользователем, связанным с согласующейся информацией метки, и взаимосвязи между инициатором поиска и отмечаемым пользователем, связанным с согласующейся информацией метки; и
[0088] четвертый передающий модуль, сконфигурированный для передачи полученной информации о взаимосвязях инициатору поиска и/или отмечаемому пользователю, связанному с согласующейся информацией метки. Ниже описываются другие признаки и преимущества вариантов раскрытия настоящего изобретения. Кроме того, они частично должны быть очевидны из описания или понятны в процессе раскрытия настоящего изобретения. Цель и другие преимущества раскрытия настоящего изобретения могут быть реализованы и достигнуты с помощью структур, специально указанных в этом описании, формуле изобретения и прилагаемых чертежах.
[0089] Следует принимать во внимание, что как предшествующее общее описание, так и последующее подробное описание представлено только в качестве примера и разъяснения сути изобретения и не ограничивает его объем, указанный в формуле изобретения.
[0090] Ниже приводится дальнейшее подробное описание технических решений вариантов раскрытия настоящего изобретения со ссылкой на прилагаемые чертежи и описываемые варианты осуществления.
КРАТКОЕ ОПИСАНИЕ ЧЕРТЕЖЕЙ
[0091] Прилагаемые чертежи для более четкого понимания вариантов раскрытия настоящего изобретения составляют одну из частей данного описания и совместно с вариантами раскрытия настоящего изобретения служат для объяснения этих вариантов, но не должны рассматриваться в качестве ограничения вариантов раскрытия настоящего изобретения. К описанию прилагаются чертежи, на которых:
[0092] на фиг. 1 показан пример алгоритма выполнения основного способа формирования библиотеки меток в соответствии с вариантом раскрытия настоящего изобретения;
[0093] на фиг. 2 показан пример алгоритма выполнения первого детализированного способа формирования библиотеки меток в соответствии с вариантом раскрытия настоящего изобретения;
[0094] на фиг. 3 показан пример алгоритма выполнения второго детализированного способа формирования библиотеки меток в соответствии с вариантом раскрытия настоящего изобретения;
[0095] на фиг. 4 показан пример алгоритма выполнения третьего детализированного способа формирования библиотеки меток в соответствии с вариантом раскрытия настоящего изобретения;
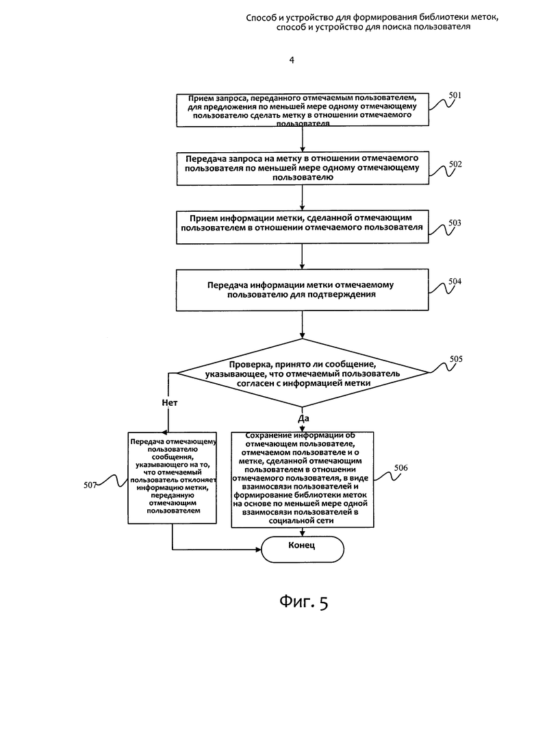
[0096] на фиг. 5 показан пример алгоритма выполнения четвертого детализированного способа формирования библиотеки меток в соответствии с вариантом раскрытия настоящего изобретения;
[0097] на фиг. 6 показан пример алгоритма выполнения пятого детализированного способа формирования библиотеки меток в соответствии с вариантом раскрытия настоящего изобретения;
[0098] на фиг. 7 показан пример алгоритма выполнения основного способа поиска пользователя с помощью библиотеки меток в соответствии с вариантом раскрытия настоящего изобретения;
[0099] на фиг. 8 показан пример алгоритма выполнения первого детализированного способа поиска пользователя в соответствии с вариантом раскрытия настоящего изобретения;
[00100] на фиг. 9 показан пример алгоритма выполнения второго детализированного способа поиска пользователя в соответствии с вариантом раскрытия настоящего изобретения;
[00101] на фиг. 10 показан пример алгоритма выполнения детализированного способа установления взаимосвязи пользователя с искомым пользователем с помощью библиотеки меток в соответствии с вариантом раскрытия настоящего изобретения;
[00102] на фиг. 11 показана общая блок-схема устройства формирования библиотеки меток в соответствии с вариантом раскрытия настоящего изобретения;
[00103] на фиг. 12 показана первая детализированная блок-схема устройства формирования библиотеки меток в соответствии с вариантом раскрытия настоящего изобретения;
[00104] на фиг. 13 показана вторая детализированная блок-схема устройства формирования библиотеки меток в соответствии с вариантом раскрытия настоящего изобретения;
[00105] на фиг. 14 показана третья детализированная блок-схема устройства формирования библиотеки меток в соответствии с вариантом раскрытия настоящего изобретения;
[00106] на фиг. 15 показана четвертая детализированная блок-схема устройства формирования библиотеки меток в соответствии с вариантом раскрытия настоящего изобретения;
[00107] на фиг. 16 показана пятая детализированная блок-схема устройства формирования библиотеки меток в соответствии с вариантом раскрытия настоящего изобретения;
[00108] на фиг. 17 показана общая блок-схема устройства поиска пользователя в соответствии с вариантом раскрытия настоящего изобретения;
[00109] на фиг. 18 показана детализированная блок-схема устройства поиска пользователя в соответствии с вариантом раскрытия настоящего изобретения.
[00110] Посредством описанных выше чертежей иллюстрируются конкретные варианты раскрытия настоящего изобретения, более подробное описание которых приводится ниже. Эти чертежи и текстовое описание не предназначены для ограничения каким-либо образом объема концепции раскрытия настоящего изобретения, но служат для специалистов в этой области техники для разъяснения концепции раскрытия настоящего изобретения посредством конкретных вариантов его осуществления.
ПОДРОБНОЕ ОПИСАНИЕ
[00111] Предпочтительные варианты раскрытия настоящего изобретения описываются ниже со ссылкой на прилагаемые чертежи. Однако следует понимать, что описываемые предпочтительные варианты осуществления приводятся просто для объяснения и иллюстрации раскрытия настоящего изобретения, но не исключают других вариантов осуществления.
[00112] Способы формирования библиотеки меток и поиска пользователя в соответствии с вариантами раскрытия настоящего изобретения реализуются на сервере, предназначенном для предоставления услуг общения в социальных сетях. На фиг. 1 в соответствии с вариантом раскрытия настоящего изобретения показан алгоритм выполнения способа формирования библиотеки меток, включающий описанные ниже шаги.
[00113] На шаге S101 принимается информация метки, сделанной отмечающим пользователем в отношении отмечаемого пользователя в социальной сети.
[00114] Согласно варианту осуществления информация метки, сделанной отмечающим пользователем в отношении отмечаемого пользователя, содержит одно или более следующих сведений об отмечаемом пользователе: род занятий, квалификация, интересы, любимые знаменитости, рабочее положение (например, находится ли пользователь в поисках работы или ищет сотрудников), семейное положение и т.п.
[00115] На шаге S102 сохраняется информация об отмечающем пользователе, отмечаемом пользователе и о метке, сделанной отмечающим пользователем в отношении отмечаемого пользователя, в виде взаимосвязи пользователей, и формируется библиотека меток на основе по меньшей мере одной взаимосвязи в социальной сети.
[00116] Согласно варианту осуществления могут быть получены данные о периоде достоверности информации метки, сделанной отмечающим пользователем в отношении отмечаемого пользователя; при этом информация об отмечающем пользователе, отмечаемом пользователе, о метке, сделанной отмечающим пользователем в отношении отмечаемого пользователя, и о периоде достоверности информации метки может сохраняться в виде взаимосвязи пользователей; и библиотека меток может формироваться на основе по меньшей мере одной взаимосвязи пользователей в социальной сети. Если период достоверности информации метки истекает, то из библиотеки меток удаляется информация об отмечающем пользователе, отмечаемом пользователе и метке, сделанной отмечающим пользователем в отношении отмечаемого пользователя, связанная с периодом достоверности информации метки. Период достоверности информации метки может определяться отмечающим пользователем или отмечаемым пользователем, или задаваться с помощью системных установок.
[00117] В соответствии с вариантами раскрытия настоящего изобретения пользователь может пометить другого пользователя в социальной сети; и библиотека меток формируется по меньшей мере на основе одной взаимосвязи пользователей, относящейся к установленной метке. С помощью библиотеки меток можно выполнять поиск контакта на основе метки и взаимосвязи пользователей. Поскольку поиск основан как на информации метки, так и на взаимосвязи пользователей, искомый пользовать косвенно сопоставляется с ищущим пользователем. Таким образом, информация об искомом пользователе более надежна, и доля успешных попыток при поиске повышается.
[00118] На фиг. 2, иллюстрирующем вариант осуществления настоящего изобретения, показан дополнительный алгоритм способа принятия решения о том, разрешил ли отмечаемый пользователь сделать метку, для того чтобы определить, следует ли сохранять метку в библиотеке меток. Этот шаг может позволить предотвратить произвольную пометку конкретного пользователя другими пользователями. Ниже подробно описываются шаги этого способа.
[00119] На шаге S201 принимается информация метки, сделанной отмечающим пользователем в отношении отмечаемого пользователя в социальной сети.
[00120] На шаге S202 определяется, разрешает ли отмечаемый пользователь сделать метку; и если отмечаемый пользователь разрешает сделать метку, выполняется шаг S203, в противном случае выполняется шаг S204.
[00121] Например, решение о том, разрешил ли отмечаемый пользователь сделать метку, может приниматься на основе данных, введенных в поле “Следует ли разрешить пометку” и определенных отмечаемым пользователем; то есть, если в этом поле вводится значение “Да”, это указывает на то, что отмечаемый пользователь разрешает сделать метку, но если в этом поле введено значение “Нет”, это указывает на то, что отмечаемый пользователь не разрешает сделать метку.
[00122] На шаге S203 сохраняется информация об отмечающем пользователе, отмечаемом пользователе и о метке, сделанной отмечающим пользователем в отношении отмечаемого пользователя, в виде взаимосвязи пользователей, и формируется библиотека меток на основе по меньшей мере одной взаимосвязи в социальной сети.
[00123] На шаге S204 предается сообщение, указывающее на то, что отмечаемый пользователь не разрешает отмечающему пользователю сделать метку.
[00124] Согласно вариантам раскрытия настоящего изобретения в соответствии с установками отмечаемого пользователя принимается решение, следует ли сохранить информацию метки, сделанной отмечающим пользователем в отношении отмечаемого пользователя, и только в том случае, если отмечаемый пользователь разрешает сделать метку, может быть сделана метка, указывающая на отмечаемого пользователя. Такая процедура может эффективно предотвратить произвольную пометку пользователя и повысить безопасность и эффективность при создании метки.
[00125] В соответствии с вариантом раскрытия настоящего изобретения может дополнительно выполняться шаг определения, соглашается ли отмечаемый пользователь с информацией метки, для того чтобы принять решение, следует ли сохранять метку в библиотеке меток. Этот шаг может также предотвратить произвольную пометку конкретного пользователя другими пользователями. Как более подробно показано на фиг. 3, этот способ содержит следующие шаги.
[00126] На шаге S301 принимается информация метки, сделанной отмечающим пользователем в отношении отмечаемого пользователя в социальной сети.
[00127] На шаге S302 выполняется передача отмечаемому пользователю информации метки, сделанной отмечающим пользователем в отношении отмечаемого пользователя, с целью подтверждения.
[00128] На шаге S303 определяется, принято ли сообщение, указывающее на то, что отмечаемый пользователь согласен с информацией метки; и если сообщение принято, то выполняется шаг S304; в противном случае выполняется шаг S305.
[00129] На шаге S304 сохраняется информация об отмечающем пользователе, отмечаемом пользователе и о метке, сделанной отмечающим пользователем в отношении отмечаемого пользователя, в виде взаимосвязи пользователей, и создается библиотека меток на основе по меньшей мере одной взаимосвязи в социальной сети.
[00130] На шаге S305 отмечающему пользователю передается сообщение, указывающее на то, что отмечаемый пользователь отклоняет информацию метки, переданную отмечающим пользователем.
[00131] Согласно вариантам раскрытия настоящего изобретения дополнительно определяется, соглашается ли отмечаемый пользователь с информацией метки, сделанной отмечающим пользователем в отношении отмечаемого пользователя, и информация метки может сохраняться в библиотеке меток только в том случае, если отмечаемый пользователь согласен с этой информацией. Таким образом, такая процедура может эффективно предотвратить произвольную пометку пользователя и повысить безопасность и эффективность при создании метки.
[00132] Согласно вариантам раскрытия настоящего изобретения после пометки отмечающим пользователем отмечаемого пользователя последний может также дополнить информацию метки. Как более подробно показано на фиг. 4, этот способ содержит следующие шаги.
[00133] На шаге S401 принимается информация метки, сделанной отмечающим пользователем в отношении отмечаемого пользователя в социальной сети.
[00134] На шаге S402 выполняется передача отмечаемому пользователю информации метки, сделанной отмечающим пользователем в отношении отмечаемого пользователя, с целью дополнения.
[00135] Отмечаемый пользователь дополняет информацию метки в том случае, например, если в информации метки, сделанной отмечающим пользователем, указано, что отмечаемый пользователь является “разработчиком программного обеспечения”, и отмечаемый пользователь добавляет к этой информации сведения о языках программирования, которыми он владеет, и о соответствующей квалификации в области разработки, для того чтобы информация метки могла более детально отражать данные об отмечаемом пользователе, связанном с этой меткой.
[00136] На шаге S403 принимается дополненная информация метки, переданная отмечаемым пользователем.
[00137] На шаге S404 сохраняется информация об отмечающем пользователе, отмечаемом пользователе и дополненная информации метки в виде взаимосвязи пользователей, и формируется библиотека меток на основе по меньшей мере одной взаимосвязи в социальной сети.
[00138] Согласно вариантам раскрытия настоящего изобретения отмечаемый пользователь может дополнить информацию метки для расширения содержимого метки с целью детализации и повышения точности.
[00139] Согласно вариантам раскрытия настоящего изобретения отмечаемый пользователь также сам может предложить другим пользователям сделать метку. Как более подробно показано на фиг. 5, этот способ содержит следующие шаги.
[00140] На шаге S501 принимается запрос, переданный отмечаемым пользователем, для предложения по меньшей мере одному отмечающему пользователю сделать метку в отношении отмечаемого пользователя.
[00141] На шаге S502 передается запрос для пометки отмечаемого пользователя по меньшей мере одному отмечающему пользователю.
[00142] На шаге S503 принимается информация метки, сделанной отмечающим пользователем в отношении отмечаемого пользователя.
[00143] На шаге S504 отмечаемому пользователю передается информация метки для подтверждения.
[00144] На шаге S505 определяется, принято ли сообщение, указывающее на то, что отмечаемый пользователь согласен с информацией метки; и если сообщение принято, то выполняется шаг S506; в противном случае выполняется шаг S507.
[00145] На шаге S506 сохраняется информация об отмечающем пользователе, отмечаемом пользователе и о метке, сделанной отмечающим пользователем в отношении отмечаемого пользователя, в виде взаимосвязи пользователей, и создается библиотека меток на основе по меньшей мере одной взаимосвязи в социальной сети.
[00146] На шаге S507 отмечающему пользователю передается сообщение, указывающее на то, что отмечаемый пользователь отклоняет информацию метки, сделанной отмечающим пользователем.
[00147] В соответствии с вариантами раскрытия настоящего изобретения отмечаемый пользователь может предварительно предложить другому пользователю сделать о нем метку, а не пассивно ожидать выполнения другим пользователем метки о себе, что повышает гибкость процесса выполнения меток и улучшает рабочий интерфейс пользователя.
[00148] Согласно варианту раскрытия настоящего изобретения отмечаемый пользователь также может предложить другим пользователям подтвердить информацию о сделанной им метке. Как более подробно показано на фиг. 6, этот способ содержит следующие шаги.
[00149] На шаге S601 от отмечаемого пользователя принимается запрос с предложением по меньшей мере одному отмечающему пользователю сделать метку в отношении этого отмечаемого пользователя; при этом запрос содержит: информацию метки, сделанной отмечаемым пользователем в отношении самого себя.
[00150] На шаге S602 передается запрос на метку в отношении отмечаемого пользователя по меньшей мере одному отмечающему пользователю; при этом запрос содержит: информацию метки, сделанной отмечаемым пользователем в отношении самого себя.
[00151] На шаге S603 принимается информация метки, сделанной отмечающим пользователем в отношении отмечаемого пользователя.
[00152] При этом, если отмечающий пользователь не вносит изменений в информацию метки, сформированную отмечаемым пользователем в отношении самого себя, то информация метки, сформированная отмечаемым пользователем в отношении самого себя, используется в качестве информации метки, сделанной отмечающим пользователем в отношении отмечаемого пользователя.
[00153] На шаге S604 сохраняется информация об отмечающем пользователе, отмечаемом пользователе и о метке, сделанной отмечающим пользователем в отношении отмечаемого пользователя, в виде взаимосвязи пользователей, и формируется библиотека меток на основе по меньшей мере одной взаимосвязи в социальной сети.
[00154] Согласно вариантам раскрытия настоящего изобретения предлагается техническое решение, посредством которого отмечаемый пользователь может предоставить информацию метки и запросить подтверждение у отмечающего пользователя. Таким образом, отмечаемый пользователь может сам сформировать информацию метки, и отмечающему пользователю необходимо только подтвердить или изменить информацию метки, благодаря чему также повышается гибкость выполнения операций отмечающим и отмечаемым пользователями и улучшается пользовательский интерфейс.
[00155] Согласно варианту раскрытия настоящего изобретения на основе указанной выше библиотеки меток может осуществляться поиск пользователя, удовлетворяющего конкретному условию, путем нахождения информации метки, связанной с контактом пользователя, в качестве отмечающего пользователя в библиотеке меток. В соответствии с фиг. 7 этот способ содержит следующие шаги.
[00156] На шаге S701 принимается запрос поиска, переданный в библиотеку меток и содержащий по меньшей мере информацию об инициаторе поиска и ключевое слово поиска; при этом библиотека меток формируется на основе по меньшей мере одной взаимосвязи в социальной сети, в которой сведения об отмечающем пользователе, отмечаемом пользователе и информация метки, созданной отмечающим пользователем в отношении отмечаемого пользователя, сохраняются в виде взаимосвязи.
[00157] На шаге S702 определяется контакт заранее заданного уровня инициатора поиска на основе по меньшей мере одной взаимосвязи пользователей в библиотеке меток; при этом контакт заранее заданного уровня представляет собой контакт, находящийся во взаимосвязи пользователя с инициатором поиска в пределах заранее заданного уровня, основанного по меньшей мере на одной взаимосвязи пользователей;
[00158] Например, пользователь B, друг пользователя A, является контактом первого уровня пользователя A, и пользователь C, друг пользователя B, является контактом второго уровня пользователя A (в этом случае пользователь C не является контактом первого уровня пользователя A), и пользователь D, друг пользователя С, является контактом третьего уровня пользователя A (в этом случае пользователь D не является ни контактом первого уровня, ни контактом второго уровня пользователя A). Заранее заданный уровень может определяться инициатором поиска или системой.
[00159] На шаге S703 выполняется поиск информации метки, согласующейся с ключевым словом поиска, в информации метки, относящейся к контакту, как отмечающему пользователю, из библиотеки меток.
[00160] На шаге S704 возвращается согласующаяся искомая информация метки.
[00161] Согласно варианту осуществления на основе по меньшей мере одной взаимосвязи пользователей в библиотеке меток может быть получена информация о взаимосвязи между инициатором поиска, отмечающим пользователем, относящимся к согласующейся информации метки, и отмечаемым пользователем, относящимся к согласующейся информации метки, и полученная информация о взаимосвязи пользователей передается инициатору поиска и/или отмечаемому пользователю, относящемуся к согласующейся информации метки. Например, пользователь A выполняет поиск пользователя C контакта второго уровня пользователя A путем нахождения метки, сделанной пользователем В контакта первого уровня пользователя A, и, таким образом, пользователь A отыскивает отмечаемого пользователя C благодаря его взаимосвязи с пользователем A через пользователя B.
[00162] Согласно вариантам раскрытия настоящего изобретения контакт может быть найден посредством поиска информации метки в библиотеке меток, благодаря чему пользователь может безошибочно и быстро найти другого пользователя, данные которого удовлетворяют условию, содержащемуся в контактной информации заранее заданного уровня. Поскольку поиск пользователя осуществляется в соответствии с информацией метки, сделанной контактом, сведения, предоставляемые об искомом пользователе, являются более надежными, благодаря чему возрастает доля успешных попыток поиска.
[00163] Далее описывается способ поиска пользователя со ссылкой на два варианта осуществления. Как показано на фиг. 8, первый способ поиска пользователя включает следующие шаги.
[00164] На шаге S801 из запроса, переданного пользователем A, извлекается ключевая фраза “художник-конструктор” для поиска пользователя этой специальности.
[00165] На шаге S802 определяется контакт заранее заданного уровня пользователя A на основе по меньшей мере одной взаимосвязи пользователей в библиотеке меток.
[00166] На шаге S803 выполняется поиск информации метки, согласующейся с ключевой фразой поиска “художник-конструктор”, в информации метки, относящейся к контакту, как отмечающему пользователю, из библиотеки меток.
[00167] На шаге S804 пользователю A передается информация о пользователе C как об отмечаемом пользователе, связанном с согласующейся информацией метки.
[00168] Например, пользователь В является контактом первого уровня пользователя A, и информация метки, сделанной пользователем В для своих друзей, содержит сведения о том, что пользователь C является “художником-конструктором” Пользователь A ищет художника-конструктора, но не знаком с пользователем C. Пользователь A может отыскать пользователя C по метке “художник-конструктор”, сделанной пользователем B. Очевидно, что благодаря такому решению можно расширить диапазон поиска пользователя A, и пользователь A совместно с пользователем C могут общаться с друзьями пользователя B. Таким образом, обеспечивается более высокий уровень надежности при поиске контакта. Согласно вариантам раскрытия настоящего изобретения поиск пользователя может выполняться на основе косвенного контакта пользователя в соответствии с поисковым запросом пользователя.
[00169] Как показано на фиг. 9, второй способ поиска пользователя включает следующие шаги.
[00170] На шаге S901 извлекается ключевая фраза “поиск разработчика программного обеспечения” из информации метки, связанной с пользователем A, в качестве отмечаемого пользователя в библиотеке меток.
[00171] На шаге S902 определяется контакт заранее заданного уровня пользователя A на основе по меньшей мере одной взаимосвязи пользователей в библиотеке меток.
[00172] На шаге S903 выполняется поиск информации метки, согласующейся с ключевой фразой поиска “поиск разработчика программного обеспечения”, в информации метки, относящейся к контакту, в качестве отмечающего пользователя из библиотеки меток.
[00173] При этом метки, согласующиеся с ключевой фразой “поиск разработчика программного обеспечения”, могут, например, представлять собой следующие фразы “я - разработчик программного обеспечения”, “задействован в проектах по разработке программного обеспечения”, “разработчик программного обеспечения”, “специалист в области информационных технологий” и т.п.
[00174] На шаге S904 пользователю A передается информация об отмечаемом пользователе C, который связан с согласующейся информацией метки, и информация о пользователе A передается отмечаемому пользователю C.
[00175] В других вариантах раскрытия настоящего изобретения на шаге S904 пользователю A может передаваться информация об отмечаемом пользователе C, который связан с согласующейся информацией метки, или информация о пользователе A может передаваться отмечаемому пользователю C.
[00176] Согласно вариантам раскрытия настоящего изобретения пользователь может рекомендоваться предварительно и безошибочно с помощью согласующейся информации метки пользователя, что экономит время выполнения процесса поиска, затраты и издержки пользователя. Способ может выполняться периодически в заранее заданные интервалы времени, для того чтобы повысить уровень эффективности сопоставления.
[00177] Согласно вариантам раскрытия настоящего изобретения для защиты пользователя от несанкционированного доступа после нахождения отмечаемого пользователя, связанного с согласующейся информацией метки, инициатор поиска и отмечаемый пользователь, связанный с согласующейся информацией метки, могут непосредственно не входить в контакт друг с другом, но установить пользовательскую взаимосвязь через контакт в взаимосвязи пользователей. Более подробно, в соответствии с фиг. 10 этот способ содержит следующие шаги.
[00178] На шаге S1001 извлекается ключевая фраза “поиск разработчика программного обеспечения” из информации метки, связанной с пользователем A, в качестве отмечаемого пользователя в библиотеке меток.
[00179] На шаге S1002 определяется контакт заранее заданного уровня пользователя А на основе по меньшей мере одной взаимосвязи пользователей в библиотеке меток.
[00180] На шаге S1003 выполняется поиск информации метки, согласующейся с ключевой фразой поиска “поиск разработчика программного обеспечения”, в информации метки, относящейся к контакту, в качестве отмечающего пользователя из библиотеки меток.
[00189] На шаге S1004 пользователю A передается информация об отмечаемом пользователе C, который связан с согласующейся информацией метки, и информация о взаимосвязи между пользователями C и A.
[00190] На этом шаге информация о взаимосвязи пользователей С и А также может передаваться пользователю С, для того чтобы удостовериться в том, что пользователь С способен своевременно получать сведения о других пользователях, чья информация метки согласуется с его собственной информацией метки.
[00191] На шаге S1005 принимается запрос добавления пользователя С в качестве контакта пользователя A, переданный от пользователя A пользователю B в рамках взаимосвязи пользователей.
[00192] На шаге S1006 запрос передается пользователю B.
[00193] На шаге S1007 определяется, принято ли сообщение, указывающее на то, что пользователь В позволяет пользователю A добавить пользователя C в качестве контакта, и если сообщение принято, то выполняется шаг S1008; в противном случае выполняется шаг S101.
[00194] На шаге S1008 пользователю C передается сообщение, указывающее на то, что пользователь A просит добавить пользователя C в качестве контакта через пользователя В.
[00195] На шаге S1009 определяется, принято ли сообщение, указывающее, что пользователь С позволяет пользователю A добавить пользователя C в качестве контакта, и если сообщение принято, то выполняется шаг S1010; в противном случае выполняется шаг S1011.
[00196] На шаге S1010 устанавливается взаимный контакт между пользователем C и пользователем A.
[00197] На шаге S1011 пользователю A передается сообщение о том, что запрос отклонен.
[00198] В соответствии с вариантами раскрытия настоящего изобретения пользователь A может установить взаимосвязь с пользователем C только через контакт в рамках взаимосвязи пользователей. Таким образом, можно гарантировать, что не будет допущена утечка информации или несанкционированный к ней доступ в результате установления косвенных контактов.
[00199] В соответствии с вариантами раскрытия настоящего изобретения также предлагается устройство формирования библиотеки меток. Как показано на фиг. 11, это устройство содержит:
[00200] первый приемный модуль 1101, сконфигурированный для приема информации метки, сделанной отмечающим пользователем в отношении отмечаемого пользователя в социальной сети; и
[00201] модуль 1102 формирования библиотеки меток, сконфигурированный для сохранения информации об отмечающем пользователе, отмечаемом пользователе и о метке, сделанной отмечающим пользователем в отношении отмечаемого пользователя, в виде взаимосвязи пользователей и формирования библиотеки меток на основе по меньшей мере одной взаимосвязи пользователей в социальной сети.
[00202] Согласно варианту осуществления информация метки, сделанной отмечающим пользователем в отношении отмечаемого пользователя, содержит одно или более следующих сведений об отмечаемом пользователе: род занятий, квалификация, интересы, любимые знаменитости, рабочее положение и семейное положение.
[00203] Как показано на фиг. 12, устройство также содержит:
[00204] второй приемный модуль 1103, сконфигурированный для приема запроса, переданного отмечаемым пользователем, для предложения по меньшей мере одному отмечающему пользователю сделать метку в отношении отмечаемого пользователя; и
[00205] первый передающий модуль 1104, сконфигурированный для передачи запроса на метку в отношении отмечаемого пользователя по меньшей мере одному отмечающему пользователю.
[00206] Согласно варианту осуществления запрос, переданный отмечаемым пользователем для предложения по меньшей мере одному отмечающему пользователю сделать метку в отношении отмечаемого пользователя, содержит информацию метки, сделанной отмечаемым пользователем в отношении самого себя; и
[00207] запрос на метку в отношении отмечаемого пользователя, передаваемый по меньшей мере одному отмечающему пользователю, содержит: информацию метки, сделанной отмечаемым пользователем в отношении самого себя.
[00208] Как показано на фиг. 13, согласно варианту осуществления устройство также содержит:
[00209] первый модуль 1105 принятия решения, сконфигурированный для определения, разрешает ли отмечаемый пользователь сделать метку;
[00210] при этом модуль 1102 формирования библиотеки меток сконфигурирован таким образом, чтобы в том случае, если отмечаемый пользователь разрешает сделать метку, сохранялась информация об отмечающем пользователе, отмечаемом пользователе и о метке, сделанной отмечающим пользователем в отношении отмечаемого пользователя, в виде взаимосвязи пользователей, и формировалась библиотека меток на основе по меньшей мере одной взаимосвязи пользователей в социальной сети.
[00211] Как показано на фиг. 14, согласно варианту осуществления устройство также содержит:
[00212] второй передающий модуль 1106, сконфигурированный для передачи отмечаемому пользователю информации метки, сделанной отмечающим пользователем в отношении отмечаемого пользователя, с целью подтверждения; и
[00213] второй модуль 1107 принятия решения, сконфигурированный для определения, поступило ли сообщение, указывающее на то, что отмечаемый пользователь соглашается с информацией метки;
[00214] при этом модуль 1102 формирования библиотеки меток сконфигурирован таким образом, чтобы в том случае, если поступает сообщение, указывающее на то, что отмечаемый пользователь согласен с информацией метки, сохранялась информация об отмечающем пользователе, отмечаемом пользователе и о метке, сделанной отмечающим пользователем в отношении отмечаемого пользователя, в виде взаимосвязи пользователей, и формировалась библиотека меток на основе по меньшей мере одной взаимосвязи пользователей в социальной сети.
[00215] Как показано на фиг. 15, согласно варианту осуществления устройство также содержит:
[00216] третий передающий модуль 1108, сконфигурированный для передачи отмечаемому пользователю информации метки, сделанной отмечающим пользователем в отношении отмечаемого пользователя, с целью дополнения информации; и
[00217] третий приемный модуль 1109, сконфигурированный для приема информации метки, дополненной отмечаемым пользователем;
[00218] при этом модуль 1102 формирования библиотеки меток сконфигурирован для сохранения информации об отмечающем пользователе, отмечаемом пользователе и дополненной информации метки в виде взаимосвязи пользователей и формирования библиотеки меток на основе по меньшей мере одной взаимосвязи пользователей в социальной сети.
[00219] Как показано на фиг. 16, согласно варианту осуществления устройство также содержит:
[00220] первый модуль 1110 получения информации, сконфигурированный для получения сведений о периоде достоверности информации метки, сделанной отмечающим пользователем в отношении отмечаемого пользователя;
[00221] при этом модуль 1102 формирования библиотеки меток сконфигурирован для сохранения информации об отмечающем пользователе, отмечаемом пользователе, о метке, сделанной отмечающим пользователем в отношении отмечаемого пользователя, и о периоде достоверности информации метки в виде взаимосвязи пользователей и формирования библиотеки меток на основе по меньшей мере одной взаимосвязи пользователей в социальной сети; и
[00222] модуль 1111 удаления, сконфигурированный таким образом, чтобы в том случае, если период достоверности информации метки истекает, из библиотеки меток удалялась информация об отмечающем пользователе, отмечаемом пользователе и о метке, сделанной отмечающим пользователем в отношении отмечаемого пользователя, связанная с периодом достоверности информации метки.
[00223] В соответствии с вариантами раскрытия настоящего изобретения также предлагается устройство поиска пользователя. Как показано на фиг. 17, это устройство содержит:
[00224] четвертый приемный модуль 1701, сконфигурированный для приема запроса поиска, переданного в библиотеку меток и содержащего по меньшей мере информацию об инициаторе поиска и ключевое слово поиска; при этом библиотека меток формируется на основе по меньшей мере одной взаимосвязи пользователей в социальной сети, в которой сведения об отмечающем пользователе, отмечаемом пользователе и информация метки, сделанной отмечающим пользователем в отношении отмечаемого пользователя, сохраняются в виде взаимосвязи пользователей;
[00225] модуль 1702 определения, сконфигурированный для определения контакта заранее заданного уровня инициатора поиска на основе по меньшей мере одной взаимосвязи пользователей в библиотеке меток; при этом контакт заранее заданного уровня представляет собой находящийся во взаимосвязи контакт с инициатором поиска в пределах заранее заданного уровня, основанного по меньшей мере на одной взаимосвязи пользователей; и
[00226] модуль 1703 поиска, сконфигурированный для поиска информации метки, согласующейся с ключевым словом поиска, в информации метки, относящейся к контакту, как отмечающему пользователю, из библиотеки меток; и
[00227] модуль 1704 возврата информации, сконфигурированный для возврата искомой согласующейся информации метки.
[00228] В соответствии с вариантом осуществления запрос поиска передается инициатором поиска в библиотеку меток; и
[00229] модуль возврата информации сконфигурирован для передачи информации отмечаемого пользователя, связанного с согласующейся информацией метки, инициатору поиска.
[00230] Согласно варианту осуществления в запросе поиска инициатор поиска является отмечаемым пользователем, связанным с фрагментом информации метки, содержащейся в библиотеке меток, и ключевое слово поиска извлекается из фрагмента информации метки; и
[00231] модуль возврата информации сконфигурирован для передачи согласующейся информации метки инициатору поиска и/или отмечаемому пользователю, связанному с согласующейся информацией метки.
[00232] В соответствии с вариантом осуществления заранее заданный уровень определяется инициатором поиска или задается по умолчанию.
[00233] Как показано на фиг. 18, согласно варианту осуществления устройство также содержит:
[00234] второй модуль 1705 получения информации, сконфигурированный для получения на основе по меньшей мере одной взаимосвязи пользователей в библиотеке меток информации о взаимосвязи между инициатором поиска и отмечающим пользователем, связанным с согласующейся информацией метки, и взаимосвязи между инициатором поиска и отмечаемым пользователем, связанным с согласующейся информацией метки; и
[00235] четвертый передающий модуль 1706, сконфигурированный для передачи полученной информации о взаимосвязях инициатору поиска и/или отмечаемому пользователю, связанному с согласующейся информацией метки. Ниже описываются другие признаки и преимущества вариантов раскрытия настоящего изобретения. Кроме того, они частично должны быть очевидны из описания или понятны в процессе раскрытия настоящего изобретения. Цель и другие преимущества раскрытия настоящего изобретения могут быть реализованы и достигнуты с помощью структур, специально указанных в этом описании, формуле изобретения и прилагаемых чертежах.
[00236] Специалисту в этой области техники должно быть понятно, что варианты раскрытия настоящего изобретения могут быть выполнены посредством способов, устройств или компьютерных программных изделий. Таким образом, варианты раскрытия настоящего изобретения могут осуществляться только с помощью аппаратуры, только с помощью программного обеспечения или с помощью комбинации аппаратуры и программного обеспечения. Кроме того, варианты раскрытия настоящего изобретения могут быть реализованы в виде компьютерных программных изделий, записанных на одном или более машиночитаемых носителях информации (включая, без ограничения, дисковое запоминающее устройство, CD-ROM, оптический диск и т.д.), содержащих компьютерные программные коды.
[00237] Раскрытие настоящего изобретения описывается со ссылкой на алгоритм и/или блок-схему выполнения способа, блок-схему мобильного устройства (системы) и компьютерного программного изделия, соответствующих вариантам раскрытия настоящего изобретения. Следует понимать, что каждый процесс и/или блок в алгоритмах и/или на блок-схемах и комбинация процессов и/или блоков алгоритма, и/или блок-схем могут быть реализованы посредством компьютерных программных инструкций. Эти компьютерные программные инструкции могут загружаться на универсальном компьютере, специализированном компьютере, встроенном процессоре или процессорах других программируемых устройств обработки данных для создания механизма, такого как устройство, реализующее функции, выполняемые в одном или более процессов алгоритмов и/или указанные в одном или более блоках блок-схем, и могут генерироваться на основе инструкций, выполняемых компьютером или процессорами других программируемых устройств обработки данных.
[00238] Эти компьютерные программные инструкции могут также храниться на машиночитаемом носителе информации, с которого может загружаться компьютер или другое программируемое устройство обработки данных для функционирования таким образом, чтобы промышленное изделие, содержащее устройство сохранения инструкций, могло производиться с помощью инструкций, хранящихся в указанном машиночитаемом запоминающем устройстве, и указанное устройство сохранения инструкций выполняло функции, предназначенные для реализации одного или более процессов алгоритмов выполнения способа и/или одного или более блоков, обозначенных в структурных схемах.
[00239] Эти компьютерные программные инструкции также могут загружаться в компьютер или другие программируемые устройства обработки данных таким образом, чтобы на компьютере или других программируемых устройствах обработки данных могли выполняться рабочие операции, позволяющие реализовать на компьютере процессы, шаги которых для реализации функций, выполняемых в рамках одного или более процессов алгоритмов и/или в одном или более блоков блок-схем, могли быть осуществлены в качестве инструкций, исполняемых компьютером или другими программируемыми устройствами обработки данных.
[00240] Очевидно, что специалисты в этой области техники могут внести различные изменения и преобразования в варианты раскрытия настоящего изобретения без нарушения сущности и объема раскрытия изобретения. Таким образом, в описании раскрытия настоящего изобретения подразумевается включение таких изменений и преобразований, если они находятся в пределах, определяемых представленной формулой изобретения, или эквивалентны соответствующим технологическим решениям.
Группа изобретений относится к области компьютерной связи. Технический результат – повышение точности и эффективности поиска в социальной сети за счет возможности установки меток для пользователей. Для этого предложен способ формирования библиотеки меток, включающий: прием информации метки, сделанной отмечающим пользователем в отношении отмечаемого пользователя в социальной сети; и получение сведений о периоде достоверности информации метки, сделанной отмечающим пользователем в отношении отмечаемого пользователя; сохранение информации об отмечающем пользователе, отмечаемом пользователе, о метке, сделанной отмечающим пользователем в отношении отмечаемого пользователя, и о периоде достоверности информации метки в виде взаимосвязи и формирование библиотеки меток на основе по меньшей мере одной взаимосвязи в социальной сети; и когда период достоверности информации метки истекает, удаление из библиотеки меток информации об отмечающем пользователе, отмечаемом пользователе и о метке, сделанной отмечающим пользователем в отношении отмечаемого пользователя, связанной с периодом достоверности информации метки. 2 н. и 12 з.п. ф-лы, 18 ил.
1. Способ формирования библиотеки меток, включающий:
прием информации метки, сделанной отмечающим пользователем в отношении отмечаемого пользователя в социальной сети; и
получение сведений о периоде достоверности информации метки, сделанной отмечающим пользователем в отношении отмечаемого пользователя;
сохранение информации об отмечающем пользователе, отмечаемом пользователе, о метке, сделанной отмечающим пользователем в отношении отмечаемого пользователя, и о периоде достоверности информации метки в виде взаимосвязи и формирование библиотеки меток на основе по меньшей мере одной взаимосвязи в социальной сети; и
когда период достоверности информации метки истекает, удаление из библиотеки меток информации об отмечающем пользователе, отмечаемом пользователе и о метке, сделанной отмечающим пользователем в отношении отмечаемого пользователя, связанной с периодом достоверности информации метки.
2. Способ по п. 1, отличающийся тем, что информация метки, сделанной отмечающим пользователем в отношении отмечаемого пользователя, содержит одно или более следующих сведений об отмечаемом пользователе: род занятий, квалификация, интересы, любимые знаменитости, рабочее положение и семейное положение.
3. Способ по п. 1, отличающийся тем, что перед приемом информации метки, сделанной отмечающим пользователем в отношении отмечаемого пользователя в социальной сети, способ также включает:
прием запроса, переданного отмечаемым пользователем, для предложения по меньшей мере одному отмечающему пользователю сделать метку в отношении отмечаемого пользователя и
передачу запроса на метку в отношении отмечаемого пользователя по меньшей мере одному отмечающему пользователю.
4. Способ по п. 3, отличающийся тем, что запрос, переданный отмечаемым пользователем для предложения по меньшей мере одному отмечающему пользователю сделать метку в отношении отмечаемого пользователя, содержит информацию метки, сделанной отмечаемым пользователем в отношении самого себя; и
запрос на метку в отношении отмечаемого пользователя, передаваемый по меньшей мере одному отмечающему пользователю, содержит информацию метки, сделанной отмечаемым пользователем в отношении самого себя.
5. Способ по п. 1, отличающийся тем, что после приема информации метки, сделанной отмечающим пользователем в отношении отмечаемого пользователя в социальной сети, способ также включает:
проверку, разрешает ли отмечаемый пользователь сделать метку;
при этом процедура сохранения информации об отмечающем пользователе, отмечаемом пользователе и о метке, сделанной отмечающим пользователем в отношении отмечаемого пользователя, в виде взаимосвязи и формирования библиотеки меток на основе по меньшей мере одной взаимосвязи в социальной сети включает выполнение следующей операции: если отмечаемый пользователь разрешает сделать метку, сохранение информации об отмечающем пользователе, отмечаемом пользователе и о метке, сделанной отмечающим пользователем в отношении отмечаемого пользователя, в виде взаимосвязи и формирование библиотеки меток на основе по меньшей мере одной взаимосвязи в социальной сети.
6. Способ по п. 1, отличающийся тем, что после приема информации метки, сделанной отмечающим пользователем в отношении отмечаемого пользователя в социальной сети, способ также включает:
передачу отмечаемому пользователю информации метки, сделанной отмечающим пользователем в отношении отмечаемого пользователя, для ее подтверждения и
определение, поступило ли сообщение, указывающее на то, что отмечаемый пользователь соглашается с информацией метки;
при этом процедура сохранения информации об отмечающем пользователе, отмечаемом пользователе и о метке, сделанной отмечающим пользователем в отношении отмечаемого пользователя, в виде взаимосвязи и формирования библиотеки меток на основе по меньшей мере одной взаимосвязи в социальной сети включает выполнение следующей операции: если принимается сообщение, указывающее на то, что отмечаемый пользователь соглашается с информацией метки, сохранение информации об отмечающем пользователе, отмечаемом пользователе и о метке, сделанной отмечающим пользователем в отношении другого пользователя, в виде взаимосвязи и формирование библиотеки меток на основе по меньшей мере одной взаимосвязи в социальной сети.
7. Способ по п. 1, отличающийся тем, что после приема информации метки, сделанной отмечающим пользователем в отношении отмечаемого пользователя в социальной сети, способ также включает:
передачу отмечаемому пользователю информации метки, сделанной отмечающим пользователем в отношении отмечаемого пользователя, для ее дополнения и
прием информации метки, дополненной отмечаемым пользователем;
при этом процедура сохранения информации об отмечающем пользователе, отмечаемом пользователе и о метке, сделанной отмечающим пользователем в отношении отмечаемого пользователя, в виде взаимосвязи и формирования библиотеки меток на основе по меньшей мере одной взаимосвязи в социальной сети включает сохранение информации об отмечающем пользователе, отмечаемом пользователе и дополненной информации метки в виде взаимосвязи и формирование библиотеки меток на основе по меньшей мере одной взаимосвязи в социальной сети.
8. Устройство для формирования библиотеки меток, содержащее:
первый приемный модуль, сконфигурированный для приема информации метки, сделанной отмечающим пользователем в отношении отмечаемого пользователя в социальной сети;
первый модуль получения информации, сконфигурированный для получения сведений о периоде достоверности информации метки, сделанной отмечающим пользователем в отношении отмечаемого пользователя;
модуль формирования библиотеки меток, сконфигурированный для сохранения информации об отмечающем пользователе, отмечаемом пользователе, о метке, сделанной отмечающим пользователем в отношении отмечаемого пользователя, и о периоде достоверности информации метки в виде взаимосвязи и формирования библиотеки меток на основе по меньшей мере одной взаимосвязи в социальной сети; и
модуль удаления, сконфигурированный таким образом, чтобы в том случае, если период достоверности информации метки истек, из библиотеки меток удалялась информация об отмечающем пользователе, отмечаемом пользователе и о метке, выполненной отмечающим пользователем в отношении отмечаемого пользователя, связанная с периодом достоверности информации метки.
9. Устройство по п. 8, отличающееся тем, что информация метки, сделанной отмечающим пользователем в отношении отмечаемого пользователя, содержит одно или более следующих сведений об отмечаемом пользователе: род занятий, квалификация, интересы, любимые знаменитости, рабочее положение и семейное положение.
10. Устройство по п. 8, также содержащее:
второй приемный модуль, сконфигурированный для приема запроса, переданного отмечаемым пользователем, для предложения по меньшей мере одному отмечающему пользователю сделать метку в отношении отмечаемого пользователя; и
первый передающий модуль, сконфигурированный для передачи запроса на метку в отношении отмечаемого пользователя по меньшей мере одному отмечающему пользователю.
11. Устройство по п. 10, отличающееся тем, что запрос, переданный отмечаемым пользователем для предложения по меньшей мере одному отмечающему пользователю сделать метку в отношении отмечаемого пользователя, содержит информацию метки, сделанной отмечаемым пользователем в отношении самого себя; и
запрос на метку в отношении отмечаемого пользователя, передаваемый по меньшей мере одному отмечающему пользователю, содержит информацию метки, сделанной отмечаемым пользователем в отношении самого себя.
12. Устройство по п. 8, также содержащее:
первый модуль принятия решения, сконфигурированный для определения, разрешает ли отмечаемый пользователь сделать метку;
при этом модуль формирования библиотеки меток сконфигурирован таким образом, чтобы в том случае, если отмечаемый пользователь разрешает сделать метку, сохранялась информация об отмечающем пользователе, отмечаемом пользователе и о метке, сделанной отмечающим пользователем в отношении отмечаемого пользователя, в виде взаимосвязи и формировалась библиотека меток на основе по меньшей мере одной взаимосвязи в социальной сети.
13. Устройство по п. 8, также содержащее:
второй передающий модуль, сконфигурированный для передачи отмечаемому пользователю информации метки, сделанной отмечающим пользователем в отношении отмечаемого пользователя, для ее подтверждения; и
второй модуль принятия решения, сконфигурированный для определения, поступило ли сообщение, указывающее на то, что отмечаемый пользователь согласен с информацией метки;
при этом модуль формирования библиотеки меток сконфигурирован таким образом, чтобы в том случае, если поступает сообщение, указывающее на то, что отмечаемый пользователь согласен с информацией метки, сохранялась информация об отмечающем пользователе, отмечаемом пользователе и о метке, сделанной отмечающим пользователем в отношении отмечаемого пользователя, в виде взаимосвязи и формировалась библиотека меток на основе по меньшей мере одной взаимосвязи в социальной сети.
14. Устройство по п. 8, также содержащее:
третий передающий модуль, сконфигурированный для передачи отмечаемому пользователю информации метки, сделанной отмечающим пользователем в отношении отмечаемого пользователя, для ее дополнения; и
третий приемный модуль, сконфигурированный для приема информации метки, дополненной отмечаемым пользователем;
при этом модуль формирования библиотеки меток сконфигурирован для сохранения информации об отмечающем пользователе, отмечаемом пользователе и дополненной информации метки в виде взаимосвязи и формирования библиотеки меток на основе по меньшей мере одной взаимосвязи в социальной сети.
| Пресс для выдавливания из деревянных дисков заготовок для ниточных катушек | 1923 |
|
SU2007A1 |
| CN 102984247 A, 20.03.2013 | |||
| US 20100161369 A1, 24.06.2010 | |||
| Камера для дезинфекции бумаги и книг | 1950 |
|
SU95149A1 |
Авторы
Даты
2017-02-21—Публикация
2014-04-23—Подача