ОБЛАСТЬ ТЕХНИКИ
[1] Настоящее изобретение относится к ультразвуковому диагностическому аппарату и, более конкретно, к способу эффективного управления акустическим выходным сигналом ультразвукового диагностического аппарата посредством регулировки индивидуального выходного сигнала в комбинационном режиме, который может обеспечивать по меньшей мере два выходных сигнала импульсного генератора в соответствии со стандартами безопасности, такими как механический индекс (MI), тепловой индекс (TI) и т.п., которые можно определять с помощью международных регулятивных норм, например, Национальной ассоциации изготовителей электрооборудования (National Electrical Manufacturers Association, NEMA), Международной электротехнической комиссии (International Electrotechnical Commission, IEC), Управления по контролю качества пищевых продуктов и лекарственных средств (Food and Drug Administration, FDA) и т.п.
УРОВЕНЬ ТЕХНИКИ
[2] Ультразвуковой диагностический аппарат представляет собой аппарат для передачи, с поверхности тела объекта, ультразвукового волнового сигнала в направлении предварительно определяемой структуры внутри тела и для получения изображения по отношению к поперечному сечению мягких тканей или потока крови с использованием информации ультразвукового волнового сигнала, отраженного от тканей тела.
[3] Этот ультразвуковой диагностический аппарат имеет преимущества в виде небольшого размера, низкой стоимости, отображения в реальном времени и высокой стабильности, не подвергая пациентов и пользователей рентгеновскому излучению и тому подобному, и таким образом, ультразвуковой диагностический аппарат широко используют наряду с другими системами цифровой визуализации, такими как рентгеновское диагностическое оборудование, сканер компьютерной томографии (CT), оборудование для магнитно-резонансной томографии (MRI), радиологическое диагностическое оборудование и т.п.
[4] В целом, акустический выходной сигнал ультразвукового диагностического аппарата ограничен и определяется международными стандартами, например, механическим индексом (MI). В данном случае MI соответствует индексу, который может квантовать эффекты механических факторов, которые может иметь ультразвуковая волна, оказываемые на организм человека. В качестве другого примера международных стандартов, также существует тепловой индекс (TI). Как всем известно, международные стандарты для механического индекса (MI) и теплового индекса (TI) могут соответствовать механическому индексу (MI) меньше чем 1,9 и тепловому индексу (TI) меньше чем 6,0.
[5] Ультразвуковой диагностический аппарат позволяет ставить диагноз объекту более точно посредством повышения напряжения передатчика импульсного генератора и, следовательно, акустического выходного сигнала. Когда происходит повышение напряжения передатчика, качество изображения улучшается. Однако проблема может возникать в том, что значения параметров стандартов безопасности, таких как механический индекс (MI), тепловой индекс (TI) и т.п., могут возрастать пропорционально.
[6] Высокие значения параметров могут указывать на то, что ультразвуковой диагностический аппарат может оказывать более выраженный эффект на организм человека, и, соответственно, использование соответствующего ультразвукового диагностического аппарата может быть ограничено международными стандартами, когда значения больше, чем предварительно определяемый уровень.
[7] Ультразвуковой диагностический аппарат может эксплуатироваться в нескольких режимах, таких как режим яркости (B), режим энергетической доплерографии (pD) и т.п., а также может эксплуатироваться в комбинационных режимах, таких как режим B + pD или режим B + pD + CD по выбору пользователя. Режим CD может относиться к режиму цветовой доплерографии.
[8] В комбинационных режимах можно выводить импульсы, имеющие по меньшей мере два уровня выходных напряжений, и может требоваться управление выходным напряжением с тем, чтобы индивидуальное выходное напряжение могло находиться в пределах международных регулятивных норм.
Техническая задача
[9] Один из аспектов настоящего изобретения относится к способу управления выходным сигналом ультразвукового диагностического аппарата и ультразвуковым диагностическим аппаратом посредством способа, в отношении выходного сигнала ультразвукового диагностического аппарата, который может эксплуатироваться в комбинационном режиме таким образом, что можно управлять общей мощностью, и индивидуальный уровень выходного сигнала может соответствовать международным регулятивным нормам.
[10] Другой аспект настоящего изобретения также относится к ультразвуковому диагностическому аппарату, который может повысить удобство для пользователя посредством эффективного предоставления пользовательского интерфейса (UI) для того, чтобы управлять выходным сигналом в комбинационном режиме.
Решение задачи
[11] Согласно одному из аспектов настоящего изобретения предоставлен ультразвуковой диагностический аппарат, который может эксплуатироваться в комбинационном режиме и может одновременно обеспечивать уровни напряжения множества выходных сигналов с использованием преобразователя, содержащий пользовательский интерфейс (UI) для приема команды управления выходным значением по отношению ко всем из множества выходных сигналов, блок принятия решений для принятия решения о том, соответствует ли команда управления выходным значением команде, которая может позволить уровням напряжения выходных сигналов, соответствующих первому режиму, включенному в комбинационный режим, превысить порог, определяемый стандартами безопасности в отношении первого режима, и блок управления выходным сигналом для удержания выходных сигналов, соответствующих первому режиму, ниже порога, и для осуществления управления выходным сигналом на основе команды управления выходным значением, в отношении других выходных сигналов, включенных в комбинационный режим, за исключением первого режима, когда команда управления выходным значением соответствует значению, которое может позволить уровням напряжения выходных сигналов, соответствующих первому режиму, превысить порог, определяемый стандартами безопасности в отношении первого режима.
[12] Комбинационный режим может соответствовать одному из режимов: режиму яркость (B) + энергетическая доплерография (pD), режиму B + цветовая доплерография (CD) и режиму B + pD + CD.
Полезные эффекты изобретения
[13] Когда пользователь управляет выходным сигналом ультразвукового диагностического аппарата, который может работать в комбинационном режиме, в случае повышения общих выходных сигналов, автоматическое управление выходным сигналом можно осуществлять для удержания индивидуального выходного сигнала ниже порога, определяемого международными регулятивными нормами, такими как механический индекс (MI) и т.п., чтобы можно было гарантировать безопасность диагностического аппарата в то время как пользователь управляет диагностическим аппаратом для того, чтобы повысить качество изображения.
[14] Также эффективный пользовательский интерфейс (UI) для управления выходным сигналом может быть предусмотрен в целях обеспечения удобства для пользователя, когда пользователь управляет выходным сигналом в медицинских целях.
Краткое описание чертежей
[15] Эти и/или другие аспекты, признаки и преимущества изобретения раскрываются и поясняются на основе нижеследующего описания примерных вариантов осуществления со ссылкой на чертежи, на которых показаны:
[16] фиг.1 - диаграмма, иллюстрирующая ультразвуковой диагностический аппарат согласно одному из вариантов осуществления настоящего изобретения;
[17] фиг.2 - диаграмма, иллюстрирующая примерный пользовательский интерфейс (UI), предоставленный для управления выходным сигналом в ультразвуковом диагностическом аппарате согласно одному из вариантов осуществления настоящего изобретения;
[18] фиг.3 - диаграмма, иллюстрирующая другой пример пользовательского интерфейса (UI), предоставленного для управления выходным сигналом в ультразвуковом диагностическом аппарате согласно одному из вариантов осуществления настоящего изобретения;
[19] фиг.4 - диаграмма, иллюстрирующая другой пример пользовательского интерфейса (UI), предоставленного для управления выходным сигналом в ультразвуковом диагностическом аппарате согласно одному из вариантов осуществления настоящего изобретения;
[20] фиг.5 - диаграмма, иллюстрирующая другой пример пользовательского интерфейса (UI), предоставленного для управления выходным сигналом в ультразвуковом диагностическом аппарате согласно одному из вариантов осуществления настоящего изобретения; и
[21] фиг.6 - блок-схема, иллюстрирующая способ управления выходным сигналом ультразвукового диагностического аппарата согласно одному из вариантов осуществления настоящего изобретения.
Подробное описание предпочтительного варианта осуществления изобретения
[22] Согласно одному из аспектов настоящего изобретения предоставлен ультразвуковой диагностический аппарат, который может эксплуатироваться в комбинационном режиме и может одновременно обеспечивать уровни напряжения множества выходных сигналов с использованием преобразователя, содержащий пользовательский интерфейс (UI) для приема команды управления выходным значением по отношению ко всем из множества выходных сигналов, блок принятия решений для принятия решения о том, соответствует ли команда управления выходным значением команде, которая может позволить уровням напряжения выходных сигналов, соответствующих первому режиму, включенному в комбинационный режим, превысить порог, определяемый стандартами безопасности в отношении первого режима, и блок управления выходным сигналом для удержания выходных сигналов, соответствующих первому режиму, ниже порога и для осуществления управления выходным сигналом, на основе команды управления выходным значением в отношении других выходных сигналов, включенных в комбинационный режим, за исключением первого режима, когда команда управления выходным значением соответствует значению, которое может позволить уровням напряжения выходных сигналов, соответствующих первому режиму, превышать порог, определяемый стандартами безопасности в отношении первого режима.
[23] Комбинационный режим может соответствовать одному из режимов: режиму яркости (B) + энергетической доплерографии (pD), режиму B + цветовая доплерография (CD) и режиму B + pD + CD.
[24] В этом случае, команда управления выходным значением посредством блока определения процентного соотношения или может повышать напряжения общих выходных сигналов преобразователя, соответствующих комбинационному режиму, или может снижать напряжения общих выходных сигналов преобразователя, соответствующих комбинационному режиму.
[25] Также пользовательский интерфейс (UI) может включать в себя интерфейс управления выходным сигналом, соответствующий каждому из множества режимов, включенных в комбинационный режим, и интерфейс управления выходным сигналом для регулировки общих выходных сигналов множества режимов.
[26] Первый режим может соответствовать режиму B, а стандарты безопасности в отношении первого режима могут соответствовать механическому индексу (MI).
[27] Согласно одному из аспектов настоящего изобретения, предоставлен способ управления выходным сигналом ультразвукового диагностического аппарата, который может эксплуатироваться в комбинационном режиме и может одновременно предоставлять уровни напряжения множества выходных сигналов с использованием преобразователя, включая прием, посредством пользовательского интерфейса (UI) ультразвукового диагностического аппарата, команды управления выходным значением по отношению ко всем из множества выходных сигналов, принятие решения, посредством блока принятия решений ультразвукового диагностического аппарата, о том, соответствует ли команда управления выходным значением команде, которая может позволить уровням напряжения выходных сигналов, соответствующих первому режиму, включенному в комбинационный режим, превышать порог, определяемый стандартами безопасности в отношении первого режима, и удержание, посредством блока управления выходным сигналом ультразвукового диагностического аппарата, выходных сигналов, соответствующих первому режиму, ниже порога и осуществление управления выходным сигналом, на основе команды управления выходным значением в отношении других выходных сигналов, включенных в комбинационный режим, за исключением первого режима, когда команда управления выходным значением соответствует значению, которое может позволить уровням напряжения выходных сигналов, соответствующих первому режиму, превышать порог, определяемый стандартами безопасности в отношении первого режима.
Варианты осуществления изобретения
[28] Далее подробно изложены примерные варианты осуществления настоящего изобретения со ссылкой на чертежи, на которых одинаковые ссылочные позиции относятся к одинаковым элементам. Примерные варианты осуществления описаны ниже со ссылкой на чертежи.
[29] На фиг.1 представлена диаграмма, иллюстрирующая ультразвуковой диагностический аппарат 100 согласно одному из вариантов осуществления настоящего изобретения.
[30] Ультразвуковой диагностический аппарат 100 может выборочно обеспечивать комбинационные режимы, а также одномодовый режим. Например, комбинационные режимы могут включать в себя режим яркость (B) + энергетическая доплерография (pD), режим B + цветовая доплерография (CD) и режим B + pD + CD и т.п. В этих комбинационных режимах можно одновременно предоставлять уровни напряжения выходных сигналов, имеющие по меньшей мере два паттерна.
[31] Согласно руководству U.S. FDA 510K и т.п., в отношении международных регулятивных норм для безопасности ультразвукового диагностического аппарата, может быть согласно предварительно определяемым стандартам безопасности запрещено превышение выходным сигналом ультразвукового диагностического аппарата максимально допустимого значения выходного сигнала.
[32] Например, может быть необходимым удерживать механический индекс (MI) в режиме В ниже 1,9.
[33] Однако, для пользователя ультразвукового диагностического аппарата 100 может быть желательным повысить качество изображения у диагностического изображения, которое может предоставляться ультразвуковым диагностическим аппаратом 100, или повысить акустический выходной сигнал преобразователя посредством повышения выходного напряжения импульсного генератора для других медицинских целей.
[34] Когда ультразвуковой диагностический аппарат 100 эксплуатируется в индивидуальном режиме, таком как режим B, пользователь может легко регулировать уровень выходного сигнала в пределах стандартов, поскольку регулировку уровня выходного сигнала можно сравнивать со стандартами для индивидуального выходного сигнала, такими как механический индекс (MI).
[35] Наоборот, когда пользователь желает повысить общие уровни выходного сигнала в комбинированном режиме, проблема может заключаться в том, что выходные сигналы в индивидуальном режиме, то есть выходные сигналы, соответствующие режиму B, могут превышать стандарты по отношению к механическому индексу (MI).
[36] Согласно одному из вариантов осуществления настоящего изобретения, в том случае, если ультразвуковой диагностический аппарат 100 эксплуатируется в комбинационном режиме, даже когда пользователь может повышать выходной сигнал посредством управления общим выходным сигналом, каждым выходным сигналом индивидуальных импульсных генераторов можно управлять так, чтобы он находился ниже порога акустического выходного сигнала в отношении каждого индивидуального режима.
[37] Между тем, выходной сигнал ультразвукового диагностического аппарата 100 может представлять собой акустический выходной сигнал, однако, управление выходным сигналом согласно одному из вариантов осуществления настоящего изобретения также можно рассматривать как управление выходным напряжением для управления акустическим выходным сигналом в ультразвуковом диагностическом аппарате 100. Соответственно, если не указано иное, настоящее изобретение не ограничивается управлением только акустическим выходным сигналом ультразвукового диагностического аппарата 100.
[38] Варианты осуществления настоящего изобретения далее описаны исходя из того, что ультразвуковой диагностический аппарат 100 может эксплуатироваться в режиме B + pD. Однако настоящее изобретение не ограничивается лишь этим режимом B + pD. Вместо этого, специалистам в данной области техники следует принимать во внимание, что изменения этих примерных вариантов осуществления могут осуществляться без изменения сущности изобретения, объем правовой охраны которого определяется формулой изобретения и ее эквивалентами.
[39] Кроме того, несмотря на то, что механический индекс (MI) описан в качестве примера международных регулятивных норм в отношении ультразвукового диагностического аппарата, эквивалентный принцип можно применять к любым другим международным регулятивным нормам, таким как тепловой индекс (TI) и т.п. Соответственно, изменения можно создавать в этих примерных вариантах осуществления без изменения принципов и сущности изобретения, объем правовой охраны которого определяется формулой изобретения и ее эквивалентами.
[40] Можно допускать, что ультразвуковой диагностический аппарат 100 может работать в режиме B + pD, и текущий общий выходной сигнал может соответствовать 50%. Общий выходной сигнал, составляющий 50%, может представлять собой значение, присваиваемое по умолчанию производителем, которое можно устанавливать в отношении ультразвукового диагностического аппарата 100.
[41] В случае общего выходного сигнала, составляющего 50%, мощность B/M можно устанавливать равной 20%, а мощность C/D можно устанавливать равной 30%.
[42] В данном случае команду управления выходным сигналом на увеличение общего выходного сигнала на 1,5 дБ приблизительно до 70% можно принимать от пользователя.
[43] Затем блок принятия решений 120 может принимать решение о том, превышает ли каждая из мощности B/M и мощности C/D максимально допустимое значение, то есть порог, определяемый стандартами безопасности, согласно принятой команде управления выходным сигналом, прежде чем блок 130 управления выходным сигналом сможет управлять выходным сигналом преобразователя 140.
[44] Когда общий выходной сигнал увеличивают на 1,5 дБ, мощность B/M можно увеличивать с 20% до 28%, а мощность C/D можно увеличивать с 30% до 42%. В данном случае ни мощность B/M, ни мощность C/D не может превысить порог, определяемый стандартами безопасности.
[45] Порог может иметь различные значения в отношении каждого режима. Например, порог в отношении мощности B/M можно определять равным 32%. Порог можно устанавливать в связи с максимально допустимым значением 1,9 дБ для механического индекса (MI) в отношении режима B.
[46] В состоянии, когда мощность B/M может быть увеличена до 28%, а мощность C/D может быть увеличена до 42%, команду увеличения общего выходного сигнала на 1,0 дБ можно снова принимать от пользователя с использованием пользовательского интерфейса (UI) 110. Увеличение общего выходного сигнала на 1,0 дБ может соответствовать увеличению общего выходного сигнала приблизительно до 89%.
[47] Затем блок принятия решений 120 снова может принимать решение о том, превышает ли каждая из мощности B/M и мощности C/D установленный порог, согласно команде увеличения общего выходного сигнала.
[48] Однако, поскольку текущая мощность B/M может соответствовать 28% и максимально допустимое значение, то есть порог, можно определять равным 32%, мощность B/M может превышать порог, когда имеет место увеличение общего выходного сигнала на 1,0 дБ.
[49] Поскольку мощность B/M может составлять 32% за счет увеличения выходного сигнала на 0,6 дБ и может быть эквивалентна порогу, блок принятия решений 120 может принимать решение о том, что в настоящее время введенное увеличение общего выходного сигнала на 1,0 дБ недопустимо.
[50] Затем блок 130 управления выходным сигналом может увеличивать мощность B/M на 0,6 дБ, чтобы установить мощность B/M на 32%, и может увеличивать мощность C/D на 1,32 дБ, что может составлять больше чем 1,0 дБ, чтобы увеличить мощность C/D до 57%.
[51] Общий выходной сигнал можно увеличивать до 89%, тогда как мощность B/M можно установить на 32%, что может быть ниже порога, а мощность C/D можно увеличивать до 57%.
[52] В этом случае команду увеличения общего выходного сигнала для увеличения общего выходного сигнала до 100% снова можно принимать от пользователя с использованием пользовательского интерфейса (UI) 110.
[53] Когда общий выходной сигнал увеличивают до 100%, блок принятия решений 120 может принимать решение о том, что невозможно дальнейшее увеличение выходного сигнала в отношении мощности B/M, которая уже могла достигнуть порога 32%.
[54] Блок 130 управления выходным сигналом может удерживать фиксированную мощность B/M на 32% и может увеличивать мощность C/D до 68%, то есть приблизительно на 0,77 дБ.
[55] Тогда общий выходной сигнал может соответствовать 100%, и при этом ни мощность B/M, ни мощность C/D не превышает порог, определяемый стандартами безопасности.
[56] Согласно одному из вариантов осуществления настоящего изобретения, также предусмотрены интерфейсы, которые могут управлять выходными сигналами в отношении каждого индивидуального режима, каждой из мощности B/M и мощности C/D, а также интерфейс управления общим выходным сигналом с использованием пользовательского интерфейса (UI) 110.
[57] Когда пользователь принимает решение о том, что выходной сигнал мощности B/M, равный приблизительно 20%, может быть достаточным, и желает увеличить мощность C/D для улучшения качества изображения, пользователь может вводить команду на понижение мощности B/M до 20% с использованием интерфейса управления индивидуальным выходным сигналом по отношению к мощности B/M.
[58] Когда команду управления выходным сигналом на понижение мощности B/M до 20% принимают с использованием пользовательского интерфейса (UI) 110, блок принятия решений 120 может принимать решение о том, может ли быть превышен максимально допустимый порог по отношению к стандартам безопасности, даже когда индивидуальный выходной сигнал, то есть мощность C/D, увеличивают до 80%.
[59] Когда блок 120 принятия решений принимает решение о том, что выходной сигнал может быть ниже максимально допустимого порога по отношению к стандартам безопасности, блок 130 управления выходным сигналом может снижать мощность B/M до 20% и увеличивать мощность C/D до 80%, посредством автоматического управления преобразователем 140. В этом случае мощность C/D можно дополнительно увеличивать приблизительно на 0,71 дБ.
[60] Как указано в приведенном выше варианте осуществления, нормирующие стандарты для каждой из мощностей, соответствующих индивидуальным режимам, можно сохранять ниже порога посредством регулировки уровней напряжения выходных сигналов преобразователя 140.
[61] Однако, согласно другому варианту осуществления настоящего изобретения, может быть возможным регулировать кадр выходного сигнала индивидуального режима.
[62] Например, в случае, если удерживают мощность B/M, равную 32%, и мощность C/D, равную 68%, когда для пользователя является желательным увеличить мощность C/D, блок 130 управления выходным сигналом может уменьшать кадр выходного сигнала режима B/M или коэффициент нагрузки, тем самым осуществляя регулировку по аналогии с приведенным выше вариантом осуществления.
[63] В пользовательском интерфейсе (UI) 110 одновременно может быть предусмотрен интерфейс, который может управлять общими выходными сигналами, и интерфейсы, которые могут управлять индивидуальными выходными сигналами во время эксплуатации в комбинационном режиме. Однако, когда ультразвуковой диагностический аппарат 100 работает в одномодовом режиме, может быть предусмотрен только интерфейс, который может управлять общими выходными сигналами, а интерфейсы, которые могут управлять индивидуальными выходными сигналами, не предусмотрены, поскольку общее управление выходным сигналом может соответствовать управлению индивидуальным выходным сигналом при работе в одномодовом режиме, то есть при работе в режиме B.
[64] Примеры в отношении управления выходным сигналом в пользовательском интерфейсе (UI) 110 дополнительно описаны со ссылкой на фиг.2-5. Несмотря на то, что показано и описано небольшое количество вариантов осуществления настоящего изобретения, можно осуществлять различные изменения графических конфигураций и множества других факторов, без изменения сущности изобретения.
[65] На фиг.2 представлена диаграмма 200, которая иллюстрирует примерный пользовательский интерфейс (UI), предназначенный для управления выходным сигналом в ультразвуковом диагностическом аппарате согласно одному из вариантов осуществления настоящего изобретения.
[66] Может быть предусмотрена загрузка 210 программы-конфигуратора акустического выходного сигнала, а также могут быть предусмотрены меню, соответствующие настройкам 220 по умолчанию, переключатель 230 отображения теплового индекса TI, корректировка 240 выходной мощности, поддержка 250 контрастного средства и схемы 260 управления выходным сигналом, в качестве подменю.
[67] Настройки 220 по умолчанию могут устанавливать уровень выходного сигнала на значение по умолчанию, как описано выше.
[68] С помощью переключения 230 отображения теплового индекса (TI) может осуществляться переключение, например, TIb, TIs, Tic и т.п., и может быть предусмотрена загрузка 241 пользовательского интерфейса UI для регулировки выходной мощности, при регулировке 240 выходной мощности, которая дополнительно описана со ссылкой на фиг.3.
[69] Также в обеспечении 250 контрастного средства может быть предусмотрена загрузка 251 настроек пользовательского интерфейса UI в соответствии с контрастным средством, которая дополнительно описана со ссылкой на фиг.4.
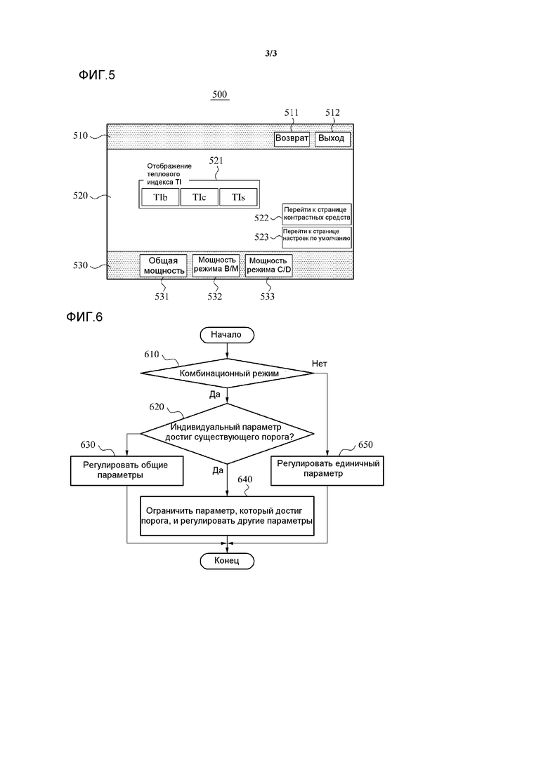
[70] На фиг.3 представлена диаграмма 300, которая иллюстрирует другой примерный пользовательский интерфейс (UI), предназначенный для управления выходным сигналом в ультразвуковом диагностическом аппарате согласно одному из вариантов осуществления настоящего изобретения.
[71] На фиг.2, когда выбирают загрузку 241 пользовательского интерфейса UI для регулировки выходной мощности, может быть предоставлен графический пользовательский интерфейс (GUI), как проиллюстрировано на диаграмме 300.
[72] Пользователь может регулировать общий выходной сигнал так, чтобы он был в пределах диапазона ниже 100%, используя интерфейс 310. Процедура обработки в случае получения команды на увеличение общего выходного сигнала или снижения общего выходного сигнала с использованием интерфейса 310, может быть схожей с процедурой, описанной со ссылкой на фиг.1.
[73] Во время работы в комбинационном режиме можно выборочно предоставлять все интерфейсы с 321 до 323 или часть интерфейсов с 321 до 323. Затем пользователь может управлять индивидуальным выходным сигналом с использованием интерфейсов с 321 до 323.
[74] На фиг.4 представлена диаграмма 400, которая иллюстрирует другой примерный пользовательский интерфейс (UI), предназначенный для управления выходным сигналом в ультразвуковом диагностическом аппарате согласно одному из вариантов осуществления настоящего изобретения.
[75] Также может быть предусмотрена карта механических индексов MI, которая может посредством интерфейса 401 графически отображать механический индекс MI в отношении текущего режима эксплуатации.
[76] Пользователь может отдельно регулировать низкий механический индекс MI, импульсный механический индекс MI и т.п. с использованием интерфейсов с 410 до 430, в ответ на контрастное средство, а также может управлять кадром выходного сигнала или коэффициентом нагрузки, как указано выше со ссылкой на фиг.1.
[77] На фиг.5 представлена диаграмма 500, иллюстрирующая другой примерный пользовательский интерфейс (UI), предназначенный для управления выходным сигналом в ультразвуковом диагностическом аппарате согласно одному из вариантов осуществления настоящего изобретения.
[78] Может быть предусмотрен интерфейс 511 возврата и интерфейс 512 выхода для переключения интерфейсов в области 510, а также может быть предусмотрен интерфейс 521 отображения теплового индекса TI, интерфейс 522 страницы контрастных средств и интерфейс 523 страницы настроек по умолчанию в области 520.
[79] Часть, в отношении отображения теплового индекса TI, предусмотренная в форме переключения на фиг.3, теперь может быть предусмотрена в виде интерфейса 521 с кнопкой выбора.
[80] В области 530 могут быть предусмотрены интерфейсы 531-533 для возможности регулировки общего выходного сигнала или регулировки индивидуального выходного сигнала, которая описана со ссылкой на фиг.1.
[81] На фиг.6 представлена блок-схема, иллюстрирующая способ управления выходным сигналом ультразвукового диагностического аппарата согласно одному из вариантов осуществления настоящего изобретения.
[82] В операции 610 команду регулировки общего выходного сигнала можно принимать с использованием пользовательского интерфейса (UI) 110. Затем блок принятия решений 120 может сначала принимать решение о том, соответствует ли текущий режим комбинационному режиму.
[83] В случае, если текущий режим соответствует одиночному режиму вместо комбинационного режима, пользовательский интерфейс (UI) 100 может предоставлять только интерфейс в отношении управления общим выходным сигналом, без предоставления интерфейса в отношении управления индивидуальным выходным сигналом.
[84] В случае одномодового режима, блок 130 управления выходным сигналом может осуществлять регулировку отдельной мощности в операции 650.
[85] Когда принимают решение о том, что текущий режим соответствует комбинационному режиму в операции 610, блок принятия решений 120 может принимать решение о том, могут ли индивидуальные мощности, например мощность B/M и т.п., достигать допустимый порог по отношению к стандартам безопасности посредством получаемой команды управления общим выходным сигналом в операции 620.
[86] Когда имеет место параметр индивидуальной мощности, который может достичь порога, блок 130 управления выходным сигналом может ограничивать параметр, который может достичь порога, значением ниже порога, и также может регулировать выходной сигнал преобразователя 140, чтобы соответствовать команде управления общим выходным сигналом только по отношению к другим параметрам, в операции 640.
[87] Когда отсутствует параметр индивидуальной мощности, который может достичь порога в операции 620, блок 130 управления выходным сигналом может регулировать выходные сигналы для общих параметров, чтобы соответствовать полученной команде управления общим выходным сигналом, в операции 630.
[88] Подробные примеры способа управления выходным сигналом могут быть схожи с описанным выше способом, со ссылкой на фиг.1.
[89] Описанные выше примерные варианты осуществления настоящего изобретения могут быть записаны в машиночитаемых носителях, содержащих программные инструкции для реализации различных операций, осуществляемых компьютером. Носители также могут содержать, отдельно или в комбинации с программными инструкциями, файлы данных, структуры данных и т.п. Примеры машиночитаемых носителей включают в себя: магнитные носители, такие как жесткие диски, гибкие диски и магнитная лента; оптические носители, такие как диски CD-ROM и DVD, магнитооптические носители, такие как оптические диски; и аппаратные устройства, специально выполненные с возможностью хранения и исполнения программных инструкций, такие как постоянное запоминающее устройство (ROM), оперативное запоминающее устройство (RAM), флэш-память и т.п. Примеры программных инструкций включают в себя: как машинный код, например, полученный посредством компилятора, так и файлы, содержащие код более высокого уровня, который можно исполнять с помощью компьютера, используя интерпретатор. Описанные аппаратные устройства могут быть выполнены с возможностью функционирования в качестве одного или нескольких модулей программного обеспечения для осуществления операции вышеописанных примерных вариантов осуществления настоящего изобретения, или наоборот.
[90] Несмотря на то, что показано и описано небольшое количество примерных вариантов осуществления настоящего изобретения, настоящее изобретение не ограничено описанными примерными вариантами осуществления. Наоборот, специалисты в данной области техники примут во внимание, что эти примерные варианты осуществления можно модифицировать без изменения сущности изобретения, объем правовой охраны которого определяется формулой изобретения и ее эквивалентами.
Группа изобретений относится к медицинской технике, а именно к средствам управления выходным сигналом ультразвукового диагностического аппарата. Ультразвуковой диагностический аппарат, эксплуатируемый в комбинационном режиме, выполнен с возможностью одновременно предоставлять уровни выходного напряжения с использованием преобразователя. Аппарат содержит блок управления выходным сигналом, выполненный с возможностью управления уровнями напряжения множества выходных сигналов индивидуального импульсного генератора, соответствующих упомянутому первому режиму и упомянутым другим режимам, пользовательский интерфейс (UI), блок принятия решений, выполненный с возможностью принятия решения о том, соответствует ли команда управления выходным значением команде, которая позволяет уровням напряжения выходных сигналов, соответствующих первому режиму, включенному в комбинационный режим, превысить порог, определяемый стандартами безопасности в отношении первого режима. При этом, когда блок принятия решений принимает решение о том, что команда управления выходным значением соответствует команде, которая позволяет уровням напряжения выходных сигналов, соответствующих упомянутому первому режиму, превысить порог, определяемый стандартами безопасности в отношении упомянутого первого режима, блок управления выходным сигналом выполнен с возможностью удержания выходных сигналов, соответствующих упомянутому первому режиму, ниже порога, и с возможностью регулировки выходных сигналов, соответствующих другим режимам, на основе команды управления выходным значением, причем комбинационный режим соответствует одному из режимов: режим В+pD, режим В+CD и режим В+pD+CD. Способ управления выходным сигналом осуществляется посредством ультразвукового диагностического аппарата. Использование изобретений позволяет повысить удобство использования ультразвуковых диагностических аппаратов. 2 н. и 6 з.п. ф-лы, 6 ил. 
1. Ультразвуковой диагностический аппарат, эксплуатируемый в комбинационном режиме, включающий в себя первый режим и другие режимы, аппарат выполнен с возможностью одновременно предоставлять уровни выходного напряжения с использованием преобразователя, аппарат содержит:
блок управления выходным сигналом, выполненный с возможностью управления уровнями напряжения множества выходных сигналов индивидуального импульсного генератора, соответствующих упомянутому первому режиму и упомянутым другим режимам; пользовательский интерфейс (UI), выполненный с возможностью приема команды управления выходным значением по отношению ко всем из множества выходных сигналов;
блок принятия решений, выполненный с возможностью принятия решения о том, соответствует ли команда управления выходным значением команде, которая позволяет уровням напряжения выходных сигналов, соответствующих первому режиму, включенному в комбинационный режим, превысить порог, определяемый стандартами безопасности в отношении первого режима; при этом:
когда блок принятия решений принимает решение о том, что команда управления выходным значением соответствует команде, которая позволяет уровням напряжения выходных сигналов, соответствующих упомянутому первому режиму, превысить порог, определяемый стандартами безопасности в отношении упомянутого первого режима, блок управления выходным сигналом выполнен с возможностью удержания выходных сигналов, соответствующих упомянутому первому режиму, ниже порога, и с возможностью регулировки выходных сигналов, соответствующих другим режимам, на основе команды управления выходным значением,
причем комбинационный режим соответствует одному из режимов: режим В+pD, режим В+CD и режим В+pD+CD.
2. Аппарат по п. 1, в котором команда управления выходным значением повышает напряжения общих выходных сигналов преобразователя, соответствующих комбинационному режиму, или снижает напряжения общих выходных сигналов преобразователя, соответствующих комбинационному режиму, посредством блока определения процентного соотношения.
3. Аппарат по п. 1, в котором UI содержит:
первый интерфейс управления выходным сигналом, соответствующий каждому из множества режимов, включенных в комбинационный режим; и
второй интерфейс управления выходным сигналом для регулировки общих выходных сигналов множества режимов.
4. Аппарат по п. 1, в котором первый режим соответствует режиму В, а стандарты безопасности в отношении первого режима соответствуют механическому индексу (MI).
5. Способ управления выходным сигналом ультразвукового диагностического аппарата, эксплуатируемого в комбинационном режиме, включающий в себя первый режим и другие режимы, аппарат одновременно предоставляет уровни напряжения множества выходных сигналов с использованием преобразователя, способ содержит этапы, на которых:
управляют посредством блока управления выходным сигналом ультразвукового диагностического аппарата уровнями напряжения множества выходных сигналов индивидуального импульсного генератора, соответствующих упомянутому первому режиму и упомянутым другим режимам;
принимают, посредством пользовательского интерфейса (UI) ультразвукового диагностического аппарата, команды управления выходным значением по отношению ко всем из множества выходных сигналов;
принимают решения, посредством блока принятия решений ультразвукового диагностического аппарата, о том, соответствуют ли команды управления выходным значением команде, которая позволяет уровню напряжения выходных сигналов, соответствующих первому режиму, включенному в комбинационный режим, превысить порог, определяемый стандартами безопасности в отношении первого режима; и
когда принимают решение о том, что команда управления выходным значением соответствует команде, которая позволяет уровням напряжения выходных сигналов, соответствующих упомянутому первому режиму, превысить порог, определяемый стандартами безопасности в отношении упомянутого первого режима, удерживают, посредством блока управления выходным сигналом ультразвукового диагностического аппарата, выходных сигналов, соответствующих упомянутому первому режиму, ниже порога, и регулируют выходные сигналы, соответствующие упомянутым другим режимам, на основе команды управления выходным значением,
причем комбинационный режим соответствует одному из режимов: режиму В+pD, режиму В+CD и режиму В+pD+CD.
6. Способ по п. 5, в котором с помощью команды управления выходным значением повышают напряжения общих выходных сигналов преобразователя, соответствующих комбинационному режиму, или снижают напряжения общих выходных сигналов преобразователя, соответствующих комбинационному режиму, посредством блока определения процентного соотношения.
7. Способ по п. 5, который дополнительно содержит этапы:
предоставления, посредством UI, интерфейса управления выходным сигналом, соответствующим каждому из множества режимов, включенных в комбинационный режим, и интерфейса управления выходным сигналом для регулировки общих выходных сигналов множества режимов перед получением команды управления выходным значением.
8. Способ по п. 5, в котором первый режим соответствует режиму В, и стандарты безопасности в отношении первого режима соответствуют механическому индексу (MI).
| US 2007112266 A1, 17.05.2007 | |||
| US 6824518 B2, 30.11.2004 | |||
| JP 2005334197 A, 08.12.2005 | |||
| JP 2009261800 A, 12.11.2009 | |||
| Приспособление для усиления небольших перемещений передвижной части какого-либо прибора | 1926 |
|
SU8882A1 |
| УСТРОЙСТВО ДЛЯ УЛЬТРАЗВУКОВОГО ИССЛЕДОВАНИЯ | 2007 |
|
RU2403866C2 |
Авторы
Даты
2017-05-02—Публикация
2011-11-29—Подача