Область техники, к которой относится изобретение
Настоящее изобретение относится к устройству сгорания, допускающему измерение количества используемого газа, и к способу измерения количества используемого газа, а более конкретно, к устройству сгорания, допускающему измерение количества используемого газа, компенсацию количества используемого газа температурой воздуха или газа и информирование компенсированного количества пользователю, и к способу измерения количества используемого газа.
Уровень техники
Обычно, устройство сгорания, такое как газовый котел, сжигает газ, чтобы вырабатывать тепло, чтобы выполнять отопление или подавать горячую воду.
Устройство сгорания может разделяться на электронную систему пропорционального управления и пневматическую систему согласно способу смешения воздуха и газа.
Ссылаясь на фиг. 1, устройство 10 сгорания электронной системы пропорционального управления представляет собой систему, в которой воздух, подаваемый посредством нагнетателя 13 воздуха, и газ, подаваемый посредством электронного пропорционального регулирующего клапана 15, отдельно подаются в горелку 12, и воздух и газ смешиваются и сжигаются в горелке 12. В такой системе, скорость подачи газа изменяется согласно значению тока электронного пропорционального регулирующего клапана 15, выполненного с возможностью управлять подачей газа. Соответственно, количество тепла и количество газа, используемого в системе, определяются посредством электронного пропорционального регулирующего клапана 15. Незаданные номера "11", "14", и "16", соответственно, обозначают теплообменник, газовый клапан для управления подачей газа и газоподающую трубу.
Ссылаясь на фиг. 2, устройство 20 сгорания пневматической системы представляет собой систему, в которой воздух, подаваемый посредством нагнетателя 23 воздуха, и газ, подаваемый посредством пневматического газового клапана 24, смешиваются заранее и подаются в горелку 22, и воздух и газ, смешанные заранее, сжигаются в горелке 22. Пневматический газовый клапан 24, который предоставляется на газоподающей трубе 26, через которую подается газ, изменяет скорость подачи газа согласно давлению воздуха, подаваемого посредством нагнетателя 23 воздуха. Соответственно, количество тепла и количество газа, используемого в такой системе, определяются посредством числа оборотов нагнетателя воздуха. Незаданный номер "21" обозначает теплообменник.
Предшествующий уровень техники, выполненный с возможностью информировать пользователя в отношении количества используемого газа в то время, когда устройство сгорания работает, раскрыт в патенте (Корея) № 10-1043894.
В предшествующем уровне техники, число оборотов и значение тока нагнетателя воздуха и значение тока пропорционального клапана определяются, чтобы вычислять количество потребляемого газа.
Реальные количества используемого воздуха и газа могут изменяться согласно температуре. Таким образом, в случае, если температура является высокой, поскольку объемы воздуха и газа увеличиваются, число частиц воздуха и газа в расчете на единицу объема снижаются, и в силу этого реальное количество используемого газа снижается. Помимо этого, в случае, если температура является низкой, поскольку объемы воздуха и газа снижаются, число частиц воздуха и газа в расчете на единицу объема увеличиваются, и в силу этого реальное количество используемого газа увеличивается.
В предшествующем уровне техники, поскольку вычисляется только объем используемого газа, в котором не отражаются температуры воздуха и газа, возникает проблема в том, что точное реальное количество используемого газа не может информироваться пользователю. Помимо этого, возникает проблема в том, что информация различных количеств используемого газа согласно рабочим режимам не может информироваться пользователю.
Сущность изобретения
Техническая задача
Настоящее изобретение направлено на предоставление устройства сгорания, допускающего информирование количества используемого газа, в котором температура воздуха или температура газа отражаются, и способа измерения количества используемого газа.
Настоящее изобретение также направлено на предоставление устройства сгорания, допускающего предоставление различных фрагментов информации пользователю посредством отдельного вычисления количеств используемого газа согласно вариантам использования, таким как отопление и горячая вода, и способа измерения количества используемого газа.
Техническое решение
Один аспект настоящего изобретения предоставляет устройство сгорания количества используемого газа, включающее в себя: горелку (120, 220), выполненную с возможностью сжигать газ; нагнетатель (130, 230) воздуха, выполненный с возможностью подавать воздух для сгорания в горелку (120, 220); газовые клапаны (140, 150, 240), выполненные с возможностью подавать газ для сгорания в горелку (120, 220); датчик (170, 270-1) температуры газа, выполненный с возможностью измерять температуру газа, подаваемого в горелку (120, 220) или нагнетатель (130, 230) воздуха; и модуль (160, 260) управления, выполненный с возможностью управлять числом оборотов нагнетателя (130, 230) воздуха, вычислять первое количество используемого газа для текущего рабочего количества тепла, сжигаемого согласно сигналу, вводимому пользователем, и компенсировать вычисленное первое количество используемого газа с измеренной температурой газа, измеренной посредством датчика (170, 270-1) температуры газа, чтобы вычислять второе количество используемого газа.
Другой аспект настоящего изобретения предоставляет устройство сгорания, допускающее измерение количества используемого газа, включающее в себя: горелку (220), выполненную с возможностью сжигать газ; нагнетатель (230) воздуха, выполненный с возможностью подавать воздух для сгорания в горелку (220); газовый клапан (240), выполненный с возможностью подавать газ для сгорания в горелку (220); датчик (270-2) температуры воздуха, выполненный с возможностью измерять температуру воздуха, подаваемого посредством нагнетателя (230) воздуха; и модуль (260) управления, выполненный с возможностью управлять числом оборотов нагнетателя (230) воздуха, вычислять первое количество используемого газа для текущего рабочего количества тепла, сжигаемого согласно сигналу, вводимому пользователем, и компенсировать вычисленное первое количество используемого газа с измеренной температурой газа, измеренной посредством датчика температуры газа (270-2), чтобы вычислять второе количество используемого газа.
Газовый клапан (150) может включать в себя электронный пропорциональный регулирующий клапан, в котором скорость подачи газа определяется согласно значению тока, и газ, подаваемый через электронный пропорциональный регулирующий клапан, может подаваться в горелку (120) независимо от воздуха, подаваемого посредством нагнетателя (130) воздуха.
Газовый клапан (240) может включать в себя пневматический газовый клапан, в котором скорость подачи газа определяется согласно разности давления, сформированного в пути потока воздуха, подаваемого посредством нагнетателя (230) воздуха.
Модуль (160, 260) управления может сохранять вычисленное второе количество используемого газа на сервере (600), чтобы отображать вычисленное второе количество используемого газа на портативном терминале (700) пользователя.
Модуль (160, 260) управления может сохранять информацию использования для отопления во время режима отопления и информацию использования для горячей воды во время режима подачи горячей воды на сервере (600), второе количество используемого газа может вычисляться для каждого из режима отопления и режима подачи горячей воды, и вычисленное второе количество используемого газа может отображаться на портативном терминале 700 согласно выбору пользователя.
Еще один другой аспект настоящего изобретения предоставляет способ измерения количества используемого газа устройства сгорания, включающего в себя горелку (120, 220), выполненную с возможностью сжигать газ, нагнетатель (130, 230) воздуха, выполненный с возможностью подавать воздух для сгорания в горелку (120, 220), газовые клапаны (140, 150, 240), выполненные с возможностью подавать газ для сгорания в горелку (120, 220), и модуль (160, 260) управления, выполненный с возможностью управлять горелкой (120, 220), нагнетателем (130, 230) воздуха, газовыми клапанами (140, 150, 240), и способ включает в себя: этап (a) подачи, посредством газовых клапанов (140, 150, 240) и нагнетателя (130, 230) воздуха, газа и воздуха и обеспечения горения, посредством горелки (120, 220), газа, чтобы подавать текущее рабочее количество тепла, вычисленное на основе сигнала, вводимого пользователем; этап (b) вычисления, посредством модуля (160, 260) управления, первого количества используемого газа для текущего рабочего количества тепла; этап (c) измерения, посредством датчика (170, 270-1) температуры газа, температуры газа и передачи температуры в модуль (160, 260) управления; и этап (d) компенсации, посредством модуля (160, 260) управления, первого количества используемого газа с измеренной температурой газа, измеренной посредством датчика (170, 270-1) температуры газа, чтобы вычислять второе количество используемого газа.
Еще один другой аспект настоящего изобретения предоставляет способ измерения количества используемого газа устройства сгорания, включающего в себя горелку (220), выполненную с возможностью сжигать газ, нагнетатель (230) воздуха, выполненный с возможностью подавать воздух для сгорания в горелку (220), газовый клапан (240), выполненный с возможностью подавать газ для сгорания в горелку (220), и модуль (260) управления, выполненный с возможностью управлять горелкой (220), нагнетателем (230) воздуха и газовым клапаном (240), и способ включает в себя: этап (a) подачи, посредством газового клапана (240) и нагнетателя (230) воздуха, газа и воздуха и обеспечения горения, посредством горелки (220), газа, чтобы подавать текущее рабочее количество тепла, вычисленное на основе сигнала, вводимого пользователем; этап (b) вычисления, посредством модуля (260) управления, первого количества используемого газа для текущего рабочего количества тепла; этап (c) измерения, посредством датчика (270-2) температуры воздуха, температуры воздуха и передачи температуры в модуль (260) управления; и этап (d) компенсации, посредством модуля (260) управления, первого количества используемого газа с измеренной температурой воздуха, измеренной посредством датчика (270-2) температуры воздуха, чтобы вычислять второе количество используемого газа.
Газовый клапан (150) может включать в себя электронный пропорциональный регулирующий клапан, в котором скорость подачи газа определяется согласно значению тока; и текущее рабочее количество тепла может вычисляться из значения тока электронного пропорционального регулирующего клапана через способ интерполяции.
Опорная температура газа для газа может задаваться в модуле (160, 260) управления; и второе количество используемого газа вычисляется посредством следующего уравнения:
второе количество используемого газа ∞ первое количество используемого газа * опорная температура газа ÷ измеренная температура газа.
Устройство сгорания дополнительно может включать в себя датчик определения оборотов, выполненный с возможностью измерять число оборотов нагнетателя (230) воздуха, и текущее рабочее количество тепла может вычисляться из числа оборотов измеренного нагнетателя (230) воздуха, измеренного посредством датчика определения оборотов, через способ интерполяции.
Опорная температура воздуха для воздуха может задаваться в модуле (260) управления; и второе количество используемого газа вычисляется посредством следующего уравнения:
второе количество используемого газа ∞ первое количество используемого газа * опорная температура воздуха ÷ измеренная температура воздуха.
Модуль (160, 260) управления может измерять и накапливать второе количество используемого газа согласно заданному временному интервалу и передавать накопленное количество используемого газа на сервер (600) в единицах предварительно определенных количеств используемого газа, и пользователь может проверять накопленное количество используемого газа через портативный терминал (700), соединенный с сервером (600).
Модуль (160, 260) управления может измерять первое количество используемого газа и второе количество используемого газа для каждого из множества режимов и передавать первое и второе количества используемого газа на сервер (600), и пользователь может проверять первое и второе количества используемого газа для каждого из множества режимов через портативный терминал (700) пользователя.
Преимущества
Согласно настоящему изобретению, поскольку количество используемого газа, в котором отражается температура воздуха или газа, вычисляется и предоставляется пользователю, еще более точная информация может предоставляться пользователю.
Поскольку количества используемого газа вычисляются согласно различным рабочим режимам и предоставляются пользователю, различные фрагменты информации могут предоставляться пользователю.
Поскольку пользователь может выбирать и управлять шаблоном использования газа на основе различных фрагментов информации, может уменьшаться потребление газа, и может экономиться энергия.
Краткое описание чертежей
Фиг. 1 является видом, иллюстрирующим традиционное устройство сгорания электронной системы пропорционального управления.
Фиг. 2 является видом, иллюстрирующим традиционное устройство сгорания пневматической системы.
Фиг. 3 является видом, иллюстрирующим устройство сгорания согласно первому варианту осуществления настоящего изобретения.
Фиг. 4 является видом, иллюстрирующим устройство сгорания согласно второму варианту осуществления настоящего изобретения.
Фиг. 5 является блок-схемой последовательности операций способа измерения количества используемого газа согласно настоящему изобретению.
Ссылки с номерами
100, 200 - устройство сгорания
110, 210 - теплообменник
120, 220 - горелка
130, 230 - нагнетатель воздуха
140, 240 - газовый клапан
150 - электронный пропорциональный регулирующий клапан
160, 260 - модуль управления
170 - датчик температуры газа
180, 280 - устройство приведения в действие
190, 290 - датчик
270-2 - датчик температуры воздуха
300 - преобразователь
400 - контроллер помещения
500 - шлюз
600 - сервер
700 - портативный терминал
Варианты осуществления изобретения
Далее подробно описываются конфигурации и операции примерных вариантов осуществления настоящего изобретения со ссылкой на прилагаемые чертежи.
Первый вариант осуществления
Ниже описывается устройство сгорания, допускающее измерение количества используемого газа согласно первому варианту осуществления, со ссылкой на фиг. 3.
Устройство 100 сгорания согласно первому варианту осуществления представляет собой электронную систему пропорционального управления и включает в себя горелку 120, выполненную с возможностью сжигать газ, нагнетатель 130 воздуха для подачи воздуха для горения в горелку 120, газовые клапаны 140 и 150 для подачи газа для горения в горелку 120, датчик 170 температуры газа для измерения температуры газа, подаваемого в горелку 120, модуль 160 управления, выполненный с возможностью управлять нагнетателем 130 воздуха и газовыми клапанами 140 и 150 и вычислять количество используемого газа путем компенсации с измеренной температурой газа, измеренной посредством датчика 170 температуры газа.
Горючий газ, сформированный посредством сгорания в горелке 120, обменивается теплом с водой для отопления в теплообменнике 110, чтобы нагревать воду для отопления. Вода для отопления, нагретая в теплообменнике 110, подается в целевую область отопления (не показана) или водопроводный теплообменник (не показана) для подачи горячей воды.
Пламя образуется в горелке 120 посредством устройства зажигания (не показано), которое зажигается посредством управляющего сигнала модуля 160 управления, и сгорание выполняется посредством пламени, и в силу этого формируется горючий газ. Воздух и газ для сгорания отдельно подаются в горелку 120 посредством нагнетателя 130 воздуха и газовых клапанов 140 и 150, и воздух и газ смешиваются и сжигаются в горелке 120.
Число оборотов нагнетателя 130 воздуха определяется посредством модуля 160 управления, и нагнетатель 130 воздуха всасывает наружный воздух и подает воздух в горелку 120.
Газовые клапаны 140 и 150 включают в себя открывающийся и закрывающийся клапан 140, выполненный с возможностью открываться или закрываться согласно сигналу модуля 160 управления, и электронный пропорциональный регулирующий клапан 150, выполненный с возможностью управлять скоростью подачи газа посредством регулирования степени открытия согласно значению тока на основе сигнала модуля 160 управления.
Модуль 160 управления соединяется с различными устройствами 180 приведения в действие устройства 100 сгорания и датчиком 190 для приема информации температуры, расхода и т.п.
Помимо этого, внешняя часть устройства 100 сгорания соединяется с контроллером 400 помещения, в котором пользователь задает то, следует вводить в работу устройство 100 сгорания и соответствующие рабочие условия либо выполнять команду, и с сервером 600 через преобразователь 300 и шлюз 500. Количество используемого газа, режим приведения в действие и различные фрагменты информации, передаваемые из модуля 160 управления, сохраняются на сервере 600.
Пользователь может принимать информацию, сохраненную на сервере 600, через портативный терминал 700, чтобы принимать различные фрагменты информации, связанные с работой устройства 100 сгорания.
Датчик 170 температуры газа предоставляется на трубе, через которую подается газ, измеряет температуру подаваемого газа и передает измеренную температуру в модуль 160 управления.
Модуль 160 управления вычисляет первое количество используемого газа для текущего рабочего количества тепла, вырабатываемого посредством сгорания согласно входному сигналу от пользователя, и второе количество используемого газа посредством компенсации первого количества используемого газа с измеренной температурой газа, измеренной посредством датчика 170 температуры газа.
Объем газа для сгорания изменяется согласно температуре. Когда измеренная температура газа выше опорной температуры газа, реальное количество используемого газа снижается по сравнению с тем, когда используется газ с опорной температурой. Помимо этого, когда измеренная температура газа ниже опорной температуры, реальное количество используемого газа увеличивается по сравнению с тем, когда используется газ с опорной температурой.
Первое количество используемого газа, которое представляет собой количество, вычисленное с использованием текущего рабочего количества тепла, представляет собой вычисленное значение, в котором не отражается температура газа, и второе количество используемого газа представляет собой реальное количество используемого газа, в котором отражается температура газа.
Второй вариант осуществления
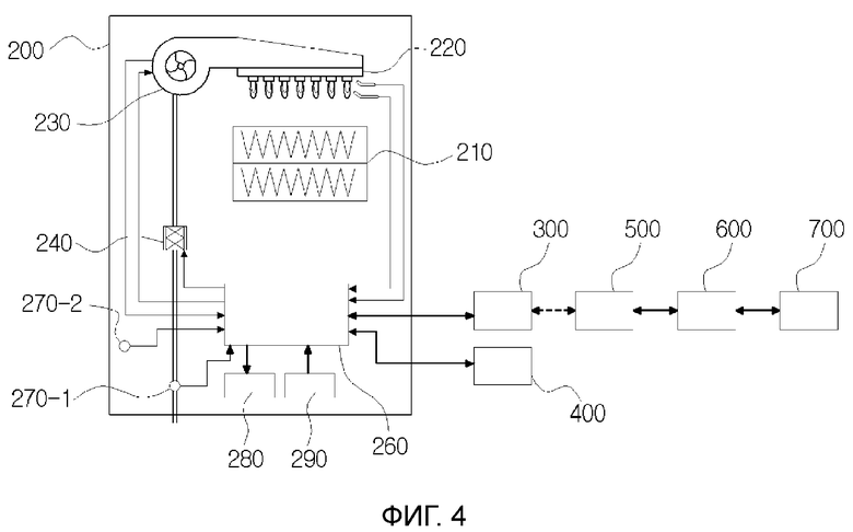
Ниже описывается устройство сгорания, допускающее измерение количества используемого газа согласно второму варианту осуществления настоящего изобретения, со ссылкой на фиг. 4.
Устройство 200 сгорания согласно второму варианту осуществления представляет собой пневматическую систему и включает в себя горелку 220, выполненную с возможностью сжигать газ, нагнетатель 230 воздуха для подачи воздуха для сгорания в горелку 220, газовый клапан 240 для подачи газа для сгорания в горелку 220, датчик 270-1 температуры газа для измерения температуры газа, подаваемого в нагнетатель 230 воздуха, датчик 270-2 температуры воздуха для измерения температуры воздуха, подаваемого посредством нагнетателя 230 воздуха, и модуль 260 управления, выполненный с возможностью управлять числом оборотов нагнетателя 230 воздуха и вычислять реальное количество используемого газа посредством компенсации с измеренной температурой воздуха и измеренной температурой газа, соответственно, измеренной посредством датчика 270-2 температуры воздуха и датчика 270-1 температуры газа.
Газовый клапан 240 формируется в качестве пневматического газового клапана, который определяет скорость подачи газа с использованием разности давлений, сформированной в пути потока воздуха, подаваемого посредством нагнетателя 230 воздуха.
Разность давлений, сформированная посредством пути потока воздуха, определяется посредством числа оборотов нагнетателя 230 воздуха. Соответственно, когда число оборотов нагнетателя 230 воздуха увеличивается, количество газа, смешанного с воздухом через газовый клапан 240, увеличивается, а когда число оборотов нагнетателя 230 воздуха снижается, количество газа, смешанного с воздухом посредством газового клапана 240, снижается.
Предоставляется датчик определения оборотов для измерения числа оборотов нагнетателя 230 воздуха.
Модуль 260 управления вычисляет первое количество используемого газа для текущего рабочего количества тепла, вырабатываемого посредством сгорания согласно входному сигналу от пользователя, вычисляет второе количество используемого газа посредством компенсации первого количества используемого газа с измеренной температурой газа, измеренной посредством первого датчика 270-1 температуры газа, или вычисляет второе количество используемого газа посредством компенсации первого количества используемого газа с измеренной температурой газа, измеренной посредством второго датчика 270-2 температуры газа.
Соотношение между температурой газа для сгорания и реальным количеством используемого газа является идентичным случаю первого варианта осуществления, описанного выше.
Объем воздуха для сгорания также изменяется согласно температуре. Когда измеренная температура воздуха выше опорной температуры, реальное количество используемого воздуха снижается по сравнению с тем, когда используется воздух с опорной температурой. Помимо этого, когда измеренная температура воздуха ниже опорной температуры, реальное количество используемого воздуха увеличивается по сравнению с тем, когда используется воздух с опорной температурой. В случае пневматической системы, поскольку количество газа, подаваемого через газовый клапан 240, является пропорциональным количеству воздуха, снижение или увеличение реального количества используемого воздуха означает снижение или увеличение реального количества используемого газа.
Первое количество используемого газа, которое вычисляется из текущего рабочего количества тепла, представляет собой вычисленное значение, в котором не отражаются температура воздуха и температура газа, и второе количество используемого газа представляет собой реальное количество используемого газа, в котором отражаются температура воздуха или температура газа.
В вышеприведенном описании, хотя первое количество используемого газа компенсируется с одним выбранным из измеренной температуры газа и измеренной температуры воздуха, первое количество используемого газа может компенсироваться наряду с измеренной температурой газа и измеренной температурой воздуха.
Соединение модуля 260 управления с устройством 180 приведения в действие, датчиком 190, контроллером 400 помещения, преобразователем 300, шлюзом 500, сервером 600 и портативным терминалом 700 является идентичным соединению первого варианта осуществления.
Способ измерения количества используемого газа
Ниже описывается способ измерения количества используемого газа, выполняемого посредством устройства сгорания настоящего изобретения, со ссылкой на фиг. 5.
На этапе S801, когда пользователь управляет контроллером 400 помещения для выполнения отопления или использования горячей воды, модули 160 и 260 управления, соответственно, принимают функциональные сигналы устройств 100 и 200 сгорания.
На этапе S802, модули 160 и 260 управления определяют то, представляет собой рабочий режим, выбранный пользователем, режим отопления или режим подачи горячей воды.
На этапе S803, модули 160 и 260 управления вращают нагнетатели 130 и 230 воздуха, чтобы вводить в работу устройства 100 и 200 сгорания с возможностью формировать текущее рабочее количество тепла, которое вводится пользователем, подавать газ через газовые клапаны 140, 150 и 240 и зажигать горелки 120 и 220.
В этом случае, пользователь может выбирать требуемую температуру отопления или температуру горячей воды с использованием контроллера 400 помещения, и модули 160 и 260 управления определяют количество тепла, которое должно вырабатываться посредством обеспечения горения газа в горелках 120 и 220, согласно входной температуре отопления или входной температуре горячей воды.
Текущее рабочее количество тепла означает текущий вывод каждого из устройств 100 и 200 сгорания, и текущий вывод имеет значение в пределах от 0 до 100 и задается в качестве соотношения текущего вывода и максимального вывода.
В этом случае, поскольку количество газа, подаваемого через электронный пропорциональный регулирующий клапан, определяется, когда текущий вывод определяется в устройстве 100 сгорания электронной системы пропорционального управления, текущее рабочее количество тепла может вычисляться с использованием значения тока газового клапана 150 через способ интерполяции.
Помимо этого, поскольку количество газа, подаваемого через газовый клапан 240, определяется согласно числу оборотов нагнетателя 230 воздуха, когда текущий вывод устройства 200 сгорания пневматической системы определяется, текущее рабочее количество тепла может вычисляться с использованием числа оборотов нагнетателя 230 воздуха, измеренного посредством датчика определения оборотов, через способ интерполяции.
На этапе S804, модули 160 и 260 управления вычисляют первое количество используемого газа, которое является количеством используемого газа, сжигаемым, чтобы формировать текущее рабочее количество тепла.
Например, когда максимальное количество используемого газа каждого из устройств 100 и 200 сгорания составляет 24000 ккал/ч, и текущее рабочее количество тепла составляет 50% от максимального количества используемого газа, первое количество используемого газа составляет 12000 ккал/ч.
На этапе S805, температура газа измеряется посредством датчиков 170 и 270-1 температуры газа, и в случае пневматической системы, температура воздуха измеряется посредством датчика 270-2 температуры воздуха, и измеренная информация передается в модули 160 и 260 управления.
На этапе S806, модули 160 и 260 управления компенсируют первое количество используемого газа с измеренной температурой газа, чтобы вычислять второе количество используемого газа с использованием следующего уравнения 1.
уравнение 1
второе количество используемого газа=первое количество используемого газа * (273+опорная температура газа) ÷ (273+измеренная температура газа)
Например, опорная температура газа предположительно составляет 15°, и измеренная температура газа предположительно составляет 25°. Поскольку измеренная температура газа выше опорной температуры газа, реальное количество используемого газа снижается по сравнению со случаем, в котором температура газа представляет собой опорную температуру газа. Поскольку первое количество используемого газа, вычисленное на этапе S804, составляет 12000 ккал/ч, второе количество используемого газа составляет 11597 ккал/ч.
Помимо этого, в случае, если модули 160 и 260 управления компенсируют с температурой воздуха, модули 160 и 260 управления компенсируют первое количество используемого газа с измеренной температурой воздуха, чтобы вычислять второе количество используемого газа с использованием следующего уравнения 2.
уравнение 2
второе количество используемого газа=первое количество используемого газа * (273+опорная температура воздуха) ÷ (273+измеренная температура воздуха)
Например, опорная температура воздуха предположительно составляет 20°, и измеренная температура воздуха предположительно составляет 25°. Поскольку измеренная температура воздуха выше опорной температуры воздуха, реальное количество используемого воздуха (количество используемого газа) снижается по сравнению со случаем, в котором температура воздуха представляет собой опорную температуру воздуха. Поскольку первое количество используемого газа, вычисленное на этапе S804, составляет 12000 ккал/ч, второе количество используемого газа составляет 11798 ккал/ч.
На этапе S807, модули 160 и 260 управления измеряют и накапливают второе количество используемого газа каждое заданное время и вычисляют накопленное количество используемого газа в расчете на заданное количество используемого газа.
Например, поскольку второе количество используемого газа означает, что 11798 ккал используются за один час, количество используемого газа должно измеряться с временным интервалом меньше одного часа. Помимо этого, информирование пользователя в отношении количества используемого газа в единицах литров увеличивает эффективность передачи информации, связанной с количеством используемого газа.
Соответственно, в настоящем изобретении, второе количество используемого газа вычисляется каждые 0,1 секунды, и вычисленные значения накапливаются и информируются пользователю в единицах литров.
В вышеприведенном примере, количество используемого газа за 0,1 секунды для 11798 ккал/ч является следующим.
11,798 ÷ 60 ÷ 60 ÷ 10=0,3277 ккал
Когда теплотворная способность газа, используемого в данный момент, предположительно составляет 10204 ккал/м3, объем газа для 0,3277 ккал, который представляет собой вычисленное количество используемого газа за 0,1 секунды, вычисляется следующим образом.
0,3277 ккал x 1000 л ÷ 10204=0,0321 л
Таким образом, поскольку 0,0321 л газа используется за 0,1 секунды, модули 160 и 260 управления вычисляют в способе, в котором накопленное количество используемого газа составляет 1 л, 2 л, 3 л и т.п., каждый раз, когда количество используемого газа, накопленное каждые 0,1 секунды, составляет 1 л.
В случае пневматической системы, второе количество используемого газа может компенсироваться наряду с температурой газа и температурой воздуха. Таким образом, модуль 260 управления компенсирует первое количество используемого газа с измеренной температурой газа, чтобы вычислять второе количество используемого газа с использованием уравнения 1. Затем модуль 260 управления дополнительно компенсирует первое количество используемого газа, которое представляет собой второе количество используемого газа, вычисленное с использованием уравнения 1 с измеренной температурой воздуха, чтобы вычислять второе количество используемого газа с использованием уравнения 2. Посредством вышеописанного процесса, второе количество используемого газа может вычисляться посредством компенсирования наряду с температурой воздуха и температурой газа в пневматической системе посредством вышеописанного процесса.
В вышеописанных уравнении 1 и уравнении 2, опорная температура газа, измеренная температура газа, опорная температура воздуха и измеренная температура воздуха описываются в абсолютной температурной шкале, когда второе количество используемого газа является обратно пропорциональным измеренной температуре газа и измеренной температуре воздуха, опорная температура газа, измеренная температура газа, опорная температура воздуха и измеренная температура воздуха могут описываться в температурной шкале Цельсия, либо уравнения 1 и уравнение 2 может заменяться на другие уравнения.
На этапе S808, в случае электронной системы пропорционального управления, модуль 160 управления сохраняет вычисленное первое количество используемого газа и вычисленное второе количество используемого газа на сервере 600.
Сервер 600 может сохранять первое количество используемого газа и второе количество используемого газа, которые разделяются на количество в режиме отопления и количество в режиме подачи горячей воды, либо в нем может сохраняться общее количество используемого газа.
Пользователь может проверять первое количество используемого газа и второе количество используемого газа, сохраненные на сервере 600, через приложение, установленное в портативном терминале 700, в любое время.
Между тем, в случае пневматической системы, модуль 260 управления сохраняет второе количество используемого газа, компенсированное с температурой воздуха, и второе количество используемого газа, компенсированное с температурой газа, и/или второе количество используемого газа, компенсированное наряду с температурой воздуха и температурой, на сервере 600. Даже в этом случае, вторые количества используемого газа могут разделяться на количество в режиме отопления и количество в режиме подачи горячей воды и сохраняться на сервере 600. Пользователь может проверять второе количество используемого газа, сохраненное на сервере 600, через приложение, установленное в портативном терминале 700, в любое время.
Помимо этого, пользователь может проверять первое количество используемого газа и второе количество используемого газа, которые отображаются, ежегодно, еженедельно, ежедневно или согласно режиму на портативном терминале 700 пользователя. Помимо этого, количество используемого газа за месяц текущего года и количество используемого газа за идентичный месяц прошлого года могут сравниваться и отображаться, и текущее количество используемого газа в месяце и прогнозное количество используемого газа и размер платы за газ в конце месяца также может отображаться. Помимо этого, функция оповещений, в которой количество используемого газа в конце месяца информируется пользователю, может устанавливаться в приложении.
Как описано выше, поскольку различные фрагменты информации, связанные с количеством используемого газа, предоставляются пользователю, пользователь может легко наблюдать количество, инициативно выбирать и управлять шаблоном использования газа таким образом, чтобы уменьшать расход газа, чтобы за счет этого экономить энергию.
Настоящее изобретение не ограничено вариантами осуществления, и специалистам в данной области техники очевидно, что настоящее изобретение может модифицироваться и изменяться различными способами без отступления от технической сущности настоящего изобретения.
Изобретение относится к области энергетики. Устройство сгорания выполнено с возможностью измерения количества используемого газа и содержит горелку (220), выполненную с возможностью сжигания газа; нагнетатель (230), выполненный с возможностью подачи воздуха для сгорания в горелку (220); газовый клапан (240), выполненный с возможностью подачи газа для сгорания в горелку (220); датчик (270-2) температуры воздуха, выполненный с возможностью измерения температуры воздуха, подаваемого посредством нагнетателя (230); и модуль (260) управления, выполненный с возможностью управления числом оборотов нагнетателя (230), вычисления первого количества используемого газа для текущего рабочего количества тепла, сжигаемого согласно сигналу, вводимому пользователем, и компенсирования вычисленного первого количество используемого газа с измеренной температурой газа, измеренной посредством датчика температуры газа (270-2), чтобы вычислять второе количество используемого газа. Изобретение позволяет измерять количество используемого газа и предоставлять информацию пользователю. 4 н. и 10 з.п. ф-лы, 5 ил. 
1. Устройство сгорания, выполненное с возможностью измерения количества используемого газа, содержащее:
- горелку (120, 220), выполненную с возможностью сжигания газа;
- нагнетатель (130, 230), выполненный с возможностью подачи воздуха для сгорания в горелку (120, 220);
- газовые клапаны (140, 150, 240), выполненные с возможностью подачи газа для сгорания в горелку (120, 220);
- датчик (170, 270-1) температуры газа, выполненный с возможностью измерения температуры газа, подаваемого в горелку (120, 220) или нагнетатель (130, 230); и
- модуль (160, 260) управления, выполненный с возможностью управления числом оборотов нагнетателя (130, 230), вычисления первого количества используемого газа для текущего рабочего количества тепла, сжигаемого согласно сигналу, вводимому пользователем, и компенсирования вычисленного первого количества используемого газа с измеренной температурой газа, измеренной посредством датчика (170, 270-1) температуры газа, чтобы вычислять второе количество используемого газа.
2. Устройство сгорания, выполненное с возможностью измерения количества используемого газа, содержащее:
- горелку (220), выполненную с возможностью сжигания газа;
- нагнетатель (230), выполненный с возможностью подачи воздуха для сгорания в горелку (220);
- газовый клапан (240), выполненный с возможностью подачи газа для сгорания в горелку (220);
- датчик (270-2) температуры воздуха, выполненный с возможностью измерения температуры воздуха, подаваемого посредством нагнетателя (230); и
- модуль (260) управления, выполненный с возможностью управления числом оборотов нагнетателя (230), вычисления первого количества используемого газа для текущего рабочего количества тепла, сжигаемого согласно сигналу, вводимому пользователем, и компенсирования вычисленного первого количество используемого газа с измеренной температурой газа, измеренной посредством датчика температуры газа (270-2), чтобы вычислять второе количество используемого газа.
3. Устройство сгорания по п. 1, в котором:
- газовый клапан (150) включает в себя электронный пропорциональный регулирующий клапан, в котором скорость подачи газа определяется согласно значению тока; и
- газ, подаваемый через электронный пропорциональный регулирующий клапан, подается в горелку (120) независимо от воздуха, подаваемого посредством нагнетателя (130).
4. Устройство сгорания по п. 2, в котором газовый клапан (240) включает в себя пневматический газовый клапан, в котором скорость подачи газа определяется согласно разности давления, сформированного в пути потока воздуха, подаваемого посредством нагнетателя (230).
5. Устройство сгорания по п. 1 или 2, в котором модуль (160, 260) управления сохраняет вычисленное второе количество используемого газа на сервере (600), чтобы отображать вычисленное второе количество используемого газа на портативном терминале (700) пользователя.
6. Устройство сгорания по п. 5, в котором:
- модуль (160, 260) управления сохраняет информацию использования для отопления во время режима отопления и информацию использования для горячей воды во время режима подачи горячей воды на сервере (600);
- второе количество используемого газа вычисляется для каждого из режима отопления и режима подачи горячей воды; и
- вычисленное второе количество используемого газа отображается на портативном терминале 700 согласно выбору пользователя.
7. Способ измерения количества используемого газа устройства сгорания, включающего в себя горелку (120, 220), выполненную с возможностью сжигать газ, нагнетатель (130, 230), выполненный с возможностью подачи воздуха для сгорания в горелку (120, 220), газовые клапаны (140, 150, 240), выполненные с возможностью подачи газа для сгорания в горелку (120, 220), и модуль (160, 260) управления, выполненный с возможностью управления горелкой (120, 220), нагнетателем (130, 230), газовыми клапанами (140, 150, 240), при этом способ содержит:
- этап, на котором (a) подают, посредством газовых клапанов (140, 150, 240) и нагнетателя (130, 230), газ и воздух и обеспечивают горение, посредством горелки (120, 220), газа, чтобы подавать текущее рабочее количество тепла, вычисленное на основе сигнала, вводимого пользователем;
- этап, на котором (b) вычисляют, посредством модуля (160, 260) управления, первое количество используемого газа для текущего рабочего количества тепла;
- этап, на котором (c) измеряют, посредством датчика (170, 270-1) температуры газа, температуру газа и передают температуру в модуль (160, 260) управления; и
- этап, на котором (d) компенсируют, посредством модуля (160, 260) управления, первое количество используемого газа с измеренной температурой газа, измеренной посредством датчика (170, 270-1) температуры газа, чтобы вычислять второе количество используемого газа.
8. Способ измерения количества используемого газа устройства сгорания, включающего в себя горелку (220), выполненную с возможностью сжигать газ, нагнетатель (230), выполненный с возможностью подачи воздуха для сгорания в горелку (220), газовый клапан (240), выполненный с возможностью подачи газа для сгорания в горелку (220), и модуль (260) управления, выполненный с возможностью управления горелкой (220), нагнетателем (230) и газовым клапаном (240), при этом способ содержит:
- этап, на котором (a) подают, посредством газового клапана (240) и нагнетателя (230), газ и воздух и обеспечивают горение, посредством горелки (220), газа, чтобы подавать текущее рабочее количество тепла, вычисленное на основе сигнала, вводимого пользователем;
- этап, на котором (b) вычисляют, посредством модуля (260) управления, первое количество используемого газа для текущего рабочего количества тепла;
- этап, на котором (c) измеряют, посредством датчика (270-2) температуры воздуха, температуру воздуха и передают температуру в модуль (260) управления; и
- этап, на котором (d) компенсируют, посредством модуля (260) управления, первое количество используемого газа с измеренной температурой воздуха, измеренной посредством датчика (270-2) температуры воздуха, чтобы вычислять второе количество используемого газа.
9. Способ по п. 7, в котором:
- газовый клапан (150) включает в себя электронный пропорциональный регулирующий клапан, в котором скорость подачи газа определяется согласно значению тока; и
- текущее рабочее количество тепла вычисляется из значения тока электронного пропорционального регулирующего клапана посредством метода интерполяции.
10. Способ по п. 7, в котором:
- опорная температура газа для газа задается в модуле (160, 260) управления; и
- второе количество используемого газа вычисляется посредством следующего уравнения:
второе количество используемого газа ∞ первое количество используемого газа * опорная температура газа ÷ измеренная температура газа.
11. Способ по п. 8, в котором:
- устройство сгорания дополнительно включает в себя датчик определения оборотов, выполненный с возможностью измерения числа оборотов нагнетателя (230) воздуха; и
- текущее рабочее количество тепла вычисляется из числа оборотов измеренного нагнетателя (230) воздуха, измеренного посредством датчика определения оборотов, посредством метода интерполяции.
12. Способ по п. 8, в котором:
- опорная температура воздуха для воздуха задается в модуле (260) управления; и
- второе количество используемого газа вычисляется посредством следующего уравнения:
второе количество используемого газа ∞ первое количество используемого газа * опорная температура воздуха ÷ измеренная температура воздуха.
13. Способ по п. 7 или 8, в котором:
- модуль (160, 260) управления измеряет и накапливает второе количество используемого газа согласно заданному временному интервалу и передает накопленное количество используемого газа на сервер (600) в единицах предварительно определенных количеств используемого газа; и
- пользователь проверяет накопленное количество используемого газа через портативный терминал (700), соединенный с сервером (600).
14. Способ по п. 7 или 8, в котором:
- модуль (160, 260) управления измеряет первое количество используемого газа и второе количество используемого газа для каждого из множества режимов и передает первое и второе количества используемого газа на сервер (600); и
- пользователь проверяет первое и второе количества используемого газа для каждого из множества режимов через портативный терминал (700) пользователя.
| Многоступенчатая активно-реактивная турбина | 1924 |
|
SU2013A1 |
| Печь-кухня, могущая работать, как самостоятельно, так и в комбинации с разного рода нагревательными приборами | 1921 |
|
SU10A1 |
| Печь-кухня, могущая работать, как самостоятельно, так и в комбинации с разного рода нагревательными приборами | 1921 |
|
SU10A1 |
| Печь-кухня, могущая работать, как самостоятельно, так и в комбинации с разного рода нагревательными приборами | 1921 |
|
SU10A1 |
| Способ управления подачей топлива в нагревательную печь | 1983 |
|
SU1121545A1 |
Авторы
Даты
2019-11-21—Публикация
2016-12-09—Подача