ИСПАРИТЕЛЬ ДЛЯ ИСПАРЕНИЯ АКТИВНОГО ИНГРЕДИЕНТА Российский патент 2019 года по МПК A61M15/00 G05D23/00 A24F47/00 

Описание патента на изобретение RU2708220C2

ПЕРЕКРЕСТНЫЕ ССЫЛКИ НА РОДСТВЕННЫЕ ЗАЯВКИ

Настоящая заявка испрашивает приоритет и является частичным продолжением заявки на патент США 14/662 607 автора Raichman (Райхман), поданной 19 марта 2015 г., под названием "Vaporizer for vaporizing an active ingredient."

Вышеупомянутая заявка включена в настоящий документ посредством ссылки.

ОБЛАСТЬ ТЕХНИКИ

Некоторые области применения настоящего изобретения относятся к медицинской аппаратуре. Конкретно, некоторые области применения настоящего изобретения относятся к испарителям для подачи активного ингредиента к субъекту.

УРОВЕНЬ ТЕХНИКИ

Медицинское использование каннабиса и составляющих каннабиноидов, таких как тетрагидроканнабинол (tetrahydrocannabinol, ТНС) и каннабидиол (cannabidiol, CBD), имеет длинную историю. В наше время каннабис используют пациенты, страдающие СПИД, или проходящие курс химиотерапии, чтобы облегчить тошноту и рвоту, связанную с их состояниями. Каннабис также используют в медицинской практике для обеспечения облегчения боли, для лечения мышечной спастичности и для возбуждения аппетита.

Медицинский каннабис может назначаться с использованием разнообразных методов, включая испарение или курение высушенных бутонов, поедание экстрактов, принятие капсул или использование оральных спреев. Легальность медицинского применения каннабиса различна в разных странах. Однако даже в странах, в которых медицинское применение каннабиса является легальным, снабжение каннабисом таких пользователей тщательно регулируется, и почти во всех западных странах рекреационное использование каннабиса является нелегальным.

РАСКРЫТИЕ СУЩНОСТИ ИЗОБРЕТЕНИЯ

В соответствии с некоторыми вариантами применения настоящего изобретения испаритель используют для испарения активного ингредиента материала, такого как растительный материал, путем нагрева материала. Например, испаритель может быть использован для испарения составляющих каннабиноидов каннабиса (например, тетрагидроканнабинол (tetrahydrocannabinol, ТНС) и/или каннабидиол (cannabidiol, CBD)). В альтернативном варианте или в дополнение испаритель может быть использован для испарения табака и/или других растительных или химических веществ, содержащих активный ингредиент, который испаряется при нагреве вещества.

Как правило, испаритель содержит множество капсул, причем каждая из капсул содержит заданное количество растительного материала, содержащего активный ингредиент. Для некоторых вариантов применения испаритель выполнен в форме, образующей первое и второе гнезда, каждое из которых выполнено с возможностью вмещения множества капсул в пакетных конфигурациях. В то время как каждая из капсул располагается в испарителе в месте испарения, нагревательный элемент вызывает по меньшей мере частичное испарение активного ингредиента растительного материала в капсуле путем нагревания данной капсулы в отдельности. Для некоторых вариантов применения нагревательный элемент содержит один или более электродов, которые нагревают капсулу за счет резистивного нагрева, при пропускании тока через часть капсулы (например, через металлическую сетку капсулы), или при пропускании тока через внутренний нагревательный элемент, который заключен в испарителе. Как правило, механизм переноса капсулы испарителя переносит каждую из капсул по отдельности из первого гнезда в место испарения, а из места испарения во второе гнездо.

Для некоторых вариантов применения применяют двухэтапный процесс нагрева растительного материала следующим образом. В ответ на получение первого входного сигнала в испарителе начинается первый этап нагрева. Первый этап нагрева заканчивается, и дальнейший нагрев растительного материала приостанавливается в ответ на определение показания, что температура растительного материала достигла первой температуры, которая, как правило, меньше, чем 95 процентов от температуры испарения активного ингредиента. Затем, в ответ на получение второго входного сигнала в испарителе (например, в ответ на обнаружение того, что пользователь выполняет вдох из испарителя, или в ответ на нажимание пользователем кнопки) растительный материал нагревается до температуры испарения активного ингредиента на втором этапе нагрева.

Как правило, первый этап нагрева выполняется при большей скорости нагрева, чем второй этап нагрева. Для некоторых вариантов применения при выполнении нагрева в двухэтапном процессе, как описано, получают один или более из следующих результатов:

1) Благодаря приостановке первого (быстрого) этапа нагрева в ответ на то, что температура капсулы достигла менее чем 95 процентов от температуры испарения, даже если нагрев превышает установленные пределы, растительный материал не подвергается пиролизу, поскольку растительный материал не нагревается до температуры, которая больше, чем температура пиролиза.

2) Поскольку второй этап нагрева выполняется медленно, существует пренебрежимо малое превышение уровня нагрева на втором этапе процесса нагрева, и поэтому растительный материал на втором этапе процесса нагрева не подвергается пиролизу.

3) Поскольку в течение первого этапа нагрева растительный материал нагревается почти до температуры, которая достаточно близка к температуре испарения, даже хотя второй этап нагрева является медленным, время, которое требуется для нагрева растительного материала до температуры испарения от начала второго этапа нагрева, является относительно малым (например, меньше, чем две секунды).

4) Вследствие низкой теплопроводности растительного материала, если растительный материал нагревают быстро, это может приводить к неравномерному нагреву растительного материала. Это может приводить к пиролизу некоторых участков растительного материала и/или к тому, что другие участки растительного материала не будут испарены. Благодаря приостановке дальнейшего нагрева растительного материала после достижения первой температуры, и до тех пор, пока не будет получен второй входной сигнал, тепло может быть рассеяно по растительному материалу (в течение промежуточного периода между первым и вторым этапами нагрева), до того как какой-либо участок растительного материала будет нагрет до температуры испарения. Кроме того, поскольку повышение температуры во время второго этапа относительно малое, повышение температуры может быть сравнительно быстро рассеяно по растительному материалу. Таким образом достигают относительно однородного нагрева растительного материала, так что большая часть активного ингредиента в растительном материале испаряется, тогда как пиролиз растительного материала по существу не происходит.

Следует заметить, что некоторые варианты применения настоящего изобретения описаны со ссылкой на растительный материал, который содержит активный ингредиент. Однако объем настоящего изобретения включает использование какого-либо материала или вещества, которое содержит активный ингредиент, mutatis mutandis (с необходимыми поправками).

Согласно некоторым вариантам применения настоящего изобретения, предложен способ использования испарителя, который испаряет по меньшей мере один активный ингредиент материала, при этом способ включает в себя:

получение первого входного сигнала в испарителе;

в ответ на получение первого входного сигнала нагрев материала на первом этапе нагрева;

определение показаний температуры материала;

в ответ на определение показания того, что температура материала соответствует первой температуре, окончание первого этапа нагрева за счет приостановки действия фактора, обуславливающего дальнейшее повышение температуры материала, при этом первая температура составляет менее чем 95 процентов от температуры испарения активного ингредиента;

последующее получение второго входного сигнала в испарителе, и в ответ на получение второго входного сигнала нагрев материала до температуры испарения активного ингредиента, на втором этапе нагрева.

Для некоторых вариантов применения, обнаружение показаний температуры материала включает в себя определение показаний температуры материала с использованием оптического датчика температуры.

Для некоторых вариантов применения способ дополнительно включает в себя создание показания того, что первый этап нагрева окончен.

Для некоторых вариантов применения окончание первого этапа нагрева за счет приостановки действия фактора, обуславливающего дальнейшее повышение температуры материала, включает в себя предотвращение пиролиза активного ингредиента.

Для некоторых вариантов применения способ дополнительно включает в себя, после второго этапа нагрева, в ответ на обнаружение того, что воздух из испарителя не вдыхают в течение определенного периода времени, понижение температуры материала до температуры, меньшей температуры испарения материала.

Для некоторых вариантов применения способ дополнительно включает в себя определение скорости потока воздуха через испаритель за счет определения показателя количества энергии, необходимого для поддержания температуры материала постоянной.

Для некоторых вариантов применения нагрев материала на первом этапе нагрева включает в себя нагрев материала с первой скоростью нагрева, нагрев материала на втором этапе нагрева включает в себя нагрев материала со второй скоростью нагрева, при этом первая скорость нагрева больше, чем вторая скорость нагрева.

Для некоторых вариантов применения нагрев материала со второй скоростью нагрева включает в себя нагрев материала со скоростью, меньшей, чем 50 градусов Цельсия в секунду.

Для некоторых вариантов применения нагрев материала со скоростью, меньшей, чем 50 градусов Цельсия в секунду, включает в себя предотвращение пиролиза активного ингредиента.

Для некоторых вариантов применения нагрев материала с первой скоростью нагрева включает в себя нагрев материала со скоростью, большей, чем 50 градусов Цельсия в секунду.

Для некоторых вариантов применения нагрев материала с первой скоростью нагрева включает в себя нагрев материала со скоростью, большей, чем 100 градусов Цельсия в секунду.

Для некоторых вариантов применения нагрев материала с первой скоростью нагрева включает в себя нагрев материала со скоростью, большей, чем 50 градусов Цельсия в секунду.

Для некоторых вариантов применения нагрев материала с первой скоростью нагрева включает в себя нагрев материала со скоростью, большей, чем 100 градусов Цельсия в секунду.

Для некоторых вариантов применения получение второго входного сигнала включает в себя обнаружение того, что пользователь выполняет вдох из испарителя.

Для некоторых вариантов применения обнаружение того, что пользователь выполняет вдох из испарителя, включает в себя определение показаний температуры материала.

Для некоторых вариантов применения обнаружение того, что пользователь выполняет вдох из испарителя, включает в себя определение показателя количества энергии, необходимого для поддержания температуры материала постоянной.

Для некоторых вариантов применения материал содержит каннабис, и окончание первого этапа нагрева включает в себя приостановку действия фактора, обуславливающего дальнейшее повышение температуры материала, в ответ на определение показания того, что температура материала достигла температуры, меньшей, чем 170 градусов Цельсия.

Для некоторых вариантов применения окончание первого этапа нагрева включает в себя приостановку действия фактора, обуславливающего дальнейшее повышение температуры материала, в ответ на обнаружение показаний того, что температура материала достигла температуры, меньшей, чем 160 градусов Цельсия.

Для некоторых вариантов применения определение показаний температуры материала включает в себя определение температуры капсулы, в которой заключен материал.

Для некоторых вариантов применения капсула содержит металлическую сетку, и определение температуры капсулы включает в себя определение электрического сопротивления сетки.

Согласно некоторым вариантам применения настоящего изобретения дополнительно обеспечено устройство для использования материала, который содержит по меньшей мере один активный ингредиент, при этом устройство содержит:

испаритель, выполненный с возможностью испарения активного ингредиента материала, при этом испаритель содержит:

нагревательный элемент, выполненный с возможностью нагрева материала; датчик температуры, выполненный с возможностью определения показаний температуры материала, и

схему управления, выполненную с возможностью: получения первого входного сигнала;

в ответ на получение первого входного сигнала, приведения в действие нагревательного элемента для нагрева материала с первой скоростью нагрева на первом этапе нагрева;

в ответ на получение от датчика температуры показаний того, что температура материала соответствует первой температуре, окончания первого этапа нагрева за счет приостановки действия фактора, обуславливающего дальнейшее повышение температуры материала, при этом первая температура составляет менее чем 95 процентов от температуры испарения активного ингредиента;

последующего получения второго входного сигнала в испарителе, и

в ответ на получение второго входного сигнала, приведения в действие нагревательного элемента для нагрева материала до температуры испарения активного ингредиента со второй скоростью нагрева, которая меньше, чем первая скорость нагрева, на втором этапе нагрева.

Для некоторых вариантов применения схема управления выполнена с возможностью удаления из испарителя и подключения ко второму испарителю.

Для некоторых вариантов применения устройство дополнительно содержит материал с фазовым переходом, который связан с капсулой, при этом материал с фазовым переходом способен претерпевать фазовый переход при температуре, которая ниже температуры пиролиза материала.

Для некоторых вариантов применения капсула содержит по меньшей мере одну полую проволоку, и материал с фазовым переходом заключен внутри полой проволоки.

Согласно некоторым вариантам применения настоящего изобретения, дополнительно обеспечено устройство, содержащее:

испаритель, выполненный с образованием по меньшей мере первого и второго гнезда, при этом испаритель содержит:

множество капсул, каждая из которых содержит материал, содержащий

активный ингредиент, при этом каждое из первого и второго гнезд выполнено с

возможностью вмещения множества капсул в пакетной конфигурации;

нагревательный элемент, выполненный с возможностью того, что, когда

каждая из капсул располагается в месте испарения в испарителе, он вызывает по

меньшей мере частичное испарение активного ингредиента материала в капсуле

путем нагревания данной капсулы в отдельности, и

механизм переноса капсулы, выполненный с возможностью переноса по отдельности каждой из капсул из первого гнезда в место испарения, и из места испарения во второе гнездо.

Для некоторых вариантов применения механизм переноса капсулы включает в себя поворотный механизм переноса капсулы, выполненный с возможностью переноса капсул путем поворачивания.

Для некоторых вариантов применения первое и второе гнезда и место испарения выровнены линейно друг с другом, и механизм переноса капсулы включает в себя линейный механизм переноса капсулы, выполненный с возможностью перемещения каждой из капсул путем линейного перемещения.

Для некоторых вариантов применения нагревательный элемент содержит один или более электродов, выполненных с возможностью нагрева капсул за счет резистивного нагрева, путем пропускания электрического тока через часть капсулы.

Для некоторых вариантов применения каждая из капсул содержит одну или более металлических сеток, и один или более электродов, выполненных с возможностью нагрева капсул за счет пропускания электрического тока через одну или более металлических сеток капсулы.

Для некоторых вариантов применения ширина испарителя меньше, чем 9 см. Для некоторых вариантов применения глубина испарителя меньше, чем 6 см. Для некоторых вариантов применения высота испарителя меньше, чем 20 см.

Согласно некоторым вариантам применения настоящего изобретения, дополнительно обеспечен способ, включающий:

обеспечение испарителя, выполненного с возможностью образования по меньшей мере первого и второго гнезда, при этом множество капсул размещены в пакетной конфигурации внутри первого гнезда, и каждая из капсул содержит материал, содержащий активный ингредиент;

использование механизма переноса капсулы, отдельно переносящего первую из капсул из первого гнезда в место испарения в испарителе;

когда первая капсула расположена в месте испарения в испарителе, вызывание по меньшей мере частичного испарения активного ингредиента в материале в первой капсуле путем нагрева данной капсулы в отдельности, и

использование механизма переноса капсулы, отдельно переносящего первую капсулу из места испарения во второе гнездо, при этом второе гнездо выполнено с возможностью размещения множества капсул в пакетной конфигурации.

Согласно некоторым вариантам применения настоящего изобретения, дополнительно обеспечено устройство, содержащее: испаритель, содержащий:

по меньшей мере одну капсулу, содержащую: верхнюю и нижнюю сетки, и заданное количество материала, размещенного между верхней и нижней сетками, при этом материал содержит по меньшей мере один активный ингредиент; схему управления, и первый, второй, третий и четвертый электроды, при этом схема управления выполнена с возможностью испарения по меньшей мере одного активного ингредиента материала путем:

пропускания тока от первого электрода ко второму электроду через нижнюю сетку и пропускания тока от третьего электрода к четвертому электроду через верхнюю сетку.

Согласно некоторым вариантам применения настоящего изобретения, дополнительно обеспечен способ, включающий:

обеспечение капсулы, которая содержит верхнюю и нижнюю сетки и заданное количество материала, заключенного между верхней и нижней сетками, при этом материал содержит по меньшей мере один активный ингредиент, и испарение по меньшей мере одного активного ингредиента материала путем:

пропускания тока от первого электрода ко второму электроду через нижнюю сетку и пропускания тока от третьего электрода к четвертому электроду через верхнюю сетку.

Согласно некоторым вариантам применения настоящего изобретения, дополнительно обеспечено устройство, содержащее: испаритель, содержащий:

по меньшей мере одну капсулу, содержащую материал, который содержит по меньшей мере один активный ингредиент;

нагревательный элемент, выполненный с возможностью вызывать по меньшей мере частичное испарение активного ингредиента материала в капсуле путем нагрева капсулы, и вибратор, выполненный с возможностью вызывать вибрацию капсулы.

Для некоторых вариантов применения вибратор включает в себя вибратор, выбранный из группы, состоящей из: вибродвигателя, пьезоэлектрического кристалла, звукового вибратора и ультразвукового вибратора.

Для некоторых вариантов применения вибратор выполнен с возможностью увеличения потока воздуха через капсулу благодаря вибрации капсулы.

Для некоторых вариантов применения вибратор выполнен с возможностью перемешивания материала в капсуле за счет вибрации капсулы.

Для некоторых вариантов применения вибратор выполнен с возможностью увеличения равномерности нагрева материала в капсуле благодаря вибрации капсулы.

Согласно некоторым вариантам применения настоящего изобретения, дополнительно обеспечен способ, включающий:

обеспечение испарителя, который содержит по меньшей мере одну капсулу, содержащую материал, который содержит по меньшей мере один активный ингредиент;

приведение в действие нагревательного элемента в испарителе для вызова по меньшей мере частичного испарения активного ингредиента материала за счет нагрева капсулы, и

приведение в действие вибратора в испарителе для вибрации капсулы.

Согласно некоторым вариантам применения настоящего изобретения, дополнительно обеспечено устройство, содержащее:

испаритель, выполненный таким образом, что образует по меньшей мере одно гнездо, при этом испаритель содержит:

множество капсул, каждая из которых содержит материал, содержащий активный ингредиент, при этом гнездо выполнено с возможностью вмещения множества капсул в пакетной конфигурации на опорной поверхности;

винт, при этом опорная поверхность соединена посредством резьбы с винтом, так что, в ответ на вращение винта в заданном направлении, опорная поверхность выполнена с возможностью выталкивания одной из капсул из отверстия гнезда посредством опорной поверхности, продвигающейся к отверстию.

Для некоторых вариантов применения устройство дополнительно содержит механизм переноса капсулы, выполненный с возможностью переноса по отдельности каждой из капсул из отверстия гнезда в место испарения, в котором испаритель выполнен с возможностью испарения активного ингредиента материала.

Согласно некоторым вариантам применения настоящего изобретения, дополнительно обеспечено устройство, содержащее: испаритель, содержащий: по меньшей мере одну капсулу, содержащую:

по меньшей мере одну сетку, которая образует по меньшей мере часть наружной поверхности капсулы, и материал, заключенный в капсуле, при этом материал содержит по меньшей мере один активный ингредиент;

по меньшей мере один электрод;

схему управления, выполненную с возможностью испарения по меньшей мере одного активного ингредиента материала за счет пропускания тока через сетку с помощью электрода, и

механизм перемещения электрода, выполненный с возможностью перемещения электрода относительно сетки.

Для некоторых вариантов применения устройство дополнительно содержит покрытие, нанесенное по меньшей мере на часть наружной поверхности капсулы, которая образована сеткой, и механизм перемещения электрода выполнен с возможностью вызывать проникновение электрода в покрытие путем перемещения электрода относительно сетки.

Для некоторых вариантов применения механизм перемещения электрода содержит кнопку, выполненную с возможностью нажимания пользователем, и механизм перемещения электрода выполнен с возможностью перемещения электрода относительно сетки в ответ на нажимание пользователем кнопки.

Для некоторых вариантов применения механизм перемещения электрода содержит шарнир.

Для некоторых вариантов применения механизм перемещения электрода выполнен с возможностью удаления покрытия с сетки путем перемещения электрода относительно сетки.

Для некоторых вариантов применения механизм перемещения электрода выполнен с возможностью вызывать проникновение электрода в покрытие на сетке путем перемещения электрода относительно сетки.

Для некоторых вариантов применения механизм перемещения электрода выполнен с возможностью скользящего перемещения электрода по наружной поверхности капсулы, образованной сеткой, в то время как электрод находится в контакте с сеткой.

Для некоторых вариантов применения электрод выполнен с образованием острого кончика.

Для некоторых вариантов применения электрод выполнен с образованием лезвия.

Согласно некоторым вариантам применения настоящего изобретения, дополнительно обеспечено устройство, содержащее:

испаритель, выполненный с возможностью размещения массы материала, содержащего активный ингредиент, при этом испаритель содержит:

поверхность;

механизм отбора, выполненный с возможностью, в ответ на приведение в действие, отбирать заданную объемную дозу материала из массы материала и помещать объемную дозу на поверхность, и

нагревательный элемент, выполненный с возможностью испарения по меньшей мере одного активного ингредиента объемной дозы материала за счет нагрева поверхности, когда объемная доза расположена на поверхности.

Для некоторых вариантов применения испаритель выполнен с образованием по меньшей мере одного гнезда, выполненного с возможностью вмещать массу материала.

Для некоторых вариантов применения поверхность содержит сетку, а нагревательный элемент содержит один или более электродов и схему управления, при этом схема управления выполнена с возможностью испарения по меньшей мере одного активного ингредиента объемной дозы материала за счет пропускания тока через сетку с помощью одного или более электродов.

Для некоторых вариантов применения масса материала содержит сигарету, содержащую материал, а механизм отбора содержит лезвие, выполненное с возможностью отбора заданной объемной дозы материала из массы материала путем отрезания части сигареты.

Настоящее изобретение будет более понятно из следующего подробного описания вариантов его реализации, рассматриваемого вместе с чертежами, на которых:

КРАТКОЕ ОПИСАНИЕ ЧЕРТЕЖЕЙ

Фиг. 1А-С представляют схематические иллюстрации соответствующих видов наружной части испарителя, согласно некоторым вариантам применения настоящего изобретения;

Фиг. 2А-С изображают в разобранном виде испаритель по фиг. 1А-С, согласно некоторым вариантам применения настоящего изобретения;

Фиг. 3А изображает вид сверху, а фиг. 3B-D изображают соответствующие разрезы видов испарителя по фиг. 1А-С, согласно некоторым вариантам применения настоящего изобретения;

Фиг. 4A-D представляют схематические иллюстрации соответствующих видов капсулы, которая содержит растительный материал, содержащий активный ингредиент, согласно некоторым вариантам применения настоящего изобретения;

Фиг. 5 представляет схематическую иллюстрацию электродов испарителя, находящихся в контакте с сеткой капсулы, которая содержит растительный материал, содержащий активный ингредиент, согласно некоторым вариантам применения настоящего изобретения;

Фиг. 6A-D представляют схематические иллюстрации соответствующих конфигураций электродов испарителя, согласно некоторым вариантам применения настоящего изобретения;

Фиг. 7А-В представляют схематические иллюстрации соответствующих видов испарителя, который содержит линейный механизм переноса капсулы, согласно некоторым вариантам применения настоящего изобретения;

Фиг. 8 изображает график, иллюстрирующий способ нагрева растительного материала с использованием испарителя, согласно некоторым вариантам применения настоящего изобретения;

Фиг. 9А-В представляют схематические иллюстрации частей испарителя, согласно некоторым вариантам применения настоящего изобретения;

Фиг. 10А представляет схематическую иллюстрацию электрода, согласно некоторым вариантам применения настоящего изобретения;

Фиг. 10В представляет схематическую иллюстрацию механизма перемещения электрода, согласно некоторым вариантам применения настоящего изобретения;

Фиг. 11A-D представляют схематические иллюстрации механизма перемещения электрода, согласно некоторым вариантам применения настоящего изобретения;

Фиг. 12А-В представляют схематические иллюстрации механизма перемещения электрода, согласно некоторым вариантам применения настоящего изобретения;

Фиг. 13А-С представляют схематические иллюстрации испарителя, выполненного с возможностью автоматического отбора заданной объемной дозы растительного материала из массы растительного материала, которая расположена в гнезде испарителя, согласно некоторым вариантам применения настоящего изобретения, и

Фиг. 14А-С представляют схематические иллюстрации испарителя, выполненного с возможностью автоматического отбора заданной объемной дозы растительного материала из массы растительного материала, которая расположена в гнезде испарителя, согласно некоторым вариантам применения настоящего изобретения.

ОСУЩЕСТВЛЕНИЕ ИЗОБРЕТЕНИЯ

Далее ссылки относятся к фиг. 1А-С, которые изображают схематические иллюстрации соответствующих видов наружной части испарителя 20, согласно некоторым вариантам применения настоящего изобретения; Как правило, испаритель 20 используют для испарения активного ингредиента материала, такого как растительный материал. Например, испаритель 20 может быть использован для испарения составляющих каннабиноидов каннабиса (например, тетрагидроканнабинол (tetrahydrocannabinol, ТНС) и/или каннабидиол (cannabidiol, CBD)). В альтернативном варианте или в дополнение испаритель может быть использован для испарения табака и/или других растительных или химических веществ, содержащих активный ингредиент, который испаряется при нагреве вещества. Следует заметить, что некоторые варианты применения настоящего изобретения описаны со ссылкой на растительный материал, который содержит активный ингредиент. Однако объем настоящего изобретения включает использование какого-либо вещества, которое содержит активный ингредиент, mutatis mutandis (с необходимыми поправками).

Испаритель 20 содержит основной корпус 22, который вмещает капсулы и схему управления испарителя, как подробно описано ниже. Схема управления выполнена с возможностью действия в качестве блока управления, который управляет функционированием испарителя. Как правило, испаритель дополнительно содержит верхнюю крышку 24, из которой выступает мундштук 26. При использовании пользователь обычно вдыхает испаренный активный ингредиент через мундштук.

Как правило, испаритель 20 выполнен с возможностью переноски и, во время использования, испаритель выполнен с возможностью удерживания одной рукой пользователя. Как правило, испаритель имеет следующие размеры:

Высота H1 основного корпуса 22 испарителя (включая мундштук 26) обычно больше, чем 8 см (например, больше, чем 10 см), и/или меньше, чем 15 см (например, меньше, чем 12 см), например, между 8 см и 15 см, или между 10 и 12 см.

Высота Н2 мундштука 26 обычно больше, чем 2 см (например, больше, чем 2,5 см), и/или меньше, чем 6 см (например, меньше, чем 3,5 см), например, между 2 см и 6 см, или между 2,5 и 3,5 см.

Как правило, общая высота испарителя, включая мундштук, меньше, чем 20 см, например, меньше, чем 15 см.

Ширина W1 испарителя обычно больше, чем 3 см (например, больше, чем 4 см), и/или меньше, чем 9 см (например, меньше, чем 6 см), например, между 3 см и 9 см, или между 4 и 6 см.

Глубина D1 испарителя обычно больше, чем 2 см (например, больше, чем 3 см), и/или меньше, чем 6 см (например, меньше, чем 5 см), например, между 2 см и 6 см, или между 3 и 5 см.

Для некоторых вариантов применения колесо 28 переноса капсулы расположен снаружи верхней крышки. Колесо переноса капсулы управляет механизмом 44 переноса капсулы (фиг. 2А). Как подробно описано ниже, механизм переноса капсулы выполнен с возможностью (а) переноса по отдельности неиспользованных капсул из первого гнезда 40А (фиг. 2А) в основной корпус испарителя в место 46 испарения (фиг. 2А), в котором капсула нагревается так, чтобы испарять активный ингредиент, и (b) переноса по отдельности использованных капсул из места испарения во второе гнездо 40В (фиг. 2А) в основном корпусе испарителя. Для некоторых вариантов применения механизм переноса капсулы представляет собой поворотный механизм, например, поворотный диск, как показано на фиг. 2А. Для некоторых вариантов применения пользователь поворачивает колесо переноса капсулы, чтобы управлять поворотным механизмом переноса капсулы. В альтернативном варианте или в дополнение, поворотный механизм переноса капсулы (или какой-либо другой механизм переноса капсулы, описанный в настоящем документе) управляется электродвигателем (не показано).

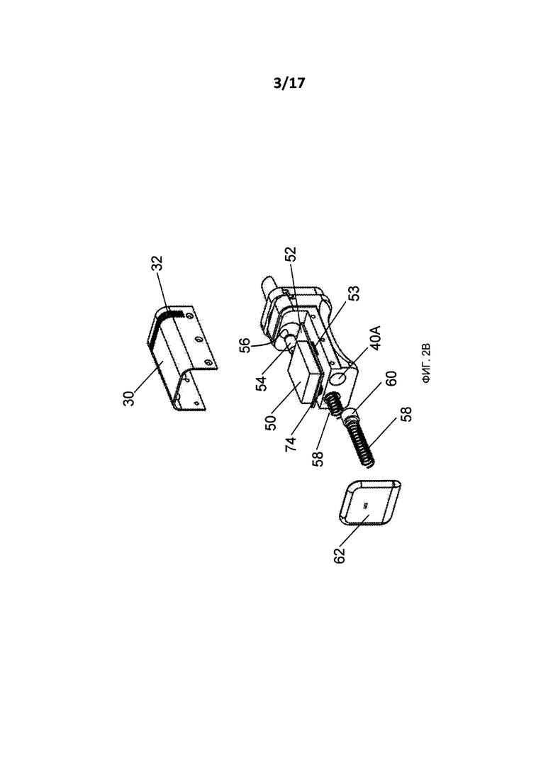
Для некоторых вариантов применения съемная задняя крышка 30 расположена на основном корпусе 22 испарителя 20. Как показано, для некоторых вариантов применения задняя крышка образует решетку 32. Решетка 32 выполнена с возможностью обеспечения воздушного потока в основной корпус испарителя, как подробно описано ниже.

Для некоторых вариантов применения внутренняя поверхность мундштука 26 (и/или других частей испарителя) содержит липофобное или гидрофобное покрытие 27, которое выполнено с возможностью предотвращения налипания продуктов испарения активного ингредиента на внутреннюю поверхность мундштука. В альтернативном варианте или в дополнение на поверхности испарителя (такие как внутренняя поверхность мундштука 26) переносится электрический заряд, так что заряд аккумулируется на поверхностях и отталкивает продукты испарения активного ингредиента от поверхностей.

Далее ссылки относятся к фиг. 2А-В, которые изображают в разобранном виде испаритель 20, согласно некоторым вариантам применения настоящего изобретения.

Как показано на фиг. 2А, как правило, испаритель 20 содержит первое и второе гнезда 40А и 40В, выполненные с возможностью размещения капсул 42, которые содержат растительный материал, содержащий активный ингредиент. Неиспользованные капсулы, как правило, размещены в пакетной конфигурации внутри первого гнезда, а использованные капсулы размещены в пакетной конфигурации внутри второго гнезда.

Механизм 44 переноса капсулы выполнен с возможностью переноса капсул из первого гнезда во второе гнездо. Для некоторых вариантов применения механизм переноса капсулы представляет собой поворотный механизм переноса капсулы (например поворотный диск), как показано на фиг. 2А. Как правило, механизм переноса капсулы выполнен с возможностью (а) переноса по отдельности неиспользованных капсул из первого гнезда 40А в место 46 испарения, в котором капсула нагревается так, чтобы испарялся активный ингредиент, и (b) переноса по отдельности использованных капсул из места испарения во второе гнездо 40В.

Для некоторых таких вариантов применения испаритель 20 содержит один или больше элементов, которые выполнены с возможностью нагрева растительного материала в капсуле (например для испарения активного ингредиента в растительном материале). Для некоторых вариантов применения электроды 48 выполнены с возможностью действовать в качестве нагревательных элементов путем нагрева растительного материала в капсуле за счет пропускания электрического тока через капсулу 42. Для некоторых вариантов применения капсула 42 содержит одну или более металлических сеток 84 (фиг. 4А). Электроды нагревают растительный материал путем нагрева одной или более сеток посредством резистивного нагрева, за счет пропускания тока через одну или более сеток. В альтернативном варианте или в дополнение электроды нагревают внутренний нагревательный элемент, который заключен в испарителе, за счет пропускания тока через внутренний нагревательный элемент. Как правило, электрический ток, который пропускают, является фиксированным, так что, например, нагревание капсул не зависит от изменений в степени контакта между электродами и сетками капсул.

Для некоторых вариантов применения пружина 49 с толкательным элементом 51 расположена под частью 25 верхней крышки 24. Пружина выполнена с возможностью выталкивания использованных капсул во второе гнезда 40В.

Для некоторых вариантов применения часть капсулы 42 покрыта или наполнена материалом 47 с фазовым переходом. Материал с фазовым переходом выбирают таким образом, чтобы поддерживать температуру капсулы ниже температуры пиролиза растительного материала, и, таким образом, препятствовать пиролизу растительного материала. Например, материал с фазовым переходом может испытывать переход из твердой фазы в жидкую фазу при температуре, которая находится между температурой испарения и температурой пиролиза растительного материала, так что материал с фазовым переходом поглощает тепло в виде скрытого тепла плавления при этой температуре. Для некоторых вариантов применения часть испарителя (например, место 46 испарения, гнездо 40А и/или гнездо 40В) покрыты материалом 47 с фазовым переходом.

Как показано на фиг. 2В, как правило, источник 50 питания (например батарея) и схема 52 управления заключены в основном корпусе испарителя 20. Как правило, источник питания и/или схема управления соединена с основным корпусом испарителя посредством соединительного элемента 53, такого как адгезив, винт, зажим и/или шпилька. Для некоторых вариантов применения схема управления выполнена с возможностью пропускания тока через капсулу с помощью электродов 48, с использованием мощности, подаваемой от источника питания.

Для некоторых вариантов применения задняя крышка 30 является съемной и используемой повторно, и схема 52 управления, источник 50 тока и/или датчик 54 температуры соединены с задней крышкой (например, размещены в задней крышке). Как правило для таких вариантов применения, после того как все капсулы в испарителе испарены, заднюю крышку снимают вместе с компонентами, которые соединены с задней крышкой. Заднюю крышку и компоненты затем переносят и соединяют с другим испарителем, который содержит неиспользованные капсулы.

Для некоторых вариантов применения испаритель 20 содержит датчик 54 температуры, выполненный с возможностью измерения показаний температуры растительного материала, подлежащего нагреву, например, путем измерения температуры капсулы, которая подлежит нагреву. Например, датчик температуры может быть оптическим датчиком температуры, таким как инфракрасный датчик температуры, который выполнен с возможностью измерения температуры капсулы без контакта с капсулой. Таким образом, инфракрасный датчик температуры измеряет температуру капсулы, не влияя на температуру капсулы из-за отбора тепла от капсулы. Для некоторых вариантов применения датчик температуры покрыт липофобным или гидрофобным покрытием 56, которое защищает датчик температуры от продуктов испарения, оседающих на датчике температуры. Для некоторых вариантов применения используют другой датчик температуры. Например, схема управления может определять температуру капсулы за счет определения изменений в сопротивлении компонентов капсулы (например, сетка 84 капсулы) с использованием электродов 48.

Как описано выше, как правило, неиспользованные капсулы заключены внутри первого гнезда 40А, а использованные капсулы заключены внутри гнезда 40В. Как правило, пружины 58 и толкательные элементы 60 соединены с нижней крышкой 62 испарителя. Пружины и толкательные элементы выполнены с возможностью поддержания пакетной конфигурации капсул внутри гнезд, выталкивая капсулы к верхней части испарителя.

Далее ссылки относятся к фиг. 3A-D. Фиг. 3B-D изображают схематические виды поперечных разрезов испарителя 20, согласно некоторым вариантам применения настоящего изобретения. Фиг. 3А изображает вид сверху испарителя 20, согласно некоторым вариантам применения настоящего изобретения; Фиг. 3А включает линии, обозначающие места поперечных разрезов, которые показаны, соответственно, на фиг. 3В, 3С и 3D.

Как показано на фиг. 3В, для некоторых вариантов применения испаритель 20 содержит вибратор 70, выполненный с возможностью вызывать вибрацию капсулы 42, в то время как капсула нагревается. Во время использования испарителя пользователь вдыхает через мундштук 26. Это вызывает поток воздуха через решетку 32 к мундштуку через капсулу, как показано стрелками 72 потока воздуха. Вследствие нагрева капсулы активный ингредиент в растительном материале капсулы испаряется и вводится в воздух, который течет через испаритель. Для некоторых вариантов применения, из-за вибрации капсулы вибратор понижает блокирование потока воздуха через капсулу и/или увеличивает поток воздуха через капсулу по сравнению с тем случаем, когда капсула не вибрирует. Для некоторых вариантов применения, вследствие вибрации капсулы большее количество активного ингредиента испаряется и поступает в поток воздуха, чем в случае, когда капсула не подвергается вибрации. В альтернативном варианте или в дополнение, вибрация капсулы улучшает распределение тепла по капсуле и/или перемешивает растительный материал в капсуле.

Согласно соответствующему варианту применения вибратор 70 содержит вибродвигатель, пьезоэлектрический кристалл, звуковой вибратор, ультразвуковой вибратор и/или другой тип вибратора. Для некоторых вариантов применения один или более параметров вибрации, применяемых вибратором, изменяют так, чтобы увеличивать эффективность испарения активного ингредиента, увеличивать поток воздуха через капсулу, уменьшать блокирование потока воздуха, улучшать распределение тепла по капсуле, и/или перемешивать растительный материал в капсуле. Например, можно изменять частоту, амплитуду и/или направление вибрации.

Для некоторых вариантов применения испаритель 20 содержит разъем 74, через который испаритель соединен с внешним источником питания и/или устройством ввода данных. Например, источник 50 питания может быть выполнен с возможностью подзарядки путем подключения испарителя к внешнему источнику питания через разъем 74. В альтернативном варианте или в дополнение схема 52 управления может получать данные, например, инструкции по программированию, через разъем 74.

Для некоторых вариантов применения специалист в области здравоохранения (например фармацевт или доктор) может вводить инструкции в схему управления, которая управляет скоростью нагрева, применяемой для заданного количества потока воздуха через капсулу. Благодаря регулированию скорости нагрева на единицу потока воздуха количество активного ингредиента, испаряемого на единицу потока воздуха через испаритель, может быть регулируемым. В альтернативном варианте или в дополнение, специалист в области здравоохранения может вводить инструкции в схему управления, регулирующую количество потока воздуха через испаритель, которое разрешено во время каждого использования испарителя, и/или количество потока воздуха через испаритель, которое разрешено в течение заданного периода времени (например в час или в день). Таким образом, специалист в области здравоохранения может регулировать дозу активного ингредиента, которую пользователь может получать при каждом использовании испарителя, и/или в течение заданного периода времени. Для некоторых вариантов применения схема управления выполнена с возможностью автоматического определения скорости и/или объема воздуха через испаритель, как подробно описано ниже.

Теперь, как показано на фиг. 3С, капсулы 42, которые не используются (т.е. капсулы, активный ингредиент растительного материала которых не испаряется) заключены в пакетной конфигурации (т.е. так, что, когда испаритель находится в вертикальном положении, капсулы расположены друг над другом), внутри гнезда 40А. Использованные капсулы заключены в пакетной конфигурации внутри гнезда 40В. Как описано выше, для некоторых вариантов применения пружины 58 и толкательные элементы 60 соединены с нижней крышкой 62 испарителя и выполнены с возможностью сохранения пакетной конфигурации капсул внутри гнезд путем выталкивания капсул к верхней части испарителя. Для некоторых вариантов применения, благодаря хранению капсул в пакетной конфигурации, размеры ширины и глубины испарителя 20 могут быть такими, что пользователь может с удобством удерживать испаритель (например, одной рукой).

Пружина 49 и толкательный элемент 51, как правило, выталкивают использованные капсулы в гнездо 40В, так что использованные капсулы удерживаются ниже плоскости перемещения механизма 44 переноса капсулы. Таким образом, капсулы, которые расположены в гнезде 40В, остаются внутри гнезда 40В, даже когда механизм переноса капсулы перемещается.

Для некоторых вариантов применения капсулы 42 имеют круглое поперечное сечение, а гнезда 40А и 40В образуют цилиндрические трубки, которые вмещают капсулы. В альтернативном варианте капсулы 42 могут иметь другую форму, а гнезда 40А и 40В могут образовывать полые пространства, которые имеют такую форму, которая совпадает с формой капсул.

Как показано на фиг. 3D, и как описано ниже, для некоторых вариантов применения датчик 54 температуры представляет собой оптический датчик температуры, такой как инфракрасный датчик температуры, который может измерять температуру капсулы без контакта с капсулой. На фиг. 3D показан датчик 54, принимающий лучи 80 видимого света от капсулы 42, когда капсула нагрета. Датчик 54 выполнен с возможностью измерения температуры капсулы 42 на основе данных о полученном свете.

Как показано на фиг. 3D, для некоторых вариантов применения электрод 48 включает в себя по меньшей мере четыре электрода 48А, 48В, 48С и 48D. Растительный материал, содержащийся в капсуле, нагревают, пропуская ток от первого электрода 48А ко второму электроду 48В через нижнюю сетку капсулы 42. В альтернативном варианте или в дополнение растительный материал, содержащийся в капсуле, нагревают, пропуская ток от третьего электрода 48С к четвертому электроду 48D через верхнюю сетку капсулы 42. Для некоторых вариантов применения при нагреве растительного материала указанным способом растительный материал в капсуле нагревается более равномерно, чем, например, при однополюсном электроде, служащем для пропускания тока в место на верхней или нижней сетках. Для некоторых вариантов применения капсула 42 содержит внутренний нагревательный элемент (например внутреннюю сетку (не показано)), в качестве варианта или в дополнение к верхней и нижней сетке. Внутренний нагревательный элемент выполнен с возможностью нагрева таким же образом, как это описано со ссылкой на верхнюю и нижнюю сетку.

Далее ссылки относятся к фиг. 4A-D, которые изображают схематические иллюстрации соответствующих видов капсулы 42, которая содержит растительный материал 82, содержащий активный ингредиент, согласно некоторым вариантам применения настоящего изобретения; Как описано выше, растительный материал представляет собой каннабис, а активный ингредиент представляет собой составляющие каннабиноиды каннабиса (например, тетрагидроканнабинол (tetrahydrocannabinol, ТНС) и/или каннабидиол (cannabidiol, CBD)). В альтернативном варианте или в дополнение растительный материал может представлять собой табак и/или другие растительные или химические вещества, которые содержат активный ингредиент, испаряемый при нагреве вещества.

Для некоторых вариантов применения растительный материал 82 заключен между верхней и нижней сетками 84. Для некоторых вариантов применения каждая из сеток имеет отверстия большие, чем 15 микрон (например большие, чем 20 микрон), и/или меньшие, чем 80 микрон (например меньшие, чем 50 микрон), например, 15-60 микрон, или 20-50 микрон. Как правило, сетки соединены с центральным участком 86 капсулы (например центральный диск, как показано), при этом центральный участок образует отверстие. Например, сетки могут быть соединены с центральным участком посредством адгезива 88, такого как клей с высокой теплоустойчивостью или двусторонний адгезив. Как правило, адгезив обладает возможностью того, чтобы адгезив не выделял дыма, даже когда адгезив подвергают воздействию высокой температуры, такой как температура, большая, чем 200 градусов Цельсия. Как правило, растительный материал заключен между сетками и в отверстии, образованном центральным участком капсулы.

Как правило, растительный материал 82 измельчают таким образом, что (а) растительный материал находится в виде достаточно малых частиц, так что материал заполняет капсулу, и большая поверхность растительного материала подвергается воздействию воздуха, текущего через испаритель, (b) частицы растительного материала достаточно велики, чтобы они не проходили через сетки, и (с) активный ингредиент сохраняет свою действенность. Для некоторых вариантов применения растительный материал криогенно измельчен и/или измельчен в порошок.

Для некоторых вариантов применения распорные элементы 90 соединены с наружной стороной одной или обеих сеток. Распорные элементы выполнены с возможностью того, чтобы, когда капсулы расположены в пакетной конфигурации внутри испарителя, существовал промежуток между верхней сеткой капсулы и нижней сеткой соседней капсулы. Распорные элементы выполнены таким образом, чтобы выполнять указанную функцию, не блокируя поток воздуха через сетки и/или растительный материал, и не мешая контакту между электродами 48 и сетками 84. Для некоторых вариантов применения распорный элемент представляет собой одностороннюю липкую ленту. Для некоторых вариантов применения в качестве распорного элемента используют предотвращающий прилипание материал покрытия. Предотвращающий прилипание материал покрытия выполнен с возможностью препятствовать слипанию неиспользованных капсул друг с другом, когда неиспользованные капсулы заключены в гнезде 40А.

Для некоторых вариантов применения центральный участок 86 капсулы 42 выполнен из материала, который имеет высокую теплоемкость и/или низкую теплопроводность, что сокращает потери тепла из капсулы в окружающую среду и сокращает нагрев окружающей среды в ходе процесса испарения. Для некоторых вариантов применения по меньшей мере одна из проволок сетки 84 является полой, и материал с фазовым переходом расположен внутри полой проволоки. Материал с фазовым переходом сокращает потери тепла из капсулы, обуславливая предпочтительное поглощение тепла капсулой из областей, окружающих капсулу. В альтернативном варианте или дополнительно материал с фазовым переходом соединен с капсулой другим способом, например, путем покрывания капсулы. Как описано выше, как правило, материал с фазовым переходом выбирают таким образом, чтобы поддерживать температуру капсулы ниже температуры пиролиза растительного материала, и, таким образом, препятствовать пиролизу растительного материала.

Далее ссылки относятся к фиг. 5, которая изображает схематическую иллюстрацию электродов 48 испарителя 20, находящихся в контакте с сетками 84 капсулы 42, согласно некоторым вариантам применения настоящего изобретения. Как показано, электроды 48 находятся в контакте с сетками, даже когда распорные элементы 90 расположены на наружных сторонах сеток.

Далее ссылки относятся к фиг. 6A-D, которые изображают схематические иллюстрации соответствующих конфигураций электродов 48 испарителя 20, согласно некоторым вариантам применения настоящего изобретения; Фиг. 6А изображает примеры электродов 48А и 48В согласно некоторым вариантам применения настоящего изобретения; Как показано, для некоторых вариантов применения поверхность 92 электрода действует в качестве электрического контакта, через который осуществляется электрический контакт с сеткой капсулы. Фиг. 6B-D изображают примеры электрода 48В согласно некоторым вариантам применения настоящего изобретения; Для некоторых вариантов применения электроды содержат контакты 94, которые выступают из поверхности 92 электрода. Как показано, контакт может быть выполнен в виде плоской пластины (фиг. 6В), или в виде множества точек, например, двух точек (фиг. 6С), или трех точек (фиг. 3D).

Далее ссылки относятся к фиг. 7А-В, которые изображают схематические иллюстрации соответствующих видов испарителя 20, механизма 44 переноса капсулы испарителя, представляющего собой линейный механизм, согласно некоторым вариантам применения настоящего изобретения;

Как показано на фиг. 7А-В, согласно некоторым вариантам применения, капсулы 42 выполнены в некруглой форме. Например, как показано на фиг. 7А-В, капсула может иметь поперечное сечение кольцевой формы. Для таких вариантов применения гнезда 40А и 40 В образуют пустое пространство, которое выполнено так, чтобы совпадать с формой капсул.

Для некоторых вариантов применения верхняя часть гнезда 40А, верхняя часть гнезда 40В, и место испарения, в котором нагревают капсулы, выровнены друг с другом (например по ширине испарителя, как показано на фиг. 7А-В). Линейный механизм 44 переноса капсулы выполнен с возможностью выталкивания неиспользованных капсул из гнезда 40А в место 46 испарения, в котором капсулу нагревают, и из места испарения во второе гнездо 40В. Для некоторых вариантов применения линейный механизм переноса капсулы содержит толкатель 100, выполненный с возможностью переноса капсул способом, описанным выше, с помощью толкателя, выталкивающего продольно в заданном направлении. Для некоторых вариантов применения пружина 102 соединена с толкателем, при этом пружина выполнена с возможностью прилагать к толкателю усилие, которое противоположно перемещению толкателя в заданном направлении.

Как показано на фиг. 7В, для некоторых вариантов применения насос 200 (показан схематически на фиг. 7В) используют для управления потоком воздуха через испаритель. Для некоторых вариантов применения испаритель выполнен с образованием для потока воздуха дополнительный канал 201, который обеспечивает поток воздуха из мундштука, а не через испаряемую капсулу. Таким образом, в ответ на большой вдох пользователя испаритель обладает возможностью обеспечивать воздух пользователю, без увеличения дозы активного ингредиента, который обеспечивается пользователю. Для некоторых вариантов применения клапан 203 (показан схематически на фиг. 7В) расположен в дополнительном канале для потока воздуха и выполнен с возможностью регулирования потока воздуха через дополнительный канал для потока воздуха.

Для некоторых вариантов применения испаритель 20 содержит датчик потока воздуха, например, клапан 202 (показан схематически на фиг. 7В). Клапан выполнен с возможностью измерения потока воздуха через испаритель. Для некоторых вариантов применения данные измерений потока воздуха принимаются как входной сигнал в схему управления, и схема управления изменяет параметр нагрева в ответ на обнаруженный поток воздуха.

Помимо отличий, описанных в приведенных выше пунктах, испаритель 20 и его участки, показанные на фиг. 7А-В, в основном, аналогичны испарителю и его участкам, описанным со ссылкой на фиг. 1A-6D. Объем настоящего изобретения включает комбинацию признаков испарителя и его участков, описанных со ссылкой на фиг. 7А-В, с признаками испарителя и его участков, описанных со ссылкой на фиг. 1A-6D, и наоборот.

Далее ссылки относятся к фиг. 8, которая представляет собой график, иллюстрирующий соответствующие способы нагрева растительного материала с использованием испарителя, такого как испаритель 20, согласно некоторым вариантам применения настоящего изобретения. Ось х графика показывает время (измеренное в секундах), а ось у показывает температуру (измеренную в градусах Цельсия) капсулы, которая содержит растительный материал (и, следовательно, показывает температуру растительного материала в капсуле), как описано в настоящем документе.

Как описано выше, для некоторых вариантов применения испаритель 20 используют для испарения активных ингредиентов в каннабисе. Каннабис, как правило, имеет температуру испарения 180 градусов Цельсия, и начинает подвергаться пиролизу при 220 градусов Цельсия. Таким образом, как правило, желательно нагревать каннабис до температуры между 190 градусов Цельсия и 210 градусов Цельсия. Верхняя и нижняя границы желательного диапазона температур, до которого нагревают каннабис, отмечены на графике на фиг.8, двумя сплошными горизонтальными линиями на 190 градусов Цельсия и 210 градусов Цельсия. Кроме того, как правило, желательно не нагревать каннабис до температуры, которая больше, чем описанная температура, чтобы предотвратить пиролиз каннабиса. Как правило, когда испаритель используют с растительным материалом, отличающимся от каннабиса, применимы аналогичные соображения, хотя желаемая температура, до которой должен быть нагрет растительный материал, будет в широких пределах зависеть от характеристик растительного материала, который используют в испарителе.

Одним из возможных способов нагрева растительного материала до желаемой температуры является постепенный нагрев, как отмечено пунктирной диагональной линией, которая показывает растительный материал, нагреваемый до желаемой температуры в течение периода, большего, чем 8 секунд. Другой возможный способ нагрева растительного материала представляет собой быстрый нагрев, как показано пунктирной линией на фиг.8. Как правило, если растительный материал нагревают быстро, то вначале происходит превышение температуры, до которой нагревают растительный материал. Например, это может быть связано с тем, что существует запаздывание по времени между моментом, когда растительный материал достигает желаемой температуры, и моментом, когда схема управления обнаруживает, что желаемая температура достигнута, и приостанавливает действие фактора, обуславливающего дальнейшее повышение температуры растительного материала, в ответ на обнаруженную температуру. Это показано на фиг. 8, которая изображает, что пунктирная кривая вначале поднимается выше 220 градусов Цельсия, перед выравниванием в желаемом диапазоне температур. Из-за превышения уровня температуры некоторая часть растительного материала может быть подвергнута пиролизу.

Согласно некоторым вариантам настоящего изобретения для растительного материала в испарителе применяют двухэтапный процесс нагрева, например, как показано сплошной кривой на фиг. 8. Как правило, в ответ на получение первого входного сигнала на испарителе (например, в ответ на нажимание пользователем переключателя ВКЛЮЧЕНО на испарителе), схема управления испарителя начинает первый этап нагрева. Как правило, первый этап нагрева является этапом быстрого нагрева (например, этап нагрева, на котором капсула, содержащая растительный материал, нагревается со скоростью, большей, чем 50 градусов Цельсия в секунду, или большей, чем 100 градусов Цельсия в секунду). Кроме того, как правило, схема управления испарителя выполнена с возможностью окончания первого этапа нагрева за счет приостановки действия фактора, обуславливающего дальнейшее повышение температуры, в ответ на обнаружение того, что температура капсулы (которая является показателем температуры растительного материала) достигла первой температуры. Как правило, первая температура меньше, чем 95 процентов, например, меньше, чем 90 процентов, или меньше, чем 80 процентов, от температуры испарения растительного материала. Например, когда испаритель используют для испарения каннабиса, схема управления испарителя может быть выполнена с возможностью приостановки действия фактора, обуславливающего дальнейшее повышение температуры капсулы, в ответ на обнаружение того, что температура капсулы достигла первой температуры, которая меньше, чем 170 градусов Цельсия (например, меньше, чем 160 градусов Цельсия), например, температуры, которая находится между 140 и 170 градусов Цельсия, или между 150 и 160 градусов Цельсия.

Путем конфигурирования схемы управления для окончания первого, быстрого этапа нагрева, как описано выше, даже если имеется превышение, и температура капсулы возрастает выше температуры, при которой запрограммировано окончание первого этапа нагрева, температура капсулы, как правило, все еще не будет подниматься выше температуры пиролиза растительного материала. Например, как показано на фиг. 8, схема управления выполнена с возможностью приостановки действия фактора, обуславливающего дальнейшее повышение температуры капсулы, в ответ на обнаружение того, что температура капсулы достигла примерно 160 градусов Цельсия. Вначале (примерно через 0,5 секунды), температура капсулы превышена и достигает примерно 180 градусов Цельсия. Однако температура капсулы затем достигает плато примерно при 160 градусов Цельсия, примерно через 1 секунду. Для некоторых вариантов применения схема управления испарителя создает выходной сигнал для пользователя, указывающий, что первый этап нагрева окончен. Например, схема управления может подсвечивать индикаторную лампу, может вызывать вибрацию испарителя и/или может испускать звуковой сигнал (например зуммер).

Затем в ответ на второй входной сигнал к испарителю схема управления начинает второй этап нагрева (показанную на сплошной кривой на фиг. 8, начинающуюся примерно через 3 секунды). Как правило, между окончанием первого этапа процесса нагрева и началом второго этапа процесса нагрева схема управления поддерживает температуру капсулы при первой температуре. Для некоторых вариантов применения второй этап нагрева начинается автоматически в ответ на вдыхание пользователем воздуха, испаряемого из испарителя. В альтернативном варианте второй этап процесса нагрева может начинаться в ответ на другой ввод данных пользователем (например, пользователь нажимает кнопку ВКЛЮЧЕНО второй раз).

Во время второго этапа нагрева схема управления, как правило, нагревает капсулу с меньшей скоростью, чем во время первого этапа процесса нагрева. Например, во время второго этапа процесса нагрева сетки капсул испарителя могут нагреваться со скоростью, меньшей, чем 50 градусов Цельсия в секунду, например, меньшей, чем 40 градусов Цельсия в секунду. Как показано на фиг. 8, во время второго этапа процесса нагрева (от 3 секунд до 5 секунд) капсула нагревается примерно от 160 градусов Цельсия до 200 градусов Цельсия.

На втором этапе процесса нагрева схема управления может приостанавливать действие фактора, обуславливающего дальнейшее повышение температуры капсулы, в ответ на определение того, что температура капсулы находится между температурой испарения растительного материала и температурой пиролиза растительного материала. Например, когда испаритель используют для испарения каннабиса, схема управления испарителя может быть выполнена с возможностью приостановки действия фактора, обуславливающего дальнейшее повышение температуры капсулы, в ответ на обнаружение того, что температура капсулы достигла второй температуры, которая больше, чем 180 градусов Цельсия (например, больше, чем 190 градусов Цельсия), и/или меньше, чем 220 градусов Цельсия (например, меньше, чем 210 градусов Цельсия), например, температуры, которая находится между 180 и 220 градусов Цельсия, или между 190 и 210 градусов Цельсия.

Для некоторых вариантов применения при выполнении нагрева в двухэтапном процессе, как описано выше, получают один или более из следующих результатов:

1) Благодаря окончанию первого (быстрого) этапа нагрева в ответ на то, что температура капсулы достигла менее чем 95 процентов от температуры испарения, даже если происходит превышение нагрева, растительный материал не подвергается пиролизу, поскольку растительный материал не нагревается до температуры, которая больше, чем температура пиролиза.

2) Поскольку второй этап нагрева выполняется медленно, существует пренебрежимо малое превышение на втором этапе процесса нагрева, и поэтому растительный материал на втором этапе процесса нагрева не подвергается пиролизу.

3) Поскольку в течение первого этапа нагрева растительный материал нагревается почти до температуры, которая достаточно близка к температуре испарения, даже хотя второй этап нагрева является медленным, время, которое требуется для нагрева растительного материала до температуры испарения от начала второго этапа нагрева, является относительно малым (например, меньше, чем две секунды).

4) Вследствие низкой теплопроводности растительного материала, если растительный материал нагревают быстро, это может приводить к неравномерному нагреву растительного материала. Это может приводить к тому, что участки растительного материала, находящиеся вблизи нагревательного элемента (элементов) (например электрода (электродов)), подвергаются пиролизу, и/или участки растительного материала, находящиеся вдали от нагревательного элемента (элементов), не испаряются. Благодаря приостановке дальнейшего нагрева растительного материала после достижения первой температуры, и до тех пор, пока не будет получен второй входной сигнал, тепло может быть рассеяно по растительному материалу (в течение промежуточного периода между первым и вторым этапами нагрева), до того как какой-либо участок растительного материала будет нагрет до температуры испарения. Кроме того, поскольку повышение температуры во время второго этапа относительно малое, повышение температуры может быть сравнительно быстро рассеяно по растительному материалу. Таким образом достигают относительно однородного нагрева растительного материала, так что большая часть активного ингредиента в растительном материале испаряется, тогда как пиролиз растительного материала по существу не происходит.

Для некоторых вариантов применения вдыхание пользователем из испарителя автоматически определяется схемой управления. После первого этапа нагрева, как правило, существует большая разница между температурой окружающей среды и температурой капсулы, содержащей растительный материал. Как описано выше, между окончанием первого этапа процесса нагрева и началом второго этапа процесса нагрева схема управления поддерживает температуру капсулы на уровне первой температуры. Вследствие большой разницы между температурой окружающей среды и температурой капсулы, энергия, необходимая для поддержания капсулы (и растительного материала в ней) при постоянной температуре, больше, когда пользователь вдыхает из испарителя, чем когда пользователь не вдыхает. Таким образом, для некоторых вариантов применения схема управления определяет, что пользователь выполняет вдох из испарителя, за счет определения показаний количества энергии, необходимого для поддержания температуры капсулы (и растительного материала в ней) постоянной. Например, схема управления может определять изменения в рабочем цикле, который используют для нагрева капсулы (и растительного материала в ней). В качестве альтернативы или в дополнение схема управления может автоматически определять, что пользователь вдыхает из испарителя, путем непосредственного определения температуры капсулы. Поскольку после первого этапа нагрева существует большая разница между температурой окружающей среды и температурой капсулы, поток воздуха через капсулу может вызывать поддающееся измерению изменение температуры капсулы. Как описано выше, для некоторых вариантов применения второй этап процесса нагрева начинается автоматически в ответ на обнаружение вдыхания пользователем из испарителя.

При использовании, способа, в целом, подобного описанному выше способу, для некоторых вариантов применения схема управления определяет скорость и/или объем воздуха через испаритель за счет определения показаний количества энергии, необходимого для поддержания температуры капсулы (и растительного материала в ней) постоянной. Для некоторых вариантов применения в ответ на определенную скорость потока воздуха через испаритель схема управления вычисляет эту дозу активного вещества, которая была введена субъекту. Как описано выше, для некоторых вариантов применения специалист в области здравоохранения может вводить инструкции в схему управления, регулирующую количество потока воздуха через испаритель, которое разрешено во время каждого использования испарителя, и/или количество потока воздуха через испаритель, которое разрешено в течение заданного периода времени (например в час или в день). В альтернативном варианте или в дополнение схема управления может регулировать скорость нагрева на единицу потока воздуха, как описано выше.

Для некоторых вариантов применения в ответ на определение того, что вдыхание происходит в течение данного периода времени (например период времени между 0,5 секунды и 3 секундами), температура капсулы понижается ниже температуры испарения растительного материала. Например, во время использования испарителя пользователь может остановить вдыхание в течение данного периода времени, из-за кашля и/или из-за раздражения, вызванного растительным материалом. Благодаря понижению температуры ниже температуры испарения, снижается потеря активного ингредиента в течение этого периода, так что пользователь может получить предписанную дозу активного ингредиента.

Как показано сплошной кривой на фиг. 8, примерно между 7 секундами и 9,5 секундами схема управления вызывает снижение температуры капсулы ниже температуры испарения. Это может быть выполнено в ответ на обнаружение того, что в течение данного периода времени вдыхание не происходит (как описано выше), и/или в ответ на ввод данных пользователем (например в ответ на нажатие пользователем кнопки). Примерно от 9,5 секунд до 12,5 секунд капсула снова нагревается до температуры испарения. Это может быть выполнено в ответ на обнаружение того, что в течение данного периода времени вдыхание возобновилось, и/или в ответ на ввод данных пользователем (например в ответ на нажатие пользователем кнопки). Примерно между 14 секундами и 16 секундами схема управления опять вызывает понижение температуры капсулы ниже температуры испарения. Это может быть выполнено в ответ на обнаружение того, что в течение данного периода времени вдыхание не происходит, и/или в ответ на ввод данных пользователем (например в ответ на нажатие пользователем кнопки).

Хотя испаритель 20 описан, как использующий резистивный нагрев электрода (электродов) 48 для нагрева капсулы 42, для некоторых вариантов применения для нагрева капсулы используют альтернативные или дополнительные нагревательные элементы и способы нагрева. Например, чтобы нагревать капсулу, в качестве нагревательного элемента может действовать лазерный излучатель, путем направления лазерного пучка на капсулу. Для некоторых вариантов применения отдельный нагревательный элемент, заключенный внутри испарителя, нагревается в непосредственной близости к месту испарения, чтобы обеспечить нагрев капсулы за счет теплопроводности, конвекции и/или излучения.

Для некоторых вариантов применения испаритель содержит индикатор, который показывает пользователю, сколько неиспользованных капсул заключено в испарителе. Как правило, испаритель выполнен с возможностью открывания и/или повторного заполнения только специалистом в области здравоохранения (например доктором или фармацевтом). Для некоторых вариантов применения вместо выполнения испарителя с возможностью пополнения, некоторые из элементов управления испарителя являются используемыми неоднократно, и переносимыми в неиспользованный испаритель, как описано выше. Для некоторых вариантов применения размер капсул и/или количество растительного материала в каждой капсуле, предназначенной для данного пользователя, может определять специалист в области здравоохранения. Кроме того, как описано выше, испаритель, как правило, является программируемым, так что в течение периода использования или заданного времени может быть отпущена только определенная доза активного ингредиента. Таким образом, если растительный материал, используемый внутри испарителя, является регламентированным веществом (например каннабис), может поддерживаться контроль над использованием вещества. Для некоторых вариантов применения испаритель и/или капсулы содержат идентификационные метки или этикетки (например RFID (радиочастотная идентификация) или штрих-код), чтобы способствовать регулированию и контролю над использованием испарителя и капсулы.

Далее ссылки относятся к фиг. 9А-В, которые схематически иллюстрируют участки испарителя 20, согласно некоторым вариантам применения настоящего изобретения. Для некоторых вариантов применения неиспользованные капсулы 42 хранятся в пакетной конфигурации внутри гнезда 40А, на опорной поверхности 110. Фиг. 9А и 9В изображают опорную поверхность при отсутствии стенок гнезда, с целью иллюстрации. Фиг. 9А изображает опорную поверхность при отсутствии какой-либо капсулы, а фиг. 9В изображает опорную поверхность с расположенным на ней пакетом капсул.

Как правило, под опорной поверхностью расположена пружина 112. Для некоторых вариантов применения в ответ на то, что пользователь поворачивает колесо 114 переноса капсулы в заданном направлении (например, по часовой стрелке или против часовой стрелки), винт 113, который соединен с колесом переноса капсулы, поворачивается в заданном направлении. Как правило, опорная поверхность (напрямую или не напрямую) соединена посредством резьбы с винтом. Например, как показано, опорная поверхность 110 может быть соединена со второй поверхностью 116 посредством пружины 112, при этом вторая поверхность напрямую соединена с винтом посредством резьбы. В ответ на поворачивание винта в заданном направлении опорная поверхность продвигается в направлении отверстия гнезда 40А, таким образом, выталкивая верхнюю капсулу из отверстия гнезда.

Следует заметить, что колесо 114 переноса капсулы по форме отличается от колеса 28 переноса капсулы, описанного выше. Как правило, как описано в отношении колеса 28 переноса капсулы, колесо 114 переноса капсулы выполнено с возможностью регулирования механизма переноса капсулы, который, в свою очередь, выполнен с возможностью (а) переноса по отдельности неиспользованных капсул из гнезда 40А в место 46 испарения, в котором капсула нагревается так, чтобы испарять активный ингредиент, и (b) переноса по отдельности использованных капсул из места испарения во второе гнездо 40 В.

Следует заметить, что, как правило, использование механизма, показанного на фиг. 9А-В приводит к тому, что усилие, с которым капсулы продвигаются через гнездо 40А, по существу постоянно, независимо от того, насколько заполнено гнездо. Для некоторых вариантов применения при использовании механизма, показанного на фиг. 9А-В, для выталкивания капсулы из первого гнезда 40А может быть использована меньшая пружина, чем та, которая используется при конфигурации первого гнезда, показанной, например, на фиг. 3С и 7В. Это связано с тем, что, когда первое гнездо опустошается, опорная поверхность 110 продвигается вверх через первое гнездо. Напротив, для вариантов применения, показанных на фиг. 3С и 7В, например, пружина 58 должна быть достаточно большой, чтобы, когда первое гнездо является относительно пустым, пружина простиралась по большей части высоты первого гнезда и оказывала давление на неиспользованные капсулы. Поэтому для некоторых вариантов применения при использовании механизма, показанного на фиг. 9А-В, в гнезде заданной высоты может быть размещено большее количество капсул, чем было бы возможно при использовании других механизмов.

Для некоторых вариантов применения иногда бывает, что в ответ на поворачивание колеса переноса капсулы, капсула не выходит из гнезда 40А, например, из-за слипания между одной или более капсул и стенками гнезда 40А. Для некоторых вариантов применения в таких случаях колесо 114 переноса капсул поворачивают дополнительно. Это, как правило, увеличивает усилие, оказываемое на пакет капсул пружиной 112, тем самым, высвобождая капсулы.

Далее ссылки относятся к фиг. 10А-В, 11A-D и 12А-В, которые схематически иллюстрируют электроды 48 и механизмы для использования в них, согласно некоторым вариантам применения настоящего изобретения. Как описано выше, для некоторых вариантов применения наружные поверхности капсул образованы одной или более сеток. Электроды 48 нагревают растительный материал внутри капсул 42 путем нагрева одной или более сеток посредством резистивного нагрева за счет пропускания тока через одну или более сеток. Как правило, для таких вариантов применения необходим высококачественный электрический контакт с низким сопротивлением между электродами и сетками капсул. Однако для некоторых вариантов применения, перед тем как капсула используется, на поверхностях сеток создается неэлектропроводное покрытие. Например, это может происходить вследствие выделения паров активным ингредиентом в растительном материале и/или вследствие окисления. Для некоторых вариантов применения по меньшей мере часть наружных поверхностей сеток покрывают мягким, обеспечивающим проникновение, защитным покрытием (таким как воск). Покрытие уменьшает (например препятствует) рост неэлектропроводного покрытия (например из-за окисления) на поверхности сетки.

Для некоторых вариантов применения электроды и механизмы для их использования, показанные на фиг. 10А-В, 11A-D и 12А-В, способствуют высококачественному электрическому контакту с низким сопротивлением между электродами и сетками капсул, за счет увеличения давления электродов, оказываемого на сетки, по сравнению с другими возможными конфигурациями (например за счет увеличения усилия, с которым электроды действуют на сетки, и/или за счет уменьшения площади контакта между электродами и сетками). Для некоторых вариантов применения электроды и механизмы для их использования, показанные на фиг. 10А-В, 11A-D и 12А-В, способствуют высококачественному электрическому контакту с низким сопротивлением между электродами и сетками капсул за счет принуждения электродов проникать через покрытие, появившееся на поверхностях сеток, и/или защитное покрытие, которым покрыты поверхности сеток, как описано выше.

Как показано на фиг. 10А-В, для некоторых вариантов применения один или более электродов 48 имеют острые кончики. Например, как показано на фиг. 10А, электроды могут быть выполнены в виде лезвий. Как правило, кончики лезвий имеют толщину, большую, чем 0,05 мм (например, большую, чем 0.1 мм), и/или меньшую, чем 0,4 м (например, меньшую, чем 0,3 мм), например, между 0,05 мм и 0,4 мм, или между 0,1 и 0,3 мм.

Для некоторых вариантов применения механизм 120 перемещения электрода выполнен с возможностью перемещения по меньшей мере части электродов относительно сетки капсулы 42. Например, механизм перемещения электрода может перемещать электроды ближе к сетке и/или может перемещать электроды относительно сетки (например путем скользящего перемещения электродов по поверхности сетки), до тех пор, пока электроды не будут находиться в контакте с сеткой. Таким образом, электроды, как правило, удаляют по меньшей мере часть покрытия, образованного на поверхности сетки, и/или проникают через покрытие.

Для некоторых вариантов применения механизм 120 перемещения электрода содержит пружины 131, которые прижимают по меньшей мере некоторые из электродов к сетке капсулы. Электроды также соединены с кнопкой 122. Для некоторых вариантов применения пользователь перемещает электроды скользящим перемещением по поверхности сетки капсул, тогда как пружины прижимают электроды к сеткам, так чтобы удалять покрытие с сетки. В альтернативном варианте или в дополнение, используя кнопку, пользователь прижимает электроды вниз (преодолевая усилие, прилагаемое к электродам пружиной). Когда кнопку отпускают, электроды прижимаются с усилием вверх, к сетке, посредством пружин. Для некоторых вариантов применения пользователь многократно нажимает кнопку 122, так что пружины многократно подводят электроды с усилием к сетке, выполняя пробивание.

Для некоторых вариантов применения верхние электроды остаются неподвижными, и выполнены с возможностью проникновения через какое-либо покрытие сетки, с которым они находятся в контакте, вследствие давления, оказываемого электродами на поверхность сетки. Например, в примере, показанном на фиг. 10В, верхние электроды могут проникать через какое-либо покрытие на поверхности верхней сетки капсулы из-за того, что верхняя сетка капсулы прижимается к острым кончикам электродов. Для некоторых вариантов применения кнопка 122, кроме того, выполнена с возможностью приводить испаритель в действие при ее нажатии. Например, кнопка 122 может быть выполнена с возможностью включения переключателя при нажатии, что может приводить к тому, чтобы схема управления нагревала сетки капсул с использованием способов, описанных в настоящем документе.

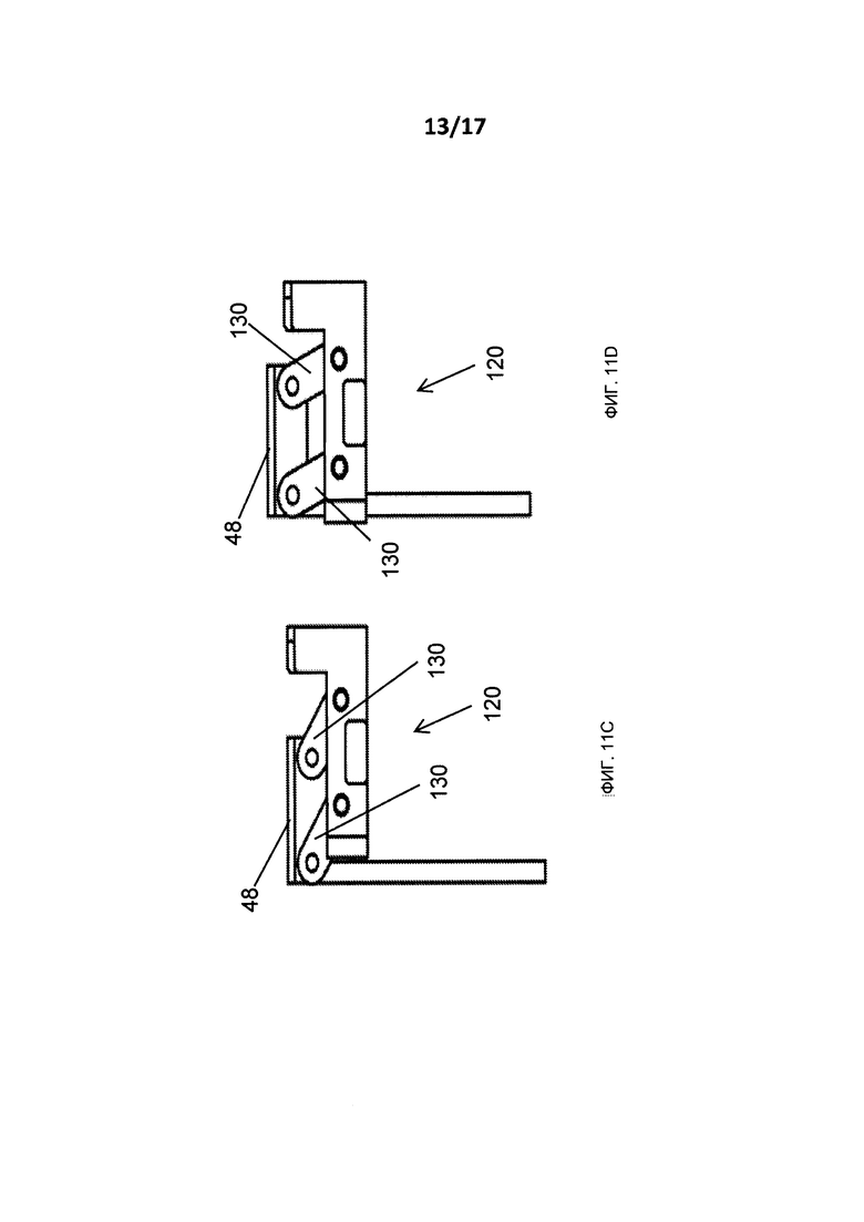
Как показано на фиг. 11A-D, для некоторых вариантов применения механизм 120 перемещения электрода содержит один или более шарниров 130 и кнопку 132. Для некоторых вариантов применения электроды 48 выполнены в форме, описанной выше, со ссылкой на фиг. 10А. Фиг. 11А изображает механизм, расположенный в части испарителя 20, фиг. 11В представляет собой трехмерную схематическую иллюстрацию механизма при отсутствии каких-либо дополнительных участков испарителя, и фиг. 11C-D изображают двумерные профили механизма, когда механизм находится, соответственно в нерабочей и рабочей конфигурации.

Для некоторых вариантов применения механизм переноса капсулы испарителя выполнен с возможностью нажатия кнопки 132. Например, поворотный механизм переноса капсулы (как показано на фиг. 2А) может быть выполнен с возможностью автоматического нажатия кнопки 132, в ходе его поворачивания. В ответ на нажатие кнопки электроды 48 поворачиваются вокруг шарниров 130, так что электроды (а) перемещаются ближе к сетке капсулы (например в направлении вверх, в показанном примере), и/или (b) перемещаются по сетке капсулы (например скользящим перемещением), в то время как электроды находятся в контакте с сеткой. Перемещение механизма, происходящее из-за нажатия кнопки 132, показано в переходе от фиг. 11С к фиг. 11D.

Как показано на фиг. 12А-В, для некоторых вариантов применения используют другой тип механизма перемещения электрода 120 на базе шарнира. В примере, показанном на фиг. 12А-В, в ответ на нажатие пользователем кнопки 140, шарнир 142 поворачивается, тем самым вынуждая электрод 48 перемещаться вверх, в направлении нижней сетки капсулы. В альтернативном варианте или в дополнение пружина (не показано) выполнена с возможностью нажатия кнопки 140 автоматически, и пользователь активно отпускает кнопку 140, например, чтобы высвободить капсулу. Фиг. 12А изображает механизм, расположенный в части испарителя 20, а фиг. 12В представляет трехмерную схематическую иллюстрацию механизма при отсутствии каких-либо дополнительных частей испарителя. Для некоторых вариантов применения кнопка 140, кроме того, выполнена с возможностью приводить испаритель в действие при ее нажатии. Например, кнопка 140 может быть выполнена с возможностью включения переключателя при нажатии, что может приводить к тому, чтобы схема управления нагревала сетки капсул с использованием способов, описанных в настоящем документе.

Для некоторых вариантов применения механизмы, такие как описаны со ссылкой на фиг. 10A-12В, используют для усиления контакта между электродами и сеткой капсулы. В альтернативном варианте или в дополнение используют способы, обеспечивающие выполнение соответствующего электрического соединения между электродами и сетками капсулы. Например, схема управления может измерять сопротивление сетки капсулы в ответ на ток, пропускаемый через сетку. В ответ на сопротивление, превышающее пороговое сопротивление, схема управления может определять, что существует проблема с электрическим соединением между электродами и сетками, и может создавать показание в ответ на это. В альтернативном варианте или в дополнение схема управления может пропускать небольшой импульс тока через сетку капсулы и измерять полученное повышение температуры капсулы. В ответ на увеличение температуры, меньшее, чем пороговая температура, схема управления может устанавливать, что существует проблема с электрическим соединением между электродом и сеткой, и может создавать показание в ответ на это.

Далее ссылки относятся к фиг. 13А-С, которые представляют схематические иллюстрации испарителя 150, выполненного с возможностью автоматического отбора заданной объемной дозы растительного материала 82 (который, как описано выше, содержит активный ингредиент) из массы растительного материала, расположенной в испарителе (например, в гнезде 152 испарителя), согласно некоторым вариантам применения настоящего изобретения. Как правило, масса растительного материала содержит множество объемных доз в одном объеме, а не разделена на объемные дозы (например объемные дозы, расположенные в соответствующих отдельных капсулах, как описано выше). Например, как показано на фиг.13 В, на которой изображен вид поперечного разреза гнезда 152, сигарета 154, содержащая растительный материал, может быть расположена внутри гнезда.

Испаритель 150, как правило, содержит механизм 156 отбора. В ответ на приведение в действие пользователем механизма отбора, механизм отбора может отбирать заданную объемную дозу растительного материала из массы растительного материала. Например, как показано на фиг. 13А-С, механизм отбора может содержать кнопку 158 и лезвие 160. Когда пользователь нажимает кнопку, это приводит к поворачиванию лезвия и отрезанию объемной дозы от массы растительного материала.

Как показано на фиг. 13С, для некоторых вариантов применения, когда кнопка 158 продвигается на расстояние X1, посредством пружины 164 прилагается усилие к шарниру 162, с которым соединено лезвие. Усилие принуждает шарнир поворачиваться, так что лезвие поворачивается и отрезает объемную дозу от массы растительного материала. В примере и пространственном положении испарителя, показанном на фиг. 13С, продвижение кнопки на расстояние X1 будет принуждать лезвие поворачиваться в направлении против часовой стрелки к гнезду 166, вмещающему объемную дозу. Как правило, после отбора объемной дозы растительного материала лезвие поддерживает снизу объемную дозу в гнезде 166. Дальнейшее продвижение кнопки 158, как правило, приводит к продвижению объемной дозы к поверхности 168, которая работает как место испарения, как описано выше. Нагревательный элемент выполнен с возможностью испарения по меньшей мере одного активного ингредиента из объемной дозы растительного материала за счет нагрева поверхности, тогда как объемная доза расположена на поверхности. Как правило, поверхность 168 представляет собой сетку, нагреваемую с использованием схемы управления, которая пропускает ток через сетку посредством одного или более электродов, как описано выше. Для некоторых вариантов применения верхняя сетка 170 расположена над отобранной объемной дозой и нагревается таким же образом. Для некоторых вариантов применения используют другие способы нагрева растительного материала (например, как описано выше). Для некоторых вариантов применения для мониторинга температуры растительного материала используют датчик. Например, может быть использован оптический датчик температуры (например инфракрасный датчик температуры), как описано выше. Для некоторых вариантов применения для нагрева растительного материала используют двухэтапный процесс, как описано выше.

В то время как активный ингредиент испаряется, пользователь обычно вдыхает воздух через воздуховодную трубку 172 и через мундштук 174. Воздух проходит через растительный материал, и пары из испаренного растительного материала поступают в воздух. Для некоторых вариантов применения после нагрева растительного материала кнопка 158 продвигается дополнительно. При этом использованная объемная доза растительного материала проталкивается в гнездо 176 для отходов. Затем кнопка 158 отводится назад (вручную или автоматически) в начальное положение. Затем пружина 178 выталкивает следующую объемную дозу растительного материала в положение для отрезания лезвием 160. Для некоторых вариантов применения пружина толкает толкательньш элемент 180 к расположенной ниже сигарете 154, которая содержит растительный материал.

Для некоторых вариантов применения кнопка 158 дополнительно выполнена с возможностью приводить в действие испаритель при ее нажимании. Например, кнопка 158 может быть выполнена с возможностью включения переключателя при нажатии, что может приводить к тому, что схема управления нагревает сетки капсулы с использованием описанных выше способов. (Следует заметить, что, хотя схема управления испарителя 150 не показана, схема управления, такая как показана на фиг. 14А, обычно размещена внутри корпуса испарителя 150.)

Далее ссылки относятся к фиг. 14А-С, которые изображают схематическую иллюстрацию испарителя 182, выполненного с возможностью автоматического отбора заданной объемной дозы растительного материала 82 из массы растительного материала (например сигареты 154), которая расположена в гнезде испарителя (например в гнезде 183 испарителя), согласно некоторым вариантам применения настоящего изобретения. Испаритель 182, в общем, аналогичен испарителю 150, описанному со ссылкой на фиг. 13А-С, за исключением описанных ниже отличий.

Испаритель 182, как правило, содержит механизм 184 отбора. В ответ на приведение в действие пользователем механизма отбора, механизм отбора может отбирать заданную объемную дозу из массы растительного материала. Например, как показано на фиг. 14А-С, испаритель может содержать кнопку 185 и лезвие 186. Когда пользователь нажимает кнопку, это приводит к продвижению лезвия и отрезанию объемной дозы от массы растительного материала. При дальнейшем нажимании кнопка выталкивает объемную дозу поверх поверхности 187, которая действует как место испарения, как описано выше. Нагревательный элемент выполнен с возможностью испарения по меньшей мере одного активного ингредиента из объемной дозы растительного материала за счет нагрева поверхности, тогда как объемная доза расположена на поверхности. Как правило, поверхность 187 представляет собой сетку, нагреваемую с использованием схемы 188 управления, которая пропускает ток через сетку посредством одного или более электродов, как описано выше. Для некоторых вариантов применения верхняя сетка 189 расположена над отобранной объемной дозой и нагревается таким же образом. Для некоторых вариантов применения используют другие способы нагрева растительного материала (например, как описано выше). Для некоторых вариантов применения для мониторинга температуры растительного материала используют датчик. Например, может быть использован оптический датчик температуры (например инфракрасный датчик температуры) 190, как описано выше. Для некоторых вариантов применения для нагрева растительного материала используют двухэтапный процесс, как описано выше.

В то время как активный ингредиент испаряется, пользователь обычно вдыхает воздух через воздуховодную трубку 191 и через мундштук 192. Воздух проходит через растительный материал, и пары из испаренного растительного материала поступают в воздух. После того как объемная доза продвинута на поверхность 187, кнопка 185 отводится назад (как правило, автоматически с помощью возвратной пружины 193) в начальное положение. Затем пружина 194 выталкивает следующую объемную дозу растительного материала в положение для отрезания лезвием 186. Для некоторых вариантов применения пружина толкает толкательный элемент 195 к расположенной ниже сигарете 154, которая содержит растительный материал. Как правило, использованная объемная доза удаляется с поверхности в следующий раз, когда используют испаритель, посредством следующей объемной дозы, выталкивающей использованную объемную дозу с поверхности и в гнездо 196 для отходов.

Для некоторых вариантов применения кнопка 185 дополнительно выполнена с возможностью приводить в действие испаритель при ее нажимании. Например, как показано, кнопка 185 может быть выполнена с возможностью нажатия на переключатель 197 при ее нажатии, что может приводить к тому, что схема управления нагревает сетки капсулы с использованием описанных выше способов.

Следует заметить, что варианты применения, описанные со ссылкой на фиг. 13А-С и 14А-С, согласно которым объемная доза растительного материала отбирается из массы растительного материала, могут быть объединены с каким-либо из вариантов применения, описанных выше со ссылкой на какую-либо одну из других фигур, mutatis mutandis (с необходимыми поправками). Например, оптическое определение температуры (например, инфракрасное определение температуры), и/или двухэтапный процесс нагрева, как описано выше, может быть использован с испарителями, показанными на фиг. 13А-С и 14А-С.

Специалистам в данной области должно быть понятно, что настоящее изобретение не ограничено вариантами, конкретно показанными и описанными выше. Напротив, объем настоящего изобретения включает как комбинации, так и субкомбинации описанных выше различных признаков, а также их изменения и модификации, не относящиеся к предшествующему уровню техники, которые могут быть выполнены специалистами после прочтения вышеприведенного описания.

Похожие патенты RU2708220C2

название год авторы номер документа
СПОСОБ ОПРЕДЕЛЕНИЯ ДОЗЫ ИСПАРЯЕМОГО МАТЕРИАЛА (ВАРИАНТЫ) 2015
  • Боуэн, Адам
  • Монсиз, Джеймс
  • Эткинс, Ариэль
  • Ингебретсен, Брэдли
  • Леон Дюк, Эстебан
RU2801277C2
ПЕРСОНАЛЬНОЕ ИСПАРИТЕЛЬНОЕ УСТРОЙСТВО 2021
  • Дэвидсон, Перри
  • Шварц, Биньямин
  • Шор, Аарон
  • Решеф, Нимрод
  • Орен, Эран
  • Кацнельсон, Беэри
RU2768572C1
ПЕРСОНАЛЬНОЕ ИСПАРИТЕЛЬНОЕ УСТРОЙСТВО 2017
  • Дэвидсон, Перри
  • Шварц, Биньямин
  • Шор, Аарон
  • Решеф, Нимрод
  • Орен, Эран
  • Кацнельсон, Беэри
RU2747545C2
КОНТРОЛЬ КАЛИБРОВАННОЙ ДОЗЫ 2015
  • Боуэн, Адам
  • Монсиз, Джеймс
  • Эткинс, Ариэль
  • Ингебретсен, Брэдли
  • Дюк, Эстебан Л.
RU2709926C2
ИСПАРИТЕЛЬНОЕ УСТРОЙСТВО, СПОСОБ И СИСТЕМА ДЛЯ ОБРАТНОГО ЗАРЯДА ИСПАРИТЕЛЬНОГО УСТРОЙСТВА 2019
  • Аткинс, Ариель
  • Белт, Маккензи, Пейдж
  • Чеунг, Брэндон
  • Кристенсен, Стивен
  • Энтелис, Дилан, И.
  • Ломели, Кевин
  • Мэлоун, Мэттью, Дж.
  • О'Мэлли, Клэр
  • Скотт, Зэкари, Т.
  • Шах, Нихир, Б.
RU2815677C2
СИСТЕМА КОНТРОЛЯ ПРЕДОСТАВЛЕНИЯ ПАРА И СПОСОБ 2019
  • Стропхеэр, Ориоль
  • Лидли, Дэйвид
  • Эзеоке, Морис
RU2769183C1
ПЕРСОНАЛЬНОЕ ИСПАРИТЕЛЬНОЕ УСТРОЙСТВО 2017
  • Дэвидсон Перри
  • Шварц Биньямин
  • Шор Аарон
  • Решеф Нимрод
  • Орен Эран
  • Кацнельсон Беэри
RU2732085C2
ИСПАРИТЕЛЬНОЕ УСТРОЙСТВО 2020
  • Аткинс, Ариэль
  • Белт, Маккензи, Пейдж
  • Белисл, Кристофер, Л.
  • Чан, Тсуэй Чоо Лили
  • Чеунг, Брэндон
  • Кристенсен, Стивен
  • Энтелис, Дилан, И.
  • Хаттон, Николас, Дж.
  • Хупай, Александер, М.
  • Джонсон, Эрик, Джозеф
  • Кинг, Джейсон
  • Леон Дюк, Эстебан
  • Ли, Юнчао
  • Лян, Хуэй-Хуэй
  • Ломели, Кевин
  • Мэлоун, Мэттью, Дж.
  • Монсис, Джеймс
  • Нг, Натан, Н.
  • О`Мэлли, Клер
  • Риос, Мэттью
  • Россер, Кристофер Джеймс
  • Скотт, Зэкари Т.
  • Шах, Нихир Б.
  • Стрэттон, Эндрю Дж.
  • Тоэр, Алим
  • Валентайн, Вал
  • Уэзли, Норберт
  • Уэстли, Джеймс П.
  • Инь, Хао
  • Чжан, Сюэхай
  • Чжан, Сюэцин
RU2829269C1
ИСПАРИТЕЛЬ С НАГРЕВОМ БЕЗ ГОРЕНИЯ НА ОСНОВЕ КАРТРИДЖА 2019
  • Боуэн, Адам
  • Джобанпутра, Риши, Д.
  • Монсиз, Джеймс
  • Ньюболд, Эндрю
RU2802990C2
КАРТРИДЖ ДЛЯ ИСПАРИТЕЛЬНОГО УСТРОЙСТВА И ИСПАРИТЕЛЬНОЕ УСТРОЙСТВО 2019
  • Петтитт, Эмили, К.
  • Стрэттон, Эндрю, Дж.
  • Уэстли, Джеймс, П.
RU2804630C2

Иллюстрации к изобретению RU 2 708 220 C2

Реферат патента 2019 года ИСПАРИТЕЛЬ ДЛЯ ИСПАРЕНИЯ АКТИВНОГО ИНГРЕДИЕНТА

Заявленная группа изобретений относится к медицинской технике, а именно к устройству для испарения активного ингредиента растительного материала и способу использования устройства. Устройство включает в себя испаритель, содержащий капсулу, выполненную с возможностью размещения в месте испарения в испарителе и содержащую растительный материал с активным ингредиентом. Испаритель содержит датчик температуры, выполненный с возможностью измерения температуры растительного материала без отбора тепла из капсулы. Испаритель имеет схему управления, выполненную с возможностью обеспечивать испарение активного ингредиента растительного материала за счет нагрева этого растительного материала с первой скоростью нагрева и со второй скоростью нагрева, когда капсула расположена в месте испарения. Схема осуществляет управление нагревом растительного материала с первой скоростью нагрева и со второй скоростью нагрева на основании показаний температуры растительного материала, измеренной датчиком температуры. Вторая скорость нагрева меньше первой скорости нагрева. Первая скорость нагрева приводит к повышению температуры на большую величину, чем вторая скорость нагрева. Способ использования устройства включает размещение капсулы в месте испарения в испарителе. Способ содержит этап использования датчика температуры, измеряющего показания температуры растительного материала, без отбора тепла из капсулы. Способ предусматривает использование схемы управления, испаряющей активный ингредиент растительного материала и управляющей нагревом растительного материала. Техническим результатом является однородный нагрев растительного материала, так что большая часть активного ингредиента в растительном материале испаряется, тогда как пиролиз растительного материала не происходит. 2 н. и 32 з.п. ф-лы, 14 ил.

Формула изобретения RU 2 708 220 C2

1. Устройство для испарения активного ингредиента растительного материала, включающее в себя

испаритель, содержащий:

по меньшей мере одну капсулу, выполненную с возможностью размещения в месте испарения в испарителе и содержащую растительный материал с по меньшей мере одним активным ингредиентом;

датчик температуры, выполненный с возможностью измерения температуры растительного материала без отбора тепла из капсулы, и

схему управления, выполненную с возможностью обеспечивать:

испарение по меньшей мере одного активного ингредиента растительного материала за счет нагрева этого растительного материала с первой скоростью нагрева и со второй скоростью нагрева, когда капсула расположена в месте испарения, и

управление нагревом растительного материала с первой скоростью нагрева и со второй скоростью нагрева на основании показаний температуры растительного материала, измеренной датчиком температуры, при этом вторая скорость нагрева меньше первой скорости нагрева, причем первая скорость нагрева приводит к повышению температуры на большую величину, чем вторая скорость нагрева.

2. Устройство по п. 1, в котором растительный материал содержит табак.

3. Устройство по п. 1, в котором растительный материал содержит каннабис.

4. Устройство по п. 1, дополнительно содержащее материал с фазовым переходом, который связан с капсулой, при этом материал с фазовым переходом выполнен с возможностью претерпевать фазовый переход при температуре, которая ниже температуры пиролиза растительного материала.

5. Устройство по п. 1, в котором датчик температуры является оптическим.

6. Устройство по п. 1, в котором датчик температуры является инфракрасным.

7. Устройство по п. 1, в котором схема управления выполнена с возможностью:

обнаружения того, что пользователь выполняет вдох из испарителя, на основе показаний температуры растительного материала, измеряемой датчиком температуры, и

управления нагревом растительного материала в ответ на это обнаружение.

8. Устройство по п. 1, в котором в испарителе образованы по меньшей мере первое и второе гнезда, а испаритель содержит:

множество капсул, каждая из которых содержит растительный материал с активным ингредиентом, при этом каждое из первого и второго гнезд выполнено с возможностью вмещения множества капсул в пакетной конфигурации, и

механизм переноса капсулы, выполненный с возможностью переноса по отдельности каждой из капсул из первого гнезда в место испарения и из места испарения во второе гнездо.

9. Устройство по п. 1, в котором схема управления выполнена с возможностью:

получения первого входного сигнала;

в ответ на получение первого входного сигнала нагрева растительного материала с первой скоростью на первом этапе нагрева;

в ответ на получение от датчика температуры показаний того, что температура растительного материала соответствует первой температуре, окончания первого этапа нагрева за счет приостановки действия фактора, обуславливающего дальнейшее повышение температуры растительного материала, при этом первая температура составляет менее 95% от температуры испарения активного ингредиента;

последующего получения второго входного сигнала в испарителе, и

в ответ на получение второго входного сигнала, приведения в действие нагревательного элемента для нагрева растительного материала до температуры испарения активного ингредиента со второй скоростью нагрева, которая меньше, чем первая скорость нагрева, на втором этапе нагрева.

10. Устройство по любому из пп. 1-9, в котором схема управления выполнена с возможностью:

определения скорости потока воздуха через капсулу на основе показаний температуры растительного материала, измеряемой датчиком температуры, и

управления нагревом растительного материала в ответ на определенный поток воздуха.

11. Устройство по п. 10, в котором схема управления выполнена с возможностью определения скорости потока воздуха через капсулу путем определения количества энергии, необходимой для поддержания температуры растительного материала постоянной.

12. Устройство по п. 10, в котором схема управления выполнена с возможностью понижения температуры растительного материала до температуры, меньшей температуры испарения активного ингредиента растительного материала, в ответ на получение показания того, что воздух из испарителя не вдыхают в течение определенного периода времени.

13. Устройство по любому из пп. 1-9, в котором:

по меньшей мере одна капсула содержит верхнюю и нижнюю сетки, при этом капсула выполнена с возможностью заключения растительного материала между верхней и нижней сетками, и

схема управления выполнена с возможностью нагрева растительного материала за счет нагрева по меньшей мере одной из сеток.

14. Устройство по п. 13, в котором по меньшей мере одна капсула выполнена с возможностью размещения в месте испарения таким образом, что плоскости, образованные верхней и нижней сетками, перпендикулярны направлению потока воздуха через испаритель в месте испарения.

15. Устройство по п. 13, в котором испаритель дополнительно содержит по меньшей мере один электрод, выполненный с возможностью контакта по меньшей мере с одной из сеток, в то время как капсула расположена в месте испарения, при этом схема управления выполнена с возможностью нагрева по меньшей мере одной из сеток за счет резистивного нагрева, путем пропускания тока по меньшей мере через одну из сеток с помощью по меньшей мере одного электрода.

16. Устройство по п. 13, в котором испаритель дополнительно содержит нагревательный элемент, заключенный внутри испарителя в непосредственной близости к месту испарения, а схема управления выполнена с возможностью нагрева по меньшей мере одной из сеток за счет теплопроводности, путем нагрева нагревательного элемента.

17. Устройство по п. 13, в котором датчик температуры выполнен с возможностью определения показаний температуры растительного материала за счет определения электрического сопротивления по меньшей мере одной сетки.

18. Способ использования устройства для испарения активного ингредиента растительного материала испарителя, включающий:

размещение по меньшей мере одной капсулы в месте испарения в испарителе, причем капсула содержит растительный материал, содержащий по меньшей мере один активный ингредиент;

использование датчика температуры, измеряющего показания температуры растительного материала, без отбора тепла из капсулы, и

использование схемы управления:

испаряющей по меньшей мере один активный ингредиент растительного материала за счет нагрева растительного материала с первой скоростью нагрева и со второй скоростью нагрева, в то время как капсула расположена в месте испарения, и

управляющей нагревом растительного материала с первой скоростью нагрева и со второй скоростью нагрева на основании показаний температуры растительного материала, измеренной датчиком температуры, при этом вторая скорость нагрева меньше первой скорости нагрева, причем первая скорость нагрева приводит к повышению температуры на большую величину, чем вторая скорость нагрева.

19. Способ по п. 18, в котором размещение по меньшей мере одной капсулы в месте испарения включает в себя размещение по меньшей мере одной капсулы в месте испарения, причем растительный материал капсулы содержит табак.

20. Способ по п. 18, в котором размещение по меньшей мере одной капсулы в месте испарения включает в себя размещение по меньшей мере одной капсулы в месте испарения, причем растительный материал капсулы содержит каннабис.

21. Способ по п. 18, в котором размещение по меньшей мере одной капсулы в месте испарения включает в себя размещение по меньшей мере одной капсулы в месте испарения, при этом материал с фазовым переходом связан с капсулой, причем материал с фазовым переходом способен претерпевать фазовый переход при температуре, которая ниже температуры пиролиза растительного материала.

22. Способ по п. 18, в котором измерение показаний температуры растительного материала без отбора тепла из капсулы включает в себя измерение показаний температуры растительного материала без отбора тепла из капсулы с использованием оптического датчика температуры.

23. Способ по п. 18, в котором измерение показаний температуры растительного материала без отбора тепла из капсулы включает в себя измерение показаний температуры растительного материала без отбора тепла из капсулы с использованием инфракрасного датчика температуры.

24. Способ по п. 18, в котором управление нагревом растительного материала на основе показаний температуры растительного материала, измеренной датчиком температуры, включает в себя, при использовании схемы управления:

обнаружение того, что пользователь выполняет вдох из испарителя, на основе показаний температуры растительного материала, измеряемой датчиком температуры, и

управление нагревом растительного материала в ответ на них.

25. Способ по п. 18, в котором в испарителе образованы по меньшей мере первое и второе гнезда, каждое из которых выполнено с возможностью вмещения множества капсул в пакетной конфигурации, а

размещение капсулы в месте испарения включает в себя использование механизма переноса капсулы, перемещающего по отдельности капсулу из первого гнезда в место испарения и из места испарения во второе гнездо.

26. Способ по п. 18, в котором управление нагревом растительного материала на основе показаний температуры растительного материала, измеренной датчиком температуры, включает в себя, при использовании схемы управления:

получение первого входного сигнала;

в ответ на получение первого входного сигнала нагревание растительного материала с первой скоростью нагрева на первом этапе нагрева;

в ответ на получение от датчика температуры показаний того, что температура растительного материала соответствует первой температуре, окончание первого этапа нагрева за счет приостановки действия фактора, обуславливающего дальнейшее повышение температуры растительного материала, при этом первая температура составляет менее 95% от температуры испарения активного ингредиента;

последующего получения второго входного сигнала в испарителе, и

в ответ на получение второго входного сигнала, нагревание растительного материала до температуры испарения активного ингредиента со второй скоростью нагрева, которая меньше, чем первая скорость нагрева, на втором этапе нагрева.

27. Способ по любому из пп. 18-26, в котором управление нагревом растительного материала на основе показаний температуры растительного материала, измеренной датчиком температуры, включает в себя, при использовании схемы управления:

определение скорости потока воздуха через капсулу на основе показаний температуры растительного материала, измеряемой датчиком температуры, и

управление нагревом растительного материала в ответ на определенный поток воздуха.

28. Способ по п. 27, в котором определение скорости потока воздуха через капсулу включает в себя определение показателя количества энергии, необходимой для поддержания температуры растительного материала постоянной.

29. Способ по п. 27, дополнительно включающий, при использовании схемы управления, понижение температуры растительного материала до температуры, меньшей температуры испарения активного ингредиента растительного материала, в ответ на получение показания того, что воздух из испарителя не вдыхают в течение определенного периода времени.

30. Способ по любому из пп. 18-26, в котором

размещение по меньшей мере одной капсулы в месте испарения включает в себя размещение в месте испарения по меньшей мере одной капсулы, которая содержит верхнюю и нижнюю сетки, между которыми расположен растительный материал, а

нагрев растительного материала включает в себя нагрев по меньшей мере одной из сеток.

31. Способ по п. 30, в котором по меньшей мере одну капсулу в месте испарения размещают таким образом, что плоскости, образованные верхней и нижней сетками, перпендикулярны направлению потока воздуха через испаритель в месте испарения.

32. Способ по п. 30, в котором нагрев по меньшей мере одной из сеток осуществляют за счет резистивного нагрева путем пропускания тока по меньшей мере через одну из сеток с помощью по меньшей мере одного электрода.

33. Способ по п. 30, в котором нагрев по меньшей мере одной из сеток осуществляют за счет теплопроводности путем нагрева нагревательного элемента, расположенного внутри испарителя в непосредственной близости от места испарения.

34. Способ по п. 30, в котором измерение показаний температуры растительного материала без отбора тепла из капсулы включает в себя измерение показаний температуры растительного материала без отбора тепла из капсулы путем определения электрического сопротивления по меньшей мере одной сетки.

Документы, цитированные в отчете о поиске Патент 2019 года RU2708220C2

US20140321837 A1, 30.10.2014
US20130255702 A1, 03.10.2013
US8714150 B2, 06.05.2014
US20130276799 A1, 24.10.2013
СИСТЕМА ГЕНЕРИРОВАНИЯ НИКОТИНОВОГО АЭРОЗОЛЯ НА ОСНОВЕ ТАБАКА 2010
  • Роуз Сет Д.
  • Тернер Джеймс Эдвард
  • Муругесан Тангараю
  • Роуз Джед Е.
RU2536115C2

RU 2 708 220 C2

Авторы

Райхман, Йосеф

Даты

2019-12-04Публикация

2016-03-17Подача