ОБЛАСТЬ ПРИМЕНЕНИЯ ИЗОБРЕТЕНИЯ
Настоящее описание изобретения относится к композициям для ухода или укладки волос.
ПРЕДПОСЫЛКИ СОЗДАНИЯ ИЗОБРЕТЕНИЯ
Силиконы, которые представляют собой класс полимеров с химической структурой, основанной на цепочках атомов кремния и кислорода, расположенных в перемежающемся порядке, с органическими группами, присоединенными к атомам кремния, являются полезными и универсальными косметическими ингредиентами. Они варьируются по вязкости от летучих жидкостей до твердых паст и используются в качестве мягчительных средств, придающих уникальные органолептические свойства, кондиционеров для волос, эмульгаторов и для поверхностной обработки пигментов. Силоксаны - это функциональные группы, которые имеют молекулярную структуру, основанную на цепочке атомов кремния и кислорода, расположенных в перемежающемся порядке, особенно (как в силиконе) с органическими группами, присоединенными к атомам кремния. Циклические силоксаны (циклосилоксаны) являются основными членами широкого семейства силиконовых материалов. Все силиконовые материалы имеют общую химию, но каждое вещество отличается своими свойствами и вариантами применения.
Среди большого семейства силоксанов циклометикон представляет собой родовое название циклического силоксана с общим составом (CH3)2nOnSin, где n=3-7. Примеры включают D4 (n=4, INCI: циклотетрасилоксан); D5 (n=5, INCI: циклопентасилоксан); и D6 (n=6; INCI: циклогексасилоксан).
Общим знаменателем для циклосилоксанов является то, что они содержат повторяющиеся единицы атомов кремния (Si) и кислорода (О) в замкнутом цикле, что придает им «циклическую» структуру. Это также придает циклосилокеанам уникальные свойства как гибридных неоргано-органических веществ. D4, D5 и D6, которые содержат 4, 5 и 6 повторяющихся единиц соответственно (см. Фиг. 1а-1с), представляют собой три основных циклосилоксана, используемые в промышленном производстве.
Каждый из D4, D5 и D6 представляет собой жидкости без запаха и цвета, которые в основном используются в качестве промежуточного или основного сырьевого материала при производстве силиконовых каучуков, гелей и смол. При использовании в качестве промежуточного продукта в процессе производства практически все D4, D5 и D6 расходуются, и лишь незначительное количество остается в конечных продуктах.
По существу, силоксаны хорошо переносятся человеческим организмом. Однако степень полимеризации, формат полимера (линейный или циклический) и молекулярная масса могут влиять на токсичность этой группы химических веществ.
Эти ингредиенты имеют широкое применение в косметических продуктах, таких как мягчитель, увлажнитель, растворитель, средство для контроля вязкости и кондиционер для волос.
Однако возникли опасения по поводу их токсичности и воздействия на окружающую среду.
В оценке, опубликованной в 2016 году (SCCS/1549/15), Научный комитет по безопасности потребителей (SCCS), независимый научный комитет, который предоставляет Европейской комиссии научные рекомендации, рекомендовал максимально снизить количество примесей D4 и D5.
В настоящее время требуется, чтобы концентрация D4, D5 и D6 в некоторых косметических продуктах, поставляемых на европейский рынок, составляла менее 0,1% по массе.
В опубликованной заявке на патент США №20180303744 компании Covestro Deutschland AG описывается применение косметической композиции, содержащей вододиспергируемый полиуретан, для ухода за волосами человека.
В опубликованной заявке на патент США №20150297485 компании Evonik Industries AG описывается композиция, содержащая по меньшей мере один продукт этерификации по меньшей мере одного полигидрического спирта и по меньшей мере одной жирной кислоты. В упоминаемом материале описывается, что композиция, которая легко пенится и является структурированной, имеет высокую долю масла. IN295649B компании BASF SE описывает косметические составы, включающие сополимеры, содержащие N-винилпирролидон и гидрофобно модифицированное производное акриловой кислоты.
В опубликованной заявке на патент США №2010047296 компании Henkel AG & Co. KGaA описываются косметические или дерматологические стик-композиции на основе дисперсии/эмульсии типа «масло в воде».
Патент США №10,555,893 компании L'Oreal описывает не требующую смывания композицию для укладки волос, включающую пчелиный воск; глюкозидные эмульгаторы; эфирные масла и/или эмульгирующие эфиры; воду; мономерные полиолы; и одну или более жирных кислот и/или жирных спиртов.
Публикация Smooth closer: The latest in silicones and silicone alternatives, Sep.4, 2019, https://www.cosmeticsbusiness.com/news/article_page/Smooth_closer_The_latest_in_silicon_es_and_silicone_alternatives/157719 описывает силиконы или альтернативы силиконам для использования в средствах личной гигиены. В упоминаемом материале описано, что продукты компании BASF Cetiol С5 (INCI: коко-каприлат), Cetiol СС (INCI: дикаприлкарбонат) и Cetiol Ultimate (INCI: ундекан, тридекан) представляют собой потенциальные мягчители, которые можно использовать. В упоминаемом материале также описано, что можно использовать диметикон.
Существует потребность в альтернативах D4, D5 и D6, которые бы имели низкую стоимость; оставались стабильным при комнатной температуре; и обеспечивали хорошие эксплуатационные характеристики.
ИЗЛОЖЕНИЕ СУЩНОСТИ ИЗОБРЕТЕНИЯ
Целью настоящего изобретения является обеспечение не требующей смывания композиции для волос, которая увлажняет волосы и кожу головы.
Другой целью настоящего изобретения является обеспечение не требующей смывания композиции для волос, которая предотвращает повреждение волос поверхностно-активными веществами, такими как лаурилсульфат натрия, присутствующими в большинстве шампуней.
Дополнительной целью настоящего изобретения является обеспечение не требующей смывания композиции для волос, которая способствует поддержанию здорового состояния кожи головы в промежутках между мытьем шампунем.
Еще одной дополнительной целью настоящего изобретения является обеспечение не требующей смывания композиции для волос, которая увлажняет волосы и кожу головы.
Дополнительной целью настоящего изобретения является обеспечение не требующей смывания композиции для волос, которая способствует таким свойствам, как, без ограничений, контроль пушения; устойчивость к ломкости; блеск; объем; уменьшение секущихся кончиков; и четкость контура завитка.
Для достижения вышеуказанных и смежных целей настоящее изобретение воплощено в сопроводительном описании. Предполагается, что вариации являются частью настоящего изобретения и ограничиваются только объемом формулы изобретения.
Настоящее изобретение представляет собой композицию для волос, которая используется для питания волос и содержит смесь нециклических силиконовых и несиликоновых ингредиентов. Композиция для волос позволяет сделать волосы гладкими и послушными, но при этом не слишком липкими при нанесении в качестве не требующего смывания средства. Композиция, не содержащая циклических силиконов, таких как силиконы D4, D5 и D6, демонстрирует превосходные преимущества для волос по сравнению с композициями для волос, содержащими летучие силиконы.
КРАТКОЕ ОПИСАНИЕ ГРАФИЧЕСКИХ МАТЕРИАЛОВ
На Фиг. 1а-1с показана химическая структура D4 (Фиг. 1a), D5 (Фиг. 1b) и D6 (Фиг. 1с) соответственно.
На Фиг. 2 представлен график, на котором показан уровень увлажнения кожи головы, оцененный с помощью DermaLab.
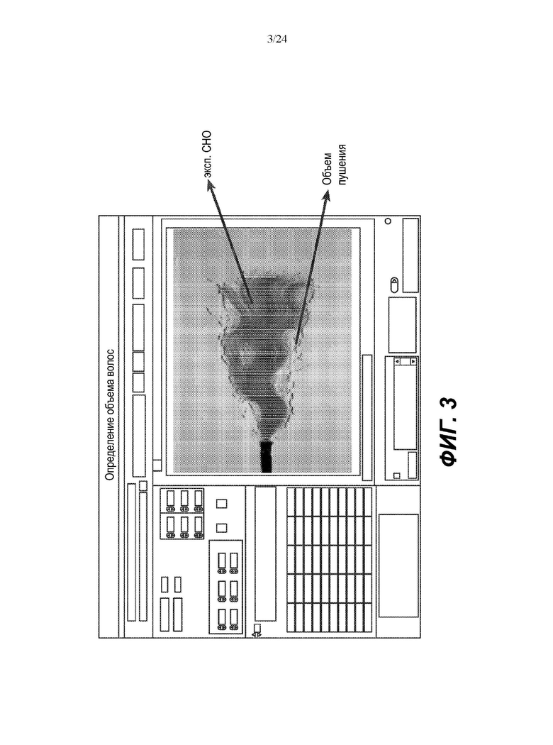
На Фиг. 3 представлено изображение, демонстрирующее визуализацию объема/объема пушения.
На Фиг. 4 представлена фотография, показывающая податливость с помощью испытательной машины Zwick Roell, г. Кеннесо, штат Джорджия, США.
На Фиг. 5а представлен график, на котором показана органолептическая оценка влажных волос со средним осветлением представителей европеоидной расы.
На Фиг. 5b представлен график, на котором показана органолептическая оценка сухих волос со средним осветлением представителей европеоидной расы.
На Фиг. 6а представлен график, на котором показана органолептическая оценка влажных вьющихся волос бразильского типа.
На Фиг. 6b представлен график, на котором показана органолептическая оценка сухих вьющихся волос бразильского типа.
На Фиг. 7 представлен график, на котором показано процентное изменение блеска при сравнении композиции легкого масла в соответствии с настоящим изобретением и эталонного легкого масла в разные моменты времени.
На Фиг. 8 представлена фотография, которая демонстрирует сравнение визуального блеска при использовании композиции легкого масла в соответствии с настоящим изобретением и эталонного легкого масла через 24 часа.
На Фиг. 9 представлен график, который показывает сравнение объема пушения при использовании композиции легкого масла в соответствии с настоящим изобретением и эталонного легкого масла при различных условиях нанесения.
На Фиг. 10 представлена фотография, которая демонстрирует сравнение прядей волос при использовании композиции легкого масла в соответствии с настоящим изобретением и эталонного легкого масла.
На Фиг. 11 представлен график, который показывает Fmax (максимальное усилие) и Fmean (среднее усилие) для вытягивания прядей волос с использованием испытательной машины Zwick при сравнении композиции легкого масла в соответствии с настоящим изобретением и эталонного легкого масла.
На Фиг. 12 представлен график, который показывает сравнительную ломкость волос [%] при использовании композиции легкого масла в соответствии с настоящим изобретением и эталонного легкого масла.
На Фиг. 13 представлены изображения, которые демонстрируют секущиеся кончики волос, обработанных композицией легкого масла в соответствии с настоящим изобретением и эталонным легким маслом при различном увеличении.
На Фиг. 14а и 14b представлены изображения, которые демонстрируют визуальное сравнение черных волос, обработанных композицией сыворотки в соответствии с настоящим изобретением, с эталонной сывороткой (Фиг. 14а) и композицией проникающего масла в соответствии с настоящим изобретением в сравнении с эталонным проникающим маслом (Фиг. 14b).
На Фиг. 15а-15d представлены изображения, которые демонстрируют визуальное сравнение пушистых волос, обработанных композицией сыворотки в соответствии с настоящим изобретением, с эталонной сывороткой и композицией проникающего масла в соответствии с настоящим изобретением в сравнении с эталонным проникающим маслом при Т=0 (Фиг. 15а); Т=4 часа (Фиг. 15b); Т=8 часов (Фиг. 15с); и Т=24 часа (Фиг. 15d).
На Фиг. 16 представлен график, который показывает значения расчесывания для эталонного проникающего масла, композиции проникающего масла в соответствии с настоящим изобретением, эталонной сыворотки и композиции сыворотки в соответствии с настоящим изобретением при измерении с помощью прибора для испытания на растяжение Instron.
На Фиг. 17 представлен график, который показывает значения устойчивости к ломкости (оцениваемые по выпадению волос) для необработанных волос, волос, обработанных композицией сыворотки в соответствии с настоящим изобретением, эталонной сывороткой, композицией проникающего масла в соответствии с настоящим изобретением и эталонным проникающим маслом.
На Фиг. 18а и 18b представлены изображения, которые демонстрируют волосы, обработанные композицией проникающего масла в соответствии с настоящим изобретением в сравнении с эталонным проникающим маслом (Фиг. 18А) и сывороткой в соответствии с настоящим изобретением в сравнении с эталонной сывороткой (Фиг. 18b), после расчесывания.
На Фиг. 19 представлен график, который показывает значения блеска для эталонного проникающего масла, композиции проникающего масла в соответствии с настоящим изобретением, эталонной сыворотки и композиции сыворотки в соответствии с настоящим изобретением.
На Фиг. 20а и Фиг. 20b представлены изображения, которые демонстрируют ниспадающий объем для эталонного проникающего масла, композиции проникающего масла в соответствии с настоящим изобретением, эталонной сыворотки и композиции сыворотки в соответствии с настоящим изобретением.
На Фиг. 21а и Фиг. 21b представлены графики, которые показывают коэффициент трения (CoF) для эталонного проникающего масла, композиции проникающего масла в соответствии с настоящим изобретением, эталонной сыворотки и композиции сыворотки в соответствии с настоящим изобретением по направлению кутикулы (Фиг. 21а) и против кутикулы (Фиг. 21b).
ПОДРОБНОЕ ОПИСАНИЕ ИЗОБРЕТЕНИЯ
Оценивали способность нециклических силиконовых и несиликоновых масел соответствовать или превосходить по свойствам D4, D5 и/или D6 в композициях по уходу за волосами.
ОПРЕДЕЛЕНИЯ
ПРОДУКЦИЯ
С точки зрения пользы для волос, не требующие смывания композиции для ухода за волосами в соответствии с настоящим изобретением схожи (т.е. все придают блеск, увлажняют и т.д.); основная разница между перечисленными ниже форматами продукции заключается в вязкости и процессе нанесения.
Масла для волос
Масла для волос смазывают волосы и могут проникать в кутикулу, вызывая изменения в структуре волос за счет добавления жирных кислот, заменяющих липиды в волосах. Масла для волос можно применять на различных этапах процесса ухода за волосами, в том числе во время сушки феном или с использованием диффузора, в качестве ночного ухода и даже перед мытьем в качестве ополаскивающего средства.
• Легкое масло более жидкое и обычно используется в бутылке с распылителем. Легкие масла практически не проникают в волосы.
• Проникающее масло более вязко по сравнению с легким маслом и обычно не распыляется. Проникающие масла обладают высокой проникающей способностью.
Сыворотка для волос
Сыворотки для волос, как правило, лучше всего работают, когда их наносят на влажные волосы. Сыворотки действуют путем запечатывания кутикулы и слияния с волокнами волос, создавая прочный защитный слой.
• Сыворотка является более вязкой, чем легкое масло, и не распыляется. Сыворотки, которые наносятся снаружи кутикулы, обычно не проникают в волосы.
Вязкость влияет на восприятие потребителя, и для достижения этого необходимо различное сочетание ингредиентов для каждого формата продукта.
ИНГРЕДИЕНТЫ
Приведенные ниже ингредиенты, содержащие кремний (Si), являются нециклическими силиконовыми ингредиентами, а приведенные ниже ингредиенты, не содержащие кремний, являются несиликоновыми ингредиентами.
С12-15 алкилбензоат представляет собой сложный эфир смеси первичных и разветвленных спиртов С12-С15 и бензойной кислоты.
Коко-каприлат-капрат представляет собой сложный эфир каприловой/каприновой кислоты насыщенного жирного спирта C12-18.
Диметикон представляет собой линейный силиконовый полимер, имеющий молекулярную формулу C8H24O2Si3.
Изододецен представляет собой ациклический алкан, имеющий молекулярную формулу C12H26.
Изопропилмиристат представляет собой сложный эфир изопропилового спирта и миристиновой кислоты, имеющей молекулярную формулу С17Н34О2.
Октилдодеканол представляет собой длинноцепочечный жирный спирт, имеющий молекулярную формулу С20Н42О.
Пропилгептилкаприлат представляет собой линейный алкиловый сложный эфир, имеющий молекулярную формулу С18Н36О2.
Дополнительные нециклические силиконовые ингредиенты, которые могут быть использованы, и их свойства описаны в патенте США№10,105,292 компании L'Oreal, содержание которого включено в настоящий документ посредством ссылки. В упоминаемом документе описано, что эти ингредиенты имеют следующие свойства:
• Молекулярная масса от 500 до 100000 г/моль; вязкость при 25°С в диапазоне от 4 до 5000 мм2/с, более предпочтительно от 4 до 1000 мм2/с и еще более предпочтительно от 4 до 200 мм2/с. В упоминаемом документе описано, что для измерения молекулярной массы можно использовать метод «определения кинематической вязкости при 25°С сырого продукта CID-012-01» или «измерения вязкости вискозиметром Уббелоде при 25°С DIN 51562-1 PVO4001».
• Коэффициент преломления более 1,3 и особенно менее 1,6.
• Общая формула (I) ниже:
         
      
где: R1, который может быть идентичным или отличающимся, представляет собой: i) линейную или разветвленную (C1-C20) алкильную группу, в частности линейную или разветвленную C1-C6 группу, такую как метил, этил, пропил или бутил; или ii) гидроксильную группу; R2, представляет собой: i) линейную или разветвленную (С1-С20) алкильную группу, необязательно прерванную и/или заканчивающуюся гетероатомом, таким как О, s или N; в частности, i) представляет собой линейную или разветвленную C1-C6 алкильную группу, такую как метил, этил, пропил или бутил; ii) группу (С1-С9) (поли)галогеналкила, в частности перфторалкила, содержащего от 1 до 9 атомов галогена, в частности фтора, такого как трифторметил; и iii) полисилоксановую группу --О- [Si(R1)2--O]n'-Si(R)1)3, где R1 соответствует определенному ранее; R'1 представляет собой радикал R1 или R2, как определено ранее; m представляет собой целое число от 0 до 150 включительно и предпочтительно от 20 до 100; n и n', которые могут быть идентичными или разными, представляют собой целое число от 1 до 300 включительно и предпочтительно от 1 до 100.
Предпочтительно, нециклический (-ие) силиконовый (-ые) ингредиент(-ы) в соответствии с настоящим изобретением присутствует (-ют) в количестве от около 10% до около 98% по массе относительно общей массы композиции.
Предпочтительно, нециклический (-ие) силиконовый (-ые) ингредиент(-ы) в соответствии с настоящим изобретением присутствует (-ют) в не требующей смывания композиции легкого масла для волос в количестве от около 10% до около 25%, более предпочтительно около 12%, по массе относительно общей массы не требующей смывания композиции легкого масла для волос.
Предпочтительно, нециклический (-ие) силиконовый (-ые) ингредиент(-ы) в соответствии с настоящим изобретением присутствует (-ют) в не требующей смывания композиции проникающего масла для волос в количестве от около 30% до около 80%, более предпочтительно около 75%, по массе относительно общей массы не требующей смывания композиции проникающего масла для волос.
Предпочтительно, нециклический (-ие) силиконовый (-ые) ингредиент(-ы) в соответствии с настоящим изобретением присутствует (-ют) в количестве от около 85% до около 99,5%, более предпочтительно около 95%, по массе относительно общей массы не требующей смывания композиции проникающего масла для волос.
Дополнительные несиликоновые ингредиенты, которые могут быть использованы, и их свойства описаны в патенте США №10,105,292 компании L'Oreal, содержание которого включено в настоящий документ посредством ссылки. В упоминаемом документе описано, что эти ингредиенты:
• могут быть изготовлены из углеводородных масел растительного происхождения, таких как триглицеридные сложные эфиры, которые обычно являются триэфирами жирных кислот глицерина, жирные кислоты которых могут иметь длину цепи от С4 до С24, причем цепи могут быть линейными или разветвленными, насыщенными или ненасыщенными; при этом масла включают в себя масло зародышей пшеницы, подсолнечное масло, виноградное масло, кунжутное масло, кукурузное масло, абрикосовое масло, касторовое масло, масло ши, масло авокадо, оливковое масло, соевое масло, масло сладкого миндаля, пальмовое масло, рапсовое масло, хлопковое масло, масло лесного ореха, масло макадамии, масло жожоба, люцерновое масло, маковое масло, тыквенное масло, масло косточки, масло черной смородины, масло примулы вечерней, просяное масло, масло ячменя, масло киноа, масло ржи, сафлоровое масло, масло лумбанга, масло пассифлоры и масло мускусной розы; или триглицериды каприловой/каприновой кислоты, такие как продаваемые компанией Stearineries Dubois или продаваемые под названиями Miglyol 810, 812 и 818 компанией Dynamit Nobel, (ii) синтетические эфиры, содержащие от 10 до 40 атомов углерода; (iii) линейные или разветвленные углеводороды минерального или синтетического происхождения, такие как вазелин, полидецены, гидрогенизированный полиизобутен, например Parleam, сквалан и их смеси; (iv) синтетические сложные эфиры, например масла формулы RCOOR', где R представляет собой линейный или разветвленный остаток жирной кислоты, содержащий от 1 до 40 атомов углерода, a R' представляет собой углеводородную цепь, особенно разветвленную, содержащую от 1 до 40 атомов углерода, при условии, что R+R'≥10, например масло пурцеллина (цетостеарил октаноат), изопропил миристат, изопропил пальмитат, С12-С15 алкил бензоат, например продукт, продаваемый под торговым названием Finsolv TN или Witconol TN компанией Witco или Tegosoft TN от компании Evonik Goldschmidt, 2-этилфенилбензоат, например коммерческий продукт, продаваемый под названием X-Tend 226 компанией ISP, изопропилланолат, гексиллаурат, диизопропиладипат, изононилизононаноат, олеилэрукат, 2-этилгексилпальмитат, изостеарилизостеарат, спиртовые или полиспиртовые октаноаты, деканоаты или рицинолеаты, например пропиленгликольдиоктаноат; гидроксилированные сложные эфиры, например изостеариллактат, диизостеарилмалат; и пентаэритритоловые сложные эфиры; цитраты или тартраты, например линейные С12-С13диалкилтартраты, такие как продаваемые под названием Cosmacol ETI компанией Enichem Augusta Industriale, а также линейные С14-С15 диалкилтартраты, такие как продаваемые под названием Cosmacol ETL от той же компании; ацетаты; (v) жирные спирты, которые являются жидкими при комнатной температуре, содержащие разветвленную и/или ненасыщенную углеродную цепь, состоящую из 12 26 атомов углерода, например октилдодеканол, изостеариловый спирт, олеиловый спирт, 2-гексилдеканол, 2-бутилоктанол или 2-ундецилпентадеканол; (vi) высшие жирные кислоты, такие как олеиновая, линолевая кислота или линоленовая кислота; (vii) карбонаты, такие как дикаприлилкарбонат, например продукт, продаваемый под названием Cetiol СС компании Cognis; (viii) жирные амиды, например изопропил-N-лауроилсаркозинат, например продукт, продаваемый под торговым названием Eldew SL205 компанией Ajinomoto; и их смеси.
Предпочтительно, несиликоновый (-ые) ингредиент(-ы) в соответствии с настоящим изобретением присутствует (-ют) в количестве от около 2% до около 90% по массе относительно общей массы композиции.
Предпочтительно, несиликоновые ингредиенты в соответствии с настоящим изобретением присутствуют в не требующей смывания композиции легкого масла для волос в количестве от около 75% до около 90%, более предпочтительно около 88%, по массе относительно общей массы композиции.
Предпочтительно, несиликоновые ингредиенты в соответствии с настоящим изобретением присутствуют в не требующей смывания композиции проникающего масла для волос в количестве от около 20% до около 70%, более предпочтительно около 25%, по массе относительно общей массы композиции.
Предпочтительно, несиликоновые ингредиенты в соответствии с настоящим изобретением присутствуют в количестве от около 0,5% до около 15%, более предпочтительно около 5%, по массе относительно общей массы композиции.
ТЕХНИЧЕСКИЕ ТЕРМИНЫ
Кинематическая вязкость представляет собой меру внутреннего сопротивления жидкости течению под действием гравитационных сил.
Прочность на разрыв - это способность материала сопротивляться разлому/разрыву.
При испытании на растяжение к материалу прикладывается растягивающее (тянущее) усилие и измеряется реакция образца на напряжение. При этом испытания на растяжение определяют, насколько прочен материал и насколько он может растягиваться.
Вискозиметр типа Уббелоде или вискозиметр с подвешенным уровнем - это измерительный прибор, использующий капиллярный метод измерения вязкости. Преимущество этого прибора заключается в том, что полученные значения не зависят от общего объема.
СТАТИСТИЧЕСКИЕ СПОСОБЫ
Парный t-критерий Стьюдента состоит из выборки подобранных пар одинаковых единиц или одной группы единиц, которые были протестированы дважды.
Критерий Шапиро - Уилка представляет собой критерий нормальности в статистике частотности. Критерии нормальности используются для определения того, хорошо ли набор данных моделируется нормальным распределением, а также для вычисления вероятности того, что случайная переменная, лежащая в основе набора данных, имеет нормальное распределение.
Критерий Тьюки - это одноэтапная процедура множественного сравнения и статистический тест. Его можно использовать для поиска средних значений, которые значительно отличаются друг от друга.
Критерий знаковых рангов Уилкоксона - непараметрический статистический критерий гипотез, используемый для сравнения двух связанных выборок, подобранных выборок или повторных измерений на одной выборке, чтобы оценить, отличаются ли их средние популяционные ранги.
ПРИМЕРЫ
Были разработаны не требующие смывания композиции для волос, которые не содержат прямых добавок циклических силиконов, таких как циклотетрасилоксан (D4), циклопентасилоксан (D5) и циклогексасилоксан (D6). Композиции соответствуют ожиданиям потребителей в отношении эстетики; экономически эффективны; и отвечают глобальным требованиям соответствия.
Были проанализированы следующие форматы продуктов:
1) легкое масло
2) проникающее масло
3) сыворотка
Прототипы каждого формата продукта с приемлемым внешним видом, соответствующим эталонам, были дополнительно оценены в соответствии с нижеследующим:
         1-недельная стабильность при 5°°С и 60° при комнатной температуре (КТ);
 1-недельная стабильность при 5°°С и 60° при комнатной температуре (КТ);
         внешний вид (физические условия, например цвет, запаха, форма) через 24 часа (ч) и 1 неделю;
 внешний вид (физические условия, например цвет, запаха, форма) через 24 часа (ч) и 1 неделю;
         смазывание (измеренное путем влажного и сухого расчесывания прядей); и
 смазывание (измеренное путем влажного и сухого расчесывания прядей); и
         стоимость.
 стоимость.
Были выбраны конечные прототипы и проведены следующие испытания:
• Стабильность в соответствии с приведенными ниже требованиями:
         3 месяца при 5°С±3°С: использовали в качестве контроля для сравнения внешнего вида (физических условий, например цвета, запаха, формы);
3 месяца при 5°С±3°С: использовали в качестве контроля для сравнения внешнего вида (физических условий, например цвета, запаха, формы);
         3 месяца при 25°С±2°С/60%±5% ОВ (физические условия, начальные и через 3 месяца);
 3 месяца при 25°С±2°С/60%±5% ОВ (физические условия, начальные и через 3 месяца);
         3 месяца и 6 месяцев при 40°С±2°С/75%±5% ОВ (физические условия через 1, 3 и 6 месяцев);
 3 месяца и 6 месяцев при 40°С±2°С/75%±5% ОВ (физические условия через 1, 3 и 6 месяцев);
         1 месяц при 50°С (физические условия через 1 месяц).
1 месяц при 50°С (физические условия через 1 месяц).
• Испытания in vitro
         Контроль пушения (текстурированные волосы и волосы представителей европеоидной расы) при высокой влажности
 Контроль пушения (текстурированные волосы и волосы представителей европеоидной расы) при высокой влажности
         Результаты: изображения через 0 ч, 4 ч, 8 ч и 24 ч
 Результаты: изображения через 0 ч, 4 ч, 8 ч и 24 ч
         Расчесывание (влажное и сухое)
 Расчесывание (влажное и сухое)
         Результаты: графики, показывающие процентное снижение общей работы до и после обработки
 Результаты: графики, показывающие процентное снижение общей работы до и после обработки
         Устойчивость к ломкости, вызванной расчесыванием и укладкой (тест на прочность)
 Устойчивость к ломкости, вызванной расчесыванием и укладкой (тест на прочность)
         Результаты: графики, показывающие процентное снижение общей ломкости до и после обработки
 Результаты: графики, показывающие процентное снижение общей ломкости до и после обработки
         Блеск
 Блеск
         Результаты: тестирование комиссией или измерения на приборе Samba
Результаты: тестирование комиссией или измерения на приборе Samba
         Объем (анализ изображения)
 Объем (анализ изображения)
         Результаты: результаты анализа изображений и тестирования комиссией
 Результаты: результаты анализа изображений и тестирования комиссией
         Улучшение состояния секущихся кончиков (SEM)
 Улучшение состояния секущихся кончиков (SEM)
         Результаты: изображения SEM
 Результаты: изображения SEM
В таблице 1 представлены некоторые свойства, придаваемые волосам, которые оценивались.
         
      
Были проведены следующие тесты для проверки композиции легкого масла в соответствии с формулой настоящего изобретения по сравнению с эталонным легким маслом и контролем (волосы без обработки) (Контроль).
1) Увлажнение - оценка производилась квалифицированными членами комиссии по органолептической оценке.
2) Блеск - оценка производилась с использованием SAMBA.
3) Мягкость - оценка производилась квалифицированными членами комиссии по органолептической оценке.
4) Устойчивость к ломкости/прочность волос/секущиеся кончики - оценка производилась с помощью многократного расчесывания и количественного анализа секущихся кончиков. Визуализацию восстановления секущихся кончиков проводили с помощью цифрового микроскопа HiRox 3D, HiRox, г. Хакенсак, штат Нью-Джерси, США.
5) Невесомость - оценка производилась квалифицированными членами комиссии по органолептической оценке (без оценки остатков).
6) Контроль пушения / четкость контура завитка - оценка проводилась в камере влажности. Вьющиеся волосы бразильского типа оценивали для визуализации объема пушения / четкости контура завитка.
7) Объем - оценка производилась с помощью изображений до и после в рамках проведения органолептической оценки.
Ниже представлено краткое описание всех результатов испытаний с композицией кого масла в соответствии с настоящим изобретением.
- Обладает превосходными органолептическими характеристиками по сравнению с эталонным легким маслом, обеспечивая хорошую субстантивность и увлажнение как осветленных волос, так и вьющихся волос бразильского типа. Кроме того, обеспечивает значительно большую гладкость, и ее использование очень предпочтительно для вьющихся волос бразильского типа.
- Гораздо дольше обеспечивает блеск по сравнению с эталонным легким маслом.
- Демонстрирует отличные свойства против пушения по сравнению с эталонным легким маслом и значительно лучше сохраняет четкость контура завитка даже после воздействия высокой влажности.
- Придает значительно большую гладкость/эластичность по сравнению с эталонным легким маслом, что согласуется с органолептической оценкой.
- Обеспечивает значительно меньшую ломкость волос и меньшее количество секущихся кончиков по сравнению с эталонным легким маслом.
- По сравнению с контролем композиция легкого масла в соответствии с настоящим изобретением показала значительное - на 41,3% (р<0,05) - повышение увлажненности кожи головы через 5 минут (немедленно) после нанесения. По сравнению с эталонным легким маслом композиция легкого масла в соответствии с настоящим изобретением показала значительное - на 21,0% (р<0,05) - повышение увлажненности кожи головы через 5 минут (немедленно) после нанесения.
В целом композиция легкого масла в соответствии с настоящим изобретением продемонстрировала лучшие результаты повышения эффективности увлажнения кожи головы по сравнению с эталонным легким маслом.
ДЕТАЛИ ПРИМЕРА
Композиция легкого масла в соответствии с настоящим изобретением УВЛАЖНЕНИЕ КОЖИ ГОЛОВЫ
Проводили исследование для оценки эффективности композиции легкого масла в соответствии с настоящим изобретением при использовании для увлажнения кожи головы в сравнении с эталонным легким маслом через 5 минут (немедленно) и через 24 часа после нанесения продукта. Оно представляло собой двойное слепое и рандомизированное исследование на половине головы с участием 33 женщин-добровольцев в возрасте 18 65 лет. Степень увлажнения кожи головы измеряли с помощью 8-контактного зонда гидратации DermaLab Skinabs.
По сравнению с контролем применение композиции легкого масла в соответствии с настоящим изобретением показало значительное - на 41,3% (р<0,05) - улучшение увлажнения кожи головы через 5 минут (немедленно) после нанесения.
По сравнению с эталонным легким маслом, композиция легкого масла в соответствии с настоящим изобретением показала значительное - на 21,0% (р<0,05) - улучшение увлажнения кожи головы через 5 минут (немедленно) после нанесения.
В целом композиция легкого масла в соответствии с настоящим изобретением продемонстрировала лучшие результаты повышения эффективности увлажнения кожи головы по сравнению с эталонным легким маслом.
МАТЕРИАЛЫ И СПОСОБЫ
Рандомизированное двойное слепое исследование проводили на левой и правой половинах головы.
Субъекты должны:
1. Быть женщиной в возрасте 18-65 лет.
2. Считать себя в целом здоровыми.
3. Считать себя обладателями сухой и зудящей кожи головы.
4. Понимать процедуры испытания и выразить согласие на соблюдение всех требований исследования.
5. Быть готовыми подписать информированное согласие на участие в исследовании.
6. Быть готовыми сообщить ведущему координатору обо всех принимаемых в настоящее время лекарственных препаратах (как рецептурных, так и безрецептурных). Субъекты, принимающие лекарственные препараты, которые ведущий координатор определил как допустимые для использования во время исследования, должны принимать лекарства на постоянной основе в течение по меньшей мере двух месяцев до начала исследования.
7. Быть готовыми сообщить ведущему координатору о любых изменениях в приеме любых рецептурных или безрецептурных препаратов, которые стали необходимыми по какой-либо причине во время исследования. Это может привести к прекращению участия субъекта в исследовании.
8. Быть готовыми воздержаться от употребления кофеиносодержащих напитков, курения и физических упражнений в день проведения измерений в рамках исследования.
9. Быть готовыми прекратить использование любых средств против перхоти, не требующих смывания кондиционеров или средств для ухода за кожей головы за семь дней до первого визита, предусмотренного исследованием и до конца исследования.
10. Быть готовыми прекратить любую химическую обработку волос или кожи головы (например, химическое выпрямление, химическую завивку, окрашивание волос) за семь дней до первого визита, предусмотренного исследованием и до конца исследования.
11. Быть готовыми воздержаться от мытья волос в течение 24 часов в период между первым и вторым визитами, предусмотренными исследованием.
Субъекты не должны:
1. Быть беременными или кормить грудью или планировать забеременеть в любое время в ходе исследования.
2. В настоящее время находиться под наблюдением врача в связи с хроническим заболеванием, болезнью или серьезным состоянием здоровья.
3. Иметь известную повышенную чувствительность или аллергию на средства личной гигиены, особенно на средства, содержащие увлажняющие компоненты.
4. Участвовать в любом другом исследовании, объектом которого является кожа головы, в течение последних четырех (4) недель до начала исследования.
5. Иметь в прошлом серьезную хирургическую или пластическую операцию в области исследования.
В исследовании участвовали 35 субъектов, в общей сложности 33 завершили исследование.
ТЕСТИРУЕМЫЙ ПРОДУКТ
(1) Композиция легкого масла в соответствии с настоящим изобретением Композиция легкого масла в соответствии с настоящим изобретением
         
      
         
      
(2) Эталонное легкое масло
         
      
ЛЕЧЕНИЕ
a. Способ нанесения
• Участники группы прибыли в центр исследования с волосами и кожей головы, свободными от каких-либо продуктов.
• Волосы были разделены на пробор, чтобы обнажить примерно 10 см кожи головы как с левой, так и с правой стороны.
• Участникам группы давали привыкнуть к условиям исследовательского центра в течение 30 минут.
• После измерения исходного показателя наносили тестируемый продукт. Один продукт наносили на правый участок, а другой продукт наносили на левый участок, в соответствии с таблицей рандомизации.
• 0,25 мл каждого продукта равномерно распределяли по всему участку нанесения. Продукт втирали в участок в течение приблизительно пяти секунд.
• Участников группы проинструктировали не мыть и не мочить волосы или кожу головы, не наносить никаких средств на волосы или кожу головы в период между исходным визитом и визитом через 24 часа.
b. План исследования
• Двойной слепой тест
• Рандомизированное
• Сравнительное исследование
• Динамика параметров сравнивалась с показателями до обработки (То) (контроль), а также с показателями после обработки составом эталонного легкого масла.
• Продолжительность обработки: 24 часа с измерениями немедленно (5 минут) и через 24 часа после нанесения.
СПОСОБЫ ОЦЕНКИ
DermaLab: Зонд гидратации SkinLab
Зонд гидратации DermaLab Skinlab от компании Cortex Technology, г. Хадсунн, Дания, представляет собой 8-контактный зонд, выполненный с возможностью измерения уровней влаги в коже, в том числе головы. Контакты зонда позволяют ему достигать хорошего контакта с кожей головы, избегая волос, что повышает точность измерения уровня влаги в коже головы. В нем используется переменный ток для измерения проводимости кожи в микросименсах (мкСм). Проводимость кожи положительно коррелирует с уровнем влаги.
СТАТИСТИЧЕСКИЙ АНАЛИЗ
Отдельные значения измеренных параметров при каждом измерении приведены в исходных значениях в таблицах 3 и 4. В таблице 2 представлена описательная статистика: среднее, стандартное отклонение (СО), стандартная погрешность среднего
         
      
Статистический анализ изменения параметров в зависимости от времени проводили после проверки нормальности распределения с использованием теста Шапиро - Уилка.
Статистический анализ изменения исследуемых параметров для каждого продукта с течением времени, а также различия в исследуемых параметрах между группами исследования проводили следующим образом:
- Подтверждение нормальности исследуемых параметров: парный t-критерий Стьюдента
- Нормальность исследуемых параметров не подтверждена: критерий знаковых рангов Уилкоксона
РЕЗУЛЬТАТЫ И ОБСУЖДЕНИЕ
В таблицах 3 и 4, а также на Фиг. 2 показано влияние композиции легкого масла в соответствии с настоящим изобретением и эталонного легкого масла на увлажнение кожи головы.
По сравнению с контролями, как композиция легкого масла в соответствии с настоящим изобретением, так и эталонное легкое масло показали значительное повышение увлажненности кожи головы через 5 минут (немедленно) после нанесения с показателями повышения 41,3% (р<0,05) и 20,3% соответственно.
По сравнению с эталонным легким маслом композиция легкого масла в соответствии с настоящим изобретением показала на 21,0% (р<0,05) большее увлажнения кожи головы через 5 минут (немедленно) после нанесения.
Эти результаты показали лучшее увлажнение кожи головы при использовании композиции легкого масла в соответствии с настоящим изобретением по сравнению с эталонным легким маслом через 5 минут (немедленно) после нанесения.
Таблица 2 - Оценка увлажнения кожи головы с помощью DermaLab ЗАКЛЮЧЕНИЕ
Композиция легкого масла в соответствии с настоящим изобретением и эталонное легкое масло показали значительное повышение увлажненности кожи головы через 5 минут (немедленно) после нанесения продукта. Композиция легкого масла в соответствии с настоящим изобретением также демонстрировала более выраженное повышение увлажненности кожи головы по сравнению с эталонным легким маслом.
         
      
         
      
ОБЩАЯ ЭФФЕКТИВНОСТЬ
Композицию легкого масла в соответствии с настоящим изобретением сравнивали с эталонным легким маслом. В кратком изложении композиция легкого масла в соответствии с настоящим изобретением:
Обладает превосходными органолептическими характеристиками по сравнению с эталонным легким маслом, обеспечивая хорошую субстантивность и увлажнение как осветленных волос, так и вьющихся волос бразильского типа. Кроме того, обеспечивает значительно большую гладкость, и ее использование очень предпочтительно для вьющихся волос бразильского типа
- Гораздо дольше обеспечивает блеск по сравнению с эталонным легким маслом
- Демонстрирует отличные свойства против пушения по сравнению с эталонным легким маслом и значительно лучше сохраняет четкость контура завитка даже после воздействия высокой влажности
- Придает значительно большую гладкость/эластичность по сравнению с эталонным легким маслом, что согласуется с органолептической оценкой
- Обеспечивает значительно меньшую ломкость волос и меньшее количество секущихся кончиков по сравнению с эталонным легким маслом
ОРГАНОЛЕПТИЧЕСКАЯ ОЦЕНКА
Подготовка прядей волос
Для данного исследования использовали пряди волос 2 г/15 см, средне осветленные (5% перекись водорода, рН ~9,43 в течение 15 минут) темно-коричневого цвета представителей европеоидной расы и неокрашенные вьющиеся волосы бразильского типа. Все пряди предварительно очищали с помощью 12% лауретсульфата натрия (SLES), рН 6,5 перед органолептической оценкой. Все оценки проводили в помещении с кондиционированием воздуха при температуре 21±1°С и относительной влажностью 50±3%.
Обработка продуктом
Каждую прядь увлажняли в течение 30 с (1 л/мин при 35°С), а затем сушили до приблизительно 30% остаточного содержания воды. 50 мкл масла втирали в волосы от корней до кончиков и расчесывали один раз для равномерного распределения. После нанесения масел обработанные пряди волос тестировали, сравнивая попарно, с привлечением тринадцати квалифицированных членов комиссии по оценке. Каждому квалифицированному члену комиссии по оценке выделяли отдельные пряди волос (эталонный/исследуемый продукт) для сравнения.
После оценки мокрых волос каждую прядь расчесывали три раза стороной гребня с крупными зубьями. Волосы сушили в течение 1 часа при 50°С, после чего оценивали свойства сухих волос.
Органолептическая оценка
Параметры, которые оценивались для свойств мокрых и сухих волос, приведены ниже:
Свойства, которые оценивались для мокрых волос:
- Расчесывание стороной гребня с крупными зубьями (1 раз)
- Расчесывание стороной гребня с мелкими зубьями (3 раза)
- Блеск
- С покрытием (субстантивно)
- Остатки (невесомые)
- Скольжение
- Жирность
- Приемлемость
Свойства, которые оценивались для сухих волос:
- Ухоженность перед расчесыванием (визуально)
- Объем перед расчесыванием (визуально)
- Пушение перед расчесыванием (визуально)
- Блеск перед расчесыванием (визуально)
- Расчесывание стороной гребня с крупными зубьями (1 раз)
- Расчесывание стороной гребня с мелкими зубьями (3 раза)
- Объем после расчесывания
- Пушение после расчесывания
- Блеск после расчесывания
- Жирность (визуально)
- Жирность
- Остатки (невесомые)
- С покрытием (субстантивно)
- Скольжение
- Мягкость
- Гладкость
- Упругость
- Увлажненность
- Ощущение ухоженности
- Приемлемость
БЛЕСК
Подготовка прядей волос
Для данного способа использовали пряди волос шириной 1 дюйм, 3 г/15 см, средне осветленные (5% перекись водорода, рН ~9,43 в течение 15 минут) темно-коричневого цвета представителей европеоидной расы. Все пряди предварительно очищали с помощью 12% SLES, рН 6,5 перед тестированием. Все оценки проводили в помещении с кондиционированием воздуха при температуре 21±1°С и относительной влажностью 50±3%.
Обработка продуктом
На каждую прядь наносили 200 мкл (0,2 мл) масла. Масло втирали в волосы от корней до кончиков и расчесывали для равномерного распределения.
Система SAMBA
Систему для волос SAMBA производства компании Bossa Nova Vision, г. Лос-Анджелес, штат Калифорния, США, использовали для измерения блеска прядей волос. Система получает изображения в состоянии параллельной и скрещенной поляризации. Формулу Bossa Nova Technology Formula (LBNT) использовали для оценки блеска Lefaudeux et al., Third Annual Conference on Applied Hair Science, September 2008, http://www.spequation.com/files/journal-of-cosmetic-science-bossa-nova-tech-60-153-169-march-april-2009_5b45fb50blbe0.pdf):
         
      
D: общее количество рассеянного света
Sin: соответствует пику отраженного света и способствует увеличению блеска
Sout: соответствует крыльям отраженного света и способствует уменьшению блеска
Wvisual: это визуальная ширина распределения
Для каждого тестируемого масла измеряли девять (9) прядей волос. Каждую прядь расчесывают для выравнивания волокон, а затем помещают на круглый цилиндр щетки для измерения. Проводят 5 повторных измерений для каждой пряди. Этот процесс сначала выполняют для получения данных для необработанных прядей, а затем повторяют после нанесения масла. Измерения блеска проводили сразу после обработки, через 1 час и через 24 часа. Процентное изменение в блеске рассчитывают с использованием формулы, приведенной ниже
         
      
КОНТРОЛЬ ПУШЕНИЯ
Подготовка прядей волос
Для этого способа использовали длинные вьющиеся пряди длиной 8 дюймов представителей, относящихся к мулатам. Все пряди предварительно очищали с помощью 12% SLES, рН 6,5 перед тестированием.
Обработка продуктом
Каждую прядь увлажняли в течение 30 с (1 л/мин при 35°С), затем пряди расчесывали и отжимали между двумя пальцами до приблизительно 67% остаточного содержания воды. 100 мкл масла для волос наносили на каждую влажную прядь с помощью щетки для окрашивания. После нанесения пряди вывешивали на штативе для сушки в течение ночи при 23°С и 45% ОВ.
Объем пушения
Каждая прядь подвешивается в объемной коробке с помощью моторизованного крюка. После запуска программного обеспечения для каждого измерения крюк поворачивается с шагом 72°. Камера делает пять изображений, и программное обеспечение рассчитывает объем пушения [см3] по полученным изображениям. На Фиг. 3 показана визуализация с помощью программного обеспечения. Представляющая интерес область объема пушения обозначена пурпурным цветом и объем обозначен желтым. Измерения проводятся после сушки (до расчесывания), после расчесывания гребнем с мелкими зубьями и после воздействия на пряди волос высокой влажности (1 ч кондиционирования в климатическом шкафу при 22°С/90% ОВ) для обеих процедур обработки.
УПРУГОСТЬ/ГЛАДКОСТЬ
Подготовка прядей волос
Вьющиеся пряди длиной 8 дюймов представителей, относящихся к мулатам, после измерения степени пушения кондиционировали при 40% ОВ / 22°С.
Упругость
Оценку максимальной и средней силы сопротивления при протягивании прядей волос через петли с помощью машины Zwick проводили, как показано на Фиг. 4.
УСТОЙЧИВОСТЬ К ЛОМКОСТИ Подготовка прядей волос
Десять прядей волос (средне-темно-коричневого цвета от представителей европеоидной расы, 12 см/1 г) на образец очищали путем выдерживания в 6% лаурилэфирсульфате натрия (ас), рН 6,5, в течение 15 минут, с последующим ополаскиванием и трехкратным погружением в воду на две минуты каждую. Наконец, волосы высушивали в течение 30 минут в потоке теплого воздуха (приблизительно 55°С). Описанную подготовку выполняли с помощью автоматизированной системы.
Обработка продуктом
Влажные пряди волос обрабатывали составом (0,50 мкл продукта на 1 г волос). Пряди волос сушили в течение одного часа на решетке над вентилятором, дующим горячим воздухом (приблизительно 68°С). После подготовки пряди волос уравновешивали в течение по меньшей мере пяти часов при 30°С и относительной влажности 40% в коробке автоматизированного расчесывающего устройства.
Повторное расчесывание прядей волос
Пряди волос расчесывали 50000 раз (при 45 об/мин). Все оценки проводили при 30°С и относительной влажности 40% с использованием автоматизированного расчесывающего устройства, как показано на Фиг. 3.
После 50000 движений гребнем собирали поврежденные волокна в выдвижные ящички. Волокна длиной, превышающей диаметр чашки Петри (около 9 см), отсортировали, а оставшиеся волокна взвесили, как показано на Фиг. 4. Ломкость волос количественно определяют как соотношение массы поврежденных волокон к массе цельной пряди волос.
         
      
Секущиеся кончики
Изображения прядей волос после 50000 движений гребнем характеризовали с помощью цифрового микроскопа Hirox KW-8700 для оценки секущихся кончиков при увеличении 500 мкм и 1000 мкм.
СТАТИСТИКА
Органолептическая оценка
Для оценки органолептических данных рассчитывают медианы для каждого параметра, а также среднее абсолютное отклонение от медианы как меру вариации индивидуальных значений по каждому критерию. Для расчета статистической значимости попарного сравнения проводится тест Уилкоксона. На графиках положение символа указывает на медиану, а среднее абсолютное отклонение от медианы преобразуется во взвешенное отклонение от медианы и отображается на графике в виде сдвинутых линий.
Блеск / контроль пушения / упругость / устойчивость к ломкости
Критерий Тьюки использовали для сравнения различий между продуктами для всех способов, за исключением органолептической оценки. Критерий Тьюки представляет собой одноэтапную процедуру множественного сравнения и статистический критерий, используемый в сочетании с ANOVA (дисперсионный анализ), чтобы определить, какие средства значительно отличаются друг от друга. В ходе теста сравнивают средства каждой обработки со средствами каждой другой обработки. Его применяют одновременно к набору всех попарных сравнений и определяют, где разница между двумя средними больше, чем ожидаемая стандартная погрешность. Порог испытания представляет собой диапазон HSD (достоверно значимая разница).
Диапазон HSD определяется соотношением сигнал-шум и количеством измерений. Различие между двумя образцами должно быть больше, чем рассчитанное значение HSD, которое будет значительно отличаться от вероятности 95% (Р=0,05).
РЕЗУЛЬТАТЫ И ОБСУЖДЕНИЕ
ОРГАНОЛЕПТИЧЕСКИЕ РЕЗУЛЬТАТЫ
На Фиг. 5(а) (b) и 6(а) (b) показано органолептическое сравнение композиции легкого масла в соответствии с настоящим изобретением и эталонного легкого масла на волосах представителей европеоидной расы со средним осветлением и вьющихся волосах бразильского типа во влажном и сухом состоянии соответственно.
Композиция легкого масла в соответствии с настоящим изобретением в сравнении с эталонным легким маслом на Фиг. 5а и 5b:
         демонстрировала значительно меньшую степень пушения до и после расчесывания в сухом состоянии
 демонстрировала значительно меньшую степень пушения до и после расчесывания в сухом состоянии
         демонстрировала значительно более высокую степень блеска во влажном и сухом состоянии
 демонстрировала значительно более высокую степень блеска во влажном и сухом состоянии
         демонстрировала значительно большую субстантивность во влажном и сухом состоянии
 демонстрировала значительно большую субстантивность во влажном и сухом состоянии
         демонстрировала значительно больший уровень увлажненности в сухом состоянии
 демонстрировала значительно больший уровень увлажненности в сухом состоянии
         демонстрировала значительно меньшую невесомость как во влажном, так и в сухом состоянии
 демонстрировала значительно меньшую невесомость как во влажном, так и в сухом состоянии
         демонстрировала значительно меньший объем волос в сухом состоянии
 демонстрировала значительно меньший объем волос в сухом состоянии
Композиция легкого масла в соответствии с настоящим изобретением в сравнении с эталонным легким маслом на Фиг. 6а и 6b:
         демонстрировала значительно меньшую степень пушения до и после расчесывания в сухом состоянии
 демонстрировала значительно меньшую степень пушения до и после расчесывания в сухом состоянии
         демонстрировала значительно более высокую степень блеска во влажном и сухом состоянии
 демонстрировала значительно более высокую степень блеска во влажном и сухом состоянии
         демонстрировала значительно большую субстантивность как во влажном, так и в сухом состоянии
 демонстрировала значительно большую субстантивность как во влажном, так и в сухом состоянии
         демонстрировала значительно большую гладкость и упругость в сухом состоянии
 демонстрировала значительно большую гладкость и упругость в сухом состоянии
         значительно интенсивнее увлажняла волосы и была очень предпочтительна в сухом состоянии
 значительно интенсивнее увлажняла волосы и была очень предпочтительна в сухом состоянии
         демонстрировала значительно меньшую невесомость как во влажном, так и в сухом состоянии
 демонстрировала значительно меньшую невесомость как во влажном, так и в сухом состоянии
         демонстрировала значительно меньший объем волос в сухом состоянии
 демонстрировала значительно меньший объем волос в сухом состоянии
БЛЕСК
На Фиг. 7 и 8 представлено процентное изменение блеска при сравнении композиции легкого масла в соответствии с настоящим изобретением и эталонного легкого масла в разные моменты времени, а также визуальное сравнение блеска через 24 часа соответственно.
Продемонстрированные результаты:
         Композиция легкого масла в соответствии с настоящим изобретением демонстрирует значительно более высокую степень блеска сразу после нанесения и обеспечивает длительное сохранение блеска до 24 часов по сравнению с эталонным легким маслом.
 Композиция легкого масла в соответствии с настоящим изобретением демонстрирует значительно более высокую степень блеска сразу после нанесения и обеспечивает длительное сохранение блеска до 24 часов по сравнению с эталонным легким маслом.
         Более высокая степень блеска при применении легкого масла в соответствии с настоящим изобретением очевидна для невооруженного глаза даже через 24 часа, как показано на Фиг. 8.
 Более высокая степень блеска при применении легкого масла в соответствии с настоящим изобретением очевидна для невооруженного глаза даже через 24 часа, как показано на Фиг. 8.
КОНТРОЛЬ ПУШЕНИЯ
На Фиг. 9 и 10 показан объем пушения при сравнении композиции легкого масла в соответствии с настоящим изобретением и эталонного легкого масла в различных условиях обработки, а также визуальное сравнение прядей волос между обработкой маслами соответственно.
Продемонстрированные результаты:
         Объем пушения - объем при обработке композицией легкого масла в соответствии с настоящим изобретением значительно ниже по сравнению с эталонным легким маслом в каждом состоянии.
 Объем пушения - объем при обработке композицией легкого масла в соответствии с настоящим изобретением значительно ниже по сравнению с эталонным легким маслом в каждом состоянии.
         Композиция легкого масла в соответствии с настоящим изобретением демонстрирует значительно более высокую четкость контура завитка даже после воздействия высокой влажности.
 Композиция легкого масла в соответствии с настоящим изобретением демонстрирует значительно более высокую четкость контура завитка даже после воздействия высокой влажности.
УПРУГОСТЬ/ГЛАДКОСТЬ
На Фиг. 11 представлены Fmax (максимальное усилие) и Fmean (среднее усилие) для вытягивания прядей волос с использованием испытательной машины Zwick при сравнении композиции легкого масла в соответствии с настоящим изобретением и эталонного легкого масла.
Продемонстрированные результаты:
         Гладкость/упругость прядей волос, обработанных композицией легкого масла в соответствии с настоящим изобретением изобретению, значительно выше, чем при обработке эталонным легким маслом, о чем свидетельствует снижение силы расчесывания.
 Гладкость/упругость прядей волос, обработанных композицией легкого масла в соответствии с настоящим изобретением изобретению, значительно выше, чем при обработке эталонным легким маслом, о чем свидетельствует снижение силы расчесывания.
ЗАЩИТА ОТ ЛОМКОСТИ
На Фиг. 12 и Фиг. 13 представлено сравнение ломкости волос [%] и секущихся кончиков при использовании композиции легкого масла в соответствии с настоящим изобретением и эталонного легкого масла соответственно.
Продемонстрированные результаты:
         Как эталонное легкое масло, так и композиция легкого масла в соответствии с настоящим изобретением значительно снижают ломкость волос по сравнению с необработанными прядями волос. Ломкость у прядей волос, обработанных композицией легкого масла в соответствии с настоящим изобретением, была значительно ниже по сравнению с эталонным легким маслом.
 Как эталонное легкое масло, так и композиция легкого масла в соответствии с настоящим изобретением значительно снижают ломкость волос по сравнению с необработанными прядями волос. Ломкость у прядей волос, обработанных композицией легкого масла в соответствии с настоящим изобретением, была значительно ниже по сравнению с эталонным легким маслом.
         Количественная оценка секущихся кончиков указывает на то, что композиция легкого масла в соответствии с настоящим изобретением демонстрирует меньшее количество секущихся кончиков по сравнению с эталонным легким маслом.
 Количественная оценка секущихся кончиков указывает на то, что композиция легкого масла в соответствии с настоящим изобретением демонстрирует меньшее количество секущихся кончиков по сравнению с эталонным легким маслом.
ДОПОЛНИТЕЛЬНЫЕ ПРИМЕРЫ
После нескольких итераций отбирали следующие составы для сравнения:
Композиция проникающего масла в соответствии с настоящим изобретением 
Композиция сыворотки в соответствии с настоящим изобретением
         
      
Визуальное сравнение образцов волос с нанесенным средством
Перед началом тестирования каждый продукт наносили в количестве 0,15 г образца / 1 грамм волос и визуально сравнивали на предмет наличия маслянистых остатков или тяжести, а также делали фотографии для сравнения.
На Фиг. 14а и 14b показано, что черные волосы показали небольшое, но незначительно различие (вероятно, из-за различий в содержании летучих веществ в составах).
Контроль пушения (текстурированные волосы представителей европеоидной расы)
Образцы вьющихся прядей черных волос первоначально мыли 1% раствором лаурилсульфата натрия и обрабатывали 0,4 г эталонной композиции или композиции в соответствии с настоящим изобретением на 2-граммовую прядь (0,8 г на 4-граммовую прядь). Образцам давали высохнуть в течение 18 24 часов и оставляли при комнатной температуре (25°С) и высокой влажности (80%) на 24 часа, а также сделали снимки через 0 часов, 4 часа, 8 часов и 24 часа (3 образца/тест). На Фиг. 15a-15d показано, что для образцов вьющихся черных волос пряди были сопоставимы.
Расчесывание (только по сухому)
1. Композиция проникающего масла в соответствии с настоящим изобретением в сравнении с эталонным проникающим маслом 2. Композиция сыворотки в соответствии с настоящим изобретением в сравнении с эталонной сывороткой
Устойчивость к ломкости (стойкость к ломкости, вызванной расчесыванием и укладкой)
Описание: после обработки, сушки в течение ночи и акклиматизации к условиям тестирования при влажности 50% и температуре 23°С пряди волос взвешивают на аналитических весах с точностью до четвертого десятичного знака. Затем волосы закрепляют на неподвижной стойке перед цилиндром с четырьмя гребнями. Цилиндр вращается, протягивая гребни через волосы со скоростью 20 оборотов в минуту, при этом один оборот равен четырем движениям гребня, волосы проходят 2500 циклов, в общей сложности 10000 движений гребня. Затем волосы удаляют и взвешивают на аналитических весах, чтобы определить количество потерянных волос.
Блеск
Для определения степени блеска от прядей волос, обработанных составами для ухода за волосами, применяют тестовые системы для волос Bossa Nova SAMBA.
Обработка: 0,3 г на 2,5 г пряди волос.Сушили в течение ночи при влажности 50% и комнатной температуре. Измерения проводили с использованием системы для волос Bossa Nova SAMBA.
Подготовка пряди
• Ополоснуть волосы 15 с
• Нанести на 30 с
• Не требующий смывания состав наносят 0,3 0,4 г/2 г прядь, не смывают
         Требующий смывания состав наносят 0,8 г/2 г прядь, смывают через 30 с
 Требующий смывания состав наносят 0,8 г/2 г прядь, смывают через 30 с
• Оставить сохнуть на ночь
Уменьшение объема (для более аккуратного вида) оценивали следующим образом:
1. Композиция проникающего масла в соответствии с настоящим изобретением в сравнении с эталонным проникающим маслом
2. Композиция сыворотки в соответствии с настоящим изобретением в сравнении с эталонной сывороткой
На Фиг. 20а и 20b показано, что композиции в соответствии с настоящим изобретением соотносились с термином «уменьшение объема», но имели немного более тяжелый внешний вид по сравнению с соответствующими эталонами.
Испытание на трение (CoF, увлажнение) оценивали на приборе для трения волос Dia-stron от компании Dia-stron Ltd., г. Андовер, Великобритания, при тестировании как по направлению кутикулы, так и против кутикулы:
1. Композиция проникающего масла в соответствии с настоящим изобретением в сравнении с эталонным проникающим маслом
2. Композиция сыворотки в соответствии с настоящим изобретением в сравнении с эталонной сывороткой
Обработка: 0,1 г/ г на слегка осветленные волосы Стабильность продукта
Композицию проникающего масла в соответствии с настоящим изобретением и композицию сыворотки в соответствии с настоящим изобретением проверяли на стабильность.
1. Образцы каждой композиции помещали в стакан при номинальной температуре окружающей среды (т.е. 25°С/60% ОВ) и усложненных условиях хранения (45°С, 50°С/75% ОВ) на 3 4 месяца. Дополнительные образцы также подвергали испытаниям на стабильность при замораживании/размораживании. В течение этого времени во всех образцах не наблюдалось никакого видимого разделения или синерезиса.
Общая эффективность композиций проникающего масла и сыворотки в соответствии с настоящим изобретением была сопоставима с соответствующими эталонами со следующими наблюдениями:
Композиции в соответствии с настоящим изобретением действуют на одном уровне или превосходят эталон, обеспечивая увлажнение и ощущение субстантивности, длительный блеск, уменьшение пушения, уменьшение ломкости и секущихся кончиков.
Следует понимать, что хотя различные аспекты настоящего описания были проиллюстрированы и описаны с помощью примеров, заявляемое в настоящем документе изобретение ими не ограничивается, но может быть реализовано иными различными способами в соответствии с объемом формулы изобретения, включенной в настоящую и/или любую родственную настоящей заявку на патент.
| название | год | авторы | номер документа | 
|---|---|---|---|
| НЕ ТРЕБУЮЩАЯ СМЫВАНИЯ КОМПОЗИЦИЯ ПРОНИКАЮЩЕГО МАСЛА ДЛЯ ВОЛОС | 2021 | 
 | RU2830630C1 | 
| НЕ ТРЕБУЮЩАЯ СМЫВАНИЯ КОМПОЗИЦИЯ ЛЕГКОГО МАСЛА ДЛЯ ВОЛОС | 2021 | 
 | RU2830754C1 | 
| Химическая композиция | 2018 | 
 | RU2768471C2 | 
| СПОСОБ ВОССТАНОВЛЕНИЯ ВОЛОС И КОЖИ ГОЛОВЫ | 2024 | 
 | RU2838525C1 | 
| СПОСОБ ВОССТАНОВЛЕНИЯ ВОЛОСЯНОГО ПОКРОВА ГОЛОВЫ | 2008 | 
 | RU2404791C2 | 
| МОЮЩИЕ СОСТАВЫ, ВКЛЮЧАЮЩИЕ НЕЦЕЛЛЮЛОЗНЫЕ ПОЛИСАХАРИДЫ СО СМЕШАННЫМИ КАТИОННЫМИ ЗАМЕСТИТЕЛЯМИ | 2009 | 
 | RU2528915C2 | 
| Маска-кондиционер для шерсти животных | 2023 |  | RU2836627C1 | 
| СПОСОБ ВОССТАНОВЛЕНИЯ, ПРИДАНИЯ ФОРМЫ И ВЫПРЯМЛЕНИЯ ВОЛОС | 2000 | 
 | RU2230473C2 | 
| ДИСПЕРГИРУЮЩИЕСЯ ОБРАБОТАННЫЕ ГЛИОКСАЛЕМ КАТИОНОГЕННЫЕ ПОЛИГАЛАКТОМАННАНЫ | 2007 | 
 | RU2458679C2 | 
| АКТИВНЫЙ КОМПЛЕКС ДЛЯ ПРИГОТОВЛЕНИЯ КОСМЕТИЧЕСКИХ КОМПОЗИЦИЙ ПО УХОДУ ЗА ВОЛОСАМИ | 2024 | 
 | RU2839677C1 | 
 
		
		 
		
		 
		
		 
		
		 
		
		 
		
		 
		
		 
		
		 
		
		 
		
		 
		
		 
		
		 
		
		 
		
		 
		
		 
		
		 
		
		 
		
		 
		
		 
		
		 
		
		 
		
		 
		
		 
		
         
         
            Группа изобретений относится к уходу за волосами. Не требующая смывания композиция сыворотки для волос содержит смесь из нециклических силиконовых ингредиентов и несиликоновых ингредиентов, причем указанная не требующая смывания композиция сыворотки для волос содержит от 85 до 99,5% указанных нециклических силиконовых ингредиентов, причем нециклический силиконовый ингредиент представляет собой диметикон; от 0,5 до 15% указанных несиликоновых ингредиентов, причем несиликоновые ингредиенты выбраны из группы, состоящей из C12-15 алкилбензоата, при этом упомянутая композиция не содержит циклических силиконовых ингредиентов. Также раскрыты способы контроля пушения волос, укладки волос, предотвращения повреждения волос поверхностно-активными веществами, обеспечения здоровой кожи головы, увлажнения волос и кожи головы, повышения устойчивости к ломкости волос, увеличения блеска волос, увеличения объема волос, уменьшения секущихся кончиков волос, повышения четкости контура завитка волос. Группа изобретений обеспечивает устойчивость волос к ломкости. 11 н.п. ф-лы, 21 ил., 4 табл., 1 пр.
1. Не требующая смывания композиция сыворотки для волос, которая содержит смесь из нециклических силиконовых ингредиентов и несиликоновых ингредиентов, причем указанная не требующая смывания композиция сыворотки для волос содержит:
(i) от 85 до 99,5% указанных нециклических силиконовых ингредиентов, причем нециклический силиконовый ингредиент представляет собой диметикон; и
(ii) от 0,5 до 15% указанных несиликоновых ингредиентов, причем несиликоновые ингредиенты выбраны из группы, состоящей из C12-15 алкилбензоата, при этом упомянутая композиция не содержит циклических силиконовых ингредиентов.
2. Способ контроля пушения волос, включающий нанесение не требующей смывания композиции сыворотки для волос по п. 1 на указанные волосы.
3. Способ укладки волос, включающий нанесение не требующей смывания композиции сыворотки для волос по п. 1 на указанные волосы.
4. Способ предотвращения повреждения волос поверхностно-активными веществами, включающий нанесение не требующей смывания композиции сыворотки для волос по п. 1 на указанные волосы.
5. Способ обеспечения здоровой кожи головы, включающий нанесение не требующей смывания композиции сыворотки для волос по п. 1 на указанные волосы.
6. Способ увлажнения волос и кожи головы, включающий нанесение не требующей смывания композиции сыворотки для волос по п. 1 на указанные волосы и кожу головы.
7. Способ повышения устойчивости к ломкости волос, включающий нанесение не требующей смывания композиции сыворотки для волос по п. 1 на указанные волосы.
8. Способ увеличения блеска волос, включающий нанесение не требующей смывания композиции сыворотки для волос по п. 1 на указанные волосы.
9. Способ увеличения объема волос, включающий нанесение не требующей смывания композиции сыворотки для волос по п. 1 на указанные волосы.
10. Способ уменьшения секущихся кончиков волос, включающий нанесение не требующей смывания композиции сыворотки для волос по п. 1 на указанные волосы.
11. Способ повышения четкости контура завитка волос, включающий нанесение не требующей смывания композиции сыворотки для волос по п. 1 на указанные волосы.
| WO 2019060089 A1, 28.03.2019 | |||
| US 20180289605 A1, 11.10.2018 | |||
| US 20150296953 A1, 22.10.2015 | |||
| US 10561596 B2, 18.02.2020 | |||
| КОМПОЗИЦИЯ ДЛЯ УХОДА ЗА ВОЛОСАМИ, СОДЕРЖАЩАЯ КОМПОЗИТНЫЕ ЧАСТИЦЫ ИЗ ГЛИНЫ И ЗАРЯЖЕННОЙ ОРГАНИЧЕСКОЙ МОЛЕКУЛЫ | 2002 | 
 | RU2319477C2 | 
| Прибор для промывания газов | 1922 | 
 | SU20A1 | 
| СУТЯГИН В.М | |||
| и др | |||
| Химия и физика полимеров: | |||
Авторы
Даты
2024-11-21—Публикация
2021-03-23—Подача