Область техники, к которой относится изобретение
Настоящее изобретение относится к водонагревателям, прежде всего к управлению водонагревателями.
Изобретение разработано главным образом для использования в качестве способа управления водонагревателями и устройства для кофеварки эспрессо и описано ниже со ссылкой на именно такое применение. Однако следует понимать, что настоящее изобретение не ограничивается этой конкретной областью применения.
Уровень техники
Любое упоминание предыдущего уровня техники в данном описании не должно рассматриваться как признание того, что такой предыдущий уровень широко известен или является частью общеизвестных знаний в данной области.
В известных кофеварках эспрессо регулируется как давление, так и размер порции воды, подаваемой для приготовления порции кофе эспрессо. Следует иметь в виду, что давление обычно устанавливается между девятью и десятью барами. Порция обычно составляет около 30 мл и выдается через двадцать-сорок секунд.
Для смачивания молотого кофе используется стадия предварительного настаивания, чтобы обеспечить его набухание в корзине фильтра и тем самым задержать мелкий помол и ограничить просачивание воды через фильтр. Чтобы обеспечить смачивание без принудительного прохождения воды через молотый кофе, вода на этой стадии предварительного настаивания обычно подается под давлением от одного до пяти бар.
Имеется потребность в эффективном способе и устройстве для выдачи порций с регулируемыми давлением и объемом. Также имеется потребность в эффективном способе и устройстве, позволяющих водяным насосам кофеварки эспрессо обеспечивать предварительное настаивание под регулируемым низким давлением.
Известно также, что кофеварки эспрессо имеют паровые палочки. Паровая палочка выпускает пар, который может быть использован для подогрева и вспенивания молока. В некоторых кофеварках выход пара регулируется клапаном, таким как игольчатый клапан. Игольчатый клапан обеспечивает изменяемый выход пара, но при этом его необходимо поворачивать на несколько оборотов для перевода из закрытого состояния в полностью открытое состояние.
Соответственно имеется также потребность в регулировании выхода пара, обеспечивающем большую легкость использования, чем при применении игольчатого клапана.
Раскрытие сущности изобретения
В основу изобретения положена задача устранить или ослабить влияние по меньшей мере одного из недостатков предыдущего уровня техники или предложить полезную альтернативу.
Предпочтительной задачей некоторых вариантов осуществления изобретения является предложить усовершенствованную кофеварку. Предпочтительной задачей других вариантов осуществления изобретения является предложить усовершенствованную кофеварку эспрессо.
Предпочтительной задачей некоторых вариантов осуществления изобретения является предложить усовершенствованную кофеварку эспрессо, которая может обеспечить выдачу порций, имеющих регулируемое давление и объем.
Предпочтительной задачей некоторых вариантов осуществления изобретения является предложить усовершенствованную кофеварку эспрессо, которая может обеспечить регулируемое предварительное настаивание при низком давлении.
Предпочтительной задачей некоторых вариантов осуществления изобретения является предложить усовершенствованную кофеварку эспрессо, которая представляет собой разумную альтернативу контроллеру игольчатого клапана для регулирования выхода пара.
В одном из аспектов изобретения предлагается устройство измерения результирующего расхода, подаваемого насосом, соединенным с предохранительным клапаном давления, при этом устройство содержит:
первый расходомер для измерения питающего насос расхода;
второй расходомер для измерения обратного расхода от предохранительного клапана давления; и
при этом подаваемый насосом результирующий расход может быть определен путем вычитания измеренного обратного расхода из измеренного питающего расхода.
Предпочтительно результирующий расход может определяться (или вычисляться) в режиме реального времени и использоваться для остановки насоса, когда необходимая порция выдана.
В одном из аспектов изобретения предлагается кофеварка эспрессо, содержащая устройство измерения расхода, описанное в настоящем документе, для измерения небольших порций, выдаваемых насосом, соединенным с предохранительным клапаном давления. Предпочтительно кофеварка эспрессо дополнительно содержит описанный в настоящем документе модуль изменения мощности насоса для обеспечения предварительного настаивания.
В одном из аспектов изобретения предлагается кофеварка эспрессо, содержащая описанный в настоящем документе модуль изменения мощности насоса для обеспечения предварительного настаивания. Предпочтительно кофеварка эспрессо дополнительно содержит описанное ниже устройство измерения расхода для измерения небольших порций, выдаваемых насосом, соединенным с предохранительным клапаном давления.
Блок изменения мощности предпочтительно может обеспечивать профилирование давления в процессе приготовления кофе эспрессо. Более предпочтительно профиль давления может быть задан заранее или сконфигурирован пользователем. Наиболее предпочтительно профиль давления может иметь вид зависимости мощности от времени, отображающей электрическую мощность, подводимую к соответствующему насосу.
В одном из аспектов изобретения предлагается способ измерения расхода для измерения результирующего расхода, подаваемого насосом, связанным с предохранительным клапаном давления, при этом способ следующие этапы:
(а) с помощью первого расходомера измеряют питающий расход насоса;
(б) с помощью второго расходомера измеряют обратный расход от предохранительного клапана давления; и
(в) вычисляют результирующий расход по меньшей мере частично путем вычитания измеренного обратного расхода из измеренного питающего расхода.
Предпочтительно вычисление результирующего расхода может выполняться в режиме реального времени и использоваться для прекращения работы насоса, когда требуемая порция выдана.
В одном из аспектов изобретения предлагается кофеварка эспрессо, содержащая процессорное устройство, предназначенное для реализации описанного в настоящем документе способа измерения расхода для измерения небольших порций, выдаваемых насосом, связанным с предохранительным клапаном давления.
В одном из аспектов изобретения предлагается устройство для контроля перелива из емкости для текучей среды, устройство, содержащее:
корпус;
съемную емкость для текучей среды;
отверстие для заливки текучей среды, находящееся в гидравлической связи с упомянутой емкостью; и
сливной поддон, причем емкость для текучей среды имеет переливное отверстие, находящееся в гидравлической связи со сливным поддоном.
В одном из аспектов изобретения предлагается кофеварка эспрессо, содержащая:
корпус кофеварки эспрессо;
съемную емкость для воды;
отверстие для заливки воды, расположенное спереди или сверху кофеварки эспрессо и находящееся в гидравлической связи с емкостью для воды;
вставляемый спереди сливной поддон,
причем емкость для воды имеет переливное отверстие, находящееся в гидравлической связи со сливным поддоном.
Предпочтительно емкость для воды вставляется в корпус кофеварки эспрессо с тыльной стороны. Альтернативно емкость для воды предпочтительно вставляется в корпус кофеварки эспрессо сбоку.
В одном из аспектов изобретения предлагается устройство для приема съемной емкости для текучей среды, при этом устройство содержит:
корпус; и
съемную емкость для текучей среды, причем емкость имеет стопор в сборе и клапан выпуска текучей среды.
Согласно одному из аспектов изобретения, предлагается кофеварка эспрессо, содержащая:
корпус кофеварки эспрессо;
съемную емкость для воды, причем емкость для воды имеет стопор в сборе и клапан выпуска текучей среды.
Предпочтительно емкость для воды вставляется в корпус кофеварки эспрессо с тыльной стороны. Альтернативно емкость для воды предпочтительно вставляется в корпус кофеварки эспрессо сбоку.
Предпочтительно емкость для воды имеет переливное отверстие, находящееся в гидравлической связи со сливным поддоном.
Предпочтительно кофеварка эспрессо содержит устройство измерения расхода.
В одном из аспектов изобретения предлагается устройство управления выходом пара, при этом устройство содержит:
корпус;
паровую палочку в сборе, соединенную с корпусом и имеющую выход для пара;
выход для пара, управляемый расположенным внутри корпуса клапаном,
клапан, управляемый поворотным органом управления.
Предпочтительно устройство дополнительно содержит насос, который всасывает текучую среду из емкости для текучей среды и подает текучую среду в парогенератор; парогенератор, подающий пар к электромагнитному клапану, используемому для пуска и прекращения подачи пара из парогенератора к паровой палочке в сборе.
В одном из аспектов изобретения предлагается кофеварка эспрессо, содержащая:
паровую палочку с выходом для пара;
выход для пара, управляемый расположенным внутри кофеварки эспрессо клапаном;
клапан, управляемый поворотной лопаткой.
Клапан предпочтительно является шаровым клапаном.
Лопатка предпочтительно прикреплена к круглой ручке управления.
В одном из аспектов изобретения предлагается устройство управления паром для кофеварки эспрессо, содержащее:
шаровой клапан, находящийся в гидравлической связи с паровой палочкой;
втулку, имеющую радиально продолжающийся рычажный элемент; втулка установлена с возможностью поворота относительно кофеварки эспрессо; втулка и рычажный элемент функционально связаны с шаровым клапаном; и
при этом устройство может быть настроено от полностью закрытой конфигурации до полностью открытой конфигурации путем поворота втулки на угол менее 180°.
Предпочтительно устройство управления паром содержит переключающий чувствительный элемент для выдачи сигнала данных (или сигнала положения) на вычислительный модуль. Более предпочтительно сигнал данных свидетельствует о полностью открытой конфигурации устройства, при которой выход паровой палочки гидравлически сообщается с парогенератором.
Предпочтительно клапан является шаровым клапаном, находящимся в гидравлической связи с паровой палочкой в сборе, а поворотный элемент управления содержит втулку, имеющую радиально продолжающийся элемент в виде лопатки; упомянутая втулка установлена с возможностью поворота относительно корпуса; упомянутая втулка и рычажный элемент функционально связаны с шаровым клапаном; и при этом устройство может быть настроено от полностью закрытой конфигурации до полностью закрытой конфигурации путем поворота втулки.
Предпочтительно разрешенный угол поворота органа управления составляет менее 180°.
Предпочтительно устройство содержит элемент датчика переключателя для выдачи сигнала данных на модуль процессора. Более предпочтительно сигнал данных свидетельствует о полностью открытой конфигурации устройства, при которой выход паровой палочки в сборе гидравлически сообщается с парогенератором.
Предпочтительно устройство дополнительно содержит насос, который всасывает текучую среду из емкости для текучей среды и подает упомянутую текучую среду в парогенератор; парогенератор подает пар к электромагнитному клапану, используемому для пуска и прекращения подачи пара от парогенератора к паровой палочке в сборе. Более предпочтительно электромагнитный клапан представляет собой трехходовой двухпозиционный электромагнитный клапан, используемый для пуска и прекращения подачи пара от парогенератора к паровой палочке в сборе.
Предпочтительно паровая палочка в сборе в основном заключена в пластмассу, чтобы сохранять тепло в носике паровой палочки.
Предпочтительно чувствительный к температуре элемент контролирует температуру носика паровой палочки. Более предпочтительно чувствительный к температуре элемент представляет собой термистор. Наиболее предпочтительно паровая палочка в сборе имеет носик для выхода пара, взаимодействующий с термистором.
Предпочтительно при закрытом положении электромагнитного клапана путь прохождения пара сообщается с атмосферой для ограничения попадания молока обратно в паровую палочку в сборе. Более предпочтительно электромагнитный клапан предназначен для подачи к трубке Вентури либо чистого пара из парогенератора, либо атмосферного воздуха.
Предпочтительно поворотный орган управления активирует один или несколько переключающих элементов управления процессом парообразования.
Предпочтительно паровая палочка в сборе взаимодействует с переключающим элементом с целью определения, находится ли паровая палочка в сборе в своем заданном исходном положении.
Предпочтительно устройство дополнительно содержит чувствительный к давлению элемент для контроля давления пара в паровой палочке.
Понятно, что описанное в данном документе устройство может быть кофеваркой. В частности, описанное в данном документе устройство может быть кофеваркой эспрессо.
Также понятно, что описанное в данном документе устройство может использоваться в качестве кофеварки. В частности, описанное в данном документе устройство может использоваться в качестве кофеварки эспрессо.
Краткое описание чертежей
Ниже в качестве примера описан предпочтительный вариант осуществления изобретения со ссылкой на прилагаемые к описанию чертежи.
На фиг. 1 показан перспективный вид кофеварки эспрессо;
на фиг. 2 – схема кофеварки эспрессо;
на фиг. 3 – блок-схема способа управления кофеваркой эспрессо;
на фиг. 4 – схематичный вид изображенного на фиг. 2 предохранительного клапана давления;
на фиг. 5А – схема цепи на базе кремниевого управляемого вентиля (КУВ), используемой для изменения подводимой к насосу мощности;
на фиг. 5В – схема цепи на базе триода для переменного тока (триака), используемой для изменения подводимой к насосу мощности;
на фиг. 6А – форма волны напряжения питания;
на фиг. 6В – форма волны модифицированного напряжения питания, изображенной на 6А;
на фиг. 6C – форма волны модифицированного напряжения питания, изображенной на 6А;
на фиг. 6D – форма волны модифицированного напряжения питания, изображенной на 6А;
на фиг. 7 – схема кофеварки эспрессо, имеющей групповую головку с подогревом;
на фиг. 8 – схематичный вид устройства, позволяющего наполнять водой предлагаемую в изобретении кофеварку эспрессо;
на фиг. 9 – схематичный вид устройства, позволяющего заполнять водой предлагаемую в изобретении кофеварку эспрессо, с каналом перелива;
на фиг. 10 – перспективный вид сзади предлагаемой в изобретении кофеварки эспрессо, показывающий проем для емкости для воды;
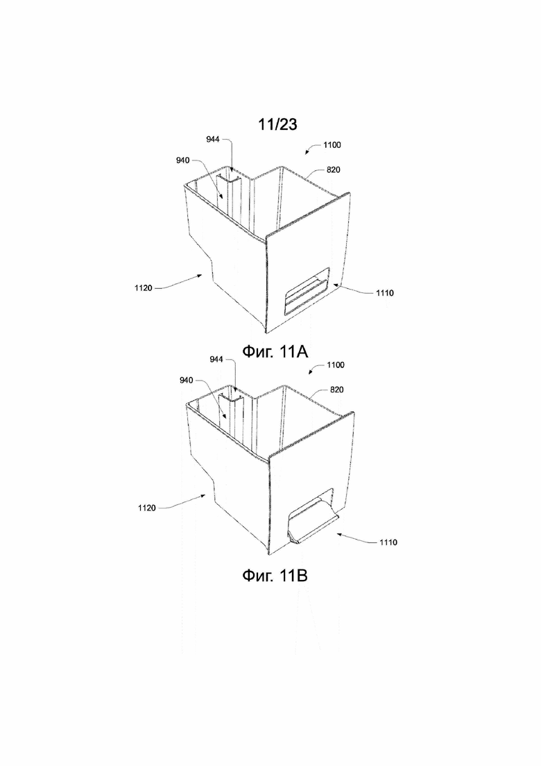
на фиг. 11А – перспективный вид сзади емкости для воды;
на фиг. 11В – перспективный вид сзади изображенной на фиг. 10 емкости для воды в разблокированном состоянии;
на фиг. 12А – местный вид в боковом разрезе изображенной на фиг. 8 кофеварки эспрессо с вставленной емкостью для воды;
на фиг. 12В – местный вид в боковом разрезе изображенной на фиг. 8 кофеварки эспрессо с емкостью для воды в разблокированной конфигурации;
на фиг. 13А – местный вид в боковом разрезе изображенной на фиг. 8 кофеварки эспрессо со стопором в сборе в заблокированной конфигурации;
на фиг. 13В – местный вид в боковом разрезе изображенной на фиг. 8 кофеварки эспрессо со стопором в сборе в разблокированной конфигурации;
на фиг. 14А – местный вид в боковом разрезе изображенной на фиг. 8 кофеварки эспрессо с водяным клапаном в открытой сцепленной конфигурации;
на фиг. 14В – местный вид в боковом разрезе изображенной на фиг. 8 кофеварки эспрессо с водяным клапаном в герметично закрытой конфигурации;
на фиг. 15 – вид сечения паровой палочки, клапана и поворотной управляющей лопатки;
на фиг. 16 – вид сечения фиг. 15 по линии А-А;
на фиг. 17 – перспективный вид изображенных на фиг. 15 клапана, паровой палочки и рычага;
на фиг. 18 – блок-схема еще одного варианта реализации технологии;
на фиг. 19 – блок-схема еще одного варианта выполнения паровой палочки в сборе с использованием элемента беспроводной связи;
на фиг. 20 – блок-схема еще одного варианта выполнения паровой палочки в сборе с использованием зависимого воздушного потока;
на фиг. 21 – блок-схема еще одного варианта выполнения паровой палочки в сборе с использованием шарового клапана и противовакуумного клапана;
на фиг. 22 – блок-схема еще одного варианта выполнения паровой палочки в сборе с использованием клапана, выполненного из керамики;
на фиг. 23 – блок-схема еще одного варианта выполнения паровой палочки в сборе с использованием двух независимых контроллеров.
Осуществление изобретения
Понятно, что кофеварки эспрессо широко используются для приготовления горячих напитков.
Порции кофе эспрессо обычно завариваются путем пропускания потока горячей воды под давлением через плотно упакованный мелко молотый кофе. Такая вынужденная диффузия воды через молотый кофе приводит к приготовлению кофе эспрессо. Качество, запах и вкус получившегося кофе эспрессо зависят от множества факторов, к числу которых относятся структура молотого кофе, плотность его упаковки, температура и давление используемой воды. Путем сочетания указанных факторов в соответствующих пропорциях можно готовить в основном единообразные по консистенции порции кофе эспрессо.
Приготовление подходящего кофе эспрессо кофеварками эспрессо, выполненными на базе насосов, по меньшей мере, отчасти зависит от создаваемого насосом давления (обычно выражаемого в барах). Согласно фиг. 1, такая выполненная на базе насоса кофеварка 100 эспрессо, может включать в себя: емкость 110 для воды (обычно находящуюся внутри кофеварки), распылительную головку или распределитель 122 и корзину 124 фильтра (для молотого кофе). Для вспенивания молока в состав кофеварки эспрессо могут включаться паровая палочка 130 и паровой клапан 132. Для сбора брызг и избыточной воды обычно предусматривается сливной поддон 140. Для выставления по меньшей мере некоторых параметров (или факторов), связанных с приготовлением кофе эспрессо, может предусматриваться ряд органов 150 управления.
Понятно, что некоторые кофеварки эспрессо имеют встроенную кофемолку 160. Она может включать в себя загрузочную воронку 162 для подачи зерен кофе к размалывающему устройству и выход 164 для наполнения корзины фильтра (если она имеется) молотым кофе.
При наличии воды в емкости для воды и молотого кофе в корзине фильтра, вода нагревается и подается к распылительной головке 122. После того как нагретая вода попадает в распылительную головку 122, происходит вынужденная диффузия воды через молотый кофе, находящийся в корзине фильтра, приводящая к приготовлению кофе эспрессо.
На фиг. 2 показана схема кофеварки 200 для эспрессо. Такая кофеварка содержит емкость 210 для воды, оснащенную герконовым датчиком 212 уровня воды. Истечение воды из емкости 210 предусматривает прохождение через фильтр 214, находящийся в гидравлической связи с двумя путями 216 и 218 выходного потока.
В данном варианте осуществления изобретения первый путь 216 выходного потока предназначен для соединения с парогенератором 250 или подачи воды из емкости 210 в парогенератор 250. Данный путь выходного потока включает в себя защитный фильтр 220, через который вода поступает к насосу 221, подающему воду под заданным давлением. Для ограничения давления воды, подаваемой в парогенератор 250, предусмотрен предохранительный клапан 222 давления. В случае чрезмерного повышения давления в упомянутой линии подачи текучей среды, предохранительный клапан 222 давления подает или отводит воду в сливной поддон 240, используя линию 224 подачи текучей среды. Например, насос 221 подает воду в парогенератор 250 (используя линию 223 подачи текучей среды) под давлением приблизительно три бара. Для паровой системы насос подает воду для пополнения парогенератора под давлением приблизительно 3 бара. Предохранительный клапан 222 давления предназначен для срабатывания при бóльших давлениях и используется в целях защиты.
В качестве примера, парогенератор 250 используется для превращения в пар воды, поступающей по линии 223 подачи текучей среды. Парогенератор включает в себя нагревательный элемент 252, зонд 256 уровня воды, термочувствительный элемент (например, термистор) 257, плавкий предохранитель и термостат 258 и вакуумный клапан 259 сапуна. В приведенном примере парогенератор имеет объем водонагревателя 0,8 л. Исключительно в качестве примера, такой парогенератор может быть выполнен из одного или нескольких материалов из набора, включающего в себя отлитый под давлением алюминий, (предпочтительно с вкладышем из тефлона), нержавеющую сталь или латунь. Нагревательный элемент 252 предпочтительно представляет собой погружной нагревательный элемент мощностью 1000 Вт. Исключительно в качестве примера, такой нагревательный элемент может быть выполнен из одного или нескольких материалов из набора, включающего в себя нержавеющую сталь и сплав инколой. Понятно, что нагревательный элемент может иметь и другую номинальную мощность, достаточную для выработки пара в парогенераторе. В зонде 256 уровня воды предпочтительно используются три зонда для контроля уровня воды, и по существу он состоит из трех зондов, выполненных из нержавеющей стали. Исключительно в качестве примера, термистор 257 имеет максимальную рабочую температуру приблизительно 200°С.
В качестве примера, выходящий из парогенератора 250 пар 272 выпускается питающим шаровым клапаном 274 с бесступенчатым регулированием и проходит через паровую палочку 276. Предпочтительно шаровой клапан имеет максимальную рабочую температуру 150°С, номинальное рабочее давление приблизительно 2 бара и максимальное давление приблизительно 8 бар. В данном варианте осуществления изобретения второй путь 218 выходного потока пропускает воду от емкости 210 для воды к нагревателю 260 воды для приготовления кофе. Данный путь выходного потока содержит защитный фильтр 230, первый расходомер 233 и насос 234. Упомянутый насос 234 дополнительно содержит предохранительный клапан 235 давления. Данный предохранительный клапан 235 давления предназначен для ограничения давления воды, создаваемого в линии 236, обычно составляющего от девяти до десяти бар. Предохранительный клапан 235 обычно настроен на давление приблизительно десять бар, так что если давление воды превышает это давление настройки, то часть воды сбрасывается обратно в емкость 210 через обратную линию 237, таким образом поддерживая заданное давление настройки. Количество воды, сброшенной обратно через обратную линию 237, может быть измерено вторым расходомером 238. Основной путь 236 выходного потока проходит через теплообменник 254 парогенератора 250 к нагревателю 260 воды для приготовления кофе.
В качестве примера, нагреватель 260 воды для приготовления кофе включает в себя нагревательный элемент 262, зонд 266 уровня воды, термистор 267 и плавкий предохранитель и термостат 268. В данном примере нагреватель 260 воды для приготовления кофе имеет объем 0,3 л. Исключительно в качестве примера, такой водонагреватель может быть выполнен из одного или нескольких материалов из набора, включающего в себя отлитый под давлением алюминий (предпочтительно с вкладышем из тефлона), нержавеющую сталь или латунь. Исключительно в качестве примера, нагревательный элемент 262 предпочтительно представляет собой погружной нагревательный элемент мощностью 600 Вт. В зонде 266 уровня воды предпочтительно используются два зонда для контроля уровня воды, в основном выполненных из нержавеющей стали. Исключительно в качестве примера, термистор 267 имеет максимальную рабочую температуру приблизительно 150°С.
В качестве примера, выход из нагревателя воды для приготовления кофе используется для выдачи горячей воды 282 посредством игольчатого клапана 284 с бесступенчатым регулированием через палочку 286 для горячей воды. В данном примере игольчатый клапан 284 предпочтительно имеет максимальную рабочую температуру приблизительно 120°С и рабочее давление приблизительно 15 бар.
В качестве примера, выход из водонагревателя используется также для подачи горячей воды к распылительной лейке 292 для приготовления кофе 294. Электромагнитный клапан 296 пропускает горячую воду в распылительную головку 292 для приготовления кофе. Упомянутая распылительная головка 292 дополнительно имеет манометр 298 для отображения давления горячей воды, выдаваемой нагревателем воды для приготовления кофе. Исключительно в качестве примера, электромагнитный клапан 296 имеет максимальное рабочее давление приблизительно 16 бар и максимальную температуру текучей среды приблизительно 160°С. Исключительно в качестве примера, корпус электромагнитного клапана 296 может быть выполнен из одного или нескольких материалов из группы, содержащей нержавеющую сталь и латунь. В клапане могут использоваться различные защитные покрытия, включая покрытие никелем.
Понятно, исключительно в качестве примера, что линии подачи текучей среды выполнены либо из тефлоновых, либо из силиконовых трубок.
Понятно, что насосы 221 и 234 могут быть вибрационного (вытеснительного) типа, хотя могут использоваться и альтернативные технологии насосов. Вибрационные насосы обычно развивают давление в пределах от 15 до 18 бар, что обычно считается слишком большим для экстракции кофе эспрессо. Для регулировки давления используют предохранительный клапан давления фиксированной или изменяемой настройки. Однако при установке такого клапана известный способ измерения порций предусматривает установку расходомера как можно ближе к распылительной головке. Понятно, что любая установка в потоке вблизи распылительной головки требует, чтобы предохранительный клапан давления был способен работать при высокой температуре и высоком давлении. Конструкция и работа предохранительных клапанов давления более подробно рассматривается ниже.
В одном из вариантов осуществления изобретения устройство 200 включает в себя процессор 202 для приема команд от интерфейса 204 пользователя и зонды уровня воды, термисторы и плавкие предохранители/термостаты. Процессор также используется для управления/активации нагревательных элементов и насосов.
В одном из вариантов осуществления изобретения используется пара расходомеров, первый 230 из них – для измерения питающего насос расхода, а второй 237 – для измерения обратного расхода от предохранительного клапана 235 давления. В такой конфигурации результирующий расход, поданный в водонагреватель 260 (а, следовательно, в распылительную головку 292) может быть вычислен путем вычитания обратного расхода из питающего расхода. Путем вычисления результирующего расхода за период времени приготовления кофе может быть определена величина порции. Понятно, что такое вычисление может осуществляться в масштабе реального времени и использоваться для прекращения работы насоса, когда необходимая порция выдана через распылительную головку.
В одном из вариантов осуществления изобретения устройство измерения расхода для измерения результирующего расхода, поданного насосом, соединенным с предохранительным клапаном давления, имеет первый расходомер для измерения питающего насос расхода и второй расходомер для измерения обратного расхода от предохранительного клапана давления. Результирующий расход, подаваемый насосом, может быть определен путем вычитания измеренного обратного расхода из измеренного питающего расхода.
На фиг. 3 показана блок-схема способа 300 измерения расхода для измерения результирующего расхода, подаваемого насосом, соединенным в предохранительным клапаном давления, при этом способ состоит из этапа 320 контроля (или измерения) с помощью первого расходомера питающего насос расхода; этапа 320 контроля (или измерения) с помощью второго расходомера обратного расхода от предохранительного клапана; и этапа 340 вычисления результирующего расхода по меньшей мере частично путем вычитания измеренного обратного расхода из измеренного питающего расхода.
Понятно, что такое вычисление может осуществляться в масштабе реального времени и использоваться для прекращения работы насоса (350), когда через распылительную головку выдана необходимая порция. Давление, величина порции, продолжительность могут быть заранее заданы или выбраны пользователем (с помощью интерфейса 204 пользователя и контроллера кофеварки).
Часто используется этап предварительного настаивания для смачивания молотого кофе, чтобы позволить ему разбухнуть в корзине фильтра и тем самым обеспечить улавливание мелкого помола и ограничить просачивание воды через фильтр. Для обеспечения смачивания без принудительного прохождения воды через молотый кофе вода, подаваемая на этом этапе предварительного настаивания, обычно имеет давление приблизительно три бара. Однако, понятно, что такое давление предварительного смачивания может быть в пределах от одного до пяти бар.
В данном варианте осуществления изобретения насос 230 может быть регулируемым, чтобы создавать меньшее (или пониженное) давление на этапе предварительного настаивания. Это может обеспечиваться путем снижения электрической мощности, подводимой к насосу на этом этапе. Чтобы позволить процессору управлять электрической мощностью, подводимой к насосу, обычно используется модуль изменения мощности, как это более подробно рассмотрено ниже. Предпочтительно на этапе предварительного настаивания электрическая мощность, подводимая к насосу, позволяет ему создавать давление ниже нормального. Вода, текущая на этапе предварительного настаивания, может учитываться (или не учитываться) в соответствующей порции, выдаваемой через распылительную головку.
Управление мощностью и измерение расхода могут использоваться совместно для измерения результирующей порции при предварительном настаивании. В одном из вариантов осуществления изобретения давление, величина порции и длительность приготовления могут быть заранее заданы или выбираться пользователем (с помощью интерфейса 204).
В альтернативном варианте осуществления изобретения, в котором системное давление не измеряется и не может задаваться в единицах его измерения, давление может задаваться в процентах от максимального давления, создаваемого насосом. Например, профиль давления может предусматривать 30% максимального давления в течение 5 с, затем 100% давления в течение 20 с, затем 70% давления в течение последних 5 с Аналогично в другом варианте осуществления изобретения система может использовать способ объемного выхода, сконфигурированный для выдачи 5 мл при 30%, 20 мл при 100% и 5 мл при 70% давления.
Понятно, что модуль изменения мощности может также позволять профилировать давление на этапе приготовления эспрессо. Профиль давления может задаваться заранее или конфигурироваться пользователем (с помощью интерфейса 204 и контроллера кофеварки). Профилирование давления может иметь вид зависимости мощности от времени, показывающей электрическую мощность, подводимую к соответствующему насосу.
Понятно, что рассматриваемое устройство относится к кофеварке эспрессо, которая может выдавать порции, характеризующиеся регулируемыми давлением и объемом.
Понятно, что рассматриваемое устройство относится к кофеварке эспрессо, которая может обеспечивать управляемое предварительное настаивание под низким давлением.
Предохранительный клапан давления
Предохранительный клапан давления, также известный как расширительный клапан, может использоваться для регулирования давления расхода воды в кофеварке эспрессо. Регулируемое давление может быть фиксированным или настраиваемым. Во многих кофеварках эспрессо, выполненных на базе насоса вибрационного типа, предохранительный клапан давления может регулировать давление на понижение до девяти-десяти бар.
Согласно фиг. 4, предохранительный клапан 400 давления имеет входную часть или отверстие 410 и выходную часть или отверстие 420. Предохранительная часть или отверстие 430 предназначено для выпуска воды, чтобы по существу поддерживать заданное давление. Выпускающее уплотнение 432, обычно выполняемое в виде шарика, резиновой прокладки на латунном плунжере и т.п. смещено в закрытое положение пружиной 434 (степень напряжения или сжатия пружины может быть настроена с помощью элемента 436), расположенной напротив выходного отверстия 438. Когда давление превышает заданное значение, выпускающее уплотнение 432 открывается, позволяя воде течь в направлении предохранительного отверстия 430.
Выходное отверстие находится в гидравлической связи с предохранительным отверстием, чтобы, как правило, направлять излишнюю воду обратно в емкость.
Понятно, что альтернативные предохранительные клапаны давления предназначены для крепления к Т-образной детали, причем Т-образная деталь определяет входное и выходное отверстия. Пропускная способность, как правило, определяется размерами предохранительного клапана давления.
Изменение мощности
Фазовое управление изменением мощности является способом обеспечения мощности переменного тока на нагрузке только в периоды циклов мощности переменного тока. На фиг. 6А показана синусоидальная волна 600, характерная для мощности переменного тока (напряжения или тока). Каждый раз, когда кривая пересекает нулевую или нейтральную линию происходит “переход через нуль”.
Электрические схемы изменения мощности взяты из проспекта компании Моторола для вариантов микросхемы MOC30xx. Они находят применение для индуктивных и активных нагрузок.
На фиг. 5А показана схема цепи 500 на базе кремниевого управляемого вентиля (КУВ) 530, используемой для изменения мощности, подводимой к насосу.
Понятно, что КУВ типично рассматривается в качестве устройства, находящегося либо во включенном, либо в выключенном состоянии. Находясь во включенном состоянии, КУВ может перейти в выключенное состояние только если через него не протекает ток. Для включения КУВ требуется небольшой ток управляющего электрода. КУВ проводит ток только в одном направлении, так что если ток изменит полярность, то КУВ выключится, т.к. он не будет проводить ток ни в одном направлении.
На фиг. 5Б показана схема цепи 550 на базе триода для переменного тока (триака) 580, используемой для изменения мощности, подводимой к насосу.
Понятно, что триак схематически имеет сходство с двумя встречно включенными КУВ, но имеющими только один управляющий электрод, отходящий от одного из анодов. Такая конфигурация позволяет триаку работать на переменном токе, но при каждом изменении полярности триак выключается (несмотря на то, что на управляющем электроде поддерживается высокий потенциал).
Фазовое управление позволяет только части периода переменного тока проходить к нагрузке. Это может осуществляться триаком или двумя встречно включенными КУВ.
Понятно, что источники переменного тока имеют два перехода через нуль за один период, во время которых не протекает никакой ток. В Северной Америке частота перехода через нуль составляет приблизительно 120 раз в секунду, в то время как в Европе приблизительно 100 раз в секунду.
Ввиду того, что триак выключается при каждом пересечении нуля, то при необходимости подводить к нагрузке меньшую мощность триак может быть включен через какое-то время после пересечения нуля, например, в момент 612 времени и в момент 614 времени, как показано на фиг. 6B.
Как показано на фиг. 6В, если требуется половинная мощность, то триак может включаться посредине между пересечениями нуля (момент 622 времени и момент 624 времени). Как показано на фиг. 6D, при активации триака непосредственно перед каждым пересечением нуля (момент 632 времени и момент 634 времени) можно подавать меньше половины мощности.
Подогреваема групповая головка
Понятно, что для кофеварки эспрессо (при коммерческой эксплуатации или использовании в домашних условиях) полезно:
- точно поддерживать постоянную температуру заваривания в ходе многократного экстрагирования кофе и между экстрагированиями (например, при разливе кофе);
- позволять одновременное экстрагирование кофе и вспенивание молока без отрицательного влияния обоих процессов друг на друга;
- обеспечивать первую экстракцию кофе после включения кофеварки при правильной температуре экстрагирования; и
- обеспечивать высокую производительность и температурную стабильность с минимальным и целесообразным потреблением мощности.
Типичная мощность, снимаемая с розетки домашней сети (1700-2400 Вт), может ограничивать располагаемую мощность для достижения этих полезных результатов, особенно если требуется обеспечить массовый выдачу продукции (много порций кофе, горячую воду и вспенивание молока).
Такая ситуация может усугубляться в коммерческих/домашних кофеварках эспрессо, типично использующих легковесные (с пониженной теплоемкостью) водонагревательные установки. Например, типично используемые в некоторых кофеварках эспрессо водонагреватели из нержавеющей стали обладают относительно низкой теплоемкостью. Низкая теплоемкость типично ограничивает расход текучей среды, который можно обеспечить при условии поддержания ее постоянной температуры и (или) давления.
Понятно, что объединение парогенератора, заварочного водонагревателя, теплообменника и подогреваемой групповой головки может быть полезным для снижения требований к мощности заварочного водонагревателя.
На фиг. 7 показана схема одного из вариантов осуществления кофеварки эспрессо, аналогичной показанной на фиг. 2, но имеющей групповую головку 700 с подогревом. Данный вариант осуществления изобретения позволяет обеспечивать трехэтапный последовательный процесс нагрева заварочной воды, при котором:
А. холодная вода предварительно нагревается в теплообменнике 254 парогенератора 250;
Б. предварительно нагретая вода из теплообменника (при температуре ниже оптимальной) затем нагревается в заварочном водонагревателе 260 до оптимальной для заваривания температуры (например, приблизительно до 92°С); и
В. вода из заварочного водонагревателя проходит через групповую головку 700 с подогревом (для поддержания оптимальной для заварки температуры) и впрыскивается в молотый кофе.
Упомянутая головка 700 с подогревом имеет нагревательный элемент 710 (как правило, встроенный), тепловой плавкий предохранитель 720 и термистор 730.
Такая конфигурация системы нагрева кофеварки эспрессо позволяет трем нагревательным элементам работать независимо и одновременно. Регулировка температуры заварочного водонагревателя и групповой головки типично осуществляется с использованием модуля пропорционально-интегрально-дифференциального управления.
В одном из вариантов осуществления изобретения отношение объемов парогенератора и заварочного водонагревателя составляет 10:3. Может также использоваться отношение мощностей нагревательных элементов (мощность в Ваттах) 10:6:1 (парогенератор, заварочный водонагреватель, групповая головка с подогревом).
В одном из вариантов осуществления изобретения отношение емкости сосуда к мощности нагревательного элемента может быть принято следующим:
- для парогенератора – 1000 мл:1000 Вт или 1мл:1 Вт;
- для заварочного водонагревателя – 300 мл:600 Вт или 1 мл:2 Вт.
В одном из альтернативных вариантов осуществления изобретения для контроля давления воды в линии 236 подачи текучей среды может быть установлен дополнительный датчик (или измерительный преобразователь) 740 давления. Упомянутый датчик 740 давления связан с блоком микропрограммного управления (или микропроцессорным устройством управления) для обеспечения обратной связи с целью осуществления в масштабе реального времени контроля поддержания выбранного давления, причем подводимая к соответствующему насосу мощность изменяется в соответствии с полученным по линии обратной связи давлением от датчика и последующими командами от блока микропрограммного управления, контроллера или процессора. В данном варианте осуществления изобретения второй расходомер 238 не требуется. Понятно, что такая переделка может быть выполнена и в других системах управления паром (например, в кофеварке 200 эспрессо).
Узел наполнения водой
Понятно, что при съемной емкости для воды, расположенной с тыльной стороны кофеварки, как правило, затруднительно обеспечить регулярный доступ для ее пополнения водой. Однако пополнение емкости водой на месте может привести к ошибочному переполнению емкости пользователем, что приводит к попаданию пролившейся воды внутрь корпуса кофеварки эспрессо.
Как показано на фиг. 8, один из вариантов осуществления изобретения кофеварки 800 эспрессо предусматривает входное отверстие 810 для наполнения емкости водой, расположенное сверху или спереди (или впереди сверху) кофеварки с целью обеспечения относительно простого доступа к ней. Отверстие 810 может закрываться откидной дверцей или крышкой. Отверстие для наполнения водой находится в гидравлической связи с емкостью 820 для воды (как правило, посредством водовода 830 с горизонтальным дивертором или воронкой). Вода 812 может заливаться через отверстие 810 и проходит сначала вертикально 810, затем горизонтально через увеличенную аккумулирующую часть и снова вертикально 832, попадая в емкость 820 для воды, расположенную вблизи основания кофеварки.
Как видно из фиг. 9, для исключения переполнения емкости и попадания воды внутрь корпуса кофеварки предусматривается отводной канал, полость или патрубок 940, образующий путь 942 для переливающейся текучей среды, позволяющий избыточной воде направляться вертикально в заднюю часть сливного поддона 950 для сбора текучей среды 952. Отводной канал ограничивается стенкой укороченной высоты, расположенной между резервуаром 822 и самой передней стенкой емкости 820.
В данном варианте осуществления изобретения, исключительно в качестве примера, отводной канал 940 определяет отверстие 944 слива избыточной воды, расположенное в пределах емкости для воды на максимальной высоте наполнения емкости. Отводной канал 940 по меньшей мере частично встроен в емкость для воды и направляет избыточную воду еще в пределах емкости в сливной поддон 950.
Использование отводного канала, находящегося в гидравлической связи с установленным в передней части кофеварки эспрессо сливным поддоном, помогает снизить риск попадания воды в составные компоненты кофеварки эспрессо во время наполнения емкости водой благодаря обеспечению визуальной (а предпочтительно и звуковой) обратной связи с пользователем, позволяющей вовремя завершить операцию наполнения кофеварки водой. Такая конфигурация позволяет доливать воду в емкость кофеварки эспрессо сверху.
В одном из вариантов осуществления изобретения кофеварка эспрессо содержит:
- съемную емкость для воды;
- отверстие для долива воды, расположенное сверху или спереди кофеварки эспрессо и находящееся в гидравлической связи с емкостью для воды;
- устанавливаемый спереди сливной поддон,
- причем емкость для воды включает в себя отверстие слива, находящееся в гидравлической связи со сливным поддоном.
Механизм блокировки емкости для воды
Незакрепленная емкость для воды может перемещаться из-за вибраций, вызванных работой машины, что может привести по меньшей мере к частичному ее выдвижению из кофеварки эспрессо.
Емкость для воды, как правило, находится в гидравлической связи с водонагревателями кофеварки эспрессо посредством выпускного клапана. Выпускной клапан ограничивает вытекание текучей среды из емкости для воды во время извлечения емкости (как правило, во время ее наполнения водой и (или) чистки).
Не полностью соединенное/разъединенное соединение между емкостью для воды и водонагревателем (посредством входного клапана) может приводить к течи, пониженному заварочному давлению во время работы или ограничению подачи воды из емкости к водонагревателю.
В одном из вариантов осуществления изобретения для обеспечения надежного соединения между емкостью для воды и кофеваркой эспрессо может использоваться механизм блокировки. Механизм блокировки может ограничивать непреднамеренное или нежелательное отсоединение емкости для воды от корпуса кофеварки эспрессо.
На фиг. 10 показан перспективный вид сзади кофеварки 1000 эспрессо в одном из вариантов осуществления изобретения с отверстием 1010 для приема емкости для воды. Соединительный элемент 1020 выпускного клапана предназначен для приема выпускного клапана (на чертеже не показан). Опорная поверхность 1030 блокировки емкости для воды предназначена для зацепления механизма блокировки, функционально связанного с емкостью для воды.
В данном варианте осуществления изобретения емкость для воды в сборе вставляется в корпус кофеварки эспрессо практически в горизонтальном направлении.
На фиг. 11А, 11В, 12А и 12В показан один из вариантов выполнения емкости 1100 для воды в сборе, содержащей:
- механизм 1110 блокировки (лучше всего виден на фиг. 13А и 13В) в виде механического эксцентрикового зажима со смещенной осью для фиксации емкости для воды в положении, обеспечивающем полное соединение впускного клапана; и
- выпускной клапан 1120 (лучше всего виден на фиг. 14А и 14В) в виде смещенного пружиной плунжерного клапана для соединения в горизонтальном направлении с соединительным элементом впускного клапана.
На фиг. 11А показана емкость 1100 для воды с механизмом блокировки в заблокированном положении, а на фиг. 11В показана емкость 1100 для воды с механизмом блокировки в разблокированном положении.
На фиг. 12А показан частный вид в боковом разрезе кофеварки эспрессо с емкостью для воды в зацепленной конфигурации. В такой конфигурации механизм 1110 блокировки находится в заблокированной положении, а выпускной клапан 1120 открыт и разрешает выход текучей среды из емкости.
На фиг. 12В показан частный боковой вид в разрезе кофеварки эспрессо с емкостью для воды в расцепленной конфигурации. В такой конфигурации механизм 1110 блокировки находится в разблокированном положении, а выпускной клапан 1120 герметично закрыт и не разрешает выход текучей среды из емкости (лучше всего это видно на фиг. 14В).
Как показано на фиг. 13А и 13В, вставка емкости 1310 для воды в корпус 1320 кофеварки эспрессо приводит стопор 1330 в сборе в непосредственную близость к опорной поверхности 1030 блокировки. После вставки емкости для воды в кофеварку ручка стопора в сборе может быть повернута в положение блокировки (как это лучше всего видно на фиг. 13А), при котором криволинейный выступ 1332 входит в зацепление с криволинейной опорной поверхностью 1342, образуя заблокированную конфигурацию со смещенной осью. Во время разблокировки, согласно фиг. 13В, поворот стопора в сборе (вокруг штифта 1344) приводит к расцеплению криволинейного выступа 1332 и криволинейной опорной поверхности 1342, образуя разблокированную конфигурацию, позволяющую извлечь емкость для воды из кофеварки. Конфигурация выступа со смещенной осью может ограничивать непреднамеренное или нежелательное разъединение емкости для воды и корпуса кофеварки эспрессо.
Понятно, что криволинейное зацепление затягивает емкость для воды внутрь кофеварки эспрессо до зацепленной конфигурации, а смещенное относительно оси положение выступа (при котором ось вращения, образуемая штифтом 1344, находится выше опорной поверхности) блокирует непреднамеренное или нежелательное разъединение блокирующего механизма.
Согласно фиг. 14А и 14В, вставка емкости 1410 для воды в корпус 1420 кофеварки эспрессо приводит выпускную клапанную сборку 1430 в контакт с разъемным соединительным элементом 1440 клапана. Как только выпускная клапанная сборка входит в контакт с разъемным соединительным элементом 1440 клапана, смещенный пружиной выпускной клапан 1434 входит в контакт с опорной поверхностью 1442 и переводит клапан в открытое зацепленное положение, разрешая выход текучей среды из емкости. В процессе разъединения, согласно фиг. 14В, выпускная клапанная сборка 1430 отходит от соединительного элемента 1440 клапана, приводя к отходу смещаемого пружиной выпускного клапана 1434 от опорной поверхности 1442 и переводя клапан в закрытое положение для запрещения расхода текучей среды из емкости.
Управление паром
На фиг. 15-17 исключительно в качестве примера показан вариант выполнения устройства управления паром для кофеварки эспрессо.
Как показано на фиг. 15, кофеварка эспрессо может иметь паровую палочку 1500, которая поворачиваться вокруг шарового соединения 1501. Пар поступает в паровую палочку 1500 с выхода 1502 клапана 1503. Вместо использования многооборотного игольчатого клапана в некоторых вариантах осуществления изобретения для бесступенчатого регулирования количества подаваемого в паровую палочку 1500 пара (от его полного перекрытия до полной подачи) используется шаровой клапан 1504 с бесступенчатым регулированием. Шаровой клапан 1504 приводится в действие механически и механически связан с поворотной лопаткой 1505, что позволяет пользователю более надежно управлять клапаном. Вследствие того, что шаровой клапан требует поворота предпочтительно только на угол приблизительно 90° (или по меньшей мере менее чем на 180°), чтобы перевести клапан из полностью закрытого состояния в полностью открытое состояние, пользователю предпочтительно достаточно повернуть лопатку 1505 на угол 90° или меньше, чтобы осуществить полное управление выходом паровой палочки 1500. Приемлемым может быть поворот на угол до 180°. В данном варианте осуществления изобретения входной порт 1506 получает пар от парогенератора (например, от парогенератора 260, показанного на фиг. 2 и 7). Шаровой клапан 1504 находится внутри внешнего корпуса 1507 кофеварки эспрессо.
Из фиг. 15, 16 и 17 понятно, что поворотная лопатка 1505 состоит из рычажной втулки 1508, к которой крепится продолжающаяся радиально лопатка или рычаг 1601. Упомянутый рычаг 1601 имеет удобную ручку и обеспечивает пользователю возможность прикладывать больший вращающий момент к клапану 1503. Втулка имеет внешнюю крышку 1509 с прорезью 1701, через которую проходит рычаг 1601. Втулка 1508 также имеет продольное продолжение в виде полого цилиндра 1510, через который вставлен крепежный элемент 1511, соединяющий цилиндр 1510 с поворотным элементом клапана 1504, в данном примере шарового клапана.
Как показано на фиг. 15 и 16, внутренняя часть (или обращенная внутрь часть) втулки 1508 выполнена в виде криволинейной поверхности 1602 или имеет такую поверхность. Криволинейная поверхность 1602 взаимодействует с микровыключателем 1603, который может быть установлен внутри монтажного кронштейна или корпуса 1604. Криволинейная поверхность 1602 предназначена для нажатия на микровыключатель 1603 и тем самым его активизации его, когда рычаг 1601 поворачивается в положение, которое позволяет клапану выдавать пар через паровую палочку 1500. Таким образом микровыключатель 1603 может выдавать в блок микропрограммного управления кофеварки эспрессо сигнал положения (или сигнал данных), который может быть использован в блоке микропрограммного управления в различных целях. В одном из примеров если кофеварка эспрессо включена при активированном микровыключателе 1603, то блок микропрограммного управления воспринимает выходной сигнал микровыключателя в качестве свидетельства того, что выход паровой палочки гидравлически сообщается с парогенератором. В такой нежелательной ситуации блок микропрограммного управления либо не допускает разогрева парогенератора, либо блокирует выход паровой палочки до исправления ситуации пользователем. В предпочтительном варианте осуществления изобретения как криволинейная поверхность 1602, так и микровыключатель 1603 находятся внутри корпуса 1507 кофеварки.
В одном из вариантов осуществления изобретения устройство управления подачей пара кофеварки эспрессо включает в себя:
шаровой клапан, находящийся в гидравлической связи с паровой палочкой;
втулку, имеющую радиально продолжающийся рычажный элемент; втулка установлена с возможностью поворота относительно кофеварки эспрессо; втулка и рычажный элемент функционально связаны с шаровым клапаном, который может находиться в различных состояниях;
причем устройство может быть сконфигурировано от полностью закрытой конфигурации до полностью открытой конфигурации путем поворота втулки на угол менее 180°.
Как правило, устройство управления подачей пара имеет переключающий сенсорный элемент для выдачи сигнала данных (или сигнала положения) вычислительному модулю. Сигнал данных может свидетельствовать о том, что устройство находится в полностью открытой конфигурации, в которой выход паровой палочки гидравлически сообщается с парогенератором.
Еще один вариант осуществления изобретения схематично показан на фиг. 18. Как видно из приведенной схемы, кофеварка 1800 эспрессо имеет насос 1801, который всасывает воду из емкости 1802 и подает ее в парогенератор 1803. Пар из парогенератора 1803 поступает к электромагнитному клапану 1805. Трехходовой двухпозиционный электромагнитный клапан 1805 используется для пуска и прекращения подачи пара от парогенератора 1803 к паровой палочке 1811. В предпочтительных вариантах осуществления изобретения большая часть палочки в сборе заключена в пластмассу, чтобы сохранять универсальное тепло в носике 1812. Температура носика контролируется термистором 1813 и обычно соответствует температуре жидкости или молока вокруг носика 1812. Когда электромагнитный клапан закрыт, канал для пара сообщается с атмосферой. Соединение канала прохождения пара с атмосферой исключает всасывание молока обратно в паровую палочку 1811 и трубку 1806 Вентури. Проникновение молока в эти зоны может привести к загрязнению, неприятному запаху и засорению. Клапан 1805 предназначен для подачи к трубке Вентури либо настоящего пара из парогенератора 1803, либо атмосферного воздуха. На трубку 1806 Вентури также поступает воздух, предпочтительно сжатый воздух 1807, от воздушного насоса 1808. Подача воздуха от воздушного насоса 1808 осуществляется через обратный клапан 1809. Блокировка паровой палочки 1811 может вызвать обратное давление в паровом канале, которое способно повредить воздушный насос 1808. Обратный клапан 1809 предотвращает возможность неблагоприятного воздействия обратного давления на воздушный насос 1808. Выход 1810 трубки Вентури соединен с паровой палочкой 1811. Паровая палочка 1811 имеет носик 1812 для выхода пара с прикрепленным к нему или находящимся по соседству с ним или взаимодействующим с ним термистором, таким как термистор 1813 с отрицательным температурным коэффициентом. Поворотный рычаг 1814 регулировки подачи пара активирует выключатели, такие как микровыключатели 1815, 1816. Один из микровыключателей 1815 управляет автоматическим процессом генерации пара. Другой микровыключатель 1816 используется для ручного управления подачей пара. Состояние выключателей 1815, 1816 контролируется микропроцессорным устройством 1817 управления. Микропроцессорное устройство управления также считывает выходной сигнал термистора 1813 и осуществляет управление воздушным насосом 1808 и электромагнитным клапаном 1805. Микропроцессорное устройство управления также считывает сигнал с микровыключателя 1818, состояние которого зависит от положения паровой палочки 1811. В частности, микровыключатель 1818, расположенный рядом с паровой палочкой, определяет, когда паровая палочка 1811 возвращается в вертикальное или исходное положение, т.е. в положение, подходящее для продувки паровой палочки, прежде всего автоматической продувки, как это поясняется ниже.
Для автоматической подачи пара пользователь кратковременно воздействует на рычаг 1814, чтобы сработал микровыключатель 1815. В предпочтительных вариантах осуществления изобретения паровая палочка 1811 воздействует на пружину или другой элемент 1819 смещения, так что при отпускании рычага он возвращается в свое исходное нейтральное положение. Сигнал от микровыключателя 1815 (или отсутствие сигнала), обнаруженный микропроцессорным устройством 1817 управления, приводит к открыванию электромагнитного клапана 1805 и поступлению пара из парогенератора 1804 к трубке 1806 Вентури. В трубке Вентури пар из парогенератора смешивается с воздухом 1807, поступающим от воздушного насоса 1808. Воздушно-паровая смесь проходит через паровую палочку 1811 и выходит из носика 1812 непосредственно в емкость 1820, предпочтительно емкость для молока. Датчик 1813 температуры измеряет температуру и передает соответствующий сигнал в микропроцессорное устройство 1817 управления. Затем микропроцессорное устройство управления выводит на дисплей 1821 температуру молока. Предпочтительно дисплей 1821 располагается на передней панели кофеварки эспрессо или отдельного устройства вспенивания молока. Когда молоко в емкости достигает заданной температуры, электромагнитный клапан 1805 и воздушный насос 1808 отключаются или деактивируются. Когда электромагнитный клапан 1805 деактивируется, путь прохождения пара к паровой палочке 1811 соединяется с атмосферой 1805.
Воздушный насос может работать независимо, включаясь и выключаясь в соответствии с заданной температурой, временем или комбинированной логикой.
При ручном управлении выдачей пара пользователь воздействует на рычаг управления паром в противоположном направлении, вызывая срабатывание второго микровыключателя 1816. Это приводит к открыванию электромагнитного клапана 1805 и подаче пара от парогенератора 1803 к трубке Вентури. В таком режиме пар проходит непосредственно через трубку Вентури, а воздух 1807 не поступает в канал прохождения пара. Пар проходит через паровую палочку 1811 и выходит из носика 1812 непосредственно в емкость 1820. Датчик 1813 температуры измеряет температуру молока в контейнере 1820, и затем соответствующий сигнал передается в микропроцессорное устройство 1817 управления. Микропроцессорное устройство управления выводит температуру молока на расположенный на корпусе дисплей 1821. Когда подано достаточно пара, пользователь отпускает рычаг 1814 подачи пара обратно в исходное или нейтральное положение. Деактивированный таким образом электромагнитный клапан 1805 соединяется с атмосферой. При открывании канала прохождения пара для атмосферного давления конденсация горячего пара в канале прохождения не позволяет молоку из емкости 1820 всасываться обратно в носик 1812.
В альтернативном полуавтоматическом режиме пользователь может выбрать температуру (это может быть заводская или пользовательская установка), так что когда пользователь вспенивает молоко, датчик распознает и (или) вычисляет приближение к выбранной пользователем температуре и извещает пользователя звуковым или визуальным (на дисплее) сигналом обратной связи о необходимости прекращения подачи пара.
В предпочтительных вариантах осуществления изобретения после того как выполнена функция автоматической парогенерации и удалена емкость 1820, микровыключатель 1818 распознает, когда паровая палочка возвращается в “исходное” или безопасное положение вниз. Сигнал от микровыключателя 1818 обнаруживается микропроцессорным устройством 1817 управления и приводит к кратковременному (например, на 1 сек) открыванию или к серии кратковременных открываний электромагнитного клапана 1805 для продувки отверстия носика 1812. Такая функция может выполняться автоматически для очистки канала от остатков пены. В некоторых вариантах осуществления изобретения этой функции может предшествовать предупредительный звуковой или визуальный сигнал оповещения пользователя о том, что из носика 1812 будет выбрасываться пар. Наличие сенсорного датчика положения паровой палочки или микровыключателя 1818 обеспечивает выполнение других автоматических функций, когда паровая палочка находится в исходном или полностью опущенном положении. Расход или скорость подачи воздуха воздушным насосом 1808 может регулироваться, например, путем широтно-импульсной модуляции. Такой расход или скорость подачи воздуха воздушным насосом 1808 может регулироваться пользователем посредством пользовательского интерфейса 1822. Контроль выхода воздушного насоса 1808 равносилен заданию структуры вспененного молока в емкости 1820. Большой расход будет создавать более структурированную или воздушную пену, в то время как низкий расход приведет к более густой, менее структурированной пене.
В одном из вариантов осуществления изобретения может использоваться датчик 1830 давления, позволяющий микропроцессорному устройству 1817 управления регулировать давление пара в паровой палочке 1811. В данном варианте осуществления изобретения датчик давления подключен к каналу прохождения пара между трубкой 1806 Вентури и паровой палочкой 1811. Понятно, что это позволяет: выявлять факт частичной или полной блокировки паровой палочки (обычно из-за образования отложений на выходе паровой палочки), что позволяет микропроцессорному устройству 1817 управления прекращать выполнение функции парообразования и (или) извещать пользователя о возникновении проблемы; и обеспечивать обратную связь в режиме реального времени о совместном давлении пара и воздуха, чтобы позволить микропроцессорному устройству 1817 управления регулировать расход воздуха, обеспечиваемый воздушным насосом, с целью достижения заданного значения давления.
Как показано на фиг. 19, температура нагреваемой паром текучей среды в кружке 1900 может быть передана по беспроводной связи на вход блока 1901 управления процессом. В данном примере кружка 1900 содержит термистор, такой как термистор с отрицательным температурным коэффициентом, и приемопередатчик 1902, такой как приемопередатчик системы радиочастотной идентификации RFID, беспроводного доступа Wi-Fi, Bluetooth или инфракрасный приемопередатчик. Приемопередатчик 1902 излучает радиосигнал (или другой радиочастотный сигнал), который принимается взаимодействующей приемной микросхемой или базовой станцией 1903. Приемник или базовая станция 1903 передает соответствующий сигнал на вход блока 1901 управления процессом. Как и в ранее упомянутых вариантах осуществления изобретения, устройство парообразования, показанное на фиг. 19, включает в себя парогенератор 1904, который выдает пар на трехходовой двухпозиционный электромагнитный клапан 1905. Упомянутый электромагнитный клапан управляет потоком пара, поступающим в трубку 1908 Вентури, в то же время позволяя избыточному потоку или избыточному давлению сбрасываться в атмосферу 1906, прежде всего направляя сброс в сливной поддон 1907, находящийся ниже кружки 1900. Как и в других вариантах осуществления изобретения, трубка Вентури получает воздух или сжатый воздух от воздушного насоса 1909. Предохранительный обратный клапан 1910 расположен между воздушным насосом и всасывающим входом трубки 1911 Вентури.
Как показано на фиг. 19, паровая палочка взаимодействует с датчиком 1912 положения паровой палочки. Датчик 1912 положения паровой палочки выдает сигнал на блок 1901 управления процессом. При работе в режиме ручного управления блок 1901 управления процессом позволяет пару сбрасываться через электромагнитный клапан 1905 в любом положении паровой палочки. Однако, в режиме автоматической подачи пара (когда пользователь не имеет возможности управлять выходом пара с помощью клавиши или ручки управления) или во время автоматической чистки паровой палочки блок 1901 управления процессом позволяет электромагнитному клапану 1905 срабатывать только если паровая палочка находится в заданном (“нижнем”) положении, которое определяет датчик 1912 положения.
Как показано на фиг. 20, в некоторых вариантах осуществления изобретения требуется, чтобы первичный электромагнитный клапан 2000 подачи пара управлялся совместно или одновременно или в иной зависимости c воздушным насосом 2001. Воздушный насос может начинать работу с запаздыванием относительно начала подачи пара. Чтобы добиться этого используется один и тот же выход 2002 блока 2003 управления процессом для управления включением и выключением как электромагнитного клапана 2000,так и воздушного насоса 2001.
Как показано на фиг. 21, клапан с ручным управлением, такой как шаровой клапан 2100, используется для предоставления пользователю возможности управления выходом пара из парогенератора 2101. Пар, проходящий через шаровой клапан 2100, подается в трубку 2102 Вентури. Между шаровым клапаном 2100 и трубкой 2102 Вентури установлен антисифонный или противовакуумный клапан 2103. Такой противовакуумный клапан 2103 предотвращает возникновение отрицательного давления выше трубки Вентури и всасывание вследствие этого текучей среды в шаровой клапан, парогенератор или другие аспекты кофеварки эспрессо, расположенные по потоку выше клапана 2103. Шаровой клапан 2100 взаимодействует с датчиком 2104. Упомянутый датчик передает данные о текущем положении шарового клапана в блок 2105 управления процессом. Имея информацию от датчика 2104 о положении шарового клапана, блок 2105 управления процессом может использовать эту информацию для высвечивания на внешней поверхности парообразователя или кофеварки эспрессо предупредительного сигнала 2106, который свидетельствует, например, о том, что путь прохождения пара к паровой палочке открыт. В некоторых вариантах осуществления изобретения если датчик 2104 показывает, что шаровой клапан открыт, то блок 2105 управления процессом сразу выдает команду на подачу питания на парогенератор 2101. Такой подход позволяет предотвратить случайное включение парогенератора при первом включении кофеварки эспрессо, когда шаровой клапан 2100 открыт.
Как показано на фиг. 22, вместо шарового клапана 2100, показанного на фиг. 21, может использоваться многопортовый управляющий керамический клапан 2200. Упомянутый керамический клапан обеспечивает дополнительную гибкость управления, предоставляя возможность использования нескольких отличающихся путей прохождения потока, выбираемых одной поворотной ручкой клапана, а именно, ручкой клапана, ассоциируемой с керамическим клапаном 2200. Таким образом, выполненный из керамики клапан 2200 может иметь перепускной порт 2201, ведущий к перепускному каналу 2202, выходящему либо в атмосферу 2203, либо чаще в сливной поддон 2204, расположенный под кружкой 1900. Выполненный из керамики поворотный клапан 2200 может также иметь канал 2205 ручного перепуска, позволяющий пару из парогенератора 2101 обходить трубку 1908 Вентури. Вследствие того, что трубка Вентури обычно представляет собой препятствие на пути потока, канал 2205 ручного перепуска обеспечивает подачу в паровую палочку 2210 бóльшего объема пара.
Как показано на фиг. 23, для управления основным паровым электромагнитным клапаном 2302 и воздушным насосом 2303, подающим воздух в трубку 2304 Вентури, используются два отдельных блока 2300, 2301 управления процессом. В одном из вариантов осуществления изобретения датчик обнаружения давления или мембранный выключатель 2305 обнаруживает давление в линии 2306 между электромагнитным клапаном 2302 и трубкой 2304 Вентури. В случае обнаружения давления датчиком давления или мембранным выключателем, на вход второго блока 2301 управления процессом выдается сигнал. Второй блок 2301 управления процессом интерпретирует такой сигнал как команду на подачу питания на воздушный насос 2303. В других вариантах осуществления изобретения мембранный выключатель 2305 не требуется. Вместо него используется управляемый пользователем орган 2310 управления, с помощью которого на второй блок 2301 управления процессом подается сигнал или передается положение выключателя, которое интерпретируется как команда на подачу питания на воздушный насос 2303. При необходимости, управляемый пользователем орган управления 2310 может быть деактивирован, если основной электромагнитный клапан 2302 закрыт.
Толкование описания изобретения к патенту
Понятно, что некоторые варианты осуществления изобретения описаны в данном документе в качестве способа или комбинации элементов способа, которые могут быть реализованы процессором компьютерной системы или другим средством выполнения такой функции. Таким образом, процессор с необходимым набором команд для реализации такого способа или элемента способа является средством реализации способа или элемента способа. Кроме того, описанный в данном документе элемент аппаратной реализации устройства является примером средства для выполнения функции, выполняемой элементом в целях реализации изобретения.
В альтернативных вариантах осуществления изобретения один или несколько процессоров работают в качестве обособленного устройства или могут быть соединены, например, связаны сетью с другим(и) процессором(рами) при сетевом размещении, один или несколько процессоров могут работать в качестве сервера или клиентского компьютера в сетевой среде сервер-клиент или в качестве равноправного компьютера в сети ЭВМ с равноправными узлами или в распределенной сетевой среде.
Если не оговорено особо, как это видно из последующего рассмотрения, следует иметь в виду, что во всем описании использование терминов, таких как “обработка”, “обработка данных”, “вычисление”, “определение” и т.п. относится к действию и (или) процессу, выполняемому компьютером или вычислительной системой или аналогичным вычислительным устройством, которое манипулирует данными и (или) преобразует данные, представленные физическими, например, электрическими величинами, в другие данные, также представленные физическими величинами.
Аналогично, под термином “процессор” может пониматься любое устройство или часть устройства, которое обрабатывает электрические данные, например, из регистров и (или) устройств памяти, с целью преобразования этих электрических данных в другие электрические данные, которые, например, могут быть сохранены в регистрах и (или) устройствах памяти. “Компьютер” или “вычислительная машина” или “вычислительная платформа” может включать в себя один или несколько процессоров.
Способы, описанные в данном документе, могут в одном из вариантов осуществления настоящего изобретения реализовываться одним или более процессорами, которые воспринимают машиночитаемые (также называемые машинно-читаемыми) коды, содержащие набор команд, при выполнении которых одним или несколькими процессорами реализуется по меньшей мере один из способов, описанных в настоящем документе. Под процессором понимается любой процессор, способный выполнять набор команд (последовательно или иным образом), указывающий действия, которые необходимо выполнить.
Если из контекста не следует иное, то во всем описании и в формуле изобретения термины “содержать”, “содержащий” и т.п. следует понимать в широком смысле в отличие от исключающего смысла; т.е. в смысле “включающий в себя, но не ограниченный этим”.
Аналогично, следует иметь в виду, что термин “связанный” при его использовании в формуле изобретения не должен пониматься как относящийся только к непосредственной связи элементов. Могут использоваться термины “связанный” и “соединенный” вместе с их производными. Следует понимать, что данные термины не являются синонимами. Так, смысл выражения устройство А связано с устройством Б не ограничивается тем, что выход устройства А непосредственно соединен со входом устройства Б. Выражение означает, что существует некий путь между выходом устройства А и входом устройства Б, включающий в себя другие устройства и средства. “Связанный” может означать, что два или несколько элементов находятся либо в непосредственном физическом или электрическом контакте друг с другом, или что два или несколько элементов не находятся в непосредственном физическом или электрическом контакте друг с другом, но тем не менее кооперируются или взаимодействуют друг с другом.
Как принято в данном документе, если не оговорено иное, то использование порядковых числительных “первый”, “второй”, “третий” и т.д. при описании общего объекта всего лишь означает, что различные примеры или похожие объекты, являются примерами или объектами, на которые ссылаются, и не должны восприниматься как примеры или объекты, находящиеся в указанной последовательности во времени, в пространстве, по рангу или в каком-либо другом смысле.
Ссылка по всему описанию на “один из вариантов осуществления изобретения” или на “вариант осуществления изобретения” означает, что конкретное свойство, конструкция или параметр, описываемые в связи с данным вариантом осуществления изобретения, включены в состав по меньшей мере одного варианта осуществления изобретения. Таким образом, появление фраз “в одном из вариантов осуществления изобретения” или “в варианте осуществления изобретения” в различных местах описания не обязательно относится к одному и тому же варианту осуществления изобретения, но может относиться к одному и тому же варианту осуществления изобретения. Более того, конкретные свойства, конструкции или параметры могут быть скомбинированы любым способом в одном или нескольких вариантах осуществления изобретения, как это очевидно из настоящего описания для специалиста в данной области техники.
Аналогично, следует понимать, что в вышеприведенном описании примеров осуществления изобретения различные свойства изобретения иногда сгруппированы друг с другом в единый вариант осуществления изобретения, чертеж или его описание в целях оптимальной организации описания и облегчения понимания одного или нескольких различных изобретательских аспектов. Такой способ описания изобретения, однако, не следует воспринимать как намерение показать, что заявленное изобретение требует больших свойств, чем однозначно изложено в каждом пункте формулы изобретения. Скорее, как это видно из нижеследующей формулы изобретения, изобретательские аспекты лежат менее чем во всех свойствах одного из вышеописанных вариантов осуществления изобретения. Таким образом, формула изобретения, следующая за подробным описанием изобретения, настоящим документом недвусмысленно включена в состав упомянутого подробного описания изобретения, каждый пункт которого представляет собой отдельный вариант осуществления настоящего изобретения.
Более того, несмотря на то, что некоторые описанные в данном документе варианты осуществления изобретения включают в себя некоторые, но не все свойства, включенные в другие варианты осуществления изобретения, подразумевается, что любые комбинации различных вариантов осуществления изобретения попадают в объем настоящего изобретения и образуют другие варианты осуществления изобретения, как это понятно специалистам в данной области техники. Например, в нижеследующей формуле изобретения любой из заявленных вариантов осуществления изобретения может использоваться в любой комбинации с другими вариантами.
В предложенном описании изложены многочисленные конкретные подробности. Однако понятно, что варианты осуществления изобретения могут быть воплощены на практике без этих конкретных подробностей. В других примерах широко известные способы, конструкции и технологии не показаны подробно с целью не затруднять понимание настоящего изобретения. Несмотря на то, что настоящее изобретение описано со ссылкой на конкретные примеры, специалистам в данной области техники следует иметь в виду, что настоящее изобретение может быть реализовано во многих других формах.
| название | год | авторы | номер документа |
|---|---|---|---|
| УСТРОЙСТВО И СПОСОБ ДЛЯ УЛУЧШЕННОЙ КОФЕВАРКИ | 2016 |
|
RU2737062C1 |
| УСТРОЙСТВО И СПОСОБ ДЛЯ УЛУЧШЕННОЙ КОФЕВАРКИ | 2012 |
|
RU2607542C2 |
| СПОСОБ РАБОТЫ КОФЕВАРКИ ЭСПРЕССО И УСТРОЙСТВО ДЛЯ ЕГО ОСУЩЕСТВЛЕНИЯ | 2011 |
|
RU2571357C2 |
| УСТРОЙСТВО И СПОСОБ ДЛЯ ВЗБИВАНИЯ МОЛОКА | 2014 |
|
RU2678011C2 |
| КОФЕВАРКА ЭСПРЕССО С ВОЗМОЖНОСТЬЮ ПРИГОТОВЛЕНИЯ АМЕРИКАНО | 2013 |
|
RU2639067C2 |
| КОФЕМАШИНА, СИСТЕМА ЗАКРЫТИЯ И/ИЛИ ТРАМБОВКИ И КЛАПАННОЕ УСТРОЙСТВО, ПРИГОДНЫЕ ДЛЯ ИСПОЛЬЗОВАНИЯ В КОФЕМАШИНЕ | 2020 |
|
RU2812833C1 |
| СИСТЕМА ИЗ КОФЕВАРКИ И ПОРЦИОННОЙ КАПСУЛЫ | 2005 |
|
RU2380999C2 |
| КОФЕМАШИНА И КЛАПАННОЕ УСТРОЙСТВО, ПРИГОДНОЕ ДЛЯ ИСПОЛЬЗОВАНИЯ В КОФЕМАШИНЕ | 2020 |
|
RU2812802C1 |
| УСТРОЙСТВО ДЛЯ ПРИГОТОВЛЕНИЯ НАПИТКОВ | 2007 |
|
RU2416352C2 |
| КОФЕМАШИНА, СИСТЕМА ТРАМБОВКИ И КЛАПАННОЕ УСТРОЙСТВО, ПРИГОДНЫЕ ДЛЯ ИСПОЛЬЗОВАНИЯ В КОФЕМАШИНЕ | 2020 |
|
RU2819695C1 |
Кружка, предназначенная для использования совместно с устройством подачи пара с паровой палочкой, содержащая датчик температуры для измерения температуры жидкости в кружке и беспроводной приемопередатчик, выполненный с возможностью подачи температурного сигнала на приемник устройства подачи пара на основе измеренной температуры, выполненный с возможностью подачи соответствующего сигнала на контроллер, управляющий работой трехходового двухпозиционного электромагнитного клапана для пуска и прекращения подачи пара от парогенератора к паровой палочке и сброса избыточного потока или избыточного давления. Технический результат осуществления изобретения заключается в регулировании выхода пара, обеспечивающем большую легкость использования. 2 з.п. ф-лы, 23 ил.
1. Кружка, предназначенная для использования совместно с устройством подачи пара с паровой палочкой, содержащая:
датчик температуры для измерения температуры жидкости в кружке и
беспроводной приемопередатчик, выполненный с возможностью подачи температурного сигнала на приемник устройства подачи пара на основе измеренной температуры, выполненный с возможностью подачи соответствующего сигнала на контроллер, управляющий работой трехходового двухпозиционного электромагнитного клапана для пуска и прекращения подачи пара от парогенератора к паровой палочке и сброса избыточного потока или избыточного давления.
2. Кружка по п. 1, в которой датчик температуры представляет собой термистор.
3. Кружка по п. 1, в которой приемник выполнен с возможностью подачи соответствующего сигнала на вход контроллера.
| WO 2012151629 A, 15.11.2012 | |||
| СПОСОБ РАБОТЫ КОФЕВАРКИ ЭСПРЕССО И УСТРОЙСТВО ДЛЯ ЕГО ОСУЩЕСТВЛЕНИЯ | 2011 |
|
RU2571357C2 |
| EP 3628194 A1, 01.04.2020 | |||
| УСТЬЕ ДРЕНАЖНОГО КОЛЛЕКТОРА | 2008 |
|
RU2389848C1 |
Авторы
Даты
2024-12-06—Публикация
2020-11-16—Подача