Предлагаемое изобретение относится к области энергетики и может применяться в системах электроснабжения технических комплексов Ракетных Войск, имеющих провалы и пики энергопотребления для выравнивания графика электрической нагрузки.
В составе энергопотребляющего оборудования технического комплекса имеется ряд систем (азотодобывающие станции, системы термостатирования и пр.), перебои в работе которых нежелательны. Для обеспечения работы этих систем в период пикового энергопотребления могут применяться воздушно-аккумулирующие газотурбинные электростанции (ВАГТЭ).
Эффект от применения воздушно-аккумулирующих газотурбинных электростанций (ВАГТЭ) заключается в том, что в газотурбинных установках (ГТУ) около половины мощности газовой турбины расходуется на привод компрессора, а остальная мощность - на привод генератора.
В период снижения электрической нагрузки ВАГТЭ использует избыточную энергию сети на зарядку воздушного аккумулятора давления (ВАД), а в пиковом режиме компрессор отключается, воздух высокого давления подается в камеру сгорания ГТУ от ВАД и турбина работает с удвоенной полезной мощностью.
По типу воздушного аккумулятора ВАГТЭ подразделяются на ВАГТЭ с аккумулятором постоянного объема и с аккумулятором постоянного давления.
Известен проект ВАГТЭ Сойланд (США) с воздушным аккумулятором постоянного давления [1]. Постоянное давление обеспечивается за счет столба воды, который соединяет полость воздушного аккумулятора с водоемом, расположенным на поверхности. При расходовании воздуха вода заполняет полость воздушного аккумулятора, при зарядке вытесняется в водоем. ВАГТЭ с аккумулятором постоянного давления имеют более высокую степень эффективности, но требуют больших капитальных затрат на их создание по сравнению с ВАГТЭ с аккумулятором постоянного объема.
В предлагаемом техническом решении будут рассматриваться ВАГТЭ с аккумулятором постоянного объема как наиболее предпочтительные с точки зрения минимизации капитальных вложений.
Известна ВАГТЭ с аккумулятором постоянного объема, которая функционирует в Хунторф (Германия) на территории одной из ТЭЦ [1]. Мощностью этой ВАГТЭ 200 МВт. Она предназначена для регулирования пикового спроса на электроэнергию. Установка работает в течение суток всего 4 часа. Два часа утром - с 7 до 9 часов и два часа вечером - с 18 до 20 часов.
В качестве воздушного аккумулятора используются подземные пустоты, сооруженные в подземном массиве каменной соли, расположенным рядом с электростанцией.
Избыток производимой на электростанции электроэнергии используется для привода компрессоров, которые нагнетают сжатый воздух в герметичную подземную полость. При увеличении электрической нагрузки этот сжатый воздух используется для обеспечения работы газовой турбины. Таким образом, накопленная энергия сжатого воздуха при необходимости преобразуется в электрическую.
Особенностью ВАГТЭ в Хунторф является, то что для привода компрессорной группы и выработки электроэнергии используется один и тот же агрегат - мотор-генератор. Максимальное давление в ВАД составляет 7 МПа, минимальное - 4,3 МПа. Воздух подается в камеру сгорания ГТУ под давлением в 4,2 Мпа при меняющемся давлении в ВАД. Компрессорная группы и турбины соединяются с мотор-генератором через расцепные муфты.
Подобное техническое решение реализовано в ВАГТЭ Макинтош (США) [1]. Давление в воздушном аккумуляторе в процессе работы снижается 7,5 МПа до 4,6 МПа.
Недостатком ВАГТЭ с аккумулятором постоянного объема является то, что воздух в аккумулятор закачивается под гораздо большим давлением, чем это требуется для работы турбины, так как по мере его опорожнения давление в нем падает. Объем аккумулятора увеличен примерно в три раза по сравнению с аккумулятором постоянного давления. Экономичность ВАГТЭ снижена вследствие необходимости дросселирования потока воздуха из аккумулятора в начале его разрядки (часть работы, затраченной на создание запаса сжатого воздуха, теряется при дросселировании). Кроме того, недостатком ВАГТЭ в Хунторф является то, что она может работать либо в режиме зарядки воздушного аккумулятора либо разрядки и невозможность ее работы в базовом режиме без использования ВАД. Это обусловлено тем, в качестве электрической машины используется мотор-генератор.
Возможны также ВАГТЭ без использования пустот в недрах Земли [2], [3]. Аккумуляторы выполнены в виде отрезков металлических труб заданной длины и диаметром 1420 мм (такие трубы используются для магистральных газопроводов), из которых можно формировать аккумулирующие батареи. Преимуществом является меньшая стоимость, больше возможностей для выбора площадки для строительства ВАГТЭ. Такой аккумулятор не требует наличия пустот в недрах Земли. Недостатком является как и в ВАГТЭ в Хунторф необходимость дросселирования потока воздуха из аккумулятора в начале его разрядки для того, чтобы организовать подачу воздуха в ГТУ при постоянном давлении.
Кроме ВАГТЭ с дросселированием, возможен режим работы на скользящем давлении, соответствующем изменению давления в аккумуляторе. В схеме при постоянной температуре газа перед турбинами секундный расход воздуха и генерируемая мощность в процессе разряда аккумулятора будут снижаться, и ГТУ в течение всего периода разряда работает в переменном режиме с падающей мощностью [4]. Недостатком ВАГТЭ с таким режимом работы является то, что величина мощности по мере разрядки ВАД уменьшается и не поддается регулированию.
В качестве прототипа принята ВАГТЭ, созданная на базе газотурбинной установки (ГТУ) ГТЭ-350 ВА - разработчик - ПО "Ленинградский Металлический завод" (г. Санкт-Петербург, Россия) [5].
В состав установки входят:
- компрессорная группа. Состоит из компрессоров низкого, среднего и высокого давления. Компрессорная группа имеет три промежуточных и один концевой воздухоохладитель:
- камера сгорания;
- газотурбинная группа.
Воздушный аккумулятор давления является отдельной опцией и разработчиком не поставляется (предполагается использование ВАД, приведенного в [2],[3]). Основные элементы газотурбинной группы широко унифицированы с освоенным оборудованием. В отличие от ВАГТЭ в Хунторф компрессорная группа и газотурбинная группы разделены и снабжены самостоятельными электрическими машинами. Турбина приводит в движение генератор, а компрессора снабжены своим электродвигателем. Такая схема обеспечивает большую гибкость ВАГТЭ в условиях изменяющихся графиков нагрузки. При необходимости ВАГТЭ может работать не только в режиме зарядки воздушного аккумулятора или разрядки, но и как обычная газотурбинная электростанция без использования ВАД. Давление в ВАД в начале закачки 4,6 МПа, в конце 6,5 МПа.
Недостатком прототипа является как и для всех ВАГТЭ с ВАД постоянного объема то, что в уже в самой схеме работы заложено снижение выходной мощности до величины, соответствующей минимальному давлению в ВАД. Снижение мощности ВАГТЭ обусловлено двумя причинами:
- уменьшением коэффициента полезного действия (КПД) цикла за счет уменьшения перепада давлений на турбине;
- уменьшение давления рабочего тела перед турбиной приводит к уменьшению массового расхода и пропорциональному уменьшению ее мощности.
Задачей, на решение которой направлено заявляемое техническое решение является уменьшение указанного недостатка
Задача решается за счет возможности работы компрессора высокого давления независимо от компрессоров среднего и низкого давления.
Причем максимальная степень сжатия компрессора высокого давления равна отношению давления в ВАД в конце зарядки к давлению в начале зарядки. Соотношение степеней сжатия компрессоров низкого и среднего давления выбирается исходя из условия обеспечения минимальной мощности компрессорной группы [6]. Подача воздуха из воздушного аккумулятора по мере его разрядки осуществляется не в камеру сгорания ГТУ, а в компрессор высокого давления, который осуществляет сжатие воздуха, поступающего в камеру сгорания ГТУ до начального давления ВАД. Компрессора среднего и низкого давления при этом отключены. Полезный эффект обусловлен следующими факторами:
- в области малых степеней сжатия мощность, затрачиваемая на привод компрессора сравнительно невелика и увеличение мощности турбины за счет включения компрессора больше, чем затраты мощности на привод компрессора высокого давления;
- отсутствует уменьшение массового расхода воздуха за счет дросселирования
Техническим результатом заявленной полезной модели увеличение мощности ВАГТЭ в пиковом режиме и повышение экономичности за счет уменьшения потерь на дросселирование. Сопутствующими техническими эффектами являются возможность изменения мощности ВАГТЭ в пиковом режиме за счет изменения режима работы (в том числе и отключения) компрессора и уменьшение минимального давления в ВАД.
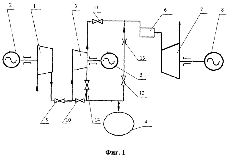
Сущность изобретения поясняется принципиальной схемой предлагаемой ВАГТЭ, представленной на фиг. 1. Показана упрощенная схема - компрессора низкого и среднего давления схематично изображены в виде одного агрегата, не представлены устройства, улучшающие КПД цикла (рекуператоры, воздухоохладители компрессорной группы и т.п.).
Обозначения на схеме фиг. 1:
1 - компрессорная группа (низкого и среднего давления);
2 - привод компрессоров низкого и среднего давления;
3 - компрессор высокого давления;
4 - воздушный аккумулятор (ВАД);
5 - привод компрессора высокого давления;
6 - камера сгорания;
7 - турбина;
8 - электрический генератор;
9, 10, 11, 12, 14 - затворы;
13 - дроссельный вентиль.
Работа ВАГТЭ
В режиме зарядки ВАД.
Атмосферный воздух поступает в компрессорную группу низкого и среднего давления 1, через открытый затвор 9 в компрессор высокого давления 3 и далее через открытый затвор 14 в воздушный аккумулятор 4. Затворы 10, 11, 12 закрыты, приводы компрессоров 2 и 5 включены. Воздух закачивается в ВАД до максимального давления (которое в 1,5…2 раза больше минимального).
В режиме разрядки ВАД.
Возможны два варианта работы ВАГТЭ в этом режиме: с дросселированием и с использованием компрессора высокого давления.
При работе с дросселированием воздух из ВАД через открытый затвор 12 поступает на дроссельный вентиль 13-давление его снижается до минимального, далее в камеру сгорания 6 и газовую турбину 7, которая приводит в действие электрический генератор 8. Затворы 9, 10, 11, 14 закрыты. Приводы компрессоров 2 и 5 выключены. Работа ВАГТЭ в этом режиме не отличается от работы прототипа.
При работе с использованием компрессора высокого давления воздух из ВАД через открытый затвор 10 поступает на вход компрессора высокого давления 3 далее через открытый затвор 11 в камеру сгорания 6 и газовую турбину 7, которая приводит в действие электрический генератор 8. Затворы 9, 12, 14 закрыты. Приводы компрессоров 2 выключены, электродвигатель 5 приводит в действие компрессор высокого давления 3. Таким образом, за счет относительно небольшой мощности, затрачиваемой на привод компрессора высокого давления, восстанавливается расход и давление воздуха, подаваемого из ВАД в камеру сгорания до значений, которые были бы при максимальном давлении воздуха в ВАД при отсутствии дросселирования. Следовательно, и мощность турбины также будет максимальна. Мощность ВАГТЭ уменьшается на величину мощности, затрачиваемой на привод компрессора высокого давления.
Компрессор высокого давления 3 в процессе разрядки работает с переменным массовым расходом - в конце процесса разрядки производительность его максимальна. Регулирование может осуществляться за счет изменения скорости вращения привода. Как показывают расчеты (см. Приложение), при начальном давлении воздуха в ВАД 40 бар и конечном 20 бар величина этой мощности не превышает 11% от мощности турбины.
При необходимости, в случае снижения потребной пиковой мощности компрессор высокого давления может выключаться - воздух подается в Приложение), при начальном давлении воздуха в ВАД 40 бар и конечном 20 бар величина этой мощности не превышает 11% от мощности турбины.
При необходимости, в случае снижения потребной пиковой мощности компрессор высокого давления может выключаться - воздух подается в камеру сгорания через дроссельный вентиль. Расход воздуха и мощность турбины при этом уменьшаются.
Таким образом, предлагаемое устройство позволяет увеличить экономичность ВАГТЭ за счет уменьшения потерь энергии на дросселирование, увеличить мощность ВАГТЭ и обеспечивает возможность ее регулирования. При объеме ВАД не более тысячи кубометров, предлагаемая ВАГТЭ обеспечивает в пиковом режиме работу азотодобывающей станции мощностью свыше 200 кВт в течение четырех часов, что вполне покрывает пиковую нагрузку технической позиции
Источники информации
1 - Воздушно-аккумулирующие газотурбинные электростанции. Г.Г. Ольховский, В.А. Казарян, А.Я. Столяревский. РГУ нефти и газа имени И. М. Губкина: 2011 Москва: 358 с.
2. - Федор МОЛОЧКО, Андрей МОЛОЧКО. ВАГТЭ как вариант регулирования нагрузки в энергосистеме. Журналы «Энергетика и ТЭК», 01.09.2008
3. - Аркадий Гуртовцев, Евгений Забелло, Электрическая нагрузка энергосистемы. Выравнивание графика. «Новости Электротехники» №6 2008 год.
4. - Корсов Ю.Г., Михальцев В.Е., Моляков В.Д., Бодров И.С.Исследование термодинамической эффективности тепловых схем газотурбинных воздушно-аккумулирующих электростанций. Журнал "Теплоэнергетика", 1980 г. №3, с 53-58.
5. - ГТЭ-350 ВА https://ccpowerplant.ru/vozduxoakkamuliruyushhaya-gazoturbinnaya-ustanovka-gte-350-va.
6. - Кириллин В.А, Сычев В.В., Шейндлин А.Е. Техническая термодинамика, М., "Энергия", 1968 г, 472 с.
| название | год | авторы | номер документа |
|---|---|---|---|
| Способ работы воздушно-аккумулирующей газотурбинной электростанции | 2017 |
|
RU2647013C1 |
| СПОСОБ РАБОТЫ ТЕПЛОУТИЛИЗАЦИОННОГО КОНТУРА В СОСТАВЕ ВОЗДУШНО-АККУМУЛИРУЮЩЕЙ ГАЗОТУРБИННОЙ УСТАНОВКИ | 2024 |
|
RU2838456C1 |
| Способ работы воздушно-аккумулирующей газотурбинной электростанции с абсорбционной бромисто-литиевой холодильной машиной (АБХМ) | 2017 |
|
RU2643878C1 |
| СПОСОБ РАБОТЫ ВОДОПОДГОТОВИТЕЛЬНОЙ УСТАНОВКИ В СОСТАВЕ ТЕПЛОУТИЛИЗАЦИОННОГО КОНТУРА ВАГТЭ | 2022 |
|
RU2790509C1 |
| Способ получения пиковой электроэнергии | 2021 |
|
RU2774931C1 |
| СПОСОБ АККУМУЛИРОВАНИЯ ЭНЕРГИИ | 2013 |
|
RU2529615C1 |
| ПАРОГАЗОВАЯ УСТАНОВКА НА БАЗЕ АЭС | 2012 |
|
RU2489574C1 |
| Воздухоаккумулирующая электростанция | 1982 |
|
SU1097816A1 |
| ГАЗОТУРБИННАЯ УСТАНОВКА | 1992 |
|
RU2013613C1 |
| СПОСОБ ПОВЫШЕНИЯ МАНЕВРЕННОСТИ И БЕЗОПАСНОСТИ АЭС | 2015 |
|
RU2604208C1 |
Предлагаемое изобретение относится к области энергетики и может применяться для выравнивания графика электрической нагрузки, в системе электроснабжения технического комплекса, имеющей провалы и пики энергопотребления. Система обеспечения режима пикового энергопотребления технического комплекса на основе воздушно-аккумулирующей газотурбинной электростанции (ВАГТЭ) с воздушным аккумулятором постоянного объема включает в себя газовую турбину с электрогенератором, камеру сгорания, компрессоры низкого давления и среднего давления, компрессор высокого давления, воздушный аккумулятор, магистрали и затворы, обеспечивающие зарядку атмосферным воздухом воздушного аккумулятора, и подачу воздуха из воздушного аккумулятора в камеру сгорания. Вместе с тем согласно изобретению компрессор высокого давления снабжен приводом, независимым от привода компрессоров среднего и низкого давления, а полость воздушного аккумулятора, в свою очередь, снабжена дополнительной магистралью, соединенной с входом компрессора высокого давления. Кроме того, выход компрессора высокого давления соединен дополнительной магистралью с камерой сгорания. Техническим результатом заявленного технического решения является увеличение мощности и экономичности ВАГТЭ, снижение остаточного давления в воздушном аккумуляторе. 1 ил.
Система обеспечения режима пикового энергопотребления технического комплекса на основе воздушно-аккумулирующей газотурбинной электростанции с воздушным аккумулятором постоянного объема, включающая в себя газовую турбину с электрогенератором, камеру сгорания, компрессоры низкого давления и среднего давления, компрессор высокого давления, воздушный аккумулятор, магистрали и затворы, обеспечивающие зарядку атмосферным воздухом воздушного аккумулятора, и подачу воздуха из воздушного аккумулятора в камеру сгорания, отличающаяся тем, что компрессор высокого давления снабжен приводом, независимым от привода компрессоров среднего и низкого давления, полость воздушного аккумулятора снабжена дополнительной магистралью, соединенной с входом компрессора высокого давления, а выход компрессора высокого давления соединен дополнительной магистралью с камерой сгорания.
| Способ работы воздушно-аккумулирующей газотурбинной электростанции | 2017 |
|
RU2647013C1 |
| Теплофикационная парогазовая энергетическая установка с аккумулированием энергии | 2021 |
|
RU2773580C1 |
| Устройство генерации электроэнергии с использованием пневмоаккумуляторов | 2018 |
|
RU2683056C1 |
Авторы
Даты
2024-12-11—Публикация
2023-07-28—Подача