[0001] Данная заявка испрашивает приоритет заявки на патент (США) номер 17/131192, поданной 22 декабря 2020 года, которая испрашивает приоритет предварительной заявки на патент (США) 62/954341, поданной 27 декабря 2019 года, содержимое каждой из которых полностью включено в данный документ по этой ссылке.
Область техники, к которой относится изобретение
[0002] Данное раскрытие относится к кодированию видео и декодированию видео.
Уровень техники
[0003] Поддержка цифрового видео может быть включена в широкий диапазон устройств, включающих в себя цифровые телевизионные приемники, системы цифровой прямой широковещательной передачи, беспроводные широковещательные системы, персональные цифровые устройства (PDA), переносные или настольные компьютеры, планшетные компьютеры, устройства для чтения электронных книг, цифровые камеры, цифровые записывающие устройства, цифровые мультимедийные проигрыватели, устройства видеоигр, консоли для видеоигр, сотовые или спутниковые радиотелефоны, так называемые "смартфоны", устройства видеоконференц-связи, устройства потоковой передачи видео и т.п. Цифровые видеоустройства реализуют такие технологии кодирования видео, как технологии кодирования видео, описанные в стандартах, заданных посредством стандартов MPEG-2, MPEG-4, ITU-T H.263, ITU-T H.264/MPEG-4, часть 10, усовершенствованное кодирование видео (AVC), ITU-T H.265/стандарта высокоэффективного кодирования видео (HEVC), и расширений таких стандартов. Видеоустройства могут передавать, принимать, кодировать, декодировать и/или сохранять цифровую видеоинформацию более эффективно посредством реализации таких технологий кодирования видео.
[0004] Технологии кодирования видео включают в себя пространственное (внутрикадровое) прогнозирование и/или временное (межкадровое) прогнозирование для того, чтобы уменьшать или удалять избыточность, внутренне присущую в видеопоследовательностях. Для кодирования видео на основе блоков, видеослайс (например, видеокадр или часть видеокадра) может сегментироваться на видеоблоки, которые также могут называться "единицами дерева кодирования (CTU)", "единицами кодирования (CU)" и/или "узлами кодирования". Видеоблоки во внутреннем (I-) слайсе кадра кодируются с использованием пространственного прогнозирования относительно опорных выборок в соседних блоках в идентичном кадре. Видеоблоки во внешне-кодированном (P- или B-) слайсе кадра могут использовать пространственное прогнозирование относительно опорных выборок в соседних блоках в идентичном кадре или временное прогнозирование относительно опорных выборок в других опорных кадрах. Кадры могут называться "кадрами", и опорные кадры могут называться "опорными кинокадрами".
Сущность изобретения
[0005] Технология этого раскрытия относится к внешнему прогнозированию, а более конкретно, к внешнему прогнозированию, которое использует компенсацию движения с горизонтальным циклическим переходом. В определенных типах видео, таких как видео с углом обзора в 360 градусов, опорные кадры могут включать в себя дополняемые области на левых и правых границах кадров. Дополненные области являются идентичными, за счет этого уменьшая визуальные артефакты при переходе из правой стороны кадра влево или наоборот. В некоторых сценариях кодирования, вектор движения для прогнозируемого блока может указывать за пределы границы опорного кадра. Например, вектор движения может указывать на выборку, которая находится слева от самой левой границы опорного кадра. Тем не менее, в таких случаях, видеодекодер по-прежнему может определять блок прогнозирования на основе вектора движения посредством вычисления позиции горизонтального циклического перехода в противоположной половине ссылки, например, в правой части опорного кадра, если вектор движения указывает влево от самой левой границы опорного кадра. Как подробнее поясняется ниже, чтобы определять позицию горизонтального циклического перехода, видеодекодер принимает значение для смещения при циклическом переходе (wraparound) в потоке битов. Тем не менее, в некоторых сценариях кодирования, опорный кадр может иметь размер или разрешение, отличающийся от размера или разрешения кодируемого кадра вследствие повторной дискретизации опорных кадров (RPR), что, в существующих реализациях компенсации движения с горизонтальным циклическим переходом, может приводить к смещению при циклическом переходе, вызывающему то, что видеодекодер идентифицирует некорректный блок прогнозирования в опорном кадре.
[0006] Технологии этого раскрытия могут преимущественно обеспечивать возможность системе кодирования видео использовать RPR с компенсацией движения с горизонтальным циклическим переходом, таким способом, который не приводит к смещению при циклическом переходе, вызывающему то, что видеодекодер идентифицирует некорректный блок прогнозирования в опорном кадре. В частности, посредством получения, из структуры PPS-данных видеоданных, значения для смещения при циклическом переходе, видеодекодер, сконфигурированный согласно технологиям этого раскрытия, может одновременно поддерживать RPR и компенсацию движения с горизонтальным циклическим переходом без введения ошибок прогнозирования вследствие нахождения, посредством видеодекодера, некорректного блока прогнозирования в повторно дискретизированных опорных кадрах.
[0007] В одном примере, способ декодирования видеоданных включает в себя получение, из структуры данных набора параметров кадра (PPS) для текущего кадра видеоданных, значения для смещения при циклическом переходе; в ответ на определение того, что блок текущего кадра кодируется в режиме внешнего прогнозирования, определение вектора движения для блока и опорный кадр для блока; определение позиции горизонтального циклического перехода в опорном кадре на основе значения для смещения при циклическом переходе; и определение блока прогнозирования для блока на основе позиции горизонтального циклического перехода.
[0008] В другом примере, устройство для декодирования видеоданных включает в себя запоминающее устройство, выполненное с возможностью сохранять видеоданные, и один или более процессоров, реализованных в схеме и выполненных с возможностью получать, из структуры данных набора параметров кадра (PPS) для текущего кадра видеоданных, значение для смещения при циклическом переходе; в ответ на определение того, что блок текущего кадра кодируется в режиме внешнего прогнозирования, определять вектор движения для блока и опорный кадр для блока, при этом блок принадлежит слайсу, который ссылается на структуру PPS-данных; определять позицию горизонтального циклического перехода в опорном кадре на основе значения для смещения при циклическом переходе; и определять блок прогнозирования для блока на основе позиции горизонтального циклического перехода.
[0009] В другом примере, машиночитаемый носитель данных сохраняет инструкции, которые, при выполнении посредством одного или более процессоров, инструктируют одному или более процессоров получать, из структуры данных набора параметров кадра (PPS) для текущего кадра видеоданных, значение для смещения при циклическом переходе; в ответ на определение того, что блок текущего кадра кодируется в режиме внешнего прогнозирования, определять вектор движения для блока и опорный кадр для блока, при этом блок принадлежит слайсу, который ссылается на структуру PPS-данных; определять позицию горизонтального циклического перехода в опорном кадре на основе значения для смещения при циклическом переходе; и определять блок прогнозирования для блока на основе позиции горизонтального циклического перехода.
[0010] В другом примере, устройство для декодирования видеоданных включает в себя средство для получения, из структуры данных набора параметров кадра (PPS) для текущего кадра видеоданных, значения для смещения при циклическом переходе; средство для определения вектора движения для блока и опорного кадра для блока в ответ на определение того, что блок текущего кадра кодируется в режиме внешнего прогнозирования; средство для определения позиции горизонтального циклического перехода в опорном кадре на основе значения для смещения при циклическом переходе; и средство для определения блока прогнозирования для блока на основе позиции горизонтального циклического перехода.
[0011] В другом примере, способ для кодирования видеоданных включает в себя определение значения для смещения при циклическом переходе; в ответ на определение того, что блок текущего кадра кодируется в режиме внешнего прогнозирования, определение вектора движения для блока и опорный кадр для блока, при этом блок принадлежит слайсу, который ссылается на структуру PPS-данных; определение позиции горизонтального циклического перехода в опорном кадре на основе значения для смещения при циклическом переходе; определение блока прогнозирования для блока на основе позиции горизонтального циклического перехода; включение, в структуру данных набора параметров кадра (PPS) для текущего кадра видеоданных, значения для смещения при циклическом переходе; и вывод потока битов кодированных видеоданных, которые включают в себя структуру PPS-данных.
[0012] В другом примере, устройство для кодирования видеоданных включает в себя запоминающее устройство, выполненное с возможностью сохранять видеоданные, и один или более процессоров, реализованных в схеме и выполненных с возможностью определять значение для смещения при циклическом переходе; в ответ на определение того, что блок текущего кадра кодируется в режиме внешнего прогнозирования, определять вектор движения для блока и опорный кадр для блока; определять позицию горизонтального циклического перехода в опорном кадре на основе значения для смещения при циклическом переходе; определять блок прогнозирования для блока на основе позиции горизонтального циклического перехода; включать, в структуру данных набора параметров кадра (PPS) для текущего кадра видеоданных, значение для смещения при циклическом переходе; и выводить поток битов кодированных видеоданных, который включает в себя структуру PPS-данных.
[0013] В другом примере, машиночитаемый носитель данных сохраняет инструкции, которые, при выполнении посредством одного или более процессоров, инструктируют одному или более процессоров определять значение для смещения при циклическом переходе; в ответ на определение того, что блок текущего кадра кодируется в режиме внешнего прогнозирования, определять вектор движения для блока и опорный кадр для блока; определять позицию горизонтального циклического перехода в опорном кадре на основе значения для смещения при циклическом переходе; определять блок прогнозирования для блока на основе позиции горизонтального циклического перехода; включать, в структуру данных набора параметров кадра (PPS) для текущего кадра видеоданных, значение для смещения при циклическом переходе; и выводить поток битов кодированных видеоданных, который включает в себя структуру PPS-данных.
[0014] В другом примере, устройство для кодирования видеоданных включает в себя средство для определения значения для смещения при циклическом переходе; средство для определения вектора движения для блока и опорного кадра для блока в ответ на определение того, что блок текущего кадра кодируется в режиме внешнего прогнозирования, при этом блок принадлежит слайсу, который ссылается на структуру PPS-данных; средство для определения позиции горизонтального циклического перехода в опорном кадре на основе значения для смещения при циклическом переходе; средство для определения блока прогнозирования для блока на основе позиции горизонтального циклического перехода; средство для включения, в структуру данных набора параметров кадра (PPS) для текущего кадра видеоданных, значения для смещения при циклическом переходе; и средство для вывода потока битов кодированных видеоданных, которые включают в себя структуру PPS-данных.
[0015] Подробности одного или более примеров изложены на прилагаемых чертежах и в нижеприведенном описании. Другие признаки, цели и преимущества должны становиться очевидными из описания, чертежей и формулы изобретения.
Краткое описание чертежей
[0016] Фиг. 1 является блок-схемой, иллюстрирующей примерную систему кодирования и декодирования видео, которая может выполнять технологии этого раскрытия.
[0017] Фиг. 2A и 2B являются концептуальными схемами, иллюстрирующими примерную структуру в виде дерева квадрантов и двоичного дерева (QTBT) и соответствующую единицу дерева кодирования (CTU).
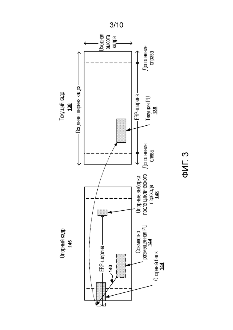
[0018] Фиг. 3 показывает пример смещения при циклическом переходе в опорном кадре.
[0019] Фиг. 4 показывает позицию опорного пиксела, который некорректно сдвигается в неизвестную позицию.
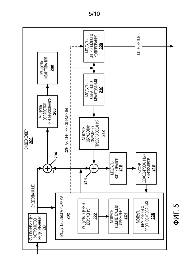
[0020] Фиг. 5 является блок-схемой, иллюстрирующей примерный видеокодер, который может выполнять технологии этого раскрытия.
[0021] Фиг. 6 является блок-схемой, иллюстрирующей примерный видеодекодер, который может выполнять технологии этого раскрытия.
[0022] Фиг. 7 является блок-схемой последовательности операций способа, иллюстрирующей процесс для кодирования видеоданных.
[0023] Фиг. 8 является блок-схемой последовательности операций способа, иллюстрирующей процесс для декодирования видеоданных.
[0024] Фиг. 9 является блок-схемой последовательности операций способа, иллюстрирующей процесс для кодирования видеоданных.
[0025] Фиг. 10 является блок-схемой последовательности операций способа, иллюстрирующей процесс для декодирования видеоданных.
Подробное описание изобретения
[0026] Кодирование видео (например, кодирование видео и/или декодирование видео) типично заключает в себе прогнозирование блока видеоданных либо из уже кодированного блока видеоданных в идентичном кадре (например, внутреннее прогнозирование), либо из уже кодированного блока видеоданных в другом кадре (например, внешнее прогнозирование). В некоторых случаях, видеокодер также вычисляет остаточные данные посредством сравнения блока прогнозирования с исходным блоком. Таким образом, остаточные данные представляют разность между блоком прогнозирования и исходным блоком. Чтобы уменьшать число битов, требуемых для того, чтобы передавать в служебных сигналах остаточные данные, видеокодер преобразует и квантует остаточные данные и передает в служебных сигналах преобразованные и квантованные остаточные данные в кодированном потоке битов. Сжатие, достигаемое посредством процессов преобразования и квантования, может выполняться с потерями, что означает то, что процессы преобразования и квантования могут вводить искажение в декодированные видеоданные.
[0027] Видеодекодер декодирует и суммирует остаточные данные с блоком прогнозирования, чтобы формировать восстановленный видеоблок, который совпадает с исходным видеоблоком более тесно, чем только блок прогнозирования. Вследствие потерь, введенных посредством преобразования и квантования остаточных данных, первый восстановленный блок может иметь искажение или артефакты. Один общий тип артефакта или искажения называется "блочностью", когда границы блоков, используемых для того, чтобы кодировать видеоданные, являются видимыми.
[0028] Чтобы дополнительно повышать качество декодированного видео, видеодекодер может выполнять одну или более операций фильтрации для восстановленных видеоблоков. Примеры этих операций фильтрации включают в себя фильтрацию для удаления блочности, фильтрацию на основе дискретизированного адаптивного смещения (SAO) и адаптивную контурную фильтрацию (ALF). Параметры для этих операций фильтрации либо могут определяться посредством видеокодера и явно передаваться в служебных сигналах в кодированном потоке видеобитов, либо могут неявно определяться посредством видеодекодера без необходимости явно передачи параметров в служебных сигналах в кодированном потоке видеобитов.
[0029] Технология этого раскрытия относится к внешнему прогнозированию, а более конкретно, к внешнему прогнозированию, которое использует компенсацию движения с горизонтальным циклическим переходом. В определенных типах видео, таких как видео с углом обзора в 360 градусов, опорные кадры могут включать в себя дополняемые области на левых и правых границах кадров. Дополненные области являются идентичными, за счет этого уменьшая визуальные артефакты при переходе из правой стороны кадра влево или наоборот. В некоторых сценариях кодирования, вектор движения для прогнозируемого блока может указывать на выборку за пределами границы опорного кадра, Например, вектор движения может указывать на выборку, которая находится слева от самой левой границы опорного кадра. В других сценариях кодирования, вектор движения может указывать на интерполированную выборку, которая находится внутри границы опорного кадра, но определяется с использованием операции интерполяции, которая использует выборку за пределами границы опорного кадра. Тем не менее, в таких случаях, видеодекодер по-прежнему может определять блок прогнозирования на основе вектора движения посредством вычисления позиции горизонтального циклического перехода в противоположной половине ссылки, например, в правой части опорного кадра, если вектор движения указывает влево от самой левой границы опорного кадра. Как подробнее поясняется ниже, чтобы определять позицию горизонтального циклического перехода, видеодекодер принимает значение для смещения при циклическом переходе в потоке битов. Тем не менее, в некоторых сценариях кодирования, опорный кадр может иметь размер или разрешение, отличающийся от размера или разрешения кодируемого кадра вследствие RPR, что, в существующих реализациях компенсации движения с горизонтальным циклическим переходом, может приводить к смещению при циклическом переходе, вызывающему то, что видеодекодер идентифицирует некорректный блок прогнозирования в опорном кадре.
[0030] Технологии этого раскрытия могут преимущественно обеспечивать возможность системе кодирования видео использовать RPR с компенсацией движения с горизонтальным циклическим переходом, таким способом, который не приводит к смещению при циклическом переходе, вызывающему то, что видеодекодер идентифицирует некорректный блок прогнозирования в опорном кадре. В частности, посредством получения, из структуры данных набора параметров кадра (PPS) видеоданных, значения для смещения при циклическом переходе, видеодекодер, сконфигурированный согласно технологиям этого раскрытия, может одновременно поддерживать RPR и компенсацию движения с горизонтальным циклическим переходом без введения ошибок прогнозирования вследствие нахождения, посредством видеодекодера, некорректного блока прогнозирования в повторно дискретизированных опорных кадрах.
[0031] Фиг. 1 является блок-схемой, иллюстрирующей примерную систему 100 кодирования и декодирования видео, которая может выполнять технологии этого раскрытия. Технологии этого раскрытия, в общем, направлены на кодирование (кодирование и/или декодирование) видеоданных. В общем, видеоданные включают в себя любые данные для обработки видео. Таким образом, видеоданные могут включать в себя необработанное некодированное видео, кодированное видео, декодированное (например, восстановленное) видео и видеометаданные, такие как служебные данные.
[0032] Как показано на фиг. 1, система 100 включает в себя исходное устройство 102, которое предоставляет кодированные видеоданные, которые должны декодироваться и отображаться посредством целевого устройства 116, в этом примере. В частности, исходное устройство 102 предоставляет видеоданные в целевое устройство 116 через машиночитаемый носитель 110. Исходное устройство 102 и целевое устройство 116 могут содержать любые из широкого диапазона устройств, включающих в себя настольные компьютеры, ноутбуки (т.е. переносные компьютеры), планшетные компьютеры, абонентские приставки, телефонные трубки, к примеру, смартфоны, телевизионные приемники, камеры, устройства отображения, цифровые мультимедийные проигрыватели, консоли для видеоигр, устройство потоковой передачи видео и т.п. В некоторых случаях, исходное устройство 102 и целевое устройство 116 могут оснащаться возможностями беспроводной связи и в силу этого могут называться "устройствами беспроводной связи".
[0033] В примере по фиг. 1, исходное устройство 102 включает в себя видеоисточник 104, запоминающее устройство 106, видеокодер 200 и интерфейс 108 вывода. Целевое устройство 116 включает в себя интерфейс 122 ввода, видеодекодер 300, запоминающее устройство 120 и устройство 118 отображения. В соответствии с этим раскрытием, видеокодер 200 исходного устройства 102 и видеодекодер 300 целевого устройства 116 могут быть выполнены с возможностью применять технологии для передачи в служебных сигналах и обработки смещений при циклическом переходе. Таким образом, исходное устройство 102 представляет пример устройства кодирования видео, в то время как целевое устройство 116 представляет пример устройства декодирования видео. В других примерах, исходное устройство и целевое устройство могут включать в себя другие компоненты или компоновки. Например, исходное устройство 102 может принимать видеоданные из внешнего видеоисточника, такого как внешняя камера. Аналогично, целевое устройство 116 может взаимодействовать с внешним устройством отображения вместо включения в себя интегрированного устройства отображения.
[0034] Система 100, как показано на фиг. 1, представляет собой просто один пример. В общем, любое устройство кодирования и/или декодирования цифрового видео может выполнять технологии для передачи в служебных сигналах и обработки смещений при циклическом переходе. Исходное устройство 102 и целевое устройство 116 представляют собой просто примеры таких устройств кодирования, в которых исходное устройство 102 формирует кодированные видеоданные для передачи в целевое устройство 116. Это раскрытие обозначает устройство "кодирования" в качестве устройства, которое выполняет кодирование (кодирование и/или декодирование) данных. Таким образом, видеокодер 200 и видеодекодер 300 представляют примеры устройств кодирования, в частности, видеокодера и видеодекодера, соответственно. В некоторых примерах, исходное устройство 102 и целевое устройство 116 могут работать практически симметрично таким образом, что каждое из исходного устройства 102 и целевого устройства 116 включает в себя компоненты кодирования и декодирования видео. Следовательно, система 100 может поддерживать одностороннюю и двухстороннюю передачу видео между исходным устройством 102 и целевым устройством 116, к примеру, для потоковой передачи видео, воспроизведения видео, широковещательной передачи видео или видеотелефонии.
[0035] В общем, видеоисточник 104 представляет источник видеоданных (т.е. необработанных некодированных видеоданных) и предоставляет последовательную серию кадров (также называемых "кадрами") видеоданных в видеокодер 200, который кодирует данные для кадров. Видеоисточник 104 исходного устройства 102 может включать в себя устройство видеозахвата, такое как видеокамера, видеоархив, содержащий ранее захваченное необработанное видео, и/или интерфейс прямой видеотрансляции, чтобы принимать видео от поставщика видеосодержимого. В качестве дополнительной альтернативы, видеоисточник 104 может формировать данные компьютерной графики в качестве исходного видео либо комбинацию передаваемого вживую видео, архивного видео и машиногенерируемого видео. В каждом случае, видеокодер 200 кодирует захваченные, предварительно захваченные или машиногенерируемые видеоданные. Видеокодер 200 может перекомпоновывать кадры из порядка приема (иногда называемого "порядком отображения") в порядок кодирования для кодирования. Видеокодер 200 может формировать поток битов, включающий в себя кодированные видеоданные. Исходное устройство 102 затем может выводить кодированные видеоданные через интерфейс 108 вывода на машиночитаемый носитель 110 для приема и/или извлечения, например, посредством интерфейса 122 ввода целевого устройства 116.
[0036] Запоминающее устройство 106 исходного устройства 102 и запоминающее устройство 120 целевого устройства 116 представляют запоминающие устройства общего назначения. В некоторых примерах, запоминающие устройства 106, 120 могут сохранять необработанные видеоданные, например, необработанное видео из видеоисточника 104 и необработанные декодированные видеоданные из видеодекодера 300. Дополнительно или альтернативно, запоминающие устройства 106, 120 могут сохранять программные инструкции, выполняемые, например, посредством видеокодера 200 и видеодекодера 300, соответственно. Хотя запоминающее устройство 106 и запоминающее устройство 120 показаны отдельно от видеокодера 200 и видеодекодера 300 в этом примере, следует понимать, что видеокодер 200 и видеодекодер 300 также могут включать в себя внутренние запоминающие устройства для функционально аналогичных или эквивалентных целей. Кроме того, запоминающие устройства 106, 120 могут сохранять кодированные видеоданные, например, выводимые из видеокодера 200 и вводимые в видеодекодер 300. В некоторых примерах, части запоминающих устройств 106, 120 могут выделяться в качестве одного или более видеобуферов, например, чтобы сохранять необработанные, декодированные и/или кодированные видеоданные.
[0037] Машиночитаемый носитель 110 может представлять любой тип носителя или устройства, допускающего транспортировку кодированных видеоданных из исходного устройства 102 в целевое устройство 116. В одном примере, машиночитаемый носитель 110 представляет среду связи, чтобы обеспечивать возможность исходному устройству 102 передавать кодированные видеоданные непосредственно в целевое устройство 116 в реальном времени, например, через радиочастотную сеть или компьютерную сеть. Интерфейс 108 вывода может модулировать передаваемый сигнал, включающий в себя кодированные видеоданные, и интерфейс 122 ввода может демодулировать принимаемый сигнал передачи, согласно стандарту связи, такому как протокол беспроводной связи. Среда связи может содержать любую беспроводную или проводную среду связи, такую как радиочастотный (RF) спектр либо одна или более физических линий передачи. Среда связи может формировать часть сети с коммутацией пакетов, такой как локальная вычислительная сеть, глобальная вычислительная сеть либо глобальная сеть, такая как Интернет. Среда связи может включать в себя маршрутизаторы, коммутаторы, базовые станции или любое другое оборудование, которое может быть полезным для того, чтобы упрощать передачу из исходного устройства 102 в целевое устройство 116.
[0038] В некоторых примерах, исходное устройство 102 может выводить кодированные данные из интерфейса 108 вывода в устройство 112 хранения данных. Аналогично, целевое устройство 116 может осуществлять доступ к кодированным данным из устройства 112 хранения данных через интерфейс 122 ввода. Устройство 112 хранения данных может включать в себя любые из множества распределенных или локально доступных носителей данных, таких как жесткий диск, Blu-Ray-диски, DVD, CD-ROM, флэш-память, энергозависимое или энергонезависимое запоминающее устройство либо любые другие подходящие цифровые носители данных для сохранения кодированных видеоданных.
[0039] В некоторых примерах, исходное устройство 102 может выводить кодированные видеоданные на файловый сервер 114 или другое промежуточное устройство хранения данных, которое может сохранять кодированное видео, сформированное посредством исходного устройства 102. Целевое устройство 116 может осуществлять доступ к сохраненным видеоданным из файлового сервера 114 через потоковую передачу или загрузку. Файловый сервер 114 может представлять собой любой тип серверного устройства, допускающего сохранение кодированных видеоданных и передачу этих кодированных видеоданных в целевое устройство 116. Файловый сервер 114 может представлять веб-сервер (например, для веб-узла), сервер по протоколу передачи файлов (FTP), сетевое устройство доставки контента или устройство по протоколу системы хранения данных с подключением по сети (NAS). Целевое устройство 116 может осуществлять доступ к кодированным видеоданным из файлового сервера 114 через любое стандартное соединение для передачи данных, включающее в себя Интернет-соединение. Оно может включать в себя беспроводной канал (например, Wi-Fi-соединение), проводное соединение (например, цифровую абонентскую линию (DSL), кабельный модем и т.д.) либо комбинацию означенного, которая является подходящей для осуществления доступа к кодированным видеоданным, сохраненным на файловом сервере 114. Файловый сервер 114 и интерфейс 122 ввода могут быть выполнены с возможностью работать согласно протоколу потоковой передачи, протоколу передачи на основе загрузки либо комбинации вышеозначенного.
[0040] Интерфейс 108 вывода и интерфейс 122 ввода могут представлять беспроводные передающие устройства/приемные устройства, модемы, проводные сетевые компоненты (например, Ethernet-карты), компоненты беспроводной связи, которые работают согласно любым из множества IEEE 802.11-стандартов, либо другие физические компоненты. В примерах, в которых интерфейс 108 вывода и интерфейс 122 ввода содержат беспроводные компоненты, интерфейс 108 вывода и интерфейс 122 ввода могут быть выполнены с возможностью передавать данные, к примеру, кодированные видеоданные, согласно стандарту сотовой связи, такому как 4G, 4G LTE (стандарт долгосрочного развития), усовершенствованный стандарт LTE, 5G и т.п. В некоторых примерах, в которых интерфейс 108 вывода содержит беспроводное передающее устройство, интерфейс 108 вывода и интерфейс 122 ввода могут быть выполнены с возможностью передавать данные, к примеру, кодированные видеоданные, согласно другим стандартам беспроводной связи, таким как IEEE 802.11-спецификация, IEEE 802.15-спецификация (например, ZigBee™), стандарт Bluetooth™ и т.п. В некоторых примерах, исходное устройство 102 и/или целевое устройство 116 могут включать в себя соответствующие внутримикросхемные (SoC) устройства. Например, исходное устройство 102 может включать в себя SoC-устройство, чтобы выполнять функциональность, приписываемую видеокодеру 200 и/или интерфейсу 108 вывода, и целевое устройство 116 может включать в себя SoC-устройство, чтобы выполнять функциональность, приписываемую видеодекодеру 300 и/или интерфейсу 122 ввода.
[0041] Технологии этого раскрытия могут применяться к кодированию видео в поддержку любых из множества мультимедийных вариантов применения, таких как телевизионные широковещательные передачи по радиоинтерфейсу, кабельные телевизионные передачи, спутниковые телевизионные передачи, потоковые передачи видео по Интернету, такие как динамическая адаптивная потоковая передача по HTTP (DASH), цифровое видео, которое кодируется на носитель данных, декодирование цифрового видео, сохраненного на носителе данных, или другие варианты применения.
[0042] Интерфейс 122 ввода целевого устройства 116 принимает кодированный поток видеобитов из машиночитаемого носителя 110 (например, среды связи, устройства 112 хранения данных, файлового сервера 114 и т.п.). Кодированный поток видеобитов может включать в себя служебную информацию, заданную посредством видеокодера 200, которая также используется посредством видеодекодера 300, такую как синтаксические элементы, имеющие значения, которые описывают характеристики и/или обработку видеоблоков либо других кодированных единиц (например, слайсов, кадров, групп кадров, последовательностей и т.п.). Устройство 118 отображения отображает декодированные кадры декодированных видеоданных пользователю. Устройство 118 отображения может представлять любое из множества устройств отображения, таких как дисплей на электронно-лучевой трубке (CRT), жидкокристаллический дисплей (LCD), плазменный дисплей, дисплей на органических светодиодах (OLED) или другой тип устройства отображения.
[0043] Хотя не показано на фиг. 1, в некоторых примерах, видеокодер 200 и видеодекодер 300 могут быть интегрированы с аудиокодером и/или аудиодекодером и могут включать в себя соответствующие модули мультиплексора-демультиплексора либо другие аппаратные средства и программное обеспечение для того, чтобы обрабатывать мультимедийные потоки, включающие в себя как аудио, так и видео в общем потоке данных. Если применимо, модули мультиплексора-демультиплексора могут соответствовать протоколу мультиплексора ITU H.223 или другим протоколам, таким как протокол пользовательских дейтаграмм (UDP).
[0044] Видеокодер 200 и видеодекодер 300 могут реализовываться как любая из множества надлежащих схем кодера и/или декодера, к примеру, как один или более микропроцессоров, процессоров цифровых сигналов (DSP), специализированных интегральных схем (ASIC), программируемых пользователем вентильных матриц (FPGA), как дискретная логика, программное обеспечение, аппаратные средства, микропрограммное обеспечение либо как любые комбинации вышеозначенного. Когда технологии реализуются частично в программном обеспечении, устройство может сохранять инструкции для программного обеспечения на подходящем энергонезависимом машиночитаемом носителе и выполнять инструкции в аппаратных средствах с использованием одного или более процессоров, чтобы осуществлять технологии этого раскрытия. Каждый из видеокодера 200 и видеодекодера 300 может быть включен в один или более кодеров или декодеров, любой из которых может быть интегрирован как часть комбинированного кодера/декодера (кодека) в соответствующем устройстве. Устройство, включающее в себя видеокодер 200 и/или видеодекодер 300, может содержать интегральную схему, микропроцессор и/или устройство беспроводной связи, такое как сотовый телефон.
[0045] Видеокодер 200 и видеодекодер 300 могут работать согласно стандарту кодирования видео, такому как ITU-T H.265, также называемому "стандартом высокоэффективного кодирования видео (HEVC)", либо его расширениям, таким как расширения кодирования многовидового видео и/или масштабируемого кодирования видео. Альтернативно, видеокодер 200 и видеодекодер 300 могут работать согласно другим собственным или отраслевым стандартам, таким как стандарт объединенной исследовательской группы тестовой модели (JEM) или ITU-T H.266, также называемый "универсальным кодированием видео (VVC)". Последний проект VVC-стандарта описывается в работе авторов Bross и др. "Versatile Video Coding (Draft 7)", Joint Video Experts Team (JVET) of ITU-T SG 16 WP 3 and ISO/IEC JTC 1/SC 29/WG 11, 16-ая конференция: Женева, CH, 1-11 октября 2019, JVET-P2001-v14 (далее "VVC-проект 7"). Тем не менее, технологии этого раскрытия не ограничены каким-либо конкретным стандартом кодирования.
[0046] В общем, видеокодер 200 и видеодекодер 300 могут выполнять кодирование кадров на основе блоков. Термин "блок", в общем, означает структуру, включающую в себя данные, которые должны обрабатываться (например, кодироваться, декодироваться или иным образом использоваться в процессе кодирования и/или декодирования). Например, блок может включать в себя двумерную матрицу выборок данных яркости и/или цветности. В общем, видеокодер 200 и видеодекодер 300 могут кодировать видеоданные, представленные в YUV- (например, Y-, Cb-, Cr-) формате. Таким образом, вместо кодирования данных красного цвета, зеленого цвета и синего цвета (RGB) для выборок кадра, видеокодер 200 и видеодекодер 300 могут кодировать компоненты яркости и цветности, при этом компоненты цветности могут включать в себя компоненты цветности оттенков красного цвета и оттенков синего цвета. В некоторых примерах, видеокодер 200 преобразует принимаемые RGB-отформатированные данные в YUV-представление до кодирования, и видеодекодер 300 преобразует YUV-представление в RGB-формат. Альтернативно, модули предварительной и постобработки (не показаны) могут выполнять эти преобразования.
[0047] Это раскрытие, в общем, может означать кодирование (например, кодирование и декодирование) кадров, которое включает в себя процесс кодирования или декодирования данных кадра. Аналогично, это раскрытие может означать кодирование блоков кадра, которое включает в себя процесс кодирования или декодирования данных для блоков, например, прогнозное кодирование и/или остаточное кодирование. Кодированный поток видеобитов, в общем, включает в себя последовательность значений для синтаксических элементов, представляющих решения по кодированию (например, режимы кодирования) и сегментацию кадров на блоки. Таким образом, ссылки на кодирование кадра или блока, в общем, должны пониматься как кодирование значений для синтаксических элементов, формирующих кадр или блок.
[0048] HEVC задает различные блоки, включающие в себя единицы кодирования (CU), единицы прогнозирования (PU) и единицы преобразования (TU). Согласно HEVC, видеокодер (такой как видеокодер 200) сегментирует единицу дерева кодирования (CTU) на CU согласно структуре в виде дерева квадрантов. Таким образом, видеокодер сегментирует CTU и CU на четыре равных неперекрывающихся квадрата, и каждый узел дерева квадрантов имеет либо нуль, либо четыре дочерних узла. Узлы без дочерних узлов могут называться "узлами-листьями", и CU таких узлов-листьев могут включать в себя одну или более PU и/или одну или более TU. Видеокодер дополнительно может сегментировать PU и TU. Например, в HEVC, остаточное дерево квадрантов (RQT) представляет сегментацию TU. В HEVC, PU представляют данные внешнего прогнозирования, в то время как TU представляют остаточные данные. CU, которые внутренне прогнозируются, включают в себя информацию внутреннего прогнозирования, такую как индикатор внутреннего режима.
[0049] В качестве другого примера, видеокодер 200 и видеодекодер 300 могут быть выполнены с возможностью работать согласно JEM или VVC. Согласно JEM или VVC, видеокодер (к примеру, видеокодер 200) сегментирует кинокадр на множество единиц дерева кодирования (CTU). Видеокодер 200 может сегментировать CTU согласно древовидной структуре, такой как структура в виде дерева квадрантов и двоичного дерева (QTBT) или структура в виде многотипного дерева (MTT). QTBT-структура удаляет понятия нескольких типов сегментации, такие как разделение между CU, PU и TU HEVC. QTBT-структура включает в себя два уровня: первый уровень, сегментированный согласно сегментации на основе дерева квадрантов, и второй уровень, сегментированный согласно сегментации на основе двоичного дерева. Корневой узел QTBT-структуры соответствует CTU. Узлы-листья двоичных деревьев соответствуют единицам кодирования (CU).
[0050] В MTT-структуре сегментации, блоки могут сегментироваться с использованием сегмента дерева квадрантов (QT), сегмента двоичного дерева (BT) и одного или более типов сегментов троичного дерева (TT) (также называемого "третичным деревом (TT)). Сегмент троичного или третичного дерева представляет собой сегмент, в котором блок разбивается на три субблока. В некоторых примерах, сегмент троичного или третичного дерева разделяет блок на три субблока без разделения исходного блока по центру. Типы сегментации в MTT (например, QT, BT и TT) могут быть симметричными или асимметричными.
[0051] В некоторых примерах, видеокодер 200 и видеодекодер 300 могут использовать одну QTBT- или MTT-структуру для того, чтобы представлять каждый из компонентов яркости и цветности, в то время как в других примерах, видеокодер 200 и видеодекодер 300 могут использовать две или более QTBT- или MTT-структур, к примеру, одну QTBT/MTT-структуру для компонента яркости и другую QTBT/MTT-структуру для обоих компонентов цветности (либо две QTBT/MTT-структуры для соответствующих компонентов цветности).
[0052] Видеокодер 200 и видеодекодер 300 могут быть выполнены с возможностью использовать сегментацию на основе дерева квадрантов согласно HEVC, QTBT-сегментацию, MTT-сегментацию либо другие структуры сегментации. Для целей пояснения, описание технологий этого раскрытия представляется относительно QTBT-сегментации. Тем не менее, следует понимать, что технологии этого раскрытия также могут применяться к видеокодерам, выполненным с возможностью использовать также сегментацию на основе дерева квадрантов или другие типы сегментации.
[0053] Блоки (например, CTU или CU) могут группироваться различными способами в кадр. В качестве одного примера, кирпич может означать прямоугольную область CTU-строк в конкретной плитке в кадре. Плитка может представлять собой прямоугольную область CTU в конкретном столбце плиток и конкретной строке плиток в кадре. Столбец плиток означает прямоугольную область CTU, имеющих высоту, равную высоте кадра, и ширину, указываемую посредством синтаксических элементов (например, в наборе параметров кадра). Строка плиток означает прямоугольную область CTU, имеющих высоту, указанную посредством синтаксических элементов (например, в наборе параметров кадра), и ширину, равную ширине кадра.
[0054] В некоторых примерах, плитка может сегментироваться на несколько кирпичей, каждый из которых может включать в себя одну или более CTU-строк внутри плитки. Плитка, которая не сегментируется на несколько кирпичей, также может называться "кирпичом". Тем не менее, кирпич, который представляет собой истинный поднабор плитки, может не называться "плиткой".
[0055] Кирпичи в кадре также могут размещаться в слайсе. Слайс может представлять собой целое число кирпичей кадра, которые могут содержаться исключительно в одной единице слоя абстрагирования от сети (NAL). В некоторых примерах, слайс включает в себя либо определенное число полных плиток, либо только жесткую последовательность полных кирпичей одной плитки.
[0056] Это раскрытие может использовать "NxN" и "N на N" взаимозаменяемо, чтобы ссылаться на размеры в выборках блока (к примеру, CU или другого видеоблока) с точки зрения размеров по вертикали и горизонтали, например, на выборки 16×16 или выборки 16 на 16. В общем, CU 16×16 должна иметь 16 пикселов в вертикальном направлении (y=16) и 16 пикселов в горизонтальном направлении (x=16). Аналогично, CU NxN, в общем, имеет N выборок в вертикальном направлении и N выборок в горизонтальном направлении, при этом N представляет неотрицательное целочисленное значение. Выборки в CU могут размещаться в строках и столбцах. Кроме того, CU не обязательно должны иметь идентичное число выборок в горизонтальном направлении и в вертикальном направлении. Например, CU могут содержать NxM выборок, причем M не обязательно равно N.
[0057] Видеокодер 200 кодирует видеоданные для CU, представляющих информацию прогнозирования и/или остаточную информацию и другую информацию. Информация прогнозирования указывает то, как CU должна прогнозироваться, чтобы формировать блок прогнозирования для CU. Остаточная информация, в общем, представляет последовательные выборочные разности между выборками CU до кодирования и прогнозным блоком.
[0058] Чтобы прогнозировать CU, видеокодер 200, в общем, может формировать прогнозный блок для CU через внешнее прогнозирование или внутреннее прогнозирование. Внешнее прогнозирование, в общем, означает прогнозирование CU из данных ранее кодированного кадра, тогда как внутреннее прогнозирование, в общем, означает прогнозирование CU из ранее кодированных данных одного и того же кадра. Чтобы выполнять внешнее прогнозирование, видеокодер 200 может формировать прогнозный блок с использованием одного или более векторов движения. Видеокодер 200, в общем, может выполнять поиск движения для того, чтобы идентифицировать опорный блок, который тесно совпадает с CU, например, с точки зрения разностей между CU и опорным блоком. Видеокодер 200 может вычислять разностный показатель с использованием суммы абсолютных разностей (SAD), суммы квадратов разности (SSD), средней абсолютной разности (MAD), среднеквадратических разностей (MSD) или других таких вычислений разности, чтобы определять то, совпадает или нет опорный блок тесно с текущей CU. В некоторых примерах, видеокодер 200 может прогнозировать текущую CU с использованием однонаправленного прогнозирования или двунаправленного прогнозирования.
[0059] Некоторые примеры JEM и VVC также предоставляют аффинный режим компенсации движения, который может считаться режимом внешнего прогнозирования. В аффинном режиме компенсации движения, видеокодер 200 может определять два или более векторов движения, которые представляют непоступательное движение в пространстве, такое как увеличение или уменьшение масштаба, вращение, перспективное движение или другие типы нерегулярного движения.
[0060] Чтобы выполнять внутреннее прогнозирование, видеокодер 200 может выбирать режим внутреннего прогнозирования для того, чтобы формировать прогнозный блок. Некоторые примеры JEM и VVC предоставляют шестьдесят семь режимов внутреннего прогнозирования, включающих в себя различные направленные режимы, а также планарный режим и DC-режим. В общем, видеокодер 200 выбирает режим внутреннего прогнозирования, который описывает соседние выборки относительно текущего блока (например, блока CU), из которых можно прогнозировать выборки текущего блока. Такие выборки, в общем, могут находиться выше, выше и слева или слева от текущего блока в идентичном кадре с текущим блоком, при условии, что видеокодер 200 кодирует CTU и CU в порядке растрового сканирования (слева направо, сверху вниз).
[0061] Видеокодер 200 кодирует данные, представляющие режим прогнозирования для текущего блока. Например, для режимов внешнего прогнозирования, видеокодер 200 может кодировать данные, представляющие то, какой из различных доступных режимов внешнего прогнозирования используется, а также информацию движения для соответствующего режима. Для однонаправленного или двунаправленного внешнего прогнозирования, например, видеокодер 200 может кодировать векторы движения с использованием усовершенствованного прогнозирования векторов движения (AMVP) или режима объединения. Видеокодер 200 может использовать аналогичные режимы для того, чтобы кодировать векторы движения для аффинного режима компенсации движения.
[0062] После прогнозирования, такого как внутреннее прогнозирование или внешнее прогнозирование блока, видеокодер 200 может вычислять остаточные данные для блока. Остаточные данные, такие как остаточный блок, представляют последовательные выборочные разности между блоком и блоком прогнозирования для блока, сформированные с использованием соответствующего режима прогнозирования. Видеокодер 200 может применять одно или более преобразований к остаточному блоку для того, чтобы формировать преобразованные данные в области преобразования вместо выборочной области. Например, видеокодер 200 может применять дискретное косинусное преобразование (DCT), целочисленное преобразование, вейвлет-преобразование или концептуально аналогичное преобразование к остаточным видеоданным. Дополнительно, видеокодер 200 может применять вторичное преобразование после первого преобразования, такое как зависимое от режима неразделимое вторичное преобразование (MDNSST), зависимое от сигнала преобразование, преобразование Карунена-Лоэва (KLT) и т.п. Видеокодер 200 формирует коэффициенты преобразования после применения одного или более преобразований.
[0063] Как отмечено выше, после преобразований для того, чтобы формировать коэффициенты преобразования, видеокодер 200 может выполнять квантование коэффициентов преобразования. Квантование, в общем, означает процесс, в котором коэффициенты преобразования квантуются, чтобы, возможно, уменьшать объем данных, используемых для того, чтобы представлять коэффициенты преобразования, обеспечивая дополнительное сжатие. Посредством выполнения процесса квантования, видеокодер 200 может уменьшать битовую глубину, ассоциированную с некоторыми или всеми коэффициентами преобразования. Например, видеокодер 200 может округлять n-битовое значение в меньшую сторону до m-битового значения во время квантования, где n больше m. В некоторых примерах, для того чтобы выполнять квантование, видеокодер 200 может выполнять побитовый сдвиг вправо значения, которое должно квантоваться.
[0064] После квантования, видеокодер 200 может сканировать коэффициенты преобразования, формирующие одномерный вектор, из двумерной матрицы, включающей в себя квантованные коэффициенты преобразования. Сканирование может проектироваться с возможностью размещать коэффициенты преобразования с более высокой энергией (и в силу этого с более низкой частотой) в начале вектора и размещать коэффициенты преобразования с более низкой энергией (и в силу этого с более высокой частотой) в конце вектора. В некоторых примерах, видеокодер 200 может использовать предварительно заданный порядок сканирования для того, чтобы сканировать квантованные коэффициенты преобразования, с тем чтобы формировать преобразованный в последовательную форму вектор, и затем энтропийно кодировать квантованные коэффициенты преобразования вектора. В других примерах, видеокодер 200 может выполнять адаптивное сканирование. После сканирования квантованных коэффициентов преобразования для того, чтобы формировать одномерный вектор, видеокодер 200 может энтропийно кодировать одномерный вектор, например, согласно контекстно-адаптивному двоичному арифметическому кодированию (CABAC). Видеокодер 200 также может энтропийно кодировать другие синтаксические элементы, описывающие метаданные, ассоциированные с кодированными видеоданными, для использования посредством видеодекодера 300 при декодировании видеоданных.
[0065] Чтобы выполнять CABAC, видеокодер 200 может назначать контекст в контекстной модели символу, который должен передаваться. Контекст может быть связан, например, с тем, являются соседние значения символа нульзначными или нет. Определение вероятности может быть основано на контексте, назначаемом символу.
[0066] Видеокодер 200 дополнительно может формировать синтаксические данные, к примеру, синтаксические данные на основе блоков, синтаксические данные на основе кадров и синтаксические данные на основе последовательностей, для видеодекодера 300, например, в заголовке кадра, заголовке блока, заголовке слайса, либо другие синтаксические данные, к примеру, набор параметров адаптации (APS), заголовок кадра (PH, набор параметров последовательности (SPS), PPS или набор параметров видео (VPS). APS, в общем, означает синтаксическую структуру, содержащую синтаксические элементы, которые применяются к нулю или более слайсов, как определено посредством нуля или более синтаксических элементов, содержащихся в заголовках слайсов. PH ссылается на синтаксическую структуру, содержащую синтаксические элементы, которые применяются ко всем слайсам кодированного кадра. PPS ссылается на синтаксическую структуру, содержащую синтаксические элементы, которые применяются к нулю или более всех кодированных кадров, как определено посредством синтаксического элемента, содержащегося в каждом заголовке слайса. SPS ссылается на синтаксическую структуру, содержащую синтаксические элементы, которые применяются к нулю или более всех CVS, как определено посредством контента синтаксического элемента, содержащегося в PPS, на который ссылаются посредством синтаксического элемента, содержащегося в каждом заголовке слайса. Синтаксическая структура, в общем, ссылается на нуль или более синтаксических элементов, присутствующих вместе в потоке битов в указанном порядке.
[0067] Видеодекодер 300 аналогично может декодировать такие синтаксические данные для того, чтобы определять то, как декодировать соответствующие видеоданные. Таким образом, видеокодер 200 может формировать поток битов, включающий в себя кодированные видеоданные, например, синтаксические элементы, описывающие сегментацию кадра на блоки (например, CU), и информацию прогнозирования и/или остаточную информацию для блоков. В конечном счете, видеодекодер 300 может принимать поток битов и декодировать кодированные видеоданные.
[0068] В общем, видеодекодер 300 выполняет взаимообратный процесс относительно процесса, выполняемого посредством видеокодера 200 для того, чтобы декодировать кодированные видеоданные потока битов. Например, видеодекодер 300 может декодировать значения для синтаксических элементов потока битов с использованием CABAC способом, практически аналогичным, хотя и взаимообратным, относительно процесса CABAC-кодирования видеокодера 200. Синтаксические элементы могут задавать сегментацию информации кадра на CTU и сегментацию каждой CTU согласно соответствующей структуре сегментации, такой как QTBT-структура, чтобы задавать CU CTU. Синтаксические элементы дополнительно могут задавать информацию прогнозирования и остаточную информацию для блоков (например, CU) видеоданных.
[0069] Остаточная информация может представляться, например, посредством квантованных коэффициентов преобразования. Видеодекодер 300 может обратно квантовать и обратно преобразовывать квантованные коэффициенты преобразования блока для того, чтобы воспроизводить остаточный блок для блока. Видеодекодер 300 использует передаваемый в служебных сигналах режим прогнозирования (внутреннее или внешнее прогнозирование) и связанную информацию прогнозирования (например, информацию движения для внешнего прогнозирования) для того, чтобы формировать прогнозный блок для блока. Видеодекодер 300 затем может комбинировать блок прогнозирования и остаточный блок (на основе каждой выборки), чтобы воспроизводить исходный блок. Видеодекодер 300 может выполнять дополнительную обработку, такую как выполнение процесса удаления блочности, чтобы уменьшать визуальные артефакты вдоль границ блока.
[0070] Это раскрытие, в общем, может относиться к "передаче в служебных сигналах" определенной информации, такой как синтаксические элементы. Термин "передача служебных сигналов", в общем, может означать передачу значений для синтаксических элементов и/или других данных, используемых для того, чтобы декодировать кодированных видеоданные. Таким образом, видеокодер 200 может передавать в служебных сигналах значения для синтаксических элементов в потоке битов. В общем, передача служебных сигналов означает формирование значения в потоке битов. Как отмечено выше, исходное устройство 102 может транспортировать поток битов в целевое устройство 116 практически в реальном времени или не в реальном времени, к примеру, что может происходить при сохранении синтаксических элементов в устройство 112 хранения данных для последующего извлечения посредством целевого устройства 116.
[0071] Фиг. 2A и 2B является концептуальной схемой, иллюстрирующей примерную структуру 130 в виде дерева квадрантов и двоичного дерева (QTBT) и соответствующую единицу 132 дерева кодирования (CTU). Сплошные линии представляют разбиение на дерево квадрантов, и пунктирные линии указывают разбиение на двоичное дерево. В каждом разбитом (т.е. нелисте) узле двоичного дерева, один флаг передается в служебных сигналах для того, чтобы указывать то, какой тип разбиения (т.е. горизонтальное или вертикальное) используется, где 0 указывает горизонтальное разбиение, и 1 указывает вертикальное разбиение в этом примере. Для разбиения на дерево квадрантов, нет необходимости указывать тип разбиения, поскольку узлы дерева квадрантов разбивают блок горизонтально и вертикально на 4 субблока с равным размером. Соответственно, видеокодер 200 может кодировать, и видеодекодер 300 может декодировать синтаксические элементы (к примеру, информацию разбиения) для древовидного уровня области QTBT-структуры 130 (т.е. сплошные линии) и синтаксические элементы (к примеру, информацию разбиения) для древовидного уровня прогнозирования QTBT-структуры 130 (т.е. пунктирные линии). Видеокодер 200 может кодировать, и видеодекодер 300 может декодировать видеоданные, такие как данные прогнозирования и преобразования, для CU, представленных посредством терминальных узлов-листьев QTBT-структуры 130.
[0072] В общем, CTU 132 по фиг. 2B может быть ассоциирована с параметрами, задающими размеры блоков, соответствующих узлам QTBT-структуры 130 на первом и втором уровнях. Эти параметры могут включать в себя CTU-размер (представляющий размер CTU 132 в выборках), минимальный размер дерева квадрантов (MinQTSize, представляющий минимальный разрешенный размер узлов-листьев дерева квадрантов), максимальный размер двоичного дерева (MaxBTSize, представляющий максимальный разрешенный размер корневых узлов двоичного дерева), максимальную глубину двоичного дерева (MaxBTDepth, представляющий максимальную разрешенную глубину двоичного дерева) и минимальный размер двоичного дерева (MinBTSize, представляющий минимальный разрешенный размер узлов-листьев двоичного дерева).
[0073] Корневой узел QTBT-структуры, соответствующей CTU, может иметь четыре дочерних узла на первом уровне QTBT-структуры, каждый из которых может сегментироваться согласно сегментации на основе дерева квадрантов. Таким образом, узлы первого уровня либо представляют собой узлы-листья (имеющие дочерние узлы), либо имеют четыре дочерних узла. Пример QTBT-структуры 130 представляет такие узлы как включающие в себя родительский узел и дочерние узлы, имеющие сплошные линии для ветвей. Если узлы первого уровня не превышают максимальный разрешенный размер корневых узлов двоичного дерева (MaxBTSize), то узлы дополнительно могут сегментироваться посредством соответствующих двоичных деревьев. Разбиение на двоичное дерево одного узла может обрабатываться с помощью итераций до тех пор, пока узлы, получающиеся в результате разбиения, не достигают минимального разрешенного размера узлов-листьев двоичного дерева (MinBTSize) или максимальной разрешенной глубины двоичного дерева (MaxBTDepth). Пример QTBT-структуры 130 представляет такие узлы как имеющие пунктирные линии для ветвей. Узел-лист двоичного дерева называется "единицей кодирования (CU)", которая используется для прогнозирования (например, внутрикадрового или межкадрового прогнозирования) и преобразования, без дальнейшей сегментации. Как пояснено выше, CU также могут называться "видеоблоками" или "блоками".
[0074] В одном примере QTBT-структуры сегментации, CTU-размер задается как 128×128 (выборки сигналов яркости и две соответствующих выборки сигналов цветности 64×64), MinQTSize задается как 16×16, MaxBTSize задается как 64×64, MinBTSize (для ширины и высоты) задается как 4, и MaxBTDepth задается как 4. Сегментация на основе дерева квадрантов применяется к CTU сначала, чтобы формировать узлы-листья дерева квадрантов. Узлы-листья дерева квадрантов могут иметь размер от 16×16 (т.е. от MinQTSize) до 128×128 (т.е. до CTU-размера). Если узел-лист дерева квадрантов представляет собой 128×128, то узел-лист дерева квадрантов не должен дополнительно разбиваться посредством двоичного дерева, поскольку размер превышает MaxBTSize (т.е. 64×64, в этом примере). В противном случае, узел-лист дерева квадрантов дополнительно сегментируется посредством двоичного дерева. Следовательно, узел-лист дерева квадрантов также представляет собой корневой узел для двоичного дерева и имеет глубину двоичного дерева в 0. Когда глубина двоичного дерева достигает MaxBTDepth (4, в этом примере), дополнительное разбиение не разрешается. Узел двоичного дерева, имеющий ширину, равную MinBTSize (4, в этом примере), подразумевает то, что дополнительное горизонтальное разбиение не разрешается. Аналогично, узел двоичного дерева, имеющий высоту, равную MinBTSize, подразумевает то, что дополнительное вертикальное разбиение не разрешается для этого узла двоичного дерева. Как отмечено выше, узлы-листья двоичного дерева называются "CU" и дополнительно обрабатываются согласно прогнозированию и преобразованию без дополнительной сегментации.
[0075] Это раскрытие описывает потенциальные модификации частей VVC-проекта 7, которые могут обеспечивать использование компенсации движения с горизонтальным циклическим переходом с RPR. Некоторые части VVC-проекта 7, которые могут улучшаться, вводятся в данном документе. Раздел 7.3.2.3 в VVC-проекте 7, версия 14 гласит следующее:
[0076] Раздел 7.4.3.3 в VVC-проекте 7, версия 14 гласит следующее:
sps_ref_wraparound_enabled_flag, равный 1, указывает то, что компенсация движения с горизонтальным циклическим переходом применяется при внешнем прогнозировании. sps_ref_wraparound_enabled_flag, равный 0, указывает то, что компенсация движения с горизонтальным циклическим переходом не применяется. Когда значение (CtbSizeY/MinCbSizeY+1) превышает или равно (pic_width_in_luma_samples/MinCbSizeY-1), где pic_width_in_luma_samples является значением pic_width_in_luma_samples в любом PPS, который ссылается на SPS, значение sps_ref_wraparound_enabled_flag должно быть равным 0.
sps_ref_wraparound_offset_minus1 плюс 1 указывает смещение, используемое для вычисления позиции горизонтального циклического перехода в единицах MinCbSizeY выборок сигналов яркости. Значение ref_wraparound_offset_minus1 должно составлять в диапазоне от (CtbSizeY/MinCbSizeY)+1 до (pic_width_in_luma_samples/MinCbSizeY)-1, включительно, где pic_width_in_luma_samples является значением pic_width_in_luma_samples в любом PPS, который ссылается на SPS.
[0077] Раздел 7.3.2.4 в VVC-проекте 7, версия 14 гласит следующее:
[0078] Раздел 7.4.3.4 в VVC-проекте 7, версия 14 гласит следующее:
pic_width_in_luma_samples указывает ширину каждого декодированного кадра, ссылающегося на PPS в единицах выборок сигналов яркости. pic_width_in_luma_samples не должен быть равным 0, должен быть целым кратным Max(8, MinCbSizeY) и должен быть меньше или равен pic_width_max_in_luma_samples.
Когда subpics_present_flag равен 1 или ref_pic_resampling_enabled_flag равен 0, значение pic_width_in_luma_samples должно быть равным pic_width_max_in_luma_samples.
pic_height_in_luma_samples указывает высоту каждого декодированного кадра, ссылающегося на PPS в единицах выборок сигналов яркости. pic_height_in_luma_samples не должен быть равным 0 и должен быть целым кратным Max(8, MinCbSizeY) и должен быть меньше или равен pic_height_max_in_luma_samples.
Когда subpics_present_flag равен 1 или ref_pic_resampling_enabled_flag равен 0, значение pic_height_in_luma_samples должно быть равным pic_height_max_in_luma_samples.
[0079] Раздел 8.5.3.2.2 VVC-проекта 7, версия 14 гласит следующее:
xInti=Clip3(0, picW-1, sps_ref_wraparound_enabled_flag?
ClipH((sps_ref_wraparound_offset_minus1+1)*MinCbSizeY, picW, (xIntL+i))
xIntL+i) (644)
yInti=Clip3(0, picH-1, yIntL+i) (645)
[0080] Раздел 8.5.6.3.2 VVC-проекта 7, версия 14 утверждает:
xInti=Clip3(0, picW-1, sps_ref_wraparound_enabled_flag?
ClipH((sps_ref_wraparound_offset_minus1+1)*MinCbSizeY, picW, xIntL+i-3)
xIntL+i-3) (957)
yInti=Clip3(0, picH-1, yIntL+i-3) (958)
[0081] Раздел 8.5.6.3.3 VVC-проекта 7, версия 14 утверждает:
xInt=Clip3(0, picW-1, sps_ref_wraparound_enabled_flag? (968)
ClipH((sps_ref_wraparound_offset_minus1+1)*MinCbSizeY, picW, xIntL): xIntL)
yInt=Clip3(0, picH-1, yIntL) (969)
[0082] Раздел 8.5.6.3.4 VVC-проекта 7, версия 14 утверждает:
xInti=Clip3(0, picWC-1, sps_ref_wraparound_enabled_flag? ClipH(xOffset, picWC, xIntC+i-1):
xIntC+i-1)
yInti=Clip3(0, picHC-1, yIntC+i-1) (974)
[0083] Это раскрытие может разрешать одну или более проблем в VVC-проекте 7. Смещение при горизонтальном циклическом переходе в компенсации движения приспособлено в VVC, чтобы уменьшать субъективно визуальные артефакты для варианта использования с углом обзора в 360 градусов с использованием формата на основе дополненной равнопрямоугольной проекции (PERP), в котором левые границы кадров и правые границы кадров дополняются таким образом, чтобы они были одинаковыми. Таким образом, в PERP-форматированном кадре, выборочные значения на левых границах кадров могут быть идентичными выборочным значениям на правых границах кадров.
[0084] Фиг. 3 показывает пример смещения при циклическом переходе в опорном кадре с PERP-форматом. В примере по фиг. 3, видеокодер 200 или видеодекодер 300, например, могут прогнозировать текущую PU 136 текущего кадра 138. Чтобы прогнозировать текущую PU 136, видеокодер 200 или видеодекодер 300 использует вектор 140 движения, чтобы находить левый верхний угол блока 142 прогнозирования относительно левого верхнего угла совместно размещенной PU 144. Блок 142 прогнозирования и совместно размещенная PU 144 расположены в опорном кадре 146. Опорные пикселы, которые расширяются за пределы границы опорного кадра 146, подвергаются циклическому переходу посредством перемещения позиции с расстоянием ERP-ширины, как показано на фиг. 3. Таким образом, опорные выборки, которые в противном случае должны быть расположены слева от левой границы опорного кадра 146, находятся в правой части. Эти опорные выборки в правой части опорного кадра 146 показаны как опорные выборки 148 после циклического перехода на фиг. 3. ERP-ширина передается в служебных сигналах в качестве смещения при циклическом переходе. Флаг активации циклического перехода и смещение при циклическом переходе передаются в служебных сигналах в SPS в VVC-проекте 7 следующим образом:
sps_ref_wraparound_enabled_flag, равный 1, указывает то, что компенсация движения с горизонтальным циклическим переходом применяется при внешнем прогнозировании. sps_ref_wraparound_enabled_flag, равный 0, указывает то, что компенсация движения с горизонтальным циклическим переходом не применяется. Когда значение (CtbSizeY/MinCbSizeY+1) меньше или равно (pic_width_in_luma_samples/MinCbSizeY-1), где pic_width_in_luma_samples является значением pic_width_in_luma_samples в любом PPS, который ссылается на SPS, значение sps_ref_wraparound_enabled_flag должно быть равным 0.
sps_ref_wraparound_offset_minus1 плюс 1 указывает смещение, используемое для вычисления позиции горизонтального циклического перехода в единицах MinCbSizeY выборок сигналов яркости. Значение ref_wraparound_offset_minus1 должно составлять в диапазоне от (CtbSizeY/MinCbSizeY)+1 до (pic_width_in_luma_samples/MinCbSizeY)-1, включительно, где pic_width_in_luma_samples является значением pic_width_in_luma_samples в любом PPS, который ссылается на SPS.
[0085] Фиг. 4 показывает то, как, позиция опорного пиксела может неправильно сдвигаться в неизвестную позицию, т.е. за пределы опорного кадра, посредством смещения при циклическом переходе текущего кадра. На фиг. 4, wraparound_offset_curr представляет смещение при циклическом переходе, извлекаемое из PPS текущего кадра 150. Поскольку опорный кадр 152 имеет высоту и ширину, отличающуюся от высоты и ширины текущего кадра 150, wraparound_offset_curr указывает за пределы опорного кадра 152.
[0086] Смещение при циклическом переходе может быть меньше или равным ширине кадра. Поскольку RPR-проектирование может приводить к обновлению ширины кадра и высоты в PPS, смещения при циклическом переходе могут отличаться для различных кадров, принадлежащих различным PPS. В силу этого текущий кадр и опорный кадр, ссылающиеся на два различных PPS, могут иметь различные ширины и высоты, как показано на фиг. 4. VVC-проект 7 исправляет смещение при циклическом переходе в кодированной видеопоследовательности слоя (CLVS). Тем не менее, VVC-проект 7 может инструктировать видеокодеру неправильно сдвигать позицию пиксела за пределами опорного кадра со смещением при циклическом переходе, которое извлекается из PPS, на который ссылаются посредством текущего кадра, как показано на фиг. 4, причем ширина опорного кадра и ширина текущего кадра отличаются вследствие активации RPR.
[0087] Это раскрытие вводит технологии, которые могут справляться с этим недостатком VVC-проекта 7. Это раскрытие вводит несколько модификаций VVC-проекта 7, которые могут справляться с недостатками, введенными выше. Согласно одной технологии этого раскрытия, передача в служебных сигналах смещений при циклическом переходе может перемещаться в PPS из SPS. Таким образом, видеокодер 200 может быть выполнен с возможностью включать смещения при циклическом переходе в качестве части синтаксической PPS-структуры, и видеодекодер 300 может быть выполнен с возможностью принимать смещения при циклическом переходе в качестве части синтаксической PPS-структуры.
[0088] Смещение при циклическом переходе может быть меньше или равным ширине кадра. Поскольку RPR-проектирование может заменять на новую ширину и высоту кадра в PPS, это раскрытие предлагает то, что смещения при циклическом переходе могут передаваться в служебных сигналах в PPS вместо SPS, чтобы совмещать проектирование RPR. В первом примере такого ограничения, значение ref_wraparound_enabled_flag может быть идентичным для всех PPS, на которые ссылаются посредством кодированных кадров в CLVS. Во втором примере такого ограничения, значение ref_wraparound_enabled_flag может изменяться в CLVS. Оба примера могут применяться к любому из предложенных изменений в этом раскрытии.
[0089] Примеры изменений VVC-проекта 7 для того, чтобы реализовывать технологии этого раскрытия, показаны следующим образом. В ходе этого раскрытия, тег "<ADD>" показывает начало добавлений, предложенных посредством этого раскрытия, и тег "</ADD>" показывает конец этих добавлений. Тег "<DEL>" показывает начало удалений (т.е. текстового удаления) предложенный посредством этого раскрытия, и тег "</DEL>" показывает конец этих удалений.
[0090] В некоторых примерах, раздел 7.3.2.3 в VVC-проекте 7, версия 14 может модифицироваться следующим образом:
[0091] В некоторых примерах, раздел 7.4.3.3 в VVC-проекте 7, версия 14 может модифицироваться следующим образом:
<DEL> sps_ref_wraparound_enabled_flag равный 1 указывает то, что компенсация движения с горизонтальным циклическим переходом применяется при внешнем прогнозировании. sps_ref_wraparound_enabled_flag, равный 0, указывает то, что компенсация движения с горизонтальным циклическим переходом не применяется. Когда значение (CtbSizeY/MinCbSizeY+1) превышает или равно (pic_width_in_luma_samples/MinCbSizeY-1), где pic_width_in_luma_samples является значением pic_width_in_luma_samples в любом PPS, который ссылается на SPS, значение sps_ref_wraparound_enabled_flag должно быть равным 0.
sps_ref_wraparound_offset_minus1 плюс 1 указывает смещение, используемое для вычисления позиции горизонтального циклического перехода в единицах MinCbSizeY выборок сигналов яркости. Значение ref_wraparound_offset_minus1 должно составлять в диапазоне от (CtbSizeY/MinCbSizeY)+1 до (pic_width_in_luma_samples/MinCbSizeY)-1, включительно, где pic_width_in_luma_samples является значением pic_width_in_luma_samples в любом PPS, который ссылается на SPS. </DEL>
[0092] В некоторых примерах, раздел 7.3.2.4 в VVC-проекте 7, версия 14 может модифицироваться следующим образом:
[0093] В некоторых примерах, раздел 7.4.3.4 в VVC-проекте 7, версия 14 может модифицироваться следующим образом:
<ADD> ref_wraparound_enabled_flag равный 1 указывает то, что компенсация движения с горизонтальным циклическим переходом применяется при внешнем прогнозировании. ref_wraparound_enabled_flag, равный 0, указывает то, что компенсация движения с горизонтальным циклическим переходом не применяется. Когда значение (CtbSizeY/MinCbSizeY+1) превышает или равно (pic_width_in_luma_samples/MinCbSizeY-1), где pic_width_in_luma_samples является значением pic_width_in_luma_samples в любом PPS, который ссылается на SPS, значение ref_wraparound_enabled_flag должно быть равным 0.
Требование соответствия потока битов заключается в том, что значение ref_wraparound_enabled_flag должно быть идентичным для всех PPS, на которые ссылаются посредством кодированных кадров в CLVS.
ref_wraparound_offset_minus1 плюс 1 указывает смещение, используемое для вычисления позиции горизонтального циклического перехода в единицах MinCbSizeY выборок сигналов яркости. Значение ref_wraparound_offset_minus1 должно составлять в диапазоне от (CtbSizeY/MinCbSizeY)+1 до (pic_width_in_luma_samples/MinCbSizeY)-1, включительно. </ADD>
[0094] Технологии этого раскрытия также могут разрешать проблемы относительно компенсации движения. В VVC-проекте 7, позиция пиксела за пределами опорного кадра может неправильно сдвигаться посредством смещения при циклическом переходе текущего кадра, как показано на фиг. 4, причем ширина опорного кадра и ширина текущего кадра отличаются вследствие активации RPR. Это раскрытие вводит технологии для того, чтобы исправлять эту проблему посредством замены смещения при циклическом переходе текущего кадра на смещение при циклическом переходе, извлекаемое в PPS, на который ссылаются посредством опорного кадра.
[0095] Примеры изменений VVC-проекта 7 для того, чтобы реализовывать технологии этого раскрытия, показаны следующим образом.
[0096] В некоторых примерах, раздел 8.5.3.2.2 в VVC-проекте 7, версия 14 может модифицироваться следующим образом:
<ADD> ref_wraparound_offset_minus1 является ref_wraparound_offset_minus1, синтаксически проанализированным в PPS, на который ссылаются посредством опорного кадра. </ADD>
xInti=Clip3(0, picW-1, <DEL> sps_</DEL> ref_wraparound_enabled_flag?
ClipH((<DEL> sps_</DEL> ref_wraparound_offset_minus1+1)*MinCbSizeY, picW, (xIntL+i)): (644)
xIntL+i)
yInti=Clip3(0, picH-1, yIntL+i) (645)
[0097] В некоторых примерах, раздел 8.5.6.3.2 в VVC-проекте 7, версия 14 может модифицироваться следующим образом:
<ADD>
ref_wraparound_offset_minus1 является ref_wraparound_offset_minus1, синтаксически проанализированным в PPS, на который ссылаются посредством опорного кадра.
</ADD>
xInti=Clip3(0, picW-1, <DEL> sps_</DEL> ref_wraparound_enabled_flag?
ClipH((<DEL> sps_</DEL> ref_wraparound_offset_minus1+1)*MinCbSizeY, picW, xIntL+i-3): (957)
xIntL+i-3)
yInti=Clip3(0, picH-1, yIntL+i-3) (958)
[0098] В некоторых примерах, раздел 8.5.6.3.3 в VVC-проекте 7, версия 14 может модифицироваться следующим образом:
<ADD>
ref_wraparound_offset_minus1 является ref_wraparound_offset_minus1, синтаксически проанализированным в PPS, на который ссылаются посредством опорного кадра.
</ADD>
xInt=Clip3(0, picW-1, <DEL> sps_</DEL> ref_wraparound_enabled_flag? (968)
ClipH((<DEL> sps_</DEL> ref_wraparound_offset_minus1+1)*MinCbSizeY, picW, xIntL): xIntL)
yInt=Clip3(0, picH-1, yIntL) (969)
[0099] В некоторых примерах, раздел 8.5.6.3.4 в VVC-проекте 7, версия 14 может модифицироваться следующим образом:
<ADD>
ref_wraparound_offset_minus1 является ref_wraparound_offset_minus1, синтаксически проанализированным в PPS, на который ссылаются посредством опорного кадра.
</ADD>
Переменная xOffset задается равной (<DEL> sps_</DEL> ref_wraparound_offset_minus1+1)*MinCbSizeY)/SubWidthC.
xInti=Clip3(0, picWC-1, <DEL> sps_</DEL> ref_wraparound_enabled_flag? ClipH(xOffset, picWC, xIntC+i-1):
xIntC+i-1)
yInti=Clip3(0, picHC-1, yIntC+i-1) (974)
[0100] В некоторых примерах, технологии этого раскрытия включают в себя не только необходимость заменять смещение при циклическом переходе текущего кадра на смещение при циклическом переходе, извлекаемое в PPS, на который ссылаются посредством опорного кадра, но также и необходимость заменять флаг циклического перехода текущего кадра флагом циклического перехода, извлекаемым в PPS, на который ссылаются посредством опорного кадра. Примеры изменений VVC-проекта 7 для того, чтобы реализовывать технологии этого раскрытия, показаны следующим образом.
[0101] В некоторых примерах, раздел 8.5.3.2.2 в VVC-проекте 7, версия 14 может модифицироваться следующим образом:
<ADD> ref_wraparound_enabled_flag является ref_wraparound_enabled_flag, синтаксически проанализированным в PPS, на который ссылаются посредством опорного кадра.
ref_wraparound_offset_minus1 является ref_wraparound_offset_minus1, синтаксически проанализированным в PPS, на который ссылаются посредством опорного кадра.
</ADD>
xInti=Clip3(0, picW-1, <DEL> sps_</DEL> ref_wraparound_enabled_flag?
ClipH((<DEL> sps_</DEL> ref_wraparound_offset_minus1+1)*MinCbSizeY, picW, (xIntL+i)): (644)
xIntL+i)
yInti=Clip3(0, picH-1, yIntL+i) (645)
[0102] В некоторых примерах, раздел 8.5.6.3.2 в VVC-проекте 7, версия 14 может модифицироваться следующим образом:
<ADD>
ref_wraparound_enabled_flag является ref_wraparound_enabled_flag, синтаксически проанализированным в PPS, на который ссылаются посредством опорного кадра.
ref_wraparound_offset_minus1 является ref_wraparound_offset_minus1, синтаксически проанализированным в PPS, на который ссылаются посредством опорного кадра.
</ADD>
xInti=Clip3(0, picW-1, <DEL> sps_</DEL> ref_wraparound_enabled_flag?
ClipH((<DEL> sps_</DEL> ref_wraparound_offset_minus1+1)*MinCbSizeY, picW, xIntL+i-3): (957)
xIntL+i-3)
yInti=Clip3(0, picH-1, yIntL+i-3) (958)
[0103] В некоторых примерах, раздел 8.5.6.3.3 в VVC-проекте 7, версия 14 может модифицироваться следующим образом:
<ADD>
ref_wraparound_enabled_flag является ref_wraparound_enabled_flag, синтаксически проанализированным в PPS, на который ссылаются посредством опорного кадра.
ref_wraparound_offset_minus1 является ref_wraparound_offset_minus1, синтаксически проанализированным в PPS, на который ссылаются посредством опорного кадра.
</ADD>
xInt=Clip3(0, picW-1, <DEL> sps_</DEL> ref_wraparound_enabled_flag? (968)
ClipH((<DEL> sps_</DEL> ref_wraparound_offset_minus1+1)*MinCbSizeY, picW, xIntL): xIntL)
yInt=Clip3(0, picH-1, yIntL) (969)
[0104] В некоторых примерах, раздел 8.5.6.3.4 в VVC-проекте 7, версия 14 может модифицироваться следующим образом:
<ADD> ref_wraparound_enabled_flag является ref_wraparound_enabled_flag, синтаксически проанализированным в PPS, на который ссылаются посредством опорного кадра.
ref_wraparound_offset_minus1 является ref_wraparound_offset_minus1, синтаксически проанализированным в PPS, на который ссылаются посредством опорного кадра. </ADD>
Переменная xOffset задается равной (<DEL> sps_</DEL> ref_wraparound_offset_minus1+1)*MinCbSizeY)/SubWidthC.
xInti=Clip3(0, picWC-1, <DEL> sps_</DEL> ref_wraparound_enabled_flag? ClipH(xOffset, picWC, xIntC+i-1):
xIntC+i-1)
yInti=Clip3(0, picHC-1, yIntC+i-1) (974)
[0105] В некоторых примерах, технологии этого раскрытия включают в себя использование, для компенсации движения, коэффициентов масштабирования между опорным кадром и текущим кадром, чтобы масштабировать смещение при циклическом переходе, которое извлекается из PPS, на который ссылаются посредством текущего кадра. Общая формула для того, чтобы извлекать смещение при циклическом переходе опорного кадра, заданного в качестве ref_wraparound_offset, может быть следующей:
ref_wraparound_offset=curr_wraparound_offset*ref_pic_width÷curr_pic_width,
где curr_wraparound_offset является смещением при циклическом переходе текущего кадра, ref_pic_width задается как pic_width_max_in_luma_samples опорного кадра, и curr_pic_width задается как pic_width_max_in_luma_samples текущего кадра.
[0106] С учетом точности вычисления с фиксированной запятой, вычисление формулы может реализовываться с более высокой точностью. Один пример заключается в том, чтобы использовать scalingRatio[0], заданный в VVC-проекте 7, который вычисляет значение ref_pic_width÷curr_pic_width посредством сдвига влево 14 в ref_pic_width. Затем смещение при циклическом переходе опорного кадра может извлекаться следующим образом:
ref_wraparound_offset=((curr_wraparound_offset*scalingRatio[0])+8192)>>14
[0107] В некоторых примерах, технологии этого раскрытия включают в себя запрещение одновременной активации RPR-функциональности и функциональности смещений при циклическом переходе. Например, в некоторых примерах, видеодекодер 300 может быть выполнен с возможностью логически выводить ref_pic_resampling_enabled_flag равным 0, если sps_ref_wraparound_enabled_flag равен 1. В некоторых примерах, видеодекодер 300 может быть выполнен с возможностью логически выводить sps_ref_wraparound_enabled_flag равным 0, если ref_pic_resampling_enabled_flag равен 1.
[0108] Видеокодер 200 и видеодекодер 300 могут быть выполнены с возможностью применять смещения при циклическом переходе с активированными субкадрами. Видеокодер 200 и видеодекодер 300 могут быть выполнены с возможностью добавлять индекс субкадра в передачу в служебных сигналах смещений при циклическом переходе во время процесса синтаксического анализа в PPS и процесса декодирования для компенсации движения. Примеры изменений VVC-проекта 7 для того, чтобы реализовывать технологии этого раскрытия, показаны следующим образом.
[0109] В некоторых примерах, раздел 7.3.2.4 в VVC-проекте 7, версия 14 может модифицироваться следующим образом:
[0110] В некоторых примерах, раздел 7.4.3.4 в VVC-проекте 7, версия 14 может модифицироваться следующим образом:
<ADD>
ref_wraparound_enabled_flag [i], равный 1, указывает то, что компенсация движения с горизонтальным циклическим переходом для i-ого субкадра применяется при внешнем прогнозировании. ref_wraparound_enabled_flag, равный 0, указывает то, что компенсация движения с горизонтальным циклическим переходом не применяется к i-ому субкадру. Когда значение (CtbSizeY/MinCbSizeY+1) превышает или равно (subpic_width_in_luma_samples/MinCbSizeY-1), где subpic_width_in_luma_samples является значением ширины субкадра i-ого субкадра, значение ref_wraparound_enabled_flag должно быть равным 0.
ref_wraparound_offset_minus1 [i] плюс 1 указывает смещение, используемое для вычисления позиции горизонтального циклического перехода i-ого субкадра в единицах MinCbSizeY выборок сигналов яркости. Значение ref_wraparound_offset_minus1 [i] должно составлять в диапазоне от (CtbSizeY/MinCbSizeY)+1 до (subpic_width_in_luma_samples/MinCbSizeY)-1, включительно.
</ADD>
[0111] В некоторых примерах, раздел 8.5.3.2.2 в VVC-проекте 7, версия 14 может модифицироваться следующим образом:
<ADD>
RefSubPicIdx извлекается таким образом, что он является таким, что SubpicIdList[RefSubPicIdx] опорного кадра равен slice_subpic_id текущего слайса.
ref_wraparound_offset_minus1[RefSubPicIdx] является ref_wraparound_offset_minus1[RefSubPicIdx], синтаксически проанализированным в PPS, на который ссылаются посредством опорного кадра.
</ADD>
xInti=Clip3(0, picW-1, <DEL> sps_</DEL> ref_wraparound_enabled_flag<ADD>[RefSubPicIdx]</ADD>?
ClipH((<DEL> sps_</DEL> ref_wraparound_offset_minus1<ADD>[RefSubPicIdx]</ADD>+1)*MinCbSizeY, picW, (xIntL+i)): (644)
xIntL+i)
yInti=Clip3(0, picH-1, yIntL+i) (645)
[0112] В некоторых примерах, раздел 8.5.6.3.2 в VVC-проекте 7, версия 14 может модифицироваться следующим образом:
<ADD> refSubPicIdx извлекается таким образом, что он является таким, что SubpicIdList[RefSubPicIdx] опорного кадра равен slice_subpic_id текущего слайса.
ref_wraparound_offset_minus1[RefSubPicIdx] является ref_wraparound_offset_minus1[RefSubPicIdx], синтаксически проанализированным в PPS, на который ссылаются посредством опорного кадра. </ADD>
xInti=Clip3(0, picW-1, <DEL> sps_</DEL> ref_wraparound_enabled_flag<ADD>[RefSubPicIdx]</ADD>?
ClipH((<DEL> sps_</DEL> ref_wraparound_offset_minus1<ADD>[RefSubPicIdx]</ADD>+1)*MinCbSizeY, picW, xIntL+i-3): (957)
xIntL+i-3)
yInti=Clip3(0, picH-1, yIntL+i-3) (958)
[0113] В некоторых примерах, раздел 8.5.6.3.3 в VVC-проекте 7, версия 14 может модифицироваться следующим образом:
<ADD> refSubPicIdx извлекается таким образом, что он является таким, что SubpicIdList[RefSubPicIdx] опорного кадра равен slice_subpic_id текущего слайса.
ref_wraparound_offset_minus1[RefSubPicIdx] является ref_wraparound_offset_minus1[RefSubPicIdx], синтаксически проанализированным в PPS, на который ссылаются посредством опорного кадра. </ADD>
xInt=Clip3(0, picW-1, <DEL> sps_</DEL> ref_wraparound_enabled_flag<ADD>[RefSubPicIdx]</ADD>?
ClipH((<DEL> sps_</DEL> ref_wraparound_offset_minus1<ADD>[RefSubPicIdx]</ADD>+1)*MinCbSizeY, picW, xIntL): xIntL) (968)
yInt=Clip3(0, picH-1, yIntL) (969)
[0114] В некоторых примерах, раздел 8.5.6.3.4 в VVC-проекте 7, версия 14 может модифицироваться следующим образом:
<ADD> refSubPicIdx извлекается таким образом, что он является таким, что SubpicIdList[RefSubPicIdx] опорного кадра равен slice_subpic_id текущего слайса.
ref_wraparound_offset_minus1[RefSubPicIdx] является ref_wraparound_offset_minus1[RefSubPicIdx], синтаксически проанализированным в PPS, на который ссылаются посредством опорного кадра. </ADD>
Переменная xOffset задается равной (<DEL> sps_</DEL> ref_wraparound_offset_minus1<ADD>[RefSubPicIdx]</ADD>+1)*MinCbSizeY)/SubWidthC.
xInti=Clip3(0, picWC-1, <DEL> sps_</DEL> ref_wraparound_enabled_flag<ADD>[RefSubPicIdx]</ADD>? ClipH(xOffset, picWC, xIntC+i-1):
xIntC+i-1)
yInti=Clip3(0, picHC-1, yIntC+i-1) (974)
[0115] Фиг. 5 является блок-схемой, иллюстрирующей примерный видеокодер 200, который может выполнять технологии этого раскрытия. Фиг. 5 предоставляется для целей пояснения и не должен считаться ограничением технологий, проиллюстрированных и описанных в общих чертах в этом раскрытии. Для целей пояснения, это раскрытие описывает видеокодер 200 согласно технологиям JEM, VVC (ITU-T H.266, разрабатывается) и HEVC (ITU-T H.265). Тем не менее, технологии этого раскрытия могут выполняться посредством устройств кодирования видео, которые сконфигурированы для других стандартов кодирования видео.
[0116] В примере по фиг. 5, видеокодер 200 включает в себя запоминающее устройство 230 видеоданных, модуль 202 выбора режима, модуль 204 формирования остатков, модуль 206 обработки преобразования, модуль 208 квантования, модуль 210 обратного квантования, модуль 212 обработки обратного преобразования, модуль 214 восстановления, модуль 216 фильтрации, буфер 218 декодированных кадров (DPB) и модуль 220 энтропийного кодирования. Любое из запоминающего устройства 230 видеоданных, модуля 202 выбора режима, модуля 204 формирования остатков, модуля 206 обработки преобразования, модуля 208 квантования, модуля 210 обратного квантования, модуля 212 обработки обратного преобразования, модуля 214 восстановления, модуля 216 фильтрации, DPB 218 и модуля 220 энтропийного кодирования может реализовываться в одном или более процессоров либо в схеме обработки. Например, модули видеокодера 200 могут реализовываться как одна или более схем или логических элементов в качестве части аппаратной схемы или в качестве части процессора, ASIC, FPGA. Кроме того, видеокодер 200 может включать в себя дополнительные или альтернативные процессоры либо схему обработки для того, чтобы выполнять эти и другие функции.
[0117] Запоминающее устройство 230 видеоданных может сохранять видеоданные, которые должны кодироваться посредством компонентов видеокодера 200. Видеокодер 200 может принимать видеоданные, сохраненные в запоминающем устройстве 230 видеоданных, например, из видеоисточника 104 (фиг. 1). DPB 218 может выступать в качестве запоминающего устройства опорных кадров, которое сохраняет опорные видеоданные для использования при прогнозировании последующих видеоданных посредством видеокодера 200. Запоминающее устройство 230 видеоданных и DPB 218 могут формироваться посредством любых из множества запоминающих устройств, к примеру, как динамическое оперативное запоминающее устройство (DRAM), включающее в себя синхронное DRAM (SDRAM), магниторезистивное RAM (MRAM), резистивное RAM (RRAM) или другие типы запоминающих устройств. Запоминающее устройство 230 видеоданных и DPB 218 могут предоставляться посредством идентичного запоминающего устройства или отдельных запоминающих устройств. В различных примерах, запоминающее устройство 230 видеоданных может быть внутримикросхемным с другими компонентами видеокодера 200, как проиллюстрировано, или внемикросхемным относительно этих компонентов.
[0118] В этом раскрытии, ссылка на запоминающее устройство 230 видеоданных не должна интерпретироваться как ограниченная запоминающим устройством, внутренним для видеокодера 200, если не описывается конкретно в таком качестве, или запоминающим устройством, внешним для видеокодера 200, если не описывается конкретно в таком качестве. Наоборот, ссылка на запоминающее устройство 230 видеоданных должна пониматься как опорное запоминающее устройство, которое сохраняет видеоданные, которые видеокодер 200 принимает для кодирования (например, видеоданные для текущего блока, который должен кодироваться). Запоминающее устройство 106 по фиг. 1 также может предоставлять временное хранение выводов из различных модулей видеокодера 200.
[0119] Различные модули по фиг. 5 проиллюстрированы для того, чтобы помогать в понимании операций, выполняемых посредством видеокодера 200. Модули могут реализовываться как фиксированные функциональные схемы, программируемые схемы либо комбинация вышеозначенного. Фиксированные функциональные схемы означают схемы, которые предоставляют конкретную функциональность и предварительно установлены в отношении операций, которые могут выполняться. Программируемые схемы означают схемы, которые могут программироваться с возможностью выполнять различные задачи и предоставлять гибкую функциональность в операциях, которые могут выполняться. Например, программируемые схемы могут выполнять программное обеспечение или микропрограммное обеспечение, которое инструктирует программируемым схемам работать способом, заданным посредством инструкций программного обеспечения или микропрограммного обеспечения. Фиксированные функциональные схемы могут выполнять программные инструкции (например, чтобы принимать параметры или выводить параметры), но типы операций, которые выполняют фиксированные функциональные схемы, в общем, являются неизменными. В некоторых примерах, один или более модулей могут представлять собой различные схемные блоки (фиксированные функциональные или программируемые), и в некоторых примерах, один или более модулей могут представлять собой интегральные схемы.
[0120] Видеокодер 200 может включать в себя арифметико-логические устройства (ALU), элементарные функциональные модули (EFU), цифровые схемы, аналоговые схемы и/или программируемые ядра, сформированные из программируемых схем. В примерах, в которых операции видеокодера 200 выполняются с использованием программного обеспечения, выполняемого посредством программируемых схем, запоминающее устройство 106 (фиг. 1) может сохранять инструкции (объектный код) программного обеспечения, которое видеокодер 200 принимает и выполняет, или другое запоминающее устройство в видеокодере 200 (не показано) может сохранять такие инструкции.
[0121] Запоминающее устройство 230 видеоданных выполнено с возможностью сохранять принимаемые видеоданные. Видеокодер 200 может извлекать кадр видеоданных из запоминающего устройства 230 видеоданных и предоставлять видеоданные в модуль 204 формирования остатков и модуль 202 выбора режима. Видеоданные в запоминающем устройстве 230 видеоданных могут представлять собой необработанные видеоданные, которые должны кодироваться.
[0122] Модуль 202 выбора режима включает в себя модуль 222 оценки движения, модуль 224 компенсации движения и модуль 226 внутреннего прогнозирования. Модуль 202 выбора режима может включать в себя дополнительные функциональные модули, чтобы выполнять прогнозирование видео в соответствии с другими режимами прогнозирования. В качестве примера, модуль 202 выбора режима может включать в себя модуль палитровой обработки, модуль внутриблочного копирования (который может представлять собой часть модуля 222 оценки движения и/или модуля 224 компенсации движения), модуль аффинной обработки, модуль обработки на основе линейной модели (LM) и т.п.
[0123] Модуль 202 выбора режима, в общем, координирует несколько проходов кодирования, чтобы тестировать комбинации параметров кодирования и результирующих значений искажения в зависимости от скорости передачи для таких комбинаций. Параметры кодирования могут включать в себя сегментацию CTU на CU, режимы прогнозирования для CU, типы преобразования для остаточных данных CU, параметры квантования для остаточных данных CU и т.д. Модуль 202 выбора режима в конечном счете может выбирать комбинацию параметров кодирования, имеющих значения искажения в зависимости от скорости передачи, которые лучше других тестированных комбинаций.
[0124] Видеокодер 200 может сегментировать кадр, извлеченный из запоминающего устройства 230 видеоданных, на последовательность CTU и инкапсулировать одну или более CTU в слайсе. Модуль 202 выбора режима может сегментировать CTU кадра в соответствии с древовидной структурой, такой как QTBT-структура или структура в виде дерева квадрантов HEVC, описанного выше. Как описано выше, видеокодер 200 может формировать одну или более CU из сегментации CTU согласно древовидной структуре. Такая CU также, в общем, может называться "видеоблоком" или "блоком".
[0125] В общем, модуль 202 выбора режима также управляет своими компонентами (например, модулем 222 оценки движения, модулем 224 компенсации движения и модулем 226 внутреннего прогнозирования) таким образом, чтобы формировать блок прогнозирования для текущего блока (например, текущей CU либо, в HEVC, перекрывающейся части PU и TU). Для внешнего прогнозирования текущего блока, модуль 222 оценки движения может выполнять поиск движения для того, чтобы идентифицировать один или более тесно совпадающих опорных блоков в одном или более опорных кадров (например, в одном или более ранее кодированных кадров, сохраненных в DPB 218). В частности, модуль 222 оценки движения может вычислять значение, представляющее то, насколько аналогичным является потенциальный опорный блок относительно текущего блока, например, согласно сумме абсолютных разностей (SAD), сумме квадратов разности (SSD), средней абсолютной разности (MAD), среднеквадратическим разностям (MSD) и т.п. Модуль 222 оценки движения, в общем, может выполнять эти вычисления с использованием последовательных выборочных разностей между текущим блоком и рассматриваемым опорным блоком. Модуль 222 оценки движения может идентифицировать опорный блок, имеющий наименьшее значение, получающееся в результате этих вычислений, указывающее опорный блок, который наиболее тесно совпадает с текущим блоком.
[0126] Модуль 222 оценки движения может формировать один или более векторов движения (MV), которые задают позиции опорных блоков в опорных кадрах относительно позиции текущего блока в текущем кадре. Модуль 222 оценки движения затем может предоставлять векторы движения в модуль 224 компенсации движения. Например, для однонаправленного внешнего прогнозирования, модуль 222 оценки движения может предоставлять один вектор движения, тогда как для двунаправленного внешнего прогнозирования, модуль 222 оценки движения может предоставлять два вектора движения. Модуль 224 компенсации движения затем может формировать блок прогнозирования с использованием векторов движения. Например, модуль 224 компенсации движения может извлекать данные опорного блока с использованием вектора движения. В качестве другого примера, если вектор движения имеет точность в дробную часть выборки, модуль 224 компенсации движения может интерполировать значения для блока прогнозирования согласно одному или более интерполяционных фильтров. Кроме того, для двунаправленного внешнего прогнозирования, модуль 224 компенсации движения может извлекать данные для двух опорных блоков, идентифицированных посредством соответствующих векторов движения, и комбинировать извлеченные данные, например, посредством последовательного выборочного усреднения или усреднения со взвешиванием.
[0127] В качестве другого примера, для внутреннего прогнозирующего кодирования или внутреннего прогнозирующего кодирования, модуль 226 внутреннего прогнозирования может формировать блок прогнозирования из выборок, соседних с текущим блоком. Например, для направленных режимов, модуль 226 внутреннего прогнозирования, в общем, может математически комбинировать значения соседних выборок и заполнять эти вычисленные значения в заданном направлении для текущего блока для того, чтобы формировать блок прогнозирования. В качестве другого примера, для DC-режима, модуль 226 внутреннего прогнозирования может вычислять среднее соседних выборок по отношению к текущему блоку и формировать блок прогнозирования, который включает в себя это результирующее среднее для каждой выборки блока прогнозирования.
[0128] Модуль 202 выбора режима предоставляет прогнозный блок в модуль 204 формирования остатков. Модуль 204 формирования остатков принимает необработанную некодированную версию текущего блока из запоминающего устройства 230 видеоданных и прогнозный блок из модуля 202 выбора режима. Модуль 204 формирования остатков вычисляет последовательные выборочные разности между текущим блоком и прогнозным блоком. Результирующие последовательные выборочные разности задают остаточный блок для текущего блока. В некоторых примерах, модуль 204 формирования остатков также может определять разности между выборочными значениями в остаточном блоке, чтобы формировать остаточный блок с использованием остаточной дифференциальной импульсно-кодовой модуляции (RDPCM). В некоторых примерах, модуль 204 формирования остатков может формироваться с использованием одной или более схем вычитателя, которые выполняют двоичное вычитание.
[0129] В примерах, в которых модуль 202 выбора режима сегментирует CU на PU, каждая PU может быть ассоциирована с единицей прогнозирования сигналов яркости и соответствующими единицами прогнозирования сигналов цветности. Видеокодер 200 и видеодекодер 300 могут поддерживать PU, имеющие различные размеры. Как указано выше, размер CU может означать размер блока кодирования сигналов яркости CU, и размер PU может означать размер единицы прогнозирования сигналов яркости PU. При условии, что размер конкретной CU составляет 2Nx2N, видеокодер 200 может поддерживать PU-размеры в 2Nx2N или NxN для внутреннего прогнозирования и симметричные PU-размеры в 2Nx2N, 2NxN, Nx2N, NxN или аналогичные для внешнего прогнозирования. Видеокодер 200 и видеодекодер 300 также могут поддерживать асимметричное сегментирование для PU-размеров в 2NxnU, 2NxnD, nLx2N и nRx2N для внешнего прогнозирования.
[0130] В примерах, в которых модуль 202 выбора режима дополнительно не сегментирует CU на PU, каждая CU может быть ассоциирована с блоком кодирования сигналов яркости и соответствующими блоками кодирования сигналов цветности. Как описано выше, размер CU может означать размер блока кодирования сигналов яркости CU. Видеокодер 200 и видеодекодер 300 могут поддерживать CU-размеры в 2Nx2N, 2NxN или Nx2N.
[0131] Для других технологий кодирования видео, таких как кодирование в режиме внутриблочного копирования, кодирование в аффинном режиме и кодирование в режиме на основе линейной модели (LM), в качестве нескольких примеров, модуль 202 выбора режима, через соответствующие модули, ассоциированные с технологиями кодирования, формирует прогнозный блок для кодируемого текущего блока. В некоторых примерах, таких как кодирование в палитровом режиме, модуль 202 выбора режима может не формировать блок прогнозирования и вместо этого формировать синтаксические элементы, которые указывают способ, которым следует восстанавливать блок на основе выбранной палитры. В таких режимах, модуль 202 выбора режима может предоставлять эти синтаксические элементы в модуль 220 энтропийного кодирования для кодирования.
[0132] Как описано выше, модуль 204 формирования остатков принимает видеоданные для текущего блока и соответствующего блока прогнозирования. Модуль 204 формирования остатков затем формирует остаточный блок для текущего блока. Чтобы формировать остаточный блок, модуль 204 формирования остатков вычисляет последовательные выборочные разности между блоком прогнозирования и текущим блоком.
[0133] Модуль 206 обработки преобразования применяет одно или более преобразований к остаточному блоку для того, чтобы формировать блок коэффициентов преобразования (называется в данном документе "блоком коэффициентов преобразования"). Модуль 206 обработки преобразования может применять различные преобразования к остаточному блоку для того, чтобы формировать блок коэффициентов преобразования. Например, модуль 206 обработки преобразования может применять дискретное косинусное преобразование (DCT), направленное преобразование, преобразование Карунена-Лоэва (KLT) или концептуально аналогичное преобразование к остаточному блоку. В некоторых примерах, модуль 206 обработки преобразования может выполнять несколько преобразований для остаточного блока, например, первичное преобразование и вторичное преобразование, такое как вращательное преобразование. В некоторых примерах, модуль 206 обработки преобразования не применяет преобразования к остаточному блоку.
[0134] Модуль 208 квантования может квантовать коэффициенты преобразования в блоке коэффициентов преобразования для того, чтобы формировать блок квантованных коэффициентов преобразования. Модуль 208 квантования может квантовать коэффициенты преобразования блока коэффициентов преобразования согласно значению параметра квантования (QP), ассоциированному с текущим блоком. Видеокодер 200 (например, через модуль 202 выбора режима) может регулировать степень квантования, применяемую к блокам коэффициентов преобразования, ассоциированным с текущим блоком, посредством регулирования QP-значения, ассоциированного с CU. Квантование может вводить потери информации, и в силу этого квантованные коэффициенты преобразования могут иметь меньшую точность, чем исходные коэффициенты преобразования, сформированные посредством модуля 206 обработки преобразования.
[0135] Модуль 210 обратного квантования и модуль 212 обработки обратного преобразования могут применять обратное квантование и обратные преобразования к блоку квантованных коэффициентов преобразования, соответственно, для того чтобы восстанавливать остаточный блок из блока коэффициентов преобразования. Модуль 214 восстановления может формировать восстановленный блок, соответствующий текущему блоку (хотя потенциально с определенной степенью искажения), на основе восстановленного остаточного блока и блока прогнозирования, сформированного посредством модуля 202 выбора режима. Например, модуль 214 восстановления может суммировать выборки восстановленного остаточного блока в соответствующие выборки из блока прогнозирования, сформированного посредством модуля 202 выбора режима, чтобы формировать восстановленный блок.
[0136] Модуль 216 фильтрации может выполнять одну или более операций фильтрации для восстановленных блоков. Например, модуль 216 фильтрации может выполнять операции удаления блочности, чтобы уменьшать артефакты блочности вдоль краев CU. Операции модуля 216 фильтрации могут пропускаться в некоторых примерах.
[0137] Видеокодер 200 сохраняет восстановленные блоки в DPB 218. Например, в примерах, в которых операции модуля 216 фильтрации не требуются, модуль 214 восстановления может сохранять восстановленные блоки в DPB 218. В примерах, в которых операции модуля 216 фильтрации необходимы, модуль 216 фильтрации может сохранять фильтрованные восстановленные блоки в DPB 218. Модуль 222 оценки движения и модуль 224 компенсации движения могут извлекать опорный кадр из DPB 218, сформированного из восстановленных (и потенциально фильтрованных) блоков для того, чтобы внешне прогнозировать блоки последующих кодированных кадров. Помимо этого, модуль 226 внутреннего прогнозирования может использовать восстановленные блоки в DPB 218 текущего кадра, чтобы внутренне прогнозировать другие блоки в текущем кадре.
[0138] В общем, модуль 220 энтропийного кодирования может энтропийно кодировать синтаксические элементы, принимаемые из других функциональных компонентов видеокодера 200. Например, модуль 220 энтропийного кодирования может энтропийно кодировать блоки квантованных коэффициентов преобразования из модуля 208 квантования. В качестве другого примера, модуль 220 энтропийного кодирования может энтропийно кодировать синтаксические элементы прогнозирования (например, информацию движения для внешнего прогнозирования или информацию внутреннего режима для внутреннего прогнозирования) из модуля 202 выбора режима. Модуль 220 энтропийного кодирования может выполнять одну или более операций энтропийного кодирования для синтаксических элементов, которые представляют собой другой пример видеоданных, чтобы формировать энтропийно кодированные данные. Например, модуль 220 энтропийного кодирования может выполнять операцию контекстно-адаптивного кодирования переменной длины (CAVLC), CABAC-операцию, операцию кодирования переменно-переменной (V2V) длины, операцию синтаксического контекстно-адаптивного двоичного арифметического кодирования (SBAC), операцию энтропийного кодирования на основе сегментирования на интервалы вероятности (PIPE), операцию экспоненциального кодирования кодом Голомба или другой тип операции энтропийного кодирования для данных. В некоторых примерах, модуль 220 энтропийного кодирования может работать в обходном режиме, в котором синтаксические элементы не подвергаются энтропийному кодированию.
[0139] Видеокодер 200 может выводить поток битов, который включает в себя энтропийно кодированные синтаксические элементы, требуемые для того, чтобы восстанавливать блоки слайса или кадра. В частности, модуль 220 энтропийного кодирования может выводить поток битов.
[0140] Операции, описанные выше, описываются относительно блока. Такое описание должно пониматься как операции для блока кодирования сигналов яркости и/или блоков кодирования сигналов цветности. Как описано выше, в некоторых примерах, блок кодирования сигналов яркости и блоки кодирования сигналов цветности представляют собой компоненты сигнала яркости и сигнала цветности CU. В некоторых примерах, блок кодирования сигналов яркости и блоки кодирования сигналов цветности представляют собой компоненты сигнала яркости и сигнала цветности PU.
[0141] В некоторых примерах, операции, выполняемые относительно блока кодирования сигналов яркости, не должны повторяться для блоков кодирования сигналов цветности. В качестве одного примера, операции для того, чтобы идентифицировать вектор движения (MV) и опорный кадр для блока кодирования сигналов яркости, не должны повторяться для идентификации MV и опорного кадра для блоков сигналов цветности. Наоборот, MV для блока кодирования сигналов яркости может масштабироваться с возможностью определять MV для блоков сигналов цветности, и опорный кадр может быть идентичным. В качестве другого примера, процесс внутреннего прогнозирования может быть идентичным для блока кодирования сигналов яркости и блоков кодирования сигналов цветности.
[0142] Видеокодер 200 представляет пример устройства, выполненного с возможностью кодировать видеоданные, включающего в себя запоминающее устройство, выполненное с возможностью сохранять видеоданные, и один или более модулей обработки, реализованных в схеме и выполненных с возможностью выполнять технологии этого раскрытия, включающих в себя технологии в разделе формулы изобретения.
[0143] Фиг. 6 является блок-схемой, иллюстрирующей примерный видеодекодер 300, который может выполнять технологии этого раскрытия. Фиг. 6 предоставляется для целей пояснения и не представляет собой ограничение технологий, проиллюстрированных и описанных в общих чертах в этом раскрытии. Для целей пояснения, это раскрытие описывает видеодекодер 300 согласно технологиям JEM, VVC (ITU-T H.266, разрабатывается) и HEVC (ITU-T H.265). Тем не менее, технологии этого раскрытия могут выполняться посредством устройств кодирования видео, которые сконфигурированы для других стандартов кодирования видео.
[0144] В примере по фиг. 6, видеодекодер 300 включает в себя буферное запоминающее устройство 320 кодированных кадров (CPB), модуль 302 энтропийного декодирования, модуль 304 обработки прогнозирования, модуль 306 обратного квантования, модуль 308 обработки обратного преобразования, модуль 310 восстановления, модуль 312 фильтрации и буфер 314 декодированных кадров (DPB). Любое из запоминающего CPB-устройства 320, модуля 302 энтропийного декодирования, модуля 304 обработки прогнозирования, модуля 306 обратного квантования, модуля 308 обработки обратного преобразования, модуля 310 восстановления, модуля 312 фильтрации и DPB 314 может реализовываться в одном или более процессоров либо в схеме обработки. Например, модули видеодекодера 300 могут реализовываться как одна или более схем или логических элементов в качестве части аппаратной схемы или в качестве части процессора, ASIC, FPGA. Кроме того, видеодекодер 300 может включать в себя дополнительные или альтернативные процессоры либо схему обработки для того, чтобы выполнять эти и другие функции.
[0145] Модуль 304 обработки прогнозирования включает в себя модуль 316 компенсации движения и модуль 318 внутреннего прогнозирования. Модуль 304 обработки прогнозирования может включать в себя дополнительные модули для того, чтобы выполнять прогнозирование в соответствии с другими режимами прогнозирования. В качестве примера, модуль 304 обработки прогнозирования может включать в себя модуль палитровой обработки, модуль внутриблочного копирования (который может составлять часть модуля 316 компенсации движения), модуль аффинной обработки, модуль обработки на основе линейной модели (LM) и т.п. В других примерах, видеодекодер 300 может включать в себя большее, меньшее число или другие функциональные компоненты.
[0146] Запоминающее CPB-устройство 320 может сохранять видеоданные, такие как кодированный поток видеобитов, который должен декодироваться посредством компонентов видеодекодера 300. Видеоданные, сохраненные в запоминающем CPB-устройстве 320, могут получаться, например, из машиночитаемого носителя 110 (фиг. 1). Запоминающее CPB-устройство 320 может включать в себя CPB, который сохраняет кодированные видеоданные (например, синтаксические элементы) из кодированного потока видеобитов. Кроме того, запоминающее CPB-устройство 320 может сохранять видеоданные, отличные от синтаксических элементов кодированного кадра, такие как временные данные, представляющие выводы из различных модулей видеодекодера 300. DPB 314, в общем, сохраняет декодированные кадры, которые видеодекодер 300 может выводить и/или использовать в качестве опорных видеоданных при декодировании последующих данных или кадров кодированного потока видеобитов. Запоминающее CPB-устройство 320 и DPB 314 могут формироваться посредством любого из множества запоминающих устройств, таких как DRAM, включающих в себя SDRAM, MRAM, RRAM или другие типы запоминающих устройств. Запоминающее CPB-устройство 320 и DPB 314 могут предоставляться посредством идентичного запоминающего устройства или отдельных запоминающих устройств. В различных примерах, запоминающее CPB-устройство 320 может быть внутримикросхемным с другими компонентами видеодекодера 300 или внемикросхемным относительно этих компонентов.
[0147] Дополнительно или альтернативно, в некоторых примерах, видеодекодер 300 может извлекать кодированные видеоданные из запоминающего устройства 120 (фиг. 1). Таким образом, запоминающее устройство 120 может сохранять данные, как пояснено выше для запоминающего CPB-устройства 320. Аналогично, запоминающее устройство 120 может сохранять инструкции, которые должны выполняться посредством видеодекодера 300, когда часть или вся функциональность видеодекодера 300 реализуется в программном обеспечении для выполнения посредством схемы обработки видеодекодера 300.
[0148] Различные модули, показанные на фиг. 6, проиллюстрированы для того, чтобы помогать в понимании операций, выполняемых посредством видеодекодера 300. Модули могут реализовываться как фиксированные функциональные схемы, программируемые схемы либо комбинация вышеозначенного. Аналогично фиг. 5, фиксированные функциональные схемы означают схемы, которые предоставляют конкретную функциональность и предварительно установлены в отношении операций, которые могут выполняться. Программируемые схемы означают схемы, которые могут программироваться с возможностью выполнять различные задачи и предоставлять гибкую функциональность в операциях, которые могут выполняться. Например, программируемые схемы могут выполнять программное обеспечение или микропрограммное обеспечение, которое инструктирует программируемым схемам работать способом, заданным посредством инструкций программного обеспечения или микропрограммного обеспечения. Фиксированные функциональные схемы могут выполнять программные инструкции (например, чтобы принимать параметры или выводить параметры), но типы операций, которые выполняют фиксированные функциональные схемы, в общем, являются неизменными. В некоторых примерах, один или более модулей могут представлять собой различные схемные блоки (фиксированные функциональные или программируемые), и в некоторых примерах, один или более модулей могут представлять собой интегральные схемы.
[0149] Видеодекодер 300 может включать в себя ALU, EFU, цифровые схемы, аналоговые схемы и/или программируемые ядра, сформированные из программируемых схем. В примерах, в которых операции видеодекодера 300 выполняются посредством программного обеспечения, выполняющегося в программируемых схемах, внутримикросхемное или внемикросхемное запоминающее устройство может сохранять инструкции (например, объектный код) программного обеспечения, которые принимает и выполняет видеодекодер 300.
[0150] Модуль 302 энтропийного декодирования может принимать кодированные видеоданные из CPB и энтропийно декодировать видеоданные, чтобы воспроизводить синтаксические элементы. Модуль 304 обработки прогнозирования, модуль 306 обратного квантования, модуль 308 обработки обратного преобразования, модуль 310 восстановления и модуль 312 фильтрации могут формировать декодированные видеоданные на основе синтаксических элементов, извлеченных из потока битов.
[0151] В общем, видеодекодер 300 восстанавливает кадр на поблочной основе. Видеодекодер 300 может выполнять операцию восстановления для каждого блока отдельно (причем блок, в данный момент восстанавливаемый, т.е. декодируемый, может называться "текущим блоком").
[0152] Модуль 302 энтропийного декодирования может энтропийно декодировать синтаксические элементы, задающие квантованные коэффициенты преобразования блока квантованных коэффициентов преобразования, а также информацию преобразования, такую как параметр квантования (QP) и/или индикатор(ы) режима преобразования. Модуль 306 обратного квантования может использовать QP, ассоциированный с блоком квантованных коэффициентов преобразования для того, чтобы определять степень квантования и, аналогично, степень обратного квантования для модуля 306 обратного квантования, которая должна применяться. Модуль 306 обратного квантования, например, может выполнять операцию побитового сдвига влево, чтобы обратно квантовать квантованные коэффициенты преобразования. Модуль 306 обратного квантования в силу этого может формировать блок коэффициентов преобразования, включающий в себя коэффициенты преобразования.
[0153] После того, как модуль 306 обратного квантования формирует блок коэффициентов преобразования, модуль 308 обработки обратного преобразования может применять одно или более обратных преобразований к блоку коэффициентов преобразования для того, чтобы формировать остаточный блок, ассоциированный с текущим блоком. Например, модуль 308 обработки обратного преобразования может применять обратное DCT, обратное целочисленное преобразование, обратное преобразование Карунена-Лоэва (KLT), обратное вращательное преобразование, обратное направленное преобразование или другое обратное преобразование к блоку коэффициентов преобразования.
[0154] Кроме того, модуль 304 обработки прогнозирования формирует блок прогнозирования согласно синтаксическим элементам с информацией прогнозирования, которые энтропийно декодированы посредством модуля 302 энтропийного декодирования. Например, если синтаксические элементы с информацией прогнозирования указывают то, что текущий блок внешне прогнозируется, модуль 316 компенсации движения может формировать блок прогнозирования. В этом случае, синтаксические элементы с информацией прогнозирования могут указывать опорный кадр в DPB 314, из которого можно извлекать опорный блок, а также вектор движения, идентифицирующий местоположение опорного блока в опорном кадре относительно местоположения текущего блока в текущем кадре. Модуль 316 компенсации движения, в общем, может выполнять процесс внешнего прогнозирования таким способом, который является практически аналогичным способу, описанному относительно модуля 224 компенсации движения (фиг. 5).
[0155] В качестве другого примера, если синтаксические элементы с информацией прогнозирования указывают то, что текущий блок внутренне прогнозируется, модуль 318 внутреннего прогнозирования может формировать блок прогнозирования согласно режиму внутреннего прогнозирования, указываемому посредством синтаксических элементов с информацией прогнозирования. С другой стороны, модуль 318 внутреннего прогнозирования, в общем, может выполнять процесс внутреннего прогнозирования таким способом, который является практически аналогичным способу, описанному относительно модуля 226 внутреннего прогнозирования (фиг. 5). Модуль 318 внутреннего прогнозирования может извлекать данные соседних выборок по отношению к текущему блоку из DPB 314.
[0156] Модуль 310 восстановления может восстанавливать текущий блок с использованием блока прогнозирования и остаточного блока. Например, модуль 310 восстановления может суммировать выборки остаточного блока с соответствующими выборками блока прогнозирования для того, чтобы восстанавливать текущий блок.
[0157] Модуль 312 фильтрации может выполнять одну или более операций фильтрации для восстановленных блоков. Например, модуль 312 фильтрации может выполнять операции удаления блочности, чтобы уменьшать артефакты блочности вдоль краев восстановленных блоков. Операции модуля 312 фильтрации не обязательно выполняются во всех примерах.
[0158] Видеодекодер 300 может сохранять восстановленные блоки в DPB 314. Например, в примерах, в которых операции модуля 312 фильтрации не выполняются, модуль 310 восстановления может сохранять восстановленные блоки в DPB 314. В примерах, в которых операции модуля 312 фильтрации выполняются, модуль 312 фильтрации может сохранять фильтрованные восстановленные блоки в DPB 314. Как пояснено выше, DPB 314 может предоставлять ссылочную информацию, такую как выборки текущего кадра для внутреннего прогнозирования и ранее декодированных кадров для последующей компенсации движения, в модуль 304 обработки прогнозирования. Кроме того, видеодекодер 300 может выводить декодированные кадры (например, декодированное видео) из DPB 314 для последующего представления на устройстве отображения, таком как устройство 118 отображения по фиг. 1.
[0159] Таким образом, видеодекодер 300 представляет пример устройства декодирования видео, включающего в себя запоминающее устройство, выполненное с возможностью сохранять видеоданные, и один или более модулей обработки, реализованных в схеме и выполненных с возможностью выполнять технологии этого раскрытия сущности, включающих в себя технологии раздела формулы изобретения.
[0160] Фиг. 7 является блок-схемой последовательности операций, иллюстрирующей примерный способ для кодирования текущего блока. Текущий блок может содержать текущую CU. Хотя описывается относительно видеокодера 200 (фиг. 1 и 5), следует понимать, что другие устройства могут быть выполнены с возможностью осуществлять способ, аналогичный способу по фиг. 7.
[0161] В этом примере, видеокодер 200 первоначально прогнозирует текущий блок (350). Например, видеокодер 200 может формировать блок прогнозирования для текущего блока. Видеокодер 200 затем может вычислять остаточный блок для текущего блока (352). Чтобы вычислять остаточный блок, видеокодер 200 может вычислять разность между исходным, некодированным блоком и блоком прогнозирования для текущего блока. Видеокодер 200 затем может преобразовывать остаточный блок и квантовать коэффициенты преобразования остаточного блока (354). Затем, видеокодер 200 может сканировать квантованные коэффициенты преобразования остаточного блока (356). В ходе сканирования или после сканирования, видеокодер 200 может энтропийно кодировать коэффициенты преобразования (358). Например, видеокодер 200 может кодировать коэффициенты преобразования с использованием CAVLC или CABAC. Видеокодер 200 затем может выводить энтропийно кодированные данные блока (360).
[0162] Фиг. 8 является блок-схемой последовательности операций, иллюстрирующей примерный способ для декодирования текущего блока видеоданных. Текущий блок может содержать текущую CU. Хотя описывается относительно видеодекодера 300 (фиг. 1 и 6), следует понимать, что другие устройства могут быть выполнены с возможностью осуществлять способ, аналогичный способу по фиг. 8.
[0163] Видеодекодер 300 может принимать энтропийно кодированные данные для текущего блока, к примеру, энтропийно кодированную информацию прогнозирования и энтропийно кодированные данные для коэффициентов остаточного блока, соответствующего текущему блоку (370). Видеодекодер 300 может энтропийно декодировать энтропийно кодированные данные для того, чтобы определять информацию прогнозирования для текущего блока и воспроизводить коэффициенты остаточного блока (372). Видеодекодер 300 может прогнозировать текущий блок (374), например, с использованием режима внутреннего или внешнего прогнозирования, как указано посредством информации прогнозирования для текущего блока для того, чтобы вычислять блок прогнозирования для текущего блока. Видеодекодер 300 затем может обратно сканировать воспроизведенные коэффициенты (376), чтобы создавать блок квантованных коэффициентов преобразования. Видеодекодер 300 затем может обратно квантовать и обратно преобразовывать коэффициенты для того, чтобы формировать остаточный блок (378). Видеодекодер 300 может, в конечном счете, декодировать текущий блок посредством комбинирования блока прогнозирования и остаточного блока (380).
[0164] Фиг. 9 является блок-схемой последовательности операций, иллюстрирующей примерный способ для кодирования текущего блока видеоданных. Видеоданные, например, могут представлять собой видеоданные с углом обзора в 360 градусов. Текущий блок может содержать текущую CU. Хотя описывается относительно видеокодера 200 (фиг. 1 и 5), следует понимать, что другие устройства могут быть выполнены с возможностью осуществлять способ, аналогичный способу по фиг. 9.
[0165] Видеокодер 200 определяет значение для смещения при циклическом переходе (400). В ответ на определение того, что блок текущего кадра видеоданных кодируется в режиме внешнего прогнозирования, видеокодер 200 определяет вектор движения для блока и опорный кадр для блока (402). Опорный кадр, например, может представлять собой PERP-форматированный кадр. Левая часть опорного кадра и правая часть опорного кадра могут дополняться таким образом, чтобы они были одинаковыми.
[0166] Видеокодер 200 определяет позицию горизонтального циклического перехода в опорном кадре на основе значения для смещения при циклическом переходе (404). Позиция горизонтального циклического перехода, например, может соответствовать левому верхнему углу блока прогнозирования.
[0167] Видеокодер 200 определяет блок прогнозирования для блока на основе позиции горизонтального циклического перехода (406). Видеокодер 200, например, может определять позицию горизонтального циклического перехода в опорном кадре дополнительно на основе ширины кадра и высоты кадра для опорного кадра и включать в структуру PPS-данных информацию, которая идентифицирует ширину кадра и высоту кадра для опорного кадра.
[0168] Видеокодер 200 включает, в структуру PPS-данных для текущего кадра, значение для смещения при циклическом переходе (408). Смещение при циклическом переходе, например, может представлять собой первое смещение при циклическом переходе для первого субкадра, видеокодер 200 может быть выполнен с возможностью включать, в структуру PPS-данных, значение для второго смещения при циклическом переходе для второго субкадра, который представляет собой часть кадра, идентичного кадру для первого субкадра. Видеокодер 200, например, может определять то, что компенсация движения с горизонтальным циклическим переходом активируется для блока, и включать синтаксический элемент в структуру PPS-данных, чтобы указывать то, что компенсация движения с горизонтальным циклическим переходом активируется для блока, и включать значение для смещения при циклическом переходе в структуру PPS-данных в ответ на определение того, что компенсация движения с горизонтальным циклическим переходом активируется для блока.
[0169] Видеокодер 200 выводит поток битов кодированных видеоданных, который включает в себя структуру PPS-данных (410). Видеокодер 200 также может включать, в поток битов кодированных видеоданных, SPS со значением SPS-идентификатора, и структура PPS-данных может включать в себя синтаксический элемент, идентифицирующий значение SPS-идентификатора. Видеокодер 200, например, может выводить поток битов кодированных видеоданных посредством вывода потока битов для декодирования и отображения или посредством сохранения потока битов для последующего декодирования.
[0170] Фиг. 10 является блок-схемой последовательности операций, иллюстрирующей примерный способ для декодирования текущего блока видеоданных. Видеоданные, например, могут представлять собой видеоданные с углом обзора в 360 градусов. Текущий блок может содержать текущую CU. Хотя описывается относительно видеодекодера 300 (фиг. 1 и 6), следует понимать, что другие устройства могут быть выполнены с возможностью осуществлять способ, аналогичный способу по фиг. 10.
[0171] Видеодекодер 300 получает, из структуры PPS-данных для текущего кадра видеоданных, значение для смещения при циклическом переходе (420). Видеодекодер 300, например, может принимать синтаксический элемент в структуре PPS-данных, определять то, что компенсация движения с горизонтальным циклическим переходом активируется для блока на основе значения синтаксического элемента, и принимать значение для смещения при циклическом переходе в ответ на определение того, что компенсация движения с горизонтальным циклическим переходом активируется для блока. Видеодекодер 300 также может принимать SPS со значением SPS-идентификатора, и структура PPS-данных может включать в себя синтаксический элемент, идентифицирующий значение SPS-идентификатора. Смещение при циклическом переходе, например, может представлять собой первое смещение при циклическом переходе для первого субкадра, и видеодекодер 300 может быть дополнительно выполнен с возможностью получать, из структуры PPS-данных, значение для второго смещения при циклическом переходе для второго субкадра, при этом первый субкадр и второй субкадр представляют собой субкадры одного и того же кадра.
[0172] В ответ на определение того, что блок текущего кадра кодируется в режиме внешнего прогнозирования, видеодекодер 300 определяет вектор движения для блока и опорный кадр для блока (422). Опорный кадр, например, может представлять собой PERP-форматированный кадр. Левая часть опорного кадра и правая часть опорного кадра могут дополняться таким образом, чтобы они были одинаковыми. Опорный кадр может иметь ассоциированную структуру PPS-данных, которая является отдельной от структуры PPS-данных для текущего кадра.
[0173] Видеодекодер 300 определяет позицию горизонтального циклического перехода в опорном кадре на основе значения для смещения при циклическом переходе (424). Позиция горизонтального циклического перехода, например, может соответствовать левому верхнему углу блока прогнозирования. Видеодекодер 300 также может принимать информацию в структуре PPS-данных, которая идентифицирует ширину кадра и высоту кадра для опорного кадра, и определять позицию горизонтального циклического перехода в опорном кадре дополнительно на основе ширины кадра и высоты кадра для опорного кадра.
[0174] Видеодекодер 300 определяет блок прогнозирования для блока на основе позиции горизонтального циклического перехода (426). Видеодекодер 300 также может быть выполнен с возможностью определять остаточный блок, суммировать остаточный блок с блоком прогнозирования, чтобы определять восстановленный блок видеоданных, применять один или более фильтров к восстановленному блоку, чтобы определять конечный декодированный блок, и выводить декодированный кадр видеоданных, который включает в себя конечный декодированный блок.
[0175] Следующие части формулы изобретения описывают признаки устройств и технологий, описанных выше.
[0176] Часть 1 формулы изобретения. Способ декодирования видеоданных включает в себя прием, в наборе параметров кадра (PPS), одного или более смещений при циклическом переходе; и обработку одного или более смещений при циклическом переходе согласно любой технологии либо комбинации технологий, описанных в этом раскрытии.
[0177] Часть 2 формулы изобретения. Способ по части 1 формулы изобретения дополнительно включает в себя прием набора параметров последовательности (SPS) со значением SPS-идентификатора, при этом PPS включает в себя синтаксический элемент, идентифицирующий значение SPS-идентификатора.
[0178] Часть 3 формулы изобретения. Устройство для декодирования видеоданных, причем устройство содержит одно или более средств для осуществления способа по части 1 или 2 формулы изобретения.
[0179] Часть 4 формулы изобретения. Устройство по части 3 формулы изобретения, в котором одно или более средств содержат один или более процессоров, реализованных в схеме.
[0180] Часть 5 формулы изобретения. Устройство по части 3 или 4 формулы изобретения, дополнительно содержащее запоминающее устройство, чтобы сохранять видеоданные.
[0181] Часть 6 формулы изобретения. Устройство по любой из частей 3-5 формулы изобретения, дополнительно содержащее дисплей, выполненный с возможностью отображать декодированные видеоданные.
[0182] Часть 7 формулы изобретения. Устройство по любой из частей 3-6 формулы изобретения, при этом устройство содержит одно или более из камеры, компьютера, мобильного устройства, широковещательного приемного устройства или абонентской приставки.
[0183] Часть 8 формулы изобретения. Устройство по любой из частей 3-7 формулы изобретения, при этом устройство содержит видеодекодер.
[0184] Часть 9 формулы изобретения. Способ кодирования видеоданных включает в себя определение одного или более смещений при циклическом переходе согласно любой технологии либо комбинации технологий, описанных в этом раскрытии; и формирование набора параметров кадра, который включает в себя одно или более смещений при циклическом переходе.
[0185] Часть 10 формулы изобретения. Способ по части 1 формулы изобретения дополнительно включает в себя формирование набора параметров последовательности (SPS) со значением SPS-идентификатора, при этом PPS включает в себя синтаксический элемент, идентифицирующий значение SPS-идентификатора.
[0186] Часть 11 формулы изобретения. Устройство для декодирования видеоданных, причем устройство содержит одно или более средств для осуществления способа по части 9 или 10 формулы изобретения.
[0187] Часть 12 формулы изобретения. Устройство по части 11 формулы изобретения, в котором одно или более средств содержат один или более процессоров, реализованных в схеме.
[0188] Часть 13 формулы изобретения. Устройство по части 11 или 12 формулы изобретения, дополнительно содержащее запоминающее устройство, чтобы сохранять видеоданные.
[0189] Часть 14 формулы изобретения. Устройство по любой из частей 11-13 формулы изобретения, дополнительно содержащее камеру, выполненную с возможностью захватывать видеоданные.
[0190] Часть 15 формулы изобретения. Устройство по любой из частей 11-14 формулы изобретения, при этом устройство содержит одно или более из камеры, компьютера или мобильного устройства.
[0191] Часть 16 формулы изобретения. Устройство по любой из частей 11-15 формулы изобретения, при этом устройство содержит видеокодер.
[0192] Часть 17 формулы изобретения. Машиночитаемый носитель данных, имеющий сохраненные инструкции, которые при выполнении, инструктируют одному или более процессоров осуществлять способ по любой из частей 1, 2, 9 или 10 формулы изобретения.
[0193] Часть 18 формулы изобретения. Устройство для кодирования видеоданных включает в себя средство для осуществления способа любой из частей 1, 2, 9 или 10 формулы изобретения.
[0194] Следует признавать то, что в зависимости от примера, определенные этапы или события любой из технологий, описанных в данном документе, могут выполняться в другой последовательности, могут добавляться, объединяться или вообще исключаться (например, не все описанные этапы или события требуются для практической реализации технологий). Кроме того, в определенных примерах, этапы или события могут выполняться одновременно, например, посредством многопоточной обработки, обработки прерывания или посредством нескольких процессоров, а не последовательно.
[0195] В одном или более примеров, описанные функции могут реализовываться в аппаратных средствах, программном обеспечении, микропрограммном обеспечении или в любой комбинации вышеозначенного. При реализации в программном обеспечении, функции могут сохраняться или передаваться, в качестве одной или более инструкций или кода, по машиночитаемому носителю и выполняться посредством аппаратного модуля обработки. Машиночитаемые носители могут включать в себя машиночитаемые носители данных, которые соответствуют материальному носителю, такие как носители данных, или среды связи, включающие в себя любую среду, которая упрощает перенос компьютерной программы из одного места в другое, например, согласно протоколу связи. Таким образом, машиночитаемые носители, в общем, могут соответствовать (1) материальному машиночитаемому носителю данных, который является энергонезависимым, или (2) среде связи, такой как сигнал или несущая. Носители данных могут представлять собой любые доступные носители, к которым может осуществляться доступ посредством одного или более компьютеров или одного или более процессоров, с тем чтобы извлекать инструкции, код и/или структуры данных для реализации технологий, описанных в этом раскрытии. Компьютерный программный продукт может включать в себя машиночитаемый носитель.
[0196] В качестве примера, а не ограничения, эти машиночитаемые носители данных могут содержать RAM, ROM, EEPROM, CD-ROM или другое устройство хранения данных на оптических дисках, устройство хранения данных на магнитных дисках или другие магнитные устройства хранения, флэш-память либо любой другой носитель, который может использоваться для того, чтобы сохранять требуемый программный код в форме инструкций или структур данных, и к которому можно осуществлять доступ посредством компьютера. Кроме того, любое соединение корректно называть машиночитаемым носителем. Например, если инструкции передаются из веб-узла, сервера или другого удаленного источника с помощью коаксиального кабеля, оптоволоконного кабеля, "витой пары", цифровой абонентской линии (DSL) или беспроводных технологий, таких как инфракрасные, радиопередающие и микроволновые среды, то коаксиальный кабель, оптоволоконный кабель, "витая пара", DSL или беспроводные технологии, такие как инфракрасные, радиопередающие и микроволновые среды, включаются в определение носителя. Тем не менее, следует понимать, что машиночитаемые носители данных и носители данных не включают в себя соединения, несущие, сигналы или другие энергозависимые носители, а вместо этого направлены на энергонезависимые материальные носители данных. Диск (disk) и диск (disc) при использовании в данном документе включают в себя компакт-диск (CD), лазерный диск, оптический диск, универсальный цифровой диск (DVD), гибкий диск и диск Blu-Ray, при этом диски (disk) обычно воспроизводят данные магнитно, тогда как диски (disc) обычно воспроизводят данные оптически с помощью лазеров. Комбинации вышеперечисленного также следует включать в пределы объема машиночитаемых носителей.
[0197] Инструкции могут выполняться посредством одного или более процессоров, например, одного или более процессоров цифровых сигналов (DSP), микропроцессоров общего назначения, специализированных интегральных схем (ASIC), программируемых пользователем вентильных матриц (FPGA) либо других эквивалентных интегральных или дискретных логических схем. Соответственно, термины "процессор" и "схема обработки", при использовании в данном документе, могут означать любую из вышеприведенных структур или любую другую структуру, подходящую для реализации технологий, описанных в данном документе. Помимо этого, в некоторых аспектах функциональность, описанная в данном документе, может предоставляться в пределах специализированных аппаратных и/или программных модулей, выполненных с возможностью кодирования или декодирования либо встроенных в комбинированный кодек. Кроме того, технологии могут полностью реализовываться в одной или более схем или логических элементов.
[0198] Технологии этого раскрытия могут реализовываться в широком спектре устройств или оборудования, в том числе в беспроводном переносном телефоне, в интегральной схеме (IC), или в наборе IC (к примеру, в наборе микросхем). Различные компоненты, модули или блоки описываются в этом раскрытии для того, чтобы подчеркивать функциональные аспекты устройств, выполненных с возможностью осуществлять раскрытые технологии, но необязательно требуют реализации посредством различных аппаратных модулей. Наоборот, как описано выше, различные модули могут комбинироваться в аппаратный модуль кодека или предоставляться посредством набора взаимодействующих аппаратных модулей, включающих в себя один или более процессоров, как описано выше, в сочетании с надлежащим программным обеспечением и/или микропрограммным обеспечением.
[0199] Выше описаны различные примеры. Эти и другие примеры находятся в пределах объема прилагаемой формулы изобретения.
| название | год | авторы | номер документа |
|---|---|---|---|
| БЛОЧНО-ДИФФЕРЕНЦИАЛЬНАЯ ИМПУЛЬСНО-КОДОВАЯ МОДУЛЯЦИЯ В ОБЛАСТИ КОЭФФИЦИЕНТОВ ПРИ КОДИРОВАНИИ ВИДЕО | 2020 |
|
RU2825319C2 |
| АФФИННОЕ ЛИНЕЙНОЕ ВЗВЕШЕННОЕ ВНУТРЕННЕЕ ПРОГНОЗИРОВАНИЕ ПРИ КОДИРОВАНИИ ВИДЕО | 2020 |
|
RU2816748C2 |
| СОКРАЩЕНИЕ ЧИСЛА РЕГУЛЯРНО-КОДИРОВАННЫХ ЭЛЕМЕНТОВ РАЗРЕШЕНИЯ ДЛЯ ДЕКОДИРОВАНИЯ КОЭФФИЦИЕНТОВ С ИСПОЛЬЗОВАНИЕМ ПОРОГОВОГО ЗНАЧЕНИЯ И ПАРАМЕТРА РАЙСА | 2019 |
|
RU2793272C2 |
| КОДИРОВАНИЕ КОЭФФИЦИЕНТОВ ДЛЯ РЕЖИМА ПРОПУСКА ПРЕОБРАЗОВАНИЯ | 2020 |
|
RU2813008C2 |
| НЕЯВНЫЙ ВЫБОР ПРЕОБРАЗОВАНИЯ ПРИ КОДИРОВАНИИ ВИДЕО | 2020 |
|
RU2807684C2 |
| ПРОГНОЗИРОВАНИЕ ВО ВНУТРЕННЕМ DC-РЕЖИМЕ ПРИ КОДИРОВАНИИ ВИДЕО | 2020 |
|
RU2817294C2 |
| ОСТАТОЧНОЕ КОДИРОВАНИЕ И КОДИРОВАНИЕ КОЭФФИЦИЕНТОВ ДЛЯ КОДИРОВАНИЯ ВИДЕО | 2022 |
|
RU2829115C2 |
| СЕГМЕНТАЦИЯ ЕДИНИЦ ПРЕОБРАЗОВАНИЯ (TU) НА ОСНОВЕ ДЕРЕВА ДЛЯ КОДИРОВАНИЯ ВИДЕО | 2019 |
|
RU2809181C2 |
| БЛОЧНОЕ АДАПТИВНОЕ КОДИРОВАНИЕ С ПРЕОБРАЗОВАНИЕМ ЦВЕТОВОГО ПРОСТРАНСТВА | 2015 |
|
RU2698760C2 |
| РЕЖИМ ВЗАИМНО-ВНУТРЕННЕГО ПРОГНОЗИРОВАНИЯ ДЛЯ ВИДЕОДАННЫХ | 2020 |
|
RU2803896C2 |
Изобретение относится к технологиям кодирования и декодирования видео. Техническим результатом является повышение эффективности кодирования видео. Результат достигается тем, что устройство для декодирования видеоданных выполнено с возможностью получать, из структуры данных набора параметров кадра (PPS) видеоданных, значение для смещения при циклическом переходе; в ответ на определение того, что блок видеоданных кодируется в режиме внешнего прогнозирования, определять вектор движения для блока и опорный кадр для блока; определять позицию горизонтального циклического перехода в опорном кадре на основе значения для смещения при циклическом переходе; и определять блок прогнозирования для блока на основе позиции горизонтального циклического перехода. 4 н. и 13 з.п. ф-лы, 11 ил.
1. Способ декодирования видеоданных, при этом способ содержит этапы, на которых:
получают, из структуры данных набора параметров кадра, PPS, для текущего кадра, значение, указывающее число субкадров упомянутого текущего кадра;
получают (420), из упомянутой структуры PPS-данных, для каждого субкадра из упомянутого числа субкадров, значение для смещения при циклическом переходе;
в ответ на определение того, что блок первого субкадра упомянутого текущего кадра кодируется в режиме внешнего прогнозирования, определяют (422) вектор движения для блока и опорный кадр для блока;
определяют (424) позицию горизонтального циклического перехода в опорном кадре на основе значения для смещения при циклическом переходе, полученного для упомянутого первого субкадра; и
определяют (426) блок прогнозирования для блока на основе позиции горизонтального циклического перехода.
2. Способ по п. 1, при этом способ дополнительно содержит этапы, на которых:
принимают синтаксический элемент в структуре PPS-данных;
определяют то, что компенсация движения с горизонтальным циклическим переходом активируется для блока на основе значения синтаксического элемента; и
принимают значение для смещения при циклическом переходе в ответ на определение того, что компенсация движения с горизонтальным циклическим переходом активируется для блока.
3. Способ по п. 1, при этом способ дополнительно содержит этапы, на которых:
принимают информацию в структуре PPS-данных, которая идентифицирует ширину кадра и высоту кадра для опорного кадра; и
определяют позицию горизонтального циклического перехода в опорном кадре дополнительно на основе ширины кадра и высоты кадра для опорного кадра.
4. Способ по п. 1, в котором видеоданные содержат видеоданные с углом обзора в 360 градусов; и/или
в котором опорный кадр содержит форматированный на основе дополненной равнопрямоугольной проекции (PERP) кадр.
5. Способ по п. 1, в котором левая часть опорного кадра и правая часть опорного кадра дополняются таким образом, чтобы они были одинаковыми;
в котором опорный кадр имеет ассоциированную структуру PPS-данных, которая является отдельной от структуры PPS-данных для текущего кадра; и/или
в котором позиция горизонтального циклического перехода соответствует левому верхнему углу блока прогнозирования.
6. Способ по п. 1, при этом способ дополнительно содержит этап, на котором
принимают набор параметров последовательности, SPS, со значением SPS-идентификатора, при этом структура PPS-данных включает в себя синтаксический элемент, идентифицирующий значение SPS-идентификатора, и при этом блок принадлежит слайсу, который ссылается на структуру PPS-данных.
7. Способ по п. 1, при этом способ дополнительно содержит этапы, на которых:
определяют остаточный блок;
суммируют остаточный блок с блоком прогнозирования, чтобы определять восстановленный блок видеоданных;
применяют один или более фильтров к восстановленному блоку, чтобы определять конечный декодированный блок; и
выводят декодированный кадр видеоданных, который включает в себя конечный декодированный блок.
8. Способ по п. 1, в котором вектор движения указывает на выборку за пределами границы опорного кадра; или
в котором вектор движения указывает на интерполированную выборку, определенную посредством операции интерполяции, которая использует выборку за пределами границы опорного кадра.
9. Устройство для декодирования видеоданных, при этом устройство содержит:
запоминающее устройство, выполненное с возможностью сохранять видеоданные; и
один или более процессоров, реализованных в схеме и выполненных с возможностью:
- получать, из структуры данных набора параметров кадра, PPS, для текущего кадра, значение, указывающее число субкадров упомянутого текущего кадра;
- получать (420), из структуры PPS-данных, для каждого субкадра из упомянутого числа субкадров, значение для смещения при циклическом переходе;
- в ответ на определение того, что блок первого субкадра текущего кадра кодируется в режиме внешнего прогнозирования, определять (422) вектор движения для блока и опорный кадр для блока, при этом блок принадлежит слайсу, который ссылается на структуру PPS-данных;
- определять (424) позицию горизонтального циклического перехода в опорном кадре на основе значения для смещения при циклическом переходе, полученного для упомянутого первого субкадра; и
- определять (426) блок прогнозирования для блока на основе позиции горизонтального циклического перехода.
10. Устройство по п. 9, в котором один или более процессоров дополнительно выполнены с возможностью осуществлять способ по любому из пп. 2-8.
11. Устройство по п. 9, при этом устройство содержит устройство беспроводной связи, дополнительно содержащее приемник, выполненный с возможностью принимать поток битов кодированных видеоданных, при этом устройство беспроводной связи содержит телефонную трубку, и при этом приемник выполнен с возможностью демодулировать, согласно стандарту беспроводной связи, сигнал, содержащий кодированные видеоданные.
12. Устройство по п. 9, при этом устройство содержит одно или более из камеры, компьютера, мобильного устройства, широковещательного приемного устройства или абонентской приставки.
13. Машиночитаемый носитель данных, хранящий инструкции, которые, при выполнении посредством одного или более процессоров, инструктируют один или более процессоров выполнять способ по любому из пп. 1-8.
14. Устройство для кодирования видеоданных, при этом устройство содержит:
запоминающее устройство, выполненное с возможностью сохранять видеоданные; и
один или более процессоров, реализованных в схеме и выполненных с возможностью:
- определять (400) значение для смещения при циклическом переходе для каждого субкадра из числа субкадров текущего кадра;
- в ответ на определение того, что блок первого субкадра упомянутого текущего кадра кодируется в режиме внешнего прогнозирования, определять (402) вектор движения для блока и опорный кадр для блока;
- определять (404) позицию горизонтального циклического перехода в опорном кадре на основе значения для смещения при циклическом переходе;
- определять (406) блок прогнозирования для блока на основе позиции горизонтального циклического перехода;
- включать (408), в структуру данных набора параметров кадра, PPS, для текущего кадра видеоданных, значение, указывающее число субкадров упомянутого текущего кадра и, для каждого субкадра текущего кадра, значение для смещения при циклическом переходе; и
- выводить (410) поток битов кодированных видеоданных, который включает в себя структуру PPS-данных.
15. Устройство по п. 14, в котором один или более процессоров дополнительно выполнены с возможностью:
- определять то, что компенсация движения с горизонтальным циклическим переходом активируется для блока;
- включать синтаксический элемент в структуру PPS-данных, при этом синтаксический элемент задается равным значению, указывающему то, что компенсация движения с горизонтальным циклическим переходом активируется для блока; и
- включать значение для смещения при циклическом переходе в структуру PPS-данных в ответ на определение того, что компенсация движения с горизонтальным циклическим переходом активируется для блока; или
в котором один или более процессоров дополнительно выполнены с возможностью:
- определять позицию горизонтального циклического перехода в опорном кадре дополнительно на основе ширины кадра и высоты кадра для опорного кадра; и
- включать в структуру PPS-данных информацию, которая идентифицирует ширину кадра и высоту кадра для опорного кадра.
16. Устройство по п. 14, при этом устройство содержит устройство беспроводной связи, дополнительно содержащее передатчик, выполненный с возможностью передавать поток битов кодированных видеоданных, при этом устройство беспроводной связи содержит телефонную трубку, и при этом передатчик выполнен с возможностью модулировать, согласно стандарту беспроводной связи, сигнал, содержащий поток битов кодированных видеоданных.
17. Устройство по п. 14, при этом устройство содержит одно или более из камеры, компьютера, мобильного устройства, широковещательного приемного устройства или абонентской приставки.
| WO 2017158236 A2, 2017.09.21 | |||
| WO 2017051072 A1, 2017.03.30 | |||
| KR 20190140387 A, 2019.12.19 | |||
| US 2019253622 A1, 2019.08.15 | |||
| US 2019215532 A1, 2019.07.11 | |||
| US 2018268517 A1, 2018.09.20 | |||
| US 2019166382 A1, 2019.05.30 | |||
| СПОСОБ И УСТРОЙСТВО ДЛЯ ВИДЕОКОДИРОВАНИЯ | 2013 |
|
RU2584501C1 |
Авторы
Даты
2024-12-23—Публикация
2020-12-23—Подача