[0001] Настоящая заявка относится к технической области аккумуляторных батарей и, в частности, к аккумуляторной батарее и электрическому устройству.
УРОВЕНЬ ТЕХНИКИ
[0002] С непрерывным развитием аккумуляторных технологий быстро развиваются различные новые отрасли энергетики, в которых применяются аккумуляторные батареи в качестве накопителей энергии. При разработке аккумуляторных технологий безопасность также является немаловажным вопросом в дополнение к повышению производительности аккумуляторных батарей. Если безопасность аккумуляторной батареи не может быть гарантирована, аккумуляторную батарею нельзя применять. Поэтому, повышение безопасности аккумуляторных батарей является актуальной технической проблемой, которую необходимо решить в аккумуляторных технологиях.
КРАТКОЕ ОПИСАНИЕ СУЩНОСТИ ИЗОБРЕТЕНИЯ
[0003] Варианты осуществления настоящего изобретения обеспечивают аккумуляторную батарею и электрическое устройство, которые могут повысить безопасность аккумуляторных батарей.
[0004] В первом аспекте предложена аккумуляторная батарея, содержащая: коробчатый корпус, включающий электрическую полость; элемент аккумуляторной батареи, размещенный в электрической полости и снабженный механизмом сброса давления на первой стенке элемента аккумуляторной батареи; первый проход и второй проход, выполненные с возможностью сообщения с внутренней частью элемента аккумуляторной батареи через механизм сброса давления при приведении в действие механизма сброса давления, причем первый проход применяется для выпуска выбросов, выпускаемых из механизма сброса давления, в электрическую полость, а второй проход применяется для выпуска выбросов, выпускаемых из механизма сброса давления, из электрической полости.
[0005] Когда в элементе аккумуляторной батареи возникает тепловой разгон или другие ненормальные условия, выбросы высокой температуры и высокого давления, образующиеся внутри элемента аккумуляторной батареи, выпускаются в направлении, где элемент аккумуляторной батареи оснащен механизмом сброса давления. Мощность и разрушительная сила таких выбросов обычно очень большие, и если предусмотрен только один проход, существует вероятность прорыва выбросами одной или более конструкций на проходе или вокруг него, что вызывает дополнительные проблемы с безопасностью. Таким образом, для аккумуляторной батареи согласно вариантам осуществления настоящего изобретения коробчатый корпус аккумуляторной батареи включает в себя электрическую полость, причем аккумуляторная батарея дополнительно включает в себя первый проход и второй проход; причем электрическая полость применяется для размещения элемента аккумуляторной батареи, а первая стенка элемента батареи снабжена механизмом сброса давления, причем первый проход применяется для выпуска выбросов, выпускаемых из механизма сброса давления, в электрическую полость, а второй проход применяется для выпуска выбросов, выпускаемых из механизма сброса давления, из электрической полости. Таким образом, выбросы, выпускаемые через механизм сброса давления, могут выпускаться через два прохода одновременно, что может ускорить выпуск и снизить риск взрыва аккумуляторной батареи.
[0006] В некоторых вариантах осуществления электрическая полость включает в себя вторую стенку, причем первая стенка обращена ко второй стенке.
[0007] Таким образом, механизм сброса давления элемента аккумуляторной батареи обращен к стенке электрической полости вместо того, чтобы быть обращенным к другим элементам аккумуляторной батареи, так что удобно разместить на стенке электрической полости предохранительную конструкцию, чтобы обеспечить пространство для предотвращения деформации для механизма сброса давления, что может улучшить использование пространства батареи, а также может снизить риск теплового разгона других элементов аккумуляторной батареи, вызванный элементом аккумуляторной батареи с тепловым разгоном, и повысить безопасность аккумуляторной батареи.
[0008] В некоторых вариантах осуществления первое пространство предусмотрено между второй стенкой и первой стенкой, причем первый проход включает в себя первое пространство.
[0009] Первый проход осуществляется через первое пространство. С одной стороны, это легко реализовать, и нет необходимости добавлять другие компоненты, что позволяет сэкономить место; с другой стороны, первое пространство предусмотрено между первой стенкой и второй стенкой, что может уменьшить требования к герметизации электрической полости, особенно требования к герметизации второй стенки, тем самым снизив сложность обработки аккумуляторной батареи и повысив эффективность обработки аккумуляторной батареи.
[0010] В некоторых вариантах осуществления аккумуляторная батарея дополнительно содержит соединительную конструкцию, причем соединительная конструкция расположена между первой стенкой и второй стенкой, и соединительная конструкция применяется для образования по меньшей мере части первого прохода.
[0011] Реализация по меньшей мере части первого прохода через соединительную конструкцию может, с одной стороны, повысить конструкционную устойчивость между первой стенкой и второй стенкой, особенно когда элемент аккумуляторной батареи не имеет теплового разгона, причем соединительная конструкция может применяться для осуществления относительной фиксации между первой стенкой и второй стенкой или может также обеспечивать герметичность между первой стенкой и второй стенкой; с другой стороны, рационально выбрав конкретную форму и положение соединительной конструкции, можно отрегулировать положение первого прохода, а затем реализовать направленный выпуск выбросов через первый проход, таким образом повысив безопасность аккумуляторной батареи.
[0012] В некоторых вариантах осуществления соединительная конструкция снабжена первым проточным каналом, причем первый проход включает в себя первый проточный канал.
[0013] Выбросы, выпускаемые через механизм сброса давления, могут выпускаться в электрическую полость через первый проточный канал. Таким образом, рационально выбрав положение первого проточного канала, можно реализовать направленный выпуск выбросов и снизить влияние выбросов на отдельные компоненты в электрической полости, тем самым повысив безопасность аккумуляторной батареи.
[0014] В некоторых вариантах осуществления первый проточный канал включает в себя сквозные отверстия и/или канавки, проходящие через соединительную конструкцию, что не только облегчает обработку, но и позволяет быстро проходить выбросам во избежание скопления.
[0015] В некоторых вариантах осуществления радиальный размер первого проточного канала меньше или равен 2 мм, а радиальное направление перпендикулярно направлению потока выбросов в первом проточном канале.
[0016] Таким образом, можно избежать слишком большого размера первого проточного канала, так чтобы не допустить чрезмерных выбросов, протекающих через первый проточный канал, а можно также избежать слишком большого размера частиц выбросов, протекающих через первый проточный канал, что оказывает фильтрующее действие на выбросы, тем самым снизив влияние выбросов элемента аккумуляторной батареи с тепловым разгоном на другие элементы аккумуляторной батареи, и максимально предотвратить тепловую диффузию аккумуляторной батареи.
[0017] В некоторых вариантах осуществления соединительная конструкция выполнена с возможностью разрушения при приведении в действие механизма сброса давления, так что между первой стенкой и второй стенкой образуется второе пространство, причем первый проход включает в себя второе пространство.
[0018] При рациональном выборе материала соединительной конструкции соединительная конструкция может быть разрушена при приведении в действие механизма сброса давления, тем самым образуя второе пространство без дополнительной обработки соединительной конструкции, что является более удобным, а также может обеспечить герметичность элемента аккумуляторной батареи при нормальном применении.
[0019] В некоторых вариантах осуществления соединительная конструкция включает в себя плавкий слой, расположенный между первой стенкой и второй стенкой, причем плавкий слой выполнен с возможностью плавления при приведении в действие механизма сброса давления для образования второго пространства между первой стенкой и второй стенкой.
[0020] Поскольку выбросы, выпускаемые через механизм сброса давления, представляют собой высокотемпературные выбросы, плавкий слой может расплавиться при тепловом разгоне элемента аккумуляторной батареи с образованием второго пространства, в то время как элемент аккумуляторной батареи нелегко разрушить при нормальном применении, что может обеспечить безопасность и стабильность аккумуляторной батареи.
[0021] В некоторых вариантах осуществления толщина плавкого слоя составляет от 0,5 мм до 3 мм.
[0022] Толщина плавкого слоя обычно больше или равна 0,5 мм, чтобы предотвратить слишком малое второе пространство, образованное после плавления плавкого слоя, или даже неспособность образовать эффективное второе пространство, тем самым предотвращая слишком малый первый проход, препятствующий выпуску выбросов, что дополнительно защищает аккумуляторную батарею от взрыва. Кроме того, толщина плавкого слоя обычно меньше или равна 3 мм, чтобы избежать того, что, когда толщина плавкого слишком велика, расплавленная часть будет слишком большой, т.е. образованное второе пространство будет слишком большим, что приведет к выпуску большого количества выбросов в электрическую полость через второе пространство. Это может привести к значительному повреждению электрической полости и, в частности, к короткому замыканию различных компонентов шины, что повлияет на безопасность аккумуляторной батареи.
[0023] В некоторых вариантах осуществления соединительная конструкция снабжена предохранительной областью, соответствующей механизму сброса давления, причем предохранительная область применяется для обеспечения пространства деформации для механизма сброса давления, когда он приводится в действие, чтобы предотвратить закрытие соединительной конструкцией механизма сброса давления, вызывающее замедленное срабатывание механизма сброса давления, тем самым обеспечив быстрый выпуск выбросов через механизм сброса давления.
[0024] В некоторых вариантах осуществления предохранительная область соответствует по меньшей мере двум механизмам сброса давления, чтобы облегчить обработку предохранительной области.
[0025] В некоторых вариантах осуществления соединительная конструкция дополнительно включает: блокирующую конструкцию, расположенную между первой стенкой и второй стенкой и расположенную вокруг механизма сброса давления. Блокирующая конструкция применяется для предотвращения попадания выбросов, выпускаемых через механизм сброса давления, на электродные клеммы элемента аккумуляторной батареи.
[0026] Поскольку соединительная конструкция может применяться для образования по меньшей мере части первого прохода, выпускающего выбросы, проходящие через механизм сброса давления, в электрическую полость, в которой также расположены электродные клеммы, если выбросы выпускаются на компонент шины, соединяющий электродные клеммы, может быть легко вызвано короткое замыкание различных компонентов шины, что вызовет вторичное повреждение аккумуляторной батареи и даже приведет к ее взрыву. Таким образом, за счет обеспечения блокирующей конструкции можно избежать взрыва аккумуляторной батареи и повысить безопасность аккумуляторной батареи. Кроме того, когда соединительная конструкция включает в себя связующее, блокирующая конструкция согласно варианту осуществления настоящего изобретения также может применяться для предотвращения перетекания связующего.
[0027] В некоторых вариантах осуществления электродная клемма расположена на третьей стенке элемента аккумуляторной батареи, причем третья стенка пересекается с первой стенкой, а блокирующая конструкция расположена на стороне механизма сброса давления рядом с электродной клеммой. Таким образом, при приведении в действие механизма сброса давления, выбросы блокируются блокирующей конструкцией, так что никакие выбросы не могут пройти через блокирующую конструкцию и достичь третьей стенки (или может пройти блокирующую конструкцию и достичь третьей стенки только их очень небольшое количество), тем самым снизив риск короткого замыкания компонентов шины и повысив безопасность аккумуляторной батареи.
[0028] В некоторых вариантах осуществления соединительная конструкция включает в себя термопрокладку и/или герметизирующую прокладку, расположенную между первой стенкой и второй стенкой. Соединительная конструкция включает в себя термопрокладку, расположенную между первой стенкой и второй стенкой, причем термопрокладка может рассеивать тепло от элементов аккумуляторной батареи во время применения аккумуляторной батареи. Когда соединительная конструкция включает в себя герметизирующую прокладку, герметичность между первой стенкой и второй стенкой может быть повышена.
[0029] В некоторых вариантах осуществления аккумуляторная батарея включает в себя: блок элементов аккумуляторной батареи; причем блок элементов аккумуляторной батареи включает в себя множество элементов аккумуляторной батареи, расположенных вдоль первого направления, электрическая полость включает в себя четвертую стенку, пересекающуюся со второй стенкой, третье пространство предусмотрено между торцевой поверхностью блока элементов аккумуляторной батареи, обращенной к четвертой стенке, и четвертой стенкой, причем первый проход включает в себя третье пространство.
[0030] Реализация по меньшей мере части первого прохода через третье пространство может устранить необходимость добавления дополнительных компонентов, снизить сложность обработки, а также снизить требования к герметизации между указанной торцевой поверхностью и четвертой стенкой.
[0031] В некоторых вариантах осуществления аккумуляторная батарея дополнительно включает в себя: первую разделительную конструкцию, расположенную между торцевой поверхностью и четвертой стенкой, причем первая разделительная конструкция применяется для образования по меньшей мере части первого прохода.
[0032] Реализация по меньшей мере части первого прохода через первую разделительную конструкцию может, с одной стороны, повысить конструкционную устойчивость между торцевой поверхностью и четвертой стенкой, особенно когда элемент аккумуляторной батареи не имеет теплового разгона, причем первая разделительная конструкция может применяться для осуществления относительной фиксации между торцевой поверхностью и четвертой стенкой или может также обеспечивать герметичность между торцевой поверхностью и четвертой стенкой; с другой стороны, рационально выбрав конкретную форму и положение первой разделительной конструкции, можно отрегулировать положение первого прохода, а затем реализовать направленный выпуск выбросов через первый проход, таким образом повысив безопасность аккумуляторной батареи.
[0033] В некоторых вариантах осуществления первая разделительная конструкция снабжена вторым проточным каналом, причем первый проход включает в себя второй проточный канал. Выбросы, выпускаемые через механизм сброса давления, могут выпускаться через второй проточный канал. Таким образом, рационально выбрав положение второго проточного канала, можно реализовать направленный выпуск выбросов и снизить влияние выбросов на отдельные компоненты в электрической полости, например, можно предотвратить их влияние на электродные клеммы и компоненты шины, тем самым повысив безопасность аккумуляторной батареи.
[0034] В некоторых вариантах осуществления аккумуляторная батарея дополнительно включает в себя: вторую разделительную конструкцию, расположенную между двумя смежными элементами аккумуляторной батареи, причем вторая разделительная конструкция применяется для образования по меньшей мере части первого прохода.
[0035] Вторая разделительная конструкция, расположенная между двумя смежными элементами аккумуляторной батареи в аккумуляторной батарее, может применяться для компенсации расширения и деформации элементов аккумуляторной батареи при нормальном применении элементов аккумуляторной батареи; когда изолирующий компонент под элементами аккумуляторной батареи представляет собой компонент управления тепловым режимом, вторая разделительная конструкция может также применяться для блокировки влаги, создаваемой компонентом управления тепловым режимом; когда элементы батареи аккумуляторной батареи подвергаются тепловому разгону, с одной стороны, вторая разделительная конструкция может блокировать тепло, передаваемое между элементами аккумуляторной батареи; с другой стороны, вторая разделительная конструкция может применяться для образования по меньшей мере части первого прохода, причем вторая разделительная конструкция может обеспечивать выход небольшого количества выбросов в электрическую полость, что увеличивает путь выпуска выбросов, и, следовательно, повышает эффективность выпуска выбросов.
[0036] В некоторых вариантах осуществления вторая разделительная конструкция выполнена с возможностью разрушения при приведении в действие механизма сброса давления, так что между двумя элементами аккумуляторной батареи образуется четвертое пространство, причем первый проход включает в себя четвертое пространство.
[0037] Таким образом, при рациональном выборе материала второй разделительной конструкции вторая разделительная конструкция может быть разрушена при приведении в действие механизма сброса давления, тем самым образуя четвертое пространство без дополнительной обработки второй разделительной конструкции, что является более удобным, а также может обеспечить герметичность и стабильность элемента аккумуляторной батареи при нормальном применении.
[0038] В некоторых вариантах осуществления вторая разделительная конструкция снабжена третьим проточным каналом, причем первый проход включает в себя третий проточный канал. Рационально выбрав положение третьего проточного канала, можно реализовать направленный выпуск выбросов, снизить влияние выбросов на отдельные компоненты в электрической полости, предотвратить тепловую диффузию между элементами аккумуляторной батареи и повысить безопасность аккумуляторной батареи.
[0039] В некоторых вариантах осуществления вторая стенка снабжена областью сброса давления, соответствующей механизму сброса давления, причем область сброса давления применяется для образования по меньшей мере части второго прохода, после чего выбросы могут быть выпущены из электрической полости через область сброса давления. Например, выбросы могут выпускаться в полость сбора через область сброса давления.
[0040] В некоторых вариантах осуществления область сброса давления представляет собой сквозное отверстие, проходящее через вторую стенку в направлении, перпендикулярном первой стенке. Когда область сброса давления представляет собой сквозное отверстие, с одной стороны, это удобно для обработки, а с другой стороны, выбросы, выпускаемые через механизм сброса давления, могут быть быстро выпущены.
[0041] В некоторых вариантах осуществления область сброса давления удовлетворяет следующей формуле:
[0042] где S представляет собой площадь ортогональной проекции области сброса давления на второй стенке, деленную на число механизмов сброса давления, соответствующих области сброса давления, a D представляет собой расстояние между второй стенкой и первой стенкой.
[0043] Если параметр D/S слишком большой, например, превышает вышеупомянутый предел, параметр D может иметь максимальное значение, а параметр S может иметь минимальное значение. В этом случае первый проход в электрическую полость большой, а второй проход, через который выбросы выпускаются из электрической полости, относительно маленький. В результате выбросы, выпускаемые вследствие теплового разгона, очень легко возвращаются в электрическую полость, т.е. в электрическую полость поступает больше выбросов, а из электрической полости выходит меньше выбросов, что не способствует сбору выбросов с помощью полости сбора, но может повлиять на безопасность электрической полости, например, легко привести к короткому замыканию компонентов шины. Поэтому для того, чтобы большая часть выбросов, выпускаемых из электрической полости, например, попадала в полость сбора, параметр D/S не следует задавать слишком большим.
[0044] И наоборот, если параметр D/S слишком маленький, например, превышает указанный выше предел, параметр D может иметь минимальное значение, a S имеет максимальное значение. В этом случае первый проход в электрическую полость маленький, и выбросам, возникающим вследствие теплового разгона, трудно вернуться в электрическую полость, при этом работа первого прохода затруднена, поэтому область сброса давления, соответствующая параметру S, может быть не в состоянии обеспечить прочность каркасной конструкции аккумуляторной батареи при выпуске большого количества выбросов из электрической полости. Поэтому параметр D/S также не должен быть слишком маленьким.
[0045] В некоторых вариантах осуществления аккумуляторная батарея дополнительно включает в себя: вторую разделительную конструкцию, расположенную между двумя смежными элементами аккумуляторной батареи в аккумуляторной батарее, причем вторая разделительная конструкция применяется для образования по меньшей мере части первого прохода, а область сброса давления удовлетворяет следующей формуле:
[0046] где S представляет собой площадь ортогональной проекции области сброса давления на второй стенке, деленную на число механизмов сброса давления, соответствующих области сброса давления, a t представляет собой расстояние между двумя элементами аккумуляторной батареи.
[0047] Следует понимать, что если параметр t/S слишком большой, например, превышает вышеупомянутый предел, параметр t может иметь максимальное значение, a S может иметь минимальное значение. В этом случае первый проход в электрическую полость большой, а второй проход, через который выбросы выпускаются из электрической полости, относительно маленький. В результате выбросы, выпускаемые вследствие теплового разгона, очень легко возвращаются в электрическую полость, т.е. в электрическую полость поступает больше выбросов, а из электрической полости выходит меньше выбросов, что не способствует сбору выбросов с помощью полости сбора, но может повлиять на безопасность электрической полости, например, легко привести к короткому замыканию компонентов шины. Поэтому для того, чтобы большая часть выбросов, выпускаемых из электрической полости, например, попадала в полость сбора, t/S не следует задавать слишком большим.
[0048] И наоборот, если параметр t/S слишком маленький, например, превышает указанный выше предел, параметр t может иметь минимальное значение, a S имеет максимальное значение. В этом случае первый проход в электрическую полость маленький, и выбросам, возникающим вследствие теплового разгона, трудно вернуться в электрическую полость, при этом работа первого прохода затруднена, поэтому область сброса давления, соответствующая параметру S, может быть не в состоянии обеспечить прочность каркасной конструкции аккумуляторной батареи при выпуске большого количества выбросов из электрической полости. Поэтому параметр t/S также не должен быть слишком маленьким.
[0049] В некоторых вариантах осуществления область сброса давления представляет собой слабый участок второй стенки, причем этот слабый участок выполнен с возможностью разрушения при приведении в действие механизма сброса давления для образования по меньшей мере части второго прохода.
[0050] Выбор области сброса давления в качестве слабой области может привести вторую стенку в герметичное состояние, когда механизм сброса давления не приводится в действие, например, при нормальном применении аккумуляторной батареи, что эффективно защищает механизм сброса давления от повреждения внешним усилием и выхода из строя. Кроме того, при приведении в действие механизма сброса давления слабая область может быть разрушена, так что выбросы из элемента аккумуляторной батареи, снабженного механизмом сброса давления, проходят через слабую область и выходят из электрической полости, например, могут проходить через слабую область и попадать в полость сбора.
[0051] В некоторых вариантах осуществления область сброса давления удовлетворяет следующей формуле:
[0052] где d представляет собой минимальное значение толщин в различных положениях слабой области, a D представляет собой расстояние между второй стенкой и первой стенкой.
[0053] Следует понимать, что при увеличении параметра D увеличивается первый проход в электрическую полость, а выбросы, выпускаемые вследствие теплового разгона, очень легко возвращаются в электрическую полость, поэтому соответствующий параметр d должен быть рассчитан на уменьшение, тем самым снижая сложность прорыва выбросов через область сброса давления, т.е. снижая сложность выпуска выбросов из электрической полости, так что выбросы могут быть более легко выпущены из электрической полости. Поэтому, когда параметр d не может быть слишком маленьким, чтобы соответствовать требованиям по выпуску выбросов и отвечать требованиям к прочности конструкции аккумуляторной батареи, параметр D не должен быть установлен слишком большим, т.е. параметр D/d не должен быть установлен слишком большим.
[0054] И наоборот, когда D имеет минимальное значение, первый проход в электрическую полость маленький, и выбросам, возникающим вследствие теплового разгона, трудно вернуться в электрическую полость, а работа первого прохода затруднена, поэтому большое количество выбросов должно выходить через область сброса давления второй стенки. Значение параметра d должно обеспечивать возможность плавного и быстрого прорыва второй стенки выпускаемыми выбросами, поэтому значение d также не должно быть слишком большим, т.е. значение D/d не должно быть слишком маленьким.
[0055] В некоторых вариантах осуществления аккумуляторная батарея дополнительно включает в себя: вторую разделительную конструкцию, расположенную между двумя смежными элементами аккумуляторной батареи в аккумуляторной батарее, причем вторая разделительная конструкция применяется для образования по меньшей мере части первого прохода, а область сброса давления удовлетворяет следующей формуле:
[0056] где d представляет собой минимальное значение толщин в различных положениях слабой области, a t представляет собой расстояние между двумя элементами аккумуляторной батареи.
[0057] Следует понимать, что при увеличении параметра t увеличивается первый проход в электрическую полость, а выбросы, выпускаемые вследствие теплового разгона, очень легко возвращаются в электрическую полость, поэтому соответствующий параметр d должен быть рассчитан на уменьшение, тем самым снижая сложность прорыва выбросов через область сброса давления, т.е. снижая сложность выпуска выбросов из электрической полости, так что выбросы могут быть более легко выпущены из электрической полости. Поэтому, когда параметр d не может быть слишком маленьким, чтобы соответствовать требованиям по выпуску выбросов и отвечать требованиям к прочности конструкции аккумуляторной батареи, параметр t не должен быть установлен слишком большим, т.е. параметр t/d не должен быть установлен слишком большим.
[0058] И наоборот, когда t имеет минимальное значение, первый проход в электрическую полость маленький, и выбросам, возникающим вследствие теплового разгона, трудно вернуться в электрическую полость, а работа первого прохода затруднена, поэтому большое количество выбросов должно выходить через область сброса давления второй стенки. Значение параметра d должно обеспечивать возможность плавного и быстрого прорыва второй стенки выпускаемыми выбросами, поэтому значение d также не должно быть слишком большим, т.е. значение t/d не должно быть слишком маленьким.
[0059] В некоторых вариантах осуществления коробчатый корпус дополнительно включает в себя: полость сбора для сбора выбросов, выпускаемых через второй проход, когда приводится в действие механизм сброса давления.
[0060] Полость сбора может централизованно собирать и/или очищать выбросы, а затем выпускать выбросы за пределы аккумуляторной батареи. Например, полость сбора может содержать жидкость, такую как охлаждающая среда, или может быть предусмотрен компонент для размещения жидкости для дополнительного охлаждения выбросов, поступающих в полость сбора.
[0061] В некоторых вариантах осуществления аккумуляторная батарея дополнительно содержит: изолирующий компонент для изоляции электрической полости и полости сбора. Изолирующие компоненты применяются для изоляции электрической полости и полости сбора, т.е. электрическая полость для размещения элементов аккумуляторной батареи и компонентов шины отделена от полости сбора для сбора выбросов, чтобы избежать взаимного влияния между ними.
[0062] Во втором аспекте предложено электрическое устройство, содержащее аккумуляторную батарею в соответствии с первым аспектом, причем аккумуляторная батарея применяется для подачи электрической энергии в электрическое устройство.
[0063] В некоторых вариантах осуществления электрическое устройство представляет собой транспортное средство, корабль или космический корабль.
ОПИСАНИЕ ГРАФИЧЕСКИХ МАТЕРИАЛОВ
[0064] Чтобы более четко проиллюстрировать технические решения вариантов осуществления настоящего изобретения, ниже приведено краткое описание графических материалов, которые будут применяться в вариантах осуществления настоящего изобретения. Очевидно, что графические материалы, описанные ниже, демонстрируют лишь некоторые примеры настоящего изобретения. Специалисты в данной области техники также могут получить другие графические материалы на основе приведенных графических материалов без каких-либо творческих усилий.
[0065] На фиг.1 представлена структурная схема транспортного средства, описанного в варианте осуществления настоящего изобретения.
[0066] На фиг.2 представлена структурная схема аккумуляторной батареи, описанной в варианте осуществления настоящего изобретения.
[0067] На фиг.3 представлена структурная схема аккумуляторной батареи в разобранном состоянии, описанной в варианте осуществления настоящего изобретения.
[0068] На фиг.4 представлена схема в разрезе аккумуляторной батареи, описанной в варианте осуществления настоящего изобретения.
[0069] На фиг.5 представлен увеличенный частичный вид в разрезе аккумуляторной батареи, описанной в варианте осуществления настоящего изобретения.
[0070] На фиг.6 представлена схема в разрезе другой аккумуляторной батареи, описанной в варианте осуществления настоящего изобретения.
[0071] На фиг.7 представлен увеличенный частичный вид в разрезе другой аккумуляторной батареи, описанной в варианте осуществления настоящего изобретения.
[0072] На фиг.8 представлена частичная структурная схема аккумуляторной батареи, описанной в варианте осуществления настоящего изобретения.
[0073] На фиг.9 представлен увеличенный частичный структурный вид аккумуляторной батареи, описанной в варианте осуществления настоящего изобретения.
[0074] На фиг.10 представлен увеличенный частичный структурный вид другой аккумуляторной батареи, описанной в варианте осуществления настоящего изобретения.
[0075] На фиг.11 представлена частичная структурная схема другой аккумуляторной батареи, описанной в варианте осуществления настоящего изобретения.
[0076] На фиг.12 представлена частичная структурная схема другой аккумуляторной батареи, описанной в варианте осуществления настоящего изобретения.
[0077] На фиг.13 представлен увеличенный частичный структурный вид другой аккумуляторной батареи, описанной в варианте осуществления настоящего изобретения.
[0078] На фиг.14 представлена частичная структурная схема еще одной аккумуляторной батареи, описанной в варианте осуществления настоящего изобретения.
[0079] На фиг.15 представлен увеличенный частичный структурный вид еще одной аккумуляторной батареи, описанной в варианте осуществления настоящего изобретения.
[0080] На фиг.16 представлена структурная схема другой аккумуляторной батареи в разобранном состоянии, описанной в варианте осуществления настоящего изобретения.
[0081] На фиг.17 представлена схема в разрезе другой аккумуляторной батареи, описанной в варианте осуществления настоящего изобретения.
[0082] На фиг.18 представлена схема соединительной конструкции, описанной в варианте осуществления настоящего изобретения.
[0083] На фиг.19 представлена схема соединительной конструкции и второй стенки, описанных в варианте осуществления настоящего изобретения.
[0084] На фиг.20 представлена структурная схема еще одной аккумуляторной батареи в разобранном состоянии, описанной в варианте осуществления настоящего изобретения.
[0085] На фиг.21 представлена схема в разрезе еще одной аккумуляторной батареи, описанной в варианте осуществления настоящего изобретения.
[0086] На фиг.22 представлена частичная схема в разрезе еще одной аккумуляторной батареи, описанной в варианте осуществления настоящего изобретения.
[0087] На фиг.23 представлена частичная структурная схема еще одной аккумуляторной батареи, описанной в варианте осуществления настоящего изобретения.
[0088] На фиг.24-27 представлены структурные схемы нескольких вторых разделительных конструкций, описанных в вариантах осуществления настоящего изобретения соответственно.
[0089] На фиг.28 представлена частичная схема в разрезе еще одной аккумуляторной батареи, описанной в варианте осуществления настоящего изобретения.
[0090] На фиг.29 представлена схема второй стенки, описанной в варианте осуществления настоящего изобретения.
[0091] Фигуры в графических материалах выполнены не в реальном масштабе.
ПОДРОБНОЕ ОПИСАНИЕ СУЩНОСТИ ИЗОБРЕТЕНИЯ
[0092] Варианты реализации настоящего изобретения будут подробно описаны ниже со ссылкой на графические материалы и варианты осуществления. Следующее подробное описание вариантов осуществления и графические материалы применяются для иллюстрации принципов настоящего изобретения в качестве примера, но не должны применяться для ограничения объема настоящего изобретения, т.е. настоящее изобретение не ограничено описанными вариантами осуществления.
[0093] Следует отметить, что в описании настоящего изобретения, если не указано иное, «множество» означает два или более; ориентация или позиционные отношения, обозначенные терминами «верхний», «нижний», «левый», «правый», «внутренний» и «наружный», предназначены только для облегчения описания настоящего изобретения и упрощения описания, а не для того, чтобы указывать или подразумевать, что указанное устройство или элемент должны иметь определенную ориентацию или быть сконструированы и работать в определенной ориентации, и поэтому не должны интерпретироваться как ограничивающие настоящее изобретение. Кроме того, термины «первый», «второй», «третий» и т.д. применяются только в описательных целях и не могут толковаться как указывающие или подразумевающие относительную важность. «Перпендикулярный» не означает строго перпендикулярный, но находящийся в пределах допустимого диапазона ошибки. «Параллельный» не означает строго параллельный, но находящийся в пределах допустимого диапазона ошибок.
[0094] Слова, обозначающие ориентацию, встречающиеся в последующем описании, представляют собой направления, показанные в графических материалах, и не ограничивают конкретную конструкцию настоящего изобретения. В описании настоящего изобретения следует отметить, что термины «монтаж», «соединение» и «соединяющий» следует понимать в широком смысле, если иное явно не указано или не определено. Например, это может быть фиксированное соединение, разъемное соединение или цельное соединение; это может быть непосредственное соединение или опосредованное соединение через промежуточную среду. Специалистам в данной области техники конкретное значение вышеприведенных терминов в настоящем описании может быть понятно в соответствии с конкретными обстоятельствами.
[0095] В вариантах осуществления настоящего изобретения одни и те же ссылочные позиции обозначают одни и те же компоненты, и для краткости подробные описания одних и тех же компонентов в различных вариантах осуществления опущены. Следует понимать, что толщина, длина, ширина и другие размеры различных компонентов в вариантах осуществления настоящего изобретения, показанных в графических материалах, а также общая толщина, длина и ширина интегрированных устройств предназначены только в иллюстративных целях и не должны налагать никаких ограничений на настоящее изобретение.
[0096] В настоящем изобретении элемент аккумуляторной батареи может включать в себя литий-ионную вторичную аккумуляторную батарею, литий-ионную первичную аккумуляторную батарею, литий-серную аккумуляторную батарею, натрий-литий-ионную аккумуляторную батарею, натрий-ионную аккумуляторную батарею, магний-ионную аккумуляторную батарею и т.д., без ограничения вариантами осуществления настоящего изобретения. Элементы аккумуляторной батареи могут быть цилиндрическими, плоскими, прямоугольными или иметь другую форму, которая не ограничивается вариантами осуществления настоящего изобретения. Элементы аккумуляторной батареи обычно подразделяются на три типа в зависимости от способа упаковки: цилиндрические элементы аккумуляторной батареи, прямоугольные элементы аккумуляторной батареи и пакетные элементы, что не ограничивается вариантами осуществления настоящего изобретения.
[0097] Аккумуляторная батарея, упомянутая в вариантах осуществления настоящего изобретения, относится к одному физическому модулю, содержащему один или более элементов аккумуляторной батареи для обеспечения более высокого напряжения и емкости. Например, аккумуляторная батарея, упомянутая в настоящем изобретении, может включать в себя модуль аккумуляторной батареи, блок аккумуляторных батарей и т.д. Аккумуляторная батарея обычно содержит коробчатый корпус для упаковки одного или более элементов аккумуляторной батареи. Коробчатый корпус может предотвратить влияние жидкости или других инородных тел на зарядку или разрядку элементов аккумуляторной батареи.
[0098] Элемент аккумуляторной батареи включает в себя электродный узел и раствор электролита, причем электродный узел состоит из пластины положительного электрода, пластины отрицательного электрода и сепаратора. Элемент аккумуляторной батареи работает в основном за счет перемещения ионов металла между пластиной положительного электрода и пластиной отрицательного электрода. Пластина положительного электрода включает в себя токосъемник положительного электрода и слой активного материала положительного электрода. Поверхность токосъемника положительного электрода покрыта слоем активного материала положительного электрода. Токосъемники, не покрытые слоем активного материала положительного электрода, выступают из токосъемника, покрытого слоем активного материала положительного электрода Токосъемники, не покрытые слоем активного материала положительного электрода, действуют как выводы положительных электродов. Если рассматривать в качестве примера литий-ионную аккумуляторную батарею, материал токосъемника положительного электрода может представлять собой алюминий, причем активный материал положительного электрода может представлять собой оксид лития-кобальта, фосфат лития-железа, тройной литий, манганат лития и т.п. Пластина отрицательного электрода включает в себя токосъемник отрицательного электрода и слой активного материала отрицательного электрода. Слой активного материала отрицательного электрода нанесен на поверхность токосъемника отрицательного электрода, причем токосъемник, не покрытый слоем активного материала отрицательного электрода, выступает из токосъемника, покрытого слоем активного материала отрицательного электрода, и применяется в качестве вывода отрицательного электрода. Материал токосъемника отрицательного электрода может представлять собой медь, а активный материал отрицательного электрода может представлять собой углерод, кремний и т.д. Чтобы гарантировать, что при прохождении большого тока не произойдет плавление, имеется множество выводов положительного электрода, которые уложены вместе, и есть множество выводов отрицательного электрода, которые уложены вместе. Сепаратор может быть выполнен из полипропилена (РР), полиэтилена (РЕ) и т.п. Кроме того, электродный узел может иметь намотанную конструкцию или слоистую конструкцию, что не ограничивается в вариантах осуществления настоящего изобретения.
[0099] При разработке аккумуляторной технологии следует учитывать многие конструктивные факторы, такие как плотность энергии, срок службы, разрядная емкость, скорость заряда-разряда и другие эксплуатационные параметры. Кроме того, необходимо учитывать безопасность аккумуляторной батареи. Основная угроза для безопасности аккумуляторной батареи связана с процессом зарядки и разрядки. Чтобы улучшить характеристики безопасности аккумуляторной батареи, в элементе аккумуляторной батареи обычно предусмотрен механизм сброса давления. Механизм сброса давления представляет собой элемент или компонент, который приводится в действие для сброса внутреннего давления или температуры, когда внутреннее давление или температура элемента аккумуляторной батареи достигает заданного порогового значения. Заданное пороговое значение может быть скорректировано в соответствии с различными требованиями к конструкции. Например, заданное пороговое значение может зависеть от материала одного или более из пластины положительного электрода, пластины отрицательного электрода, раствора электролита и сепаратора в элементе аккумуляторной батареи. В механизме сброса давления могут применяться элементы или компоненты, чувствительные к давлению или температуре. То есть, когда внутреннее давление или температура элемента аккумуляторной батареи достигает заданного порогового значения, приводится в действие механизм сброса давления, тем самым образуя канал для сброса внутреннего давления или температуры.
[0100] В текущей схеме конструкции механизма сброса давления основная задача состоит в том, чтобы сбросить высокое давление и высокую температуру внутри элемента аккумуляторной батареи, т.е. выпустить выбросы элемента аккумуляторной батареи наружу элемента аккумуляторной батареи. Тем не менее, то, как выпускать выбросы высокой температуры и высокого давления после выпуска из элементов аккумуляторной батареи, чтобы не создавать дополнительных проблем с безопасностью аккумуляторной батареи, является одной из проблем, которые необходимо срочно решить.
[0101] Когда в элементе аккумуляторной батареи возникает тепловой разгон или другие ненормальные условия, выбросы высокой температуры и высокого давления, образующиеся внутри элемента аккумуляторной батареи, выпускаются в направлении, где элемент аккумуляторной батареи оснащен механизмом сброса давления. Мощность и разрушительная сила таких выбросов обычно очень большие, и если предусмотрен только один проход, существует вероятность прорыва выбросами одной или более конструкций на проходе или вокруг него, что вызывает дополнительные проблемы с безопасностью. Ввиду этого в настоящем изобретении предложена аккумуляторная батарея, коробчатый корпус которой включает в себя электрическую полость, причем аккумуляторная батарея дополнительно включает в себя первый проход и второй проход; причем электрическая полость применяется для размещения элемента аккумуляторной батареи, а первая стенка элемента аккумуляторной батареи снабжена механизмом сброса давления. При приведении в действие механизма сброса давления первый проход и второй проход могут сообщаться с внутренней частью элемента аккумуляторной батареи через механизм сброса давления. Первый проход применяется для выпуска выбросов, выпускаемых из механизма сброса давления, в электрическую полость, а второй проход применяется для выпуска выбросов, выпускаемых из механизма сброса давления, из электрической полости. Таким образом, выбросы, выпускаемые через механизм сброса давления, могут выпускаться через два прохода одновременно, что может ускорить выпуск и снизить риск взрыва аккумуляторной батареи.
[0102] Технические решения, описанные в вариантах осуществления изобретения, применимы к различным электрическим устройствам, в которых применяются аккумуляторные батареи.
[0103] Электрическое устройство может представлять собой, помимо прочего, транспортное средство, мобильный телефон, портативное устройство, ноутбук, судно, космический корабль, электрическая игрушка, электрический инструмент и т.п. Транспортное средство может представлять собой транспортное средство, работающее на топливе, транспортное средство, работающее на газу или транспортное средство, работающим на новой энергии. Транспортное средство, работающее на новой энергии, может представлять собой полностью электрическое транспортное средство, гибридное электрическое транспортное средство, электрическое транспортное средством с увеличенным запасом хода и т.п. Космический корабль включает в себя самолеты, ракеты, космические челноки, космические корабли и т.п. Электрическая игрушка включает в себя стационарные или мобильные электрические игрушки, такие как игровые приставки, игрушечные электромобили, игрушечные электрические корабли и игрушечные электрические самолеты. Электроинструмент включает в себя электроинструменты для резки металла, электроинструменты для шлифовки, электроинструменты для сборки и железнодорожные электроинструменты, такие как электродрели, электрошлифовальные машины, электрические гайковерты, электрические отвертки, электрические молотки, ударные дрели, бетонные вибраторы и электрические рубанки. Электрическое устройство специально не ограничивается вариантами осуществления настоящего изобретения.
[0104] В следующих вариантах осуществления для удобства описания электрическое устройство, представляющее собой транспортное средство, приведено в качестве примера для описания.
[0105] Например, на фиг.1 представлена структурная схема транспортного средства 1 согласно примеру настоящего изобретения. Транспортное средство 1 может представлять собой транспортное средство, работающее на топливе, транспортное средство, работающее на газу или транспортное средство, работающее на новой энергии, причем транспортное средство, работающее на новой энергии, может представлять собой полностью электрическое транспортное средство, гибридное электрическое транспортное средство, электрическое транспортное средство с увеличенным запасом хода и т.п. Двигатель 40, контроллер 30 и аккумуляторная батарея 10 могут быть установлены внутри транспортного средства 1, причем контроллер 30 выполнен с возможностью управления аккумуляторной батареей 10 для подачи питания к двигателю 40. Например, аккумуляторная батарея 10 может быть расположена в нижней части или передней части, или задней части транспортного средства 1. Аккумуляторная батарея 10 может быть выполнена с возможностью питания транспортного средства 1, например, аккумуляторная батарея 10 может применяться в качестве рабочего источника питания транспортного средства 1, который применяется для системы электрической схемы транспортного средства 1, например, для удовлетворения требований к рабочей мощности транспортного средства 1 при трогании с места, навигации и движении. В другом примере настоящего изобретения аккумуляторную батарею 10 можно применять не только в качестве рабочего источника питания транспортного средства 1, но также можно применять в качестве приводного источника питания транспортного средства 1 для обеспечения приводной мощности транспортного средства 1 вместо или частично вместо топлива или природного газа.
[0106] Для удовлетворения различных требований к мощности аккумуляторная батарея может включать в себя множество элементов аккумуляторной батареи, причем множество элементов аккумуляторной батареи могут быть соединены последовательно, параллельно или параллельно-последовательно, причем параллельно-последовательное соединение относится к комбинации последовательного соединения и параллельного соединения. Аккумуляторная батарея также может называться аккумуляторным блоком. Например, множество элементов аккумуляторной батареи может быть соединено последовательно, параллельно или последовательно-параллельно для образования сначала аккумуляторных модулей, а затем множество аккумуляторных модулей может быть соединено последовательно, параллельно или последовательно-параллельно для образования аккумуляторной батареи. То есть множество элементов аккумуляторной батареи могут непосредственно образовывать аккумуляторную батарею или могут сначала образовывать аккумуляторные модули, а затем аккумуляторные модули образуют аккумуляторную батарею.
[0107] На фиг.2 представлена схема аккумуляторной батареи 10 согласно варианту осуществления настоящего изобретения. Как показано на фиг.2, аккумуляторная батарея 10 может содержать: коробчатый корпус 11, включающий в себя электрическую полость 11а; элемент 20 аккумуляторной батареи, размещенный в электрической полости 11а, причем первая стенка 21а элемента 20 аккумуляторной батареи снабжена механизмом 213 сброса давления; первый проход 15 и второй проход 16, причем первый проход 15 и второй проход 16 выполнены с возможностью сообщения с внутренней частью элемента 20 аккумуляторной батареи через механизм 213 сброса давления при приведении в действие механизма 213 сброса давления, причем первый проход 15 применяется для выпуска выбросов, выпускаемых из механизма 213 сброса давления, в электрическую полость 11а, а второй проход 16 применяется для выпуска выбросов, выпускаемых из механизма 213 сброса давления, из электрической полости 11а.
[0108] Следует понимать, что механизм 213 сброса давления согласно варианту осуществления настоящего изобретения представляет собой элемент или компонент, который приводится в действие для сброса внутреннего давления или температуры, когда внутреннее давление или температура элемента 20 аккумуляторной батареи достигает заданного порогового значения. Пороговое значение варьируется в соответствии с различными требованиями к конструкции. Пороговое значение может зависеть от материала одного или более из пластины положительного электрода, пластины отрицательного электрода, раствора электролита и сепаратора в элементе 20 аккумуляторной батареи.
[0109] «Приведение в действие», упомянутое в настоящей заявке, означает, что механизм 213 сброса давления выполняет действие или приводится в действие до определенного состояния, так что внутреннее давление и температура элемента 20 аккумуляторной батареи могут быть сброшены. Действия, выполняемые механизмом 213 сброса давления, могут включать, помимо прочего, разрушение, разбивание, разрыв, открытие и т.п. по меньшей мере части механизма 213 сброса давления. Когда механизм 213 сброса давления приводится в действие, вещества с высокой температурой и высоким давлением внутри элемента 20 аккумуляторной батареи могут выпускаться наружу в виде выбросов из приводимой в действие части. Таким образом, давление и температура элемента 20 аккумуляторной батареи могут быть снижены при контролируемом давлении или температуре, чтобы предотвратить возможные более серьезные аварии.
[0110] Выбросы из элемента 20 аккумуляторной батареи, упомянутые в настоящей заявке, включают, помимо прочего: раствор электролита, растворенные или разделенные пластины положительного и отрицательного электродов, фрагменты сепаратора, газ высокой температуры и высокого давления, образующийся в результате реакции, пламя и т.п.
[0111] Механизм 213 сброса давления в вариантах осуществления настоящего изобретения предусмотрен на первой стенке 21а элемента 20 аккумуляторной батареи. Механизм 213 сброса давления может представлять собой часть первой стенки 21а или может представлять собой отдельную конструкцию от первой стенки 21а. Например, он закреплен на первой стенке 21а сваркой. Например, когда механизм 213 сброса давления представляет собой часть первой стенки 21а, то, например, механизм 213 сброса давления может быть образован за счет выреза на первой стенке 21а, причем толщина первой стенки 21а, соответствующая вырезу, меньше толщины других областей механизма 213 сброса давления, за исключением выреза. Вырез представляет собой самое слабое место механизма 213 сброса давления. Когда газа, генерируемого элементом 20 аккумуляторной батареи, становится слишком много, так что внутреннее давление корпуса 211 повышается и достигает порогового значения, или когда тепло, генерируемое внутренней реакцией элемента 20 аккумуляторной батареи, вызывает повышение внутренней температуры элемента 20 аккумуляторной батареи и достижение порогового значения, механизм 213 сброса давления может разрушиться в надрезе, что приводит к сообщению между внутренней и наружной частью корпуса 211, а давление и температура газа сбрасываются наружу через трещину в механизме 213 сброса давления, что позволяет избежать взрыва элемента 20 аккумуляторной батареи.
[0112] В другом примере механизм 213 сброса давления может представлять собой конструкцию, отделенную от первой стенки 21а. Механизм 213 сброса давления может представлять собой взрывозащищенный клапан, газовый клапан, клапан сброса давления или предохранительный клапан и т.д., и в нем может специально применяться чувствительный к давлению или температуре элемент или конструкция. То есть, когда внутреннее давление или температура элемента 20 аккумуляторной батареи достигает заданного порогового значения, механизм 213 сброса давления выполняет действие или слабая конструкция, предусмотренная в механизме 213 сброса давления, разрушается, чтобы образовать отверстие или канал для выпуска внутреннего давления или температуры.
[0113] Следует понимать, что, как показано на фиг.2, электрическая полость 11а в вариантах осуществления настоящего изобретения применяется для размещения элементов 20 аккумуляторной батареи, т.е. электрическая полость 11а обеспечивает монтажное пространство для элементов 20 аккумуляторной батареи. Электрическая полость 11а может быть герметизированной или негерметизированной. Форма электрической полости 11а может зависеть от одного или более элементов 20 аккумуляторной батареи и компонентов 12 шины, размещенных в ней. Например, на фиг.2 в качестве примера электрическая полость 11а представлена в виде прямоугольного параллелепипеда, однако варианты осуществления настоящего изобретения не ограничиваются этим.
[0114] Когда в элементе 20 аккумуляторной батареи возникает тепловой разгон или другие ненормальные условия, выбросы высокой температуры и высокого давления, образующиеся внутри элемента аккумуляторной батареи, выпускаются в направлении, где элемент 20 аккумуляторной батареи оснащен механизмом сброса 213 давления. Мощность и разрушительная сила таких выбросов обычно очень большие, и если предусмотрен только один проход, существует вероятность прорыва выбросами конструкции прохода или одной или более конструкций вокруг прохода, что вызывает дополнительные проблемы с безопасностью. Таким образом, коробчатый корпус 11 аккумуляторной батареи 10 согласно вариантам осуществления настоящего изобретения включает в себя электрическую полость 11а для размещения элементов аккумуляторной батареи, причем аккумуляторная батарея 10 дополнительно включает в себя первый проход 15 и второй проход 16. Первый проход 15 и второй проход 16 могут сообщаться с внутренней частью элемента 20 аккумуляторной батареи через механизм 213 сброса давления при приведении в действие механизма 213 сбросадавления. Первый проход 15 может обеспечивать выпуск выбросов, выпускаемых из механизма 213 сброса давления, в электрическую полость 11а, а второй проход 16 применяется для выпуска выбросов, выпускаемых из механизма 213 сброса давления, из электрической полости 11а. Таким образом, выбросы, выпускаемые через механизм 213 сброса давления, могут выпускаться через два прохода одновременно, что может ускорить выпуск и снизить риск взрыва аккумуляторной батареи 10.
[0115] Следует понимать, что, как показано на фиг.2, электрическая полость 11 в вариантах осуществления настоящего изобретения также может применяться для размещения компонента 12 шины, т.е. электрическая полость 11а обеспечивает монтажное пространство для элементов 20 аккумуляторной батареи и компонента 12 шины. Компонент 12 шины выполнен с возможностью реализации электрического соединения между множеством элементов 20 аккумуляторной батареи, такого как параллельное соединение, последовательное соединение или последовательно-параллельное соединение. Компонент 12 шины может реализовать электрическое соединение между элементами 20 аккумуляторной батареи путем соединения электродных клемм 214 элементов 20 аккумуляторной батареи. В некоторых вариантах осуществления компонент 12 шины может быть прикреплен к электродным клеммам 214 элементов 20 аккумуляторной батареи с помощью сварки.
[0116] Элемент 20 аккумуляторной батареи может включать в себя две электродных клеммы 214, причем электродные клеммы 214 представляют собой клемму 214а положительного электрода и клемму 214b отрицательного электрода соответственно. Электродная клемма 214 в вариантах осуществления настоящего изобретения применяется для электрического соединения с выводом электродного узла внутри элемента 20 аккумуляторной батареи для вывода электроэнергии. Две электродных клеммы 214 в вариантах осуществления настоящего изобретения могут быть расположены на одной и той же стенке или на разных стенках элемента 20 аккумуляторной батареи.
[0117] Необязательно, как показано на фиг.2, коробчатый корпус 11согласно варианту осуществления настоящего изобретения может дополнительно включать в себя: полость 11b сбора для сбора и/или очистки выбросов, выпускаемых через второй проход 16 при приведении в действие механизма 213 сброса давления, а затем выпуска выбросов за пределы аккумуляторной батареи 10. Полость 11b сбора применяется для сбора выбросов и может быть герметизированной или негерметизированной. В некоторых вариантах осуществления полость 11b сбора может содержать воздух или другие газы. Необязательно полость 11b сбора может содержать жидкость, такую как охлаждающая среда, или может быть предусмотрен компонент для размещения жидкости для дополнительного охлаждения выбросов, поступающих в полость 11b сбора. Кроме того, необязательно газ или жидкость в полости 11b сбора могут циркулировать.
[0118] Необязательно, как показано на фиг.2, аккумуляторная батарея 10 в вариантах осуществления настоящего изобретения дополнительно включает в себя: изолирующий компонент 13 для изоляции электрической полости 11а и полости 11b сбора. Так называемая «изоляция» в настоящем документе относится к разделению, которое может не быть герметичным. В частности, электрическая полость 11а и полость 11b сбора изолированы изолирующим компонентом 13, т.е электрическая полость 11а для размещения элементов 20 аккумуляторной батареи и компонент 12 шины отделены от полости 11b сбора для сбора выбросов.
[0119] В вариантах осуществления настоящего изобретения изолирующий компонент 13 включает в себя общую стенку электрической полости 11а и полости 11b сбора. Как показано на фиг 2, изолирующий компонент 13 (или его часть) можно применять непосредственно в качестве общей стенки для электрической полости 11а и полости 11b сбора, так что расстояние между электрической полостью 11а и полостью 11b сбора может быть уменьшено насколько это возможно, тем самым сэкономив место и повысив использование пространства коробчатого корпуса 11.
[0120] Необязательно изолирующий компонент 13 в вариантах осуществления настоящего изобретения может представлять собой компонент управления тепловым режимом, причем компонент управления тепловым режимом применяется для регулирования температуры элементов 20 аккумуляторной батареи. В частности, изолирующий компонент 13 может применяться для размещения текучей среды для регулирования температуры элементов 20 аккумуляторной батареи. В случае охлаждения элемента 20 аккумуляторной батареи изолирующий компонент13 может содержать охлаждающую среду для регулирования температуры элемента 20 аккумуляторной батареи. В этом случае изолирующий компонент 13 может также называться охлаждающим компонентом, системой охлаждения или охлаждающей плитой. Кроме того, изолирующий компонент 13 также можно применять для обогрева, что не ограничивается вариантами осуществления настоящего изобретения Необязательно текучая среда в изолирующем компоненте 13 может течь циркулирующим образом для обеспечения лучшего эффекта регулирования температуры.
[0121] Следует понимать, что коробчатый корпус 11 в вариантах осуществления настоящего изобретения может быть реализован различными способами, что не ограничивается вариантами осуществления настоящего изобретения. Например, на фиг.2 в качестве примера для электрической полости 11а коробчатый корпус 11 может включать в себя первый кожух 110 с отверстием, причем изолирующий компонент 13 закрывает отверстие первого кожуха ПО, так что стенка для образования электрической полости 11а включает в себя первый кожух ПО и изолирующий компонент 13. Среди прочего, первый кожух 110 также может быть реализован различными способами. Например, первый кожух ПО может представлять собой полую цельную конструкцию с открытым концом; или первый кожух ПО может также включать в себя первую часть и вторую часть с отверстиями на противоположных сторонах, причем первая часть закрывает отверстие на одной стороне второй части для образования первого кожуха ПО с открытым концом, а изолирующий компонент 13 закрывает отверстие на другой стороне второй части для образования электрической полости 11а. Для соответствующей полости 11b сбора коробчатый корпус 11 также может включать в себя: защитный элемент 14. Защитный элемент 14 применяется для защиты изолирующего компонента 13, причем защитный элемент 14 может образовывать полость 11b сбора с изолирующим компонентом 13, т.е. стенка полости 11b сбора включает в себя защитный элемент 14 и изолирующий компонент 13.
[0122] В качестве другого примера, в отличие от вышеупомянутого способа, показанного на фиг.2, коробчатый корпус 11 может также включать в себя закрытый второй кожух, причем второй кожух может применяться для образования электрической полости 11а; или, за счет размещения изолирующего компонента 13 внутри кожуха электрическая полость 11а изолирована от внутренней части кожуха, и, кроме того, полость 11b сбора также может быть изолирована. Среди прочего, второй кожух также может быть реализован различными способами. Например, второй кожух может включать в себя третью часть и четвертую часть, причем одна сторона четвертой части имеет отверстие для образования полузакрытой конструкции, изолирующий компонент 13 предусмотрен внутри четвертой части, а третья часть закрывает отверстие четвертой части для образования закрытого второго кожуха.
[0123] Для простоты описания в настоящем документе в основном применяется случай 11, показанный на фиг.2, в качестве примера для описания, причем варианты осуществления настоящего изобретения не ограничиваются этим. Далее будет подробно описана аккумуляторная батарея 10 согласно вариантам осуществления настоящего изобретения со ссылкой на графические материалы.
[0124] На фиг.3 представлена структурная схема аккумуляторной батареи 10 в разобранном состоянии согласно варианту осуществления настоящего изобретения. Как показано на фиг.3, аккумуляторная батарея 10 согласно варианту осуществления настоящего изобретения может содержать: коробчатый корпус 11, причем коробчатый корпус 11 включает в себя первый кожух ПО, изолирующий компонент 13 и защитный элемент 14, причем первый кожух ПО и изолирующий компонент 13 могут применяться для образования электрической полости 11а, а изолирующий компонент 13 и защитный элемент 14 могут применяться для образования полости 11b сбора. В частности, как показано на фиг.3, первый кожух ПО также включает в себя первую часть 111 и вторую часть 112 с отверстиями на противоположных сторонах, причем первая часть 111 применяется для закрытия отверстия на одной стороне второй части 112 для образования первого кожуха ПО с открытым концом, а изолирующий компонент 13 применяется для закрытия отверстия на другой стороне второй части 112 для образования электрической полости 11а.
[0125] В вариантах осуществления настоящего изобретения электрическая полость 11а имеет множество стенок, механизм 213 сброса давления расположен на первой стенке 21а элемента 20 аккумуляторной батареи, прием первая стенка 21а может представлять собой любую стенку элемента 20 аккумуляторной батареи, обращенную к электрической полости 11а. Следует понимать, что форма элемента 20 аккумуляторной батареи в вариантах осуществления настоящего изобретения может быть установлена в соответствии с практическими вариантами применения. Например, в настоящем изобретении в качестве примера для описания в основном применяется прямоугольный элемент 20 аккумуляторной батареи, однако варианты осуществления настоящего изобретения не ограничиваются этим. Например, элемент 20 аккумуляторной батареи также может быть цилиндрическим или иметь другую форму. Первая стенка 21а представляет собой стенку элемента 20 аккумуляторной батареи.
[0126] Например, электрическая полость 11а включает в себя вторую стенку 11с, причем первая стенка 21а обращена ко второй стенке 11с. Таким образом, механизм 213 сброса давления элемента 20 аккумуляторной батареи обращен к стенке электрической полости 11а вместо того, чтобы быть обращенным к другим элементам 20 аккумуляторной батареи, так что удобно разместить на стенке электрической полости 11а предохранительную конструкцию, чтобы обеспечить пространство для предотвращения деформации для механизма 213 сброса давления, что может улучшить использование пространства аккумуляторной батареи 10, а также может снизить риск теплового разгона других элементов 20 аккумуляторной батареи, вызванный тепловым разгоном элемента 20 аккумуляторной батареи, тем самым повысив безопасность аккумуляторной батареи 10.
[0127] Например, в качестве примера на фиг.3 механизм 213 сброса давления расположен на стенке элемента 20 аккумуляторной батареи, обращенной к изолирующему компоненту 13, т.е. вторая стенка 11с представляет собой изолирующий компонент 13. В частности, на фиг.4 представлен вид в разрезе аккумуляторной батареи 10, показанной на фиг.3, причем вид в разрезе перпендикулярен изолирующему компоненту 13. На фиг.5 представлена увеличенная схема области А, показанной на фиг.4. Как показано на фиг.4 и 5, механизм 213 сброса давления расположен на первой стенке 21а элемента 20 аккумуляторной батареи, причем первая стенка 21а представляет собой нижнюю стенку элемента 20 аккумуляторной батареи, вторая стенка 11с электрической полости 11а представляет собой изолирующий компонент 13, а первая стенка 21а обращена к изолирующему компоненту 13.
[0128] В качестве другого примера, отличного от показанных на фиг.3-5, на фиг.6 представлен вид в разрезе аккумуляторной батареи 10 согласно другому варианту осуществления настоящего изобретения, причем вид в разрезе перпендикулярен изолирующему компоненту 13. Например, направление вида в разрезе, показанного на фиг.6, может быть таким же, как на фиг.4. На фиг.7 показана увеличенная схема области В, показанной на фиг.6. Как показано на фиг.6 и 7, коробчатый корпус 11 дополнительно включает в себя по меньшей мере одну балку 113, причем балка 113 расположена между множеством элементов 20 аккумуляторной батареи, и балка 113 может применяться для увеличения прочности конструкции коробчатого корпуса 11. Кроме того, балка 113 также может применяться для разделения электрической полости 11а на по меньшей мере две электрические подполости. Например, когда балка 113 расположена в коробчатом корпусе 11, показанном на фиг.6 и 7, балка 113 может разделить электрическую полость 11а на левую и правую электрические подполости, тогда балка 113 также может рассматриваться как стенка электрической полости 11а.
[0129] Как показано на фиг.6 и 7, вторая стенка 11с электрической полости 11а также может представлять собой балку 133, т.е. механизм 213 сброса давления элемента 20 аккумуляторной батареи обращен к балке 113. В частности, балка 113 может представлять собой полую конструкцию, причем указанная полая конструкция может применяться для образования полости 11b сбора, т.е. балка 113 включает в себя общую стенку электрической полости 11а и полости 11b сбора. В частности, как показано на фиг.6 и 7, изолирующий компонент 13 и защитный элемент 14 могут применяться для образования части полости 11b сбора, причем полая конструкция балки 113 также может применяться для образования части полости 11b сбора. То есть часть полости 11b сбора, образованная изолирующим компонентом 13 и защитным элементом 14, сообщается с полой конструкцией балки 113. Таким образом, когда механизм 213 сбросадавления расположен по направлению к балке 113, т.е. когда балка 113 действует как вторая стенка 11с, обращенная к первой стенке 21а, где расположен механизм 213 сброса давления, выбросы, выпущенные через механизм 213 сброса давления могут проходить через балку 113 и попадать в полость 11b сбора.
[0130] Следует понимать, что по меньшей мере часть первого прохода 15 в вариантах осуществления настоящего изобретения может быть расположена между первой стенкой 21а и второй стенкой 11с, причем первый проход 15 может быть реализован различными способами. Например, как показано на фиг.3-5 аккумуляторная батарея 10 дополнительно содержит соединительную конструкцию 151, причем соединительная конструкция 151 расположена между первой стенкой 21а и второй стенкой 11с, и соединительная конструкция 151 применяется для образования по меньшей мере части первого прохода 15. Реализация по меньшей мере части первого прохода 15 через соединительную конструкцию 151 может, с одной стороны, повысить конструкционную устойчивость между первой стенкой 21а и второй стенкой 11с, особенно когда элемент 20 аккумуляторной батареи не имеет теплового разгона, причем соединительная конструкция 151 может применяться для осуществления относительной фиксации между первой стенкой 21а и второй стенкой 11с или может также обеспечивать герметичность между первой стенкой 21а и второй стенкой 11с; с другой стороны, рационально выбрав конкретную форму и положение соединительной конструкции 151, можно отрегулировать положение первого прохода 15, а затем реализовать направленный выпуск выбросов через первый проход 15, таким образом повысив безопасность аккумуляторной батареи 10.
[0131] Для другого примера, как показано на фиг.6 и 7, первое пространство 152 предусмотрено между второй стенкой 11с и первой стенкой 21а, причем первый проход 15 включает в себя первое пространство 152. Первый проход 15 реализован через первое пространство 152. С одной стороны, это легко реализовать, и нет необходимости добавлять другие компоненты, что позволяет сэкономить место; с другой стороны, первое пространство 152 предусмотрено между первой стенкой 21а и второй стенкой 11с, что может уменьшить требования к герметизации электрической полости 11а, особенно требования к герметизации второй стенки 11с, тем самым снизив сложность обработки аккумуляторной батареи 10 и повысив эффективность обработки аккумуляторной батареи 10.
[0132] Следует понимать, что способ реализации по меньшей мере части первого прохода 15 через соединительную конструкцию 151 и способ реализации по меньшей мере части первого прохода 15 через первое пространство 152 можно применять по отдельности или в сочетании друг с другом. Например, первый проход 15 может быть реализован через соединительную конструкцию 151 и первое пространство 152 вместе. Варианты осуществления настоящего изобретения не ограничиваются этим.
[0133] Далее соединительная конструкция 151 варианта осуществления настоящего изобретения будет подробно описана со ссылкой на графические материалы. Среди прочего, для удобства описания, в вариантах осуществления настоящего изобретения в основном применяется изолирующий компонент 13 в качестве второй стенки 11с в качестве примера, однако варианты осуществления настоящего изобретения не ограничиваются этим. Соответствующее описание также применимо к случаю, когда балка 113 применяется в качестве второй стенки 11с, что для краткости здесь повторяться не будет.
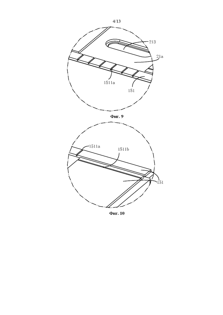
[0134] В вариантах осуществления настоящего изобретения соединительная конструкция 151 может реализовывать по меньшей мере часть первого прохода 15 различными способами. Например, соединительная конструкция 151 согласно вариантам осуществления настоящего изобретения снабжена первым проточным каналом 1511, причем первый проход 15 включает в себя первый проточный канал 1511. Выбросы, выпускаемые через механизм 213 сброса давления, могут выпускаться в электрическую полость 11а через первый проточный канал 1511. Таким образом, рационально выбрав положение первого проточного канала 1511, можно реализовать направленный выпуск выбросов и снизить влияние выбросов на отдельные компоненты в электрической полости 11а, тем самым повысив безопасность аккумуляторной батареи 10.
[0135] В частности, на фиг.8 представлена частичная структурная схема аккумуляторной батареи 10 согласно варианту осуществления настоящего изобретения. Например, на фиг.8 может быть представлена частичная структурная схема аккумуляторной батареи 10, показанной на фиг.3; на фиг.8 представлен схематический вид сверху аккумуляторной батареи 10; на фиг.9 представлен увеличенный вид области С, показанной на фиг.8, а на фиг.10 представлен увеличенный вид области D, показанной на фиг.8. Как показано на фиг.8-10, первый проточный канал 1511 согласно вариантам осуществления настоящего изобретения включает в себя сквозные отверстия и/или канавки, проходящие через соединительную конструкцию 151, что не только облегчает обработку, но также позволяет быстро проходить выбросам.
[0136] Следует понимать, что размер первого проточного канала 1511 в вариантах осуществления настоящего изобретения может быть выбран в соответствии с фактическими вариантами применения. Например, радиальный размер первого проточного канала 1511 меньше или равен 2 мм, а радиальное направление перпендикулярно направлению потока выбросов в первом проточном канале 1511, чтобы предотвратить слишком большой размер первого проточного канала 1511, чтобы можно было избежать протекания чрезмерных выбросов через первый проточный канал 1511, и также можно было предотвратить протекание частиц выбросов слишком большого размера через первый проточный канал 1511. Это оказывает фильтрующее действие на выбросы, тем самым снижая влияние выбросов элемента 10 аккумуляторной батареи с тепловым разгоном на другие элементы 20 аккумуляторной батареи, таким образом предотвратив, насколько это возможно, тепловую диффузию аккумуляторной батареи 10. В частности, если первый проточный канал 1511 представляет собой сквозное отверстие, радиальный размер первого проточного канала 1511 может представлять собой максимальное значение отверстия первого проточного канала 1511; если первый проточный канал 1511 представляет собой канавку, то радиальный размер первого проточного канала 1511 может представлять собой максимальное значение глубины канавки или ширины канавки, однако варианты осуществления настоящего изобретения не ограничиваются этим.
[0137] Следует понимать, что в первом проточном канале 1511 могут быть предусмотрены наполнители, причем наполнители применяются для герметизации первого проточного канала 1511, когда механизм 213 сбросадавления не приводится в действие, и разрушаются при приведении в действие механизма 213 сброса давления, так что первый проточный канал 1511 разблокируется. Таким образом, когда не происходит теплового разгона элемента 20 аккумуляторной батареи, герметичность электрической полости 11а могут быть повышена, чтобы предотвратить воздействие на элемент 20 аккумуляторной батареи или его повреждение Материал наполнителя может быть выбран в соответствии с фактическими вариантами применения. Например, материал наполнителя может включать пенополистирол и/или пластик, однако варианты осуществления настоящей заявки не ограничиваются этим.
[0138] В вариантах осуществления настоящего изобретения на фиг.8-10 в качестве примера приведен первый проточный канал 1511, представляющий собой канавку, выполненную на соединительной конструкции 151. Как показано на фиг.8-10, соединительная конструкция 151 может включать в себя множество первых проточных каналов 1511, причем множество первых проточных каналов 1511 может включать в себя: канавки, предусмотренные на поверхности соединительной конструкции 151, обращенной к первой стенке 21а (т.е. отверстие канавки обращено к поверхности первой стенки 21а); и/или канавки, предусмотренные на поверхности соединительной конструкции 151, обращенной ко второй стенке 11с (т.е. отверстие канавки обращено ко второй стенке 11с).
[0139] В некоторых вариантах осуществления соединительная конструкция 151 снабжена множеством первых проточных каналов 1511, проходящих по меньшей мере в одном направлении, причем по меньшей мере одно направление параллельно первой стенке 21а. То есть множество первых проточных каналов 1511, проходящих в одном или более направлениях, предусмотрено на большей поверхности соединительной конструкции 151. Расположение множества первых проточных каналов 1511 может рассредоточить направления выпуска выбросов и предотвратить повреждение компонентов в одном направлении, когда высокотемпературные выбросы выпускаются в этом направлении.
[0140] Следует понимать, что направление прохождения первого проточного канала 1511 в вариантах осуществления настоящего изобретения может быть выбрано в соответствии с фактическими вариантами применения. Например, в соответствии с позиционным соотношением между электродной клеммой 214 элемента 20 аккумуляторной батареи и механизмом 213 сброса давления направление прохождения первого проточного канала 1511 может быть рационально выбрано, чтобы избежать влияния выбросов на электродную клемму 214 и компонент 12 шины, подключенный к электродной клемме 214.
[0141] В некоторых вариантах осуществления, как показано на фиг.8-10, если электродная клемма 214 и механизм 213 сброса давления не расположены на одной и той же стенке, а стенка, на которой расположена электродная клемма 214, не пересекается с первой стенкой 21а, например, когда стенка, на которой электродная клемма 214 расположена напротив первой стенки 21а, направление прохождения первого проточного канала 1511 не может быть ограничено. Например, соединительная конструкция 151 может быть снабжена одним или более первыми проточными каналами 1511а в направлении X, проходящими вдоль первого направления X; в другом примере соединительная конструкция 151 может быть снабжена одним или более первыми проточными каналами 1511b в направлении Y, проходящими вдоль второго направления Y, причем первое направление X и второе направление Y перпендикулярны друг другу; или соединительная конструкция 151 может также включать в себя первые проточные каналы 1511 в других направлениях, однако варианты осуществления настоящего изобретения не ограничиваются этим.
[0142] В некоторых вариантах осуществления, отличных от представленных на фиг.8-10, если электродная клемма 214 расположена на третьей стенке 21b элемента 20 аккумуляторной батареи, и третья стенка 21b пересекается с первой стенкой 21а, по меньшей мере одно направление включает в себя первое направление X. Первое направление X параллельно третьей стенке 21b, т.е. первое направление X не может быть перпендикулярно третьей стенке 21b, чтобы предотвратить протекание выбросов к третьей стенке 21b через первый проточный канал 1511 и предотвратить воздействие выбросов на электродную клемму 214 на третьей стенке 21b. Например, можно предотвратить короткое замыкание между различными компонентами 12 шины, соединяющими электродные клеммы 214, вызванное металлической стружкой в выбросах, тем самым повысив безопасность аккумуляторной батареи 10.
[0143] Например, на фиг.11 представлена другая частичная структурная схема аккумуляторной батареи 10 согласно варианту осуществления настоящего изобретения. Как показано на фиг.10, по сравнению с фиг.8 видно, что электродная клемма 214 расположена на третьей стенке 21b элемента 20 аккумуляторной батареи, показанного на фиг.10, соединительная конструкция 151 не включает в себя первый проточный канал 1511b в направлении Y, проходящий во втором направлении Y, второе направление Y перпендикулярно третьей стенке 21b, однако соединительная конструкция 151 может включать в себя один или более первых проточных каналов 1511а в направлении X, проходящих вдоль первого направления X, причем первое направление X параллельно третьей стенке 21b.
[0144] Следует понимать, что, как показано на фиг.8-11 соединительная конструкция 151 согласно варианту осуществления настоящего изобретения включает в себя термопрокладку и/или герметизирующую прокладку, расположенную между первой стенкой 21а и второй стенкой 11с. В частности, соединительная конструкция 151 включает в себя термопрокладку, расположенную между первой стенкой 21а и второй стенкой 11с, причем термопрокладка может рассеивать тепло от элементов 20 аккумуляторной батареи во время применения аккумуляторной батареи 10. Например, когда вторая стенка 11с представляет собой компонент управления тепловым режимом, тепло элемента 20 аккумуляторной батареи может передаваться компоненту управления тепловым режимом через термопрокладку, чтобы своевременно регулировать температуру элемента 20 аккумуляторной батареи для обеспечения нормального применения элемента 20 аккумуляторной батареи. Например, как показано на фиг.8-10, соединительная конструкция 151 может включать в себя термопрокладку, причем термопрокладка может представлять собой часть, снабженную множеством первых проточных каналов 1511b в направлении Y, проходящих вдоль второго направления Y, показанного на фигуре.
[0145] Кроме того, когда соединительная конструкция 151 включает в себя герметизирующую прокладку, герметичность между первой стенкой 21а и второй стенкой 11с может быть повышена. Например, как показано на фиг.8-11, соединительная конструкция 151 может включать в себя герметизирующую прокладку, причем герметизирующая прокладка может представлять собой часть со множеством первых проточных каналов 1511а в направлении X, проходящих вдоль первого направления X, показанного на фигуре. Как показано на фиг.8-11, герметизирующая прокладка может быть расположена на по меньшей мере одной боковой кромке термопрокладки, например, герметизирующая прокладка может быть соответственно расположена на двух противоположных боковых кромках термопрокладки для повышения герметичности между первой стенкой 21а и второй стенкой 11с.
[0146] Следует понимать, что расстояние между герметизирующей прокладкой и термопрокладкой в вариантах осуществления настоящего изобретения меньше или равно 2 мм, так что пространство между герметизирующей прокладкой и термопрокладкой можно применять в качестве первого проточного канала 1511 для направления выбросов на выпуск.
[0147] Материал термопрокладки и материал герметизирующей прокладки в вариантах осуществления настоящего изобретения можно выбирать в соответствии с фактическими вариантами применения. Например, материал термопрокладки может включать в себя термосиликагель. В другом примере материал герметизирующей прокладки включает в себя по меньшей мере один из следующих материалов: силиконовый каучук, полипропилен (РР), полифторалкокси (PFA) и полиимид (PI).
[0148] В вариантах осуществления настоящего изобретения соединительная конструкция 151 также может образовывать по меньшей мере часть первого прохода 15 другими способами. Например, соединительная конструкция 151 выполнена с возможностью разрушения при приведении в действие механизма 213 сброса давления, так что между первой стенкой 21а и второй стенкой 11с образуется второе пространство, причем первый проход 15 включает в себя второе пространство. При рациональном выборе материала соединительной конструкции 151 соединительная конструкция 151 может быть разрушена при приведении в действие механизма 213 сброса давления, тем самым образуя второе пространство без дополнительной обработки соединительной конструкции 151, что является более удобным, а также может обеспечить герметичность элемента 20 аккумуляторной батареи при нормальном применении.
[0149] В частности, в вариантах осуществления настоящего изобретения разрушение соединительной конструкции 151 может включать в себя разрушение по меньшей мере части соединительной конструкции 151. Например, при приведении в действие механизма 213 сброса давления, может быть разрушена только наружная сторона соединительной конструкции 151, а часть внутренних компонентов соединительной конструкции 151 открыта и не разрушена; или внутренняя конструкция соединительной конструкции 151 разрушена, например, соединительная конструкция 151 может представлять собой многослойную конструкцию, и некоторые конструкционные слои в многослойной конструкции разрушены; или соединительная конструкция 151 может быть полностью разрушена, что не ограничивается вариантами осуществления настоящего изобретения.
[0150] Следует понимать, что соединительная конструкция 151 согласно вариантам осуществления настоящего изобретения может быть разрушена при приведении в действие механизма 213 сброса давления, что может быть достигнуто различными способами. Например, соединительная конструкция 151 может включать в себя область с низкой конструкционной прочностью, так что при приведении в действие механизма 213 сброса давления соединительная конструкция 151 разрушается силой удара выбросов по соединительной конструкции 151.
[0151] В другом примере соединительная конструкция 151 включает в себя плавкий слой, расположенный между первой стенкой 21а и второй стенкой 11с, причем плавкий слой плавится при приведении в действие механизма 213 сброса давления, так что образуется второе пространство между первой стенкой 21а и второй стенкой 11с. Поскольку выбросы, выпускаемые через механизм 213 сброса давления, представляют собой высокотемпературные выбросы, плавкий слой может расплавиться при тепловом разгоне элемента 20 аккумуляторной батареи с образованием второго пространства, и его нелегко разрушить при нормальном применении элемента 20 аккумуляторной, что может обеспечить безопасность и стабильность аккумуляторной батареи 10.
[0152] Необязательно толщина плавкого слоя может быть выбрана в соответствии с фактическими вариантами применения. Например, толщина плавкого слоя составляет от 0,5 мм до 3 мм. То есть толщина плавкого слоя обычно больше или равна 0,5 мм, чтобы предотвратить слишком малое второе пространство, образованное после плавления плавкого слоя, или даже неспособность образовать эффективное второе пространство, тем самым предотвращая слишком малый первый проход 15, препятствующий выпуску выбросов, что дополнительно защищает аккумуляторную батарею 10 от взрыва. Кроме того, толщина плавкого слоя обычно меньше или равна 3 мм, чтобы избежать того, что, когда толщина плавкого слоя слишком велика, расплавленная часть будет слишком большой, т.е. образованное второе пространство будет слишком большим, что приведет к выпуску большого количества выбросов в электрическую полость 11а через второе пространство. Это может привести к значительному повреждению электрической полости 11а и, в частности, к короткому замыканию различных компонентов 12 шины, что повлияет на безопасность аккумуляторной батареи 10.
[0153] Следует понимать, что соединительная конструкция 151 в вариантах осуществления настоящего изобретения может представлять собой многослойную конструкцию по направлению толщины, а плавкий слой может быть расположен в любом слое многослойной конструкции. Например, плавкий слой может включать связующее для фиксации. Например, как показано на фиг.8-11, соединительная конструкция 15 может включать в себя термопрокладку, причем термопрокладка может быть прикреплена к первой стенке 21а элемента 20 аккумуляторной батареи с помощью связующего, причем связующее может быть разрушено при приведении в действие механизма 213 сброса давления, чтобы образовать второе пространство.
[0154] Необязательно материал связующего в вариантах осуществления настоящего изобретения может быть выбран в соответствии с фактическими вариантами применения. Например, материал связующего включает по меньшей мере одно из следующего: эпоксидный конструкционный клей, акрилатный конструкционный клей, полиимидный конструкционный клей, малеимидный конструкционный клей, полиуретановый конструкционный клей и акриловый клей. В другом примере материал слоя связующего включает в себя полимерный клей и теплопроводный материал, причем материал полимерного клея включает в себя по меньшей мере одно из следующего: эпоксидную смолу, органический силикагель и полиимид, а теплопроводный материал включает в себя по меньшей мере одно из следующего: Аl2O3, ZnO, BeO, AlN, Si3N4, BN, SiC, В4С, углеродные нанотрубки и графитовые нанолисты, однако варианты осуществления настоящего изобретения не ограничиваются этим.
[0155] Следует понимать, что способ, посредством которого вышеупомянутая соединительная конструкция 151 снабжена первым проточным каналом 1511, образующим по меньшей мере часть первого прохода 15, и способ, посредством которого соединительная конструкция 151 разрушается при приведении в действие механизма 213 сброса давления для образования второго пространства, включенного в первый проход, могут применяться независимо или в сочетании друг с другом, что не ограничивается вариантами осуществления настоящего изобретения. Например, как показано на фиг.8-11, соединительная конструкция 151 снабжена первым проточным каналом 1511, при этом соединительная конструкция 151 может также включать в себя плавкий слой, так что при приведении в действие механизма 213 сброса давления по меньшей мере часть плавкого слоя плавится с образованием второго пространства.
[0156] На фиг.12 показан схематический вид другой частичной конструкции аккумуляторной батареи 10 в разобранном состоянии согласно варианту осуществления настоящего изобретения, причем на фиг.12 в качестве примера приведена вторая стенка 11с, представляющая собой изолирующий компонент 13, а на фиг.12 показано, что соединительная конструкция 151 расположена на первой стенке 21а элемента 20 аккумуляторной батареи. На фиг.13 представлен увеличенный вид области Е, показанной на фиг.12. На фиг.14 представлен схематический вид другой частичной конструкции аккумуляторной батареи 10 в разобранном состоянии согласно варианту осуществления настоящего изобретения, причем аккумуляторная батарея 10, показанная на фиг.14, согласуется с батареей 10, показанной на фиг.12; в обоих случаях в качестве примера приведена вторая стенка 11с, представляющая собой изолирующий компонент 13, но разница заключается в том, что на фиг.14 показан случай, когда соединительная конструкция 151 расположена на изолирующем компоненте 13. На фиг.15 представлен увеличенный вид области F, показанной на фиг.14.
[0157] В вариантах осуществления настоящего изобретения, как показано на фиг.12-15 соединительная конструкция 151 снабжена предохранительной областью 1512, соответствующей механизму 213 сброса давления, причем предохранительная область 1512 применяется для обеспечения пространства деформации для механизма 213 сброса давления, когда он приводится в действие, чтобы предотвратить закрытие соединительной конструкцией 151 механизма213 сброса давления, вызывающее замедленное срабатывание механизма 213 сброса давления, тем самым обеспечив быстрый выпуск выбросов через механизм 213 сброса давления.
[0158] Следует понимать, что предохранительная область 1512, расположенная в соединительной конструкции 151, может применяться для обеспечения пространства деформации для механизма 213 сброса давления, поэтому после того, как выбросы, проходящие через механизм 213 сброса давления, выводятся из элемента 20 аккумуляторной батареи, выбросы будут выходить через предохранительную область 1512, так что предохранительную область 1512 можно рассматривать как по меньшей мере часть первого прохода 15, а излучения могут выпускаться в электрическую полость 11а через предохранительную область 1512.
[0159] Как показано на фиг.12-15, предохранительная область 1512 соответствует по меньшей мере двум механизмам 213 сброса давления. Учитывая, что множество элементов 20 аккумуляторной батареи в аккумуляторной батарее 10 обычно располагаются в определенном порядке, предохранительная область 1512 может соответствовать множеству механизмов 213 сброса давления одновременно для облегчения обработки. Например, предохранительная область 1512, предусмотренная на соединительной конструкции 151, может представлять собой открытую область, причем указанная открытая область может соответствовать ряду элементов 20 аккумуляторной батареи, однако варианты осуществления настоящего изобретения не ограничиваются этим.
[0160] Следует понимать, что, как показано на фиг.12-15, аналогично предохранительной области 1512, вторая стенка 11с в вариантах осуществления настоящего изобретения снабжена областью 114 сброса давления, соответствующей механизму 213 сброса давления, причем область 114 сброса давления применяется для образования по меньшей мере части второго прохода 16. То есть выбросы могут выходить из электрической полости 11а через область 114 сброса давления, например, выбросы могут выпускаться в полость 11b сбора через область 114 сброса давления.
[0161] В вариантах осуществления настоящего изобретения, как показано на фиг.12-15, соединительная конструкция 151 дополнительно включает в себя: блокирующую конструкцию 1513, расположенную между первой стенкой 21а и второй стенкой 11с и расположенную вокруг механизма 213 сброса давления. Блокирующая конструкция 1513 применяется для предотвращения попадания выбросов, выпускаемых через механизм 213 сброса давления, на электродные клеммы 214 элемента 20 аккумуляторной батареи. Поскольку соединительная конструкция 151 может применяться для образования по меньшей мере части первого прохода 15, первый проход 15 выпускает выбросы, проходящие через механизм 213 сброса давления, в электрическую полость 11а, причем электродные клеммы 214 также расположены в электрической полости 11а, если выбросы выпускаются на компонент 12 шины, соединяющий электродные клеммы 214, можно легко вызвать короткое замыкание различных компонентов 12 шины, что вызовет вторичное повреждение аккумуляторной батареи 10 и даже приведет к взрыву аккумуляторной батареи 10. Таким образом, за счет обеспечения блокирующей конструкции 1513 можно избежать взрыва аккумуляторной батареи 10 и повысить безопасность аккумуляторной батареи 10. Кроме того, когда соединительная конструкция 151 включает в себя связующее, блокирующая конструкция 1513 согласно варианту осуществления настоящего изобретения также может применяться для предотвращения перетекания связующего.
[0162] Следует понимать, что блокирующая конструкция 1513, расположенная вокруг механизма 213 сброса давления в вариантах осуществления настоящего изобретения, может включать в себя: блокирующую конструкцию 1513, расположенную по меньшей мере на одной стороне механизма 213 сброса давления. Например, как показано на фиг.12-15, блокирующая конструкция 1513 может быть расположена на одной стороне механизма 213 сброса давления, и такая же блокирующая конструкция 1513 может быть расположена вокруг механизмов 213 сброса давления, расположенных в одном ряду вдоль первого направления X, для облегчения монтажа.
[0163] Кроме того, как показано на фиг.12 15, блокирующая конструкция 1513 может применяться для образования предохранительной области 1512. Например, блокирующая конструкция 1513 может применяться для образования по меньшей мере одной стороны предохранительной области 1512, чтобы облегчить обработку и снизить сложность обработки соединительной конструкции 151.
[0164] В частности, как приведено на фиг.12-15 в качестве примера, электродная клемма 214 расположена на третьей стенке 21b элемента 20 аккумуляторной батареи, причем третья стенка 21b пересекается с первой стенкой 21а, а блокирующая конструкция 1513 расположена на стороне механизма 213 сброса давления рядом с электродной клеммой 214. Таким образом, при приведении в действие механизма 213 сброса давления, выбросы блокируются блокирующей конструкцией 1513, так что никакие выбросы не могут пройти через блокирующую конструкцию 1513 и достичь третьей стенки 21b (или только очень небольшое количество выбросов может пройти блокирующую конструкцию 1513 и достичь третьей стенки 21b), тем самым снизив риск короткого замыкания компонентов 12 шины и повысив безопасность аккумуляторной батареи 10.
[0165] Необязательно материал блокирующей конструкции 1513 в вариантах осуществления настоящего изобретения может быть выбран в соответствии с фактическими вариантами применения. Например, принимая во внимание, что выбросы, выпускаемые при тепловом разгоне элемента 20 аккумуляторной батареи, обычно представляют собой выбросы высокой температуры и высокого давления, материал блокирующей конструкции 1513 включает по меньшей мере одно из следующего: алюминий, сталь, твердый пластик, керамический материал и слюда, чтобы гарантировать, что блокирующая конструкция 1513 не будет разрушена настолько, насколько это возможно, тем самым не допустив влияния блокирующего эффекта блокирующей конструкции 1513 и избежав отказа блокирующей конструкции 1513.
[0166] В некоторых вариантах осуществления вторая стенка 11с согласно варианту осуществления настоящего изобретения дополнительно включает в себя зажимную канавку 131. Например, когда вторая стенка 11с представляет собой изолирующий компонент 13, поверхность изолирующего компонента 13, обращенная к элементу 20 аккумуляторной батареи, может быть снабжена зажимной канавкой 131 для облегчения монтажа и расположения блокирующей конструкции 1513, тем самым повысив эффективность монтажа.
[0167] Следует понимать, что в вышеуказанных графических материалах в качестве примера в основном приведен случай, когда механизм 213 сброса давления и электродная клемма 214 элемента 20 аккумуляторной батареи расположены на разных стенках, однако соответствующие описания также применимы к случаю, когда механизм 213 сброса давления и электродная клемма 214 расположены на одной и той же стенке. Кроме того, в каждом из вышеуказанных графических материалах в качестве примера в основном приведена соединительная конструкция 151, представляющая собой сплошную конструкцию, однако соответствующие описания также применимы к полой конструкции, что не ограничивается вариантами осуществления настоящего изобретения.
[0168] Например, на фиг.16 представлена структурная схема еще одной аккумуляторной батареи 10 в разобранном виде согласно варианту осуществления настоящего изобретения. Здесь вторая стенка 11с по-прежнему применяется, например, в качестве изолирующего компонента 13, и при сравнении фиг.16 с предыдущими графическими материалами разница состоит в том, что на фиг.16 механизм 213 сброса давления и электродная клемма 214 расположены на одной и той же стенке, и, соответственно, соединительные конструкции 151 тоже разные. На фиг.17 представлен вид в разрезе аккумуляторной батареи 10, показанной на фиг.16, причем вид в разрезе перпендикулярен изолирующему компоненту 13. На фиг.18 представлена схема соединительной конструкции 151, входящей в состав аккумуляторной батареи 10, показанной на фиг.16. На фиг.19 представлена схема соединительной конструкции 151 и изолирующего компонента 13, входящих в состав аккумуляторной батареи 10, показанной на фиг.16.
[0169] Как показано на фиг.16-19, аккумуляторная батарея 10 включает в себя множество элементов 20 аккумуляторной батареи, расположенных вдоль первого направления X, причем первое направление X также является направлением расположения множества механизмов 213 сброса давления, входящих в состав множества элементов 20 аккумуляторной батареи. Элемент 20 аккумуляторной батареи включает в себя электродную клемму 214 электрода, расположенную на первой стенке 21а, причем электродная клемма 214 и механизм 213 сброса давления расположены вдоль второго направления Y, а первое направление X перпендикулярно второму направлению Y.
[0170] Как показано на фиг.16-19, принимая во внимание, что механизм 213 сброса давления и электродная клемма 214 расположены на одной стенке, чтобы предотвратить влияние на электродную клемму 214, соединительная конструкция 151 может быть расположена между двумя электродными клеммами 214 так, чтобы соединительная конструкция 151 не закрывала электродную клемму 214.
[0171] Кроме того, подобно вышеупомянутой соединительной конструкции 151, соединительная конструкция 151, показанная на фиг.16-19, может включать в себя множество первых проточных каналов 1511, проходящих по меньшей мере в одном направлении. Например, соединительная конструкция 151 может включать в себя множество первых проточных каналов 1511, проходящих вдоль третьего направления Z. В частности, множество первых проточных каналов 1511 соединительной конструкции 151 может быть расположено на боковой стенке соединительной конструкции 151 перпендикулярно первому направлению X. Например, первые проточные каналы 1511 могут представлять собой прорези на боковой стенке соединительной конструкции 151, чтобы выпускать небольшую часть выбросов в электрическую полость 11а и максимально предотвращать влияние выбросов на компонент 12 шины.
[0172] Кроме того, подобно вышеупомянутой соединительной конструкции 151, как показано на фиг.16-19, соединительная конструкция 151 снабжена предохранительной областью 1512 для обеспечения пространства деформации для механизма 213 сброса давления. Кроме того, стенка соединительной конструкции 151, образующая предохранительную область 1512, также может рассматриваться как блокирующая конструкция 1513, которая применяется для блокировки протекания выбросов, выпускаемых из механизма 213 сброса давления, к электродной клемме 214 и компоненту 12 шины.
[0173] Следует понимать, что материал соединительной конструкции 151 в вариантах осуществления настоящего изобретения может быть выбран в соответствии с фактическими вариантами применения. Например, материал соединительной конструкции 151 включает по меньшей мере одно из следующего: алюминий, сталь, твердый пластик, керамический материал и слюда, чтобы обеспечить прочность соединительной конструкции 151, чтобы при приведении в действие механизма 213 сброса давления соединительная конструкция 151 могла противостоять воздействию выбросов, чтобы избежать значительного разрушения, тем самым предотвратив влияние выбросов на компонент 12 шины.
[0174] В вариантах осуществления настоящего изобретения, поскольку в соединительной конструкции 151 обычно применяется материал с высокой прочностью соединения, между соединительной конструкцией 151 и элементом 20 аккумуляторной батареи также может быть предусмотрена сжимаемая пена 1514, которая, с одной стороны, может применяться для осуществления фиксации между соединительной конструкцией 151 и элементом 20 аккумуляторной батареи, а, с другой стороны, также может компенсировать монтажный допуск между соединительной конструкцией 151 и элементом 20 аккумуляторной батареи.
[0175] Вышеизложенное в основном описывает вариант реализации по меньшей мере части первого прохода 15 через соединительную конструкцию 151, а другие варианты реализации по меньшей мере части первого прохода 15 будут описаны ниже со ссылкой на графические материалы.
[0176] В частности, на фиг.20 представлена структурная схема аккумуляторной батареи 10 в разобранном состоянии в соответствии с еще одним вариантом осуществления настоящего изобретения; на фиг.21 представлен схематический вид в разрезе аккумуляторной батареи 10, показанной на фиг.20, причем вид в разрезе перпендикулярен направлению высоты Z аккумуляторной батареи 10; на фиг.22 представлен увеличенный вид области G, показанной на фиг.21. Как показано на фиг.20-22, в вариантах осуществления настоящего изобретения аккумуляторная батарея 10 включает в себя: узел 201 элементов аккумуляторной батареи, причем узел 201 элементов аккумуляторной батареи включает в себя множество элементов 20 аккумуляторной батареи, расположенных вдоль первого направления X.
[0177] Как показано на фиг.20-22, в вариантах осуществления настоящего изобретения электрическая полость 11а включает в себя четвертую стенку 11d, пересекающуюся со второй стенкой 11с, причем торцевая поверхность 2011 узла 201 элементов аккумуляторной батареи, обращенная к четвертой стенке 11d, и четвертая стенка 11d могут быть выполнены с возможностью образования по меньшей мере части первого прохода 15 между ними. В частности, четвертая стенка 11d может представлять собой любую стенку электрической полости 11а, которая пересекается со второй стенкой 11с. Например, если вторая стенка 11с представляет собой изолирующий компонент 13, четвертая стенка 11d может представлять собой любую стенку второй части 112 коробчатого корпуса 11 или четвертая стенка 11d может представлять собой балку 113. По крайней мере, часть первого прохода 15 образована четвертой стенкой 11d и торцевой поверхностью 2011 узла 201 элементов аккумуляторной батареи, которая на основе по меньшей мере части первого прохода 15, образованного между второй стенкой 11с и первой стенкой 21а, дополнительно удлиняет первый проход 15 и увеличивает путь выпуска выбросов, так что выбросы могут быть дополнительно охлаждены и отфильтрованы, а безопасность аккумуляторной батареи 10 повышена.
[0178] Следует понимать, что по меньшей мере часть первого прохода 15 может быть образована между четвертой стенкой 11d и торцевой поверхностью 2011 узла 201 элементов аккумуляторной батареи различными способами. Например, между торцевой поверхностью 2011 блока 201 элементов аккумуляторной батареи, обращенной к четвертой стенке 11d, и четвертой стенкой 11d предусмотрено третье пространство, причем первый канал 15 включает в себя третье пространство, так что по меньшей мере часть первого канала 15 реализуется через третье пространство, и нет необходимости добавлять дополнительные компоненты, что снижает сложность обработки, а также может снизить требования к герметизации между торцевой поверхностью 2011 и четвертой стенкой 11d.
[0179] В другом примере, как показано на фиг.20-22, аккумуляторная батарея 10 дополнительно включает в себя: первую разделительную конструкцию 153, расположенную между торцевой поверхностью 2011 и четвертой стенкой 11d, причем первая разделительная конструкция 153 применяется для образования по меньшей мере части первого прохода 15. Реализация по меньшей мере части первого прохода 15 через первую разделительную конструкцию 153 может, с одной стороны, повысить конструкционную устойчивость между торцевой поверхностью 2011 и четвертой стенкой 11d, особенно когда элемент 20 аккумуляторной батареи не имеет теплового разгона, причем первая разделительная конструкция 153 может применяться для осуществления относительной фиксации между торцевой поверхностью 2011 и четвертой стенкой 11d или может также обеспечивать герметичность между торцевой поверхностью 2011 и четвертой стенкой 11d; с другой стороны, рационально выбрав конкретную форму и положение первой разделительной конструкции 153, можно отрегулировать положение первого прохода 15, а затем реализовать направленный выпуск выбросов через первый проход 15, таким образом повысив безопасность аккумуляторной батареи 10.
[0180] Следует понимать, что способ реализации по меньшей мере части первого прохода 15 через первую разделительную конструкцию 153 и способ реализации по меньшей мере части первого прохода 15 через третье пространство можно применять по отдельности или в сочетании друг с другом, однако варианты осуществления настоящего изобретения не ограничиваются этим. Для простоты описания в настоящем документе в основном подробно описана первая разделительная конструкция 153 со ссылкой на графические материалы.
[0181] Следует понимать, что первая разделительная конструкция 153 в вариантах осуществления настоящего изобретения может реализовывать по меньшей мере часть первого прохода 15 различными способами. Например, как показано на фиг.20-22, первая разделительная конструкция 153 снабжена вторым проточным каналом 1531, причем первый проход 15 включает в себя второй проточный канал 1531. Выбросы, выпускаемые через механизм 213 сброса давления, могут выпускаться через второй проточный канал 1531. Таким образом, рационально выбрав положение второго проточного канала 1531, можно реализовать направленный выпуск выбросов и снизить влияние выбросов на отдельные компоненты в электрической полости 11а, например, можно предотвратить их влияние на электродные клеммы 214 и компоненты 12 шины, тем самым повысив безопасность аккумуляторной батареи 10.
[0182] В частности, второй проточный канал 1531 в вариантах осуществления настоящего изобретения может представлять собой сквозное отверстие и/или канавку, проходящую через первую разделительную конструкцию 153, что не только удобно для обработки, но и позволяет быстро проходить выбросам. Например, как показано на фиг.20-22, в качестве примера приведен второй проточный канал 1531 в виде сквозного отверстия, проходящего через первую разделительную конструкцию 153, т.е. первая разделительная конструкция 153 может представлять собой пористую конструкцию, например, первая разделительная конструкция 153 может представлять собой сотовую конструкцию.
[0183] Следует понимать, что размер второго проточного канала 1531 в вариантах осуществления настоящего изобретения может быть выбран в соответствии с фактическими вариантами применения. Например, радиальный размер второго проточного канала 1531 меньше или равен 2 мм, причем радиальное направление перпендикулярно направлению потока выбросов во втором проточном канале 1531, чтобы предотвратить слишком большой размер второго проточного канала 1531, избежать протекания чрезмерных выбросов через второй проточный канал 1531, а также предотвратить протекание частиц выбросов большого размера через второй проточный канал 1531. Второй проточный канал 1531 оказывает фильтрующее действие на выбросы и может отфильтровывать частицы большого размера, так что выбросы, которые в конечном итоге возвращаются в электрическую полость 11а, содержат более мелкие высокотемпературные частицы, а температура газа ниже, тем самым снижая влияние выбросов элемента 10 аккумуляторной батареи с термическим разгоном на другие элементы 20 аккумуляторной батареи и, насколько это возможно, избегая тепловой диффузии в аккумуляторной батарее 10, так что компоненты внутри аккумуляторной батареи 10 практически не повреждаются. В частности, если второй проточный канал 1531 представляет собой сквозное отверстие, радиальный размер второго проточного канала 1531 может представлять собой максимальное значение отверстия второго проточного канала 1531; если второй проточный канал 1531 представляет собой канавку, то радиальный размер второго проточного канала 1531 может представлять собой максимальное значение глубины канавки или ширины канавки, однако варианты осуществления настоящего изобретения не ограничиваются этим.
[0184] В вариантах осуществления настоящего изобретения наполнители могут быть предусмотрены во втором проточном канале 1531, причем наполнители применяются для герметизации второго проточного канала 1531, когда механизм 213 сброса давления не приводится в действие, и разрушаются, когда механизм 213 сброса давления приводится в действие, так что второй проточный канал 1531 разблокируется. Таким образом, когда не происходит теплового разгона элемента 20 аккумуляторной батареи, герметичность электрической полости 11а могут быть повышена, чтобы предотвратить воздействие на элемент 20 аккумуляторной батареи или его повреждение Материал наполнителя может быть выбран в соответствии с фактическими вариантами применения. Например, материал наполнителя может включать пенополистирол и/или пластик, однако варианты осуществления настоящей заявки не ограничиваются этим.
[0185] В вариантах осуществления настоящего изобретения первая разделительная конструкция 153 может быть снабжена множеством вторых проточных каналов 1531, проходящих по меньшей мере в одном направлении. В частности, направление прохождения второго проточного канала 1531 в вариантах осуществления настоящего изобретения может быть выбрано в соответствии с фактическими вариантами применения. Например, в соответствии с позиционным соотношением между электродной клеммой 214 элемента 20 аккумуляторной батареи и механизмом 213 сброса давления направление прохождения второго проточного канала 1531 может быть рационально выбрано, чтобы избежать влияния выбросов на электродную клемму 214 и компонент 12 шины, подключенный к электродной клемме 214. Например, как показано на фиг.20-22, где в качестве примера приведен механизм 213 сброса давления и электродная клемма 214, находящиеся на двух противоположных стенках, первая разделительная конструкция 153 может быть снабжена множеством проточных каналов 1531, проходящих вдоль третьего направления Z, причем третье направление Z перпендикулярно второй стенке 11с, так что выбросы проходят через второй проточный канал 1531 для обеспечения направленного выпуска, что также позволяет предотвратить их влияние на электродную клемму 214 и компонент 12 шины, соединенный с электродной клеммой 214.
[0186] Необязательно, материал первой разделительной конструкции 153 в вариантах осуществления настоящего изобретения может быть выбран в соответствии с фактическими вариантами применения. Например, принимая во внимание, что первая разделительная конструкция 153 обеспечивает функции фильтрации, поглощения тепла, охлаждения и частичного улавливания выбросов, во избежание отказа первой разделительной конструкции 153 и предотвращения значительного разрушения первой промежуточной конструкции 153 выбросами, материал первой разделительной конструкции 153 может включать по меньшей мере одно из следующего: металл, керамику, силиконовый каучук и пластик.
[0187] Следует понимать, что в вариантах осуществления настоящего изобретения по меньшей мере часть первого прохода 15 также может быть реализована другими способами. На фиг.23 представлена частичная структурная схема аккумуляторной батареи 10 согласно еще одному варианту осуществления настоящего изобретения. Как показано на фиг.23, аккумуляторная батарея 10 дополнительно включает в себя: вторую разделительную конструкцию 154, расположенную между двумя смежными элементами 20 аккумуляторной батареи, причем вторая разделительная конструкция 154 применяется для образования по меньшей мере части первого прохода 15. Вторая разделительная конструкция 154, расположенная между двумя смежными элементами 20 аккумуляторной батареи в аккумуляторной батарее 10, может применяться для компенсации расширения и деформации элементов 20 аккумуляторной батареи при нормальном применении элементов 20 аккумуляторной батареи; когда изолирующий компонент 13 под элементами 20 аккумуляторной батареи представляет собой компонент управления тепловым режимом, вторая разделительная конструкция может также применяться для блокировки влаги, создаваемой компонентом управления тепловым режимом; когда элементы 20 батареи аккумуляторной батареи подвергаются тепловому разгону, с одной стороны, вторая разделительная конструкция может блокировать тепло, передаваемое между элементами 20 аккумуляторной батареи; с другой стороны, вторая разделительная конструкция 154 может применяться для образования по меньшей мере части первого прохода 15, причем вторая разделительная конструкция 154 может обеспечивать выход небольшого количества выбросов в электрическую полость 11а, что увеличивает путь выпуска выбросов и повышает эффективность выпуска выбросов.
[0188] Следует понимать, что вторая разделительная конструкция 154 в вариантах осуществления настоящего изобретения может образовывать по меньшей мере часть первого прохода 15 различными способами. В некоторых вариантах осуществления вторая разделительная конструкция 154 выполнена с возможностью разрушения при приведении в действие механизма 213 сброса давления, так что между двумя элементами 20 аккумуляторной батареи образуется четвертое пространство, причем первый проход 15 включает в себя четвертое пространство. Таким образом, при рациональном выборе материала второй разделительной конструкции 154 вторая разделительная конструкция 154 может быть разрушена при приведении в действие механизма 213 сброса давления, тем самым образуя четвертое пространство без дополнительной обработки второй разделительной конструкции 154, что является более удобным, а также может обеспечить герметичность и стабильность элемента 20 аккумуляторной батареи при нормальном применении.
[0189] В частности, в вариантах осуществления настоящего изобретения разрушение второй разделительной конструкции 154 может включать в себя разрушение по меньшей мере части второй разделительной конструкции 154. Например, при приведении в действие механизма 213 сброса давления, может быть разрушена только наружная сторона второй разделительной конструкции 154, а часть внутренних компонентов второй разделительной конструкции 154 открыта и не разрушена; или внутренняя конструкция второй разделительной конструкции 154 разрушена, например, вторая разделительная конструкция 154 может представлять собой многослойную конструкцию, и некоторые конструкционные слои в многослойной конструкции разрушены; или вторая разделительная конструкция 154 может быть полностью разрушена, что не ограничивается вариантами осуществления настоящего изобретения.
[0190] Следует понимать, что вторая разделительная конструкция 154 согласно варианту осуществления настоящего изобретения может быть разрушена при приведении в действие механизма 213 сброса давления, что может быть достигнуто различными способами. Например, вторая разделительная конструкция 154 может включать в себя область с низкой конструкционной прочностью, так что при приведении в действие механизма 213 сброса давления вторая разделительная конструкция 154 разрушается силой удара выбросов по второй разделительной конструкции 154.
[0191] В другом примере вторая разделительная конструкция 154 представляет собой многослойную конструкцию, причем многослойная конструкция включает в себя плавкий слой, выполненный с возможностью плавления при приведении в действие механизма 213 сброса давления, так что между двумя элементами 20 аккумуляторной батареи образуется четвертое пространство. Поскольку выбросы, выпускаемые через механизм 213 сброса давления, представляют собой высокотемпературные выбросы, расположение плавкого слоя препятствует легкому разрушению элемента 20 аккумуляторной батареи при нормальном применении, что может обеспечить безопасность и стабильность аккумуляторной батареи 10.
[0192] Следует понимать, что плавкий слой может быть расположен в любом слое второй разделительной конструкции 154. Например, плавкий слой может представлять собой самый наружный слой второй разделительной конструкции 154, так что плавкий слой может находиться в непосредственном контакте с элементами 20 аккумуляторной батареи и своевременно плавиться.
[0193] На фиг.24 и фиг.25 соответственно представлены две возможные схемы второй разделительной конструкции 154 согласно вариантам осуществления настоящего изобретения. Как показано на фиг.24 и фиг.25, в некоторых вариантах осуществления вторая разделительная конструкция 154 может также включать в себя первую область 1541 и вторую область 1542, причем температура плавления первой области 1541 выше температуры плавления второй области 1542, а вторая область 1542 выполнена с возможностью плавления при приведении в действие механизма 213 сброса давления, так что между двумя элементами 20 аккумуляторной батареи образуется четвертое пространство. Таким образом, вторая разделительная конструкция 154 включает в себя первую область 1541, устойчивую к высокой температуре, и вторую область 1542, не устойчивую к высокой температуре, и при приведении в действие механизма 213 сброса давления выбросы могут расплавить вторую область 1542 с образованием первого прохода 15; при этом первая область 1541 второй разделительной конструкции 154 не может быть существенно разрушена, чтобы обеспечить блокировку теплопередачи между элементами 20 аккумуляторной батареи и предотвращение тепловой диффузии.
[0194] Следует понимать, что положения и распределение первой области 1541 и второй области 1542 в вариантах осуществления настоящего изобретения могут быть выбраны в соответствии с фактическими вариантами применения. Например, как показано на фиг.24 и 25 первая область 1541 может представлять собой центральную область для облегчения теплоизоляции, а вторая область 1542, как правило, представляет собой краевую область, так чтобы оказывать небольшое влияние на теплоизоляцию после разрушения второй области 1542; или, как показано на фиг.25, вторая область 1542 может также включать в себя часть средней области, чтобы увеличить площадь распределения второй области 1542, тем самым повысив скорость выпуска выбросов.
[0195] В некоторых вариантах осуществления площадь первой области 1541 больше площади второй области 1542, чтобы площадь первой области 1541 для блокирования тепла составляла более 50% для предотвращения тепловой диффузии.
[0196] В некоторых вариантах осуществления материалы первой области 1541 и второй области 1542 могут быть выбраны в соответствии с фактическими вариантами применения. Например, материал второй области 1542 включает каучук и/или пластик, чтобы предотвратить разрушение второй области 1541 высокотемпературными выбросами.
[0197] На фиг.26 и фиг.27 соответственно представлены еще два возможных варианта реализации второй разделительной конструкции 154 согласно вариантам осуществления настоящего изобретения. Как показано на фиг.26 и 27, вторая разделительная конструкция 154 снабжена третьим проточным каналом 1543, причем первый проход 15 включает в себя третий проточный канал 1543. Выбросы, выпускаемые через механизм 213 сброса давления, могут выпускаться в электрическую полость 11а через третий проточный канал 1543. Таким образом, рационально выбрав положение третьего проточного канала 1543, можно реализовать направленный выпуск выбросов, снизить влияние выбросов на отдельные компоненты в электрической полости 11а и предотвратить тепловую диффузию между элементами 20 аккумуляторной батареи, тем самым повысив безопасность аккумуляторной батареи 10.
[0198] В вариантах осуществления настоящего изобретения вторая разделительная конструкция 154 может быть снабжена множеством третьих проточных каналов 1543, проходящих по меньшей мере в одном направлении. В частности, направление прохождения третьего проточного канала 1543 в вариантах осуществления настоящего изобретения может быть выбрано в соответствии с фактическими вариантами применения. Например, как показано на фиг.26-27, вторая разделительная конструкция 154 может быть снабжена множеством третьих проточных каналов 1543, проходящих вдоль третьего направления Z, причем третье направление Z перпендикулярно направлению расположения двух элементов 20 аккумуляторной батареи, зажимающих вторую разделительную конструкцию 154, и третье направление Z также перпендикулярно второй стенке 11с электрической полости 11а, так что выбросы проходят через третий проточный канал 1543, так чтобы реализовать направленный выпуск и предотвратить влияние высокотемпературных выбросов на два смежных элемента 20 аккумуляторной батареи.
[0199] В вариантах осуществления настоящего изобретения множество третьих проточных каналов 1543 могут включать в себя: сквозные отверстия, проходящие через вторую разделительную конструкцию 154, и/или канавки, расположенные на поверхности второй разделительной конструкции, обращенной к по меньшей мере одному элементу 20 аккумуляторной батареи из двух элементов 20 аккумуляторной батареи для облегчения обработки. Например, как показано на фиг.26, множество третьих проточных каналов 1543 может включать в себя множество сквозных отверстий, расположенных параллельно друг другу, причем каждое сквозное отверстие проходит через вторую разделительную конструкцию 154 вдоль третьего направления Z. В качестве другого примера, как показано на фиг.27, множество третьих проточных каналов 1543 может включать в себя множество канавок, причем множество канавок может включать в себя канавки с отверстиями, обращенными к по меньшей мере одному элементу 20 аккумуляторной батареи из двух элементов 20 аккумуляторной батареи, зажимающих вторую разделительную конструкцию 154. На фиг.27 в качестве примера множество третьих проточных каналов 1543 включает в себя канавки с отверстиями, обращенными к противоположным сторонам, причем на фиг.27 множество третьих проточных каналов 1543 параллельны друг другу и равномерно распределены, что удобно для обработки и обеспечивает относительное рассеивание выбросов, проходящих через третий проточный канал 1543 для предотвращения проблемы чрезмерных выбросов в локальной области, вызванной накоплением выбросов, чтобы обеспечить безопасность элементов 20 аккумуляторной батареи и аккумуляторной батареи 10.
[0200] В вариантах осуществления настоящего изобретения наполнители могут быть предусмотрены в третьем проточном канале 1543, причем наполнители применяются для герметизации третьего проточного канала 1543, когда механизм 213 сброса давления не приводится в действие, и разрушаются, когда механизм 213 сброса давления приводится в действие, так что третий проточный канал 1543 разблокируется. Таким образом, его можно применять для блокировки теплопередачи между элементами 20 аккумуляторной батареи, когда элементы 20 аккумуляторной батареи не имеют теплового разгона. Материал наполнителя может быть выбран в соответствии с фактическими вариантами применения. Например, материал наполнителя может включать пенополистирол и/или пластик, однако варианты осуществления настоящей заявки не ограничиваются этим.
[0201] Следует понимать, что первый проход 15 в вариантах осуществления настоящего изобретения может обеспечивать выпуск выбросов, выпускаемых через механизм 213 сброса давления, в электрическую полость 11а; кроме того, на стенке коробчатого корпуса 11 аккумуляторной батареи 10 может быть предусмотрен первый уравнительный клапан, причем первый уравнительный клапан применяется для выпуска выбросов, проходящих через первый проход 15, из коробчатого корпуса 11 для предотвращения тепловой диффузии, вызванной накоплением выбросов в коробчатом корпусе 11, и повышения безопасности аккумуляторной батареи 10. В частности, первый уравнительный клапан может быть расположен на стенке для образования электрической полости 11а, чтобы своевременно выпускать выбросы из электрической полости 11а.
[0202] Точно так же второй проход 16 может обеспечивать выпуск выбросов, выпускаемых через механизм 213 сброса давления, из электрической полости 11а. Например, выбросы могут выпускаться в полость 11b сбора, однако пространство полости 11b сбора ограничено, поэтому на стенке коробчатого корпуса 11 может быть предусмотрен второй уравнительный клапан. Второй уравнительный клапан служит для выпуска выбросов, выпускаемых через второй проход 16, из коробчатого корпуса 11. Например, выбросы могут выпускаться из аккумуляторной батареи 10 из полости 11b сбора для предотвращения тепловой диффузии или взрыва, вызванного накоплением выбросов в полости 11b сбора коробчатого корпуса 11, и повышения безопасности аккумуляторной батареи 10. В частности, второй уравнительный клапан может быть расположен на стенке для образования полости 11b сбора, чтобы своевременно выпускать выбросы из полости 11b сбора.
[0203] Когда в элементе 20 аккумуляторной батареи возникает тепловой разгон или другие ненормальные условия, выбросы высокой температуры и высокого давления, образующиеся внутри элемента аккумуляторной батареи, выпускаются в направлении, где элемент 20 аккумуляторной батареи оснащен механизмом сброса 213 давления. Мощность и разрушительная сила таких выбросов обычно очень большие, и если предусмотрен только один проход, существует вероятность прорыва выбросами конструкции прохода или одной или более конструкций вокруг прохода, что вызывает дополнительные проблемы с безопасностью. Таким образом, в аккумуляторной батарее 10 согласно вариантам осуществления настоящего изобретения выбросы, выпускаемые из механизма 213 сброса давления, могут быть выведены в электрическую полость 11а путем установки первого прохода 15, а выбросы, выпускаемые из механизма 213 сброса давления, могут выпускаться из электрической полости 11а путем установки второго прохода 16. Выбросы, выпускаемые через механизм 213 сброса давления, могут выпускаться через два прохода одновременно, что может ускорить выпуск и снизить риск взрыва аккумуляторной батареи 10.
[0204] Следует понимать, что аккумуляторная батарея 10 согласно вариантам осуществления настоящего изобретения была подробно описана выше, главным образом, с точки зрения конструкции, и соответствующие размерные параметры аккумуляторной батареи 10 согласно вариантам осуществления настоящего изобретения будут описаны ниже со ссылкой на графические материалы. Для простоты описания на фиг.28 показан частичный вид в разрезе аккумуляторной батареи 10 согласно варианту осуществления настоящего изобретения. Вид в разрезе перпендикулярен изолирующему компоненту 13 аккумуляторной батареи 10, например вид в разрезе перпендикулярен второму направлению Y. На фиг.28 в качестве примера изолирующий компонент 13 применяется в качестве второй стенки 11с, а также в качестве примера механизм 213 сброса давления и электродная клемма 214 ячейки 20 аккумуляторной батареи расположены на двух противоположных стенках, однако соответствующие описания также применимы к другим ситуациям, которые для краткости не будут повторяться здесь. На фиг.29 представлена схема поверхности второй стенки 11с, обращенной к элементу 20 аккумуляторной батареи, согласно варианту осуществления настоящего изобретения, причем вторая стенка 11с может представлять собой любую стенку электрической полости 11а.
[0205] Как показано на фиг.28 и 29, вторая стенка 11с согласно варианту осуществления настоящего изобретения снабжена областью 114 сброса давления, соответствующей механизму 213 сброса давления, причем область 114 сброса давления применяется для образования по меньшей мере части второго прохода 16, т.е. область 114 сброса давления может применяться для выпуска выбросов из электрической полости 11а, например, может обеспечивать выпуск выбросов в полость 11b сбора Например, на фиг.28 в качестве примера приведена вторая стенка 11с, представляющая собой изолирующий компонент 13, причем изолирующий компонент 13 включает в себя область 114 сброса давления.
[0206] Следует понимать, что каждая область 114 сброса давления, предусмотренная на второй стенке 11с, может соответствовать одному или более механизмам 213 сброса давления. Например, вторая стенка 11с снабжена множеством областей 114 сброса давления, причем множество областей 114 сброса давления соответствуют механизмам 213 сброса давления множества элементов 20 аккумуляторной батареи по порядку. В другом примере вторая стенка 11с снабжена одной или более областями 114 сброса давления, причем каждая область 114 сброса давления соответствует множеству механизмов 213 сброса давления. В качестве примера на фиг.29 представлена только одна область 114 сброса давления, причем область 114 сброса давления включает в себя 6 областей 213', причем область 213' представляет собой ортогональную проекцию механизма 213 сброса давления элемента 20 аккумуляторной батареи на поверхности второй стенки 11с. Таким образом, область 114 сброса давления, представленная на фиг.29, соответствует 6 механизмам 213 сброса давления, однако варианты осуществления настоящего изобретения не ограничиваются этим.
[0207] В некоторых вариантах осуществления область 114 сброса давления представляет собой сквозное отверстие, проходящее через вторую стенку 11с в направлении, перпендикулярном первой стенке 21а. Например, на фиг.28 в качестве примера приведена область 114 сброса давления, представляющая собой сквозное отверстие, проходящее через вторую стенку 11с, причем направление прохождения перпендикулярно первой стенке 21а, т.е. направление прохождения представляет собой направление Z. Когда область 114 сброса давления представляет собой сквозное отверстие, с одной стороны, это удобно для обработки, а с другой стороны, выбросы, выпускаемые через механизм 213 сброса давления, могут быть быстро выпущены.
[0208] Когда область 114 сброса давления представляет собой сквозное отверстие, область 114 сброса давления удовлетворяет следующей формуле (1):
[0209] где S представляет собой площадь ортогональной проекции области 114 сброса давления на второй стенке 11с, деленную на число механизмов 213 сброса давления, соответствующих области 114 сброса давления, a D представляет собой расстояние между второй стенкой 11с и первой стенкой 21а. В частности, как показано на фиг.28 и 29, параметр S в вариантах осуществления настоящего изобретения может представлять общую площадь ортогональной проекции области 114 сброса давления на второй стенке 11с, деленную на число механизмов 213 сброса давления, соответствующих области 114 сброса давления (например, цифра 6 на фиг.29). Например, S может приблизительно соответствовать площади заштрихованной части, показанной на фиг.29. D представляет собой расстояние между второй стенкой 11с и первой стенкой 21а. Например, приведя в качестве примера только соединительную конструкцию 151, расположенную между первой стенкой 21а и второй стенкой 11с на фиг.28, D может представлять собой толщину соединительной конструкции 151; или, если между первой стенкой 21а и второй стенкой 11с дополнительно предусмотрено первое пространство 152, то D представляет собой сумму толщины соединительной конструкции 151 и толщины первого пространства 152. Кроме того, в вариантах осуществления настоящего изобретения, приведенных в качестве примера, первая стенка 21а и вторая стенка 11с параллельны друг другу. И напротив, если первая стенка 21а не параллельна второй стенке 11с, параметр D может представлять собой среднее значение расстояния между первой стенкой 21а и второй стенкой 11с или представлять собой среднее, максимальное или минимальное значение расстояние между первой стенкой 21а и второй стенкой 11с в области вокруг механизма 213 сброса давления, однако варианты осуществления настоящего изобретения не ограничиваются этим.
[0210] Следует понимать, что если параметр D/S слишком большой, например, превышает предел по формуле (1), параметр D может иметь максимальное значение, а параметр S может иметь минимальное значение. В этом случае первый проход 15 в электрическую полость 11а большой, а второй проход 16, через который выбросы выпускаются из электрической полости 11а, относительно маленький. В результате выбросы, выпускаемые вследствие теплового разгона, очень легко возвращаются в электрическую полость 11а, т.е. в электрическую полость 11а поступает больше выбросов, а из электрической полости 11а выходит меньше выбросов, что не способствует сбору выбросов с помощью полости 11b сбора, но может повлиять на безопасность электрической полости 11а, например, легко привести к короткому замыканию компонентов 12 шины. Поэтому для того, чтобы большая часть выбросов, выпускаемых из электрической полости 11а, например, попадала в полость 11b сбора, параметр D/S не следует задавать слишком большим.
[0211] И наоборот, если параметр D/S слишком маленький, например, превышает предел по формуле (1), параметр D может иметь минимальное значение, a S имеет максимальное значение. В этом случае первый проход 15 в электрическую полость 11а маленький, и выбросам, возникающим вследствие теплового разгона, трудно вернуться в электрическую полость 11, при этом работа первого прохода 15 затруднена, поэтому область 114 сброса давления, соответствующая параметру S, может быть не в состоянии обеспечить прочность каркасной конструкции аккумуляторной батареи 10 при выпуске большого количества выбросов из электрической полости 11а. Поэтому параметр D/S также не должен быть слишком маленьким.
[0212] Точно так же, когда область 114 сброса давления представляет собой сквозное отверстие, если вторая разделительная конструкция 154 расположена между двумя смежными элементами 20 аккумуляторной батареи в аккумуляторной батарее, вторая разделительная конструкция 154 применяется для образования по меньшей мере части первого прохода 15, а область 114 сброса давления удовлетворяет следующей формуле (2):
[0213] где S представляет собой площадь ортогональной проекции области 114 сброса давления на второй стенке 11с, деленную на число механизмов 213 сброса давления, соответствующих области 114 сброса давления, a t представляет собой расстояние между двумя элементами 20 аккумуляторной батареи. В частности, параметр S имеет тот же смысл, что и в формуле (1), а параметр t представляет собой расстояние между двумя элементами 20 аккумуляторной батареи. Например, как показано на фиг.28, если между двумя элементами 20 аккумуляторной батареи предусмотрена только вторая разделительная конструкция 154, параметр t также равен толщине второй разделительной конструкции 154. Кроме того, в вариантах осуществления настоящего изобретения, приведенных в качестве примера, поверхности двух элементов 20 аккумуляторной батареи, удерживающие вторую разделительную конструкцию 154, параллельны друг другу. И наоборот, если поверхности двух элементов 20 аккумуляторной батареи не параллельны или, другими словами, толщина второй разделительной конструкции 154 неравномерна, параметр t может представлять собой среднее расстояние между двумя элементами 20 аккумуляторной батареи или среднюю толщину второй разделительной конструкции 154.
[0214] Следует понимать, что если параметр t/S слишком большой, например, превышает предел по формуле (2), параметр t может иметь максимальное значение, а параметр S имеет минимальное значение. В этом случае первый проход 15 в электрическую полость 11а большой, а второй проход 16, через который выбросы выпускаются из электрической полости 11а, относительно маленький. В результате выбросы, выпускаемые вследствие теплового разгона, очень легко возвращаются в электрическую полость 11а, т.е. в электрическую полость 11а поступает больше выбросов, а из электрической полости 11а выходит меньше выбросов, что не способствует сбору выбросов с помощью полости 11b сбора, но может повлиять на безопасность электрической полости 11а, например, легко привести к короткому замыканию компонентов 12 шины. Поэтому для того, чтобы большая часть выбросов, выпускаемых из электрической полости 11а, например, попадала в полость сбора 11b, параметр t/S не следует задавать слишком большим.
[0215] И наоборот, если параметр t/S слишком маленький, например, превышает предел по формуле (2), параметр t может иметь минимальное значение, a S имеет максимальное значение. В этом случае первый проход 15 в электрическую полость 11а маленький, и выбросам, возникающим вследствие теплового разгона, трудно вернуться в электрическую полость 11, при этом работа первого прохода 15 затруднена, поэтому область 114 сброса давления, соответствующая параметру S, может быть не в состоянии обеспечить прочность каркасной конструкции аккумуляторной батареи 10 при выпуске большого количества выбросов из электрической полости 11а. Поэтому параметр t/S также не должен быть слишком маленьким.
[0216] В вариантах осуществления настоящего изобретения область 114 сброса давления может быть выполнена не в виде сквозного отверстия. Например, область 114 сброса давления представляет собой слабую область второй стенки 11с, причем указанная слабая область разрушается при приведении в действие механизма 213 сброса давления для образования по меньшей мере части второго прохода 16. Кроме того, при приведении в действие механизма 213 сброса давления слабая область может быть разрушена, так что выбросы из элемента 20 аккумуляторной батареи, снабженного механизмом 213 сброса давления, проходят через слабую область и выходят из электрической полости 11а, например, могут проходить через слабую область и попадать в полость 11b сбора. Выбор области 114 сброса давления в качестве слабой области может привести вторую стенку 11с в герметичное состояние, когда механизм 213 сброса давления не приводится в действие, например, при нормальном применении аккумуляторной батареи 10, что эффективно защищает механизм 213 сброса давления от повреждения внешним усилием и выхода из строя.
[0217] Следует понимать, что когда область 114 сброса давления представляет собой слабую область, слабая область может иметь различные параметры для облегчения разрушения выбросами, что не ограничивается вариантами осуществления настоящего изобретения, и будет описано с примерами ниже. Например, область 114 сброса давления может представлять собой область с меньшей толщиной на второй стенке 11с, так что прочность области 114 сброса давления будет меньше, тем самым образуя слабую область. В дополнение к применению слабой области с меньшей толщиной также может применяться материал с низкой температурой плавления для образования слабой области, чтобы облегчить плавление выбросами. То есть слабая область может иметь более низкую температуру плавления, чем остальная часть второй стенки 11с. Например, материал, применяемый в слабой области, имеет температуру плавления ниже 400°С.
[0218] Следует понимать, что когда область 114 сброса давления представляет собой слабую область, слабая область может иметь параметры обоих материалов с низкой температурой плавления и меньшей толщиной одновременно. Другими словами, два вышеуказанных варианта реализации могут быть реализованы по отдельности или в комбинации, однако варианты осуществления настоящего изобретения не ограничиваются этим.
[0219] Когда область 114 сброса давления представляет собой слабую область, область 114 сброса давления удовлетворяет следующей формуле (3):
[0220] где d представляет собой минимальное значение толщин в различных положениях слабой области, a D представляет собой расстояние между второй стенкой 11с и первой стенкой 21а. В частности, параметр D имеет тот же смысл, что и в приведенной выше формуле (1). Параметр d представляет собой минимальное значение толщины в области 114 сброса давления. Когда область 114 сброса давления представляет собой слабую область, могут быть различные компоновки для слабой области, так что толщина слабой области может быть меньше или равна толщине второй стенки 11с. Например, как показано на фиг.28, если толщина второй стенки 11с, где расположена область 114 сброса давления, равна d', минимальное значение толщин в различных положениях слабой области, обозначенное параметром d, меньше или равно толщине d'.
[0221] Следует понимать, что при увеличении параметра D увеличивается первый проход 15 в электрическую полость 11а, а выбросы, выпускаемые вследствие теплового разгона, очень легко возвращаются в электрическую полость 11а, поэтому соответствующий параметр d должен быть рассчитан на уменьшение, тем самым снижая сложность прорыва выбросов через область 114 сброса давления, т.е. снижая сложность выпуска выбросов из электрической полости 11а, так что выбросы могут быть более легко выпущены из электрической полости 11а. Поэтому, когда параметр d не может быть слишком маленьким, чтобы соответствовать требованиям по выпуску выбросов и отвечать требованиям к прочности конструкции аккумуляторной батареи 10, параметр D не должен быть установлен слишком большим, т.е. параметр D/d не должен быть установлен слишком большим.
[0222] И наоборот, когда D имеет минимальное значение, первый проход 15 в электрическую полость 11а маленький, и выбросам, возникающим вследствие теплового разгона, трудно вернуться в электрическую полость 11а, а работа первого прохода 15 затруднена, поэтому большое количество выбросов должно выходить через область 114 сброса давления второй стенки 11с. Значение параметра d должно обеспечивать возможность плавного и быстрого прорыва второй стенки 11с выпускаемыми выбросами, поэтому значение d также не должно быть слишком большим, т.е. значение D/d не должно быть слишком маленьким.
[0223] Точно так же, когда область 114 сброса давления представляет собой слабую область, если вторая разделительная конструкция 154 расположена между двумя смежными элементами 20 аккумуляторной батареи в аккумуляторной батарее, вторая разделительная конструкция 154 применяется для образования по меньшей мере части первого прохода 15, а область 114 сброса давления удовлетворяет следующей формуле (4):
[0224] где d представляет собой минимальное значение толщин в различных положениях слабой области, a t представляет собой расстояние между двумя элементами 20 аккумуляторной батареи. В частности, параметр d имеет тот же смысл, что и в приведенной выше формуле (3); параметр t имеет тот же смысл, что и в приведенной выше формуле (2).
[0225] Следует понимать, что при увеличении параметра t увеличивается первый проход 15 в электрическую полость 11а, а выбросы, выпускаемые вследствие теплового разгона, очень легко возвращаются в электрическую полость 11а, поэтому соответствующий параметр d должен быть рассчитан на уменьшение, тем самым снижая сложность прорыва выбросов через область 114 сброса давления, т.е. снижая сложность выпуска выбросов из электрической полости 11а, так что выбросы могут быть более легко выпущены из электрической полости 11а. Поэтому, когда параметр d не может быть слишком маленьким, чтобы соответствовать требованиям по выпуску выбросов и отвечать требованиям к прочности конструкции аккумуляторной батареи 10, параметр t не должен быть установлен слишком большим, т.е. параметр t/d не должен быть установлен слишком большим.
[0226] И наоборот, когда t имеет минимальное значение, первый проход 15 в электрическую полость 11а маленький, и выбросам, возникающим вследствие теплового разгона, трудно вернуться в электрическую полость 11а, а работа первого прохода 15 затруднена, поэтому большое количество выбросов должно выходить через область 114 сброса давления второй стенки 11с. Значение параметра d должно обеспечивать возможность плавного и быстрого прорыва второй стенки 11с выпускаемыми выбросами, поэтому значение d также не должно быть слишком большим, т.е. значение t/d не должно быть слишком маленьким.
[0227] Таким образом, для аккумуляторной батареи 10 согласно вариантам осуществления настоящего изобретения размерное соотношение между первым проходом 15 и вторым проходом 16 может быть отрегулировано путем оптимизации вышеуказанных параметров, и тогда доля выбросов, поступающих в электрическую полость 11а, может быть отрегулирована так, чтобы меньшая часть выбросов, выпускаемых через механизм 213 сброса давления, попадала в электрическую полость 11а, в то время как большая часть выбросов могла выходить из электрической полости 11а. Таким образом, можно снизить давление выпуска выбросов из электрической полости 11а, снизить требования к герметизации электрической полости 11а и второго прохода 16, а также максимально обеспечить безопасность электрической полости 11а. Это предотвращает попадание большого количества выбросов в электрическую полость 11а, что может повлиять на компонент 12 шины и т.д. и привести к короткому замыканию или даже взрыву, тем самым повысив безопасность аккумуляторной батареи 10.
[0228] Хотя настоящее изобретение было описано со ссылкой на предпочтительные варианты осуществления, в него могут быть внесены различные усовершенствования, и его компоненты могут быть заменены эквивалентами без отступления от объема настоящего изобретения. В частности, технические признаки, упомянутые в различных вариантах осуществления, могут комбинироваться любым образом при условии отсутствия конструктивного конфликта. Настоящее изобретение не ограничивается описанными в настоящем документе конкретными вариантами осуществления, а скорее включает в себя все технические решения, подпадающие под объем формулы изобретения.
Изобретение относится к области электротехники, а именно к аккумуляторной батарее и транспортному средству с такой батареей. Повышение безопасности аккумуляторной батареи и транспортного средства с такой батареей является техническим результатом, который достигается за счет того, что аккумуляторная батарея, содержащая коробчатый корпус (11), который включает электрическую полость (11а), элемент (20) аккумуляторной батареи, размещенный в электрической полости (11а) и снабженный механизмом (213) сброса давления, который расположен на первой стенке (21а) элемента (20) аккумуляторной батареи, снабжена первым проходом (15) и вторым проходом (16) для выбросов из аккумуляторной батареи в случае ее теплового разгона, причем первый проход (15) и второй проход (16) выполнены с возможностью сообщения с внутренней частью элемента (20) аккумуляторной батареи через механизм (213) сброса давления при приведении в действие механизма (213) сброса давления, при этом первый проход (15) применяется для выпуска выбросов, выпускаемых из механизма (213) сброса давления, в электрическую полость (11а), а второй проход (16) применяется для выпуска выбросов, выпускаемых из механизма (213) сброса давления, из электрической полости (11а). 2 н. и 29 з.п. ф-лы, 29 ил.
1. Аккумуляторная батарея, содержащая:
коробчатый корпус (11), включающий в себя электрическую полость (11а);
элемент (20) аккумуляторной батареи, размещенный в электрической полости (11а), причем первая стенка (21а) элемента (20) аккумуляторной батареи снабжена механизмом (213) сброса давления; и
первый проход (15) и второй проход (16), причем первый проход (15) и второй проход (16) выполнены с возможностью сообщения с внутренней частью элемента (20) аккумуляторной батареи через механизм (213) сброса давления при приведении в действие механизма (213) сброса давления;
причем первый проход (15) может применяться для выпуска выбросов, выпускаемых из механизма (213) сброса давления, в электрическую полость (11а), а второй проход 16 применяется для выпуска выбросов, выпускаемых из механизма (213) сброса давления, из электрической полости (11а).
2. Аккумуляторная батарея по п. 1, отличающаяся тем, что электрическая полость (11а) содержит вторую стенку (11с), причем первая стенка (21а) обращена ко второй стенке (11с).
3. Аккумуляторная батарея по п. 2, отличающаяся тем, что между второй стенкой (11с) и первой стенкой (21а) предусмотрено первое пространство (152), причем первый проход (15) включает в себя первое пространство (152).
4. Аккумуляторная батарея по п. 2 или 3, отличающаяся тем, что аккумуляторная батарея дополнительно содержит:
соединительную конструкцию (151), причем соединительная конструкция (151) расположена между первой стенкой (21а) и второй стенкой (11с), и соединительная конструкция (151) применяется для образования по меньшей мере части первого прохода (15).
5. Аккумуляторная батарея по п. 4, отличающаяся тем, что соединительная конструкция (151) снабжена первым проточным каналом (1511), причем первый проход (15) включает в себя первый проточный канал (1511).
6. Аккумуляторная батарея по п. 5, отличающаяся тем, что первый проточный канал (1511) содержит сквозное отверстие и/или канавку, проходящую через соединительную конструкцию (151).
7. Аккумуляторная батарея по п. 5 или 6, отличающаяся тем, что радиальный размер первого проточного канала (1511) меньше или равен 2 мм, а радиальное направление перпендикулярно направлению потока выбросов в первом проходе (1511).
8. Аккумуляторная батарея по любому из пп. 4-7, отличающаяся тем, что соединительная конструкция (151) выполнена с возможностью разрушения при приведении в действие механизма (213) сброса давления, так что между первой стенкой (21а) и второй стенкой (11с) образуется второе пространство, причем первый проход (15) включает в себя второе пространство.
9. Аккумуляторная батарея по п. 8, отличающаяся тем, что соединительная конструкция (151) содержит плавкий слой, расположенный между первой стенкой (21а) и второй стенкой (11с), причем плавкий слой выполнен с возможностью плавления при приведении в действие механизма (213) сброса давления, так что между первой стенкой (21а) и второй стенкой (11с) образуется второе пространство.
10. Аккумуляторная батарея по п. 9, отличающаяся тем, что толщина плавкого слоя составляет от 0,5 мм до 3 мм.
11. Аккумуляторная батарея по любому из пп. 4-10, отличающаяся тем, что соединительная конструкция (151) снабжена предохранительной областью (1512), соответствующей механизму (213) сброса давления, причем предохранительная область (1512) применяется для обеспечения пространства деформации для механизма (213) сброса давления при его срабатывании.
12. Аккумуляторная батарея по п. 11, отличающаяся тем, что предохранительная область (1512) соответствует по меньшей мере двум механизмам (213) сброса давления.
13. Аккумуляторная батарея по любому из пп. 4-12, отличающаяся тем, что соединительная конструкция (151) дополнительно содержит:
блокирующую конструкцию (1513), расположенную между первой стенкой (21а) и второй стенкой (11с) и вокруг механизма (213) сброса давления, причем блокирующая конструкция (1513) применяется для предотвращения попадания выбросов, выпускаемых через механизм (213) сброса давления, на электродную клемму (214) элемента (20) аккумуляторной батареи.
14. Аккумуляторная батарея по п. 13, отличающаяся тем, что электродная клемма (214) расположена на третьей стенке (21b) элемента (20) аккумуляторной батареи, причем третья стенка (21b) пересекается с первой стенкой (21а), а блокирующая конструкция (1513) расположена на стороне механизма (213) сброса давления рядом с электродной клеммой (214).
15. Аккумуляторная батарея по любому из пп. 4-14, отличающаяся тем, что соединительная конструкция (151) включает в себя термопрокладку и/или герметизирующую прокладку, расположенную между первой стенкой (21а) и второй стенкой (11с).
16. Аккумуляторная батарея по любому из пп. 2-15, отличающаяся тем, что аккумуляторная батарея содержит:
блок (201) элементов аккумуляторной батареи; причем блок (201) элементов аккумуляторной батареи включает в себя множество элементов (20) аккумуляторной батареи, расположенных вдоль первого направления, электрическая полость (11а) включает в себя четвертую стенку (11d), пересекающуюся со второй стенкой (11с), третье пространство предусмотрено между торцевой поверхностью (2011) блока (201) элементов аккумуляторной батареи, обращенной к четвертой стенке (11d), и четвертой стенкой (11d), причем первый проход (15) включает в себя третье пространство.
17. Аккумуляторная батарея по п. 16, отличающаяся тем, что аккумуляторная батарея дополнительно содержит:
первую разделительную конструкцию (153), расположенную между торцевой поверхностью (2011) и четвертой стенкой (11d), причем первая разделительная конструкция (153) применяется для образования по меньшей мере части первого прохода (15).
18. Аккумуляторная батарея по п. 17, отличающаяся тем, что первая разделительная конструкция (153) снабжена вторым проточным каналом (1531), причем первый проход (15) включает в себя второй проточный канал (1531).
19. Аккумуляторная батарея по любому из пп. 2-18, отличающаяся тем, что аккумуляторная батарея дополнительно содержит:
вторую разделительную конструкцию (154), расположенную между двумя смежными элементами (20) аккумуляторной батареи, причем вторая разделительная конструкция (154) применяется для образования по меньшей мере части первого прохода (15).
20. Аккумуляторная батарея по п. 19, отличающаяся тем, что вторая разделительная конструкция (154) выполнена с возможностью разрушения при приведении в действие механизма (213) сброса давления, так что между двумя элементами (20) аккумуляторной батареи образуется четвертое пространство, причем первый проход (15) включает в себя четвертое пространство.
21. Аккумуляторная батарея по п. 19 или 20, отличающаяся тем, что вторая разделительная конструкция (154) снабжена третьим проточным каналом (1543), причем первый проход (15) включает в себя третий проточный канал (1543).
22. Аккумуляторная батарея по любому из пп. 2-21, отличающаяся тем, что вторая стенка (11с) снабжена зоной (114) сброса давления, соответствующей механизму (213) сброса давления, причем зона (114) сброса давления применяется для образования по меньшей мере части второго прохода (16).
23. Аккумуляторная батарея по п. 22, отличающаяся тем, что область (114) сброса давления представляет собой сквозное отверстие, проходящее через вторую стенку (11с) в направлении, перпендикулярном первой стенке (21а).
24. Аккумуляторная батарея по п. 23, отличающаяся тем, что область (114) сброса давления удовлетворяет следующей формуле:
,
где S представляет собой площадь ортогональной проекции области (114) сброса давления на второй стенке (11с), деленную на число механизмов (213) сброса давления, соответствующих области (114) сброса давления, a D представляет собой расстояние между второй стенкой (11с) и первой стенкой (21а).
25. Аккумуляторная батарея по п. 23 или 24, отличающаяся тем, что аккумуляторная батарея дополнительно содержит:
вторую разделительную конструкцию (154), расположенную между двумя смежными элементами (20) аккумуляторной батареи в аккумуляторной батарее, причем вторая разделительная конструкция (154) применяется для образования по меньшей мере части первого прохода (15), а область (114) сброса давления удовлетворяет следующей формуле:
где S представляет собой площадь ортогональной проекции области (114) сброса давления на второй стенке (11с), деленную на число механизмов (213) сброса давления, соответствующих области (114) сброса давления, a t представляет собой расстояние между двумя элементами (20) аккумуляторной батареи.
26. Аккумуляторная батарея по п. 22, отличающаяся тем, что область (114) сброса давления представляет собой слабую область второй стенки (11с), причем указанная слабая область выполнена с возможностью разрушения при приведении в действие механизма (213) сброса давления для образования по крайней мере часть второго прохода (16).
27. Аккумуляторная батарея по п. 26, отличающаяся тем, что область (114) сброса давления удовлетворяет следующей формуле:
где d представляет собой минимальное значение толщин в различных положениях слабой области, a D представляет собой расстояние между второй стенкой (11с) и первой стенкой (21а).
28. Аккумуляторная батарея по п. 26 или 27, отличающаяся тем, что аккумуляторная батарея дополнительно содержит:
вторую разделительную конструкцию (154), расположенную между двумя смежными элементами (20) аккумуляторной батареи в аккумуляторной батарее, причем вторая разделительная конструкция (154) применяется для образования по меньшей мере части первого прохода (15), а область (114) сброса давления удовлетворяет следующей формуле:
где d представляет собой минимальное значение толщин в различных положениях слабой области, a t представляет собой расстояние между двумя элементами (20) аккумуляторной батареи.
29. Аккумуляторная батарея по любому из пп. 1-28, отличающаяся тем, что коробчатый корпус (11) дополнительно содержит:
полость (11b) сбора, применяемую для сбора выбросов, выпускаемых через второй проход (16) при приведении в действие механизма (213) сброса давления.
30. Аккумуляторная батарея по п. 29, отличающаяся тем, что аккумуляторная батарея дополнительно содержит:
изолирующий компонент, выполненный с возможностью изоляции электрической полости (11а) и полости (11b) сбора.
31. Транспортное средство, содержащее:
аккумуляторную батарею по любому из пп. 1-30, причем аккумуляторная батарея выполнена с возможностью подачи электрической энергии в транспортное средство.
| CN 213026308 U, 20.04.2021 | |||
| CN 213026307 U, 20.04.2021 | |||
| CN 213026310 U, 20.04.2021 | |||
| CN 112103444 A, 18.12.2020 | |||
| CN 112072046 A, 11.12.2020 | |||
| УСТАНОВЛЕННЫЙ В ТРАНСПОРТНОМ СРЕДСТВЕ КОМПЛЕКТ АККУМУЛЯТОРНЫХ БАТАРЕЙ С КОНСТРУКЦИЕЙ ДЛЯ СБРОСА ДАВЛЕНИЯ | 2013 |
|
RU2573411C1 |
| Триер | 1940 |
|
SU60792A1 |
Авторы
Даты
2024-12-23—Публикация
2022-06-23—Подача