Область техники
Изобретение относится к средствам предотвращения и борьбы с обледенением лопастей ветроэлектрических установок (ВЭУ) с формированием воздушного слоя вокруг внешней поверхности лопасти и распределенного ударно-волнового воздействия, направленного на внешнюю поверхность лопасти.
Изобретение заключается в том, что лопасть ВЭУ содержит вдоль передней кромки (носка) воздуховод, в который осуществляется импульсная подача воздушного потока, направленного от основания лопасти до ее вершины. Причем корпус упомянутого воздуховода является передней кромкой лопасти и как минимум в местах наиболее вероятного обледенения лопасти ВЭУ выполнен с перфорациями на передней кромке лопасти, а также на указанной передней кромке лопасти закреплен продуваемый эластичный супергидрофобный материал, испытывающий ударно-волновое воздействие от импульсов подачи воздуха.
Предшествующий уровень техники
Обледенение лопастей ВЭУ существенно влияет на эффективность, надежность и безопасность их работы. Обледенение изменяет профиль лопасти, что снижает её аэродинамические характеристики. Это приводит к уменьшению эффективности ВЭУ, так как установка не может эффективно преобразовывать энергию ветра в электроэнергию.
Обледенение также может привести к неравномерному распределению льда по поверхности лопасти, создавая дополнительные несимметричные нагрузки и вибрации. Это может повлиять на надежность работы оборудования и увеличить износ механизмов.
Помимо критического влияния обледенения на КПД и надежность работы отрыв кусков льда с кромок лопастей, нагруженных ВЭУ во время работы, может привести к повреждению как самой установки, поскольку отрыв льда может создавать дополнительные нагрузки и динамические силы, а также может представлять опасность для людей и окружающей среды.
В целом предотвращение и управление обледенением лопастей ВЭУ являются важными аспектами для обеспечения стабильной и безопасной работы этих устройств в условиях холодного климата.
Для предотвращения обледенения лопастей ВЭУ используют различные технологии, такие как обогрев лопастей, применение гидрофобных покрытий, аэродинамические элементы и другие методы.
Основными способами в области борьбы с обледенением лопастей ВЭУ на сегодняшний день являются:
• оптимизация режимов работы и формы поверхности для снижения налипания льда за счет использования в том числе интеллектуальных алгоритмов работы ветроэнергетических установок (ВЭУ);
• разработка тепловых методов защиты от обледенения, например, используя циркуляцию нагретого воздуха в корпусе лопасти для передачи тепловой энергии на внешнюю поверхность лопасти, подверженной обледенению, благодаря внутренней теплопроводности;
• локальный нагрев поверхностей лопасти, подверженных обледенению, например, исследования ультразвуковых и вибрационных методов защиты от наледи и микроволнового излучения (например, СВЧ);
• предотвращение обледенения использованием гидрофобных покрытий.
Из уровня техники известны решения для предотвращения и борьбы с обледенением лопастей ВЭУ. Например, Способ и устройство для предотвращения обледенения лопастей ветряного генератора, раскрытое в описании публикации международной заявки на изобретение WO/2016/037476, от 18.03.2015.
Известный способ заключается в том, что обеспечивают круговую циркуляцию горячего воздуха внутри лопасти от основания лопасти к ее вершине и обратно к основанию, предотвращая обледенение кромок и поверхности лопасти, путем установки в основание лопасти системы нагревания, внутри лопасти размещают воздуховод, на конце которого устанавливают дефлектор, разделяющий переднюю кромку лопасти на две части, обеспечивают движение горячего воздуха по направлению к вершине лопасти, а затем вдоль задней кромки лопасти обратно к ее основанию.
Недостатком известного способа является то, что в целях борьбы с обледенением необходимо подавать большое количество тепловой энергии в воздух, циркулирующий внутри лопасти, чтобы эффективно нагревать весь корпус лопасти, а в целях предотвращения обледенения, необходимо нагреть всю массу лопасти, и это ведет к тому, что потребляется большое количество энергии.
Также известна противообледенительная система для ветряной установки, техническое решение, взятое в качестве ближайшего аналога (прототипа), раскрыто в описании публикации международной заявки на изобретение WO/2004/036038, от 16.10.2003 г. Известное устройство содержит помимо всего прочего:
средства для направления потока текучей среды (воздуха) внутрь объемов, ограниченных внутри лопастей ротора (ВЭУ). При этом лопасти ротора содержат по меньшей мере на части внешней поверхности окна (или отверстия), которые сообщаются с внутренним объемом лопастей и предназначены для выброса по меньшей мере части текучей среды наружу из лопастей для термодинамического взаимодействия текучей среды с ветром, сталкивающимся с частью поверхности, относящейся к окнам, и/или с водой и льдом, возможно находящимися на внешней поверхности лопасти.
Воздушный поток, выходящий из окон, расположенных на внешней поверхности лопасти, взаимодействует с ветром, сталкивающимся с лопастями, и создает воздушный слой или пленку на указанной внешней поверхности лопасти, снабженной указанными окнами, а именно после них по ходу потока. Такая воздушная пленка, вследствие известных тепловых и динамических эффектов, отклоняет поток текучей среды ветра от прямого столкновения с внешней поверхностью лопасти, таким образом нагревая поток и предотвращая конденсацию частиц, вызванную влажностью ветра, и образование льда.
В известном техническом решении предусмотрены различные формы указанных окон на внешней поверхности лопасти, предназначенных для сообщения внутреннего объема лопасти с внешней средой ортогонально набегающему потоку на лопасть, обеспечивающие замедление скорости исходящего потока, а также усиливать поток, сталкивающийся с лопастью. Такой процесс усиления потока может улучшить общие аэродинамические характеристики лопасти и, таким образом, увеличить общую производительность ветрогенератора.
В данном техническом решении предусмотрено, что из отверстий на внешней поверхности лопасти выходит воздушный поток с более высокой температурой и большим давлением по сравнению с потоком ветра, сталкивающегося с поверхностью лопасти, и со значительно более низкой степенью влажности, формируя воздушный слой или пленку вокруг лопасти ветрогенератора.
Аэродинамический эффект состоит в отклонении указанной воздушной пленкой капель воды, снега иди льда и сталкивающихся с ней частиц различного характера (например, насекомых, песка). Этот эффект максимален при определенной скорости и величине частиц.
Другой вариант известного технического решения, предусматривает расположение устройства для подачи сжатого воздуха в том числе импульсной подаче. Располагая сопла такого устройства во внутреннем объеме лопасти, по направлению к отверстиям на внешней поверхности лопасти, частично или полностью закрытыми льдом, можно подавать к ним импульсы сжатого воздуха.
Такое действие приводит к разрушению ледяных масс.
Общими признаками известного технического решения и заявленного изобретения являются: импульсная подача сжатого воздуха из-под поверхности лопасти и формирование воздушного слоя вокруг лопасти ВЭУ.
Недостатком известного технического решения является неравномерность распределения воздушного слоя вокруг лопасти ветрогенератора, вследствие чего лопасть подвержена обледенению в областях неустойчивости воздушного слоя, а также в случае обледенения отверстий на внешней поверхности лопасти заявленный аэродинамический эффект перестаёт работать.
Раскрытие сущности изобретения
Задачей заявляемого изобретения является предотвращение и борьба с обледенением лопастей ВЭУ, что обеспечивается применением поверхностей, выполненных из продуваемых эластичных супергидрофобных материалов и импульсной подачей воздуха.
Экспериментально показано, что применение супергидрофобных покрытий эффективно при борьбе с обледенением. Супергидрофобная поверхность эффективно отталкивает капли от поверхности и препятствует образованию больших агломератов наледи, уменьшает суммарную область, где лед крепится к поверхности, что существенно облегчает борьбу с ним.
Показано, что бороться с наледью тем легче, чем меньше наледи образовалось на лопасти.
В связи с чем целесообразно использовать комплекс антиобледенительных воздействий, который позволяет не только бороться с образованием наледи, но и препятствовать процессу её образования.
Техническое решение, предлагаемое в настоящем изобретении, состоит в том, что:
продуваемый эластичный супергидрофобный материал, нанесенный на внешнюю поверхность лопасти ВЭУ, препятствует закреплению атмосферной влаги и ее намерзанию на указанной внешней поверхности, а также за счет испытываемого распределенного ударно-волнового воздействия, вследствие импульсной подачи воздушного потока в воздуховод, расположенный вдоль передней кромки лопасти, способствует сбрасыванию атмосферной влаги, а также разрушению образовавшейся наледи на внешней поверхности лопасти.
Вследствие импульсной подачи воздуха, в воздуховоде, расположенном вдоль передней кромки лопасти образуется избыточное давление, вследствие чего воздух, посредством реактивного движения, через перфорированный корпус поступает на внешнюю поверхность лопасти, образуя воздушный слой вокруг лопасти ВЭУ, препятствующий контакту указанной внешней поверхности лопасти с атмосферной влагой.
А эластичный продуваемый супергидрофобный материал, оказывает ударно-волновое воздействие, полученное от импульсов подачи воздуха в воздуховод, на образовавшуюся наледь на внешней поверхности лопасти.
Также продуваемый эластичный супергидрофобный материал обеспечивает равномерное распределение воздушного слоя вокруг лопасти ВЭУ и его устойчивость. А в случае образования наледи на внешней поверхности лопасти ВЭУ, формирует воздушный карман между эластичным продуваемым супергидрофобным материалом и наледью, который совместно с распределенным ударно-волновым воздействием на эластичную поверхность способствует разрушению образовавшейся наледи.
Образование воздушного слоя вокруг внешней поверхности лопасти, способствует улучшению ее аэродинамических характеристик, что в свою очередь увеличивает КПД ветроэлектрической установки.
Краткое описание прилагаемых чертежей
Предлагаемое устройство предотвращения и борьбы с обледенением лопастей ВЭУ поясняется нижеследующим описанием и чертежами, где на Фиг. 1 и Фиг. 2 представлен условный пример функциональной схемы устройства части лопасти ВЭУ, реализующий заявленное изобретение. На Фиг. 3 представлен вариант осуществления заявленного изобретения, а на Фиг. 4 представлена раскадровка видео эксперимента реализации изобретения.
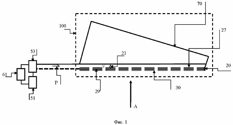
Указанное устройство для предотвращения и борьбы с обледенением лопастей ВЭУ, согласно схеме, представленной на Фиг. 1, содержит, например:
100 - лопасть ветроэлектрической установки (ВЭУ), содержащая: 20 - переднюю кромку (носок) лопасти (100), 21 - воздуховод, с внутренним объёмом - V21, 27 - перфорированный корпус воздуховода, 29 - внешнюю поверхность передней кромки лопасти (100), 30 - слой продуваемого эластичного супергидрофобного материала, например, фторопластовый нетканый материал (фторполимер), 51 - внешний компрессор, 53 - внешний электромагнитный клапан, 61 - внешний модуль управления, 70 - заднюю кромку лопасти (100).
На Фиг. 1 также обозначены: А - внешний поток, перпендикулярный лопасти (100) ВЭУ, P - импульсный воздушный поток, направленный во внутренний объём (V21) воздуховода (21).
На Фиг. 2 представлена иллюстрация схематического изображения передней кромки (носка) (20) лопасти (100) ВЭУ в разрезе, содержащая, например:
20 - передняя кромка (носок) лопасти (100), 21 - воздуховод, с внутренним объёмом - V21, 27 - перфорированный корпус воздуховода, 29 - внешняя поверхность передней кромки лопасти (100), 30 - слой продуваемого эластичного супергидрофобного материала, например, фторопластовый нетканый материал (фторполимер),
На Фиг. 2 также обозначены: А - внешний поток перпендикулярный лопасти (100) ВЭУ, S - воздушный слой вокруг внешней поверхности (29) передней кромки (20) лопасти (100), L - воздушный поток через перфорированный корпус (27) воздуховода (21) и слой фторопластового нетканого материала (30) на внешнюю поверхность (29).
На Фиг. 3 представлена примерная схема осуществления изобретения, в котором лопасть (100) ВЭУ дополнительно содержит во внутреннем объёме (V100) компрессор (351) и электромагнитный клапан (353).
Детальное описание чертежей
Далее будут рассмотрены особенности реализации заявленного устройства, иллюстрируемые приложенными чертежами.
Если в нижеследующем описании, а также формуле изобретения, говорится что элемент «соединен» или «сопряжен» с другим элементом, то элемент может быть «непосредственно соединен» с другим элементом или иметь с ним электрическую, оптическую и прочую связь, непосредственно напрямую или через третий элемент.
Кроме того, если иное не оговорено особо, термин «содержит» и его производные («содержащий», «содержащийся», «включающий в себя» и иные аналогичные термины) понимается как включение указанных элементов, но не как исключение любых других элементов.
Для достижения указанного технического результата, предложенное устройство включает в себя следующие элементы и их связи на Фиг. 1:
Воздуховод (21), расположенный вдоль передней кромки (носка) (20) лопасти (100) от основания к вершине упомянутой лопасти (100), соединен с внешними компрессором (51) и электромагнитным клапаном (53), а также через перфорированный корпус (27) с внешней поверхностью (29) передней кромки (20) лопасти (100). При этом внешняя часть корпуса (27) воздуховода (21) является внешней поверхностью (29) передней кромки (20) лопасти (100).
На внешней поверхности (29) передней кромки (20) лопасти (100) закреплен слой фторопластового нетканого материала (30).
Указанные внешние компрессор (51) и электромагнитный клапан (53) соединены с внешним модулем управления (61) регулирующим частоту подачи импульсов воздушного потока (P) во внутренний объём (V21) воздуховода (21).
На Фиг. 2 изображены следующие элементы заявленного устройства и их связи, например:
Воздуховод (21), корпус (27) которого является внешней поверхностью (29) передней кромки (20) лопасти (100).
Внешний поток (A), перпендикулярный лопасти (100), сталкиваясь с реактивным воздушным потоком (L), направленным сквозь перфорированный корпус (27) воздуховода (21) и слой фторопластового нетканого материала (30), на внешней поверхности (29) передней кромки (20) лопасти (100), формирует воздушный слой (S) вокруг внешней поверхности (29) передней кромки (20) лопасти (100).
На Фиг. 3 изображены следующие элементы заявленного устройства и их связи, например:
Воздуховод (21), расположенный вдоль передней кромки (носка) (20) лопасти (100) от основания к вершине упомянутой лопасти (100), соединен с расположенными во внутреннем объёме (V100) лопасти (100) компрессором (351) и электромагнитным клапаном (353), а также через перфорированный корпус (27) с внешней поверхностью (29) передней кромки (20) лопасти (100). При этом внешняя часть корпуса (27) воздуховода (21) является внешней поверхностью (29) передней кромки (20) лопасти (100).
На внешней поверхности (29) передней кромки (20) лопасти (100) закреплен слой продуваемого эластичного супергидрофобного материала (30), например, фторопластовый нетканый материал.
Указанные компрессор (351) и электромагнитный клапан (353) соединены с внешним модулем управления (61) регулирующим частоту подачи импульсов воздушного потока (P) во внутренний объём (V21) воздуховода (21).
Подробное описание осуществления изобретения
Далее будут детально рассмотрены особенности реализации заявляемого изобретения, иллюстрируемые приложенными чертежами.
Для того чтобы достичь вышеуказанного технического результата, предложенное устройство лопасти (100) ветроэлектрической установки (ВЭУ) включает в себя (см. Фиг. 1 и Фиг. 2, которые иллюстрируют примерный вариант осуществления заявленного изобретения) следующие элементы и их связи:
Воздуховод (21), расположенный вдоль передней кромки (носка) (20) лопасти (100) от ее основания до вершины, соединенный с внешним компрессором (51) и внешним электромагнитным клапаном (53), обеспечивающими подачу импульсного воздушного потока (P) по упомянутому воздуховоду (21) в направлении от основания лопасти (100) к ее вершине.
Корпус (27) воздуховода (21), внешняя часть которого является внешней поверхностью (29) передней кромки (20) лопасти (100), как минимум в местах наиболее вероятного обледенения лопасти (100), выполнен с перфорациями, причем каждое отверстие обеспечивает связь внутреннего объёма (V21) воздуховода (21) с внешней поверхностью (29) передней кромки (20) лопасти (100).
На внешней поверхности (29) передней кромки (20) лопасти (100) закреплен продуваемый эластичный супергидрофобный материал (30), например, фторопластовый нетканый материал (фторполимер), закрывающий упомянутые перфорации в корпусе (27) воздуховода (21).
Фторопластовый нетканый материал (30) образует продуваемое эластичное супергидрофобное покрытие на внешней поверхности (29) передней кромки (20) лопасти (100), такое покрытие выполнено с возможностью его замены.
Внешние компрессор (51) и электромагнитный клапан (53) соединены с внешним модулем управления (61), задающим амплитуду импульсов подачи воздуха (P) в воздуховод (21). Амплитуда импульсов задаётся исходя из сложившихся метеорологических условий и угрозы обледенения лопасти (100).
Импульсный воздушный поток (P), направленный по воздуховоду (21) от основания лопасти (100) к её вершине, через перфорации в корпусе (27) воздуховода (21) попадает на внешнюю поверхность (29) передней кромки (20) лопасти (100), где, сталкиваясь с внешним воздушным потоком (A), перпендикулярным лопасти (100), формирует воздушный слой (S) вокруг внешней поверхности (29) передней кромки (20) и далее всей упомянутой лопасти (100). Сформированный воздушный слой (S) вокруг внешней поверхности (29) передней кромки (20) и далее всей лопасти (100) препятствует контакту атмосферной влаги (туман, капли дождя, снег, лед и пр.) и её намерзанию на внешней поверхности лопасти (100).
А импульсы воздушного потока (P) оказывают ударно-волновое воздействие через слой фторопластового нетканого материала (30) на скопившуюся атмосферную влагу или образовавшуюся наледь на внешней поверхности (29) передней кромки (20) лопасти (100), а, в случае закрепления слоя фторопластового нетканого материала (30) на всей внешней поверхности лопасти (100), ударно-волновое воздействие оказывается на всю внешнюю поверхность лопасти (100).
В случае образования наледи на внешней поверхности (29) передней кромки (20) лопасти (100), направленный на внешнюю поверхность (29) реактивный поток воздуха (L) формирует воздушный слой (S) между льдом и фторопластовым нетканым материалом (30), что в совокупности с ударно-волновым воздействием способствует разрушению и удалению наледи, с внешней поверхности (29) передней кромки (20) лопасти (100).
Причем слой фторопластового нетканого материала (30), вследствие своей супергидрофобности, обеспечивает в реактивном воздушном потоке (L), направленном на внешнюю поверхность (29), более низкий процент влажности, чем во внешнем набегающем потоке воздуха (A), что также способствует удалению влаги с внешней поверхности лопасти (100), а также упомянутый слой фторопластового нетканого материала (30) обеспечивает равномерное распределение воздушного слоя (S) вокруг лопасти (100) и его устойчивость.
Существует вариант осуществления изобретения, описанного выше, в котором, внешняя часть корпуса (27) воздуховода (21), как минимум наиболее подверженная обледенению, изготовлена из каркасной сетки с закрепленным на ней фторопластовым нетканым материалом (30), являющимся внешней поверхностью (29) передней кромки (20) лопасти (100).
Существует вариант осуществления изобретения, описанного выше, в котором в воздуховод (21) производится импульсная подача (P) подогретого воздуха. В данном варианте осуществляется еще и термическое антиобледенительное воздействие.
Существует вариант осуществления изобретения, описанного выше, в котором в воздуховод (21) производится импульсная подача (P) сжатого воздуха. В указанном варианте осуществления изобретения воздуховод соединен вместо внешнего компрессора (51), с емкостью для сжатого воздуха и внешним электромагнитным клапаном (53). Так же емкость может содержать специально подготовленную газовую смесь.
Существует вариант осуществления изобретения, описанного выше, представлен на Фиг. 3, в котором лопасть (100) ВЭУ, содержит в своем внутреннем объёме (V100), компрессор или емкость для сжатого воздуха, (351) и электромагнитный клапан (353), соединенные с воздуховодом (21) и внешним модулем управления (61).
Существует вариант осуществления изобретения, описанного выше, в котором воздуховод (21) соединен с внешним электромагнитным клапаном (53) и трубкой Ранка вместо внешнего компрессора (51), в том числе с «горячим» концом трубки Ранка, в целях направления в воздуховод (21) воздушного потока (P) с более высокой температурой, чем во внешнем воздушном потоке (A).
Также существует вариант осуществления изобретения, в котором указанные внешний электромагнитный клапан (53) и трубка Ранка, находятся во внутреннем объёме лопасти (100) ВЭУ.
Также существует вариант осуществления изобретения, описанного выше, в котором лопасть (100) содержит второй воздуховод, расположенный вдоль задней кромки (70) лопасти (100), от ее основания до вершины, соединённый с внешним компрессором (51) и внешним электромагнитным клапаном (53). Внешняя часть корпуса второго воздуховода является внешней поверхностью задней кромки (70) лопасти (100) и выполнена с перфорациями, обеспечивающими связь внутреннего объёма второго воздуховода с упомянутой внешней поверхностью задней кромки (70) лопасти (100).
На внешней поверхности задней кромки (70) лопасти (100) закреплен продуваемый эластичный супергидрофобный материал (30), например, фторопластовый нетканый материал (фторполимер), закрывающий упомянутые перфорации в корпусе второго воздуховода.
Фторопластовый нетканый материал (30) образует продуваемое эластичное супергидрофобное покрытие на внешней поверхности задней кромки (70) лопасти (100), такое покрытие выполнено с возможностью его замены.
В указанном варианте осуществления изобретения импульсный воздушный поток (P) формируемый внешними компрессором (51) и электромагнитным клапаном (53), направленный по первому воздуховоду (21) и второму воздуховоду от основания лопасти (100) к её вершине, через перфорации в корпусе (27) первого воздуховода (21) и в корпусе второго воздуховода, попадает соответственно на внешнюю поверхность (29) передней кромки (20) лопасти (100) и на внешнюю поверхность задней кромки (70) лопасти (100), где сталкиваясь с внешним воздушным потоком (A), перпендикулярным лопасти (100), формирует воздушный слой (S) вокруг внешней поверхности лопасти (100). Сформированный воздушный слой (S) вокруг внешней поверхности лопасти (100), препятствует контакту атмосферной влаги (туман, капли дождя, снег, лед и пр.) и её намерзанию на внешней поверхности лопасти (100).
Экспериментальные результаты
Проведенный эксперимент с ударно-волновым воздействием и подачей воздушного потока из-под поверхности показал, что данные методы отлично друг друга дополняют.
Ударно-волновое воздействие реализовано за счет создаваемых импульсов давления внутри лопасти. Метод импульсной подачи воздуха создавался с помощью компрессора и электромагнитного клапана, который позволял создавать импульсы с заданной частотой. Период накопления воздуха и длительность подачи воздуха задавались контроллером, который в свою очередь управлялся модулем управления экспериментом.
Проведенный эксперимент с ударно-волновым воздействием и формированием воздушного слоя вокруг внешней поверхности показал, что данные методы отлично друг друга дополняют. В отдельности ударно-волновое воздействие не может справиться со всей обледененной поверхностью, так как воздействует на лед локально в месте непосредственного соприкосновения с тканью. Подача воздушного потока из-под поверхности создает воздушный карман между льдом и фторполимерным покрытием, что также недостаточно для полного разрушения льда. Комбинация данных методов позволяет полностью избавиться ото льда.
В эксперименте использовался метод импульсной подачи воздушного потока из-под поверхности лопасти, формирующий воздушный слой вокруг внешней поверхности и оказывающий ударно-волновое воздействие на обледенение.
Экспериментально показано, что сформированный воздушный слой препятствует каплям влаги в аэродинамическом потоке подлетать и примерзать к поверхности, вследствие чего образование льда происходит значительно медленнее, чем при отсутствии воздушного слоя, например, образование 1 мм льда при импульсной подаче воздушного потока занимает 10 минут и 1 минуту при его отсутствии, что увеличивает время образования льда на порядок.
| название | год | авторы | номер документа |
|---|---|---|---|
| Лопасть ветроэлектрической установки с противообледенительной системой | 2023 |
|
RU2825497C1 |
| Лопасть ветроэлектрической установки с противообледенительной системой | 2023 |
|
RU2823835C1 |
| Способ предотвращения и борьбы с обледенением лопастей ветроэлектрических установок | 2023 |
|
RU2827527C1 |
| Устройство проверки эффективности противообледенительных методов | 2023 |
|
RU2832792C1 |
| Аэродинамическая климатическая установка для исследования влияния обледенения на кинематические и силовые параметры лопастей ветрогенераторов | 2023 |
|
RU2824334C1 |
| Способ исследования влияния обледенения на кинематические и силовые параметры лопастей ветрогенераторов | 2023 |
|
RU2832790C1 |
| СПОСОБ ПРИВОДА КОЛЕС ШАССИ САМОЛЕТА И ШАССИ САМОЛЕТА С ПРИВОДОМ КОЛЕС | 2011 |
|
RU2495792C2 |
| СПОСОБ И УСТРОЙСТВО ДЛЯ ПРЕДОТВРАЩЕНИЯ ОБЛЕДЕНЕНИЯ ЛОПАСТЕЙ ВЕТРЯНОГО ГЕНЕРАТОРА | 2015 |
|
RU2685160C2 |
| СПОСОБ ПРЕДОТВРАЩЕНИЯ ОБРАЗОВАНИЯ И УДАЛЕНИЯ ЛЬДА С КОМПОЗИТНЫХ КОНСТРУКТИВНЫХ ЭЛЕМЕНТОВ И УСТРОЙСТВО ЕГО РЕАЛИЗУЮЩЕЕ | 2015 |
|
RU2578079C1 |
| СПОСОБ ПРЕДОТВРАЩЕНИЯ ОБРАЗОВАНИЯ И УДАЛЕНИЯ ЛЬДА | 2020 |
|
RU2756065C1 |
Изобретение относится к энергетике, в частности к средствам предотвращения и борьбы с обледенением лопастей ветроэлектрических установок (ВЭУ). Изобретение заключается в том, что лопасть ВЭУ содержит вдоль передней кромки воздуховод, в который осуществляется импульсная подача воздушного потока, направленного от основания лопасти до ее вершины. Корпус воздуховода является передней кромкой лопасти и в местах наиболее вероятного обледенения лопасти ВЭУ выполнен с перфорациями на передней кромке лопасти. На указанной передней кромке лопасти закреплен слой фторопластового нетканого материала, испытывающий ударно-волновое воздействие от импульсов подачи воздуха. Техническим результатом является улучшение аэродинамических характеристик лопасти, что увеличивает КПД ВЭУ. 4 з.п. ф-лы, 4 ил.
1. Лопасть (100) ветроэлектрической установки (ВЭУ), содержащая воздуховод (21), расположенный вдоль передней кромки (20) лопасти (100) от ее основания до вершины, внешний компрессор (51), внешний электромагнитный клапан (53), внешний модуль управления (61), причем воздуховод (21) в основании лопасти (100) соединен с внешним компрессором (51) и внешним электромагнитным клапаном (53), предназначенными для создания импульсного воздушного потока (P), направленного в упомянутый воздуховод, а также соединены с внешним модулем управления (61), отличающаяся тем, что внешняя часть корпуса (27) воздуховода (21) соединена с внешней поверхностью (29) передней кромки (20) лопасти (100) как минимум в местах наиболее вероятного обледенения лопасти (100), корпус (27) выполнен с перфорациями, причем каждое отверстие обеспечивает связь внутреннего объема (V21) воздуховода (21) с внешней поверхностью (29) передней кромки (20) лопасти (100), а также как минимум на упомянутой внешней поверхности (29) передней кромки (20) лопасти (100) закреплен слой продуваемого эластичного супергидрофобного материала (30), причем перфорированный корпус (27) воздуховода (21) предназначен для создания воздушного слоя (S) вокруг как минимум внешней поверхности (29) передней кромки (20) лопасти (100), препятствующего контакту указанной внешней поверхности (29) с внешним потоком (A), перпендикулярным лопасти (100), а слой фторопластового нетканого материала (30) предназначен для создания ударно-волнового воздействия на образования наледи как минимум на внешней поверхности (29) передней кромки (20) лопасти (100) вследствие импульсной подачи воздушного потока (P) в воздуховод (21), а также обеспечивает меньший процент влажности воздуха в воздушном слое (S) вокруг внешней поверхности (29) передней кромки (20) лопасти (100), чем в набегающем потоке воздуха (A), и его равномерное распределение вокруг лопасти (100), и его устойчивость, а амплитуда импульсов воздушного потока (P) задается внешним модулем управления (61).
2. Устройство по п. 1, отличающееся тем, что лопасть (100) содержит во внутреннем объеме компрессор (351) и электромагнитный клапан (353), соединенные с воздуховодом (21) и внешним модулем управления (61).
3. Устройство по п. 1 или 2, в котором содержится второй воздуховод, расположенный вдоль задней кромки (70) лопасти (100) от ее основания до вершины, соединенный в основании лопасти с внешним компрессором (51) и внешним электромагнитным клапаном (53), причем внешняя часть корпуса второго воздуховода является внешней поверхностью задней кромки (70) лопасти (100), в котором как минимум в местах наиболее вероятного обледенения лопасти (100) выполнены перфорации, обеспечивающие связь внутреннего объема второго воздуховода с внешней поверхностью задней кромки (70) лопасти (100), причем на указанной внешней поверхности задней кромки лопасти (100) закреплен слой фторопластового нетканого материала (30).
4. Устройство по п. 1, или 2, или 3, в котором подаваемый поток воздуха (P) в воздуховод (21) предварительно нагревается.
5. Устройство по п. 1, или 2, или 3, или 4, в котором в воздуховод (21) подается сжатый воздух.
| WO 2004036038 A1, 29.04.2004 | |||
| CN 109469580 A, 15.03.2019 | |||
| СПОСОБ ПРЕДОТВРАЩЕНИЯ ОБРАЗОВАНИЯ И УДАЛЕНИЯ ЛЬДА | 2020 |
|
RU2756065C1 |
| СПОСОБ ИЗГОТОВЛЕНИЯ ПАНЕЛИ С РЕБРАМИ ЖЕСТКОСТИ ИЗ ПОЛИМЕРНЫХ КОМПОЗИЦИОННЫХ МАТЕРИАЛОВ | 2016 |
|
RU2623773C1 |
| WO 2022053117 A1, 17.03.2022. | |||
Авторы
Даты
2025-01-09—Публикация
2023-12-29—Подача