Устройство для санации инфицированной плевральной полости Российский патент 2025 года по МПК A61M1/00 A61M3/02 A61L2/10 

Описание патента на изобретение RU2833117C1

Изобретение относится к области медицины, разделу хирургии, а именно к устройствам, предназначенным для санации инфицированной плевральной полости.

По данным литературы (Dire, Daniel I. [1990] "A comparison of Wound Irrigation Solutions used in the Emergency Department", Annals of Emergency Medicine 19(6):704-708).) известно, что определяющим фактором инфицирования раны является количество, а не тип бактерий. По результатам экспериментов известно, что критический уровень бактерий составляет приблизительно 105 организмов на грамм ткани. Ниже этого уровня вероятность заживления раны выше, а при уровне выше 105 бактерий на грамм ткани в ранах часто развиваются инфекции. Все раны травматического характера являются загрязненными к моменту обращения в медицинское учреждение для лечения (Dire, Daniel I. [1990] "A comparison of Wound Irrigation Solutions used in the Emergency Department", Annals of Emergency Medicine 19(6):704-708).). Следовательно, снижение интоксикации и уменьшение количества бактерий в ране способствует профилактике инфекции и ускорению заживления раны.

У пациентов, перенесших травму или тяжелое оперативное вмешательство на органах грудной клетки, вследствие различных факторов, таких как иммуносупрессия или первичное инфицирование полости, очень часто развиваются гнойно-септические осложнения, в дальнейшем приводящие к прогрессированию признаков интоксикации. В некоторых случаях при хронизации эмпиемы плевры существует вероятность развития вторичного амилоидоза внутренних органов, что значительно ухудшает качество жизни пациента и его клинический прогноз.

Известно устройство для санации гнойных полостей (см. патент SU № 1292780 А1, 24.04.1985 г.), содержащее дренажные трубки, блок отсоса, антибактериальный фильтр.

К причинам, препятствующим достижению указанного ниже технического результата, при использовании известного устройства, относят то, что данное устройство ввиду того, что точка поступления антисептического раствора и точка забора отработанного диализата и экссудата находятся на близком расстоянии, что затрудняет промывание полостей значительного объема. Так же для промывания инфицированной полости нужно постоянно использовать новые объемы антисептического раствора, так как в устройстве не предусмотрена возможность удаления токсичных веществ из отработанного диализата.

Известно устройство (см. патент SU № 1044287 А, опубл. 07.05.1981), выполненное в виде отсоса, сборника, компрессора, реле времени, капельницы и соединительных магистралей, дополнительно снабженным герметичной емкостью для лечебного раствора. Устройство планируется для круглосуточной санации инфицированной полости в автоматическом режиме, попеременно заполняя и опорожняя полость.

К причинам, препятствующим достижению указанного ниже технического результата при использовании известного устройства, относится то, что для круглосуточной санации инфицированной полости затрачивается большое количество антисептического раствора, сложность устройства в виде наличия специального микропроцессора.

Технической проблемой, на решение которой направлено изобретение, является создание компактного устройства для санации инфицированных полостей.

Технический результат - сокращение сроков лечения закрытой инфицированной плевральной полости путем многократного ее промывания жидкостью, которая циркулирует в замкнутом контуре, состоящим из инфицированной полости и предлагаемого устройства.

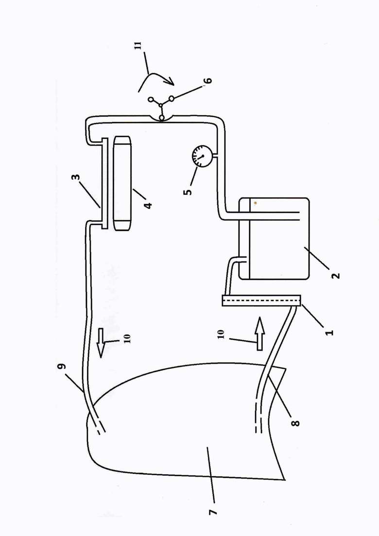
Технический результат достигается тем, что устройство для санации инфицированной плевральной полости содержит последовательно соединенные между собой посредством силиконовых трубок фильтр механической очистки от твердых нерастворимых включений, сорбционную колонку для адсорбирования токсичных веществ и задержки бактерий; кювету, расположенную в непосредственной близости от ультрафиолетовой бактерицидной лампы, а поверх силиконовых трубок установлены манометр для контроля изменения давления внутри силиконовых трубок и перистальтический роликовый насос с регулируемой подачей промывающей жидкости.

Сущность изобретения поясняется чертежом, где:

1 - фильтр очистки раствора от твердых включений сорбционная колонка

2 - одноразовая кювета

4 - ультрафиолетовая бактерицидная лампа,

5 - манометр

6 - перистальтический роликовый насос с регулируемой подачей жидкости.

7 - инфицированная полость

8 - нижняя отводящая силиконовая трубка, выходящая из инфицированной полости 7,

9 - верхняя подводящая дренажная силиконовая трубка, входящая в полость 7.

10 - направление тока жидкости

11 - направление вращения перистальтического роликового насоса

Устройство содержит последовательно соединенные между собой посредством силиконовых трубок фильтр 1 механической очистки от твердых нерастворимых включений, в качестве которого можно использовать фильтр от системы переливания крови, сорбционную колонку 2 для адсорбирования токсичных веществ и бактерий (например колонка гемосорбционная "Гемос-КС"), одноразовую кювету 3 (К-ИГ-3 или аналог), расположенную в непосредственной близости от ультрафиолетовой бактерицидной лампы 4 (ДРБ 8-1 мощностью- 8Вт или аналог).

На силиконовой трубке установлены манометр 5 для контроля изменения давления внутри силиконовых трубок; и перистальтический роликовый насос 6 для подачи промывающей жидкости от 10 до 150 мл/мин.

Устройство работает следующим образом.

Пациенту устанавливают два дренажа в инфицированную плевральную полость 7 максимально далеко друг от друга, один из которых - нижняя отводящая дренажная силиконовая трубка 8, а второй - верхняя подводящая дренажная силиконовая трубка 9. Желательно в плевральной полости нахождение подводящей дренажной силиконовой трубки 8 во втором межреберье по среднеключичной линии, а отводящей дренажной силиконовой трубки 9 в седьмом-восьмом межреберье по передней подмышечной линии. В зависимости от локализации спаечного процесса плевральной полости локализация дренажей может измениться. Инфицированная плевральная полость 7 заполняется промывающей жидкостью, например, физиологическим раствором или раствором гипохлорита натрия в концентрации 0,03%. Затем дренажные силиконовые трубки 8 и 9 присоединяются к предлагаемому устройству.

Под действием перистальтического роликового насоса 6 осуществляется подача из инфицированной полости 7 инфицированной промывающей жидкости, содержащей детрит, бактерии и токсины, по нижней отводящей дренажной силиконовой трубке 8 в фильтр 1 механической очистки от твердых нерастворимых включений, где происходит задержка твердых частей, содержащихся в жидкости (нити фибрина, детрит, включения). Далее инфицированная промывающая жидкость по системе силиконовых трубок попадает в сорбционную колонку 2, где происходит адсорбция содержащихся в инфицированной промывающей жидкости токсинов и задержка содержащихся в растворе бактерий. Затем промывающая жидкость, лишенная токсинов и бактерий после прохождения через сорбционную колонку, поступает в одноразовую кювету 3, где происходит бактерицидная обработка ультрафиолетовой бактерицидной лампой 4. После этого стерильная и лишенная токсинов промывающая жидкость поступает в обрабатываемую инфицированную полость 7 через верхнюю подводящую дренажную силиконовую трубку 9.

Для контроля за работоспособностью фильтра 1 механической очистки от твердых нерастворимых включений (детрит, фибрин) и сорбционной колонки 2 может быть использован манометр 5, накладываемый на поверхность силиконовой трубки с циркулирующей жидкостью.

Циркуляция промывающей жидкости может осуществляться круглосуточно, так же возможна регуляция скорости ее циркуляции. Замена используемых фильтра 1 и сорбционной колонки 2 производится согласно рекомендациям производителя, либо при нарушении их функции (их механическая закупорка фибрином или детритом).

Клинический пример.

Больная Ч., 54 г. Поступила в легочно-хирургическое отделение противотуберкулезного диспансера в мае 2014 года с жалобами на слабость, вялость, одышку, снижение аппетита, болезненность и тяжесть в правой половине грудной клетки. Из анамнеза: ранее туберкулезом легких, ВИЧ-инфекцией, вирусными гепатитами не болела. Со слов пациентки в связи с появлением вышеописанных жалоб обратилась в поликлинику по месту временной регистрации (работала в другом регионе по найму), где при проведении обзорной рентгенограммы органов грудной клетки обнаружена патология легких, признаки наличия жидкости в правой плевральной полости, рекомендована госпитализация в стационар. Была госпитализирована в стационар терапевтического профиля, где в течение 3 недель находилась с диагнозом «Правосторонняя плевропневмония».

При обследовании в стационаре впервые выявлена ВИЧ-инфекция, инфильтративный туберкулез легких, осложненный правосторонней эмпиемой плевры, туберкулез внутригрудных лимфатических узлов, меноррагия, гематомы вульвы множественные, анемия средней степени, миопический астигматизм обоих глаз, хронический вирусный гепатит С, рекомендовано продолжить лечение в стационаре туберкулезного профиля.

Пациентка была госпитализирована в туберкулезную больницу с диагнозом: «Генерализованный туберкулез легких: Инфильтративный туберкулез легких, МБТ (-), осложненный эмпиемой правой плевральной полости. Туберкулез внутригрудных лимфатических узлов. ВИЧ-инфекция, 4 Б стадия, прогрессирование на фоне начала ВААРТ. ВИЧ-ассоциированная тромбоцитопения», где получала этиотропную, патогенетическую и симптоматическую терапию. Пациентке проводились ежедневные пункции правой плевральной полости с эвакуацией густого гнойного содержимого, промывания плевральной полости, в дальнейшем было проведено дренирование. Через 2 месяца пациентка была выписана с рекомендацией продолжения лечения в стационаре противотуберкулезного профиля по месту прописки, дренаж снят.

Пациентка была госпитализирована в легочно-хирургическое отделение противотуберкулезного диспансера по месту прописки, где ей была продолжена назначенная ранее терапия. Описание рентгенограммы органов грудной клетки на момент поступления в легочно-хирургическое отделение: «В верхнем отделе справа множественные полиморфные очаги. От переднего отрезка 2 ребра до купола диафрагмы однородное затемнение с нечеткой верхней границей. Слева диффузные фиброзные изменения. Корень бесструктурный».

При пробной плевральной пункции получен густой гной, проведено дренирование левой плевральной полости в 7 межреберье слева по передней подмышечной линии. Ежедневно проводились промывания левой плевральной полости 1 раз в день раствором фурациллина объемом 1200 мл. В связи с прогрессированием тромбоцитопении (наличие кровоизлияний на поверхности тела, уровень тромбоцитов 22х109/л) пациентка была консультирована гематологом для решения вопроса о назначении переливания тромбомассы. Решением консилиума переливание тромбомассы признано нецелесообразным, назначена гормональная терапия. Учитывая наличие сопутствующей патологии (тромбоцитопения) проведение радикальной операции (плеврэктомия, декортикация легкого) противопоказано.

После проведенной гормональной терапии, подъема уровня тромбоцитов до 41х109/л и значительного снижения количества кровоизлияний, пациентке предложена санация левой плевральной полости при помощи вышеописанного устройства, письменное согласие получено.

Пациентке установлен второй дренаж в 4 межреберье по передней подмышечной линии (верхний отдел полости эмпиемы) левой плевральной полости. Левая плевральная полость промыта большим объемом раствора натрия хлорида 0,9% до появления чистой жидкости. Далее полость была заполнена раствором гипохлорита натрия 0,03%, дренажи присоединены к устройству. В течение 10 дней каждое утро пациентке проводилась замена раствора в плевральной полости, (причем первые 5 дней плевральная полость заполнялась раствором гипохлорита натрия 0,03%, последующие 5 дней плевральная полость заполнялась раствором хлорида натрия 0,9%) замена фильтра механической очистки от твердых нерастворимых включений и сорбционной колонки. Через 10 дней аппарат был снят, дренажи эвакуированы. В течение 7 месяцев во время последующего стационарного лечения, а так же по данным последующих рентгенологических и ультразвуковых исследований во время амбулаторного наблюдения за пациенткой повторного накопления жидкости в левой плевральной полости не отмечено, пациентка после стабилизации состояния выписана на санаторно-курортное лечение в специализированный противотуберкулезный санаторий. В 2020 году пациентка снята с диспансерного учета у фтизиатра. В настоящее время (май 2024 г.) состояние пациентки оценивается как удовлетворительное, особых жалоб не предъявляет. Пациентка продолжает наблюдение в центре СПИД, получает ВААРТ, противорецидивную терапию противотуберкулезными препаратами при снижении количества CD4 клеток ниже 350.

Похожие патенты RU2833117C1

название год авторы номер документа
Способ лечения эмпиемы плевры 2017
  • Никонов Сергей Данилович
  • Огиренко Анатолий Павлович
  • Смоленцев Максим Николаевич
  • Левин Арнольд Вольфович
  • Краснов Денис Владимирович
  • Петренко Татьяна Игоревна
RU2661090C1
СПОСОБ ХИРУРГИЧЕСКОГО ЛЕЧЕНИЯ ДИФФУЗНОГО ГНОЙНОГО МЕДИАСТИНИТА 2006
  • Сулиманов Рушан Абдулхакович
  • Сеничев Дмитрий Викторович
  • Сулиманов Рамиль Рушанович
RU2318454C1
СПОСОБ САНАЦИИ ИНФИЦИРОВАННОЙ ПЛЕВРАЛЬНОЙ ПОЛОСТИ ПОСЛЕ ПНЕВМОНЭКТОМИИ 1991
  • Колос Анатолий Иванович[Kz]
  • Галамбец Игорь Иванович[Kz]
RU2026087C1
СПОСОБ ФОРМИРОВАНИЯ ВНУТРИПРОСВЕТНОГО ДОСТУПА К ГНОЙНОЙ ПОЛОСТИ СРЕДОСТЕНИЯ ДЛЯ ПРОВЕДЕНИЯ ЭНДОСКОПИЧЕСКОЙ ВАКУУМНОЙ ТЕРАПИИ 2022
  • Гасанов Мурад Артурович
  • Даниелян Шаген Николаевич
  • Гасанов Али Магомедович
RU2792719C1
СПОСОБ САНАЦИИ ТРАХЕОБРОНХИАЛЬНОГО ДЕРЕВА ПРИ ЗАБОЛЕВАНИЯХ ЛЕГКИХ 2003
  • Иванов Алексей Владимирович
  • Граблер Михаил Ильич
  • Пехтусов Вадим Александрович
  • Степкин Юрий Модестович
  • Янковский Олег Петрович
  • Булгакова Зинаида Никифоровна
  • Загорулько Александр Николаевич
  • Кобелевская Наталья Викторовна
RU2269364C2
СПОСОБ ЛЕЧЕНИЯ ГНОЙНЫХ ПОЛОСТЕЙ В ТОРАКАЛЬНОЙ ХИРУРГИИ 1993
  • Темирбулатов Владимир Ибрагимович
RU2035895C1
СПОСОБ ДРЕНИРОВАНИЯ ПЛЕВРАЛЬНОЙ ПОЛОСТИ 2002
  • Агаджанян В.В.
  • Агаларян А.Х.
  • Захаров А.В.
RU2232549C2
Способ хирургического лечения бронхиального свища после операции по поводу туберкулёза лёгких 2016
  • Баженов Александр Викторович
  • Мотус Игорь Яковлевич
  • Скорняков Сергей Николаевич
  • Медвинский Игорь Давыдович
  • Цвиренко Анна Сергеевна
  • Кардапольцев Лев Владимирович
  • Басыров Рауф Тельманович
  • Хольный Петр Михайлович
  • Мальцева Анна Сергеевна
RU2627292C1
СПОСОБ ЛЕЧЕНИЯ ЭМПИЕМЫ ПЛЕВРЫ ПО Н.С. СТРЕЛКОВУ 2005
  • Стрелков Николай Сергеевич
  • Ураков Александр Ливиевич
  • Уракова Наталья Александровна
  • Уракова Татьяна Викторовна
  • Елхов Илья Владимирович
  • Тихомирова Мария Юрьевна
  • Садилова Полина Юрьевна
  • Ватулин Валерий Валерьевич
RU2308894C2
СПОСОБ ЛЕЧЕНИЯ ГНОЙНЫХ ПЛЕВРОЛЕГОЧНЫХ ПОЛОСТЕЙ 2007
  • Баззаев Тамази Владимирович
  • Баззаев Юрий Тамазиевич
RU2344766C1

Иллюстрации к изобретению RU 2 833 117 C1

Реферат патента 2025 года Устройство для санации инфицированной плевральной полости

Изобретение относится к медицинской технике, а именно к устройству для санации инфицированной плевральной полости. Устройство выполнено с возможностью присоединения нижней силиконовой трубки для отвода инфицированной промывающей жидкости и верхней силиконовой трубки для подвода стерильной и лишенной токсичных веществ промывающей жидкости. Устройство содержит последовательно соединенные между собой посредством силиконовых трубок фильтр механической очистки от твердых нерастворимых включений, сорбционную колонку для адсорбирования токсичных веществ и задержки бактерий, одноразовую кювету, расположенную в непосредственной близости от ультрафиолетовой бактерицидной лампы. Поверх силиконовых трубок установлены манометр для контроля измерения давления внутри силиконовых трубок и перистальтический роликовый насос с регулируемой подачей промывающей жидкости. Техническим результатом является сокращение сроков лечения закрытой инфицированной плевральной полости путем многократного ее промывания жидкостью, которая циркулирует в замкнутом контуре, состоящем из инфицированной полости и предлагаемого устройства. 1 ил.

Формула изобретения RU 2 833 117 C1

Устройство для санации инфицированной плевральной полости, выполненное с возможность присоединения нижней силиконовой трубки для отвода инфицированной промывающей жидкости и верхней силиконовой трубки для подвода стерильной и лишенной токсичных веществ промывающей жидкости, содержащее последовательно соединенные между собой посредством силиконовых трубок фильтр механической очистки от твердых нерастворимых включений, сорбционную колонку для адсорбирования токсичных веществ и задержки бактерий, одноразовую кювету, расположенную в непосредственной близости от ультрафиолетовой бактерицидной лампы, при этом поверх силиконовых трубок установлены манометр для контроля измерения давления внутри силиконовых трубок и перистальтический роликовый насос с регулируемой подачей промывающей жидкости.

Документы, цитированные в отчете о поиске Патент 2025 года RU2833117C1

СПОСОБ ПРОФИЛАКТИКИ ПОСТПНЕВМОНЭКТОМИЧЕСКИХ ЭМПИЕМ ПЛЕВРЫ 1992
  • Акопов А.Л.
  • Бакуев А.А.
  • Белый К.П.
  • Березин Ю.Д.
  • Гончаров С.В.
  • Доброборская Т.Н.
  • Ермаченко Л.Е.
  • Журавлев А.В.
  • Малышев В.И.
  • Орлов С.В.
  • Соловьев А.Ф.
RU2065726C1
US 20060161107 A1, 20.07.2006
US 20220160947 A1, 26.05.2022
US 20190343445 A1, 14.11.2019
Студенческий научно-практический кружок // Заседание секции "Хирургия" ежегодной научно-практической конференции студентов ИМЭиФК УлГУ
// Лечение эмпиемы плевры: использование разработанного устройства для санации плевральной

RU 2 833 117 C1

Авторы

Смолькина Антонина Васильевна

Янголенко Дмитрий Владимирович

Аль Али Али

Даты

2025-01-14Публикация

2024-07-11Подача