Полифункциональный воздухоподогреватель для автономного теплогенератора относится к теплоэнергетике, а именно к системам поквартирного отопления и электроснабжения жилых зданий.
Известен теплоэлектрогенератор для автономного энергоснабжения, содержащий наружный и внутренний вертикальные прямоугольные коробы, универсальную топку с газоходом, газовый патрубок, первичный и вторичный контуры, стенки наружного и внутреннего коробов, крышек, днищ и вертикальных перегородок, соприкасающиеся с нагреваемой водой, выполнены с продольными вертикальными и горизонтальными зубчатыми пазами, обращенными в горячую сторону, в которые вставлены зубчатые ребра, состояшие из последовательно соединенных термоэмиссионных (термоэлектрических) преобразователей, выполненных из пары отрезков разных металлов М1 и М2, концы которых соединены между собой контактными спаями, пары которых соединены между собой в зоне охлаждения через конденсаторы и перемычки, образуя теплоэлектрические секции и теплоэлектрические блоки, которые присоединены к коллекторам с одноименными зарядами, соединенными с токовыводами [Патент РФ №2599087, МПК F24 Н1/00, 2016].
Основными недостатками известного термоэлектрогенератора для автономного энергоснабжения является сложность и громоздкость его конструкции, невозможность использования тепла уходящих дымовых газов для генерации термоэлектричества, что уменьшает его надежность и эффективность.
Более близким к предлагаемому изобретению является термоэлектрический источник электроснабжения для автономного теплогенератора, содержащим теплогенератор, газовый патрубок, соединенный с магистральной трубой дымовых газов, участок которого на выходе из теплогенератора покрыт цилиндрическим воздушным кожухом, составленным из двух полукожухов (полуцилиндров), снабженных крепежными отверстиями, в которые вставлены сквозные крепежные болты, заглушенных с внутреннего торца и образующих с наружного торца кольцевую заборную щель, причем кожух соединен воздуховодом, снабженным дутьевым вентилятором, с топкой теплогенератора, внутри полости кожуха вокруг наружной поверхности вышеупомянутого участка газового патрубка расположен термоэлектрический блок, соединенный электропроводкой с электродвигателем вентилятора, инвертором и аккумулятором, при этом термоэлектрический блок состоит, из расположенных на поверхности трубопровода N термоэлектрических секций, каждая из которых представляет собой продольную рамку, установленную с зазором Δ от наружной поверхности газопровода и состоящую из n клеток, на торцах которой устроены по одному крепежному резьбовому отверстию, в которые вкручены сквозные крепежные болты, а на кромки клеток уложены своими нижними кромками n плоских термоэлектрических преобразователей, соединенных токовыводами с коллекторами одноименных зарядов, на верхнюю наружную поверхность плоских термоэлектрических преобразователей каждой термоэлектрической секции наложены радиаторы, выполненные из гидростойкого материала с высокой теплопроводностью, снабженные на торцах проходными отверстиями и прижатые к наружной поверхности плоских термоэлектрических преобразователей прижимными гайками на сквозных крепежных болтах [Патент РФ №2725303, МПК F24 Н1/00, С23 F13/00, 2020].
Основными недостатками известного термоэлектрического источника для автономного термоэлектрогенератора являются наличие тепловых потерь от цилиндрического кожуха в окружающую среду, обусловленное отсутствием его теплоизоляции, сложная конструкция термоэлектрического блока, высокое термическое сопротивление теплопередаче от потока воздуха к наружной стенке плоского термоэлектрического преобразователя, обусловленное наличием сплошного основания радиатора, закрывающего всю наружную стенку вышеупомянутого преобразователя, переток части приточного воздуха из полости кожуха в зазор между газовым патрубком и основанием термоэлектрической секции, обусловленный наличием щелей между термоэлектрическим секциями и невозможность увеличения числа термоэлектрических преобразователей, что уменьшает его надежность и эффективность.
Технической задачей предлагаемого изобретения является повышение надежности и эффективности полифункционального воздухоподогревателя для автономного теплогенератора.
Технический результат достигается полифункциональным воздухоподогревателем для автономного теплогенератора, содержащим газовый патрубок, покрытый снаружи, соединенными друг с другом, кольцевым коллектором и цилиндрическим воздушным кожухом, каждый из которых состоит из двух полукольцевых коллекторов и двух полуцилиндров, покрытых слоем теплоизоляции, соединенных друг с другом продольными фланцами с крепежными отверстиями, в которые вставлены сквозные крепежные болты, при этом газовый патрубок соединен с теплогенератором и магистральной трубой дымовых газов, кольцевой коллектор и кожух заглушены с внутреннего торца, кожух с наружного торца закрыт кольцевой перегородкой с заборными щелями, кольцевой коллектор соединен воздуховодом, снабженным дутьевым вентилятором, с топкой теплогенератора, внутри кожуха и кольцевого коллектора вокруг наружной поверхности газового патрубка устроен термоэлектрический блок, соединенный электропроводкой с электродвигателем вентилятора, инвертором и аккумулятором, сам термоэлектрический блок состоит, из расположенных над поверхностью газового патрубка N термоэлектрических секций, каждая из которых представляет собой продольную планку, снабженную снизу опорными пятками, установленную с зазором Δ от наружной поверхности газового патрубка, покрытую слоем тепловой изоляции и снабженную сверху по бокам скобами, в которые вертикально вставлены n плоских термоэлектрических преобразователей, соединенных токовыводами с коллекторами одноименных зарядов, причем верхние торцы плоских термоэлектрических преобразователей в цилиндрическом кожухе вставлены в верхние скобы, соединенные с внутренней поверхностью полуцилиндров, образуя воздушные и нагревательные каналы.
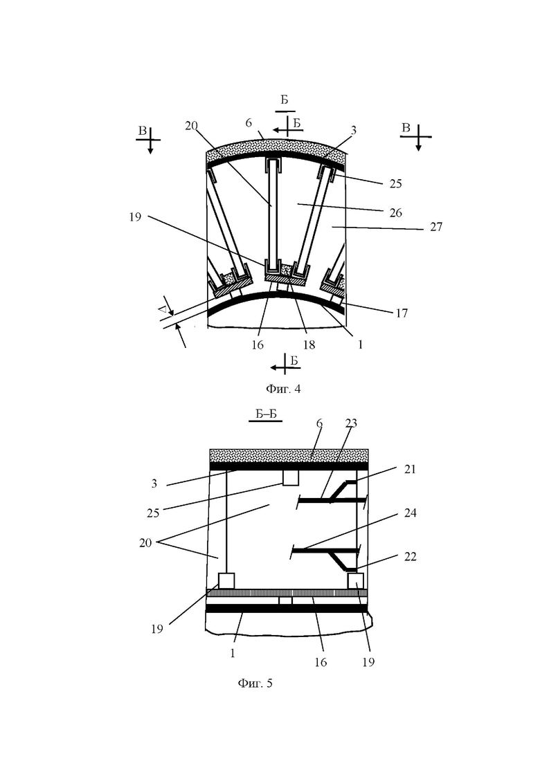
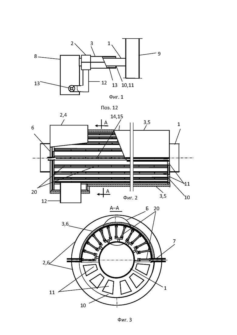
На фиг. 1 представлены схема полифункционального воздухоподогревателя для автономного теплогенератора (ПФВПАТГ), на фиг. 2, 3 - общий вид и разрез термоэлектрического блока (ТЭБ), на фиг. 4, 5 - узел соединения элементов плоских термоэлектрических преобразователей (ПТЭП) термоэлектрической секции (ТЭС).
Предлагаемый ПФВПАТГ содержит газовый патрубок 1, покрытый снаружи, соединенными друг с другом, кольцевым коллектором 2 и цилиндрическим воздушным кожухом 3, каждый из которых состоит из двух полукольцевых коллекторов 4 и двух полуцилиндров 5, покрытых слоем теплоизоляции 6, соединенных друг с другом продольными фланцами 7 с крепежными отверстиями, в которые вставлены сквозные крепежные болты (на фиг. 1-5 не показаны), при этом газовый патрубок 1 соединен с теплогенератором 8 и магистральной трубой дымовых газов 9, кольцевой коллектор 2 и кожух 3 заглушены с внутреннего торца, кожух 3 с наружного торца закрыт кольцевой перегородкой 10 с заборными щелями 11, кольцевой коллектор 2 соединен воздуховодом 12, снабженным дутьевым вентилятором 13, с топкой теплогенератора 8, внутри кожуха 3 и коллектора 2 вокруг наружной поверхности газового патрубка 1 устроен термоэлектрический блок (ТЭБ) 14, соединенный электропроводкой с электродвигателем вентилятора 13, инвертором и аккумулятором (на фиг. 1-5 не показаны), сам ТЭБ 14 состоит, из расположенных над поверхностью патрубка 1 N термоэлектрических секций (ТЭС) 15, каждая из которых представляет собой продольную планку 16, снабженную снизу опорными пятками 17, установленную с зазором Δ от наружной поверхности газового патрубка 1, покрытую слоем тепловой изоляции 18 и снабженную сверху по бокам скобами 19, в которые вертикально вставлены n плоских термоэлектрических преобразователей (ПТЭП) 20 (в качестве ПТЭП 20 могут быть использованы, например, элементы Пельтье), соединенных токовыводами 21, 22 с коллекторами одноименных зарядов 23 и 24, причем верхние торцы ПТЭП 20 в цилиндрическом кожухе 3 вставлены в верхние скобы 25, соединенные с внутренней поверхностью полуцилиндров 5, образуя воздушные 26 и нагревательные 27 каналы.
ПФВПАТГ устанавливается в процессе монтажа или реконструкции системы поквартирного отопления, для чего предварительно собранные ТЭС 15 крепятся путем вставки верхних торцов ПТЭП 20 в верхние скобы 25, прикрепленные к внутренней поверхности полуцилиндров 5, после чего полуцилиндры 5 совместно с полукольцевыми коллекторами 4 продольно накладываются на участок газового патрубка 1 и крепятся между собой продольными фланцами 7 с крепежными отверстиями, в которые вставлены сквозные крепежные болты (на фиг. 1-5 не показаны). Размер зазора Δ выбирается из условия отсутствия контакта нижних торцов ПТЭП 20 с наружной поверхностью газового патрубка 1 и поддержания температуры воздушной прослойки в нагревательных каналах 27 не выше 1000С во избежание их перегрева. Длину ТЭС 15 (количество ПТЭП 20), размеры воздушных 26 и газовых 27 каналов выбирают, исходя из получения необходимого количества термоэлектричества и требуемого расхода воздуха. После монтажа ТЭС 15 и всего ТЭБ 14 коллекторы одноименных зарядов 23 и 24 ТЭС 15 соединяют электропроводкой с электродвигателем вентилятора 13 и другими потребителями электроэнергии (на фиг.1-5 не показаны).
ПФВПАТГ, представленный на фиг. 1-5, работает следующим образом. После запуска теплогенератора 8 и дутьевого вентилятора 13 при движении горячих дымовых газов в газовом патрубке 1 с температурой tГ в помещении или снаружи с температурой воздуха tС создается значительная разность температур между температурой наружной поверхности патрубка 1 tП и температурой воздуха (tГП- tС), поступающего в через заборные щели 11 в воздушные каналы 26 кожуха 3. При этом, в нагревательных каналах 27 происходит нагрев через воздушную прослойку в нагревательных каналах 27 от стенки патрубка 1 боковой поверхности ПТЭП 20 и одновременное быстрое охлаждение их противоположной поверхности за счет прямого контакта с потоком приточного воздуха, поступающего через заборные щели 11 кожуха 2 в воздушные каналы 26, что повышает скорость теплопередачи. Создаваемая разность температур между зонами нагрева и охлаждения ПТЭП 20 вызывает в них эмиссию электронов и возникновение в ТЭС 15 термоэлектричества [С.Г. Калашников. Электричество. - М: «Наука», 1970, с. 502-506]. Полученное термоэлектричество каждой ТЭС 15 суммируется в ТЭБ 14 и через коллекторы 23, 24 поступает в инвертор (на фиг. 1-5 не показан), где создается требуемое напряжение и сила тока и подается в электродвигатель вентилятора 13, аккумулятор и другим потребителям (на фиг. 1-5 не показаны).
Величина разности электрического потенциала и силы тока на токовыводах 21, 22 и коллекторах 23, 24 зависит от разности температур нагреваемой и охлаждаемой стенок ПТЭП 20, их характеристик, количества и характеристик элементов ПТЭП 20 в ТЭС 15, их числа в ТЭБ 14 и величины зазора Δ, которую определяется размерами опорных пяток 17. При этом вертикальная компоновка ПТЭП 20 позволяет значительно увеличить их количество, не увеличивая размеры самой установки, что позволяет значительно увеличить ее эффективность. При необходимости устанавливают несколько ТЭБ 14. Требуемые напряжение U и силу тока I в зависимости от нагрузки теплогенератора 8 и величины разности температур (tП- tС) регулируют в инверторе (на фиг. 1-5 не показан). Полученное электричество используется для работы вентилятора 13 и, например, для автоматизации работы теплогенератора 8.
Таким образом, конструкция предлагаемого ПФВПТГ за счет снижения тепловых потерь от цилиндрического кожуха в окружающую среду, уменьшения аэродинамического сопротивления, непосредственного контакта охлаждающего и горячего воздуха с поверхностями ПТЭП 20, снижения термического сопротивления теплопередаче от потока воздуха к этой стенке, увеличения числа устанавливаемых ПТЭП 20 обеспечивает повышение его надежности и эффективности и возможность автономной работы теплогенератора системы поквартирного отопления без подключения к электрической сети.
| название | год | авторы | номер документа |
|---|---|---|---|
| Термоэлектрический воздухоподогреватель для автономного теплогенератора | 2023 |
|
RU2830924C1 |
| Термоэлектрический источник электроснабжения для автономного теплогенератора | 2019 |
|
RU2725303C1 |
| Термоэлектрогенератор для системы теплоснабжения | 2019 |
|
RU2723653C1 |
| Мобильный автономный теплоэлектрогенератор | 2020 |
|
RU2762930C1 |
| Индивидуальный автономный теплоэлектрогенератор | 2019 |
|
RU2728008C1 |
| Термоэлектрогенератор теплового пункта | 2024 |
|
RU2826849C1 |
| Комплексный теплообменник из многослойных пластин | 2020 |
|
RU2737574C1 |
| Автономный кожухотрубчатый термоэлектрогенератор | 2019 |
|
RU2715268C1 |
| Пластинчатый теплоэлектротеплообменник | 2020 |
|
RU2736316C1 |
| Термоэлектрический источник электроснабжения для теплового пункта | 2019 |
|
RU2705348C1 |
Предлагаемое изобретение относится к теплоэнергетике, а именно, к системам поквартирного отопления и электроснабжения жилых зданий. Технической задачей предлагаемого изобретения является повышение надежности и эффективности полифункционального воздухоподогревателя для автономного теплогенератора. Технический результат достигается полифункциональным воздухоподогревателем для автономного теплогенератора, благодаря тому что газовый патрубок покрыт снаружи соединенными друг с другом кольцевым коллектором и цилиндрическим воздушным кожухом, каждый из которых состоит из двух полукольцевых коллекторов и двух полуцилиндров, покрытых слоем теплоизоляции, при этом кольцевой коллектор и кожух заглушены с внутреннего торца, кожух с наружного торца закрыт кольцевой перегородкой с заборными щелями, кольцевой коллектор соединен с воздуховодом, внутри кожуха и кольцевого коллектора вокруг наружной поверхности газового патрубка устроен термоэлектрический блок, каждая термоэлектрическая секция которого представляет собой продольную планку, снабженную снизу опорными пятками, покрытую слоем тепловой изоляции и снабженную сверху по бокам скобами, в которые вертикально вставлены плоские термоэлектрические преобразователи, верхние торцы которых расположенных в цилиндрическом кожухе, вставлены в верхние скобы, соединенные с внутренней поверхностью полуцилиндров, образуя воздушные и нагревательные каналы. 5 ил.
Полифункциональный воздухоподогреватель для автономного теплогенератора, содержащий газовый патрубок, покрытый снаружи цилиндрическим воздушным кожухом, состоящим из двух полуцилиндров, снабженных фланцами с крепежными отверстиями, в которые вставлены сквозные крепежные болты, соединенный с теплогенератором и магистральной трубой дымовых газов, воздушный кожух заглушен с внутреннего торца и образует с наружного торца кольцевую заборную щель и соединен воздуховодом, снабженным дутьевым вентилятором, с топкой теплогенератора, внутри него вокруг наружной поверхности газового патрубка устроен термоэлектрический блок, соединенный электропроводкой с электродвигателем вентилятора, инвертором и аккумулятором, который состоит из расположенных на поверхности трубопровода N термоэлектрических секций, каждая из которых представляет собой продольную планку, установленную с зазором Δ от наружной поверхности газового патрубка и состоящую из n плоских термоэлектрических преобразователей, соединенных токовыводами с коллекторами одноименных зарядов, отличающийся тем, что газовый патрубок покрыт снаружи соединенными друг с другом кольцевым коллектором и цилиндрическим воздушным кожухом, каждый из которых состоит из двух полукольцевых коллекторов и двух полуцилиндров, покрытых слоем теплоизоляции, при этом кольцевой коллектор и кожух заглушены с внутреннего торца, кожух с наружного торца закрыт кольцевой перегородкой с заборными щелями, кольцевой коллектор соединен с воздуховодом, внутри кожуха и кольцевого коллектора вокруг наружной поверхности газового патрубка устроен термоэлектрический блок, каждая термоэлектрическая секция которого представляет собой продольную планку, снабженную снизу опорными пятками, покрытую слоем тепловой изоляции и снабженную сверху по бокам скобами, в которые вертикально вставлены плоские термоэлектрические преобразователи, верхние торцы которых расположенных в цилиндрическом кожухе, вставлены в верхние скобы, соединенные с внутренней поверхностью полуцилиндров, образуя воздушные и нагревательные каналы.
| RU 225005 U1, 11.04.2024 | |||
| Термоэлектрический источник электроснабжения для автономного теплогенератора | 2019 |
|
RU2725303C1 |
| Термоэлектрический источник электроснабжения для теплового пункта | 2019 |
|
RU2705348C1 |
| Автономный термоэлектрогенератор на трубопроводе | 2018 |
|
RU2676551C1 |
| JP 2009295752 A, 17.12.2009 | |||
| ТЕПЛОЭЛЕКТРОГЕНЕРАТОР ДЛЯ АВТОНОМНОГО ЭНЕРГОСНАБЖЕНИЯ | 2015 |
|
RU2599087C1 |
| WO 2015004486 A1, 15.01.2015. | |||
Авторы
Даты
2025-01-21—Публикация
2024-05-28—Подача