Область техники
Изобретение относится к гидротехнике и может быть использовано для защиты, главным образом, морского водозабора тепловой или атомной электростанции от попадания в него рыб, донных наносов, а также ее сбросных теплых вод.
Уровень техники
Известен способ предотвращения попадания в водозабор донных наносов (Водозаборные сооружения. Сборник научных трудов - М.: ВНИИ «ВОДГЕО», 1983, с. 99-110, рис. 3), включающий береговую насосную станцию, водоподводящий канал, к которой отгораживают от водоема защитными дамбами. Для предотвращения занесения водозабора донными наносами, переносимыми вдольбереговыми течениями, перед насосной станцией с помощью защитных дамб, проложенных от берега вглубь крупного водоема, например, моря, устраивают водоподводящий канал.
Известен способ защиты рыб, реализованный в рыбозащитном сооружении на водозаборе (SU 616359, приоритет от 04.02.1977, МПК Е02В 8/08, Е02В 9/04), включающем фильтрующую дамбу, которая выполнена в виде вододелительной стенки и расположена вдоль водозабора, причем перед ней по течению потока установлен вертикально вращающийся стержень, который смещен относительно дамбы в сторону водозабора.
Известен способ защиты рыб, реализованный в рыбозащитном сооружении (RU 2102558, приоритет от 12.03.1996, МПК Е02В 8/08), включающем установленную вдоль оси водотока напротив водозабора вододелительную дамбу, перед водозабором под углом к которой установлена водопропускная секция, образующая с сопряженными с берегами глухими верховой и низовой дамбами замкнутую акваторию, и с вододелительной дамбой сужающийся в плане транзитный канал, имеющий входной конфузорный оголовок, при этом водопропускная секция выполнена двухъярусной из поверхностного и глубинного экранов, образующих между собой водозаборное отверстие, и прикреплена одним концом к заглубленной на величину, превышающую толщину ледового покрова и имеющую возможность вертикального перемещения в пазах опорных устоев, к которым с образованием транзитного зазора примыкают глухие сопрягающие дамбы общей несущей конструкции, оборудованной шарнирно прикрепленными вертикальными стабилизирующими поплавками, снабженными с напорной стороны непроницаемыми щитами, а к экранам одним концом прикреплены рыбоотводящие лотки, причем лоток донного экрана смонтирован на общей несущей конструкции, а лоток поверхностного экрана смонтирован на опорной конструкции и оборудован L-образным оголовком, при этом поверхностный экран размещен в пределах зоны, защищаемой вододелительной дамбой и обозначенной равнобедренным треугольником, основанием которого является гребень вододелительной дамбы, а противолежащий ему угол треугольника составляет не менее 90°.
Известен способ защиты водозабора от помех (Бондарь Ф.И. и др. Специальные водозаборные сооружения. М.: Госстройиздат, 1963, с. 338, рис. XXI-12), включающий береговой водозаборный канал, перед входом в который в водоеме с образованием вдольберегового канала размещают дамбу волнолома, защищающую водопользователя от помех, переносимых внутриводным и волновым течением из водоема в сторону водозабора.
Общим недостатком всех вышерассмотренных сооружений является то, что при осуществлении сброса теплых вод у берега они не предотвращают их поступление в водозабор, поскольку и водоприемник, и сброс теплых вод расположены в одной и той же прибрежной зоне, из которой растекающиеся по ней теплые сбросные воды беспрепятственно поступают к водопользователю. Кроме того, в водозабор беспрепятственно поступают также рыба, донные наносы и иные помехи, переносимые вдольбереговым течением. Причем попаданию рыб и иных гидробионтов в водозабор способствует их нахождение у естественного берега, прибойная зона пляжного откоса которого характеризуется повышенным содержанием взвешенных частиц донных наносов, что создает неблагоприятные условия для обитания и сопротивления течению в водозабор.
Если же сброс теплых вод выносят в водоем, то наличие раздельной стенки может предотвратить их поступление в водозабор. Однако при этом проблема предотвращения поступления в водозабор рыб, донных наносов и иных помех, переносимых вдольбереговым течением, по-прежнему не решается.
Наиболее близким к предлагаемому техническому решению является способ, реализованный с помощью системы защиты водозаборного сооружения (RU 2237132, приоритет от 10.04.2003, МПК Е02В 9/04), включающей замкнутую водозаборную акваторию, образованную защитной дамбой, в теле которой устроено входное водозаборное отверстие, а противоположно ему -водоприемник водозаборного трубопровода, причем водозаборная акватория размещена в водоеме с образованием вдоль берега транзитного канала, предназначенного для беспрепятственного прохождения вдольбереговых течений, входное водозаборное отверстие устроено в защитной дамбе со стороны, удаленной от берега, а водоприемник водозаборного трубопровода выполнен в виде защитного устройства с вертикальной сепарацией, включающего входной потокоформирующий, рабочий защитно-водоприемный и отводящий элементы и оборудованного дополнительным флотирующим устройством в виде горизонтального перфорированного трубопровода, подключенного к напорному воздуховоду, причем отводящий элемент соединен с транзитным каналом и оборудован узлом создания направленного тока воды, подключенным к источнику напорной воды.
Данное техническое решение предназначено для защиты водозабора тепловой или атомной электростанции от попадания в него рыбы и иных помех, практически, любого происхождения, в том числе сбросных теплых вод, поступающих в транзитный канал, и отведения их во вдольбереговом течении за пределы водозаборной зоны.
Однако при господствующем направлении ветра с берега или введении в действие значительных мощностей, например, нескольких энергоблоков электростанции, транзитный вдольбереговой канал может перестать справляться со своими отводящими функциями, осложнению выполнения которых способствует увеличение количества шлейфов сбросных и рыбоотводящих течений, направленных по нормали к транзитному вдольбереговому течению и тем самым частично его перекрывающих. При этом избыточный подогрев воды во вдольбереговом канале и ее растекание по ветру от берега могут привести к распространению теплового загрязнения в зону действия водприемника и снижению эффективности работы электростанции, а также к отрицательному тепловому воздействию на ихтиофауну и других водных организмов, поступающих из водоема в транзитное вдольбереговое течение по рыбоотводу защитного устройства.
Раскрытие сущности изобретения
Технический результат, на достижение которого направлено изобретение, заключается в снижении негативного влияния сбросных теплых вод на электростанцию и водные биологические ресурсы водоема.
Технический результат достигается тем, что используют способ снижения негативного влияния сбросных теплых вод на электростанцию и водные биологические ресурсы, согласно которому в транзитном вдольбереговом канале, образованном вынесенным в водоем водоприемником, который оборудован рыбозащитным устройством и соединен с электростанцией подземным водоподводящим трубопроводом, устраивают дамбу, с помощью которой отделяют прибрежную тепловодную часть, в которую проложен сбросной тракт теплых вод, от удаленной от берега холодноводной части, в которой расположены водоприемник с рыбозащитным устройством, перенаправляют внутриводное течение с образованием вдоль удаленного от берега откоса дамбы дополнительного вдольберегового течения, обеспечивают поэтапное смешение сбросного течения теплых вод, сначала с естественным, а затем с искусственно созданным дополнительным вдольбереговыми течениями, и снижают температуру сбросной воды до безопасного уровня теплового воздействия на работу электростанции и на жизнеспособность ихтиофауны, при этом удаленный от берега откос дамбы выполняют из крупногабаритного субстрата, который рыбы используют в качестве безопасного места обитания. Водоприемник выполняют обтекаемой формы.
В качестве отводящего течения используют внутриводное течение водоема.
Устье сбросного тракта теплых вод оборудуют диффузором.
Краткое описание чертежей
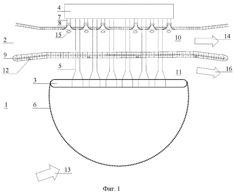
Сущность изобретения иллюстрируется чертежом, на котором показан водозаборный комплекс в плане.
На фиг. 1 приняты следующие обозначения:
1. Водоем;
2. Транзитный вдольбереговой канал;
3. Водоприемник;
4. Электростанция;
5. Подземный водоподводящий трубопровод;
6. Рыбозащитное устройство;
7. Сбросной тракт теплых вод;
8. Диффузор;
9. Дамба;
10. Тепловодная часть транзитного вдольберегового канала;
11. Холодноводная часть транзитного вдольберегового канала;
12. Крупногабаритный субстрат
13. Внутриводное течение;
14. Естественное вдольбереговое течение;
15. Сбросные теплые воды электростанции;
16. Дополнительное вдольбереговое течение.
Осуществление изобретения
С ростом потребления воды для нужд энергетики все более актуальным становится обеспечение безопасности водозабора из крупных водоемов, в том числе из морей, внутриводные и вдольбереговые течения которых переносят значительное количество наносов и взвесей биогенного и абиогенного происхождения, являющихся серьезными помехами для водопользователя. Кроме того, сбросные воды тепловых и атомных электростанций являются источником теплового загрязнения как водоема, так и самих электростанций. В последнем случае это ведет к снижению эффективности их работы.
Способ снижении негативного влияния теплых сбросных вод на электростанцию и водные биологические ресурсы реализуют в водоеме 1, в который с образованием транзитного вдольберегового канала 2 выносят водоприемник 3, соединенный с электростанцией 4 подземным водоподводящим трубопроводом 5.
Водоприемник 3 оборудуют рыбозащитным устройством 6.
Устье берегового сбросного тракта теплых вод 7 электростанции 4 оборудуют диффузором 8.
В транзитном вдольбереговом канале 2 вдоль берега устанавливают дамбу 9, с помощью которой разделяют транзитный вдольбереговой канал 2 на прибрежную тепловодную 10 и удаленную от берега холодноводную 11 части. При этом водоприемник 3 с рыбозащитным устройством 6 размещают в удаленной от берега холодноводной части 11 транзитного вдольберегового канала 2, а устье сбросного тракта теплых вод 7 - в его прибрежной тепловодной части 10.
Удаленный от берега откос дамбы 9 выполняют из крупногабаритного субстрата 12, который может быть использован рыбами и иными гидробионтами в качестве безопасного места обитания.
Естественные внутриводное 13 и вдольбереговое 14 течения переносят по водоему 1 рыб, донные наносы, плавающий мусор и прочие объекты различного происхождения, являющиеся для электростанции 4 серьезными помехами.
Кроме того, в водоем 1 по береговому сбросному тракту 7 поступают сбросные теплые воды 15, прямое попадание которых в водоприемник 3 также может ухудшить условия работы электростанции 4.
Для устранения данного негатива, донные наносы и большую часть помех, переносимых вдольбереговым течением 14, минуя водоприемник 3, пропускают по транзитному вдольбереговому каналу 2. Причем, размещая во вдольбереговом канале 2 дамбу 9, транзит донных наносов организуют не по всей ширине вдольберегового канала 2, а только по его тепловодной части 10 вдоль естественного берега водоема 1, то есть на удалении от водоприемника 3. Тем самым исключают попадание на электростанцию 4 донных наносов и большей части помех.
Для предотвращения попадания помех, переносимых внутриводным течением 13 из водоема 1, водоприемник 3 выполняют обтекаемым, а само вдольбереговое течение перенаправляют вдоль удаленного от берега откоса дамбы 9 с образованием дополнительного вдольберегового течения 16. Тем самым помехи из водоема 1 транзитом пропускают к дамбе 9, а затем в дополнительном вдольбереговом течении 16 выводят из водозаборной зоны обратно в водоем 1.
Если во внутриводном течении 13 из водоема 1 к водоприемнику 3 подходят рыбы, то их попадание в водоприемник 3 электростанции 4 предотвращают с помощью рыбозащитного устройства 6, и в транзитным внутриводном течении 13, которое рыбы используют в качестве отводящего, минуя водоприемник 3, направляют к дамбе 9. Перемещая вдоль нее в дополнительном вдольбереговом течении 16 по холодноводной части 11 транзитного вдольберегового канала 2, рыб отводят обратно в водоем 1.
Дамбу 9 прокладывают на более глубоководном участке водоема 1, чем его естественная береговая линия, а ее удаленный от берега откос выполняют из крупногабаритного каменного субстрата 12, с помощью которого формируют повышенную неоднородностью донного рельефа и используют в качестве убежищ безопасного места обитания рыб. Поэтому в прибойной зоне у удаленного от берега откоса дамбы 9 формируют более благоприятные условия для безопасного и продолжительного комфортного обитания отведенных от водоприемника 3 рыб, которых могут не только принудительно перемещать из водозаборной зоны в дополнительном вдольбереговом течении 16, но и обеспечивать их адаптацию к новым условиям, что позволяет рыбам продолжительно обитать рядом с убежищами из крупногабаритного субстрата 12, и только при необходимости самостоятельно уходить от них обратно в водоем 1.
Чтобы сбросные теплые воды 15, выходящие из сбросного тракта 7 по нормали к транзитному вдольбереговому течению 14, не препятствовали его прохождению и транспорту донных наносов по тепловодной части 10 вдольберегового канала 2 устья сбросных трактов 7 оборудуют диффузорами 8, с помощью которых обеспечивают плавное растекание сбросных теплых вод 15 и существенное снижение скорости их течения. Тем самым снижают воз действие шлейфов сбросных теплых вод 15 на прохождение транзитного вдольберегового течения 14 и наносов по тепловодной части 10 транзитного вдольберегового канала 2.
Для предотвращения теплового загрязнения водозаборной зоны и связанного с ним негативного воздействия на электростанцию 4 и рыб также используют дамбу 9, с помощью которой, разделяют транзитный вдольбереговой канал 2 на прибрежную тепловодную 10 и удаленную от берега холодноводную 11 части и изолируют водоприемник 3 от прямого поступления в него теплых сбросных вод 15. Поскольку температура воды в холодноводной части 11 вдольберегового канала 2 соответствует привычным для рыб значениям, то при их отведении в эту зону 11 внутриводным течением 13 опасный для рыб температурный перепад не наблюдается, и они остаются жизнеспособными.
С помощью дамбы 9 обеспечивают проход по тепловодной 10 и холодноводной 11 частям транзитного вдольберегового канала 2 двух параллельных вдольбереговых естественного 14 и искусственно сформированного дополнительного 16 течений, полноводность которых дополняют втеканием в них сбросного теплого 15 и внутриводного 13 течений, соответственно. При этом смешение сбросных теплых вод 15 с естественным транзитным вдольбереговым течением 14 обеспечивают первоначально в тепловодной части 10 транзитного вдольберегового канала 2. Поэтому теплые сбросные воды 15 сначала смешивают в тепловодной части 10 транзитного вдольберегового канала 2 с естественным холодным течением 14, втекающим из водоема 1 в тепловодную часть 10 транзитного вдольберегового канала 2, и, во время прохода по ней обеспечивают существенное остывание сбросных теплых вод 15. Затем за дамбой 9 их вновь смешивают с еще одной порцией холодного дополнительного вдольберегового течения 16, протекающего вдоль дамбы 9 по холодноводной части 11 транзитного вдольберегового канала 2. После повторного смешивания с холодной водой и еще большего понижения температуры обеспечивают поступление остывших сбросных вод в холодноводный водоем 1 на безопасном от водоприемника 3 удалении.
Тем самым поэтапное снижение перепада между температурами воды сбросного теплого 15 и естественного внутриводного 13 течений до допустимого уровня, безопасного для ихтиофауны, позволяет при слиянии потоков с изначально разной температурой воды исключить тепловой шок у рыб, которые остаются в жизнеспособном состоянии. При этом при движении вдоль удаленного от берега откоса дамбы 9 рыбам обеспечивают возможность прятаться в его убежищах среди крупногабаритного субстрата 12. Тем самым они самостоятельно могут регулировать скорость своего передвижения вдоль дамбы 9. Поэтому, почувствовав впереди повышенную температуру воды, рыбы могут оперативно уйти в убежища среди крупногабаритного субстрата 12 и воздержаться от дальнейшего перемещения в зону смешения теплого и холодного водных течений. После адаптации к новым условиям рыбам обеспечивают возможность в жизнеспособном состоянии продолжить дальнейшее продвижение вдоль дамбы 9 в водоем 1.
Поскольку вход в водоприемник 3 изолируют от прямого поступления сбросной теплой воды 15, то на электростанцию 4 из сбросного тракта 7 обеспечивают поступление только ее части, которая после поэтапного смешения с холодной водой из водоема 1 приобретает температуру близкую к естественной. Поэтому условия работы водопользователя не ухудшаются.
Таким образом, устройство дамбы 9, с помощью которой разделяют прибрежный тепловодный водосбросной 10 и удаленный от берега холодноводный водозаборный 11 участки транзитного вдольберегового канала 2, позволяет обеспечить поэтапное смешение проходящих по ним потоков с разной температурой воды и, тем самым, обеспечить снижение до безопасного уровня негативное температурное воздействие на работу электростанции 4 и жизнеспособность ихтиофауны, а также предотвратить поступление донных наносов и иных помех различной природы в водозабор электростанции 4.
| название | год | авторы | номер документа |
|---|---|---|---|
| СИСТЕМА ЗАЩИТЫ ВОДОЗАБОРНОГО СООРУЖЕНИЯ | 2003 |
|
RU2237132C1 |
| РЫБОЗАЩИТНОЕ СООРУЖЕНИЕ | 1996 |
|
RU2102558C1 |
| РЫБОЗАЩИТНОЕ УСТРОЙСТВО НА ВОДОЗАБОРЕ | 1991 |
|
RU2011739C1 |
| Способ защиты водозабора от биопомех | 2023 |
|
RU2812114C1 |
| Способ улучшения экологического состояния рыбохозяйственного водоема - источника водоснабжения с размещенным в нем рыбозащитным сооружением | 2024 |
|
RU2834623C1 |
| Рыбозащитное устройство берегового водозабора | 1979 |
|
SU1020499A1 |
| ВОДОПРОПУСКНАЯ СЕКЦИЯ ВОДОЗАБОРНОГО УСТРОЙСТВА | 2001 |
|
RU2196201C2 |
| СПОСОБ УПРАВЛЕНИЯ ПРОЦЕССОМ ОБИТАНИЯ РЫБ В ЗАРЕГУЛИРУЕМОМ ВОДОЕМЕ | 2007 |
|
RU2363154C2 |
| Водоприемник водозаборного сооружения | 1976 |
|
SU583235A1 |
| СПОСОБ ЗАЩИТЫ МОЛОДИ РЫБЫ ОТ ПОПАДАНИЯ В ВОДОЗАБОРНЫЕ СООРУЖЕНИЯ | 1995 |
|
RU2077195C1 |
Изобретение относится к гидротехнике и может быть использовано для защиты, главным образом, морского водозабора тепловой или атомной электростанции от попадания в него рыб, донных наносов, а также ее сбросных теплых вод. Технический результат, на достижение которого направлено изобретение, заключается в снижении негативного влияния теплых сбросных вод на электростанцию и водные биологические ресурсы водоема. Технический результат достигается тем, что в транзитном вдольбереговом канале 2, образованном вынесенным в водоем 1 водоприемником 3, оборудованным рыбозащитным устройством 6 и соединенным с электростанцией 4 подземным водоподводящим трубопроводом 5, устраивают дамбу 9, с помощью которой отделяют прибрежную тепловодную часть 10, в которую проложен сбросной тракт теплых вод 7, от удаленной от берега холодноводной части 11, в которой расположены водоприемник 3 с рыбозащитным устройством 6, перенаправляют внутриводное течение 13 с образованием вдоль ее удаленного от берега откоса дополнительного вдольберегового течения 16, обеспечивают поэтапное смешение сбросного течения теплых вод 15, сначала с естественным 14, а затем с искусственно созданным дополнительным 16 вдольбереговыми течениями, и снижают температуру сбросной воды до безопасного уровня теплового воздействия на работу электростанции 4 и на жизнеспособность ихтиофауны, при этом удаленный от берега откос дамбы 9 выполняют из крупногабаритного субстрата 12, который рыбы используют в качестве безопасного места обитания. 3 з.п. ф-лы, 1 ил.
1. Способ снижения негативного влияния сбросных теплых вод на электростанцию и водные биологические ресурсы, согласно которому в транзитном вдольбереговом канале, образованном вынесенным в водоем водоприемником, который оборудован рыбозащитным устройством и соединен с электростанцией подземным водоподводящим трубопроводом, устраивают дамбу, с помощью которой отделяют прибрежную тепловодную часть, в которую проложен сбросной тракт теплых вод, от удаленной от берега холодноводной части, в которой расположены водоприемник с рыбозащитным устройством, перенаправляют внутриводное течение с образованием вдоль удаленного от берега откоса дамбы дополнительного вдольберегового течения, обеспечивают поэтапное смешение сбросного течения теплых вод, сначала с естественным, а затем с искусственно созданным дополнительным вдольбереговыми течениями, и снижают температуру сбросной воды до безопасного уровня теплового воздействия на работу электростанции и на жизнеспособность ихтиофауны, при этом удаленный от берега откос дамбы выполняют из крупногабаритного субстрата, который рыбы используют в качестве безопасного места обитания.
2. Способ снижении негативного влияния сбросных теплых вод на электростанцию и водные биологические ресурсы по п. 1, отличающийся тем, что водоприемник выполняют обтекаемой формы.
3. Способ снижении негативного влияния сбросных теплых вод на электростанцию и водные биологические ресурсы по п. 1, отличающийся тем, что в качестве отводящего течения используют внутриводное течение водоема.
4. Способ снижении негативного влияния сбросных теплых вод на электростанцию и водные биологические ресурсы по п. 1, отличающийся тем, что устье сбросного тракта теплых вод оборудуют диффузором.
| СИСТЕМА ЗАЩИТЫ ВОДОЗАБОРНОГО СООРУЖЕНИЯ | 2003 |
|
RU2237132C1 |
| EA 201500767 A1, 29.01.2016 | |||
| Способ повышения эффективности прудов-охладителей | 1960 |
|
SU139619A1 |
| Рыбозащитное сооружение на водозаборе | 1977 |
|
SU616359A1 |
Авторы
Даты
2025-01-23—Публикация
2023-12-29—Подача