УСТРОЙСТВО ДЛЯ ОПРЕДЕЛЕНИЯ ПСИХОФИЗИОЛОГИЧЕСКОЙ РЕАКЦИИ ВОЕННОСЛУЖАЩИХ НА СТРЕССОВЫЕ ФАКТОРЫ Российский патент 2025 года по МПК A61B5/16 A61B5/24 A61B5/295 A61B5/533 

Описание патента на изобретение RU2833621C1

Изобретение относится к медицинской технике, в частности к области психологии, и предназначено для регистрации психофизиологической реакции.

Известно устройство (патент на изобретение RU № 2214166 МПК А61В 5/16, опубл. 20.10.2003), содержащее последовательно соединенные между собой блок датчиков электрокожного сопротивления и фотоплетизмограммы, двухканальный измерительный блок, двухканальный блок обработки сигналов, анализатор психофизиологического состояния человека, блок выбора комбинации тест-стимулов, измерительный блок содержит в каждом канале шумоподавляющий фильтр, усилитель и аналого-цифровой преобразователь, блок обработки сигналов выполнен по числу каналов на цифровых фильтрах, дифференциаторах и компараторах, а также блоках определения психоэмоционального состояния человека, накопления и определения параметров R-R интервалов и анализатор состояния сердечно-сосудистой системы.

Недостатком известного устройства являются его габаритные размеры, необходимость постоянного подключения к персональному компьютеру с помощью проводной коммуникации, что затрудняет его использование вне стационарных условий, отсутствие визуального канала демонстрации ситуаций, являющихся стрессовыми факторами, а также необходимость фиксации датчиков на теле обследуемого.

Известен способ определения профессиональной надежности специалиста экстремального профиля деятельности (патент на изобретение RU №2392860 МПК А61В 5/04, А61В 5/16, опубл. 27.06.2010), для осуществления которого используется устройство для сбора, обработки и накопления информации о функциональном ответе сердечно-сосудистой системы человека на трудовую нагрузку, содержащее блок датчика фотоплетизмограммы в виде инфракрасной оптической пары на основе светодиода и фотодиода, измерительный блок сигналов датчика фотоплетизмограммы и блок обработки сигналов с блока датчика фотоплетизмограммы, блок управления, блок оперативной памяти, цифроаналоговый преобразователь, исполнительный элемент, автономный блок питания, обеспечивающий функционирование и два многоразрядных разъема для подключения устройства к персональному компьютеру и блоку обработки сигнала датчика фотоплетизмограммы.

Недостатком известного устройства являются необходимость постоянного подключения к персональному компьютеру с помощью проводной коммуникации, что затрудняет его использование вне стационарных условий, отсутствие визуального канала демонстрации ситуаций, являющихся стрессовыми факторами, а также необходимость фиксации датчиков на теле обследуемого.

Целью изобретения является устранение вышеуказанных недостатков.

Технической задачей изобретения является уменьшение габаритных размеров, обеспечение беспроводной передачи данных к персональному переносному компьютеру, обеспечение возможности визуальной демонстрации ситуаций, являющихся стрессовыми факторами, а также отсутствие необходимости фиксации датчиков на теле обследуемого.

Технический результат изобретения достигается тем, что в устройстве для определения психофизиологической реакции военнослужащих на стрессовые факторы, состоящем из персонального переносного компьютера с программным обеспечением, монитора визуальной демонстрации ситуаций, являющихся стрессовыми факторами, кресла, обмен информацией между креслом, персональным переносным компьютером с программным обеспечением и монитором визуальной демонстрации ситуаций, являющихся стрессовыми факторами, осуществляется по Wi-Fi каналу передачи информации, кресло содержит датчик регистрации частоты сердцебиения, расположенный на краю сидения кресла, датчики центра масс, расположенные у основания ножек кресла, датчики положения тела, расположенные на поверхностях сидения, спинки и подлокотниках кресла, два сенсора с датчиками фотоплетизмограммы и с датчиками электрокожного сопротивления, расположенные на подлокотниках, а также блок приема и передачи информации по Wi-Fi каналу передачи информации, расположенный под сидением кресла.

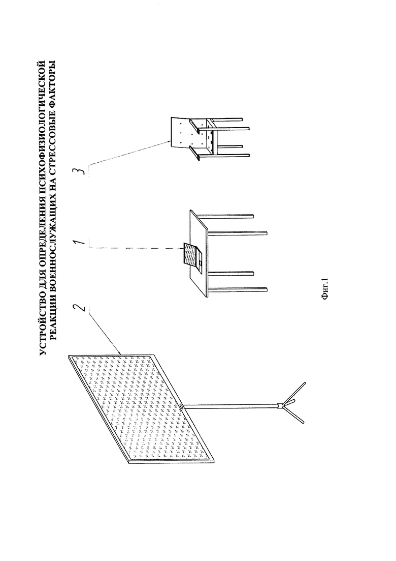
Предлагаемое устройство (фиг. 1) содержит: персональный переносной компьютер с программным обеспечением 1, монитор визуальной демонстрации ситуаций, являющихся стрессовыми факторами 2, кресло 3, содержащее датчик регистрации частоты сердцебиения 4, датчики центра масс 5, датчики положения тела 6 и сенсоры 7 с датчиками фотоплетизмограммы и с датчиками электрокожного сопротивления, блок приема и передачи информации по Wi-Fi каналу передачи информации 8 (фиг. 2).

Предлагаемое устройство для определения психофизиологической реакции военнослужащих на стрессовые факторы работает следующим образом.

Военнослужащий садится в кресло 3, занимает удобное положение, кладет руки ладонями вниз на сенсоры 7 с датчиками фотоплетизмограммы и с датчиками электрокожного сопротивления. Датчик регистрации частоты сердцебиения 4, датчики центра масс 5, датчики положения тела 6, а также датчики фотоплетизмограммы и датчики электрокожного сопротивления, расположенные на сенсорах 7, регистрируют информацию о физиологических процессах организма военнослужащего, после чего передают информацию на блок приема и передачи информации по Wi-Fi каналу передачи информации 8, откуда через Wi-Fi канал информация передается на персональный переносной компьютер с программным обеспечением 1. В персональном переносном компьютере с программным обеспечением 1 происходит накопление, анализ физиологических процессов организма военнослужащего для дальнейшего сличения с поступающей в дальнейшем информации. После непродолжительной регистрации информацию о физиологических процессах организма военнослужащего на мониторе визуальной демонстрации ситуаций, являющихся стрессовыми факторами 2, демонстрируют видеоматериал нейтрального содержания, в процессе демонстрации также происходит регистрация и передача информации о физиологических процессах организма военнослужащего. Далее на мониторе визуальной демонстрации ситуаций, являющихся стрессовыми факторами 2, демонстрируют видеоматериал, содержащий ситуации, являющиеся стрессовыми факторами, различной направленности, в зависимости от профиля подготовки военнослужащего. После регистрации и передачи информации о физиологических процессах организма военнослужащего на персональный переносной компьютер с программным обеспечением 1 с помощью программного обеспечения происходит анализ информации и сопоставление наиболее выраженных психофизиологических реакций с ситуациями, являющимися стрессовыми факторами.

Предлагаемое техническое решение имеет меньшие габаритные размеры, что позволяет обеспечить беспроводную передачу данных к персональному переносному компьютеру, обеспечивает возможность визуальной демонстрации ситуаций, являющихся стрессовыми факторами, а также позволяет регистрировать психофизиологические реакции военнослужащего без фиксации датчиков на его теле.

Похожие патенты RU2833621C1

название год авторы номер документа
РЕАБИЛИТАЦИОННЫЙ ПСИХОФИЗИОЛОГИЧЕСКИЙ КОМПЛЕКС ДЛЯ ТРЕНИНГА С ИСПОЛЬЗОВАНИЕМ БИОЛОГИЧЕСКОЙ ОБРАТНОЙ СВЯЗИ, АУДИОТАКТИЛЬНОЕ ТЕРАПЕВТИЧЕСКОЕ УСТРОЙСТВО И СЕНСОРНОЕ КРЕСЛО 2004
  • Захаров Сергей Михайлович
  • Скоморохов Анатолий Александрович
  • Смирнов Борис Евгеньевич
RU2289311C2
Измерительный терминал для проведения дистанционного контроля работников железнодорожного транспорта 2019
  • Егоров Алексей Игоревич
  • Харченко Геннадий Александрович
  • Вераксич Владимир Владимирович
  • Маслов Александр Алексеевич
RU2729713C1
Многофункциональное аппаратно-программное устройство автоматизированной оценки психоэмоционального состояния человека 2018
  • Корочкин Павел Борисович
  • Магажанов Нурлан Маратович
  • Пряслов Георгий Алексеевич
RU2678300C1
СПОСОБ ПСИХОФИЗИОЛОГИЧЕСКОЙ ДИАГНОСТИКИ ОТДЕЛЬНЫХ ПРИЗНАКОВ ХРОНИЧЕСКОГО ПОСТТРАВМАТИЧЕСКОГО СТРЕССОВОГО РАССТРОЙСТВА У ВОЕННОСЛУЖАЩИХ-КОМБАТАНТОВ 2018
  • Зеленина Наталья Васильевна
  • Назаров Сергей Сергеевич
  • Марченко Андрей Александрович
  • Ранцева Светлана Александровна
  • Выприцкий Павел Анатольевич
  • Юсупов Владислав Викторович
RU2692454C1
СПОСОБ ОПРЕДЕЛЕНИЯ ПРОФЕССИОНАЛЬНОЙ НАДЕЖНОСТИ СПЕЦИАЛИСТА ЭКСТРЕМАЛЬНОГО ПРОФИЛЯ ДЕЯТЕЛЬНОСТИ И УСТРОЙСТВО ДЛЯ ЕГО ОСУЩЕСТВЛЕНИЯ 2008
  • Гриценко Геннадий Николаевич
  • Колючкин Сергей Николаевич
  • Седин Виктор Иванович
  • Смирнов Борис Павлович
RU2392860C1
ПЕРСОНАЛЬНОЕ УСТРОЙСТВО ПСИХОФИЗИОЛОГИЧЕСКОЙ РЕЛАКСАЦИИ ПОЛЬЗОВАТЕЛЯ 2019
  • Черняков Евгений Леонидович
  • Карабута Сергей Сергеевич
RU2722457C1
УСТРОЙСТВО ДИНАМИЧЕСКОГО МОНИТОРИНГА ДЛЯ ПОСТРОЕНИЯ ПЕРСОНАЛИЗИРОВАННЫХ ПРОГРАММ ПИТАНИЯ И ОЗДОРОВИТЕЛЬНЫХ РЕКОМЕНДАЦИЙ (Варианты) 2020
  • Баландин Михаил Юрьевич
  • Никитюк Дмитрий Борисович
  • Бурляева Екатерина Александровна
  • Французов Дмитрий Витальевич
RU2733538C1
СПОРТИВНЫЙ ТРЕНАЖЕР 2013
  • Кулмагамбетов Ануар Райханович
RU2552977C2
АВТОБУСНЫЙ ТРЕНАЖЕР 2011
  • Трофименко Юрий Васильевич
  • Григорьева Татьяна Юрьевна
  • Шашина Елена Владимировна
  • Додонов Борис Михайлович
  • Бадалян Артур Мишаевич
  • Галевко Владимир Владимирович
  • Крючков Дмитрий Вадимович
  • Цесарь Алексей Александрович
  • Ишков Михаил Владимирович
RU2467400C1
СИСТЕМА ОДНОВРЕМЕННОГО КОНТРОЛЯ И ОЦЕНКИ ДИНАМИКИ ФИЗИОЛОГИЧЕСКИХ ПРОЦЕССОВ В УСЛОВИЯХ ПРОВЕДЕНИЯ МАГНИТНО-РЕЗОНАНСНОЙ ТОМОГРАФИИ ЧЕЛОВЕКА 2021
  • Малахов Денис Геннадьевич
  • Холодный Юрий Иванович
RU2756566C1

Иллюстрации к изобретению RU 2 833 621 C1

Реферат патента 2025 года УСТРОЙСТВО ДЛЯ ОПРЕДЕЛЕНИЯ ПСИХОФИЗИОЛОГИЧЕСКОЙ РЕАКЦИИ ВОЕННОСЛУЖАЩИХ НА СТРЕССОВЫЕ ФАКТОРЫ

Изобретение относится к медицинской технике, в частности к области психологии, и предназначено для регистрации психофизиологической реакции. Предложенное устройство для определения психофизиологической реакции военнослужащих на стрессовые факторы состоит из персонального переносного компьютера с программным обеспечением, монитора визуальной демонстрации ситуаций, являющихся стрессовыми факторами, кресла, обмен информацией между креслом, персональным переносным компьютером с программным обеспечением и монитором визуальной демонстрации ситуаций, являющихся стрессовыми факторами, осуществляется по Wi-Fi каналу передачи информации, кресло содержит датчик регистрации частоты сердцебиения, расположенный на краю сиденья кресла, датчики центра масс, расположенные у основания ножек кресла, датчики положения тела, расположенные на поверхностях сиденья, спинки и подлокотниках кресла, два сенсора с датчиками фотоплетизмограммы и с датчиками электрокожного сопротивления, расположенные на подлокотниках, а также блок приема и передачи информации по Wi-Fi каналу передачи информации, расположенный Г под сиденьем кресла. Предлагаемое техническое решение имеет меньшие габаритные размеры, позволяет обеспечить беспроводную передачу данных к персональному переносному компьютеру, обеспечивает возможность визуальной демонстрации ситуаций, являющихся стрессовыми факторами, а также позволяет регистрировать психофизиологические реакции военнослужащего без фиксации датчиков на его теле. Изобретение обеспечивает уменьшение габаритных размеров, обеспечение беспроводной передачи данных к персональному переносному компьютеру, обеспечение возможности визуальной демонстрации ситуаций, являющихся стрессовыми факторами, а также отсутствие необходимости фиксации датчиков на теле обследуемого. 2 ил.

Формула изобретения RU 2 833 621 C1

Устройство для определения психофизиологической реакции военнослужащих на стрессовые факторы, содержащее персональный переносной компьютер с программным обеспечением, монитор визуальной демонстрации ситуаций, являющихся стрессовыми факторами, кресло, отличающееся тем, что обмен информацией между креслом, персональным переносным компьютером с программным обеспечением и монитором визуальной демонстрации ситуаций, являющихся стрессовыми факторами, осуществляется по Wi-Fi каналу передачи информации, кресло содержит датчик регистрации частоты сердцебиения, расположенный на краю сиденья кресла, датчики центра масс, расположенные у основания ножек кресла, датчики положения тела, расположенные на поверхностях сиденья, спинки и подлокотниках кресла, два сенсора с датчиками фотоплетизмограммы и с датчиками электрокожного сопротивления, расположенные на подлокотниках, а также блок приема и передачи информации по Wi-Fi каналу передачи информации, расположенный под сиденьем кресла.

Документы, цитированные в отчете о поиске Патент 2025 года RU2833621C1

СПОСОБ ОПРЕДЕЛЕНИЯ ПРОФЕССИОНАЛЬНОЙ НАДЕЖНОСТИ СПЕЦИАЛИСТА ЭКСТРЕМАЛЬНОГО ПРОФИЛЯ ДЕЯТЕЛЬНОСТИ И УСТРОЙСТВО ДЛЯ ЕГО ОСУЩЕСТВЛЕНИЯ 2008
  • Гриценко Геннадий Николаевич
  • Колючкин Сергей Николаевич
  • Седин Виктор Иванович
  • Смирнов Борис Павлович
RU2392860C1
УСТРОЙСТВО ДЛЯ ОПРЕДЕЛЕНИЯ ПСИХОФИЗИОЛОГИЧЕСКОГО СОСТОЯНИЯ ЧЕЛОВЕКА 2001
  • Бережной В.Н.
  • Брыксин В.Н.
  • Талалаев А.А.
RU2214166C2
СПОСОБ ОЦЕНКИ ПСИХОФИЗИОЛОГИЧЕСКОГО СОСТОЯНИЯ ЧЕЛОВЕКА ПО СЕРДЕЧНОМУ РИТМУ 2003
  • Годунов В.А.
  • Третьяков Д.А.
  • Некрасов Б.Б.
  • Бандурин А.В.
  • Мещеряков Е.В.
RU2246251C1
WO 2006093712 A2, 08.09.2006.

RU 2 833 621 C1

Авторы

Лапшаков Максим Евгеньевич

Агафонова Анжелика Николаевна

Агафонов Денис Сергеевич

Арбатская Екатерина Анатольевна

Даты

2025-01-27Публикация

2024-01-10Подача