Изобретение относится к электромашиностроению и может быть использовано в качестве электромеханического преобразователя механической энергии, подаваемой на один (механический) вход машины, и электрической энергии постоянного тока, подаваемой на другой ее вход (электрический), в суммарную электрическую энергию переменного тока с возможностью работы как отдельно от каждого источника, так и совместно.
Наиболее близким к заявляемому изобретению по технической сущности и достигаемому техническому результату и принятым авторами за прототип является стабилизированная гибридная электрическая машина-генератор (полезная модель № 217134, 20.03.2023 Бюл. № 8). Стабилизированная гибридная электрическая машина-генератор, содержит вал, якорь с обмоткой и щеточно-коллекторный аппарат машины постоянного тока, подшипники, генераторную обмотку переменного тока, а также вал якоря, неподвижно закрепленного с двух сторон в несущих щитах статора, главные полюса, позиционирующиеся радиально относительно друг друга, изготовленные из постоянных магнитов и зафиксированные с торцов подшипниковыми крышками из материала с высоким магнитным сопротивлением с подшипниками, расположенными на валу по обеим сторонам якоря во внутренней полости статора с необходимыми рабочими воздушными зазорами между якорем и магнитопроводом статора с возможностью вращения совместно со щеткодержателями и щетками относительно якоря и закрепленного на статоре магнитопровода с генераторной обмоткой переменного тока, при этом щеткодержатели щеточно-коллекторного аппарата машины закреплены в подшипниковой крышке, одновременно с этим на подшипниковой крышке неподвижно закреплена обгонная муфта, передающая вращающий момент от ветротурбины через подшипниковую крышку к главным полюсам, отличающаяся тем, что ось щеткодержателей расположена перпендикулярно относительно оси главных полюсов, при этом якорная обмотка соединена с фотоэлектрическим преобразователем и аккумуляторной батареей через щеточно-коллекторный аппарат, контактные кольца, расположенные на валу, щетки и систему управления.
Принцип работы основан на суммировании и преобразовании механической энергии (например, энергии ветра) и электрической энергии постоянного тока (например, энергии Солнца) в электрическую энергию трехфазного (или более) переменного тока со стабильными параметрами электрической энергии на выходе за счет согласованной работы генератора, солнечных панелей, аккумулирующих устройств.
В прототипе вал якоря с обмоткой, щеточно-коллекторный аппарат (коллектор, щеткодержатели со щетками) и главные полюса, размещенные внутри магнитопровода статора, в совокупности являются основой машины постоянного тока. Главные полюса изготовлены из постоянных магнитов и одновременно создают основной магнитный поток, который замыкается радиально через воздушные зазоры, якорь и магнитопровод статора с m-фазной генераторной обмоткой переменного тока.
Из-за конструктивных ограничений машины постоянного тока изготавливают с ограниченным количеством пар полюсов, например машины постоянного тока малой мощности изготавливают с количеством пар полюсов равной одному (2р=2), машины постоянного тока до 200 кВт. изготавливают с количеством пар полюсов равной двум (2р=4) (М.П. Костенко, Л.М. Пиотровский Электрические машины в 2-х ч. Ч1- Машины постоянного тока. Трансформаторы. Учебник для студентов высш. техн. учебн. завед. Изд. 3-е, перераб., Л. «Энергия», 1972, С. 292-301).
Ограничение количества пар полюсов ведет к ограничению количества главных полюсов, создающих основной магнитный поток, который замыкается через воздушные зазоры, якорь и магнитопровод статора с
m-фазной генераторной обмоткой переменного тока.
Отсутствие возможности увеличения количества главных полюсов, ограничивает возможность увеличения частоты ЭДС, ее величины и ведет к выработке малого количества электрической энергии, низкой эффективности использования энергии ветра, так как не позволяет получать дополнительную электроэнергию, особенно в районах с высокой интенсивностью ветрового потока и, соответственно, к резкому ограничению области применения генератора данного типа.
При малом количестве пар полюсов и низкой скорости движения ветротурбины в генераторных установках иногда используют повышающий редуктор (мультипликатор), который является промежуточным звеном между ветротурбиной и генератором, которое повышает его частоту вращения. Однако если мультипликатор применить в данном случае, то будет необходимо его дополнительное обслуживание и ремонт, увеличатся стоимостные показатели генератора (в том числе на обслуживание и ремонт), дополнительные промежуточные звенья мультипликатора уменьшат надежность работы генераторной установки в целом. Помимо этого, наличие редуктора увеличит потери при передаче энергии ветрового потока от ветротурбины через редуктор к генератору (из-за наличия трения в самом мультипликаторе) и дополнительно увеличит шум при его эксплуатации.
Задачей изобретения является усовершенствование конструкции генератора.
Технический результат заключается в увеличении количества вырабатываемой электроэнергии, эффективности использования энергии ветра и расширение области применения генератора.
Технический результат достигается тем, что в стабилизированной гибридной электрической машине-генераторе, содержащей вал, якорь с обмоткой и щеточно-коллекторный аппарат машины постоянного тока, подшипники, генераторную обмотку переменного тока, а также вал якоря, неподвижно закрепленного с двух сторон в несущих щитах статора, главные полюса, позиционирующиеся радиально относительно друг друга, изготовленные из постоянных магнитов, и зафиксированные с торцов подшипниковыми крышками из материала с высоким магнитным сопротивлением с подшипниками, расположенными на валу по обеим сторонам якоря во внутренней полости статора с необходимыми рабочими воздушными зазорами между якорем и магнитопроводом статора с возможностью вращения совместно с щеткодержателями и щетками относительно якоря и закрепленного на статоре магнитопровода с генераторной обмоткой переменного тока, при этом щеткодержатели щеточно-коллекторного аппарата машины закреплены в подшипниковой крышке, одновременно с этим на подшипниковой крышке неподвижно закреплена обгонная муфта, передающая вращающий момент от ветротурбины через подшипниковую крышку к главным полюсам, ось щеткодержателей расположена перпендикулярно относительно оси главных полюсов, причем якорная обмотка соединена с фотоэлектрическим преобразователем и аккумуляторной батареей через щеточно-коллекторный аппарат, контактные кольца, расположенные на валу, щетки и систему управления, при этом главные полюса закреплены внутри ярма, выполненного в форме тонкостенного цилиндра, изготовленного из материала с малым магнитным сопротивлением, причем ярмо закреплено внутри основания, выполненного в форме тонкостенного цилиндра, изготовленного из материала с большим магнитным сопротивлением, одновременно с этим основание закреплено внутри ярма, выполненного в форме тонкостенного цилиндра, изготовленного из материала с малым магнитным сопротивлением, на котором с внешней стороны позиционируются с чередованием полюса, изготовленные из постоянных магнитов, при этом между полюсами и магнитопроводом статора имеется необходимый воздушный зазор.
Система управления представляет собой драйвер, соединенный с шиной постоянного тока, к которой параллельно подключены через преобразователь постоянного напряжения фотоэлектрический преобразователь, а через контроллер заряда аккумуляторная батарея.
Возможность увеличения количества пар полюсов, в данной конструкции, позволит увеличить в m-фазной генераторной обмотке переменного тока частоту ЭДС, которая определяется по формуле:
f = pn / 60, (1)
где p - число пар полюсов;
n - скорость вращения ветротурбины.
Возможность увеличения частоты ЭДС позволит увеличить действующее значение электродвижущей силы (ЭДС), наводимой в одной фазе при данной величине магнитного потока, которая определяется по формуле:
Еф=4.44 kобм fwрФ, (2)
где kобм - обмоточный коэффициент;
wр - число витков m-фазной генераторной обмоткой переменного тока;
Ф - магнитный поток;
f - частота ЭДС.
Возможность получения увеличенного действующего значения электродвижущей силы (ЭДС), при той же интенсивности ветрового потока, дает возможность получения большего количества вырабатываемой электроэнергии, ведет к наиболее эффективному использованию энергии ветра и расширению области применения генератора подобного типа.
Сущность устройства поясняется чертежами.
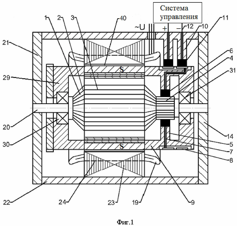
На фиг. 1 изображен в разрезе главный вид стабилизированной гибридной электрической машины-генератора (СГЭМ-Г).
На фиг. 2 изображен продольный разрез СГЭМ-Г (нумерация позиций согласована в соответствии с фиг. 1).
На фиг. 3 изображен поперечный разрез СГЭМ-Г (нумерация позиций согласована в соответствии с фиг. 1).
На фиг. 4 представлена структурная схема СГЭМ-Г, фотоэлектрических преобразователей, аккумуляторных батарей и системы управления (нумерация позиций согласована в соответствии с фиг. 1, фиг. 2 и фиг. 3).
СГЭМ-Г содержит якорь 1 машины постоянного тока с обмоткой 2, уложенной в пазах 3, коллектор 4, щеткодержатели 5 со щетками 6. Коллектор 4 совместно с щеткодержателями 5 и щетками 6 образуют щеточно-коллекторный аппарат машины (фиг. 1). К щеткам 6 подключены провода 7, соединенные с контактными кольцами 8. Контактные кольца 8 изолированы от подшипниковой крышки 9, расположены на внешней стороне и при помощи щеткодержателей 10 со щетками 11 посредством проводов 12 связывают обмотку 2 через систему управления с фотоэлектрическим преобразователем 13 и аккумуляторной батареей 14 (фиг. 1 и фиг. 4). Система управления состоит из драйвера 15 (пример устройства и принципа работы драйвера описан в статье «Кривченков В.И., Елфимов М.А., Умрихин Д.О. Синтез системы управления электромашинным ветро-солнечным преобразователем для электроснабжения локальных объектов // Сборник материалов всероссийской национальной научно-практической конференции «Инженерные технологии в сельском и лесном хозяйстве» – Тюмень: ГАУ Северного Зауралья. – 2020. – С. 63-68.»), преобразователя постоянного напряжения 16 (пример устройства и принципа работы преобразователя постоянного напряжения описан в статье «Белов А.М., Нтавухоракомейе Н. Проектирование повышающего преобразователя постоянного тока контроллера солнечного заряда MPPT // Известия СПбГЭТУ ЛЭТИ. – 2020. – №6. – С. 78-87.»), контроллера заряда 17, подключенных параллельно к шине постоянного тока (ШПТ) 18 (фиг. 4).
При этом драйвер 15 позволяет регулировать напряжение на обмотке 2 якоря 1 в зависимости от нагрузки, подключенной к m-фазной генераторной обмотке 19.
Вал 20 якоря 1 неподвижно закреплен в несущих щитах статора 21. Несущие щиты статора 21 соединены неподвижно со статором 22 с цилиндрической расточкой. Щеткодержатели 10 закреплены неподвижно с внутренней стороны цилиндрической расточки статора 22.
В статор 22 впрессован шихтованный магнитопровод статора 23, в пазах 24 которого уложена m-фазная генераторная обмотка переменного тока 19 по типу статорных обмоток асинхронных двигателей, соединенная с сетью переменного тока с целью передачи выработанной электроэнергии потребителям.
Главные полюса 27, 28 позиционируются радиально друг относительно друга и изготовлены из постоянных магнитов, зафиксированы с торцов подшипниковыми крышками 9, 29, из материала с высоким магнитным сопротивлением, с подшипниками 30, 31, расположенными на валу 20 по обеим сторонам якоря 1 во внутренней полости статора 22 (фиг. 1 и фиг. 2).
Наличие рабочих воздушных зазоров 32, 33 позволяет свободно вращаться главным полюсам 27, 28 вместе с подшипниковыми крышками 9, 29 на подшипниках 30, 31 относительно якоря 1 с обмоткой 2 и расположенного на статоре магнитопровода статора 23 с m-фазной генераторной обмоткой переменного тока 19.
Главные полюса 27, 28 закреплены внутри ярма 34, выполненного в форме тонкостенного цилиндра, изготовленного из материала с малым магнитным сопротивлением, причем ярмо 34 закреплено внутри основания 35, выполненного в форме тонкостенного цилиндра, изготовленного из материала с большим магнитным сопротивлением, одновременно с этим основание 35 закреплено внутри ярма 36, выполненного в форме тонкостенного цилиндра, изготовленного из материала с малым магнитным сопротивлением, на котором позиционируются с чередованием полюса 37, 38 изготовленные из постоянных магнитов, при этом между полюсами 37, 38 и магнитопроводом статора 23 имеются необходимые воздушные зазоры 39, 40 (фиг. 1, фиг. 2, фиг. 3).
Магнитный поток Ф, создаваемый индуктором, состоящим из главных полюсов 27, 28, проходит от главного полюса 27 через рабочие воздушные зазоры 32, 33, якорь 2 через ярмо 34 к главному полюсу 28 (фиг. 3). При этом щеткодержатели 5 со щетками 6 щеточно-коллекторного аппарата машины закреплены в подшипниковой крышке 9 с учетом того, что их ось расположена перпендикулярно относительно оси главных полюсов 27, 28 (ось геометрической и физической нейтрали совпадают) (фиг. 1, фиг. 2, фиг. 3).
На подшипниковой крышке 29 неподвижно закреплена обгонная муфта 41 (фиг. 2). Вращающий момент от ветротурбины передается через зубчатое колесо 42 (зубчатой передачи) к обгонной муфте 41, а затем через подшипниковую крышку 29 к главным полюсам 27, 28 и полюсам 37, 38.
В данном случае приведен простейший случай машины с одной парой основных полюсов 27, 28, щеткодержателей 5 со щетками 6.
Фотоэлектрический преобразователь 13 через преобразователь постоянного напряжения 16 подключен к ШПТ 18. При этом аккумуляторная батарея 14 подключена к ШПТ 18 через контроллер заряда 17.
Стабилизированная гибридная электрическая машина-генератор работает следующим образом.
При отсутствии энергии ветра, но наличии электрической энергии постоянного тока обгонная муфта 41 отсоединяет подвижную часть машины (главные полюса 27, 28, полюса 37, 38 вместе с подшипниковыми крышками 9, 29) от ветротурбины и, тем самым позволяет свободно вращаться главным полюсам 27, 28, полюсам 37, 38 с подшипниковыми крышками 9, 29 на подшипниках 30, 31 относительно якоря 1 с обмоткой 2 и расположенного на статоре шихтованного магнитопровода статора 23, в пазах 24 которого уложена m-фазная генераторная обмотка переменного тока 19.
Постоянное напряжение от фотоэлектрического преобразователя 13 и аккумуляторной батареи 14 через преобразователь постоянного напряжения 16, работающего по методу отслеживания максимальной точки мощности (МРРТ), и контроллер заряда 17, соответственно, подается на ШПТ 18. Затем с ШПТ 18 напряжение поступает через драйвер 15, провода 12, щетки 11, позиционирующиеся во внутренней полости статора 22 при помощи щеткодержателей 10, контактные кольца 8, провода 7, щетки 6, коллектор 4 подается на обмотку 2 якоря 1. Так как электрическая цепь замкнута, то по ней потечет постоянный ток.
Магнитный поток Ф, создаваемый индуктором, состоящим из главных полюсов 27, 28, проходит от главного полюса 27 через рабочие воздушные зазоры 32, 33, якорь 2 через ярмо 34 к главному полюсу 28 (фиг.3).
При этом на проводники обмотки 2, уложенной в пазах 3 якоря, 1 будут действовать электромагнитные силы, величина которых находится из соотношения (Вольдек А.И. Электрические машины. - Учебник для студентов высш. техн. учебн. заведений. Изд. 2-е, перераб. и доп.: «Энергия», 1974. - 840 с., стр. 30):
Fпр=BlIa, (3)
где В - величина магнитной индукции;
- ток, протекающий по проводнику обмотки якоря;
- активная длина магнитопровода якоря.
Такое же по величине, но противоположное по направлению усилие будет действовать на главные полюса 27, 28 и полюса 37, 38. Так как вал 20 якоря 1 неподвижно закреплен в несущих щитах статора 21, то главные полюса 27, 28 и полюса 37, 38 вместе с подшипниковыми крышками 9, 29 придут во вращение под воздействием электромагнитного момента, создаваемого электромагнитными силами, на подшипниках 30, 31, относительно якоря 1 с обмоткой 2, и расположенного на статоре 22 магнитопровода статора 23 с m-фазной генераторной обмоткой переменного тока 19.
Магнитный поток Ф, создаваемый индуктором, состоящим из полюсов 32, 33, проходит от полюса 32 через рабочие воздушные зазоры 39, 40 пересекает магнитопровод статора 23 с m-фазной генераторной обмоткой переменного тока 19 и через ярмо 36, которое закреплено неподвижно снаружи основания 35, замыкается на главном полюсе 28.
Так как магнитный поток Ф, создаваемый индуктором, состоящим из полюсов 37, 38 пересекает магнитопровод статора 23 с m-фазной генераторной обмоткой переменного тока 19, то по закону электромагнитной индукции в ней будет наводиться ЭДС:
, (4)
где
- скорость изменения магнитного потока;
- число витков m-фазной генераторной обмоткой переменного тока 19.
Если подключить электрическую нагрузку к m-фазной генераторной обмотке переменного тока 19, то электрическая цепь будет замкнута и в ней возникнет m-фазный переменный ток.
Выбор необходимой величины рабочих воздушных зазоров 32, 33 позволит компенсировать поперечную реакцию якоря 1 и, тем самым, улучшить коммутацию щеточно-коллекторного аппарата (коллектор 4 с щетками 6, закрепленных с помощью щеткодержателей 5) и характеристики машины.
Системы управления, cостоящая из драйвера 15, преобразователя постоянного напряжения 16, шины постоянного тока 18 и контроллера заряда 17, позволяет контролировать величину поступающей энергии на обмотку 2 якоря 1. Преобразователь постоянного напряжения 16 в данном режиме работы через прямой диод согласует работу фотоэлектрического преобразователя с аккумуляторной батареей и стабилизированной гибридной-электрической машиной-генератором через ШПТ 18, а так же предотвращает поступление обратного тока к ней (Белов А.М., Нтавухоракомейе Н. Проектирование повышающего преобразователя постоянного тока контроллера солнечного заряда MPPT // Известия СПбГЭТУ ЛЭТИ. – 2020. – №6. – С. 78-87). Аккумуляторная батарея 14 через контроллер заряда 17, обратный диод транзистора подает ток к драйверу 15 (Обухов С.Г., Ибрагим А. Анализ режимов и выбор параметров преобразователя напряжения и контроллера максимальной мощности автономной фотоэлектрической станции // Вестник Иркутского государственного технического университета. – 2020. – Т. 24. №1. – С. 164–182. DOI: 10.21285/1814-3520-2020-1-164-182). При этом драйвер 15 позволяет регулировать напряжение на обмотке якоря в зависимости от нагрузки, подключенной к m-фазной генераторной обмотке 19.
При наличии энергии ветра, но отсутствии электрической энергии постоянного тока обгонная муфта 41 соединяет через зубчатое колесо 42 подвижную часть машины с ветротурбиной, которая вращает главные полюса 27, 28 и полюса 37, 38 с подшипниковыми крышками 9, 29 на подшипниках 30, 31 относительно якоря 1 с обмоткой 2 и расположенного на статоре магнитопровода статора 23 с m-фазной генераторной обмоткой переменного тока 19.
Магнитный поток Ф, создаваемый индуктором, состоящим из главных полюсов 27, 28, проходит от главного полюса 27 через рабочие воздушные зазоры 32, 33, якорь 1 и замыкается через ярмо 34 на главном полюсе 28. Магнитный поток Ф, пересекая обмотку 2 якоря 1, индуктирует в ней ЭДС и при замкнутой цепи через источник электрической энергии постоянного тока появляется ток, совпадающий по направлению с направлением ЭДС, но противоположный направлению тока источника электрической энергии постоянного тока (генераторный режим машин постоянного тока). При этом прямой диод преобразователя постоянного напряжения 16 будет предотвращать поступление обратного тока к фотоэлектрическим преобразователям.
Кроме этого магнитный поток Ф пересекает магнитопровод статора 23 с m-фазной генераторной обмоткой переменного тока 19 и в ней наводит ЭДС по формуле 2. Если подключить электрическую нагрузку к m-фазной генераторной обмотке переменного тока 19, то электрическая цепь будет замкнута и в ней возникнет m-фазный переменный ток.
В этом режиме система управления, а именно драйвер 15, в зависимости от количества поступающей энергии от ветра, согласовывает работу СГЭМ-Г с аккумуляторной батареей 14 посредством ШПТ 18. В случае избыточной выработки энергии, при возникновении сильного ветра,
через драйвер 15, контроллер заряда 17 будет происходить накопление энергия на аккумуляторной батарее 14 с последующим использованием её для стабилизации режима работы СГЭМ-Г при помощи драйвера 15.
При наличии энергии ветра и электрической энергии постоянного тока, постоянное напряжение от фотоэлектрического преобразователя 13 или аккумуляторной батареи 14 через преобразователь постоянного напряжения 16, работающего по методу отслеживания максимальной точки мощности (МРРТ), и контроллера заряда 18, подается на ШПТ 18. Затем с ШПТ 18 оно поступает на драйвер 15, который будет контролировать поступающее напряжение, необходимое для стабилизированной работы СГЭМ-Г. В случае избытка ветровой энергии, ток, индицируемый в обмотке 2 якоря 1 через провода 12, ШПТ 18 и контроллер заряда 17 будет заряжать аккумуляторную батарею 14. В ином другом случае (кроме случая полного отсутствия энергий от всех источников или от каждого по отдельности), система управления в целом будет поддерживать необходимые напряжения на обмотке 2 якоря 1 и аккумуляторной батарее 14.
Магнитный поток Ф, создаваемый индуктором, состоящим из главных полюсов 27, 28, проходит от главного полюса 27 через рабочие воздушные зазоры 32, 33, якорь 1 и замыкается через ярмо 34 на главном полюсе 28.
При этом на проводники обмотки 2, уложенной в пазах 3 якоря 1 будут действовать электромагнитные силы по формуле 3. Такое же по величине, но противоположное по направлению усилие будет действовать на главные полюса 27, 28 и полюса 37, 38. Так как вал 20 якоря 1 неподвижно закреплен в несущих щитах статора 21, то главные полюса 27, 28 и полюса 37, 38 вместе с подшипниковыми крышками 9, 29 придут во вращение под воздействием электромагнитного момента, создаваемого электромагнитными силами на подшипниках 30, 31 относительно якоря 1 с обмоткой 2, и расположенного на статоре 22 магнитопровода статора 23 с m-фазной генераторной обмоткой переменного тока 19. Полярность подключения источников постоянного тока через систему управления согласована таким образом, чтобы вращающие моменты, создаваемые ветротурбиной и главными полюсами 27, 28 от обмотки 2 якоря 1 совпадали по направлению. При этом обгонная муфта 41 соединяет ветротурбину с подвижной частью машины (подшипниковые крышки 9, 29 с главными полюсами 27, 28 и полюсами 37, 38) и передает ей энергию от ветротурбины через зубчатое колесо 42 в виде вращающего момента, дополнительно воздействуя на нее, суммируя энергию ВИЭ для дальнейшего преобразования ее в электрическую энергию m-фазного переменного тока.
Кроме этого магнитный поток Ф пересекает магнитопровод статора 23 с m-фазной генераторной обмоткой переменного тока 19 и в ней наводит ЭДС по формуле 4. Если подключить электрическую нагрузку к m-фазной генераторной обмотке переменного тока 19, то электрическая цепь будет замкнута и в ней возникнет m-фазный переменный ток.
| название | год | авторы | номер документа |
|---|---|---|---|
| Стабилизированная гибридная аксиальная электрическая машина-генератор | 2024 |
|
RU2834276C1 |
| Гибридная электрическая машина-генератор | 2024 |
|
RU2833664C1 |
| Гибридная электрическая машина-генератор | 2016 |
|
RU2633377C1 |
| Гибридная аксиальная электрическая машина-генератор | 2024 |
|
RU2831605C1 |
| Гибридная аксиальная электрическая машина-генератор | 2016 |
|
RU2629017C1 |
| Гибридный аксиальный ветро-солнечный генератор | 2016 |
|
RU2633376C1 |
| Гибридный ветро-солнечный генератор | 2016 |
|
RU2643522C1 |
| Двухмерный гибридный ветро-солнечный генератор | 2025 |
|
RU2840792C1 |
| Гибридный двухмерный ветро-солнечный генератор | 2025 |
|
RU2840897C1 |
| Двухмерная электрическая машина-генератор | 2025 |
|
RU2840791C1 |
Изобретение относится к электротехнике. Технический результат заключается в увеличении количества вырабатываемой электроэнергии, эффективности использования энергии ветра и расширении области применения генератора. Стабилизированная гибридная электрическая машина-генератор содержит вал, якорь с обмоткой и щеточно-коллекторный аппарат машины постоянного тока, подшипники, генераторную обмотку переменного тока, а также вал якоря, неподвижно закрепленного с двух сторон в несущих щитах статора, главные полюса, позиционирующиеся радиально относительно друг друга, изготовленные из постоянных магнитов и зафиксированные с торцов подшипниковыми крышками из материала с высоким магнитным сопротивлением, с подшипниками, расположенными на валу по обеим сторонам якоря во внутренней полости статора с необходимыми рабочими воздушными зазорами между якорем и магнитопроводом статора с возможностью вращения совместно со щеткодержателями и щетками относительно якоря и закрепленного на статоре магнитопровода с генераторной обмоткой переменного тока. Щеткодержатели щеточно-коллекторного аппарата машины закреплены в подшипниковой крышке. На подшипниковой крышке неподвижно закреплена обгонная муфта, передающая вращающий момент от ветротурбины через подшипниковую крышку к главным полюсам. Ось щеткодержателей расположена перпендикулярно относительно оси главных полюсов. Якорная обмотка соединена с фотоэлектрическим преобразователем и аккумуляторной батареей через щеточно-коллекторный аппарат, контактные кольца, расположенные на валу, щетки и систему управления. Главные полюса закреплены внутри ярма, выполненного в форме тонкостенного цилиндра, изготовленного из материала с малым магнитным сопротивлением. Ярмо закреплено внутри основания, выполненного в форме тонкостенного цилиндра, изготовленного из материала с большим магнитным сопротивлением. Основание закреплено внутри ярма, выполненного в форме тонкостенного цилиндра, изготовленного из материала с малым магнитным сопротивлением, на котором с внешней стороны позиционируются с чередованием полюса, изготовленные из постоянных магнитов. Между полюсами и магнитопроводом статора имеется необходимый воздушный зазор. 1 з.п. ф-лы, 4 ил. 
1. Стабилизированная гибридная электрическая машина-генератор, содержащая вал, якорь с обмоткой и щеточно-коллекторный аппарат машины постоянного тока, подшипники, генераторную обмотку переменного тока, а также вал якоря, неподвижно закрепленного с двух сторон в несущих щитах статора, главные полюса, позиционирующиеся радиально относительно друг друга, изготовленные из постоянных магнитов и зафиксированные с торцов подшипниковыми крышками из материала с высоким магнитным сопротивлением, с подшипниками, расположенными на валу по обеим сторонам якоря во внутренней полости статора с необходимыми рабочими воздушными зазорами между якорем и магнитопроводом статора с возможностью вращения совместно со щеткодержателями и щетками относительно якоря и закрепленного на статоре магнитопровода с генераторной обмоткой переменного тока, при этом щеткодержатели щеточно-коллекторного аппарата машины закреплены в подшипниковой крышке, одновременно с этим на подшипниковой крышке неподвижно закреплена обгонная муфта, передающая вращающий момент от ветротурбины через подшипниковую крышку к главным полюсам, ось щеткодержателей расположена перпендикулярно относительно оси главных полюсов, причем якорная обмотка соединена с фотоэлектрическим преобразователем и аккумуляторной батареей через щеточно-коллекторный аппарат, контактные кольца, расположенные на валу, щетки и систему управления, отличающаяся тем, что главные полюса закреплены внутри ярма, выполненного в форме тонкостенного цилиндра, изготовленного из материала с малым магнитным сопротивлением, причем ярмо закреплено внутри основания, выполненного в форме тонкостенного цилиндра, изготовленного из материала с большим магнитным сопротивлением, одновременно с этим основание закреплено внутри ярма, выполненного в форме тонкостенного цилиндра, изготовленного из материала с малым магнитным сопротивлением, на котором с внешней стороны позиционируются с чередованием полюса, изготовленные из постоянных магнитов, при этом между полюсами и магнитопроводом статора имеется необходимый воздушный зазор.
2. Стабилизированная гибридная электрическая машина-генератор по п. 1, отличающаяся тем, что система управления представляет собой драйвер, соединенный с шиной постоянного тока, к которой параллельно подключены через преобразователь постоянного напряжения фотоэлектрический преобразователь, а через контроллер заряда - аккумуляторная батарея.
| СПОСОБ АНТИСЕПТИРОВАНИЯ НЕМЕТАо1ЛИЧЕСКИХМАТЕРИАЛОВ | 0 |
|
SU217134A1 |
| Гибридная электрическая машина-генератор | 2016 |
|
RU2633377C1 |
| ДВУХМЕРНАЯ ЭЛЕКТРИЧЕСКАЯ МАШИНА-ГЕНЕРАТОР | 2006 |
|
RU2332775C1 |
| ДВУХВХОДОВАЯ ЭЛЕКТРИЧЕСКАЯ МАШИНА | 1994 |
|
RU2091967C1 |
| US 2002158538 A1, 31.10.2002. | |||
Авторы
Даты
2025-01-28—Публикация
2024-06-07—Подача