Изобретение относится к области производства капсюлированых гильз к стрелковому гладкоствольному и нарезному оружию и может быть применено для производства патронов к указанному оружию.
Известна капсюлированная гильза для стрелкового оружия [Патент РФ №2525595] с капсюльным гнездом по системе «Боксер», у которой отсутствует оболочка капсюля-воспламенителя сложной формы, а ее роль выполняет само капсюльное гнездо гильзы и специальный кольцевой выступ, расположенный в капсюльном гнезде гильзы, при этом внутри колпачка капсюля-воспламенителя размещена трехлепестковая наковаленка куполообразной формы, которая вершиной своего купола плотно соприкасается с герметизирующей мембраной, а основания лепестков упираются во внутреннюю стенку колпачка капсюля-воспламенителя и плотно соприкасаются со специальным кольцевым выступом, расположенным в капсюльном гнезде гильзы. Наличие специального кольцевого выступа на дне капсюльного гнезда формирует кольцевое углубление по периферии дна капсюльного гнезда. Такое выполнение конструкции капсюлированной гильзы и выбор ее геометрических размеров позволяют при запрессовке капсюля-воспламенителя в капсюльное гнездо опереть наковаленку на специальный кольцевой выступ в отсутствии упора торца колпачка капсюля-воспламенителя на специальный кольцевой выступ. У данной капсюлированной гильзы в центре капсюльного гнезда имеется центральное отверстие, которое обеспечивает простой нетрудоемкий способ извлечения стрелянного (использованного) капсюля-воспламенителя из гильзы патрона стрелкового оружия. Данная конструкция капсюлированной гильзы принимается за аналог.
Известны капсюлированные гильзы для стрелкового оружия [М.А. Кислин «В ПОГОНЕ ЗА СКОРОСТЬЮ. Модернизация патронов для нарезного оружия», журнал «Калашников», №5/2015, Кондратьев С.А., М.А. Кислин, С.А. Перышкин и Н.А. Вихарева «Капсюлированная гильза с высокой надежностью и малым временем срабатывания для патронов для снайперских винтовок», журнал «Интерэкспо-ГЕО-Сибирь 2022» Том 8 №2, СТР. 3-11], которые принимаются за аналоги.
Недостатком данных капсюлированных гильз, известных по аналогам, является необходимость изготовления сложной трудоемкой трехлепестковой наковаленки в массовом количестве на прессовом оборудовании. Для этого применяются многоместные штампы, которые в силу своей многоместности не могут обеспечить единообразия высоты трехлепестковой наковаленки. Наковаленки обычно изготавливаются холодной штамповкой из металлической ленты. Изготовленные наковаленки после предварительной обработки (галтовка, обезжиривание, травление поверхности, гальваническое покрытие, промывка, сушка) поступают в сборочный цех и досылаются групповым способом в снаряженные воспламенительным составом ударного действияколпачки [П.Ф. Бубнов и И.П. Сухов «Средства инициирования», Москва, 1945., Оборонгиз, с. 16, с. 27, 28, с. 41-52].
К недостаткам указанного способа относится то, что он не обеспечивает точного изготовления наковаленок и поэтому возникает возможность попадания на групповую сборку бракованных наковаленок с завышенной высотой, что приведет к недопустимому внедрению наковаленки в воспламенительный состав ударного действия, срабатыванию состава, выходу пресс-инструмента из строя и остановке процесса сборки капсюлей на ремонтно-профилактические работы. Кроме того, к недостаткам относится необходимость получения наковаленки с максимально точной высотой за счет использования проката повышенной точности с ограниченными механическими свойствами и за счет высоких требований по точности к изготовлению многоместных штампов. При этом невозможно добиться единообразных размеров отдельных пуансонов и матриц в многоместном штампе. В связи с этим конструкция капсюлированной гильзы, известной по аналогу, не обеспечивает высокую надежность и чувствительность срабатывания капсюля- воспламенителя, и малое время срабатывания патрона при стрельбе при стрельбе из стрелкового оружия из-за отсутствия в ней максимально возможного приближения наковаленки гильзы к герметизирующей мембране, которая покрывает воспламенительный состав ударного действия капсюля-воспламенителя.
Недостатком данных конструкций капсюлированных гильз, известных по аналогам, является также сложность конструкции из-за наличия по периферии капсюльного гнезда кольцевого углубления и уменьшает прочность капсюлированной гильзы из-за этого кольцевого элемента.
Известна капсюлированная гильза [Патент РФ №2613395], которая принимается за прототип. Она состоит из: гильзы; металлического шарика; капсюльного гнезда; металлического колпачка; воспламенительного состава ударного действия; герметизирующей мембраны; центрального отверстия в дне капсюльного гнезда для частичного размещения в нем металлического шарика; запальных сквозных отверстий (двух или трех) в дне капсюльного гнезда и кольцевого углубления по периферии капсюльного гнезда.
Недостатком конструкции капсюлированной гильзы, известной по прототипу, является сложность ее конструкции из-за наличия кольцевого углубления по периферии капсюльного гнезда. Данное кольцевое углубление приводит дополнительно и к уменьшению прочности капсюлированной гильзы во время выстрела.
Практическая реализации конструкции капслюлированной гильзы, известной по прототипу, проблематична из-за сложности технологии ее изготовления. Необходим подбор опытным путем (методом проб и ошибок) размеров диаметра центрального отверстия в дне капсюльного гнезда гильзы и радиуса металлического шарика для обеспечения у капсюлированной гильзы как высокой надежности срабатывания, так и малого времени срабатывания от удара по капсюлю-воспламенителю бойка стрелкового оружия. Например, изменение величины d диаметра центрального отверстия в дне капсюльного гнезда на 33% может вызвать необходимость менять радиус R металлического шарика на 20%. Может оказаться, что изготовленная большая партия гильз для производства патронов за счет технологических погрешностей получилась с другими значениями диаметра центрального отверстия в дне капсюльного гнезда, чем предполагаемые. В этом случае партия заранее приготовленных металлических шариков, выбранной величины радиуса R, может оказаться не пригодной для изготовления партии капсюлированных гильз как с высокой надежностью срабатывания, так и с малым временем срабатывания. В этом случае надо снова опытным путем подбирать значение размера нового радиуса «R» металлического шарика и изготавливать новую партию металлических шариков. Кроме того существующее многообразие патронов для стрелкового оружия, предполагает также многообразие капсюлированных гильз с различными размерами капсюльного гнезда, которые, например, приведены в стандарте SAAMI (Институт производителей спортивного оружия и боеприпасов), который разработан в США. Требования SAAMI объединяют капсюль-воспламенитель и гильзу патрона в один комплекс: капсюлированная гильза, в частности в стандарте приведены размеры капсюльных гнезд для широкого класса капсюлей - воспламенителей типа: «Small Rifle» и «Large Rifle». Для «Small Rifle» и «Large Rifle» глубина капсюльного гнезда (2,97-3,12) мм и (3,18-3,35) мм, соответственно. Т.е глубина капсюльного гнезда может меняться от 2,97 до 3,35 мм (т.е. на 13%). Для такого многообразия капсюлей-воспламенителей массовое производство различных капсюлированных гильзы, конструкции известной по прототипу, требует больших затрат на опытные работы по подбору необходимых значений радиусов «R» металлических шариков для каждого конкретного случая.
Основное требование для капсюлированной гильзы - это ее функциональность, т.е. она должна безотказно и единообразно, и с минимальным временем срабатывать от удара бойка стрелкового оружия, для которого она предназначена. При этом применение капсюлированных гильз в различных типах автоматического стрелкового оружия требует утапливать капсюль-воспламенитель внутрь капсюльного гнезда на определенную глубину «Н» для недопущения инерционного накола.
Единообразие и надежность срабатывания капсюлированной гильзы - необходимое условие постоянства баллистических характеристик выстрела из снайперской винтовки. Особенно начальной скорости полета пули, так как при снайперской стрельбе на большие расстояния это приведет к существенному понижению точки попадания пули (т.е. к промаху) и к существенному увеличению времени полета пули, что позволит мишени выйти из зоны поражения. К технологическим требованиям относятся: простота конструкции и технологичность (простота) изготовления деталей капсюлированной гильзы.
Снайперские винтовки, например, в калибрах. 308 Winchester (7,62×51 мм) и .338 Lapua Magnum (8,6×69 мм) с продольно-скользящим затвором обеспечивают более точную стрельбу, чем полуавтоматические. При этом эффективная дальность стрельбы достигает 1500 метров. За прототип для этих винтовок можно выбрать винтовку ORSIS Т-5000. Важно отметить, некоторые типы российских снайперских винтовок могут создаваться под импортные патроны.
В винтовках, изготовленных в рамках выполнения ОКР «Точность», все еще используются комплектующие иностранного производства. Однако это не помешало некоторым российским силовым структурам (таким как: ФСБ, ФСО и Росгвардия) принять их на вооружение в 2017-2018 годах. Министерство обороны отказалось от закупок данных винтовок из-за наличия иностранных комплектующих в этом оружии. Этот отказ дал начало для проведения новых опытно-конструкторских работ в рамках ОКР «Уголек». Заказчик потребовал создать новое оружие под иностранные патроны .308 Winchester (7,62×51 мм) и .338 Lapua Magnum (8,6×69 мм). В результате работ по ОКР «Уголек» предприятия должны получить возможность улучшить свои компетенции в сфере снайперских винтовок и сопутствующих изделий (в частности, по капсюлированной гильзе). Проект «Уголек» интересен, в первую очередь, ожидаемыми крупными заказами на серийные поставки. Интересны экспортные рынки на снайперские винтовки, особенно, под патрон .338 Lapua Magnum (8,6×69 мм). Подобного оружия существует не много, и этот пробел надо заполнять. Да и под меньший патрон .308 Winchester (7,62×51 мм) оружие требуется тем странам, которые не любят «насажденную» демократию. Например, те страны куда планируется к экспорту автомат АК-308, использующий зарубежный патрон 7,62×51 мм НАТО.
В настоящее время в США существует аккредитованный разработчиком стандарт SAAMI (Институт производителей спортивного оружия и боеприпасов), который имеет свои таблицы с характеристиками, отличными от российских. Требования SAAMI объединяют капсюль-воспламенитель и гильзу патрона в один комплекс: капсюлированная гильза. Однако серия новаторских патентов на изобретения на конструкции капсюлированной гильзы (№№2525595, 2585092, 2598257, 2613395) получена в РФ. Разработки в данных патентах направлены на организацию правильного взаимодействия современного капсюля-воспламенителя типа «Боксер» с другими деталями гильзы патрона для обеспечения высокой надежности срабатывания и уменьшения времени срабатывания патрона при стрельбе из снайперского комплекса (капсюлированная гильза, патрон, снайперская винтовка).
На основе обзора итогов выполнения в России работ ОКР «Точность» и ОКР «Уголек» были найдены размеры капсюльного гнезда капсюлированной гильзы для двух современных снайперских патронов калибра: 7,62×51-мм и 8,6×69 мм для снайперских винтовок. Важно отметить, что целью создания патрона калибра 8,6×69 мм (.338 Lapua Magnum) было заполнение пробела линейки патронов для снайперской стрельбы между боеприпассами калибра 7,62 мм и 12,7 мм, при этом более тяжелая пуля патрона фирмы Lapua обеспечивает меньшее отклонение траектории под действием ветра и лучшее сохранение кинетической энергии пули на больших дистанциях, а значит, и лучшее убойное действие. Известна информация о возможностях снайперских винтовок: сержант морской пехоты США 9.04.2004 года одной пулей с расстояния 1600 м уничтожил троих противников, которые прятались за каменной стеной; канадский капрал в 2002 году уничтожил боевика с расстояния 2430 м. Именно при таких высоких дальностях стрельбы из снайперских винтовок важную роль играет время срабатывания капсюлированной гильза (время от удара бойка винтовки по капсюлю-воспламенителю до воспламенения пороха), так как противник может успеть закончить движение, уже начатое после того как снайпер нажал на спусковой курок снайперской винтовки. Минимальное время срабатывания капслюлированной гильзы при выстреле можно обеспечить в том случае, когда отсутствуют воздушные зазоры в цепочке: воспламенительный состав ударного действия; металлический шарик и дно капсюльного гнезда. Т.е. обеспечивается одновременное прижатие металлического шарика к воспламенительному составу ударного действия и к дну капсюльного гнезда гильзы.
Для этих двух снайперских патронов 7,62×51 мм и 8,6×69 мм возможно выбрать одно унифицированное капсюльное гнездо с размерами, приведенными в таблице 1 [С.А. Кондратьев, М.А. Кислин, С.А. Перышкин и Н.А. Вихарева «Капсюлированная гильза с высокой надежностью и малым временем срабатывания для патронов для снайперских винтовок», журнал «Интерэкспо-ГЕО-Сибирь 2022» Том 8 №2, СТР. 3-11].
Глубина унифицированного капсюльного гнезда меняется от 3.30 мм (3300 мкм) до 3,43 мм (3430 мкм). Т.е. глубина капсюльного гнезда достигает величины 3,43 мм, что больше, чем для капсюля-воспламенителя «Large Rifle».
Это достаточно большая величина глубины капсюльного гнезда и необходимо, чтобы конструкция капсюлированной гильзы по предлагаемому изобретению не имела воздушных зазоров цепочке: воспламенительный состав ударного действия, покрытый герметизирующей мембраной; металлический шарик и дно капсюльного гнезда.
Задачей изобретения является:
- упрощение конструкции капсюлированной гильзы и повышение прочности гильзы за счет выполнения дна капсюльного гнезда плоским без кольцевого углубления по периферии капсюльного гнезда;
- создание новой конструкции капсюлированной гильзы с высокой надежностью срабатывания и с минимальным временем срабатывания, у которой величины размеров капсюльного гнезда (глубина капсюльного гнезда, диаметр центрального отверстия в дне капсюльного гнезда) и радиус металлического шарика, выполняющего роль наковаленки, неразрывно связаны с величинами размеров капсюля-воспламенителя по математической формуле, а именно: с высотой запрессовки воспламенительного состава ударного действия с донышком колпачка и герметизирующей мембраной капсюля-воспламенителя, а также глубиной требуемого утопания капсюля-воспламенителя в капсюльное гнездо для недопущения инерционного накола капсюля-воспламенителя бойком оружия. Как только изменяется величина хотя одного из перечисленных размеров капсюля-воспламенителя необходимо на основании выведенной математической формулы (и это, также, прописано технологии ее изготовления) изменяется, как минимум, величина одного из размеров капсюлированной гильзы.
Поставленная задача решена тем, что:
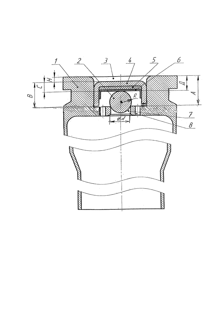
- разработана более простая и прочная конструкция капсюлированной гильзы для стрелкового оружия, у которой дно капсюльного гнезда выполнено плоским без кольцевого углубления и которая представлена на фиг.;
- глубина капсюльного гнезда А больше суммы: высота капсюля-воспламенителя В плюс глубина утопания Н капсюля-воспламенителя в капсюльном гнезде;
при конструировании капсюлированной гильзы используется выведенная математическая форма расчета величины диаметра центрального отверстия в дне капсюльного гнезда для создания единого комплекса (гильза плюс капсюль- воспламенитель) - капсюлированная гильза с оптимальными геометрическими размерами для высокой надежностью срабатывания и минимального времени срабатывания капсюлированной гильзы: 
где: d - диаметр центрального отверстия в дне капсюльного гнезда; R - радиус металлического шарика; А - глубина капсюльного гнезда; Н - глубина утопания капсюля- воспламенителя в капсюльном гнезде относительно торца шляпки гильзы для недопущения инерционного накола по ГОСТ В 23241; С - высота запрессовки воспламенительного состава ударного действия вместе с донышком колпачка и герметизирующей мембраной. Капсюлированная гильза по предлагаемому изобретению, представленная на фиг. состоит из: гильзы -1; металлического шарика - 2; капсюльного гнезда - 3; металлического колпачка - 4; воспламенительного состава ударного действия- 5; герметизирующей мембраны - 6; центрального отверстия в дне капсюльного гнезда-7 и запальных сквозных отверстий двух или трех в дне капсюльного гнезда - 8. Т.е. капсюлированная гильза состоит из восьми элементов, вместо девяти элементов как у капсюлированной гильзы, известной по прототипу.
Выполнение капсюлированной гильзы по предлагаемому изобретению упрощает конструкцию капсюлированной гильзы, уменьшает ее трудоемкость изготовления, а следовательно, уменьшает себестоимость, повышает надежность срабатывания капсюлированной гильзы и время ее срабатывания, повышает чувствительность и стабильность срабатывания капсюля-воспламенителя в составе гильзы. В противном случае происходит необоснованное удаление одной стороны металлического шарика от мембраны герметизирующей воспламенительный состав ударного действия или возможность недопустимого внедрения противоположной стороны металлического шарика в воспламенительный состав ударного действия, срабатыванию состава в процессе изготовления капсюлированной гильзы и выхода пресс-инструмента из строя, т.е. остановки процесса сборки капсюлированных гильз на ремонтно-профилактические работы. В предлагаемой конструкции капсюлированной гильзе может успешно применяться капсюли-воспламенители типа «Бердан», конструктивно капсюлированная гильза получается типа «Боксер», из которой легко можно удалять стрелянный капсюль-воспламенитель, вставлять новый и использовать гильзу повторно.
В настоящее время российской промышленностью выпускается стальная дробь для спортивных дробовых патронов с использованием технологии изготовления высокоточных шариков для шарикоподшипников (С.Г. Митичкин, Г.С. Митичкин «Боеприпасы нового поколения», г. Москва, 1997, типография«Академия МВД России», с. 50). Точность наружного диаметра шарика (дробинки), имеющего размер 2,5 мм, составляет ± 50 мкм. Такая точность диаметра металлического шарика вполне приемлема для создания дешевой, технологичной капсюлированной гильзы. Кроме того промышленность России выпускает металлические шарики из нержавеющей стали 95×18 ТУ 37.006.080-83, ТУ ВНИПП.080.-00 с различной степенью точности. Например, при степени точности 10 разброс величины наружного диаметра шарика, имеющего размер 2,5 мм, составляет всего ±9 мкм. Такие металлические шарики еще более предпочтительны для производства капсюлированных гильз с высокой надежностью срабатывания. Тем более, что они изготавливаются из нержавеющей стали, поэтому не требуют дополнительного антикоррозийного покрытия пред изготовлением капсюлированных гильз.
В мировом снайперском деле, считается, что полуавтоматические винтовки являются оружием поддержки для более точных дальнобойных винтовок с продольно-скользящим затвором, которые, обычно, даже при одинаковых патронах, показывают лучшие результаты по дальности и кучности стрельбы. Таковыми винтовками в современной истории РФ, например, стали две новые винтовки - ВСК «Точность-7,62» и ВСК «Точность-8,6», созданные на базе снайперской винтовки ORSIS Т-5000 группы «Промтехнология» в калибрах .308 Winchester (7,62×51 мм) и .338 Lapua Magnum (8,6×69 мм), соответственно, с эффективной дальностью стрельбы 1000-1500 метров. Для данных винтовок, не являющихся полуавтоматическими, не требуется утапливать капсюль-воспламенитель в капсюльное гнездо гильзы на величину Н для исключения инерционного накола, а необходимо установить его заподлицо торца шляпки гильзы. Исключается технологическая операции: запрессовки капсюля-воспламенителя вглубь капсюльного гнезда на величину Н, что упрощает технологию изготовления капсюлированной гильзы.
Предлагаемая конструкция капсюлированной гильзы позволяет изготавливать (штучно с подбором элементов для каждого патрона) прецизионные снайперские патроны для снайперских винтовок с высокой надежностью и малым временем срабатывания капсюлированной гильзы, например, следующим образом:
Перед снаряжением прецизионных снайперских патронов приготовляются все требуемые комплектующие для изготовления прецизионных капсюлированных гильз, например, для патронов, указанных в таблице 1: гильзы - полуфабрикатов, у которых нет центрального отверстия в дне капсюльного гнезда: нет углубления по периферии дна капсюльного гнезда, но есть по периферии дна капсюльного гнезда два или три запальных отверстия общей площадью 3,15+0,85 мм2, штатные капсюли-воспламенители типа «Бердан» и металлические шарики. Изготовление таких полуфабрикатов возможно, например, по технологии аналогичной технологии, которая применяется для производство гильз патронов на заводе «Partizan», г. Ужице, Сербия [Дегтярев М.Е. Патроны из Сербии. Репортаж с завода PPU / Калашников. Оружие, боеприпасы, снаряжение. - 2020. - №8].
У каждой гильзе с точностью до 1 мкм измеряется глубина «А» капсюльного гнезда (например, 3300 мкм, см. таблицу 1) и выписывается этикетка с номером по порядку с занесением этого размера.
У каждого капсюля-воспламенителя типа «Бердан» с точностью до 1 мкм измеряется высота «С» (например, 1300 мкм) запрессовки воспламенительного состава ударного действия вместе с донышком колпачка и герметизирующей мембраной. Глубину Н утопания капсюля-воспламенителя для недопущения инерционного накола принимаем по данным на снайперскую винтовку, например, 120 мкм. Выписывается этикетка с номером по порядку с занесением этого размера высоты «С» и глубины «Н».
У каждого металлического шарика с точностью до 1 мкм измеряется и выписывается этикетка с номером по порядку с занесением этого размера радиуса R (например, 1190 мкм) металлического шарика.
Из комплектующих гильза, капсюль-воспламенитель и металлических шарик формируются группы с номером по порядку: одна гильза, один капсюль-воспламенитель и один металлический шарик.
Для каждой отдельной группы, например, №1 на основе данных, записанных в этикетках по формуле
вычисляется величина необходимого диаметра центрального отверстия в дне капсюльного гнезда (которая получается, например, равной 1939 мкм). Это значение d записывается в этикетку №1 на гильзу. Затем в дне капсюльного гнезда данной гильзы выполняется центральное отверстие с этим рассчитанным диаметром d (например 1939 мкм) с точностью до 1 мкм.
Далее в центральное отверстие капсюльного гнезда гильзы №1 помещается металлический шарик №1 и в капсюльное гнездо на глубину 120 мкм с точностью до 1 мкм запрессовывается капсюль-воспламенитель №1 и на собранную прецизионную капсюлированную гильзы №1 выписывается этикетка №1, которую записываются значения конкретные для данной капсюлированной гильзы величины: A. R, Н и С. После этого новая конструкция прецизионной капсюлированной гильзы с высокой надежностью срабатывания и минимальным временем срабатывания готова к употреблению.
Данная капсюлированная гильза гарантировано не будет иметь в цепочке воздушных зазоров, а также недопустимого нарушения монолитности воспламенительного состава ударного действия от внедрения металлического шарика в состав.
Рассмотрим случай, когда центральное отверстие выполняется по грубой технологии с точностью - 40 мкм. Тогда одно отверстие может получиться 1940 мкм, а другое - 1980 мкм. В этом случае согласно расчетам по выведенной формуле в конструкции капсюлированной гильзы по предлагаемому изобретению при увеличенном диаметре центрального отверстия до 1980 мкм на основании аналогичных расчетов в цепочке размеров возникнет воздушный зазор в 30 мкм, который для определенного класса снайперских патронов являться критическим. Это подтверждает актуальность предлагаемого изобретения.
Рассмотрим ситуации для группы №2, у которой: капсюльное гнездо гильзы с точностью до 1 мкм имеет глубину «А» (например, 3430 мкм см. таблицу 1); капсюль-воспламенитель типа «Бердан» с точностью до 1 мкм имеет высоту «С» (например, 1200 мкм) запрессовки воспламенительного состава ударного действия вместе с донышком колпачка и герметизирующей мембраной и глубину Н утопания капсюля-воспламенителя для недопущения инерционного накола принимаем по данным на снайперскую винтовку 120 мкм; металлический шарик с точностью до 1 мкм имеет радиус R (например, 1300 мкм). Для данной группы №2, по выведенной математической формуле:
вычисляется величина необходимого диаметра центрального отверстия в дне капсюльного гнезда, которая получается равной 2034 мкм. Это значение d записывается в этикетку №2 на гильзу. И в дне капсюльного гнезда данной гильзы выполняется центральное отверстие с этим рассчитанным диаметром d (2034 мкм). Т.е. для комлектующих группы номер №2 также можно изготовить прецизионную капсюлированную гильзу, увеличив диаметр центрального отверстия в дне капсюльного гнезда с 1939 мкм до 2030 мкм (т.е. на 91 мкм). Далее в центральное отверстие капсюльного гнезда гильзы №2 помещается металлический шарик №2 и в капсюльное гнездо на глубину 120 мкм с точностью до 1 мкм запрессовывается капсюль-воспламенитель №2 и на собранную прецизионную капсюлированную гильзы выписывается этикетка №2, которую записываются значения конкретные для данной капсюлированной гильзы величины: A. R, Н и С. Данная капсюлированная гильза №2 также гарантировано не будет иметь в цепочке воздушных зазоров, а также недопустимого нарушения монолитности ударного воспламенительного состава от внедрения металлического шарика в состав. Такое изменение диаметра центрального отверстия не повлияет прочность конструкции капсюлированной гильзы и не усложняет технологию ее изготовления.
Предлагаемая конструкция капсюлированной гильзы также очень удобна для домашнего переснаряжения (релодинга) патронов для стрелкового оружия, через имеющееся центральное отверстие 7 в дне капсюльного гнезда гильзы штоком выбивается или выпрессовывается стрелянный (использованный) капсюль-воспламенитель из гильзы патрона стрелкового оружия вместе с металлическим шариком. Затем гильза снова может быть закапсюлирована в следующей последовательности: на центральное отверстие в дне капсюльного гнезда устанавливается либо новый металлический шарик (либо использованный, если он не приобрел видимых деформаций). Затем в капсюльное гнездо запрессовывается металлический колпачок с запрессованным в него воспламенительным составом ударного действия, покрытым герметизирующей мембраной.
При ручном изготовлении предлагаемой конструкции капсюлированной гильзы:
1. Измеряется глубина «А» капсюльного гнезда 3 на краю центрального отверстия.
2. Измеряется радиус металлического шарика «R» 2.
3. Измеряется ВЗС капсюля-воспламенителя, т.е. величину «С».
4. Определяемся с величиной «Н» утопания капсюля-воспламенителя в гнезде, которая требуется только для оружия автоматического. В большинстве случаев принимается «Н» равное 0.
5. Рассчитывается величину «d» (диаметр отверстия 7) по формуле
с точностью до третьего знака.
6. Протачивается центральное отверстие 7 в дне гильзы с этим рассчитанным диаметром с точностью до 1 мкм.
7. Затем вставляется шарик в отверстие гильзы 7 и запрессовывается капсюль-воспламенитель в капсюльное гнездо гильзы с выбранной величиной «Н» (утопания).
При капсюлировании гильз в автоматическом режиме на специальных линиях необходимо будет разместить на них дополнительное оборудование - питатель металлических шариков, который будет подавать металлические шарики на центральное отверстие в дне капсюльного гнезда гильзы. Данное центральное отверстие будет надежно фиксировать положение металлического шарика при дальнейшей автоматической операции запрессовки металлических колпачков с запрессованным в них воспламенительным составом ударного действия, покрытого герметизирующей мембраной.
Важно, что допускается в достаточно широком диапазоне менять диаметр шарика за счет изменения диаметра центрального отверстия в гильзе и наоборот. Если получена большая партия шариков с конкретным точным диаметром, то под эту партию можно изготовить большую партию гильз в конкретным диаметром центрального отверстия в капсюльном гнезде.
Покажем работу выведенной аналитической формулы на примерах расчета геометрии капсюлированной гильзы для снайперских винтовок с уницифицированным капсюльным гнездом для двух снайперских патронов, заданных Заказчиком из Минобороны: диаметр капсюльного гнезда гнезда 5,32 мм, глубина капсюльного гнезда (величина А) от 3,3 до 3,43 мм.
Возьмем капсюль-воспламенитель с высотой запрессованного слоя (далее по тексту ВЗС, на фиг. это величина С) равным 1,45 мм и шарик диаметром (радиусом R 1,5 мм) 3,0 мм.
Примем, что величина Н равна 0.
Тогда:
1. Для А=3,3 мм получим 
2. Для А=3,43 мм получим 
Разница в диаметре d составляет 0,08 мм. Таким образом для двух разных глубин (величина А) капсюльного гнезда 3,3 мм и 3,43 мм и одном диаметре шарика 3,0 мм можно обеспечить выполнения предлагаемой конструкции гильзы за счет изменения диаметра центрального отверстия в капсюльном гнезде d со значения 2,92 мм на 2,84 мм.
Возьмем капсюль-воспламенитель с ВЗС (величина С) равным 1,45 мм и шарик диаметром (радиусом R 1,25 мм) 2,5 мм. Примем, что величина Н равна 0.
Тогда:
1. Для 
2. Для 
Разница в диаметре отверстия 0,16 мм. Таким образом для двух разных глубин (величина А) капсюльного гнезда 3,3 мм и 3,43 мм и одном диаметре шарика 2,5 мм можно обеспечить выполнения предлагаемой конструкции капсюлированной гильзы за счет изменения диаметра центрального отверстия в капсюльном гнезде d со значения 2,19 мм на 2,03 мм.
Возьмем капсюль-воспламенитель с ВЗС (величина С) равным 1,33 мм и шарик диаметром(радиусом R 1,25 мм) 2,5 мм. Примем, что величина Н равна 0.
Тогда:
1. Для А=3,3 мм получим 
2. Для А=3,43 мм получим 
Разница в диаметре отверстия 0,16 мм. Таким образом для двух разных глубин (величина А) капсюльного гнезда 3,3 мм и 3,43 мм и одном диаметре шарика 2,5 мм можно обеспечить выполнения предлагаемой конструкции капсюлированной гильзы за счет изменения диаметра центрального отверстия в капсюльном гнезде d со значения 2,04 мм на 1,83 мм.
Возьмем капсюль-воспламенитель с ВЗС (величина С) равным 1,33 мм и шарик диаметром (радиусом R 1,4 мм) 2,8 мм. Примем, что величина Н равна 0.
Тогда:
1. Для А=3,3 мм получим 
2. Для А=3,43 мм получим 
Разница в диаметре отверстия 0,82 мм. Таким образом для двух разных глубин (величина А) капсюльного гнезда 3,3 мм и 3,43 мм и одном диаметре шарика 2,8 мм можно обеспечить выполнения предлагаемой конструкции капсюлированной гильзы за счет изменения диаметра центрального отверстия в капсюльном гнезде d со значения 2,42 мм на 1,60 мм.
Возьмем капсюль-воспламенитель с ВЗС (величина С) равным 1,33 мм и шарик диаметром(радиусом R 1,3 мм) 2,6 мм. Примем, что величина Н равна 0.
Тогда:
1. Для величины А=3,3 мм получим 
2. Для величины А=3,43 мм получим 
Разница в диаметре отверстия 0,17 мм. Таким образом для двух разных глубин (величина А) капсюльного гнезда 3,3 мм и 3,43 мм и одном значении диаметра шарика 2,6 мм можно обеспечить выполнения предлагаемой конструкции капсюлированной гильзы за счет изменения диаметра центрального отверстия в капсюльном гнезде d со значения 2,22 мм на 2,05 мм.
В таблицах 2-4 приведены расчеты по выведенной аналитической формуле значений изменений диаметра центрального отверстия в капсюльном гнезде для различных типов капсюлей-воспламенителей типа «Бердан» (КВ-16Н, КВ-24Н, КВ-27Н, КВ-16Нф, ЦБО-Н, КВ-26Нф, и КВ-26Н) с различными значениями величины С, различных глубин капсюльного гнезда (величина А) и различных радиусов(величина R) шарика. Для каждого типа капсюля-воспламенителя в таблицы внесены данные расчетов изменения величины d «Дельта», возникающего из-за технологического разброса величина С. Информация о капсюлях-воспламенителях: КВ-16Н, КВ-24Н, КВ-27Н, КВ-16Нф, ЦБО-Н, КВ-26Нф, и КВ-26Н КАО «НМЗ «Искра» выложена в интернете для широкого доступа.
Анализ данных, приведенных в таблицах 3 и 4, например, показывает, что при одной и той же глубине капсюльного гнезда (величина А равна 3,2 мм) применение шарика диаметром 2,50 мм дает возможность применять гильзы с более узким диапазоном изменений диаметра отверстия в капсюльном гнезде. Например, для КВ-16Н диапазон сужается на 40% (со значения 0,14 до 0,10 мм), а это повышает технологичность производства таких гильз.
Таким образом доказана простота и актуальность реализации конструкции капсюлированной гильзы по предлагаемому изобретению.
Анализ конструкций гильз охотничьих металлических различных с тремя сквозными запальными отверстиями в дне гильзы, изготавливаемых по ГОСТ 7921-86 показал, что площадь этих отверстий находится на одном уровне 3 мм2. Многочисленные стрельбы патронами различных калибров с данными капсюлированными гильзами подтвердили, что величина площади этих сквозных запальных отверстий, равная, примерно, 3 мм2, достаточна для надежной работоспособности капсюлированной гильзы с тремя отверстиями.
Анализ конструкций гильзы черт. ИЖВМ. 773872.038 с двумя сквозными запальными отверстиями распространенного патрона калибра 7,62×54R показал, что площадь этих отверстий находится на уровне 2 мм2. Многочисленные стрельбы патронами калибра 7,62×54R с данными капсюлированными гильзами подтвердили, что величина площади этих сквозных запальных отверстий, равная 2 мм2, достаточна для надежной работоспособности капсюлированной гильзы с двумя отверстиями. При переходе на патроны большого калибра конструкция капсюлированной гильзы может иметь три сквозных запальных отверстия.
В настоящее время разработаны эскизы на предлагаемые варианты капсюлированной гильзы к стрелковому оружию и проводится анализ возможности начала производства таких капсюлированных гильз, которые должны повысить технологичность и качество прецизионных патронов к стрелковому оружию.
| название | год | авторы | номер документа |
|---|---|---|---|
| Капсюлированная гильза для стрелкового оружия | 2016 |
|
RU2613395C1 |
| Капсюлированная гильза для стрелкового оружия | 2016 |
|
RU2616025C1 |
| КАПСЮЛИРОВАННАЯ ГИЛЬЗА ДЛЯ ПАТРОНОВ СТРЕЛКОВОГО ОРУЖИЯ | 2015 |
|
RU2585092C1 |
| ПАТРОН ДЛЯ СТРЕЛКОВОГО ОРУЖИЯ | 2015 |
|
RU2596230C1 |
| КАПСЮЛИРОВАННАЯ ГИЛЬЗА ДЛЯ ПАТРОНОВ СТРЕЛКОВОГО ОРУЖИЯ | 2013 |
|
RU2525595C1 |
| КАПСЮЛИРОВАННАЯ ГИЛЬЗА К НАРЕЗНОМУ И ГЛАДКОСТВОЛЬНОМУ ПАТРОНАМ ДЛЯ КОМБИНИРОВАННЫХ РУЖЕЙ СО СМЕННЫМИ ПАРАМИ СТВОЛОВ | 2015 |
|
RU2598257C1 |
| ПАТРОН ДЛЯ НАРЕЗНОГО ОРУЖИЯ | 2014 |
|
RU2577163C1 |
| СПОСОБ ИЗГОТОВЛЕНИЯ КАПСЮЛЕЙ-ВОСПЛАМЕНИТЕЛЕЙ ТИПА "BOXER" | 2015 |
|
RU2580544C1 |
| СПОСОБ ИЗГОТОВЛЕНИЯ КАПСЮЛЕЙ-ВОСПЛАМЕНИТЕЛЕЙ ТИПА "ВОХЕR" | 2002 |
|
RU2222775C1 |
| КАПСЮЛЬ-ВОСПЛАМЕНИТЕЛЬ ДЛЯ ПАТРОНОВ СТРЕЛКОВОГО ОРУЖИЯ | 2005 |
|
RU2273820C1 |
Изобретение относится к боеприпасам, в частности к производству капсюлированных гильз к стрелковому гладкоствольному и нарезному оружию, и может быть применено для производства патронов к указанному оружию. Капсюлированная гильза для стрелкового оружия состоит из гильзы с капсюльным гнездом глубиной «А», имеющим центральное отверстие в дне диаметром «d» и два или три симметрично расположенных по периферии дна капсюльного гнезда сквозных запальных отверстия, и запрессованного в нее на глубину «Н» капсюля-воспламенителя, состоящего из металлического колпачка высотой «В» с запрессованным в него воспламенительным составом ударного действия, покрытого герметизирующей мембраной и имеющего высоту запрессовки состава вместе с донышком колпачка и герметизирующей мембраной «С», и металлического шарика радиусом R, который частично помещается внутри центрального отверстия в дне капсюльного гнезда гильзы, и имеет величину «А», большую суммы величины «В» и величины «Н». Дно капсюльного гнезда выполнено плоским. Для обеспечения одновременного примыкания металлического шарика к герметизирующей мембране и к дну капсюльного гнезда величина диаметра центрального отверстия в дне капсюльного гнезда гильзы «d» рассчитывается по определенной математической зависимости. Технический результат заключается в упрощении конструкции капсюлированной гильзы, повышении прочности гильзы за счет выполнения дна капсюльного гнезда плоским без кольцевого углубления по периферии капсюльного гнезда и в создании конструкции капсюлированной гильзы с высокой надежностью срабатывания и с минимальным временем срабатывания. 1 з.п. ф-лы, 1 ил., 4 табл.
1. Капсюлированная гильза для стрелкового оружия, состоящая из гильзы с капсюльным гнездом глубиной «А», имеющим центральное отверстие в дне диаметром «d» и два или три симметрично расположенных по периферии дна капсюльного гнезда сквозных запальных отверстия, и запрессованного в нее на глубину «Н» капсюля-воспламенителя, состоящего из металлического колпачка высотой «В» с запрессованным в него воспламенительным составом ударного действия, покрытого герметизирующей мембраной и имеющего высоту запрессовки состава вместе с донышком колпачка и герметизирующей мембраной «С», и металлического шарика радиусом R, который частично помещается внутри центрального отверстия в дне капсюльного гнезда гильзы, и имеющая величину «А», большую суммы величины «В» и величины «Н», отличающаяся тем, что дно капсюльного гнезда выполнено плоским, при этом для обеспечения одновременного примыкания металлического шарика к герметизирующей мембране и к дну капсюльного гнезда величина диаметра центрального отверстия в дне капсюльного гнезда гильзы «d» рассчитывается по выведенной математической формуле:
2. Капсюлированная гильза по п. 1, отличающаяся тем, что металлический шарик изготовлен по технологии изготовления стальной дроби для охотничьих патронов.
| Капсюлированная гильза для стрелкового оружия | 2016 |
|
RU2613395C1 |
| КАПСЮЛИРОВАННАЯ ГИЛЬЗА ДЛЯ ПАТРОНОВ СТРЕЛКОВОГО ОРУЖИЯ | 2013 |
|
RU2525595C1 |
| Электрическая печь для органических анализов | 1925 |
|
SU3032A1 |
| КАПСЮЛИРОВАННАЯ ГИЛЬЗА К НАРЕЗНОМУ И ГЛАДКОСТВОЛЬНОМУ ПАТРОНАМ ДЛЯ КОМБИНИРОВАННЫХ РУЖЕЙ СО СМЕННЫМИ ПАРАМИ СТВОЛОВ | 2015 |
|
RU2598257C1 |
| Капсюлированная гильза для стрелкового оружия | 2016 |
|
RU2616025C1 |
| US 6862993 B1, 08.03.2005. | |||
Авторы
Даты
2025-02-11—Публикация
2024-04-09—Подача