Изобретение относится к области оптико-механического приборостроения и может быть использовано для точной регулировки оптических элементов, например дифракционной решетки в компрессоре лазерной системы или призмы в спектрографе.
Известно устройство для юстировки оптических элементов [патент РФ № 2394259].
Устройство содержит корпус, основание для закрепления оптического элемента, регулировочные винты для углового перемещения оптического элемента, установленные в корпусе, основание, выполненное в виде винтовой пары, состоящей из обоймы и оправы, в последней размещен оптический элемент, винтовую пару, кинематически установленную в корпусе через соосное ей промежуточное кольцо на радиальных опорах, выполненных в виде двух взаимно перпендикулярных пар, при этом одна пара упомянутых опор размещена одновременно в кольце и в обойме, а вторая пара - в корпусе и упирается во внешнюю поверхность кольца, при этом регулировочные винты установлены в корпусе в зонах, диаметрально противоположных имеющимся подпружиненным опорам, которые также расположены в корпусе и торцом упираются на поверхность кольца, а оптический элемент имеет возможность перемещения относительно основания, снабженного компенсатором положения, при помощи которого оптический элемент имеет возможность фиксации в отрегулированном положении.
К недостаткам данного устройства можно отнести многокомпонентность устройства и недостаточную жесткость конструкции, которая не позволяет использовать его для юстировки массивных элементов.
В качестве прототипа выбрано юстировочное устройство [патент СССР № 1433234]. Юстировочное устройство содержит неподвижный корпус, подвижную оправу оптического элемента, и две пары плоских пружин, при этом одна пара жестко связана с оправой оптического элемента, а также регулировочные винты. С целью повышения точности в широком значении регулирования, другая пара пружин также жёстко связана с оправой оптического элемента, и все они выполнены двухлепестковыми с различной толщиной поперечного сечения, при этом свободные концы внутренних лепестков жестко закреплены на корпусе, а регулировочные винты размещены на концах наружных лепестков, расположенных радиально.
К недостаткам прототипа можно отнести низкую жёсткость конструкции, по оси регулировки угла оправы, так как имеется подпружиненное крепление к корпусу, которое обладает низкой жесткостью. Кроме того, устройство не обеспечивает стабильность оси по углу в плоскости перестройки, так как при сложной упругой деформации лепестков в процессе регулировки, присутствует угловое смещение оси в плоскости перестройки.
Техническим результатом изобретения является юстировочное устройство, которое обеспечивает прецизионную юстировку оптических элементов по азимутальному углу, повышение жесткости конструкции и стабильности в плоскости подстройки.
Указанный технический результат достигается за счет того, что в юстировочном устройстве, содержащем неподвижное основание, подвижную платформу для оправы оптического элемента, регулировочный винт, подвижная платформа закреплена на основании с помощью трёх упругих опор, которые установлены по нормали к неподвижному основанию, жестко скрепляя их между собой по оси вращения, при этом устройство имеет одну плоскую пружину, которая одним концом закреплена на платформе, а другим опирается на регулировочный винт, закреплённый на неподвижном основании.
Данное конструктивное решение позволят стабилизировать ось вращения платформы по азимуту и обеспечить жёсткость конструкции по оси вращения (по нормали к плоскости вращения подвижной платформы).
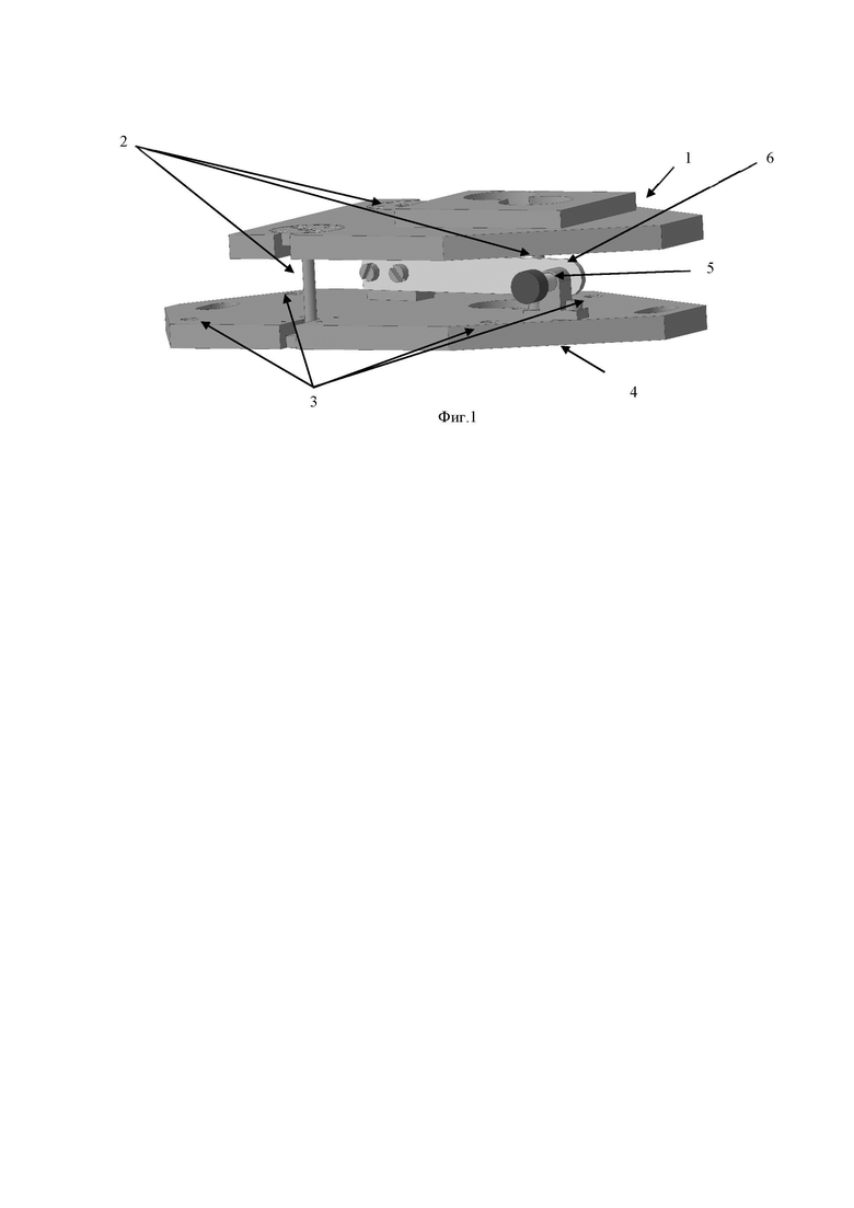
Изобретение поясняется с помощью фиг. 1, где оправа не приведена, поскольку юстировочное устройство может быть использовано для оптических элементов различных форм и размеров. Крепление оправы к юстировочному устройству может быть любым, если это не сказывается на работе устройства.
На фиг. 1. представлено юстировочное устройство для оптических элементов, где
1 - подвижная платформа, на которой закрепляется оправа для оптического элемента, 2 - упругие опоры в виде металлических стержней, 3 - отверстия с резьбой в основании под регулировочные винты для предварительной подстройки в вертикальной и горизонтальной плоскостях, 4 - неподвижное основание, 5 - регулировочный винт, 6 - плоская пружина.
Юстировочное устройство для оптических элементов работает следующим образом:
При прямолинейном движении регулировочного винта в плоской пружине возникает сила упругой деформации
где S1 - расстояние, на которое переместился регулировочный винт, knn - коэффициент упругости плоской пружины.
Во втором конце пружины, который закреплен на подвижной платформе, возникает сила равная по значению, но противоположная по направлению силе упругости конца плоской пружины, опирающегося на винт продольного перемещения. Под действием этой силы подвижная платформа совершает поворот вокруг своей оси симметрии, в результате чего в упругих опорах происходит сложная деформация и возникает сила упругости, стремящаяся вернуть платформу в исходное положение
где S2 - длина дуги, которую проходит платформа при повороте, kyo - коэффициент упругости опор.
Как и в предыдущем случае, знак минус показывает возвращающее действие силы.
Исходя из третьего закона Ньютона, модули сил упругости плоской пружины и упругих опор равны и получим следующее:
Величина K по сути является коэффициентом редукции, значение которого влияет на величину угла поворота юстировочного устройства. В зависимости от коэффициентов упругости плоской пружины и упругих опор коэффициент редукции может достигать сколь угодно малых значений в диапазоне 0˂К˂1. Благодаря чему точность наведения излучения оптическим элементом по азимутальному углу также увеличивается. При этом, ось вращения подвижной платформы остаётся стабильной по углу, так как упругие опоры испытывают одинаковую упругую деформацию.
Значение угла в радианах, на который повернулась платформа с оправой, найдем из (3), принимая во внимание, что длина дуги связана с плоским углом как S2=RΘ, и тогда
где R - радиус подвижной платформы.
Для автоматизации процесса перестройки по азимутальному углу в устройстве может быть использован актуатор для линейного перемещения свободного конца плоской пружины.
| название | год | авторы | номер документа |
|---|---|---|---|
| Устройство для юстировки оптических элементов | 1983 |
|
SU1092457A1 |
| ЮСТИРОВОЧНЫЙ МЕХАНИЗМ ЭЛЕМЕНТОВ ОПТИЧЕСКИХ СХЕМ | 2017 |
|
RU2663274C1 |
| Юстировочный прибор | 1979 |
|
SU792200A1 |
| УСТРОЙСТВО ДЛЯ ЮСТИРОВКИ ОПТИЧЕСКИХ ЭЛЕМЕНТОВ | 2005 |
|
RU2336545C2 |
| Устройство для юстировки оптических элементов | 1984 |
|
SU1167564A1 |
| УСТРОЙСТВО ДЛЯ ЮСТИРОВКИ ОПТИЧЕСКИХ ЭЛЕМЕНТОВ | 2008 |
|
RU2394259C1 |
| Юстировочный стол | 1989 |
|
SU1721574A1 |
| Устройство для юстировки оптического элемента | 1990 |
|
SU1781660A1 |
| Юстировочное устройство | 1990 |
|
SU1705790A1 |
| ОТРАЖАТЕЛЬНЫЙ УГЛОМЕРНЫЙ ИНСТРУМЕНТ | 2001 |
|
RU2190188C1 |
Изобретение относится к области оптико-механического приборостроения и может быть использовано для точной регулировки оптических элементов, например дифракционной решетки в компрессоре лазерной системы или призмы в спектрографе. Технический результат направлен на обеспечение прецизионной юстировки оптических элементов по азимутальному углу и повышение жесткости конструкции и стабильности в плоскости подстройки. Юстировочное устройство содержит неподвижное основание, подвижную платформу для оправы оптического элемента, регулировочный винт, подвижная платформа закреплена на основании с помощью трёх упругих опор, которые установлены по нормали к неподвижному основанию, жестко скрепляя их между собой по оси вращения, при этом устройство имеет одну плоскую пружину, которая одним концом закреплена на платформе, а другим опирается на регулировочный винт, закреплённый на неподвижном основании. 1 ил.
Юстировочное устройство, содержащее неподвижное основание, подвижную платформу для оправы оптического элемента, регулировочный винт, отличающееся тем, что подвижная платформа закреплена на основании с помощью трёх упругих опор, которые установлены по нормали к неподвижному основанию, жестко скрепляя их между собой по оси вращения, при этом устройство имеет одну плоскую пружину, которая одним концом закреплена на платформе, а другим опирается на регулировочный винт, закреплённый на неподвижном основании.
| УСТРОЙСТВО ЮСТИРОВКИ СФЕРИЧЕСКОЙ ОПРАВЫ ОПТИЧЕСКОГО ЭЛЕМЕНТА | 2015 |
|
RU2599598C1 |
| СПОСОБ ФЛОТАЦИИ ФЛЮОРИТОВЫХ РУД | 0 |
|
SU196003A1 |
| US 10133021 B2, 20.11.2018 | |||
| ЮСТИРОВКА РАССТОЯНИЯ ОТ РЕШЕТКИ ИСТОЧНИКА ДО ФАЗОВОЙ РЕШЕТКИ ДЛЯ ФАЗОВОЙ НАСТРОЙКИ В НЕСКОЛЬКО ПОРЯДКОВ ПРИ ДИФФЕРЕНЦИАЛЬНОЙ ФАЗОВО-КОНТРАСТНОЙ ВИЗУАЛИЗАЦИИ | 2013 |
|
RU2631183C2 |
| ОПТИЧЕСКАЯ ЮСТИРОВКА ОПТИЧЕСКОЙ ПОДСИСТЕМЫ ПО ОТНОШЕНИЮ К ОПТОЭЛЕКТРОННОМУ ПРИБОРУ | 2017 |
|
RU2745381C2 |
Авторы
Даты
2025-02-14—Публикация
2024-09-13—Подача