Область техники, к которой относится изобретение
Изобретение относится к области накопления электроэнергии и предназначено для накопления электроэнергии в период спада нагрузки в энергосистеме и отдачи её в энергосистему в период увеличения нагрузки.
Уровень техники
Известна промышленная система накопления энергии (патент RU №2699855, публ. 11.09.2019, МПК F03G 3/00, F03G 7/08), имеющая верхнюю силовую раму, расположенную наверху несущей конструкции, и состоящая из по меньшей мере одной энергетической ячейки, при этом энергетическая ячейка содержит множество грузов; каретку, предназначенную для вертикального перемещения по меньшей мере одного груза из множества грузов и для фиксации груза либо в верхнем положении, либо в нижнем положении; тележку, предназначенную для горизонтального перемещения каретки вдоль верхней силовой рамы; канат с двумя натяжителями, канат функционально связан с кареткой и тележкой; а также главный привод, соединенный с канатом и предназначенный для перемещения каретки, при этом система заряжается при перемещении по крайней мере одного груза из множества грузов из нижнего положения в верхнее положение, и при этом система разряжается при перемещении по крайней мере одного груза из множества грузов из верхнего положения в нижнее положение.
Система выполнена с возможностью вертикального перемещения грузов и закрепления грузов в энергетической ячейке либо в верхнем положении, либо в нижнем положении. Система заряжается при перемещении по крайней мере одного груза из множества грузов из нижнего положения в верхнее положение. Система разряжается при перемещении по крайней мере одного груза из множества грузов из верхнего положения в нижнее положение.
Недостатками данного технического решения являются высокая сложность механической системы перемещения грузов, которая предполагает значительные капитальные и эксплуатационные затраты, низкая эффективность использования веса основного электрооборудования (мотор-генераторная система представляет собой статическую систему), а также малые функциональные возможности перемещаемых грузов.
Наиболее близким по технической сущности к предлагаемому изобретению является система высокоэффективного накопления гравитационной энергии (патент CN №206555081 U, публ. 13.10.2017, МПК F03G 3/00), предназначенная для накопления энергии при вертикальном перемещении одного очень массивного (несколько тысяч тонн) груза и содержащая высокоэффективный гравитационный накопитель энергии, включающий опорную поверхность в виде опорного устройства, неподвижный блок шкивов, подвижный блок шкивов, груз, стальной канат, ролик, редуктор, двигатель и частотный преобразователь. Опорное устройство состоит из опорной рамы и траверсы, неподвижный блок шкивов расположен на траверсе опорного устройства, подвижный блок шкивов расположен над тяжелыми предметами и соединен с электрической машиной, когда тяжелый груз движется вверх электрическая машина работает в режиме двигателя, когда груз движется вниз в режиме генератора. При этом стальной канат для подвижного блока шкивов имеет 20-кратную намотку. Двигатель и частотный преобразователь сконфигурированы для использования электрической энергии для подъема груза на верхний уровень и преобразования потенциальной энергии в электрическую энергию для подачи в электросеть, когда груз опускается. Двигатель интегрирован с генератором и мотором. Для управления электрической машиной используется трехуровневый четырехквадрантный преобразователь частоты. Подвижный и неподвижный блоки шкивов составляют высокопрочную подъемную конструкцию.
Недостатками настоящего технического решения являются низкий коэффициент использования запасаемой энергии груза, низкие мощность, КПД и эффективность работы системы накопления электроэнергии, а также значительные капитальные, эксплуатационные затраты и значительный вес конструкции, который предъявляет чрезвычайно высокие требования к прочностным характеристикам системы подъема, а так же к системам обеспечения безопасности. Кроме того, в случае выхода из строя одного из элементов системы подъёма или возникновении необходимости планового технического обслуживания, систему необходимо полностью выводить из эксплуатации.
Раскрытие сущности изобретения
Технической задачей предлагаемого изобретения является существенное повышение коэффициента использования запасаемой энергии груза за счет комбинированного использования трех видов накопителей энергии в перемещаемой вертикальной или наклонной плоскости платформе (грузе).
Технический результат заключается в повышении мощности КПД и эффективности работы системы накопления электроэнергии при минимизации затрат и площади землеотвода, а также снижение веса конструкции.
Это достигается тем, что известная электрическая гравитационная аккумулирующая станция (АГЭС), содержащая груз, расположенный на опорной поверхности, электрическую машину, снабжена зубчатыми рельсовыми путями, выполненными с возможностью закрепления на опорной поверхности, к центральному участку которых подсоединен токоподвод, выполненный в виде гибкого шлангового кабеля с возможностью подключения к энергосистеме, при этом электрическая машина выполнена в виде трёхфазной синхронной электрической машины (СЭМ), груз выполнен в виде двухэтажной платформы, установленной на зубчатых рельсовых путях посредством зубчатых колес-шестерней в виде направляющих и ведущих колес, и содержащей расположенные на ее первом этаже два горизонтальных трёхступенчатых редуктора, СЭМ, аккумуляторную батарею, выпрямитель, трансформатор собственных нужд (ТСН), шкаф управления (ШУ) с блоком компьютерной автоматики (БКА), тиристорное возбудительное устройство (ТВУ), инвертор, а также солнечные панели, расположенные на втором этаже платформы станции, при этом ведущие колеса платформы соединены с двумя цилиндрическими горизонтальными трёхступенчатыми редукторами, соединёнными, в свою очередь, с двумя рабочими концами вала СЭМ, роторная обмотка трехфазной синхронной электрической машины соединена с аккумуляторной батареей, первый вход аккумуляторной батареи соединен с солнечными панелями, второй вход аккумуляторной батареи подключен к выходу выпрямителя, вход которого подсоединен к первому выходу трансформатора собственных нужд, вход трансформатора собственных нужд подсоединен к первому выходу шкафа управления, а второй выход трансформатора собственных нужд подключен ко входу тиристорного возбудительного устройства, выход которого подключен к первому входу СЭМ, первый выход аккумуляторной батареи соединен с входом инвертора, второй выход аккумуляторной батареи подключен ко второму входу СЭМ, третий вход которой соединен с первым выходом инвертора, первый вход шкафа управления подсоединен к энергосистеме, второй вход ШУ подключен ко второму выходу инвертора, второй выход ШУ соединен с четвертым входом СЭМ, третий выход ШУ выполнен с возможностью подключения к автономному потребителю.
При этом опорная поверхность может быть выполнена наклонной, причем количество рельсовых путей выбрано 2, зубчатые колеса-шестерни выполнены в виде одной пары направляющих колес и одной пары ведущих колес, закрепленных на первом этаже платформы, второй этаж платформы выполнен в плоскости, параллельной плоскости первого этажа платформы
Опорная поверхность может быть выполнена вертикальной, причем количество рельсовых путей выбрано 4, зубчатые колеса-шестерни выполнены в виде двух пар направляющих колес и двух пар ведущих колес. Рельсовые пути расположены взаимно параллельно, посредством железобетонных стоек прикреплены к опорной поверхности и друг к другу, пары направляющих колес закреплены на передней оси платформы, пары ведущих колес закреплены на валах горизонтальных трехступенчатых редукторов, расположенных в задней части платформы, второй этаж платформы выполнен в плоскости, находящейся под углом к плоскости первого этажа платформы.
Краткое описание чертежей
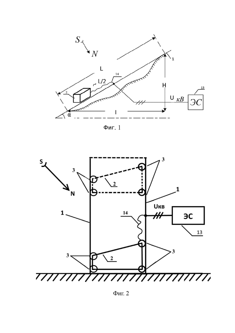
Сущность изобретения, поясняется чертежами, где на фиг. 1 изображена предлагаемая электрическая гравитационная аккумулирующая станция при наклонном перемещении платформы станции, где буквой L - обозначена длина рельсового пути, буквой L/2 - длина гибкого шлангового кабеля (токоподвод), буквой H - перепад высот между нижней и верхней точками нахождения платформы, буквой I - длина «основания» рельсового пути, буквой α - угол наклона рельсового пути, согласно рельефа местности (оптимальный 45 градусов), на фиг. 2 представлена предлагаемая электрическая гравитационная аккумулирующая станция при вертикальном перемещении платформы станции, на фиг. 3 изображена функциональная схема элементов первого этажа платформы станции, на фиг. 4 показан второй этаж платформы станции с расположенными на нем солнечными панелями.
Осуществление изобретения
Электрическая гравитационная аккумулирующая станция содержит зубчатые рельсовые пути 1, выполненные с возможностью закрепления на опорной поверхности, на которых установлена двухэтажная платформа 2 посредством зубчатых колес-шестерней 3 в виде направляющих и ведущих колес. При этом ведущие колеса соединены с двумя цилиндрическими горизонтальными трёхступенчатыми редукторами 4, соединёнными, в свою очередь, с двумя рабочими концами вала трёхфазной синхронной электрической машины (СЭМ) 5. Горизонтальные трёхступенчатые редукторы 4 и трехфазная СЭМ 5 расположены на первом этаже платформы 2 (фиг. 3).
Роторная обмотка трехфазной синхронной электрической машины 5 соединена с аккумуляторной батареей 6, выполненной в виде n аккумуляторов (например, свинцово-кислотных), где n выбрано из соотношения:
где Sao - площадь аккумуляторного отсека платформы 2,
Sa - площадь поверхности аккумулятора. Все аккумуляторы соединены между собой по последовательно-параллельной схеме в зависимости от требуемого тока и напряжения.
Первый вход аккумуляторной батареи 6 соединен с солнечными панелями 7, расположенными на втором этаже платформы станции. Второй вход аккумуляторной батареи 6 подключен к выходу выпрямителя 8, вход которого подсоединен к первому выходу трансформатора собственных нужд (ТСН) 9.
Вход трансформатора собственных нужд (ТСН) 9 подсоединен к первому выходу шкафа управления (ШУ) 10, а второй выход трансформатора собственных нужд (ТСН) 9 подключен ко входу тиристорного возбудительного устройства (ТВУ) 11, выход которого подключен к первому входу СЭМ 5.
Первый выход аккумуляторной батареи 6 соединен с входом инвертора 12, второй выход аккумуляторной батареи 6 подключен ко второму входу СЭМ 5, третий вход которой соединен с первым выходом инвертора 12.
Первый вход шкафа управления (ШУ) 10 подсоединен к энергосистеме 13, второй вход ШУ 10 подключен ко второму выходу инвертора 12.
Второй выход ШУ 10 соединен с четвертым входом СЭМ 5, третий выход ШУ 10 выполнен с возможностью подключения к автономному потребителю.
Однонаправленные стрелки указывают на факт одностороннего потока энергии. Двунаправленные стрелки указывают на возможность изменения направления энергии в зависимости от режима работы станции. Например, в режиме накопления энергии поток энергии направлен от энергосистемы 13 в ШУ 10 и от ШУ 10 к СЭМ 5, а в режиме отдачи энергии аналогично в обратном направлении.
Количество солнечных панелей 7 выбрано из соотношения:
,
где Sac - площадь поверхности второго этажа платформы станции
а Sn - площадь поверхности солнечной панели. Все солнечные панели соединены между собой по последовательно-параллельной схеме в зависимости от требуемого тока и напряжения.
Выпрямитель 8 и инвертор 12 объединены в выпрямительно-инверторный блок (ВИБ).
К центральному участку рельсовых путей 1 подсоединен токоподвод 14, подключенный к энергосистеме 13, и выполненный в виде гибкого шлангового кабеля.
Опорная поверхность электрической гравитационной аккумулирующей станции может быть наклонной, оптимальный угол в пределах 45-ти градусов (например, наклонный рельеф местности - фиг. 1) и вертикальной (например, вертикальная конструкция, а именно - фиг. 2).
Количество рельсовых путей 1, закрепленных на наклонной опорной поверхности, составляет две штуки, зубчатые колеса-шестерни 3 выполнены в виде одной пары направляющих колес и одной пары ведущих колес, закрепленных на первом этаже платформы 2.
Второй этаж платформы 2 для установки на наклонной опорной поверхности выполнен в плоскости, параллельной плоскости первого этажа платформы 2.
Количество рельсовых путей 1, закрепленных на вертикальной опорной поверхности, выбрано четыре штуки, зубчатые колеса-шестерни 3 выполнены в виде двух пар направляющих колес и двух пар ведущих колес. При этом рельсовые пути расположены взаимно параллельно, посредством железобетонных стоек прикреплены к опорной поверхности и друг к другу. Пары направляющих колес закреплены на передней оси платформы 2 и опираются на первую пару рельсовых путей, пары ведущих колес закреплены на валах горизонтальных трехступенчатых редукторов 4, расположенных в задней части платформы 2 и опираются на вторую пару рельсовых путей. Второй этаж платформы 2 для установки на вертикальной опорной поверхности выполнен в плоскости, находящейся под углом до 45 градусов к плоскости первого этажа платформы 2.
В шкафу управления ЭГАС ШУ 10 также расположена коммутирующая аппаратура - выключатели, разъединители, предохранители, рубильники и т.д.), а также аппаратура релейной защиты и автоматики (РЗ и А), согласованная работа которых, в зависимости от режима работы станции, определяется блоком компьютерной автоматики БКА 15, расположенным там же.
Токоподвод 14 выполнен с возможностью двустороннего направления потока энергии (от энергосистемы 13 к рельсовым путям 1 - в режиме накопления электроэнергии и обратно - в режиме возврата электрической энергии).
Роторная обмотка трёхфазной синхронной электрической машины 5 выполнена с возможностью питания от аккумуляторной батареи 6 и от ТСН 9 посредством ТВУ 11.
Инвертор 12 выполнен с возможностью преобразования постоянного напряжения аккумуляторов аккумуляторной батареи 6 в переменное трёхфазное напряжение для непосредственного возврата электрической энергии в энергосистему 13 и для питания трёхфазной синхронной электрической машины 5.
Электрическая гравитационная аккумулирующая станция установлена на опорной поверхности так, что второй этаж ее платформы 2 обращен к югу. Это позволяет обеспечить наиболее благоприятный угол наклона солнечных панелей 7 для максимально эффективного поглощения ими солнечной энергии.
Электрическая гравитационная аккумулирующая станция работает следующим образом.
В период спада нагрузки в энергосистеме 13 станция функционирует в режиме накопления энергии. СЭМ 5 работает в режиме двигателя. Платформа 2 движется вверх. При этом происходит одновременное электропитание от энергосистемы 13 и от солнечных панелей 7, причём энергосистема 13 обеспечивает работу СЭМ 5, которая работает в режиме двигателя, и подзарядку аккумуляторной батареи 6. Солнечные панели 7 работают только на зарядку аккумуляторов 6. Электропитание роторной обмотки СЭМ 5 осуществляется по цепи ТСН 9 и ТВУ 11.
В период увеличения нагрузки в энергосистеме 13, то есть подключения дополнительных потребителей, станция переходит в режим отдачи электроэнергии. При этом платформа 2 движется вниз. СЭМ 5 работает в режиме генератора, обеспечивая возврат энергии в энергосистему 13. Аккумуляторная батарея 6 обеспечивает питание роторной обмотки СЭМ 5.
В случае установки станции в отдаленной местности, когда отсутствует связь с энергосистемой 13, станция может работать и в автономном режиме, обеспечивая нужды местных потребителей. При этом солнечные панели 7 заряжают аккумуляторную батарею 6, от которой напрямую запитывается роторная обмотка СЭМ 5 и через инвертор 12 статорная обмотка СЭМ 5.
При этом платформа 2 движется вверх, то есть осуществляется режим гравитационного накопления энергии с последующим спуском, при необходимости, и электропитание какой либо автономной нагрузки-потребителя.
При выводе СЭМ 5 в ремонт или на профилактический осмотр, накопление электроэнергии как от энергосистемы 13 так и от солнечных панелей 7 осуществляется аккумуляторной батареей 6 с последующим питанием потребителей. Соответственно, при ремонте или профилактике солнечных панелей 7 станция работает от энергосистемы 13.
Наиболее оптимальным является установка и эксплуатация двух параллельно действующих станций, т.к. при выводе в ремонт одной станции вторая продолжит обеспечивать работу основной группы потребителей.
Выбор и обеспечение режимов работы станции осуществляется в автоматическом режиме блоком компьютерной автоматики БКА 15, расположенным внутри ШУ 10, в зависимости от количества и мощности потребителей, а так же состояния узлов станции.
При выводе в ремонт электромеханической части платформы 2, то есть когда движение платформы 2 невозможно, осуществляется зарядка аккумуляторной батареи 6 от энергосистемы 13 через ТСН 9 и выпрямитель 8, а отдача энергии происходит через инвертор 12.
Таким образом, предлагаемое изобретение представляет собой комбинированную высокоэффективную промышленную систему накопления электроэнергии, в которой реализован принцип совместного функционирования трех видов накопителей энергии посредством использования гравитационного эффекта всего силового электромеханического и электронного оборудования станции; гравитационного и накопительного эффекта аккумуляторных батарей; выработки электроэнергии солнечными панелями, установленными на поверхности платформы станции.
В качестве аккумуляторных батарей, которые составляют основной вес платформы (груза), используют свинцово-кислотные аккумуляторы - являющиеся надежными и относительно дешевыми, а их большой вес в данном случае является достоинством.
В качестве силового и электронного оборудования, составляющих второй по значимости после аккумуляторных батарей сегмент груза платформы выступают:
а) силовая электрическая машина специального исполнения с двумя рабочими концами вала, в основном трехфазная синхронная электрическая машина СЭМ 5, работающая в режиме двигателя при зарядке (накоплении электроэнергии) и в режиме генератора при разрядке (отдачи электроэнергии).
б) трехфазный трансформатор собственных нужд станции ТСН 9, обеспечивающий электропитание всех основных блоков станции как то:
- выпрямителя 8 для подзарядки аккумуляторной батареи;
- инвертора 12 - в режиме отдачи энергии от аккумуляторной батареи непосредственно в энергосистему 13;
- выпрямителя 8 для питания роторной обмотки СЭМ 5;
- шкаф управления 10;
- тиристорного возбудительного устройства ТВУ 11;
в) два цилиндрических горизонтальных трехступенчатых редуктора 4, используемых для снижения скорости вращения, как минимум в сто раз, так как скорость вращения двигателя может составлять несколько сотен оборотов в минуту, тогда как для перемещения платформы (груза) достаточно несколько оборотов в минуту.
Установка электрической гравитационной аккумулирующей станции на наклонной поверхности предпочтительна при наличии благоприятного рельефа местности с наклоном примерно 45 градусов, во всех прочих случаях целесообразна вертикальная установка станции.
Закрепление токоподвода на центральном участке рельсовых путей 1 позволяет вдвое сократить длину гибкого шлангового кабеля.
В отличие от прототипа, в качестве электрической машины-двигателя в предлагаемом изобретении использована трёхфазная синхронная электрическая машина, которая по необходимости может работать как в режиме генератора так и в режиме двигателя и при этом одновременно является составляющей (за счёт собственного веса) гравитационного накопления энергии.
Вместо сложного трёхуровневого четырёхквадрантного преобразователя частоты в предлагаемом изобретении использован простой однорежимный инвертор для преобразования постоянного напряжения аккумуляторной батареи в трёхфазное переменное напряжение с частотой промышленной сети 50 Гц.
Основной же идеей, реализованной в предлагаемом изобретении, является то, что все элементы станции без исключения выполняют главную задачу гравитационного накопления энергии (за счёт собственного веса). Кроме того, солнечные панели совместно с аккумуляторной батареей накапливают дополнительно солнечную энергию. Аккумуляторная батарея в автономном режиме может накапливать электроэнергию энергосистемы и возвращать её в энергосистему по мере необходимости.
Таким образом, в предлагаемом изобретении (в отличие от прототипа):
1. За счет того что ЭГАС представляет собой комбинированную высокоэффективную промышленную систему накопления электроэнергии, в которой реализован принцип совместного функционирования трех видов накопителей энергии посредством использования гравитационного эффекта всего силового электромеханического и электронного оборудования станции; гравитационного и накопительного эффекта аккумуляторной батареи; выработки электроэнергии солнечными панелями, установленными на поверхности платформы станции, повышена мощность и КПД. Таким образом, повышена эффективность работы системы накопления электроэнергии.
2. За счет совмещения функций гравитационного и электромеханического накопления энергии, минимизированы затраты на капстроительство.
3. За счет размещения солнечных панелей на поверхности платформы станции и использования рельефа горной местности, минимизирована площадь землеотвода.
4. За счет использования веса аккумуляторной батареи и всего электромеханического оборудования снижен общий вес конструкции, так как отсутствует отдельный «гравитационный» груз.
Использование изобретения позволяет повысить мощность КПД и эффективность работы системы накопления электроэнергии при минимизации затрат и площади землеотвода, а также снизить вес конструкции.
| название | год | авторы | номер документа |
|---|---|---|---|
| Зарядная станция для электрического транспорта | 2018 |
|
RU2691386C1 |
| СПОСОБ УПРАВЛЕНИЯ АВТОНОМНОЙ КОНТЕЙНЕРНОЙ ЭЛЕКТРОСТАНЦИЕЙ И СИСТЕМА ЕГО ОСУЩЕСТВЛЕНИЯ | 2015 |
|
RU2598864C1 |
| ЭНЕРГЕТИЧЕСКАЯ СИСТЕМА (ВАРИАНТЫ) | 1997 |
|
RU2192356C2 |
| АВТОНОМНАЯ СТАНЦИЯ ЭЛЕКТРОПИТАНИЯ | 2022 |
|
RU2841511C2 |
| СИСТЕМА АВТОНОМНОГО ЖИЗНЕОБЕСПЕЧЕНИЯ В УСЛОВИЯХ НИЗКИХ ШИРОТ | 2006 |
|
RU2320891C1 |
| Система коммуникаций здания | 2022 |
|
RU2785231C1 |
| Защищенная от внешних воздействий энергоустановка автономного электроснабжения | 2021 |
|
RU2773678C1 |
| УСТРОЙСТВО БЕСПЕРЕБОЙНОГО ПИТАНИЯ ПЕРЕМЕННЫМ НАПРЯЖЕНИЕМ РАДИОЭЛЕКТРОННОЙ АППАРАТУРЫ С ПРОМЕЖУТОЧНЫМ ПРЕОБРАЗОВАНИЕМ НА ПОВЫШЕННОЙ ЧАСТОТЕ | 1994 |
|
RU2079202C1 |
| МНОГОФУНКЦИОНАЛЬНАЯ АВТОНОМНАЯ ГИБРИДНАЯ ЭЛЕКТРОЗАРЯДНАЯ СТАНЦИЯ | 2012 |
|
RU2534329C2 |
| Активная система тягового электроснабжения | 2022 |
|
RU2790590C1 |
Изобретение относится к области накопления электроэнергии в период спада нагрузки в энергосистеме и отдачи её в энергосистему в период увеличения нагрузки и направлено на повышение мощности КПД и эффективности работы системы накопления электроэнергии при минимизации затрат и площади землеотвода, а также снижение веса конструкции. Известная электрическая гравитационная аккумулирующая станция (АГЭС), содержащая груз, расположенный на опорной поверхности, электрическую машину, снабжена зубчатыми рельсовыми путями, выполненными с возможностью закрепления на опорной поверхности, к центральному участку которых подсоединен токоподвод, выполненный в виде гибкого шлангового кабеля с возможностью подключения к энергосистеме, при этом электрическая машина выполнена в виде трёхфазной синхронной электрической машины (СЭМ), груз выполнен в виде двухэтажной платформы, установленной на зубчатых рельсовых путях посредством зубчатых колес-шестерней в виде передних направляющих и задних ведущих колес и содержащей расположенные на ее первом этаже два горизонтальных трёхступенчатых редуктора, СЭМ, аккумуляторную батарею, выпрямитель, трансформатор собственных нужд (ТСН), шкаф управления (ШУ) с блоком компьютерной автоматики (БКА), тиристорное возбудительное устройство (ТВУ), инвертор, а также солнечные панели, расположенные на втором этаже платформы станции, при этом задние ведущие колеса платформы соединены с двумя цилиндрическими горизонтальными трёхступенчатыми редукторами, соединёнными, в свою очередь, с двумя рабочими концами вала СЭМ, роторная обмотка трехфазной синхронной электрической машины соединена с аккумуляторной батареей, первый вход аккумуляторной батареи соединен с солнечными панелями, второй вход аккумуляторной батареи подключен к выходу выпрямителя, вход которого подсоединен к первому выходу трансформатора собственных нужд, вход трансформатора собственных нужд подсоединен к первому выходу шкафа управления, а второй выход трансформатора собственных нужд подключен к входу тиристорного возбудительного устройства, выход которого подключен к первому входу СЭМ, первый выход аккумуляторной батареи соединен с входом инвертора, второй выход аккумуляторной батареи подключен ко второму входу СЭМ, третий вход которой соединен с первым выходом инвертора, первый вход шкафа управления подсоединен к энергосистеме, второй вход ШУ подключен ко второму выходу инвертора, второй выход ШУ соединен с четвертым входом СЭМ, третий выход ШУ выполнен с возможностью подключения к автономному потребителю. При этом опорная поверхность может быть выполнена наклонной или вертикальной. 2 з.п. ф-лы, 4 ил.
1. Электрическая гравитационная аккумулирующая станция, содержащая груз, расположенный на опорной поверхности, электрическую машину, отличающаяся тем, что она снабжена зубчатыми рельсовыми путями, выполненными с возможностью закрепления на опорной поверхности, к центральному участку которых подсоединен токоподвод, выполненный в виде гибкого шлангового кабеля с возможностью подключения к энергосистеме, при этом электрическая машина выполнена в виде трёхфазной синхронной электрической машины (СЭМ), груз выполнен в виде двухэтажной платформы, установленной на зубчатых рельсовых путях посредством зубчатых колес-шестерней в виде направляющих и ведущих колес и содержащей расположенные на ее первом этаже два горизонтальных трёхступенчатых редуктора, СЭМ, аккумуляторную батарею, выпрямитель, трансформатор собственных нужд (ТСН), шкаф управления (ШУ) с блоком компьютерной автоматики (БКА), тиристорное возбудительное устройство (ТВУ), инвертор, а также солнечные панели, расположенные на втором этаже платформы станции, при этом ведущие колеса платформы соединены с двумя цилиндрическими горизонтальными трёхступенчатыми редукторами, соединёнными, в свою очередь, с двумя рабочими концами вала СЭМ, роторная обмотка трехфазной синхронной электрической машины соединена с аккумуляторной батареей, первый вход аккумуляторной батареи соединен с солнечными панелями, второй вход аккумуляторной батареи подключен к выходу выпрямителя, вход которого подсоединен к первому выходу трансформатора собственных нужд, вход трансформатора собственных нужд подсоединен к первому выходу шкафа управления, а второй выход трансформатора собственных нужд подключен к входу тиристорного возбудительного устройства, выход которого подключен к первому входу СЭМ, первый выход аккумуляторной батареи соединен с входом инвертора, второй выход аккумуляторной батареи подключен ко второму входу СЭМ, третий вход которой соединен с первым выходом инвертора, первый вход шкафа управления подсоединен к энергосистеме, второй вход ШУ подключен ко второму выходу инвертора, второй выход ШУ соединен с четвертым входом СЭМ, третий выход ШУ выполнен с возможностью подключения к автономному потребителю.
2. Станция по п. 1, отличающаяся тем, что опорная поверхность выполнена наклонной, количество рельсовых путей выбрано 2, зубчатые колеса-шестерни выполнены в виде одной пары направляющих колес и одной пары ведущих колес, закрепленных на первом этаже платформы, второй этаж платформы выполнен в плоскости, параллельной плоскости первого этажа платформы.
3. Станция по п. 1, отличающаяся тем, что опорная поверхность выполнена вертикальной, количество рельсовых путей выбрано 4, зубчатые колеса-шестерни выполнены в виде двух пар направляющих колес и двух пар ведущих колес, рельсовые пути расположены взаимно параллельно, посредством железобетонных стоек прикреплены к опорной поверхности и друг к другу, второй этаж платформы выполнен в плоскости, находящейся под углом к плоскости первого этажа платформы.
| CN 206555081 U, 13.10.2017 | |||
| ИМПУЛЬСНО-СИЛОВАЯ РУЧНАЯ МАШИНА | 2010 |
|
RU2534322C2 |
| РАСШИРЕННЫЙ МИКРОМОЩНЫЙ РЕЖИМ ЭНЕРГОСБЕРЕЖЕНИЯ ДЛЯ СВЯЗИ | 2008 |
|
RU2453993C2 |
| СИСТЕМЫ И СПОСОБЫ ОБЕСПЕЧЕНИЯ УСТОЙЧИВОГО ЭКОНОМИЧЕСКОГО РАЗВИТИЯ ПУТЕМ ИНТЕГРИРОВАННОЙ ВЫРАБОТКИ ВОЗОБНОВЛЯЕМОЙ ЭНЕРГИИ ПОЛНОГО СПЕКТРА | 2010 |
|
RU2562336C2 |
| Приспособление для закрепления бобин в гильзовых машинах | 1925 |
|
SU5326A1 |
| ПРОМЫШЛЕННАЯ СИСТЕМА НАКОПЛЕНИЯ ЭНЕРГИИ | 2018 |
|
RU2699855C1 |
Авторы
Даты
2025-02-24—Публикация
2024-07-03—Подача