Настоящее изобретение относится к клапану для снижения давления жидкости, в частности, хоть и не исключительно, предназначенному для водопроводных магистралей.
Уровень техники
Сети водоснабжения обычно содержат местную магистральную сеть высокого давления, соединенную с множеством локальных сетей. Давление воды в магистрали высокого давления, как правило, слишком высокое для потребителей в локальных сетях, и поэтому клапаны для снижения давления расположены на стыке между магистралью высокого давления и локальной сетью для снижения давления.
Типичный клапан для снижения давления (pressure reducing valve, PRV) содержит камеру, имеющую вход, соединенный с магистралью высокого давления, и выход, соединенный с локальной сетью. Как правило, клапан имеет две камеры - верхнюю и нижнюю камеры, разделенные диафрагмой. Вода проходит через клапан PRV через нижнюю камеру. Сниженное давление дальше по потоку достигается за счет обеспечения гидравлического соединения между давлением раньше по потоку и верхней камерой PRV. В этой гидравлической системе вода со стороны раньше по потоку проходит через управляющий клапан с подпружиненным регулятором для обеспечения выхода воды из верхней камеры, если давление в верхней камере превышает заданный уровень. Более сложные обычные клапаны PRV включают дополнительные гидравлические контуры для обеспечения более точного управления давлением дальше по потоку с использованием различных конструкций дифференциальных регулирующих клапанов. Пружина может быть включена в верхнюю камеру для обеспечения лучшего уплотнения при беспрепятственном поступлении давления раньше по потоку в верхнюю камеру для полного закрытия клапана.
Потеря воды из магистрали представляет собой проблему, возникающую из-за возраста магистральных трубопроводов, а также повреждений магистрали и связанного с ней оборудования. Многие магистрали старые и имеют множество утечек. Давать течь может даже новая магистраль. При самом высоком давлении воды утечка наиболее интенсивна, что неудивительно.
Проблема с установкой пружины такого обычного клапана PRV в клапане для снижения давления на входе в локальную сеть с по существу постоянным давлением воды, поступающей в сеть, заключается в том, что в течение большей части времени, когда спрос ниже, локальная сеть будет находиться под избыточным давлением. Это, в свою очередь, усугубит проблему утечки.
Были сделаны различные предложения для клапанов для снижения давления, в которых смещающее усилие, приложенное (например, пружиной) к регулирующей пластине или элементу клапана, может автоматически изменяться для учета изменяющихся уровней спроса в локальной сети и, таким образом, устранения или смягчения проблемы избыточного давления.
Например, в GB 2176316 (NRDC) раскрыто устройство, которое в реферате описано следующим образом:
Устройство для управления потоком воды по трубопроводу (26), включающему в себя клапан (29) и пластину (37) с отверстием, и подачи воды в распределительную систему, содержащее регулятор (1), приводящий в действие управляющий клапан (14) в сервосистеме, управляющей клапаном (29). Регулятор (1) имеет две диафрагмы (5) и (6), связанные пружиной (7) растяжения, удлинение которой определяется расходом через пластину (37) с отверстием. Первая диафрагма (5) приводит в действие запорный элемент (13) управляющего клапана (14) и подвергается воздействию перепада давления, создаваемого потоком через пластину с отверстием (37). Вторая диафрагма (6) нагружается пружиной сжатия (8), и ее смещение зависит от управляющего давления на отводе (38) трубопровода (26). Смещение запорного элемента (14) представляет собой комбинацию смещений двух диафрагм (5 и 6) и повышает управляющее давление на отводе (38), когда потребность в воде увеличивается.
GB 2165372 (TLV Co. Ltd) раскрывает клапан для снижения давления с пружиной регулировки давления, связанной с исполнительным механизмом, который может изменять настройку усилия пружины в ответ на то, что разность между давлением на стороне, расположенной дальше по потоку от клапана для снижения давления, и требуемым целевым давлением превышает определенное значение.
EP 1762922 (R. Nussbaum AG) раскрывает клапан для снижения давления, имеющий подпружиненный клапанный элемент, который управляет потоком жидкости через отверстие подачи, ведущее в камеру, имеющую выпускное отверстие для жидкости. Клапан имеет электромеханический исполнительный механизм, который может изменять настройку усилия пружины в ответ на изменения давления воды дальше по потоку относительно клапана для снижения давления.
WO 03/057998 (Optimus Water Technologies Ltd) раскрывает гидравлически управляемый PRV, работой которого управляет сложная гидравлическая конструкция, содержащая блок фильтров, ограничивающее поток отверстие, управляющий клапан и дифференциальный регулирующий клапан (differential control valve, DCV), а также клапан для снижения давления (pressure reducing valve, PRV). Перепускная труба отводит небольшую часть воды, поступающей в PRV, через контур управления, связывающий управляющий клапан и DCV. Патрубок, расположенный раньше по потоку относительно управляющего клапана, соединен с клапаном для снижения давления, но входит в напорную камеру, содержащую пружину, на противоположной от регулирующего клапана стороне диафрагмы. Таким образом, в PRV по WO 03/057998 имеются «влажные камеры» с обеих сторон диафрагмы. PRV по WO 03/057998 не снабжен исполнительным механизмом для регулировки давления пружины. Вместо этого DCV снабжен исполнительным механизмом, который реагирует на сигналы давления, полученные от контроллера, и именно DCV улучшает работу PRV. Конструкция регулирования давления воды, описанная в WO 03/057998, как представляется, имеет ряд потенциальных недостатков. Во-первых, гидравлическая система управления слишком сложна, и есть множество компонентов, которые могут выйти из строя. Во-вторых, предположительно перепускные трубы с узким отверстием могут быть более подвержены засорению и/или замерзанию, что приведет к нарушению или прекращению работы системы управления. В-третьих, в PRV обе стороны диафрагмы подвергаются воздействию воды, что означает, что пружина будет постоянно окружена водой, в результате чего на самой пружине может образоваться известковый налет, который может повлиять на способность клапана полностью закрываться в случае необходимости.
Раскрытие сущности изобретения
Задачей настоящего изобретения является создание усовершенствованного клапана для снижения давления жидкости, который преодолевает или по меньшей мере облегчает проблемы в известных клапанах для снижения давления, описанные выше.
Автор настоящего изобретения отметил простую взаимосвязь между давлением, необходимым дальше по потоку относительно клапана для снижения давления для поддержания заданного минимального давления в удаленной точке локальной сети, при том что клапан для снижения давления находится между местным источником высокого давления и локальной сетью, с одной стороны, и расходом в локальной сети, с другой стороны. Требуемые регулируемое давление и расход дальше по потоку относительно клапана для снижения давления, как правило, линейно связаны между собой. Несмотря на это, автору настоящего изобретения не известно о каких-либо клапанах для снижения давления, управляемых в соответствии с проходящим через них потоком, за исключением несколько сложной конструкции, раскрытой в GB 2176316.
Согласно одному аспекту изобретения предлагается клапанное устройство для снижения давления текучей среды, содержащее:
- подпружиненный клапан для снижения давления, имеющий:
- корпус, содержащий камеру для потока текучей среды,
- отверстие для подачи текучей среды в камеру и отверстие для вывода текучей среды из камеры,
- регулирующую пластину, расположенную напротив отверстия и подвергаемую при использовании воздействию подаваемой текучей среды, воздействующей на нее,
- пружину, под действием которой обеспечена возможность смещения пластины к отверстию, и
- диафрагму между регулирующей пластиной и корпусом для закрывания камеры между ними, подвергаемую при использовании воздействию регулируемого давления в камере,
- управляемый привод с двигателем, действующий между корпусом и дальним от регулирующей пластины концом пружины,
- расходомер, расположенный дальше по потоку относительно выпускного отверстия, и
- контроллер, выполненный с возможностью приема от расходомера данных о потоке и управления серводвигателем для отвода дальнего конца пружины в соответствии с расходом, измеренным расходомером;
при этом указанная конструкция выполнена таким образом, что при использовании для увеличения расхода на стороне потребления регулирующая пластина при таком увеличении частично отводится для поддержания давления дальше по потоку, и наоборот
Корпус может иметь внутреннюю полость, разделенную диафрагмой на камеру для потока текучей среды на одной стороне диафрагмы и сухую камеру на другой стороне диафрагмы, при этом камера для потока текучей среды снабжена отверстием для подачи текучей среды в камеру и отверстием для вывода жидкости. Под сухой камерой подразумевается, что внутренняя часть камеры не вступает в контакт с текучей средой. В этом отличие от клапана для снижения давления, описанного в WO 03/057998, в котором обе камеры по обе стороны от диафрагмы в PRV являются «мокрыми» камерами, то есть подвергаются воздействию текучей среды (в данном случае воды).
Клапанное устройство для снижения давления текучей среды может также содержать хранилище данных в электронном виде, находящееся внутри контроллера или связанное с ним, причем хранилище данных содержит данные, определяющие соотношение между расходом текучей среды и давлением текучей среды в трубопроводной сети дальше по потоку, с которой соединен клапан для снижения давления.
Таким образом, контроллер может быть выполнен с возможностью приема от расходомера данных о потоке и управления приводом с двигателем для отвода или продвижения дальнего конца пружины в соответствии с расходом, измеренным расходомером, и соотношением между потоком текучей среды и давлением текучей среды, тем самым изменяя положение регулирующей пластины и поток текучей среды через отверстие для подачи текучей среды для поддержания требуемого давления текучей среды дальше по потоку.
Во втором аспекте изобретения предлагается клапанное устройство для снижения давления текучей среды, содержащее:
- подпружиненный клапан для снижения давления, имеющий:
- корпус, имеющий внутреннюю полость, разделенную диафрагмой на камеру для потока текучей среды с одной стороны диафрагмы и сухую камеру с другой стороны диафрагмы,
- отверстие для подачи текучей среды в камеру для потока текучей среды и отверстие для вывода текучей среды из камеры для потока текучей среды,
- регулирующую пластину, расположенную напротив отверстия и подвергаемую при использовании воздействию подаваемой текучей среды, воздействующей на нее, причем регулирующая пластина соединена непосредственно или через соединительный элемент с указанной одной стороной диафрагмы, а используемая диафрагма подвергается при использовании воздействию регулируемого давления в камере для потока текучей среды,
- пружину сжатия, расположенную в сухой камере на указанной другой стороне диафрагмы, причем пружина сжатия расположена таким образом, чтобы прикладывать давление через диафрагму и толкать пластину к отверстию, и
- управляемый привод с двигателем, действующий между корпусом и дальним от регулирующей пластины концом пружины сжатия,
- расходомер, расположенный дальше по потоку относительно выпускного отверстия;
- контроллер и хранилище данных в электронном виде, находящееся внутри контроллера или связанное с ним, причем хранилище данных содержит данные, определяющие взаимосвязь между расходом текучей среды и давлением текучей среды в трубопроводной сети дальше по потоку, с которой соединен клапан для снижения давления;
причем контроллер выполнен с возможностью приема от расходомера данных о потоке и управления приводом с двигателем для отвода или продвижения дальнего конца пружины в соответствии с расходом, измеренным расходомером, и соотношением между потоком текучей среды и давлением текучей среды, тем самым изменяя положение регулирующей пластины и поток текучей среды через отверстие для подачи текучей среды для поддержания требуемого давления текучей среды дальше по потоку.
Предпочтительно, управляемый привод с двигателем представляет собой привод с серводвигателем.
Текучая среда может быть жидкостью или газом.
В одном общем варианте осуществления текучая среда представляет собой жидкость.
В другом общем варианте осуществления текучая среда представляет собой газ, такой как газообразный углеводород.
Когда текучая среда представляет собой жидкость, она может представлять собой, например, воду или жидкий углеводород.
В одном конкретном варианте осуществления текучая среда представляет собой воду.
В другом конкретном варианте осуществления текучая среда представляет собой жидкий углеводород.
Изобретение, в частности, применимо к водопроводным магистралям. Предполагается, что изобретение будет также применимо к углеводородным текучим средам как в жидком, так и в газообразном состоянии.
Контроллер может быть выполнен с возможностью расчета действия серводвигателя при позиционировании пружины в соответствии с по существу линейным соотношением давления и расхода дальше по потоку. Расчет может быть основан на давлении, которое должно быть достигнуто с точки зрения сервопозиционирования пружины, либо только на сервопозиционировании пружины. В качестве альтернативы контроллер может быть выполнен с возможностью обеспечения работы серводвигателя в соответствии со справочной таблицей давления и расхода дальше по потоку. И в этом случае справочная таблица может включать в себя значения давления, которые должны быть достигнуты, но предпочтительно она включает в себя положения пружины с точки зрения оборотов сервопривода.
Когда текучая среда представляет собой воду, а клапан для снижения давления соединен с локальной сетью водоснабжения, контроллер может быть запрограммирован или получить команду от удаленного центра управления на изменение расхода таким образом, чтобы минимальное давление воды, предоставляемое удаленному пользователю в сети (т.е. пользователю, у которого наблюдается наибольший перепад давления), находилось в диапазоне от 0,5 бар до 2 бар. Чаще всего контроллер программируется или получает команду от удаленного центра управления на изменение расхода таким образом, чтобы минимальное давление воды, предоставляемое удаленному пользователю в сети, находилось в диапазоне от 0,6 бар до 1,5 бар, чаще всего от 0,7 бар до 1,2 бар. В одном варианте осуществления минимальное давление воды, обеспечиваемое удаленному пользователю в сети, составляет приблизительно 1 бар.
Клапанное устройство для снижения давления согласно настоящему изобретению может быть соединено с оборудованием дистанционного управления (которое для удобства может упоминаться в настоящем документе как пульт дистанционного управления, даже если это может быть не пультом как таковым). Любой из расходомера и контроллера или оба могут быть соединены с оборудованием дистанционного управления (пульту дистанционного управления), например, посредством беспроводной связи.
В одном варианте осуществления только контроллер соединен с оборудованием дистанционного управления.
В другом предпочтительном варианте осуществления как расходомер, так и контроллер соединены с оборудованием дистанционного управления.
Соединение клапанного устройства для снижения давления согласно настоящему изобретению с пультом дистанционного управления позволяет дистанционно отключить местное управление устройством (например, вручную) по различным эксплуатационным причинам, таким как обнаружение аномально высоких расходов текучей среды (например, жидкости, такой как вода) в сети, которые указывают на крупную утечку, например, разрыв трубы.
Контроллер может быть запрограммирован на отправку сигналов тревоги на пульт дистанционного управления, если потоки текучей среды превышают определенный пороговый уровень.
Соответственно, еще в одном варианте осуществления изобретение предлагает клапанное устройство для снижения давления текучей среды, содержащее подпружиненный клапан для снижения давления, управляемый привод с двигателем, расходомер и контроллер, как определено в настоящем документе, при этом клапанное устройство для снижения давления текучей среды соединено (например, беспроводным способом) с оборудованием дистанционного управления, с помощью которого обеспечена возможность дистанционного управления работой устройства.
Локальная сеть, как правило, образует часть более крупной сети, в которой каждая из множества локальных сетей низкого давления соединена с магистралью высокого давления с помощью клапанного устройства для снижения давления согласно настоящему изобретению.
Соответственно, еще в одном варианте осуществления настоящего изобретения предложена система подачи воды, причем система подачи воды содержит множество локальных сетей, причем каждая из локальных сетей снабжена клапанным устройством для снижения давления согласно настоящему изобретению, как определено в настоящем документе.
Система подачи воды, как правило, содержит оборудование дистанционного управления (например, главный пульт управления), как определено выше, с которым связаны контроллеры каждого из клапанных устройств для снижения давления локальных сетей.
Дополнительно или в качестве альтернативы с оборудованием дистанционного управления могут быть соединены расходомеры каждого из клапанных устройств для снижения давления локальных сетей.
В другом варианте осуществления изобретение относится к способу управления давлением воды в локальной водопроводной сети, имеющей клапан для снижения давления, соединяющий локальную водопроводную сеть с магистралью высокого давления, при этом способ включает:
(i) обеспечение клапана для снижения давления исполнительным механизмом с двигателем, который выполнен с возможностью изменять поток воды в сеть после получения управляющих сигналов от контроллера;
(ii) обеспечение сети расходомером и датчиком давления дальше по потоку (например, непосредственно дальше по потоку) относительно клапана для снижения давления, причем расходомер и датчик связаны с контроллером;
(iii) измерение расходов и давлений для установления взаимосвязи между расходом и давлением воды, поступающей в сеть, и сохранение данных, устанавливающих взаимосвязь, в контроллере и/или в месте дистанционного управления;
(iv) использование указанного соотношения для установления настройки клапана для снижения давления в заданный момент времени, которая поддерживает требуемое минимальное давление в заданном удаленном месте в сети; и
(v) мониторинг изменений расхода в сети, обнаруженных расходомером, и приведение в действие исполнительного механизма с двигателем для изменения настройки клапана для снижения давления в ответ на изменения расхода для поддержания требуемого минимального давления в заданном удаленном месте в сети.
Клапан для снижения давления, используемый в вышеуказанном способе, предпочтительно представляет собой клапан для снижения давления в соответствии с изобретением, как определено и описано в настоящем документе.
Краткое описание чертежей
Фиг. 1 представляет собой Фиг. 2 из предшествующего уровня техники GB 2176316.
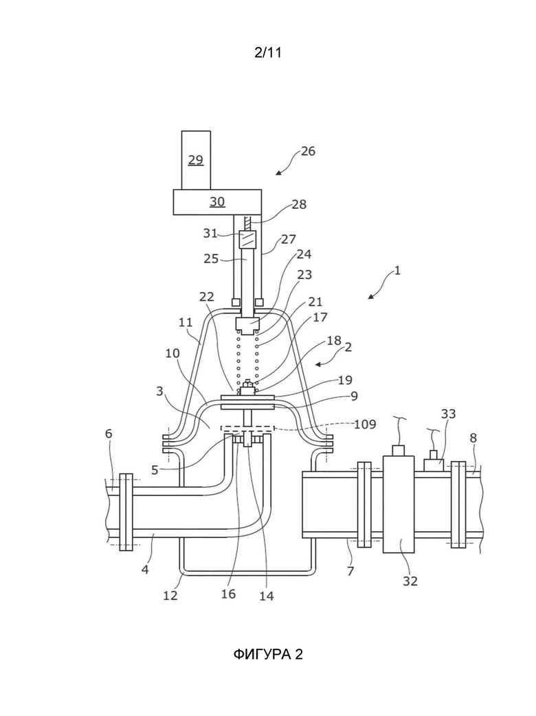
Фиг. 2 представляет собой графическое изображение клапанного устройства для снижения давления в поперечном сечении сбоку согласно одному варианту осуществления настоящего изобретения.
Фиг. 3 представляет собой схематический вид, на котором показано устройство c на фиг. 2 (но с верхним корпусом несколько отличающейся формы), соединенное с контроллером, который также соединен с удаленным датчиком давления.
Фиг. 4 представляет собой типичный график давления, необходимого для применения в сети для создания постоянного давления в удаленных точках с переменным расходом на стороне потребления.
Фиг. 5 представляет собой схематический вид сети водоснабжения, показывающий водопроводную магистраль, имеющую клапанное устройство для снижения давления согласно настоящему изобретению, и локальную сеть, содержащую множество отводов для подачи воды потребителям (и утечек) дальше по потоку относительно клапанного устройства для снижения давления. Клапанное устройство для снижения давления связано с главным пультом управления.
На фиг. 6 показан алгоритм, используемый для управления работой клапанного устройства для снижения давления согласно изобретению. На фиг. 6 FD представляет собой расход при пиковой нагрузке на стороне потребления, PR представляет собой давление, необходимое удаленному пользователю при расходе FD при пиковой нагрузке на стороне потребления, PD представляет собой устанавливаемое давление при FD для получения давления PR, FN и FN+1 представляют собой мгновенные расходы, PM и PM+1 представляют собой мгновенные значения давления для удаленного пользователя, а PN и PN+1 представляют собой мгновенные значения давления дальше по потоку.
На фиг. 7 показаны графики давления и расхода в течение двадцати четырех часов в сети водоснабжения, содержащей клапанное устройство для снижения давления согласно настоящему изобретению. Давление и расходы, показанные на графиках, необходимы для поддержания давления воды 1 бар в удаленном месте в сети. На графике с фиг. 7A показано давление в сети (в барах) на стороне раньше по потоку относительно клапана для снижения давления. На графике с фиг. 7B показан расход в литрах в секунду, измеренный расходомером непосредственно дальше по потоку относительно клапана для снижения давления. На графике с фиг. 7C показано давление воды, измеренное датчиком давления непосредственно дальше по потоку относительно клапана для снижения давления и расходомера. На графике с фиг. 7D показаны наложенные друг на друга графики расхода и давления из графиков с фиг. 7B и 7C.
На фиг. 8 показано сравнение давлений воды и расходов воды дальше по потоку относительно клапана для снижения давления в течение одиннадцатичасового периода времени для клапана для снижения давления обычного типа (пунктирные линии) и клапанного устройства для снижения давления согласно настоящему изобретению (сплошные линии). Давления, показанные на самом верхнем графике, представляют собой давления (выраженные в виде напора воды в метрах), необходимые для поддержания давления воды 1 бар в удаленном месте в сети.
Осуществление изобретения
Для облегчения понимания изобретения далее будут описаны конкретные варианты его осуществления в качестве примера и со ссылкой на прилагаемые фигуры с фиг. 1 по 8.
Со ссылкой на фигуры чертежей, подпружиненный клапан 1 для снижения давления имеет корпус 2, содержащий камеру 3 для потока воды. Вход 4 (Inlet) открывается в камеру для потока воды через входное отверстие 5. Вход соединен с водопроводной магистралью 6 повышенного давления. Выход 7 (Outlet) из камеры для потока воды соединен с сетью 8 трубопроводов для местного (local) распределения воды по отдельным потребителям. Клапан имеет регулирующую давление потока пластину 9, расположенную напротив входного отверстия 5. К пластине 9 прикреплена диафрагма 10, которая расходится от нее к корпусу, образуя уплотнение с верхней и нижней частями 11, 12 корпуса 2. Таким образом, камера 3 для потока воды герметизирована между верхней и нижней частями. Пространство над мембраной представляет собой сухую камеру, то есть вода в это пространство не поступает.
Регулирующая пластина имеет направляющий стержень 14, проходящий от нее вниз в направляющую 16, расположенную во входном отверстии 5. Стержень проходит как через регулирующую пластину, так и через диафрагму. На своем верхнем конце, внутри сухой камеры, он имеет гайку 17, опирающуюся на центрирующую пружинную шайбу 18, а также уплотнительную прижимную пластину 19 диафрагмы. В такой конструкции регулирующая пластина удерживается по центру над входным отверстием 5.
В варианте осуществления на нижнем стержне 14 предусмотрена отдельная регулирующая пластина 109 напротив отверстия. Диафрагма удерживает пластину 9/109 по центру над отверстием 5.
Пружина 21 сжатия, расположенная в сухой камере, воздействует своим нижним концом 22 на верхнюю часть прижимной пластины 19. Пружина остается в большей или меньшей степени сжатой, как поясняется ниже. Таким образом, она остается расположенной вокруг центрирующей шайбы 18. Ее верхний конец 23 упирается в приводной элемент 24 пружины на конце приводной трубки 25 сервоустройства 26. Приводная трубка размещена в неподвижной трубке 27 сервоустройства, прикрепленной к верхней части 11 корпуса 2 клапана. Ходовой винт 28, удаленный от пружины, используется для совмещения оси приводной трубки внутри неподвижной трубки. Для приведения в движение ходового винта выполнены двигатель 29 и редуктор 30. Гайка 31, предпочтительно шариковая гайка, закреплена на удаленном конце приводной трубки 25, при этом последняя прикреплена шпонкой к неподвижной трубе для защиты от вращения. Таким образом, приводной элемент пружины может быть выдвинут вперед для дальнейшего сжатия пружины или отведен назад для уменьшения сжатия за счет соответствующего вращения двигателя и ходового винта.
Дальше от выхода 7 по потоку проходит трубопровод 8 локальной распределительной сети. В нем рядом с выходом расположен расходомер 32 и датчик 33 давления. Они электронным образом подключены к контроллеру 34. Также к контроллеру подключен удаленный датчик 35 давления, расположенный в самой дальней точке 36 трубопровода 8. Контроллер 34 также соединен с главным пультом 39 дистанционного управления. Главный пульт управления обычно управляет множеством локальных распределительных сетей, каждая из которых оснащена собственным контроллером и клапанным устройством для снижения давления. В качестве альтернативы каждой локальной распределительной сети, имеющей свой собственный контроллер, управление клапанами для снижения давления может осуществляться непосредственно из главного пульта управления.
В трубопроводе имеются различные места 37 утечки, расход в которых увеличивается с увеличением давления и количества пользовательских кранов 38 и т.д. Именно ими в первую очередь определяется расход на регуляторе 1 давления. Если бы он относится к типу, постоянно настроенному на давление, поддерживающее достаточное давление в самой дальней точке 36 сети, давление было бы таким, что независимо от пользовательского расхода на кранах 38 утечки 37 усугублялись бы.
В данном варианте осуществления изобретения все клапанное устройство для снижения давления включает в себя не только клапан 1 для снижения давления и расходомер 32, но также и контроллер 38, предназначенный для управления регулятором при помощи серводвигателя в соответствии с расходом, измеряемым регулятором расхода, а также удаленный датчик 35 давления, который для данного изобретения не является строго необходимым.
Многие локальные распределительные сети, такие как сеть 8, были ранее измерены и имеют такие характеристики давления/расхода, которые показаны на фиг. 4, когда регулятор настроен на обеспечение требуемого давления в самой дальней точке при изменяющихся расходах. Идеальная точка 41 низкого давления для нулевого расхода встречается редко, что связано с утечками. Практическая точка 42 низкого давления может быть измерена ночью, когда потребность пользователей в воде незначительна. Другие показания 43 расхода и давления могут быть получены в периоды более или менее интенсивного использования путем регулировки клапана для снижения давления для обеспечения достаточного давления в самой дальней точке.
На практике график давления и расхода представляет собой, по существу, прямую линию с наклоном или градиентом и смещением, эквивалентным смещению нулевого расхода. График можно представить следующим уравнением:
Требуемое давление на регуляторе = Давление при нулевом расходе + измеренный расход x градиент графика (в пересчете на давление на единицу расхода).
Это удивительно, потому что можно было бы ожидать, что регулировка при помощи регулятора изменит измеряемый расход. Однако это эффект второго порядка, потому что основным фактором, определяющим расход, является использование воды потребителем. По сравнению с этим расход в результате утечек невелик и поддерживается на более низком уровне, чем он мог бы быть, за счет поддержания давления в сети ниже, чем оно было бы в случае, если бы оно было установлено на значение, обеспечивающее достаточность в самой дальней точке при максимальном расходе. Это значение приводит к слишком большому расходу и слишком большим утечкам при всех других расходах.
Пружина 21 в клапане для снижения давления противодействует силе, действующей со стороны диафрагмы 10, на которую действует давление, которое необходимо отрегулировать, при этом сила давления раньше по потоку, действующая на регулирующую пластину 9, по существу постоянна и мала по сравнению с силой, действующей со стороны диафрагмы. Таким образом, это изменение может обеспечить укорачивание пружины на величину, пропорциональную требуемому изменению давления, если учитывать, что для значительного изменения перепада давления на выпускном отверстии требуется лишь небольшое перемещение регулирующей пластины. Таким образом, для практических целей линейное смещение конца пружины под действием серводвигателя вызывает линейное изменение регулируемого давления. Соответственно, контроллер может быть настроен на линейное смещение конца пружины в соответствии с расходом.
Если давление при нулевом расходе и градиент графика измеренного расхода неизвестны, контроллер может быть настроен на периодическую регулировку регулируемого давления для различных значений расхода, чтобы устанавливать значения давления, необходимые для достижения достаточного давления в самой удаленной точке. Для этого выполняется соединение с удаленным датчиком 35 давления и ближним датчиком 33 давления, в первом случае соединение осуществляется подходящим беспроводным способом.
Контроллер может быть оснащен памятью, выполненной с возможностью записи карты давления и расхода, в отличие от записи в память только смещения и градиента, и использования этих данных в качестве справочной таблицы для определения значения, до которого контроллер должен регулировать давление дальше по потоку в зависимости от измеряемого расхода.
Датчик 33 может использоваться для точной настройки управления серводвигателем для достижения желаемого давления в соответствии с измеряемым расходом.
Способ, которым устройство согласно настоящему изобретению настроено для управления давлением воды в сети, будет описан более подробно со ссылкой на фиг. 5-8.
Характеристики давления/расхода локальной сети водоснабжения будут варьироваться в зависимости от ряда переменных, таких как длина трубопровода, количество потребителей, количество утечек в сети и местоположение наиболее удаленного пользователя. Следовательно, при настройке устройства согласно изобретению начальным этапом является установление соотношения давление/расход для сети и, в частности, установление расходов в сеть, которые необходимы для поддержания требуемого давления воды у наиболее удаленного пользователя в различные моменты времени в течение двадцати четырех часов. Для этого в течение двадцати четырех часов расход и давление воды измеряют с помощью расходомера 32 и датчика 33 давления, а давление воды у удаленного пользователя измеряют с помощью удаленного датчика 35 давления и при необходимости регулируют с помощью клапана для снижения давления для поддержания требуемого минимального давления у удаленного пользователя. Данные о давлении и потоке передаются от расходомера и датчиков давления к контроллеру, и устанавливается соотношение между расходом и давлением, как описано выше.
Набор данных о давлении и расходе для одного локального распределения, содержащего клапанное устройство для снижения давления согласно изобретению, показан в таблице 1 ниже.
В таблице данные давления воды для стороны раньше по потоку (т.е. магистрали высокого давления) относительно клапана для снижения давления показаны в колонках под заголовком I/L Давление, тогда как давление воды дальше по потоку относительно клапана для снижения давления показано в колонках под заголовком O/L Давление. Показатели давления приведены как в барах, так и в напоре воды в метрах. Расход (указанный как в кубических метрах в час, так и в литрах в секунду) - это расход, измеренный расходомером 32. Данные представляют собой давления, необходимые для поддержания давления воды 1 бар у удаленного пользователя. Профили давления и расхода за 24-часовой период показаны на графиках 7A-7D на фиг. 7. Соотношение между давлением и расходом, полученное из указанных данных, показано на графике на фиг. 4.
Таблица 1
Применение соотношения Y=mX+c для данных и графику дает градиент (м) 1,65 и теоретическую точку низкого давления (с) при нулевом расходе 17,5 (напор воды в метрах). Однако, поскольку на практике никогда не бывает нулевого расхода (например, из-за утечек), практическая точка низкого давления - это давление около 25 метров (напор воды).
После того, как соотношение давление/расход было установлено эмпирически, как описано выше (хотя также возможно получить соотношение путем теоретических расчетов), это соотношение служит основой для управления клапаном для снижения давления в соответствии с алгоритмом, показанным на фиг. 6.
Таким образом, как показано в алгоритме на фиг. 6, клапан для снижения давления первоначально регулируется с помощью серводвигателя для позиционирования пружины 21 таким образом, чтобы, если бы расход, измеряемый расходомером 32, был расходом FD при пиковой нагрузке на стороне потребления, то давление PD воды, измеряемое датчиком 33, было бы таким, чтобы обеспечить желаемое минимальное давление PR в удаленном месте. Затем собирают данные о фактических расходах в трубопроводе 8 дальше по потоку. Выполняют первое измерение FN расхода в момент времени 1 и сравнивают с пиковым значением FD расхода. Если FN меньше FD, то давление воды уменьшают путем приведения в действие серводвигателя для перемещения положения приводного элемента 24 пружины и пружины 21 для увеличения усилия прижатия пружины по отношению к регулирующей пластине 9. Во второй момент времени снова измеряют расход, чтобы получить расход FN+1. Если расход упал, дальнейшее перемещение приводного элемента 24 пружины и пружины 21 для увеличения усилия прижатия пружины по отношению к регулирующей пластине 9 осуществляется таким образом, чтобы дополнительно снизить давление воды, измеряемое датчиком 33. С другой стороны, если расход FN+1 увеличился, приводной элемент 24 пружины и пружина 21 перемещаются в обратном направлении, чтобы уменьшить усилие прижатия пружины по отношению к регулирующей пластине, тем самым увеличивая давление воды в трубопроводе 8. Таким образом, путем проведения измерений расхода через регулярные промежутки времени и сравнения каждого нового измерения расхода FN+1 с предыдущим измерением расхода, давление воды в трубопроводе 8 можно постоянно регулировать таким образом, чтобы давление, измеряемое датчиком 33, поддерживалось на минимальном уровне, необходимом для обеспечения требуемого минимального давления PR в удаленном месте 36.
В обычных локальных сетях водоснабжения клапаны для снижения давления, как правило, настроены таким образом, что давление воды, измеренное непосредственно дальше по потоку относительно клапана для снижения давления, является минимальным давлением воды, необходимым для обеспечения заданного давления в удаленном месте 36. В результате в течение большей части времени в сети создается избыточное давление, в результате чего, среди прочего, потери воды в результате утечки значительно увеличиваются. Эту проблему можно устранить с помощью клапанного устройства для снижения давления согласно настоящему изобретению. Преимущества клапанов для снижения давления согласно настоящему изобретению по сравнению с обычными клапанами для снижения давления, установленными для обеспечения постоянного давления воды, иллюстрируются графиками, показанными на Фиг. 8. На нижнем графике показаны расходы в разное время суток. Расходы, измеренные в сети, оснащенной обычным клапаном для снижения давления, показаны пунктирными линиями, тогда как расходы, измеренные, когда обычный клапан для снижения давления был заменен клапанным устройством для снижения давления согласно настоящему изобретению, показаны сплошными линиями. На самом верхнем графике на фиг. 8 показано давление воды в сети за тот же период. Как можно видеть, давление воды в сети, оснащенной обычным клапаном PRV, остается постоянным, и, следовательно, давление намного выше, чем должно быть. Напротив, давление в той же сети, оснащенной устройством для снижения давления согласно изобретению, значительно ниже в течение всего испытанного периода времени, но все еще достаточно для поддержания требуемого давления воды в удаленном месте.
В сети, показанной на фиг. 5, контроллер 34 связан с главным пультом 39 управления (пультом дистанционного управления) - местом, из которого сетью можно управлять удаленно. Главный пульт управления может быть связан с множеством локальных сетей, питаемых магистралью высокого давления, причем каждая из локальных сетей снабжена клапанным устройством для снижения давления согласно изобретению. В качестве альтернативы или дополнительно, расходомеры и датчики давления в каждой локальной сети могут быть связаны с главным пультом управления, и при обнаружении аномальных значений расхода (например, свидетельствующих о серьезной аварии в сети или серьезной утечке, такой как разрыв трубы) в главном пульте управления генерируются сигналы тревоги. Путем связывания контроллера 34 с пультом дистанционного управления можно осуществлять дистанционное управление давлением и расходом дальше по потоку, где это требуется для эксплуатационных целей.
| название | год | авторы | номер документа |
|---|---|---|---|
| КЛАПАН ДЛЯ СНИЖЕНИЯ ДАВЛЕНИЯ ЖИДКОСТИ | 2020 |
|
RU2824965C1 |
| СИСТЕМА ВЫДАЧИ ПРОДУКТА | 2008 |
|
RU2482055C2 |
| УЗЕЛ УПРАВЛЕНИЯ ТЕКУЧЕЙ СРЕДОЙ ДЛЯ СПРИНКЛЕРНЫХ СИСТЕМ | 2015 |
|
RU2711301C2 |
| СПОСОБ УПРАВЛЕНИЯ РАБОТОЙ ПРИВОДА КЛАПАНА ДЛЯ БАЛАНСИРОВОЧНОГО КЛАПАНА | 2016 |
|
RU2628005C1 |
| УСТРОЙСТВО И СПОСОБ ДЛЯ ИЗМЕРЕНИЯ КОЭФФИЦИЕНТА ПОЛОЖЕНИЯ ДРОССЕЛИРУЮЩЕГО ЭЛЕМЕНТА РЕГУЛЯТОРА ДАВЛЕНИЯ | 2003 |
|
RU2344462C2 |
| РЕГУЛЯТОР МАССОВОГО РАСХОДА, ДЕЙСТВУЮЩИЙ ПО ПРИНЦИПУ КОРИОЛИСА, ВЫПОЛНЕННЫЙ ИЗ ХИМИЧЕСКИ ИНЕРТНОГО МАТЕРИАЛА (ВАРИАНТЫ) | 2002 |
|
RU2303808C2 |
| СПОСОБ ДИАГНОСТИКИ ОБНАРУЖЕНИЯ ОТКАЗА КОМПОНЕНТА РЕГУЛИРУЮЩЕГО КЛАПАНА | 2009 |
|
RU2493467C2 |
| УСТРОЙСТВО ДИНАМИЧЕСКОГО УПРАВЛЕНИЯ ВИБРАЦИЕЙ, СИСТЕМЫ И СПОСОБЫ | 2012 |
|
RU2634751C2 |
| ТЕПЛОВОЙ ПУНКТ С ДОПОЛНИТЕЛЬНЫМИ ПОМЕЩЕНИЯМИ | 2017 |
|
RU2647774C1 |
| КИСЛОРОДНО-ТОПЛИВНАЯ ТУРБИННАЯ СИСТЕМА И СПОСОБ УПРАВЛЕНИЯ ОКИСЛИТЕЛЕМ | 2023 |
|
RU2840247C2 |
Изобретение относится к клапанному устройству для снижения давления жидкости. Технический результат заключается в повышении надежности управления клапанным устройством для снижения давления в соответствии с проходящим через него потоком. Технический результат достигается за счет того, что подпружиненный клапан имеет вход, который соединен водопроводной магистралью с находящейся под давлением водой, а выход из камеры соединен с сетью трубопроводов для локального распределения воды. Клапанное устройство для снижения давления имеет регулирующую давление потока пластину, расположенную напротив входного отверстия. Пружина сжатия воздействует своим нижним концом на верхнюю часть пластины. Верхний конец пружины упирается в приводной элемент пружины на конце приводной трубки сервоустройства. Приводной элемент пружины может быть выдвинут двигателем для дальнейшего сжатия пружины или втянут для снятия сжатия. Ниже по потоку от выходного отверстия простирается трубопровод локальной распределительной сети. В нем рядом с выходным отверстием находится расходомер и датчик давления. Они электронно соединены с контроллером. Давление на регуляторе устанавливается на основе измеренного расхода. 4 н. и 22 з.п. ф-лы, 11 ил.
1. Клапанное устройство для снижения давления текучей среды, содержащее:
- подпружиненный клапан для снижения давления, имеющий:
- корпус, содержащий камеру для потока текучей среды,
- отверстие для подачи текучей среды в камеру и отверстие для вывода текучей среды из камеры,
- регулирующую пластину, расположенную напротив отверстия и подвергаемую при использовании воздействию подаваемой текучей среды, воздействующей на нее,
- пружину, под действием которой обеспечена возможность смещения пластины к отверстию, и
- диафрагму между регулирующей пластиной и корпусом для закрывания камеры между ними, подвергаемую при использовании воздействию регулируемого давления в камере,
- управляемый привод с двигателем, действующий между корпусом и дальним от регулирующей пластины концом пружины,
- расходомер, расположенный дальше по потоку относительно выпускного отверстия, и
- контроллер, выполненный с возможностью приема от расходомера данных о потоке и управления управляемым приводом двигателя для отвода дальнего конца пружины в соответствии с расходом, измеренным расходомером;
при этом для увеличения расхода на стороне потребления, измеряемого расходомером, контроллер выполнен с возможностью управления управляемым приводом с двигателем для перемещения дальнего конца пружины для уменьшения усилия прижатия пружины к регулирующей пластине для увеличения давления текучей среды дальше по потоку относительно выпускного отверстия, и наоборот.
2. Клапанное устройство для снижения давления текучей среды по п. 1, в котором корпус имеет внутреннюю полость, разделенную диафрагмой на камеру для потока текучей среды с одной стороны диафрагмы и сухую камеру с другой стороны диафрагмы.
3. Клапанное устройство для снижения давления текучей среды по п. 1 или 2, причем устройство выполнено с возможностью снижения давления воды.
4. Клапанное устройство для снижения давления текучей среды по п. 1 или 2, причем устройство выполнено с возможностью снижения давления как жидких, так и газообразных углеводородных текучих сред.
5. Клапанное устройство для снижения давления текучей среды по любому из пп. 1-4, в котором управляемый привод с двигателем представляет собой привод с серводвигателем.
6. Клапанное устройство для снижения давления текучей среды по п. 5, в котором контроллер выполнен с возможностью расчета действия серводвигателя при позиционировании пружины в соответствии с по существу линейным соотношением между давлением и расходом дальше по потоку.
7. Клапанное устройство для снижения давления текучей среды по п. 6, в котором расчет основан на давлении, которое должно быть достигнуто в зависимости от сервопозиционирования пружины.
8. Клапанное устройство для снижения давления текучей среды по п. 7, в котором расчет основан только на сервопозиционировании пружины.
9. Клапанное устройство для снижения давления текучей среды по п. 8, в котором расчет основан на справочной таблице давления и расхода дальше по потоку.
10. Клапанное устройство для снижения давления текучей среды по п. 9, в котором справочная таблица включает значения давления, которые должны быть достигнуты.
11. Клапанное устройство для снижения давления текучей среды по п. 10, в котором справочная таблица включает положения пружины в зависимости от количества оборотов сервопривода.
12. Клапанное устройство для снижения давления текучей среды по любому предшествующему пункту, в котором регулирующая пластина выполнена с упиранием в центральную область диафрагмы, при этом в центрирующую направляющую в отверстии проходит направляющий стержень.
13. Клапанное устройство для снижения давления текучей среды по любому из пп. 1-11, в котором регулирующая пластина расположена на расстоянии от диафрагмы на направляющем стержне, проходящем от диафрагмы в центрирующую направляющую в отверстии.
14. Клапанное устройство для снижения давления текучей среды по любому предшествующему пункту, в котором пружина представляет собой пружину сжатия, действующую на сторону диафрагмы, удаленную от отверстия.
15. Клапанное устройство для снижения давления текучей среды по любому из пп. 1-13, в котором пружина представляет собой пружину растяжения, действующую на сторону диафрагмы, ближайшую к отверстию.
16. Клапанное устройство для снижения давления текучей среды по любому предшествующему пункту, в котором управляемый привод с двигателем включает в себя устройство с гайкой и ходовым винтом, выполненное с возможностью воздействия на конец пружины, удаленный от диафрагмы, и приводимое в действие двигателем привода.
17. Клапанное устройство для снижения давления текучей среды по любому предшествующему пункту в сочетании с удаленным датчиком давления для измерения дальше по потоку давления, которое необходимо поддерживать.
18. Клапанное устройство для снижения давления текучей среды по п. 1, в котором текучая среда представляет собой воду, а клапанное устройство для снижения давления текучей среды соединено с локальной водопроводной сетью, причем контроллер запрограммирован или имеет команду от удаленного центра управления на изменение расхода таким образом, чтобы минимальное давление воды, предоставляемое удаленному пользователю в сети, такому как пользователю, у которого наблюдается наибольший перепад давления, находилось в диапазоне от 0,5 бар до 2 бар.
19. Клапанное устройство для снижения давления текучей среды по п. 18, в котором контроллер запрограммирован или имеет команду от удаленного центра управления на изменение расхода таким образом, чтобы минимальное давление воды, предоставляемое удаленному пользователю в сети, находилось в диапазоне от 0,6 бар до 1,5 бар, чаще всего от 0,7 бар до 1,2 бар, например приблизительно 1 бар.
20. Клапанное устройство для снижения давления текучей среды, содержащее:
- подпружиненный клапан для снижения давления, имеющий:
- корпус, имеющий внутреннюю полость, разделенную диафрагмой на камеру для потока текучей среды с одной стороны диафрагмы и сухую камеру с другой стороны диафрагмы,
- отверстие для подачи текучей среды в камеру для потока текучей среды и отверстие для вывода текучей среды из камеры для потока текучей среды,
- регулирующую пластину, расположенную напротив отверстия и подвергаемую при использовании воздействию подаваемой текучей среды, воздействующей на нее, причем регулирующая пластина соединена непосредственно или через соединительный элемент с указанной одной стороной диафрагмы, а используемая диафрагма подвергается при использовании воздействию регулируемого давления в камере для потока текучей среды,
- пружину сжатия, расположенную в сухой камере на указанной другой стороне диафрагмы, причем пружина сжатия расположена таким образом, чтобы прикладывать давление через диафрагму и толкать пластину к отверстию, и
- управляемый привод с двигателем, действующий между корпусом и дальним от регулирующей пластины концом пружины сжатия,
- расходомер, расположенный дальше по потоку относительно выпускного отверстия;
- контроллер и хранилище данных в электронном виде, находящееся внутри контроллера или связанное с ним, причем хранилище данных содержит данные, определяющие соотношение между расходом текучей среды и давлением текучей среды в трубопроводной сети дальше по потоку, с которой соединен подпружиненный клапан для снижения давления;
при этом контроллер выполнен с возможностью приема данных о потоке от расходомера и для увеличения расхода на стороне потребления, измеряемого расходомером, управления управляемым приводом с двигателем для перемещения дальнего конца пружины для уменьшения усилия прижатия пружины к регулирующей пластине для увеличения давления текучей среды дальше по потоку относительно выпускного отверстия, и наоборот.
21. Клапанное устройство для снижения давления текучей среды по любому из пп. 1-20, причем клапанное устройство для снижения давления текучей среды связано с оборудованием дистанционного управления, с помощью которого обеспечена возможность дистанционного управления работой устройства.
22. Клапанное устройство для снижения давления текучей среды по п. 21, в котором только контроллер соединен с оборудованием дистанционного управления.
23. Клапанное устройство для снижения давления текучей среды по п. 21, в котором как расходомер, так и контроллер соединены с оборудованием дистанционного управления.
24. Клапанное устройство для снижения давления текучей среды по п. 21, в котором контроллер запрограммирован на отправку сигналов тревоги на пульт дистанционного управления, если потоки текучей среды превышают определенный пороговый уровень.
25. Система подачи воды, содержащая множество локальных сетей, причем каждая из локальных сетей снабжена клапанным устройством для снижения давления текучей среды по любому из пп. 1-24.
26. Способ управления давлением воды в локальной водопроводной сети, имеющей подпружиненный клапан для снижения давления по любому из пп. 1-24, соединяющий локальную водопроводную сеть с магистралью высокого давления, включающий:
(i) обеспечение подпружиненного клапана для снижения давления исполнительным механизмом с двигателем, который выполнен с возможностью изменять поток воды в сеть после получения управляющих сигналов от контроллера;
(ii) обеспечение сети расходомером и датчиком давления дальше по потоку относительно подпружиненного клапана для снижения давления, причем расходомер и датчик связаны с контроллером;
(iii) измерение расходов и давлений для установления соотношения между расходом и давлением воды, поступающей в сеть, и сохранение данных, устанавливающих данное соотношение, в контроллере и/или в месте дистанционного управления;
(iv) использование указанного соотношения для установления настройки клапана для снижения давления в заданный момент времени, которая поддерживает требуемое минимальное давление в заданном удаленном месте в сети; и
(v) мониторинг изменений расхода в сети, обнаруженных расходомером, и приведение в действие исполнительного механизма с двигателем для изменения настройки клапана для снижения давления в ответ на изменения расхода для поддержания требуемого минимального давления в заданном удаленном месте в сети.
| US 20050016593 A1, 27.01.2005 | |||
| US 4596264 A1, 24.06.1986 | |||
| US 5662137 A1, 02.09.1997 | |||
| US 5460196 A1, 24.10.1995 | |||
| US 4265270 A1, 05.05.1981 | |||
| КЛАПАННЫЙ УЗЕЛ ДЛЯ МОДУЛИРОВАНИЯ ДАВЛЕНИЯ ПОДАЧИ ГАЗА | 2002 |
|
RU2283458C2 |
Авторы
Даты
2025-03-18—Публикация
2021-05-06—Подача