Изобретение относится к авиационной ракетной техники и может быть использовано при наземной стендовой отработке и испытаниях по оценке работоспособности различных тепловизионных систем.
Из данной области техники известны следующие технические решения.
Известен способ теплового контраста объекта (патент RU 2582560), в котором поток инфракрасного излучения создается термоэлектрическими модулями, расположенными на имитаторе, который соответствует по форме и размерам реальному объекту.
Известен тепловой тест-объект (патент RU 2549072), в котором применяется тепловой излучатель, выполненный в виде матрицы тепловыделяющих элементов, установленных на панель, имеющую размеры реального объекта.
Известно устройство имитации тепловой заметности военной машины (патент RU 173477), в котором имитация инфракрасного излучения осуществляется нагревательными элементами, расположенными на макете боевой машины, форма и размеры которой идентичны штатной боевой машине.
Известно устройство имитации инфракрасного излучения наземных объектов (патент RU 2547759), в котором используется инфракрасный излучатель, излучение от которого сканируется и отправляется на оптический вход тепловой головки самонаведения (ТГСН). Геометрическая форма излучателя не соответствует геометрической форме натурного объекта - имитируется потоки от излучения от 2-мерной поверхности, а натурные наземные объекты имеют 3-мерную форму.
Известен комплекс оценки помехоустойчивости тепловизионной головки самонаведения управляемого боеприпаса (патент RU 2740434), в котором тепловые излучатели выполнены в виде матрицы тепловыделяющих элементов, образующих 2-мерное изображение фоноцелевой обстановки.
Недостатком имитаторов, применяющих резистивные излучающие матрицы, является дискретизация пространства: пиксельное изображение генерируемой сцены наблюдения излучающей матрицы должно быть на 2 порядка больше количества пикселей матрицы приемника излучения (Фомичева О.А., Стреляев С.И. Методы распознавания ИК-изображения // Известия ТулГУ. Технические науки. 2018. Вып.11. С. 207-213).
Известен тепловой имитатор (патент RU 2278344), в котором нагревателями создается тепловое изображение (тепловой портрет), идентичное тепловому портрету имитируемого объекта.
В указанном тепловом имитаторе, содержащем полотнище из брезентового материала, на котором закреплены тканые нагреватели, брезентовый теплорассеивающий чехол, влагонепроницаемый чехол из прорезиненной ткани, имеющий покрытие из окиси алюминия, кабель электропитания и терморегулятор, нагреватели закреплены в несколько строк и несколько столбцов. Введен блок управления терморегулятором, в котором хранятся тепловые изображения имитируемых объектов, выходы которого соединены со входами терморегулятора, выходы которого соединены с нагревателями. Нагреватели выполнены таким образом, чтобы вся площадь, занимаемая одним нагревателем, прогревалась равномерно. В соответствии с заложенным в блок управления алгоритмом и хранящимися в нем тепловыми изображениями на его выходах генерируются сигналы, обеспечивающие управление работой терморегулятора. Таким образом, в тепловом имитаторе реализовано динамическое индивидуальное управление температурой каждого из нагревателей, что позволяет создавать тепловые изображения, идентичные тепловым изображениям имитируемых объектов.
Все представленные выше технические решения имеют общий существенный недостаток - имитация инфракрасного излучения (ИФИ) выполняется только полноразмерными объектами или их полноразмерными моделями.
Наиболее близким по технической сущности к заявленному изобретению является техническое решение по патенту RU 2278344, который может выступать в качестве прототипа.
Задачей, на решение которой направлено заявленное изобретение, является создание способа динамической имитации инфракрасного излучения наземных объектов, реализация которого обеспечивает расширение технических возможностей испытательного стендового оборудования для тепловизионных систем наведения, в частности, ТГСН путем обеспечения имитации инфракрасного излучения наземных объектов в заданных атмосферных условиях и на заданной дальности участка конечного наведения с использованием масштабных тепловых моделей, а не полноразмерных натурных образов цели наведения.
Техническим результатом заявленного изобретения является снижение трудоемкости проведения испытаний работоспособности различных тепловизионных систем, в частности, ТГСН.
Технический результат заявленного изобретения достигается за счет осуществления способа динамической имитации инфракрасного излучения наземных объектов, при котором формируют банк наземных объектов с тепловыми портретами, выбирают из указанного банка требуемый наземный объект, выполняют масштабную модель выбранного реального наземного объекта в соответствии с расстоянием конечного участка наведения и взаимного расположения масштабной модели реального наземного объекта и элемента тепловизионной системы наведения, располагаемые на стендовом оборудовании, посредством нагревания масштабной модели реального наземного объекта создают поток инфракрасного излучения (ИФИ), идентичный потоку ИФИ реального наземного объекта, моделируют движение элемента тепловизионной системы наведения к масштабной модели реального наземного объекта с заданной скоростью, осуществляют управление нагревом масштабной модели реального наземного объекта по заданному закону изменения температуры синхронно с движением элемента тепловизионной системы наведения, создавая изменение потока ИФИ с учетом влияния атмосферы на маршруте наведения, регистрируют поток ИФИ от масштабной модели реального наземного объекта, оценивают работоспособность элемента тепловизионной системы наведения по принятому критерию.
Далее осуществление заявленного изобретения будет описано по ссылкам следующие на графические материалы:
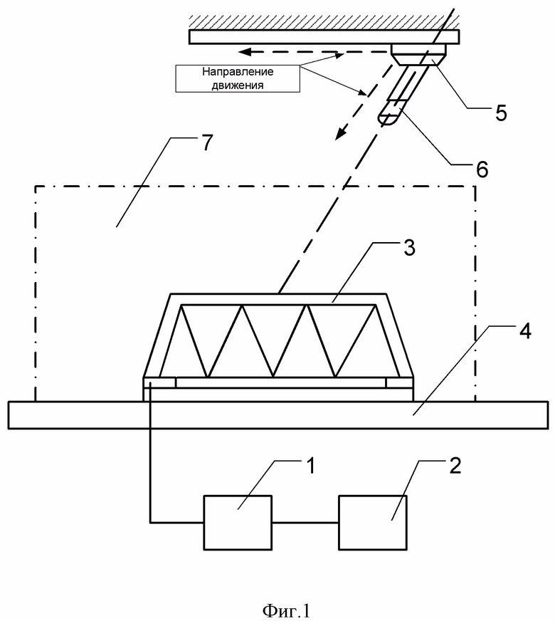
Фиг. 1. Структурная схема стенда полунатурного моделирования, посредством которого реализуется способ динамической имитации инфракрасного излучения наземных объектов, где 1 - интеллектуальный блок регулирования температуры, 2 - многоканальный источник питания, 3 - масштабная модель реального наземного объекта, в частности, модель моста с термоэлементами, 4 - подстилающая поверхность, 5 - вариосистема, 6 - элемент тепловизионной системы наведения, в частности, ТГСН, 7 - экран;
Фиг. 2. Структурная схема основных элементов стенда полунатурного моделирования, где 8 - банк наземных объектов с тепловыми портретами, 9 - блок трансформации теплового портрета наземного объекта в тепловой портрет масштабной модели реального наземного объекта, 10 - блок управления перемещения ТГСН к масштабной модели реального наземного объекта, 11 - блок сервисной аппаратуры ТГСН, 12 - блок автоматического распознавания масштабной модели реального наземного объекта, 13 - блок оценки работоспособности;
Фиг. 3. График изменения температуры масштабной модели реального наземного объекта, в частности, модели моста с термоэлементами, во время движения элемента тепловизионной системы наведения на маршруте.
Заявленный способ динамической имитации инфракрасного излучения наземных объектов осуществляется следующим образом (фиг. 1, фиг. 2).
Формируют банк наземных объектов с тепловыми портретами как целей наведения с тепловыми портретами в разных условиях применения посредством блока (9). Инфракрасное излучение реального наземного объекта имитируется инфракрасным излучением масштабной модели выбранного реального наземного объекта, при этом масштаб выбирают в соответствии с расстоянием конечного участка наведения и взаимного расположения масштабной модели реального наземного объекта и элемента тепловизионной системы наведения, располагаемые на стендовом оборудовании.
Банк наземных объектов включает в себя объекты разных классов их геометрические размеры и условия применения.
Тепловой портрет наземного объекта это фактическое распределение температур излучающей поверхности в принятых метеоусловиях. Это распределение может быть рассчитано, получено при натурных испытаниях или сгенерировано по результатам компьютерного моделирования.
Масштабная модель выбранного реального наземного объекта (3) представляет собой трехмерную конструкцию, геометрически подобную выбранному реальному наземному объекту, выполненную в масштабе 1:М с размещенными на всей излучающей поверхности нагревательными элементами с термодатчиками температур. При этом, обеспечивается равенство температур и степени черноты реального объекта и его масштабной модели в сходственных точках, чем достигается равенство удельного потока ИФИ от модели и от реального объекта.
Масштаб модели выбирается относительно полезного объема стенда. Линейный размер элементов масштабной модели не должен превышать уменьшенное в М раз предельное разрешение D элемента тепловизионной системы наведения (6) при съемке с расстояния L от начала наблюдения.
Величина D определяется из выражения:
- минимальный размер чувствительного элемента матрицы элемента тепловизионной системы наведения (6);
F - максимальное фокусное расстояние объектива элемента тепловизионной системы наведения (6). (см. патент RU 2278344 «Тепловой имитатор»).
В качестве нагревателей масштабной модели реального наземного объекта (3) могут использоваться унифицированные по форме и размерам термоэлементы, выполненные в виде печатных плат, у которых на поверхность с медными тоководами нанесено равномерное резистивное покрытие из графит-полимерной композиции, поверх которого нанесено диэлектрическое покрытие со степенью черноты, соответствующей реальному объекту.
В конструкцию модели (3) вводится коммутирующее устройство для соединения нагревательных элементов и подключения их к источнику питания. Термоэлементы объединяются в электрические цепочки, количество которых определяется в зависимости от количества температурных градиентов наземного объекта (О.А. Фомичева «Методика определения коэффициента теплопроводности», Известия ТулГУ. Технические науки. 2017. Вып. 11. ч. 2).
В ходе моделирования создают перемещение элемента тепловизионной системы наведения (6) к масштабной модели выбранного реального наземного объекта (3) по заданной траектории по линии визирования, при этом учитывается влияние атмосферы на трассе наведения на интенсивность потока излучения от масштабной модели (3) к элементу тепловизионной системы наведения (6), оценку работоспособности которого осуществляют в соответствии с принятыми критериями, например, по вероятности распознавания наблюдаемого наземного объекта.
Применение масштабной модели выбранного реального наземного объекта (3) позволяет выполнить динамическую имитацию ИФИ наземного объекта следующим образом.
При нагреве модели (3) до начальной температуры
от нее создается поток ИФИ равный
σ - постоянная Стефана-Больцмана;
ε - степень черноты модели;
- начальная температура элементов модели.
При прохождении атмосферной трассы длиной L, поток ИФИ
изменяется и к элементу тепловизионной системы наведения (6) приходит поток.
где k(L) - коэффициент влияния атмосферы.
Поток ИФИ
представим в виде:
где
- исходная температура модели, создающей поток ИФИ равный
, который приходит к элементу тепловизионной системы наведения (6) на расстоянии L.
Из (1-3) получаем выражение для расчета исходной температуры и ее изменения в виде:
Технология имитации ИФИ реального наземного объекта заключается в следующем.
Исходная температура модели равна
. Элемент тепловизионной системы наведения (6), расположенный на линии визирования на расстоянии S=L/M от модели (3), начинает движение со скоростью W=V/M, где V - скорость движения элемента тепловизионной системы наведения (6) в полете. Синхронно с движением элемента (6) к модели (3) обеспечивается изменение потока ИФИ от
в начале движения до
в конце движения изменением температуры модели в соответствии с формулой:
Масштабная модель реального наземного объекта (3) функционирует следующим образом.
В блок регулирования температуры (1) от многоканального источника питания (2) через коммутирующее устройство на модель моста с термоэлементами (3) подается необходимое для получения исходной температуры напряжение и обеспечивается изменение температуры изменением напряжения. Поток ИФИ от модели (3) поступает в элемент тепловизионной системы наведения (6).
Для имитации улучшения линейного разрешения элемента (6) при сближении с моделью (3) используется вариосистема (5) для инфракрасной области спектра излучения, выполненная аналогично, например, вариосистеме по патенту RU 177647.
Элемент тепловизионной системы наведения (6), применительно к заявленному изобретению, воспринимает поток ИФИ от модели (3), используя сервисный блок (11), передает его в блок автоматического распознавания цели (12). Выполненное распознавание в виде теплового портрета наземного объекта поступает в блок оценки работоспособности (12) элемента тепловизионной системы наведения (6), где оценивается качество распознавания по принятому критерию, например, по уровню вероятности распознавания цели.
Алгоритм распознавания может быть основан на методах искусственного интеллекта, когда необходима обширная база данных для обучения искусственных нейронных сетей (ИНС) и нахождению цели наведения (выборка может достигать 50000 и более образов (Князь В.Н., Горбацевич B.C. «Визуализация синтезированных структур инфракрасного диапазона для построения обучающей выборки глубокой сверточной нейронной сети» 26-я Международная конференция, Россия,2016 год), или основана на семантических принципах обнаружения, когда распознавание ведется по эталону одному или нескольких изображениям наземного объекта искомого класса или образу, фиксируемого ТГСН в полете (Моисеенко А.С., Визильтер Ю.В. Горбацевич B.C. «Семантическое обнаружение объектов на изображениях с использованием ГКНС», Моделирование авиационных систем, сборник тезисов и докладов III Всероссийской научно-технической конференции, Москва, 2018, С. 162).
По завершению испытания выбранного наземного объекта с имитацией потока ИФИ масштабной моделью (3), выбирается из банка (8) другой (другие) наземный объект и указанные выше действия проводятся с ним (ними) аналогичным вышеописанным способом.
Ниже приводится пример использования предлагаемого изобретения.
ТГСН совершает движение на участке конечного наведения длиной 2000 м со скоростью 500 м/с; линия визирования под углом 20 гр.
Наземный объект железнодорожный мост длиной 100 м.; наименьший линейный размер моста 750 мм.
Стендовое оборудование позволяет располагать ТГСН на расстоянии до 4 метров. Исходная температура моста 294 К (21°С). Коэффициент ослабления потока ИФИ на трассе наведения изменяется от 0.96 до 1. Определяем масштаб модели реального наземного объекта М=2000/4=500, следовательно, длина модели моста 20 см, линейный минимальный размер модели 1.5 мм.
При этом обеспечение движения ТГСН со скоростью 1 м/с синхронно с движением за 4 с. Температура модели изменяется от 21 до 34°С (фиг. 3).
| название | год | авторы | номер документа |
|---|---|---|---|
| СПОСОБ ИМИТАЦИИ ТЕПЛОВОГО КОНТРАСТА ОБЪЕКТА | 2014 |
|
RU2582560C1 |
| ТЕПЛОВОЙ ИМИТАТОР | 2017 |
|
RU2682355C1 |
| ИМИТАТОР ИНФРАКРАСНОГО ИЗЛУЧЕНИЯ МОДУЛЬНОГО ТИПА | 2022 |
|
RU2813248C2 |
| УСТРОЙСТВО ИМИТАЦИИ ТЕПЛОВОГО КОНТРАСТА ОБЪЕКТА | 2017 |
|
RU2666296C1 |
| Индивидуальный комплект многоспектральных технических средств маскировки подвижных военных объектов с адаптивной системой управления физическими параметрами | 2022 |
|
RU2791934C1 |
| Боеприпас-кассета для управляемого внезапного создания маски-помехи в зоне расположения маскируемого объекта | 2018 |
|
RU2702538C1 |
| ПОРТАТИВНЫЙ ЛОЖНЫЙ ОБЪЕКТ | 2023 |
|
RU2825772C1 |
| Самоходный макет военной техники | 2022 |
|
RU2794932C1 |
| СПОСОБ ЗАЩИТЫ МОБИЛЬНЫХ СРЕДСТВ ОТ РАДИО, РАДИОЛОКАЦИОННЫХ, ОПТИКОЭЛЕКТРОННЫХ СРЕДСТВ РАЗВЕДКИ И ПОРАЖЕНИЯ С ИСПОЛЬЗОВАНИЕМ КОМБИНИРОВАННЫХ ЛОЖНЫХ ЦЕЛЕЙ И УСТРОЙСТВО ДЛЯ ЕГО ОСУЩЕСТВЛЕНИЯ | 2009 |
|
RU2410710C2 |
| УСТРОЙСТВО ИМИТАЦИИ ИНФРАКРАСНОГО ИЗЛУЧЕНИЯ НАЗЕМНЫХ ОБЪЕКТОВ | 2013 |
|
RU2547759C1 |
Изобретение относится к области испытания тепловизионных систем и касается способа динамической имитации инфракрасного излучения наземных объектов. При осуществлении способа формируют банк наземных объектов с тепловыми портретами. Выбирают из банка требуемый наземный объект, выполняют масштабную модель выбранного реального наземного объекта в соответствии с расстоянием конечного участка наведения и взаимного расположения масштабной модели и элемента тепловизионной системы наведения, располагаемых на стендовом оборудовании. Нагревают масштабную модель для создания потока инфракрасного излучения (ИФИ), идентичного потоку ИФИ реального наземного объекта. Моделируют движение элемента тепловизионной системы наведения к масштабной модели с заданной скоростью и осуществляют управление нагревом масштабной модели по заданному закону изменения температуры синхронно с движением элемента тепловизионной системы наведения, создавая изменение потока ИФИ с учетом влияния атмосферы на маршруте наведения. Технический результат заключается в упрощении способа проведения испытаний тепловизионных систем. 3 ил.
Способ динамической имитации инфракрасного излучения наземных объектов, при котором формируют банк наземных объектов с тепловыми портретами, в соответствии с которыми осуществляют нагрев модели реального наземного объекта, отличающийся тем, что выбирают из указанного банка требуемый наземный объект, выполняют масштабную модель выбранного реального наземного объекта в соответствии с расстоянием конечного участка наведения и взаимного расположения масштабной модели реального наземного объекта и элемента тепловизионной системы наведения, располагаемые на стендовом оборудовании, посредством нагревания масштабной модели реального наземного объекта создают поток инфракрасного излучения (ИФИ), идентичный потоку ИФИ реального наземного объекта, моделируют движение элемента тепловизионной системы наведения к масштабной модели реального наземного объекта с заданной скоростью, осуществляют управление нагревом масштабной модели реального наземного объекта по заданному закону изменения температуры синхронно с движением элемента тепловизионной системы наведения, создавая изменение потока ИФИ с учетом влияния атмосферы на маршруте наведения, регистрируют поток ИФИ от масштабной модели реального наземного объекта, оценивают работоспособность элемента тепловизионной системы наведения по принятому критерию.
| ТЕПЛОВОЙ ИМИТАТОР | 2005 |
|
RU2278344C1 |
| СПОСОБ ИМИТАЦИИ ТЕПЛОВОГО КОНТРАСТА ОБЪЕКТА | 2014 |
|
RU2582560C1 |
| CN 104567546 A, 29.04.2015 | |||
| US 5949081 A1, 07.09.1999. | |||
Авторы
Даты
2025-03-18—Публикация
2023-10-19—Подача