Изобретение относится к испытательной технике, а именно к машинам для испытания неразрезных железобетонных ригелей при ударных нагрузках.
Экспериментальные испытания бетонных и железобетонных элементов на различные виды динамических нагрузок необходимы для определения свойств изготавливаемых, эксплуатируемых или перспективных строительных конструкций, проверки их расчетных характеристик и качества.
Из уровня техники известен стенд для испытания железобетонных неразрезных ригелей при статическом нагружении [1], включающий в себя установленные на силовом полу две опоры, на которых шарнирно установлены фрагменты колонн с консолями. На внутренние консоли опирается экспериментальный образец, а на внешние консоли - дополнительные фрагменты ригелей, через которые создаются опорные моменты. В опорных сечениях ригели привариваются к фрагментам колонн в соответствии с конструкцией узлов, при этом фрагменты ригелей, устанавливаемые консольно, приваривают несколько более прочными швами во избежание преждевременного их разрушения. В нижней части ригели приварены к консолям фланговыми швами, а в верхней части - при помощи монтажных планок с участком меньшего сечения, для ограничения величины возникающего опорного момента. Нагружение экспериментального образца создается в четырех точках через систему распределительных траверс и тяжей, закрепленных к силовому полу. Нагружение консольно установленных фрагментов ригелей создается в одной точке по аналогичной схеме. Сама нагрузка для всех точек создается гидравлическими домкратами и масляными станциями. При помощи стандартных приборов: прогибомеров, тензометров и мессур - регистрируют необходимые данные.
Недостатком стенда является то, что он не позволяет выполнить испытания железобетонных неразрезных ригелей при ударных нагрузках.
Наиболее близким по технической сущности (прототип) является стенд для испытания неразрезных железобетонных элементов на кратковременную динамическую нагрузку (патент RU №85229, опубл. 27.07.2009), содержащий смонтированные на силовом полу нагружающее устройство в виде копровой установки и опоры. Опоры смонтированы по обе стороны от копровой установки с возможностью горизонтального перемещения вдоль оси железобетонного элемента. На опорах установлены L-образные элементы. Вертикальная полка каждого L-образного элемента в нижней части имеет выступ. Выступы служат для размещения через металлические пластины концов железобетонного элемента. Концы железобетонного элемента жестко соединены с L-образными элементами с помощью анкерных тяжей. Горизонтальная полка L-образного элемента скошена к центру стенда. На железобетонном элементе через металлическую пластину установлена загрузочная траверса с силоизмерителем. На мачтах копровой установки закреплен ограничитель хода груза.
Однако на данном стенде нет возможности исследовать работу крайнего (с шарнирным опиранием с одной стороны) и среднего пролетов неразрезного железобетонного ригеля на кратковременную динамическую нагрузку при варьировании уровня существующего статического нагружения в соседнем пролете. Кроме того, нет возможности оценить влияние кратковременной динамической нагрузки на статически нагруженный пролет.
Новый технический результат, на достижение которого направлено предлагаемое техническое решение, заключается в создании нового технического решения, позволяющего проводить испытания двух пролетов неразрезного железобетонного ригеля на действие ударной и статической нагрузок с возможностью исследования влияния нагрузки в одном пролете на работу другого.
Применение неразрезных ригелей позволяет за счет формирования соединения двух пролетов значительно экономить на расходе арматуры, что приводит к удешевлению строительства. Однако в промышленных зданиях и сооружениях часто могут возникать динамические нагрузки штатного или аварийного характера (работа штамповочных станков или падения грузов и т. д). При возникновении динамической нагрузки на один пролет ригеля второй пролет неминуемо включается в работу, при этом он уже нагружен статической нагрузкой (собственный вес, полы, временные нагрузки от людей и оборудования). Уровень нагружения второго пролета влияет на возможность воспринимать динамическую нагрузку первым пролетом. Соответственно, исследования соотношения величины статической и динамической нагрузки в соседних пролетах позволит произвести оптимизацию армирования ригеля, что приведет к обозначенному выше экономическому эффекту.
Кроме того, обратное влияние динамической нагрузки в первом пролете на второй статически нагруженный пролет позволит расширить диапазон исследований статически нагруженного пролета по сравнению с возможностями, реализованными на известных из уровня техники стендов.
Технический результат достигается следующим образом.
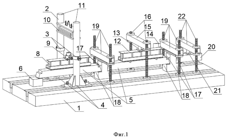
Стенд для испытания неразрезного ригеля на ударную нагрузку содержит силовой пол. На силовом полу жестко закреплена копровая установка, имеющая ограничители хода груза. Опоры копровой установки имеют возможность перемещения вдоль оси железобетонного элемента. На опоры устанавливается железобетонный элемент, а сверху него через металлические пластины уложена загрузочная траверса. По центру траверсы расположен силоизмеритель. Копровая установка содержит загружающее устройство в виде груза, закрепленного на вертикальных направляющих, с возможностью вертикального возвратно-поступательного перемещения, для создания ударной нагрузки на экспериментальный образец. В отличие от прототипа имеется второй пролет железобетонного элемента, в котором реализована возможность статического нагружения. Для этого по его центру расположена распределительная траверса с установленным на ней гидравлическим домкратом. Гидравлический домкрат подключен к масляной станции, верхней частью упирается в металлическую траверсу, жестко соединенную с силовым полом при помощи тяжей и гаек. Для создания жестких узлов арматура железобетонного образца пропущена через опоры, которые имеют консоли и соединены с силовым полом при помощи стягивающих элементов. Также имеется консольный выпуск железобетонного элемента с возможностью создания вертикальной нагрузки при помощи дополнительного домкрата и дополнительных стягивающих элементов.
Стенд для испытания неразрезного ригеля на ударную нагрузку (Фиг. 1) содержит силовой пол 1. На силовом полу 1 жестко закреплена копровая установка 2, имеющая ограничители хода груза 3. Опоры копровой установки 4 имеют возможность перемещения вдоль оси двухпролетного железобетонного элемента 5. На опоры 6 устанавливается железобетонный элемент 5, а сверху него через металлические пластины 7 уложена загрузочная траверса 8. По центру траверсы 8 расположен силоизмеритель 9. Копровая установка 2 содержит загружающее устройство в виде груза 10, закрепленного на вертикальных направляющих 11, с возможностью вертикального возвратно-поступательного перемещения, для создания ударной нагрузки на железобетонный элемент 5. Во втором пролете железобетонного элемента 5 реализована возможность статического нагружения. Для этого по его центру расположена распределительная траверса 12 с установленным на ней гидравлическим домкратом 13. Гидравлический домкрат 13 подключен к масляной станции 14, верхней частью упирается в металлическую траверсу 15, жестко соединенную с силовым полом 1 при помощи тяжей и гаек 16. Для создания жестких узлов арматура 17 железобетонного образца 5 пропущена через опоры 6, которые имеют консоли 18 и соединены с силовым полом 1 при помощи стягивающих элементов 19. Также имеется консольный выпуск 20 железобетонного элемента 5 с возможностью создания вертикальной нагрузки при помощи дополнительного домкрата 21 и дополнительных стягивающих элементов 22.
Таким образом, собранный стенд позволит проводить исследования в области оптимизации расхода арматуры в железобетонном элементе 5 при действии динамической и статической нагрузок в смежных пролетах.
Осуществление изобретения
Перед испытанием ограничители падения 3 груза выставляют на необходимую отметку по высоте, для ограничения перемещения груза 10 при испытании. Железобетонный элемент 5 и консольный выпуск 20 устанавливают на консоли 18 опор 6. Опоры 6, которые имеют консоли 18, соединяют с силовым полом 1 при помощи стягивающих элементов 19. Дополнительный домкрат 21 устанавливают на консольном выпуске 20 железобетонного элемента 5 и стягивают с силовым полом 1 при помощи дополнительных стягивающих элементов 22. Сверху на железобетонный элемент 5 через металлические пластины 7 укладывают загрузочную траверсу 8. По центру траверсы 8 располагают силоизмеритель 9. Во втором пролете железобетонного элемента 5, в котором реализована возможность статического нагружения, по его центру располагают распределительную траверсу 12 и на ней устанавливают гидравлический домкрат 13, подключенный к масляной станции 14. На гидравлический домкрат 13 устанавливают металлическую траверсу 15, притягивают металлическую траверсу 15 к силовому полу 1 при помощи тяжей и гаек 16. В консольном выпуске 20 железобетонного элемента 5 посредством дополнительного домкрата 21 создают необходимое статическое усилие. При помощи гидравлического домкрата 13 во втором пролете железобетонного элемента 5 создают необходимый уровень статического нагружения. На копровой установке 2 отпускают груз 10, тем самым создавая динамическое нагружение на железобетонный элемент 5. При помощи стандартного комплекса измерительного оборудования регистрируют и сохраняют необходимые данные.
Стенд для испытания неразрезного ригеля на ударную нагрузку можно многократно использовать при испытании железобетонных ригелей при действии ударных нагрузок. Рабочий диапазон скоростей падения груза на заявляемом стенде составляет 1…5 м/с. Масса падающего груза может варьироваться от 50 до 700 кг. Высота падения груза может составлять от 0,2 до 2,0 м. Статическое нагружение, создаваемое домкратами и масляными станциями, может составлять до 100 т в каждой точке приложения нагрузки.
Таким образом, предложенное техническое решение позволяет проводить испытания двух пролетов неразрезного железобетонного ригеля на действие ударной и статической нагрузок с возможностью исследования влияния нагрузки в одном пролете на работу другого.
| название | год | авторы | номер документа |
|---|---|---|---|
| СТЕНД ДЛЯ ИСПЫТАНИЯ ЖЕЛЕЗОБЕТОННЫХ ЭЛЕМЕНТОВ НА СОВМЕСТНОЕ КРАТКОВРЕМЕННОЕ ДИНАМИЧЕСКОЕ ВОЗДЕЙСТВИЕ ИЗГИБАЮЩЕГО И КРУТЯЩЕГО МОМЕНТОВ | 2014 |
|
RU2570231C1 |
| СТЕНД ДЛЯ ИСПЫТАНИЯ ЖЕЛЕЗОБЕТОННЫХ ЭЛЕМЕНТОВ НА ПРОДАВЛИВАНИЕ ПРИ КРАТКОВРЕМЕННОЙ ДИНАМИЧЕСКОЙ НАГРУЗКЕ | 2020 |
|
RU2726031C1 |
| Стенд для испытания плит железобетонного ребристого перекрытия при ударных нагрузках | 2023 |
|
RU2815614C1 |
| УСТРОЙСТВО ДЛЯ КОНТРОЛЯ ПРОЧНОСТИ ЖЕЛЕЗОБЕТОННЫХ КОНСТРУКЦИЙ | 2013 |
|
RU2527263C1 |
| СПОСОБ ИСПЫТАНИЯ СТРОИТЕЛЬНОЙ КОНСТРУКЦИИ ПРИ СВЕРХНОРМАТИВНОМ УДАРНОМ ВОЗДЕЙСТВИИ | 2018 |
|
RU2695590C1 |
| СТЕНД ДЛЯ ИСПЫТАНИЯ ЖЕЛЕЗОБЕТОННЫХ ЭЛЕМЕНТОВ НА КРАТКОВРЕМЕННОЕ ДИНАМИЧЕСКОЕ СЖАТИЕ | 2009 |
|
RU2401424C1 |
| СПОСОБ ИСПЫТАНИЯ СТРОИТЕЛЬНОЙ КОНСТРУКЦИИ НА ПОДАТЛИВЫХ ОПОРАХ С РАСПОРОМ ПРИ СВЕРХНОРМАТИВНОМ УДАРНОМ ВОЗДЕЙСТВИИ | 2018 |
|
RU2698517C1 |
| Способ статического испытания нагружением стенового кольца смотрового колодца | 2023 |
|
RU2820494C1 |
| Способ испытания строительной конструкции при сверхнормативном ударном воздействии | 2017 |
|
RU2645039C1 |
| СПОСОБ ЭКСПЕРИМЕНТАЛЬНОГО ОПРЕДЕЛЕНИЯ ДИНАМИЧЕСКИХ ДОГРУЖЕНИЙ В ЖЕЛЕЗОБЕТОННЫХ РАМНО-СТЕРЖНЕВЫХ СИСТЕМАХ ОТ ВНЕЗАПНОГО ВЫКЛЮЧЕНИЯ ЛИНЕЙНОЙ СВЯЗИ | 2013 |
|
RU2547887C1 |
Изобретение относится к испытательной технике, а именно к машинам для испытания неразрезных железобетонных ригелей при ударных нагрузках. Стенд для испытания содержит силовой пол, на котором жестко закреплена копровая установка и второй пролет железобетонного элемента с возможностью статического нагружения. Копровая установка имеет ограничители хода груза, опорные элементы с полками, на которых устанавливается железобетонный элемент, металлические пластины, загрузочную траверсу, силоизмеритель и загружающее устройство в виде груза. По центру стенда расположена распределительная траверса с установленным на ней гидравлическим домкратом, подключенным к масляной станции, который верхней частью упирается в металлическую траверсу, жестко соединенную с силовым полом при помощи тяжей и гаек. Достигается возможность проведения испытания двух пролетов неразрезного железобетонного ригеля на действие ударной и статической нагрузок с возможностью исследования влияния нагрузки в одном пролете на работу другого. 1 ил.
Стенд для испытания неразрезного ригеля на ударную нагрузку, содержащий силовой пол, на котором жестко закреплена копровая установка, имеющая ограничители хода груза и опорные элементы с полками с возможностью перемещения вдоль оси железобетонного элемента, на которых устанавливается железобетонный элемент, а сверху него через металлические пластины уложена загрузочная траверса, по центру которой расположен силоизмеритель; загружающее устройство в виде груза, закрепленного на вертикальных направляющих, с возможностью вертикального возвратно-поступательного перемещения, для создания ударной нагрузки на железобетонный элемент, отличающийся тем, что стенд для испытания неразрезного ригеля на ударную нагрузку содержит второй пролет железобетонного элемента с возможностью статического нагружения, для этого по его центру расположена распределительная траверса с установленным на ней гидравлическим домкратом, подключенным к масляной станции, который верхней частью упирается в металлическую траверсу, жестко соединенную с силовым полом при помощи тяжей и гаек, а для создания жестких узлов арматура железобетонного образца пропущена через опоры, которые имеют консоли и соединены с силовым полом при помощи стягивающих элементов, а также имеется консольный выпуск железобетонного элемента с возможностью создания вертикальной нагрузки при помощи дополнительного домкрата и дополнительных стягивающих элементов.
| СПОСОБ ИСПЫТАНИЯ СТРОИТЕЛЬНОЙ КОНСТРУКЦИИ НА ПОДАТЛИВЫХ ОПОРАХ С РАСПОРОМ ПРИ СВЕРХНОРМАТИВНОМ УДАРНОМ ВОЗДЕЙСТВИИ | 2018 |
|
RU2698517C1 |
| Способ испытания строительной конструкции при сверхнормативном ударном воздействии | 2017 |
|
RU2645039C1 |
| 0 |
|
SU158496A1 | |
| CN 103776685 A, 07.05.2014 | |||
| СТЕНД ДЛЯ ИСПЫТАНИЯ ЖЕЛЕЗОБЕТОННЫХ ЭЛЕМЕНТОВ НА ПРОДАВЛИВАНИЕ ПРИ КРАТКОВРЕМЕННОЙ ДИНАМИЧЕСКОЙ НАГРУЗКЕ | 2020 |
|
RU2726031C1 |
Авторы
Даты
2025-03-20—Публикация
2024-06-11—Подача