Изобретение относится к области радиофотоники, и может быть использовано при конструировании устройств возбуждения антенн и активных фазированных антенных решеток для связи, радиолокации и радионавигации.
Задачей при разработке приемо-передающих трактов радиофотонных систем является увеличение коэффициента полезного действия (КПД), мощности и быстродействия таких систем. В большинстве радиофотонных устройств осуществляется фотоэлектрическое преобразование подводимого по оптоволокну модулированного оптического (лазерного) сигнала в электрический сигнал.
Увеличение мощности и коэффициента полезного действия (КПД) фотоэлектрических оптоволоконных модулей достигается путем снижения оптических, рекомбинационных и омических потерь в фотодиоде. Основной причиной оптических потерь в фотодиодах является «затенение» фоточувствительной поверхности фотодиода контактной сеткой, формируемой для уменьшения омических (контактных) потерь и для увеличения мощности фотодиода. Другой важной причиной оптических и рекомбинационных потерь в фотодиодах является рекомбинация генерированных электронно-дырочных пар до их разделения полем р-n перехода. Решению проблем снижения оптических, рекомбинационных и омических потерь и повышения КПД посвящено настоящее техническое решение.
Известен фотоэлектрический оптоволоконный модуль (см. US 20210194586, МПК Н04В 10/2575, опубл. 24.06.2021), включающий источник лазерного излучения, подводимого по оптоволокну, электрооптический модулятор, соединенный волноводом с источником оптического излучения и с радиочастотным источником, причем электрооптический модулятор содержит первый кольцевой резонаторный модулятор и второй кольцевой резонаторный модулятор, маломощный фотодиод, преобразующий промодулированный оптический сигнал в высокочастотный электрический сигнал, подаваемый на радиочастотный выход.
Недостатками известного модуля являются низкая мощность, менее одного мВт и низкий КПД.
Известен фотоэлектрический оптоволоконный модуль (см. US 20060140644, МПК Н04В 10/04, опубл. 29.06.2006), состоящий из фотодиода, оптоволокна и антенны, в котором реализован вариант преобразования промодулированного оптического сигнала в высокочастотный электрический сигнал с помощью фотодиода с последующей передачей сигнала в антенну за счет фотоэлектрического преобразования модулированного оптического сигнала и передачи сигнала по оптоволокну на фотодиод и на антенну.
Недостатками известного модуля являются низкие эффективность и мощность (1 мВт) устройства возбуждения, которая ограничивается низкой мощностью фотодиода, что ведет к потере мощности генерируемого антенной сигнала.
Известен фотоэлектрический оптоволоконный модуль (см. RU 2670719, МПК H04D 10/25, G02B 6/42, опубл. 24.10.2018), включающий симметричный оптоволоконный разветвитель, в первичное оптоволокно которого вводят импульсы оптического излучения. Длина вторичных оптоволокон разветвителя установлена отличающейся не более чем на 3 мм, каждое из вторичных оптоволокон оптически стыковано с фотодиодом. При оптимальной мощности входной оптический импульс подается на фоточувствительную поверхность каждого фотодиода. Последовательное соединение фотодиодов (в количестве N) позволяет увеличить в N - раз выходное сопротивление, что дает возможность согласовать фотоэлектрический модуль с нагрузкой.
Недостатками известного модуля являются низкие мощность и эффективность, вследствие использования оптических разветвителей, вносящих существенные оптические потери.
Известен фотоэлектрический оптоволоконный модуль (см. CN 206117559, МПК H01S 01/00, опубл. 19.04.2017), включающий лазерные излучатели с различной длиной волны, оптическую систему ввода излучения в оптоволокна и многопереходный фотоэлектрический преобразователь лазерного излучения.
Недостатком известного модуля является необходимость подстройки мощности лазерных излучателей для получения одинаковых токов в каждом р-n переходе многопереходного фотоэлектрического преобразователя, что приводит к низкой эффективности модуля.
Известен фотоэлектрический оптоволоконный модуль (см. US 2006140644, МПК Н04В 10/04, опубл. 29.06.2006), совпадающий с настоящим техническим решением по наибольшему числу существенных признаков и принятый за прототип. Фотоэлектрический оптоволоконный модуль-прототип включает оптоволокно для ввода лазерного излучения и фотодиод - фотоэлектрический преобразователь лазерного излучения, выполненный на основе полупроводниковой гетероструктуры.
Недостатками известного фотоэлектрического оптоволоконного модуля-прототипа являются небольшая эффективность и мощность (1 мВт) модуля, которые ограничиваются малой мощностью и низкой эффективностью фотодиода.
Задачей настоящего изобретения является разработка фотоэлектрического оптоволоконного модуля с повышенной выходной мощностью и высокой эффективностью.
Поставленная задача достигается тем, что фотоэлектрический оптоволоконный модуль включает оптоволокно и полупроводниковый гетероструктурный фотодиод, включающий узкозонный фотоактивный слой, заключенный между двумя широкозонными слоями, противоположного n- и р-типа проводимости, с омическими контактами к фронтальному и тыльному широкозонным слоям и с антиотражающим покрытием на фронтальной поверхности гетероструктуры. Новым является то, что на тыльной поверхности гетероструктуры выполнены последовательно слой диэлектрика с показателем преломления n<1,4 и слой металла с коэффициентом отражения более 96%, фотодиод выполнен в виде основного цилиндра с осью, являющейся продолжением оси оптоволокна, с основаниями, параллельными плоскостям слоев гетероструктуры, и с двумя выступами, выполненными в виде частей дополнительных цилиндров, примыкающих к противоположным сторонам цилиндрической поверхности основного цилиндра, при этом оси цилиндрических поверхностей выступов выполнены параллельными оси основного цилиндра и расположены на цилиндрической поверхности основного цилиндра, причем площадь поперечного сечения основного цилиндра установлена превышающей в 20-50 раз суммарную площадь поперечных сечений упомянутых выступов, тыльные основания выступов выполнены расположенными в одной плоскости с тыльным основанием основного цилиндра, при этом фронтальная поверхность одного из выступов установлена в одной плоскости с фронтальной поверхностью гетероструктуры, а фронтальная поверхность другого выступа выполнена примыкающей к тыльному широкозонному слою гетероструктуры, омические контакты выполнены на фронтальных поверхностях выступов, при этом диаметр D основного цилиндра установлен равным D=d+2h⋅NA, где d - диаметр оптоволокна, h - расстояние от края торца оптоволокна до ближайшего к нему края фронтальной фоточувствительной поверхности гетероструктуры, NA -числовая апертура оптоволокна.
Техническим результатом, обеспечиваемым совокупностью существенных признаков фотоэлектрического оптоволоконного модуля, является создание фотоэлектрического оптоволоконного модуля с увеличенной выходной электрической мощностью и увеличенной эффективностью модуля, благодаря снижению оптических и рекомбинационных потерь.
Сущность изобретения поясняется чертежами, где:
на фиг. 1 показано схематическое изображение фотоэлектрического оптоволоконного модуля (1 - оптоволокно; 2 - полупроводниковый гетероструктурный фотодиод: 3 - фронтальный широкозонный слой; 4 - узкозонный фотоактивный слой; 5 - тыльный широкозонный слой; 6, 7 - омические контакты; 8 - антиотражающее покрытие; 9 - фронтальная поверхность гетероструктуры фотодиода 2; 10 - тыльная поверхность гетероструктуры фотодиода 2; 11 - слой диэлектрика; 12 - слой металла; 13 - оптическая ось оптоволокна 1 и модуля; 14 - фронтальное основание основного цилиндра фотодиода 2; 15 - тыльное основание основного цилиндра фотодиода 2; 16, 17 - оси цилиндрических поверхностей; 18, 19 - тыльные основания; 20, 21 -фронтальные поверхности выступов 22, 23).
На фиг. 2 приведен вид сверху со стороны оптоволокна (22, 23 - выступы, 16, 17 - оси выступов).
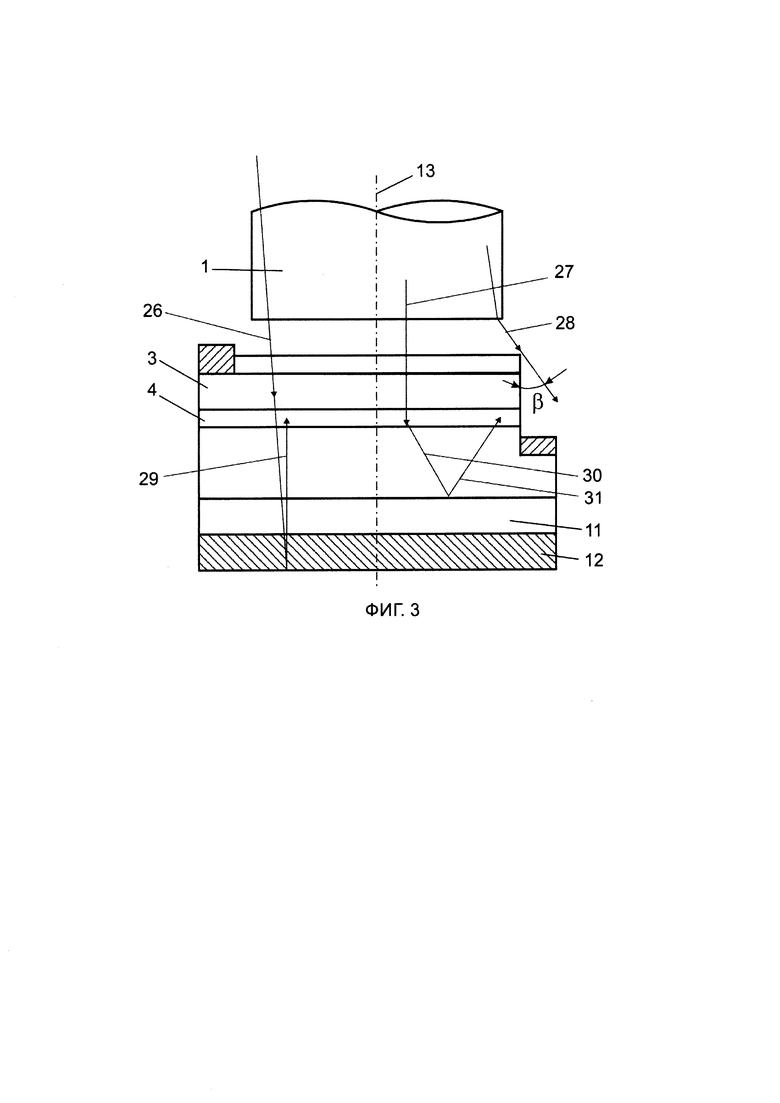
На фиг. 3 показана схема работы фотоэлектрического модуля (26, 27, 28 - лучи лазерного излучения, подводимого по оптоволокну 1; 29 - лазерный луч отраженный от тыльного слоя 12 металла; 30 - рекомбинационное излучение генерированное в узкозонном слое 4; 31 - рекомбинационное излучение отраженное от слоя диэлектрика 11 и поглощенное в узкозонном слое 4).
Фотоэлектрический оптоволоконный модуль включает оптоволокно 1 (фиг. 1) и полупроводниковый гетероструктурный фотодиод 2, включающий узкозонный фотоактивный слой 4, заключенный между двумя широкозонными слоями 3, 5 противоположного n - и р - типа проводимости с омическими контактами 6, 7 соответственно к фронтальному и тыльному широкозонным слоям 3, 5 и с антиотражающим покрытием 8 на фронтальной поверхности 9 гетероструктуры фотодиода 2. Модуль отличается тем, что на тыльной поверхности 10 гетероструктуры фотодиода 2 выполнены последовательно слой 11 диэлектрика с показателем преломления n<1,4 и слой 12 металла с коэффициентом отражения более 96%. Нанесение двух слоев 11, 12 (диэлектрик + металл) обеспечивает высокоэффективное отражение лазерного и рекомбинационного излучения. Непоглощенное в узкозонном слое 4 излучение 27 (фиг. 3) эффективно (с коэффициентом более 96%) отражается (луч 29) от слоя 12 металла и поглощается в узкозонном слое 4, увеличивая фототок и КПД фотодиода 2. Рекомбинационное излучение, генерированное в узкозонном слое 4, распространяется изотропно (равномерно во всех направлениях). Это излучение эффективно отражается от комбинированного (диэлектрик + металл) тыльного зеркала. При этом основная часть излучения распространяется к тыльной поверхности под углами, большими угла полного внутреннего отражения границы полупроводника с диэлектриком.
Фотодиод 2 выполнен в виде основного цилиндра с осью являющейся продолжением оптической оси 13 оптоволокна 1, с основаниями 14,15 цилиндра, параллельными плоскостям слоев гетероструктуры фотодиода 2 и с двумя выступами 22, 23 (фиг. 2), выполненными в виде частей дополнительных цилиндров, примыкающих к противоположным сторонам поверхности основного цилиндра фотодиода 2. Выполнение фотодиода 2 в виде основного цилиндра и двух выступов 22, 23 обеспечивает пространственное разнесение фотоактивной части фотодиода 2 (в основном цилиндре) и областей омических контактов (на двух выступах 22, 23), что существенно снижает оптические потери на контактах и увеличивает КПД модуля.
Оси 16, 17 цилиндрических поверхностей выступов 22, 23 параллельны оси 13 основного цилиндра фотодиода 2 и расположены на цилиндрической поверхности основного цилиндра фотодиода 2. Площадь поперечного сечения основного цилиндра фотодиода 2 установлена превышающей в 20-50 раз суммарную площадь поперечных сечений выступов 22, 23. Этот отличительный признак обеспечивает уменьшение до (2-5)% доли изотропного рекомбинационного излучения, попадающего в выступы 22, 23, характеризующиеся высокой вероятностью поглощения излучения в подконтактных слоях, омических контактов 6, 7, выполненных на фронтальных поверхностях выступов 22, 23. В результате, данное техническое решение обеспечивает снижение потерь рекомбинационного излучения на контактах, что в свою очередь увеличивает КПД и мощность модуля.
Тыльные основания 18, 19 выступов 22, 23 расположены в одной плоскости с тыльным основанием 15 основного цилиндра фотодиода 2, при этом фронтальная поверхность 20 одного из выступов 22 установлена в одной плоскости с фронтальной поверхностью 9 гетероструктуры фотодиода 2, а фронтальная поверхность 21 другого выступа 23 выполнена примыкающей к торцу тыльного широкозонного слоя 5 гетероструктуры. Омические контакты 6, 7 выполнены на фронтальных поверхностях 20, 21 выступов 22, 23. Расположение тыльных оснований выступов 22, 23 в одной плоскости с тыльным основанием основного цилиндра фотодиода 2 упрощает технологию изготовления фотодиода 2, так как в этом случае не требуется проведение фотолитографического процесса на тыльной поверхности гетероструктуры фотодиода 2. Формирование фронтальной поверхности выступов 22 на одной плоскости с фронтальной поверхностью 9 гетероструктуры фотодиода 2 обеспечивает омический контакт к фронтальному широкозонному слою 3. Выполнение фронтальной поверхности другого выступа 23, примыкающей к торцу тыльного широкозонного слоя гетероструктуры фотодиода 2 обеспечивает омический контакт к тыльному широкозонному слою 5 после нанесения омического контакта на фронтальную поверхность выступа 23.
Диаметр D основного цилиндра установлен равным D=d+2h⋅NA, где d -диаметр оптоволокна 1, h - расстояние от края торца оптоволокна 1 до ближайшего к нему края фронтальной фоточувствительной поверхности 9 фотодиода 2, NA - числовая апертура оптоволокна 1. Лазерные лучи, выходящие из оптоволокна 1, имеют расходимость β (фиг. 3), определяемую величиной числовой апертуры NA: β=arcsinNA. Для полного захвата излучения фоточувствительной (фронтальной) поверхностью 9 фотодиода 2 необходимо, чтобы диаметр D этой поверхности был равен D=d+2h⋅sinβ=d+2h⋅NA. Увеличение диаметра D фотодиода не приводит к увеличению фототока, но будет приводить к нежелательному увеличению площади фотодиода 2 и, как следствие этого, к увеличению емкости и снижению быстродействия фотодиода 2 и модуля в целом.
Работает модуль следующим образом (фиг. 3). Лазерные лучи 26, 27 с энергией квантов более ширины запрещенной зоны узкозонного слоя 4, но менее ширины запрещенной зоны широкозонного слоя 3 подводятся по оптоволокну 1 к фотодиоду 2, проходят без поглощения через фронтальный широкозонный слой 3 к узкозонному слою 4 и почти полностью (≥90%) поглощаются в нем, генерируя фототок. Часть лучей 26 проходит без поглощения сквозь узкозонный слой 4 и тыльный широкозонный слой 5, а также сквозь тыльный диэлектрический слой 11 и отражаются от металлического слоя 12 с коэффициентом отражения более 96%. Отраженные лучи 29 почти полностью (>90%) поглощаются в узкозонном слое 4. В результате, тыльное металлическое зеркало обеспечивает увеличение до 99% эффективность поглощения в узкозонном слое 4 лазерного излучения, увеличивая фототок фотодиода 2 и КПД модуля. Поглощаемое в узкозонном слое 4 излучение 27 генерирует электронно-дырочные пары, которые почти полностью, (>90%) разделяются полем р-n перехода, давая вклад в фототок фотодиода 2. Не разделенные электронно-дырочные пары рекомбинируют, генерируя рекомбинационное излучение 30, распространяющееся во всех направлениях. При этом 50% рекомбинационного излучения распространяется к фронтальной поверхности. Большая часть (>90%) рекомбинационного излучения отражается от фронтальной поверхности фотодиода и поглощается. Другая половина рекомбинационного излучения 30, генерируемого в узкозонной слое 4, распространяется к тыльной поверхности 10 фотодиода 2 и почти полностью отражается от комбинированного (диэлектрик + металл) зеркала, и значительная часть этого излучения 31 поглощается в узкозонном слое 4, давая вклад в фототок фотодиода 2. В результате, оптические потери рекомбинационного излучения в предлагаемой конструкции фотодиода 2 значительно снижены благодаря созданию тыльного зеркала и пространственному разнесению области генерации излучения в основном цилиндрическом объеме фотодиода 2 и контактных областей в выступах 22, 23 с площадью контактов, составляющей 2-5% от площади основания основного цилиндра фотодиода 2 (т.е. в 20-50 раз меньшей суммарной площади контактов).
Пример. Был изготовлен фотоэлектрический оптоволоконный модуль, включающий оптоволокно с диаметром равным 200 мкм, числовой апертурой NA=0,2, и фотодиод в виде основного цилиндра с диаметром 240 мкм. Фотодиод выполнен на основе гетероструктуры с активной областью из GaAs, заключенной между двумя широкозонными слоями из p-Al0.15Ga0.85As (фронтальный слой) и n-Al0.15Ga0.85As (тыльный слой). На фронтальной поверхности гетероструктуры было выполнено антиотражающее покрытие из TiO/SiO, на тыльной поверхности был выполнен слой диэлектрика MgF2 и слой серебра. Слой MgF2 имел показатель преломления n=1,38. Слой серебра имел коэффициент отражения Kотр=97%. На боковых противоположных цилиндрических поверхностях были выполнены выступы в виде частей цилиндров с диаметром 40 мкм. На фронтальных поверхностях выступов были изготовлены омические контакты - один контакт к фронтальному широкозонному слою, а другой контакт к тыльному широкозонному слою. Фотодиод имел КПД = 62% при пиковой выходной мощности Р = 40 мВт, что превышает параметры известных аналогов.
| название | год | авторы | номер документа |
|---|---|---|---|
| ФОТОДЕТЕКТОРНЫЙ МОДУЛЬ | 2024 |
|
RU2841361C1 |
| РАДИОФОТОННОЕ ФОТОЭЛЕКТРИЧЕСКОЕ УСТРОЙСТВО | 2024 |
|
RU2823170C1 |
| ФОТОЭЛЕКТРИЧЕСКИЙ ПРЕОБРАЗОВАТЕЛЬ | 2023 |
|
RU2805290C1 |
| ФОТОЭЛЕКТРИЧЕСКИЙ ПРЕОБРАЗОВАТЕЛЬ УЗКОПОЛОСНОГО ИЗЛУЧЕНИЯ | 2023 |
|
RU2802547C1 |
| ФОТОДЕТЕКТОР ЛАЗЕРНОГО ИЗЛУЧЕНИЯ | 2023 |
|
RU2806342C1 |
| СПОСОБ ИЗГОТОВЛЕНИЯ ФОТОДЕТЕКТОРОВ МОЩНОГО ОПТОВОЛОКОННОГО СВЧ МОДУЛЯ | 2018 |
|
RU2675408C1 |
| ОПТОВОЛОКОННЫЙ ФОТОЭЛЕКТРИЧЕСКИЙ СВЧ МОДУЛЬ | 2018 |
|
RU2670719C9 |
| ФОТОЭЛЕКТРИЧЕСКИЙ ПРЕОБРАЗОВАТЕЛЬ | 2015 |
|
RU2605839C2 |
| ОПТОВОЛОКОННЫЙ ФОТОЭЛЕКТРИЧЕСКИЙ ПРЕОБРАЗОВАТЕЛЬ ЛАЗЕРНОГО ИЗЛУЧЕНИЯ | 2018 |
|
RU2696355C1 |
| СПОСОБ ИЗГОТОВЛЕНИЯ ФОТОПРЕОБРАЗОВАТЕЛЯ | 2019 |
|
RU2721161C1 |
Изобретение относится к области радиофотоники и может быть использовано при конструировании устройств возбуждения антенн и активных фазированных антенных решеток для связи, радиолокации и радионавигации. Сущность: фотоэлектрический оптоволоконный модуль включает оптоволокно и полупроводниковый гетероструктурный фотодиод, включающий узкозонный фотоактивный слой, заключенный между двумя широкозонными слоями. На тыльной поверхности гетероструктуры выполнены слой диэлектрика с показателем преломления <1,4 и слой металла с коэффициентом отражения более 96%. Фотодиод выполнен в виде основного цилиндра с двумя выступами, выполненными в виде частей дополнительных цилиндров. Площадь поперечного сечения основного цилиндра установлена превышающей в 20-50 раз суммарную площадь поперечных сечений выступов. При этом фронтальная поверхность одного из выступов установлена в одной плоскости с фронтальной поверхностью гетероструктуры, а фронтальная поверхность другого выступа выполнена примыкающей к торцу тыльного широкозонного слоя гетероструктуры. Омические контакты выполнены на фронтальных поверхностях выступов. КПД модуля составил 62% при выходной мощности 40 мВт. Технический результат: увеличение выходной электрической мощности и эффективности модуля за счет снижения оптических и рекомбинационных потерь. 3 ил.
Фотоэлектрический оптоволоконный модуль, включающий оптоволокно и полупроводниковый гетероструктурный фотодиод, включающий узкозонный фотоактивный слой, заключенный между двумя широкозонными слоями, противоположного n- и р-типа проводимости, с омическими контактами к фронтальному и тыльному широкозонным слоям и с антиотражающим покрытием на фронтальной поверхности гетероструктуры, отличающийся тем, что на тыльной поверхности гетероструктуры выполнены последовательно слой диэлектрика с показателем преломления <1,4 и слой металла с коэффициентом отражения более 96%, фотодиод выполнен в виде основного цилиндра с осью, являющейся продолжением оптической оси оптоволокна, с основаниями, параллельными плоскостям гетероструктуры, и с двумя выступами, выполненными в виде частей дополнительных цилиндров, примыкающих к противоположным сторонам цилиндрической поверхности основного цилиндра, при этом оси цилиндрических поверхностей выступов выполнены параллельными оси основного цилиндра и расположены на цилиндрической поверхности основного цилиндра, причем площадь поперечного сечения основного цилиндра установлена превышающей в 20-50 раз суммарную площадь поперечных сечений выступов, тыльные основания выступов выполнены расположенными в одной плоскости с тыльным основанием основного цилиндра, фронтальная поверхность одного из выступов установлена в одной плоскости с фронтальной поверхностью гетероструктуры, а фронтальная поверхность другого выступа выполнена примыкающей к торцу тыльного широкозонного слоя гетероструктуры, омические контакты выполнены на фронтальных поверхностях выступов, при этом диаметр D базового цилиндра установлен D=d+2h⋅NA, где d - диаметр оптоволокна, h - расстояние от края торца оптоволокна до ближайшего к нему края фронтальной фоточувствительной поверхности фотодиода, NA - числовая апертура оптоволокна.
| ОПТОВОЛОКОННЫЙ ФОТОЭЛЕКТРИЧЕСКИЙ СВЧ МОДУЛЬ | 2018 |
|
RU2670719C9 |
| ФОТОДЕТЕКТОРНЫЙ СВЧ МОДУЛЬ | 2018 |
|
RU2675409C1 |
| ПОЛУПРОВОДНИКОВЫЙ ОПТОЭЛЕКТРОННЫЙ ПРИБОР | 1990 |
|
RU2032965C1 |
| US 20060140644 A1, 29.06.2006 | |||
| JP 11231176 A, 27.08.1999 | |||
| CN 105978445 B, 15.12.2017. | |||
Авторы
Даты
2025-04-03—Публикация
2024-11-08—Подача