Область техники
Заявляемое изобретение относится к области сельскохозяйственного оборудования и может быть использовано для механической сортировки сыпучих материалов по размеру частиц, например, в полевых хозяйствах для формирования оптимального водного и воздушного режимов, необходимых для роста и развития сельскохозяйственных культур или лабораторных условиях при проведении исследований, связанных с почвенной эрозией.
Уровень техники
В настоящее время в связи с учащением экстремальных климатических явлений в сельском хозяйстве происходит деградация почвенного покрова, что вызывает необходимость активного применения гуминовых и полимерных почвенных мелиорантов, формирующих эрозионно-устойчивую структуру и улучшающих агрофизические свойства почв. Такие синтетические или натуральные продукты - мелиоранты-модификаторы вносят в почву методом дождевания. При высыхании синтетические полимеры образуют водопрочную почвенную корку 3-5 мм, а при применении гуминовых препаратов образуются укрупнённые почвенные агрегаты на глубину 35-40 мм. Благоприятный водный и воздушный режимы для растений и почвенной биоты почва приобретает после разрушения почвенной корки, а также укрупнённых почвенных агрегатов и послойного их нанесения на почву где более крупные агрегаты накрываются мелкими. Заявляемое устройство обеспечивает разделение почвы на разноразмерные структурные единицы и формирует оптимальный слой почвы с агрономически ценной структурой.
Среди устройств аналогичного назначения широко известны и распространены грохоты, разделяющие сыпучие материалы по фракциям. Так, известен вибрационный плоский грохот: SU 99929 A1 (Вибрационный плоский грохот с резиновыми шарами, наносящими удары по ситу); вибрационный грохот SU 39711 A1 (в индукционных ситах колебания получаются при помощи электровибратора, приводимого в колебание переменным магнитным потоком индукционной катушки.).
Указанные решения разработаны достаточно давно и характеризуются следующими недостатками: грохоты работают стационарно и выполняют, как правило, одну операцию разделения сыпучего материала на фракции, между тем, как в технологическом процессе фракционирования необходимо произвести ряд сопутствующих операций: таких как доставка сыпучих материалов, постоянная загрузка грохота, отправка полученных фракций для использования.
Техническая проблема, решаемая посредством заявляемого изобретения, заключается в необходимости преодоления недостатков, присущих приведённым выше аналогам за счёт создания устройства, обеспечивающего комплексную обработку почвы после внесения в нее мелиорантов заявляемым способом.
Краткое раскрытие сущности изобретения
Технический результат, достигаемый при использовании заявляемого изобретения, заключается в обеспечении формирования многослойной водопрочной почвенной структуры с уменьшающимся размером почвенных агрегатов от нижнего слоя к верхнему, что способствует улучшению водного и воздушного режимов для выращивания сельскохозяйственных растений и, как следствие, выражается в последующем увеличении урожайности. Такое перераспределение почвенной массы после внесения удобрений способствует повышению эффективности их воздействия.
Заявляемый технический результат достигается в результате применения способа обработки предварительно удобренной мелиорантами (модифицированной) почвы, включающего
- снятие верхнего слоя почвы вместе с почвенной коркой, сформировавшейся в результате обработки почвы мелиорантами,
- измельчение снятого слоя в грохоте с разрушением почвенной корки и фракционированием полученных почвенных агрегатов по размеру по меньшей мере, на две группы,
- послойное нанесение переработанного почвенного слоя на почву в порядке уменьшения размеров фракции.
Технический результат достигается также в за счет использования устройства для обработки почвы вышеуказанным способом по 1 формулы изобретения, которое включает выполненный с возможностью монтажа к колесному транспортному средству объемный рамный каркас, в верхней части которого расположен почвоприемник, обеспечивающий первичное дробление поступившей в него почвы, и редуктор, соединенный с колесным транспортным средством и обеспечивающий вращение всех механизмов устройства, а в нижней части последовательно, по направлению движения устройства установлен каток, обеспечивающий прорезание верхнего слоя почвы, транспортер, обеспечивающий захват верхнего слоя почвы и доставку его в почвоприемник, под которым размещен грохот, обеспечивающий фракционирование измельченной в почвоприемнике почвы и последовательное с уменьшением размера фракции ссыпание почвы на поверхность земли. Каток представляет собой цилиндр, выполненный из параллельно размещенных металлических прутьев, закрепленных к перпендикулярно ориентированным металлическим дискам, обеспечивающим прорезание почвенной поверхности при вращении катка. Транспортер включает приводной механизм, состоящий из взаимодействующих ведущих и ведомых звездочек и замкнутую пластинчатую цепь, сопряженную с совками, натянутую на звёздочки приводного механизма и движущуюся в процессе работы устройства со скоростью 45 – 50 м/мин. Почвоприемник включает два установленных с зазором и соединенных зубчатой передачей и вращающихся в процессе работы устройства навстречу друг другу с разной скоростью валка с щетиной из упругой проволоки. Грохот выполнен из ступенчато расположенных перфорированных панелей с фартуками, установленных с возможностью вибрации, при этом размер перфорации панелей уменьшается от верхней панели к нижней.
Заявляемое устройство агрегатируется с трактором и обеспечивает при реализации способа
- снятие верхнего слоя почвы вместе с почвенной коркой, сформировавшейся в результате обработки почвы мелиорантами,
- подачу снятого слоя в грохот, где корка разрушается, почвенные агрегаты разделяются на фракции,
- послойное нанесение разрушенного почвенного слоя на почву в порядке уменьшения размеров почвенных агрегатов.
Таким образом, заявляемое устройство, разработанное на кафедре эрозии и охраны почв факультета почвоведения МГУ имени М. В. Ломоносова обеспечивает выполнение всех операций технологического процесса формирования водопрочной структуры агрегатного состава почвенного слоя, улучшающего водный и воздушный режимы для сельскохозяйственных растений. Заявляемый агрегат выполняет вспомогательные (срезание почвенного слоя, измельчение) и основную (послойное нанесение почвы) операции одновременно.
Краткое описание чертежей
Заявляемое изобретение поясняется следующими чертежами, где
на Фиг.1 представлено схематичное изображение устройства (вид сбоку),
на Фиг.2 представлено схематичное изображение цепных приводов механизмов заявляемого устройства,
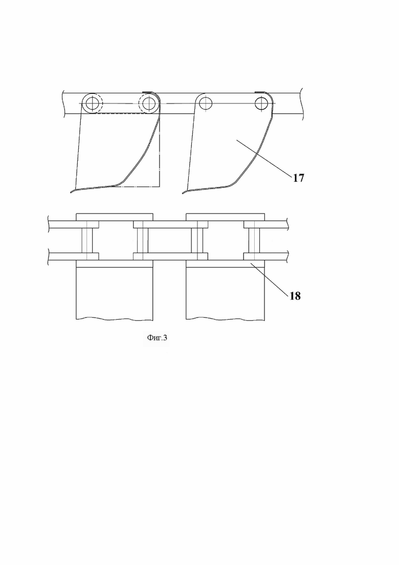
на Фиг.3 представлено схематичное изображение фрагментов транспортёра,
на Фиг.4 представлено схематичное изображение грохота.
Позициями на чертежах обозначены:
1 - Каток;
2 - Транспортёр;
3 - Ведомая звёздочка транспортёра;
4 - Кулачковая муфта;
5 - Тележка;
6 - Каркас агрегата;
7 - Грохот;
8 - Валки;
9 - Ведущая звёздочка транспортёра;
10, 11, 12 - корректирующие звёздочки транспортёра;
13 - цепной привод транспортёра;
14 - редуктор;
15 - зубчатая передача;
16 - цепной привод валков;
17 - совок;
18 - торцевая пластина совка;
19 - пружина;
20 - соединители;
21 - перфорированная панель грохота;
22 - фартук грохота.
Осуществление изобретения
Заявляемое устройство может быть установлено на четырёхколёсную прицепную тележку 5. Тележка имеет проём, в котором размещают заявляемое устройство с возможностью поворота вокруг шарнира, соединяющего заднюю часть основания каркаса 6 с кронштейном тележки. В передней части устройства находятся гидроцилиндры, которые переводят его из рабочего положения в транспортное (не показаны). Устройство имеет объёмный каркас трубчатой конструкции, геометрически напоминающий призму. Основание каркаса образует рама прямоугольной формы. С боковых сторон её находятся две рамы в виде треугольников, соединенные между собой панелями почвоприемника. Расстояние между рамами в опытном образце составляло 150 – 170 см. Вертикальный контур каркаса сверху замыкают панели почвоприёмника, огибающие валки 8. Продольные балки нижней рамы каркаса удлинены и выступают вперёд в виде консолей. На них установлен каток 1 длиной 150 – 170 см, диаметром 25 – 30 см. Каток образуют параллельно размещенные прутки диаметром 8 – 10 мм. Прутки соединяют между собой 4-5 промежуточных кольцевых диска толщиной 2 – 2,5 мм. Расстояние между дисками 25 – 30 см. Впереди, на каркасе выполнена полка для установки редуктора 14. Редуктор преобразует крутящий момент вала отбора мощности трактора и приводит в работу механизмы устройства (транспортёр 2, валки 8 и грохот 7), которые расположены внутри каркаса, а цепные приводы 13 и 16, связывающие их с редуктором, снаружи. Все валы механизмов агрегата вращаются во втулках, установленных в каркасе. Между передними сторонами треугольных боковых рамок каркаса расположен транспортёр. Рабочую ленту транспортёра составляет вереница совков 17, движущихся в процессе работы устройства со скоростью 45 – 50 м/мин. Боковые торцы совков 18 толщиной 4 – 5 мм входят в пластинчатые цепи транспортёра, натянутые на звёздочки приводного механизма. Расстояние между центрами валиков пластинчатых цепей 80 – 90 мм. Приводной механизм транспортёра состоит из верхней ведущей звёздочки 9 диаметром 25 – 30 см, нижней ведомой звёздочки 3 диаметром 50 – 60 см и трёх звёздочек 10, 11, 12 диаметром 40 – 46 см корректирующих траекторию движения ленты транспортёра. Совки изготовлены из листовой стали толщиной 2 – 2,5 мм. Основание совка длиной 70 – 90 мм, высота, до уровня центра валиков пластинчатой цепи 120 – 140 мм. Внутри совков сделаны перегородки на расстоянии 30 – 35 см друг от друга. В верхней части каркаса, в почвоприёмнике, находятся два вращающихся навстречу друг другу валка 8 с щетиной из упругой проволоки. Длина проволоки 50 – 70 см. Наружный диаметр валков 250 – 300 мм. Между валками сделан зазор 7 – 10 мм. Валки между собой связаны зубчатой передачей 15. Ведущий вал валка приводит во вращение редуктор цепной передачи 16. Скорость вращения ведущего вала 90 – 120 оборотов в минуту. Вращение ведомого вала в 1,5 – 2 раза медленнее. Под валками находится грохот 7. Он состоит из трёх перфорированных панелей толщиной 1,5 – 2 мм, длиной 150 – 170 см и шириной 50 – 60 см. Панели расположены ступенчато на расстоянии 120 – 150 мм друг от друга и сдвинуты по длине на 100 – 150 мм. Панели имеют наклон вперёд на угол 5 – 70. Диаметр перфорации верхней панели 7 – 8 мм, средней 4 – 5 мм, а нижней 3 – 4 мм. На боковых и задней сторонах панелей сделаны борта высотой 4 – 5 см. В углах задних бортов панелей приварены прутки диаметром 10 – 12 мм. Концы прутков выступают за пределы панелей на 50 – 70 мм. Они вставлены во втулки каркаса агрегата и выполняют функцию осей вращения панелей. К переднему краю панелей приварены прутки диаметром 8 – 10 мм и фартуки 22. Фартуки представляют собой гладкие панели толщиной 1 – 1,5 мм. Ширина фартуков на 4 – 5 см меньше перфорированных панелей. Угол между панелью и фартуком 20 – 25°. Панель и фартук связаны 4 – 5 распорками. Передние прутки панелей агрегата соединены между собой соединителями 20. Пруток верхней панели удерживают пружины, подвешенные к каркасу. Концы прутка нижней панели выступают наружу на 5 – 7 см. Они заходят в кулачковые муфты 4, расположенные с обеих сторон агрегата. Кулачковая муфта представляет собой круглый стакан глубиной 7 – 9 см, на внутренней поверхности которого находятся 4 – 6 лежащих на боку кулачка высотой 2 – 3 см. Рабочая сторона кулачка имеет плавную кривую поверхность. Кулачковые муфты насажены на вал, который вращается цепной передачей корректирующей звёздочки 11.
Заявляемый способ реализуют следующим образом. Гидроцилиндры опускают переднюю часть агрегата до заглубления совков транспортёра в почву на глубину 4 – 6 см. Диски катка также заглубляются. При движении тележки с устройством каток вращается, разрушая и разрезая дисками корковый слой почвенной поверхности, образовавшийся в результате предварительной обработки почвы синтетическими полимерами – модификаторами или гуматами. Пластинчатые цепи транспортёра, огибая ведомые звёздочки, приводят в движение совки, которые снимают верхний слой почвы вместе с кусками почвенной корки и поднимают её к ведущим звёздочкам, где совки опрокидываются, сбрасывая содержимое на валки. Валки вращаются с разной линейной скоростью, разрушают и частично растирают крупные почвенные агрегаты. Разная скорость их вращения исключает возможность застревания между валками отдельных камней, крупных неразрушаемых кусков почвы. При попадании между валками твёрдых предметов щетина из проволоки, изгибаясь, захватывает их и сбрасывает на грохот, после чего восстанавливается в исходное положение. При этом панели грохота постоянно встряхиваются с частотой 90 – 100 раз в минуту. Кулачки вращающихся кулачковых муфт оттягивают передние края панелей вниз, растягивая пружины. В момент соскакивания прутка нижней панели с кулачков пружина резко сжимается, вызывая ударную волну, и все панели подбрасывают почвенную массу. При этом почвенные агрегаты разрушаются. Крупные агрегаты, двигаясь по наклону панели, достигнув края, падают вниз (вперед), а мелкие через перфорацию проваливаются на фартуки и по наклону движутся к заднему краю нижних панелей. Ступенчатое расположение панелей друг относительно друга обеспечивает послойное нанесение почвенных агрегатов, где крупные агрегаты накрываются мелкими. Технологический процесс послойного формирования агрегатного состава почвы, операции которого выполняет заявляемый агрегат, был разработан и апробирован на факультете почвоведения МГУ имени М. В. Ломоносова. Крупные агрегаты (7-10 мм) задерживаются на первой ступени грохота и падают вниз непосредственно с этой ступени, формируя нижний слой. Более мелкие агрегаты (5-7 мм) проваливаются на следующую ступень и падают уже только достигнув заднего края панели, в результате чего при перемещении устройства оказываются на земле позже крупных агрегатов и накрывают их. Самые мелкие агрегаты (3-5 мм) такой путь проделывают дважды и, следовательно, формируют завершающий слой, падая на слой среднеразмерных агрегатов. Толщина формируемого слоя зависит от скорости движения тележки с устройством. В общем случае, панелей грохота может быть и больше, тогда фракционирование будет более тщательным. Важным является размещение панелей с более крупной ячеей грохота сверху, а с более мелкой – снизу. Таким образом, в полевых условиях достигается формирование оптимального воздушного и водного режима, способствующего максимальному проникновению воздуха и влаги, соответственно, в нижние слои почвы и, как следствие, способствующего повышению урожайности.
Пример конкретного выполнения
Для подтверждения эффективности заявляемого способа, реализуемого с помощью заявляемого устройства, на опытном поле факультета почвоведения МГУ были вспаханы две полосы шириной 0,5 м и длиной 9 м – основная и контрольная. С основной полосы был снят верхний слой почвы и перемешан с 18 % (180 г/л по сухому веществу) раствором торфогеля. На контрольную полосу раствор торфогеля вносили методом дождевания из лейки.
После сушки почва с основной полосы была активно калибрована на ситах с ячейками 10; 7; 5; 3 мм, имитирующих разные панели грохота. На обеих полосах было выделено 8 делянок размером 0,5х0,5 м. На делянки основной полосы послойно отсыпали крупные, средние и мелкие почвенные агрегаты, толщина слоя 5-7 см. Контрольные делянки оставались нетронутыми. Для посева были выделены следующие сельскохозяйственные культуры – кресс-салат, пшеница, овёс, кукуруза. Перед посевом все делянки были смочены из лейки. При этом было обнаружено, что вода на основных делянках проникает в почву быстрее чем на контрольных, т.е. почва при послойном формировании более пористая (на 15-20%) и корнеобитаемый слой имеет более благоприятные водный и воздушный режимы.
Посев сельскохозяйственных культур на всех делянках производился традиционным способом. После посева делянки были накрыты геотканью для защиты семян от птиц, через две недели геоткань была снята. Основные делянки были покрыты ровными всходами семян, в то время как всходы на контрольных делянках отличались неравномерностью. Прибавка урожая на основных делянках составила для кресс-салата +10%, для пшеницы+8%, овса+9%, кукурузы+10%.
Были проведены полевые опыты с использованием почвенных полимерных мелиорантов (ППМ) ГИПАН и ГИПАН+ПДАДМАХ (ГИПАН – Гидролизованный полиакрилонитрил, ПДАДМАХ – Полидиаллилдиметиламмоний хлорида) на дерново-подзолистой почве в учебно-опытном почвенно-экологическом центре МГУ имени М.В. Ломоносова, «Чашниково», Солнечногорский городской округ Московской области на площади 400 кв. м. В качестве культуры испытывался картофель сорта RedScarlett. Урожайность картофеля при обработке ППМ с последующим перераспределением верхнего слоя почвы в соответствии с заявляемым изобретением составила 30 т/га, что на 20% больше по сравнению с контролем.
Предлагаемый способ подготовки почв направлен на раздельное формирование агрегатного состава почвенного слоя. Формирование агрономически ценной структуры (3-5 мм) проводится после внесения ППМ до посадки и не требует последующего его дополнительного внесения. Создание структурного слоя почвы обеспечивает лучший водный и воздушный режимы почвы на протяжения всего вегетационного периода возделываемой культуры. Способ и устройство для его реализации позволят проводить масштабную обработку земель без необходимости реализации отдельных операций снятия почвенной корки, ее крушения и внесения обратно, что значительно сократит как временные, так и финансовые и технологические затраты.
| название | год | авторы | номер документа |
|---|---|---|---|
| СПОСОБ РЕКУЛЬТИВАЦИИ ЭЛЮВИАЛЬНЫХ ПОЧВ | 2018 |
|
RU2711590C1 |
| АГРЕГАТ ДЛЯ ПОСЛОЙНОГО ВНЕСЕНИЯ В ПОЧВУ МОДИФИКАТОРОВ | 2019 |
|
RU2722726C1 |
| СПОСОБ УТИЛИЗАЦИИ ПОРОД ОТВАЛОВ | 2019 |
|
RU2730233C1 |
| АГРЕГАТ ДЛЯ ПОДГОТОВКИ ПОРОД ОТВАЛОВ К УТИЛИЗАЦИИ | 2020 |
|
RU2730685C1 |
| СПОСОБ ВЫРАЩИВАНИЯ РАСТЕНИЙ НА ПОЧВАХ ТЯЖЕЛОГО ГРАНУЛОМЕТРИЧЕСКОГО СОСТАВА | 2021 |
|
RU2756925C1 |
| СПОСОБ ПОВЫШЕНИЯ ЭРОЗИОННОЙ УСТОЙЧИВОСТИ ГРУНТОВЫХ НАСЫПНЫХ СООРУЖЕНИЙ | 2022 |
|
RU2804861C1 |
| СТЕНД ДЛЯ ИССЛЕДОВАНИЯ ЭРОЗИОННОГО ВОЗДЕЙСТВИЯ АТМОСФЕРНЫХ ОСАДКОВ НА ПОЧВУ | 2023 |
|
RU2808679C1 |
| МАШИНА ДЛЯ ВЫКАПЫВАНИЯ ЛУКА С ЛИСТЬЯМИ | 2009 |
|
RU2394415C1 |
| УСТАНОВКА ИМИТАЦИИ ДОЖДЯ | 2024 |
|
RU2838377C1 |
| ПОЧВООБРАБАТЫВАЮЩЕЕ УСТРОЙСТВО И РАБОЧИЙ ОРГАН ДЛЯ ОБРАБОТКИ ПОЧВЫ | 2009 |
|
RU2402895C1 |
Группа изобретений относится к области сельского хозяйства. Способ состоит в снятии верхнего слоя почвы вместе с почвенной коркой, сформировавшейся в результате обработки почвы мелиорантами, измельчении снятого слоя в грохоте с разрушением почвенной корки и фракционировании полученных почвенных агрегатов по размеру по меньшей мере на две группы. Затем осуществляют послойное нанесение переработанного почвенного слоя на почву в порядке уменьшения размеров фракции. Устройство для обработки почвы вышеизложенным способом состоит в монтаже к колесному транспортному средству объемного рамного каркаса, в верхней части которого расположен почвоприемник, обеспечивающий первичное дробление поступившей в него почвы, и редуктор, соединенный с колесным транспортным средством и обеспечивающий вращение всех механизмов устройства. В нижней части установлен каток, обеспечивающий прорезание верхнего слоя почвы, транспортер, обеспечивающий захват верхнего слоя почвы и доставку его в почвоприемник, под которым размещен грохот, обеспечивающий фракционирование измельченной в почвоприемнике почвы. Обеспечивается формирование многослойной водопрочной почвенной структуры с уменьшающимся размером почвенных агрегатов от нижнего слоя к верхнему, что способствует улучшению водного и воздушного режимов для выращивания сельскохозяйственных растений и, как следствие, выражается в последующем увеличении урожайности. 2 н. и 4 з.п. ф-лы, 4 ил.
1. Способ обработки предварительно модифицированной мелиорантами почвы, включающий
- снятие верхнего слоя почвы вместе с почвенной коркой, сформировавшейся в результате обработки почвы мелиорантами,
- измельчение снятого слоя в грохоте с разрушением почвенной корки и фракционированием полученных почвенных агрегатов по размеру по меньшей мере на две группы,
- послойное нанесение переработанного почвенного слоя на почву в порядке уменьшения размеров фракции.
2. Устройство для обработки почвы способом по 1, включающее выполненный с возможностью монтажа к колесному транспортному средству объемный рамный каркас, в верхней части которого расположен почвоприемник, обеспечивающий первичное дробление поступившей в него почвы, и редуктор, соединенный с колесным транспортным средством и обеспечивающий вращение всех механизмов устройства, а в нижней части установлен каток, обеспечивающий прорезание верхнего слоя почвы, транспортер, обеспечивающий захват верхнего слоя почвы и доставку его в почвоприемник, под которым размещен грохот, обеспечивающий фракционирование измельченной в почвоприемнике почвы.
3. Устройство по п.2, отличающееся тем, что каток представляет собой цилиндр, выполненный из параллельно размещенных металлических прутьев, закрепленных к перпендикулярно ориентированным металлическим дискам, обеспечивающим прорезание почвенной поверхности при вращении катка.
4. Устройство по п.2, отличающееся тем, что транспортер включает приводной механизм, состоящий из взаимодействующих ведущих и ведомых звездочек, и замкнутую пластинчатую цепь, сопряженную с совками, натянутую на звёздочки приводного механизма и движущуюся в процессе работы устройства со скоростью 45-50 м/мин.
5. Устройство по п.2, отличающееся тем, что почвоприемник включает два установленных с зазором и соединенных зубчатой передачей и вращающихся в процессе работы устройства навстречу друг другу с разной скоростью валка с щетиной из упругой проволоки.
6. Устройство по п.2, отличающееся тем, что грохот выполнен из ступенчато расположенных перфорированных панелей с фартуками, установленных с возможностью вибрации, при этом размер перфорации панелей уменьшается от верхней панели к нижней.
| КОМБИНИРОВАННОЕ ОРУДИЕ ОБРАБОТКИ ПОЧВЫ И СПОСОБ ОБРАБОТКИ ПОЧВЫ | 2007 |
|
RU2340137C1 |
| СПОСОБ МЕЛИОРАТИВНОЙ ОБРАБОТКИ ПОЧВ | 2012 |
|
RU2520278C2 |
| Вибрационный плоский грохот | 1953 |
|
SU99929A1 |
| CN 101816250 A, 01.09.2010. | |||
Авторы
Даты
2025-04-11—Публикация
2024-06-30—Подача