ОБЛАСТЬ ТЕХНИКИ
[0001] Настоящее изобретение относится к моторизованным устройствам для приготовления пищевых продуктов, таким как процессоры пищевых продуктов. В частности настоящее изобретение относится к хранению различных принадлежностей, используемых в процессорах пищевых продуктов.
[0002] Настоящее изобретение разработано главным образом для использования с устройством для обработки пищевых продуктов и будет описано ниже со ссылкой на данную заявку. Однако следует понимать, что настоящее изобретение не ограничивается этой конкретной областью применения.
ПРЕДПОСЫЛКИ СОЗДАНИЯ ИЗОБРЕТЕНИЯ
[0003] Процессоры пищевых продуктов выполняют различные операции по приготовлению пищевых продуктов, такие как измельчение, нарезка ломтиками, кубиками и соломкой, а также смешивание, перемешивание или разжижение пищевых продуктов в емкости для приготовления, такой как чаша. Различные функции обычно выполняются посредством конкретных принадлежностей, установленных в чаше для приготовления. Центральная ступица или шпиндель в чаше взаимодействует с конкретной принадлежностью для приведения в действие одной или более деталей принадлежности во время операции обработки.
[0004] Процессоры пищевых продуктов, как правило, снабжены множеством принадлежностей для выполнения одной или более операций приготовления пищевых продуктов, приведенных выше в качестве примера. Такие принадлежности могут включать в себя терочные или шинковальные диски, регулируемые ломтерезки, диски для нарезки кубиками, лопатки для замешивания теста и измельчающие лезвия. Когда процессор пищевых продуктов не используется, принадлежности могут храниться в емкости, отделенной от процессора пищевых продуктов. Для размещения множества принадлежностей такие емкости должны иметь достаточный размер и конфигурацию для безопасного и эффективного хранения различных принадлежностей. Таким образом, традиционные емкости для хранения принадлежностей процессора пищевых продуктов могут быть большими и громоздкими и, следовательно, требовать значительного количества кухонного пространства. Кроме того, конструкция традиционных емкостей для хранения, например, может не позволять эффективно размещать множество принадлежностей с открытыми лезвиями, что может привести к проблемам безопасности и обращения для пользователя. В альтернативном варианте осуществления принадлежности можно хранить в самой чаше для приготовления процессора пищевых продуктов, что, в свою очередь, требует, чтобы эта чаша имела большой объем, достаточный для размещения различных принадлежностей. Дизайн традиционных чаш для приготовления процессора пищевых продуктов также обычно не позволяет безопасно и эффективно хранить в них множество принадлежностей.
[0005] Традиционные емкости для хранения принадлежностей процессора пищевых продуктов, как правило, большие и громоздкие и, следовательно, занимают существенное количество кухонного пространства. Кроме того, конструкция традиционных емкостей для хранения не может эффективно вмещать множество принадлежностей с открытыми режущими лезвиями, что может привести к проблемам безопасности для пользователя при хранении или извлечении принадлежностей из емкости. В некоторых случаях принадлежности хранятся в самой чаше для приготовления процессора пищевых продуктов, если чаша имеет достаточно большой объем для размещения всех различных принадлежностей. Однако чаша для приготовления процессора пищевых продуктов специально изготовлена и разработана для выполнения функции обработки пищевых продуктов, а не для правильного и безопасного хранения множества принадлежностей, некоторые из которых имеют острые режущие лезвия.
ИЗЛОЖЕНИЕ СУЩНОСТИ ИЗОБРЕТЕНИЯ
[0006] Целью настоящего изобретения является по существу преодоление или по меньшей мере устранение одного или более недостатков существующих конструкций или по меньшей мере обеспечение полезной альтернативы существующим конструкциям.
[0007] В настоящем документе описана емкость для хранения к устройству для обработки пищевых продуктов, содержащая:
корпус, обеспечивающий полость для хранения, для приема одной или более принадлежностей, причем корпус содержит верхний ободковый участок и нижний участок, проходящий от верхнего ободкового участка;
верхний ободковый участок, выполненный с возможностью объединения с крышкой и чашей устройства для обработки пищевых продуктов в конфигурации хранения, в которой нижний участок по меньшей мере частично выступает в чашу устройства для обработки пищевых продуктов; и
верхний ободковый участок, включающий по меньшей мере один верхний элемент зацепления для зацепления соответствующего элемента зацепления крышки и по меньшей мере один нижний элемент зацепления для зацепления соответствующего элемента зацепления чаши.
[0008] Предпочтительно верхний элемент зацепления верхнего ободкового участка представляет собой первое углубление, а соответствующий элемент зацепления крышки представляет собой первый выступ, при этом крышка выполнена с возможностью вращения вокруг центральной продольной оси для перемещения первого выступа в первое углубление для закрепления крышки на месте относительно емкости для хранения в конфигурации хранения.
[0009] Предпочтительно первое углубление выполнено в форме охватывающего элемента байонетного соединения, а первый выступ выполнен в форме охватываемого элемента байонетного соединения.
[0010] Предпочтительно нижний элемент зацепления верхнего ободкового участка представляет собой второй выступ, а соответствующий элемент зацепления чаши представляет собой второе углубление, при этом емкость для хранения выполнена с возможностью вращения вокруг центральной продольной оси для перемещения второго выступа во второе углубление для закрепления емкости для хранения на месте относительно чаши в конфигурации хранения.
[0011] Предпочтительно второй выступ выполнен в форме охватываемого элемента байонетного соединения, а второе углубление выполнено в форме охватывающего элемента байонетного соединения.
[0012] Предпочтительно полость для хранения содержит верхнюю полость, окруженную верхним ободковым участком, и нижнюю полость, окруженную нижним участком, причем верхняя и нижняя полости разделены перегородкой, имеющей сквозное отверстие.
[0013] Предпочтительно в конфигурации для хранения шпиндель устройства для обработки пищевых продуктов выступает вверх в нижнюю полость и по меньшей мере частично в верхнюю полость через отверстие в перегородке.
[0014] Предпочтительно в конфигурации для хранения первая принадлежность устройства для обработки пищевых продуктов устанавливается на шпинделе, а вторая принадлежность устанавливается на первой принадлежности таким образом, что она располагается внутри нижней полости.
[0015] Предпочтительно первая принадлежность представляет собой измельчающее лезвие, а вторая принадлежность представляет собой лопатку для замешивания теста.
[0016] Предпочтительно в конфигурации для хранения третья принадлежность устройства для обработки пищевых продуктов устанавливается на второй принадлежности таким образом, что она располагается внутри верхней полости.
[0017] Предпочтительно третья принадлежность представляет собой регулируемую ломтерезку.
[0018] Предпочтительно в конфигурации хранения четвертая принадлежность устройства для обработки пищевых продуктов устанавливается на третьей принадлежности таким образом, что она также располагается внутри верхней полости.
[0019] Предпочтительно четвертая принадлежность представляет собой шинковальный диск.
[0020] Между третьей принадлежностью и перегородкой полости для хранения предпочтительно обеспечен первый воздушный зазор.
[0021] Между первой принадлежностью и крышкой устройства для обработки пищевых продуктов предпочтительно обеспечен второй воздушный зазор.
[0022] В настоящем документе также описана емкость для хранения к устройству для обработки пищевых продуктов, содержащая:
корпус, обеспечивающий полость для хранения, для приема одной или более принадлежностей, причем корпус содержит верхний ободковый участок и нижний участок, проходящий от верхнего ободкового участка;
верхний ободковый участок, выполненный с возможностью объединения с крышкой и чашей устройства для обработки пищевых продуктов в конфигурации хранения, в которой нижний участок по меньшей мере частично выступает в чашу устройства для обработки пищевых продуктов; и
верхний ободковый участок, включающий пару элементов захвата, проходящих от верхнего ободкового участка.
[0023] Каждый из элементов захвата предпочтительно выполнен в форме язычка, проходящего в поперечном направлении от верхнего ободкового участка.
[0024] В настоящем документе также описана емкость для хранения к устройству для обработки пищевых продуктов, содержащая:
корпус, обеспечивающий полость для хранения, для приема одной или более принадлежностей, причем корпус содержит верхний ободковый участок и нижний участок, проходящий от верхнего ободкового участка;
верхний ободковый участок, выполненный с возможностью объединения с крышкой и чашей устройства для обработки пищевых продуктов в конфигурации хранения, в которой нижний участок по меньшей мере частично выступает в чашу устройства для обработки пищевых продуктов;
верхний ободковый участок, включающий по меньшей мере один верхний элемент зацепления для зацепления соответствующего элемента зацепления крышки и по меньшей мере один нижний элемент зацепления для зацепления соответствующего элемента зацепления чаши;
корпус, дополнительно включающий закрывающий участок, проходящий от верхнего ободкового участка, для предотвращения контакта между запирающим участком крышки и запирающим участком чаши.
[0025] Предпочтительно закрывающий участок включает в себя первое плечо, проходящее в поперечном направлении от верхнего ободкового участка, и второе плечо, проходящее в поперечном направлении от первого плеча.
[0026] Предпочтительно закрывающий участок обеспечивает воздушный зазор между запирающим участком крышки и запирающим участком чаши.
[0027] В настоящем документе также описана емкость для хранения к устройству для обработки пищевых продуктов, содержащая:
корпус, обеспечивающий полость для хранения, для приема одной или более принадлежностей, причем корпус содержит верхний ободковый участок и нижний участок, проходящий от верхнего ободкового участка;
верхний ободковый участок, выполненный с возможностью объединения с крышкой и чашей устройства для обработки пищевых продуктов в конфигурации хранения, в которой нижний участок по меньшей мере частично выступает в чашу устройства для обработки пищевых продуктов;
верхний ободковый участок, включающий пару элементов захвата, проходящих от верхнего ободкового участка; и
корпус, дополнительно включающий закрывающий участок, проходящий от верхнего ободкового участка, для предотвращения контакта между запирающим участком крышки и запирающим участком чаши.
[0028] Каждый из элементов захвата предпочтительно выполнен в форме язычка, проходящего в поперечном направлении от верхнего ободкового участка.
[0029] Предпочтительно закрывающий участок включает в себя первое плечо, проходящее в поперечном направлении от верхнего ободкового участка, и второе плечо уровня техники, проходящее в поперечном направлении от первого плеча.
[0030] Предпочтительно закрывающий участок обеспечивает воздушный зазор между запирающим участком крышки и запирающим участком чаши.
[0031] В настоящем документе также описана емкость для хранения к устройству для обработки пищевых продуктов, содержащая:
корпус, обеспечивающий полость для хранения, для приема одной или более принадлежностей, причем корпус содержит верхний ободковый участок и нижний участок, проходящий от верхнего ободкового участка;
верхний ободковый участок, выполненный с возможностью объединения с крышкой и чашей устройства для обработки пищевых продуктов в конфигурации хранения, в которой нижний участок по меньшей мере частично выступает в чашу устройства для обработки пищевых продуктов;
верхний ободковый участок, включающий по меньшей мере один верхний элемент зацепления для зацепления соответствующего элемента зацепления крышки и по меньшей мере один нижний элемент зацепления для зацепления соответствующего элемента зацепления чаши; и
верхний ободковый участок, дополнительно включающий пару элементов захвата, проходящих от верхнего ободкового участка.
[0032] В настоящем документе также описано устройство для обработки пищевых продуктов, содержащее:
моторизованное основание;
чашу для приготовления пищевых продуктов, выполненную с возможностью зацепления с моторизованным основанием, причем работа моторизованного основания вызывает вращение шпинделя, который функционально связан с чашей;
крышку, выполненную с возможностью установки на чаше для закрытия верхнего отверстия чаши; и
емкость для хранения, выполненную с возможностью установки между крышкой и чашей, при этом емкость для хранения включает в себя корпус, который обеспечивает полость для хранения, предназначенную для приема в нее одной или более принадлежностей, причем емкость для хранения имеет верхнюю часть, выполненную с возможностью объединения с крышкой и чашей устройства для обработки пищевых продуктов в конфигурации хранения, в которой нижняя часть по меньшей мере частично проходит в чашу устройства для обработки пищевых продуктов.
[0033] Предпочтительно верхний ободковый участок включает в себя по меньшей мере один верхний элемент зацепления для зацепления соответствующего элемента зацепления крышки и по меньшей мере один нижний элемент зацепления для зацепления соответствующего элемента зацепления чаши.
[0034] В одном аспекте настоящего описания предложена структура хранения для устройства для обработки пищевых продуктов с чашей для обработки пищевых продуктов, с которой используются различные принадлежности, причем структура хранения содержит:
блок основания, выполненный с возможностью установки внутри чаши, и формации зацепления для удержания множества принадлежностей на блоке основания с возможностью их извлечения по отдельности с блока основания и их возвращения на блок основания без предварительного извлечения или возвращения на место других принадлежностей.
[0035] Во втором аспекте настоящего описания предложена структура хранения для устройства для обработки пищевых продуктов с чашей для обработки пищевых продуктов, с которой используются различные принадлежности, причем структура хранения содержит:
блок основания, выполненный с возможностью установки внутри чаши, и формации, обеспеченные на блоке основания, для удержания с возможностью отсоединения каждой из принадлежностей, причем формации выполнены с возможностью отсоединения по отдельности каждой из принадлежностей без предварительного отсоединения других принадлежностей.
[0036] В третьем аспекте настоящего описания предложена структура хранения для устройства для обработки пищевых продуктов с чашей для обработки пищевых продуктов, с которой используются различные принадлежности, причем структура хранения содержит:
блок основания, выполненный с возможностью установки внутри чаши, имеющий углубления для хранения принадлежностей, причем углубления выполнены с возможностью извлечения по отдельности каждой из принадлежностей без извлечения других принадлежностей.
[0037] В четвертом аспекте настоящего описания предложена структура хранения для устройства для обработки пищевых продуктов с чашей для обработки пищевых продуктов, с которой используются различные принадлежности, причем структура хранения содержит:
блок основания, выполненный с возможностью установки внутри чаши, имеющий углубления для хранения принадлежностей, причем углубления выполнены с возможностью извлечения по отдельности каждой из принадлежностей без извлечения других принадлежностей.
[0038] В пятом аспекте настоящего описания предложена структура хранения для устройства для обработки пищевых продуктов с чашей для обработки пищевых продуктов, с которой используются различные принадлежности, приводимые во вращение посредством шпинделя, функционально соединенного с моторизованным основанием посредством приводной муфты внутри чаши, причем структура хранения содержит:
блок основания, выполненный с возможностью установки внутри чаши, при этом блок основания имеет полость для размещения приводной муфты таким образом, что при нахождении в чаше приводная муфта располагается на расстоянии от контакта с любой частью блока основания и принадлежностей, удерживаемых посредством блока основания.
[0039] В шестом аспекте настоящего описания предложена структура хранения для устройства для обработки пищевых продуктов с чашей для обработки пищевых продуктов, с которой используются различные принадлежности, причем структура хранения содержит:
блок основания, выполненный с возможностью установки внутри чаши;
формации, обеспеченные на блоке основания, для зацепления принадлежностей для их извлечения по отдельности из структуры хранения без извлечения других принадлежностей; и
подъемную часть для подъема вручную структуры хранения из чаши без контакта пользователя с какой-либо из принадлежностей.
[0040] Предпочтительно блок основания имеет углубления для хранения принадлежностей, причем каждое из углублений имеет по меньшей мере одну из формаций зацепления для зацепления с возможностью отсоединения принадлежностей таким образом, чтобы хранить принадлежности внутри углублений, предотвращая при этом непосредственный контакт одной из принадлежностей с другой из принадлежностей.
[0041] Предпочтительно устройство для обработки пищевых продуктов имеет шпиндель для зацепления принадлежностей для приведения их во вращение внутри чаши, причем некоторые из формаций зацепления выполнены с возможностью удержания шпинделя таким образом, что шпиндель возможно извлекать из блока основания без необходимости извлекать любую из принадлежностей, хранящихся в блоке основания.
[0042] Предпочтительно блок основания имеет гнездо для приема шпинделя, причем гнездо имеет множество формаций для захвата с возможностью отсоединения шпинделя во время хранения и обеспечения извлечения шпинделя пользователем вручную.
[0043] Предпочтительно по меньшей мере одно из углублений выполнено с возможностью хранения только одной указанной принадлежности.
[0044] Предпочтительно структура хранения дополнительно содержит съемное крепление в по меньшей мере одном углублении, причем съемное крепление имеет формации для зацепления с возможностью отсоединения принадлежности для ее хранения внутри углубления.
[0045] Предпочтительно съемное крепление и по меньшей мере одно углубление имеют комплементарные язычки байонетного соединения и отверстия, образующие байонетное соединение между креплением и углублением.
[0046] Предпочтительно структура хранения дополнительно содержит крышку для крепления к блоку основания, причем крышка и блок основания образуют по меньшей мере один паз для удержания одной из принадлежностей, выполненной в форме диска с возможностью вращения в чаше.
[0047] Предпочтительно крышка и блок основания образуют множество пазов для удержания по отдельности одного из дисков соответственно.
[0048] Предпочтительно структура хранения дополнительно содержит дополнительный блок для зацепления с возможностью отсоединения с крышкой, причем дополнительный блок выполнен с возможностью удержания дополнительной принадлежности для устройства для обработки пищевых продуктов таким образом, что дополнительный блок не препятствует извлечению любой из множества принадлежностей, хранящихся в структуре хранения.
[0049] Предпочтительно чаша имеет основание с приводной муфтой шпинделя, а структура хранения дополнительно содержит полость приводной муфты для размещения в ней приводной муфты шпинделя, когда блок основания находится внутри чаши, таким образом, чтобы приводная муфта шпинделя не касалась какой-либо части структуры хранения или множества принадлежностей.
[0050] Предпочтительно структура хранения выполнена с возможностью подъема из чаши без необходимости контакта пользователя с какой-либо из принадлежностей. Необязательно крышка имеет ручку для подъема и шарнирное соединение для поворота в вертикальное положение для подъема структуры хранения из чаши. В другом варианте дополнительный блок имеет подъемные язычки для подъема структуры хранения из чаши.
[0051] Предпочтительно множество принадлежностей включает в себя одно или более из:
a. измельчающего лезвия;
b. лопатки для замешивания теста;
c. регулируемого диска для нарезки ломтиками; и
d. регулируемого шинковального диска.
[0052] Предпочтительно дополнительная принадлежность представляет собой набор для нарезки кубиками.
[0053] Предпочтительно устройство для обработки пищевых продуктов имеет крышку для чаши, причем структура хранения выполнена с возможностью установки в чаше, на которой располагается крышка.
[0054] Предпочтительно устройство для обработки пищевых продуктов имеет крышку для чаши, причем дополнительный блок выполнен с возможностью приема крышки для закрывания дополнительной принадлежности.
[0055] В седьмом аспекте настоящего описания предложена структура хранения для устройства для обработки пищевых продуктов с чашей для обработки пищевых продуктов, с которой используются различные принадлежности, причем структура хранения содержит:
корпус, в котором хранится по меньшей мере одна принадлежность, при этом корпус выполнен с возможностью установки внутри чаши.
[0056] Предпочтительно корпус вмещает/содержит по меньшей мере одну пр инадл ежность.
[0057] Предпочтительно корпус содержит подъемную часть для подъема вручную структуры хранения из чаши без контакта пользователя с какой-либо из принадлежностей.
[0058] Предпочтительно корпус образует по меньшей мере одну формацию, имеющую форму, соответствующую профилю периферии по меньшей мере одной принадлежности для обеспечения визуальной индикации правильного места хранения для по меньшей мере одной принадлежности.
[0059] В восьмом аспекте настоящего описания предложена структура хранения для устройства для обработки пищевых продуктов с чашей для обработки пищевых продуктов, с которой используются различные принадлежности, причем структура хранения содержит:
корпус, в котором хранится множество принадлежностей, при этом множество принадлежностей содержит первую и вторую принадлежность;
по меньшей мере одну формацию, позволяющую вкладывать первую принадлежность во вторую принадлежность или размещать первую принадлежность на второй принадлежности.
[0060] В девятом аспекте настоящего описания предложена структура хранения для устройства для обработки пищевых продуктов с чашей для обработки пищевых продуктов, с которой используются различные принадлежности, причем структура хранения содержит:
корпус, в котором хранится по меньшей мере одна принадлежность, при этом корпус выполнен с возможностью установки внутри чаши;
по меньшей мере одну формацию для обеспечения доступа пользователя для извлечения по меньшей мере одной принадлежности из корпуса и/или возвращения по меньшей мере одной принадлежности в корпус.
[0061] В десятом аспекте настоящего описания предложена структура хранения для устройства для обработки пищевых продуктов с чашей для обработки пищевых продуктов, с которой используются различные принадлежности, причем структура хранения содержит:
корпус, в котором хранится множество принадлежностей, при этом множество принадлежностей содержит первую и вторую принадлежность, причем первая принадлежность содержит элемент зацепления для надежного удержания второй принадлежности внутри корпуса.
КРАТКОЕ ОПИСАНИЕ ГРАФИЧЕСКИХ МАТЕРИАЛОВ
[0062] Предпочтительные варианты осуществления настоящего изобретения будут описаны только в качестве примера со ссылкой на прилагаемые графические материалы, на которых:
[0063] на Фиг. 1 представлен схематический вид в изометрической проекции устройства для обработки пищевого продукта;
[0064] на Фиг. 2 представлен схематический вид в изометрической проекции емкости для хранения к устройству для обработки пищевых продуктов, показанному на Фиг. 1;
[0065] на Фиг. 3 представлен схематический вид в изометрической проекции с пространственным разделением компонентов устройства для обработки пищевых продуктов, показанного на Фиг. 1;
[0066] на Фиг. 4 представлен схематический вид сбоку в разрезе устройства для обработки пищевых продуктов, показанного на Фиг. 1;
[0067] на Фиг. 4А представлен увеличенный вид в разрезе различных компонентов устройства для обработки пищевых продуктов, показанного на Фиг. 4;
[0068] на Фиг. 5 представлен дополнительный схематический вид в изометрической проекции устройства для обработки пищевых продуктов, показанного на Фиг. 1;
[0069] на Фиг. 6 представлен схематический вид сбоку в разрезе емкости для хранения, крышки и чаши устройства для обработки пищевых продуктов, показанного на Фиг. 1;
[0070] на Фиг. 7 представлен схематический вид сбоку с пространственным разделением компонентов различных принадлежностей устройства для обработки пищевых продуктов, показанного на Фиг. 1;
[0071] на Фиг. 8 представлен схематический вид сбоку различных принадлежностей, показанных на Фиг. 7, в собранном состоянии;
[0072] на Фиг. 9 представлен схематический вид в изометрической проекции различных принадлежностей, показанных на Фиг. 7, в собранном состоянии;
[0073] на Фиг. 10 представлен схематический вид в изометрической проекции емкости для хранения устройства для обработки пищевых продуктов, показанного на Фиг. 1, с хранящейся в ней принадлежностью;
[0074] на Фиг. 11 и 12 показаны различные режимы сборки и разборки емкости для хранения устройства для обработки пищевых продуктов, показанного на Фиг. 1;
[0075] на Фиг. 13 представлен схематический вид сбоку в разрезе емкости для хранения и крышки устройства для обработки пищевых продуктов, показанного на Фиг. 1;
[0076] на Фиг. 14 представлен схематический вид в изометрической проекции другого варианта осуществления устройства для обработки пищевых продуктов;
[0077] на Фиг. 15 представлен схематический вид в изометрической проекции емкости для хранения к устройству для обработки пищевых продуктов, показанному на Фиг. 14;
[0078] на Фиг. 16 представлен схематический вид в изометрической проекции с пространственным разделением компонентов устройства для обработки пищевых продуктов, показанного на Фиг. 14;
[0079] на Фиг. 17 и 18 показаны различные режимы сборки и разборки емкости для хранения устройства для обработки пищевых продуктов, показанного на Фиг. 14;
[0080] на Фиг. 18А, 18В и 18С представлена другая форма емкости для хранения, в которой одна из принадлежностей для обработки пищевых продуктов удерживается с возможностью отсоединения в нижней полости;
[0081] на Фиг. 19 представлен схематический вид в изометрической проекции другого варианта осуществления устройства для обработки пищевых продуктов;
[0082] на Фиг. 20 представлен вид в перспективе процессора пищевых продуктов со структурой хранения принадлежностей для обработки пищевых продуктов в соответствии с первым вариантом осуществления;
[0083] на Фиг. 21 представлен вид в перспективе процессора пищевых продуктов со структурой хранения в соответствии со вторым вариантом осуществления;
[0084] на Фиг. 22 представлен вид в перспективе с пространственным разделением компонентов процессора пищевых продуктов и структуры хранения в соответствии с первым вариантом осуществления, показанным на Фиг. 20;
[0085] на Фиг. 23 представлен вид в перспективе с пространственным разделением компонентов процессора пищевых продуктов и структуры хранения в соответствии со вторым вариантом осуществления, показанным на Фиг. 21;
[0086] на Фиг. 24 представлен вид в разрезе структуры хранения в соответствии с первым вариантом осуществления;
[0087] на Фиг. 25 представлен вид в разрезе структуры хранения в соответствии со вторым вариантом осуществления;
[0088] на Фиг. 26 представлен вид в перспективе спереди справа блока основания структуры хранения;
[0089] на Фиг. 27 представлен вид в перспективе сзади слева блока основания; [0090] на Фиг. 28 представлен вид в перспективе сзади справа блока основания;
[0091] на Фиг. 29 представлен вид в перспективе спереди слева блока основания;
[0092] на Фиг. 30 представлен вид в перспективе спереди справа структуры хранения в соответствии со вторым вариантом осуществления с дополнительным блоком в заблокированном положении на крышке, прикрепленной к блоку основания;
[0093] на Фиг. 31 представлен вид в перспективе сзади слева структуры хранения, показанной на Фиг. 30;
[0094] на Фиг. 32 представлен вид в перспективе сзади справа структуры хранения, показанной на Фиг. 30;
[0095] на Фиг. 33 представлен вид в перспективе спереди слева структуры хранения, показанной на Фиг. 30;
[0096] на Фиг. 34 представлен вид в перспективе спереди справа крышки для блока основания;
[0097] на Фиг. 35 представлен вид в перспективе сзади слева крышки, показанной на Фиг. 34;
[0098] на Фиг. 36 представлен вид в перспективе сзади справа крышки, показанной на Фиг. 34;
[0099] на Фиг. 37 представлен вид в перспективе спереди слева крышки, показанной на Фиг. 34;
[0100] на Фиг. 38 представлен вид в перспективе с пространственным разделением компонентов структуры хранения в соответствии с первым вариантом осуществления, в которой обрабатывающие принадлежности расположены на расстоянии от структуры хранения в соответствующих направлениях их изъятия/возвращения на место;
[0101] на Фиг. 39 представлен вид в перспективе с пространственным разделением компонентов структуры хранения в соответствии со вторым вариантом осуществления, в которой обрабатывающие принадлежности расположены на расстоянии от структуры хранения в соответствующих направлениях их изъятия/возвращения на место;
[0102] на Фиг. 40 представлен вид в перспективе спереди слева структуры хранения в соответствии с первым вариантом осуществления, в которой шинковальный диск и регулируемый диск для нарезки ломтиками вставлены в паз для шинковального диска и в паз для регулируемой ломтерезки, соответственно;
[0103] на Фиг. 41 представлен вид в перспективе спереди слева структуры хранения в соответствии со вторым вариантом осуществления с набором для нарезки кубиками в дополнительном блоке на блоке основания;
[0104] на Фиг. 42 представлен вид в горизонтальной проекции дополнительного блока, установленного на крышке блока основания, причем дополнительный блок находится в незаблокированном положении;
[0105] на Фиг. 43 представлен вид в перспективе спереди слева структуры хранения в соответствии со вторым вариантом осуществления с дополнительным блоком в незаблокированном положении на крышке блока основания;
[0106] на Фиг. 44 представлен вид в перспективе с пространственным разделением компонентов структуры хранения в соответствии со вторым вариантом осуществления с гнездом шпинделя, креплением измельчающего лезвия, креплением лопатки для замешивания теста и снятой ручкой для подъема;
[0107] на Фиг. 45 представлен вид в перспективе с пространственным разделением компонентов блока основания с гнездом шпинделя, креплением измельчающего лезвия и снятым креплением лопатки для замешивания теста;
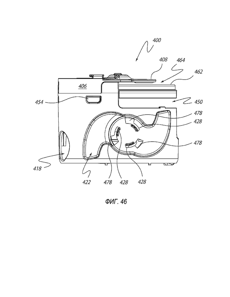
[0108] на Фиг. 46 представлен вид слева в вертикальной проекции структуры хранения в соответствии с первым вариантом осуществления, на котором показано углубление для лопатки для замешивания теста в блоке основания;
[0109] на Фиг. 47 представлен вид в разрезе структуры хранения в соответствии с первым вариантом осуществления без обрабатывающих принадлежностей или гнезда шпинделя, крепления измельчающего лезвия и крепления лопатки для замешивания теста; и
[0110] на Фиг. 48 представлен вид в перспективе спереди слева структуры хранения в соответствии с первым вариантом осуществления, в которой ручка для подъема повернута в вертикальную конфигурацию.
ПОДРОБНОЕ ОПИСАНИЕ ВАРИАНТОВ ОСУЩЕСТВЛЕНИЯ
[0111] На Фиг. 1 прилагаемых графических материалов схематически показано устройство 10 для обработки пищевых продуктов, содержащее моторизованное основание 12, имеющее пользовательский интерфейс 14 для облегчения управления работой моторизованного основания 12 для пользователя. Устройство 10 для обработки пищевых продуктов дополнительно включает в себя емкость или контейнер для приготовления пищевых продуктов в форме чаши 16, которая находится в зацеплении с основанием 12. Чаша включает в себя ручку 18. Сверху чаша 16 закрыта крышкой 20, имеющей питающую трубку 22 для безопасного введения пищевого продукта в чашу 16. Для направления пищевого продукта, который подается в питающую трубку 22, в чашу 16, может быть обеспечен толкатель 24. Показанное устройство 10 для обработки пищевых продуктов дополнительно включает в себя емкость 30 для хранения, расположенную между чашей 16 и крышкой 20.
[0112] На Фиг. 2 представлен вариант осуществления емкости 30 для хранения, имеющей корпус 32, который обеспечивает полость 34 для хранения для приема в нее одной или более принадлежностей для обработки пищевых продуктов. В предпочтительных формах корпус 32 сформирован из материала с высокой износостойкостью, такого как тритан или САН. Корпус 32 включает в себя верхний ободковый участок 36 и нижний участок 38, проходящий от верхнего ободкового участка 36. Верхний ободковый участок 36 выполнен с возможностью объединения с крышкой 20 и чашей 16 устройства 10 для обработки пищевых продуктов в конфигурации хранения, в которой нижний участок 38 по меньшей мере частично проходит в чашу 16 (см. Фиг. 4 и 6).
[0113] Верхний ободковый участок 36 включает в себя по меньшей мере один верхний элемент 40 зацепления. В показанном варианте осуществления верхний ободковый участок 36 включает в себя три верхних элемента 40 зацепления, каждый из которых выполнен в форме удлиненного углубления или охватывающего элемента байонетного соединения, проходящего вдоль внутренней поверхности 42 верхнего ободкового участка 36. Следует понимать, что в других вариантах осуществления (не показаны) верхний ободковый участок 36 может быть обеспечен любым количеством верхних элементов 40 зацепления, которые в альтернативном варианте осуществления могут быть выполнены в форме выступа, направляющей или другого приемлемого элемента механического интерфейса. Также следует понимать, что верхний (-ие) элемент (-ы) 40 зацепления может (могут) быть расположен (-ы) в любом месте на верхнем ободковом участке 36.
[0114] Верхний ободковый участок 36 дополнительно включает в себя по меньшей мере один нижний элемент 44 зацепления. В показанном варианте осуществления верхний ободковый участок 36 включает в себя три нижних элемента 44 зацепления, каждый из которых имеет форму выступа или охватываемого элемента байонетного соединения. Следует понимать, что в других вариантах осуществления (не показаны) верхний ободковый участок 36 может быть обеспечен любым количеством нижних элементов 44 зацепления, которые в альтернативном варианте осуществления могут быть выполнены в форме углубления, направляющей или другого приемлемого элемента механического интерфейса. Также следует понимать, что нижний элемент (-ы) 44 зацепления может (могут) быть расположен (-ы) в любом месте на верхнем ободковом участке 36, а в некоторых вариантах осуществления (не показаны) нижний (-ие) элемент (-ы) 44 зацепления может (могут) быть расположен (-ы) на нижнем участке 38.
[0115] Как показано на Фиг. 3, крышка 20 включает в себя по меньшей мере один элемент 50 зацепления крышки. В показанном варианте осуществления крышка 20 включает в себя три элемента 50 зацепления крышки, каждый из которых имеет форму выступа или охватываемого элемента байонетного соединения, который соответствует соответствующему углублению или охватывающему элементу байонетного соединения трех верхних элементов 40 зацепления верхнего ободкового участка 36. Крышка 20 выполнена с возможностью поворота вокруг центральной продольной оси 55 (или в альтернативном варианте осуществления емкость 30 для хранения выполнена с возможностью поворота относительно оси 55) для перемещения трех элементов 50 зацепления крышки в соответствующие верхние элементы 40 зацепления для закрепления или фиксации крышки 20 на месте относительно емкости 30 для хранения в конфигурации хранения.
[0116] Чаша 16 включает в себя по меньшей мере один элемент 60 зацепления чаши. В показанном варианте осуществления чаша 16 включает в себя три элемента 60 зацепления чаши, каждый из которых имеет форму углубления или охватывающего элемента байонетного соединения, который соответствует соответствующему выступу или охватываемому элементу байонетного соединения трех нижних элементов 44 зацепления верхнего ободкового участка 36. Чаша 16 выполнена с возможностью поворота вокруг центральной продольной оси 55 (или в альтернативном варианте осуществления емкость 30 для хранения выполнена с возможностью поворота вокруг оси 55) для перемещения трех нижних элементов 44 зацепления чаши в соответствующие верхние элементы 60 зацепления для закрепления или фиксации емкости 30 для хранения на месте относительно чаши 16 в конфигурации хранения.
[0117] Как обсуждалось выше в отношении верхних и нижних элементов зацепления 40 и 44, следует понимать, что крышка 20 и чаша 16 могут быть обеспечены любым количеством элементов 50 и 60 зацепления крышки и чаши, соответственно. Элемент (-ы) 50 и 60 зацепления крышки и чаши может (могут) быть выполнен (-ы) в любой форме выступа или охватываемого элемента байонетного соединения, углубления или охватывающего элемента байонетного соединения, направляющей или другого приемлемого элемента механического интерфейса. Также следует понимать, что элемент (-ы) 50 и 60 зацепления крышки и чаши может (могут) быть расположен (-ы) в любом месте на крышке 20 и чаше 16 соответственно.
[0118] Как будет более подробно описано ниже, следует понимать, что емкость 30 для хранения может быть извлечена и отделена от общего узла устройства 10 для обработки пищевых продуктов таким образом, чтобы упростить рабочую конфигурацию устройства 10 для обработки пищевых продуктов. В рабочей конфигурации крышка 20 находится в зацеплении с чашей 16 для обеспечения функционирования моторизованного основания 12. Таким образом, следует понимать, что элемент (-ы) 50 зацепления крышки также выполнен (-ы) с возможностью зацепления с элементом (-ами) 60 зацепления чаши для закрепления или фиксации крышки 20 на месте относительно чаши 16 в рабочей конфигурации. Как обсуждалось выше, крышка 20 выполнена с возможностью поворота вокруг центральной продольной оси 55 для перемещения трех элементов 50 зацепления крышки в соответствующие элементы 60 зацепления чаши для закрепления или фиксации крышки 20 на месте относительно емкости 30 для хранения в рабочей конфигурации.
[0119] Как показано на Фиг. 4, на которой представлена конфигурация хранения устройства 10 для обработки пищевых продуктов, полость 34 для хранения включает в себя верхнюю полость 70, окруженную верхним ободковым участком 34 и нижнюю полость 72, окруженную нижним участком 38. Верхняя полость 70 расположена смежно с крышкой 20, а нижняя полость расположена смежно с чашей 16 и внутри нее. Верхняя и нижняя полости 70 и 72 разделены перегородкой 74 корпуса 32 емкости для хранения. В показанном варианте осуществления перегородка 74 проходит поперечно относительно центральной продольной оси 55. Перегородка 74 включает в себя отверстие 76 (см. Фиг. 2 и 3), и в показанном варианте осуществления отверстие 76 имеет форму поперечного сечения, соответствующую форме принадлежности, представляющей собой лопатку для замешивания теста, как будет более подробно описано ниже.
[0120] Как лучше всего показано на Фиг. 4 и 6, устройство 10 для обработки пищевых продуктов включает в себя шпиндель (вращающийся вал) 80, который проходит вверх вдоль центральной продольной оси 55 в нижнюю полость 72. Шпиндель 80 также проходит по меньшей мере частично в верхнюю полость 70 через отверстие 76 в перегородке 74. Следует понимать, что шпиндель 80 находится в зацеплении с одной или более принадлежностями, обеспечивая их вращение с частотой вращения, приемлемой для операции обработки пищевых продуктов (например, очистки, нарезки ломтиками, шинковки, измельчения, смешивания и т.п.).
[0121] В показанном варианте осуществления устройство 10 для обработки пищевых продуктов включает в себя первую принадлежность 82, которая установлена на шпинделе 80, и вторую принадлежность 84, которая установлена на первой принадлежности 82. Следует понимать, что каждая из первой и второй принадлежностей 82 и 84 включает в себя ступицу, имеющую центральное отверстие, через которое может проходить шпиндель 80. В показанном варианте осуществления первая принадлежность 82 представляет собой измельчающее лезвие, а вторая принадлежность 84 представляет собой лопатку для замешивания теста. В показанной конфигурации хранения измельчающее лезвие расположено в чаше 16 и ниже нижней полости 72, в то время как лопатка для замешивания теста расположена и содержится внутри нижней полости 72.
[0122] Устройство 10 для обработки пищевых продуктов также включает в себя третью принадлежность 86, которая установлена на второй принадлежности 84, и четвертую принадлежность 88, которая установлена на третьей принадлежности 86. Следует понимать, что каждая из третьей и четвертой принадлежностей 86 и 88 также включает в себя ступицу, имеющую центральное отверстие, через которое может по меньшей мере частично проходить шпиндель 80. В показанном варианте осуществления третья принадлежность 86 представляет собой регулируемую ломтерезку, а четвертая принадлежность 88 представляет собой шинковальный диск. В показанной конфигурации хранения регулируемая ломтерезка и шинковальный диск расположены и содержатся внутри верхней полости 70.
[0123] Следует понимать, что первая, вторая, третья и четвертая принадлежности 82, 84, 86 и 88 не ограничены конфигурацией или типом принадлежности, как показано на чертежах и описано выше. Однако показанная конструкция может позволить вкладывать принадлежности друг в друга / размещать принадлежности друг на друге или иным образом собирать их в непосредственной близости друг от друга, чтобы минимизировать размер или объем чаши 16, необходимый для размещения всех принадлежностей.
[0124] Узел из принадлежностей лучше всего представлен на Фиг. 79. На Фиг. 7 показан вид с пространственным разделением компонентов первой, второй, третьей и четвертой принадлежностей 82, 84, 86 и 88, отделенных от емкости 30 для хранения. На Фиг. 8 и 9 показаны первая, вторая, третья и четвертая принадлежности 82, 84, 86 и 88 в собранном состоянии, также отделенные от емкости 30 для хранения.
[0125] Как лучше всего показано на Фиг. 9, ступицу 82а первой принадлежности (измельчающего лезвия) 82 помещают на шпиндель 80 таким образом, что шпиндель 80 проходит через центральное отверстие ступицы 82а. Ступица 82а первой принадлежности (измельчающее лезвие) 82 затем входит в зацепление со шпинделем 80, чтобы установить на него первую принадлежность 82. Аналогичным образом, ступицу 84а второй принадлежности 84 (лопатки для замешивания теста) помещают на шпиндель 80 таким образом, что шпиндель 80 проходит через центральное отверстие ступицы 84а. Затем ступица 84а второй принадлежности (лопатки для замешивания теста) 84 входит в зацепление со ступицей 82а первой принадлежности (измельчающего лезвия) 82, чтобы установить на нее вторую принадлежность. В показанном варианте осуществления ступица 84а второй принадлежности (лопатки для замешивания теста) 84 находится в перевернутой ориентации для облегчения размещения на ступице 82а первой принадлежности (измельчающего лезвия) 82. Таким образом, верхняя поверхность ступицы 84а опирается на верхнюю поверхность ступицы 82а в собранном состоянии. Для облегчения размещения второй принадлежности (лопатки для замешивания теста) 84 на шпинделе 80 (и на ступице 82а первой принадлежности 82) отверстие 76 в перегородке 74 имеет форму поперечного сечения, соответствующую форме второй принадлежности (лопатки для замешивания теста) 84.
[0126] Ступицу 86а третьей принадлежности 86 (регулируемой ломтерезки) также помещают на шпиндель 80 таким образом, что шпиндель 80 по меньшей мере частично проходит через центральное отверстие ступицы 86а. Затем ступица 86а третьей принадлежности (регулируемой ломтерезки) 86 входит в зацепление со ступицей 84а второй принадлежности (лопатки для замешивания теста) 84 таким образом, чтобы установить на нее третью принадлежность. В показанном варианте осуществления ступицу 86а третьей принадлежности (регулируемой ломтерезки) 86 помещают по меньшей мере частично внутрь полой ступицы 84а второй принадлежности (лопатки для замешивания теста) 84 таким образом, чтобы установить на нее или вложить в нее третью принадлежность. Затем ступицу 88а четвертой принадлежности (шинковального диска) 88 помещают на шпиндель 80 таким образом, что шпиндель 80 по меньшей мере частично проходит через центральное отверстие ступицы 88а, которое, в свою очередь, зацепляется со ступицей 86а третьей принадлежности (регулируемой ломтерезки) 86 таким образом, чтобы установить на нее четвертую принадлежность.
[0127] Как показано на Фиг. 4А, между перегородкой 74 емкости 30 для хранения и нижним краем 91 третьей принадлежности (регулируемой ломтерезки) 86 обеспечен первый воздушный зазор 90. Также между верхней поверхностью 93 ступицы 88а четвертой принадлежности (шинковального диска) 88 и крышкой 20 обеспечен второй воздушный зазор 92. Более конкретно второй воздушный зазор 92 обеспечен между верхней поверхностью 93 и нижней поверхностью 94 ступицы 95 в крышке 20. Следует понимать, что шпиндель 80 и/или внутренняя поверхность ступицы 84а могут включать в себя ограничительные или зацепляющие элементы, так что при установке третьей и второй принадлежностей 86 и 88 на шпиндель 80 они удерживаются на месте в заданном положении или на заданном расстоянии вдоль шпинделя 80, таким образом обеспечивая воздушные зазоры 90 и 92. Например, и как лучше всего показано на Фиг. 9, шпиндель 80 включает в себя плечевой участок 80а, который действует как ограничительный/зацепляющий элемент для ступицы 86а третьей принадлежности 86, когда она помещена на шпиндель 80.
[0128] Воздушный зазор 92 может по меньшей мере предотвращать контакт между четвертой принадлежностью 88 и нижней стороной крышки 20. Аналогичным образом воздушный зазор 90 может по меньшей мере предотвращать контакт между третьей принадлежностью 86 и емкостью 30 для хранения. Таким образом, следует понимать, что может быть уменьшен или устранен износ третьей и четвертой принадлежностей 86 и 88, например, в результате многократной сборки/разборки различных деталей, а также во время транспортировки устройства 10 для обработки пищевых продуктов.
[0129] На Фиг. 10 показана емкость 30 для хранения в собранном состоянии и по меньшей мере четвертая принадлежность 88. На Фиг. 11 и 12 представлены различные варианты или способы сборки емкости 30 для хранения. На Фиг. 11 показана чаша 16, устанавливаемая на основание 12, при этом на чашу 16 устанавливается емкость 30 для хранения. Верхний ободковый участок 36 емкости 30 для хранения находится в зацеплении с верхним ободом 98 чаши 16, а нижний участок 38 емкости 30 для хранения проходит в чашу 16.
[0130] В варианте осуществления, показанном на Фиг. 11, видны первая принадлежность (измельчающее лезвие) 82 и четвертая принадлежность (шинковальный диск) 88, хотя следует понимать, что вторая и третья принадлежности (лопатка для замешивания теста и регулируемая ломтерезка) 84 и 86 также присутствуют, но не видны. Показано, что крышка 20 отделена от емкости 30 для хранения и узла 16 чаши.
[0131] На Фиг. 12 крышка 20 и емкость 30 для хранения показаны в сборе друг с другом, а чаша 16 отделена. В этой конфигурации элементы 50 зацепления крышки находятся в зацеплении с верхними элементами 40 зацепления емкости 30 для хранения таким образом, что крышка 20 закреплена на месте относительно емкости 30 для хранения. Таким образом, следует понимать, что крышка 20 и емкость 30 для хранения могут вместе образовывать подузел, позволяющий одновременно устанавливать на чашу или снимать с чаши 16 крышку 20 и емкость 30 для хранения.
[0132] Емкость 30 для хранения может быть демонтирована и отделена от общего узла устройства 10 для обработки пищевых продуктов так, чтобы помещать устройство 10 для обработки пищевых продуктов в рабочую конфигурацию, как лучше всего показано на Фиг. 13. В этой конфигурации емкость 30 для хранения была извлечена и размещена в другом месте, отличном от устройства 10 для обработки пищевых продуктов. В показанном варианте осуществления показана только первая принадлежность (измельчающее лезвие) 82, поскольку устройство 10 для обработки пищевых продуктов используется для операции измельчения, которая не требует какой-либо другой из второй, третьей или четвертой принадлежностей 84, 86 и 88. Следует понимать, что вторая, третья и четвертая принадлежности 84, 86 и 88 по-прежнему хранятся в отделенной емкости 30 для хранения. Следует понимать, что по соображениям безопасности по меньшей мере первая принадлежность (измельчающее лезвие) 82, которая может быть скрыта от взгляда пользователя, поскольку она расположена ниже ряда компонентов, остается в чаше 16, когда емкость 30 для хранения демонтирована и отделена от всего устройства 10 для обработки пищевых продуктов. Таким образом, первая принадлежность (измельчающее лезвие) 82 (которая установлена на шпинделе 80, как описано выше) не извлекается вместе с емкостью 30 для хранения во время демонтажа, таким образом уменьшая риск контакта пользователя с первой принадлежностью (измельчающим лезвием) 80, которая в противном случае осталась бы открытой, и травмирования пользователя. Кроме того, следует понимать, что поскольку измельчающие лезвия, как известно, являются наиболее часто используемой принадлежностью в процессорах пищевых продуктов, размещение и удержание первой принадлежности (измельчающего лезвия) 80 в чаше 16 может по меньшей мере позволить быстро и многократно использовать первую принадлежность (измельчающее лезвие) 80, таким образом уменьшая необходимость демонтажа и повторной сборки множества компонентов перед использованием.
[0133] На Фиг. 13 также показана рабочая конфигурация, в которой может работать устройство 10 для обработки пищевых продуктов, поскольку отсутствие емкости 30 для хранения позволяет вводить крышку 20 в зацепление с чашей 16. В этой рабочей конфигурации запирающий участок 100 крышки 2 находится в зацеплении с запирающим узлом 105 ручки 18 чаши 16. Зацепление запирающего участка 100 крышки и запирающего узла 105 ручки приводит к срабатыванию механического переключателя или сцепления, взаимодействующего с запирающим узлом 108 основания в моторизованном основании 12 (см. Фиг. 4), таким образом позволяя осуществлять работу моторизованного основания 12 (т.е. приводить во вращение шпиндель 80 для выполнения операции обработки пищевых продуктов). Пример зацепления запирающего узла крышки/ручки подробно описан в предыдущей международной заявке заявителя №PCT/AU2011/001578, поданной 7 декабря 2011 г. Для краткости полное содержание данной международной заявки включено в настоящий документ путем перекрестной ссылки.
[0134] На Фиг. 4, 4А и 6 можно видеть, что наличие емкости 30 для хранения предотвращает зацепление запирающего участка 100 (язычка) крышки и запирающего узла 105 ручки, что таким образом предотвращает работу устройства 10 для обработки пищевых продуктов. Это защитный элемент, который предотвращает приведение в действие устройства 10 для обработки пищевых продуктов, когда оно находится в конфигурации хранения (т.е. когда присутствует емкость 30 для хранения и/или различные принадлежности), или если крышка 20 не находится в зацеплении с чашей 16. Более конкретно и как лучше всего показано на Фиг. 4А и 6, присутствие емкости 30 для хранения создает воздушный зазор 110 между запирающим участком 100 крышки и закрывающим участком 115 емкости 30 для хранения. В показанном варианте осуществления закрывающий участок 115 имеет первое плечо 117, которое проходит в поперечном направлении от верхнего ободкового участка 36, и второе плечо 119, которое проходит в поперечном направлении от первого плеча 117 по существу в направлении вверх. Второе плечо 119 расположено на расстоянии от верхнего ободкового участка 36. Как показано, между нижней поверхностью запирающего участка 100 крышки и верхней поверхностью первого плеча 117 обеспечен воздушный зазор 110. Проходящее в поперечном направлении первое плечо 117 проходит над отверстием 120 запирающего узла 105 ручки и блокирует это отверстие таким образом, что запирающий язычок 100 крышки (или любой другой объект) не может проходить в отверстие 120 для приведения к срабатыванию запирающего узла 105 ручки, таким образом предотвращая взаимодействие с запирающим узлом 108 основания в моторизованном основании 12.
[0135] Предполагается, что в других вариантах осуществления (не показаны) закрывающий участок 115 емкости 30 для хранения может иметь любую другую форму или конфигурацию, подходящую для обеспечения воздушного зазора и/или предотвращения доступа к запирающему узлу 105 ручки, и не обязательно должна иметь конфигурацию, которая включает в себя первое плечо 117 и второе плечо 119, как показано. Также может быть обеспечена переходная область 125 из чаши 16 к емкости 30 для хранения и крышке 20. Предполагается, что переходная область 125 может обеспечивать визуальное продолжение или мост между участком 130 носика чаши 16 и закрывающим носик участком 135 крышки 20.
[0136] На Фиг. 14 прилагаемых графических материалов схематически представлено устройство 10 для обработки пищевых продуктов, включающее в себя альтернативный вариант осуществления емкости 300 для хранения, которая функционирует по существу таким же образом, как и емкость 30 для хранения, описанная выше, при этом одинаковые номера позиций используются для указания одинаковых элементов. Однако в данном варианте осуществления и как лучше всего показано на Фиг. 15 и 16, верхний ободковый участок 36 емкости 300 для хранения не включает в себя верхний (-ие) элемент (-ы) 40 зацепления, описанный (-ые) выше в отношении емкости 30 для хранения. Вместо этого емкость 300 для хранения включает в себя элемент 305 захвата, проходящий в поперечном направлении от верхнего ободкового участке 36. В показанном варианте осуществления верхний ободковый участок 36 включает в себя пару элементов захвата в форме язычков 305. Следует понимать, что в других вариантах осуществления (не показаны) верхний ободковый участок 36 может быть обеспечен любым количеством элементов 305 захвата, которые в альтернативном варианте осуществления могут иметь форму любого элемента, подходящего для захвата пользователем. Элемент (-ы) 305 захвата также может (могут) быть расположен (-ы) в любом месте на верхнем ободковом участке 36. Этот вариант осуществления емкости 300 для хранения также может включать в себя воздушный зазор 110 запирающей конфигурации, как описано выше со ссылкой на Фиг. 13.
[0137] В этом варианте осуществления емкость 300 для хранения не обязательно должна быть закреплена или заблокирована на месте относительно одной из крышки 20 или чаши 16. Хотя крышка 20 и чаша 16 все еще включают в себя соответствующие элементы 50 зацепления крышки и элементы 60 зацепления чаши, так что крышка 20 и чаша 16 могут быть закреплены или заблокированы на месте относительно друг друга, следует понимать, что емкость 300 для хранения может просто располагаться между крышкой и чашей 16 в конфигурации хранения. Для демонтажа емкости 300 для хранения из устройства 10 для обработки пищевых продуктов пользователь может просто поднять емкость 300 для хранения с чаши 16 с помощью элемента (-ов) 305 захвата. Крышка 20, которая располагается на емкости 300 для хранения, в то же время снимается. Этот способ демонтажа лучше всего показан на Фиг. 17. В альтернативном варианте осуществления пользователь может сначала поднять крышку 20 с общего узла устройства 10 для обработки пищевых продуктов, как показано на Фиг. 18, а затем снять емкость 300 для хранения (вместе с различными принадлежностями, которые хранятся в ней) с использованием элемента (-ов) 305 захвата.
[0138] Следует понимать, что в других вариантах осуществления (не показаны) может быть обеспечена емкость для хранения, которая включает в себя верхний (-ие) элемент (-ы) 40 зацепления, описанный (-ые) выше в отношении емкости 30 для хранения, в дополнение к элементу (-ам) 305 захвата, описанному (-ым) выше в отношении емкости 300 для хранения.
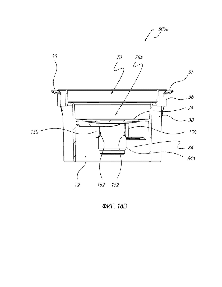
[0139] На Фиг. 18А-18С показан другой вариант осуществления емкости 300А для хранения. На Фиг. 18А представлен вид в разрезе по центральной оси емкости 300А для хранения, на котором показана вторая принадлежность (лопатка для замешивания теста) 84, которая удерживается с возможностью отсоединения в нижней полости 74. В этой форме емкости 300А для хранения имеются находящиеся с противоположных сторон язычки 150 для захвата, отходящие от нижней стороны перегородки 74. Каждый язычок 150 для захвата имеет внутренний буртик 152 для защелкивающегося зацепления с возможностью блокировки с внешними ребрами или выпуклостями 154, образованными на наружной стороне ступицы 84а лопатки для замешивания теста.
[0140] На Фиг. 18 В представлен вид в разрезе по вертикальной плоскости, смещенной от центральной оси, на котором показаны язычки 150 для захвата, которые соответствуют боковым сторонам ступицы 84а лопатки для замешивания теста. Кроме того, осевая длина язычков 150 для захвата меньше, чем длина ступицы 84а лопатки для замешивания теста, что является полезной для пользователей индикацией того, что они предназначены для приема и удержания лопатки 84 для замешивания теста, и обеспечивает достаточную длину ступицы 84а, за которую пользователь может браться при введении наружных ребер 154 в зацепление с возможностью отсоединения с внутренними кромками 152 или при вытягивании ступицы 84а из пространства между внутренними буртиками 152.
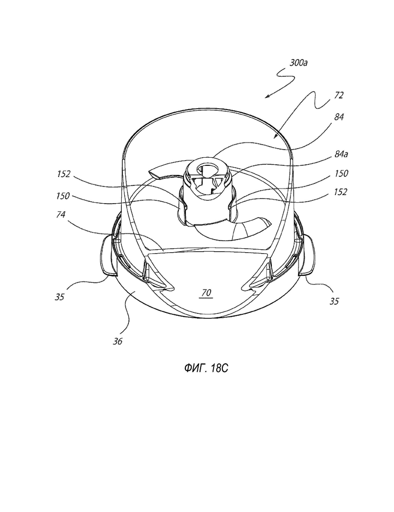
[0141] На Фиг. 18С в перевернутом виде показана емкость 300А для хранения, которая разрезана по плоскости, наклоненной к центральной оси. На этом виде в перспективе показано, что форма отверстия 76А в перегородке 74 не соответствует профилю плана лопатки 84 для замешивания теста, для этой формы емкости 300А для хранения требуется только такое отверстие 76А в перегородке, через которое может проходить шпиндель (не показан). Такая форма емкости 300А для хранения может выглядеть менее сложной для некоторых пользователей при сборке и размещении принадлежностей для хранения вместе.
[0142] На Фиг. 19 представлен альтернативный вариант осуществления устройства 500 для обработки пищевых продуктов, которое функционирует по существу таким же образом, как и устройство 10 для обработки пищевых продуктов, описанное выше, при этом одинаковые номера позиций используются для указания одинаковых элементов. Однако в этом варианте осуществления между верхней поверхностью 93 ступицы 88а четвертой принадлежности (шинковального диска) 88 и крышкой 20 обеспечен более большой первый воздушный зазор 505. Более конкретно, первый воздушный зазор 505 обеспечен между верхней поверхностью 93 и нижней поверхностью 94 ступицы 95 в крышке 20. Следует понимать, что этот более большой первый воздушный зазор 505, в свою очередь, увеличивает размер воздушного зазора 510 между запирающим участком 100 крышки и закрывающим участком 115 емкости 30 или 300 для хранения. Как видно на Фиг. 19, по меньшей мере часть внутренней стенки крышки 16 и/или емкости 30 или 300 для хранения имеет увеличенную высоту для облегчения увеличения высоты воздушных зазоров 505 и 510. Следует понимать, что увеличенная высота воздушных зазоров 505 и 510 обеспечивается для размещения окружности четвертой принадлежности (шинковального диска) 88 и/или третьей принадлежности (регулируемой ломтерезки) 86, что может по меньшей мере предотвращать перемещение по горизонтали четвертой принадлежности (шинковального диска) 88 и третьей принадлежности (регулируемой ломтерезки) 86 в емкости 30 или 300 для хранения при извлечении из чаши 16. Как описано выше применительно к воздушным зазорам 90 и 92, расположение воздушных зазоров 505 и 510 может по меньшей мере уменьшать или устранять износ третьей и четвертой принадлежностей 86 и 88, например, в результате многократной сборки/разборки различных деталей, а также во время транспортировки устройства 10 для обработки пищевых продуктов.
[0143] Различные формы устройств для обработки пищевых продуктов и емкостей для хранения, описанные выше, могут иметь одно или более из следующих преимуществ. Например, расположение емкости для хранения может по меньшей мере способствовать безопасному и эффективному с точки зрения пространства хранению различных принадлежностей, когда устройство для обработки пищевых продуктов не используется. Конфигурация принадлежностей, позволяющая вкладывать принадлежности друг в друга или размещать их друг на друге, наряду с расположением емкости для хранения создает компактный узел, выполненный с возможностью снижения необходимости увеличения общей высоты устройства для обработки пищевых продуктов. Конфигурация принадлежностей, позволяющая вкладывать принадлежности друг в друга или размещать их друг на друге, может также позволить пользователю одновременно извлекать емкость для хранения вместе с принадлежностями, что исключает необходимость извлекать и брать в руки каждую конкретную принадлежность по отдельности.
[0144] Емкость для хранения также может использоваться для хранения различных принадлежностей в одной конфигурации хранения, в которой емкость для хранения собирают в устройство для обработки пищевых продуктов, или в альтернативной конфигурации хранения, в которой емкость для хранения располагается отдельно от устройства для обработки пищевых продуктов.
[0145] Запирающий механизм крышки, емкости для хранения и чаши, описанный выше, также может предотвращать случайное приведение в действие устройства для обработки пищевых продуктов в конфигурации хранения, таким образом обеспечивая дополнительную защитную функцию. Как описано выше, когда установлена емкость для хранения, предотвращается работа моторизованного основания устройства для обработки пищевых продуктов. Когда установлена емкость для хранения, образуется достаточно большой зазор или пространство между запирающим узлом крышки и запирающим узлом ручки, что обеспечивает невозможность приведения в действие связанного запирающего узла основания моторизованного основания, пока емкость для хранения физически установлена на месте.
[0146] На Фиг. 20-48 показаны два варианта осуществления структуры 400 хранения для принадлежностей или процессора 10 пищевых продуктов. Структура 400 хранения обеспечивает компактное и безопасное хранение принадлежностей, позволяя пользователю выбирать и извлекать (или возвращать) отдельно любую из хранящихся принадлежностей, не извлекая или не беря в руки для иных целей предварительно любые другие принадлежности. Это позволяет избежать ненужного контакта с принадлежностями с острыми лезвиями для снижения риска травмирования.
[0147] Вернемся к фигурам, на Фиг. 20 показан процессор 10 пищевых продуктов со снятой чашей 16 для обработки, чтобы была видна размещенная в нем структура 400 хранения в соответствии с первым вариантом осуществления.
[0148] Процессор 10 пищевых продуктов имеет моторизованное основание 12 с пользовательским интерфейсом 14 для облегчения управления устройством. Как лучше всего показано на Фиг. 22, процессор 10 пищевых продуктов включает в себя чашу 16 для обработки, закрепленную с возможностью отсоединения на моторизованном основании 12 посредством запирающего узла 108 основания. Запирающий узел основания включает в себя комплементарные элементы на верхней части моторизованного основания 12 и нижней части чаши 16. Пользователь захватывает ручку 18, чтобы вручную повернуть чашу относительно моторизованного основания 12 для высвобождения или зацепления запирающего узла 108 основания.
[0149] Сверху чаша 16 закрыта крышкой 20, имеющей питающую трубку 22 для безопасного введения пищевого продукта в чашу 16. В питающую трубку 22 может быть вставлен толкатель 24, чтобы проталкивать пищевые продукты в чашу и избавить пользователя от необходимости вручную проталкивать пищевые продукты через трубку 22 с помощью пальцев.
[0150] Приводная муфта 109 шпинделя (см. Фиг. 47), выступающая из основания чаши 16, находится в зацеплении с гнездом 11 привода в верхней части моторизованного основания 12. Гнездо 11 привода сопрягается с нижним концом приводной муфты 109 шпинделя, а верхний конец чаши 16 выполнен с возможностью разъемного зацепления со шпинделем 80. Шпиндель 80 зацепляется с возможностью отсоединения с различными принадлежностями для обработки пищевых продуктов (например, 82, 84, 86 и 88, описанными ниже) для приведения их во вращение внутри чаши во время выполнения связанной операции обработки пищевых продуктов.
[0151] На Фиг. 20 и 22 представлен первый вариант осуществления структуры 400 хранения, которая может удерживать четыре отдельных принадлежности для обработки (82, 84, 86 и 88), а также шпиндель 80. Структура 400 хранения в соответствии с первым вариантом осуществления может полностью устанавливаться внутри чаши 16 таким образом, что крышка 20 может зацепляться с элементами байонетного соединения чаши 16 обычным образом. Это обеспечивает безопасное хранение различных принадлежностей для обработки пищевых продуктов, а также шпинделя 80 таким образом, что исключается способный причинить вред контакт острых краев лезвий друг с другом или с самой чашей. Структура 400 хранения имеет блок 402 основания, сформованный из материала с высокой износостойкостью, такого как Triton® или САН (Triton® представляет собой не содержащий BP А (не содержащий бис фенола А) пластик, поставляемый компанией Eastman Chemical Company, США). САН является общим названием сополимерного пластика, состоящего из стирола и акрилонитрила.
[0152] Крышка 406 блока основания прикреплена к верхней части блока 402 основания таким образом, что в структуре 400 хранения обеспечиваются пазы для регулируемого диска 86 для нарезки ломтиками и шинковального диска 88 (более подробное описание приведено ниже). Крышка 406 также включает в себя шарнирную ручку 408 для подъема, позволяющую извлекать всю структуру 400 хранения целиком из чаши 16 без необходимости для пользователя прикасаться к любой из хранящихся принадлежностей 82, 84, 86 или 88. Это позволяет избегать риска травмирования пользователя в результате непреднамеренного контакта с любым из острых лезвий, используемых на принадлежностях для обработки. Кроме того, как будет более подробно описано ниже, каждая из принадлежностей 82, 84, 86 и 88 может быть извлечена из структуры 400 хранения по отдельности без необходимости предварительного извлечения любой из других принадлежностей. Это также снижает риск возникновения способного причинить вред контакта с острыми участками принадлежностей, а также потенциально нарушающего гигиенические условия контакта с принадлежностями, которые приходится брать в руки только для доступа к другой принадлежности в структуре 400 хранения.
[0153] Второй вариант осуществления структуры 400 хранения показан на Фиг. 21 и 23. Второй вариант осуществления структуры 400 хранения включает в себя дополнительный блок 404, который может находиться в зацеплении с возможностью отсоединения с крышкой 406 блока основания для обеспечения хранения другой принадлежности, такой как набор 410 для нарезки кубиками. Следует понимать, что это дает пользователю возможность приобрести процессор 10 пищевых продуктов только с наиболее часто используемыми принадлежностями 82, 84, 86 и 88 или с более специализированными принадлежностями, такими как набор 410 для нарезки кубиками. Дополнительная принадлежность безопасно хранится вместе с другими принадлежностями в структуре хранения с дополнительным блоком 404. Кроме того, дополнительный блок 404 может быть приобретен позже вместе с набором 410 для нарезки кубиками и легко встроен в уже имеющийся у пользователя процессор 10 пищевых продуктов и структуру 400 хранения. Важно отметить, что второй вариант осуществления структуры 400 хранения по-прежнему позволяет пользователю по отдельности выбирать любую из принадлежностей для обработки пищевых продуктов, включая набор 410 для нарезки кубиками, без предварительного извлечения любой из других принадлежностей из структуры хранения.
[0154] Дополнительный блок 404 находится в зацеплении с возможностью отсоединения с верхней поверхностью крышки 406 блока основания с использованием комплементарных элементов байонетного соединения. Элементы байонетного соединения позволяют осуществлять относительное вращение между крышкой 406 и дополнительным блоком 404 между заблокированным и незаблокированным положениями, подробно описанными ниже со ссылкой на Фиг. 30 и 42. Однако, как показано на Фиг. 23, дополнительный блок 404 увеличивает высоту структуры 400 хранения таким образом, что она больше не вмещается полностью в чашу 16. В свете вышесказанного, крышка 20 может быть помещена на открытую верхнюю часть дополнительного блока 404, а не находиться в зацеплении с чашей 16 обычным образом. Однако структуру 400 хранения в соответствии со вторым вариантом осуществления можно по-прежнему извлекать из чаши 16 процессора пищевых продуктов без необходимости для пользователя прикасаться к любой из хранящихся принадлежностей. Дополнительный блок 404 имеет расположенные с диаметрально противоположных сторон подъемные язычки 412, позволяющие пользователю легко поднимать структуру 400 хранения, оставляя на месте чашу 16 процессора пищевых продуктов. После извлечения всей структуры 400 хранения целиком из процессора 10 пищевых продуктов можно выбирать отдельные принадлежности, включая набор 410 для нарезки кубиками, и извлекать их из структуры 400 хранения через открытую верхнюю часть дополнительного блока 404.
[0155] Аналогично емкости 30 для хранения, описанной выше со ссылкой на Фиг. 4, 4А, 6 и 13, наличие дополнительного блока 404 предотвращает зацепление запирающего участка крышки и запирающего узла ручки, что, в свою очередь, предотвращает приведение в действие моторизованного основания 12.
[0156] На Фиг. 24 и 25 представлены виды в разрезе по вертикали первого и второго вариантов осуществления структуры 400 хранения соответственно.
[0157] На Фиг. 24 представлен вид в разрезе по х у первого варианта осуществления структуры 400 хранения, на котором показана задняя половина, если смотреть с передней стороны в системе координат, представленной на Фиг. 20. Блок 402 основания имеет углубления 420 и 422, сформированные на противоположных сторонах. Углубление 420 для измельчающего лезвия содержит измельчающее лезвие 82, удерживаемое на креплении 436 измельчающего лезвия. Углубление 422 лопатки для замешивания теста вмещает лопатку 84 для замешивания теста, удерживаемую на креплении 426 лопатки для замешивания теста. В задней части блока 402 основания имеется отверстие 418 для удержания гнезда 472 шпинделя. Гнездо 472 шпинделя имеет расположенные с противоположных сторон элементы 476 захвата для удержания шпинделя 80 с возможностью отсоединения.
[0158] Над блоком 402 основания находится крышка 406. Соединение между крышкой 406 и блоком 402 основания более подробно описано ниже. Однако крышка 406 и блок 402 основания вместе обеспечивают паз 450 для регулируемой ломтерезки и паз 464 для шинковального диска, предназначенные для удержания регулируемого диска 86 для нарезки ломтиками и шинковального диска 88 соответственно. Паз 450 для регулируемой ломтерезки отделен от паза 464 для шинковального диска посредством перегородки 462. Перегородка 462 поддерживает дистанцию между регулируемым диском 86 для нарезки ломтиками и шинковальным диском 88 во время хранения.
[0159] В центре крышки 406 находится шарнирная ручка 408. Ручка 408 поворачивается в вертикальное положение (см. Фиг. 48), что позволяет пользователю поднимать первый вариант осуществления структуры 400 хранения из чаши 16 без необходимости прикасаться к любой из принадлежностей 82-88 или шпинделю 80. Кроме того, при использовании структуры 400 хранения, извлеченной из чаши 16, каждая из принадлежностей 82-88 доступна пользователю по отдельности без необходимости извлекать любую из других принадлежностей для получения доступа. Аналогичным образом шпиндель доступен отдельно без необходимости извлекать или брать в руки другие принадлежности. И наоборот, каждая из принадлежностей может быть по отдельности возвращена на место в блок 400 хранения без предварительного размещения какой-либо другой принадлежности или приводного шпинделя 80 в структуре хранения.
[0160] На Фиг. 25 представлен вид в разрезе по вертикали второго варианта осуществления структуры 400 хранения, на котором показана передняя половина, если смотреть с задней стороны в системе координат, представленной на Фиг. 21 и 23. Второй вариант осуществления структуры 400 хранения имеет дополнительный блок 404, прикрепленный к верхней части крышки 406. Дополнительный блок 404 обеспечивает полость для хранения для дополнительной принадлежности такой как набор 410 для нарезки кубиками. Наборы 410 для нарезки кубиками используют для нарезки кубиками или резки на куски твердых крахмалсодержащих овощей, таких как картофель, репа и сладкий картофель. Некоторые пользователи могут не нуждаться в наличии функции нарезки кубиками или резки на куски в процессоре пищевых продуктов. В этом случае процессор пищевых продуктов может быть приобретен с первым вариантом осуществления структуры 400 хранения вместе с более часто используемыми принадлежностями 82 88. Дополнительный блок 404 и набор 410 для нарезки кубиками являются вариантом для тех, кому эта функция нужна.
[0161] Второй вариант осуществления структуры 400 хранения по-прежнему позволяет пользователю получать доступ к каждой из принадлежностей 82-88 и набору 410 для нарезки кубиками по отдельности без необходимости извлекать другие принадлежности. Набор 410 для нарезки кубиками может быть извлечен через открытую верхнюю часть дополнительного блока 404, при этом прикрепление дополнительного блока 404 не препятствует доступу к шинковальному диску 88 или регулируемому диску 86 для нарезки ломтиками. Кроме того, дополнительный блок 404 обеспечен выступающими в боковом направлении подъемными язычками 412, позволяющими пользователю поднимать структуру 400 хранения из чаши 16 (см. Фиг. 23) с минимальным риском прикосновения к любой из хранящихся принадлежностей. И наоборот, структуру 400 хранения помещают назад в чашу 16 для обработки с использованием подъемных язычков 412 без необходимости физического прикосновения к любой из принадлежностей 82 88 для обработки пищевых продуктов, шпинделю 80 или набору 410 для нарезки кубиками.
[0162] На Фиг. 26-29 с разных сторон представлен блок 402 основания для иллюстрации положения крепления 426 лопатки для замешивания теста и крепления 436 измельчающего лезвия в углублении 422 лопатки для замешивания теста и углублении 420 измельчающего лезвия соответственно. Углубление 420 измельчающего лезвия и углубление 422 лопатки для замешивания теста удерживают измельчающее лезвие 82 и лопатку 84 для замешивания теста таким образом, что острые края находятся внутри периферической протяженности блока 402 основания. Это обеспечивает защитное ограждение от непреднамеренного прикосновения к острым краям этих принадлежностей для безопасности пользователя. Формы углублений 420 и 422 соответствуют связанным с ними принадлежностям, что дает пользователю четкое указание на надлежащее место для доступа к принадлежности/возврата принадлежности.
[0163] Измельчающее лезвие 82 и лопатка 84 для замешивания теста удерживаются с возможностью отсоединения в правильном положении в углублении 420 измельчающего лезвия и углублении 422 лопатки для замешивания теста соответственно посредством крепления 436 измельчающего лезвия и крепления 426 лопатки для замешивания теста. Как лучше всего показано на Фиг. 29, блок 402 основания имеет отверстие 432 углубления измельчающего лезвия для приема и зацепления с язычком 434 байонетного соединения крепления измельчающего лезвия. Хотя на Фиг. 29 показаны только одно отверстие 432 и один язычок 434 байонетного соединения, следует понимать, что для надежного присоединения крепления 436 измельчающего лезвия внутри углубления 420 измельчающего лезвия обеспечивают множество язычков и комплементарных отверстий.
[0164] Аналогичным образом в углублении 422 лопатки для замешивания теста имеются отверстия 428 углубления лопатки для замешивания теста для приема и зацепления с язычками 430 байонетного соединения крепления лопатки для замешивания теста. И крепление 426 лопатки для замешивания теста, и крепление 436 измельчающего лезвия могут быть при необходимости отсоединены от блока 402 основания для чистки и легко возвращены на место с помощью байонетного соединения. Крепления 426 и 436 принадлежностей также включают в себя элементы 474 зацепления, более подробно описанные ниже со ссылкой на Фиг. 45. В креплениях 426 и 436 используются элементы зацепления для удержания с возможностью отсоединения измельчающего лезвия 82 и лопатки 84 для замешивания теста посредством посадки с натягом, что позволяет пользователю вручную извлекать принадлежность из соответствующего углубления и при этом обеспечивает надежное удержание принадлежности внутри соответствующего углубления во время хранения.
[0165] В верхней части блока 402 основания имеются верхние удлиняющие сегменты 416, каждый из которых поддерживает выступающий внутрь фиксирующий выступ 414 для упругого удержания шинковального диска 88 в пазу 464 для шинковального диска. Оба обращенных внутрь фиксирующих выступа 414 расположены немного впереди по отношению к диаметру, выступающему через верхние удлиняющие сегменты 416 таким образом, что шинковальный диск 88, когда он вставлен в паз 464 для шинковального диска, находится в зацеплении с обоими фиксирующими выступами 414 непосредственно перед самым широким местом (т.е. диаметром диска). Степень гибкости в верхних удлиняющих сегментах 416 позволяет выталкивать шинковальный диск 88 через фиксирующие выступы 414 за самое широкое место, обеспечиваемое диаметром, в положение, находящееся непосредственно за диаметром, для удержания диска в пазу посредством механизма, который фактически является центрирующим механизмом.
[0166] Верхняя часть блока 402 основания также имеет отверстия 452 боковой стенки, сформированные в боковой стенке непосредственно под направляющими уклонами 458, сформированными в верхнем ободе боковой стенки. Эти элементы используются в защелкивающемся взаимном соединении между блоком 402 основания и крышкой 406. Это защелкивающееся соединение более подробно описано ниже со ссылкой на Фиг. 34- 37. На передней части блока 402 основания находится углубление 424 для доступа пальцем, проходящее между углублением 420 измельчающего лезвия и углублением 422 лопатки для замешивания теста. Углубление 424 для доступа пальцем позволяет пользователю легко получать доступ и извлекать регулируемый диск 86 для нарезки ломтиками. Как обсуждается ниже со ссылкой на Фиг. 34-37, зазор в перегородке 462, разделяющей шинковальный диск и регулируемую ломтерезку, обеспечивает доступ пальцем к верхней стороне регулируемого диска 86 для нарезки ломтиками, чтобы пользователь мог захватить и вытянуть его из паза 450 для регулируемой ломтерезки.
[0167] На Фиг. 30-33 с разных сторон представлена структура 400 хранения в соответствии со вторым вариантом осуществления с дополнительным блоком 404 в заблокированном положении на крышке 406 блока 402 основания. Дополнительный блок 404 присоединяется к верхней поверхности крышки 406 блока основания посредством байонетного соединения, обеспечиваемого загнутыми внутрь язычками 438, изогнутым наружу язычком 444 и дугообразными пазами 440 и 446. Загнутые внутрь язычки 438 находятся в зацеплении с двумя длинными дугообразными пазами 440, расположенными на более большом расстоянии в радиальном направлении от центра дополнительного блока 404, чем более короткий дугообразный паз 446. За счет относительного вращения дополнительного блока 404 и крышки 406 загнутые внутрь язычки 438 и изогнутый наружу язычок 444 перемещаются к другому концу пазов 440 и 446. Это положение представляет собой незаблокированное положение (см. Фиг. 42), позволяющее извлекать дополнительный блок 404 из крышки 406, когда загнутые внутрь язычки 438 совмещены с отверстием 442 для внутреннего язычка, а изогнутый наружу язычок 444 совмещен с отверстием 448 для наружного язычка.
[0168] Дополнительный блок 404 включает в себя отверстие 480 для доступа к ручке, которое в заблокированном положении совмещено с ручкой 408 для подъема. В случае, когда набор 410 для нарезки кубиками не находится в дополнительном блоке 404 и пользователь решает поднять структуру 400 хранения через шарнирную ручку 408 для подъема, отверстие 480 для доступа к ручке обеспечивает доступ к отверстию 470 для пальца и позволяет повернуть ручку 408 в вертикальное положение (см. Фиг. 48).
[0169] На Фиг. 34-37 с разных сторон представлена крышка 406 для блока 402 основания. Верхняя часть крышки 406 имеет загнутые внутрь язычки 438, расположенные на более большом расстоянии в радиальном направлении от центра крышки, чем изогнутый наружу язычок 444. Проксимально к центру крышки 406 находится шарнирное соединение 466 для ручки 408 для подъема. На дне крышки 406 находится перегородка 462 для разделения паза 450 для регулируемой ломтерезки и паза 464 для шинковального диска. Как описано выше, перегородка 462 включает в себя зазор 482 на передней части для совмещения с углублением 424 для доступа пальцем в блоке 402 основания, так что пользователь может захватывать обод регулируемого диска 86 для нарезки ломтиками (если он хранится в пазу 450 для регулируемой ломтерезки, см. Фиг. 11).
[0170] С левой и правой сторон крышки 406 находятся периферийно расположенные углубления 468. Когда крышка 406 перемещается в положение защелкивающегося зацепления с блоком 402 основания, верхние удлиняющие сегменты 416 на верхней части блока 402 основания (см. Фиг. 26) проходят через периферийно расположенные углубления 468 таким образом, чтобы обращенные внутрь фиксирующие выступы 414 располагались внутри паза 464 для шинковального диска.
[0171] Как лучше всего показано на Фиг. 35 и 36, задняя нижняя периферийная поверхность крышки 406 включает в себя проходящие вниз язычки 454 защелкивающегося зацепления. Для повышения гибкости средний язычок 454 защелкивающегося зацепления установлен на гибкой базовой части 456. Язычки 454 защелкивающегося зацепления расположены таким образом, чтобы зацеплять направляющие уклоны 458 в верхнем ободе блока 402 основания (см. Фиг. 26). По мере проталкивания крышки 460 вниз язычки 454 защелкивающегося зацепления скользят вниз по направляющим уклонам 458 и в конечном счете защелкиваются в отверстиях 452 боковой стенки. В альтернативном варианте осуществления крышка 406 может быть постоянно прикреплена к блоку 402 основания / составлять с ним единое целое.
[0172] На Фиг. 38 представлен первый вариант осуществления структуры 400 хранения, в которой различные принадлежности отделены от их соответствующих положений хранения. На этой фигуре показано, что отдельный доступ к измельчающему лезвию 82 обеспечивается с правой стороны структуры 400 хранения (со стороны, показанной на фигурах), доступ к лопатке 84 для замешивания теста обеспечивается с левой стороны, регулируемый диск для нарезки ломтиками и шинковальный диск 86 и 88 могут быть извлечены по отдельности из передней части пазов 450 и 464, а шпиндель 80 извлекается из задней части структуры 400 хранения. Таким образом, пользователю не требуется брать в руки какую-либо принадлежность, отличную от принадлежности, необходимой для выполнения требуемой функции обработки пищевых продуктов. Следует понимать, что структура 400 хранения может быть размещена в чаше 16 в любой ориентации, а ссылки на «слева», «справа» и «спереди», используемые выше, не подразумевают, что эти элементы обращены влево, вправо или вперед во время использования.
[0173] Аналогичным образом на виде в перспективе с пространственным разделением компонентов второго варианта осуществления структуры 400 хранения показано, что присоединение дополнительного блока 404 не препятствует возможности по отдельности осуществлять доступ к измельчающему лезвию 82, лопатке 84 для замешивания теста, диску 86 для нарезки ломтиками, шинковальному диску 88 или шпинделю 80 и извлекать их. Кроме того, набор 410 для нарезки кубиками доступен отдельно через открытую верхнюю часть дополнительного блока 404.
[0174] На Фиг. 40 представлен вид в перспективе спереди справа первого варианта осуществления структуры 400 хранения, на котором показан регулируемый диск 86 для нарезки ломтиками, который хранится внутри паза 450 для регулируемой ломтерезки, и терочный диск 88, который хранится внутри паза 464 для терочного диска. Доступ к этим дискам для извлечения и возврата на место осуществляется с помощью углубления 424 для доступа пальцем в передней части блока 402 основания и переднего зазора 482 в перегородке 462 крышки 406. Толщина перегородки 462 является достаточной, чтобы пользователи могли осуществлять захват пальцем за обод регулируемого диска 86 для нарезки ломтиками и периферийный обод терочного диска 88. Захват пальцем должен обеспечивать приложение к дискам достаточного усилия, чтобы пользователь мог поднять регулируемый диск для нарезки ломтиками над язычками 484 для удерживания диска или вытянуть шинковальный диск 88 из паза 464 для шинковального диска, преодолевая сопротивление, обеспечиваемое фиксирующими выступами 414 диска.
[0175] На Фиг. 41 представлен второй вариант осуществления структуры 400 хранения, показывающий, что шинковальный диск 88 все еще можно отдельно извлечь через передний зазор 482 в перегородке 462. Когда дополнительный блок 404 прикреплен к верхней части крышки 406, под основанием дополнительного блока и ободом шинковального диска 88 остается достаточный зазор, позволяющий осуществлять захват пальцем для извлечения и возврата на место шинковального диска 88.
[0176] На Фиг. 42 и 43 показано, что дополнительный блок 404 повернут в незаблокированное положение на крышке 406. Как обсуждалось выше, на Фиг. 30 показан дополнительный блок 404 в заблокированном положении. Поворот дополнительного блока 404 относительно блока 402 основания на заданный угол 486 разблокирует дополнительный блок 404 из соединения с крышкой 406. Как было описано выше, дополнительный блок 404 и крышка 406 находятся в зацеплении посредством байонетного соединения между загнутыми внутрь язычками 438 и изогнутым наружу язычком 444 на крышке 406 и длинными дугообразными пазами 440 и коротким дугообразным пазом 446 в дополнительном блоке 404. В незаблокированном положении загнутые внутрь язычки 438 находятся внутри отверстий 442 для внутренних язычков, расположенных на конце длинных дугообразных пазов 440. Аналогичным образом изогнутый наружу язычок 444 находится внутри отверстия 448 для наружного язычка, расположенного на конце короткого дугообразного паза 446. Это положение представляет собой незаблокированное положение байонетного соединения, т.е. дополнительный блок 404 можно поднимать с крышки 406 с помощью подъемных язычков 412.
[0177] В незаблокированном положении пользователь не может поднять структуру 400 хранения посредством шарнирной ручки 408 на крышке 406. После поворота дополнительного блока 404 на угол 486 относительно крышки 406 отверстие 480 для доступа к ручке больше не совмещено с расположенной под ним шарнирной ручкой 408 для подъема.
[0178] На Фиг. 44 представлен вид в перспективе с пространственным разделением компонентов второго варианта осуществления структуры 400 хранения, на котором гнездо 472 шпинделя, крепление 436 измельчающего лезвия и крепление 426 лопатки для замешивания теста сняты с блока 402 основания для ясности.
[0179] На Фиг. 45 представлен вид в перспективе блока 402 основания вместе с гнездом 472 шпинделя, креплением 436 измельчающего лезвия и креплением 426 лопатки для замешивания теста, которые отделены от блока, чтобы четко показать их соответствующие элементы зацепления с возможностью отсоединения. Гнездо 472 шпинделя имеет элементы 476 захвата шпинделя, которые смещаются в положение зажимного зацепления со сторонами шпинделя 80, когда он вставлен в гнездо 472. Усилие зацепления между элементами 476 захвата шпинделя и шпинделем 80 выполнено таким образом, что шпиндель надежно удерживается внутри гнезда 472, но легко извлекается пользователем без приложения чрезмерных усилий.
[0180] Крепление 436 измельчающего лезвия и крепление 426 лопатки для замешивания теста имеют элементы 474 зацепления с возможностью отсоединения, расположенные вокруг их соответствующих боковых стенок. Каждое из крепления 436 измельчающего лезвия и крепления 426 лопатки для замешивания теста, изображенных на фигурах, имеют три элемента 474 зацепления, однако следует понимать, что возможны и другие формации зацепления с возможностью отсоединения. Элементы 474 зацепления с возможностью отсоединения установлены нежестко таким образом, чтобы они сжимались внутрь во время вставки ступиц 492 принадлежностей 82 и 84 в соответствующие крепления (см. Фиг. 38 и 39). На внутренней стороне ступиц 492 крепления принадлежностей находится комплементарный набор удерживающих фиксаторов 490 для приема смещенных наружу элементов 474 зацепления. Кроме того, зацепление между элементами 474 зацепления на креплениях 436 и 426 принадлежностей и ступицами 492 принадлежностей является достаточным для надежного удержания измельчающего лезвия 82 и лопатки 84 для замешивания теста во время хранения и извлечения из чаши 16, но может быть разъединено вручную без приложения чрезмерных усилий.
[0181] На Фиг. 44 и 45 представлено четкое изображение язычков 430 байонетного соединения крепления лопатки для замешивания теста и язычков 434 байонетного соединения крепления измельчающего лезвия. Как и в случае с элементами 474 зацепления, каждое из креплений 426 и 436 принадлежностей оснащено тремя язычками байонетного соединения (три язычка 430 и три язычка 434) соответственно. Однако следует понимать, что возможны другие формы зацепления с возможностью отсоединения между креплениями 426 и 436 принадлежностей и блоком 402 основания.
[0182] На Фиг. 46 представлен вид слева в вертикальной проекции структуры 400 хранения в соответствии с первым вариантом осуществления. Здесь показано четкое изображение элементов в углублении, обеспечивающих зацепление байонетного типа штырей с креплением 426 лопатки для замешивания теста. Внутри углубления 422 лопатки для замешивания теста имеются три равноудаленных друг от друга концентрических дугообразных углубления 428. На одном конце каждого из этих дугообразных углублений 428 имеется отверстие 478 для язычка байонетного соединения. Отверстия 478 для язычков байонетного соединения имеют такие размеры, чтобы через них могли проходить язычки 430 байонетного соединения крепления лопатки для замешивания теста с последующим поворотом крепления 426 лопатки для замешивания теста относительно блока 402 основания с перемещением байонетного соединения в заблокированное положение.
[0183] Та же ситуация повторяется с другой стороны блока 402 основания в углублении 420 измельчающего лезвия, где отверстия 432 углубления измельчающего лезвия представляют собой три дугообразные равноудаленные друг от друга концентрические канавки. Аналогичным образом отверстия 432 углубления измельчающего лезвия включают в себя отверстия для язычка байонетного соединения, через которые может проходить язычок 434 крепления измельчающего лезвия. Поворот крепления 436 измельчающего лезвия относительно блока 402 основания перемещает байонетное соединение в заблокированное положение.
[0184] На Фиг. 47 представлено поперечное сечение в вертикальной проекции задней половины структуры 400 хранения в соответствии с первым вариантом осуществления. В центре нижней стороны блока 402 основания имеется полость 488 приводной муфты. Когда структура 400 хранения находится внутри чаши 16 для обработки, приводная муфта 109 шпинделя, выступающая из основания чаши, полностью находится внутри полости 488 приводной муфты. Это позволяет изолировать приводную муфту на основании чаши от любого контакта с частями структуры 400 хранения или принадлежностями и шпинделем, хранящимися в ней. Таким образом, структура 400 хранения, хранящиеся шпиндель 80 и принадлежности 82 88 защищены от повреждений вследствие непреднамеренного приведения в действие моторизованного основания 12.
[0185] На Фиг. 48 представлен вид в перспективе первого варианта осуществления структуры 400 хранения с ручкой 408 для подъема, повернутой в вертикальное положение. В вертикальном положении ручка 408 позиционирует отверстие 470 для пальца таким образом, что центральная ось 494 структуры 400 хранения является по существу коллинеарной с диаметром кольцевого отверстия 470 для пальца. Таким образом, структура 400 хранения остается по существу выравненной, когда ее поднимают из чаши 16 для обработки (не показана).
[0186] Настоящее изобретение описано в настоящем документе только в качестве примера. Специалистам в данной области будут очевидны многие вариации и модификации, которые не выходят за рамки сущности и объема широкой концепции изобретения.
| название | год | авторы | номер документа |
|---|---|---|---|
| УСОВЕРШЕНСТВОВАННЫЙ КУХОННЫЙ КОМБАЙН | 2011 |
|
RU2584849C2 |
| КРЫШКА С ОБРАТНЫМ КЛАПАНОМ | 2014 |
|
RU2672831C2 |
| КУХОННОЕ УСТРОЙСТВО, КУХОННЫЙ КОМБАЙН И ПРЕДОХРАНИТЕЛЬНОЕ БЛОКИРОВОЧНОЕ ПРИСПОСОБЛЕНИЕ | 2017 |
|
RU2737826C2 |
| КУХОННОЕ УСТРОЙСТВО | 2017 |
|
RU2737649C1 |
| БЫТОВОЙ ЭЛЕКТРОПРИБОР ДЛЯ ОБРАБОТКИ ПИЩЕВЫХ ПРОДУКТОВ И БЛОК ЗАЩИТЫ ОТ БРЫЗГ ДЛЯ НЕГО | 2019 |
|
RU2752450C1 |
| БЫТОВОЙ ПРИБОР С ЭЛЕКТРОПРИВОДОМ ДЛЯ ОБРАБОТКИ ПРОДУКТОВ ПИТАНИЯ | 2014 |
|
RU2612992C2 |
| КУХОННЫЙ КОМБАЙН И СПОСОБ УПРАВЛЕНИЯ ОТОБРАЖЕНИЕМ ЕГО ИНТЕРФЕЙСА | 2017 |
|
RU2747942C1 |
| КАПСУЛА ДЛЯ ПРИГОТОВЛЕНИЯ НАПИТКА ИЛИ ЖИДКОГО ПИЩЕВОГО ПРОДУКТА И СИСТЕМА ДЛЯ ПРИГОТОВЛЕНИЯ НАПИТКОВ, ИСПОЛЬЗУЮЩАЯ ЦЕНТРОБЕЖНУЮ СИЛУ | 2008 |
|
RU2479243C2 |
| Стакан-контейнер для погружного блендера | 2023 |
|
RU2831854C1 |
| ЗАКРЫТАЯ УПАКОВКА ДЛЯ БРИТВЕННЫХ СМЕННЫХ БЛОКОВ ИЛИ ДРУГИХ ЗАПАСНЫХ ДЕТАЛЕЙ (ВАРИАНТЫ) | 2000 |
|
RU2284955C2 |
Структура (400) хранения для устройства (10) для обработки пищевых продуктов с чашей (16) для обработки пищевых продуктов, с которой используются различные принадлежности (82, 88), имеющая блок (402) основания, выполненный с возможностью установки внутри чаши (16), и формации (460, 474) зацепления для удержания множества принадлежностей (82-88) на блоке (402) основания с возможностью их извлечения по отдельности из блока 402 основания и возвращения по отдельности в блок (402) основания без предварительного извлечения или возвращения на место других принадлежностей (82,88). Технический результат заявленной группы изобретений заключается в безопасном хранении множества принадлежностей, некоторые из которых имеют острые режущие лезвия. 2 н. и 16 з.п. ф-лы, 48 ил.
1. Структура хранения для устройства для обработки пищевых продуктов с чашей для обработки пищевых продуктов, с которой используются различные принадлежности, причем структура хранения содержит:
блок основания, выполненный с возможностью установки внутри чаши,
формации зацепления для удержания множества принадлежностей на блоке основания с возможностью их извлечения по отдельности с блока основания и их возвращения на блок основания, и
при этом блок основания имеет углубления для хранения принадлежностей, причем каждое из углублений имеет по меньшей мере одну из формаций зацепления для зацепления с возможностью отсоединения принадлежностей таким образом, чтобы хранить принадлежности внутри углублений, предотвращая при этом непосредственный контакт одной из принадлежностей с другой из принадлежностей.
2. Структура хранения по п. 1, в которой устройство для обработки пищевых продуктов имеет шпиндель для зацепления принадлежностей для приведения их во вращение внутри чаши, причем некоторые из формаций зацепления выполнены с возможностью удержания шпинделя таким образом, что шпиндель возможно извлекать из блока основания.
3. Структура хранения по п. 2, в которой блок основания имеет гнездо для приема шпинделя, причем гнездо имеет множество формаций для захвата с возможностью отсоединения шпинделя во время хранения и обеспечения отсоединения шпинделя пользователем вручную.
4. Структура хранения по п. 2, в которой по меньшей мере одно из углублений выполнено с возможностью хранения только одной указанной принадлежности.
5. Структура хранения по п. 4, дополнительно содержащая съемное крепление в по меньшей мере одном углублении, причем съемное крепление имеет формации для зацепления с возможностью отсоединения принадлежности для ее хранения внутри углубления.
6. Структура хранения по п. 5, в которой съемное крепление и по меньшей мере одно углубление имеют комплементарные язычки байонетного соединения и отверстия, образующие байонетное соединение между креплением и углублением.
7. Структура хранения по любому из пп. 1-6, дополнительно содержащая крышку для крепления к блоку основания, причем крышка и блок основания образуют по меньшей мере один паз для удержания одной из принадлежностей, выполненной в форме диска с возможностью вращения в чаше.
8. Структура хранения по п. 7, в которой крышка и блок основания образуют множество пазов для удержания по отдельности одного из дисков соответственно.
9. Структура хранения по п. 7 или 8, дополнительно содержащая дополнительный блок для зацепления с возможностью отсоединения с крышкой, причем дополнительный блок выполнен с возможностью удержания дополнительной принадлежности для устройства для обработки пищевых продуктов таким образом, что дополнительный блок не препятствует извлечению любой из множества принадлежностей, хранящихся в структуре хранения.
10. Структура хранения по любому из пп. 1-9, в которой чаша имеет основание с приводной муфтой шпинделя, а структура хранения дополнительно содержит полость приводной муфты для размещения в ней приводной муфты шпинделя, когда блок основания находится внутри чаши, таким образом, чтобы приводная муфта шпинделя не касалась какой-либо части структуры хранения или множества принадлежностей.
11. Структура хранения по любому из пп. 1-10, выполненная с возможностью подъема из чаши.
12. Структура хранения по п. 11, в которой крышка имеет ручку для подъема с шарнирным соединением для поворота в вертикальное положение для подъема структуры хранения из чаши.
13. Структура хранения по п. 11, в которой дополнительный блок имеет подъемные язычки для подъема структуры хранения из чаши.
14. Структура хранения по любому из пп. 1-13, в которой множество принадлежностей включает в себя одно или более из:
a. измельчающего лезвия;
b. лопатки для замешивания теста;
c. регулируемого диска для нарезки ломтиками; и
d. регулируемого шинковального диска.
15. Структура хранения по п. 14, в которой дополнительная принадлежность представляет собой набор для нарезки кубиками.
16. Структура хранения по любому из пп. 1-8, в которой устройство для обработки пищевых продуктов имеет крышку для чаши, причем структура хранения выполнена с возможностью установки в чаше, на которой располагается крышка.
17. Структура хранения по п. 9, в которой устройство для обработки пищевых продуктов имеет крышку для чаши, причем дополнительный блок выполнен с возможностью приема крышки для закрывания дополнительной принадлежности.
18. Структура хранения для устройства для обработки пищевых продуктов с чашей для обработки пищевых продуктов, с которой используются различные принадлежности, приводимые во вращение посредством шпинделя, функционально соединенного с моторизованным основанием посредством приводной муфты внутри чаши, причем структура хранения содержит:
блок основания, выполненный с возможностью установки внутри чаши, при этом блок основания имеет полость для размещения приводной муфты таким образом, что при нахождении в чаше приводная муфта располагается на расстоянии от контакта с любой частью блока основания и принадлежностей, удерживаемых посредством блока основания.
| US 6082548 A, 04.07.2020 | |||
| Топчак-трактор для канатной вспашки | 1923 |
|
SU2002A1 |
| Многоступенчатая активно-реактивная турбина | 1924 |
|
SU2013A1 |
| КУХОННЫЙ ПРИБОР С ВЫДВИЖНЫМ ЯЩИКОМ ДЛЯ ИНСТРУМЕНТА | 2010 |
|
RU2508897C2 |
Авторы
Даты
2025-04-11—Публикация
2021-07-19—Подача