Настоящее изобретение относится к электрически управляемым генерирующим аэрозоль системам. В частности, настоящее изобретение относится к электрически управляемым генерирующим аэрозоль системам, содержащим генерирующее аэрозоль устройство и зарядный блок. Настоящее изобретение также относится к электрическим разъемам для электрически управляемых генерирующих аэрозоль систем.
Электрически управляемые генерирующие аэрозоль системы в целом содержат аэрозольобразующий субстрат и нагреватель, которым управляют для нагрева аэрозольобразующего субстрата с образованием аэрозоля для вдыхания пользователем. Как правило, электрически управляемые генерирующие аэрозоль системы также содержат генерирующее аэрозоль устройство, содержащее электрический источник питания для подачи питания на нагреватель. Нагреватель может быть резистивным электрическим нагревателем, индукционным нагревателем или т. п.
В некоторых системах генерирующее аэрозоль устройство выполнено с возможностью размещения в нем генерирующего аэрозоль изделия, содержащего твердый аэрозольобразующий субстрат, такой как собранный гофрированный лист табака. В этих системах устройство обычно содержит нагреватель, выполненный с возможностью нагрева аэрозольобразующего субстрата, когда изделие размещено в устройстве. Изделие также может содержать фильтр, который обернут вместе с аэрозольобразующим субстратом в виде стержня, подобно традиционной сигарете. В других системах устройство выполнено с возможностью размещения в нем картриджа, содержащего нагреватель и жидкий аэрозольобразующий субстрат. Такие картриджи часто называют картомайзерами. Распространенные типы нагревателя, используемые в картомайзерах, содержат катушку из нагревательной проволоки, намотанную вокруг удлиненного фитиля, пропитанного жидким аэрозольобразующим субстратом.
Некоторые электрически управляемые генерирующие аэрозоль системы содержат зарядный блок для перезарядки электрического источника питания электрически управляемого генерирующего аэрозоль устройства. Зарядный блок может содержать корпус, перезаряжаемый электрический источник питания, расположенный в корпусе, и полость для размещения в ней электрически управляемого генерирующего аэрозоль устройства. Как правило, зарядные блоки являются портативными и могут переноситься пользователем вместе с устройством для продления времени работы устройства.
Было бы желательным улучшить скорость и простоту, с которыми пользователь может электрически соединять генерирующее аэрозоль устройство и зарядный блок. Также было бы желательным обеспечить электрический разъем для электрически управляемой генерирующей аэрозоль системы, который позволяет устанавливать электрическое соединение между генерирующим аэрозоль устройством и зарядным блоком при любом угловом положении. Также было бы желательным обеспечить электрический разъем для электрически управляемой генерирующей аэрозоль системы, который позволяет устанавливать электрическое соединение между генерирующим аэрозоль устройством и зарядным блоком в случае, если генерирующее аэрозоль устройство не полностью выровнено с зарядным блоком.
Согласно аспекту настоящего изобретения предусмотрена электрически управляемая генерирующая аэрозоль система, содержащая генерирующее аэрозоль устройство, зарядный блок, выполненный с возможностью размещения в нем генерирующего аэрозоль устройства, и первую часть разъема и вторую часть разъема. Генерирующее аэрозоль устройство может иметь одну из первой части разъема и второй части разъема, а зарядный блок имеет другую из первой части разъема и второй части разъема. Первая часть разъема может содержать: первый электрический контакт; второй электрический контакт, практически окружающий первый электрический контакт; и третий электрический контакт, практически окружающий второй электрический контакт. Вторая часть разъема может содержать: поверхность и выступ, расположенный практически по центру на поверхности; первый электрический контакт, расположенный на выступе; второй электрический контакт, расположенный на поверхности, отстоящий радиально наружу от первого электрического контакта; и третий электрический контакт, расположенный на поверхности, отстоящий радиально наружу от второго электрического контакта. Первая и вторая части разъема могут быть расположены таким образом, что, когда генерирующее аэрозоль устройство размещено в зарядном блоке, первая и вторая части разъема электрически сопряжены. Электрические контакты первой и второй части разъема могут быть расположены таким образом, что, когда первая и вторая части разъема электрически сопряжены: первый электрический контакт первой части разъема электрически сопряжен с первым электрическим контактом второй части разъема; второй электрический контакт первой части разъема электрически сопряжен с одним из второго электрического контакта и третьего электрического контакта второй части разъема; и третий электрический контакт первой части разъема электрически сопряжен с другим из второго электрического контакта и третьего электрического контакта второй части разъема, независимо от углового положения второй части разъема относительно первой части разъема.
Первая и вторая части разъема согласно настоящему изобретению обеспечивают электрическое соединение между генерирующим аэрозоль устройством и зарядным блоком независимо от углового положения устройства относительно зарядного блока. Преимущественно, это может улучшить скорость и простоту, с которыми пользователь может электрически соединять генерирующее аэрозоль устройство и зарядный блок. Например, это может позволить пользователю электрически соединять устройство и зарядный блок, когда устройство и зарядный блок не видны, например, в темноте, или когда внимание пользователя сфокусировано на ином.
В предпочтительных вариантах осуществления выступ второй части разъема образован торцевой поверхностью и по меньшей мере одной боковой стенкой, проходящей между поверхностью и торцевой поверхностью выступа. Особенно предпочтительно, первый электрический контакт второй части разъема расположен на упомянутой по меньшей мере одной боковой стенке выступа.
На торцевой поверхности выступа второй части разъема не расположено электрических контактов. Другими словами, торцевая поверхность выступа второй части разъема не содержит электрического контакта. Более конкретно, нет электрического контакта, расположенного в центре торцевой поверхности выступа части разъема. Единственный электрический контакт или электрические контакты, расположенные на выступе, расположены на по меньшей мере одной боковой стенке выступа. Преимущественно, это может обеспечить надежный электрический разъем, способный на многократное соединение и разъединение без повреждения электрических контактов любой части разъема.
Нежелательный контакт между торцевой поверхностью выступа второй части разъема и первой частью разъема может возникнуть во время соединения и разъединения частей разъема из-за смещения первой и второй частей разъема. Например, в случае, если зарядный блок имеет полость для размещения в ней генерирующего аэрозоль изделия, и эта полость имеет продольную ось, часть разъема генерирующего аэрозоль устройства, помещенная в полость, может быть смещена относительно части разъема зарядного блока, если генерирующее аэрозоль устройство не выровнено с продольной осью полости. Такое смещение генерирующего аэрозоль устройства в полости может приводить к нежелательному столкновению первой части разъема с первым контактом на торцевой поверхности выступа второй части разъема. Такой нежелательный контакт может приводить к повреждению торцевой поверхности выступа. Отсутствие электрического контакта на торцевой поверхности выступа второй части разъема делает вторую часть разъема более устойчивой к повреждениям при нормальном использовании.
В некоторых случаях может быть желательным снабдить зарядный блок полостью для размещения в ней генерирующего аэрозоль устройства с диаметром или шириной, которые больше диаметра или ширины генерирующего аэрозоль устройства. Преимущественно, снабжение зарядного блока полостью для размещения в ней генерирующего аэрозоль устройства с диаметром или шириной, превышающими диаметр или ширину генерирующего аэрозоль устройства, может облегчить вставку генерирующего аэрозоль устройства в полость зарядного блока. Однако снабжение зарядного блока полостью, имеющей большие диаметр или ширину по сравнению с диаметром или шириной генерирующего аэрозоль устройства, может также увеличить риск смещения первой и второй частей разъема, когда генерирующее аэрозоль устройство вставлено в полость. Преимущественно, снабжение генерирующей аэрозоль системы электрическим разъемом в соответствии с настоящим изобретением может позволить зарядному блоку содержать полость большого диаметра для облегчения введения генерирующего аэрозоль устройства в полость без значительного увеличения риска повреждения первой и второй частей разъема при соединении и разъединении.
В некоторых предпочтительных случаях может быть желательным снабдить зарядный блок полостью для размещения в ней генерирующего аэрозоль устройства, которая выполнена с возможностью размещения в ней генерирующего аэрозоль устройства поперечно. Другими словами, полость для размещения в ней генерирующего аэрозоль устройства может иметь отверстие на боковой стороне для размещения генерирующего аэрозоль устройства. В этих случаях полость зарядного блока может быть образована двумя закрытыми концами, разнесенными в продольном направлении, и боковая стенка, проходящая между двумя закрытыми концами, может образовывать основание полости. В этих случаях боковая стенка и закрытые концы образуют впадину, в которую может быть помещено генерирующее аэрозоль устройство. Одна боковая сторона полости может быть открытой так, чтобы генерирующее аэрозоль устройство могло быть вставлено в полость перемещением генерирующего аэрозоль устройства вбок или поперечно в полость, в направлении, перпендикулярном продольному направлению. Это может облегчить вставку генерирующего аэрозоль устройства в полость и облегчить вынимание генерирующего аэрозоль устройства из полости. Преимущественно, предоставление генерирующей аэрозоль системы, имеющей зарядный блок с полостью, выполненной с возможностью размещения в ней генерирующего аэрозоль устройства поперечно, с электрическим разъемом согласно настоящему изобретению может сводить к минимуму риск повреждения первой и второй частей разъема при соединении и разъединении первой и второй частей разъема за счет поперечного перемещения генерирующего аэрозоль устройства в полость.
В предпочтительных вариантах осуществления первая часть разъема содержит поверхность и углубление, расположенное практически по центру в поверхности. Выступ второй части разъема выполнен с возможностью помещения в углубление первой части разъема. Предпочтительно, первый электрический контакт первой части разъема расположен в углублении. Предпочтительно, второй электрический контакт первой части разъема расположен на поверхности, причем второй электрический контакт радиально отстоит от углубления на первое расстояние. Предпочтительно, третий электрический контакт первой части разъема расположен на поверхности, причем третий электрический контакт радиально отстоит от углубления на второе расстояние, большее, чем первое расстояние.
Особенно предпочтительно, углубление образовано закрытой торцевой поверхностью, открытым концом на поверхности и по меньшей мере одной боковой стенкой, проходящей между открытым концом и закрытой торцевой поверхностью. Предпочтительно, первый электрический контакт первой части разъема расположен на упомянутой по меньшей мере одной боковой стенке углубления.
Предпочтительно, на закрытой торцевой поверхности углубления первой части разъема не расположено электрических контактов. Другими словами, торцевая поверхность углубления первой части разъема не содержит электрического контакта. Более конкретно, нет электрического контакта, расположенного в центре углубления первой части разъема. Единственный электрический контакт или электрические контакты, расположенные в углублении, расположены на упомянутой по меньшей мере одной боковой стенке углубления.
В контексте данного документа термин «генерирующее аэрозоль устройство» относится к устройству, которое взаимодействует с аэрозольобразующим субстратом с генерированием аэрозоля, который непосредственно вдыхается в легкие пользователя через рот пользователя. В определенных вариантах осуществления генерирующее аэрозоль устройство может нагревать аэрозольобразующий субстрат для способствования высвобождению летучих соединений. Генерирующее аэрозоль устройство может взаимодействовать с генерирующим аэрозоль изделием, содержащим аэрозольобразующий субстрат, или картриджем, содержащим аэрозольобразующий субстрат. Электрически управляемое генерирующее аэрозоль устройство может содержать нагреватель, такой как резистивный электрический нагреватель, индукционный нагреватель и т. д., для нагрева аэрозольобразующего субстрата с образованием аэрозоля.
В контексте данного документа термин «генерирующее аэрозоль изделие» относится к изделию, содержащему аэрозольобразующий субстрат, способный высвобождать летучие соединения, которые могут образовывать аэрозоль. В определенных вариантах осуществления генерирующее аэрозоль изделие может содержать аэрозольобразующий субстрат, способный выделять при нагреве летучие соединения, которые могут образовывать аэрозоль.
В контексте данного документа «электрическое сопряжение» используется для описания электрического соединения или электрического контакта между первой и второй частями разъема, что обеспечивает протекание электрического тока между первой и второй частями разъема.
В контексте данного документа «угловое положение» используется для описания относительного поворотного положения или ориентации одного компонента относительно другого компонента вокруг оси.
В контексте данного документа термины «ближе по ходу потока», «дальше по ходу потока», «ближний» и «дальний» используются для описания относительных положений компонентов, или частей компонентов, генерирующих аэрозоль устройств, генерирующих аэрозоль изделий и зарядных блоков.
В контексте данного документа термин «продольный» используется для описания направления между расположенным дальше по ходу потока, ближним или мундштучным концом и противоположным, расположенным ближе по ходу потока или дальним концом, а термин «поперечный» используется для описания направления, перпендикулярного продольному направлению.
В контексте данного документа термин «длина» используется для описания максимального продольного размера между дальним, или расположенным ближе по ходу потока, концом и ближним, или расположенным дальше по ходу потока, концом компонентов, генерирующих аэрозоль устройств, генерирующих аэрозоль изделий и зарядных блоков.
В контексте данного документа термин «диаметр» используется для описания максимального поперечного размера компонентов, генерирующих аэрозоль устройств, генерирующих аэрозоль изделий и зарядных блоков.
В контексте данного документа термин «поперечное сечение» используется для описания сечения компонентов, генерирующих аэрозоль устройств, генерирующих аэрозоль изделий и зарядных блоков в направлении, перпендикулярном большой оси компонентов, генерирующих аэрозоль устройств, генерирующих аэрозоль изделий и зарядных блоков соответственно.
По меньшей мере один из электрических контактов каждой из первой и второй частей разъема может быть выполнен с возможностью передачи, переноса или подачи питания от зарядного блока на генерирующее аэрозоль устройство. Например, первый электрический контакт каждой из первой и второй частей разъема может быть выполнен с возможностью передачи питания от зарядного блока на генерирующее аэрозоль устройство. В частности, по меньшей мере один из электрических контактов каждой из первой и второй частей разъема может быть выполнен с возможностью передачи питания от электрического источника питания зарядного блока на перезаряжаемый электрический источник питания генерирующего аэрозоль устройства. Предпочтительно, второй электрический контакт каждой из первой и второй частей разъема может быть выполнен с возможностью передачи питания от зарядного блока на генерирующее аэрозоль устройство. По меньшей мере один из электрических контактов каждой из первой и второй части разъема может также быть выполнен в качестве заземляющего соединения. Например, третий электрический контакт каждой из первой и второй части разъема может быть выполнен в качестве заземляющего соединения.
По меньшей мере один из электрических контактов каждой из первой и второй частей разъема может быть выполнен с возможностью передачи данных от по меньшей мере одного из зарядного блока на генерирующее аэрозоль устройство и от генерирующего аэрозоль устройства на зарядный блок.
В некоторых вариантах осуществления по меньшей мере один из электрических контактов каждой из первой и второй частей разъема может быть выполнен с возможностью передачи данных от зарядного блока на генерирующее аэрозоль устройство. Это может преимущественно обеспечить возможность передачи обновлений программного обеспечения от зарядного блока на генерирующее аэрозоль устройство. В некоторых вариантах осуществления по меньшей мере один из электрических контактов каждой из первой и второй частей разъема может быть выполнен с возможностью передачи данных от генерирующего аэрозоль устройства на зарядный блок. Это может обеспечить возможность передачи данных об использовании от генерирующего аэрозоль устройства на зарядный блок. Данные об использовании могут включать, например, одно или более из состояния заряда перезаряжаемого электрического источника питания устройства, количества применений устройства, количества применений нагревателя и идентификационной информации аэрозольобразующего субстрата. Третий электрический контакт каждой из первой и второй частей разъема может быть выполнен с возможностью передачи данных от зарядного блока на генерирующее аэрозоль устройство. Второй электрический контакт каждой из первой и второй частей разъема может быть выполнен с возможностью передачи данных от зарядного блока на генерирующее аэрозоль устройство. Предпочтительно, первый электрический контакт каждой из первой и второй частей разъема выполнен с возможностью передачи данных от зарядного блока на генерирующее аэрозоль устройство.
Первая и вторая части разъема согласно изобретению могут быть выполнены с возможностью передачи питания от зарядного блока на генерирующее аэрозоль устройство и передачи данных из по меньшей мере одного из зарядного блока на устройство и из устройства на зарядный блок. Преимущественно, это может сделать возможным наличие в устройстве только одной части электрического разъема. Это может снизить размер и вес генерирующего аэрозоль устройства по сравнению с устройством, имеющим несколько частей электрического разъема.
Как правило, генерирующее аэрозоль устройство может содержать перезаряжаемый электрический источник питания. Перезаряжаемый электрический источник питания может содержать любой подходящий тип перезаряжаемого электрического источника питания, такой как батареи или конденсаторы. Перезаряжаемый электрический источник питания может содержать литий-ионную батарею. Перезаряжаемый электрический источник питания генерирующего аэрозоль устройства может иметь емкость, достаточную для того, чтобы генерирующее аэрозоль устройство предоставляло один или более сеансов пользователя. Сеанс пользователя в целом включает серию затяжек, при которых пользователь осуществляет затяжку на генерирующем аэрозоль устройстве, генерирующее аэрозоль устройство генерирует аэрозоль посредством распыления аэрозольобразующего субстрата, и пользователь вдыхает генерируемый устройством аэрозоль. Количество затяжек, составляющих обычный сеанс пользователя, может представлять собой любое подходящее количество. Обычно количество затяжек может составлять от двух до двадцати затяжек, может составлять от четырех до двенадцати затяжек и может составлять примерно шесть или семь затяжек. Перезаряжаемый электрический источник питания генерирующего аэрозоль устройства может иметь емкость, достаточную для того, чтобы генерирующее аэрозоль устройство предоставляло любое подходящее количество сеансов пользователя. Перезаряжаемый электрический источник питания может иметь емкость, достаточную для того, чтобы генерирующее аэрозоль устройство предоставляло один, два, три, четыре, пять или шесть сеансов пользователя.
Подобным образом, зарядный блок может содержать электрический источник питания. Электрический источник питания зарядного блока может содержать любой подходящий тип электрического источника питания, такой как батареи и конденсаторы. Электрический источник питания зарядного блока может содержать литий-ионную батарею. Первая и вторая части разъема согласно изобретению могут обеспечивать возможность передачи питания между электрическим источником питания зарядного блока и перезаряжаемым электрическим источником питания генерирующего аэрозоль устройства для зарядки перезаряжаемого электрического источника питания генерирующего аэрозоль устройства. Преимущественно, это может продлевать срок службы генерирующего аэрозоль устройства. Электрический источник питания зарядного блока может иметь емкость, достаточную для снабжения генерирующего аэрозоль устройства достаточным зарядом для предоставления нескольких сеансов пользователя. Электрический источник питания зарядного блока может иметь емкость, достаточную для снабжения генерирующего аэрозоль устройства достаточным зарядом для предоставления любого подходящего количества сеансов пользователя, например, от одного до двадцати сеансов пользователя, от пяти до пятнадцати сеансов пользователя и примерно 10 сеансов пользователя. Преимущественно, это может позволить пользователю, носящему как генерирующее аэрозоль устройство, так и зарядный блок, использовать генерирующее аэрозоль устройство в течение продолжительного периода времени, например, в течение дня или недели, без соединения генерирующего аэрозоль устройства с внешним электрическим источником питания, таким как источник питания от электросети, для зарядки перезаряжаемого электрического источника питания генерирующего аэрозоль устройства.
Как правило, электрический источник питания зарядного блока может быть перезаряжаемым. Электрический источник питания зарядного блока может иметь емкость большую, чем у перезаряжаемого электрического источника питания генерирующего аэрозоль устройства. Электрический источник питания зарядного блока может быть физически больше, чем перезаряжаемый электрический источник питания генерирующего аэрозоль устройства.
В некоторых вариантах осуществления первые электрические контакты первой и второй частей разъема могут быть выполнены с возможностью передачи данных между зарядным блоком и генерирующим аэрозоль устройством, вторые электрические контакты первой и второй частей разъема могут быть выполнены с возможностью передачи питания между электрическим источником питания зарядного блока и перезаряжаемым электрическим источником питания генерирующего аэрозоль устройства, а третьи электрические контакты первой и второй частей разъема могут быть выполнены в качестве заземляющего соединения.
Генерирующее аэрозоль устройство может представлять собой удерживаемое в руке устройство. Другими словами, генерирующее аэрозоль устройство может иметь любой размер и форму, подходящие для удерживания в руке пользователя. Генерирующее аэрозоль устройство может иметь размер и форму, подобные обычной сигарете или сигаре. Генерирующее аэрозоль устройство может быть портативным. Обычно зарядный блок также может быть портативным. Зарядный блок может иметь любые подходящие размер и форму. Зарядный блок может иметь размер и форму, подобные обычной пачке сигарет. Обеспечение портативного зарядного блока может позволить пользователю носить зарядный блок с генерирующим аэрозоль устройством. Преимущественно, это может обеспечить возможность изготовления перезаряжаемого электрического источника питания генерирующего аэрозоль устройства меньшего размера и веса без ущерба для срока работы генерирующего аэрозоль устройства, которое выполнено с возможностью зарядки от носимого пользователем портативного зарядного блока, когда перезаряжаемый источник питания устройства разряжен.
Электрические контакты первой и второй частей разъема могут быть выполнены из любого подходящего электропроводящего материала. Например, электрические контакты могут быть выполнены из металла, такого как медь или золото. В некоторых вариантах осуществления электрические контакты выполнены из одинакового материала, а в других вариантах осуществления электрические контакты выполнены из разных материалов.
Как правило, электрические контакты каждой из первой и второй частей разъема электрически отделены или изолированы друг от друга. Первый, второй и третий электрические контакты первой части разъема могут быть электрически отделены или изолированы друг от друга. Подобным образом, первый, второй и третий электрические контакты второй части разъема могут быть электрически отделены или изолированы друг от друга. Электрическое отделение или изолирование электрических контактов каждой части разъема может быть обеспечено посредством электроизоляционного материала, расположенного между смежными электрическими контактами. Электрическое отделение или изолирование может быть обеспечено посредством разнесения смежных электрических контактов.
В контексте данного документа термин «электропроводящий» относится к материалу, имеющему удельное электрическое сопротивление, составляющее 1×10-4 Ом·м или менее. В контексте данного документа термин «электроизоляционный» относится к материалу, имеющему удельное электрическое сопротивление, составляющее 1×104 Ом·м или более.
Электрические контакты первой и второй частей разъема могут представлять собой любой подходящий тип электрического контакта. Электрические контакты могут представлять собой упругие контакты. Например, электрические контакты могут представляет собой контакты в виде пластинчатой пружины. Электрические контакты могут быть штыревыми контактами. Штыревые контакты могут проходить или выступать наружу от поверхности, как правило, практически перпендикулярно плоскости поверхности. Штыревые контакты могут представлять собой упругие штыревые контакты или подпружиненно-штыревые контакты. Другими словами, штыревые контакты могут представлять собой упругие или подпружиненные контакты. Электрические контакты могут представлять собой пластинчатые контакты. Пластинчатые контакты могут проходить по плоскости или в ней, или на поверхности или по ней. Электрические контакты могут быть обеспечены на печатной плате. В некоторых вариантах осуществления все из электрических контактов могут быть электрическими контактами одинакового типа. В других вариантах осуществления электрические контакты могут предусматривать разные типы электрических контактов. Электрические контакты первой части разъема могут предусматривать один тип электрических контактов, а электрические контакты второй части разъема могут предусматривать отличающийся тип электрических контактов.
Первый, второй и третий электрические контакты первой части разъема могут представлять собой электрические контакты одинакового типа. Как правило, электрические контакты первой части разъема представляют собой пластинчатые электрические контакты. Другими словами, как правило, электрические контакты первой части разъема проходят по плоскости или в ней, или на поверхности первой части разъема или по ней. Как правило, первая часть разъема содержит одну или более поверхностей, и каждый из первого, второго и третьего электрических контактов первой части разъема проходит практически на или по одной из упомянутых одной или более поверхностей первой части разъема.
Первый, второй и третий электрические контакты первой части разъема могут быть расположены в любой подходящей компоновке.
В некоторых вариантах осуществления первый, второй и третий электрические контакты первой части разъема являются практически кольцевыми. Другими словами, каждый из первого электрического контакта, второго электрического контакта и третьего электрического контакта первой части разъема может образовывать кольцо. Первый, второй и третий электрические контакты первой части разъема могут образовывать концентрические кольца.
В некоторых конкретных вариантах осуществления:
первый электрический контакт первой части разъема является практически круглым и расположен вокруг упомянутой по меньшей мере одной боковой стенки углубления;
второй электрический контакт первой части разъема расположен на поверхности и образует кольцо, окружающее углубление и первый электрический контакт; и
третий электрический контакт первой части разъема расположен на поверхности и образует кольцо, окружающее углубление и первый и второй электрические контакты.
Первый, второй и третий электрические контакты второй части разъема могут представлять собой электрические контакты одинакового типа. Обычно электрические контакты второй части разъема представляют собой штыревые электрические контакты. Другими словами, как правило, электрические контакты второй части разъема проходят наружу от плоскости или поверхности второй части разъема, как правило, практически перпендикулярно плоскости или поверхности. Обычно вторая часть разъема содержит параллельные поверхности, на которых расположены первый, второй и третий электрические контакты. В этих вариантах осуществления каждый из первого, второго и третьего электрических контактов первой части разъема проходит перпендикулярно от поверхности, на которой он расположен.
Электрические контакты второй части электрического разъема могут быть упругими электрическими контактами. В частности, электрические контакты второй части электрического разъема могут быть подпружиненно-штыревыми электрическими контактами. Подпружиненно-штыревые электрические контакты могут преимущественно способствовать поддержанию надежного электрического соединения между первой и второй частями разъема, когда первая и вторая части разъема электрически сопряжены и подвергаются воздействию вибраций и малых движений, вызванных движением пользователя.
В некоторых предпочтительных вариантах осуществления первый, второй и третий электрические контакты второго разъема могут проходить практически в разных направлениях. Второй и третий электрические контакты могут проходить в одном и том же, практически параллельном направлении, а первый электрический контакт может проходить в другом направлении, практически перпендикулярном направлению первого и третьего электрических контактов.
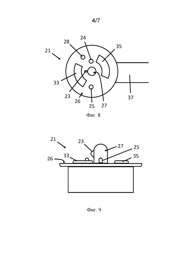
Предпочтительно, первая часть разъема содержит практически плоскую поверхность (грань) и углубление, расположенное практически по центру в практически плоской поверхности. Углубление может проходить внутрь, практически перпендикулярно относительно плоской поверхности. Углубление может иметь закрытый конец, открытый конец на поверхности и по меньшей мере одну боковую стенку, проходящую между открытым концом и закрытым концом. Первый электрический контакт первой части разъема может быть расположен в углублении. Предпочтительно, первый электрический контакт расположен на упомянутой по меньшей мере одной боковой стенке углубления. Первый электрический контакт может практически окружать закрытый конец углубления. Второй электрический контакт первой части разъема расположен на поверхности и практически окружает углубление и первый электрический контакт. Третий электрический контакт первой части разъема расположен на поверхности и практически окружает углубление и первый и второй электрические контакты.
Предпочтительно, вторая часть разъема содержит практически плоскую поверхность (грань) и выступ, расположенный практически по центру в плоской поверхности. Выступ может проходить наружу от поверхности, практически перпендикулярно плоскости поверхности. Выступ может быть выполнен с возможностью размещения в углублении первой части разъема. Выступ может иметь торцевую поверхность и по меньшей мере одну боковую стенку, проходящую между поверхностью и торцевой поверхностью выступа. Первый электрический контакт второй части разъема может быть расположен на упомянутой по меньшей мере одной боковой стенке выступа. Второй электрический контакт второй части разъема может быть расположен на плоской поверхности. Третий электрический контакт второй части разъема может быть расположен на плоской поверхности.
Второй электрический контакт второй части разъема может радиально отстоять от выступа на первое расстояние. Третий электрический контакт второй части разъема может радиально отстоять от выступа на второе расстояние. Второе расстояние может быть большим, чем первое расстояние.
Первая и вторая части разъема могут быть электрически сопряжены посредством вставки выступа второй части разъема в углубление первой части разъема.
Выступ может быть сужающимся. Выступ может иметь ширину или диаметр на поверхности, превышающие ширину или диаметр выступа на торцевой поверхности. Преимущественно, это может облегчать введение выступа второй части разъема в углубление первой части разъема в случае, если поверхность первой части разъема не выровнена с поверхностью второй части разъема. Другими словами, это может облегчать введение выступа в углубление в случае, если первая часть разъема наклонена относительно второй части разъема. Граница между торцевой поверхностью выступа и упомянутой по меньшей мере одной боковой стенкой выступа может быть закруглена. Граница между торцевой поверхностью выступа и упомянутой по меньшей мере одной боковой стенкой выступа может быть скошена. Преимущественно, обеспечение закругленной или скошенной границы между торцевой поверхностью выступа и упомянутой по меньшей мере одной боковой стенкой выступа может дополнительно облегчать введение выступа в углубление в случае, если первая и вторая части разъема не полностью выровнены.
Когда первая и вторая части разъема электрически сопряжены:
первый электрический контакт второй части разъема на упомянутой по меньшей мере одной боковой стенке выступа может быть электрически сопряжен с первым электрическим контактом первой части разъема на упомянутой по меньшей мере одной боковой стенке углубления;
второй электрический контакт второй части разъема на поверхности второй части разъема может быть электрически сопряжен со вторым электрическим контактом первой части разъема на поверхности первой части разъема; и
третий электрический контакт второй части разъема на поверхности второй части разъема может быть электрически сопряжен с третьим электрическим контактом первой части разъема на поверхности первой части разъема.
В данных вариантах осуществления углубление и выступ первой и второй частей разъема могут быть практически круглоцилиндрическими. Это может обеспечить возможность неограниченного поворота первой и второй частей разъема относительно друг друга вокруг осей углубления и выступа. Это может обеспечить возможность электрического сопряжения первой и второй частей разъема независимо от углового положения первой части разъема относительно второй части разъема.
Второй электрический контакт второй части разъема, расположенный на упомянутой по меньшей мере одной боковой стенке выступа, может входить с плотным прилеганием внутрь углубления первой части разъема, например, посредством фрикционной посадки или посадки с натягом, с целью достижения надежного электрического сопряжения со вторым электрическим контактом первой части разъема на упомянутой по меньшей мере одной боковой стенке углубления. Второй электрический контакт второй части разъема и углубление могут быть выполнены таким образом, что второй электрический контакт второй части разъема защелкивается в углублении, когда выступ размещен в углублении и первая и вторая части разъема электрически сопряжены.
Первая и вторая части разъема могут иметь любое подходящее дополнительное количество электрических контактов, и дополнительные электрические контакты могут быть выполнены с возможностью выполнять любые необходимые функции.
В частности, вторая часть разъема может содержать четвертый электрический контакт. Четвертый электрический контакт может быть расположен на поверхности.
Четвертый электрический контакт может радиально отстоять от выступа на первое расстояние. Другими словами, четвертый электрический контакт может радиально отстоять от выступа на такое же расстояние, как и второй электрический контакт. Четвертый электрический контакт второй части разъема может быть расположен с возможностью контактировать со вторым электрическим контактом первой части разъема, когда первая и вторая части разъема электрически сопряжены. Четвертый электрический контакт второй части разъема может быть расположен с возможностью электрического сопряжения со вторым электрическим контактом первой части разъема, когда первая и вторая части разъема электрически сопряжены.
Предпочтительно, четвертый электрический контакт радиально отстоит от выступа на второе расстояние. Другими словами, четвертый электрический контакт может радиально отстоять от выступа на такое же расстояние, как и третий электрический контакт. Четвертый электрический контакт второй части разъема может быть расположен с возможностью контактировать с третьим электрическим контактом первой части разъема, когда первая и вторая части разъема электрически сопряжены. Четвертый электрический контакт второй части разъема может быть расположен с возможностью электрического сопряжения с третьим электрическим контактом первой части разъема, когда первая и вторая части разъема электрически сопряжены.
Четвертый электрический контакт может отстоять в угловом направлении от третьего электрического контакта второй части разъема.
Четвертый электрический контакт может быть выполнен в виде контакта обнаружения введения, предназначенного для обнаружения того, когда первая и вторая части разъема электрически сопряжены. Четвертый электрический контакт может быть выполнен с возможностью обнаружения того, когда первая и вторая части разъема электрически сопряжены, любым подходящим способом. В одном конкретном примере четвертый электрический контакт выполнен с возможностью соединения с заземляющим соединением на первой части разъема. Таким образом, контроллер может обнаруживать, когда четвертый контакт был подсоединен к заземлению, что указывает на то, что первая и вторая части разъема электрически сопряжены между собой.
В другом примере четвертый электрический контакт может быть упругим штыревым контактом, связанным с переключателем, который замыкается, когда упругий штыревой контакт находится в сжатом состоянии. Переключатель может быть соединен с контроллером зарядного блока, который может быть выполнен с возможностью определения того, что первая часть разъема электрически сопряжена со второй частью разъема, когда переключатель замкнут.
Углубление может иметь любые подходящие форму и размеры. Углубление может быть практически цилиндрическим. Углубление может иметь практически круглое поперечное сечение. Диаметр углубления меньше, чем диаметр поверхности. Диаметр углубления может составлять 75% диаметра поверхности или менее или может составлять примерно 21% диаметра поверхности или менее.
Выступ может иметь любые подходящие форму и размеры. Выступ может быть практически цилиндрическим. Выступ может иметь практически круглое поперечное сечение. Диаметр выступа меньше, чем диаметр поверхности. Диаметр выступа может составлять 75% диаметра поверхности или менее или может составлять примерно 21% диаметра поверхности или менее.
В некоторых вариантах осуществления место пересечения между торцевой поверхностью и упомянутой по меньшей мере одной боковой стенкой выступа может быть наклонным, оснащено фаской или скошено для облегчения помещения выступа в углублении первой части разъема.
Вторая часть разъема может содержать основную часть, на которой установлены электрические контакты. Выступ может быть выполнен за одно целое с основной частью или может представлять собой отдельную деталь, которая крепится к участку основной части.
Генерирующее аэрозоль устройство имеет одну из первой части разъема и второй части разъема, а зарядный блок имеет другую из первой части разъема и второй части разъема. В некоторых вариантах осуществления первая часть разъема может быть предусмотрена на устройстве, а вторая часть разъема может быть предусмотрена на зарядном блоке. В случае, если электрические контакты второй части разъема представляют собой штыревые контакты, может быть преимущественным обеспечение второго разъема на зарядном блоке, поскольку зарядный блок может обеспечивать улучшенную защиту штыревых контактов от повреждения.
Генерирующее аэрозоль устройство может иметь ближний конец и дальний конец, противоположный ближнему концу. Ближний конец может представлять собой тот конец, на котором пользователь осуществляет затяжку на генерирующем аэрозоль устройстве для вдыхания генерируемого устройством аэрозоля. Соответственно, ближний конец может также называться мундштучным концом. Одна из первой и второй частей разъема может быть предусмотрена на дальнем конце генерирующего аэрозоль устройства. Одна из первой и второй частей разъема может быть предусмотрена на дальней торцевой поверхности генерирующего аэрозоль устройства.
Генерирующее аэрозоль устройство может иметь любые подходящие размер и форму.
Генерирующее аэрозоль устройство может иметь поперечное сечение любой подходящей формы. Например, генерирующее аэрозоль устройство может иметь практически круглое, эллиптическое, треугольное, квадратное, ромбовидное, трапециевидное, пятиугольное, шестиугольное или восьмиугольное поперечное сечение. В некоторых конкретных вариантах осуществления генерирующее аэрозоль устройство имеет практически круглое поперечное сечение.
Генерирующее аэрозоль устройство может иметь практически постоянное поперечное сечение по своей длине. Генерирующее аэрозоль устройство может иметь практически круглое поперечное сечение по своей длине. Устройство может иметь вращательную симметрию вокруг своей продольной оси. Устройство может иметь вращательную симметрию большего порядка, чем вращательная симметрия вокруг своей продольной оси. Устройство может быть практически асимметричным вокруг своей продольной оси. В конкретных вариантах осуществления генерирующее аэрозоль устройство может быть практически круглоцилиндрическим.
Генерирующее аэрозоль устройство может иметь любой подходящий диаметр и любую подходящую длину. Генерирующее аэрозоль устройство может быть продолговатым. В некоторых конкретных вариантах осуществления генерирующее аэрозоль устройство может иметь форму, диаметр и длину, практически подобные обычной сигарете или сигаре. Генерирующее аэрозоль устройство может иметь длину от примерно 30 мм до примерно 121 мм или от примерно 21 мм до 120 мм, или от примерно 90 мм до 100 мм. Генерирующее аэрозоль устройство может иметь внешний диаметр от примерно 5 мм до примерно 30 мм или от примерно 10 мм до примерно 20 мм или примерно 25 мм.
Генерирующее аэрозоль устройство может быть выполнено с возможностью размещения в нем одного или более из картриджа, нагревателя и генерирующего аэрозоль изделия. Генерирующее аэрозоль устройство может быть выполнено с возможностью размещения в нем одного или более из картриджа, нагревателя и генерирующего аэрозоль изделия на ближнем конце. Устройство может содержать полость для размещения в ней одного или более из картриджа, нагревателя и генерирующего аэрозоль изделия.
В некоторых вариантах осуществления генерирующее аэрозоль устройство может содержать нагреватель. Если генерирующее аэрозоль устройство содержит нагреватель, устройство может быть выполнено с возможностью размещения в нем изделия, содержащего аэрозольобразующий субстрат, или картриджа, содержащего аэрозольобразующий субстрат. В других вариантах осуществления генерирующее аэрозоль устройство может быть выполнено с возможностью размещения в нем нагревателя или комбинации из нагревателя и изделия или картриджа, содержащего аэрозольобразующий субстрат. Если устройство содержит полость для размещения в ней одного или более из картриджа и генерирующего аэрозоль изделия, распылитель может быть расположен в полости.
Устройство может содержать одну из первой и второй частей разъема на дальнем конце устройства. Устройство может содержать одну из первой и второй частей разъема на дальней торцевой поверхности устройства. Другими словами, поверхность на дальнем конце устройства, противоположном мундштучному концу, может содержать одну из первой и второй частей разъема. Дальняя торцевая поверхность устройства может быть практически круглой.
Генерирующее аэрозоль устройство может содержать корпус. В конкретных вариантах осуществления корпус может быть практически круглоцилиндрическим. Корпус может содержать любой подходящий материал или комбинацию материалов. Примеры подходящих материалов включают металлы, сплавы, пластмассы или композитные материалы, содержащие один или более таких материалов, или термопласты, подходящие для применения в пищевой или фармацевтической промышленности, например, полипропилен, полиэфирэфиркетон (ПЭЭК) и полиэтилен. В конкретных вариантах осуществления материал является легким и нехрупким.
Перезаряжаемый электрический источник питания генерирующего аэрозоль устройства может быть размещен внутри корпуса. Корпус может содержать полость для размещения в ней одного или более из генерирующего аэрозоль изделия и картриджа. Генерирующее аэрозоль устройство может содержать нагреватель. Нагреватель может представлять собой резистивный электрический нагреватель или индукционный нагреватель и т. д. Если устройство содержит полость для размещения в ней генерирующего аэрозоль изделия или картриджа, нагреватель может быть расположен в полости.
Генерирующее аэрозоль устройство может содержать электрическую схему. Электрическая схема может быть выполнена с возможностью управления передачей питания от зарядного блока на генерирующее аэрозоль устройство, когда первая и вторая части разъема находятся в электрическом сопряжении. Электрическая схема может быть выполнена с возможностью управления передачей данных от одного или более из зарядного блока на генерирующее аэрозоль устройство и генерирующего аэрозоль устройства на зарядный блок. Электрическая схема может содержать микропроцессор. Электрическая схема может содержать контроллер, такой как микроконтроллер.
Зарядный блок может иметь любые подходящие размер и форму.
Зарядный блок может иметь поперечное сечение любой подходящей формы. Например, зарядный блок может иметь практически круглое, эллиптическое, треугольное, квадратное, ромбовидное, трапециевидное, пятиугольное, шестиугольное или восьмиугольное поперечное сечение. В некоторых конкретных вариантах осуществления генерирующее аэрозоль устройство имеет практически прямоугольное поперечное сечение.
Зарядный блок может иметь практически постоянное поперечное сечение вдоль его длины. Зарядный блок может иметь практически прямоугольное поперечное сечение вдоль его длины. В конкретных вариантах осуществления зарядный блок может представлять собой практически прямоугольный параллелепипед.
Зарядный блок может иметь любой подходящий диаметр и любую подходящую длину. Зарядный блок может быть удерживаемым в руке. В некоторых вариантах осуществления зарядный блок может иметь форму, диаметр и длину, практически подобные обычной пачке сигарет. Зарядный блок может иметь длину от примерно 21 мм до примерно 200 мм. Зарядный блок может иметь внешний диаметр от примерно 10 мм до примерно 121 мм, или от примерно 21 мм до примерно 100 мм.
Зарядный блок может иметь полость, выполненную с возможностью размещения в ней генерирующего аэрозоль устройства. Полость может быть выполнена с возможностью размещения в ней дальнего конца генерирующего аэрозоль устройства. Полость может быть выполнена с возможностью размещения в ней всего генерирующего аэрозоль устройства. Полость зарядного блока может иметь любые подходящие размер и форму для размещения генерирующего аэрозоль устройства.
Полость зарядного блока может иметь поперечное сечение любой подходящей формы. Например, полость может иметь практически круглое, эллиптическое, треугольное, квадратное, ромбовидное, трапециевидное, пятиугольное, шестиугольное или восьмиугольное поперечное сечение. В конкретных вариантах осуществления полость зарядного блока может иметь поперечное сечение практически той же формы, что и поперечное сечение генерирующего аэрозоль устройства, размещаемого в полости. В некоторых конкретных вариантах осуществления полость может иметь практически круглое поперечное сечение.
Полость зарядного блока может иметь практически постоянное поперечное сечение вдоль своей длины. Полость может иметь практически круглое поперечное сечение вдоль своей длины. Полость может быть практически круглоцилиндрической. Полость может быть практически асимметричной относительно своей продольной оси.
Полость зарядного блока может иметь любой подходящий диаметр и любую подходящую длину.
В конкретных вариантах осуществления полость зарядного блока может иметь диаметр, больший диаметра генерирующего аэрозоль устройства. Обеспечение полости с большим диаметром, чем диаметр генерирующего аэрозоль устройства, может облегчать введение генерирующего аэрозоль устройства в полость.
Полость зарядного блока может быть продолговатой. Полость может иметь длину, которая меньше длины генерирующего аэрозоль устройства, так что, когда дальний конец генерирующего аэрозоль устройства размещен в полости зарядного блока, ближний, или расположенный дальше по ходу потока конец генерирующего аэрозоль устройства выступает из полости. Полость зарядного блока может иметь длину, которая практически равна длине генерирующего аэрозоль устройства или немного больше нее, так что практически вся длина генерирующего аэрозоль устройства вмещается в полости зарядного блока. Преимущественно, это может обеспечить полное заключение устройства внутри полости и может обеспечить защиту устройства зарядным блоком от внешней среды.
Одна из первой и второй частей разъема может быть расположена в полости зарядного блока. Эта компоновка может практически закрывать или защищать эту часть разъема от внешней среды. Полость может иметь открытый конец. Открытый конец может обеспечивать вставку генерирующего аэрозоль устройства в полость и удаление из полости. Полость может также иметь закрытый конец, противоположный открытому концу. Одна из первой и второй частей разъема может быть расположена на закрытом конце полости зарядного блока.
В некоторых конкретных вариантах осуществления одна из первой и второй частей разъема может быть расположена на торцевой поверхности на дальнем конце генерирующего аэрозоль устройства, а другая из первой и второй частей разъема может быть расположена на торцевой поверхности на закрытом конце полости зарядного блока. В данных конкретных вариантах осуществления первая и вторая части разъема могут быть электрически сопряжены посредством вставки дальнего конца генерирующего аэрозоль устройства в открытый конец полости зарядного блока и приведения части разъема, расположенной на дальней торцевой поверхности устройства, в контакт с частью разъема, расположенной на закрытой торцевой поверхности полости зарядного блока.
В некоторых предпочтительных вариантах осуществления полость зарядного блока может быть выполнена с возможностью размещения в ней генерирующего аэрозоль устройства в поперечном направлении. Другими словами, полость зарядного блока может иметь отверстие на одной из боковых сторон для размещения генерирующего аэрозоль устройства. В этих вариантах осуществления полость может быть образована двумя закрытыми концами, разнесенными в продольном направлении, и боковой стенкой, проходящей между двумя закрытыми концами. Боковая стенка может образовывать основание полости. Боковая стенка и два закрытых конца могут образовывать впадину, в которую может быть помещено генерирующее аэрозоль устройство. Одна сторона полости может быть открытой. Одна сторона полости может быть открытой так, чтобы генерирующее аэрозоль устройство могло быть вставлено в полость перемещением генерирующего аэрозоль устройства вбок или поперечно в полость, в направлении, практически перпендикулярном продольному направлению. Это может облегчить введение генерирующего аэрозоль устройства в полость и облегчить удаление генерирующего аэрозоль устройства из полости. Преимущественно, предоставление генерирующей аэрозоль системы, имеющей зарядный блок с полостью, выполненной с возможностью размещения в ней генерирующего аэрозоль устройства в поперечном направлении, с электрическим разъемом согласно настоящему изобретению, может сводить к минимуму риск повреждения первой и второй частей разъема при соединении и разъединении первой и второй частей разъема за счет поперечного перемещения генерирующего аэрозоль устройства в полость.
В случае, если генерирующее аэрозоль устройство и полость зарядного блока являются практически круглоцилиндрическими, генерирующее аэрозоль устройство может быть выполнено с возможностью неограниченного поворота относительно своей продольной оси в полости. В данных вариантах осуществления первая и вторая части разъема позволяют вставлять устройство в полость при любом угловом положении относительно полости зарядного блока и позволяют поворачивать генерирующее аэрозоль устройство в полости без прерывания электрического соединения между первой и второй частями разъема.
Зарядный блок может содержать корпус. В конкретных вариантах осуществления корпус может представлять собой практически прямоугольный параллелепипед. Корпус может содержать любой подходящий материал или комбинацию материалов. Примеры подходящих материалов включают металлы, сплавы, пластмассы или композитные материалы, содержащие один или более таких материалов, или термопласты, подходящие для применения в пищевой или фармацевтической промышленности, например, полипропилен, полиэфирэфиркетон (ПЭЭК) и полиэтилен. В конкретных вариантах осуществления материал является легким и нехрупким.
В случае, если зарядный блок содержит полость для размещения в ней генерирующего аэрозоль устройства, корпус может ограничивать полость. Зарядный блок может содержать средства для закрывания открытого конца полости, например, крышку, шарнирно соединенную с корпусом.
В случае, если зарядный блок содержит электрический источник питания, электрический источник питания может быть размещен в корпусе. Зарядный блок может содержать средства для соединения зарядного блока с внешним электрическим источником питания, таким как источник питания от электросети, для перезарядки электрического источника питания зарядного блока.
Зарядный блок может содержать электрическую схему. Электрическая схема может быть выполнена с возможностью управления передачей питания от зарядного блока на генерирующее аэрозоль устройство, когда первая и вторая части разъема находятся в электрическом сопряжении. Электрическая схема может быть выполнена с возможностью управления передачей данных от одного или более из зарядного блока на генерирующее аэрозоль устройство и генерирующего аэрозоль устройства на зарядный блок. Электрическая схема может содержать микропроцессор. Электрическая схема может содержать контроллер, такой как микроконтроллер.
Электрически управляемая генерирующая аэрозоль система может дополнительно содержать удерживающее устройство для удерживания с возможностью разъединения электрического сопряжения первой части разъема и второй части разъема, когда генерирующее аэрозоль устройство размещено в зарядном блоке.
Удерживающее устройство может представлять собой любое подходящее средство для удерживания с возможностью разъединения электрического сопряжения первой и второй части разъема. Например, удерживающее устройство может предусматривать фрикционную посадку между генерирующим аэрозоль устройством и зарядным блоком, когда генерирующее аэрозоль устройство размещено в зарядном блоке. Например, удерживающее устройство может предусматривать закрывающий элемент, например, крышку, выполненную с возможностью закрывания с возможностью съема открытого конца или стороны полости зарядного блока. Например, удерживающее устройство может предусматривать упругое средство, расположенное на зарядном блоке, для прижимания первой части разъема ко второй части разъема, когда генерирующее аэрозоль устройство размещено в зарядном блоке. Упругое удерживающее устройство может содержать пружину, например, пластинчатую пружину.
В некоторых предпочтительных вариантах осуществления удерживающее устройство может предусматривать магнитное удерживающее устройство. Магнитное удерживающее устройство может содержать первый магнитный элемент и второй магнитный элемент. Первый магнитный элемент может быть предусмотрен в генерирующем аэрозоль устройстве, а второй магнитный элемент может быть предусмотрен в зарядном блоке.
Первый и второй магнитные элементы могут быть расположены таким образом, что первый и второй магнитные элементы находятся близко друг к другу, когда генерирующее аэрозоль устройство размещено в зарядном блоке. Первый и второй магнитные элементы могут быть расположены таким образом, что первый и второй магнитные элементы притягиваются друг к другу, когда генерирующее аэрозоль устройство размещено в зарядном блоке. Первый и второй магнитные элементы могут быть расположены таким образом, что первая и вторая части разъема удерживаются с возможностью высвобождения в электрическом сопряжении, когда генерирующее аэрозоль устройство размещено в зарядном блоке.
Термин «магнитный элемент» используется в данном документе для описания элемента, который содержит магнитный материал. Термин «магнитный материал» используется в данном документе для описания материала, способного взаимодействовать с магнитным полем, включая как парамагнитные, так и ферромагнитные материалы. Намагничиваемый материал может представлять собой парамагнитный материал, в этом случае он остается намагниченным лишь в присутствии внешнего магнитного поля. Альтернативно, намагничиваемый материал может представлять собой материал, который становится намагниченным в присутствии внешнего магнитного поля и который остается намагниченным после удаления внешнего поля (например, ферромагнитный материал). Термин «магнитный материал» в контексте данного документа охватывает оба типа намагничиваемого материала, а также материал, который уже намагничен.
По меньшей мере один из первого и второго магнитных элементов может содержать сплав неодима, такой как сплав неодима, железа и бора. Другими словами, по меньшей мере один из первого и второго магнитных элементов может быть неодимовым магнитом. По меньшей мере один из первого и второго магнитных элементов может содержать ферромагнитную нержавеющую сталь, такую как нержавеющая сталь SS430.
Первый магнитный элемент может быть расположен вблизи упомянутой одной из первой и второй частей разъема генерирующего аэрозоль устройства. Второй магнитный элемент может быть расположен вблизи другой из первой и второй частей разъема зарядного блока. При такой компоновке, когда первая и вторая части разъема электрически не сопряжены, магнитное удерживающее устройство может вызывать стягивание первой и второй части разъема друг к другу для электрического сопряжения. Преимущественно, это обеспечивает некоторую степень самовыравнивания и самосопряжения первой и второй частей разъема, упрощая электрическое сопряжение. Соответственно, магнитное удерживающее устройство может дополнительно улучшать скорость и простоту, с которыми пользователь может электрически соединять устройство и зарядный блок. Когда первая и вторая части разъема электрически сопряжены, магнитное удерживающее устройство увеличивает удельную силу, требуемую для отсоединения первой и второй частей разъема. Преимущественно, это практически исключает или предотвращает непреднамеренное разъединение первой и второй частей разъема, например, из-за вибраций и поворачивания во время транспортировки.
В контексте данного документа термин «вблизи» используется для описания расположения двух объектов в непосредственно близости друг к другу, например смежных или соседних объектов. Магнитный материал, расположенный вблизи части разъема, относится к магнитному материалу, который расположен в или на части разъема или отделен от части разъема малым расстоянием. В данном контексте малое расстояние – это расстояние, которое является небольшим относительно размеров генерирующего аэрозоль устройства и зарядного блока.
В некоторых вариантах осуществления по меньшей мере один из первого и второго магнитных элементов может образовывать один или более электрических контактов частей разъема. Например, третий электрический контакт первой части разъема может быть образован из магнитного материала. В тех вариантах осуществления, в которых магнитный материал не образует один из электрических контактов, магнитный материал может быть электрически изолирован от электрических контактов части разъема.
Первый магнитный элемент может быть расположен в или вокруг части разъема генерирующего аэрозоль устройства. Первый магнитный элемент может содержать деталь из магнитного материала, расположенную практически за электрическими контактами части разъема генерирующего аэрозоль устройства. В случае, если устройство содержит часть разъема на дальней торцевой поверхности, первый магнитный элемент может быть расположен вблизи части разъема в устройстве. В случае, если генерирующее аэрозоль устройство содержит первую часть разъема, первый магнитный элемент может содержать по меньшей мере один из электрических контактов первой части разъема. В частности, третий электрический контакт может содержать магнитный материал, так что третий электрический контакт является первым магнитным элементом. В вариантах осуществления, где первый магнитный элемент не представляет собой один или более из электрических контактов, первый магнитный элемент может быть электрически изолирован от электрических контактов первой части разъема.
Второй магнитный элемент может быть расположен в или вокруг части разъема зарядного блока. Второй магнитный элемент может содержать деталь из магнитного материала, расположенную практически за электрическими контактами части разъема зарядного блока. В случае, если зарядный блок содержит вторую часть разъема, второй магнитный элемент может содержать одну или более деталей из магнитного материала, расположенных между электрическими контактами второй части разъема или вокруг них. В частности, второй магнитный элемент может содержать две детали из магнитного материала, расположенных на противоположных сторонах электрических контактов второй части разъема, так что электрические контакты второй части разъема расположены между двумя деталями из магнитного материала. Две детали из магнитного материала могут быть практически дугообразными и могут иметь такую же или сходную кривизну, как у третьего электрического контакта первой части разъема.
Первый и второй магнитные элементы могут быть любой подходящей формы. Например, первый и второй магнитные элементы могут быть практически круглыми, эллиптическими или квадратными. Первый и второй магнитные элементы могут иметь одинаковую форму. Первый и второй магнитные элементы могут иметь разные формы. Первый и второй магнитные элементы могут быть практически кольцевыми. Первый и второй магнитные элементы могут содержать кольцевую деталь, кольцо или трубку из магнитного материала. Обеспечение кольцевой детали, кольца или трубки из магнитного материала может быть преимущественным, поскольку кольцевая деталь или трубка может содержать центральный канал, через который могут проходить электрические разъемы для соединения одного или более электрических контактов части разъема с электрическим источником питания устройства или зарядным блоком.
В случае, если зарядный блок содержит полость и часть разъема зарядного блока расположена на закрытом конце полости, первый и второй магнитные элементы могут быть расположены таким образом, что магнитная полярность "север-юг" магнитных материалов практически выставлена с продольной осью полости. Это может способствовать втягиванию генерирующего аэрозоль устройства магнитным удерживающим устройством в полость и размещению первой и второй частей разъема в электрическом сопряжении.
В некоторых предпочтительных вариантах осуществления первая часть разъема содержит первый магнитный элемент, а вторая часть разъема содержит второй магнитный элемент. Предпочтительно, по меньшей мере один из электрических контактов второй части разъема представляет собой упругий контакт, способный переводиться между выдвинутым положением и вдавленным положением, и является смещенным для возвращения в выдвинутое положение. В этих предпочтительных вариантах осуществления первая и вторая части разъема выполнены с возможностью расположения в первом положении соединения, в котором: упомянутый по меньшей мере один упругий контакт второй части разъема находится в выдвинутом положении; первая часть разъема расположена в соприкосновении с упомянутым по меньшей мере одним упругим контактом; первый и второй магнитные элементы магнитно притягиваются друг к другу, и сила магнитного притяжения между первым и вторым магнитными элементами magnetic element больше, чем сила, требуемая для перемещения упомянутого по меньшей мере одного упругого контакта из выдвинутого положения во вдавленное положение.
Упомянутый по меньшей мере один упругий контакт второй части разъема позволяет первой и второй частям разъема поддерживать электрическое соединение в диапазоне положений по длине пути упомянутого по меньшей мере одного упругого контакта между выдвинутым и вдавленным положениями. Длина пути упомянутого по меньшей мере одного упругого контакта между выдвинутым положением и вдавленным положением может представлять собой любую подходящую дистанцию. Длина пути упомянутого по меньшей мере одного упругого контакта между выдвинутым положением и вдавленным положением может составлять по меньшей мере 0,1 миллиметра, по меньшей мере 0,2 миллиметра или по меньшей мере 0,3 миллиметра. Длина пути упомянутого по меньшей мере одного упругого контакта между выдвинутым положением и вдавленным положением может составлять от примерно 0,1 миллиметра до примерно 1,5 миллиметра, от примерно 0,2 миллиметра до примерно 1 миллиметра или от примерно 0,3 мм до примерно 0,7 мм.
Упомянутый по меньшей мере один упругий контакт второй части разъема смещен для возвращения в выдвинутое положение. Когда упомянутый по меньшей мере один упругий контакт вдавливается из выдвинутого положения к вдавленному положению первой частью разъема, упомянутый по меньшей мере один упругий контакт прикладывает силу смещения к первой connector части в направлении выдвинутого положения. Первый и второй магнитные элементы расположены для обеспечения силы магнитного притяжения между первой и второй частями разъема, которая действует в направлении, противоположном силе смещения упомянутого по меньшей мере одного упругого контакта. Когда первая и вторая части разъема находятся в первом положении соединения, сила магнитного притяжения между первым и вторым магнитными элементами больше, чем сила, требуемая для перемещения упомянутого по меньшей мере одного упругого контакта из выдвинутого положения во вдавленное положение. Преимущественно, такая сила магнитного притяжения способна преодолевать силу смещения упомянутого по меньшей мере одного упругого контакта, когда первая и вторая части разъема находятся в первом положении соединения, и стягивать вместе первую и вторую части разъема. Другими словами, когда первая и вторая части разъема находятся в первом положении соединения, первая и вторая части разъема имеют тенденцию стягиваться друг к другу посредством силы магнитного притяжения и упомянутый по меньшей мере один упругий контакт второй части разъема вдавливается из выдвинутого положения во вдавленное положение первой частью разъема.
Преимущественно, по мере того, как пользователь перемещает генерирующее аэрозоль устройство и зарядный блок в электрическое сопряжение, сила магнитного притяжения между первым и вторым магнитными элементами является таковой, что пользователь не ощущает сопротивления от силы смещения упомянутого по меньшей мере одного упругого контакта по мере того, как первая и вторая части разъема сопрягаются в первом положении соединения, и по мере того, как упомянутый по меньшей мере один упругий контакт вдавливается из выдвинутого положения во вдавленное положение. Другими словами, сила магнитного притяжения между первым и вторым магнитными элементами в первом положении соединения достаточно велика, чтобы скрыть или замаскировать силу смещения упомянутого по меньшей мере одного упругого контакта от пользователя, приводящего генерирующее аэрозоль устройство в электрическое соединение с зарядным блоком.
Когда первая и вторая части разъема находятся в первом положении соединения, сила магнитного притяжения между первым и вторым магнитными элементами может иметь любую подходящую величину. Когда первая и вторая части разъема находятся в первом положении соединения, сила магнитного притяжения между первым и вторым магнитными элементами может составлять по меньшей мере 0,1 ньютона, по меньшей мере 0,15 ньютона или по меньшей мере 0,2 ньютона, по меньшей мере 0,5 ньютона, по меньшей мере 1 ньютон или по меньшей мере 1,5 ньютона. Когда первая и вторая части разъема находятся в первом положении соединения, сила магнитного притяжения между первым и вторым магнитными элементами может составлять по меньшей мере 0,15 ньютона. Когда первая и вторая части разъема находятся в первом положении соединения, сила магнитного притяжения между первым и вторым магнитными элементами может составлять от примерно 0,1 ньютона до примерно 10 ньютонов, от примерно 0,5 ньютона до примерно 5 ньютонов или от примерно 1,5 ньютона до примерно 4,0 ньютона.
В некоторых предпочтительных вариантах осуществления первая и вторая части разъема могут быть дополнительно выполнены с возможностью расположения во втором положении соединения, в котором: по меньшей мере один из электрических контактов первой части разъема электрически соединен с по меньшей мере одним из электрических контактов второй части разъема; первый и второй магнитные элементы магнитно притягиваются друг к другу; и упомянутый по меньшей мере один упругий контакт второго разъема находится во вдавленном положении.
Когда первая и вторая части разъема находятся во втором положении соединения, упомянутый по меньшей мере один упругий контакт во вдавленном положении оказывает силу смещения на первую часть разъема. В некоторых вариантах осуществления, когда первая и вторая части разъема находятся во втором положении соединения, сила магнитного притяжения между первым и вторым магнитными элементами больше, чем сила смещения, оказываемая упомянутым по меньшей мере одним упругим контактом на первую часть разъема. Такая сила магнитного притяжения гарантирует, что сила смещения упомянутого по меньшей мере одного упругого контакта второй части разъема не сможет вытолкнуть первую и вторую части разъема из второго положения соединения.
В некоторых предпочтительных вариантах осуществления, когда первая и вторая части разъема находятся во втором положении соединения, сила магнитного притяжения между первым и вторым магнитными элементами больше, чем вес генерирующего аэрозоль устройства и сила смещения упомянутого по меньшей мере одного упругого контакта на первой части разъема. Такая сила магнитного притяжения гарантирует, что первая и вторая части разъема могут удерживаться во втором положении соединения независимо от ориентации системы.
Когда первая и вторая части разъема не находятся в электрическом сопряжении, сила магнитного притяжения между первым и втором магнитными элементами может привести к тому, что первая и вторая части разъема будут стянуты друг с другом в электрическое сопряжение. Преимущественно, это обеспечивает некоторую степень самовыравнивания и самосопряжения первой и второй частей разъема, содействуя электрическому сопряжению. Это может дополнительно улучшить скорость и простоту, с которыми пользователь может электрически соединять устройство и зарядный блок. Когда первая и вторая части разъема электрически соединены, сила магнитного притяжения между первым и вторым магнитными элементами увеличивает силу, требуемую для разъединения первой и второй частей разъема. Преимущественно, это практически исключает или предотвращает непреднамеренное разъединение первой и второй частей разъема, например, из-за вибраций и поворачивания во время транспортировки.
Когда первая и вторая части разъема находятся во втором положении соединения, сила магнитного притяжения между первым и вторым магнитными элементами может иметь любую подходящую величину. Когда первая и вторая части разъема находятся во втором положении соединения, сила магнитного притяжения между первым и вторым магнитными элементами может составлять по меньшей мере 0,5 ньютона, по меньшей мере 1 ньютон, по меньшей мере 1,5 ньютона, по меньшей мере 2 ньютона, по меньшей мере 3 ньютона или по меньшей мере 4 ньютона. Когда первая и вторая части разъема находятся во втором положении соединения, сила магнитного притяжения между первым и вторым магнитными элементами может составлять по меньшей мере 1 ньютон. Когда первая и вторая части разъема находятся во втором положении соединения, сила магнитного притяжения между первым и вторым магнитными элементами может составлять от примерно 0,5 ньютона до примерно 10 ньютонов, от примерно 1 ньютона до примерно 5 ньютонов или от примерно 1,5 ньютона до примерно 4 ньютонов. Когда первая и вторая части разъема находятся во втором положении соединения, сила магнитного притяжения между первым и вторым магнитными элементами может составлять от примерно 1,5 ньютона до примерно 4 ньютонов.
Согласно настоящему изобретению также предусмотрено электрически управляемое генерирующее аэрозоль устройство, содержащее часть электрического разъема. Часть электрического разъема содержит поверхность и углубление, расположенное практически по центру в поверхности. Часть электрического разъема дополнительно содержит: первый электрический контакт, расположенный в углублении; второй электрический контакт, расположенный на поверхности и практически окружающий первый электрический контакт; и третий электрический контакт, расположенный на поверхности и практически окружающий второй электрический контакт.
В некоторых предпочтительных вариантах осуществления углубление имеет закрытый конец, открытый конец на поверхности и по меньшей мере одну боковую стенку, проходящую между открытым концом и закрытым концом. Предпочтительно, первый электрический контакт расположен на упомянутой по меньшей мере одной боковой стенке выступа. На закрытом конце углубления не расположено электрических контактов.
В некоторых вариантах осуществления электрически управляемое генерирующее аэрозоль устройство может содержать одно или более из следующего: полость для размещения в ней аэрозольобразующего субстрата; электрический нагреватель для нагрева аэрозольобразующего субстрата, размещенного в полости; перезаряжаемый источник питания для подачи питания на электрический нагреватель; и электрическая схема, приспособленная для управления подачей питания на электрический нагреватель от источника питания и электрически соединенная с частью электрического разъема для передачи по меньшей мере одного из питания и данных через часть электрического разъема.
Часть электрического разъема может быть расположена на торцевой поверхности генерирующего аэрозоль устройства. Если устройство содержит полость для размещения аэрозольобразующего субстрата на одном конце, часть электрического разъема может быть расположена на противоположном конце.
Согласно настоящему изобретению также предусмотрен зарядный блок для зарядки генерирующего аэрозоль устройства, содержащий: корпус, имеющий полость для размещения в ней электрически управляемого генерирующего аэрозоль устройства; и часть электрического разъема, выполненную с возможностью электрического соединения с электрически управляемым генерирующим аэрозоль устройством, когда устройство размещено в полости. Часть электрического разъема содержит: поверхность и выступ, расположенный практически по центру на поверхности; первый электрический контакт, расположенный на выступе; второй электрический контакт, расположенный на поверхности, отстоящий радиально наружу от первого электрического контакта; и третий электрический контакт, расположенный на поверхности, отстоящий радиально наружу от первого электрического контакта и второго электрического контакта.
В некоторых предпочтительных вариантах осуществления выступ имеет торцевую поверхность и по меньшей мере одну боковую стенку, проходящую между поверхностью и торцевой поверхностью выступа. Предпочтительно, первый электрический контакт расположен на упомянутой по меньшей мере одной боковой стенке выступа. На торцевой поверхности выступа не расположено электрических контактов.
Часть электрического разъема может быть расположена на закрытом конце полости для размещения электрически управляемого генерирующего аэрозоль устройства.
Согласно настоящему изобретению также предусмотрен электрический разъем для электрически управляемой генерирующей аэрозоль системы. Электрический разъем содержит первую часть разъема и вторую часть разъема. Первая часть разъема содержит: первый электрический контакт; второй электрический контакт, по меньшей мере частично окружающий первый электрический контакт; и третий электрический контакт, по меньшей мере частично окружающий первый электрический контакт. Вторая часть электрического разъема содержит: поверхность и выступ, расположенный практически по центру на поверхности; первый электрический контакт, расположенный на выступе; второй электрический контакт, расположенный на поверхности, отстоящий радиально наружу от первого электрического контакта; и третий электрический контакт, расположенный на поверхности, отстоящий радиально наружу от первого электрического контакта и второго электрического контакта.
В некоторых предпочтительных вариантах осуществления выступ имеет торцевую поверхность и по меньшей мере одну боковую стенку, проходящую между поверхностью и торцевой поверхностью выступа. Предпочтительно, первый электрический контакт второй части разъема расположен на упомянутой по меньшей мере одной боковой стенке выступа. На торцевой поверхности выступа не расположено электрических контактов.
Когда первая и вторая разъемные части электрического разъема электрически сопряжены: первый электрический контакт первой части разъема электрически сопряжен с первым электрическим контактом второй части разъема; второй электрический контакт первой части разъема электрически сопряжен с одним из второго электрического контакта и третьего электрического контакта второй части разъема; и третий электрический контакт первой части разъема электрически сопряжен с другим из второго электрического контакта и третьего электрического контакта второй части разъема, независимо от поворотной ориентации второй части разъема относительно первой части разъема.
Настоящее изобретение охарактеризовано в формуле изобретения. Однако ниже предоставлен неисчерпывающий перечень неограничивающих примеров. Любые один или более признаков этих примеров можно комбинировать с любыми одним или более признаками другого примера, варианта осуществления или аспекта, описанных в данном документе.
EX1. Электрически управляемая генерирующая аэрозоль система, содержащая:
генерирующее аэрозоль устройство;
зарядный блок, выполненный с возможностью размещения в нем генерирующего аэрозоль устройства; и
первую часть разъема и вторую часть разъема, причем генерирующее аэрозоль устройство имеет одну из первой части разъема и второй части разъема, а зарядный блок имеет другую из первой части разъема и второй части разъема,
при этом:
первая часть разъема содержит: первый электрический контакт; второй электрический контакт, практически окружающий первый электрический контакт; и третий электрический контакт, практически окружающий второй электрический контакт;
вторая часть разъема содержит: поверхность и выступ, расположенный практически по центру на поверхности; первый электрический контакт, расположенный на выступе; второй электрический контакт, расположенный на поверхности, отстоящий радиально наружу от первого электрического контакта; и третий электрический контакт, расположенный на поверхности, отстоящий радиально наружу от первого электрического контакта и второго электрического контакта;
первая и вторая части разъема расположены таким образом, что, когда генерирующее аэрозоль устройство размещено в зарядном блоке, первая и вторая части разъема электрически сопряжены; и
электрические контакты первой и второй частей разъема расположены таким образом, что, когда первая и вторая части разъема электрически сопряжены:
первый электрический контакт первой части разъема электрически сопряжен с первым электрическим контактом второй части разъема;
второй электрический контакт первой части разъема электрически сопряжен со вторым электрическим контактом второй части разъема; и
третий электрический контакт первой части разъема электрически сопряжен с третьим электрическим контактом второй части разъема;
независимо от углового положения второй части разъема относительно первой части разъема.
EX2. Электрически управляемая генерирующая аэрозоль система по примеру EX1, при этом выступ образован торцевой поверхностью и по меньшей мере одной боковой стенкой, проходящей между поверхностью и торцевой поверхностью выступа.
EX3. Электрически управляемая генерирующая аэрозоль система по примеру EX2, при этом первый электрический контакт второй части разъема расположен на упомянутой по меньшей мере одной боковой стенке выступа.
EX4. Электрически управляемая генерирующая аэрозоль система по примеру EX2 или EX3, при этом на торцевой поверхности выступа второй части разъема не расположено электрических контактов, более конкретно, нет электрического контакта, расположенного в центре торцевой поверхности выступа второй части разъема, и/или, более конкретно, единственный электрический контакт или электрические контакты, расположенные на выступе, расположены на упомянутой по меньшей мере одной боковой стенке выступа.
EX5. Электрически управляемая генерирующая аэрозоль система по любому из предыдущих примеров, при этом:
первая часть разъема содержит поверхность и углубление, расположенное практически по центру на поверхности, при этом выступ второй части разъема выполнен с возможностью помещения в углубление первой части разъема;
первый электрический контакт первой части разъема расположен в углублении;
второй электрический контакт первой части разъема расположен на поверхности, при этом второй электрический контакт радиально отстоит от углубления на первое расстояние; и
третий электрический контакт второй части разъема расположен на поверхности, при этом третий электрический контакт радиально отстоит от углубления на второе расстояние, большее, чем первое расстояние.
EX6. Электрически управляемая генерирующая аэрозоль система по примеру EX5, при этом углубление образовано закрытой торцевой поверхностью, открытым концом на поверхности и по меньшей мере одной боковой стенкой, проходящей между открытым концом и закрытой торцевой поверхностью.
EX7. Электрически управляемая генерирующая аэрозоль система по примеру EX6, при этом первый электрический контакт первой части разъема расположен на упомянутой по меньшей мере одной боковой стенке углубления.
EX8. Электрически управляемая генерирующая аэрозоль система по примеру EX6 или EX7, при этом на закрытой торцевой поверхности углубления не расположено электрических контактов, более конкретно, нет электрического контакта, расположенного в центре торцевой поверхности углубления первой части разъема, и/или, более конкретно, единственный электрический контакт или электрические контакты, расположенные в углублении, расположены на упомянутой по меньшей мере одной боковой стенке углубления.
EX9. Электрически управляемая генерирующая аэрозоль система по любому из предыдущих примеров, при этом по меньшей мере один из электрических контактов каждой из первой и второй частей разъема выполнен с возможностью передачи данных из по меньшей мере одного из зарядного блока на генерирующее аэрозоль устройство и из генерирующего аэрозоль устройства на зарядный блок.
EX10. Электрически управляемая генерирующая аэрозоль система по примеру EX9, при этом первый электрический контакт каждой из первой и второй частей разъема выполнен с возможностью передачи данных из по меньшей мере одного из зарядного блока на генерирующее аэрозоль устройство и из генерирующего аэрозоль устройства на зарядный блок.
EX11. Электрически управляемая генерирующая аэрозоль система по любому из предыдущих примеров, при этом по меньшей мере один из электрических контактов каждой из первой и второй частей разъема выполнен с возможностью передачи питания от по меньшей мере одного из зарядного блока на генерирующее аэрозоль устройство и от генерирующего аэрозоль устройства на зарядный блок.
EX12. Электрически управляемая генерирующая аэрозоль система по примеру EX11, при этом второй электрический контакт каждой из первой и второй частей разъема выполнен с возможностью передачи питания от по меньшей мере одного из зарядного блока на генерирующее аэрозоль устройство и от генерирующего аэрозоль устройства на зарядный блок.
EX13. Электрически управляемая генерирующая аэрозоль система по любому из предыдущих примеров, при этом по меньшей мере один из электрических контактов каждой из первой и второй части разъема выполнен в качестве заземляющего соединения.
EX14. Электрически управляемая генерирующая аэрозоль система по примеру EX13, при этом третий электрический контакт каждой из первой и второй частей разъема выполнен в качестве заземляющего соединения.
EX15. Электрически управляемая генерирующая аэрозоль система по любому из предыдущих примеров, при этом генерирующее аэрозоль устройство содержит перезаряжаемый электрический источник питания.
EX16. Электрически управляемая генерирующая аэрозоль система по любому из предыдущих примеров, при этом зарядный блок содержит перезаряжаемый электрический источник питания.
EX17. Электрически управляемая генерирующая аэрозоль система по любому из предыдущих примеров, при этом:
генерирующее аэрозоль устройство содержит перезаряжаемый электрический источник питания;
зарядный блок содержит перезаряжаемый электрический источник питания;
по меньшей мере один из электрических контактов каждой из первой и второй частей разъема выполнен с возможностью передачи питания от перезаряжаемого электрического источника питания зарядного блока на источник питания генерирующего аэрозоль устройства, и по меньшей мере один из других электрических контактов каждой из первой и второй частей разъема выполнен с возможностью передачи данных из по меньшей мере одного из зарядного блока на генерирующее аэрозоль устройство и из генерирующего аэрозоль устройства на зарядный блок.
EX18. Электрически управляемая генерирующая аэрозоль система по примеру EX17, при этом первые электрические контакты первой и второй частей разъема выполнены с возможностью передачи данных из по меньшей мере одного из зарядного блока на генерирующее аэрозоль устройство и из генерирующего аэрозоль устройства на зарядный блок, а вторые электрические контакты первой и второй частей разъема выполнены с возможностью передачи питания от перезаряжаемого электрического источника питания зарядного блока на перезаряжаемый электрический источник питания генерирующего аэрозоль устройства.
EX19. Электрически управляемая генерирующая аэрозоль система по любому из предыдущих примеров, при этом вторая часть разъема содержит четвертый электрический контакт, расположенный на поверхности.
EX20. Электрически управляемая генерирующая аэрозоль система по примеру EX19, при этом четвертый электрический контакт выполнен в виде контакта обнаружения введения для обнаружения того, что первая и вторая части разъема электрически сопряжены.
EX21. Электрически управляемая генерирующая аэрозоль система по примеру EX20, при этом один из электрических контактов первой части разъема выполнен в виде заземляющего соединения, и при этом четвертый электрический контакт второй части разъема расположен с возможностью электрического сопряжения с тем электрическим контактом первой части разъема, который выполнен в виде заземляющего соединения.
EX22. Электрически управляемая генерирующая аэрозоль система по примеру EX21, при этом генерирующее аэрозоль устройство или зарядный блок содержит контроллер, выполненный с возможностью определять, когда четвертый контакт электрически сопряжен с заземляющем соединением, что указывает на то, что первая и вторая части разъема электрически сопряжены.
EX23. Электрически управляемая генерирующая аэрозоль система по любому из примеров EX19-EX22, при этом четвертый электрический контакт второй части разъема радиально отстоит от выступа на первое расстояние и отстоит в угловом направлении от второго электрического контакта второй части разъема, четвертый электрический контакт второй части разъема расположен с возможностью электрического сопряжения со вторым электрическим контактом первой части разъема, и, необязательно, второй электрический контакт первой части разъема выполнен в виде заземляющего соединения.
EX24. Электрически управляемая генерирующая аэрозоль система по любому из примеров EX19-EX22, при этом четвертый электрический контакт второй части разъема радиально отстоит от выступа на второе расстояние и отстоит в угловом направлении от третьего электрического контакта второй части разъема, четвертый электрический контакт второй части разъема расположен с возможностью электрического сопряжения с третьим электрическим контактом первой части разъема, и, необязательно, третий электрический контакт первой части разъема выполнен в виде заземляющего соединения.
EX25. Электрически управляемая генерирующая аэрозоль система по любому из примеров EX19-EX24, при этом четвертый электрический контакт второй части разъема является штыревым контактом.
EX26. Электрически управляемая генерирующая аэрозоль система по любому из предыдущих примеров, при этом один или более из электрических контактов второй части разъема представляют собой штыревые контакты.
EX27. Электрически управляемая генерирующая аэрозоль система по любому из предыдущих примеров, при этом первый электрический контакт второй части разъема представляет собой контакт в виде пластинчатой пружины, а второй и третий электрические контакты второй части разъема являются штыревыми контактами.
EX28. Электрически управляемая генерирующая аэрозоль система по любому из предыдущих примеров, при этом генерирующее аэрозоль устройство содержит ближний конец и дальний конец, а зарядный блок содержит полость, выполненную с возможностью размещения в ней по меньшей мере дальнего конца генерирующего аэрозоль устройства, причем полость имеет открытый конец и закрытый конец.
EX29. Электрически управляемая генерирующая аэрозоль система по примеру EX28, при этом:
одна из первой и второй частей разъема расположена на торцевой поверхности на дальнем конце генерирующего аэрозоль устройства; и
другая из первой и второй частей разъема расположена на торцевой поверхности на закрытом конце полости зарядного блока.
EX30. Электрически управляемая генерирующая аэрозоль система по примеру EX28 или EX29, при этом
первая часть разъема расположена на торцевой поверхности на дальнем конце генерирующего аэрозоль устройства; и
вторая часть разъема расположена на торцевой поверхности на закрытом конце полости зарядного блока.
EX31. Электрически управляемая генерирующая аэрозоль система по любому из примеров EX28-EX30, при этом полость зарядного блока выполнена с возможностью размещения в ней генерирующего аэрозоль устройства поперечно.
EX32. Электрически управляемая генерирующая аэрозоль система по любому из примеров EX28-EX31, при этом полость зарядного блока образована двумя закрытыми концами, разнесенными в продольном направлении, и боковой стенкой, проходящей между двумя закрытыми концами, причем боковая стенка образует отверстие на боковой стороне полости.
EX33. Электрически управляемая генерирующая аэрозоль система по примеру EX32, при этом отверстие на боковой стороне полости выполнено с возможностью размещения генерирующего аэрозоль устройства в направлении, практически перпендикулярном продольному направлению.
EX34. Электрически управляемая генерирующая аэрозоль система по любому из предыдущих примеров, при этом первый электрический контакт первой части разъема практически проходит в первой плоскости, а второй и третий электрические контакты первой части разъема практически проходят во второй плоскости, практически перпендикулярной первой плоскости.
EX35. Электрически управляемая генерирующая аэрозоль система по любому из предыдущих примеров, дополнительно содержащая удерживающее устройство для удерживания с возможностью разъединения электрического сопряжения первой части разъема и второй части разъема, когда генерирующее аэрозоль устройство размещено в зарядном блоке.
EX36. Электрически управляемая генерирующая аэрозоль система по примеру EX35, при этом:
удерживающее устройство содержит первый магнитный элемент, предусмотренный на генерирующем аэрозоль устройстве, и второй магнитный элемент, предусмотренный на зарядном блоке; и
первый и второй магнитные элементы расположены таким образом, что первый и второй магнитные элементы находятся близко друг к другу, когда генерирующее аэрозоль устройство размещено в зарядном блоке, так что удерживающее устройство удерживает с возможностью разъединения сопряжение первой и второй частей разъема.
EX37. Электрически управляемая генерирующая аэрозоль система по примеру EX36, при этом первый магнитный элемент расположен вблизи одной из первой и второй частей разъема генерирующего аэрозоль устройства, а второй магнитный элемент расположен вблизи другой из первой и второй частей разъема зарядного блока.
EX38. Электрически управляемое генерирующее аэрозоль устройство для электрически управляемой генерирующей аэрозоль системы по любому из примеров EX1-EX37.
EX39. Электрически управляемое генерирующее аэрозоль устройство, содержащее часть электрического разъема, причем эта часть электрического разъема содержит поверхность и углубление, расположенное практически по центру на поверхности; первый электрический контакт, расположенный в углублении; второй электрический контакт, расположенный на поверхности и практически окружающий первый электрический контакт; и третий электрический контакт, расположенный на поверхности и практически окружающий второй электрический контакт.
EX40. Электрически управляемое генерирующее аэрозоль устройство по примеру EX39, при этом углубление образовано закрытой торцевой поверхностью, открытым концом на поверхности и по меньшей мере одной боковой стенкой, проходящей между открытым концом и закрытой торцевой поверхностью.
EX41. Электрически управляемое генерирующее аэрозоль устройство по примеру EX40, при этом первый электрический контакт части разъема расположен на упомянутой по меньшей мере одной боковой стенке углубления.
EX42. Электрически управляемое генерирующее аэрозоль устройство по примеру EX40 или EX41, при этом на закрытой торцевой поверхности углубления не расположено электрических контактов.
EX43. Электрически управляемое генерирующее аэрозоль устройство по любому из примеров EX39-EX42, при этом генерирующее аэрозоль устройство содержит перезаряжаемый электрический источник питания.
EX44. Электрически управляемое генерирующее аэрозоль устройство по любому из примеров EX39-EX43, при этом часть разъема расположена на торцевой поверхности генерирующего аэрозоль устройства.
EX45. Электрически управляемое генерирующее аэрозоль устройство по любому из примеров EX39-EX44, при этом первый электрический контакт части разъема практически проходит в первой плоскости, а второй и третий электрические контакты части разъема практически проходят во второй плоскости, практически перпендикулярной первой плоскости.
EX46. Электрически управляемое генерирующее аэрозоль устройство по любому из примеров EX39-EX45, при этом генерирующее аэрозоль устройство дополнительно содержит магнитный элемент вблизи части разъема.
EX47. Зарядный блок для электрически управляемой генерирующей аэрозоль системы по любому из примеров EX1-EX37.
EX48. Зарядный блок для зарядки генерирующего аэрозоль устройства, причем этот зарядный блок содержит: корпус, имеющий полость для размещения в ней электрически управляемого генерирующего аэрозоль устройства; и часть электрического разъема, расположенную с возможностью электрического соединения с электрически управляемым генерирующим аэрозоль устройством, когда устройство размещено в полости, при этом часть электрического разъема содержит: поверхность и выступ, расположенный практически по центру на поверхности; первый электрический контакт, расположенный на выступе; второй электрический контакт, расположенный на поверхности, отстоящий радиально наружу от первого электрического контакта; и третий электрический контакт, расположенный на поверхности, отстоящий радиально наружу от первого электрического контакта и второго электрического контакта.
EX49. Зарядный блок по примеру EX48, при этом выступ образован торцевой поверхностью и по меньшей мере одной боковой стенкой, проходящей между поверхностью и торцевой поверхностью выступа.
EX50. Зарядный блок по примеру EX49, при этом первый электрический контакт части разъема расположен на упомянутой по меньшей мере одной боковой стенке углубления.
EX51. Зарядный блок по примеру EX49 или EX50, при этом на торцевой поверхности выступа части разъема не расположено электрических контактов.
EX52. Зарядный блок по любому из примеров EX49-EX51, при этом зарядный блок содержит перезаряжаемый электрический источник питания.
EX53. Зарядный блок по любому из примеров EX49-EX52, при этом часть разъема содержит четвертый электрический контакт, расположенный на поверхности.
EX54. Зарядный блок по примеру EX53, при этом четвертый электрический контакт выполнен в виде контакта обнаружения введения для обнаружения того, когда часть разъема электрически сопряжена с другой частью разъема.
EX55. Зарядный блок по примеру EX54, при этом зарядный блок содержит контроллер, выполненный с возможностью обнаружения того, когда четвертый контакт электрически сопряжен с заземляющим соединением, что указывает на то, что часть разъема зарядного блока электрически сопряжена с другой частью разъема.
EX56. Зарядный блок по любому из примеров EX53-EX55, при этом четвертый электрический контакт части разъема радиально отстоит от выступа на первое расстояние, и отстоит в угловом направлении от второго электрического контакта.
EX57. Зарядный блок по любому из примеров EX53-EX55, при этом четвертый электрический контакт части разъема радиально отстоит от выступа на второе расстояние и отстоит в угловом направлении от третьего электрического контакта.
EX58. Зарядный блок по любому из примеров EX53-EX57, при этом четвертый электрический контакт второй части разъема является штыревым контактом.
EX59. Зарядный блок по любому из примеров EX53-EX58, при этом один или более из электрических контактов второй части разъема являются штыревыми контактами.
EX60. Зарядный блок по любому из примеров EX48-EX59, при этом первый электрический контакт части разъема представляет собой контакт в виде пластинчатой пружины, а второй и третий электрические контакты являются штыревыми контактами.
EX61. Зарядный блок по любому из примеров EX48-EX60, при этом полость зарядного блока выполнена с возможностью размещения в ней по меньшей мере дальнего конца генерирующего аэрозоль устройства, причем полость имеет открытый конец и закрытый конец.
EX62. Зарядный блок по примеру EX61, при этом часть разъема расположена на торцевой поверхности на закрытом конце полости зарядного блока.
EX63. Электрически управляемая генерирующая аэрозоль система по любому из примеров EX48-EX62, при этом полость зарядного блока выполнена с возможностью размещения генерирующего аэрозоль устройства поперечно.
EX64. Электрически управляемая генерирующая аэрозоль система по любому из примеров EX48-EX63, при этом полость зарядного блока образована двумя закрытыми концами, разнесенными в продольном направлении, и боковой стенкой, проходящей между двумя закрытыми концами, причем боковая стенка образует отверстие на боковой стороне полости.
EX65. Электрически управляемая генерирующая аэрозоль система по примеру EX64, при этом отверстие на боковой стороне полости выполнено с возможностью размещения генерирующего аэрозоль устройства в направлении, практически перпендикулярном продольному направлению.
EX66. Зарядный блок по любому из примеров EX48-EX65, при этом зарядный блок дополнительно содержит магнитный элемент вблизи части разъема.
EX67. Электрический разъем для электрически управляемой генерирующей аэрозоль системы по любому из примеров EX1-EX37.
EX68. Электрический разъем для электрически управляемой генерирующей аэрозоль системы, содержащий первую часть разъема и вторую часть разъема, причем первая часть разъема содержит: первый электрический контакт; второй электрический контакт, по меньшей мере частично окружающий первый электрический контакт; третий электрический контакт, по меньшей мере частично окружающий первый электрический контакт; и вторая часть разъема содержит: поверхность и выступ, расположенный практически по центру на поверхности; первый электрический контакт, расположенный на выступе; второй электрический контакт, расположенный на поверхности, отстоящий радиально наружу от первого электрического контакта; и третий электрический контакт, расположенный на поверхности, отстоящий радиально наружу от первого электрического контакта и второго электрического контакта.
EX69. Электрический разъем по примеру EX68, при этом выступ образован торцевой поверхностью и по меньшей мере одной боковой стенкой, проходящей между поверхностью и торцевой поверхностью выступа.
EX70. Электрический разъем по примеру EX69, при этом первый электрический контакт второй части разъема расположен на упомянутой по меньшей мере одной боковой стенке углубления.
EX71. Электрический разъем по примеру EX69 или EX70, при этом на торцевой поверхности выступа второй части разъема не расположено электрических контактов.
EX72. Электрический разъем по любому из примеров EX68-EX71, при этом:
первая часть разъема содержит поверхность и углубление, расположенное практически по центру на поверхности, причем выступ второй части разъема выполнен с возможностью помещения в углубление первой части разъема;
первый электрический контакт первой части разъема расположен в углублении;
второй электрический контакт первой части разъема расположен на поверхности, причем второй электрический контакт радиально отстоит от углубления на первое расстояние; и
третий электрический контакт второй части разъема расположен на поверхности, причем третий электрический контакт радиально отстоит от углубления на второе расстояние, большее, чем первое расстояние.
EX73. Электрический разъем по примеру EX72, при этом углубление образовано закрытой торцевой поверхностью, открытым концом на поверхности и по меньшей мере одной боковой стенкой, проходящей между открытым концом и закрытой торцевой поверхностью.
EX74. Электрический разъем по примеру EX73, при этом первый электрический контакт первой части разъема расположен на упомянутой по меньшей мере одной боковой стенке углубления.
EX75. Электрический разъем по примеру EX73 или 74, при этом на закрытой торцевой поверхности углубления не расположено электрических контактов.
EX76. Электрический разъем по любому из примеров EX68-EX75, при этом вторая часть разъема содержит четвертый электрический контакт, расположенный на поверхности.
EX77. Электрический разъем по примеру EX76, при этом четвертый электрический контакт выполнен в виде контакта обнаружения введения для обнаружения того, что первая и вторая части разъема электрически сопряжены.
EX78. Электрический разъем по примеру EX76 или EX77, при этом четвертый электрический контакт второй части разъема радиально отстоит от выступа на первое расстояние и отстоит в угловом направлении от второго электрического контакта второй части разъема, причем четвертый электрический контакт второй части разъема расположен с возможностью электрического сопряжения со вторым электрическим контактом первой части разъема.
EX79. Электрический разъем по любому из примеров EX76-EX77, при этом четвертый электрический контакт второй части разъема радиально отстоит от выступа на второе расстояние и отстоит в угловом направлении от третьего электрического контакта второй части разъема, причем четвертый электрический контакт второй части разъема расположен с возможностью электрического сопряжения с третьим электрическим контактом первой части разъема.
EX80. Электрический разъем по любому из примеров EX76-EX79, при этом четвертый электрический контакт второй части разъема является штыревым контактом.
EX81. Электрический разъем по любому из примеров EX68-EX80, при этом один или более из электрических контактов второй части разъема являются штыревыми контактами.
EX82. Электрический разъем по любому из примеров EX68-EX81, при этом первый электрический контакт второй части разъема представляет собой контакт в виде пластинчатой пружины, а второй и третий электрические контакты второй части разъема являются штыревыми контактами.
EX83. Электрический разъем по любому из примеров EX68-EX82, при этом первый электрический контакт первой части разъема практически проходит в первой плоскости, а второй и третий электрические контакты первой части разъема практически проходят во второй плоскости, практически перпендикулярной первой плоскости.
EX84. Электрический разъем по любому из примеров EX68-EX83, дополнительно содержащий удерживающее устройство для удерживания с возможностью разъединения электрического сопряжения первой части разъема и второй части разъема, когда генерирующее аэрозоль устройство размещено в зарядном блоке.
EX85. Электрический разъем по примеру EX84, при этом:
удерживающее устройство содержит первый магнитный элемент, предусмотренный на первой части разъема, и второй магнитный элемент, предусмотренный на второй части разъема; и
первый и второй магнитные элементы расположены таким образом, что первый и второй магнитные элементы находятся близко друг к другу, когда первая и вторая части разъема электрически сопряжены, так что удерживающее устройство удерживает с возможностью разъединения сопряжение первой и второй частей разъема.
Примеры теперь будут дополнительно описаны со ссылкой на фигуры, на которых:
на фиг. 1 показано схематическое изображение первой части электрического разъема согласно варианту осуществления настоящего изобретения;
на фиг. 2 показан вид в перспективе первой части разъема по фиг. 1;
на фиг. 3 показано схематическое изображение второй части электрического разъема согласно варианту осуществления настоящего изобретения, при этом вторая часть разъема выполнена с возможностью электрического соединения с первой частью разъема по фиг. 1;
на фиг. 4 показан вид в перспективе второй части разъема по фиг. 3;
на фиг. 5 показана схематическая иллюстрация электрически управляемой генерирующей аэрозоль системы, содержащей электрический разъем согласно одному варианту осуществления настоящего изобретения, при этом система содержит генерирующее аэрозоль устройство, размещенное в зарядном блоке, причем генерирующее аэрозоль устройство содержит первую часть разъема по фиг. 1 и 2, и зарядный блок, содержащий вторую часть разъема по фиг. 3 и 4;
на фиг. 6 показана схематическая иллюстрация электрически управляемой генерирующей аэрозоль системы, содержащей электрический разъем согласно одному варианту осуществления настоящего изобретения, при этом система содержит генерирующее аэрозоль устройство, размещаемое поперечно в зарядном блоке;
на фиг. 7 показана схематическая иллюстрация электрически управляемой генерирующей аэрозоль системы по фиг. 6, при этом генерирующее аэрозоль устройство размещено в зарядном блоке, а первая и вторая части электрического разъема электрически сопряжены;
на фиг. 8 показано схематическое изображение второй части электрического разъема согласно варианту осуществления настоящего изобретения, при этом вторая часть разъема выполнена с возможностью электрического соединения с первой частью разъема по фиг. 1;
на фиг. 9 показан вид сбоку второй части разъема по фиг. 8;
на фиг. 10 показана схематическая иллюстрация электрически управляемой генерирующей аэрозоль системы, содержащей электрический разъем согласно одному варианту осуществления настоящего изобретения, при этом система содержит генерирующее аэрозоль устройство, размещенное в зарядном блоке, причем генерирующее аэрозоль устройство содержит первую часть разъема по фиг. 1 и 2, и зарядный блок, содержащий вторую часть разъема по фиг. 8 и 9;
на фиг. 11 показан вид в перспективе магнитной удерживающей конструкции второй части разъема по фиг. 8 и 9;
на фиг. 12 показан вид спереди одного из магнитов магнитной удерживающей конструкции по фиг. 11;
на фиг. 13 показан вид сбоку электрического разъема согласно варианту осуществления по фиг. 10 в первом положении соединения; и
на фиг. 14 показан вид сбоку электрического разъема согласно варианту осуществления по фиг. 10 во втором положении соединения.
На фиг. 1 и 2 показаны схематические изображения первой части 1 разъема электрически управляемой генерирующей аэрозоль системы согласно варианту осуществления настоящего изобретения. Первая часть 1 разъема расположена на дальней торцевой поверхности генерирующего аэрозоль устройства (не показано). Первая часть 1 разъема содержит три электрических контакта: первый электрический контакт 3, второй электрический контакт 4 и третий электрический контакт 5.
Первая часть 1 разъема содержит практически круглую плоскую поверхность 6 с углублением 7, расположенным в центре поверхности 6. Углубление 7 является практически круглоцилиндрическим, имеющим открытый конец на поверхности 6, противоположный закрытый конец с закрытой торцевой поверхностью и трубчатую боковую стенку, проходящую между открытым концом и закрытой торцевой поверхностью. Закрытая торцевая поверхность углубления 7 является практически круглой и лежит на плоскости, практически параллельной плоскости поверхности 6. Круглая поверхность 6 имеет диаметр примерно 10 мм, а углубление 7 имеет диаметр примерно 4 мм и глубину примерно 4 мм.
Первый электрический контакт 3 расположен в углублении 7. Первый электрический контакт 3 расположен на боковой стенке углубления 7. Первый электрический контакт 3 является практически трубчатым и проходит практически по трубчатой боковой стенке углубления 7. Первый электрический контакт 3 имеет толщину примерно 0,1 мм, так что размещение первого электрического контакта 3 в углублении 7 значительно не уменьшает диаметр углубления 7. Первый электрический контакт 3 имеет ширину примерно 3,8 мм и расположен в углублении 7 таким образом, что первый электрический контакт 3 не доходит до закрытой торцевой поверхности углубления 7 или не выходит за пределы открытого конца углубления 7. Нет электрического контакта, расположенного на закрытом конце углубления 7. Второй и третий электрические контакты 4, 5 расположены на плоской поверхности 6. Второй электрический контакт 4 является кольцевым и проходит по плоской поверхности 6. Второй электрический контакт 4 окружает как углубление 7, так и первый электрический контакт 3. Второй электрический контакт 4 имеет внешний диаметр примерно 6 мм и внутренний диаметр примерно 4,6 мм, так что второй электрический контакт 4 не перекрывает углубление 7 или не контактирует с первым электрическим контактом 3. Третий электрический контакт 5 является кольцевым и проходит по плоской поверхности 6. Третий электрический контакт окружает второй электрический контакт 4, углубление 7 и первый электрический контакт 3. Третий электрический контакт 5 имеет внешний диаметр примерно 8 мм и внутренний диаметр примерно 6,6 мм, так что третий электрический контакт 5 не контактирует со вторым электрическим контактом 4. При такой компоновке все из первого, второго и третьего электрических контактов 3, 4, 5 электрически изолированы друг от друга.
Первый, второй и третий электрические контакты 3, 4, 5 не проходят в одной и той же плоскости. Второй и третий электрические контакты 4, 5 проходят в одной и той же плоскости, по плоской поверхности 6, а первый электрический контакт 3 проходит по поверхности, практически перпендикулярной плоскости второго и третьего электрических контактов 4, 5, боковой стенки углубления 7.
В этом варианте осуществления первый, второй и третий электрические контакты 3, 4, 5 выполнены из нержавеющей стали SS430.
Преимущество расположения электрических контактов 3, 4, 5 первой части 1 разъема состоит в том, что электрические контакты имеют круговую симметрию вращения вокруг оси, проходящей через центр углубления 7 и первый электрический контакт 3. Эта симметрия позволяет соединять первую часть 1 разъема со второй частью разъема при любой вращательной ориентации вокруг оси и предоставлять для второй части разъема идентичное расположение контактов. Таким образом, первая часть 1 разъема может быть соединена со второй частью разъема при любой ориентации первой части 1 разъема относительно второй части разъема.
На фиг. 3 и 4 показаны схематические изображения второй части 21 разъема электрически управляемой генерирующей аэрозоль системы согласно варианту осуществления настоящего изобретения. Вторая часть 21 разъема выполнена с возможностью электрического соединения с первой частью 21 разъема по фиг. 1 и 2. Вторая часть 21 разъема расположена на закрытой торцевой поверхности полости зарядного блока (не показано). Вторая часть 21 разъема содержит три электрических контакта: первый электрический контакт 23, второй электрический контакт 24 и третий электрический контакт 25.
Вторая часть 21 разъема содержит практически круглую плоскую поверхность 26, которая имеет практически тот же размер, что и поверхность 6 первой части 1 разъема. Вторая часть 21 разъема содержит выступ 27, расположенный в центре круглой плоской поверхности 26. Выступ 27 проходит наружу от поверхности 26 в направлении, практически перпендикулярном плоскости поверхности 26. Выступ 27 является практически круглоцилиндрическим и содержит торцевую поверхность и трубчатую боковую стенку, проходящую между поверхностью 26 и открытой торцевой поверхностью 27 выступа. Торцевая поверхность выступа 27 является практически круглой и лежит на плоскости, практически параллельной плоскости поверхности 26. Выступ 27 имеет практически такую же форму, как и углубление 7 первой части 1 разъема, с высотой примерно 3 мм и максимальным диаметром примерно 3,3 мм. Максимальный диаметр выступа 27 немного меньше диаметра углубления 7, так что выступ 27 второй части 21 разъема может размещаться с плотной посадкой внутри углубления 7 первой части 1 разъема. Диаметр или ширина выступа 27 уменьшается к торцевой поверхности выступа 27, так что граница раздела между торцевой поверхностью и боковой стенкой выступа 27 скошена с целью облегчения размещения выступа 27 внутри углубления 7 первой части 1 разъема.
Первый электрический контакт 23 расположен на выступе 27. Первый электрический контакт 23 представляет собой пластинчатую пружину, расположенную на боковой стенке выступа 27. Первый электрический контакт 23 проходит радиально наружу от боковой стенки выступа 27 в направлении, практически перпендикулярном боковой стенке и практически параллельном плоскости 26, на максимальное расстояние примерно 0,3 мм. Нет электрического контакта, расположенного на торцевой поверхности выступа 27. Второй и третий электрические контакты 24, 25 являются упругими штыревыми контактами, или подпружиненно-штыревыми контактами, расположенными на плоской поверхности 26. Второй и третий электрические контакты 24, 25 проходят наружу от плоской поверхности 26, практически в том же направлении, что и выступ. Второй и третий электрические контакты 24, 25 разнесены радиально наружу от выступа 27 в противоположных направлениях, так что второй и третий электрические контакты 24, 25 расположены практически на одной линии. Второй электрический контакт 24 отстоит от боковой стенки выступа 27 на расстояние примерно 1,3 мм, измеренное от центральной оси контакта. Третий электрический контакт 25 отстоит от боковой стенки выступа 27 на расстояние, большее, чем расстояние второго электрического контакта 24 от боковой стенки выступа 27. Третий электрический контакт 25 отстоит от боковой стенки выступа 27 на расстояние примерно 3,3 мм, измеренное от центральной оси контакта.
В этом варианте осуществления контакт 23 в виде пластинчатой пружины выполнен из нержавеющей стали SS301, а подпружиненно-штыревые контакты 24, 25 выполнены из латуни.
Подпружиненно-штыревые контакты 24, 25 проходят примерно на 1 мм над плоской поверхностью 26 второй части 21 разъема, когда они не сжаты, и проходят примерно на 0,5 мм над плоской поверхностью 26, когда они полностью сжаты.
Первая часть 1 разъема и вторая часть 21 разъема могут быть электрически сопряжены посредством вставки дальнего конца генерирующего аэрозоль устройства в полость зарядного блока. Генерирующее аэрозоль устройство является практически круглоцилиндрическим, и полость зарядного блока также является практически круглоцилиндрической, с диаметром, который больше, чем диаметр генерирующего аэрозоль устройства. Вставка дальнего конца генерирующего аэрозоль устройства в полость практически выравнивает (совмещает) поверхность 6 первой части 1 разъема и поверхность 26 второй части 21 разъема. Выравнивание поверхностей 6 и 26 также выравнивает первые электрические контакты 3, 23 первой и второй частей 1, 21 разъема, выравнивает вторые электрические контакты 4, 24 первой и второй частей 1, 21 разъема и выравнивает третьи электрические контакты 5, 25 первой и второй частей 1, 21 разъема. Соответственно, когда первая часть 1 разъема приведена в контакт со второй частью 21 разъема, первые электрические контакты 3, 23 приведены в контакт и электрически сопряжены, вторые электрические контакты 4, 24 приведены в контакт и электрически сопряжены и третьи электрические контакты 5, 25 приведены в контакт и электрически сопряжены. Дальний конец генерирующего аэрозоль устройства может быть вставлен в полость зарядного блока в любом угловом положении, и генерирующее аэрозоль устройство может быть свободно повернуто в полости без влияния на электрическое сопряжение первой и второй частей разъема.
Преимущественно, первая и вторая части 1, 21 разъема обеспечивают надежное средство электрического соединения, выполненное с возможностью многократного соединения и разъединения без повреждения электрических контактов любой части разъема. В частности, это обусловлено тем, что на торцевой поверхности выступа 27 второй части 21 разъема не предусмотрено электрического контакта. Выступ 27 второй части 21 разъема является элементом частей разъема, максимально удаленным от поверхностей 6, 26 частей разъема, и, по сути, торцевая поверхность выступа 27 является тем наиболее вероятным элементом на какой-либо части 1, 21 разъема, который первым привет в контакт с противоположной частью разъема во время электрического соединения первой и второй частей 1, 21. По сути, торцевая поверхность выступа 27 второй части 21 разъема является тем наиболее вероятным элементом на любой части разъема, который повреждается при нормальном использовании. Нежелательный контакт между торцевой поверхностью выступа 27 второй части 21 разъема и первой частью 1 разъема может возникнуть во время соединения частей 1, 21 разъема из-за смещения (неправильного совмещения) первой и второй частей 1, 21 разъема. Такой нежелательный контакт может приводить к повреждению торцевой поверхности выступа 27. Отсутствие электрического контакта на торцевой поверхности выступа 27 второй части 21 разъема делает вторую часть 21 разъема более устойчивой к повреждениям при нормальном использовании.
Генерирующее аэрозоль устройство содержит перезаряжаемый электрический источник питания (не показан), и зарядный блок содержит перезаряжаемый электрический источник питания (не показан). Первые электрические контакты 3, 23 выполнены с возможностью передачи данных между генерирующим аэрозоль устройством и зарядным блоком. Вторые электрические контакты 4, 24 выполнены с возможностью передачи питания от перезаряжаемого электрического источника питания зарядного блока на перезаряжаемый электрический источник питания генерирующего аэрозоль устройства. Третьи электрические контакты 5, 25 выполнены в качестве заземляющих соединений.
Следует понимать, что вторая часть разъема может быть снабжена любым подходящим количеством первых, вторых и третьих электрических контактов. Например, вторая часть разъема может быть снабжена тремя вторыми электрическими контактами и двумя третьими электрическими контактами. Также следует понимать, что дополнительные электрические контакты могут быть предусмотрены как на первой, так и на второй частях разъема. Например, на второй части разъема может быть предусмотрен электрический контакт обнаружения введения для определения того, когда генерирующее аэрозоль устройство размещено в полости зарядного блока и электрически соединено с зарядным блоком посредством второй части электрического разъема.
Первая и вторая части 1, 21 разъема содержат магнитное удерживающее устройство. Магнитное удерживающее устройство содержит первый магнитный материал в виде третьего электрического контакта 5 первой части 1 разъема, который содержит кольцо или полоску из ферромагнитного металла. Магнитное удерживающее устройство дополнительно содержит второй магнитный материал, содержащий пару дугообразных деталей 33, 35 из ферромагнитного материала, расположенных с противоположных сторон от электрических контактов 23, 24, 25 второй части 21 разъема. Второй магнитный материал электрически изолирован от электрических контактов второй части 21 разъема.
В этом варианте осуществления третий электрический контакт 5 первой части 1 разъема (т. е. первый магнитный материал) выполнен из ферромагнитной нержавеющей стали, такой как нержавеющая сталь марки SS430, а второй магнитный материал выполнен из сплава неодима, железа и бора, намагниченного с образованием постоянного магнита.
Когда первая часть 1 разъема приближается ко второй части 21 разъема, магнитное притяжение между первым и вторым магнитными материалами стягивает первую и вторую части разъема вместе, сжимая подпружиненно-штыревые контакты 24, 25 второй части 21 разъема и приводя электрические контакты каждой части разъема в электрическое сопряжение. Магнитное удерживающее устройство помогает удерживать первую и вторую части разъема в электрическом сопряжении.
Следует понимать, что в других вариантах осуществления первый и второй магнитные материалы могут быть выполнены из альтернативных материалов и могут быть расположены в других положениях. Например, первый магнитный материал может быть расположен за электрическими контактами первой части 1 разъема, образуя кольцо из ферромагнитного материала, которое окружает углубление 7, под третьим электрическим контактом 5.
Также следует понимать, что в других вариантах осуществления первый магнитный материал может содержать намагниченный материал, а второй магнитный материал может содержать ненамагниченный магнитный материал. В других вариантах осуществления как первый, так и второй магнитные материалы могут содержать намагниченные магнитные материалы.
На фиг. 5 показаны первая и вторая части 1, 21 разъема в положении в генерирующей аэрозоль системе 100 согласно одному варианту осуществления изобретения.
Генерирующая аэрозоль система 100 содержит генерирующее аэрозоль устройство 101, имеющее первую часть 1 разъема, расположенную на дальней торцевой поверхности. Генерирующая аэрозоль система 100 дополнительно содержит зарядный блок 103, содержащий полость 104 для размещения в ней дальнего конца генерирующего аэрозоль устройства 101. Полость 104 содержит вторую часть 21 разъема на закрытой торцевой поверхности. Зарядный блок 103 дополнительно содержит батарею 105 и электрическую схему 106, заключенную в корпусе. Корпус образует круглоцилиндрическую полость 104. Первая часть 1 разъема и вторая часть 21 разъема могут быть приведены в электрическое сопряжение посредством вставки дальнего конца генерирующего аэрозоль устройства 101 в полость 104 зарядного блока 103. Генерирующее аэрозоль устройство 101 является круглоцилиндрическим, и полость 104 зарядного блока 103 также является круглоцилиндрической, с диаметром, который больше диаметра генерирующего аэрозоль устройства 101. Вставка дальнего конца генерирующего аэрозоль устройства 101 в полость 104 практически выравнивает (совмещает) поверхность 6 первой части 1 разъема с поверхностью 26 второй части 21 разъема. Выравнивание поверхностей 6 и 26 первой и второй частей 1, 21 разъема также выравнивает углубление 7 и выступ 27, первые электрические контакты 3, 23, вторые электрические контакты 4, 24 и третьи электрические контакты 5, 25 первой и второй частей 1, 21 разъема соответственно. Следовательно, когда первая часть 1 разъема приведена в контакт со второй частью 21 разъема, выступ 27 размещен в углублении 7, первые электрические контакты 3, 23 электрически сопряжены, вторые электрические контакты 4, 24 электрически сопряжены и третьи электрические контакты 5, 25 электрически сопряжены.
В одном примере, как показано на фиг. 5, полость 104 зарядного блока 103 образована по меньшей мере одной боковой стенкой, которая проходит в продольном направлении. Боковая стенка может иметь один закрытый конец и один открытый конец, так что генерирующее аэрозоль устройство может быть введено в полость 104 перемещением генерирующего аэрозоль устройства в продольном направлении. Первая или вторая часть разъема может быть расположена на закрытом конце. На фиг. 5 вторая часть 21 разъема расположена на закрытом конце. Полость 104 может быть трубчатой. В частности, полость 104 может иметь круглое сечение, прямоугольное сечение или сечение любой другой формы. Предпочтительно, полость имеет сечение, комплементарное сечению генерирующего аэрозоль устройства.
В другом примере, как показано на фиг. 6 и 7, полость 104 зарядного блока 103 образована двумя закрытыми концами, разнесенными в продольном направлении. В данном случае имеется одна боковая стенка, образующая основание полости 104. Таким образом, боковая стенка и закрытые концы образуют впадину, в которую может быть помещено генерирующее аэрозоль устройство 101. Одна боковая сторона полости 104 открыта, так что генерирующее аэрозоль устройство 101 может быть помещено в полость перемещением генерирующего аэрозоль устройства 101 вбок или поперечно в полость 104. На зарядном блоке 103 может быть предусмотрена крышка (не показана), такая как гибкий клапан, так что одна открытая боковая сторона полости 104 может быть закрыта, таким образом удерживая генерирующее аэрозоль устройство 101 на месте в полости 104. В некоторых вариантах осуществления система 100 может быть снабжена дополнительными или альтернативными удерживающими устройствами для удержания генерирующего аэрозоль устройства 101 в полости 104 зарядного блока 103, такими как магнитное удерживающее устройство, как описано ниже со ссылками на фиг. 11 и 12.
Следует понимать, что в первом примере полости 104 зарядного блока 103, как показано на фиг. 5, генерирующее аэрозоль устройство 101 устанавливается в полость 104 продольно, тогда как во втором примере полости 104, как показано на фиг. 6 и 7, генерирующее аэрозоль устройство 101 устанавливается в полость 104 по меньшей мере частично сбоку или поперечно. Описанный в данном документе разъем особенно подходит для установки сбоку, поскольку контакты защищены от боковых столкновений. Установка сбоку или поперечная установка может быть выполнена путем перемещения генерирующего аэрозоль устройства 101 в зарядный блок 103 под углом, как показано на фиг. 6, так, чтобы сначала в полость 104 вошла часть 1 разъема генерирующего аэрозоль устройства и выступ второй части 21 разъема вошел в углубление первой части 1 разъема. Затем генерирующее аэрозоль устройство 101 можно задвинуть в полость 104, повернув его в сторону зарядного блока так, чтобы противоположный части 1 разъема конец устройства вошел в полость 104, а первая и вторая части разъема 1, 21 были электрически сопряжены.
На фиг. 8 и 9 показаны схематические изображения второй части 21 разъема электрически управляемой генерирующей аэрозоль системы согласно другому варианту осуществления изобретения. Вторая часть 21 разъема выполнена с возможностью электрического соединения с первой частью 21 разъема по фиг. 1 и 2. Вторая часть 21 разъема расположена на закрытой торцевой поверхности полости зарядного блока (не показан). Вторая часть 21 разъема содержит четыре электрических контакта: первый электрический контакт 23, второй электрический контакт 24, третий электрический контакт 25 и четвертый электрический контакт 28.
Вторая часть 21 разъема содержит практически круглую плоскую поверхность 26, которая имеет практически тот же размер, что и поверхность 6 первой части 1 разъема. Вторая часть 21 разъема содержит выступ 27, расположенный в центре круглой плоской поверхности 26. Выступ 27 проходит наружу от поверхности 26 в направлении, практически перпендикулярном плоскости поверхности 26. Выступ 27 является практически круглоцилиндрическим и содержит торцевую поверхность и трубчатую боковую стенку, проходящую между поверхностью 26 и открытой торцевой поверхностью 27 выступа. Торцевая поверхность выступа 27 является практически круглой и лежит на плоскости, практически параллельной плоскости поверхности 26. Выступ 27 имеет практически такую же форму, как и углубление 7 первой части 1 разъема, с высотой примерно 3 мм и максимальным диаметром примерно 3,3 мм. Максимальный диаметр выступа 27 немного меньше диаметра углубления 7, так что выступ 27 второй части 21 разъема может размещаться с плотной посадкой внутри углубления 7 первой части 1 разъема. Диаметр или ширина выступа 27 уменьшается к торцевой поверхности выступа 27, так что граница раздела между торцевой поверхностью и боковой стенкой выступа 27 закруглена с целью облегчения размещения выступа 27 внутри углубления 7 первой части 1 разъема.
Первый электрический контакт 23 расположен на выступе 27. Первый электрический контакт 23 представляет собой пластинчатую пружину, расположенную на боковой стенке выступа 27. Первый электрический контакт 23 проходит радиально наружу от боковой стенки выступа 27 в направлении, практически перпендикулярном боковой стенке и практически параллельном плоскости 26, на максимальное расстояние примерно 0,3 мм. Нет электрического контакта, расположенного на торцевой поверхности выступа 27. Второй, третий и четвертый электрические контакты 24, 25, 28 являются упругими штыревыми контактами или подпружиненно-штыревыми контактами, расположенными на плоской поверхности 26. Второй, третий и четвертый электрические контакты 24, 25, 28 проходят наружу от плоской поверхности 26 практически в том же направлении, что и выступ. Второй и третий электрические контакты 24, 25 разнесены радиально наружу от выступа 27 в противоположных направлениях, так что второй и третий электрические контакты 24, 25 расположены практически на одной линии. Второй электрический контакт 24 отстоит от боковой стенки выступа 27 на расстояние примерно 1,3 мм, измеренное от центральной оси контакта. Третий электрический контакт 25 отстоит от боковой стенки выступа 27 на расстояние, большее, чем расстояние второго электрического контакта 24 от боковой стенки выступа 27. Третий электрический контакт 25 отстоит от боковой стенки выступа 27 на расстояние примерно 3,3 мм, измеренное от центральной оси контакта. Четвертый электрический контакт 28 отстоит от боковой стенки выступа 27 на такое же расстояние, что и третий электрический контакт 25, на расстояние примерно 3,3 мм, измеренное от центральной оси контакта. Четвертый электрический контакт 28 расположен на противоположной третьему электрическому контакту 25 стороне поверхности 26 смещенным от второго электрического контакта 24, так что четвертый электрический контакт 28 не находится на одной линии со вторым и третьим электрическими контактами 24, 25.
В этом варианте осуществления контакт 23 в виде пластинчатой пружины выполнен из нержавеющей стали SS301, а подпружиненно-штыревые контакты 24, 25, 28 выполнены из латуни.
Подпружиненно-штыревые контакты 24, 25, 28 проходят примерно на 1 мм над плоской поверхностью 26 второй части 21 разъема, когда они не сжаты, и проходят примерно на 0,5 мм над плоской поверхностью 26, когда они полностью сжаты.
Первая часть 1 разъема и вторая часть 21 разъема могут быть электрически сопряжены посредством вставки дальнего конца генерирующего аэрозоль устройства в полость зарядного блока. Генерирующее аэрозоль устройство является практически круглоцилиндрическим, и полость зарядного блока также является практически круглоцилиндрической, с диаметром, который больше, чем диаметр генерирующего аэрозоль устройства. Вставка дальнего конца генерирующего аэрозоль устройства в полость практически выравнивает (совмещает) поверхность 6 первой части 1 разъема и поверхность 26 второй части 21 разъема. Выравнивание поверхностей 6 и 26 также выравнивает первые электрические контакты 3, 23 первой и второй частей 1, 21 разъема, выравнивает вторые электрические контакты 4, 24 первой и второй частей 1, 21 разъема и выравнивает третьи электрические контакты 5, 25 первой и второй частей 1, 21 разъема. Соответственно, когда первая часть 1 разъема приведена в контакт со второй частью 21 разъема, первые электрические контакты 3, 23 приведены в контакт и электрически сопряжены, вторые электрические контакты 4, 24 приведены в контакт и электрически сопряжены и третьи электрические контакты 5, 25 приведены в контакт и электрически сопряжены. Дальний конец генерирующего аэрозоль устройства может быть вставлен в полость зарядного блока в любом угловом положении, и генерирующее аэрозоль устройство может быть свободно повернуто в полости без влияния на электрическое сопряжение первой и второй частей разъема. Когда первая часть 1 разъема приведена в контакт со второй частью 21 разъема, четвертый электрический контакт 28 второй части 21 разъема приведен в контакт с третьим электрическим контактом 5 первой части разъема.
Гибкая схема 37 соединяет электрические контакты 23, 24, 25, 28 второй части 21 разъема с контроллером (не показан) зарядного блока.
На фиг. 10 показаны первая часть 1 разъема по фиг. 1 и 2 и вторая часть 21 разъема по фиг. 8 и 9 в положении в генерирующей аэрозоль системе 100 согласно одному варианту осуществления настоящего изобретения.
Генерирующая аэрозоль система 100 содержит генерирующее аэрозоль устройство 101, имеющее первую часть 1 разъема по фиг. 1 и 2, расположенную на дальней торцевой поверхности. Генерирующая аэрозоль система 100 дополнительно содержит зарядный блок 103, содержащий полость 104 для размещения дальнего конца генерирующего аэрозоль устройства 101. Полость 104 содержит вторую часть 21 разъема по фиг. 8 и 9 на закрытой торцевой поверхности. Зарядный блок 103 дополнительно содержит батарею и электрическую схему, заключенную в корпусе. Корпус ограничивает круглоцилиндрическую полость 104. Гибкая схема 37 второй части 21 разъема соединяет электрические контакты 23, 24, 25, 28 второй части 21 разъема с контроллером зарядного блока 103.
Первая часть 1 разъема и вторая часть 21 разъема могут быть приведены в электрическое сопряжение посредством вставки дальнего конца генерирующего аэрозоль устройства 101 в полость 104 зарядного блока 103. Генерирующее аэрозоль устройство 101 является круглоцилиндрическим, и полость 104 зарядного блока 103 также является круглоцилиндрической, имеющей диаметр, который больше диаметра генерирующего аэрозоль устройства 101. Вставка дальнего конца генерирующего аэрозоль устройства 101 в полость 104 практически выравнивает (совмещает) поверхность 6 первой части 1 разъема с поверхностью 26 второй части 21 разъема. Выравнивание поверхностей 6 и 26 первой и второй частей 1, 21 разъема также выравнивает углубление 7 и выступ 27, первые электрические контакты 3, 23, вторые электрические контакты 4, 24 и третьи электрические контакты 5, 25 первой и второй частей 1, 21 разъема соответственно. Следовательно, когда первая часть 1 разъема приведена в контакт со второй частью 21 разъема, выступ 27 размещен в углублении 7, первые электрические контакты 3, 23 электрически сопряжены, вторые электрические контакты 4, 24 электрически сопряжены и третьи электрические контакты 5, 25 электрически сопряжены.
В этом варианте осуществления первые электрические контакты 3, 23 выполнены с возможностью передачи данных между зарядным блоком 103 и генерирующим аэрозоль устройством 101. Вторые электрические контакты 4, 24 выполнены с возможностью передачи питания между зарядным блоком 103 и генерирующим аэрозоль устройством 101. Третьи электрические контакты 5, 25 выполнены в качестве заземляющих соединений. Четвертый электрический контакт 28 второй части 21 разъема выполнен в виде контакта обнаружения введения для обнаружения того, когда первая часть 1 разъема электрически соединена со второй частью 21 разъема. Четвертый электрический контакт 28 находится в связи с куполообразным переключателем (не показан), который замыкается, когда подпружиненно-штыревой контакт 28 сжат. Куполообразный переключатель соединен с контроллером зарядного блока, который выполнен с возможностью определения того, что первая часть 1 разъема электрически соединена со второй частью 21 разъема, когда куполообразный переключатель замкнут.
Магнитное удерживающее устройство удерживает с возможностью разъединения электрическое сопряжение между первой и второй частями 1, 21 разъема генерирующей аэрозоль системы по фиг. 10, когда генерирующее аэрозоль устройство 101 системы размещено в полости 104 зарядного блока 103 системы. Магнитное удерживающее устройство содержит первый магнитный элемент на дальнем конце генерирующего аэрозоль устройства 101 и второй магнитный элемент 32 на закрытом конце полости 104 зарядного блока.
Первый магнитный элемент на дальнем конце генерирующего аэрозоль устройства является третьим электрическим контактом 5 первой части 1 разъема, которая содержит кольцо из ферромагнитного материала.
Второй магнитный элемент 32 содержит два дугообразных постоянных магнита 33, 35, подробно показанных на фиг. 11 и 12. Два постоянных магнита 33, 35 являются дугообразными и имеют такую же кривизну, как у третьего электрического контакта 3 первой части 1 разъема. Постоянные магниты 33 и 35 расположены на противоположных сторонах второй части 21 разъема и электрически изолированы от второй части 21 разъема. Постоянные магниты 33, 35 расположены вокруг цилиндрического канала 38 и в целом окружают цилиндрический канал 38 на противоположных сторонах. Цилиндрический канал 38 окружает выступ 27 второй части 21 разъема.
Как показано на фиг. 9 и 10, постоянные магниты 33, 35 выступают над поверхностью 26 второй части 21 разъема. Дугообразная верхняя поверхность постоянных магнитов 33, 35 расположена в положении чуть ниже верха второго, третьего и четвертого электрических подпружиненно-штыревых контактов 24, 25, 28, когда эти подпружиненно-штыревые контакты находятся в своем сжатом положении. При такой компоновке третий электрический контакт 5 первой части 1 разъема, который является первым магнитным элементом магнитного удерживающего устройства, расположен смежно со вторым магнитным элементом 32, который содержит постоянные магниты 33, 35, второй части 21 разъема, когда устройство 101 расположено в полости 104, и первая часть 1 разъема контактирует со второй частью 21 разъема.
Каждый постоянный магнит 33, 35 имеет один магнитный северный полюс либо на верхней, либо на нижней стороне и один магнитный южный полюс на противоположной из верхней или нижней сторон. Как показано на фиг. 12 для постоянного магнита 33, если рассматривать каждый магнит спереди, смотря на противоположные торцевые поверхности дугообразного магнита, обе торцевые поверхности магнита имеют магнитную полярность север-юг, ориентированную в одном и том же направлении.
Магнитные полярности север-юг постоянных магнитов 33, 35 ориентированы в противоположных направлениях, как показано на фиг. 12 буквами «N» и «S». Магнитный северный полюс магнита 33 и магнитный южный полюс магнита 35 расположены выходящими наружу из поверхности второй части 21 разъема в направлении центрального канала 38 через магниты. В данной компоновке магнитный северный полюс магнита 33 и магнитный южный полюс магнита 35 расположены смежно с третьим электрическим контактом 5 первой части 1 разъема, когда устройство 101 расположено в полости 104, и первая и вторая части 1, 21 разъема сопряжены. В этой компоновке постоянный магнит 33, третий электрический контакт 5 первой части 1 разъема и постоянный магнит 35 образуют магнитную цепь.
Магнитное притяжение между первым магнитным элементом и вторым магнитным элементом 32 втягивает генерирующее аэрозоль устройство вдоль продольной оси полости 104 ко второй части 21 разъема и второму магнитному элементу 32 на закрытом конце полости 104. Данное действие способствует электрическому соединению первой и второй частей 1, 21 разъема, как описано выше.
На фиг. 13 показана первая часть 1 разъема и вторая часть 21 разъема в первом положении соединения. В первом положении соединения первая и вторая части 1, 21 разъема находятся в электрическом сопряжении. Другими словами, в первом положении соединения первые электрические контакты частей разъема сопряжены, вторые электрические контакты частей разъема сопряжены и третьи электрические контакты частей разъема сопряжены. В первом положении соединения второй, третий и четвертый электрические контакты второй части разъема, все из которых являются упругими штыревыми контактами, находятся в своем выдвинутом положении. В первом положении соединения сила магнитного притяжения между первым магнитным элементом и вторым магнитным элементом 32 больше, чем сила, необходимая для вдавливания второго, третьего и четвертого упругих штыревых контактов второй части разъема, и сила трения между устройством и зарядным блоком. По сути, первая и вторая части 1, 21 разъема стягиваются вместе силой магнитного притяжения. Пользователь, перемещающий устройство в полость зарядного блока через первое положение соединения, не будет испытывать дополнительного сопротивления в первом положении соединения, когда первая часть разъема упирается в упругие штыревые контакты, поскольку сила магнитного притяжения между первым и вторым магнитными элементами эффективно маскирует силу смещения, оказываемую на устройство упругими штыревыми контактами. В этом варианте осуществления первый магнитный элемент и второй магнитный элемент отделены друг от друга примерно на 0,5 миллиметра, когда первая и вторая части 1, 21 разъема находятся в первом положении соединения.
На фиг. 14 показаны первая часть 1 разъема и вторая часть 21 разъема во втором положении соединения. Во втором положении соединения первая и вторая части 1, 21 разъема также находятся в электрическом сопряжении. Во втором положении соединения второй, третий и четвертый упругие штыревые контакты находятся в своем вдавленном положении. Во втором положении соединения сила магнитного притяжения между первым магнитным элементом и вторым магнитным элементом 32 больше, чем сочетание силы смещения, оказываемой на первую часть 1 разъема упругими штыревыми контактами второй части 21 разъема, и веса генерирующего аэрозоль устройства, так что зарядный блок и устройство могут быть перевернуты и генерирующее аэрозоль устройство будет удерживаться во втором положении соединения посредством силы магнитного притяжения. В этом варианте осуществления между первым и вторым магнитными элементами во втором положении соединения предусмотрен небольшой зазор. Следует понимать, что в других вариантах осуществления первый и второй магнитные элементы могут находиться в прямом контакте во втором положении соединения.
Следует понимать, что признаки, описанные в отношении одного варианта осуществления настоящего изобретения, могут также быть применены к другим вариантам осуществления настоящего изобретения. Например, элементы, описанные в отношении вариантов осуществления генерирующей аэрозоль системы, содержащей генерирующее аэрозоль устройство, зарядный блок и электрический разъем, могут также применяться к вариантам осуществления генерирующего аэрозоль устройства, вариантам осуществления зарядного блока и вариантам осуществления электрического разъема.
Для цели настоящего описания и прилагаемой формулы изобретения, за исключением случаев, когда указано иное, все числа, выражающие величины, количества, процентные доли и т. д., следует понимать как модифицированные во всех случаях термином «примерно». Также все диапазоны включают раскрытые точки максимума и минимума и включают любые промежуточные диапазоны между ними, которые могут быть или не быть конкретно перечислены в данном документе. Поэтому в данном контексте число А понимают как А ± {5%} А. В этом контексте число А можно считать включающим численные значения, находящиеся в пределах обычной стандартной погрешности при измерении свойства, которое число А модифицирует. Число А в некоторых случаях при использовании в прилагаемой формуле изобретения может отклоняться на перечисленные выше процентные доли при условии, что величина, на которую отклоняется А, существенно не влияет на основную (основные) и новую (новые) характеристику (характеристики) заявленного изобретения. Также все диапазоны включают раскрытые точки максимума и минимума и включают любые промежуточные диапазоны между ними, которые могут быть или не быть конкретно перечислены в данном документе.
| название | год | авторы | номер документа |
|---|---|---|---|
| СИСТЕМА, ГЕНЕРИРУЮЩАЯ АЭРОЗОЛЬ, С ЭЛЕКТРИЧЕСКИМ РАЗЪЕМОМ | 2018 |
|
RU2770343C2 |
| МАГНИТНЫЙ РАЗЪЕМ | 2018 |
|
RU2764289C1 |
| ЗАРЯДНАЯ СИСТЕМА ДЛЯ ВСТАВКИ ЭЛЕКТРИЧЕСКИХ УСТРОЙСТВ, ГЕНЕРИРУЮЩИХ АЭРОЗОЛЬ | 2019 |
|
RU2788363C2 |
| СИСТЕМА, ГЕНЕРИРУЮЩАЯ АЭРОЗОЛЬ, С ЧЕХЛОМ | 2018 |
|
RU2760154C2 |
| ЗАРЯДНАЯ СТАНЦИЯ ДЛЯ ГЕНЕРИРУЮЩЕГО АЭРОЗОЛЬ УСТРОЙСТВА С ЭЛЕКТРИЧЕСКИМ НАГРЕВОМ | 2018 |
|
RU2749737C2 |
| СИСТЕМА, ГЕНЕРИРУЮЩАЯ АЭРОЗОЛЬ, С ЗАРЯДНЫМ УСТРОЙСТВОМ И УСТРОЙСТВОМ, ГЕНЕРИРУЮЩИМ АЭРОЗОЛЬ, С КОНТАКТАМИ НА КОНЦАХ | 2017 |
|
RU2746573C1 |
| СИСТЕМА, ГЕНЕРИРУЮЩАЯ АЭРОЗОЛЬ, С ЗАРЯДНЫМ УСТРОЙСТВОМ | 2017 |
|
RU2757569C2 |
| ГЕНЕРИРУЮЩАЯ АЭРОЗОЛЬ СИСТЕМА С ГЕНЕРИРУЮЩИМ АЭРОЗОЛЬ УСТРОЙСТВОМ И СРЕДСТВАМИ ЗАЩИТЫ КНОПКИ УПРАВЛЕНИЯ | 2017 |
|
RU2746402C1 |
| ГЕНЕРИРУЮЩАЯ АЭРОЗОЛЬ СИСТЕМА С ЗАРЯДНЫМ УСТРОЙСТВОМ И ГЕНЕРИРУЮЩИМ АЭРОЗОЛЬ УСТРОЙСТВОМ С БОКОВЫМ СОЕДИНЕНИЕМ | 2017 |
|
RU2756887C2 |
| ФУТЛЯР ДЛЯ ХРАНЕНИЯ | 2017 |
|
RU2718356C1 |
Изобретение относится к электрически управляемым генерирующим аэрозоль системам. Технический результат заключается в повышении быстроты и надежности электрического соединения, генерирующего аэрозоль устройство и зарядного блока при любом угловом положении. Технический результат достигается за счет того, что предусмотрена электрически управляемая генерирующая аэрозоль система, содержащая генерирующее аэрозоль устройство, зарядный блок, выполненный с возможностью размещения в нем генерирующего аэрозоль устройства, и первую часть разъема и вторую часть разъема. Генерирующее аэрозоль устройство может иметь одну из первой части разъема и второй части разъема, а зарядный блок имеет другую из первой части разъема и второй части разъема. Первая часть разъема может содержать: первый электрический контакт; второй электрический контакт, практически окружающий первый электрический контакт; и третий электрический контакт, практически окружающий второй электрический контакт. Вторая часть разъема содержит поверхность и выступ, расположенный практически по центру на поверхности, первый электрический контакт, расположенный на выступе, второй электрический контакт, расположенный на поверхности, отстоящий радиально наружу от первого электрического контакта, и третий электрический контакт, расположенный на поверхности, отстоящий радиально наружу от второго электрического контакта. Первая и вторая части разъема могут быть расположены таким образом, что, когда генерирующее аэрозоль устройство размещено в зарядном блоке, первая и вторая части разъема электрически сопряжены. 4 н. и 10 з.п. ф-лы, 14 ил.
1. Электрически управляемая генерирующая аэрозоль система, содержащая:
генерирующее аэрозоль устройство;
зарядный блок, выполненный с возможностью размещения в нем генерирующего аэрозоль устройства; и
первую часть разъема и вторую часть разъема, причем генерирующее аэрозоль устройство имеет одну из первой части разъема и второй части разъема, а зарядный блок имеет другую из первой части разъема и второй части разъема,
при этом:
первая часть разъема содержит: первый электрический контакт; второй электрический контакт, практически окружающий первый электрический контакт; и третий электрический контакт, практически окружающий второй электрический контакт;
вторая часть разъема содержит: поверхность и выступ, расположенный практически по центру на поверхности, причем выступ образован торцевой поверхностью и по меньшей мере одной боковой стенкой, проходящей между поверхностью и торцевой поверхностью выступа; первый электрический контакт, расположенный на выступе на упомянутой по меньшей мере одной боковой стенке выступа; второй электрический контакт, расположенный на поверхности, отстоящий радиально наружу от первого электрического контакта; и третий электрический контакт, расположенный на поверхности, отстоящий радиально наружу от первого электрического контакта и второго электрического контакта;
на торцевой поверхности выступа второй части разъема не расположено электрических контактов;
первая и вторая части разъема расположены таким образом, что, когда генерирующее аэрозоль устройство размещено в зарядном блоке, первая и вторая части разъема электрически сопряжены; и
электрические контакты первой и второй частей разъема расположены таким образом, что, когда первая и вторая части разъема электрически сопряжены:
первый электрический контакт первой части разъема электрически сопряжен с первым электрическим контактом второй части разъема;
второй электрический контакт первой части разъема электрически сопряжен со вторым электрическим контактом второй части разъема; и
третий электрический контакт первой части разъема электрически сопряжен с третьим электрическим контактом второй части разъема,
независимо от углового положения второй части разъема относительно первой части разъема.
2. Электрически управляемая генерирующая аэрозоль система по п. 1, при этом:
первая часть разъема содержит поверхность и углубление, расположенное практически по центру на поверхности, причем выступ второй части разъема выполнен с возможностью помещения в углубление первой части разъема;
первый электрический контакт первой части разъема расположен в углублении;
второй электрический контакт первой части разъема расположен на поверхности, при этом второй электрический контакт радиально отстоит от углубления на первое расстояние; и
третий электрический контакт первой части разъема расположен на поверхности, причем третий электрический контакт радиально отстоит от углубления на второе расстояние, большее, чем первое расстояние.
3. Электрически управляемая генерирующая аэрозоль система по п. 2, при этом углубление образовано закрытой торцевой поверхностью, открытым концом на поверхности и по меньшей мере одной боковой стенкой, проходящей между открытым концом и закрытой торцевой поверхностью.
4. Электрически управляемая генерирующая аэрозоль система по п. 3, при этом первый электрический контакт первой части разъема расположен на упомянутой по меньшей мере одной боковой стенке углубления.
5. Электрически управляемая генерирующая аэрозоль система по п. 3 или 4, при этом на закрытой торцевой поверхности углубления не расположено электрических контактов.
6. Электрически управляемая генерирующая аэрозоль система по любому предыдущему пункту, при этом генерирующее аэрозоль устройство содержит перезаряжаемый электрический источник питания; и зарядный блок содержит перезаряжаемый электрический источник питания.
7. Электрически управляемая генерирующая аэрозоль система по п. 6, при этом по меньшей мере один из электрических контактов каждой из первой и второй частей разъема выполнен с возможностью передачи питания от перезаряжаемого электрического источника питания зарядного блока на перезаряжаемый электрический источник питания генерирующего аэрозоль устройства, и по меньшей мере один из других электрических контактов каждой из первой и второй частей разъема выполнен с возможностью передачи данных из по меньшей мере одного из зарядного блока на генерирующее аэрозоль устройство и из генерирующего аэрозоль устройства на зарядный блок.
8. Электрически управляемая генерирующая аэрозоль система по п. 7, при этом первые электрические контакты первой и второй частей разъема выполнены с возможностью передачи данных из по меньшей мере одного из зарядного блока на генерирующее аэрозоль устройство и из генерирующего аэрозоль устройства на зарядный блок, а вторые электрические контакты первой и второй частей разъема выполнены с возможностью передачи питания от перезаряжаемого электрического источника питания зарядного блока на перезаряжаемый электрический источник питания генерирующего аэрозоль устройства.
9. Электрически управляемая генерирующая аэрозоль система по любому предыдущему пункту, при этом вторая часть разъема содержит четвертый электрический контакт, расположенный на поверхности, причем четвертый электрический контакт радиально отстоит от выступа на второе расстояние и отстоит в угловом направлении от третьего электрического контакта второй части разъема, при этом четвертый электрический контакт выполнен в виде контакта обнаружения введения для обнаружения того, когда первая и вторая части разъема электрически сопряжены.
10. Электрически управляемое генерирующее аэрозоль устройство, содержащее часть электрического разъема, содержащую поверхность и углубление, расположенное практически по центру на поверхности, причем углубление образовано торцевой поверхностью и по меньшей мере одной боковой стенкой, проходящей между поверхностью и торцевой поверхностью углубления; первый электрический контакт, расположенный в углублении на упомянутой по меньшей мере одной боковой стенке углубления; второй электрический контакт, расположенный на поверхности и практически окружающий первый электрический контакт; и третий электрический контакт, расположенный на поверхности и практически окружающий второй электрический контакт, при этом на торцевой поверхности углубления не расположено электрических контактов.
11. Зарядный блок для зарядки генерирующего аэрозоль устройства, содержащий: корпус, имеющий полость для размещения в ней электрически управляемого генерирующего аэрозоль устройства; и часть электрического разъема, расположенную с возможностью электрического соединения с электрически управляемым генерирующим аэрозоль устройством, когда это устройство размещено в полости, причем часть электрического разъема содержит: поверхность и выступ, расположенный практически по центру на поверхности, при этом выступ образован торцевой поверхностью и по меньшей мере одной боковой стенкой, проходящей между поверхностью и торцевой поверхностью выступа; первый электрический контакт, расположенный на выступе на упомянутой по меньшей мере одной боковой стенке выступа; второй электрический контакт, расположенный на поверхности, отстоящий радиально наружу от первого электрического контакта; и третий электрический контакт, расположенный на поверхности, отстоящий радиально наружу от первого электрического контакта и второго электрического контакта, при этом на торцевой поверхности выступа не расположено электрических контактов.
12. Электрический разъем для электрически управляемой генерирующей аэрозоль системы, содержащий первую часть разъема и вторую часть разъема, причем первая часть разъема содержит: первый электрический контакт; второй электрический контакт, по меньшей мере частично окружающий первый электрический контакт; и третий электрический контакт, по меньшей мере частично окружающий первый электрический контакт; и вторая часть разъема содержит: поверхность и выступ, расположенный практически по центру на поверхности, причем выступ образован торцевой поверхностью и по меньшей мере одной боковой стенкой, проходящей между поверхностью и торцевой поверхностью выступа; первый электрический контакт, расположенный на выступе на упомянутой по меньшей мере одной боковой стенке выступа; второй электрический контакт, расположенный на поверхности, отстоящий радиально наружу от первого электрического контакта; и третий электрический контакт, расположенный на поверхности, отстоящий радиально наружу от первого электрического контакта и второго электрического контакта, при этом на торцевой поверхности выступа второй части разъема не расположено электрических контактов.
13. Электрический разъем по п. 12, при этом:
первая часть разъема содержит поверхность и углубление, расположенное практически по центру на поверхности, причем выступ второй части разъема выполнен с возможностью помещения в углубление первой части разъема;
первый электрический контакт первой части разъема расположен в углублении;
второй электрический контакт первой части разъема расположен на поверхности, причем второй электрический контакт радиально отстоит от углубления на первое расстояние; и
третий электрический контакт первой части разъема расположен на поверхности, причем третий электрический контакт радиально отстоит от углубления на второе расстояние, большее, чем первое расстояние.
14. Электрический разъем по п. 13, при этом:
углубление первой части разъема образовано закрытой торцевой поверхностью, открытым концом на поверхности и по меньшей мере одной боковой стенкой, проходящей между открытым концом и закрытой торцевой поверхностью;
первый электрический контакт первой части разъема расположен на упомянутой по меньшей мере одной боковой стенке углубления; и
на закрытой торцевой поверхности углубления первой части разъема не расположено электрических контактов.
| EP 1865581 B1, 25.04.2012 | |||
| US 20170258135 A1, 14.09.2017 | |||
| WO 2020014917 A1, 23.01.2020 | |||
| WO 2019037883 A1, 28.02.2019 | |||
| Шпиндель для хлопкоуборочных машин | 1932 |
|
SU32814A1 |
| НЕКАТЯЩЕЕСЯ АЭРОЗОЛЬ-ГЕНЕРИРУЮЩЕЕ УСТРОЙСТВО И СИСТЕМА | 2012 |
|
RU2603559C2 |
Авторы
Даты
2025-04-14—Публикация
2021-11-12—Подача