ТЕПЛООБМЕННИК С ТРУБЧАТЫМИ МЕМБРАНАМИ Российский патент 2025 года по МПК B01D1/06 B01D63/02 B01D63/06 B01D65/02 

Описание патента на изобретение RU2838610C1

Ссылка на родственную заявку

[0001] Данная заявка испрашивает приоритет по предварительной заявке на патент США № 63/121,063, поданной 3 декабря 2020 года, содержание которой полностью включено в настоящий документ посредством ссылки.

Область техники, к которой относится настоящее изобретение

[0002] Настоящее изобретение относится к теплообменникам, в частности, к теплообменникам, снабженным трубчатыми мембранами, которые обеспечивают теплообмен между двумя текучими средами.

Предшествующий уровень техники настоящего изобретения

[0003] Теплообменники выпускаются в самых разных конфигурациях, и они используются в различных сферах применения. Один из типов теплообменников представляет собой теплообменник с мембранами из полых волокон. Теплообменники с мембранами из полых волокон характеризуются наличием полых волокон с внутренним диаметром менее 1 мм, по которым протекает технологическая текучая среда. Другая текучая среда, такая как воздух, обтекает внешнюю поверхность мембран из полых волокон. Мембраны из полых волокон снабжены боковыми стенками, которые обеспечивают теплообмен между потоками текучей среды внутри и снаружи мембран из полых волокон.

Краткое раскрытие настоящего изобретения

[0004] Согласно одному из аспектов настоящего изобретения предложен модуль теплообменника с трубчатыми мембранами, который включает в себя впускной коллектор и выпускной коллектор. Впускной коллектор выполнен с возможностью соединения с соседним вышерасположенным модулем теплообменника с трубчатыми мембранами и формирования тем самым вышерасположенного смачиваемого отсека. Выпускной коллектор выполнен с возможностью соединения с соседним нижерасположенным модулем теплообменника с трубчатыми мембранами и формирования тем самым нижерасположенного смачиваемого отсека. Модуль теплообменника с трубчатыми мембранами дополнительно включает в себя трубчатые мембраны, соединяющие между собой впускной коллектор и выпускной коллектор. Трубчатые мембраны обеспечивают протекание технологической текучей среды от вышерасположенного смачиваемого отсека к нижерасположенному смачиваемому отсеку. Трубчатые мембраны также обеспечивают возможность массобмена между технологической текучей средой в трубчатых мембранах и наружными поверхностями трубчатых мембран, контактирующими с текучей средой. Смачиваемые отсеки, сформированные вследствие соединения впускных и выпускных коллекторов с соседними модулями теплообменников с трубчатыми мембранами, функционируют в качестве внутренних манифольдов, которые собирают и распределяют технологическую текучую среду между трубчатыми мембранами подсоединенных модулей теплообменников с трубчатыми мембранами.

[0005] В одном из вариантов осуществления настоящего изобретения трубчатые мембраны характеризуются круглым поперечным сечением и просветами с внутренним диаметром, который обеспечивает высоколаминарный поток технологической текучей среды в трубчатых мембранах. Ламинарный поток обеспечивает быстрое возникновение явления диффузии и переноса тепла в пределах просвета. Внутренний диаметр просветов трубчатой мембраны может составлять по меньшей мере 1 мм; например, он может лежать в пределах от около 1 мм до около 10 мм; например - в пределах от около 1 мм до около 5 мм. Предполагается, что термин «около» в контексте настоящего документе применительно к диаметру просветов трубчатых мембран отражает технологический допуск, такой как +/- 0,2 мм.

[0006] Согласно другому аспекту настоящего изобретения предложена модульная система теплообменников, которая включает в себя вышерасположенный модуль теплообменника с трубчатыми мембранами и нижерасположенный модуль теплообменника с трубчатыми мембранами. Вышерасположенный модуль теплообменника с трубчатыми мембранами снабжен вышерасположенным впускным коллектором для приема технологической текучей среды, вышерасположенным выпускным коллектором и множеством вышерасположенных трубчатых мембран, которые обеспечивают протекание технологической текучей среды от вышерасположенного впускного коллектора к вышерасположенному выпускному коллектору.

[0007] Нижерасположенный модуль теплообменника с трубчатыми мембранами включает в себя нижерасположенный впускной коллектор, выполненный с возможностью соединения с вышерасположенным выпускным коллектором вышерасположенного теплообменника с трубчатыми мембранами. За счет соединения между собой вышерасположенного выпускного коллектора и нижерасположенного впускного коллектора в нижерасположенный впускной коллектор может поступать технологическая текучая среда из вышерасположенного выпускного коллектора. Нижерасположенный модуль теплообменника с трубчатыми мембранами дополнительно включает в себя нижерасположенный выпускной коллектор и множество нижерасположенных трубчатых мембран.

[0008] Вышерасположенный и нижерасположенный модули теплообменников с трубчатыми мембранами представляют собой ряд модулей теплообменников с трубчатыми мембранами, которые последовательно осуществляют теплообмен между технологической текучей средой и текучей средой, внешней по отношению к трубчатым мембранам вышерасположенного и нижерасположенного модулей теплообменников с трубчатыми мембранами. Кроме того, вышерасположенный и нижерасположенный модули теплообменников с трубчатыми мембранами могут быть последовательно соединены с одним или несколькими дополнительными модулями теплообменников с трубчатыми мембранами для обеспечения дополнительного теплообмена, если это требуется для конкретной сферы применения.

[0009] Настоящим изобретением также предложен модуль теплообменника с трубчатыми мембранами, характеризующийся наличием впускного коллектора для приема технологической текучей среды, выпускного коллектора и множества трубчатых мембран, соединенных с впускным коллектором и выпускным коллектором, которые обеспечивают протекание технологической текучей среды от впускного коллектора до выпускного коллектора. Трубчатые мембраны создают для технологической текучей среды извилистые траектории прохождения потока технологической текучей среды от впускного коллектора до выпускного коллектора. Каждая извилистая траектория включает в себя множество резких поворотов или изменений направления движения технологической текучей среды. Трубчатые мембраны могут занимать всю протяженность извилистой траектории и включать в себя изгибы, которые перенаправляют технологическую текучую среду. В другом варианте осуществления настоящего изобретения модуль теплообменника с трубчатыми мембранами включает в себя один или несколько промежуточных коллекторов, располагающихся вдоль извилистой траектории. К примеру, трубчатые мембраны могут включать в себя первое, второе и третье множества прямых трубчатых мембран, а модуль теплообменника с трубчатыми мембранами включает в себя первый и второй промежуточные коллекторы, соединяющие первое, второе и третье множества прямых трубчатых мембран. Первый промежуточный коллектор изменяет направление движения технологической текучей среды от первого множества ко второму множеству прямых трубчатых мембран, а второй промежуточный коллектор изменяет направление движения технологической текучей среды от второго множества к третьему множеству прямых трубчатых мембран. Второе множество прямых трубчатых мембран проходит поперечно первому и третьему множествам трубчатых мембран таким образом, что первое, второе и третье множества прямых трубчатых мембран направляют технологическую текучую среду в разных направлениях вдоль извилистых траекторий.

[0010] Извилистые траектории прохождения технологической текучей среды создают турбулентность в технологической текучей среде, что может улучшить теплообмен между технологической текучей средой и текучей средой, внешней по отношению к трубчатым мембранам. Еще одно преимущество извилистых траекторий прохождения технологической текучей среды, созданных в трубчатых мембранах, состоит в том, что в пределах заданных границ теплообменного аппарата, такого как теплообменная колонна, могут быть использованы более длинные трубчатые мембраны. Например, трубчатые мембраны могут быть направлены вокруг внутренних конструкций охлаждающей колонны, таких как вентилятор или несущая опора. Кроме того, более длинные трубчатые мембраны обеспечивают возможность использования меньшего количества трубчатых мембран в конкретном варианте осуществления настоящего изобретения, покрывая при этом такую же площадь, что и большее количество более коротких трубчатых мембран. Меньшее количество трубчатых мембран позволяет предусмотреть меньшее количество соединений между трубчатыми мембранами и впускными/выпускными коллекторами, что упрощает изготовление и обслуживание модуля теплообменника с трубчатыми мембранами.

[0011] Согласно еще одному аспекту настоящего изобретения предложена система подготовки воздуха, которая включает в себя наружную конструкцию, теплообменник с трубчатыми мембранами, содержащий трубчатые мембраны в наружной конструкции, и вентилятор, выполненный с возможностью генерирования воздушного потока в наружной конструкции в направлении трубчатых мембран. Система подготовки воздуха дополнительно включает в себя источник подачи технологической текучей среды, выполненный с возможностью подачи в теплообменник с трубчатыми мембранами, или первой технологической текучей среды, или второй технологической текучей среды, причем вторая технологическая текучая среда содержит жидкий осушитель.

[0012] Система подготовки воздуха снабжена контроллером, который функционально соединен с вентилятором и источником подачи технологической текучей среды. Контроллер обеспечивает стандартный режим работы, в котором источник подачи технологической текучей среды подает первую технологическую текучую среду в теплообменник с трубчатыми мембранами с целью осуществления теплообмена между первой технологической текучей средой и воздушным потоком. Контроллер дополнительно обеспечивает второй режим работы, в котором вторая технологическая текучая среда, содержащая жидкий осушитель, подается в теплообменник с трубчатыми мембранами с целью удаления влаги из воздушного потока. Благодаря этому система подготовки воздуха может выполнять разные функции воздухоподготовки путем изменения технологической текучей среды, поступающей на трубчатые мембраны теплообменника с трубчатыми мембранами.

Краткое описание чертежей

[0013] На фиг. 1А представлено схематическое изображение, иллюстрирующее систему теплообменников, включающую в себя теплообменники в сборе, снабженные трубчатыми мембранами;

[0014] На фиг. 1В представлено перспективное изображение в частичном поперечном разрезе, иллюстрирующее охлаждающую колонну с модулями теплообменников с трубчатыми мембранами, где верхний и нижний модули теплообменников с трубчатыми мембранами располагаются один поверх другого;

[0015] На фиг. 1С представлен вид сбоку в вертикальном разрезе, иллюстрирующий соединение между приемным манифольдом и верхним модулем теплообменника с трубчатыми мембранами в охлаждающей колонне, показанной на фиг. 1В;

[0016] На фиг. 1D представлено перспективное изображение в поперечном разрезе, иллюстрирующее соединение между верхним и нижним модулями теплообменников с трубчатыми мембранами в охлаждающей колонне, показанной на фиг. 1В;

[0017] На фиг. 1E представлено перспективное изображение в поперечном разрезе части одного из модулей теплообменников с трубчатыми мембранами в охлаждающей колонне, показанной на фиг. 1В;

[0018] На фиг. 2 представлено перспективное изображение в поперечном разрезе, иллюстрирующее вторую охлаждающую колонну с модулями теплообменников с трубчатыми мембранами;

[0019] На фиг. 3 представлено схематическое изображение, иллюстрирующее третью охлаждающую колонну с модулями теплообменников с трубчатыми мембранами;

[0020] На фиг. 4 представлено схематическое изображение, иллюстрирующее четвертую охлаждающую колонну, включающую в себя адиабатическую систему отвода тепла с модулями теплообменников с трубчатыми мембранами в качестве средств предварительного охлаждения;

[0021] На фиг. 5 представлено схематическое изображение, иллюстрирующее пятую охлаждающую колонну, которая может работать в мокром, сухом или адиабатическом режиме, и которая включает в себя модули теплообменников с трубчатыми мембранами в качестве средств предварительного охлаждения;

[0022] На фиг. 6 представлено схематическое изображение, иллюстрирующее испарительную систему отвода тепла с модулями теплообменников с трубчатыми мембранами в конфигурации с принудительной тягой и перекрестным потоком;

[0023] На фиг. 7А показано поперечное сечение трубчатой мембраны в сборе, которая включает в себя трубчатую мембрану, фитинг и часть плиты коллектора, собранные воедино и содержащие заливку, нанесенную на противоположные стороны части плиты коллектора;

[0024] На фиг. 7В показано поперечное сечение трубчатой мембраны, фитинга, части плиты коллектора и трубчатого сосуда высокого давления, проходящего в просвете трубной мембраны;

[0025] На фиг. 8 представлено схематическое изображение, иллюстрирующее испарительную систему отвода тепла, включающую в себя модули теплообменников с трубчатыми мембранами в конфигурации с принудительной тягой и перекрестным потоком и закрытый кожухопластинчатый теплообменник;

[0026] На фиг. 9 представлено схематическое изображение, иллюстрирующее испарительную систему воздушного охлаждения, включающую в себя модули теплообменников с трубчатыми мембранами в конфигурации с искусственной тягой и перекрестным потоком;

[0027] На фиг. 10А показано поперечное сечение соединения между нижним и верхним коллекторами верхнего и нижнего модулей теплообменников с трубчатыми мембранами;

[0028] На фиг. 10В показано поперечное сечение соединения между распределительной камерой приемного манифольда и верхним коллектором модуля теплообменника с трубчатыми мембранами;

[0029] На фиг. 11А показано поперечное сечение соединения между нижним коллектором верхнего модуля теплообменника с трубчатыми мембранами и верхним коллектором нижнего модуля теплообменника с трубчатыми мембранами;

[0030] На фиг. 11В показано поперечное сечение соединения между распределительной камерой приемного манифольда и верхним коллектором верхнего модуля теплообменника с трубчатыми мембранами;

[0031] На фиг. 12А показано поперечное сечение защелкивающегося соединения между нижним коллектором верхнего модуля теплообменника с трубчатыми мембранами и верхним коллектором нижнего модуля теплообменника с трубчатыми мембранами;

[0032] На фиг. 12В показано поперечное сечение защелкивающегося соединения между распределительной камерой приемного манифольда и верхним коллектором верхнего модуля теплообменника с трубчатыми мембранами;

[0033] На фиг. 13А показано поперечное сечение скользящего соединения между нижним коллектором верхнего модуля теплообменника с трубчатыми мембранами и верхним коллектором нижнего модуля теплообменника с трубчатыми мембранами;

[0034] На фиг. 13В показано поперечное сечение скользящего соединения между распределительной камерой приемного манифольда и верхним коллектором модуля теплообменника с трубчатыми мембранами;

[0035] На фиг. 14 показано поперечное сечение трубчатой мембраны в сборе, содержащей стержень, проходящий через просвет трубчатой мембраны, который препятствует смещению трубчатой мембраны;

[0036] На фиг. 15 показано поперечное сечение трубчатой мембраны в сборе, содержащей стержень и кольца в просвете трубчатой мембраны, препятствующие смещению трубчатой мембраны;

[0037] На фиг. 16 показано поперечное сечение трубчатой мембраны в сборе, содержащей спиралевидный опорный элемент, охватывающий снаружи трубчатую мембрану, входящую в состав трубчатой мембраны в сборе, который препятствует смещению этой трубчатой мембраны;

[0038] На фиг. 17 показано поперечное сечение трубчатой мембраны в сборе, содержащей спиралевидный опорный элемент в просвете трубчатой мембраны, входящей в состав трубчатой мембраны в сборе, который препятствует смещению этой трубчатой мембраны;

[0039] На фиг. 18 показано поперечное сечение трубчатой мембраны в сборе, содержащей внешнюю распорку, препятствующую смещению трубчатой мембраны, входящей в состав трубчатой мембраны в сборе;

[0040] На фиг. 19 показано поперечное сечение трубчатой мембраны в сборе, содержащей внутреннюю распорку, препятствующую смещению трубчатой мембраны, входящей в состав трубчатой мембраны в сборе;

[0041] На фиг. 20 представлено схематическое изображение, иллюстрирующее различные конфигурации модулей теплообменников с трубчатыми мембранами для охлаждающих колонн различных размеров;

[0042] На фиг. 21 показано поперечное сечение трубчатой мембраны в сборе, содержащей трубчатую мембрану, трубку и фитинг, соединяющий трубчатую мембрану с трубкой;

[0043] На фиг. 22 показано поперечное сечение трубчатой мембраны в сборе, содержащей трубку с концевым соединением;

[0044] На фиг. 23 представлено схематическое изображение, иллюстрирующее модули теплообменников с трубчатыми мембранами, содержащие опоры между промежуточными коллекторами модулей теплообменников с трубчатыми мембранами;

[0045] На фиг. 24 представлено схематическое изображение, иллюстрирующее модули теплообменников с трубчатыми мембранами, содержащими опорный элемент, который соединяет опорную плиту модуля теплообменника, снабженного трубчатыми мембранами, с поверхностью;

[0046] На фиг. 25 представлено схематическое изображение, иллюстрирующее модули теплообменников с трубчатыми мембранами, содержащими опорный элемент, который соединяет опорные плиты с коллекторами и трубками;

[0047] На фиг. 26 представлено схематическое изображение, иллюстрирующее модули теплообменников с трубчатыми мембранами в охлаждающей колонне с опорными плитами, прикрепленными к стенке охлаждающей колонны;

[0048] На фиг. 27 показано поперечное сечение опорной плиты модуля теплообменника с трубчатыми мембранами, где можно видеть трубчатые мембраны, проходящие через отверстия в опорной плите, и кольцевые поверхности отверстий в опорной плите, охватывающие по окружности трубчатые мембраны;

[0049] На фиг. 28 представлено перспективное изображение в поперечном разрезе опорной плиты модуля теплообменника с трубчатыми мембранами, на котором можно видеть трубчатые мембраны, проходящие через пазы в опорной плите, и боковые поверхности пазов, контактирующие с трубчатыми мембранами;

[0050] На фиг. 29 представлено перспективное изображение модуля теплообменника с трубчатыми мембранами, содержащего трубчатые мембраны, которые проходят по извилистой траектории вокруг вентилятора, причем трубчатые мембраны характеризуются наличием прямых участков и изогнутых участков;

[0051] На фиг. 30 представлено перспективное изображение модуля теплообменника с трубчатыми мембранами, снабженного опорами, которые изменяют направление трубчатых мембран модуля и формируют изгибы трубчатых мембран;

[0052] На фиг. 31 представлено перспективное изображение модуля теплообменника с трубчатыми мембранами, снабженного трубчатыми мембранами с радиальными внутренними участками стенки, которые короче радиальных наружных участков стенки трубчатых мембран, вследствие чего образуется кольцевая форма трубчатых мембран;

[0053] На фиг. 32 представлено перспективное изображение модуля теплообменника с трубчатыми мембранами, содержащего кольцевой стержень, который служит опорой для трубчатых мембран в кольцевой конфигурации;

[0054] На фиг. 33 представлено перспективное изображение теплообменника с трубчатыми мембранами, содержащего трубчатые мембраны, впускной коллектор, выпускной коллектор и промежуточные коллекторы, выполненные с возможностью изменения направления движения потока технологической текучей среды;

[0055] На фиг. 34 представлено перспективное изображение блока подготовки воздуха, содержащего модули теплообменников с трубчатыми мембранами; и

[0056] На фиг. 35 представлено схематическое изображение, иллюстрирующее трубчатые мембраны в сборе, содержащие спиралевидные трубчатые мембраны.

Подробное раскрытие настоящего изобретения

[0057] На фиг. 1А представлена система 10А теплообменника, включающая в себя теплообменник 11А, который принимает тепло, например, поступающее изнутри здания, и передает это тепло технологической текучей среде, такой как вода или водно-гликолевая смесь. Технологическая текучая среда может включать в себя жидкость и газ, пропорциональная доля которых может варьироваться по мере прохождения технологической текучей среды по системе 10А теплообменника. Система 10А теплообменника включает в себя насос 31А, выполненный с возможностью перекачки текучей среды из теплообменника 11А в устройство для отвода тепла, такое как охлаждающая колонна 40А. Охлаждающая колонна 40А включает в себя одну или несколько кассет теплообменников, таких как модули 50А теплообменников с трубчатыми мембранами. Модули 50А теплообменников с трубчатыми мембранами соединены с возможностью последующего съема или на постоянной основе с приемным манифольдом 52А и выпускным манифольдом 54А. Согласно другому подходу охлаждающая колонна 40А может принимать тепло и передавать его технологической текучей среде, тогда как теплообменник 11А забирает тепло из технологической текучей среды. Система10А теплообменника может быть аналогична системам теплообменника, описанным в заявке на патент США № 16/891,598, поданной 3 июня 2020 года, содержание которой полностью включено в настоящий документ посредством ссылки.

[0058] Каждый модуль 50А теплообменника с трубчатыми мембранами включает в себя верхний коллектор или впускной коллектор 70А, который принимает текучую среду из приемного манифольда 52А; одну или несколько трубчатых мембран 74А, по которым протекает текучая среда; и нижний коллектор или выпускной коллектор 72А, который собирает текучую среду, поступающую из трубчатых мембран 74А. Трубчатые мембраны 74А аналогичны трубчатым мембранам 39, показанным на фиг. 1Е и описанным ниже.

[0059] Как показано на фиг. 1А, трубчатые мембраны 74А способствуют теплообмену и/или массообмену между первой текучей средой в трубчатых мембранах 74А и второй текучей средой за пределами трубчатых мембран 74А. В качестве одного из примеров трубчатые мембраны 74А могут быть выполнены из газопроницаемого материала, который также является непроницаемым для жидкостей. Трубчатые мембраны 74А принимают текучую среду, включающую в себя смесь жидкости и газа, которая была нагрета в теплообменнике 11А. Трубчатые мембраны 74А позволяют газу, например, парам, которые были нагреты в теплообменнике 11А, выходить из трубчатых мембран 74А. В одном из примеров текучая среда, поступающая в трубчатые мембраны 74А, может представлять собой смесь воды и водяного пара. Жидкость, проходящая по трубчатым мембранам 74А, охлаждается методом прямого охлаждения с помощью воздушного потока, омывающего наружные поверхности трубчатых мембран 74, со сбросом высокоэнергетического водяного пара через трубчатые мембраны 74А.

[0060] В другом варианте осуществления настоящего изобретения модули 50A теплообменников с трубчатыми мембранами используют первапорацию для теплообмена между первой текучей средой внутри трубчатых мембран 74А и второй текучей средой снаружи трубчатых мембран 74А. Например, модуль 50A теплообменника с трубчатыми мембранами принимает нагретую жидкость (такую как вода) из теплообменника 11А. Молекулы нагретой жидкости (например, H2O) поглощаются трубчатыми мембранами 74А. Молекулы жидкости, поглощенные трубчатыми мембранами 74А, диффундируют с внутренних поверхностей трубчатых мембран 74А на наружные поверхности трубчатых мембран 74А. Молекулы жидкости, которые были диффундированы на наружные поверхности трубчатых мембран 74А, десорбируются во внешнюю текучую среду (например, воздух) и забирают тепло у трубчатых мембран 74А. В контексте жидкой воды, поступающей в модуль 50А теплообменника с трубчатыми мембранами, и окружающего воздуха, направляемого через наружные поверхности трубчатых мембран, диффундированные молекулы воды на наружной поверхности трубчатых мембран 74А испаряются в окружающую атмосферу. В других вариантах осуществления настоящего изобретения молекулы текучей среды за пределами трубчатых мембран могут диффундировать во внутреннее пространство трубчатых мембран.

[0061] Согласно одному из подходов текучая среда может быть представлена исключительно газом по достижении трубчатых мембран 74А, при этом часть газового потока проникает через трубчатые мембраны 74А и выходит в окружающую атмосферу, а оставшийся газ в составе газового потока поступает в выпускной коллектор 72А в виде охлажденного газа, газожидкостной смеси или жидкости.

[0062] Трубчатые мембраны 74А могут быть выполнены, например, из одного или нескольких полимеров, таких как полипропилен (РР), полидиметилсилоксан (PDMS) или политетрафторэтилен (PTFE). В другом примере трубчатые мембраны могут быть выполнены из микропористого гидрофобного полисульфонного материала. Согласно некоторым подходам трубчатые мембраны 74А могут быть выполнены из керамических материалов. Другим материалом, который может быть использован для изготовления трубчатых мембран 74А, служит оксид графена.

[0063] Трубчатые мембраны 74А обеспечивает регулируемую диффузию молекул текучей среды через боковые стенки трубчатых мембран 74А, ограничивая при этом проникновение, например, бактерий, химических веществ или инородных частиц через боковые стенки трубчатых мембран 74А. Таким образом, трубчатые мембраны 74А выполняют функцию барьера, препятствующего прохождению легионелл или других микробов между текучей средой внутри трубчатых мембран и текучей средой за пределами трубчатых мембран.

[0064] Трубчатые мембраны 74А могут быть пористыми и иметь отверстия или поры, способствующие теплообмену и/или массообмену. Поры могут характеризоваться размерами, лежащими в пределах от 2,5 ангстрема до 35 микрометров. Например, размер пор может варьироваться в пределах от 1 нанометра до 20 нанометров. В одном из вариантов осуществления настоящего изобретения трубчатые мембраны 74А имеют поры, размер которых составляет менее 0,001 микрометра. В другом варианте осуществления настоящего изобретения трубчатые мембраны 74А характеризуются размером пор менее 1 микрометра и более 0,001 микрометра.

[0065] Трубчатые мембраны 74А могут быть гибкими и относительно хрупкими, что затрудняет захват трубчатых мембран 74А для их соединения с другими компонентами. Например, трубчатые мембраны 74А могут быть достаточно жесткими, чтобы их можно было разместить на поверхности вертикально с сохранением их формы; но при этом любое внешнее давление, оказываемое на трубчатые мембраны 74А, приводит к их изгибанию и/или скручиванию. Трубчатые мембраны 74А могут быть выполнены из материала или покрыты материалом, обладающим стойкостью к ультрафиолетовому излучению, что предотвращает рост водорослей и/или блокирует биоцидные свойства, подавляя размножение бактерий.

[0066] Материал трубчатых мембран 74А может быть пористым или плотным. Например, трубчатые мембраны 74А могут представлять собой мембраны из гидрофобного пористого материала, при этом перенос водяных паров на наружную поверхность трубчатых мембран 74А происходит, главным образом, путем диффузии через поры трубчатых мембран 74А. На проницаемость трубчатых мембран может влиять размер пор, общая пористость, пористость поверхности и извилистость пор трубчатых мембран. В одном из примеров размер пор может варьироваться в микрометровом диапазоне. Для плотных материалов мембран перенос водяных паров происходит путем растворения-диффузии через сам полимерный слой, поскольку в плотном материале мембран поры отсутствуют.

[0067] Трубчатые мембраны 74А могут представлять собой гомогенные мембраны, имеющие всего один слой, непроницаемый для жидкости, но высокопроницаемый для паров. В других вариантах осуществления настоящего изобретения трубчатые мембраны 74А могут иметь сложную форму, которая характеризуется наличием плотного поверхностного слоя и пористого опорного слоя. Опорный слой придает мембране механическую прочность, тогда как плотный поверхностный слой отвечает за проницаемость и селективность мембраны.

[0068] Как показано на фиг. 1А, охлаждающая колонна 40А включает в себя один или несколько вентиляторов 14А. В одном из вариантов осуществления настоящего изобретения каждый вентилятор 14А содержит лопасти 16А вентилятора и электродвигатель 18А. В другом варианте осуществления настоящего изобретения один или несколько вентиляторов 14А могут включать в себя множество вентиляторов, использующих один общий электродвигатель. Вентилятор 14А выполнен с возможностью создания воздушного потока в направлении трубчатых мембран 74А, например, в восходящем направлении 75А вдоль длины трубчатых мембран 74А, в нисходящем направлении (противоположном направлению 75А) вдоль длины трубчатых мембран 74А и/или в одном или нескольких других направлениях поперечно длине трубчатых мембран 74А, например, перпендикулярно длине трубчатых мембран 74А. Воздушный поток может способствовать удалению газа с наружных поверхностей трубчатых мембран 74А. Как уже было сказано выше, текучей средой может служить вода, и через трубчатые мембраны 74А могут проникать лишь чистые водяные пары, при этом загрязнения, такие как инородные частицы, твердые вещества, растворенные или нерастворенные в воде, чешуйки и микроорганизмы остаются внутри трубчатых мембран 74А. Кроме того, трубчатые мембраны 74А блокируют проникновение загрязнений снаружи во внутреннее пространство трубчатых мембран 74А.

[0069] На фиг. 1В представлена охлаждающая колонна 10, которая во многих аспектах аналогична охлаждающей колонне 40А, описанной выше в привязке к фиг. 1А. Охлаждающая колонна 10 включает в себя впускной патрубок 11 для технологической текучей среды, выпускной патрубок 12 для технологической текучей среды, корпус 13 колонны, вентилятор 14 и необязательно предохранительную сетку 15 вентилятора. Вентилятор 14 выполнен с возможностью втягивания воздуха внутрь через воздухозаборники 13А в охлаждающей колонне 10. Технологическая текучая среда, поступающая во впускной патрубок 11 для технологической текучей среды, направляется в приемный манифольд 16, который подает технологическую текучую среду в одну или несколько кассет теплообменников, таких как модули 18 теплообменников с трубчатыми мембранами. Как показано на фиг. 1В, каждый модуль 18 теплообменника с трубчатыми мембранами содержит коллекторы 41, такие как верхний коллектор 41В и нижний коллектор 41А, и трубчатые мембраны 39, аналогичные трубчатым мембранам 41, описанным выше. Модули 18 теплообменников с трубчатыми мембранами включают в себя пары модулей, состоящие из верхнего и нижнего модулей 18А и 18В теплообменников с трубчатыми мембранами, располагающихся один поверх другого, которые выполнены с возможностью охлаждения технологической текучей среды по мере ее протекания через верхний и нижний модули 18А и 18В теплообменников с трубчатыми мембранами. Охлаждающая колонна 10 снабжена выпускным манифольдом 17, который собирает технологическую текучую среду, поступающую из пар модулей, состоящих из верхнего и нижнего модулей 18А и 18В теплообменников с трубчатыми мембранами, располагающихся один поверх другого, и направляет технологическую текучую среду в выпускной патрубок 12 для технологической текучей среды.

[0070] Охлаждающая колонна 10 включает в себя разъемные соединения 30 и 30А между верхним и нижним модулями 18А и 18В теплообменников с трубчатыми мембранами и приемным и выпускным манифольдами (16 и 17, соответственно). Охлаждающая колонна 10 включает в себя соединения 19 между каждой парой, состоящей из верхнего и нижнего модулей 18А и 18В теплообменников с трубчатыми мембранами, что позволяет технологической текучей среде проходить от верхнего модуля 18А теплообменника с трубчатыми мембранами до нижнего модуля 18 В теплообменника с трубчатыми мембранами.

[0071] Следовательно, верхний и нижний модули 18А и 18В теплообменников с трубчатыми мембранами, входящие в состав каждой пары, соединены по последовательной схеме. Кроме того, каждая пара модулей, состоящая из верхнего и нижнего модулей 18А и 18В теплообменников с трубчатыми мембранами, соединена с приемным и выпускным манифольдами (16 и 17, соответственно) в параллель с другими парами, состоящими из верхнего и нижнего модулей 18А и18 В теплообменников с трубчатыми мембранами. Модульный характер верхнего и нижнего модулей 18А и 18В теплообменников с трубчатыми мембранами облегчает и упрощает эффективное обслуживание охлаждающей колонны 10. Например, если необходимо заменить один из верхних модулей 18А теплообменников с трубчатыми мембранами, то этот верхний модуль 18 теплообменника с трубчатыми мембранами отсоединяется от приемного манифольда 16 и от соответствующего нижнего модуля 18В теплообменника с трубчатыми мембранами, а затем снимается. Затем верхний модуль 18А теплообменника с трубчатыми мембранами под замену соединяется с приемным манифольдом 16 и с нижним модулем 18 В теплообменника с трубчатыми мембранами. В альтернативном варианте предусмотрено, что если пара модулей, состоящая из верхнего и нижнего модулей 18А и 18В теплообменников с трубчатыми мембранами, должна быть заменена, то эта пара отсоединяется от приемного и выпускного манифольдов (16 и 17, соответственно), после чего она снимается с охлаждающей колонны 10, и к приемному и выпускному манифольдам (16 и 17, соответственно) подсоединяется новая пара модулей, состоящая из верхнего и нижнего модулей 18А и 18В теплообменников с трубчатыми мембранами. Для более габаритных вариантов осуществления охлаждающей колонны перед и за каждым модулем 18 теплообменника с трубчатыми мембранами может быть предусмотрена запорная арматура, благодаря чему каждый модуль 18 может обслуживаться и/или заменяться без осушения всей системы в целом. Кроме того, наличие запорной арматуры перед и за каждым модулем 18 теплообменника с трубчатыми мембранами обеспечивает возможность функционирования других компонентов охлаждающей колонны во время проведения техобслуживания.

[0072] Охлаждающая колонна 10 снабжена предохранительными устройствами, такими как экраны 21, предназначенными для защиты модулей 18 теплообменников с трубчатыми мембранами от грязи, мусора, солнечных лучей и/или ударных воздействий. Охлаждающая колонна 10 характеризуется конфигурацией с искусственной тягой и включает в себя вентилятор 14, выполненный с возможностью втягивания воздуха в воздухозаборники 13А вдоль трубчатых мембран 39 модулей 18 теплообменников с трубчатыми мембранами и его отведения наружу через воздуховыпускное отверстие 15 охлаждающей колонны 10. Было установлено, что индуцируемый воздушный поток, поступающий на трубчатые мембраны 39, создает низкий воздушный вакуум на внешней стороне трубчатых мембран 39. Низкий воздушный вакуум на внешней стороне трубчатых мембран способствует выходу газа из трубчатых мембран 39 и повышает эффективность работы трубчатых мембран 39. Однако следует отметить, что искусственный принудительный восходящий или нисходящий поток, а также все перекрестные воздушные потоки любой структуры входят в объем настоящего изобретения.

[0073] Модули 18 теплообменников с трубчатыми мембранами облегчают передачу тепла от технологической текучей среды при низком давлении технологической текучей среды. Например, охлаждающая колонна 10 использует технологическую текучую среду низкого давления, например, менее 25 фунтов/кв. дюйм. В другом варианте осуществления настоящего изобретения охлаждающая колонна 10 может работать в «открытой» конфигурации, в которой технологическая текучая среда подвергается воздействию давления атмосферного воздуха. В еще одном варианте осуществления настоящего изобретения охлаждающая колонна 10 может работать при более высоких давлениях, например, около 150 фунтов/кв. дюйм или свыше 200 фунтов/кв. дюйм. Например, внутреннее давление в трубке 770 в варианте осуществления, который проиллюстрирован на фиг. 7В, может доходить до 450 фунтов/кв. дюйм, когда трубка 770 используется для проведения хладагента.

[0074] На фиг. 1С представлено более детальное изображение, иллюстрирующее охлаждающую колонну 10, содержащую разъемные соединения 30 между приемным манифольдом 16 и верхними модулями 18А теплообменников с трубчатыми мембранами. В частности, приемный манифольд 16 включает в себя основную трубку 16А с расходящимися от нее отводными трубками 16 В. Приемный манифольд 16 дополнительно содержит распределитель, такой как распределительная камера 16С, каждый из которых снабжен фланцем 16D, который соединяется с фланцем 41С впускного коллектора 41В верхнего модуля 18 теплообменника с трубчатыми мембранами. Распределительная камера 16С может иметь форму, напоминающую квадратную усеченную пирамиду; и в необязательном варианте она включает в себя дефлектор, выполненный с возможностью распределения технологической текучей среды, поступающей из распределительной камеры 16С в верхний коллектор 41 В. Фланцы 16D и 41С могут быть соединены друг с другом с возможностью съема, например, с помощью одной или нескольких крепежных деталей. В одном из вариантов осуществления настоящего изобретения между фланцами 16D и 41С предусмотрен уплотняющий элемент, такой как прокладка. Для соединения верхнего модуля 18А теплообменника, снабженного трубчатыми мембранами, с приемным манифольдом 16 пользователь располагает впускной коллектор 41 В под распределительной камерой 16С и скрепляет их фланцы 16D и 41С, используя для этого крепежные детали или иные приспособления. В другом варианте осуществления настоящего изобретения соединения 30 выполнены постоянными.

[0075] Как показано на фиг. 1D, соединение 19 между верхним и нижним модулями 18А и 18 В теплообменников с трубчатыми мембранами включает в себя фланцы 41С и 41D на корпусах 80 нижнего и верхнего коллекторов 41А и 41В. Фланцы 41С и 41D соединяются между собой на постоянной основе или с возможностью съема. При соединении друг с другом верхний и нижний коллекторы 41А и 41В образуют смачиваемый отсек 43, в который заходит технологическая текучая среда из трубчатых мембран верхнего модуля 18А теплообменника с трубчатыми мембранами, и который направляет технологическую текучую среду в трубчатые мембраны нижнего теплообменника 18В с трубчатыми мембранами.

[0076] Смачиваемый отсек 43, образованный между модулями 18 теплообменников с трубчатыми мембранами, обеспечивает возможность соединения между собой модулей 18 теплообменников с трубчатыми мембранами, формирующих более длинный теплообменник. Соединенные модули 18 теплообменников с трубчатыми мембранами могут сформировать более длинный теплообменник без необходимости использования дополнительных коллекторов и соответствующих трубопроводов. Смачиваемый отсек 43 может быть более высоким в сравнении проиллюстрированным отсеком, что улучшает перемешивание текучей среды, или более коротким в сравнении проиллюстрированным отсеком, что обеспечивает более компактное соединение. В одном из вариантов осуществления настоящего изобретения смачиваемый отсек 43 включает в себя смесители текучей среды, такие как стационарные или подвижные элементы, которые располагаются внутри смачиваемого отсека 43.

[0077] В одном из вариантов осуществления настоящего изобретения соединение 19 включает в себя одну или несколько крепежных деталей, таких как комплекты из болтов, гаек и шайб, которые выполнены с возможностью соединения между собой фланцев 41С и 41D с возможностью их последующего съема. В других примерах фланцы 41С и 41D могут быть соединены друг с другом с помощью клеящего вещества, приварены друг к другу или соединены между собой посредством сопрягаемых частей нижнего и верхнего коллекторов 41А и 41 В. Соединение 19 может включать в себя уплотнительный элемент, такой как прокладка, и/или клеящее вещество, такое как эпоксидная смола.

[0078] Как показано на фиг. 1Е, верхний и нижний модули 18А и 18В теплообменников с трубчатыми мембранами могут быть идентичными, и они описаны применительно к теплообменнику 18 с трубчатыми мембранами. Корпус 80 коллектора каждого из модулей 18А и 18 В теплообменников с трубчатыми мембранами включает в себя часть 42 плиты коллектора, снабженную множеством отверстий для приема соединителей, таких как фитинги 166, которые соединяют трубчатые мембраны 39 с верхним и нижним коллекторами 41В и 41А. Верхний и нижний коллекторы 41 В и 41А дополнительно включают в себя заливку 170 и 171 для соединения трубчатых мембран 39 с фитингами 166. Для наглядности верхний и нижний коллекторы 41В и 41А показаны на фиг. 1D без заливки 170 и 171.

[0079] На фиг. 1В показаны соединения 30А между нижними модулями 18В теплообменников с трубчатыми мембранами и выпускным манифольдом 17, которые могут быть аналогичны соединениям 30, располагающимся между приемным манифольдом 16 и верхними модулями 18А теплообменников с трубчатыми мембранами. Выпускной манифольд 17 включает в себя сборные коллекторы 17В, аналогичные распределительной камере 16С, описанной выше в привязке к фиг. 1С. Сборные коллекторы 17 В снабжены фланцами, выполненными с возможностью разъемного или постоянного соединения с фланцем 41D нижнего коллектора 41А нижнего модуля 18В теплообменника с трубчатыми мембранами.

[0080] Согласно одному из подходов модули 18 теплообменников с трубчатыми мембранами выполнены двунаправленными, а это значит, что могут быть установлены модули 18 теплообменников, снабженные трубчатыми мембранами, или с впускным коллектором 41В, который располагается в верхнем положении, или с выпускным коллектором 41А, который располагается в верхнем положении. Кроме того, каждый манифольд из числа приемного и выпускного манифольдов 16 и 17 может функционировать в качестве приемного манифольда или выпускного манифольда в зависимости от направления движения потока технологической текучей среды. Например, в некоторых сферах применения технологическая текучая среда может менять направление своего движения на обратное таким образом, что технологическая текучая среда выходит из манифольда 17 через теплообменники 18 с трубчатыми мембранами и заходит в манифольд 16. В других вариантах осуществления настоящего изобретения модули 18 теплообменников с трубчатыми мембранами могут быть однонаправленными.

[0081] На фиг. 1Е также показано, что впускной коллектор 41 В и выпускной коллектор 41А включают в себя части 42 плиты коллектора, снабженные отверстиями 164 для приема фитингов 166. Фитинг 166 характеризуется наличием концевых участков 160, соединенных с частями 42 плиты коллектора. В одном из вариантов осуществления настоящего изобретения концевой участок 160 каждого фитинга 166 имеет максимальную ширину, превышающую минимальную ширину, перекрывающую соответствующее отверстие 164. Взаимное перекрытие концевого участка 160 фитинга 166 и части 42 плиты коллектора препятствует вытягиванию фитинга 166. Фитинги 166 характеризуются наличием противоположных концевых участков 162, соединенных с трубчатыми мембранами 39. Концевые участки 162 фитингов 166 заходят в просветы 168 трубчатой мембраны 39. В одном из вариантов осуществления настоящего изобретения просветы 168 характеризуются круглым поперечным сечением с начальным внутренним диаметром, а каждый концевой участок 162 фитингов 166 характеризуется наружным диаметром, превышающим начальный внутренний диаметр просвета 168, что создает препятствие, удерживающее концевой участок 162 фитинга в зацеплении с трубчатой мембраной 39. Согласно одному из подходов концевые участки 162 фитингов впрессовываются в просветы 168 трубчатых мембран 39. Фитинги 166 могут быть выполнены из более твердого пластика, а трубчатая мембрана - из более мягкого пластика, вследствие чего трубчатая мембрана 39 деформируется радиально наружу, вписываясь в концевой участок 162 фитинга.

[0082] Как показано на фиг. 1Е, заливка 170 и 171 впускного и выпускного коллекторов 41В и 41А контактирует с наружной поверхностью 172 мембран 39 на концевых участках 174 трубчатых мембран 39. Заливка 170 и 171 соединяет мембраны 39 с фитингами 166. Технологическая текучая среда может протекать в направлении 176, проходя через отверстия 164 фитингов 166 верхнего коллектора 41 В, заходить в просветы 168 трубчатых мембран 39 и выходить наружу через фитинги 166 нижнего коллектора 41 А. В одном из вариантов осуществления настоящего изобретения модуль 18 теплообменника с трубчатыми мембранами включает в себя опору 180, снабженную отверстиями 182 под трубчатые мембраны 39, которые удерживают мембраны 39 по существу в прямом положении с параллельной ориентацией.

[0083] На фиг. 2 представлена охлаждающая колонна 200, которая аналогична охлаждающей колонне 10, описанной выше, а различия будут особо указаны ниже. Охлаждающая колонна 200 включает в себя корпус 202 колонны, воздухозаборник 204, воздуховыпускное отверстие 206, вентилятор 208 и сборку 210 модулей 212 теплообменников с трубчатыми мембранами. Для более высоких охлаждающих колонн модули 212 теплообменников с трубчатыми мембранами включают в себя по меньшей мере одну пару модулей, состоящую из верхнего и нижнего модулей 212А и 212В теплообменников с трубчатыми мембранами. Для более коротких охлаждающих колонн может быть предусмотрен всего один модуль 212 с трубчатыми мембранами. Вентилятор 208 выполнен с возможностью индуцирования прохождения воздушного потока через воздухозаборник 204 вдоль модулей 212 теплообменников с трубчатыми мембранами и его отведения наружу через воздуховыпускное отверстие 206. В других вариантах осуществления настоящего изобретения охлаждающая колонна 200 может быть выполнена таким образом, что вентилятор 208 нагнетает воздух в модули 212 теплообменников с трубчатыми мембранами, а не индуцирует прохождение воздушного потока через модули 212 теплообменников с трубчатыми мембранами. Пары, состоящие из верхнего и нижнего модулей 212А и 212 В теплообменников с трубчатыми мембранами, располагаются в ряд в корпусе 202 колонны. Пары модулей, состоящие из верхнего и нижнего модулей 212А и 212 В теплообменников с трубчатыми мембранами, формируют верхний уровень 229 и нижний уровень 231 теплообменников 212 с трубчатыми мембранами.

[0084] Кроме того, проиллюстрированная охлаждающая колонна 200 содержит слои 230, 232 и 234 пар, состоящих из модулей 212А и 212В теплообменников с трубчатыми мембранами, вследствие чего воздушный поток, заходящий в воздухозаборник 204, последовательно проходит через слои 230, 232 и 234 модулей 212А и 212В теплообменников с трубчатыми мембранами. Количество слоев из модулей 212 теплообменников с трубчатыми мембранами может быть выбрано в зависимости от конкретного количества передаваемого тепла, требуемого для конкретной сферы применения.

[0085] Охлаждающая колонна 200 включает в себя приемный манифольд 214 и выпускной манифольд 216. Каждый из модулей 212А теплообменников с трубчатыми мембранами характеризуется наличием соединения 220 с приемным манифольдом 214 и соединения 222 с нижним модулем 212 В теплообменника с трубчатыми мембранами. Для более коротких охлаждающих колонн каждый из слоев 230, 232 и 234 может содержать единственный слой теплообменников 212 с трубчатыми мембранами. Для более высоких охлаждающих колонн может быть предусмотрено три или больше уровней теплообменников 212 с трубчатыми мембранами, снабженных соединениями 222, которые связывают между собой теплообменники 212 с трубчатыми мембранами.

[0086] Нижний модуль 212 В теплообменника с трубчатыми мембранами дополнительно включает в себя соединение 224 с нижним манифольдом 216. Приемный манифольд 214 и выпускной манифольд 215 аналогичны приемному и выпускному манифольдам 16 и 17, описанным выше в привязке к фиг. 1В и 1С. Кроме того, соединения 220, 222 и 224 аналогичны соединениям 30, 19 и 30А, описанным выше в привязке к фиг. 1 В и 1D. Соединения 220, 222 и 224 могут быть разъемными или постоянными.

[0087] На фиг. 3 представлена охлаждающая колонна 300, которая в одной из конфигураций выполнена в виде двусторонней охлаждающей колонны с искусственной тягой. Охлаждающая колонна 300 во многих аспектах аналогична охлаждающим колоннам, описанным выше, а различия будут особо указаны ниже. Охлаждающая колонна 300 включает в себя воздухозаборники 302 и 304 с предохранительными устройствами, такими как жалюзи или экраны 306; по меньшей мере, один вентилятор 308; и воздуховыпускное отверстие 310. Охлаждающая колонна 300 включает в себя сборки 310 и 312 модулей теплообменников с трубчатыми мембранами. В одном из вариантов осуществления настоящего изобретения сборки 310 и 312 модулей теплообменников с трубчатыми мембранами сообщаются друг с другом по текучей среде, и в них поступает одна и та же технологическая текучая среда. В другом варианте осуществления настоящего изобретения сборки 310 и 312 модулей теплообменников с трубчатыми мембранами не сообщаются друг с другом, и в них поступает разные технологические текучие среды.

[0088] Каждая сборка 310 модулей теплообменников с трубчатыми мембранами включает в себя модули 314 теплообменников с трубчатыми мембранами, расположенными один поверх другого, которые соединены с верхними и нижними манифольдами 316 и 318, соответственно, посредством разъемных соединений 320 и 322. Модули 314 теплообменников с трубчатыми мембранами могут включать в себя верхние модули 324 теплообменников с трубчатыми мембранами и нижние модули 326 теплообменников с трубчатыми мембранами, которые соединяются между собой с помощью соединения 328, выполненного разъемным или постоянным. В каждой сборке 310 модулей теплообменников с трубчатыми мембранами может быть предусмотрен ряд модулей 314 теплообменников с трубчатыми мембранами, например, в зависимости от размеров охлаждающей колонны.

[0089] В качестве примера и в привязке к фиг. 20 предложен одноуровневая сборка 2002 модулей теплообменников с трубчатыми мембранами, содержащая один уровень модулей 2006 теплообменников с трубчатыми мембранами, соединенных с приемным манифольдом 2008 и выпускным манифольдом 2010. Для более крупных охлаждающих колонн предусмотрены двухуровневые сборки 2012 и 2013 модулей теплообменников с трубчатыми мембранами, каждая из которых содержит первый уровень 2014 и второй уровень 2016 модулей 2006 теплообменников с трубчатыми мембранами с соединением 2018 между ними, которое аналогично соединению 19, описанному выше в привязке к фиг. 1D. Для еще более крупных охлаждающих колонн предусмотрены трехуровневые сборки 2020 и 2021 модулей теплообменников с трубчатыми мембранами, которые содержат первый уровень 2022, второй уровень 2024 и третий уровень 2026 модулей 2006 теплообменников с трубчатыми мембранами. Модули 2006 теплообменников с трубчатыми мембранами соединены посредством соединений 2028, аналогичных соединению 19, описанному выше в привязке к фиг. 1D. Количество модулей теплообменников с трубчатыми мембранами, располагающихся один поверх другого, в каждой сборке модулей теплообменников с трубчатыми мембранами может быть выбрано в зависимости по меньшей мере частично от требуемой охлаждающей способности и пространственных ограничений в пределах охлаждающей колонны.

[0090] Охлаждающая колонна 300 дополнительно включает в себя клапан 330 для подпиточной технологической текучей среды, источник 332 подачи подпиточной технологической текучей среды, сливной вентиль 334 и сливной патрубок 336. Охлаждающая колонна 300 может включать в себя контроллер 360, который управляет сливным вентилем 334 и клапаном 330 для подпиточной технологической текучей среды с целью отведения технологической текучей среды с высоким содержанием растворенных в ней твердых веществ и добавления чистой технологической текучей среды с небольшим содержанием растворенных в ней твердых веществ. Таким образом, контроллер может управлять сливным вентилем 334 и клапаном 330 для подпиточной технологической текучей среды с целью компенсации испарения и выполнения продувки.

[0091] На фиг. 4 представлена охлаждающая колонна 400, которая в одной из своих конфигураций выполнена в виде двусторонней адиабатической охлаждающей колонны с искусственной тягой. Охлаждающая колонна 400 аналогична охлаждающим колоннам, описанным выше, а различия будут особо указаны ниже. Охлаждающая колонна 400 включает в себя сборки 402 и 404 модулей теплообменников с трубчатыми мембранами, которые функционируют в качестве средств предварительного охлаждения или теплообменников предварительного охлаждения для непрямых теплообменников, таких как сухой непрямой теплообменник 406 охлаждающей колонны 400. Непрямые теплообменники 406 могут включать в себя один или несколько теплообменников из оребренных труб, один или несколько пластинчатых (кассетных) теплообменников и/или любой другой типа непрямых теплообменников. Сборки 402 и 404 теплообменников с трубчатыми мембранами обеспечивают преимущество над некоторыми существующими адиабатическими устройствами для предварительного охлаждения воздуха, в которых используются кассеты испарительного охлаждения, поскольку сборки 402 и 404 теплообменников с трубчатыми мембранами могут не смещаться, не засоряться или не поражаться сухой гнилью.

[0092] Каждая сборка 404 модулей теплообменников с трубчатыми мембранами включает в себя один или несколько модулей 410 и 412 теплообменников с трубчатыми мембранами, которые соединены с верхним и нижним манифольдами 410 и 412. Охлаждающая колонна 400 включает в себя контур 430 циркуляции технологической текучей среды для сборок 402 и 404 теплообменников с трубчатыми мембранами и насос 424, выполненный с возможностью направления технологической текучей среды между сборками 402 и 404 теплообменников с трубчатыми мембранами. Охлаждающая колонна 400 снабжена вентилятором 414, который индуцирует прохождение воздушного потока через впуски 416, через сборки 402 и 404 модулей теплообменников с трубчатыми мембранами и сквозь сухие теплообменники 406 перед тем, как воздух будет отведен наружу через выпуск 418 охлаждающей колонны 400. В некоторых вариантах применения направление движения воздушного потока может быть изменено на противоположное с переходом в конфигурацию с принудительной тягой. Сухие непрямые теплообменники 406 включают в себя соединения 420 и 422 для технологической текучей среды. Охлаждающая колонна 400 дополнительно включает в себя подпиточный клапан 426, источник 428 подпитки, сливной вентиль 430 и сливной патрубок 432 с целью компенсации испарения и выполнения продувки.

[0093] На фиг. 5 представлена охлаждающая колонна 500, которая в одной из своих конфигураций выполнена в виде двусторонней гибридной охлаждающей колонны с искусственной тягой. Охлаждающая колонна 500 может работать в мокром, адиабатическом или сухом режиме. В мокром режиме впрыскиваемая вода из системы 520 распределения впрыскиваемой воды распыляется непосредственно на непрямой теплообменник 514, вследствие чего происходит испарительный перенос тепла. В адиабатическом режиме вода подается через трехходовой клапан 510 и 512 в трубчатые мембраны 506, обеспечивающие адиабатическое насыщение и предварительное охлаждение воздуха, который омывает сухой непрямой теплообменник 514. В сухом режиме насос 552 выключен, и поток технологической текучей среды отсутствует. Непрямой теплообменник 514 охлаждается в сухом режиме только за счет прохождения воздуха сквозь непрямой теплообменник 514. Охлаждающая колонна 500 характеризуется множеством признаков, которые аналогичны признакам охлаждающих колонн, описанным выше, а различия будут особо указаны ниже.

[0094] Охлаждающая колонна 500 включает в себя сборки 502 и 504 модулей теплообменников с трубчатыми мембранами, каждая из которых содержит один или несколько модулей 506 теплообменников с трубчатыми мембранами. Сборки 502 и 504 модулей теплообменников с трубчатыми мембранами соединены с верхним манифольдом или верхним коллектором 508, нижним манифольдом или нижним коллектором 510 и трехходовыми клапанами 510 и 512. Охлаждающая колонна 500 дополнительно включает в себя один или несколько непрямых теплообменников 514, таких как пластинчатые теплообменники, которые принимают рабочую текучую среды из впуска 516 и направляют рабочую текучую среду в выпуск 518. Охлаждающая колонна 500 снабжена насосом 552 для обеспечения циркуляции технологической текучей среды, такой как вода, в сборках 502 и 504 модулей теплообменников с трубчатыми мембранами и/или непрямых теплообменниках 514. Охлаждающая колонна 500 снабжена контроллером 550, который управляет трехходовыми клапанами 510 и 512, направляющими технологическую текучую среду в сборки 502 и 504 модулей теплообменников с трубчатыми мембранами или в непрямые теплообменники 514 в соответствии с требованиями конкретного режима работы. Сборки 502 и 504 модулей теплообменников с трубчатыми мембранами используют первапорацию для отвода тепла из технологической текучей среды, когда трехходовые клапаны 510 и 512 направляют технологическую текучую среду в сборки 502 и 504 модулей теплообменников с трубчатыми мембранами.

[0095] Охлаждающая колонна 500 дополнительно включает в себя систему 520 распределения технологической текучей среды, которая распределяет технологическую текучую среду по непрямым теплообменникам 514, и систему 522 сбора технологической текучей среды, предназначенной для сбора технологической текучей среды, распределенной по непрямым теплообменникам 514. Часть технологической текучей среды, распределенной по непрямым теплообменникам 514, испаряется, забирая тепло у рабочей текучей среды в непрямых теплообменниках 514. Собранная технологическая текучая среда направляется обратно в контур 550 циркуляции текучей среды через трехходовые клапаны 512.

[0096] Охлаждающая колонна 500 дополнительно включает в себя один или несколько сепараторов 530 капель, выполненных с возможностью удаления капель воды из воздуха перед тем, как воздух будет отведен наружу через выпуск 532 охлаждающей колонны 500 с помощью вентилятора 534 охлаждающей колонны 500. Охлаждающая колонна 500 дополнительно включает в себя клапан 536 для подпиточной технологической текучей среды, источник 538 подачи подпиточной технологической текучей среды, сливной вентиль 540 и сливной патрубок 542, которые выполнены с возможностью компенсации испарения и выполнения продувки.

[0097] На фиг. 6 представлена охлаждающая колонна 600, которая в одной из своих конфигураций выполнена в виде охлаждающей колонны с принудительной тягой. Охлаждающая колонна 600 во многих аспектах аналогична охлаждающим колоннам, описанным выше, а различия будут особо указаны ниже. Охлаждающая колонна 600 включает в себя одно или несколько воздухозаборников 602; вентиляторы 604, которые втягивают воздух в охлаждающую колонну 600; одну или несколько сборок 606 модулей теплообменников с трубчатыми мембранами; и выпуск 608, защищенный экраном 610. Сборки 606 модулей теплообменников с трубчатыми мембранами принимают технологическую текучую среду из впуска 612 технологической текучей среды, охлаждают технологическую текучую среду и направляют ее на выпуск 614 технологической текучей среды. Сборки 606 модулей теплообменников с трубчатыми мембранами могут включать в себя, например, модули 620 теплообменников с трубчатыми мембранами, располагающиеся по последовательной и/или параллельной схеме. Конфигурация охлаждающей колонны 600 может быть, в общем, описана как противоточная охлаждающая колонна.

[0098] В одном из вариантов осуществления настоящего изобретения модули 620 теплообменников с трубчатыми мембранами включают в себя модули 620А, 620В и 620С теплообменников с трубчатыми мембранами, последовательно установленные один поверх другого и снабженные постоянными или разъемными соединениями 624 и 626 между ними. Модули 620С и 620А теплообменников с трубчатыми мембранами дополнительно включают в себя постоянные или разъемные соединения с выпускным манифольдом 628 и приемным манифольдом 630. Возвратное колено 634 соединяет выпускной манифольд 628 со вторым приемным манифольдом 636, который направляет технологическую текучую среду через модули 620D, 620Е и 620F теплообменников с трубчатыми мембранами до тех пор, пока технологическая текучая среда не достигнет выпускного манифольда 638. Модули 620, 620Е и 620F теплообменников с трубчатыми мембранами могут быть соединены на постоянной основе или с возможностью разъединения, как друг с другом, так и с приемным и выпускным манифольдами 636 и 638. В другом варианте осуществления настоящего изобретения модули 620 теплообменников с трубчатыми мембранами могут быть использованы в качестве средств предварительного охлаждения вместе с теплообменником с воздушным охлаждением в адиабатической охлаждающей колонне.

[0099] На фиг. 7А представлена трубчатая мембрана 700 в сборе, которая служит одним из потенциально используемых примеров соединения между трубчатыми мембранами и коллекторами любого из модулей теплообменников с трубчатыми мембранами, которые описаны в настоящем документе. Трубчатая мембрана 700 в сборе включает в себя трубчатую мембрану 702, которая характеризуется наличием просвета, боковой стенки 706 и концевого участка 708. Концевой участок 708 входит в зацепление с фитингом 710 и соединяется с фитингом 710 с помощью заливки 712. Трубчатая мембрана 700 в сборе дополнительно включает в себя трубную доску, такую как часть 714 плиты коллектора, и заливку 716. Фитинг 710 проходит через отверстие 720 в части 714 плиты коллектора и характеризуется наличием концевого участка 722, выступающего за внутреннюю поверхность 724 части 714 плиты. Заливка 712, 716 наносится на наружную поверхность 726 и внутреннюю поверхность 724 части 714 плиты коллектора, соединяя трубчатую мембрану 702 с фитингом 710, а фитинг 710 - с частью 714 плиты коллектора для предотвращения вытягивания трубчатой мембраны 702 и фитинга 710 в направлении 730.

[00100] На фиг. 7В представлена трубчатая мембрана 750 в сборе, которая во многих аспектах аналогична трубчатой мембране 700 в сборе, описанной выше в привязке к фиг. 7А, и которая может быть использована в любом из модулей теплообменников с трубчатыми мембранами, которые описаны в настоящем документе. Трубчатая мембрана 750 в сборе включает в себя трубчатую мембрану 752, которая характеризуется наличием просвета 754 и окружающей его боковой стенки 756. Трубчатая мембрана 750 в сборе включает в себя фитинг 758, часть 759 плиты коллектора и заливку 762, 764, соединяющую фитинг 758 и концевой участок 760 трубчатой мембраны 752 относительно части 759 плиты коллектора.

[00101] Трубчатая мембрана 750 в сборе включает в себя сосуд под давлением, такой как трубка 770, располагающаяся в просвете 754 трубчатой мембраны 752. Наличие трубки 770 в трубчатой мембране 752 способствует формированию кольцевого пространства 722 охватывающего трубку 770. Трубка 770 имеет просвет 774 и концевой участок 771, соединенный с трубной доской, такой как плита 776 коллектора. Трубка 770 может быть соединена с плитой 776 коллектора, например, с помощью клея или посредством сварного шва 778. Трубка 770 позволяет текучей среде перетекать из плиты 776 коллектора в просвет 774 трубки 770 в направлении 780. В одном из вариантов осуществления настоящего изобретения текучая среда в кольцевом пространстве 772 протекает в направлении, противоположном направлению 780. Текучая среда в просвете может находиться под высоким давлением, например, 100 фунтов/кв. дюйм или больше, и она охлаждается текучей средой в кольцевом пространстве 772. В одном из примеров текучей средой в просвете 774 может служить аммиак, а текучей средой в кольцевом пространстве 772 может служить вода.

[00102] Трубка 770 может быть выполнена, к примеру, из металлического, пластикового или керамического материала. Трубка 770 обеспечивает поддержание давления и массы хладагента, такого как жидкость, газ, транскритическая текучая среда или сверхкритическая текучая среда, в просвете 774, тогда как жидкость, протекающая в кольцевом пространстве 772, опосредованно охлаждает текучую среду в просвете 774. В некоторых примерах трубчатая мембрана 750 может быть использована в тех сферах применения, где используется конденсация и охлаждение газов.

[00103] На фиг. 8 представлена охлаждающая колонна 800, которая в одной из своих конфигураций выполнена в виде охлаждающей колонны с замкнутым контуром и искусственной тягой. Охлаждающая колонна 800 во многих аспектах аналогична охлаждающим колоннам, описанным выше, а различия будут особо указаны ниже. Охлаждающая колонна 800 включает в себя одну или несколько сборок 802 модулей теплообменников с трубчатыми мембранами, каждая из которых содержит два или больше модулей 804 теплообменников с трубчатыми мембранами, которые соединены друг с другом, а также с приемным манифольдом 806 и выпускным манифольдом 808. В другом варианте осуществления настоящего изобретения охлаждающая колонна 800 включает в себя отдельные модули 804 теплообменников с трубчатыми мембранами, соединенные с приемным и выпускным манифольдами 806 и 808.

[00104] Охлаждающая колонна 800 включает в себя вентилятор 834 для втягивания воздуха через впуск 805 с его прохождением сквозь модули 804 теплообменников с трубчатыми мембранами во внутреннее пространство 810 охлаждающей колонны 800 и его отведения наружу через выпуск 836 охлаждающей колонны 800. Сборка 802 модулей теплообменников с трубчатыми мембранами забирает тепло у технологической текучей среды, протекающей через сборку 802 модулей теплообменников с трубчатыми мембранами, и отдает его воздуху, омывающему снаружи трубчатые мембраны сборки 802 модулей теплообменников с трубчатыми мембранами, вследствие чего происходит нагрев воздуха.

[00105] Во внутреннем пространстве 810 охлаждающая колонна 800 дополнительно содержит непрямой теплообменник замкнутого контура, такой как кожухопластинчатый теплообменник 814. Кожухопластинчатый теплообменник 814 включает в себя пластины 816, которые принимают технологическую текучую среду на впуске 818 и направляют технологическую текучую среду на выпуск 819. Пластины 816 располагаются в корпусе или кожухе 820. Кожух 820 получает технологическую текучую среду, такую как вода, из сборок 802 модулей теплообменников с трубчатыми мембранами, через насос 822, патрубок 824 и впуск 826. Более холодная технологическая текучая среда в корпусе 820, полученная через выпуск теплообменника 804 с трубчатыми мембранами, взаимодействует с наружными поверхностями пластин 816, опосредованно охлаждая более нагретую технологическую текучую среду по мере ее прохождения через пластины 816. Нагретая на данный момент технологическая текучая среда выходит через выпуск 830, проходит по патрубку 832 и возвращается в сборку 802 модулей теплообменников с трубчатыми мембранами. Охлаждающая колонна 800 дополнительно включает в себя подпиточный клапан 840, источник 842 подпитки, сливной вентиль 844 и сливной патрубок 846, которые выполнены с возможностью компенсации испарения и выполнения продувки.

[00106] На фиг. 9 представлена охлаждающая колонна 900, которая во многих аспектах аналогична охлаждающим колоннам, описанным выше, а различия будут особо указаны ниже. Охлаждающая колонна 900 включает в себя сборку 902 модулей теплообменников с трубчатыми мембранами, содержащую один или несколько модулей 904 теплообменников с трубчатыми мембранами, которые соединены с возможностью разъединения друг с другом, а также с верхним и нижним манифольдами 906 и 908. Охлаждающая колонна 900 включает в себя насос 910, вентилятор 912 и контур 914 рециркуляции технологической текучей среды. Вентилятор 912 втягивает воздух через впуск 916 с его прохождением сквозь модули 902 теплообменников с трубчатыми мембранами и отводит его наружу через выпуск 918. Охлаждающая колонна 900 имеет конфигурацию, которая обычно называется «испарительной градирней», которая предварительно охлаждает воздух обычно перед его поступлением в складское здание или жилой дом, не требуя использования холодильной системы. Испарительные градирни часто используются в климатических зонах с низкой влажностью и высокими показателями температуры по сухому термометру. Сборки 902 теплообменников с трубчатыми мембранами являются усовершенствованием по сравнению с обычными устройствами, обеспечивающими испарение в испарительных охладителях, поскольку сборки 902 теплообменников с трубчатыми мембранами могут не смещаться, не засоряться или не поражаться сухой гнилью. Охлаждающая колонна 900 дополнительно включает в себя клапан 920 для подпиточной технологической текучей среды, источник 922 подачи подпиточной технологической текучей среды, сливной вентиль 924 и сливной патрубок 926, которые выполнены с возможностью компенсации испарения и выполнения продувки. Охлаждающая колонна 900 может дополнительно включать в себя секцию осушения, использующую твердые или жидкие осушители. В альтернативном варианте или дополнительно охлаждающая колонна 900 может включать в себя нагревательную спираль, обеспечивающую нагрев воздуха внутри охлаждающей колонны 900.

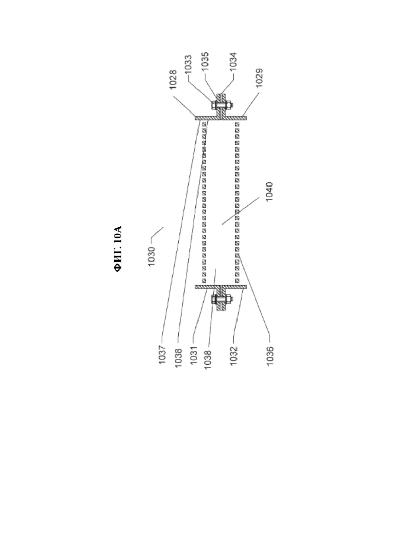
[00107] На фиг. 10А представлено соединение 1030 между нижним коллектором 1031 верхнего модуля 1028 теплообменника с трубчатыми мембранами и верхним коллектором 1032 нижнего модуля 1029 теплообменника с трубчатыми мембранами. Соединение 1030 может быть использовано для соединения модулей теплообменников с трубчатыми мембранами, описанных в настоящем документе. Соединение 1030 включает в себя крепежные детали, такие как комплекты 1033, состоящие из болта, гайки и шайбы, для закрепления соединительных элементов, таких как фланцы 1035 верхнего и нижнего коллекторов 1032 и 1031. Соединение 1030 включает в себя уплотняющий элемент 1034, такой как прокладка, вспененная клейкая лента и/или бутиловая изоляционная лента. Верхний и нижний коллекторы 1032 и 1031 включают в себя части 1056 плиты коллектора с отверстиями, в которые заходят трубчатые мембраны и заливка (не показана для наглядности), аналогичные частям плиты коллектора, описанным выше. Верхний и нижний коллекторы 1032 и 1031 характеризуются наличием стенок 1038, проходящих между частями 1036 плиты и соответствующими фланцами 1035, которые образуют смачиваемый отсек во время сборки верхнего и нижнего модулей 1028 и 1029 теплообменников с трубчатыми мембранами с нанесением заливки на наружную поверхность 1042 частей 1056 плиты.

[00108] На фиг. 10В представлено соединение 1060 между верхним коллектором 1061 модуля 1059 теплообменника с трубчатыми мембранами и распределительной камерой 1062 приемного манифольда. Соединение 1060 может быть использовано для соединения модулей теплообменников с трубчатыми мембранами, распределительных камер и сборных коллекторов, описанных в настоящем документе. Верхний коллектор 1061 снабжен фланцем 1048, который соединен с фланцем 1055 распределительной камеры 1062 с помощью, например, одной или нескольких крепежных деталей, таких как комплекты 1053, состоящие из болта, гайки и шайбы. Соединение 1060 включает в себя один или несколько уплотняющих элементов 1054, таких как прокладка, вспененная клейкая лента и/или бутиловая изоляционная лента, которые располагаются между фланцами 1055 и 1048.

[00109] Распределительная камера 1062 характеризуется наличием впускного патрубка 1063 для технологической текучей среды, а также необязательно содержит отклоняющую пластину 1064. Отклоняющая пластина 1064 направляет технологическую текучую среду в трубчатые мембраны, сопряженные с отверстиями 1056А на внешних границах части 1056 плиты коллектора 1061. Отклоняющая пластина 1064 способствует равномерному распределению технологической текучей среды по всем трубчатым мембранам. Верхний коллектор 1061 модуля 1059 теплообменника с трубчатыми мембранами включает в себя одну или несколько стенок 1058, проходящих между частью 1056 плиты коллектора и фланцем 1048, образуя выемку 1070 для приема заливки.

[00110] На фиг. 11А представлено соединение 1170 между нижним коллектором 1171 верхнего модуля 1158 теплообменника с трубчатыми мембранами и верхним коллектором 1172 нижнего модуля 1159 теплообменника с трубчатыми мембранами. Соединение 1170 во многих аспектах аналогично соединению 1030, описанному выше, а различия будут особо указаны ниже. Например, соединение 1170 включает в себя фланцы 1173 верхнего и нижнего коллекторов, которые скрепляются друг с другом с помощью клеящего вещества, такого как эпоксидная смола 1174. Верхний и нижний коллекторы 1172 и 1171 могут быть выполнены из пластмассы таким образом, что материал фланцев 1173 связывается эпоксидной смолой 1174. Соединение 1170 может дополнительно включать в себя одну или несколько крепежных деталей для прижатия фланцев 1173 друг к другу.

[00111] На фиг. 11В представлено соединение 1180 между верхним коллектором 1181 модуля 1179 теплообменника с трубчатыми мембранами и распределительной камерой 1182, которое аналогично соединению 1060, описанному выше, а различия будут особо указаны ниже. Распределительная камера 1182 и верхний коллектор 1181 снабжены фланцами 1185, скрепляемыми клеящим веществом, таким как эпоксидная смола. Распределительная камера 1182 дополнительно включает в себя впускной патрубок 1183 для технологической текучей среды и распределительный щит 1184. Распределительный щит 1184 обеспечивает равномерное распределение технологической текучей среды по трубчатым мембранам, соединенным с частью 1190 плиты верхнего коллектора 1181.

[00112] На фиг. 12А представлено защелкивающееся соединение между нижним коллектором 1291 верхнего теплообменника 1288 с трубчатыми мембранами в сборе и верхним коллектором 1292 нижнего теплообменника 1289 с трубчатыми мембранами. Защелкивающееся соединение 1290 может быть использовано для соединения модулей теплообменников, снабженных трубчатыми мембранами, которые описаны в настоящем документе. Нижний коллектор 1291 характеризуется охватываемой конфигурацией, включающей в себя соединительную часть 1287 в виде одной или нескольких стенок, которая выполнена с возможностью вхождения в отверстие 1286 соединительной части 1286А верхнего коллектора 1292. Часть 1287 нижнего коллектора 1291 включает в себя элемент защелкивающегося соединения, такой как один или несколько выступов 1285, которые выполнены с возможностью вхождения в зацепление с элементом защелкивающегося соединения в верхнем коллекторе 1292, таким как одна или несколько частей 1295 стенки с одной или несколькими выемками 1284. Защелкивающееся соединение 1290 может быть выполнено разъемным или постоянным.

[00113] Соединение 1290 может дополнительно включать в себя уплотняющий элемент, такой как прокладка или уплотнительное кольцо 1293, способствующий герметизации подсоединенных коллекторов, таких как верхний коллектор 1292 и нижний коллектор 1291. Верхний и нижний коллекторы 1292 и 1291 могут включать в себя части 1256 плиты коллектора с отверстиями под трубчатые мембраны и/или фитинги для соединения трубчатых мембран с частями 1256 плиты. Верхний и нижний коллекторы 1292 и 1291 могут дополнительно включать в себя части 1257 и 1258 стенки, которые образуют выемки на противоположных сторонах частей 1256 плиты коллектора для приема заливки.

[00114] На фиг. 12 В представлено защелкивающееся соединение между распределительной камерой 1202 и верхним коллектором 1201 модуля 1299 теплообменника с трубчатыми мембранами. Соединение 1200 во многих аспектах аналогично соединению 1290, описанному выше, а различия будут особо указаны ниже. Соединение 1200 может быть использовано для соединения модулей теплообменников с трубчатыми мембранами, распределительных камер и сборных коллекторов, описанных в настоящем документе.

[00115] Распределительная камера 1202 характеризуется охватываемой конфигурацией с частью 1206 в виде одной или нескольких стенок, которая выполнена с возможностью вхождения в отверстие 1208 в верхнем коллекторе 1201. Часть 1206 распределительной камеры 1202 включает в себя один или несколько элементов защелкивающегося соединения, таких как выступы 1210, которые входят в зацепление с одним или несколькими элементами защелкивающегося соединения в верхнем коллекторе 1201, такими как одна или несколько выемок 1212 в стенках 1213. Соединение 1200 может дополнительно включать в себя один или несколько уплотняющих элементов, таких как прокладка или уплотнительное кольцо 1205. В другом варианте осуществления настоящего изобретения уплотняющий элемент содержит клеящее вещество, такое как эпоксидная смола. Распределительная камера 1202 включает в себя впускной патрубок 1203 для технологической текучей среды и - в необязательном варианте - отклоняющую пластину 1204, распределяющую технологическую текучую среду по трубчатым мембранам верхнего коллектора 1201.

[00116] На фиг. 13А представлено скользящее соединение 1310 между нижним коллектором 1391 верхнего модуля 1394 теплообменника с трубчатыми мембранами и верхним коллектором нижнего модуля 1396 теплообменника с трубчатыми мембранами. Скользящее соединение 1310 может быть использовано для соединения теплообменников с трубчатыми мембранами, описанными выше. Верхний и нижний коллекторы 1392 и 1391 включают в себя части 1398 плиты с таким же отверстиями, что и в коллекторах, описанных выше. Скользящее соединение 1310 включает в себя части 1312 зацепления, выполненные с возможностью обеспечения соединения верхнего и нижнего коллекторов 1392 и 1391 скользящим образом. В одном из вариантов осуществления настоящего изобретения части 1312 зацепления включают в себя один или несколько выступов, таких как стенки 1302 нижнего коллектора 1391 и выемку, такой как желобок 1304 в соединительной части 1304А верхнего коллектора 1392. Скользящее соединение 1310 может быть выполнено разъемным или постоянным. Например, верхний и нижний коллекторы 1392 и 1391 могут быть снабжены располагающимся между ними уплотняющим элементом, таким как прокладка, и крепежными деталями для разъемного соединения между собой верхнего и нижнего коллекторов 1392 и 1391. В другом примере верхний и нижний коллекторы 1392 и 1391 могут быть приклеены друг к другу для соединения верхнего и нижнего коллекторов 1392 и 1391 между собой и создания между ними уплотнения.

[00117] На фиг. 13В представлено скользящее соединение 1320 между распределительной камерой 1322 и верхним коллектором 1321 модуля 1324 теплообменника с трубчатыми мембранами, которое во многих аспектах аналогично скользящему соединению 1310, описанному выше. Скользящее соединение 1320 может быть использовано для соединения модулей теплообменников с трубчатыми мембранами, распределительных камер и сборных коллекторов, описанных выше.

[00118] Скользящее соединение 1320 включает в себя части зацепления распределительной камеры 1322 и верхнего коллектора 1321, такие как стенки 1326 распределительной камеры 1322, выполненные с возможностью скользящего вхождения в выемки 1328 верхнего коллектора 1321. За счет этого модуль 1324 теплообменника с трубчатыми мембранами входит в соединение с распределительной камерой 1322 скользящим образом. Соединение 1320 может быть выполнено разъемным или постоянным, и оно может включать в себя уплотняющий элемент. Например, распределительная камера 1322 и верхний коллектор 1321 могут быть склеены друг с другом, соединяя распределительную камеру 1322 и верхний коллектор 1321 и/или обеспечивая уплотнение между ними.

[00119] На фиг. 14 представлена трубчатая мембрана 1420 в сборе, которая включает в себя трубчатую мембрану 1401 с просветом 1404 и опорой, выполненной с возможностью сопротивления смещению, деформации и/или скручиванию трубчатой мембраны 1401. В одном из вариантов осуществления настоящего изобретения опора включает в себя стержень 1421, проходящий в просвете 1404. Стержень 1421 характеризуется наличием наружной поверхности 1440, которая располагается таким образом, что она контактирует с внутренней поверхностью 1442 боковой стенки 1444 трубчатой мембраны 1401 после смещения трубчатой мембраны 1401 относительно стержня 1421. Стержень 1421 отстоит от внутренней поверхности 1442 трубчатой мембраны на определенное расстояние и обеспечивает трубчатой мембране 1401 возможность совершения небольших движений, а также возможность ее расширения и сжатия в радиальном направлении, удерживая при этом трубчатую мембрану 1401, в общем, в прямом положении и на определенном расстоянии от соседних трубчатых мембран 1401.

[00120] Стержень 1421 может проходить вдоль части просвета 1404 или по всей его длине. Стержень 1421 может характеризоваться круглым или некруглым поперечным сечением. Стержень 1421 может характеризоваться неразъемной цельной конструкцией. В другом варианте осуществления настоящего изобретения опора включает в себя множество стержней 1421 в просвете 1404.

[00121] Стержень 1421 также уменьшает толщину технологической текучей среды в просвете 1404 в направлении, перпендикулярном длине стержня 1421. В одном из вариантов осуществления настоящего изобретения стержень 1421 и трубчатая мембрана 1401 характеризуются круглым поперечным сечением, причем стержень 1421 уменьшает радиальную толщину технологической текучей среды, такой как вода, в просвете 1404. В тех сферах применения, где используется водяное охлаждение, уменьшенная толщина воды в просвете 1404 может повысить эффективность трубчатой мембраны 1420 в сборе по отводу тепла. В некоторых примерах стержень 1421 может быть выполнен из металлического, пластикового или керамического материала. Стержень 1421, к примеру, может быть монолитным или трубчатым.

[00122] Трубчатая мембрана 1420 в сборе включает в себя часть 1402 плиты коллектора 1432 с отверстием 1424, в которое заходит фитинг 1403. Трубчатая мембрана 1401 характеризуется наличием концевого участка 1407, насаженного на концевой участок 1426 фитинга 1403. Коллектор 1432 включает в себя заливку 1409, скрепляющую концевой участок 1407 трубчатой мембраны с фитингом 1403. Фитинг 1403 включает в себя концевой участок 1405, отходящий от части 1402 плиты коллектора. Коллектор 1432 включает в себя заливку 1410, скрепляющую фитинг 1403 с частью 1402 плиты коллектора и препятствующую вытягиванию фитинга 1403 в направлении 1411. В одном из вариантов осуществления настоящего изобретения стержень 1421 снабжен концевым участком 1430, соединенным со стенкой коллектора 1432 напротив части 1402 плиты коллектора.

[00123] На фиг. 15 представлена трубчатая мембрана 1530 в сборе, аналогичная трубчатой мембране 1420 в сборе, а различия будут особо указаны ниже. Трубчатая мембрана 1530 в сборе включает в себя трубчатую мембрану 1501, фитинг 1503, часть 1502 плиты коллектора и заливку 1509, 1510. Трубчатая мембрана 1530 в сборе включает в себя опору 1512, препятствующую смещению и/или деформации трубчатой мембраны 1501. В одном из вариантов осуществления настоящего изобретения опора 1512 включает в себя стержень 1521 и кольца 1531 в просвете 1504 трубчатой мембраны 1501. Кольца 1531 располагаются радиально снаружи от стержня 1521 и характеризуются наличием радиально-наружных краев, контактирующих с внутренней поверхностью 1542 боковой стенки 1544 трубчатой мембраны 1501 или немного отстоящих от указанной поверхности, препятствуя смещению и/или деформации трубчатой мембраны 1501. В одном из вариантов осуществления настоящего изобретения опора 1512 включает в себя диски, части которых, расположенные радиально снаружи, представляют собой диски 1531, причем эти диски содержат располагающиеся между ними отверстия или окошки, позволяющие проходить технологической текучей среде за кольца 1531. В другом варианте осуществления настоящего изобретения кольца 1531 отстоят на определенное расстояние от стержня 1521 в радиальном направлении, а опора 1512 включает в себя спицы, соединяющие кольца 1531 со стержнем 1521. В некоторых вариантах осуществления настоящего изобретения стержень 1521 и кольца 1531 могут характеризоваться неразъемной цельной конфигурацией, а в других вариантах осуществления настоящего изобретения они могут представлять собой сборку, состоящую из отдельных частей.

[00124] На фиг. 16 представлена трубчатая мембрана 1640 в сборе, аналогичная трубчатым мембранам в сборе, описанным выше, а различия будут особо указаны ниже. Трубчатая мембрана 1640 в сборе включает в себя трубчатую мембрану 1601, фитинг 1603 и часть 1602 плиты коллектора. Трубчатая мембрана 1640 в сборе дополнительно включает в себя внешнюю опору, такую как спиралевидный опорный элемент 1641, охватывающий наружную поверхность 1642 трубчатой мембраны 1601. Технологическая текучая среда может протекать через просвет 1622 трубчатой мембраны 1601, тогда как спиралевидный опорный элемент 1641 служит опорой для наружной поверхности трубчатой мембраны 1601.

[00125] Спиралевидный опорный элемент 1641 характеризуется наличием концевого участка 1644, соединенного с частью 1602 плиты коллектора, например, посредством заделки концевого участка 1644 в заливку 1609 на наружной поверхности 1608 части 1602 плиты коллектора. В одном из вариантов осуществления настоящего изобретения спиралевидный опорный элемент 1641 включает в себя спиральную пружину. Спиральная пружина может быть выполнена, к примеру, из металлического или пластикового материала.

[00126] Спиралевидный опорный элемент 1641 характеризуется наличием витков 1648, которые вводятся в состояние напряжения и/или изгибаются вследствие смещения трубчатой мембраны 1601. Спиралевидный опорный элемент 1641 обладает достаточной прочностью, чтобы препятствовать смещению трубчатой мембраны 1601 и сохранять прямолинейную конфигурацию трубчатой мембраны 1601. В одном из вариантов осуществления настоящего изобретения спиралевидный опорный элемент 1641 может быть выполнен упругим и с возможностью приложения восстанавливающего усилия к трубчатой мембране 1601, которое возрастает по мере того, как трубчатая мембрана 1601 смещает спиралевидный опорный элемент 1641 аналогично тому, как это делает пружина. Спиралевидный опорный элемент 1641 может также препятствовать деформации трубчатой мембраны 1601, например, радиальному расширению и продольному вытягиванию. Спиралевидный опорный элемент 1641 может препятствовать продольному вытягиванию за счет ограничения прогиба трубчатой мембраны 1601 наружу и сохранения по существу прямолинейной конфигурации трубчатой мембраны 1601.

[00127] Трубчатая мембрана 1640 в сборе дополнительно включает в себя заливку 1610 на внутренней поверхности 1606 части 1602 плиты коллектора для соединения концевого участка 1605 фитинга 1603 с частью 1602 плиты коллектора таким образом, чтобы указанный концевой участок не вытягивался в направлении 1611. Трубчатая мембрана 1601 характеризуется наличием концевого участка 1607, насаженного на концевой участок 1646 фитинга 1603. Концевой участок 1644 спиралевидного опорного элемента 1641 в сочетании с заливкой 1609 препятствует радиальному расширению концевого участка 1607 трубчатой мембраны и удерживает концевой участок 1607 трубчатой мембраны в состоянии зацепления с концевым участком 1646 фитинга.

[00128] На фиг. 17 представлена трубчатая мембрана 1750 в сборе, аналогичная трубчатым мембранам, описанным выше, а различия будут особо указаны ниже. Трубчатая мембрана 1750 в сборе включает в себя трубчатую мембрану 1701, фитинг 1703 и часть 1702 плиты коллектора. Трубчатая мембрана 1750 в сборе включает в себя внутреннюю опору, такую как спиралевидный опорный элемент 1741 в просвете 1722 трубчатой мембраны 1701.

[00129] Спиралевидный опорный элемент 1741 характеризуется наличием концевого участка 1742, вставленного в сквозное отверстие 1744 фитинга 1703. Спиралевидный опорный элемент 1741 соединен с фитингом 1703. В одном из вариантов осуществления настоящего изобретения сквозное отверстие 1744 и концевой участок 1742 имеют круглое поперечное сечение с таким наружным диаметром концевого участка 1742, который позволяет сформировать прессовое соединение с внутренним диаметром фитинга через отверстие 1744. Прессовое соединение выполняет функцию точки крепления спиралевидного опорного элемента 241, благодаря чему концевой участок 1742 спиралевидного опорного элемента 1741 остается жестко соединенным с фитингом 1703, тогда как промежуточная часть 1746 спиралевидного опорного элемента 1741 может смещаться и изгибаться по мере того, как промежуточная часть 1746 препятствует деформации трубчатой мембраны 1701. В другом варианте осуществления настоящего изобретения концевой участок 1742 спиралевидного опорного элемента может быть соединен с фитингом 1703, например, с помощью клеящего вещества, эпоксидной смолы, сварки, механического крепежа и/или конструктивных элементов зацепления на спиралевидном опорном элементе 1741 и фитинге 1703.

[00130] Спиралевидный опорный элемент 1741 характеризуется наличием витков 1750 с наружными поверхностями 1752, выполненными с возможностью вхождения в контакт с внутренней поверхностью 1754 боковой стенки 1756 трубчатой мембраны 1701. Витки 1750 проходят вокруг центрального сквозного отверстия 1757, что позволяет технологической текучей среде проходить через спиралевидный опорный элемент 1741 в просвете 1722 трубчатой мембраны 1701. В одном из вариантов осуществления настоящего изобретения спиралевидный опорный элемент 1741 включает в себя спиральную пружину. Спиралевидный опорный элемент 1741 может быть выполнен из металлического или пластикового материала. Трубчатая мембрана 1750 в сборе включает в себя заливку 1709, соединяющую концевой участок 1707 трубчатой мембраны 1701 с фитингом 1703, и заливку 1710, соединяющую фитинг 1703 с частью 1702 плиты коллектора.

[00131] На фиг. 18 представлена трубчатая мембрана 1860 в сборе, которая во многих аспектах аналогична трубчатым мембранам в сборе, описанным выше, а различия будут особо указаны ниже. Трубчатая мембрана 1860 в сборе включает в себя трубчатую мембрану 1801, фитинг 1803, часть 1802 плиты коллектора и заливку 1809, 1810. Мембрана 1860 в сборе также включает в себя внешнюю опору, такую как распорка 1861, которая препятствует деформации трубчатой мембраны 1801. Распорка 1861 включает в себя один или несколько прутков 1863 и одно или несколько колец 1862, отстоящих друг от друга на определенное расстояние вдоль прутков 1863. Кольца 1862 могут располагаться вдоль прутков 1863 на одинаковом или неодинаковом расстоянии друг от друга. Прутки 1863 характеризуются наличием концевых участков 1866, вделанных в заливку 1809 с целью фиксации прутков 1863 на части 1802 плиты коллектора. Распорка 1861 может обладать неразъемной цельной конструкцией или представлять собой сборку. Трубчатая мембрана 1860 в сборе может дополнительно включать в себя заливку 1810, препятствующую вытягиванию фитинга 1803 в направлении 1811.

[00132] На фиг. 19 представлена трубчатая мембрана 1970 в сборе, которая во многих аспектах аналогична трубчатым мембранам в сборе, описанным выше, а различия будут особо указаны ниже. Трубчатая мембрана 1970 в сборе включает в себя трубчатую мембрану 1901, часть 1902 плиты коллектора, фитинг 1903 и заливку 1909, 1910. Трубчатая мембрана 1970 в сборе включает в себя внутреннюю опору, такую как распорка 1971, располагающуюся в просвете 1904 трубчатой мембраны 1901. Распорка 1971 включает в себя одну или несколько вертикальных опор, таких как стержни или прутки 1974, и одну или несколько горизонтальных опор, таких как кольца 1972, которые могут располагаться вдоль прутков 1974 на одинаковом или неодинаковом расстоянии друг от друга. Прутки 1974 выполнены с возможностью ограниченного теплового расширения в продольном направлении во всем диапазоне рабочих температур трубчатой мембраны 1970 в сборе. Ограниченное тепловое расширение прутков 1974 в продольном направлении удерживает прутки 1974 прямо, несмотря на вытягивание трубчатой мембраны 1901 вследствие поглощения текучей среды материалом трубчатой мембраны 1901. Таким образом, прутки 1974 сохраняют прямолинейную конфигурацию трубчатой мембраны 1901 во всем диапазоне рабочих температур и расхода текучей среды трубчатой мембраны 1970 в сборе. Кроме того, кольца 1972 выполнены с возможностью оказания сопротивления смещению прутков 1974 в стороны и по направлению друг к другу. В общем, распорка 1971 образует внутреннюю опорную конструкцию, придающую жесткость гибкой трубчатой мембране 1901 и сохраняющую прямую конфигурацию трубчатой мембраны 1901.

[00133] Распорка 1971 может быть соединена с фитингом 1903 таким образом, что часть распорки 1971 входит в зацепление с внутренним диаметром фитинга 1903. В одном из примеров прутки 1974 могут быть приварены или приклеены к фитингу 1903. В другом примере концы прутков 1974 могут выходить из отверстий в боковой стенке 1940 концевого участка 1942 фитинга 1903, и заделываться в заливку 1910. Распорка 1971 может быть выполнена из металлического или пластикового материала. Распорка 1971 может характеризоваться неразъемной цельной конструкцией или представлять собой сборку.

[00134] На фиг. 21 представлена трубчатая мембрана 2100 в сборе, которая включает в себя трубчатую мембрану 2101, трубку 2112 и фитинг 2103, соединяющий трубчатую мембрану 2101 и трубку 2112. Трубка 2112 имеет конец 2113 для соединения с другим компонентом, таким как фитинг, трубка или клапан. Трубка 2112 может быть выполнена, например, в виде нейлоновой плетеной трубки или трубки со стальной оплеткой, из винила, резины, ПВХ (поливинилхлорида) или иного материала.

[00135] Трубчатая мембрана 2100 в сборе содержит чашеобразную пресс-форму 2102 и заливку 2109, которая удерживает вместе трубчатую мембрану 2101, трубку 2105 и фитинг 2103, а также препятствует вытягиванию в направлении 2111. Чашеобразная пресс-форма 2102 может быть включена в состав конечного продукта, или же она может быть удалена сразу после отверждения заливки 2109. В варианте осуществления настоящего изобретения, который проиллюстрирован на фиг. 21, фитинг 2103 имеет такие размеры, что он может вписываться в просветы трубчатой мембраны 2101 и трубки 2112, для чего трубчатая мембрана 2101 и трубка 2112 снабжены торцовыми поверхностями 2130 и 2132, которые охватывают по окружности фитинг 2103.

[00136] На фиг. 22 представлена трубчатая мембрана 2200 в сборе, которая аналогична трубчатой мембране 2100 в сборе. Трубчатая мембрана 2200 в сборе включает в себя трубчатую мембрану 2201, часть 2202 плиты коллектора, фитинг 2203, трубку 2212 и заливку 2220. Трубка 2212 характеризуется наличием концевого участка 2213 с соединением 2214. Соединение 2214 может представлять собой, например, резьбовое соединение, сварное соединение, соединение с помощью растворителя, паяное соединение, соединение штуцером с выступающими кольцами для гибкого шланга, обжимное соединение или соединение с помощью штуцера, вставляемого нажатием.

[00137] Теплообменники с трубчатыми мембранами, описанные в настоящем документе, могут использовать различные опоры для сохранения разделения и ориентации трубчатых мембран. В одном из вариантов осуществления настоящего изобретения опоры сохраняют одинаковое расстояние между трубчатыми мембранами теплообменника с трубчатыми мембранами. К примеру, и в привязке к фиг. 23, одна или несколько опорных плит 2370 могут располагаться вдоль трубчатых мембран 2311 между верхним коллектором 2316 и центральным коллектором 2319 и/или между центральным коллектором 2319 и нижним коллектором 2317. Между опорными плитами 2370 могут быть предусмотрены интервалы, одинаковые или варьирующиеся вдоль трубчатых мембран 2311. Опорные плиты 2370 могут быть соединены с трубчатыми мембранами 2311, например, с помощью клея или методом химической сварки. В альтернативном варианте или дополнительно опорные плиты 2370 могут быть соединены с трубчатыми мембранами 2311 посредством механического соединения, такого как прессовая посадка между трубчатыми мембранами 2311 и опорными плитами 2370.

[00138] На фиг. 24 представлен теплообменник 2400 с трубчатыми мембранами, который характеризуется наличием опорной плиты 2470, соединенной с трубчатыми мембранами 2471. Теплообменник 2400 с трубчатыми мембранами снабжен опорным элементом 2473, который соединен с опорной плитой 2470 или выполнен с ней заодно. Опорный элемент 2473 характеризуется наличием концевого участка 2475, выполненного с возможностью соединения с поверхностью 2476, такой как внутренняя поверхность боковой стенки наружной конструкции устройства для отвода тепла, содержащего теплообменник 2400 с трубчатыми мембранами. Опорный элемент 2473 придает жесткость опорной плите 2470, удерживая опорную плиту 2470 в требуемом положении вдоль трубчатых мембран 2471.

[00139] На фиг. 25 представлен теплообменник 2500 с трубчатыми мембранами, снабженный опорными элементами, которые соединяют опорные плиты теплообменника 2500, содержащего трубчатые мембраны, с другими компонентами теплообменника 2500 с трубчатыми мембранами. Опорный элемент 2571 соединяет опорную плиту 2570 с впускным патрубком 2516 коллектора. Опорный элемент 2584 соединяет опорную плиту 2582 с впускным коллектором 2586. Опорный элемент 2518 соединяет опорные плиты 2520 и 2522, а опорный элемент 2524 соединяет опорную плиту 2522 с выпускным коллектором 2517. Разные конфигурации опорных элементов могут быть использованы для сохранения положения опорных плит на трубчатых мембранах.

[00140] На фиг. 26 представлен теплообменник 2600 с трубчатыми мембранами, который содержит опорные элементы 2602, соединенные с компонентами соответствующей охлаждающей колонны. Опорные элементы 2602 включают в себя опорный элемент 2670, соединенный со стенкой 2613 охлаждающей колонны. Опорные элементы 2602 дополнительно включают в себя опорный элемент 2604, соединенный с экраном 2621 охлаждающей колонны.

[00141] Различные варианты конфигурации опорных плит могут быть использованы для сохранения интервала между трубчатыми мембранами и/или их ориентации. В этой связи, например, опорная плита 2770, показанная на фиг. 27, содержит отверстия 2701 с кольцевыми поверхностями 2702, охватывающими по окружности трубчатые мембраны 2703. Как показано на фиг. 28, опорная плита 2870 содержит пазы 2872 с боковыми поверхностями 2874 и 2876, которые контактируют с наружными поверхностями 2878 трубчатых мембран 2701, препятствуя смещению трубчатых мембран 2701.

[00142] Теплообменники с трубчатыми мембранами согласно настоящему изобретению могут включать в себя трубчатые мембраны, которые характеризуются нелинейной траекторией, например, извилистой траекторией между впускным и выпускным коллекторами. На фиг. 29 представлен теплообменник 2900 с трубчатыми мембранами, содержащий впускной коллектор 2910, выпускной коллектор 2912 и трубчатые мембраны 2914, соединенные с выпускным и выпускным коллекторами 2910 и 2912. Трубчатые мембраны 2914 проходят вокруг устройства для генерирования воздушного потока, такого как вентилятор 2924. Устройство для отвода тепла, включающее в себя теплообменник 2900 с трубчатыми мембранами, может характеризоваться конфигурацией с искусственной тягой и перекрестным потоком.

[00143] Трубчатые мембраны могут 2914 содержать прямые участки 2916 и изогнутые участки 2918, соединяющие прямые участки 2916. Каждый изогнутый участок 2918 перенаправляет поток технологической текучей среды под углом к направлению движения технологической текучей среды, поступающей в изогнутый участок 2918, причем в некоторых примерах этот угол составляет менее 120°, менее 110°, менее 100°, менее 95°, например, 90° или менее 90°.

[00144] В одном из вариантов осуществления настоящего изобретения каждый изогнутый участок 2918 включает в себя прямой отрезок и два сочленения, которые соединяют прямой отрезок с соседними прямыми участками 2916. В другом варианте осуществления настоящего изобретения изогнутые участки 2918 являются криволинейными. Ряд прямых участков 2916 и изогнутых участков 2918 образуют извилистую траекторию для технологической текучей среды по мере движения технологической текучей среды от впускного коллектора 2910 к выпускному коллектору 2912.

[00145] Трубчатые мембраны изначально могут иметь, в общем, прямую форму, которая изменяется за счет опор, формирующих извилистую траекторию для технологической текучей среды. Как показано на фиг. 30, теплообменник 3000 с трубчатыми мембранами включает в себя впускной коллектор 3016, выпускной коллектор 3017 и трубчатые мембраны 3018, проходящие вокруг вентилятора 3014. Теплообменник 3000 с трубчатыми мембранами снабжен опорами, таким как опорные плиты 3070, которые изменяют конфигурацию трубчатых мембран 3018, образуя изгибы 3072. Опорные плиты 3070 снабжены сквозными отверстиями, в которые входят трубчатые мембраны 3018 таким образом, что трубчатые мембраны 3018 проходят под прямым углом к опорным плитам 3070. Опорные плиты 3070 характеризуются наличием поверхностей, охватывающих сквозные отверстия, которые входят в контакт с трубчатыми мембранами 3018, придавая им требуемую форму.

[00146] В некоторых вариантах осуществления настоящего изобретения трубчатые мембраны могут характеризоваться присущей им конструктивной конфигурацией, которая обеспечивает нелинейную траекторию движения для технологической текучей среды. Как показано на фиг. 31, теплообменник 3100 с трубчатыми мембранами содержит впускной коллектор 3116, выпускной коллектор 3117 и трубчатые мембраны 3118 и 3120. Трубчатые мембраны 3118 и 3120 имеют радиально наружные боковые участки 3130 и 3132, длина которых превышает длину радиально внутренних боковых участков 3134 и 3136. Таким образом, трубчатые мембраны 3118 и 3120 имеют кольцевую форму, при этом кольцевая форма придается трубчатым мембранам 3118 и 3120 не опорой.

[00147] В некоторых вариантах осуществления настоящего изобретения трубчатая мембрана имеет такую геометрию, которая инициирует варьирование кривизны трубчатой мембраны вдоль ее длины. Например, трубчатая мембрана может иметь прямые концевые участки и криволинейный промежуточный участок, соединяющий прямые концевые участки.

[00148] Различные типы опор могут быть использованы для придания трубчатым мембранам требуемой формы. Как показано на фиг. 32, теплообменник 3200 с трубчатыми мембранами включает с себя впускной коллектор 3216, выпускной коллектор 3217, трубчатые мембраны 3218, 3219 и дугообразную опору, такую как стержень 3221. Стержень 3221 предотвращает изменение трубчатыми мембранами 3128 и 3219 дугообразной конфигурации, показанной на фиг. 32.

[00149] Опора для одной или нескольких трубчатых мембран может быть внутренней или внешней по отношению к трубчатым мембранам. На фиг. 32 показан стержень 3221, внешний по отношению к трубчатым мембранам 3218 и 3219, но в альтернативном варианте он может располагаться внутри одной или обеих трубчатых мембран 3218 и 3219. Каждая опора может принимать разные формы, например, форму спиралей, колец, плит и т.п., а также сочетать в себя разные формы, например, форму стержня, который служит опорой для колец внутри трубчатой мембраны. В другом примере опора может иметь форму спирали, располагающейся за пределами соответствующей трубки мембраны (см., например, фиг. 16).

[00150] Коллекторы, используемые для соединения трубчатых мембран, могут перенаправлять поток технологической текучей среды, формируя извилистую траекторию движения технологической текучей среды. Как показано на фиг. 33, теплообменник 3300 с трубчатыми мембранами характеризуется наличием оконечного впускного коллектора, такого как впускной коллектор 3316, и оконечного выпускного коллектора, такого как выпускной коллектор 3317. Теплообменник 3300 с трубчатыми мембранами включает в себя группы трубчатых мембран 3318, 3320, 3322 и 3324, которые направляют технологическую текучую среду между впускным и выпускным коллекторами 3316 и 3317. Теплообменник 3300 с трубчатыми мембранами дополнительно включает в себя промежуточные коллекторы 3330, 3332 и 3334, соединяющие группы трубчатых мембран 3318, 3320, 3322 и 3324.

Промежуточные коллекторы 3330, 3332 и 3334 содержат впускные отверстия 3330А, в которые поступает рабочая текучая среда из вышерасположенных трубчатых мембран в первом направлении, и выпускные отверстия 3330 В, которые перенаправляют рабочую текучую среду в нижерасположенные трубчатые мембраны во втором направлении, поперечном первому направлению. В одном из вариантов осуществления настоящего изобретения промежуточные коллекторы 3330, 3332 и 3334 образуются за счет соединения впускного и выпускного коллекторов, сопряженных с соседними группами трубчатых мембран 3318, 3320, 3322 и 3324, с использованием способа, аналогичного тому, который раскрыт в рамках вариантов осуществления настоящего изобретения, описанных выше (см., например, фиг. 1D, 10А, 11А, 12А и 13А).

[00151] Оконечные коллекторы и промежуточные коллекторы могут располагаться таким образом, что они формируют трубчатые мембраны, в общем и целом, в виде многоугольника, причем эти мембраны содержат любое количество сторон, а оконечные коллекторы и промежуточные коллекторы служат вершинами требуемого многоугольника. Многоугольник может быть правильным или неправильным. В некоторых вариантах осуществления настоящего изобретения трубчатые мембраны могут характеризоваться линейной или нелинейной формой, проходя между соседними коллекторами.

[00152] Теплообменники, описанные выше, могут быть использованы в самых разных сферах применения, например, в охладительных колоннах для систем HVAC (отопления, вентиляции и кондиционирования воздуха) в зданиях; в охладительных колоннах для производственных процессов; в системах, использующих тепловую энергию хранилищ льда; и в системах газового теплообмена и/или массообмена, например, в таких сферах применения, где используется увлажнение и осушение воздуха. Еще одной сферой применения теплообмена и/или массобмена служит улавливание двуокиси углерода.

[00153] Например, на фиг. 34 представлен блок 3400 подготовки воздуха, который включает в себя наружную конструкцию 3413, модули 3416 теплообменников с трубчатыми мембранами, трубопровод 3474 и генератор воздушного потока, такой как вентилятор 3414. Блок 3400 подготовки воздуха содержит источник 3422 подачи технологической текучей среды, выполненный с возможностью подачи в модули 3416 теплообменников с трубчатыми мембранами технологической текучей среды разного типа, такой как вода и жидкий осушитель, что зависит от режима работы блока 3400 подготовки воздуха.

[00154] В одном из вариантов осуществления настоящего изобретения источник 3422 технологической текучей среды включает в себя впускной клапан 3463, выпускной клапан 3462 и насос 3475, причем эти элементы аналогичны соответствующим элементам, описанным выше. Блок 3400 подготовки воздуха дополнительно включает в себя воздухозаборник 3406, экран 3421, впуск 3402 рециркуляционного воздуха, смесительную камеру 3403, воздушный фильтр 3404, вспомогательный теплообменник 3405 и выпуск 3415.

[00155] Блок 3400 подготовки воздуха содержит контроллер 3440, функционально соединенный с компонентами блока 3400 подготовки воздуха с целью управления блоком 3400 подготовки воздуха. Контроллер 3440 включает в себя процессор 3440А и схему 3440 В связи для сообщения с удаленным вычислительным устройством, таким как главный контроллер системы HVAC, серверный компьютер и/или переносное электронное устройство, такое как смартфон, по одной или нескольким сетям, таким как сеть Интернет.

[00156] В некоторых вариантах осуществления настоящего изобретения выпуск 3415 может быть соединен с впуском 3402 рециркуляционного воздуха через воздуховод. Блок 3400 подготовки воздуха может избирательно направлять часть воздуха или весь воздух, проходящий через выпуск 3415, обратно на впуск 3402 рециркуляционного воздуха. Смесительная камера 3403 обеспечивает смешивание воздуха, поступающего через воздухозаборник 3406 и через впуск 3402 рециркуляционного воздуха. Воздушный фильтр 3404 может включать в себя один или несколько фильтров, который отфильтровывает загрязнения из воздуха. Вспомогательный теплообменник 3405 может представлять собой, например, теплообменник типа «воздух-воздух», водо-воздушный теплообменник, испаритель или конденсационный змеевик, сухой поверхностный теплообменник или резистивный нагревательный элемент, который забирает тепло у воздуха или передает тепло воздуху, проходящему через блок 3400 подготовки воздуха.

[00157] Модули 3416 теплообменников с трубчатыми мембранами выполнены с возможностью взаимодействия с воздухом в соответствии с режимом работы контроллера 3440. Например, модули 3416 теплообменников с трубчатыми мембранами могут выполнять по меньшей мере одну из таких операций, как повышение температуры воздуха в блоке 3400 подготовки воздуха, понижение температуры воздуха в блоке 3400 подготовки воздуха, удаление влаги из воздуха в блоке 3400 подготовки воздуха и повышение влажности воздуха в блоке 3400 подготовки воздуха.

[00158] Контроллер 3440 может управлять блоком 3400 подготовки воздуха в различных режимах в соответствии с одним или несколькими параметрами, которые детектируются датчиком 3442. Один или несколько параметров могут включать в себя, например, рабочие параметры блока 3400 подготовки воздуха (такие как температура технологической текучей среды и расход воды), параметры окружающей среды (например, температура, влажность, время суток и/или географическое расположение блока 3400 подготовки воздуха) и/или уставку технологической текучей среды, запрашиваемую контроллером системы HVAC. В альтернативном варианте или дополнительно контроллер 3440 может управлять блоком 3400 подготовки воздуха в режиме, соответствующим команде, полученной схемой 3440 В связи с удаленного вычислительного устройства.

[00159] Например, контроллер 3440 может переконфигурировать блок 3400 подготовки воздуха на работу в режиме увлажнения, в режиме испарительной градирни или в режиме осушения. В режиме испарительной градирни модули 3416 теплообменников с трубчатыми мембранами используют воду в качестве технологической текучей среды и работают на снижение температуры и повышение влажности воздуха в блоке 3400 подготовки воздуха.

[00160] В режиме осушения модули 3416 теплообменников с трубчатыми мембранами используют жидкий осушитель в качестве технологической текучей среды и работают на удаление влаги из воздуха в блоке 3400 подготовки воздуха. Поглощение влаги жидким осушителем может представлять собой экзотермический процесс, который повышает температуру воздуха.

[00161] В режиме увлажнения модули 3416 теплообменников с трубчатыми мембранами используют нагретую воду в качестве технологической текучей среды и повышают влажность воздуха в блоке 3400 подготовки воздуха. Модули 3416 теплообменников с трубчатыми мембранами компенсируют понижение температуры технологической текучей среды за счет использования нагретой воды.

[00162] В блоке 3400 подготовки воздуха могут использоваться самые разные типы технологической текучей среды. В режиме увлажнения технологической текучей средой может служить вода (например, водопроводная вода, бытовые сточные воды, деминерализованная вода и/или вода обратного осмоса) или смесь воды и другой текучей среды (например, текучей среды, которая изменяет точку замерзания технологической текучей среды, такая как гликоль или спирт).

[00163] В режиме осушения технологической текучей средой может служить жидкий осушитель, такой как водный раствор высокогигроскопической соли, такой как хлорид лития, хлорид кальция или бромид лития, или одну из этих солей, растворенную в неводном растворителе. В других вариантах осуществления настоящего изобретения технологической текучей средой для осушения может служить спирт или другая гигроскопическая жидкость, такая как глицерин, концентрированная серная кислота, гидразингидрат, эминоэтанол и/или глицерол. Использование некоторых из указанных выше технологических текучих сред является уникальным для теплообменника с трубчатыми мембранами. Например, спирт обычно не может использоваться, так как он испаряется по мере поглощения воды. При использовании трубчатой мембраны, избирательно проницаемой для воды, жидкий осушитель, содержащий спирт, не может испаряться, но жидкий осушитель может насыщаться водой.

[00164] Контроллер 3440 управляет впускным клапаном 3463 и выпускным клапаном 3462, изменяя режим работы блока 3400 подготовки воды путем слива текущей технологической рабочей среды, такой как вода или жидкий осушитель, из трубопровода 3474 и заполнения трубопровода 3474 другой технологической текучей средой, такой как другая среда из числа воды и жидкого осушителя. В некоторых вариантах осуществления настоящего изобретения контроллер 3440 управляет насосом 3475 для заполнения трубопровода 3474 требуемой технологической текучей средой.

[00165] В одном из вариантов осуществления настоящего изобретения впускной клапан 3463 выполнен с возможностью переключения между разными источниками технологической текучей среды. Например, впускной клапан 3463 может представлять собой трехходовой клапан. В первом положении впускной клапан 3464 закрыт. Контроллер 3440 переключает впускной клапан 3463 во второе положение, когда контроллер 3440 работает в режиме испарительной градирни или в режиме увлажнения. Во втором положении впускной клапан 3463 позволяет подпиточной воде перетекать в блок 3400 подготовки воздуха. В режиме увлажнения контроллер 3440 подает питание на нагреватель с целью нагрева подпиточной воды.

[00166] Контроллер 3440 переключает впускной клапан 3463 в третье положение, когда контроллер 3440 работает в режиме осушения. Когда впускной клапан 3463 находится в третьем положении, впускной клапан 3463 сообщается с системой регенерации жидкого осушителя, которая удаляет воду из жидкого осушителя. Короче говоря, впускной клапан 3463 может переключаться между двумя контурами текучей среды в зависимости от режима работы контроллера 3440.

[00167] На фиг. 35 представлен теплообменник 3500 с трубчатыми мембранами, содержащий опорную раму 3501, часть которой на фигуре для наглядности удалена. Теплообменник 3500 с трубчатыми мембранами содержит вентилятор 3502, выпускной коллектор 3504, впускной коллектор 3505 и трубчатые мембраны 3503. Трубчатые мембраны 3503 имеют спиралевидную форму и проходят вокруг нагнетательного или центрального пространства 3507. Вентилятор 3502 выполнен с возможностью направления воздуха сквозь трубчатые мембраны 3503 в центральное пространство 3507 перед тем, как вентилятор 3502 направит воздух через выпуск 3509.

[00168] Предполагается, что использование формы единственного числа, на которую указывают неопределенные артикли, охватывает как форму единственного числа, так и форму множественного числа, если только в настоящем документе не указано иное, или если иное явным образом не вытекает из контекста. Термины «содержащий», «имеющий», «включающий в себя» и «состоящий» должны рассматриваться как неограничивающие термины. Предполагается, что фраза «по меньшей мере, один из» в контексте настоящего документа должна трактоваться в разделительном смысле. Например, фраза «по меньшей мере, один из элементов А и В» предполагает включение элемента А, элемента В или обоих элементов А и В.

[00169] Хотя были проиллюстрированы и описаны частные варианты осуществления настоящего изобретения, следует понимать, что специалисты в данной области техники могут вносить в них различные изменения и модификации, при этом предполагается, что настоящее изобретение охватывает все эти изменения и модификации, которые входят в объем прилагаемой формулы.

Похожие патенты RU2838610C1

название год авторы номер документа
ТЕПЛООБМЕННИК С ТРУБЧАТЫМИ МЕМБРАНАМИ 2020
  • Эголф, Кевин Эллсворт
  • Русле, Йоханн, Лилиан
RU2805110C2
РЕАКТОР С КОМПЛЕКТОМ КЕРАМИЧЕСКИХ ТРАНСПОРТИРУЮЩИХ КИСЛОРОД МЕМБРАН И СПОСОБ РИФОРМИНГА 2014
  • Келли Шон М.
  • Кристи Джервас Максвелл
  • Роузен Ли Дж.
  • Робинсон Чарльз
  • Уилсон Джейми Р.
  • Гонсалес Хавьер Е.
  • Дорасвами Уттам Р.
RU2680048C2
СИСТЕМА И СПОСОБ РЕГУЛИРОВАНИЯ ТЕМПЕРАТУРЫ В РЕАКТОРЕ НА ОСНОВЕ КИСЛОРОДПРОВОДЯЩИХ МЕМБРАН 2014
  • Келли Шон М.
RU2661581C2
ТЕПЛООБМЕННОЕ УСТРОЙСТВО ВОЗДУШНОГО ОХЛАЖДЕНИЯ С ИНТЕГРИРОВАННОЙ И МЕХАНИЗИРОВАННОЙ СИСТЕМОЙ ПРЕДВАРИТЕЛЬНОГО ОХЛАЖДЕНИЯ ВОЗДУХА 2018
  • Бирн, Том
RU2766163C2
ХИМИЧЕСКИЙ РЕАКТОР С АДИАБАТИЧЕСКИМИ СЛОЯМИ КАТАЛИЗАТОРА И АКСИАЛЬНЫМ ПОТОКОМ 2018
  • Рицци Энрико
RU2775262C2
ФИЛЬТРАЦИЯ С КОНТРОЛЕМ ВНУТРЕННЕГО ЗАСОРЕНИЯ 2008
  • Беккер Натаниель Т.
  • Браун Ришард
  • Кристенсен Роберт И.
  • Экбом Стефан
  • Фонг Робин
  • Шулер Александра
RU2460576C2
СПОСОБ ИСПОЛЬЗОВАНИЯ НЕПРЯМОГО ТЕПЛООБМЕННИКА И УСТАНОВКИ ДЛЯ ПЕРЕРАБОТКИ СЖИЖЕННОГО ПРИРОДНОГО ГАЗА, СОДЕРЖАЩЕЙ ТАКОЙ ТЕПЛООБМЕННИК 2018
  • Ботман, Мартен, Йоаннес
  • Бринкерт, Якоб
  • Де Врис, Марсел
  • Никерк, Рой
  • Схолтен, Рюдолфус, Йоханнес
RU2760724C2
ОЧИСТКА ЖИДКИХ СМЕСЕЙ С ИСПОЛЬЗОВАНИЕМ ПЕРЕГОННО-МЕМБРАННОГО РАЗДЕЛЕНИЯ 2004
  • Коллинг Крэйг У.
  • Хафф Джордж А. Мл.
  • Питч Стивен Дж.
RU2341315C2
УСТРОЙСТВО ОХЛАЖДАЮЩЕЙ БАШНИ И СПОСОБ КОСВЕННОГО СУХОГО ОХЛАЖДЕНИЯ 2010
  • Бодаш Янош
  • Шаги Балаж
  • Шойом Аттила
RU2521182C2
ТЕПЛООБМЕННИК В ВИДЕ ДВУХРЯДНОЙ БУКВЫ V 2021
  • Бирн, Том
RU2823131C1

Иллюстрации к изобретению RU 2 838 610 C1

Реферат патента 2025 года ТЕПЛООБМЕННИК С ТРУБЧАТЫМИ МЕМБРАНАМИ

Изобретение относится к теплообменникам, в частности к теплообменникам, снабженным трубчатыми мембранами, которые обеспечивают теплообмен между двумя текучими средами. Согласно одному из аспектов настоящего изобретения предложен модуль теплообменника с трубчатыми мембранами, который включает в себя впускной коллектор и выпускной коллектор. Впускной коллектор выполнен с возможностью соединения с соседним модулем теплообменника с трубчатыми мембранами и формирования тем самым вышерасположенного смачиваемого отсека. Выпускной коллектор выполнен с возможностью соединения с соседним нижерасположенным модулем теплообменника с трубчатыми мембранами и формирования тем самым нижерасположенного смачиваемого отсека. Модуль теплообменника с трубчатыми мембранами дополнительно включает в себя трубчатые мембраны, соединяющие впускной коллектор и выпускной коллектор. Трубчатые мембраны обеспечивают протекание технологической текучей среды от вышерасположенного смачиваемого отсека к нижерасположенному смачиваемому отсеку. Кроме того, трубчатые мембраны также обеспечивают возможность массообмена между технологической текучей средой в трубчатых мембранах и наружными поверхностями трубчатых мембран, контактирующими с текучей средой. 5 н. и 61 з.п. ф-лы, 35 ил.

Формула изобретения RU 2 838 610 C1

1. Модуль теплообменника с трубчатыми мембранами, содержащий:

впускной коллектор, выполненный с возможностью соединения с соседним вышерасположенным модулем теплообменника с трубчатыми мембранами и формирования тем самым вышерасположенного смачиваемого отсека;

выпускной коллектор, выполненный с возможностью соединения с соседним нижерасположенным модулем теплообменника с трубчатыми мембранами и формирования тем самым нижерасположенного смачиваемого отсека; и

трубчатые мембраны, соединяющие впускной коллектор и выпускной коллектор, причем трубчатые мембраны обеспечивают протекание технологической текучей среды от вышерасположенного смачиваемого отсека к нижерасположенному смачиваемому отсеку; и

при этом трубчатые мембраны также обеспечивают возможность массообмена между технологической текучей средой в трубчатых мембранах и наружными поверхностями трубчатых мембран, контактирующими с текучей средой.

2. Модуль теплообменника с трубчатыми мембранами по п. 1, в котором впускной коллектор включает в себя впускное отверстие, выполненное с возможностью его перекрытия соседним вышерасположенным модулем теплообменника с трубчатыми мембранами, и

в котором выпускной коллектор включает в себя выпускное отверстие, выполненное с возможностью его перекрытия соседним нижерасположенным модулем теплообменника с трубчатыми мембранами.

3. Модуль теплообменника с трубчатыми мембранами по п. 1, в котором впускной коллектор включает в себя впускное отверстие и фланец, проходящий вокруг впускного отверстия и предназначенный для соединения с соседним вышерасположенным модулем теплообменника с трубчатыми мембранами.

4. Модуль теплообменника с трубчатыми мембранами по п. 1, в котором выпускной коллектор включает в себя выпускное отверстие и фланец, проходящий вокруг выпускного отверстия и предназначенный для соединения с соседним нижерасположенным модулем теплообменника с трубчатыми мембранами.

5. Модуль теплообменника с трубчатыми мембранами по п. 1, в котором впускной коллектор и выпускной коллектор включают в себя соединительные части, выполненные с возможностью образования защелкивающихся соединений с соседними модулями теплообменников с трубчатыми мембранами, расположенными выше и ниже по потоку.

6. Модуль теплообменника с трубчатыми мембранами по п. 1, в котором впускной коллектор и выпускной коллектор включают в себя выступ и выемку, выполненные с возможностью вхождения в зацепление с соответствующей выемкой и выступом соседних модулей теплообменников с трубчатыми мембранами, расположенных выше и ниже по потоку.

7. Модуль теплообменника с трубчатыми мембранами по п. 1, в котором впускной коллектор и выпускной коллектор снабжены идентичными соединительными частями, причем впускной коллектор выполнен с возможностью соединения с любым соседним модулем из числа вышерасположенного и нижерасположенного модулей теплообменников с трубчатыми мембранами и выпускной коллектор выполнен с возможностью соединения с любым соседним модулем из числа вышерасположенного и нижерасположенного модулей теплообменников с трубчатыми мембранами.

8. Модуль теплообменника с трубчатыми мембранами по п. 1, в котором впускной коллектор содержит единственное впускное отверстие для приема технологической текучей среды из соседнего вышерасположенного модуля теплообменника с трубчатыми мембранами и

в котором выпускной коллектор содержит единственное выпускное отверстие для направления технологической текучей среды в нижерасположенный модуль теплообменника с трубчатыми мембранами.

9. Модуль теплообменника с трубчатыми мембранами по п. 1, в котором каждый коллектор из числа впускного коллектора и выпускного коллектора содержит:

часть плиты, снабженную отверстиями, сопряженными с трубчатыми мембранами; и

боковую стенку, которая отходит вверх от части плиты и характеризуется наличием концевого участка напротив части плиты, причем концевой участок боковой стенки содержит соединительный элемент.

10. Модуль теплообменника с трубчатыми мембранами по п. 9, в котором соединительный элемент включает в себя по меньшей мере один из следующих элементов:

защелкивающийся элемент;

выемку;

фланец; и

стенку.

11. Модуль теплообменника с трубчатыми мембранами по п. 1, в котором по меньшей мере одна из трубчатых мембран содержит просвет для приема технологической текучей среды и сосуд под давлением, располагающийся в просвете и предназначенный для приема вторичной технологической текучей среды.

12. Модуль теплообменника с трубчатыми мембранами по п. 1, в котором по меньшей мере одна из трубчатых мембран содержит просвет для приема технологической текучей среды, боковую стенку, охватывающую просвет, и опору в просвете, препятствующую деформации боковой стенки.

13. Модуль теплообменника с трубчатыми мембранами по п. 1, в котором трубчатые мембраны характеризуются наличием боковых стенок с отверстиями, диаметр которых лежит в диапазоне от 1 до 20 нм.

14. Модуль теплообменника с трубчатыми мембранами по п. 1, в котором впускной и выпускной коллекторы включают в себя корпуса коллекторов и заливку, скрепляющую трубчатые мембраны с корпусами коллекторов.

15. Модуль теплообменника с трубчатыми мембранами по п. 1, в котором впускной и выпускной коллекторы включают в себя:

корпуса коллекторов;

фитинги, соединяющие трубчатые мембраны с корпусами коллекторов; и

заливку, скрепляющую трубчатые мембраны, фитинги и корпуса коллекторов.

16. Модуль теплообменника с трубчатыми мембранами по п. 1, в котором трубчатые мембраны включают в себя по меньшей мере один из следующих материалов:

полипропилен;

полидиметилсилоксан;

политетрафторэтилен;

гидрофобный полисульфон; и

оксид графена.

17. Модуль теплообменника с трубчатыми мембранами по п. 1, в котором трубчатые мембраны выполнены газопроницаемыми и непроницаемыми для жидкостей.

18. Модуль теплообменника с трубчатыми мембранами по п. 1, в котором трубчатые мембраны выполнены проницаемыми для водяных паров и непроницаемыми для жидкой воды.

19. Модуль теплообменника с трубчатыми мембранами по п. 1, дополнительно содержащий экран для защиты трубчатых мембран.

20. Модуль теплообменника с трубчатыми мембранами по п. 1, дополнительно содержащий опору, сохраняющую заданные интервалы между трубчатыми мембранами.

21. Модульная система теплообменников, содержащая:

вышерасположенный модуль теплообменника с трубчатыми мембранами, содержащий:

вышерасположенный впускной коллектор для приема технологической текучей среды;

вышерасположенный выпускной коллектор;

множество вышерасположенных трубчатых мембран, соединяющих вышерасположенный впускной коллектор и вышерасположенный выпускной коллектор, причем вышерасположенные трубчатые мембраны обеспечивают протекание технологической текучей среды от вышерасположенного впускного коллектора к вышерасположенному выпускному коллектору;

нижерасположенный модуль теплообменника с трубчатыми мембранами, содержащий:

нижерасположенный впускной коллектор, выполненный с возможностью соединения с вышерасположенным выпускным коллектором вышерасположенного теплообменника с трубчатыми мембранами и приема технологической текучей среды из вышерасположенного выпускного коллектора;

нижерасположенный выпускной коллектор; и

множество нижерасположенных трубчатых мембран, соединяющих нижерасположенный впускной коллектор и нижерасположенный выпускной коллектор, причем нижерасположенные трубчатые мембраны обеспечивают протекание технологической текучей среды от нижерасположенного впускного коллектора к нижерасположенному выпускному коллектору.

22. Модульная система теплообменников по п. 21, в которой вышерасположенный выпускной коллектор вышерасположенного модуля теплообменника с трубчатыми мембранами и нижерасположенный впускной коллектор нижерасположенного модуля теплообменника с трубчатыми мембранами выполнены с возможностью образования смачиваемого отсека, в который поступает технологическая рабочая среда из вышерасположенных трубчатых мембран и который направляет технологическую рабочую среду в нижерасположенные трубчатые мембраны, причем нижерасположенный впускной коллектор соединен с вышерасположенным выпускным коллектором.

23. Модульная система теплообменников по п. 21, в которой вышерасположенный выпускной коллектор вышерасположенного теплообменника с трубчатыми мембранами и нижерасположенный впускной коллектор нижерасположенного теплообменника с трубчатыми мембранами снабжены фланцами, обращенными друг к другу, причем нижерасположенный впускной коллектор соединен с вышерасположенным выпускным коллектором.

24. Модульная система теплообменников по п. 21, в которой вышерасположенный выпускной коллектор вышерасположенного модуля теплообменника с трубчатыми мембранами и нижерасположенный впускной коллектор нижерасположенного модуля теплообменника с трубчатыми мембранами включают в себя выступ на одном из коллекторов из числа вышерасположенного выпускного коллектора и нижерасположенного выпускного коллектора, размеры которого позволяют ему войти в выемку на другом коллекторе из числа вышерасположенного выпускного коллектора и нижерасположенного выпускного коллектора.

25. Модульная система теплообменников по п. 21, в которой вышерасположенный выпускной коллектор вышерасположенного модуля теплообменника с трубчатыми мембранами и нижерасположенный впускной коллектор нижерасположенного модуля теплообменника с трубчатыми мембранами снабжены защелкивающимися элементами, образующими между ними защелкивающееся соединение.

26. Модульная система теплообменников по п. 21, дополнительно содержащая распределительную камеру, выполненную с возможностью соединения с вышерасположенным впускным коллектором вышерасположенного модуля теплообменника с трубчатыми мембранами и направления технологической текучей среды в вышерасположенный впускной коллектор.

27. Модульная система теплообменников по п. 26, в которой распределительная камера и вышерасположенный впускной коллектор образуют смачиваемый отсек, что обеспечивает возможность перетекания технологической текучей среды из распределительной камеры в вышерасположенные трубчатые мембраны через вышерасположенный впускной коллектор, причем распределительная камера соединена с вышерасположенным впускным коллектором.

28. Модульная система теплообменников по п. 27, дополнительно содержащая распределитель в смачиваемом отсеке, выполненный с возможностью распределения технологической текучей среды, поступающей в смачиваемый отсек, по вышерасположенным трубчатым мембранам вышерасположенного модуля теплообменника с трубчатыми мембранами.

29. Модульная система теплообменников по п. 21, дополнительно содержащая приемный манифольд для подачи технологической текучей среды и выпускной манифольд для сбора технологической текучей среды;

при этом вышерасположенный модуль теплообменника с трубчатыми мембранами включает в себя первый и второй вышерасположенные модули теплообменников с трубчатыми мембранами, соединенные с приемным манифольдом;

при этом нижерасположенный теплообменник с трубчатыми мембранами включает в себя первый и второй нижерасположенные теплообменники с трубчатыми мембранами, соединенные с выпускным манифольдом;

при этом первый вышерасположенный и первый нижерасположенный модули теплообменников с трубчатыми мембранами последовательно соединены друг с другом и обеспечивают возможность протекания технологической текучей среды от приемного манифольда в направлении выпускного манифольда по первой траектории движения потока; и

при этом второй вышерасположенный и второй нижерасположенный модули теплообменников с трубчатыми мембранами последовательно соединены друг с другом и обеспечивают возможность протекания технологической текучей среды от приемного манифольда в направлении выпускного манифольда по второй траектории движения потока параллельно первой траектории движения потока.

30. Модульная система теплообменников по п. 21, в которой вышерасположенный и нижерасположенный модули теплообменников с трубчатыми мембранами включают в себя опоры, сохраняющие заданные интервалы между трубчатыми мембранами.

31. Модульная система теплообменников по п. 30, дополнительно содержащая опорный элемент, соединяющий по меньшей мере одну из опор по меньшей мере с одним из следующих элементов:

вышерасположенным впускным коллектором;

нижерасположенным впускным коллектором;

вышерасположенным выпускным коллектором;

нижерасположенным выпускным коллектором;

трубопроводом;

экраном; и

стенкой.

32. Модульная система теплообменников по п. 21, дополнительно содержащая генератор воздушного потока, создающего воздушный поток в направлении вышерасположенных и нижерасположенных трубчатых мембран.

33. Модульная система теплообменников по п. 21, в которой нижерасположенный впускной коллектор нижерасположенного модуля теплообменника с трубчатыми мембранами выполнен с возможностью соединения с возможностью съема с вышерасположенным выпускным коллектором вышерасположенного модуля теплообменника с трубчатыми мембранами.

34. Модульная система теплообменников по п. 21, в которой вышерасположенный выпускной коллектор включает в себя первый корпус коллектора и заливку, скрепляющую вышерасположенные трубчатые мембраны с первым корпусом коллектора, и

в которой нижерасположенный впускной коллектор включает в себя второй корпус коллектора и заливку, скрепляющую нижерасположенные трубчатые мембраны со вторым корпусом коллектора.

35. Модульная система теплообменников по п. 21, дополнительно содержащая прокладку между вышерасположенным выпускным коллектором и нижерасположенным впускным коллектором.

36. Модульная система теплообменников по п. 21, дополнительно содержащая крепежные детали для скрепления вышерасположенного выпускного коллектора и нижерасположенного впускного коллектора.

37. Модуль теплообменника с трубчатыми мембранами, содержащий:

впускной коллектор для приема технологической текучей среды;

выпускной коллектор; и

множество трубчатых мембран, соединенных с впускным коллектором и выпускным коллектором, что обеспечивает протекание технологической текучей среды от впускного коллектора к выпускному коллектору;

при этом трубчатые мембраны образуют извилистые траектории для технологической текучей среды по мере прохождения этой технологической текучей среды от впускного коллектора до выпускного коллектора.

38. Модуль теплообменника с трубчатыми мембранами по п. 37, в котором каждая трубчатая мембрана включает в себя прямые участки и изогнутые участки, соединяющие прямые участки.

39. Модуль теплообменника с трубчатыми мембранами по п. 37, дополнительно содержащий опору, сохраняющую заданные интервалы между изогнутыми участками трубчатых мембран.

40. Модуль теплообменника с трубчатыми мембранами по п. 37, в котором извилистая траектория включает в себя множество изменений направления движения технологической текучей среды.

41. Модуль теплообменника с трубчатыми мембранами по п. 37, в котором трубчатые мембраны включают в себя первые участки трубчатых мембран и вторые участки трубчатых мембран, которые проходят перпендикулярно друг другу и формируют по меньшей мере часть извилистой траектории для технологической текучей среды по мере протекания этой технологической текучей среды от впускного коллектора к выпускному коллектору.

42. Модуль теплообменника с трубчатыми мембранами по п. 37, в котором извилистая траектория включает в себя множество изменений направления движения технологической текучей среды, составляющих 95 градусов или меньше.

43. Модуль теплообменника с трубчатыми мембранами по п. 37, в котором трубчатые мембраны включают в себя первое множество трубчатых мембран и второе множество трубчатых мембран, причем этот модуль теплообменника с трубчатыми мембранами дополнительно содержит

промежуточный коллектор, соединяющий первое и второе множества трубчатых мембран и перенаправляющий технологическую текучую среду из первого множества трубчатых мембран во второе множество трубчатых мембран.

44. Модуль теплообменника с трубчатыми мембранами по п. 37, в котором трубчатые мембраны включают в себя первое, второе и третье множества трубчатых мембран, причем этот модуль теплообменника с трубчатыми мембранами дополнительно содержит:

первый промежуточный коллектор, соединяющий первое и второе множества трубчатых мембран и перенаправляющий технологическую текучую среду из первого множества трубчатых мембран во второе множество трубчатых мембран; и

второй промежуточный коллектор, соединяющий второе и третье множества трубчатых мембран и перенаправляющий технологическую текучую среду из второго множества трубчатых мембран в третье множество трубчатых мембран.

45. Модуль теплообменника с трубчатыми мембранами по п. 37, в котором по меньшей мере одна из трубчатых мембран включает в себя просвет для приема технологической текучей среды, причем в просвете по меньшей мере одной трубчатой мембраны располагается опора, включающая в себя опорный элемент.

46. Модуль теплообменника с трубчатыми мембранами по п. 37, дополнительно содержащий опору, которая входит в контакт с трубчатыми мембранами, обеспечивая сохранение заданного интервала между трубчатыми мембранами;

при этом указанная опора является внешней по отношению к трубчатыми мембранам.

47. Модуль теплообменника с трубчатыми мембранами по п. 37, дополнительно содержащий вентилятор, выполненный с возможностью генерирования воздушного потока в направлении трубчатых мембран.

48. Система подготовки воздуха, содержащая:

наружную конструкцию;

теплообменник с трубчатыми мембранами, содержащий множество трубчатых мембран в наружной конструкции;

вентилятор, выполненный с возможностью генерирования воздушного потока в наружной конструкции в направлении трубчатых мембран;

источник технологической текучей среды, выполненный с возможностью подачи или первой технологической текучей среды, или второй технологической текучей среды в теплообменник с трубчатыми мембранами, причем вторая технологическая текучая среда содержит жидкий осушитель; и

контроллер, функционально соединений с вентилятором и источником технологической текучей среды;

при этом контроллер предусматривает первый режим работы, в котором источник технологической текучей среды подает первую технологическую текучую среду в теплообменник с трубчатыми мембранами с целью обеспечения теплообмена между первой технологической текучей средой и воздушным потоком; и

контроллер предусматривает второй режим работы, в котором источник технологической текучей среды подает вторую технологическую текучую среду, содержащую жидкий осушитель, в теплообменник с трубчатыми мембранами с целью удаления влаги из воздушного потока.

49. Система подготовки воздуха по п. 48, в которой источник подачи технологической текучей среды включает в себя впускной патрубок для технологической текучей среды, впускной клапан, выпускной патрубок для технологической текучей среды и выпускной клапан и

в которой контроллер выполнен с возможностью переключения из первого режима во второй режим, предусматривающий срабатывание впускного и выпускного клапанов на слив первой технологической рабочей среды из теплообменника с трубчатыми мембранами и заполнение теплообменника с трубчатыми мембранами второй технологической текучей средой.

50. Система подготовки воздуха по п. 48, в которой источник подачи технологической текучей среды включает в себя впускной патрубок для технологической текучей среды, впускной клапан, выпускной патрубок для технологической текучей среды и выпускной клапан и

в которой контроллер выполнен с возможностью переключения из второго режима в первый режим, предусматривающий срабатывание впускного и выпускного клапанов на слив второй технологической рабочей среды из теплообменника с трубчатыми мембранами и заполнение теплообменника с трубчатыми мембранами первой технологической текучей средой.

51. Система подготовки воздуха по п. 48, в которой источник подачи технологической текучей среды включает в себя насос, функционально соединенный с контроллером, причем контроллер во втором режиме работы выполнен с возможностью инициирования перекачки насосом второй технологической текучей среды, содержащей жидкий осушитель, в теплообменник с трубчатыми мембранами.

52. Система подготовки воздуха по п. 48, в которой контроллер в первом режиме работы инициирует подачу источником технологической текучей среды холодной технологической текучей среды для снижения температуры воздушного потока и повышения влажности воздушного потока.

53. Система подготовки воздуха по п. 52, в которой контроллер предусматривает третий режим работы, в котором контроллер инициирует подачу источником технологической текучей среды нагретой третьей технологической текучей среды, температура которой превышает температуру первой технологической текучей среды, с целью повышения влажности воздушного потока.

54. Система подготовки воздуха по п. 48, дополнительно содержащая датчик, выполненный с возможностью детектирования определенного параметра, причем с датчиком функционально соединен контроллер, выполненный с возможностью переключения между первым режимом и вторым режимом на основании по меньшей мере частично детектированного параметра.

55. Система подготовки воздуха по п. 48, в которой контроллер включает в себя схему связи, выполненную с возможностью приема команды с удаленного вычислительного устройства, причем контроллер выполнен с возможностью переключения между первым режимом и вторым режимом по факту приема этой команды.

56. Система подготовки воздуха по п. 48, в которой наружная конструкция включает в себя воздухозаборник, воздуховыпускное отверстие и впуск рециркуляционного воздуха, причем вентилятор выполнен с возможностью направления воздушного потока из воздуховыпускного отверстия на впуск рециркуляционного воздуха; и

смесительную камеру в наружной конструкции, выполненную с возможностью смешивания воздуха, поступающего из воздухозаборника и впуска рециркуляционного воздуха.

57. Система подготовки воздуха по п. 48, дополнительно содержащая воздушный фильтр, расположенный выше по потоку от теплообменника с трубчатыми мембранами.

58. Система подготовки воздуха по п. 48, дополнительно содержащая вспомогательный испарительный теплообменник, расположенный выше по потоку от теплообменника с трубчатыми мембранами.

59. Система подготовки воздуха по п. 48, в которой трубчатые мембраны обеспечивают массообмен между первой или второй технологической текучей средой в трубчатых мембранах и воздухом в наружной конструкции.

60. Теплообменник с трубчатыми мембранами, содержащий:

вентилятор;

впускной коллектор для приема технологической текучей среды;

выпускной коллектор; и

множество трубчатых мембран, соединенных с впускным коллектором и выпускным коллектором, что обеспечивает протекание технологической текучей среды от впускного коллектора к выпускному коллектору; при этом:

трубчатые мембраны проходят вокруг вентилятора; и

трубчатые мембраны образуют нелинейную траекторию для технологической текучей среды по мере протекания этой технологической текучей среды от впускного коллектора к выпускному коллектору.

61. Теплообменник с трубчатыми мембранами по п. 60, в котором трубчатые мембраны включают в себя первые участки трубчатых мембран и вторые участки трубчатых мембран, которые проходят перпендикулярно друг другу и образуют по меньшей мере часть нелинейной траектории для технологической текучей среды по мере протекания этой технологической текучей среды от впускного коллектора к выпускному коллектору.

62. Теплообменник с трубчатыми мембранами по п. 60, в котором трубчатые мембраны включают в себя группы трубчатых мембран, причем этот теплообменник с трубчатыми мембранами дополнительно содержит

промежуточный коллектор, соединяющий группы трубчатых мембран.

63. Теплообменник с трубчатыми мембранами по п. 62, в котором группы трубчатых мембран включают в себя группы прямолинейных трубчатых мембран.

64. Теплообменник с трубчатыми мембранами по п. 62, в котором промежуточный коллектор содержит множество промежуточных коллекторов.

65. Теплообменник с трубчатыми мембранами по п. 60, в котором трубчатые мембраны характеризуются дугообразной формой и проходят вокруг вентилятора.

66. Теплообменник с трубчатыми мембранами по п. 60, в котором трубчатые мембраны включают в себя спиралевидные участки.

Документы, цитированные в отчете о поиске Патент 2025 года RU2838610C1

US 20150233589 A1, 20.08.2015
US 20150122715 A1, 07.05.2015
US 20130206658 A1, 15.08.2013
US 20110283720 A1, 24.11.2011
Мембранный теплообменник 2019
  • Зольников Александр Николаевич
RU2711860C1

RU 2 838 610 C1

Авторы

Русле, Йоханн, Лилиан

Эголф, Кевин Эллсворт

Литвак, Элли М.

Даты

2025-04-21Публикация

2021-12-03Подача