Изобретение относится к области строительства, в частности к конструкции и технологии монтажа натяжных потолков.
Для крепления к стенам полотна натяжного потолка, выполненного из эластичного упрочненного пленочного материала, предназначены разнообразные по конструкции крепежные средства.
Известны (см. например, RU 2040651 C1, опубл. 25.07.1995, RU 2244077 C1, опубл.10.01.2005, RU 2192523 C1, опубл. 10.11.2002, WO 2011/010020 A1, опубл. 27.01.2011) гарпунные системы крепления натяжного потолка, при работе с которыми предварительно раскроенное полотно закрепляют по периметру стен посредством гарпуна, соединенного с полотном по его периметру методом сварки током высоких частот (ТВЧ) и входящего в зацепление с профильным элементом, установленным по периметру стен. Недостатками данных систем являются:
- необходимость скрепления полотна с гарпуном методом сварного шва ТВЧ, что является трудоемким процессом, что влечет за собой высокие затраты и в итоге высокую цену готового изделия;
- невозможность восстановления сварного шва при его повреждении на объекте установки;
- сложность упаковки готового изделия (потолка) из-за наличия гарпуна (возможны заломы и складки на полотне).
Известна (см. RU 88371 U1, опубл. 10.11.2009) штапиковая (клиновая) система крепления натяжного потолка, основанная на создании узлов крепления натяжного потолка в виде системы фасонных профилей, которая обеспечивает более простой и легкий способ крепления натяжных потолков, не требующий дополнительных удерживающих и декоративных элементов, и расширение его функциональных возможностей за счет обеспечения крепления устройства к стене или потолку, к поверхностям сложной конфигурации, в том числе и к поверхностям сферических форм помещений.
Недостатками данной системы являются:
- сложная система натяжения;
- неравномерность крепления полотна;
- возможность повреждения полотна фасонными профилями;
- отсутствие готового изделия, что сильно увеличивает время установки натяжного потолка таким методом и увеличивает его стоимость из-за большого объема работ специалистов.
Известен (см. EA 003545 B1, опубл. 26.06.2003) профиль для декоративных стенок из натянутого полотна, содержащий желоб, ограниченный двумя боковыми стенками и стенкой основания и предназначенный для размещения в нем кромки натянутого полотна после его ввода в профиль. Профиль выполнен в виде единой детали и содержит закрывающий элемент для удерживания кромки натянутого полотна в указанном желобе, причем указанный закрывающий элемент изготовлен из материала, имеющего эластичность, отличную от эластичности материала, образующего стенки желоба.
Известна (см. US 2021/0002905 A1, опубл. 07.01.2021) система крепления ткани, включающая в себя монтажный профиль, приспособленный для крепления к стене или потолку, и элемент удержания ткани, взаимодействующий с монтажным профилем и приспособленный для удержания края ткани. Первая и вторая опорные поверхности монтажного профиля взаимно сужены в таком направлении сужения, что упругое смещение первой и второй ножек элемента удержания ткани заставляет первую и вторую ножку скользить вдоль первой и второй опорных поверхностей соответственно, чтобы тем самым сместить элемент удержания ткани в направлении, противоположном направлению сужения и в направлении натяжения ткани, поперечном продольному направлению монтажного профиля, чтобы растянуть ткань в ее удерживаемом положении. Данное решение выбрано в качестве прототипа заявленного изобретения.
Недостатком прототипа является необходимость предварительного введения и удержания края полотна в профиле перед установкой закладной детали, что сильно увеличивает время установки натяжного потолка таким методом и увеличивает его стоимость из-за большого объема работ, а также может привести к неравномерному натяжению полотна.
Задача предлагаемого изобретения – создать эффективный метод крепления полотна натяжного потолка к профилю посредством фиксирующей гибкой вставки из полимера, закрепляющей полотно в П-образной камере профиля по типу «замка».
Система крепления полотна натяжного потолка включает алюминиевый профиль и закладной профиль. Алюминиевый профиль, образующий профилированную направляющую конструкцию, содержит фиксирующий паз. Закладной профиль, закрепленный по периметру полотна натяжного потолка, съемно устанавливается в алюминиевый профиль. Закладной профиль включает направляющую для фиксирующего паза алюминиевого профиля, располагаемую в фиксирующем пазу алюминиевого профиля, когда закладной профиль находится в алюминиевом профиле. Причем закладной профиль состоит из С-образной и круглой частей, между которыми зажимается полотно натяжного потолка путем защелкивания круглой части внутрь С-образной части.
Техническим результатом заявленного решения является:
- обеспечение прочного удержания закладного профиля натяжного потолка в алюминиевом профиле;
- упрощение процесса установки полотна натяжного потолка.
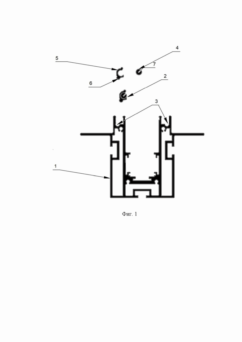
На Фиг. 1 представлен схематичный вид элементов предлагаемой системы.
На Фиг. 2 представлен схематичный вид полотна натяжного потолка с установленным закладным профилем.
На Фиг. 3 и 4 представлен схематичный вид процесса установки закладного профиля на полотно.
На Фиг. 5 и 6 представлен схематичный вид процесса установки полотна с закладным профилем в алюминиевый профиль.
Предлагаемая система крепления полотна натяжного потолка содержит алюминиевый 1 профиль, закрепляемый по периметру верхней части стен помещения и образующий профилированную направляющую конструкцию, закладной 2 профиль (предпочтительно изготовленный из ПВХ), выполненный с возможностью съемной установки внутри алюминиевого 1 профиля, и полотно 8 натяжного потолка.
Закладной 2 профиль состоит из двух частей: С-образной 5 и круглой 4 с прорезью 7 для ориентации и установки в алюминиевый профиль. Зажатие полотна 8 происходит между С-образной 5 и круглой 4 частью закладного 2 профиля. Для этого край полотна 8 размещают поверх С-образной 5 части закладного 2 профиля, после чего сверху размещают круглую 4 часть закладного 2 профиля и, путем надавливания, защелкивают круглую 4 часть внутрь С-образной 5 части, зажимая тем самым полотно 8 между С-образной 5 и круглой 4 частью закладного 2 профиля. В прорезь 7 круглой 4 части может быть вставлен шпатель для облегчения процесса установки закладного 2 профиля в алюминиевый 1 профиль.
Закладной 2 профиль имеет форму, дополняющую форму фиксирующего 3 паза алюминиевого 1 профиля.
Изготовление закладного 2 профиля из гибкого или полужесткого ПВХ облегчает защелкивание круглой 4 части внутри С-образной 5 части, облегчает вставку закладного 2 профиля в алюминиевый 1 профиль, а также его удаление с помощью подходящего инструмента, при этом обеспечивая достаточное сопротивление жесткости, чтобы надежно зафиксировать закладной 2 профиль в алюминиевом 1 профиле.
Закладной 2 профиль позиционируется таким образом, что направляющая 6 для фиксирующего паза располагается напротив фиксирующего 3 паза алюминиевого 1 профиля. После чего закладной 2 профиль путем упругой посадки вставляется («защелкивается») в алюминиевый 1 профиль. При этом фиксирующий 3 паз алюминиевого 1 профиля и направляющая 6 для фиксирующего паза закладного 2 профиля имеют такую форму, чтобы препятствовать выскальзыванию закладного 2 профиля из алюминиевого 1 профиля при возникновении силы натяжения полотна 8. Любое перемещение между закладным 2 профилем и алюминиевым 1 профилем таким образом предотвращается, и закладной 2 профиль удерживается в алюминиевом 1 профиле. В качестве примера, фиксирующий 3 паз может иметь С-образную форму, а направляющая 6 для фиксирующего паза – круглую форму. В другом случае и фиксирующий 3 паз и направляющая 6 для фиксирующего паза могут иметь прямоугольную форму.
Предлагаемое изобретение направлено на облегчение установки полотна натяжного потолка и позволяет устанавливать как тканые полотна так и полотна ПВХ.
Предлагаемое изобретение позволяет, не прилагая больших усилий, защелкнуть закладной гибкий профиль на полотне и установить («защелкнуть») получившуюся конструкцию в алюминиевый профиль.
Данный закладной гибкий профиль одинаково удобно использовать как с полотном из материала ПВХ, так и с тканевыми материалами для натяжных потолков. Нет необходимости в применении избыточных физических усилий при монтаже полотна, которые требуются при монтаже тканевых полотен натяжного потолка в узлах крепления демпферного типа.
Преимущества:
- скрытое крепление полотна, не загораживает светильник, который может размещаться в алюминиевом профиле;
- легкость крепления, когда полотно уже защелкнуто в крепеж, его проще закрепить в профиле, чем отдельно разместить ткань в профиле и потом закрепить в профиле;
- ткань фиксируется в закладной детали за счет подбора размеров ее частей, те за счет плотного прилегания;
- гибкий материал закладного профиля позволяет закреплять закладной профиль большой длины («защелкивать» в алюминиевом профиле по частям, последовательно);
- закладной профиль крепится по всему периметру полотна, что исключает провисание полотна;
- закладной профиль состоит из двух отдельных частей, поэтому полотно между ними легко закреплять;
- поскольку закладной профиль «защелкивается» отдельно на полотне, а потом уже вставляется в профиль, размер полотна можно подобрать точнее, что обеспечивает повышение качества натяжения;
- в предлагаемый закладной профиль можно закреплять полотно любого типа: и ткань, и ПВХ, что обеспечивает универсальность применения;
- закладной профиль является многоразовым.
Монтаж натяжного потолка производится в следующем порядке.
Измеряется уровень существующего потолка. Отбивается горизонтальная линия по уровню нижнего края натяжного потолка. Алюминиевый 1 профиль жестко закрепляется на стенах помещения по его периметру по отбитой линии посредством крепежных элементов, устанавливаемых в монтажные отверстия.
По периметру предварительно раскроенного полотна 8 натяжного потолка «защелкивается» закладной 2 профиль. Для закрепления полотна 8 каждая часть закладного 2 профиля вставляется в алюминиевый 1 профиль. Полотно 8 натяжного потолка нагревается тепловой пушкой до температуры 50-70°С и натягивается.
Закладной 2 профиль при повороте на определенный угол вставляется в фиксирующий 3 паз алюминиевого 1 профиля и обеспечивает надежную фиксацию полотна 8 натяжного потолка и устойчивость к динамическим нагрузкам, возникающим при натяжении полотна 8. При этом закладной 2 профиль и алюминиевый 1 профиль имеют такую форму, что вставить закладной 2 профиль в алюминиевый 1 профиль возможно только под вышеупомянутым углом.
Изобретение относится к области строительства, в частности к конструкции и технологии монтажа натяжных потолков. Техническим результатом является обеспечение прочного удержания закладного профиля натяжного потолка в алюминиевом профиле и упрощение процесса установки полотна натяжного потолка. Система крепления полотна натяжного потолка включает алюминиевый профиль и закладной профиль. Алюминиевый профиль, образующий профилированную направляющую конструкцию, содержит фиксирующий паз. Закладной профиль, закрепленный по периметру полотна натяжного потолка, съемно устанавливается в алюминиевый профиль. Закладной профиль включает направляющую для фиксирующего паза алюминиевого профиля, располагаемую в фиксирующем пазу алюминиевого профиля, когда закладной профиль находится в алюминиевом профиле. Причем закладной профиль состоит из С-образной и круглой частей, между которыми зажимается полотно натяжного потолка путем защелкивания круглой части внутрь С-образной части. 2 з.п. ф-лы, 6 ил.
1. Система крепления полотна натяжного потолка, включающая:
алюминиевый профиль, образующий профилированную направляющую конструкцию и содержащий фиксирующий паз, и
закладной профиль, закрепляемый по периметру полотна натяжного потолка, съемно устанавливаемый в алюминиевый профиль и включающий направляющую для фиксирующего паза алюминиевого профиля, располагаемую в фиксирующем пазу алюминиевого профиля, когда закладной профиль находится в алюминиевом профиле, причем
закладной профиль состоит из С-образной и круглой частей, между которыми зажимается полотно натяжного потолка путем защелкивания круглой части внутрь С-образной части.
2. Система крепления полотна натяжного потолка по п. 1, отличающаяся тем, что закладной профиль изготовлен из гибкого или полужесткого ПВХ.
3. Система крепления полотна натяжного потолка по п. 1, отличающаяся тем, что фиксирующий паз алюминиевого профиля имеет С-образную форму, а направляющая для фиксирующего паза алюминиевого профиля имеет круглую форму.
| US 20210002905 A1, 07.01.2021 | |||
| EP 3482011 B1, 17.06.2020 | |||
| US 10202776 B1, 12.02.2019 | |||
| ЗВУКОВОЙ АЭРАТОР ПУЛЬПЫ | 0 |
|
SU194021A1 |
| Машина для плетения проволочной сети | 1925 |
|
SU3545A1 |
Авторы
Даты
2025-04-22—Публикация
2024-12-20—Подача