Изобретение относится к низкочастотным громкоговорителям и может быть использовано для реализации широкополосных и многоканальных акустических систем.
В качестве прототипа выбран громкоговоритель, содержащий корпус, разделенный поперечной перегородкой на две полости, при этом первая полость соединена с внешней средой фазоинвертором, а во второй полости установлен динамик, диффузор которого расположен на одном уровне с корпусом и выходит во внешнее пространство, при этом полости объединены между собой посредством вертикального пассивного излучателя [CN 202282857 U, дата публикации: 20.06.2012 г.].
Недостатком прототипа является слишком широкий частотный диапазон излучаемых громкоговорителем звуковых волн ввиду неоптимальной конструкции внутреннего пространства корпуса. Вследствие широкого частотного диапазона в конструкции громкоговорителя необходимо применение активного или пассивного фильтра высокого порядка, настроенного на необходимую для сужения диапазона частоту. Создание такого фильтра конструкционно невозможно реализовать в силу технологических ограничений его создания, а также ввиду габаритных пределов внутреннего пространства громкоговорителя. При этом применение упомянутых фильтров не позволяет добиться требуемой крутизны наклона амплитудно-частотной характеристики в заданном рабочем диапазоне. Также широкий диапазон частот сильно усложняет процесс синхронизации работы громкоговорителя с широкополосной акустической системой, ввиду чего либо практически невозможно использование громкоговорителя совместно с упомянутой системой, либо требуется вмешательство в конструкцию громкоговорителя и акустической системы. Совокупно вышеописанные недостатки ухудшают распространение звуковых волн во внешнее пространство.
Также в качестве недостатка можно выделить ухудшение качества распространения звуковых волн ввиду разнонаправленного выполнения фазоинвертора с диффузором динамика. Так, при использовании громкоговорителя требуется расположение его в пространстве таким образом, чтобы выход фазоинвертора не был перекрыт и имел свободное сообщение с окружающей средой. Таким образом, невозможна установка громкоговорителя, к примеру, в упор к стене или в замкнутое пространство между шкафами. Также следует отметить, что выполнение диффузора динамика с выходом во внешнее пространство обеспечивает возможность точной локализации, т.е. определения точного местоположения громкоговорителя в пространстве.
Техническая проблема, на решение которой направлено изобретение, заключается в слишком широком частотном диапазоне излучаемых громкоговорителем звуковых волн.
Технический результат, на достижение которого направлено изобретение, заключается в ограничении частотного диапазона излучаемых громкоговорителем звуковых волн для повышения качества его низкочастотного звукового излучения.
Дополнительный технический результат, на достижение которого направлено изобретение, заключается в исключении возможности локализации местоположения громкоговорителя в пространстве.
Сущность изобретения заключается в следующем.
Громкоговоритель содержит корпус, разделенный поперечной перегородкой на две полости, при этом:
– первая полость соединена с внешней средой фазоинвертором;
– во второй полости на поверхности поперечной перегородки выполнен короб низкочастотного динамика, а сама полость разделена продольной перегородкой на два равных по объему отсека, при этом короб низкочастотного динамика установлен таким образом, чтобы торцевая поверхность продольной перегородки находилась напротив диффузора низкочастотного динамика, при этом:
– внутреннее пространство отсеков соединено между собой через зазор, образованный между торцевой поверхностью продольной перегородки и поверхностью диффузора динамика;
– внутреннее пространство одного из отсеков и внутреннее пространство короба низкочастотного динамика соединены с первой полостью цилиндрическими трубами, установленными в поперечную перегородку.
Громкоговоритель может выполнять функцию пассивного сабвуфера при его использовании с широкополосной акустической системой. Громкоговоритель содержит корпус, разделенный поперечной перегородкой на две полости.
Первая полость характеризуется установленным в стенку корпуса фазоинвертором и обеспечивает возможность соединения внутреннего пространства корпуса с внешней средой. Фазоинвертор обеспечивает возможность задержки распространения звуковых волн из корпуса во внешнюю среду. Фазоинвертор может быть представлен цилиндрической трубой и может быть расположен на боковой или задней стороне корпуса. Дополнительно, для исключения возможности локализации местоположения громкоговорителя в пространстве, фазоинвертор может быть расположен на лицевой стороне корпуса. В рамках настоящего изобретения под локализацией понимается звуковое обнаружение пользователем местоположения громкоговорителя в пространстве.
Вторая полость характеризуется установленным на поверхности поперечной перегородки коробом низкочастотного динамика. Короб содержит установленный в его стенке низкочастотный динамик, обеспечивающий возможность генерации низкочастотных звуковых волн, распространяющихся внутри корпуса. Магнитный элемент динамика направлен внутрь короба, а диффузор – наружу. Короб может быть образован стенками, соединяющими поверхность поперечной перегородки с внутренними поверхностями корпуса.
Вторая полость разделена продольной перегородкой на два равных по объему отсека, при этом короб низкочастотного динамика установлен таким образом, чтобы торцевая поверхность продольной перегородки находилась напротив диффузора низкочастотного динамика. Продольная перегородка при этом проходит от поверхности поперечной перегородки до внутренней поверхности корпуса громкоговорителя. Объем полости короба низкочастотного динамика при этом может составлять от 42 до 43 % объема второй полости.
Внутреннее пространство короба низкочастотного динамика может быть соединено с первой полостью одной или преимущественно двумя цилиндрическими трубами равного диаметра, установленными в поперечной перегородке. Объем полости короба низкочастотного динамика при этом может составлять от 60 до 61 % объема первой полости.
Цилиндрические трубы, соединяющие внутренние пространства короба низкочастотного динамика и первой полости, могут быть установлены в поперечной перегородке таким образом, что длина каждой из труб, находящейся в первой полости, составляет от 80 до 85 % высоты этой полости, при этом в полости короба они могут быть установлены на одном уровне с поверхностью перегородки. Для дополнительного ограничения частотного диапазона звуковых волн в случае использования двух цилиндрических труб равного диаметра одна из них может быть заполнена акустическим поролоном.
Внутреннее пространство отсеков второй полости соединено между собой через зазор, образованный между торцевой поверхностью продольной перегородки и поверхностью диффузора низкочастотного динамика. Разделенные таким образом отсеки обеспечивают возможность оптимального распределения массы воздуха внутри полости, тем самым повышая акустическое сопротивление внутри второй полости за счет оптимального количества воздушной среды. При такой конструкции громкоговорителя один из полученных отсеков выполнен глухим, что подразумевает отсутствие дополнительных соединений его внутреннего пространства с первой полостью, внутренним пространством короба или с внешней средой, что, в свою очередь, обеспечивает возможность создания оптимального объема внутренней полости, а также многократного отражения и наложения звуковых волн. При этом внутреннее пространство второго отсека соединено по меньшей мере одной цилиндрической трубой с первой полостью, что обеспечивает возможность распространения звуковых волн от динамика через фазоинвертор во внешнюю среду. Объем второго отсека при этом может составлять от 28 до 29 % от объема первой полости. Цилиндрическая труба, соединяющая внутреннее пространство отсека и первую полость, может быть установлена в поперечной перегородке таким образом, что ее длина, находящаяся в первой полости, составляет от 60 до 65 % высоты этой полости, а ее длина, находящаяся в отсеке, составляет от 80 до 85 % высоты этого отсека.
Цилиндрические трубы, соединяющие первую полость с внутренними пространствами отсека и короба низкочастотного динамика, могут быть выполнены из любого материала. Для дополнительного ограничения частотного диапазона излучаемых громкоговорителем звуковых волн упомянутые цилиндрические трубы могут быть выполнены из поливинилхлорида (ПВХ).
Корпус громкоговорителя и короб низкочастотного динамика могут быть выполнены из композиционного или полимерного материала, древесины (доски или панели), или из древесностружечной или древесноволокнистой плиты, такой как МДФ, ЛДСП и т.д.
Контактная панель обеспечивает возможность подключения громкоговорителя к широкополосной акустической системе и содержит разъемы для подключения. Контактная панель может быть расположена на задней внешней поверхности корпуса громкоговорителя на одном уровне с магнитом динамика. Разъемы для подключения могут быть представлены разъемами XLR, TRS, SpeakON, DIN, RCA или другими типами электрических разъемов.
Изобретение может быть выполнено из известных материалов с помощью известных средств, что свидетельствует о его соответствии критерию патентоспособности «промышленная применимость».
Изобретение характеризуется ранее неизвестной из уровня техники совокупностью существенных признаков, характеризующих разработанный громкоговоритель, в котором благодаря разделению внутреннего пространства корпуса поперечной перегородкой на полости, а также верхней полости на отсеки продольной перегородкой достигается оптимальный объем воздуха внутри корпуса громкоговорителя. Таким образом, достигается улучшение акустического сопротивления среды внутри корпуса громкоговорителя. При этом связь между верхней и нижней полостями посредством цилиндрической трубы, а также связь внутреннего пространства короба с нижней полостью посредством цилиндрических труб обеспечивают оптимальное распределение воздуха внутри корпуса громкоговорителя, что улучшает акустическое сопротивление среды внутри корпуса.
Благодаря этому обеспечивается достижение технического результата, заключающегося в ограничении частотного диапазона излучаемых громкоговорителем звуковых волн для повышения качества его низкочастотного звукового излучения.
Изобретение обладает ранее неизвестной из уровня техники совокупностью существенных признаков, что свидетельствует о его соответствии критерию патентоспособности «новизна».
Из уровня техники не известен громкоговоритель, характеризующийся указанной совокупностью существенных признаков, а также не известен достигаемый изобретением технический результат.
Ввиду этого изобретение соответствует критерию патентоспособности «изобретательский уровень».
Изобретение поясняется следующими фигурами.
Фиг. 1 – Громкоговоритель, вид спереди.
Фиг. 2 – Громкоговоритель, вид сзади.
Фиг. 3 – Громкоговоритель, продольный разрез.
Фиг. 4 – Громкоговоритель, изометрия.
Фиг. 5 – Амплитудно-частотная характеристика громкоговорителя.
Для иллюстрации возможности реализации и более полного понимания сути изобретения ниже представлен вариант его осуществления, который может быть любым образом изменен или дополнен, при этом настоящее изобретение ни в коем случае не ограничивается представленным вариантом.
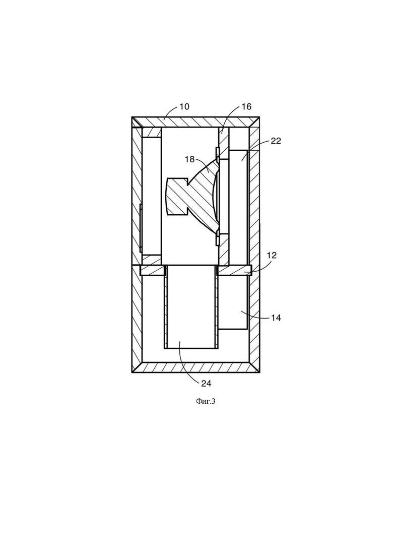
Громкоговоритель содержит корпус 10, разделенный поперечной горизонтальной перегородкой 12 на две полости: нижнюю (первую) и верхнюю (вторую). Нижняя полость соединена с внешней средой фазоинвертором 14, выполненным в виде цилиндрической трубы на лицевой стороне корпуса 10. В верхней полости на поверхности поперечной перегородки 12 выполнен короб 16 с установленным в его стенке низкочастотным динамиком 18. При этом верхняя полость разделена продольной перегородкой 20 на два равных по объему отсека, один из которых выполнен глухим, а второй соединен цилиндрической трубой 22 с нижней полостью. Продольная перегородка 20 проходит от поверхности поперечной перегородки 12 до внутренней поверхности корпуса 10 громкоговорителя. При этом внутренние пространства отсеков верхней полости соединены между собой через зазор, образованный торцевой поверхностью продольной перегородки 20 и поверхностью диффузора динамика 18. Короб 16 образован стенками, соединяющими поверхность поперечной перегородки 12 с внутренними поверхностями корпуса 10. При этом короб 16 установлен таким образом, чтобы торцевая поверхность продольной перегородки 20 находилась напротив диффузора динамика 18. Диффузор динамика 18 направлен в верхнюю полость, а магнитный элемент динамика 18 направлен во внутреннее пространство короба 16. Внутреннее пространство короба 16 соединено с нижней полостью посредством двух цилиндрических труб 24, одна из которых заполнена акустическим поролоном. При этом торцевые поверхности цилиндрических труб 24 установлены на одном уровне с поверхностью поперечной перегородки 12. Также на задней стороне корпуса 10 установлена контактная панель 26 с разъемами для подключения громкоговорителя к широкополосной акустической системе.
Громкоговоритель работает следующим образом.
Изобретение применяют в области звукоизлучающих систем, установленных в больших общественных пространствах. Для этого громкоговоритель, применяемый в качестве пассивного сабвуфера, посредством контактной панели 26 подключают к широкополосной акустической системе, включающей широкополосные колонки с аудиомикшером. При подаче сигнала на контактную панель 26 динамик 18 генерирует звуковые волны, распространяющиеся внутри корпуса 10. Первая часть звуковых волн попадает в глухой отсек верхней полости, где они многократно отражаются, после чего накладываются друг на друга и через зазор между диффузором динамика 18 и перегородкой 20 попадают в отсек, соединенный с нижней полостью. При этом еще часть звуковых волн излучается корпусом 10. Вторая часть звуковых волн попадает в отсек, соединенный с нижней полостью, где смешивается со звуковыми волнами из глухого отсека и через трубу 22, они попадают в нижнюю полость. В нижней полости одна часть звуковых волн попадает в короб 16 через трубы 24, а другая часть задерживается фазоинвертором 14 и выходит в окружающее пространство.
Благодаря конструкции и полученным объемам внутреннего пространства корпуса 10, а также связи внутренних полостей корпуса 10 посредством трубы 22 достигается оптимальное соотношение массы воздуха и акустического сопротивления внутри корпуса 10. Данное соотношение позволяет получить диапазон изучаемого звука от 50 до 200 Герц, при этом после 200 Герц происходит резкий спад, что улучшает работу упомянутого громкоговорителя совместно с широкополосными акустическими системами, излучающими звук в большем диапазоне частот. Наглядная визуализация диапазона частот, в которых работает громкоговоритель, представлена на Фиг. 5. При этом выполнение динамика 18 внутри корпуса 10 таким образом, что диффузор динамика 18 не имеет выхода в окружающее пространство, не позволяет пользователям определить его местоположение, делая его нелокализуемым в пространстве.
Таким образом, обеспечивается достижение технического результата, заключающегося в ограничении частотного диапазона излучаемых громкоговорителем звуковых волн для повышения качества его низкочастотного звукового излучения.
| название | год | авторы | номер документа |
|---|---|---|---|
| Акустическая система | 2019 |
|
RU2718126C1 |
| АКУСТИЧЕСКАЯ СИСТЕМА | 1991 |
|
RU2019063C1 |
| Акустическая система | 2020 |
|
RU2756167C1 |
| АКУСТИЧЕСКАЯ СИСТЕМА | 2007 |
|
RU2353072C1 |
| Шумопоглощающий экран энергетического отсека транспортного средства | 2024 |
|
RU2829838C1 |
| ФАЗОИНВЕРТОРНЫЙ НЕНАПРАВЛЕННЫЙ ИЗЛУЧАТЕЛЬ | 2010 |
|
RU2427977C1 |
| ВИХРЕВОЙ ДЕМПФЕР АКУСТИЧЕСКОЙ СИСТЕМЫ | 2006 |
|
RU2312469C2 |
| АКУСТИЧЕСКАЯ СИСТЕМА | 2001 |
|
RU2201044C2 |
| АКУСТИЧЕСКАЯ КОЛОНКА | 1995 |
|
RU2086074C1 |
| СЕКЦИОННЫЙ РАССЕИВАТЕЛЬ ЗВУКОВОГО ПОЛЯ В АКУСТИЧЕСКОЙ СИСТЕМЕ | 2023 |
|
RU2819136C1 |
Изобретение относится к акустике, в частности к низкочастотным громкоговорителям. Громкоговоритель содержит корпус, разделенный поперечной перегородкой на две полости, при этом первая полость соединена с внешней средой фазоинвертором, а во второй полости на поверхности поперечной перегородки выполнен короб низкочастотного динамика, а сама полость разделена продольной перегородкой на два равных по объему отсека, при этом короб низкочастотного динамика установлен таким образом, чтобы торцевая поверхность продольной перегородки находилась напротив диффузора низкочастотного динамика, при этом внутреннее пространство одного из отсеков и внутреннее пространство короба низкочастотного динамика соединены с первой полостью цилиндрическими трубами, установленными в поперечную перегородку. Технический результат - ограничение частотного диапазона излучаемых громкоговорителем звуковых волн и повышение качества его низкочастотного звукового излучения. 10 з.п. ф-лы, 5 ил.
1. Громкоговоритель, содержащий корпус, разделенный поперечной перегородкой на две полости, при этом:
– первая полость соединена с внешней средой фазоинвертором;
– во второй полости на поверхности поперечной перегородки выполнен короб низкочастотного динамика, а сама полость разделена продольной перегородкой на два равных по объему отсека, при этом короб низкочастотного динамика установлен таким образом, чтобы торцевая поверхность продольной перегородки находилась напротив диффузора низкочастотного динамика, при этом:
– внутреннее пространство отсеков соединено между собой через зазор, образованный между торцевой поверхностью продольной перегородки и поверхностью диффузора динамика;
– внутреннее пространство одного из отсеков и внутреннее пространство короба низкочастотного динамика соединены с первой полостью цилиндрическими трубами, установленными в поперечную перегородку.
2. Громкоговоритель по п.1, отличающийся тем, что фазоинвертор расположен на лицевой стороне корпуса.
3. Громкоговоритель по п.1, отличающийся тем, что короб низкочастотного динамика образован стенками, соединяющими поверхность поперечной перегородки с внутренними поверхностями корпуса.
4. Громкоговоритель по п.3, отличающийся тем, что объем полости короба низкочастотного динамика составляет от 42 до 43 % объема второй полости.
5. Громкоговоритель по п.3, отличающийся тем, что объем полости короба низкочастотного динамика составляет от 60 до 61 % объема первой полости.
6. Громкоговоритель по п.3, отличающийся тем, что внутреннее пространство короба низкочастотного динамика соединено с первой полостью двумя цилиндрическими трубами равного диаметра, установленными в поперечной перегородке.
7. Громкоговоритель по п.6, отличающийся тем, что цилиндрические трубы, соединяющие внутренние пространства короба низкочастотного динамика и первой полости, установлены в поперечной перегородке таким образом, что их торцевая поверхность расположена на одном уровне с поверхностью перегородки, при этом длина каждой из упомянутых труб, находящихся в первой полости, составляет от 80 до 85 % высоты этой полости.
8. Громкоговоритель по п.6, отличающийся тем, что одна из цилиндрических труб, соединяющих внутреннее пространство короба и первой полости, заполнена акустическим поролоном.
9. Громкоговоритель по п.1, отличающийся тем, что объем второго отсека составляет от 28 до 29 % от объема первой полости.
10. Громкоговоритель по п.1, отличающийся тем, что цилиндрическая труба, соединяющая внутреннее пространство отсека и первую полость, установлена в поперечной перегородке таким образом, что ее длина, находящаяся в первой полости, составляет от 60 до 65 % высоты этой полости, а ее длина, находящаяся в отсеке, составляет от 80 до 85 % высоты этого отсека.
11. Громкоговоритель по п.1, отличающийся тем, что цилиндрические трубы выполнены из поливинилхлорида.
| JP 2007166589 A, 28.06.2007 | |||
| DE 3144545 A1, 12.08.1982 | |||
| JPH 06319095 A, 15.11.1994 | |||
| JPH 11205885 A, 30.07.1999 | |||
| ВРАЩАЮЩЕЕСЯ ЗДАНИЕ | 2007 |
|
RU2471044C2 |
| US 3365021 A, 23.01.1968 | |||
| Устройство для первалки сменных барабанов разматывателя моталки | 1974 |
|
SU489551A1 |
| JP 2018191047 A, 29.11.2018 | |||
| JPH 11150781 A, 02.06.1999 | |||
| JPH 11178083 A, 02.07.1999 | |||
| JPS 5755692 A, 02.04.1982 | |||
| JP 5611075 B2, 22.04.2014 | |||
| TWI 301034 B, | |||
Даты
2025-04-28—Публикация
2024-10-30—Подача