ПРЕДПОСЫЛКИ СОЗДАНИЯ ИЗОБРЕТЕНИЯ
Следующее описание относится по существу к связи, включая формирование луча посредством разреженных антенных решеток.
Устройства связи могут связываться друг с другом с помощью проводных соединений, беспроводных (например, радиочастотных (РЧ)) соединений или обоих. Беспроводная связь между устройствами может осуществляться посредством беспроводного спектра, который был назначен поставщику услуг, беспроводной технологии или обоих. В некоторых примерах количество информации, которая может быть передана посредством сети беспроводной связи, зависит от объема беспроводного спектра, назначенного поставщику услуг, и объема повторного использования частот в пределах области, в которой предоставляется услуга. В беспроводной связи (например, сотовой связи, спутниковой связи и т. д.) могут использовать методы формирования луча и множественного входа и множественного выхода (MIMO) для связи между устройствами для увеличения повторного использования частот, однако обеспечение высокого уровня повторного использования частот в некоторых типах систем связи, таких как спутниковая связь, создает проблемы.
Изложение сущности изобретения
Антенная решетка может быть связана с формированием лучей обнаружения в пределах географической зоны, причем каждый луч обнаружения может быть сформирован с помощью соответствующего набора антенн антенной решетки и покрывает зону обнаружения в пределах географической зоны. Заголовки, передаваемые от терминалов в пределах зоны обнаружения луча обнаружения, могут быть обнаружены с помощью антенной решетки. На основе обнаружения заголовка с помощью луча обнаружения можно определить наличие терминала в соответствующей зоне обнаружения. На основе определения наличия терминала сигналы, обнаруженные во втором наборе антенн антенной решетки, могут быть обработаны в соответствии с коэффициентами луча для получения сигнала луча определенного луча связи, который включает в себя зону покрытия луча, охватывающую положение терминала. Каждый обнаруженный сигнал может содержать соответствующий компонент сигнала, передаваемого терминалом.
КРАТКОЕ ОПИСАНИЕ ГРАФИЧЕСКИХ МАТЕРИАЛОВ
На фиг. 1 показан пример спутниковой системы связи, которая поддерживает формирование луча с использованием разреженных антенных решеток в соответствии с примерами, описанными в настоящем документе.
На фиг. 2 показан пример сети связи, которая поддерживает формирование луча с использованием разреженных антенных решеток в соответствии с примерами, описанными в настоящем документе.
На фиг. 3 и 4 показаны примеры подсистем связи, которые поддерживают формирование луча с использованием разреженных антенных решеток в соответствии с примерами, описанными в настоящем документе.
На фиг. 5 и 6 показаны примеры наборов операций для формирования луча с использованием разреженных антенных решеток в соответствии с примерами, описанными в настоящем документе.
Подробное описание
Система связи (например, спутниковая система) может включать в себя устройства (например, спутники), оснащенные множеством антенн. Система связи может использовать устройства для поддержки одновременной связи посредством множества терминалов. В некоторых примерах система связи может использовать устройства для поддержки связи с формированием луча. Связь с формированием луча можно использовать для увеличения применения ресурсов связи, например путем обеспечения возможности повторного использования беспроводного спектра в различных областях географической зоны. В некоторых примерах в методах формирования луча можно использовать мультиантенные устройства для формирования набора сфокусированных лучей, которые охватывают географическую зону (например, в частично перекрывающейся схеме).
Хотя для увеличения применения спектра можно использовать методы формирования лучей, разрешение методов формирования лучей может быть ограничено, например, в зависимости от размера антенной решетки. В некоторых примерах зоны покрытия сфокусированных лучей основаны на размере антенной решетки спутниковой системы, частоте, используемой спутниковой системой, орбите, используемой спутниковой системой (например, геосинхронной наземной орбите). Для типичной полезной нагрузки спутника (например, отражателя с решеткой, в котором отражатель охватывает от 10 до 30 метров) зоны покрытия сфокусированных лучей, сформированных спутниковой системой на поверхности Земли, могут быть относительно большими (например, сотни или тысячи километров в диаметре). Таким образом, может быть ограничено использование современных методов формирования лучей для увеличения повторного использования частотных ресурсов (например, с использованием меньших сфокусированных лучей).
Для повышения разрешения формирования луча и поддержки увеличенного количества пользователей в пределах географической зоны в методах, описанных в настоящем документе, могут использовать большую разреженную антенную решетку, имеющую антенны с межэлементным интервалом, который отличается по всей антенной решетке. Современные антенные решетки могут быть жесткими и иметь постоянный межэлементный интервал, и, таким образом, разработка больших антенных решеток с использованием современных методов может быть практически неосуществимой. В некоторых примерах большая разреженная антенная решетка может охватывать большое расстояние (например, больше чем километр) на основе использования гибких антенных решеток, имеющих разные межэлементные интервалы. В некоторых случаях межэлементный интервал может изменяться с течением времени (например, вследствие дрейфа антенн относительно друг друга). В некоторых случаях антенны большой разреженной антенной решетки могут быть сгруппированы в наборы антенн (например, антенные подрешетки), причем каждый набор антенн может быть использован для формирования луча (например, луча обнаружения). Кроме того, антенны из множества наборов большой разреженной антенной решетки могут быть использованы для формирования одного или более лучей (например, одного или более лучей связи).
В некоторых примерах можно использовать большую разреженную антенную решетку (например, в комбинации с соответствующими коэффициентами луча для формирования лучей обнаружения в пределах географической зоны, причем каждый луч обнаружения может быть сформирован с помощью соответствующего набора антенн антенной решетки и охватывает зону обнаружения в пределах географической зоны. Заголовки, передаваемые от терминалов в пределах зоны обнаружения луча обнаружения, могут быть обнаружены с помощью антенной решетки. На основе обнаружения заголовка с помощью луча обнаружения можно определить наличие терминала в соответствующей зоне обнаружения. На основе определения наличия терминала сигналы, обнаруженные во втором наборе антенн антенной решетки, могут быть обработаны в соответствии с коэффициентами луча для получения сигнала луча определенного луча связи, который включает в себя зону покрытия луча, охватывающую положение терминала. Каждый обнаруженный сигнал может содержать соответствующий компонент сигнала, передаваемого терминалом.
На фиг. 1 показан пример спутниковой системы 100 связи, которая поддерживает формирование луча с использованием разреженных антенных решеток в соответствии с примерами, описанными в настоящем документе. Спутниковая система 100 связи может включать в себя наземную систему 135, терминалы 120 и спутниковую систему 101. Наземная система 135 может включать в себя сеть узлов 140 доступа, выполненную с возможностью связи со спутниковой системой 101. Узлы 140 доступа могут быть соединены с приемопередатчиками 145 узла доступа, которые выполнены с возможностью обработки сигналов, принимаемых от соответствующего узла (-ов) 140 доступа и подлежащих передаче через него (них). Приемопередатчики 145 узла доступа также могут быть выполнены с возможностью взаимодействия с сетью 125 (например, Интернетом), например, посредством сетевого устройства 130 (например, сетевого операционного центра, командных центров и спутниковых и шлюзовых командных центров терминала или других центров или устройств центральной обработки), которые могут обеспечивать взаимодействие для связи с сетью 125.
Терминалы 120 могут включать в себя различные устройства, выполненные с возможностью обмена сигналами со спутниковой системой 101, которые могут включать в себя неподвижные терминалы (например, наземные стационарные терминалы) или мобильные терминалы, такие как терминалы на лодках, самолетах, наземных транспортных средствах и т.п. Терминал 120 может обмениваться данными и информацией с узлом 140 доступа посредством спутниковой системы 101. Данные и информация могут передаваться устройством назначения, таким как сетевое устройство 130, или некоторое другое устройство или распределенный сервер, связанный с сетью 125.
Спутниковая система 101 может включать в себя один спутник или сеть спутников, которые развернуты на космических орбитах (например, низких околоземных орбитах, средних околоземных орбитах, геостационарных орбитах и т. д.). Один или более спутников, включенных в спутниковую систему 101, могут быть оснащены множеством антенн (например, одной или более антенными решетками). В некоторых примерах один или более спутников, оборудованных множеством антенн, могут содержать одну или более антенных панелей, которые содержат решетку равномерно распределенных антенн (которые также могут называться антенными элементами). В некоторых примерах спутник может быть оснащен антенной решеткой, содержащей антенны, которые неравномерно распределены по большой области. В некоторых примерах антенны могут быть соединены с центральным объектом посредством проводных или беспроводных каналов связи. Развертывание антенн в большой области может увеличивать размер апертуры антенной решетки спутника относительно антенной решетки, содержащей равномерные распределенные антенны (например, из-за ограничений, связанных с производством и развертыванием большой антенной решетки с равномерно распределенными антеннами). В некоторых примерах набор спутников, каждый из которых содержит антенну, неравномерно распределен по большой области, причем каждый спутник может связываться с центральным объектом (например, центральным сервером или наземной станцией). В таких случаях антенны набора спутников могут быть использованы для формирования антенной решетки. В некоторых примерах набор спутников, каждый из которых содержит антенную подрешетку, неравномерно распределен по большой области, причем каждый спутник может связываться с центральным объектом (например, центральным сервером или наземной станцией) и причем антенные подрешетки могут включать в себя решетку равномерно распределенных антенн. В таких случаях антенные подрешетки набора спутников могут быть использованы для формирования антенной решетки.
Спутниковая система 101 может использовать один или более спутников для поддержки методов множественного входа и множественного выхода (MIMO) для увеличения применения частотных ресурсов, используемых для связи, например, путем обеспечения повторного использования беспроводного спектра, по времени и частоте, в различных географических областях географической зоны. Аналогичным образом, спутниковая система 101 может использовать один или более спутников для поддержки методов формирования лучей для увеличения применения частотных ресурсов, используемых для связи.
Методы MIMO могут быть использованы для задействования многолучевого распространения сигнала и увеличения спектральной эффективности путем передачи или приема множества сигналов посредством разных пространственных уровней. Множество сигналов, например, могут быть переданы передающим устройством (например, спутниковой системой) посредством набора антенн в соответствии с набором весовых коэффициентов. Подобным образом, множество сигналов могут приниматься приемным устройством (например, спутниковой системой) посредством набора антенн в соответствии с набором весовых коэффициентов. Каждый из множества сигналов может быть связан с отдельным пространственным потоком и может содержать биты, связанные с одним и тем же потоком данных (например, одним и тем же кодовым словом) или разными потоками данных (например, разными кодовыми словами). Методы MIMO включают в себя однопользовательский MIMO (SU-MIMO), в котором для связи с одним устройством используют множество пространственных уровней, и многопользовательский MIMO (MU-MIMO), в котором для связи с множеством устройств используют множество пространственных уровней.
Для определения весовых коэффициентов для применения к набору антенн таким образом, что сформировано N пространственных уровней, может быть сформирована матрица MIMO (M x N), где M может представлять собой количество антенн из набора антенн. В некоторых примерах M может быть равно N. Матрица MIMO может быть определена на основе матрицы канала и может быть использована для выделения различных пространственных уровней канала. В некоторых примерах весовые коэффициенты выбирают для того, чтобы подчеркнуть сигналы, передаваемые с использованием различных пространственных уровней, при этом уменьшая интерференцию сигналов, передаваемых на других пространственных уровнях. Соответственно, сигналы обработки, принятые на каждой антенне с набором антенн (например, сигнал, принятый на наборе антенн) с использованием матрицы MIMO, могут приводить к выдаче множества сигналов, причем каждый из множества сигналов может соответствовать одному из пространственных уровней. Элементы матрицы MIMO, используемые для формирования пространственных уровней канала, могут быть определены на основе зондов для зондирования канала, принятых в спутниковой системе 101, например, от одного или более устройств. В некоторых примерах весовые коэффициенты, используемые для связи MIMO, могут называться коэффициентами луча, а множество сигналов или пространственные уровни могут называться сигналами луча.
Методы формирования лучей можно использовать для формования луча связи или управления лучом связи вдоль пространственного пути между спутниковой системой 101 и географической зоной. Луч связи может быть сформирован путем определения весовых коэффициентов для антенных элементов антенной решетки, которые приводят к объединению сигналов, передаваемых или принятых на антенных элементах, таким образом, что сигналы, распространяющиеся в конкретной ориентации относительно антенной решетки, сталкиваются с конструктивной интерференцией, тогда как другие сталкиваются с деструктивной интерференцией. Таким образом, формирование луча может быть использовано для передачи сигналов, имеющих энергию, сфокусированную в направлении луча связи, и для приема сигналов, которые поступают в направлении связи с повышенной мощностью сигнала (относительно отсутствия формирования луча). Весовые коэффициенты можно использовать для применения смещений амплитуды, смещений фаз или обоих к сигналам, передаваемым посредством антенн. В некоторых примерах весовые коэффициенты, применяемые к антеннам, могут быть использованы для формирования множества лучей, связанных с множеством направлений, причем множество лучей можно использовать для передачи множества сигналов, имеющих одинаковую частоту в одно и то же время. Весовые коэффициенты, используемые для формирования луча, могут называться коэффициентами луча, а множество сигналов могут называться сигналами луча.
В некоторых примерах методы формирования луча могут быть использованы спутниковой системой 101 для формирования сфокусированных лучей, которые являются мозаичными (например, клетчатыми) по географической зоне. В некоторых примерах беспроводной спектр, используемый спутниковой системой 101, может быть повторно использован по всем наборам сфокусированных лучей для связи между терминалами 120 и спутниковой системой. В некоторых примерах беспроводной спектр может быть повторно использован в сфокусированных лучах, которые не перекрываются, причем смежная географическая область может быть покрыта перекрывающимися сфокусированными лучами, причем каждый из них использует ортогональные ресурсы (например, ортогональные ресурсы времени, частоты или поляризации).
Для поддержки увеличения количества пользователей в пределах географической зоны, для увеличения разрешения методов формирования луча можно использовать антенную решетку (которая может называться большой разреженной антенной решеткой), имеющую антенны с межэлементным интервалом, который отличается по всей антенной решетке. Таким образом, можно использовать большую разреженную антенную решетку (например, в комбинации с соответствующими коэффициентами луча) для формирования лучей связи с небольшими зонами покрытия (например, менее чем 10 км в диаметре). Большая разреженная антенная решетка, такая как антенная решетка 105, может содержать множество антенн 110 (например, сотни или тысячи антенн), которые неравномерно распределены по площади, например в космосе. В некоторых примерах каждая антенна 110 представляет собой, или установлена на, отдельный спутник. В других примерах антенны 110 установлены на одном спутнике, причем каждая антенна 110 привязана к центральному местоположению, например, посредством физического соединения.
Кроме того, расстояние между антеннами 110 может быть больше расстояния, связанного с длиной волны сигналов, поддерживаемых для связи с помощью большой разреженной решетки, например, расстояние между антеннами 110 может быть больше расстояния, связанного с длиной волны. В некоторых примерах расстояние между антеннами 110 может быть в десять раз больше длины волны. В некоторых примерах первое расстояние (d1) между первой антенной из антенн 110 и второй антенной из антенн 110 может отличаться от второго расстояния (d2) между второй антенной и третьей антенной из антенн 110 и таким образом по всей антенной решетке 105. В некоторых примерах большая разреженная антенная решетка содержит множество антенных подрешеток 115 (например, десятки или сотни антенных подрешеток), которые неравномерно распределены по площади. В некоторых примерах каждая из антенных подрешеток может содержать группу антенн 110. В некоторых примерах каждая из антенных подрешеток 115 может содержать антенны 110 (которые также могут называться антенными элементами), которые равномерно распределены по соответствующей антенной подрешетке 115. В некоторых примерах в дополнение к тому, что она является большой и разреженной, антенная решетка 105 может быть произвольной или полупроизвольной таким образом, что расстояния между антеннами 110 антенной решетки 105 могут быть неконтролируемыми или частично контролируемыми (например, неограниченными одним или более размерами или могут быть выполнены с возможностью изменения одного или более размеров относительно других антенн 110).
Для формирования небольших лучей связи можно использовать геометрические отношения между географической областью и антеннами 110 большой разреженной антенной решетки 105. В некоторых примерах геометрические отношения между географической областью и антеннами 110 большой разреженной антенной решетки 105 также могут быть использованы для упрощения обработки, используемой для методов массивного MIMO, например, на основе ограниченных направлений охвата сигнала, информации о местоположении, известной для терминалов, или любой их комбинации.
В некоторых примерах для поддержки связи с использованием лучей 117 связи с небольшими зонами покрытия можно использовать большую разреженную антенную решетку 105 (например, в комбинации с соответствующими коэффициентами луча) для формирования лучей 119 обнаружения в пределах географической зоны 150, причем каждый луч 119 обнаружения может быть сформирован соответствующим набором антенн 110 антенной решетки 105 и может покрывать зону 155 обнаружения в пределах географической зоны 150. Например, каждая подрешетка 115 может формировать луч 119 обнаружения, и лучи обнаружения могут быть мозаично расположены в пределах географической зоны 150. Заголовки 118, передаваемые от терминалов 120 в пределах зоны 155 обнаружения луча 119 обнаружения, могут быть обнаружены с использованием большой разреженной антенной решетки 105 (например, каждая подрешетка 115 может обнаруживать заголовки 118, передаваемые из соответствующей зоны 155 обнаружения). На основе обнаружения заголовка 118 с использованием луча 119 обнаружения может быть определено наличие терминала 120 в зоне 155 обнаружения луча 119 обнаружения. На основе обнаружения наличия терминала 120 набор антенн 110 (например, антенны из более чем одной подрешетки 115, существенная часть антенн 110, большинство антенн 110 или все антенны 110) антенной решетки 105 и соответствующие коэффициенты луча могут быть выбраны для формирования луча 117 связи (например, небольшого или узкого луча), имеющего зону 160 покрытия луча в пределах зоны 155 обнаружения, которая включает в себя положение терминала 120. Затем сигналы, обнаруженные на антенной решетке 105, могут быть обработаны в соответствии с коэффициентами луча, используемыми для формирования небольшого луча 117 связи, что приводит к сигналу луча для небольшого луча 117 связи. В некоторых примерах сигнал луча может включать в себя один или более сигналов, передаваемых от одного или более терминалов, расположенных в пределах зоны 160 покрытия луча.
В некоторых примерах антенная решетка 105 содержит множество антенных подрешеток 115, причем каждая антенная подрешетка 115 может быть использована для формирования луча 119 обнаружения, связанного с соответствующей зоной 155 обнаружения. Заголовки от набора терминалов 120 могут быть обнаружены с использованием поднабора лучей 119 обнаружения. На основе обнаружения терминалов с использованием поднабора лучей 119 обнаружения могут быть сформированы лучи 117 связи (например, с использованием геометрической интерпретации или методов на основе MIMO) в пределах соответствующих зон 155 обнаружения, где зоны 160 покрытия лучей указанных лучей 117 связи могут охватывать обнаруженные терминалы 120. Связь может осуществляться между антенной решеткой 105 и обнаруженными терминалами 120 с использованием лучей 117 связи, причем по меньшей мере поднабор лучей 117 связи может повторно использовать общие ресурсы времени, частоты и поляризации.
На фиг. 2 показан пример сети 200 связи, которая поддерживает формирование луча с использованием разреженных антенных решеток в соответствии с примерами, описанными в настоящем документе.
Сеть 200 связи представляет систему для связи с использованием одного или более методов MIMO, методов геометрической интерпретации и геометрически информированных методов MIMO. Сеть 200 связи может содержать антенную решетку 205, шину 215, устройство 220 управления лучом, детектор 240 сигнала, позиционирующий компонент 245, процессор 247, диспетчер 250 связи и запоминающее устройство 255. По меньшей мере часть сети 200 связи (например, вся сеть связи) может быть расположена в пределах космического сегмента сети 200 связи (например, в спутниковой системе). В некоторых примерах часть сети 200 связи, которая не включена в космический сегмент пространства, может быть расположена в пределах наземного сегмента сети 200 связи (например, в наземной системе). Например, антенная решетка 205, устройство 220 управления лучом, детектор 240 сигнала, позиционирующий компонент 245, процессор 247 и запоминающее устройство 255 могут быть включены в космический сегмент сети 200 связи, а диспетчер 250 связи может быть включен в наземный сегмент сети 200 связи. В другом примере антенная решетка 205 может быть включена в космический сегмент сети 200 связи, а устройство 220 управления лучом, детектор 240 сигнала, позиционирующий компонент 245, процессор 247, запоминающее устройство 255 и диспетчер 250 связи могут быть включены в наземный сегмент сети 200 связи.
Антенная решетка 205 может представлять собой пример антенной решетки, показанной на фиг. 1, и может содержать антенны 210. В некоторых случаях процессор 210 может представлять собой пример процессора 110, описанного со ссылкой на фиг. 1. В некоторых примерах одна или более антенн 210 могут представлять собой или включать в себя антенную подрешетку, аналогичную антенной подрешетке 115, описанной со ссылкой на фиг. 1. Интервал между антеннами 210 может отличаться по всей антенной решетке 205. В некоторых примерах расстояние (например, среднее расстояние) между антеннами 210 больше расстояния, связанного с длиной волны сигналов, передаваемых с использованием антенной решетки 205. В некоторых примерах расстояние (например, среднее расстояние) между антеннами 210 больше расстояния, связанного с в десять раз большей длиной волны сигналов, передаваемых с использованием антенной решетки 205.
Шина 215 может представлять собой интерфейс, в котором сигналы могут обмениваться между антенной решеткой 205 и центральным местоположением, которое может быть использовано для распределения сигнала на компоненты обработки сигналов сети 200 связи (например, устройство 220 управления лучом, сигнал, детектор 240 сигнала и позиционирующий компонент 245). Шина 215 может содержать совокупность проводов, которые соединены с каждой из антенн. Дополнительно или альтернативно, шина 215 может представлять собой беспроводной интерфейс, используемый для беспроводной передачи сигналов между антенной решеткой 205 и компонентами обработки сигнала, например, в соответствии с протоколом связи.
Устройство 220 управления лучом может быть выполнено с возможностью формирования лучей, включая лучи обнаружения, лучи связи, лучи на основе геометрического интерпретации, лучи на основе MIMO и т.п. В некоторых примерах устройство 220 управления лучом может быть выполнено с возможностью формирования одного или более лучей обнаружения (например, лучей обнаружения, которые покрывают зоны 155 обнаружения в соответствии с фиг. 1) в пределах географической зоны (например, географической зоны 150, показанной на фиг. 1), которая покрыта антенной решеткой 205. Для формирования лучей обнаружения можно использовать присущие диаграммы направленности антенны наборов антенн 210 или их можно объединять с методами формирования лучей, методами MIMO или их комбинацией.
Устройство 220 управления лучом также может быть выполнено с возможностью формирования одного или более лучей связи (например, лучей связи, которые формируют зоны 160 покрытия лучей, показанные на фиг. 1). Для формирования лучей связи можно использовать методы формирования лучей на основе геометрической интерпретации, методы MIMO или геометрически информированные методы MIMO. Устройство 220 управления лучом может содержать геометрический компонент 225 и компонент 230 MIMO.
Геометрический компонент 225 может быть выполнен с возможностью использования геометрического отношения между положением терминала и набора (например, почти и включая все) из антенн 210 антенной решетки 205 для формирования небольших лучей связи (например, лучей связи, имеющих диаметр менее десяти (10) км или менее пяти (5) км). В некоторых примерах геометрический компонент 225 может определять коэффициенты луча (например, сдвиги фазы, амплитудные компоненты), которые можно использовать для выравнивания во времени сигналов, обнаруженных на разных антеннах 210, таким образом, что сигналы могут быть суммированы вместе в соответствии с пространственным местоположением терминала, увеличивая уровень сигнала передаваемого сигнала, связанного с каждым из обнаруженных сигналов. В некоторых примерах геометрический компонент 225 может определять первый набор коэффициентов луча, связанных с первой зоной покрытия луча, второй набор коэффициентов луча, связанных со второй зоной покрытия луча, и т.д. Соответственно, геометрический компонент 225 может независимо определять и применять множество наборов коэффициентов луча для сигналов, принимаемых от антенной решетки 205, причем каждый набор коэффициентов луча связан с другой зоной покрытия луча.
Компонент 230 MIMO может быть выполнен с возможностью использования многолучевого распространения сигнала для формирования лучей на основе MIMO. В некоторых примерах компонент 230 MIMO может принимать зонды для зондирования канала от набора передатчиков (например, терминалов), причем структура зондов для зондирования канала может быть известна для компонента 230 MIMO и причем зонды для зондирования канала, передаваемые от различных передатчиков, могут быть ортогональными друг другу. Компонент 230 MIMO может использовать зонды для зондирования канала для оценки канала между антенной решеткой 205 и передатчиками. На основе оцененного канала компонент 230 MIMO может определять коэффициенты луча (например, сдвиги амплитуды и фазы), которые могут быть использованы для обнаружения пространственных уровней канала. В некоторых примерах компонент 230 MIMO может определять коэффициенты луча, которые могут быть использованы для выделения сигналов, передаваемых по пространственным уровням друг от друга, например, путем подчеркивания, на каждом пространственном уровне, сигналов, передаваемых в пределах пространственного уровня, и подавления интерференции со стороны сигналов, передаваемых в пределах других пространственных уровней. Компонент 230 MIMO может определять один набор коэффициентов луча, который применяется к сигналам, обнаруженным в наборе (например, во всех) из антенн 210 в антенной решетке 205. Коэффициенты луча могут быть включены в матрицу M x N, где значение M может указывать количество антенн 210, а значение N может указывать количество пространственных уровней, причем значение N может быть меньше значения M или равно ему.
Детектор 240 сигнала может быть выполнен с возможностью обнаружения заголовков, передаваемых от одного или более терминалов. В некоторых примерах заголовки включают в себя повторы формы волны и используются для указания наличия передающего терминала. Заголовки могут также включать в себя информацию о положении (например, координаты GPS). В некоторых примерах заголовок кодируется и его сложно подделать, например, путем использования кодов расширения спектра, зашифрованных данных и т.д. В некоторых примерах заголовки могут представлять собой заголовки из двух частей. Например, заголовок может содержать первую часть, используемую для обнаружения заголовка (например, повторов формы волны), и вторую часть, содержащую информацию о положении. В некоторых примерах первая часть заголовка, содержащая повторы, передается сначала, а вторая часть заголовка, содержащая данные о положении, передается после получения ответа со стороны сети 200 связи, распознающей обнаружение первой части заголовка.
Позиционирующий компонент 245 может быть выполнен с возможностью определения положения одного или более терминалов, которые обнаруживаются в пределах географической зоны, например, на основе обнаружения соответствующих одного или более заголовков. В некоторых примерах позиционирующий компонент 245 определяет положение одного или более терминалов на основе информации о положении, принятой в заголовке. Дополнительно или альтернативно, позиционирующий компонент 245 может определять положение одного или более терминалов на основе добавления псевдослучайного шума зоны покрытия луча луча связи для определения положения зоны покрытия луча, которая максимально увеличивает качество сигнала для терминала, причем терминал может быть центрирован в зоне покрытия луча.
Диспетчер 250 связи может быть выполнен с возможностью обработки сигналов луча, принятых от устройства 220 управления лучом. Диспетчер 250 связи может декодировать символы данных, включенные в сигналы луча. В некоторых примерах диспетчер 250 связи может конфигурировать различные режимы в устройстве 220 управления лучом. Например, диспетчер 250 связи может конфигурировать первый режим в устройстве 220 управления лучом, который используется для обнаружения терминалов в географической зоне. Хотя первый режим сконфигурирован, устройство 220 управления лучом может использовать методы формирования лучей и/или MIMO для формирования зон обнаружения. Диспетчер 250 связи может также конфигурировать второй режим в устройстве 220 управления лучом, который используется для связи с терминалами в географической зоне с использованием небольших лучей. Тогда как второй режим сконфигурирован, устройство 220 управления лучом может использовать геометрическую интерпретацию для формирования зон покрытия луча для связи с обнаруженными терминалами. В некоторых примерах первый режим и второй режим могут быть одновременно сконфигурированы в устройстве 220 управления лучом. Таким образом, антенная решетка 205 может быть использована для одновременного формирования лучей обнаружения и лучей связи. В случае, когда лучи обнаружения и лучи связи сформированы одновременно, лучи связи в пределах луча обнаружения могут использовать различные ресурсы частоты, времени или поляризации. Диспетчер 250 связи может также конфигурировать третий режим в устройстве 220 управления лучом, который используется для связи с терминалами в географической зоне с использованием небольших лучей. Хотя третий режим сконфигурирован, устройство 220 управления лучом может использовать геометрически информированный MIMO для формирования зон покрытия луча для связи с обнаруженными терминалами. В некоторых примерах первый режим и третий режим сконфигурированы одновременно, а второй режим и третий режим сконфигурированы альтернативно в устройстве 220 управления лучом.
Процессор 247 может включать в себя интеллектуальное аппаратное устройство (например, процессор общего назначения, процессор цифровых сигналов (DSP), центральный процессор (ЦП), микроконтроллер, специализированную интегральную схему (ASIC), программируемую пользователем вентильную матрицу (FPGA), программируемое логическое устройство, логический компонент на дискретных компонентах или транзисторах, компонент дискретных аппаратных средств или любую их комбинацию. Процессор 247 может быть выполнен с возможностью выполнения машиночитаемых команд, хранящихся в запоминающем устройстве (например, запоминающем устройстве 255), для приведения к выполнению сетью 200 связи различных функций (например, функций или задач, поддерживающих формирование луча с использованием разреженных антенных решеток). Например, сеть 200 связи или компонент сети 200 связи могут включать в себя процессор 247 и запоминающее устройство 255, соединенное с процессором 247, которые выполнены с возможностью исполнения различных функций, описанных в настоящем документе.
Запоминающее устройство 255 может включать в себя оперативное запоминающее устройство (ОЗУ) и/или постоянное запоминающее устройство (ПЗУ). Запоминающее устройство 255 может хранить код, который является машиночитаемым и исполняется компьютером. Код может включать в себя команды, которые при выполнении процессором 247 приводят к выполнению сетью 200 связи различных функций, описанных в настоящем документе. Код 260 может храниться в энергонезависимом машиночитаемом носителе, таком как системное запоминающее устройство или запоминающее устройство другого типа. В некоторых случаях код 260 не может непосредственно исполняться процессором 247, но может привести к выполнению компьютером (например, при сборе и выполнении) функций, описанных в настоящем документе. В некоторых случаях запоминающее устройство 255 может содержать, помимо прочего, базовую систему ввода-вывода (BIOS), которая может управлять основными аппаратными или программными операциями, такими как взаимодействие с периферийными компонентами или устройствами.
В некоторых примерах устройство 220 управления лучом, детектор 240 сигнала, позиционирующий компонент 245, диспетчер 250 связи или их различные комбинации или компоненты могут быть реализованы в аппаратных средствах (например, в схеме управления связью). Аппаратные средства могут включать в себя процессор, процессор цифровых сигналов (DSP), специализированную интегральную схему (ASIC), программируемую пользователем вентильную матрицу (FPGA) или другое программируемое логическое устройство, логику на дискретных компонентах или транзисторах, дискретные аппаратные компоненты или любую их комбинацию, выполненную как или иным образом поддерживающую средство для выполнения функций, описанных в настоящем описании. В некоторых примерах процессор и запоминающее устройство, соединенное с процессором, могут быть выполнены с возможностью исполнения одной или более функций, описанных в настоящем документе (например, путем выполнения процессором команд, хранящихся в запоминающем устройстве).
Дополнительно или альтернативно, устройство 220 управления лучом, детектор 240 сигнала, позиционирующий компонент 245, диспетчер 250 связи или их различные комбинации или компоненты могут быть реализованы в коде 260 (например, в качестве программного обеспечения или аппаратных средств управления связью), исполняемом процессором 247. При реализации в коде 260, исполняемом процессором 247, функции устройства 220 управления лучом, детектора 240 сигнала, позиционирующего компонента 245, диспетчера 250 связи или их различных комбинаций или компонентов могут осуществляться процессором общего назначения, DSP, центральным процессором (ЦП), ASIC, FPGA или любой комбинацией этих или других программируемых логических устройств (например, сконфигурированных как или иным образом поддерживающих средство для выполнения функций, описанных в настоящем описании).
На фиг. 3 показан пример подсистемы 300 связи, которая поддерживает формирование луча с использованием разреженных антенных решеток в соответствии с примерами, описанными в настоящем документе. Подсистема 300 связи представляет связь между антенной решеткой 305 и терминалами 320, которые обрабатываются с использованием геометрических отношений между антеннами 310 антенной решетки 305 и терминалами 320. В некоторых примерах первый набор сигналов 325 передается между первым терминалом 320-1 и антенной решеткой 305, а второй набор сигналов 330 передается между вторым терминалом 320-2 и антенной решеткой 305. В некоторых примерах первый набор сигналов 325 может быть связан с одним сигналом (например, заголовком или сигналом данных), передаваемым от первого терминала 320-1 на антенную решетку 305, причем первый набор сигналов 325 может представлять собой компоненты (например, многолучевые компоненты) сигнала, переданного от первого терминала 320-1. В других примерах первый набор сигналов 325 может быть связан с одним сигналом (например, ответом заголовка или сигналом данных), полученным на антенной решетке 305 для передачи на первый терминал 320-1, причем первый набор сигналов 325 может представлять собой компоненты (например, элементы) сигнала, переданного от антенной решетки 305. Аналогичным образом, второй набор сигналов 330 может быть связан с одним сигналом (например, заголовком или сигналом данных), передаваемым от второго терминала 320-2 на антенную решетку 305, или одним сигналом (например, ответом заголовка или сигналом данных), полученным на антенной решетке 305 для передачи на второй терминал 320-2.
В некоторых примерах первый набор антенн 310 и первые коэффициенты луча используют для формирования луча 319 обнаружения, имеющего зону 355 обнаружения. Сигналы, принятые на антенной решетке 305 с использованием первого набора антенн 310, и первые коэффициенты луча могут быть проанализированы для определения того, включен ли в сигналы заголовок, указывающий наличие терминала. В некоторых примерах наличие первого терминала 320-1 обнаруживается на основе первого терминала 320–1, передающего заголовок, причем первый набор сигналов 325 может представлять собой компоненты сигнала передачи заголовка. Заголовок может включать в себя повторяющуюся форму волны. В некоторых примерах форма волны может быть модулирована кодом расширения спектра перед передачей или может включать в себя кодированные данные для увеличения сложности, связанной с подделкой заголовка. Заголовок также может включать в себя информацию о положении, например, во второй части заголовка.
В некоторых примерах положение первого терминала 320-1 может быть определено на основе информации о положении, включенной в заголовок. Дополнительно или альтернативно, положение первого терминала 320-1 может быть определено на основе добавления псевдослучайного шума зоны покрытия луча вокруг зоны 355 обнаружения после обнаружения наличия первого терминала 320-1. Положение первого терминала 320-1 может быть определено на основе качества сигнала, связанного с первой зоной 360-1 покрытия луча, удовлетворяющей пороговому значению, которое выше, чем качество сигнала, связанное с другими зонами покрытия лучей, покрытыми операцией добавления псевдослучайного шума, или и того, и другого. Наличие и положение второго терминала 320-2 аналогичным образом могут быть обнаружены на основе заголовка, переданного от второго терминала 320-2, причем второй набор сигналов 330 может представлять собой компоненты сигнала передачи заголовка.
Для первого терминала 320-1 могут быть определены вторые коэффициенты луча на основе положения первого терминала 320-1. Вторые коэффициенты луча также могут быть определены на основе положения антенн 310 относительно первого терминала 320-1. Вторые коэффициенты луча вместе со вторым набором антенн 310 могут использоваться для формирования первого луча 317-1 связи, имеющего первую зону 360-1 покрытия луча. Вторые коэффициенты луча могут использоваться для применения сдвигов синхронизации (например, сдвигов фазы) или весовых коэффициентов амплитуды к сигналам, обнаруженным на разных антеннах второго набора антенн 310, таким образом, что сигналы, передаваемые в пределах зоны 360-1 покрытия луча, отличаются от сигналов, передаваемых в пределах смежных зон покрытия луча. В некоторых примерах вторые коэффициенты луча могут быть представлены с использованием вектора M1 x 1, где M1 может представлять собой количество антенн (например, 100 антенн, 1000 антенн и т.д.) второго набора антенн 310. В некоторых случаях вектор M1 x 1 может включать в себя коэффициенты для всех антенн 310, причем некоторые коэффициенты могут представлять собой нулевые коэффициенты (например, второй набор антенн 310, который содействует первому лучу 317-1 связи, может представлять собой поднабор антенн 310).
Для второго терминала 320-2 можно аналогичным образом определить третьи коэффициенты луча. В некоторых примерах третьи коэффициенты луча могут быть представлены с использованием вектора M2 x 1, где M2 может представлять собой количество антенн (например, 100 антенн, 1000 антенн и т. д.) третьего набора антенн 310. В некоторых примерах третий набор антенн 310 и второй набор антенн 310 перекрываются (например частично или полностью).
В некоторых примерах первый набор антенн 310, связанный с лучом 319 обнаружения, может обнаруживать первый набор сигналов 325 в пределах зоны 360 обнаружения, а также могут быть определены вторые коэффициенты луча, используемые для формирования первого луча 317-1 связи. На основе определения вторые коэффициенты луча могут быть применены к последующему набору обнаруженных сигналов (например, соответствующему последующему сигналу данных, передаваемому первым терминалом 320-1), который выводится вторым набором антенн 310, связанным с первым лучом 317-1 связи. В некоторых примерах второй набор антенн 310 включает в себя большинство (например, более 50%, 60%, 70%, 80% или 90%) антенн 310 на антенной решетке 305. В некоторых случаях второй набор антенн 310 может включать в себя часть (или все) из первого набора антенн 310, связанного с лучом 319 обнаружения, причем второй набор антенн 310 может включать в себя большее количество антенн 310, чем первый набор антенн 310.
Первый набор антенн 310, связанный с лучом 319 обнаружения, может также обнаруживать второй набор сигналов 330 в пределах зоны 360 обнаружения, и могут быть определены третьи коэффициенты луча, используемые для формирования второго луча 317-2 связи. На основе определения, третьи коэффициенты луча могут быть применены к последующему набору обнаруженных сигналов (соответствующему последующему сигналу данных, передаваемому вторым терминалом 320-2), который выводится третьим набором антенн 310, связанным со вторым лучом 317-2 связи. Третий набор антенн 310 может перекрываться со вторым набором антенн 310, например может включать в себя часть или то же самое, что и второй набор антенн 310. Второй набор антенн 310 может также включать в себя большинство (например, более 50%, 60%, 70%, 80% или 90%) антенн 310 на антенной решетке 305.
На схеме 301 сигналов показан первый набор сигналов 335 элементов, обнаруженных во втором наборе антенн 310, связанных с первым лучом 317-1 связи, и второй набор сигналов 340 элементов, обнаруженных в третьем наборе антенн 310, связанных со вторым лучом 317-2 связи. На схеме 301 сигналов также показаны временные задержки, связанные с тем, когда первый набор сигналов 335 элементов и второй набор сигналов 340 элементов обнаруживаются на соответствующих антеннах. Первый набор сигналов 335 элементов может соответствовать первому набору сигналов 325 элементов, а второй набор сигналов 340 элементов может соответствовать второму набору сигналов 330. В некоторых примерах первый набор сигналов 335 элементов и первый набор сигналов 325 могут быть связаны с сигналом данных, передаваемым от первого терминала 320-1. И второй набор сигналов 340 элементов и второй набор сигналов 330 могут быть связаны с сигналом данных, передаваемым от второго терминала 320-2.
На схеме 301 сигналов также показан результат применения первых коэффициентов 364-1 луча (которые могут соответствовать вторым коэффициентам луча, используемым для формирования первого луча 317-1 связи) к первому набору сигналов 335 элементов для получения результирующих сигналов 365 элементов. В некоторых примерах каждый коэффициент луча из первых коэффициентов 364-1 луча может быть применен к соответствующей антенне второго набора антенн 310. Каждый коэффициент луча из первых коэффициентов 364-1 луча может быть использован для применения временной задержки (например, фазового сдвига) или весового значения амплитуды, или обоих, к сигналу, принимаемому на соответствующем антенном элементе, таким образом, что результирующие сигналы 365 элементов выровнены во времени и могут быть объединены (например, суммированы посредством компонента 366 суммирования) друг с другом с формированием первого сигнала 375-1 луча для первого луча 317-1 связи, причем значение SNR первого сигнала 375-1 луча может быть пропорционально количеству сигналов 365 элементов. В некоторых примерах компонент 366 суммирования может включать в себя отдельные компоненты суммирования, которые используются для суммирования сигналов элементов, полученных для соответствующих лучей связи.
Вторые коэффициенты 364-2 луча (которые могут соответствовать третьим коэффициентам луча, используемым для формирования второго луча 317-2 связи) могут аналогичным образом применяться ко второму набору сигналов 340 элементов, и полученные сигналы 370 элементов могут быть объединены (например, суммированы посредством компонента 366 суммирования) для получения второго сигнала 375-2 луча для второго луча 317-2 связи. Соответственно, коэффициенты луча, используемые для формирования лучей 317 связи, могут быть независимо определены и применены к сигналам, принятым на антеннах 310.
В некоторых примерах передача связанного сигнала данных от первого терминала 320-1 и связанного с ним сигнала данных от второго терминала 320-2 могут перекрываться (например, частично или полностью) друг с другом во времени. В таких случаях первый набор сигналов 335 элементов и второй набор сигналов 340 элементов могут быть наложены, формируя составной сигнал. Кроме того, в таких случаях первые коэффициенты 364-1 луча могут быть применены к составным сигналам для получения результирующих сигналов 365 элементов, а вторые коэффициенты 364-2 луча могут быть применены к составному сигналу для получения результирующих сигналов 370 элементов. В таких случаях нежелательные сигналы в составных сигналах могут приводить к шуму в результирующем сигнале 375 луча и могут быть близки к погашению для большого количества сигналов элементов.
В некоторых примерах для определения сигналов луча, принятых из множества лучей 317 связи, можно использовать следующее уравнение:
где
соответствует сигналу, принимаемому на i-й антенне из набора антенн, f0 представляет собой несущую частоту сигнала, t представляет собой текущее время,
представляет собой время приема сигнала на i-й антенне,
представляет собой количественную оценку временной задержки между сигналом, принятым на i-й антенне, и первым сигналом, принятым на наборе антенн, и
представляет собой фазу сигнала. Временная задержка между сигналом, принятым на i-й антенне, и самым ранним сигналом, принятым на наборе антенн, представляет собой скорость задержки по всей решетке на каждой i-й антенне. Вычитание отдельной задержки может привести к выравниванию всех выборок сигнала, например, как если бы они были совместно расположены в местоположении поступления «самого раннего сигнала».
На фиг. 4 показан пример подсистемы 400 связи, которая поддерживает формирование луча с использованием разреженных антенных решеток в соответствии с примерами, описанными в настоящем документе. Подсистема 400 связи отображает связь между антенной решеткой 405 и терминалами 420, которые выполняют обработку с использованием обработки MIMO или с помощью геометрически-информированной обработки MIMO. В некоторых примерах первый терминал 420-1 представляет собой пример первого терминала 320-1, показанного на фиг. 3, а второй терминал 420-2 представляет собой пример второго терминала 320-2, показанного на фиг. 3.
Каналы связи между терминалами 420 и антенной решеткой 405 могут называться каналом. Канал может состоять из множества пространственных уровней, причем множество антенн 410 антенной решетки 405 (вместе с набором коэффициентов луча) можно использовать для открытия пространственных уровней канала. В некоторых примерах набор коэффициентов луча (которые также могут называться коэффициентами MIMO) выбирают для открытия первого пространственного уровня канала, который охватывает первый терминал 420-1 (который также может называться лучом связи или лучом MIMO) и второго пространственного уровня канала, который охватывает второй терминал 420-2.
В некоторых примерах коэффициенты луча определяют на основе зондов для зондирования канала, передаваемых от терминалов 420. Зонды для зондирования могут иметь схемы сигнала, которые известны сети связи и которые могут быть использованы для адаптации коэффициентов луча для обеспечения фокусирования пространственных уровней на соответствующих терминалах (или группах терминалов). Зонды для зондирования канала также могут быть ортогональными друг другу. Методы оценки, такие как методы оптимального сложения (MRC), минимальной среднеквадратичной ошибки (MMSE), форсирования нуля, последовательного подавления помех, оценки по методу максимального правдоподобия или обнаружения MIMO нейронной сети, можно использовать для оценки канала между антенной решеткой 405 и терминалами 420, а также для определения коэффициентов луча. Поскольку коэффициенты луча формируются с использованием зондов для зондирования канала, принятых от множества терминалов, результирующие коэффициенты луча могут зависеть от зондов для зондирования канала, передаваемых на разных пространственных уровнях. Таким образом, коэффициенты луча могут быть определены для уменьшения интерференции со стороны зондов для зондирования канала друг на друга, и изменения одного коэффициента луча могут приводить к изменениям других коэффициентов луча. Соответственно, коэффициенты луча могут быть включены в одну матрицу MIMO (например, матрицу M x N, где M может представлять собой количество антенн 410 и N может представлять собой количество пространственных потоков), причем элементы матрицы могут зависеть друг от друга.
В некоторых примерах операции для определения коэффициентов луча используют высокие уровни обработки и являются очень сложными. Объем обработки и сложности может увеличиваться по мере увеличения количества антенн и увеличения количества пространственных потоков. В некоторых примерах геометрические отношения между терминалами 420 и антеннами 410 могут быть использованы для упрощения операций определения коэффициентов луча, например, путем ограничения матрицы канала, уменьшения набора возможных коэффициентов луча или обоих. В некоторых примерах зонды для зондирования канала могут испытывать меньшее рассеяние на основе относительных положений терминалов 420 и антенной решетки 405. Соответственно, канал, оцененный с использованием зондов для зондирования канала, может быть ограничен, что может снизить сложность, связанную с определением коэффициентов луча.
Геометрические отношения между терминалами 420 и антеннами 410 могут позволить уменьшить набор возможных коэффициентов луча по одной или более из следующих причин - положение антенн в космосе может уменьшать количество рассеяния и многолучевых компонентов, которые учитываются в наземном применении; положение антенн в космосе может уменьшать углы, с которых могут поступать сигналы, передаваемые от терминалов 420; временные задержки на разных антеннах 410 могут быть использованы для определения пространственной информации, которая облегчает определение коэффициентов луча, и т.д.
Схема 401 сигнала может отображать первый набор сигналов 435 элементов, принятых на антенной решетке 405, причем каждый сигнал 435 элемента может быть принят на соответствующей антенне, например, первый сигнал 435-1 элемента может соответствовать первой антенне из антенн 410. Каждый сигнал 435 элемента может принимать компоненты сигнала, относящиеся к сигналам, передаваемым от первого терминала 420-1 и второго терминала 420-2 (и в некоторых примерах от других терминалов), включая прямой канал и многолучевые сигналы.
Матрица 440 MIMO может быть применена к сигналам 435 элемента, причем элементы матрицы 440 MIMO могут быть предварительно определены с использованием зондов для зондирования канала, передаваемых от набора терминалов. После применения матрицы 440 MIMO к сигналам 435 элемента может быть выведен набор сигналов 475 луча, причем сигналы 475 луча могут быть связаны с соответствующими пространственными уровнями канала, которые подвергаются воздействию матрицы 440 MIMO.
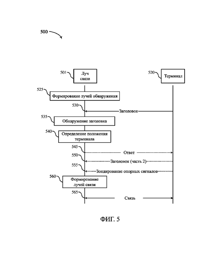
На фиг. 5 показан пример набора операций формирования луча с использованием разреженных антенных решеток в соответствии с примерами, описанными в настоящем документе. Последовательность 500 операций процесса может быть выполнена сетью 501 связи и терминалом 520, которые могут представлять собой соответствующие примеры аспектов сети связи и терминала, описанные выше со ссылкой на фиг. 1–4. Сеть 501 связи может включать в себя антенную решетку (например, антенную решетку 105, показанную на фиг. 1), наземную систему (например, наземную систему 135, показанную на фиг. 1) и сетевое устройство (например, сетевое устройство 130, показанное на фиг. 1). В некоторых примерах сеть 501 связи может представлять собой спутниковую сеть.
В некоторых примерах последовательность 500 операций процесса иллюстрирует типовую последовательность операций, выполняемых для поддержки формирования луча с использованием разреженных антенных решеток. Например, последовательность 500 операций процесса изображает операции обнаружения терминалов и формирования небольших лучей связи с использованием разреженной антенной решетки. Одна или более операций, описанных в последовательности 500 операций процесса, могут быть выполнены раньше или позже в процессе, опущены, заменены, дополнены или объединены с другой операцией. Кроме того, могут быть включены дополнительные операции, описанные в настоящем документе, которые не включены в последовательность 500 операций процесса.
В блоке 525 сеть 501 связи может формировать множество лучей обнаружения, имеющих соответствующие зоны обнаружения в географической зоне. В некоторых примерах зоны обнаружения охватываются по всей географической зоне — например, если зоны обнаружения не покрывают всю географическую область. В некоторых примерах периметр географической зоны составляет около 1000 км, а периметр зон обнаружения составляет более 50 км.
Можно использовать множество наборов антенн в антенной решетке сети 501 связи (например, в комбинации с соответствующими коэффициентами луча) для формирования соответствующих лучей обнаружения, которые используются для покрытия географической зоны. В некоторых примерах каждый набор антенн может иметь присущие ему диаграммы направленности антенны, которые сфокусированы на конкретной области географической зоны (например, на основе физической ориентации, физической конфигурации и т.д.), причем зоны могут соответствовать зонам обнаружения. В некоторых примерах каждый набор антенн включает в себя менее 10% антенн антенной решетки. Кроме того, наборы антенн могут включать в себя одну или более общих антенн. В некоторых примерах соответствующие наборы коэффициентов луча применяют к наборам сигналов, принимаемых от каждого набора антенн, для формирования лучей обнаружения, имеющих зоны обнаружения. В некоторых примерах значения наборов коэффициентов луча могут быть скорректированы, например, для охвата зон обнаружения по всей географической зоне.
В некоторых примерах методы MIMO могут быть использованы для формирования лучей обнаружения, имеющих зоны обнаружения, причем коэффициенты луча (например, матрица коэффициентов луча) могут быть определены для набора антенн (или групп антенн) антенной решетки, открывающих пространственные уровни канала, которые соответствуют соответствующим зонам обнаружения. В некоторых примерах коэффициенты луча для матрицы MIMO могут быть основаны на зондах для зондирования канала, передаваемых от известных передатчиков (например, опорных терминалов), которые могут быть расположены в известных местоположениях. В некоторых примерах один из известных передатчиков расположен в пределах каждой из зон обнаружения.
В блоке 530 терминал 520 может передавать заголовок, например, в направлении антенной решетки сети 501 связи. В некоторых примерах терминал 520 может передавать заголовок для установления начального соединения с сетью 501 связи. Заголовок может включать в себя повторы формы волны (например, до одной сотни повторов). В некоторых примерах форма волны модулируется с помощью последовательности распространения для повышения сложности, связанной с подделкой заголовка. Дополнительно или альтернативно, форма волны может быть использована для передачи кодируемого сообщения. Заголовок также может включать в себя информацию о положении, такую как глобальные координаты позиционирования, например, во второй части заголовка. В некоторых примерах вторая часть заголовка передается позже, например, в ответ на сигнализацию, принятую от сети 501 связи, которая указывает прием заголовка. В некоторых примерах заголовок, передаваемый терминалом 520, может быть уникальным относительно заголовков, передаваемых от других терминалов (или случайным образом выбран из набора заголовков, таким образом, что уменьшается вероятность того, что ближайшие терминалы выберут один и тот же заголовок).
В блоке 535 сеть 501 связи может обнаруживать заголовок, переданный от терминала 520. В некоторых примерах сеть 501 связи обнаруживает заголовок на основе объединения сигналов, принимаемых во время последовательных интервалов времени для получения объединенного сигнала, фильтрации объединенного сигнала на основе формы волны, включенной в заголовок, для получения отфильтрованного сигнала и определения того, соответствует ли отфильтрованный сигнал форме волны, превышает ли энергия отфильтрованного сигнала пороговое значение, или оба. Например, сеть 501 связи может определять заголовок на основе определения того, что энергия отфильтрованного сигнала превышает пороговое значение. В некоторых примерах на основе обнаружения заголовка сеть 501 связи может также определять вторую часть заголовка, которая включает в себя информацию о положении.
В блоке 540 сеть 501 связи может определять положение терминала 520 на основе обнаружения заголовка. В некоторых примерах сеть 501 связи определяет положение терминала 520 на основе информации о положении, включенной во вторую часть заголовка. В некоторых примерах сеть 501 связи определяет положение терминала 520 на основе информации о положении, включенной во вторую часть заголовка, которая впоследствии передается терминалом 520, как описано со ссылкой на блоки 545 и 550.
В некоторых примерах сеть 501 связи может определять зону обнаружения, в пределах которой расположен терминал 520, на основе заголовка, принятого с использованием набора антенн и/или набора коэффициентов формирования лучей, соответствующих зоне обнаружения. Сеть 501 связи может дополнительно определять уточненное положение терминала 520 на основе формирования луча связи и добавления псевдослучайного шума зоны покрытия луча указанного луча связи в пределах зоны обнаружения. В некоторых примерах луч связи формируется с использованием набора антенн антенной решетки (например, более 50%, 60%, 70%, 80% или 90% антенн), а периметр луча связи может составлять менее 10 км или менее 5 км. Уточненное положение терминала 520 может быть определено на основе сравнения уровней сигнала, передаваемого от терминала 520 (например, заголовка или зондов для зондирования канала), которые определяются для разных зон покрытия луча связи. В некоторых примерах один сигнал, передаваемый от терминала 520, используют для определения положения терминала на основе сети 501 связи, применяя разные коэффициенты луча к сигналам, обнаруженным на антеннах антенной решетки, которые соответствуют сигналу (и которые, в некоторых примерах, подвергаются буферизации или хранению с помощью сети 501 связи), и измеряя результирующие уровни сигнала.
В блоке 545 сеть 501 связи может передавать ответ на заголовок, переданный от терминала 520. В некоторых примерах ответ может включать в себя схему сигнала, используемую для указания того, что ответ предназначен для заголовка, переданного от терминала 520. Ответ может включать в себя запрос на передачу терминалом 520 информации о положении в сеть 501 связи. Дополнительно или альтернативно, ответ может включать в себя запрос на передачу терминалом 520 зондов для зондирования канала, например, для того, чтобы способствовать определению пространственных уровней канала между сетью 501 связи и набором терминалов в пределах географической зоны, включая терминал 520.
В блоке 550 терминал 520 может передавать информацию о положении в сеть 501 связи, например на основе приема ответа, принятого от сети 501 связи. В некоторых примерах информация о положении, переданная от терминала 520, считается второй частью заголовка, переданного терминалом 520.
В блоке 555 терминал 520 может передавать зонды для зондирования канала в сеть 501 связи. В некоторых примерах зонды для зондирования канала передаются на основе приема ответа от сети 501 связи. Зонды для зондирования канала могут быть включены во вторую часть заголовка или могут рассматриваться как третья часть заголовка, переданного терминалом 520.
В блоке 560 сеть 501 связи может формировать один или более лучей связи. В некоторых примерах сеть 501 связи формирует один или более лучей связи с использованием набора антенн, который включает в себя большинство (например, более 50%, 60%, 70%, 80% или 90%) антенн в антенной решетке, причем количество антенн, связанных с формированием лучей связи, может быть больше количества антенн, связанных с формированием лучей обнаружения. Сеть 501 связи может формировать первый луч связи, имеющий зону покрытия луча, которая охватывает терминал 520.
В некоторых примерах сеть 501 связи формирует один или более лучей связи с использованием коэффициентов луча, определенных на основе обработки MIMO. В некоторых примерах сеть 501 связи определяет наличие множества терминалов (включая терминал 520), и сеть 501 связи может обрабатывать зонды для зондирования канала, передаваемые терминалами, для определения коэффициентов луча, которые открывают различные пространственные уровни канала, соответствующие различным терминалам. В некоторых примерах сеть 501 связи определяет один набор коэффициентов луча для применения к сигналам, принятым на наборе антенн (или группах антенн). Можно выбирать один набор коэффициентов луча для подчеркивания сигналов, передаваемых в пределах пространственного уровня, при одновременном уменьшении интерференции со стороны сигналов, передаваемых на других пространственных уровнях.
В некоторых примерах сеть 501 связи формирует один или более лучей связи с использованием коэффициентов луча, определенных на основе геометрических отношений между терминалами и антеннами антенной решетки (которые могут называться геометрической интерпретацией). Например, сеть 501 связи может формировать первый луч связи на основе определенного положения терминала 520 и определенных положений набора антенн, соответствующих коэффициентам луча. Коэффициенты луча для применения к сигналам, обнаруженным на антеннах из набора антенн, могут быть определены на основе соответствующих расстояний между положением терминала 520 и антеннами. В некоторых примерах коэффициенты луча представляют собой сдвиги синхронизации (например, сдвиги фазы). Сеть 501 связи может аналогичным образом формировать другие лучи связи на основе определенных положений других терминалов с использованием соответствующих коэффициентов луча. В некоторых примерах соответствующие коэффициенты луча определяются независимо друг от друга. Соответственно, количество и сложность обработки, связанные с определением соответствующих коэффициентов луча, могут быть уменьшены, например, относительно обработки для определения матрицы луча MIMO.
В некоторых примерах сеть 501 связи формирует один или более лучей связи с использованием коэффициентов луча, которые определяются на основе комбинации обработки MIMO и геометрической интерпретации (которая может называться геометрически-информированным MIMO). Геометрически информированный MIMO может снизить сложность обработки MIMO с использованием геометрических отношений между терминалами и антенной решеткой для уменьшения набора возможных коэффициентов луча, которые могут быть использованы для формирования пространственных уровней канала между терминалами и антенной решеткой. Например, геометрически информированный MIMO может быть упрощен на основе сигналов, поступающих в космосе из преимущественно одного направления и с минимальными угловыми разностями. Кроме того, угол поступления многолучевых компонентов сигналов, которые поступают в антенную решетку, может быть прогнозируемым — например, ввиду наличия небольшого количества рассеивающих объектов в космосе. И напротив, в наземной системе, например, сигналы, передаваемые от устройств на базовую станцию, могут поступать из любого направления, и многолучевые компоненты сигналов могут отражаться из множества различных направлений, отходящих от объектов, окружающих базовую станцию. В некоторых примерах геометрические отношения между передатчиками и антеннами антенной решетки могут быть использованы для дальнейшего упрощения определения матрицы луча MIMO.
В некоторых примерах коэффициенты луча, используемые для формирования одного или более лучей связи, с использованием одного или более из вышеуказанных методов, определяются на антенной решетке сети 501 связи. Например, центральный обрабатывающий компонент, соединенный с антеннами (например, беспроводным или проводным соединением), может быть использован для определения коэффициентов луча. Дополнительно или альтернативно, антенная решетка может ретранслировать обнаруженные сигналы на наземную систему, которая может быть использована для определения коэффициентов луча.
В блоке 565 сеть 501 связи может обмениваться данными с терминалом 520, например, с использованием луча связи, связанного с терминалом 520. В некоторых примерах терминал 520 передает сигнал на сеть 501 связи с использованием луча связи, и набор антенн антенных решеток выводит сигналы элементов, обнаруженные на соответствующих антеннах. Сеть 501 связи может применять первые коэффициенты луча к сигналам элементов, например, сеть 501 связи может применять отдельные коэффициенты луча из первых коэффициентов луча к соответствующим сигналам сигналов элементов.
В некоторых примерах сеть 501 связи передает сигнал на терминал 520 с использованием луча связи. Сеть 501 связи может применять первые коэффициенты луча к сигналу для получения множества сигналов элементов, которые передаются с использованием соответствующих антенн антенной решетки.
На фиг. 6 показан типовой набор операций формирования луча с использованием разреженных антенных решеток в соответствии с примерами, описанными в настоящем документе. Способ 600 может быть выполнен с помощью компонентов антенной решетки, наземной системы или их комбинации, которые могут представлять собой примеры сети связи (или ее компонентов), описанные со ссылкой на фиг. 1 и 2. В некоторых примерах сеть связи может выполнять набор команд для управления функциональными элементами сети связи для выполнения описанных функций. Дополнительно или альтернативно, сеть связи может выполнять аспекты описанных функций с использованием аппаратных средств специального назначения.
В блоке 605 способ 600 может включать в себя формирование, посредством антенной решетки, множества лучей обнаружения в пределах географической зоны, причем каждый луч обнаружения из множества лучей обнаружения сформирован соответствующим набором антенн антенной решетки, причем межэлементный интервал антенн антенной решетки отличается по всей антенной решетке. Операции в блоке 605 можно выполнять в соответствии с примерами, описанными в настоящем документе. В некоторых примерах аспекты операций блока 605 могут быть выполнены с помощью устройства управления лучом, как описано в настоящем документе и со ссылкой на фиг. 2.
В блоке 610 способ 600 может включать в себя обнаружение, с использованием луча обнаружения из множества лучей обнаружения, заголовка, переданного от терминала, причем луч обнаружения сформирован на основе первого соответствующего набора антенн антенной решетки и включает зону обнаружения в пределах географической зоны. Операции в блоке 610 можно выполнять в соответствии с примерами, описанными в настоящем документе. В некоторых примерах аспекты операций блока 610 могут быть выполнены с помощью детектора сигнала, как описано в настоящем документе и со ссылкой на фиг. 2.
В блоке 615 способ 600 может включать определение наличия терминала в зоне обнаружения на основе обнаружения заголовка. Операции в блоке 615 можно выполнять в соответствии с примерами, описанными в настоящем документе. В некоторых примерах аспекты операций блока 615 могут быть выполнены с помощью позиционирующего компонента, как описано в настоящем документе и со ссылкой на фиг. 2.
В блоке 620 способ 600 может включать в себя обработку, на основе определения наличия терминала в зоне обнаружения, множества сигналов, обнаруженных на втором наборе антенн антенной решетки в соответствии с коэффициентами луча для получения сигнала луча луча связи, причем луч связи включает зону покрытия луча в пределах зоны обнаружения, которая включает в себя положение терминала в пределах зоны обнаружения, причем каждый обнаруженный сигнал из множества сигналов, обнаруженных на втором наборе антенн, содержит соответствующий компонент сигнала связи, передаваемого терминалом, причем количество второго набора антенн больше, чем количество первого соответствующего набора антенн. Операции в блоке 620 можно выполнять в соответствии с примерами, описанными в настоящем документе. В некоторых примерах аспекты операций блока 620 могут быть выполнены с помощью устройства управления лучом, как описано в настоящем документе и со ссылкой на фиг. 2.
В некоторых примерах устройство, описанное в настоящем документе, может использовать один или несколько способов, таких как способ 600. Устройство может включать в себя элементы, схемы, логику, средства или команды (например, энергонезависимый машиночитаемый носитель, хранящий команды, исполняемые процессором) для формирования, посредством антенной решетки, множества лучей обнаружения в пределах географической зоны, причем каждый луч обнаружения из множества лучей обнаружения сформирован соответствующим набором антенн антенной решетки, причем межэлементный интервал антенн антенной решетки отличается по всей антенной решетке; обнаружение, с использованием луча обнаружения из множества лучей обнаружения, заголовка, переданного от терминала, причем луч обнаружения сформирован на основе, по меньшей мере частично, первого соответствующего набора антенн антенной решетки и включает зону обнаружения в пределах географической зоны; определение наличия терминала в зоне обнаружения на основе, по меньшей мере частично, обнаружения заголовка; и обработку, по меньшей мере частично, на основе определения наличия терминала в зоне обнаружения, множества сигналов, обнаруженных на втором наборе антенн антенной решетки в соответствии с коэффициентами луча для получения сигнала луча луча связи, причем луч связи включает зону покрытия луча в пределах зоны обнаружения, которая включает в себя положение терминала в пределах зоны обнаружения, причем каждый обнаруженный сигнал из множества сигналов, обнаруженных на втором наборе антенн, содержит соответствующий компонент сигнала связи, передаваемого терминалом, причем количество второго набора антенн больше, чем количество первого соответствующего набора антенн.
В некоторых примерах устройство может включать в себя элементы, схемы, логику, средства или команды для определения положения терминала в пределах географической зоны на основе, по меньшей мере частично, заголовка; и определение коэффициентов луча на основе, по меньшей мере частично, положения терминала.
В некоторых примерах положение терминала определяют на основе, по меньшей мере частично, информации о положении для терминала, включенного в заголовок.
В некоторых примерах устройство может включать в себя элементы, схемы, логику, средства или команды для регулирования зоны покрытия луча указанного луча связи; и определение множества уровней сигнала для сигнала луча на основе, по меньшей мере частично, регулирования зоны покрытия луча указанного луча связи, причем положение терминала определяют на основе, по меньшей мере частично, центра зоны покрытия луча, когда уровень сигнала из множества уровней сигнала удовлетворяет пороговому значению.
В некоторых примерах заголовок содержит первую часть, содержащую повторы формы волны, используемой для указания наличия терминала.
В некоторых примерах заголовок содержит вторую часть, содержащую информацию о положении для терминала.
В некоторых примерах устройство может включать в себя элементы, схемы, логику, средства или команды для определения положения антенн из второго набора антенн; и определение коэффициентов луча на основе, по меньшей мере частично, положения антенн из второго набора антенн.
В некоторых примерах терминал представляет собой первый терминал, сигнал связи представляет собой первый сигнал связи, а устройство может включать в себя элементы, схемы, логику, средства или команды для обнаружения второго заголовка, переданного от второго терминала; определение наличия второго терминала на основе, по меньшей мере частично, обнаружения второго заголовка; и обработку, по меньшей мере частично, на основе определения наличия второго терминала в зоне обнаружения, второго множества сигналов, обнаруженных на втором наборе антенн в соответствии с коэффициентами луча для получения второго сигнала луча второго луча связи, причем второй луч связи включает вторую зону покрытия луча в пределах зоны обнаружения, которая включает в себя положение второго терминала в пределах зоны обнаружения, причем каждый обнаруженный сигнал из второго множества сигналов, обнаруженных на втором наборе антенн, содержит соответствующий компонент второго сигнала связи, переданного вторым терминалом.
В некоторых примерах устройство может включать в себя элементы, схемы, логику, средства или команды для приема первого набора зондов для зондирования канала от первого терминала и второго набора зондов для зондирования канала от второго терминала; определение оцененного канала между первым терминалом, вторым терминалом и вторым набором антенн на основе, по меньшей мере частично, первого набора зондов для зондирования канала и второго набора зондов для зондирования канала; и определение коэффициентов луча на основе, по меньшей мере частично, оцененного канала.
В некоторых примерах устройство может включать в себя элементы, схемы, логику, средства или команды для определения геометрического отношения между терминалом и вторым набором антенн; и определение набора потенциальных коэффициентов луча на основе, по меньшей мере частично, геометрического отношения между терминалом и вторым набором антенн, причем количество набора потенциальных коэффициентов луча уменьшается относительно количества набора доступных коэффициентов луча, причем коэффициенты луча определяют на основе, по меньшей мере частично, набора потенциальных коэффициентов луча.
В некоторых примерах второй набор антенн расположен на спутниковой орбите.
В некоторых примерах второй заголовок обнаруживают с использованием луча обнаружения, а наличие второго терминала определяют в зоне обнаружения на основе, по меньшей мере частично, второго заголовка, обнаруживаемого с использованием луча обнаружения.
В некоторых примерах второй заголовок обнаруживают с использованием второго луча обнаружения, который сформирован третьим набором антенн антенной решетки и включает вторую зону обнаружения в пределах географической зоны, а наличие второго терминала определяют во второй зоне обнаружения на основе, по меньшей мере частично, второго заголовка, обнаруживаемого с использованием второго луча обнаружения.
В некоторых примерах терминал представляет собой первый терминал, сигнал связи представляет собой первый сигнал связи, а устройство может включать в себя элементы, схемы, логику, средства или команды для обнаружения второго заголовка, переданного от второго терминала; определение наличия второго терминала на основе, по меньшей мере частично, обнаружения второго заголовка; и обработку на основе, по меньшей мере частично, определения наличия второго терминала в зоне обнаружения, второго множества сигналов, обнаруженных на третьем наборе антенн в соответствии со вторыми коэффициентами луча для получения второго сигнала луча второго луча связи, причем второй луч связи включает вторую зону покрытия луча в пределах зоны обнаружения, которая включает в себя положение второго терминала в пределах зоны обнаружения, причем каждый обнаруженный сигнал из второго множества сигналов, обнаруженных на втором наборе антенн, содержит соответствующий компонент второго сигнала связи, переданного вторым терминалом.
В некоторых примерах устройство может включать в себя элементы, схемы, логику, средства или команды для определения вторых коэффициентов луча на основе, по меньшей мере частично, положения второго терминала.
В некоторых примерах третий набор антенн и второй набор антенн представляют собой по меньшей мере частично перекрывающиеся наборы.
В некоторых примерах второй заголовок обнаруживают с использованием луча обнаружения, а наличие второго терминала определяют в зоне обнаружения на основе, по меньшей мере частично, второго заголовка, обнаруживаемого с использованием луча обнаружения.
В некоторых примерах второй заголовок обнаруживают с использованием второго луча обнаружения, который сформирован четвертым набором антенн антенной решетки и включает вторую зону обнаружения в пределах географической зоны, а наличие второго терминала определяют во второй зоне обнаружения на основе, по меньшей мере частично, второго заголовка, обнаруживаемого с использованием второго луча обнаружения.
В некоторых примерах устройство может включать в себя элементы, схемы, логику, средства или команды для обнаружения множества заголовков, передаваемых от множества терминалов, причем множество заголовков содержит заголовок и множество терминалов содержит терминал; определение наличия множества терминалов во множестве зон обнаружения, которое содержит зону обнаружения; и обработку на основе, по меньшей мере частично, определения наличия множества терминалов во множестве зон обнаружения, множеств сигналов, обнаруженных на множестве наборов антенн в соответствии с множеством коэффициентов луча, для получения множества сигналов луча из множества лучей связи, которые содержат луч связи.
В некоторых примерах для обработки множества сигналов в соответствии с коэффициентами луча устройство может включать в себя элементы, схемы, логику, средства или команды для выравнивания во времени начала множества компонентов сигнала связи на основе, по меньшей мере частично, коэффициентов луча, причем коэффициенты луча основаны, по меньшей мере частично, на положении терминала и положении антенн из второго набора антенн; и суммирование множества компонентов сигнала связи на основе, по меньшей мере частично, выравнивания.
В некоторых примерах зона покрытия луча меньше, чем зона обнаружения, на основе, по меньшей мере частично, количества второго набора антенн, превышающего количество первого соответствующего набора антенн.
В некоторых примерах диаметр зоны обнаружения составляет менее 150 км, а диаметр зоны покрытия луча составляет менее 20 км.
В некоторых примерах терминал представляет собой первый терминал, а устройство может включать в себя элементы, схемы, логику, средства или команды для формирования, с использованием третьего набора антенн перед обнаружением заголовка, множества лучей связи в пределах географической зоны, причем третий набор антенн содержит первый соответствующий набор антенны; и прием, во втором сигнале, который содержит заголовок, переданный от первого терминала, и второй сигнал связи, переданный от второго терминала, заголовка посредством луча обнаружения на первом соответствующем наборе антенн и второго сигнала связи посредством второго луча связи на третьем наборе антенн.
В некоторых примерах устройство может включать в себя элементы, схемы, логику, средства или команды для применения коэффициентов луча ко второму сигналу связи, содержащему данные для терминала, для получения второго сигнала луча, содержащего данные; и передачу, от второго набора антенн на терминал, набора сигналов элементов, используемых для формирования второго сигнала луча, с использованием второго луча связи, который по меньшей мере частично основан на луче связи.
В некоторых примерах множество компонентов сигнала связи обрабатывают с помощью аналоговых методов формирования лучей, цифровых методов формирования лучей или их комбинации.
В некоторых примерах второй набор антенн содержит первый соответствующий набор антенн.
В некоторых примерах наборы антенн, соответствующие множеству лучей обнаружения, не пересекаются.
В некоторых примерах наборы антенн, соответствующие множеству лучей обнаружения, не пересекаются.
В некоторых примерах каждый из соответствующих наборов антенн антенной решетки содержит множество антенных элементов, которые равномерно распределены по антенной панели.
В некоторых примерах межэлементный интервал антенн антенной решетки больше, чем расстояние, которое эквивалентно длине волны сигналов, передаваемых с использованием антенной решетки.
В некоторых примерах межэлементный интервал антенн антенной решетки больше, чем расстояние, которое эквивалентно десяти длинам волн сигналов, передаваемых с использованием антенной решетки.
В некоторых примерах система, описанная в настоящем документе, может использовать один или несколько способов, таких как способ 600. Система может включать в себя устройство управления лучом, выполненное с возможностью формирования, с использованием антенной решетки, множества лучей обнаружения в пределах географической зоны, причем каждый луч обнаружения из множества лучей обнаружения сформирован соответствующим набором антенн антенной решетки, причем межэлементный интервал антенн антенной решетки отличается по всей антенной решетке; детектор сигнала, выполненный с возможностью обнаружения, с использованием луча обнаружения из множества лучей обнаружения, заголовка, переданного от терминала, причем луч обнаружения сформирован на основе, по меньшей мере частично, первого соответствующего набора антенн антенной решетки и включает зону обнаружения в пределах географической зоны; позиционирующий компонент, выполненный с возможностью определения наличия терминала в зоне обнаружения на основе, по меньшей мере частично, обнаружения заголовка, причем устройство управления лучом дополнительно выполнено с возможностью обработки на основе, по меньшей мере частично, определения наличия терминала в зоне обнаружения, множества сигналов, обнаруженных на втором наборе антенн антенной решетки в соответствии с коэффициентами луча для получения сигнала луча луча связи, причем луч связи включает зону покрытия луча в пределах зоны обнаружения, которая включает в себя положение терминала в пределах зоны обнаружения, причем каждый обнаруженный сигнал из множества сигналов, обнаруженных на втором наборе антенн, содержит соответствующий компонент сигнала связи, передаваемого терминалом, и причем количество второго набора антенн больше, чем количество первого соответствующего набора антенн.
В некоторых примерах системы позиционирующий компонент дополнительно выполнен с возможностью определения положения терминала в пределах географической зоны на основе, по меньшей мере частично, заголовка, а устройство управления лучом дополнительно выполнено с возможностью определения коэффициентов луча на основе, по меньшей мере частично, положения терминала.
В некоторых примерах системы устройство управления лучом дополнительно выполнено с возможностью регулирования зоны покрытия луча указанного луча связи, а детектор сигнала дополнительно выполнен с возможностью определения множества уровней сигнала для сигнала луча на основе, по меньшей мере частично, регулирования зоны покрытия луча указанного луча связи, причем положение терминала определяют на основе, по меньшей мере частично, центра зоны покрытия луча, когда уровень сигнала из множества уровней сигнала удовлетворяет пороговому значению.
В некоторых примерах системы позиционирующий компонент дополнительно выполнен с возможностью определения положения антенн из второго набора антенн, а устройство управления лучом дополнительно выполнено с возможностью определения коэффициентов луча на основе, по меньшей мере частично, положения антенн из второго набора антенн.
В некоторых примерах системы терминал представляет собой первый терминал, сигнал связи представляет собой первый сигнал связи, детектор сигнала дополнительно выполнен с возможностью обнаружения второго заголовка, переданного от второго терминала, а позиционирующий компонент дополнительно выполнен с возможностью определения наличия второго терминала на основе, по меньшей мере частично, обнаружения второго заголовка; причем сеть связи дополнительно содержит компонент MIMO, выполненный с возможностью обработки на основе, по меньшей мере частично, определения наличия второго терминала в зоне обнаружения, второго множества сигналов, обнаруженных на втором наборе антенн в соответствии с коэффициентами луча для получения второго сигнала луча второго луча связи, причем второй луч связи включает вторую зону покрытия луча в пределах зоны обнаружения, которая включает в себя положение второго терминала в пределах зоны обнаружения, причем каждый обнаруженный сигнал из второго множества сигналов, обнаруженных на втором наборе антенн, содержит соответствующий компонент второго сигнала связи, переданного вторым терминалом.
В некоторых примерах системы детектор сигнала дополнительно выполнен с возможностью приема первого набора зондов для зондирования канала от первого терминала и второго набора зондов для зондирования канала от второго терминала, а компонент MIMO дополнительно выполнен с возможностью: определения оцененного канала между первым терминалом, вторым терминалом и вторым набором антенн на основе, по меньшей мере частично, первого набора зондов для зондирования канала и второго набора зондов для зондирования канала; и определения коэффициентов луча на основе, по меньшей мере частично, оцененного канала.
В некоторых примерах системы геометрический компонент выполнен с возможностью определения геометрического отношения между терминалом и вторым набором антенн, причем компонент MIMO дополнительно выполнен с возможностью определения набора потенциальных коэффициентов луча на основе, по меньшей мере частично, геометрического отношения между терминалом и вторым набором антенн, причем количество набора потенциальных коэффициентов луча уменьшается относительно количества набора доступных коэффициентов луча, причем коэффициенты луча определяют на основе, по меньшей мере частично, набора потенциальных коэффициентов луча.
В некоторых примерах системы геометрический компонент дополнительно выполнен с возможностью определения вторых коэффициентов луча на основе, по меньшей мере частично, положения второго терминала.
Следует отметить, что эти способы описывают варианты реализации и что порядок выполнения операций и стадий может быть изменен или сами операции и стадии могут быть модифицированы иным образом так, что возможны другие варианты реализации. В некоторых примерах можно объединять аспекты двух или более способов. Например, аспекты каждого из способов могут включать в себя стадии или аспекты других способов или другие стадии или методы, описанные в настоящем документе.
Информация и сигналы, описанные в настоящем документе, могут быть представлены с использованием любой из множества разных технологий и методик. Например, данные, инструкции, команды, информация, сигналы, биты, символы и микросхемы, которые могут упоминаться в описании, могут быть представлены напряжениями, токами, электромагнитными волнами, магнитными полями или частицами, оптическими полями или частицами или любой их комбинацией.
Различные иллюстративные блоки и компоненты, описанные в связи с раскрытием в настоящем документе, могут быть реализованы или выполнены с помощью процессора общего назначения, DSP, ASIC, FPGA или другого программируемого логического устройства, логической схемы на дискретных компонентах или транзисторах, дискретных аппаратных компонентов или любой их комбинации, выполненной с возможностью выполнения функций, описанных в настоящем документе. Процессор общего назначения может представлять собой микропроцессор или альтернативно процессор может представлять собой стандартный процессор, контроллер, микроконтроллер или машину состояний. Процессор также может быть реализован в виде комбинации вычислительных устройств (например, комбинации DSP и микропроцессора, множества микропроцессоров, одного или более микропроцессоров в сочетании с ядром DSP или любой другой подобной конфигурации).
Описанные в настоящем документе функции могут быть реализованы в виде оборудования, программного обеспечения, исполняемого процессором, встроенного программного обеспечения или любой их комбинации. При реализации в программном обеспечении, исполняемом процессором, функции можно хранить или передавать в виде одной или более команд или кода на машиночитаемом носителе. Другие примеры и варианты реализации входят в объем описания и прилагаемой формулы изобретения. Например, благодаря характеру программного обеспечения описанные в настоящем документе функции могут быть реализованы с использованием программного обеспечения, исполняемого процессором, оборудованием, микропрограммным обеспечением, аппаратным обеспечением или любых их комбинаций. Элементы, реализующие функции, могут также быть физически расположены в различных местоположениях, включая распределенное расположение таким образом, что части функций реализованы в разных физических местоположениях.
К машиночитаемым носителям относятся как физические компьютерные носители данных, так и средства связи, включающие любой носитель, обеспечивающий возможность переноса компьютерной программы из одного места в другое. Физический носитель данных может представлять собой любой существующий носитель, доступ к которому может быть осуществлен с помощью универсального или специализированного компьютера. В качестве примера и без ограничения, энергонезависимый машиночитаемый носитель может включать в себя ОЗУ, ПЗУ, электрически стираемое программируемое постоянное запоминающее устройство (ЭСППЗУ), флеш-память, ПЗУ на компакт-диске (CDROM) или другой накопитель на оптическом диске, накопитель на магнитном диске или другие магнитные запоминающие устройства, либо любой другой энергонезависимый носитель, который может быть использован для переноса или хранения требуемых средств программного кода в виде команд или структур данных, доступ к которым может быть осуществлен с помощью компьютера общего назначения или специального назначения либо процессора общего назначения или специального назначения. Кроме того, любое соединение, строго говоря, называется машиночитаемым носителем. Например, при передаче программного обеспечения с веб-сайта, сервера или другого удаленного источника с использованием коаксиального кабеля, оптоволоконного кабеля, витой пары, цифровой абонентской линии связи (DSL) или беспроводных технологий, таких как инфракрасные, радио- и СВЧ-сигналы, в определение носителя включены коаксиальный кабель, оптоволоконный кабель, витая пара, DSL или беспроводные технологии, такие как инфракрасные, радио- и СВЧ-сигналы. В настоящем документе термин «диск» включает в себя компакт-диск, лазерный диск, оптический диск, универсальный цифровой диск (DVD), гибкий диск и диск Blu-ray, причем диски одного типа обычно воспроизводят данные магнитным способом, в то время как диски другого типа воспроизводят данные оптическим способом с помощью лазеров. Комбинации вышеперечисленного также включены в объем термина «машиночитаемый носитель».
В настоящем документе термин «или», который используется в списке пунктов (например, в списке пунктов, предваряемом таким выражением, как «по меньшей мере один из» или «один или более из»), указывает на включающий список, так что, например, список из по меньшей мере одного из A, B или C означает A, или B, или C, или AB, или AC, или BC, или ABC (т. е. A, и B, и C). Кроме того, в настоящем документе выражение «на основе» не следует понимать как ссылку на ограниченный набор условий. Например, иллюстративный этап, описанный как «на основе условия A», может быть основан как на условии A, так и на условии B, без отступления от объема настоящего описания. Иными словами, в настоящем документе фразу «на основе» следует толковать таким же образом, как фразу «на основе по меньшей мере частично».
На прилагаемых фигурах аналогичные компоненты или элементы могут иметь одинаковые ссылочные обозначения. Кроме того, различные компоненты одного и того же типа можно различать с помощью ссылочного обозначения в виде пунктирной линии и второго обозначения, которое отличается от аналогичных компонентов. Если в описании используют просто первое ссылочное обозначение, описание применимо к любому из аналогичных компонентов, имеющих одно и то же ссылочное обозначение, независимо от второго ссылочного обозначения.
Описание, изложенное в настоящем документе в связи с прилагаемыми чертежами, описывает пример конфигураций и не представляет все примеры, которые могут быть реализованы или которые входят в объем формулы изобретения. В настоящем документе термин «пример» означает «служащий примером, образцом или иллюстрацией», а не «предпочтительный» или «преимущественный по отношению к другим вариантам осуществления». Подробное описание включает в себя конкретные детали для обеспечения полного понимания описанных методик. Однако эти методики могут быть реализованы без этих конкретных деталей. В некоторых случаях хорошо известные структуры и устройства показаны в виде блок-схемы для лучшей иллюстрации идей описанных примеров.
Описание в настоящем документе предоставлено, чтобы дать возможность специалисту в данной области техники воссоздать или использовать описание. Различные модификации описания будут очевидны специалистам в данной области, и общие принципы, определенные в настоящем документе, можно применять к другим вариантам, не выходя за рамки объема описания. Таким образом, описание не ограничивается примерами и конструкциями, описанными в настоящем документе, а должно рассматриваться в самом широком объеме в соответствии с принципами и новыми признаками, описанными в настоящем документе.
| название | год | авторы | номер документа |
|---|---|---|---|
| УПРАВЛЕНИЕ ЛУЧОМ ПОСРЕДСТВОМ РАЗРЕЖЕННЫХ АНТЕННЫХ РЕШЕТОК | 2021 |
|
RU2834454C1 |
| СВЕРХДЕШЕВАЯ ВЫСОКОЭФФЕКТИВНАЯ АПЕРТУРА СПУТНИКА | 2020 |
|
RU2796248C2 |
| РАДИОЛОКАТОР, ПРИМЕНЯЮЩИЙ СКВОЗНОЙ РЕТРАНСЛЯТОР | 2020 |
|
RU2812759C1 |
| СПОСОБ ПОЛУЧЕНИЯ ИЗОБРАЖЕНИЯ ГЕОГРАФИЧЕСКОГО РЕГИОНА И СИСТЕМА ФОРМИРОВАНИЯ ИЗОБРАЖЕНИЙ | 2020 |
|
RU2817767C1 |
| СТРУКТУРА ПЕРЕДАЧИ, ПОДДЕРЖИВАЮЩАЯ МНОГОПОЛЬЗОВАТЕЛЬСКОЕ ПЛАНИРОВАНИЕ И MIMO ПЕРЕДАЧУ | 2008 |
|
RU2454798C2 |
| ПРЕДСТАВЛЕНИЕ ОТЧЕТА О СБОЕ РАДИОЛИНИИ СВЯЗИ | 2009 |
|
RU2479154C2 |
| МНОГОУЗЛОВАЯ СИСТЕМА MIMO-СВЯЗИ С ФОРМИРОВАНИЕМ ГИБРИДНОЙ ДИАГРАММЫ НАПРАВЛЕННОСТИ В АРХИТЕКТУРЕ L1-РАЗБИЕНИЯ | 2018 |
|
RU2756893C2 |
| Узел доступа для системы связи со сквозным формированием обратных лучей | 2016 |
|
RU2704119C1 |
| Спутник для сквозного формирования прямого луча | 2020 |
|
RU2805479C2 |
| Формирователь луча для системы связи со сквозным формированием лучей | 2016 |
|
RU2709492C1 |
Изобретение относится к области связи, включая формирование луча посредством разреженных антенных решеток. Техническим результатом является обеспечение повышения разрешения формирования луча и поддержки увеличенного количества пользователей в пределах географической зоны. Упомянутый технический результат достигается тем, что антенная решетка связана с формированием лучей обнаружения в пределах географической зоны, причем каждый луч обнаружения сформирован с помощью соответствующего набора антенн антенной решетки и покрывает зону обнаружения в пределах географической зоны; заголовки, передаваемые от терминалов в пределах зоны обнаружения луча обнаружения, обнаруживаются с помощью антенной решетки; на основе обнаружения заголовка с помощью луча обнаружения можно определить наличие терминала в соответствующей зоне обнаружения, на основе определения наличия терминала сигналы, обнаруженные во втором наборе антенн антенной решетки, могут быть обработаны в соответствии с коэффициентами луча для получения сигнала луча определенного луча связи, который включает в себя зону покрытия луча, охватывающую положение терминала. Каждый обнаруженный сигнал может содержать соответствующий компонент сигнала, передаваемого терминалом. 2 н. и 28 з.п. ф-лы, 6 ил.
1. Способ связи, включающий:
формирование, с помощью антенной решетки (105), реализованной на одном или более спутниках, множества лучей (119) обнаружения в пределах географической зоны (150), причем каждый луч (119) обнаружения из множества лучей (119) обнаружения сформирован соответствующей антенной подрешеткой (115) антенной решетки (105), причем антенные подрешетки (115) антенной решетки (105) развернуты на космической орбите, причем каждая антенная подрешетка (115) из антенных подрешеток (115) содержит соответствующий набор равномерно распределенных антенн и причем расстояние между смежными антенными подрешетками (115) антенной решетки (105) отличается по всей антенной решетке (105);
обнаружение, с помощью первого луча (119) обнаружения из множества лучей (119) обнаружения, первого заголовка (118), переданного от первого терминала (120), причем первый луч (119) обнаружения сформирован с помощью первой антенной подрешетки (115) антенной решетки (105) и включает первую зону (155) обнаружения в пределах географической зоны (150);
обнаружение, с помощью второго луча (119) обнаружения из множества лучей (119) обнаружения, второго заголовка (118), переданного от второго терминала (120), причем второй луч (119) обнаружения сформирован с помощью второй антенной подрешетки (115) антенной решетки (105) и включает вторую зону (155) обнаружения в пределах географической зоны (150);
определение наличия первого терминала (120) в первой зоне (155) обнаружения на основе, по меньшей мере частично, обнаружения первого заголовка (118) и наличия второго терминала (120) во второй зоне (155) обнаружения на основе, по меньшей мере частично, обнаружения второго заголовка (118); и
обработку на основе, по меньшей мере частично, определения наличия первого терминала (120) в первой зоне (155) обнаружения, множества сигналов (335, 435), переданных от первого терминала (120) и обнаруженных на первой антенной подрешетке (115) и второй антенной подрешетке (115) в соответствии с коэффициентами луча, для получения сигнала (375, 475) луча луча (117) связи, причем луч (117) связи включает зону (160) покрытия луча в пределах первой зоны (155) обнаружения, которая включает в себя положение первого терминала (120) в пределах первой зоны (155) обнаружения, причем каждый обнаруженный сигнал (335, 435) из множества сигналов (335, 435) содержит соответствующий компонент сигнала связи, переданного первым терминалом (120), причем количество антенн, распределенных по первой антенной подрешетке (115) и второй антенной подрешетке (115), которые обнаруживают множество сигналов (335, 435), больше, чем количество антенн в первой антенной подрешетке (115), применяемых для формирования первого луча (119) обнаружения.
2. Способ по п. 1, дополнительно включающий:
определение положения первого терминала (120) в пределах географической зоны (150) на основе, по меньшей мере частично, первого заголовка (118); и
определение коэффициентов луча на основе, по меньшей мере частично, положения первого терминала (120).
3. Способ по п. 2, в котором положение первого терминала (120) определяется на основе, по меньшей мере частично, информации о положении для первого терминала (120), которая включена в первый заголовок (118).
4. Способ по п. 2, дополнительно включающий:
регулирование зоны (160) покрытия луча указанного луча (117) связи; и
определение множества уровней сигнала для сигнала (375, 475) луча на основе, по меньшей мере частично, регулирования зоны (160) покрытия луча указанного луча (117) связи, причем положение первого терминала (120) определяется на основе, по меньшей мере частично, центра зоны (160) покрытия луча, когда уровень сигнала из множества уровней сигнала удовлетворяет пороговому значению.
5. Способ по любому из пп. 1-4, в котором первый заголовок (118) содержит первую часть, содержащую повторы формы волны, применяемые для указания наличия первого терминала (120).
6. Способ по п. 5, в котором первый заголовок (118) содержит вторую часть, содержащую информацию о положении для первого терминала (120).
7. Способ по любому из пп. 1-6, дополнительно включающий:
определение положения антенн, распределенных по первой антенной подрешетке (115) и второй антенной подрешетке (115), которые обнаруживают множество сигналов (335, 435); и
определение коэффициентов луча на основе, по меньшей мере частично, положения антенн, распределенных по первой антенной подрешетке (115) и второй антенной подрешетке (115).
8. Способ по любому из пп. 1-7, в котором сигнал связи представляет собой первый сигнал связи, и способ дополнительно включает:
обработку на основе, по меньшей мере частично, определения наличия второго терминала (120) во второй области (155) обнаружения, второго множества сигналов (435), переданного от второго терминала и обнаруженного на первой антенной подрешетке (115) и второй антенной подрешетке (115) в соответствии с коэффициентами луча, для получения второго сигнала (475) луча второго луча (117) связи, причем второй луч (117) связи включает вторую зону (160) покрытия луча в пределах второй зоны (155) обнаружения, которая включает в себя положение второго терминала (120) в пределах второй зоны (155) обнаружения, причем каждый обнаруженный сигнал (435) из второго множества сигналов (435) содержит соответствующий компонент второго сигнала связи, переданного вторым терминалом (120).
9. Способ по п. 8, дополнительно включающий:
прием первого набора зондов для зондирования канала от первого терминала (120) и второго набора зондов для зондирования канала от второго терминала (120);
определение оцененного канала между первым терминалом (120), вторым терминалом (120) и первой антенной подрешеткой (115) и второй антенной подрешеткой (115) на основе, по меньшей мере частично, первого набора зондов для зондирования канала и второго набора зондов для зондирования канала; и
определение коэффициентов луча на основе, по меньшей мере частично, оцененного канала.
10. Способ по п. 9, дополнительно включающий:
определение геометрического отношения между первым терминалом (120) и первой антенной подрешеткой (115) и второй антенной подрешеткой (115); и
определение набора потенциальных коэффициентов луча на основе, по меньшей мере частично, геометрического отношения между первым терминалом (120) и первой антенной подрешеткой (115) и второй антенной подрешеткой (115), причем количество набора потенциальных коэффициентов луча уменьшается относительно количества набора доступных коэффициентов луча, причем коэффициенты луча определяют на основе, по меньшей мере частично, набора потенциальных коэффициентов луча.
11. Способ по любому из пп. 1-7, в котором сигнал связи представляет собой первый сигнал связи, и способ дополнительно включает:
обнаружение, с помощью первого луча (119) обнаружения, третьего заголовка (118), переданного от третьего терминала (120);
определение наличия третьего терминала (120) в первой зоне обнаружения на основе, по меньшей мере частично, обнаружения третьего заголовка (118); и
обработку на основе, по меньшей мере частично, определения наличия третьего терминала (120) в первой зоне (155) обнаружения, второго множества сигналов (340), переданного от третьего терминала (120) и обнаруженного на первой антенной подрешетке (115) и второй антенной подрешетке (115) в соответствии со вторыми коэффициентами луча, для получения второго сигнала (375) луча второго луча (117) связи, причем второй луч (117) связи включает вторую зону (160) покрытия луча в пределах первой зоны (155) обнаружения, которая включает в себя положение третьего терминала (120) в пределах первой зоны (155) обнаружения, причем каждый обнаруженный сигнал (340) из второго множества сигналов (340) содержит соответствующий компонент второго сигнала связи, переданного третьим терминалом (120).
12. Способ по п. 11, дополнительно включающий
определение вторых коэффициентов луча на основе, по меньшей мере частично, положения второго терминала (120).
13. Способ по любому из пп. 1-12, дополнительно включающий:
обнаружение множества заголовков (118), передаваемых от множества терминалов (120), причем множество заголовков (118) содержит первый заголовок (118) и второй заголовок (118) и множество терминалов (120) содержит первый терминал (120) и второй терминал (120);
определение наличия множества терминалов (120) во множестве зон (155) обнаружения, которое содержит первую зону (155) обнаружения и вторую зону (155) обнаружения, и
обработку на основе, по меньшей мере частично, определения наличия множества терминалов (120) во множестве зон (155) обнаружения множеств сигналов (335, 340, 435), обнаруженных на множестве наборов антенных подрешеток (115) в соответствии с множеством коэффициентов луча, для получения множества сигналов (375, 475) луча из множества лучей (117) связи, которые содержат луч (117) связи.
14. Способ по любому из пп. 1-13, в котором обработка множества сигналов (335, 435) в соответствии с коэффициентами луча включает:
выравнивание во времени начала множества компонентов сигнала связи на основе, по меньшей мере частично, коэффициентов луча, причем коэффициенты луча, по меньшей мере частично, основаны на положении первого терминала (120) и положении антенн, распределенных по первой антенной подрешетке (115) и второй антенной подрешетке (115), которые обнаруживают множество сигналов (335, 435); и
суммирование множества компонентов сигнала связи на основе, по меньшей мере частично, выравнивания.
15. Способ по любому из пп. 1-14, в котором зона (160) покрытия луча меньше, чем первая зона (155) обнаружения на основе, по меньшей мере частично, количества антенн, распределенных по первой антенной подрешетке (115), и вторая антенная подрешетка (115) больше, чем количество антенн в первой антенной подрешетке (115), применяемой для формирования первого луча (119) обнаружения.
16. Способ по любому из пп. 1-15, в котором диаметр первой зоны (155) обнаружения составляет менее 150 км, а диаметр зоны (160) покрытия луча составляет менее 20 км, и причем периметр первой зоны обнаружения составляет более 50 км.
17. Способ по любому из пп. 1-16, дополнительно включающий:
формирование, с помощью первой антенной подрешетки (115) и четвертой антенной подрешетки (115) и перед обнаружением первого заголовка (118) и второго заголовка (118), множества лучей (117) связи в пределах географической зоны (150); и
прием одновременно первого заголовка (118), переданного от первого терминала (120), посредством первого луча (119) обнаружения, сформированного первой антенной подрешеткой (115), и второго сигнала связи, переданного от второго терминала (120), посредством второго луча (117) связи, сформированного первой антенной подрешеткой (115) и четвертой антенной подрешеткой (115).
18. Способ по любому из пп. 1-17, дополнительно включающий:
применение коэффициентов луча ко второму сигналу связи, содержащему данные для первого терминала (120), для получения второго сигнала (375, 475) луча, содержащего данные; и
передачу, от первой антенной подрешетки (115) и второй антенной подрешетки (115) на первый терминал (120), набора сигналов (335), применяемых для формирования второго сигнала (375, 475) луча, с помощью второго луча (117) связи, который, по меньшей мере частично, основан на луче (117) связи.
19. Способ по любому из пп. 1-18, в котором множество компонентов сигнала связи обрабатывают с помощью аналоговых методов формирования лучей, цифровых методов формирования лучей или их комбинации.
20. Способ по любому из пп. 1-19, в котором межэлементный интервал между антенными подрешетками (115) антенной решетки (105) больше, чем расстояние, которое эквивалентно длине волны сигналов, передаваемых с помощью антенной решетки (105).
21. Способ по любому из пп. 1-20, в котором межэлементный интервал между антенными подрешетками (115) антенной решетки (105) больше, чем расстояние, которое эквивалентно десяти длинам волн сигналов, передаваемых с помощью антенной решетки (105).
22. Сеть (200) связи, содержащая:
устройство (220) управления лучом, выполненное с возможностью формирования, с помощью антенной решетки (105), реализованной на одном или более спутниках, множества лучей (119) обнаружения в пределах географической зоны (150), причем каждый луч (119) обнаружения из множества лучей (119) обнаружения сформирован соответствующей антенной подрешеткой (115) антенной решетки (105), причем антенные подрешетки (115) антенной решетки (105) развернуты на космической орбите, причем каждая антенная подрешетка (115) из антенных подрешеток (115) содержит соответствующий набор равномерно распределенных антенн и причем расстояние между смежными антенными подрешетками (115) антенной решетки (105) отличается по всей антенной решетке (105);
детектор (240) сигнала, выполненный с возможностью:
обнаружения, с помощью первого луча (119) обнаружения из множества лучей (119) обнаружения, первого заголовка (118), переданного от первого терминала (120), причем первый луч (119) обнаружения сформирован с помощью первой антенной подрешетки (115) антенной решетки (105) и включает первую зону (155) обнаружения в пределах географической зоны (150), и
обнаружения, с помощью второго луча (119) обнаружения из множества лучей (119) обнаружения, второго заголовка (118), переданного от второго терминала (120), причем второй луч (119) обнаружения сформирован с помощью второй антенной подрешетки (115) антенной решетки (105) и включает вторую зону (155) обнаружения в пределах географической зоны (150);
позиционирующий компонент (245), выполненный с возможностью определения наличия первого терминала (120) в первой зоне (155) обнаружения на основе, по меньшей мере частично, обнаружения первого заголовка (118) и наличия второго терминала (120) во второй зоне (155) обнаружения на основе, по меньшей мере частично, обнаружения второго заголовка (118),
причем устройство (220) управления лучом дополнительно выполнено с возможностью обработки на основе, по меньшей мере частично, определения наличия первого терминала (120) в первой зоне (155) обнаружения, множества сигналов (335, 435), переданных от первого терминала (120) и обнаруженных на первой антенной подрешетке (115) и второй антенной подрешетке (115) в соответствии с коэффициентами луча, для получения сигнала (375, 475) луча луча (117) связи, причем луч (117) связи включает зону (160) покрытия луча в пределах первой зоны (155) обнаружения, которая включает в себя положение первого терминала (120) в пределах первой зоны (155) обнаружения, причем каждый обнаруженный сигнал (335, 435) из множества сигналов (335, 435) содержит соответствующий компонент сигнала связи, передаваемого первым терминалом (120), и
причем количество антенн, распределенных по первой антенной подрешетке (115) и второй антенной подрешетке (115), которые обнаруживают множество сигналов (335, 435), больше, чем количество антенн в первой антенной подрешетке (115), применяемой для формирования первого луча (119) обнаружения.
23. Сеть (200) связи по п. 22, в которой
позиционирующий компонент (245) дополнительно выполнен с возможностью определения положения первого терминала (120) в пределах географической зоны (150) на основе, по меньшей мере частично, первого заголовка (118) и
устройство (220) управления лучом дополнительно выполнено с возможностью определения коэффициентов луча на основе, по меньшей мере частично, положения первого терминала (120).
24. Сеть (200) связи по п. 23, в которой
устройство (220) управления лучом дополнительно выполнено с возможностью регулирования зоны (160) покрытия луча луча (117) связи и
детектор (240) сигнала дополнительно выполнен с возможностью определения множества уровней сигнала для сигнала (375, 475) луча на основе, по меньшей мере частично, регулирования зоны (160) покрытия луча указанного луча (117) связи, причем положение первого терминала (120) определяется на основе, по меньшей мере частично, центра зоны (160) покрытия луча, когда уровень сигнала из множества уровней сигнала удовлетворяет пороговому значению.
25. Сеть (200) связи по любому из пп. 22-24, в которой
позиционирующий компонент (245) дополнительно выполнен с возможностью положения антенн, распределенных по первой антенной подрешетке (115) и второй антенной подрешетке (115), которые обнаруживают множество сигналов (335, 435), и
устройство (220) управления лучом дополнительно выполнено с возможностью определения коэффициентов луча на основе, по меньшей мере частично, положения антенн, распределенных по первой антенной подрешетке (115) и второй антенной подрешетке (115).
26. Сеть (200) связи по любому из пп. 22-25, в которой сигнал связи представляет собой первый сигнал связи, причем сеть (200) связи дополнительно содержит:
компонент (230) множественного входа и множественного выхода (MIMO), выполненный с возможностью обработки на основе, по меньшей мере частично, определения наличия второго терминала (120) во второй области (155) обнаружения, второго множества сигналов (435), переданного от второго терминала и обнаруженного на первой антенной подрешетке (115) и второй антенной подрешетке (115) в соответствии с коэффициентами луча, для получения второго сигнала (475) луча второго луча (117) связи, причем второй луч (117) связи включает вторую зону (160) покрытия луча в пределах второй зоны (155) обнаружения, которая включает в себя положение второго терминала (120) в пределах второй зоны (155) обнаружения, причем каждый обнаруженный сигнал (435) из второго множества сигналов (435) содержит соответствующий компонент второго сигнала связи, переданного вторым терминалом (120).
27. Сеть (200) связи по п. 26, в которой
детектор (240) сигнала дополнительно выполнен с возможностью приема первого набора зондов для зондирования канала от первого терминала (120) и второго набора зондов для зондирования канала от второго терминала (120) и
компонент (230) MIMO дополнительно выполнен с возможностью:
определения оцененного канала между первым терминалом (120), вторым терминалом (120) и первой антенной подрешеткой (115) и второй антенной подрешеткой (115) на основе, по меньшей мере частично, первого набора зондов для зондирования канала и второго набора зондов для зондирования канала; и
определения коэффициентов луча на основе, по меньшей мере частично, оцененного канала.
28. Сеть (200) связи по п. 27, дополнительно содержащая:
геометрический компонент (225), выполненный с возможностью определения геометрического отношения между первым терминалом (120) и первой антенной подрешеткой (115) и второй антенной подрешеткой (115),
причем компонент (230) MIMO дополнительно выполнен с возможностью определения набора потенциальных коэффициентов луча на основе, по меньшей мере частично, геометрического отношения между первым терминалом (120) и первой антенной подрешеткой (115) и второй антенной подрешеткой (115), причем количество набора потенциальных коэффициентов луча уменьшается относительно количества набора доступных коэффициентов луча, причем коэффициенты луча определяют на основе, по меньшей мере частично, набора потенциальных коэффициентов луча.
29. Сеть (200) связи по любому из пп. 22-28, в которой:
сигнал связи представляет собой первый сигнал связи,
детектор (240) сигнала дополнительно выполнен с возможностью обнаружения, с помощью первого луча (119) обнаружения, третьего заголовка (118), переданного от третьего терминала (120), и
позиционирующий компонент (245) дополнительно выполнен с возможностью определения наличия третьего терминала (120) в первой зоне обнаружения на основе, по меньшей мере частично, обнаружения третьего заголовка (118), причем сеть (200) связи дополнительно содержит:
геометрический компонент (225), выполненный с возможностью обработки на основе, по меньшей мере частично, определения наличия третьего терминала (120) в первой зоне (155) обнаружения, второго множества сигналов (340), переданного от третьего терминала (120) и обнаруженного на первой антенной подрешетке (115) и второй антенной подрешетке (115) в соответствии со вторыми коэффициентами луча, для получения второго сигнала (375) луча второго луча (117) связи, причем второй луч (117) связи включает вторую зону (160) покрытия луча в пределах первой зоны (155) обнаружения, которая включает в себя положение третьего терминала (120) в пределах первой зоны (155) обнаружения, причем каждый обнаруженный сигнал (340) из второго множества сигналов (340) содержит соответствующий компонент второго сигнала связи, переданного третьим терминалом (120).
30. Сеть (200) связи по п. 29, в которой
геометрический компонент (225) дополнительно выполнен с возможностью определения вторых коэффициентов луча на основе, по меньшей мере частично, положения второго терминала (120).
| US 2014177607 A1, 26.06.2014 | |||
| US 2019253866 А1, 15.08.2019 | |||
| US 2015016379 A1, 15.01.2015 | |||
| WO 2019174745 А1, 19.09.2019 | |||
| EP 3016428 А1, 04.05.2016 | |||
| US 2017207841 A1, 20.07.2017 | |||
| Winter S | |||
| P | |||
| et al: "Antenna diversity techniques for enhanced jamming resistance in multi-beam satellites," MILCOM 2016 - 2016 IEEE Military Communications Conference, |
Авторы
Даты
2025-05-05—Публикация
2021-09-02—Подача