Изобретение относится к авиационной технике, а именно к предохранительным устройствам летательных аппаратов (ЛА), в частности предохранительным клапанам системы охлаждения радиолокационной станции (РЛС) ЛА.
Предохранительные клапаны как устройства, предназначенные для защиты оборудования от превышения давления путем сброса избытка рабочей среды, широко применяются в различных отраслях промышленности, отличаются размерами, конструкцией, характеристиками, значениями давления включения сброса.
Заявляемое техническое решение находит свое применение в системе охлаждения РЛС ЛА.
Из уровня техники известен предохранительный клапан (авторское свидетельство SU 580396 А2, опубл. 15.11.1977; МПК F16K 17/00), содержащий корпус, снабженный приливом прямоугольной формы с внутренней резьбой, а также радиальным отверстием, соединенным с центральным каналом. Запорный орган выполнен в виде упругой диафрагмы, которая фиксируется в определенном положении накладкой. Накладка имеет внутреннее углубление прямоугольной формы и сопрягается с приливом корпуса. Величина давления срабатывания клапана регулируется винтом, воздействующим через накладку на упругую диафрагму.
Из уровня техники известен предохранительный клапан (патент RU 8439 U1, опубл. 16.11.1998; МПК F16K 17/00), содержащий корпус, подпружиненный запорный элемент, дополнительную пружину и регулировочную гайку, отличающийся тем, что пружины выполнены раздельно, при этом корпус выполнен с буртом, а в нижней части снабжен упором.
Недостатками указанных технических решений является то, что при необходимости регулирования величины срабатывания клапана требуется разборка клапана и демонтаж подводящих трубопроводов.
Задачей, на решение которой направлено заявленное изобретение, является создание предохранительного клапана, в котором регулировка величины давления срабатывания клапана в целях исключения выхода из строя РЛС из-за превышения давления охлаждающей жидкости осуществляется без разборки клапана и демонтажа подводящих трубопроводов.
Технический результат изобретения - установка необходимого давления охлаждающей жидкости в системе охлаждения РЛС непосредственно на ЛА без разборки клапана и демонтажа подводящих трубопроводов.
Указанный технический результат достигается предохранительным клапаном, состоящим из корпуса, выполненного с угловым расположением входного и выходного штуцеров, верхним фланцем для установки крышки, выполненной с двумя пазами, содержащим регулируемую гайку, ось вращения, пружину, клапан, седло клапана, уплотнительные кольца. При этом регулируемая гайка, установленная на ось над пружиной, выполнена с двумя выступами, устанавливаемыми в пазы крышки для предотвращения вращения. В верхней части корпуса расположена жестко закрепленная на оси регулирующая гайка, при вращении которой происходит поступательное движение регулируемой гайки, сжимающей или ослабляющей пружину в зависимости от направления вращения регулирующей гайки, тем самым регулируя величину давления срабатывания клапана, прижатого пружиной к седлу, что позволяет проводить регулировку клапана непосредственно на ЛА без разборки клапана и демонтажа подводящих трубопроводов.
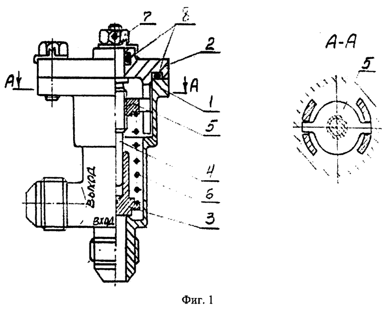
Сущность изобретения поясняется фигурой, содержащей общий вид корпуса предохранительного клапана.
Предохранительный клапан состоит из корпуса 1 с угловым расположением входного и выходного штуцеров, верхнего фланца (не обозначен) с уплотнительными кольцами 8 для установки крышки 2. В крышке 2 выполнены два паза, соединенные с двумя выступами, выполненными в регулируемой гайке 5 для предотвращения вращения. Регулируемая гайка 5 установлена на ось 4 над пружиной 6. В верхней части корпуса 1 расположена регулирующая гайка 7, жестко закрепленная на оси 4. Внутри нижней части корпуса 1 размещен клапан 3, прижатый пружиной 6 к седлу (не обозначено).
Заявляемое техническое решение осуществляется следующим образом.
При необходимости регулирования величины давления охлаждающей жидкости системы охлаждения РЛС, установленной на ЛА, осуществляется вращение регулирующей гайки 7, размещенной сверху корпуса 1 и жестко закрепленной на оси 4 корпуса 1, подключенного с помощью входного и выходного штуцеров к подводящим трубопроводам системы охлаждения РЛС ЛА. При вращении регулирующей гайки 7 происходит поступательное движение регулируемой гайки 5, установленной на ось 4 над пружиной 6 корпуса 1 и выполненной с двумя выступами, соединенными с пазами крышки 2, устанавливаемой на верхнем фланце корпуса 1.
Поступательное движение регулируемой гайки 5, осуществляемое вращением регулирующей гайки 7, жестко закрепленной на оси 4, приводит, в зависимости от направления вращения регулирующей гайки 7, к сжиманию или ослаблению пружины 6, что, в свою очередь, оказывает влияние на величину давления срабатывания клапана 3, прижатого пружиной 6 к седлу.
Таким образом осуществляется установка необходимого давления охлаждающей жидкости в системе охлаждения РЛС непосредственно на ЛА без демонтажа подводящих трубопроводов и разборки клапана.
| название | год | авторы | номер документа |
|---|---|---|---|
| Импульсный предохранительный клапан | 2016 |
|
RU2633735C1 |
| КЛАПАН РЕДУКЦИОННЫЙ | 2009 |
|
RU2406903C1 |
| ПНЕВМАТИЧЕСКИЙ ПРИВОД | 2006 |
|
RU2327904C2 |
| СМЕСИТЕЛЬ И КРАН-ДОЗАТОР | 2004 |
|
RU2273783C1 |
| Предохранительный клапан | 2021 |
|
RU2770540C1 |
| ДРЕНАЖНО-ПРЕДОХРАНИТЕЛЬНЫЙ КЛАПАН | 1990 |
|
RU2086844C1 |
| КРИОХИРУРГИЧЕСКИЙ АППАРАТ | 2005 |
|
RU2301043C2 |
| ДРЕНАЖНО-ПРЕДОХРАНИТЕЛЬНЫЙ КЛАПАН БАКА ОКИСЛИТЕЛЯ | 2013 |
|
RU2521431C1 |
| ШИБЕРНАЯ ЗАДВИЖКА | 2022 |
|
RU2822725C2 |
| Способ монтажа затвора шарового крана в корпус | 2015 |
|
RU2629317C2 |
Изобретение относится к авиационной технике, а именно к предохранительным устройствам летательных аппаратов (ЛА), в частности предохранительным клапанам системы охлаждения радиолокационной станции (РЛС) ЛА. Предохранительный клапан состоит из корпуса, выполненного с угловым расположением входного и выходного штуцеров, к которым подключаются подводящие трубопроводы, верхним фланцем с уплотнительными кольцами для установки крышки. В крышке выполнены два паза, в регулируемой гайке, расположенной внутри корпуса и установленной на ось над пружиной, выполнены два выступа, соединенные с пазами крышки для предотвращения вращения. В верхней части корпуса расположена регулирующая гайка, жестко закрепленная на оси. Внутри корпуса под осью и пружиной размещен клапан, прижатый пружиной к седлу. Регулировка величины давления срабатывания клапана осуществляется вращением регулирующей гайки без разборки предохранительного клапана. Техническим результатом изобретения является установка необходимого давления охлаждающей жидкости в системе охлаждения РЛС непосредственно на ЛА без разборки предохранительного клапана и демонтажа подводящих трубопроводов в целях исключения выхода из строя РЛС из-за превышения давления охлаждающей жидкости. 1 ил.
Предохранительный клапан, характеризующийся тем, что содержит корпус, выполненный с угловым расположением входного и выходного штуцеров, верхним фланцем с уплотнительными кольцами для установки крышки, содержащей два паза, регулируемой гайкой, установленной на ось над пружиной, с двумя выступами, устанавливаемыми в пазы крышки фланца для предотвращения вращения, содержащий жестко закрепленную на оси регулирующую гайку, расположенную в верхней части корпуса, при вращении которой происходит поступательное движение регулируемой гайки, сжимающей или ослабляющей пружину клапана срабатывания в зависимости от направления вращения регулирующей гайки, тем самым регулируя величину давления срабатывания клапана, прижатого пружиной к седлу.
| Устройство для пожарной сигнализации | 1927 |
|
SU8439A1 |
| Предохранительный клапан | 1976 |
|
SU580396A2 |
| Клапан предохранительный | 2015 |
|
RU2613096C2 |
| Клапан предохранительный | 2023 |
|
RU2809900C1 |
| CN 205824298 U, 21.12.2016 | |||
| CN 204922121 U, 30.12.2015. | |||
Авторы
Даты
2025-05-05—Публикация
2024-08-22—Подача