Заявление об установлении приоритета
(01) Согласно настоящей заявке испрашивается преимущество следующих обычных заявок, каждая из которых полностью включена в настоящий документ посредством ссылки: USN 17026195, поданная 19 сентября 2020 г., под названием «Изгибающее устройство для гибкой насосно-компрессорной трубы».
Область техники, к которой относится настоящее изобретение
(02) Настоящее изобретение относится к нефтегазовым приспособлениям и устройствам. В частности, настоящее изобретение относится к оборудованию гибкой насосно-компрессорной трубы. Более конкретно, настоящее изобретение относится к изгибающему устройству для подачи гибкой насосно-компрессорной трубы в устье скважины.
Предшествующий уровень техники настоящего изобретения
(03) Гибкая насосно-компрессорная труба представляет собой обычную составляющую геолого-технических мероприятий, то есть операций по текущему ремонту скважины, таких как закачка в скважину различных текучих сред. Гибкая насосно-компрессорная труба представляет собой длинную непрерывную металлическую трубу, которую хранят на больших барабанах и подают, поворачивая барабан. Гибкую насосно-компрессорную трубу помещают в скважину через устье скважины, обычно под давлением. Гибкая насосно-компрессорная труба имеет важное значение, поскольку жидкости могут закачивать в гибкую насосно-компрессорную трубу, не рассчитывая на силу тяжести. Жидкости могут представлять собой диспергаторы для разрушения отложений или отведения газа на забое скважины, либо добавки для регулирования вязкости добываемой текучей среды в скважине.
(04) Важным аспектом гибкой насосно-компрессорной трубы является необходимость неоднократного изгибания металлической трубы. Первое изгибание происходит при первоначальном распрямлении гибкой насосно-компрессорной трубы, когда ее подают с барабана. Второй раз гибкая насосно-компрессорная труба изгибается при прохождении гибкой насосно-компрессорной трубы через направляющую дугу. Затем третий раз - когда гибкая насосно-компрессорная труба изгибается между направляющей дугой и инжектором. Четвертый раз гибкая насосно-компрессорная труба изгибается, когда гибкую насосно-компрессорную трубу извлекают из скважины и снова изгибают на направляющей дуге. Пятый изгиб происходит, когда гибкая насосно-компрессорная труба распрямляется на выходе из направляющей дуги для намотки обратно на барабан. Распрямленная гибкая насосно-компрессорная труба изгибается в шестой раз при намотке обратно на барабан. Четыре из шести изгибаний происходят на направляющей дуге, еще два - на барабане.
(05) Патентные документы предшествующего уровня техники, которые относятся к изгибанию гибкой насосно-компрессорной трубы, это USP 5279364, USP 6695048 и USPub 20040211555. В патенте США №6695048, патенте США №5454419, патенте США №4899823 и опубликованной заявке на патент США №20040211555 также раскрывают направляющую дугу и другие дугообразные направляющие элементы. В патенте США №6209634, патенте США №7165619, патенте США №5803168 и патенте США №7810556 раскрывают различные направляющие элементы, предназначенные для защиты гибкой насосно-компрессорной трубы от повреждения во время изгибания. К повреждению гибкой насосно-компрессорной трубы приводят скручивания и перегибы под большим углом. На прочность, долговечность и функциональность влияют надрезы и другие дефекты конструкции. Поврежденная гибкая насосно-компрессорная труба не способна защищать содержимое в гибкой насосно-компрессорной трубе в удаленных точках в стволе скважины. Разрыв или надрез нарушает целостность гибкой насосно-компрессорной трубы, в результате чего невозможно безопасно поддерживать текучие среды и газы в условиях высокого давления и температуры. При изгибании гибкой насосно-компрессорной трубы степень изгиба контролируют таким образом, чтобы снизить риск повреждения гибкой насосно-компрессорной трубы. Направляющие дуги предшествующего уровня техники образуют плавную кривую для изгибания гибкой насосно-компрессорной трубы с безопасной кривизной. Кроме того, направляющие элементы предшествующего уровня техники дополнительно защищают гибкую насосно-компрессорную трубу от усилия, прилагаемого для изгибания. Для резкого изгибания гибкой насосно-компрессорной трубы в нужное положение не требуется быстро прикладывать большое усилие. Контролируют степень изгиба и усилие, прилагаемое для изгибания.
(06) Поскольку труба металлическая, допускается ограниченная степень изгибания до потери структурной целостности гибкой насосно-компрессорной трубы. При внутреннем давлении в трубе 5000 фунтов на квадратный дюйм оценка при компьютерном моделировании составляет 20 циклов (серий из 6 изгибов) до разрушения гибкой насосно-компрессорной трубы, поэтому гибкая насосно-компрессорная труба не очень пригодна для повторного использования. Эти 20 циклов относятся к внутренней части гибкой насосно-компрессорной трубы, находящейся под давлением относительно наружной части гибкой насосно-компрессорной трубы, т.е. при подаче гибкой насосно-компрессорной трубы на открытом воздухе. Оценка по компьютерному моделированию составляет 130 циклов (серий из 6 изгибов), если отсутствует перепад давления между внутренней частью гибкой насосно-компрессорной трубы и наружной частью гибкой насосно-компрессорной трубы. Перепад давления при изгибе влияет на срок службы гибкой насосно-компрессорной трубы.
(07) Изгиб под давлением представляет собой еще один способ защиты гибкой насосно-компрессорной трубы. В патенте США №4091867 и патенте США №6006839 раскрывают уравнивание давления в процессе изгибания. Для продления срока службы гибкой насосно-компрессорной трубы давление внутри гибкой насосно-компрессорной трубы и снаружи гибкой насосно-компрессорной трубы уравнивают. Снижение перепада давления между внутренней частью и наружной частью гибкой насосно-компрессорной трубы дополнительно снижает риск повреждения гибкой насосно-компрессорной трубы в процессе изгибания.
(08) Средства защиты применяют только к гибкой насосно-компрессорной трубе внутри изгибающего устройства. В защите гибкой насосно-компрессорной трубы между местом хранения гибкой насосно-компрессорной трубы на барабане или катушке и напорной изгибающей дугой, а также между напорной направляющей дугой и инжектором на устье скважины существуют пробелы. Несмотря на то, что в устройствах напорной направляющей дуги предшествующего уровня техники условия изгиба контролируют, защита гибкой насосно-компрессорной трубы отсутствует до точки, где гибкая насосно-компрессорная труба фактически входит в устройство напорной направляющей дуги предшествующего уровня техники. Барабан или катушка подают гибкую насосно-компрессорную трубу таким образом, что гибкая насосно-компрессорная труба может быть повреждена за счет резких изгибов или перегибов при вхождении и выравнивании в напорных направляющих дугах предшествующего уровня техники.
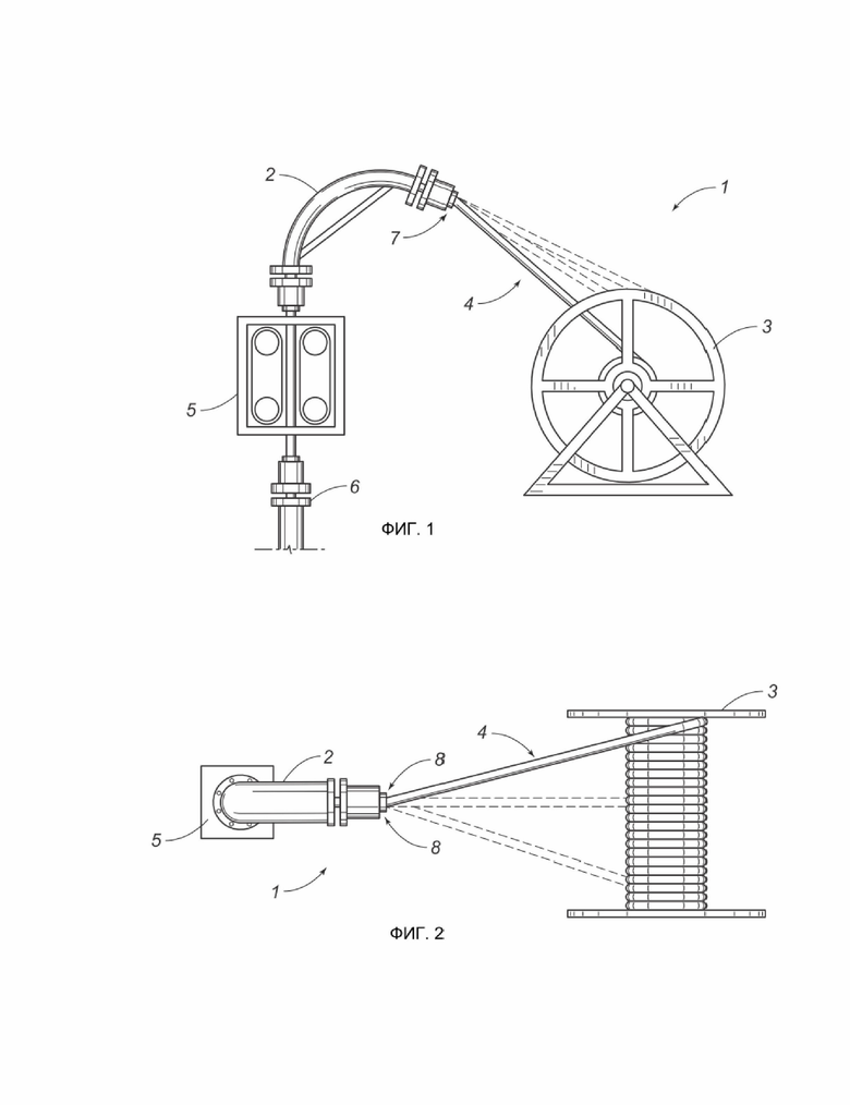
(09) На фиг. 1 показан схематический вид сбоку системы 1 предшествующего уровня техники напорной направляющей дуги 2 на устье 6 скважины. На фиг. 1 показано, что вертикальный угол подачи с барабана 3 изменяется по мере увеличения количества гибкой насосно-компрессорной трубы 4, поданной в инжектор 5. По мере изменения пути к устройству напорной направляющей дуги вертикальный угол подачи постоянно меняется. Существует высокий риск повреждения гибкой насосно-компрессорной трубы из-за перегиба и резкого изгиба 7 на входе в устройство напорной направляющей дуги при изменении вертикального угла от барабана 3 при его максимальной заполненности, средней заполненности и малой заполненности. На предшествующем уровне техники только один уровень заполненности может быть выровнен с напорной направляющей дугой 2 с целью снижения риска повреждения.
(010) На фиг. 2 показан схематический вид сверху системы 1 предшествующего уровня техники напорной направляющей дуги 2. На фиг. 2 показано, что боковой угол подачи с барабана 3 изменяется по мере увеличения количества гибкой насосно-компрессорной трубы 4, поданной в инжектор 5. На фиг. 2 показано, что боковой угол подачи с барабана 3 также изменяется по мере увеличения количества поданной гибкой насосно-компрессорной трубы. Боковой угол подачи постоянно изменяется в пределах между стенками барабана 3 или катушки. Существует еще более высокий риск повреждения гибкой насосно-компрессорной трубы из-за перегиба и резкого изгиба 8 на входе в устройство напорной направляющей дуги.
(011) В силу жесткости напорной направляющей дуги 2 предшествующего уровня техники также может произойти повреждение из-за перегиба и резкого изгиба 9 на стыке между напорной направляющей дугой 2 и инжектором 5, как показано на фиг. 3. Гибкая насосно-компрессорная труба может двигаться рывками и натягиваться на выходе из напорной направляющей дуги 2, как показано на фиг. 3, или на входе, как показано на фиг. 1 и 2.
(012) Целью настоящего изобретения является создание устройства для ввода гибкой насосно-компрессорной трубы с барабана или катушки в скважину через устье скважины.
(013) Целью настоящего изобретения является создание устройства для защиты гибкой насосно-компрессорной трубы между барабаном и изгибающим устройством.
(014) Целью настоящего изобретения является создание устройства для защиты гибкой насосно-компрессорной трубы между изгибающим устройством и инжектором на устье скважины.
(015) Целью настоящего изобретения является создание изгибающего устройства, выровненного относительно вертикального угла подачи и бокового угла подачи с барабана.
(016) Другой целью настоящего изобретения является создание устройства с гибким каналом для изгибания гибкой насосно-компрессорной трубы между барабаном и инжектором.
(017) Другой целью настоящего изобретения является создание устройства с каналом с дальней гибкой секцией для выравнивания гибкой насосно-компрессорной трубы между барабаном и этим устройством.
(018) Другой целью настоящего изобретения является создание устройства с каналом с ближней гибкой секцией для выравнивания гибкой насосно-компрессорной трубы между устройством и инжектором.
(019) Другой целью настоящего изобретения является создание устройства с регулируемой опорной рамой для гибкого канала.
(020) Другой целью настоящего изобретения является создание устройства для устранения перепада давления на гибкой насосно-компрессорной трубе при изгибании гибкой насосно-компрессорной трубы в напорном канале.
(021) Целью настоящего изобретения является создание устройства для снижения изгибающего напряжения на гибкой насосно-компрессорной трубе между барабаном и устройством согласно настоящему изобретению.
(022) Целью настоящего изобретения является создание безопасного и надежного устройства и способа для подачи гибкой насосно-компрессорной трубы в устье скважины.
(023) Эти и другие цели настоящего изобретения очевидны из прилагаемого описания изобретения.
Краткое раскрытие настоящего изобретения
(024) Варианты осуществления настоящего изобретения предусматривают устройство для изгибания гибкой насосно-компрессорной трубы, которую вводят в устье скважины с барабана посредством инжектора. Гибкую насосно-компрессорную трубу хранят на барабане и разматывают для подачи к устью скважины либо наматывают для удаления с устья скважины. Вертикальный угол гибкой насосно-компрессорной трубы, подаваемой с разных уровней на барабане, изменяется. Изменяется также боковой угол гибкой насосно-компрессорной трубы, подаваемой с разных сторон барабана. Несмотря на то, что устройства предшествующего уровня техники защищают управляемый изгиб от барабана к инжектору, изменяющийся вертикальный угол и боковой угол гибкой насосно-компрессорной трубы между барабаном и изгибающим устройством не защищают от повреждения гибкой насосно-компрессорной трубы. Изгибающее устройство согласно настоящему изобретению защищает гибкую насосно-компрессорную трубу на всем протяжении от барабана до инжектора, в то же время защищая основной контролируемый изгиб или критический изгиб от барабана до инжектора.
(025) Один вариант осуществления изгибающего устройства предусматривает канал и монтажное приспособление. Канал имеет ближний конец и дальний конец, которые определяют угол изгиба канала. Канал изгибается, и угол изгиба канала представляет собой степень изгиба, соответствующую гибкой насосно-компрессорной трубе, входящей в канал в одном направлении и выходящей из канала в другом направлении. Монтажное приспособление крепят к ближнему концу канала. Монтажное приспособление содержит монтажную пластину и монтажное основание. Канал и монтажная пластина могут вращаться вместе относительно монтажного основания. Монтажное основание неподвижно крепят к инжектору. Монтажное приспособление реагирует на дополнительные изменения бокового угла подаваемой с барабана гибкой насосно-компрессорной трубы, которые не могут компенсироваться каналом.
(026) Для реагирования на изменения вертикального угла гибкой насосно-компрессорной трубы, подаваемой с барабана, и на некоторые изменения бокового угла гибкой насосно-компрессорной трубы, подаваемой с барабана, в канале предусмотрены изогнутая секция и гибкая секция. Изогнутая секция содержит инжекторный конец, направленный в сторону ближнего конца, и барабанный конец, направленный в сторону дальнего конца, который определяет угол изгиба. Гибкая секция содержит первый гибкий конец, направленный в сторону ближнего конца, и второй гибкий конец, направленный в сторону дальнего конца, который определяет адаптивный угол изгиба. Угол изгиба канала определяется углом изгиба и адаптивным углом изгиба. Основной контролируемый изгиб изолирован от изогнутой секции, в то время как на гибкую секцию приходится меньший объем регулируемого изгиба. Изменения вертикального угла подаваемой гибкой насосно-компрессорной трубы с разных уровней барабана более не приводят к повреждениям, поскольку адаптивный угол изгиба приспосабливается к таким изменениям. Изменения бокового угла подачи гибкой насосно-компрессорной трубы с разных уровней барабана более не приводят к повреждениям, поскольку адаптивный угол изгиба также приспосабливается к таким изменениям. Монтажное приспособление представляет собой компонент канала, поэтому монтажное приспособление в настоящем изобретении имеет меньший ход вращения по сравнению с другими монтажными приспособлениями.
(027) Варианты осуществления настоящего изобретения предусматривают изогнутую секцию между гибкой секцией и ближним концом, и гибкую секцию между изогнутой секцией и ближним концом. Кроме того, изогнутая секция позволяет избежать соударений между дальним концом и ближним концом. Изогнутой секцией могут управлять с целью обеспечения такой же защиты от резких изгибов, степени изгибающего усилия, скорости изгиба с тем, чтобы не допустить повреждения и перегибов гибкой насосно-компрессорной трубы. Таким образом, изогнутая секция может предусматривать зажимные втулки для защиты гибкой насосно-компрессорной трубы. В изогнутой секции могут создавать давление для уравнивания перепада давления внутри и снаружи гибкой насосно-компрессорной трубы с целью снижения напряжений на гибкой насосно-компрессорной трубе внутри изогнутой секции. В изогнутую секцию также могут добавлять смазку для прохождения гибкой насосно-компрессорной трубы.
(028) Дополнительные варианты осуществления настоящего изобретения предусматривают жесткую либо гибкую изогнутую секцию, а также канал с дополнительной гибкой секцией с тем, чтобы гибкие секции присутствовали на обоих концах изогнутой секции. Некоторые варианты осуществления не предусматривают монтажное приспособление, в зависимости от степени гибкости, требуемой для адаптации к боковому углу изгиба гибкой насосно-компрессорной трубы, подаваемой с барабана.
(029) Настоящее изобретение также предусматривает опорное устройство для гибкой секции. Опорное устройство предусматривает первый опорный кронштейн на первом гибком конце и второй опорный кронштейн на втором гибком конце. Между первым опорным кронштейном и вторым опорным кронштейном могут предусматривать опорные рычаги. Опорные рычаги могут иметь телескопическую и шарнирную конструкцию для адаптации к изменениям положения. Несмотря на гибкость, гибкая секция должна быть устойчивой и достаточно прочной, чтобы обеспечивать прохождение гибкой насосно-компрессорной трубы с критическим углом изгиба через изогнутую секцию или прохождение гибкой насосно-компрессорной трубы до инжектора после критического изгиба.
(030) Существуют варианты осуществления с гибкой изогнутой секцией; при этом канал предусматривает гибкую изогнутую секцию и гибкую секцию, таким образом, являясь гибким от ближнего конца до дальнего конца. В данном варианте осуществления гибкая секция и гибкая изогнутая секция являются модульными. Угол изгиба канала все так же содержит угол изгиба и адаптивный угол изгиба, но изогнутая часть более не рассчитана на критический угол изгиба или на основной контролируемый изгиб до инжектора, поэтому адаптивный угол изгиба не обязательно должен быть меньше угла изгиба. Угол изгиба канала представляет собой только чистую совокупность угла изгиба (обладающего гибкостью) и адаптивного угла изгиба (также обладающего гибкостью). Из этого следует, что любая изогнутая часть, обладающая гибкостью, также может предусматривать опорное устройство для устойчивости.
(031) Близкий вариант осуществления представляет собой гибкий канал без разделения на другие секции. Канал является гибким, поэтому угол изгиба канала является переменным. Монтажное приспособление не является обязательным в данном варианте осуществления, хотя монтажное приспособление может компенсировать изменения бокового угла гибкой насосно-компрессорной трубы, подаваемой с барабана. Здесь весь канал может адаптироваться к изменениям вертикального угла гибкой насосно-компрессорной трубы, подаваемой с барабана, и бокового угла гибкой насосно-компрессорной трубы. Для гибкого канала необходима дополнительная опора, чтобы поддерживать положение дальнего конца относительно ближнего конца. Опорные рычаги могут подсоединять к различным компонентам с целью правильного позиционирования дальнего конца. Кроме того, в полностью гибкий канал могут подавать давление.
Краткое описание фигур
(032) На фиг. 1 показан схематический вид сбоку системы напорной направляющей дуги или направляющей дуги согласно предшествующему уровню техники.
(033) На фиг. 2 показан схематический вид сверху системы напорной направляющей дуги или направляющей дуги согласно предшествующему уровню техники.
(034) На фиг. 3 показан схематический вид стыка между напорной направляющей дугой согласно предшествующему уровню техники и инжектором.
(035) На фиг. 4 показан вид сбоку варианта осуществления изгибающего устройства для гибкой насосно-компрессорной трубы в соответствии с настоящим изобретением.
(036) На фиг. 5 показан вид сбоку варианта осуществления устройства, показанного на фиг. 4, на устьевой системе для гибкой насосно-компрессорной трубы в соответствии с настоящим изобретением.
(037) На фиг. 6 показан вид сверху варианта осуществления устройства, показанного на фиг. 4, на устьевой системе для гибкой насосно-компрессорной трубы в соответствии с настоящим изобретением.
(038) На фиг. 7 показан вид сбоку другого варианта осуществления изгибающего устройства для гибкой насосно-компрессорной трубы в соответствии с настоящим изобретением.
(039) На фиг. 8 показан вид сверху варианта осуществления устройства, показанного на фиг. 7, на устьевой системе для гибкой насосно-компрессорной трубы в соответствии с настоящим изобретением.
(040) На фиг. 9 показан вид сбоку еще одного варианта осуществления изгибающего устройства для гибкой насосно-компрессорной трубы в соответствии с настоящим изобретением.
(041) На фиг. 10 показан вид сверху варианта осуществления устройства, показанного на фиг. 9, на устьевой системе для гибкой насосно-компрессорной трубы в соответствии с настоящим изобретением.
(042) На фиг. 11 показан вид сбоку еще одного варианта осуществления изгибающего устройства для гибкой насосно-компрессорной трубы в соответствии с настоящим изобретением.
(043) На фиг. 12 показан вид в перспективе варианта осуществления устройства, показанного на фиг. 11, с опорным устройством в соответствии с настоящим изобретением.
(044) На фиг. 13 показан вид в перспективе частично разобранной гибкой секции или гибкого канала изгибающего устройства в соответствии с настоящим изобретением.
(045) На фиг. 14 показан схематический вид в перспективе зажимных втулок гибкой секции или гибкого канала изгибающего устройства в соответствии с настоящим изобретением.
Подробное раскрытие настоящего изобретения
(046) Изгибание гибкой насосно-компрессорной трубы представляет собой только одну стадию в процессе помещения гибкой насосно-компрессорной трубы в скважину через устье скважины. Гибкую насосно-компрессорную трубу хранят на барабане или катушке и подают с барабана или катушки. Гибкую насосно-компрессорную трубу хранят в согнутом или искривленном виде и разматывают с барабана или катушки, чтобы потом снова подвергнуть изгибу для ввода в инжектор. Инжектор подает гибкую насосно-компрессорную трубу в скважину через устье, обычно под давлением. Защита гибкой насосно-компрессорной трубы на стадии изгибания и изгибающие устройства известны на предшествующем уровне техники. Тем не менее, существуют дополнительные риски повреждений помимо изгибания. В частности, путь от барабана или катушки к напорной направляющей дуге и путь от напорной направляющей дуги до инжектора подвержены высоким рискам повреждений, которые могут привести к неработоспособности гибкой насосно-компрессорной трубы, либо негативно сказаться на сроке службы гибкой насосно-компрессорной трубы.
(047) Настоящее изобретение представляет собой изгибающее устройство 10 для гибкой насосно-компрессорной трубы, защищающее гибкую насосно-компрессорную трубу на всем протяжении от барабана до инжектора, в то же время защищающее основной контролируемый изгиб от барабана до инжектора. На фиг. 4-12 показаны варианты осуществления изгибающего устройства 10, предусматривающего канал 20 и монтажное приспособление 80. Канал 20 имеет ближний конец 22 и дальний конец 24, противоположный ближнему концу. Ближний конец 22 располагают относительно дальнего конца 24 таким образом, чтобы сформировать угол 26 изгиба канала. Канал 20 изогнут, и угол 26 изгиба канала представляет собой степень изгиба, соответствующую гибкой насосно-компрессорной трубе, входящей в канал 20 в одном направлении и выходящей из канала 20 в другом направлении, в соответствии с углом 26 изгиба канала. Ближний конец 22 не находится на прямой линии с противоположным дальним концом 24 в силу существования угла 26 изгиба канала. Торец ближнего конца 22 находится под углом к торцу дальнего конца 24. Угол 26 изгиба канала является контролируемым и защищен изгибом для подачи гибкой насосно-компрессорной трубы с барабана или катушки к инжектору на устье скважины.
(048) Монтажное приспособление 80 крепят к ближнему концу 22 канала 20. Монтажное приспособление 80 предусматривает монтажную пластину 82, соединенную с ближним концом 22, и монтажное основание 84, соединенное вертлюгом с монтажной пластиной 82. Канал 20 и монтажная пластина 82 могут вращаться вместе относительно монтажного основания 84. Монтажное основание 84 могут неподвижно фиксировать на инжекторе для адаптации канала 20 к изменению бокового угла гибкой насосно-компрессорной трубы, подаваемой с барабана. Монтажное основание 84 представляет собой часть канала, необходимую для адаптации к изменениям бокового угла гибкой насосно-компрессорной трубы, подаваемой с барабана.
(049) На фиг. 4-12 показаны варианты осуществления канала 20, который содержит изогнутую секцию 30 и гибкую секцию 60. Изогнутая секция 30 содержит инжекторный конец 32, направленный в сторону ближнего конца 22, и барабанный конец 34, направленный в сторону дальнего конца 24 и противоположный инжекторному концу 32. Инжекторный конец 32 располагают относительно барабанного конца 34 таким образом, чтобы сформировать угол 36 изгиба изогнутой секции 30. На фиг. 4-12 дополнительно показан канал 20, содержащий гибкую секцию 60 с первым гибким концом 62, направленным в сторону ближнего конца 22, и со вторым гибким концом 64, направленным в сторону дальнего конца 24 и противоположным первому гибкому концу 62. Первый гибкий конец 62 располагают относительно второго гибкого конца 64 таким образом, чтобы сформировать адаптивный угол 66 изгиба гибкой секции 60.
(050) На фиг. 4-6, 11 и 12 показаны варианты осуществления изгибающего устройства 10 с изогнутой секцией 30 между гибкой секцией 60 и ближним концом 22. На фиг. 7-8, 11 и 12 показаны варианты осуществления изгибающего устройства 10 с гибкой секцией 60 между изогнутой секцией 30 и ближним концом 22. На фиг. 9-10 показаны варианты осуществления с дополнительной гибкой секцией 160, где присутствуют гибкая секция 60 на ближнем конце 22 и дополнительная гибкая секция 160 на дальнем конце 24.
(051) Угол 36 изгиба позволяет избежать соударений между дальним концом 24 и ближним концом 22. Аналогично средствам защиты напорных направляющих дуг предшествующего уровня техники, угол 36 изгиба изогнутой секции 30 снижает изгибающее напряжение и защищает от перегибов на основном контролируемом изгибе, как на предшествующем уровне техники. Адаптивный угол 66 изгиба также позволяет избежать соударений между дальним концом 24 и ближним концом 22. Адаптивный угол 66 изгиба также снижает изгибающее напряжение и защищает от перегибов на основном контролируемом изгибе, как на предшествующем уровне техники.
(052) На фиг. 4-8 показана изогнутая секция 30 в жестком исполнении, а на Фиг. 9-12 показана изогнутая секция 30, 330 в гибком исполнении. Варианты осуществления на фиг. 4-8 показаны в виде изогнутой секции 30 в жестком исполнении. Угол изгиба 36 может быть фиксированным. Инжекторный конец 32 и барабанный конец 34 расположены устойчиво. На фиг. 9-12 показаны варианты осуществления изогнутой секции 30 в гибком исполнении.
(053) В частности, на фиг. 9-10 с дополнительной гибкой секцией 160 изогнутая секция 30 расположена между гибкой секцией 60 и дополнительной гибкой секцией 160. На фиг. 9-10 показано, что изогнутая секция 330 также является гибкой. Угол изгиба является переменным. Инжекторный конец 332 и барабанный конец 334 могут двигаться друг относительно друга.
(054) У всех вариантов осуществления изгибающего устройства 10 на фиг. 4-12 угол 26 изгиба канала содержит угол 36 изгиба и адаптивный угол 66 изгиба. На фиг. 4-8 адаптивный угол 66 изгиба меньше угла 36 изгиба. Угол 36 изгиба изогнутой секции 30 принимает на себя большую часть нагрузки изгиба на пути от барабана или катушки до инжектора. Изогнутой секцией 30 могут управлять с целью защиты от резких изгибов, степени изгибающего усилия и скорости изгиба, чтобы не допустить повреждения и перегибов гибкой насосно-компрессорной трубы. Гибкая секция 60 предназначена для более тонкой регулировки за счет вертикального и бокового угла наклона гибкой насосно-компрессорной трубы к барабану или катушке. Монтажное приспособление представляет собой часть системы регулировки по боковому углу. На фиг. 4-8 отдельно показаны критический изгиб у инжектора в изогнутой секции 30 и небольшие изгибы в гибкой секции 60, относящиеся к регулировкам, необходимым в связи с механическим наматыванием или разматыванием на барабане.
(055) Варианты осуществления устройства 10 предусматривают устройство 50 для пропускания внутрь канала 20 и наружу. На фиг. 4-12 показано устройство 50 для пропускания, предусматривающее съемный ближний скребок 52, установленный на ближний конец 22, и съемный дальний скребок 54, установленный на дальний конец 24. Другие варианты осуществления предусматривают ближний фланцевый кронштейн 56 на ближнем конце 22 и дальний фланцевый кронштейн 58 на дальнем конце 24 для обеспечения устойчивости ближнего конца 22 и дальнего конца 24 с данными компонентами, то есть, с ближним скребком 52, с дальним скребком 54, с ближним фланцевым кронштейном 56 и с дальним фланцевым кронштейном 58. Для безопасного ввода гибкой насосно-компрессорной трубы в инжектор важны центрирование и устойчивость гибкой насосно-компрессорной трубы на ближнем конце 22. Для работы под давлением и в контакте с устьем скважины в данной точке стыка необходимо обеспечивать устойчивость, опору и низкий риск повреждения гибкой насосно-компрессорной трубы.
(056) Согласно некоторым вариантам осуществления, изогнутая секция 30 может содержать некоторое количество зажимных втулок 38, концентрически выровненных относительно друг друга, от ближнего конца 22 до дальнего конца 24, как показано на фиг. 13-14. Каждая зажимная втулка 38 имеет внутреннюю поверхность и наружную поверхность. Каждая зажимная втулка может содержать сердечник 38А, образующий внутреннюю поверхность, оболочку 38В вокруг сердечника из смолы, и некоторое количество подшипников 38С на внутренней поверхности, наружной поверхности или на обеих поверхностях. Сердечник 38А может быть выполнен из фторопласта или перфторалкоксиполимерной смолы. Оболочка 38В защищает сердечник 38А от износа и от повреждения канала 20. На фиг. 14 показано, что подшипники 38С могут располагать на внутренней поверхности, на наружной поверхности или на обеих поверхностях. Данные зажимные втулки 38 защищают гибкую насосно-компрессорную трубу при основном контролируемом изгибе, либо при критическом изгибе на инжекторе. При помощи зажимных втулок 38 контролируют степень изгиба и степень усилия изгиба с целью снижения риска повреждения гибкой насосно-компрессорной трубы.
(057) Согласно вариантам осуществления, показанным на фиг. 4, 11 и 12, изогнутая секция также может находиться под давлением. Уравнивание давления внутри и снаружи гибкой насосно-компрессорной трубы при прохождении гибкой насосно-компрессорной трубы через изогнутую секцию повышает срок службы гибкой насосно-компрессорной трубы. Контроль давления внутри и снаружи гибкой насосно-компрессорной трубы снижает напряжение в точке изгиба. На фиг. 4, 11 и 12 показано устройство 40 для приложения давления в изогнутой секции 30 со стороны инжекторного конца 32 к барабанному концу 34. Устройство 40 для приложения давления предусматривает напорный шланг 42 для подачи текучей среды, подсоединенный к изогнутой секции 30 на инжекторном конце 32. При помощи напорного шланга 42 могут регулировать давление в изогнутой секции 30. Устройство 40 для приложения давления может предусматривать другие компоненты, такие как насосы, уплотнения, арматуру, уплотнительные кольца, кольцо 44 сброса давления и шланг 46 сброса давления для регулировки давления, включая сброс чрезмерного давления из изогнутой секции 30. Кроме того, в изогнутой секции 30 обеспечивают защиту основного контролируемого изгиба, либо критического изгиба на инжекторе.
(058) Также возможно применение зажимных втулок 38 в гибкой секции 60 (см. фиг. 13) и приложение давления к гибкой секции (см. фиг. 11-12). Эти средства защиты в гибкой секции 60 представляют собой альтернативные варианты осуществления изгибающего устройства 10 на фиг. 4-8. На фиг. 12 показан другой вариант осуществления изогнутой секции 30 со смазкой. Смазка, которую добавляют внутрь канала, снижает трение и обеспечивает более легкое прохождение гибкой насосно-компрессорной трубы через канал. На фиг. 12 показан резервуар 48 для смазки. Резервуар для смазки располагают на ближнем конце для подачи смазки на гибкую насосно-компрессорную трубу, проходящую из инжектора в канал 20, а также для удаления смазки с гибкой насосно-компрессорной трубы, проходящей из канала 20 в инжектор. Резервуар для смазки 48, содержащий смазочный материал, такой как консистентная смазка или другой состав, может содействовать прохождению через канал 20 без зацепления за инжектор.
(059) Варианты осуществления гибкой секции 60 могут дополнительно предусматривать опорное устройство 70 в соответствии с фиг. 5-10 и 12. Опорное устройство 70 предусматривает первый опорный кронштейн 74 на первом гибком конце 64 и второй опорный кронштейн 72 на втором гибком конце 62, а также некоторое количество опорных рычагов 76. Каждый опорный рычаг 76 подсоединен к первому опорному кронштейну 74 и второму опорному кронштейну 72. Опорные рычаги 76 удерживают положение первого гибкого конца 64 относительно второго гибкого конца 62. Опорные рычаги 76 могут иметь телескопическую и шарнирную конструкцию для адаптации к изменениям положения. Несмотря на гибкую адаптацию к изменениям вертикального угла и бокового угла относительно барабана, гибкую секцию 60 могут стабилизировать для возможности прохождения гибкой насосно-компрессорной трубы при любых изменениях вертикального угла, бокового угла или обоих углов. Монтажное приспособление более не требуется, так как дальний конец имеет достаточный диапазон адаптации к изменениям бокового угла гибкой насосно-компрессорной трубы, подаваемой с барабана. На фиг. 5-8 показано опорное устройство 70 при любом порядке расположения изогнутой секции 30 и гибкой секции 60. На фиг. 7 показан другой вариант, при котором гибкую секцию 60 располагают между изогнутой секцией 30 и ближним концом 22. Согласно данному варианту осуществления, опорные рычаги 76 соединяют не первый опорный кронштейн 74 со вторым опорным кронштейном 72, а первый опорный кронштейн 74 и монтажную пластину 82. Согласно данному варианту осуществления, опорные рычаги 76 могут жестко крепить к монтажному приспособлению 80.
(060) На фиг. 9-10 показаны другие варианты осуществления изобретения с дополнительной гибкой секцией 160. Изогнутую секцию 30, 330 располагают между гибкой секцией 60 и ближним концом 22, а дополнительную гибкую секцию 160 располагают между изогнутой секцией 30 и ближним концом 24. Гибкие секции 60, 160 представляют собой модульные секции. Дополнительная гибкая секция 160 предусматривает дополнительный первый гибкий конец 162, направленный в сторону ближнего конца 22, и дополнительный второй гибкий конец 164, направленный в сторону дальнего конца 24 и противоположный дополнительному первому гибкому концу 162. Дополнительный первый гибкий конец 162 также располагают относительно дополнительного второго гибкого конца 164 таким образом, чтобы сформировать дополнительный адаптивный угол 166 изгиба в дополнительной гибкой секции 160. Угол 26 изгиба канала здесь содержит угол 36 изгиба, адаптивный угол 66 изгиба и дополнительный адаптивный угол 166 изгиба. Если изогнутая секция 30 жесткая, как на фиг. 4-8, дополнительный адаптивный угол 166 изгиба меньше угла 36 изгиба.
(061) Если изогнутая секция тоже является гибкой, как показано на фиг. 9-10 (и фиг. 11-12), угол 36 изгиба и адаптивный угол 66 изгиба (а также дополнительный адаптивный угол 166 изгиба) могут иметь меньшие ограничения.
(062) Изогнутая секция 30, 330 более не рассчитана на критический изгиб или основной контролируемый изгиб у инжектора, поэтому адаптивный угол 66 изгиба и дополнительный адаптивный угол 166 изгиба не обязательно должны быть меньше угла 36 изгиба. Дополнительный адаптивный угол изгиба также представляет собой гибкий угол.
(063) На фиг. 9-10 дополнительно показано влияние изогнутой секции 30, 330, которая является гибкой, а не жесткой, и где угол 36 изгиба является переменным, а не постоянным. Для изогнутой секции 30, 330 в этом варианте необходимы опоры для удержания положения барабанного конца 34 относительно инжекторного конца 32. Согласно этому альтернативному варианту осуществления, устройство 10 дополнительно предусматривает опорное устройство 370 изгиба. Опорное устройство 370 изгиба содержит первый опорный кронштейн 372 изгиба на инжекторном конце 32, второй опорный кронштейн 374 изгиба на барабанном конце 34, а также некоторое количество опорных рычагов 376. Каждый опорный рычаг 376 подсоединяют к первому опорному кронштейну 374 изгиба и второму опорному кронштейну 372 изгиба. Опорные рычаги 376 удерживают положение барабанного конца 34 относительно инжекторного конца 32 на углу изгиба 36. Несмотря на то, что на фиг. 9-10 показан модульный вариант с дополнительной гибкой секцией 160, опорное устройство изгиба также совместимо только с одной гибкой секцией и при любой последовательности гибкой секции и изогнутой секции.
(064) Еще один вариант осуществления изобретения показан на фиг. 11-12. Аналогично фиг. 9-10, где изогнутая секция является адаптивной и гибкая секция также является адаптивной, изобретение можно переформулировать как устройство с полностью адаптивным каналом 20. На фиг. 11-12 показан такой вариант осуществления. Изгибающее устройство 210 для гибкой насосно-компрессорной трубы предусматривает канал 220 и опорное устройство 270. Канал 220 предусматривает ближний конец 222 и дальний конец 224, противоположный ближнему концу 222. Ближний конец 222 располагают относительно дальнего конца 224 таким образом, чтобы сформировать угол 226 изгиба канала в канале 20. Канал 220 является адаптивным, поэтому угол 226 изгиба канала является переменным. При необходимости монтажное приспособление могут крепить к ближнему концу 222 канала 220 (не показано). Необязательное монтажное приспособление также может предусматривать монтажное основание, соединенное с инжектором, и монтажную пластину, соединенную вертлюгом с монтажным основанием. Канал 220 и монтажная пластина вращаются вместе относительно монтажного основания. Монтажное приспособление является необязательным, поскольку дальний конец 224 может адаптироваться по вертикальному углу гибкой насосно-компрессорной трубы, подаваемой с барабана, и по боковому углу, изменяющемуся вдоль оси барабана. Опорное устройство 270 может адаптироваться более чем в одном измерении сообразно изменениям вертикального угла и бокового угла.
(065) Для гибкого канала 220 требуется дополнительная опора с целью удержания положения дальнего конца 224 относительно ближнего конца 222. Опорное устройство 270 может предусматривать первый опорный кронштейн 272 на ближнем конце 222 и второй опорный кронштейн 274 на дальнем конце 224. Второй опорный кронштейн 274 могут крепить к другим конструкциям для удержания положения дальнего конца 224 с целью выравнивания относительно гибкой насосно-компрессорной трубы, подаваемой с барабана. Другие конструкции, такие как распорки и опорные рычаги 276 (фиг. 12) могут регулировать согласно различным вертикальным углам и боковым углам гибкой насосно-компрессорной трубы, подаваемой с барабана. Первый опорный кронштейн 272 также могут крепить к другим конструкциям, например, к раме, прикрепленной к инжектору (фиг. 12).
(066) На фиг. 12 показан конкретный вариант осуществления опорного устройства 270, дополнительно предусматривающего первое некоторое количество опорных рычагов 276, подсоединенных над вторым опорным кронштейном 274 и к верхней части второго опорного кронштейна 274, и второе некоторое количество опорных рычагов 278, подсоединенных под вторым опорным кронштейном 274 и к нижней части второго опорного кронштейна 274. Опорные рычаги 276, 278 удерживают положение дальнего конца 224 относительно ближнего конца 222 под углом 226 изгиба канала. Угол 226 изгиба канала может обеспечивать безопасную подачу гибкой насосно-компрессорной трубы с барабана к инжектору на устье скважины. Опорные рычаги 276, 278 имеют телескопическую и шарнирную конструкцию для регулирования длины и направления по мере того, как дальний конец 224 адаптируется к изменениям вертикального угла и бокового угла гибкой насосно-компрессорной трубы, подаваемой с барабана.
(067) В другом варианте осуществления канал 220 может находиться под давлением. Предусмотрено устройство 240 для приложения давления к каналу 220 от дальнего конца 224 к ближнему концу 222. Устройство 240 для приложения давления предусматривает напорный шланг 242 для подачи текучей среды, подсоединенный к каналу на ближнем конце 222. Напорный шланг 242 регулирует давление в канале 220. В качестве других компонент устройства 240 для приложения давления предусмотрены насосы, уплотнение, запорно-регулирующая арматура и другие известные компоненты. Другие варианты осуществления также предусматривают канал 220, смазываемый посредством резервуара 48 для смазки, который предназначен для нанесения и удаления смазки по мере прохождения гибкой насосно-компрессорной трубы через канал 220 в обоих направлениях.
(068) Настоящее изобретение предусматривает изгибающее устройство для ввода гибкой насосно-компрессорной трубы с барабана или катушки в скважину через устье скважины. Изгибающее устройство защищает гибкую насосно-компрессорную трубу между барабаном и изгибающим устройством и между изгибающим устройством и инжектором на устье скважины. При разматывании и наматывании гибкой насосно-компрессорной трубы вертикальный угол подачи с барабана изменяется между барабаном и изгибающим устройством. При разматывании и наматывании гибкой насосно-компрессорной трубы боковой угол подачи с барабана колеблется вправо-влево вдоль оси барабана. Изгибающее устройство согласно настоящему изобретению предусматривает гибкую секцию для адаптации к указанным изменениям угла с целью предотвращения повреждений, таких как разрывы, растяжения и перегибы. С помощью монтажного приспособления обеспечивают вертлюжное соединение для дополнительных регулировок согласно изменениям бокового угла. В настоящем изобретении степень поворота вертлюга может быть меньше, чем на предшествующем уровне техники. Настоящее изобретение могут адаптировать под большее количество точек и требует меньше перемещений.
(069) Изобретение также предусматривает изогнутую секцию для безопасного и надежного изгибания гибкой насосно-компрессорной трубы при подаче в инжектор. Изогнутая секция может предусматривать такие же средства защиты от степени изгиба, скорости изгиба и усилия изгиба. Точку критического изгиба или основного контролируемого изгиба могут изолировать от изогнутой секции. В изогнутой секции во время критического изгиба могут создавать давление с целью уравнивания давления внутри и снаружи гибкой насосно-компрессорной трубы.
(070) Согласно некоторым вариантам осуществления, изгиб гибкой секции может быть меньшим по сравнению с изогнутой секцией.
(071) Гибкую секцию тонко регулируют согласно направлению гибкой насосно-компрессорной трубы, предотвращая разрывы, растяжения или перегибы по мере входа или выхода гибкой насосно-компрессорной трубы из канала. Гибкую секцию на дальнем конце канала могут регулировать до того, как гибкая насосно-компрессорная труба войдет в изогнутую секцию. Гибкую секцию могут предусматривать на ближнем конце с целью регулирования после выхода гибкой насосно-компрессорной трубы из изогнутой секции. Настоящее изобретение также предусматривает регулируемую опорную раму для гибкой секции. Гибкая секция способна к адаптации, и гибкая секция также должна быть достаточно устойчивой, чтобы сохранять выравнивание относительно гибкой насосно-компрессорной трубы.
(072) Согласно другим вариантам осуществления, предусматривают дополнительную гибкую секцию. Гибкие секции могут предусматривать как на дальнем конце, так и на ближнем конце. Также могут предусматривать адаптивную гибкую секцию. Могут предусматривать изоляцию точки критического изгиба от гибкой адаптивной секции. Такие компоненты, как зажимные втулки, могут ограничивать гибкость с целью предотвращения повреждения гибкой насосно-компрессорной трубы. Таким образом, канал может предусматривать гибкую адаптивную секцию и адаптивную секцию, либо представлять собой гибкий канал от дальнего конца до ближнего конца. Эти варианты осуществления могут адаптироваться к вертикальному углу и боковому углу гибкой насосно-компрессорной трубы, подаваемой с барабана или катушки, и для этих вариантов осуществления требуется опорная система для гибкой секции или гибкого канала.
(073) Предшествующее раскрытие и описание изобретения имеет иллюстративный и пояснительный характер. В детали проиллюстрированных конструкций, конструкцию и способ могут быть внесены различные изменения без отклонения от сущности изобретения.
 
		
		 
		
		 
		
		 
		
		 
		
		 
		
		 
		
         
         
            Группа изобретений относится к вариантам изгибающего устройства для гибкой насосно-компрессорной трубы. Технический результат заключается в обеспечении безопасного и надежного устройства подачи гибкой насосно-компрессорной трубы в устье скважины. Изгибающее устройство для гибкой насосно-компрессорной трубы предусматривает канал с ближним концом и дальним концом, расположенным противоположно упомянутому ближнему концу. Упомянутый ближний конец располагают относительно упомянутого дальнего конца таким образом, чтобы сформировать угол изгиба упомянутого канала. Упомянутый канал предусматривает изогнутую секцию с инжекторным концом, направленным в сторону упомянутого ближнего конца, и с барабанным концом, направленным в сторону упомянутого дальнего конца, противоположного упомянутому барабанному концу. Упомянутый инжекторный конец располагают относительно упомянутого барабанного конца таким образом, чтобы сформировать угол изгиба упомянутой изогнутой секции. Гибкая секция предусматривает первый гибкий конец, направленный в сторону упомянутого ближнего конца, и второй гибкий конец, направленный в сторону упомянутого дальнего конца, противоположно первому гибкому концу. Упомянутый первый гибкий конец располагают относительно второго гибкого конца таким образом, чтобы сформировать адаптивный угол изгиба упомянутой гибкой секции. Упомянутый угол изгиба канала предусматривает упомянутый угол изгиба и упомянутый адаптивный угол изгиба. Упомянутый адаптивный угол изгиба меньше упомянутого угла изгиба. Монтажное приспособление прикреплено к упомянутому ближнему концу упомянутого канала. Упомянутое монтажное приспособление предусматривает монтажную пластину на ближнем конце и монтажное основание с вертлюжным креплением к упомянутой монтажной пластине. Возможно совместное вращение упомянутого канала и упомянутой монтажной пластины относительно упомянутого монтажного основания. 3 н. и 13 з.п. ф-лы, 14 ил.
1. Изгибающее устройство для гибкой насосно-компрессорной трубы, при этом упомянутое устройство предусматривает:
канал с ближним концом и дальним концом, расположенным противоположно упомянутому ближнему концу,
при этом упомянутый ближний конец располагают относительно упомянутого дальнего конца таким образом, чтобы сформировать угол изгиба упомянутого канала,
при этом упомянутый канал предусматривает:
изогнутую секцию с инжекторным концом, направленным в сторону упомянутого ближнего конца, и с барабанным концом, направленным в сторону упомянутого дальнего конца, противоположного упомянутому барабанному концу,
при этом упомянутый инжекторный конец располагают относительно упомянутого барабанного конца таким образом, чтобы сформировать угол изгиба упомянутой изогнутой секции; и
гибкая секция предусматривает первый гибкий конец, направленный в сторону упомянутого ближнего конца, и второй гибкий конец, направленный в сторону упомянутого дальнего конца, противоположно первому гибкому концу,
при этом упомянутый первый гибкий конец располагают относительно второго гибкого конца таким образом, чтобы сформировать адаптивный угол изгиба упомянутой гибкой секции,
при этом упомянутый угол изгиба канала предусматривает упомянутый угол изгиба и упомянутый адаптивный угол изгиба, и
при этом упомянутый адаптивный угол изгиба меньше упомянутого угла изгиба; и
монтажное приспособление, прикрепленное к упомянутому ближнему концу упомянутого канала, при этом упомянутое монтажное приспособление предусматривает монтажную пластину на ближнем конце; и монтажное основание с вертлюжным креплением к упомянутой монтажной пластине, причем возможно совместное вращение упомянутого канала и упомянутой монтажной пластины относительно упомянутого монтажного основания.
2. Изгибающее устройство по п. 1, в котором упомянутая изогнутая секция находится между упомянутой гибкой секцией и упомянутым ближним концом.
3. Изгибающее устройство по п. 1, в котором упомянутая гибкая секция находится между упомянутой изогнутой секцией и упомянутым ближним концом.
4. Изгибающее устройство по п. 1, в котором упомянутая изогнутая секция предусмотрена жесткой, а упомянутый угол изгиба предусмотрен постоянным.
5. Изгибающее устройство по п. 1, в котором упомянутая изогнутая секция предусмотрена гибкой, а упомянутый угол изгиба переменный.
6. Изгибающее устройство по п. 1, в котором предусмотрены:
ближний фланцевый кронштейн на упомянутом ближнем конце, и
дальний фланцевый кронштейн на упомянутом дальнем конце.
7. Изгибающее устройство по п. 1, в котором упомянутая изогнутая секция предусматривает множество зажимных втулок, концентрически выровненных относительно друг друга от упомянутого инжекторного конца до упомянутого барабанного конца.
8. Изгибающее устройство по п. 7, в котором каждая зажимная втулка предусматривает внутреннюю поверхность и наружную поверхность, и в котором каждая зажимная втулка предусматривает сердечник, образующий упомянутую внутреннюю поверхность, оболочку вокруг упомянутого сердечника и множество подшипников на упомянутой внутренней поверхности, упомянутой наружной поверхности или на обеих поверхностях.
9. Изгибающее устройство по п. 1, в котором упомянутую изогнутую секцию смазывают и дополнительно предусматривают: резервуар для смазки на упомянутом ближнем конце.
10. Изгибающее устройство по п. 1, в котором упомянутая изогнутая секция находится под давлением.
11. Изгибающее устройство по п. 10, в котором предусмотрено следующее:
устройство для приложения давления к упомянутой изогнутой секции со стороны упомянутого инжекторного конца по направлению к упомянутому барабанному концу,
при этом устройство для приложения давления предусматривает напорный шланг для подачи текучей среды, подсоединенный к упомянутой изогнутой секции на упомянутом инжекторном конце.
12. Изгибающее устройство по п. 1, в котором упомянутая гибкая секция предусматривает опорное устройство, и при этом упомянутое опорное устройство предусматривает первый опорный кронштейн у упомянутого первого гибкого конца и второй опорный кронштейн у упомянутого второго гибкого конца, а также множество опорных рычагов, при этом каждый из опорных рычагов подсоединяют к упомянутому первому опорному кронштейну и упомянутому второму опорному кронштейну.
13. Изгибающее устройство по п. 3, в котором упомянутая гибкая секция предусматривает опорное устройство, и при этом упомянутое опорное устройство предусматривает первый опорный кронштейн у упомянутого первого гибкого конца и второй опорный кронштейн у упомянутого второго гибкого конца, а также множество опорных рычагов, при этом каждый из опорных рычагов подсоединяют к упомянутому первому опорному кронштейну и упомянутой монтажной пластине.
14. Изгибающее устройство по п. 1, в котором предусматривают дополнительную гибкую секцию,
при этом упомянутую изогнутую секцию располагают между упомянутой гибкой секцией и упомянутым ближним концом, а упомянутую дополнительную гибкую секцию располагают между упомянутой изогнутой секцией и упомянутым ближним концом,
при этом дополнительная гибкая секция предусматривает дополнительный первый гибкий конец, направленный в сторону упомянутого ближнего конца, и дополнительный второй гибкий конец, направленный в сторону упомянутого дальнего конца, противоположно упомянутому первому гибкому концу,
при этом упомянутый дополнительный второй гибкий конец располагают относительно упомянутого дополнительного первого гибкого конца таким образом, чтобы сформировать дополнительный адаптивный угол изгиба упомянутой дополнительной гибкой секции,
при этом упомянутый угол изгиба канала предусматривает упомянутый угол изгиба, упомянутый адаптивный угол изгиба и упомянутый дополнительный угол изгиба, и
при этом упомянутый дополнительный адаптивный угол изгиба меньше упомянутого угла изгиба.
15. Изгибающее устройство для гибкой насосно-компрессорной трубы, при этом упомянутое устройство предусматривает:
канал с ближним концом и дальним концом, расположенным противоположно упомянутому ближнему концу,
при этом упомянутый ближний конец располагают относительно упомянутого дальнего конца таким образом, чтобы сформировать угол изгиба упомянутого канала,
при этом упомянутый канал содержит:
изогнутую секцию с инжекторным концом, направленным в сторону упомянутого ближнего конца, и с барабанным концом, направленным в сторону упомянутого дальнего конца, противоположного упомянутому барабанному концу,
при этом упомянутый инжекторный конец располагают относительно упомянутого барабанного конца таким образом, чтобы сформировать угол изгиба упомянутой изогнутой секции; и
гибкую секцию, имеющую первый гибкий конец, направленный в сторону упомянутого ближнего конца, и второй гибкий конец, направленный в сторону упомянутого дальнего конца, противоположно первому гибкому концу,
при этом упомянутый второй гибкий конец располагают относительно первого гибкого конца таким образом, чтобы сформировать адаптивный угол изгиба упомянутой гибкой секции,
при этом упомянутый угол изгиба канала предусматривает упомянутый угол изгиба и упомянутый адаптивный угол изгиба,
опорное устройство изгиба,
при этом упомянутое опорное устройство изгиба предусматривает первый опорный кронштейн изгиба у упомянутого инжекторного конца, второй опорный кронштейн изгиба у упомянутого барабанного конца, и множество опорных рычагов, при этом каждый из опорных рычагов подсоединен к упомянутому первому опорному кронштейну изгиба и упомянутому второму опорному кронштейну изгиба, и
дополнительную гибкую секцию,
при этом упомянутую изогнутую секцию располагают между упомянутой гибкой секцией и упомянутым ближним концом, а упомянутую дополнительную гибкую секцию располагают между упомянутой изогнутой секцией и упомянутым ближним концом,
при этом дополнительная гибкая секция предусматривает дополнительный первый гибкий конец, направленный в сторону упомянутого ближнего конца, и дополнительный второй гибкий конец, направленный в сторону упомянутого дальнего конца, противоположно упомянутому первому гибкому концу,
при этом упомянутый дополнительный первый гибкий конец располагают относительно упомянутого дополнительного второго гибкого конца таким образом, чтобы сформировать дополнительный адаптивный угол изгиба упомянутой дополнительной гибкой секции, и
при этом упомянутый угол изгиба канала предусматривает упомянутый угол изгиба, упомянутый адаптивный угол изгиба и упомянутый дополнительный угол изгиба.
16. Изгибающее устройство для гибкой насосно-компрессорной трубы, при этом упомянутое устройство предусматривает:
канал с ближним концом и дальним концом, расположенным противоположно упомянутому ближнему концу,
при этом упомянутый ближний конец располагают относительно упомянутого дальнего конца таким образом, чтобы сформировать угол изгиба упомянутого канала, и
при этом упомянутый канал предусмотрен гибким, упомянутый угол изгиба канала предусмотрен переменным;
опорное устройство, имеющее первый опорный кронштейн на упомянутом ближнем конце, и второй опорный кронштейн на упомянутом дальнем конце,
причем упомянутое опорное устройство дополнительно предусматривает первое множество опорных рычагов, подсоединенных над упомянутым вторым опорным кронштейном и к верхней части второго опорного кронштейна, и второе множество опорных рычагов, подсоединенных под упомянутым вторым опорным кронштейном и к нижней части второго опорного кронштейна, и
устройство для приложения давления к упомянутому каналу в направлении от упомянутого ближнего конца к упомянутому дальнему концу,
при этом упомянутый канал находится под давлением, и
при этом устройство для приложения давления предусматривает напорный шланг, подсоединенный по текучей среде к упомянутому каналу на упомянутом ближнем конце.
| Многоступенчатая активно-реактивная турбина | 1924 | 
 | SU2013A1 | 
| ПРОТИВОДЕЙСТВИЕ ИЗГИБАНИЯМ КАБЕЛЯ С ТРУБЧАТОЙ ОБОЛОЧКОЙ В ПРОЦЕССЕ ЕГО ВВОДА | 2014 | 
 | RU2669818C1 | 
| US 4091867 A, 30.05.1978 | |||
| Приспособление в пере для письма с целью увеличения на нем запаса чернил и уменьшения скорости их высыхания | 1917 | 
 | SU96A1 | 
| CN 204327007 U, 13.05.2015 | |||
| Пломбировальные щипцы | 1923 | 
 | SU2006A1 | 
| US 6006839 A, 28.12.1999. | |||
Авторы
Даты
2025-05-14—Публикация
2021-09-14—Подача