[0001] Изобретение относится к технической области биологической очистки городских и промышленных сточных вод, более конкретно, к технологии, известной как последовательно-периодический реактор (Sequencing Batch Reactor, SBR).
[0002] SBR функционирует в последовательном режиме, включающем различные стадии обработки, в частности, фазу декантации, обеспечивающую отделение «активированного ила» от обработанной воды.
[0003] В способе, известном как способ с использованием «активированного ила», для обработки сточных вод используется биологическая очистка. В данном режиме очистки применяют свободноживущие культуры. Принцип очистки состоит в разложении органических веществ, суспендированных или растворенных в сточных водах, бактериями. Надлежащий уровень биоразложения достигается благодаря гомогенизации среды, обеспечивающей доступ бактерий к частицам и достаточную аэрацию. Затем ил осаждают на дно реактора в ходе фазы декантации.
[0004] Способ с использованием активированного ила направлен на устранение загрязнения углеродсодержащими и азотсодержащими соединениями, а также на устранение или извлечение фосфора, присутствующего в загрязняющих соединениях фосфора. Для устранения загрязнения углеродсодержащими соединениями необходимо присутствие бактериальной культуры, обогащенной гетеротрофными клетками. Однако, для роста бактерий нужны питательные вещества, в частности, источники азота и фосфора, например, как содержащиеся в сточных водах, и устранение которых также необходимо.
[0005] Очистку от азота, как правило, проводят способами нитрификации и, затем, денитрификации (N/DN). Нитрификация является окислительной реакцией, в которой участвуют автотрофные бактерии, аммиачный азот, или аммоний, часто обозначаемый N-NH4, с использованием:
- нитритного азота, N-NO2;
- и нитратного азота, N-NO3.
[0006] Как известно, обработку путем биологической нитрификации проводят в аэробных условиях с использованием автотрофных микроорганизмов, способных окислять ионы аммония (NH4+) до нитрит-ионов (NO2-) и, затем, до нитрат-ионов (NO3-). Эту стадию обычно осуществляют за две подстадии - нитритирования и нитратирования:
NH4+ → NO2- → NO3-
[0007] Денитрификация включает восстановление денитрифицирующими бактериями нитратов, образовавшихся в результате реакций нитрификации, до газообразного азота (молекулярного азота, также обозначаемого N2). Обработку путем биологической денитрификации обычно проводят в бескислородных условиях с использованием гетеротрофных микроорганизмов, способных восстанавливать нитрат-ионы, образовавшиеся на первой стадии обработки, до нитрит-ионов, а нитрит-ионы - до газообразного азота ((N2).
[0008] Более конкретно, нитрификацию разделяют на две подстадии: первую стадию нитритирования в присутствии кислорода и следующую за ней вторую стадию нитратирования, также в присутствии кислорода. Нитритирование включает окисление иона аммония до нитрита автотрофными нитрифицирующими бактериями, известными как АОВ, Ammonia Oxidizing Bacteria (бактерии, окисляющие аммоний), преимущественно, рода Nitrosomonas. Нитратирование включает окисление нитрита до нитрата другими автотрофными бактериями, известными как NOB, Nitrite Oxidizing Bacteria (бактерии, окисляющие нитриты), преимущественно, рода Ni trobacter.
[0009] Денитрификация также может быть разбита на две подстадии: денитратирования, на которой происходит преобразование нитратов в нитриты, и денитритирования, на которой нитриты преобразуются в газообразный азот. Каждую из этих двух подстадий осуществляют с использованием гетеротрофных бактерий, для чего требуется большое количество пригодного для биоразложения углерода. Для денитрификации, чтобы восстановить килограмм N-NO3 и молекулярного азота, нужно, приблизительно, 2,9 кг углерода в форме 5-дневной биологической потребности в кислороде (Biological Oxygen Demand, DBO5).
[0010] Чтобы уменьшить количество энергии и углерода, затрачиваемое на обработку азота, можно рассмотреть другие метаболические пути: нитритирование-денитритирование и частичное нитритирование-деаммонификация.
[0011] В способе нитритирования-денитритирования, также известном как «нитратный шунт», делается попытка остановить окисление азота на нитритной стадии, исключая образование нитратов и, таким образом, обойти «нитратную часть» цикла. Для проведения нитритирования-денитритирования NOB (бактерии, окисляющие нитриты), должны быть ослаблены в пользу АОВ (бактерий, окисляющий аммоний). В соответствии с известным уровнем техники, этот способ обеспечивает экономию 25% потребности в кислороде и предусматривает расходование только 1,7 кг углерода в форме DBO5 для восстановления килограмма N-NO2 до молекулярного азота. Это выражается как экономия, приблизительно, 40% относительно потребности в углероде обычного способа нитрификации-денитрификации.
[0012] Как известно, нитритирование проводят в аэробных условиях с использованием автотрофных микроорганизмов, способных окислять ионы аммония (NH4+) до нитрит-ионов (NO2-). Денитрификацию проводят в бескислородных условиях с использованием гетеротрофных микроорганизмов, способных восстанавливать нитрит-ионы (NP2-) до молекулярного азота (N2).
[0013] Другой способ, именуемый частичной деаммонификацией или нитритирование/ANAMMOX (NP/A), предусматривает использование реакции нитритирования, описанной выше, но затем - использование анаэробных автотрофных бактерий, именуемых ANAMMOX (ANaerobic AMMonium OXidation), которые потребляют аммоний и нитриты, выделяя N2 без потребности в кислороде и биоразлагаемом углероде.
[0014] Первой стадией деаммонификации является частичное нитритирование (NP). Оно включает окисление части (57%) ионов аммония до нитрит-ионов. Вторую стадию проводят с использованием анаэробных бактерий ANAMMOX. На этой стадии около 11% азотной нагрузки преобразуется в нитраты, благодаря чему теоретический максимум степени удаления увеличивается до 89%.
[0015] Та же популяция бактерий, а именно, аэробные окисляющие бактерии (Aerobic Oxidizing Bacteria, АОВ), что и в N/DN, участвует в частичном нитритировании. В этом случае (i) окисляется только часть ионов аммония в отличие от N/DN, где требуется окисление 100% NH4, и (ii) уровень окисления снижен, так как целевой молекулой является NO2, а не NO3. В соответствии с известным уровнем техники, экономия кислорода в этом способе обработки достигает, примерно, 50% по сравнению с обычным способом нитрификации и денитрификации.
[0016] Кроме этого, поскольку бактерии АОВ и ANAMMOX являются автотрофными популяциями, весь процесс NP/A может быть проведен без биоразлагаемого углерода. Для обработки азота не требуется добавление извне (экзогенного) углерода.
Следовательно, этот способ обработки не позволяет удалять углерод, который, возможно, присутствует.
[0017] Как известно, частичное нитритирование проводят в аэробных условиях с использованием автотрофных микроорганизмов, способных окислять ионы аммония (NH4+) до нитрит-ионов (NO2-). Обработку путем анаэробного окисления проводят в анаэробных условиях с использованием автотрофных микроорганизмов, способных окислять ионы аммония (NH4+) до молекулярного азота (N2) в присутствии нитрит-ионов (NO2-) (бактерий ANAMMOX).
[0018] Биологическое дефосфатирование (т.е., обработку фосфора биологическим путем) проводят посредством последовательного проведения стадии обработки в анаэробных условиях и стадии обработки в аэробных условиях. Некоторым бактериям, именуемым полифосфат-аккумулирующие организмы (или РАО, polyphosphate-accumulating organism), свойственно аккумулировать избыточное количество фосфора, когда они подвергаются переменному воздействию анаэробных и аэробных условий. РАО выделяют фосфаты в анаэробных условиях, а затем, после перехода к аэробным условиям, они аккумулируют фосфаты в количестве, превышающем количество, выделенное в анаэробных условиях.
[0019] Следовательно, путем согласования анаэробных/аэробных условий в камере SBR можно регулировать концентрацию фосфатов в камере благодаря участию накопивших фосфор РАО.
[0020] Независимо от применяемой технологии обработки, масштабирование технологии SBR ограничено пригодностью ила к декантации. А именно, одним из факторов, ограничивающих концентрацию активированного ила в SBR, который сам по себе отражает возможность обработки загрязняющей нагрузки, является пригодность ила к декантации, в широком смысле выражаемая как индекс Мольмана. Индекс Мольмана является показателем способности ила быть декантированным. Индекс определяет объем активированного ила, декантированного за полчаса, относительно массы сухого остатка (или концентрации взвешенного вещества, обозначаемого MES) этого ила: чем ниже индекс, тем выше подверженность ила декантации.
[0021] Чем плотнее ил, тем быстрее проходит фаза декантации и тем короче цикл обработки в целом, следовательно, можно обрабатывать за один день больше загрязненной воды, осуществляя большее число циклов.
[0022] Вообще, более плотный ил дает возможность работать при более высокой концентрации и надлежащей декантации (индексе Мольмана) и, следовательно, обрабатывать в том же рабочем объеме больше загрязненной воды.
[0023] Первый вариант конструкции того, что называют последовательно-периодический реактор (SBR), включает два отдельных объема, которые используют попеременно для проведения реакции и декантации, при этом воду перемещают из реакционной камеры в камеру декантации (способ Unitank® компании Seghers). Однако, этот тип реактора SBR был усовершенствован, и конструкция большинства биореакторов типа SBR в настоящее время предусматривает наличие единственного резервуара, в котором последовательно осуществляют различные стадии обработки. Такие реакторы, как правило, представляют собой реакторы с переменным уровнем: фаза подачи неочищенной воды и фаза отведения обработанной воды разделены во времени, и во время отведения обработанной воды уровень воды в реакторе снижается.
[0024] Также известны SBR, именуемые SBR с постоянным уровнем, в которых возможно уменьшить время каждой стадии обработки без ущерба для эффективности обработки. Такой реактор описан, например, в документе WO 2016020805.
[0025] В реакторах типа SBR легче всего поддающийся декантации ил, то есть, самый тяжелый ил, как правило, находится в нижней части слоя ила. При этом именно этот ил удаляют в каждом цикле по окончании периода декантации, что создает тенденцию отбора самого легкого, то есть, менее всего поддающегося декантации ила.
[0026] Способ SBR, описанный в документе WO 2004/024638, направлен на преодоление этой проблемы. Он представляет собой способ с использованием SBR с постоянным уровнем, в котором применен аэробный гранулированный ил, отличительной особенностью которого является очень быстрая декантация (скорость декантации более 10 м/ч). При этом образование гранул в городских сточных водах, то есть, с низкой концентрацией загрязняющих соединений (углерода, азота, фосфора), занимает много времени, и стабильность способа как функция загрязняющей нагрузки на входе и изменения температуры еще не подтверждена.
[0027] В международной заявке WO 2019/053114 предложено усовершенствование способа SBR, описанного в документе WO 2004/024638, заключающееся в том, что реактор SBR снабжен средством определения минимального и максимального уровней удаления ила в камере SBR, благодаря чему возможно селективное удаление гранулированного ила, лучше всего поддающегося декантации.
[0028] Следовательно, существует потребность в более конкурентоспособном способе обработки активированным илом с использованием SBR, то есть, более мощном и допускающем использование любого типа ила, в том числе негранулированного. Кроме этого, способ настоящего изобретения обеспечивает преимущество, заключающееся в возможности обработки такого же или даже большего количества сточных вод, что и способами известного уровня техники, но при меньшей занимаемой площади.
[0029] Изобретение направлено на преодоление всех или некоторых из указанных выше проблем посредством способа, именуемого способ «уплотненного ила», обеспечивающего достижение высокой скорости декантации независимо от природы ила (гранулированного или нет), предпочтительно, негранулированного ила. Ил уплотняют в реакторе SBR с постоянным уровнем путем оптимизации роста легко поддающихся декантации микроорганизмов благодаря сочетанию нескольких факторов:
- заполнению через слой ила;
- порядку последовательности реакций, проводимых при обработке сточных вод, позволяющему развиваться популяциям определенных микроорганизмов, надлежащим образом поддающихся декантации, в частности, РАО (фосфат-аккумулирующих организмов); и
- стратегии удаления ила, благодаря которой возможно сохранить в реакторе ил, наиболее подверженный декантации, удаляя в каждом цикле менее подверженный декантации ил.
[0030] С этой целью изобретение направлено на способ обработки сточных вод, загрязненных соединениями углерода, азота и фосфора, в последовательно-периодическом реакторе (SBR), при этом указанный SBR включает:
- камеру, в которой может находиться смесь сточных вод и ила, имеющая разные уровни, при этом каждый уровень характеризуется некоторой концентрацией и/или плотностью ила;
- слой ила, содержащий РАО, находящийся на дне камеры, над которым определяется уровень взвешенного слоя ила;
- средство определения минимального уровня и максимального уровня удаления ила в камере;
- средство удаления, пригодное для удаления ила на разных уровнях между минимальным уровнем удаления и максимальным уровнем удаления;
при этом указанный способ включает стадии, на которых:
- проводят заполнение SBR, в ходе которого подают в область вблизи дна камеры в слой ила некоторый объем подлежащих обработке сточных вод, предпочтительно, через распределительную сеть, охватывающую дно камеры,
- проводят последовательность реакций, включающую:
- по меньшей мере, первую анаэробную стадию, в ходе которой РАО захватывают загрязняющие углеродные соединения и выделяют соединения фосфора;
- необязательно, вторую стадию (частичной и/или полной) денитрификации в бескислородных условиях, осуществляемую только в случае, если концентрация NOx выше заданной пороговой величины;
- третью стадию аэрации, на которой возможно осуществление дефосфатирования сточных вод РАО, при этом стадией аэрации управляют так, чтобы одновременно происходила либо (частичная или полная) нитрификация, либо (частичное или полное) нитритирование;
- проводят декантацию, в ходе которой ил осаждается на дно камеры, и содержимое камеры вблизи поверхности осветляется;
- проводят отведение осветленной фракции содержимого камеры, при этом указанные стадии отведения и заполнения осуществляют одновременно так, чтобы уровень содержимого камеры оставался, по существу, постоянным на стадиях отведения и заполнения; и
[0031] проводят удаление, по меньшей мере, части легкого ила на предварительно определенном уровне между минимальным уровнем удаления и максимальным уровнем удаления, предпочтительно, вблизи взвешенного слоя ила. В соответствии с одним из конкретных вариантов осуществления, способ настоящего изобретения состоит из указанных выше стадий и, если применимо, одной или нескольких необязательных стадий, описанных ниже.
[0032] Предпочтительно, соответствующий изобретению способ обработки дополнительно включает стадию измерения уровня взвешенного слоя ила и стадию удаления, по меньшей мере, части легкого ила, проводимую, когда результат измерения уровня взвешенного слоя ила, по существу, равен заданному расстоянию от уровня удаления ила.
[0033] Предпочтительно, стадию удаления, по меньшей мере, части легкого ила проводят во время стадии заполнения и/или стадии декантации.
[0034] Предпочтительно, соответствующий изобретению способ обработки включает проводимую во время последовательности реакций стадию подачи в камеру воздуха.
[0035] Предпочтительно, за третьей стадией аэрации следует стадия последующей денитрификации в бескислородных условиях, осуществляемая, предпочтительно, если третья стадия является стадией полной или частичной нитрификации; или за третьей стадией аэрации следует стадия денитритирования в бескислородных условиях, осуществляемая, предпочтительно, если третья стадия является стадией полного или частичного нитритирования; или за третьей стадией аэрации следует стадия деаммонификации в бескислородных условиях, осуществляемая, предпочтительно, если третья стадия является стадией частичного нитритирования.
[0036] Предпочтительно, стадии декантации предшествует стадия подачи в камеру воздуха.
[0037] Предпочтительно, соответствующий изобретению способ обработки включает стадию уплотнения ила при помощи устройства уплотнения внутри камеры.
[0038] Предпочтительно, соответствующий изобретению способ обработки включает стадию регулирования длительности третьей стадии аэрации в зависимости от уровня загрязнения (в частности, соединениями углерода, азота и фосфора) сточных вод.
[0039] «Гранулированный ил» характеризуется скоростью декантации более 10 м/ч и иловым индексом («индексом объема ила», измеренным в соответствии со стандартом NF EN 147 02-1 от июля 2006 г. ), менее 35 мл/г (в частности, как указано в заявке WO 2004/024638, стр. 3). Ил, не отвечающий одновременно этим двум условиям, не рассматривается как гранулированный ил. Например, негранулированным илом является ил, скорость декантации которого меньше или равна 10 м/ч. Следовательно, для гранулированного ила иловый индекс через 5 мин равен иловому индексу через 30 мин.
[0040] «Уплотненный ил», также именуемый тяжелым илом, характеризуется иловым индексом, лежащим в диапазоне от 35 до 100 мл/г, предпочтительно, от 40 до 80 мл/г, более предпочтительно, от 40 до 70 мл/г, и скоростью декантации, лежащей в диапазоне от 2,0 до 9,0 м/ч. Он также характеризуется массовой долей от 10% до 50% (предпочтительно, от 20% до 40%) частиц, размер которых больше 100 мкм (до 1000 мкм, предпочтительно, от 200 мкм до 500 мкм) и большой массовой долей (от 50% до 90%) активного ила с размером частиц менее 100 мкм (предпочтительно, менее 200 мкм). Уплотненный ил также может характеризоваться критерием предельного массового расхода, большим или равным 8 кг MES⋅м-2⋅ч-1, предпочтительно, большим или равным 8,5 кг MES⋅м-2⋅ч-1. Это смесь твердых частиц, жидкостей и микроорганизмов, при этом указанные микроорганизмы включают полифосфат-аккумулирующие организмы, насыщенные фосфором. Тяжелый ил обладает очень высокой подверженностью декантации.
[0041] «Легкий ил» характеризуется иловым индексом более 100 мл/г и скоростью декантации мерее 2 м/ч. Она также характеризуется массовой долей активного ила с размером частиц менее 0,2 мм, лежащей в диапазоне от 15 до 50%. Легкий ил также характеризуется критерием предельного массового расхода менее 8 кг MES⋅м-2⋅ч-1. Он представляет собой смесь твердых частиц, жидкостей и микроорганизмов. Этот ил содержит мало или вообще не содержит РАО. Легкий ил трудно декантировать.
[0042] «Скорость декантации» выражают в метрах в час (м/ч). Она может быть определена по кривой Кинча, которую получают, наблюдая за декантацией исследуемого образца объемом 1 л под действием силы тяжести. Нужно отметить, что величина, соответствующая 30 мин на кривой Кинча, позволяет получить индекс Мольмана (Sludge Volume Index, SVI, индекс объема ила) или иловый индекс (raw sludge dilution, при разбавлении необработанным илом, DSVI (Diluted SVI)) в соответствии со стандартом NF EN 14702-1 от июля 2006 г. В реакторе экспериментального или промышленного масштаба скорость декантации может быть установлена на основании изменения высоты уровня взвешенного слоя ила во времени при проведении последовательности реакций без аэрации. Высоту уровня взвешенного слоя ила можно измерять непрерывно, например, при помощи ультразвукового датчика. В качестве альтернативы, измерение может быть дискретным, тогда можно вручную отбирать образцы на разных уровнях по высоте реактора через заданные интервалы времени.
[0043] «Предельный массовый расход» выражают в кг⋅м-2⋅ч-1. Он означает количество взвешенного твердого вещества (также обозначаемого MES), которое может быть декантировано на единице площади за единицу времени, и является мерой скорости падения ила при данной концентрации. Предельный массовый расход определяют по кривой Кинча путем разбавления или концентрирования необработанного ила последовательно несколько раз.
[004 4] «Долю активного ила» выражают как весовой % ила, соотнесенного с некоторым размером, например, процентная доля частиц менее 0,2 мм. Эта величина может быть получена путем просеивания образца ила на ситах с ячейками разной величины (например, 200 мкм/400 мкм/500 мкм/800 мкм/1 мм/1,25 мм). Затем измеряют концентрацию MES (взвешенного вещества) в полученном фильтрате, которую складывают с концентрацией MES в необработанном иле (в %).
[0045] «Размер активного ила» соответствует размеру частиц, в частности, максимальному размеру частиц. Он может быть определен с использованием статистического анализа на основании фотографий, полученных при помощи микроскопа.
[0046] Предпочтительно, способ настоящего изобретения не включает стадию рециркуляции легкого ила в последовательно-периодический реактор.
[0047] Изобретение и его дополнительные преимущества станут более понятны по прочтении подробного описания одного из вариантов осуществления, приведенного для примера и поясняемого прилагаемыми чертежами, где:
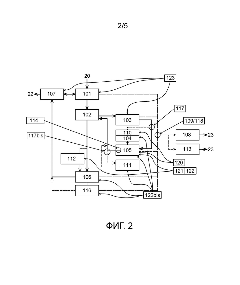
[0048] На фиг. 1 схематично представлен пример последовательно-периодического реактора, пригодного для проведения способа обработки, соответствующего изобретению;
[0049] На фиг. 2 приведена блок-схема стадий способа обработки сточных вод в соответствии с изобретением;
[0050] На фиг. 3 схематично показаны стадии способа обработки сточных вод в соответствии с изобретением;
[0051] На фиг. 4 схематично представлен последовательно-периодический реактор, применяемый в контексте способа, соответствующего изобретению;
[0052] На фиг. 5А, 5В, 5С, 5D показан отбор бактериальной популяции как функция последовательности реакций на основании измерений, проводимых в ходе осуществления способа, соответствующего изобретению;
[0053] На фиг. 6 схематично представлена камера SBR и средство отведения на стадиях заполнения и отведения;
[0054] На фиг. 7 схематично представлена камера SBR и средство отведения на стадии декантации.
[0055] Фигуры для ясности выполнены не в масштабе. Кроме того, одни и те же элементы на разных фигурах имеют одинаковый номер позиции.
[0056] На фиг. 1 схематично показан пример последовательно-периодического реактора, пригодного для осуществления способа обработки, соответствующего изобретению. Способ изобретения направлен на обработку сточных вод 20, содержащих загрязняющие соединения углерода, азота и фосфора, в последовательно-периодическом реакторе 10 (SBR). SBR 10 включает камеру 11, в которой находится смесь 12 сточных вод и ила, имеющая разные уровни, при этом каждый уровень характеризуется некоторой концентрацией и/или плотностью ила. Каждой точке по высоте камеры 11 соответствует некоторая концентрация и/или плотность содержимого 12. Например, можно выделить несколько уровней, обозначенных N1, N2, N3, N4, N5, N6. Каждый из этих уровней может характеризоваться концентрацией и/или плотностью ила, отличной от других уровней, или несколько уровней могут характеризоваться одинаковой концентрацией и/или плотностью ила. Наконец, в ходе некоторой фазы способа обработки, что будет более подробно пояснено ниже, концентрация и/или плотность ила на всех уровнях одинакова. В камеру 11 подают подлежащие обработке сточные воды 20, предпочтительно, через распределительную сеть 21, предпочтительно, охватывающую дно камеры, и воздух 8 через распределительную сеть 27, предпочтительно, охватывающую дно камеры.
[0057] В SBR 10 находится слой 13 ила, показанный схематично, включающий РАО 14 и расположенный на дне камеры 11, над которым определяется уровень 15 взвешенного слоя ила. В SBR имеется средство 16 определения минимального уровня 17 и максимального уровня 18 удаления ила в камере 11. На фиг. 1 эти уровни показаны схематично. Определение описано ниже.
[0058] Во время обработки сточных вод в камере 11 находится смесь 12 сточных вод и ила. Когда ил декантирован, в верхней части камеры реактора находится обработанная вода. Эта вода может быть отведена через отверстие, расположенное ниже уровня поверхности 24 смеси в камере 11 при помощи системы 200 отведения, пригодной для отбора осветленной фракции, включающей или образованной погруженной трубой, по которой вода может быть выведена из камеры (стрелка А). Другой альтернативный вариант осуществления средства отведения описан ниже.
[0059] Частицы самого тяжелого и/или самого плотного ила находятся на дне камеры 11 и могут быть отведены с нижней стенки камеры. Остаток смеси располагается между ними, при этом остаток смеси стратифицирован, то есть в нем имеется несколько уровней Nl, N2, N3, N4, N5, N6, …, при этом каждый уровень характеризуется некоторой концентрацией и/или плотностью ила в смеси 12.
[0060] Уровень 15 взвешенного слоя ила соответствует уровню, ниже которого находится ил. Он определяется расстоянием от поверхности 24 содержимого камеры и наличием ила на этой высоте. Уровень 15 взвешенного слоя ила может быть определен при помощи средства 16 определения, предпочтительно, непрерывно. В качестве альтернативы, его можно измерять вручную при помощи диска Секки. Измерения могут проводиться непрерывно, однако, нецелесообразно проводить их во время фаз гомогенизации, поскольку содержимое камеры перемешано, и имеющийся ил еще не декантирован.
[0061] В реакторе 10, соответствующем изобретению, возможно селективное удаление ила, наименее подверженного декантации, и находящегося в смеси 12.
[0062] SBR 10 включает средство 19 удаления, пригодное для удаления ила 23 (для ясности показанного схематично) на разных уровнях между минимальным уровнем 17 удаления и максимальным уровнем 18 удаления (стрелка В). Например, и без какого-либо ограничения, средство 19 удаления может включать экстрактор 191, включающий, по меньшей мере, первую часть, имеющую, по меньшей мере, одно отверстие 191а, расположенное внутри камеры 11, и вторую часть 191b, предназначенную для выведения ила из указанной камеры. Средство 19 удаления может включать средство 192 отклонения, предназначенное для изменения положения отверстия 191а указанного экстрактора 191, в частности, уровня расположения указанного отверстия между минимальным уровнем 17 удаления и максимальным уровнем 18 удаления. Предпочтительно, экстрактор 191 включает (всасывающий) насос или гравитационный клапан (не показаны) для удаления ила. Предпочтительно, экстрактор 191 может включать набор труб, расположенных в камере 11 на разных уровнях, при этом каждая труба имеет первый конец, отверстие которого находится в камере 11, и второй конец, соединенный со второй частью 191b экстрактора 191, при этом средство 192 отклонения включает набор клапанов, предназначенных для открытия или закрытия указанных труб. Таким образом, средство удаления позволяет удалять ил на одном уровне или на нескольких уровнях. Чтобы не загромождать изображение, средство 19 удаления показано в левой части SBR, однако подразумевается, что вторая часть 191b, предназначенная для выпуска ила, соединена с удаленным илом 23.
[0063] Средство 16 определения минимального уровня 17 и максимального уровня 18 удаления ила 23 из камеры 11 может включать средство 161 измерения, пригодное для измерения концентрации на разных уровнях смеси сточных вод и ила. Например, при помощи датчика взвешенного слоя ила можно определять уровень взвешенного слоя. Датчик MES (взвешенного вещества) позволяет измерять концентрацию ила. По высоте камеры может быть размещено несколько датчиков с целью измерения концентрации взвешенного вещества на разных уровнях. Результаты измерения используют для определения уровней 17, 18. Средство 16 может включать средство 162 выбора, предназначенное для выбора величины максимальной концентрации ила и величины минимальной концентрации ила. Выбор может быть сделан оператором или на основании расчетов, связанных с возрастом ила. Средство 16 может включать логическое устройство 163, способное определять максимальный уровень удаления, соответствующий выбранной величине максимальной концентрации, и минимальный уровень удаления, соответствующий выбранной величине минимальной концентрации.
[0064] Например, средство 161 измерения может включать один или несколько измерительных датчиков, в частности, датчиков концентрации. При помощи измерительного датчика можно измерять концентрацию ила в смеси. Измерительный датчик 161 погружен в смесь, как показано на фигуре. Это может быть постоянная или переменная глубина погружения в зависимости от выбранного типа датчика. В качестве альтернативы, как указано выше, может иметься несколько измерительных датчиков, распределенных по высоте камеры. Измерительный датчик 161 соединен со средством 162 выбора, благодаря чему возможно проверить, соответствует ли результат измерения илу, подлежащему удалению, и с логическим устройством 163, благодаря чему можно соотнести результат измерения с соответствующим уровнем удаления. Эти средства 16 определения соединены со средством 19 удаления ила, более конкретно, со средством 192, изменяющим уровень удаления, главным образом, для выбора уровня удаления. Средство 192 отклонения изменяет уровень отверстия 191а экстрактора 191, то есть, возможно проводить удаление селективно на определенных уровнях удаления в разное время в зависимости от эволюции содержимого, например, на стадии декантации, ожидания, заполнения/отведения, анаэробной стадии в зависимости от результатов измерений уровня взвешенного слоя ила или неселективно на стадии аэрации.
[0065] Например, и без какого-либо ограничения средство 161 измерения средства 16 определения включает ультразвуковой датчик, погруженный под поверхность смеси сточных вод и ила. Ультразвуковой датчик может генерировать ультразвуковую волну в указанной смеси (и функционировать как излучатель), а затем принимать обратную ультразвуковую волну, прошедшую определенное расстояние в смеси сточных вод и ила (и функционировать как приемник). Этот датчик соединен со средством 162 выбора и логическим устройством 163.
[0066] На фиг. 2 представлена блок-схема стадий способа обработки сточных вод в соответствии с изобретением. Способ обработки, соответствующий изобретению, включает:
- стадию 101 заполнения SBR 10, в ходе которой подают в область вблизи дна камеры 11 в слой 13 ила некоторый объем подлежащих обработке сточных вод 20, предпочтительно, через распределительную сеть 21, охватывающую дно камеры 11, с целью перемешивания подлежащих обработке сточных вод с илом в слое ила;
- последовательность 102 реакций, включающую:
- по меньшей мере, первую анаэробную стадию 103, в ходе которой РАО 14 захватывают загрязняющие углеродные соединениями и выделяют соединения фосфора,
- необязательно, вторую стадию 104 (пре-)денитрификации в бескислородных условиях, осуществляемую, предпочтительно, только в случае, если концентрация NOx выше заданной пороговой величины, третью стадию 105 аэрации, на которой возможно осуществление дефосфатирования сточных вод РАО 14, при этом стадией аэрации управляют так, чтобы одновременно происходила либо (частичная или полная) нитрификация, либо (частичное или полное) нитрирование,
- стадию 106 декантации, на которой ил осаждается на дно камеры 11, и содержимое камеры 11 вблизи поверхности 24 осветляется,
- стадию 107 отведения, на которой отводят осветленную фракцию 22 содержимого камеры, при этом указанные стадии отведения 107 и заполнения 101 осуществляют одновременно так, чтобы уровень содержимого камеры 11 оставался, по существу, постоянным на стадии 107 отведения и стадии 101 заполнения, и
- стадию 108 удаления, по меньшей мере, части легкого ила 23 на предварительно определенном уровне между минимальным уровнем 17 удаления и максимальным уровнем 18 удаления, предпочтительно, вблизи уровня 15 взвешенного слоя ила.
[0067] Обычно, стадию заполнения 101 проводят в анаэробных условиях или даже в бескислородных условиях. В последнем случае на бескислородной стадии 101 возможна денитрификация или денитриторование. Анаэробную стадию 103 проводят в анаэробных условиях, стадию 105 аэрации проводят в аэробных условиях. Стадию 106 декантации, предпочтительно, проводят, по меньшей мере частично, в бескислородных условиях.
[0068] Вторая стадия 104 может быть сопряжена со стадией 117 для измерения концентрации NOx в камере.
[0069] Способ обработки, соответствующий изобретению, может также, необязательно, включать четвертую бескислородную стадию 111 денитрификации или денитрирования или деаммонификации. Более конкретно, предусматриваются, по существу, три альтернативных варианта осуществления: в соответствии с первым альтернативным вариантом, третья стадия 105 включает полную или частичную нитрификацию, и бескислородная стадия 111 является стадией денитрификации (способ последующей денитрификации); в соответствии со вторым альтернативным вариантом, третья стадия 105 включает полное или частичное нитритирование, и бескислородная стадия 111 является стадией денитритирования (способ последующего денитритирования); наконец, в соответствии с третьим альтернативным вариантом, третья стадия 105 включает частичное нитритирование, и бескислородная стадия 111 является стадией деаммонификации (способ, именуемый ANAMMOX). Четвертая стадия 111 может быть сопряжена со стадией 117-бис для измерения концентрации NOx в камере.
[007 0] На стадии 101 заполнения через слой ила возможно приведение ила в контакт с неочищенной подлежащей обработке водой. Некоторый объем подлежащих обработке сточных вод 2 0 подают через слой ила, в котором присутствуют РАО. Таким образом, частицы и растворимая фракция поданного объема становятся доступны для бактерий. На анаэробной стадии 103 РАО захватывают загрязняющие углеродные соединениями и выделяют соединения фосфора. Стадия 105 аэрации обеспечивает дефосфатирование содержимого камеры РАО. Последовательность 102 реакций способствует эволюции РАО, обнаруживающих достаточную подверженность декантации. На стадии 106 декантации ил оседает под действием силы тяжести на дно камеры. Тяжелый ил и РАО оседают быстрее, чем легкий ил. Они участвуют в образовании слоя ила. Легкий ил менее подвержен декантации. Он дольше остается во взвешенном состоянии в содержимом камеры над слоем ила.
[0071] Стадия 108 удаления, по меньшей мере, части легкого ила обеспечивает регулярное или, самое меньшее, в заданные моменты времени, например в каждом цикле, удаление ила, менее подверженного декантации. Однако, удаление не обязательно проводится в каждом цикле, в зависимости от эксплуатационных ограничений. Например, можно не проводить удаление в выходные дни. В результате этого в камере SBR сохраняется только ил, характеризующийся надлежащей подверженностью декантации. Помимо обработки загрязнения поданных сточных вод, сочетание деятельности РАО, образующих более плотный ил, и удаления легкого ила ведет к уплотнению ила, присутствующего в камере. Таким образом, способ, соответствующий изобретению, именуемый способ обработки уплотненным илом, позволяет достичь большей скорости декантации ила независимо от природы ила, присутствующего в камере SBR.
[0072] В ходе последовательности 102 реакций, в том случае, когда эта последовательность включает вторую стадию 104, возможно проведение стадии 110 подачи воздуха в камеру 11. Подача воздуха в камеру до стадии 104 позволяет суспендировать биомассу для улучшения перемешивания с надосадочной жидкостью, обогащенной окисленным азотом (нитратом NO3- и нитритом NO2-), тем самым, повышая эффективность денитрификации на стадии 104, а также эффективность первой, анаэробной стадии 103. Нужно подчеркнуть, что стадия 110 является факультативной, если проводится вторая, факультативная стадия 104 в зависимости от результатов измерения концентрации NOx.
[0073] Стадии 106 декантации может предшествовать стадия 112 подачи воздуха в камеру 11. Подача воздуха в камеру до стадии декантации позволяет гомогенизировать содержимое камеры и привести ил в контакт с кислородсодержащими соединениями азота. Кроме этого, подача воздуха также позволяет удалить молекулярный азот из содержимого реактора.
[0074] Кроме этого, соответствующий изобретению способ обработки может включать стадию 113 уплотнения ила при помощи уплотнительного устройства 30 внутри или вовне камеры 11, предпочтительно, внутри камеры. Уплотнительное устройство 30 может представлять собой сито с ячейками надлежащего размера, находящееся по потоку до средства удаления ила и предназначенное для задержания самых крупных хлопьев, тем самым, улучшая отбор, то есть, удержание в камере частиц, наиболее подверженных декантации. В качестве альтернативы или дополнительно, стадия уплотнения ила может состоять в добавлении балластных агентов (таких как цеолиты).
[0075] Предпочтительно, соответствующий изобретению способ обработки включает стадию 114 регулирования длительности третьей стадии 105 аэрации в зависимости от уровня загрязнения сточных вод 20, в частности, в зависимости от концентрации NH4- и/или NO2- и/или NO3- в содержимом камеры. Более конкретно, проводят косвенное измерение степени загрязнения неочищенной воды, как только проведена, по меньшей мере один раз, аэрация содержимого камеры.
[0076] На фиг. 3 схематично показаны стадии способа обработки сточных вод в соответствии с изобретением. На стадиях 101 заполнения SBR подлежащими обработки сточными водами и 107 отведения осветленной фракции содержимого камеры камера заполнена сточными водами 20, образующими смесь 12, в которой происходит биологическая обработка загрязнения. В этой фазе сточные воды подают в камеру. Уровень жидкости в камере поддерживают постоянным, например, открывая клапан обработанной воды (осветленной фракции). Другими словами, обработанную воду отводят одновременно с подачей неочищенной воды (сточных вод). Расход обработанной воды всегда равен расходу подачи.
[0077] На этой стадии начинается процесс денитрификации (экзогенной денитрификации в бескислородных условиях в нижней части слоя ила и эндогенной денитрификации в бескислородных условиях в верхней части камеры) и био-дефосфатирования. Биологическая обработка сточных вод происходит, главным образом, во время последовательности реакций 102:
- удаление соединений углерода и нитрификация аммиачного азота происходит на стадии 105 аэрации;
- фосфор выделяется на анаэробной стадии 103 и ресорбируется на стадии 105 аэрации;
- денитрификация происходит во время определенных бескислородных периодов. Если длительности осаждения и заполнения недостаточно, используют период предварительной денитрификации (экзогенной денитрификации в бескислородных условиях) и/или последующей денитрификации (эндогенной денитрификации).
[0078] Затем проводят стадию 106 декантации. На этой стадии обработанная вода отделяется от ила только вследствие статического осаждения. Когда жидкость подвергается эндогенной денитрификации в контакте со слоем ила, имеет место некоторая биологическая активность. На этой стадии заполнение 101 камеры и отведение 107 из камеры недопустимо. Содержимое камеры находится в покое для обеспечения декантации ила. По окончании стадии 106 декантации ил, достаточно хорошо поддающийся декантации (тяжелый ил), находится на дне камеры, а ил, плохо поддающийся декантации (легкий ил), суспендирован в содержимом камеры между дном камеры и уровнем взвешенного слоя ила. Осветленная фракция находится в верхней части камеры вблизи поверхности 24. По окончании стадии 106 декантации избыток активного ила может быть удален с целью поддержания возраста ила, необходимого для нитрификации и/или нитритирования, как функции температуры, которая может быть измерена на стадии 118 измерения температуры. В качестве альтернативы, избыток активного ила может быть селективно удален на стадии 106 декантации и/или на стадиях заполнения 101 и отведения 107 и/или на анаэробной стадии 103 и/или стадии 116 ожидания. Ил может быть неселективно удален на стадии 105 аэрации.
[007 9] Стадию 108 удаления, по меньшей мере, части легкого ила 23 проводят на заранее определенном уровне между минимальным уровнем 17 удаления и максимальным уровнем 18 удаления, предпочтительно, вблизи уровня 15 взвешенного слоя ила. Действительно, легкий ил находится у уровня взвешенного слоя ила. Заданный уровень удаления легкого ила необязательно является уровнем, постоянным во времени. Этот уровень может изменяться в зависимости от биологической обработки и расхода сточных вод, подаваемых в камеру SBR. Средство 19 удаления позволяет проводить удаление на любом уровне. Легкий ил может удаляться на разных уровнях в течение циклов осуществления способа обработки. С практической точки зрения, можно определить несколько постоянных уровней удаления, например, три. Кроме этого, в зависимости от результатов измерения концентрации и/или плотности ила на разных уровнях смеси сточных вод и ила в камере и/или измерения уровня взвешенного слоя ила можно выбрать, какой уровень из этих трех может быть использован для удаления. С этой целью соответствующий изобретению способ может включать стадию 109 измерения уровня 15 взвешенного слоя ила, и стадию 108 удаления, по меньшей мере, части легкого ила осуществляют, когда результат измерения уровня 15 взвешенного слоя ила, по существу, равен заданному расстоянию до уровня удаления ила.
[0080] Поскольку уровень слоя ила может со временем изменяться, по высоте камеры, предпочтительно, устанавливают уровни удаления ила: между дном и серединой высоты - для тяжелого ила и между двумя уровнями по высоте камеры - для легкого ила. Например, уровень удаления может находиться на 50 см выше дна камеры для устранения слишком старого (минерализованного) ила, при этом другие точки удаления могут быть распределены по высоте камеры. На фиг. 3 жирными стрелками показаны открытые впуски/выпуски, через которые может проходить поток в зависимости от конкретной фазы способа.
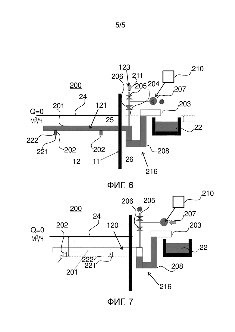
[0081] На фиг. 4 схематично показан последовательно-периодический реактор 10, применяемый в соответствии со способом настоящего изобретения. Различные фазы, описанные выше, осуществляются в одной и той же камере и разделены во времени. Следовательно, стадию 101 заполнения камеры сточными водами проводят периодически. Однако, для обеспечения непрерывной обработки сточных вод используют несколько камер, функционирующих одновременно, которые заполняют поочередно. Принцип изобретения применим и к нескольким камерам.
[0082] На стадии 101 заполнения неочищенную воду распределяют у дна камеры, например, при помощи сети 21 перфорированных труб. После стадии 106 декантации и одновременно со стадией 101 заполнения надосадочную осветленную воду выводят из верхней части камеры при помощи, например, сети перфорированных отводных труб. Особенно эффективное средство отведения осветленной фракции описано ниже.
[0083] Легкий ил может быть селективно удален на стадии 106 декантации и/или на стадиях заполнения 101 и отведения 107 и/или на первой анаэробной стадии 103 непосредственно у уровня взвешенного слоя ила, чтобы устранить самые легкие частицы ила.
[0084] Неселективное удаление ила (в частности, тяжелого, но также и легкого ила) также может предусматриваться на стадии 105 аэрации и/или на стадии 110 и/или на стадии 112, когда содержимое 12 гомогенно.
[0085] На фиг. 5А, 5В, 5С, 5D показан отбор бактериальной популяции как функция последовательности реакций на основании измерений, проводимых в ходе осуществления способа обработки, соответствующего изобретению;
[0086] В результате подачи неочищенной воды (с биологически доступным углеродом) через слой ила и последующей последовательности реакций в строго анаэробных условиях и, затем, последовательности реакций в аэробных условиях происходит отбор дефосфатирующих бактерий (РАО), способных аккумулировать фосфаты в форме гранул внутриклеточных полифосфатов.
[0087] На фиг. 5А показано выделение (анаэробное) и последующая реабсорбция Р-PO4 на стадии аэрации (аэробная). Кривая с номером позиции 40 ясно указывает на процесс биологического дефосфатирования со значительным выделением Р-PO4, как только в реакторе устанавливаются анаэробные условия. Кривая поднимается, а затем опускается, как только начинается аэрация, и это снижение соответствует реабсорбции выделенного и поступившего с необработанной водой Р-PO4. Этот процесс соответствует биологической аккумуляции избыточного количества фосфора.
[0088] На фиг. 5В показана нитрификация (снижение кривой NH4 и подъем кривой NOx) с эндогенной денитрификацией (первая часть снижения кривой NOx) и экзогенной денитрификацией (вторая часть снижения кривой NOx после заполнения). Эта кривая ясно показывает, что экзогенная денитрификация благоприятствует реакции денитрификации с учетом эндогенной денитрификации, имеет намного более крутой наклон, то есть, указывает на более активную кинетику после подачи воды, обогащенной биологически доступным углеродом. Эта бактериальная популяция, а также РАО, генерирует экзополимеры, которые естественным образом способствуют уплотнению хлопьев активного ила. Плотные хлопья не являются гранулированным илом, скорость декантации этого ила составляет от 2 до 10 м/ч, предпочтительно, от 3 до 6 м/ч, а индекс Мольмана (или иловый индекс) приблизительно равен 65 мл/г. Гранулированный ил включает частицы (или гранулы), которые всегда больше 200 мкм, тогда как в данном случае уплотненный ил может содержать некоторую долю частиц меньше 200 мкм.
[0089] Чтобы еще больше увеличить долю плотных хлопьев в иле, в соответствующем изобретению способе применена стратегия удаления ила, позволяющая устранять самый легкий ил. Это приводит к увеличению скорости декантации, поскольку в камере остается только ил, хорошо поддающийся декантации.
[0090] Соответствующий изобретению способ также может включать стадию 116 ожидания, сопряженную со стадиями заполнения, декантации или анаэробными стадиями.
[0091] Принимая во внимание, что легкий ил находится в верхней части слоя ила, в частности, по окончании стадии 106 декантации и/или на стадии 116 ожидания и/или на стадии 101 заполнения и/или на стадии 107 отведения и/или на первой анаэробной стадии 103 (самый тяжелый ил опустился на дно в начале декантации), ил удаляют на уровне взвешенного слоя ила (или немного ниже) по окончании декантации 106 и/или на стадии 116 ожидания и/или на стадии 101 заполнения и/или на стадии 107 отведения и/или на первой анаэробной стадии 103.
[0092] Легкий ил также может быть удален в начале декантации, но на более высоком уровне. Также возможно проводить удаление ила по окончании аэрации на любом уровне, так как содержимое камеры гомогенно по всей высоте камеры и, следовательно, содержит легкий ил. Также может предусматриваться удаление легкого ила в самом начале стадии заполнения или во время заполнения, поскольку легкий ил поднимается первым, или во время последовательности анаэробных реакций.
[0093] Способ настоящего изобретения основан на сочетании выбора момента удаления легкого ила и высоты, на которой проводят удаление. Выбранная высота также связана с возрастом ила, который нужно сохранить в реакторе, посредством длительности и расхода при удалении. Целевой возраст ила может быть определен на основании измерения температуры смеси воды и ила в реакторе.
[0094] Способ обработки, соответствующий изобретению, может дополнительно включать стадию 109 измерения уровня 15 взвешенного слоя ила, и стадию 108 удаления, по меньшей мере, части легкого ила проводят, когда результат измерения уровня 15 взвешенного слоя ила, по существу, равен заданному расстоянию до уровня удаления ила. Стратегия удаления легкого ила усовершенствована проведением измерения уровня взвешенного слоя ила, чтобы начинать удаление легкого ила на данном уровне, когда уровень взвешенного слоя ила находится на заданном расстоянии от уровня удаления ила, достигается ли этот уровень на стадии декантации или на стадии заполнения или во время последовательности анаэробных реакций. Благодаря такому измерению и, необязательно, измерению температуры смеси воды и ила в реакторе, также возможно учитывать мгновенное снижение скорости (или остаточную скорость заполнения) и период времени, необходимый для удаления, чтобы усовершенствовать этот самонастраивающийся режим удаления, предпочтительно, вводя понятие динамического возраста ила. При таком подходе удаление ила позволяет устранять в каждой последовательности самый легкий ил, находящийся немного выше слоя ила, более конкретно, в его верхней части, при адекватной калибровке датчика взвешенного слоя ила.
[0095] Способ настоящего изобретения позволяет учитывать дневные колебания расхода, допустимые в камере. Ночью, когда расход заполнения низкий, разница между скоростью заполнения и скоростью декантации может быть существенной, и уровень взвешенного слоя ила быстро приближается к точке удаления. В ходе дневных гидравлических пиков, наоборот, разница между скоростью заполнения и скоростью декантации небольшая, опускание уровня взвешенного слоя ила замедляется. Регулирование момента и длительности удаления с использованием измерения уровня взвешенного слоя ила позволяет удалять самый легкий ил всегда на заданном уровне, изменяя время удаления от одного цикла к другому.
[0096] Сочетание стадий заполнения и отведения, последовательности реакций и стадии декантации со стадией удаления легкого ила обеспечивает получение более плотного ила, чем обычный активированный ил. Поэтому чрезвычайно стабильно формируется ил, характеризующийся скоростью декантации более 2 м/ч и менее 10 м/ч, порядка от 3 м/ч до 6 м/ч, и индексом Мольмана около 65 мл/г (+/- 10 мл/г). Способ настоящего изобретения основан на таком сочетании, которое позволяет получать уплотненный, но не гранулированный ил.
[0097] На фиг. 5С показана стабильность илового индекса в ходе пилотных испытаний, величина которого не превышает 75 мл/г, что подтверждает присутствие уплотненного ила, хорошо поддающегося декантации. Приведены результаты за период в 91 день (ось абсцисс).
[0098] Понятно, что преимущество уплотнения состоит в том, что появляется возможность одновременного и надежного управления двумя противоположными потоками, подачей необработанной воды и декантацией ила, без увлечения ила с обработанной водой при скорости подачи необработанной воды более 2 м/ч.
[0099] Эксперименты при разных величинах скорости подачи (менее 4 м/ч) показали, что во время заполнения скорость декантации уменьшается, но декантация продолжается и при подаче неочищенной воды.
[0100] На фиг. 5D показан уровень взвешенного слоя ила при скорости заполнения 17 м3/ч, т.е., 2,266 м/ч. Верхняя кривая в нисходящей части указывает на снижение уровня взвешенного слоя ила в фазе, помеченной (*), во время декантации и в фазе, помещенной (#), во время заполнения. На этом графике видно, что скорость декантации намного выше, чем скорость заполнения, и что во время заполнения уровень взвешенного слоя ила продолжает снижаться.
[0101] Хотя длительность различных последовательностей в реакторе типа SBR, как правило, постоянна, способ, соответствующий изобретению, также позволяет регулировать длительность последовательности 102 реакции в режиме реального времени благодаря установке надлежащих датчиков с целью учета либо изменений концентрации загрязняющих соединений и гидравлического расхода как функции времени дня (пиковая нагрузка), либо разбавления сточных вод дождевой водой. Кроме этого, может быть осуществлена синхронизация циклов путем введения фазы ожидания.
[0102] В частности, введение измерения концентрации NH4, которое может быть или не быть дополнено измерением концентрации NOx (в частности, NO2), в реакторе может позволить наблюдать за ее изменением в фазе аэрируемой нитрификации, которая может быть остановлена, как только достигнута заданная величина.
[0103] Это благоприятно тем, что можно сократить период аэрации, когда вода разбавлена (в ночное время или в дождливую погоду). Сокращение длительности периода аэрации также позволяет оптимизировать энергопотребление и проводить большее количество циклов в день, следовательно, обработать больше загрязненной воды, чем при работе с фиксированной длительность аэрации. Напротив, при пиковом загрязнении длительность фазы аэрации увеличивают, при пиковой нагрузке она длится дольше, чем при низкой нагрузке, чтобы обеспечить преобразование NH4 до достижения заданной величины и, таким образом, гарантировать установление рабочих характеристик в случае пиковой концентрации NH4.
[0104] Наконец, соответствующий изобретению способ обработки может включать стадию 117 измерения концентрации NOx в камере, чтобы гарантировать, что эта величина достаточно низкая, до перехода к стадии заполнения и отведения, и возможно выделение фосфора в анаэробных условиях дефосфатирующими бактериями, и чтобы обеспечить надлежащее функционирование биологического дефосфатирования. Таким образом, это измерение проводят по окончании стадии 106 или, предпочтительно, по окончании стадии 105. Если измеренная концентрация NOx все еще слишком высокая, может быть проведена дополнительная стадия обработки азота с целью достижения заданной пороговой концентрации NOx.
[0105] Общую длительность цикла и длительность заполнения, как правило, не изменяют, чтобы иметь возможность управлять непрерывным заполнением нескольких камер. Длительность заполнения также постоянна, при этом общая длительность цикла, вообще, в четыре раза больше длительности заполнения. Это означает, что сумма длительности последовательности реакций и времени декантации в три раза больше длительности заполнения. Тем не менее, соответствующий изобретению способ также применим в случае переменной длительности цикла.
[0106] Таким образом, способ настоящего изобретения обеспечивает значительную гибкость. В частности, возможно адаптировать длительность стадий, в частности, стадии декантации, стадии заполнения и отведения и бескислородной стадии в зависимости от гидравлического режима и подлежащей обработке загрязняющей нагрузки.
[0107] Изобретение также относится к установке для обработки сточных вод, загрязненных соединениями углерода, азота и фосфора, в последовательно-периодическом реакторе (SBR), при этом указанный SBR 10 включает:
- камеру, в которой может находиться смесь 12 сточных вод и ила, имеющая разные уровни, при этом каждый уровень характеризуется некоторой концентрацией и/или плотностью ила;
- слой 13 ила, содержащий РАО 14, находящийся на дне камеры, над которым определяется уровень 15 взвешенного слоя ила;
- средство 16 определения минимального уровня 17 и максимального уровня 18 удаления ила в камере;
- средство 19 удаления, пригодное для удаления, по меньшей мере, части легкого ила 23 на заданном уровне между минимальным уровнем удаления и максимальным уровнем удаления;
- устройство подачи в SBR некоторого количества подлежащих обработке сточных вод вблизи дна камеры в слой ила, предпочтительно, через распределительную сеть, охватывающую дно камеры, предпочтительно, вблизи уровня взвешенного слоя ила;
- устройство отведения осветленной фракции содержимого камеры;
- средство аэрации камеры.
[0108] Установка разработана и оснащена с целью осуществления способа обработки, описанного выше.
[0109] В контексте настоящего изобретения термин «отведение» используется как синоним термина «дренирование» и, по существу, означает выпуск обработанной воды из камеры.
[0110] На фиг. 6 схематично представлена камера SBR и один из вариантов осуществления средства отведения на стадиях заполнения и отведения; а на фиг. 7 схематично представлена камера SBR и средство отведения на стадии декантации. В последующем описании термин «отведение» следует понимать как означающий откачивание/откачивать и/или дренаж/дренировать. Аэрацию содержимого камеры проводят воздухом 8 через распределительную сеть 27, предпочтительно, охватывающую дно камеры 11. В этом варианте осуществления изобретения средство 200 отведения, предназначенное для отведения осветленной фракции содержимого 12 камеры 11, включает:
- отводную трубу 201, проходящую под поверхностью 2 4 содержимого 12 камеры 11 между внутренним пространством 25 камеры 11 и пространством 26 снаружи камеры 11, в которой имеется:
по меньшей мере, один канал 202, обеспечивающий гидравлическую связь содержимого 12 камеры 11 и отводной трубы 201,
отводное отверстие 203, предназначенное для выпуска осветленной фракции содержимого 12 камеры 11,
воздуховод 204, обеспечивающий гидравлическую или аэродинамическую связь отводной трубы 201 с атмосферой,
вентиляционный клапан 205, расположенный на воздуховоде 204, способный принимать открытое положение и закрытое положение, через который воздух, блокированный в отводной трубе, может быть выпущен в атмосферу,
- водо-воздушное блокирующее устройство 216, расположенное на отводной трубе 201, которое может блокировать воздух в отводной трубе 201 по потоку выше водо-воздушного блокирующего устройства 216 и блокировать воду по потоку ниже блокирующего устройства 216,
- воздушный инжектор 207, соединенный с отводной трубой 201 и предназначенный для подачи воздуха с избыточным давлением и/или сжатого воздуха в отводную трубу 201.
[0111] Средство 200 отведения может включать воздушный инжектор 207 (предпочтительно, снабженный обратным клапаном), соединенный с воздуховодом 204 между вентиляционным клапаном 205 и водо-воздушным блокирующим устройством 216, предназначенный для подачи в отводную трубу 2 01 воздуха с избыточным давлением/сжатого воздуха.
[0112] Водо-воздушное блокирующее устройство 216 может представлять собой клапан, предпочтительно, электроприводной, который может занимать открытое или закрытое положение, или U-образный сифон, который может быть залитым или незалитым. В последующем описании водо-воздушное блокирующее устройство 216 рассматривается как открытое, если клапан находится в открытом положении, или если сифон залит, и рассматривается как закрытое, если клапан закрыт, или если сифон не залит.
[0113] Средство 200 отведения может включать воздушный инжектор 207, соединенный с воздуховодом 204 между вентиляционным клапаном 205 и водо-воздушным блокирующим устройством 216, предназначенный для подачи в отводную трубу 201 воздуха с избыточным давлением/сжатого воздуха. Как один из вариантов, воздух для блокировки отводной трубы может поступать из источника, используемого в контексте способа обработки. Более конкретно, воздушный инжектор 207 может быть специально предназначен для водо-воздушной блокировки. В этом случае он включает обратный клапан. Воздушный инжектор 207 также может не быть специально предназначен для водо-воздушной блокировки, то есть, воздух может поступать из притока воздуха в камеру. В этом случае средство 200 отведения также включает запорный клапан 2 06, выполняющий функцию блокировки. Воздушный инжектор 207 необязательно соединен с воздуховодом 204, однако систематично соединен с отводной трубой 201 с целью ее водо-воздушной блокировки.
[0114] Воздушный инжектор 207 может функционировать периодически на стадии 105 аэрации или непрерывно.
[0115] Вентиляционный клапан 205 является выпускным клапаном.
[0116] Средство 210 управления средством 200 отведения предназначено для заполнения отводной трубы 201 воздухом до полного вытеснения из отводной трубы 201 присутствующей в ней осветленной фракции, для удерживания отводной трубы 201 заполненной воздухом на стадии 105 аэрации и стадии 106 декантации и для вытеснения воздуха из отводной трубы 201 осветленной фракцией 22 на стадии 101 заполнения и стадии 107 отведения. Более конкретно, средство 210 управления предназначено для приведения в действие клапана 205 и блокирующего устройства 216 по мере необходимости, чтобы удалять из отводной трубы присутствующую в ней осветленную фракцию и удерживать отводную трубу 201 заполненной воздухом в ходе фазы аэрации и фазы декантации. Воздух может подаваться непрерывно. Он также может поступать из внешнего источника воздуха, то есть, источника, не предназначенного для водо-воздушной блокировки, например, предназначенного для аэрации камеры. В случае внешнего источника воздуха необходим отсекающий клапан 206. Когда средство 200 отведения включает воздушный инжектор 207, предназначенный для водо-воздушной блокировки, он может инжектировать воздух с избыточным давлением/сжатый воздух в отводную трубу 201. Нужно отметить, что такой специализированный воздушный инжектор 207 снабжен обратным клапаном (на фигурах не показан). Другими словами, отводная труба 201 блокируется воздухом следующим образом: трубу заполняют воздухом, который не может быть удален из-за закрытия водо-воздушного блокирующего устройства 216 и вентиляционного клапана 205. В ходе фазы аэрации уровень содержимого камеры поднимается из-за введения в камеру воздуха. Уровень содержимого камеры поднимается все выше. Однако, поскольку отводная труба заполнена воздухом, содержимое камеры не может поступать в трубу. Таким образом, имеется преимущество, состоящее в исключении потери ила из системы (наличие ила важно для уплотнения) и исключении загрязнения отводной трубы и осветленной воды, выходящей через отверстия 203 (это важно с точки зрения потребности в третичной обработке ниже по потоку и/или соблюдения стандартов качества сточных вод), а благодаря наличию каналов 202 можно компенсировать подъем уровня воды в реакторе во время аэрации, связанный с удержанием газа, а также компенсировать неидеальную горизонтальность труб.
[0117] В случае периодической подачи воздуха содержимое камеры поднимается в каналы 202, но не может поступать в отводную трубу 201. При такой конструкции, благодаря управлению средством отведения, гарантируется, что в отводную трубу поступает только осветленная фракция, и полностью исключен риск попадания в нее содержимого камеры с илом.
[0118] Важно подчеркнуть, что отводная труба проходит ниже поверхности 24 содержимого камеры. Таким образом, она постоянно погружена в содержимое камеры. Каналы 202, представляющие собой трубки со впускными отверстиями, постоянно погружены и заполнены содержимым камеры (с осветленной фракцией на стадии заполнения/отведения и на анаэробной стадии или с воздухом на стадии реакции и, следовательно, аэрации и стадии декантации). Другими словами, содержимое каналов изменяется в зависимости от текущей ситуации. Каналы 202 выполняют двойную функцию: обеспечивают доступ осветленной фракции в отводную трубу 201 на стадии заполнения/отведения и образуют буферный объем, не достигающий отводной трубы 201, в котором находится содержимое камеры, когда уровень содержимого камеры поднимается из-за аэрации. Переход от функции обеспечения доступа в отводную трубу к функции буферного объема происходит в зависимости от стадии способа обработки посредством введения/удаления воздуха с избыточным давлением и/или сжатого воздуха и открытия/закрытия блокирующего устройства и вентиляционного клапана. Управление введением/удалением воздуха с избыточным давлением и/или сжатого воздуха и открытием/закрытием блокирующего устройства и вентиляционного клапана осуществляется при помощи средства 210 управления средством 200 отведения.
[0119] В одном из вариантов осуществления изобретения водо-воздушное блокирующее устройство 216 включает U-образный сифон, расположенный между воздуховодом 204 и отводными отверстиями 203. Во время введения воздуха осветленная вода, присутствующая в сифоне и отводной трубе, вытесняется воздухом до высоты, эквивалентной концу одного или нескольких каналов. Таким образом, сифон предназначен для разрыва гидравлического соединения между содержимым камеры и осветленной водой снаружи камеры, и в это время сифон не залит. Увеличивая высоту сифона, также возможно компенсировать подъем уровня поверхности 24 на стадии аэрации. Наличие сифона не является абсолютно необходимым, возможны и другие варианты осуществления, которые описаны ниже. Сифон может сочетаться с запорным клапаном 206, управление которым также осуществляется посредством средства 210 управления, если воздух для заполнения отводной трубы поступает из источника воздуха для обработки (воздушный инжектор 207 не предназначен специально для блокировки воздухом). Отводное отверстие 203 является отверстием, через которое отводят обработанную воду.
[0120] Предпочтительно, отводное отверстие 203 расположено выше уровня отводной трубы 201. Предпочтительно, отводная труба 201 включает воздухоотвод 211. В этом случае также возможны другие варианты осуществления, которые описаны ниже.
[0121] При таком варианте осуществления средства отведения соответствующий изобретению способ включает следующую за стадией 106 декантации, на которой ил оседает на дно камеры 11, и содержимое камеры 11 осветляется вблизи поверхности 24, стадию 107 отведения осветленной фракции 22 содержимого камеры 11, при этом указанные стадии отведения 107 и заполнения 101 осуществляют одновременно, поддерживая уровень содержимого камеры 11 на стадиях отведения 107 и заполнения 101, по существу, постоянным.
[0122] Соответствующий изобретению способ обработки также может включать фазу 116 ожидания, связанную со стадией заполнения, стадией декантации или анаэробной стадией.
[0123] Соответствующий изобретению способ обработки включает:
- стадию 120 управления средством 200 отведения, на которой заполняют отводную трубу 201 воздухом до полного вытеснения из отводной трубы 201 осветленной фракции 22, присутствовавшей в отводной трубе 201, и оставляют отводную трубу 201 заполненной воздухом во время проведения последовательности 102 реакций, предпочтительно, до конца стадии 106 декантации и, необязательно, стадии ожидания, и
- стадию 123 вытеснения воздуха, присутствующего в отводной трубе 201, осветленной фракцией 22 во время стадии 101 заполнения и стадии 107 отведения.
[0124] После стадии 120 и до стадии 123 способ может включать стадию 121, по меньшей мере, частичного заполнения каналов 202 содержимым 12 камеры 11 на стадии 105 аэрации, если введение воздуха осуществляют периодически.
[0125] Кроме этого, способ обработки включает проводимые между стадией 120 и стадией 123 две другие стадии удерживания отводной трубы заполненной воздухом. Как указано выше, стадию 120 заполнения отводной трубы 201 воздухом проводят путем одновременного введения воздуха и дренирования осветленной воды. В начале первой стадии 105 аэрации клапан 205 закрыт, и водо-воздушное блокирующее устройство 216 рассматривается как закрытое, устройство подачи воздуха (воздушный инжектор 207) функционирует.
[0126] Способ также включает стадию 122 удерживания отводной трубы 201 заполненной воздухом при подаче воздуха. На стадии 105 аэрации клапан 205 закрыт, и водо-воздушное блокирующее устройство 216 рассматривается как закрытое, устройство 2 07 подачи воздуха функционирует.
[0127] Способ также включает стадию 122-бис удерживания отводной трубы заполненной воздухом без добавления воздуха. На стадии 105 аэрации и стадии 106 декантации клапан 205 закрыт, и водо-воздушное блокирующее устройство 216 рассматривается как закрытое, устройство 207 подачи воздуха остановлено.
[0128] Затем проводят стадию 123 одновременного вытеснения воздуха, присутствующего в отводной трубе, и заполнения трубы осветленной водой. На стадии 101 заполнения, стадии 107 отведения, анаэробной стадии 103 клапан 205 открыт, блокирующее устройство 216 рассматривается как открытое, устройство 207 подачи воздуха остановлено.
[0129] Наконец, если на стадии 105 аэрации подача воздуха периодическая, в частности, для экономии энергии, в ходе стадии 105 может быть проведена стадия 121, по меньшей мере, частичного заполнения каналов 202 содержимым 12 камеры 11 (однако, в некоторой степени эта стадия не является желательной). В этом случае возможно повторное введение воздуха с целью заполнения отводной трубы 201, то есть, стадия 122. Это может быть осуществлено в синкопированном режиме путем регулирования частоты и длительности введения воздуха или более точно, с использованием датчика измерения уровня, благодаря чему можно определить, нужно ли повторно вводить воздух и проводить стадию 122 во время стадии 105 аэрации.
[0130] Отводную трубу оставляют заполненной воздухом во время проведения последовательности реакций, включающей стадию аэрации. Предпочтительно, она также остается заполненной воздухом на стадии декантации. А именно, если бы отводная труба уже не была заполнена воздухом в начале декантации, взвешенный слой ила еще не успел бы осесть ниже уровня впускных отверстий каналов 202, что привело бы к загрязнению отводной трубы илом.
[0131] Отличительная особенность изобретения заключается в расположении отводной трубы 2 01 ниже поверхности 2 4 содержимого камеры, то есть, она всегда погружена. Другими словами, ее содержимым управляют на стадии (120, 122, 122-бис, 123) управления средством 200 отведения в зависимости от текущей стадии способа обработки. В результате этого в отводную трубу может поступать только обработанная вода, подлежащая отведению. Отводная труба показана как, по существу, горизонтальная, то есть, параллельная поверхности 24 содержимого камеры, однако, она также может быть наклонена и проходить вдоль оси, пересекающей плоскость, в которой лежит поверхность 24. Первое преимущество заключается в том, что объем камеры не ограничен, так как нет необходимости в снижении зеркала воды ниже отводной трубы, чтобы исключить поступление необработанной воды и ила на стадии 105 аэрации. Благодаря управлению средством отведения отводная труба заполняется воздухом непосредственно перед стадией 105 аэрации реактора. Другими словами, заполнение отводной трубы воздухом означает, что она блокируется воздухом и становится недоступной для содержимого камеры на тех фазах, на которых содержимое камеры вблизи трубы состоит не только из обработанной воды. Другая отличительная особенность следует из наличия канала (или каналов) 202, обеспечивающего(их) гидравлическую связь содержимого камеры 11 и отводной трубы 201. Они показаны как перпендикулярные поверхности 24, но также могут быть наклонены вниз. Канал 202 играет важную роль: обеспечивая гидравлическую связь между осветленной фракцией и отводной трубой, благодаря которой возможно отведение осветленной фракции, на стадии аэрации он также позволяет сдерживать подъем уровня содержимого камеры. Канал 202 имеет два конца (см. фиг. 4): первый конец 221 и второй конец 222, непосредственно контактирующий с отводной трубой 201 и обеспечивающий поток между отводной трубой 201 и указанным каналом 202. Канал 202, как и отводная труба 201, может иметь любую форму поперечного сечения: круглую, прямоугольную, многоугольную и т.п.
[0132] Стадия 105 аэрации влечет за собой изменение уровня содержимого камеры из-за введения в камеру воздуха. На стадии 105 аэрации канал (или каналы) 202, по меньшей мере, частично заполняется содержимым камеры. В частности, это имеет место на стадии 121 способа, в котором введение воздуха в отводную трубу периодическое. Высота заполнения каналов 202 соответствует высоте, до которой поднимается содержимое камеры. Поскольку каналы 202 спроектированы как расположенные достаточно высоко, чтобы удовлетворять конкретным требованиям стадии 121, содержимое 12 не достигает второго конца 222 каналов 202. Со своей стороны, отводная труба 201 остается заполненной воздухом. На стадии 105 аэрации содержимое камеры гомогенно, даже у поверхности 24. Благодаря наличию каналов 202, гомогенное содержимое, содержащее ил, не попадает в отводную трубу 201. Каналы 2 02 образуют переходную зону между отводной трубой, блокированной воздухом, и содержимым камеры. Концы 221 каналов 202 могут контактировать с водой и илом. Концы 222 каналов 202 никогда не вступают в контакт с илом. Таким образом, гарантируется, что отводная труба в зависимости от текущей фазы содержит либо воздух, либо обработанную воду, но никогда не содержит ил.
[0133] Отводная труба 201 остается заполненной воздухом в ходе проведения последовательности 102 реакций, предпочтительно, на стадии 106 декантации и, необязательно, стадии 116 ожидания. Это стадия 122-бис. По окончании декантации ил, присутствующий в камере, осаждается на дно камеры 11, а вблизи поверхности 24 содержимое камеры 11 осветляется. Способ также включает стадию 123 вытеснения воздуха из отводной трубы 201. При этом клапан 205 открыт, и осветленная вода поступает в отводную трубу и вытесняет воздух, блокированный в отводной трубе клапаном 205, через вентиляционный канал. В отводной трубе больше не остается блокированного воздуха.
[0134] Затем водо-воздушное блокирующее устройство 216 переводится в положение, рассматриваемое как открытое, и начинается новый цикл: стадия 101 заполнения происходит одновременно со стадией 107 отведения. При введении в камеру некоторого объема сточных вод такой же объем дренируют, чтобы поддерживать, по существу, постоянный уровень. Поскольку отводная труба уже не блокирована воздухом, отводная труба 201 и каналы 202 заполняются тем количеством содержимого 12 камеры 11, которое находится у поверхности 24. Это осветленная фракция, подлежащая отведению.
[0135] Управление заполнением отводной трубы воздухом (стадия 120) и блокирование воздуха в отводной трубе (стадия 122-бис, необязательно, дополняемая стадией 122, если введение воздуха периодическое) позволяет точно управлять моментом времени, когда содержимое получает возможность поступать в отводную трубу. Отводная труба доступна для содержимого камеры, когда содержимое камеры осветлено у поверхности. Однако, на стадии аэрации, когда содержимое гомогенно, то есть, когда содержимое камеры не осветлено вблизи отводной трубы, отводная труба недоступна для содержимого камеры. Другими словами, способ, соответствующий изобретению, позволяет точно управлять тем, что поступает в отводную трубу. В соответствии со стадиями обработки сточных вод, имеется последовательность фаз блокировки отводной трубы воздухом и фаз свободного гидравлического соединения, на которых содержимое камеры может циркулировать по отводной трубе.
[0136] Таким образом, этот альтернативный вариант осуществления изобретения основан на наличии стадии управления средством отведения из камеры SBR, на которой, непосредственно перед проведением в SBR аэрации, отводную трубу заполняют воздухом до полного вытеснения воды (осветленной), присутствовавшей в трубе. В этом альтернативном варианте осуществления изобретения гарантируется исключение загрязнения трубы, предназначенной для отведения обработанной воды, активированным илом на стадии аэрации благодаря управляемому заполнению отводной трубы воздухом в зависимости от текущей стадии способа обработки.
[0137] Вообще, специалистам в данной области техники в свете положений, раскрываемых в настоящем документе, станут очевидны различные модификации описанных выше вариантов осуществления изобретения. В прилагаемой формуле изобретения используемые термины не следует интерпретировать как ограничивающие формулу изобретения вариантами его осуществления, приведенными в настоящем описании, напротив, они должны интерпретироваться как включающие все эквиваленты, которые подразумеваются охватываемыми формулировками формулы изобретения и которые могут быть усмотрены специалистами на основании общих знаний.
Изобретение относится к способу обработки сточных вод (20), загрязненных соединениями углерода, азота и фосфора, в последовательно-периодическом реакторе (SBR). SBR включает: камеру, в которой может находиться смесь сточных вод и ила, имеющая разные уровни; слой ила, содержащий полифосфат-аккумулирующие организмы (РАО), находящийся на дне камеры, над которым определяется уровень взвешенного слоя ила; средство определения минимального уровня и максимального уровня удаления ила в камере; средство удаления, пригодное для удаления ила на разных уровнях между минимальным уровнем удаления и максимальным уровнем удаления; при этом указанный способ включает стадии, на которых: проводят заполнение (101) SBR, в ходе которого подают в область вблизи дна камеры в слой ила некоторый объем подлежащих обработке сточных вод (20); проводят последовательность (102) реакций, включающую: по меньшей мере первую анаэробную стадию (103), в ходе которой РАО захватывают загрязняющие углеродные соединения и выделяют соединения фосфора; необязательно вторую стадию (104) денитрификации в бескислородных условиях; третью стадию (105) аэрации, на которой возможно осуществление дефосфатирования сточных вод РАО; проводят декантацию (106), в ходе которой ил осаждается на дно камеры и содержимое камеры вблизи поверхности осветляется; проводят отведение (107) осветленной фракции содержимого камеры, при этом указанные стадии отведения (107) и заполнения (101) осуществляют одновременно; и проводят удаление (108) по меньшей мере части легкого ила на предварительно определенном уровне. Технический результат изобретения – обеспечение возможности обработки большого количества сточных вод при меньшей занимаемой площади, обеспечение высокой скорости декантации. 7 з.п. ф-лы, 7 ил. 
1. Способ обработки сточных вод (20), загрязненных соединениями углерода, азота и фосфора, в последовательно-периодическом реакторе (SBR) (10), при этом указанный SBR (10) включает:
камеру (11), в которой может находиться смесь (12) сточных вод и ила, имеющая разные уровни, при этом каждый уровень характеризуется некоторой концентрацией и/или плотностью ила;
слой (13) ила, содержащий полифосфат-аккумулирующие организмы (РАО) (14), находящийся на дне камеры (11), над которым определяется уровень (15) взвешенного слоя ила;
средство (16) определения минимального уровня (17) и максимального уровня (18) удаления ила в камере (11);
- средство (19) удаления, пригодное для удаления ила (23) на разных уровнях между минимальным уровнем (17) удаления и максимальным уровнем (18) удаления;
при этом указанный способ включает стадии, на которых:
- проводят заполнение (101) SBR (10), в ходе которого подают в область вблизи дна камеры (11) в слой (13) ила некоторый объем подлежащих обработке сточных вод (20), предпочтительно через распределительную сеть (21), охватывающую дно камеры (11);
- проводят последовательность (102) реакций, включающую:
- по меньшей мере первую анаэробную стадию (103), в ходе которой РАО (14) захватывают загрязняющие углеродные соединения и выделяют соединения фосфора;
- необязательно вторую стадию (104) частичной и/или полной денитрификации в бескислородных условиях, осуществляемую только в случае, если концентрация NOx выше заданной пороговой величины;
- третью стадию (105) аэрации, на которой возможно осуществление дефосфатирования сточных вод РАО (14), при этом стадией аэрации управляют так, чтобы одновременно происходила либо частичная или полная нитрификация, либо частичное или полное нитритирование;
- проводят декантацию (106), в ходе которой ил осаждается на дно камеры (11) и содержимое камеры (11) вблизи поверхности (24) осветляется;
- проводят отведение (107) осветленной фракции (22) содержимого камеры, при этом указанные стадии отведения (107) и заполнения (101) осуществляют одновременно так, чтобы уровень содержимого камеры (11) оставался, по существу, постоянным на стадиях отведения (107) и заполнения (101); и
- проводят удаление (108) по меньшей мере части легкого ила (23) с иловым индексом более 100 мл/г и скоростью декантации менее 2 м/ч на предварительно определенном уровне между минимальным уровнем (17) удаления и максимальным уровнем (18) удаления, предпочтительно вблизи уровня (15) взвешенного слоя ила.
2. Способ обработки по п. 1, дополнительно включающий стадию (109) измерения уровня (15) взвешенного слоя ила, при этом стадию (108) удаления по меньшей мере части легкого ила проводят, если результат измерения уровня (15) взвешенного слоя ила, по существу, равен заданному расстоянию до уровня удаления ила.
3. Способ обработки по любому из пп. 1 или 2, в котором стадию (108) удаления по меньшей мере части легкого ила проводят во время стадии (101) заполнения и/или стадии (106) декантации.
4. Способ обработки по любому из пп. 1-3, включающий проводимую во время последовательности (102) реакций стадию (110) подачи в камеру (11) воздуха.
5. Способ обработки по любому из пп. 1-4, в котором за третьей стадией (105) аэрации следует стадия (111) последующей денитрификации в бескислородных условиях, осуществляемая, предпочтительно, если третья стадия (105) является стадией полной или частичной нитрификации; или за третьей стадией (105) аэрации следует стадия (111) денитритирования в бескислородных условиях, осуществляемая, предпочтительно, если третья стадия (105) является стадией полного или частичного нитритирования; или за третьей стадией (105) аэрации следует стадия (111) деаммонификации в бескислородных условиях, осуществляемая, предпочтительно, если третья стадия (105) является стадией частичного нитритирования.
6. Способ обработки по любому из пп. 1-5, в котором стадии (106) декантации предшествует стадия (112) подачи в камеру (11) воздуха.
7. Способ обработки по любому из пп. 1-6, включающий стадию (113) уплотнения ила при помощи устройства (30) уплотнения внутри камеры (11).
8. Способ обработки по любому из пп. 1-7, дополнительно включающий стадию (114) регулирования длительности третьей стадии (105) аэрации в зависимости от уровня загрязнения сточных вод (20) соединениями углерода, азота и фосфора.
| СПОСОБ И СИСТЕМА ДЛЯ УДАЛЕНИЯ АЗОТА ИЗ СТОЧНЫХ ВОД | 2014 |
|
RU2671729C2 |
| СПОСОБ И УСТРОЙСТВО ДЛЯ УДАЛЕНИЯ АЗОТА ПРИ ОБРАБОТКЕ СТОЧНЫХ ВОД | 2013 |
|
RU2640767C2 |
| СПОСОБ ПЕРИОДИЧЕСКОЙ ОЧИСТКИ ЗАГРЯЗНЕННОЙ ИЛИ СТОЧНОЙ ВОДЫ И УСТРОЙСТВО ДЛЯ ЕГО ОСУЩЕСТВЛЕНИЯ | 1992 |
|
RU2097339C1 |
| WO 2019053114 A1, 21.03.2019 | |||
| Электромагнитные весы | 1988 |
|
SU1627854A1 |
Авторы
Даты
2025-05-21—Публикация
2021-10-01—Подача