ПЕРЕКРЕСТНАЯ ССЫЛКА НА РОДСТВЕННУЮ ЗАЯВКУ
[0001] Настоящая заявка испрашивает приоритет и преимущество предварительной заявки на патент США 63/033619, озаглавленной «Distribution of Hydraulic Fracturing Fluids», поданной 2 июня 2020 г., содержание которой полностью включено в настоящий документ посредством ссылки для всех целей.
УРОВЕНЬ ТЕХНИКИ
[0002] Настоящее изобретение в целом относится к применению воды на централизованном объекте для производства смеси для гидроразрыва пласта по запросу для доставки в одну или более скважин гидроразрыва пласта в зависимости от конкретных потребностей одной или более скважин гидроразрыва пласта.
[0003] Настоящий раздел предназначен для ознакомления читателя с различными аспектами области техники, которые могут относиться к различным аспектам настоящих методов, которые описаны и/или заявлены ниже. Полагают, что настоящее описание полезно для предоставления читателю дополнительной информации, чтобы обеспечить лучшее понимание различных аспектов настоящего изобретения. Соответственно, следует понимать, что эти утверждения должны быть прочитаны в этом свете, а не в качестве принятия любого типа.
[0004] Сланцевая нефть и сланцевый газ, как правило, являются экономически жизнеспособными только в США и Канаде, где цены на углеводороды являются благоприятными, а масштаб операций обеспечивает возможность распределения постоянных затрат среди максимального количества видов деятельности при одновременной минимизации переменных затрат. В целом, скважины, как правило, проходят три этапа планирования (например, бурение, заканчивание и эксплуатация) в процессе принятия решения оператора. Зачастую, наблюдается ограниченная кооперация и распространение знаний между подразделениями и принимающими решения командами в организации оператора. Например, инженеры по заканчиванию зачастую неэффективно взаимодействуют с командами по эксплуатации и, следовательно, вышестоящим руководителям в организации приходится применять простые меры экономической рационализации, такие как повторное применение попутной воды при гидроразрыве пласта на месторождении. Таким образом, было признано, что желательно наличие систем усовершенствованного принятия решений в отношении попутной воды.
КРАТКОЕ ИЗЛОЖЕНИЕ СУЩНОСТИ ИЗОБРЕТЕНИЯ
[0005] Сущность определенных вариантов осуществления изобретения, описанных в настоящем документе, изложена ниже. Следует понимать, что эти аспекты представлены только для того, чтобы кратко ознакомить читателя с сущностью некоторых вариантов осуществления изобретения, и что эти аспекты не ограничивают объем настоящего изобретения.
[0006] Некоторые варианты осуществления настоящего изобретения включают способ, включающий прием воды на централизованном объекте. Способ также включает прием песка от одного или более песчаных карьеров на централизованном объекте. Способ дополнительно включает прием одного или более химических веществ на централизованном объекте. Кроме того, способ включает применение технологического оборудования централизованного объекта для обработки воды, песка и одного или более химических веществ с получением смеси для гидроразрыва пласта. Способ также включает транспортировку смеси для гидроразрыва пласта от централизованного объекта к одной или более площадкам гидроразрыва пласта.
[0007] Некоторые варианты осуществления настоящего изобретения также включают способ, включающий прием воды на централизованном объекте посредством одного или более трубопроводов для воды. Способ также включает прием песка от одного или более песчаных карьеров на централизованном объекте посредством одного или более трубопроводов для песка. Способ дополнительно включает прием одного или более химических веществ на централизованном объекте. Кроме того, способ включает применение технологического оборудования централизованного объекта для обработки воды, песка и одного или более химических веществ с получением смеси для гидроразрыва пласта. Способ также включает транспортировку смеси для гидроразрыва пласта от централизованного объекта к одной или более площадкам гидроразрыва пласта посредством одного или более трубопроводов для смеси для гидроразрыва пласта.
[0008] Некоторые варианты осуществления настоящего изобретения также включают способ, включающий прием попутной воды из одной или более скважин на централизованном объекте посредством одного или более трубопроводов для попутной воды. Способ также включает прием песка от одного или более песчаных карьеров на централизованном объекте посредством одного или более трубопроводов для песка. Способ дополнительно включает прием одного или более химических веществ на централизованном объекте. Кроме того, способ включает транспортировку попутной воды, песка и химических веществ от централизованного объекта к одной или более площадкам гидроразрыва пласта посредством одного или более трубопроводов для смеси для гидроразрыва пласта, движение попутной воды, песка и химических веществ через один или более трубопроводов для смеси для гидроразрыва пласта пассивно смешивает попутную воду, песок и химические вещества в смесь для гидроразрыва пласта без применения оборудования для активного смешивания.
[0009] Могут быть сделаны различные модификации признаков, отмеченных выше, в отношении различных аспектов настоящего изобретения. Дополнительные признаки также могут быть включены в эти различные аспекты. Эти модификации и дополнительные признаки могут существовать по отдельности или в любой комбинации. Например, различные признаки, описываемые ниже в связи с одним или более из проиллюстрированных вариантов осуществления изобретения, могут быть включены в любой из вышеописанных аспектов настоящего изобретения отдельно или в любой комбинации. Сущность изобретения, представленная выше, предназначена для ознакомления читателя с определенными аспектами и контекстами вариантов осуществления изобретения без ограничения заявленным объектом изобретения.
КРАТКОЕ ОПИСАНИЕ ГРАФИЧЕСКИХ МАТЕРИАЛОВ
[0010] Различные аспекты настоящего изобретения можно лучше понять после прочтения следующего подробного описания и со ссылкой на графические материалы, в которых:
[0011] на фиг. 1 представлена буровая площадка с буровой установкой, расположенной над подземным пластом, который включает в себя один или более нефтяных и/или газовых коллекторов;
[0012] на фиг. 2 представлен иллюстративный жизненный цикл попутной воды, вырабатываемой на буровых площадках;
[0013] на фиг. 3 представлено схематическое изображение системы, в которой смесь для гидроразрыва пласта смешивают на месте на площадках гидроразрыва пласта в соответствии с жизненным циклом, показанным на фиг. 2;
[0014] на фиг. 4 представлен новый круговой жизненный цикл попутной воды, вырабатываемой на буровых площадках, в соответствии с вариантами осуществления настоящего изобретения;
[0015] на фиг. 5 представлено схематическое изображение системы в соответствии с новым круговым жизненным циклом, показанным на фиг. 4, в соответствии с вариантами осуществления настоящего изобретения;
[0016] на фиг. 6 представлено схематическое изображение различных операционных компонентов централизованного объекта, показанного на фиг. 4 и 5, в соответствии с вариантами осуществления настоящего изобретения;
[0017] на фиг. 7 представлено схематическое изображение песчаного карьера, в котором применяется нетрадиционная вода (например, попутная вода или другая непресная вода) в операциях по добыче песка, в соответствии с вариантами осуществления настоящего изобретения;
[0018] на фиг. 8 концептуально показано, как коллектор разведения технологического оборудования централизованного объекта может разводить химические вещества и песок в получаемой смеси для гидроразрыва пласта в соответствии с вариантами осуществления настоящего изобретения;
[0019] на фиг. 9 представлен иллюстративный коллектор разведения, принимающий поток относительно чистой жидкости в первый поточный трубопровод и поток концентрированной жидкости во второй поточный трубопровод, в соответствии с вариантами осуществления настоящего изобретения;
[0020] на фиг. 10 представлено оборудование обезвоживания технологического оборудования централизованного объекта для обезвоживания пескосодержащего потока для управления плотностью в соответствии с вариантами осуществления настоящего изобретения;
[0021] на фиг. 11 представлена относительно длинная труба, которая может применяться для смешивания песка, химических веществ и/или попутной воды с получением смеси для гидроразрыва пласта, в соответствии с вариантами осуществления настоящего изобретения;
[0022] на фиг. 12 представлен способ, включающий пункт сбора (например, централизованный объект), где материалы (например, песок, химические вещества и/или попутная вода) добавляются вместе в желаемых пропорциях, но не смешиваются друг с другом с помощью традиционных методов активного смешивания, в соответствии с вариантами осуществления настоящего изобретения;
[0023] на фиг. 13 представлено схематическое изображение централизованного объекта, на котором понижающая трение добавка может добавляться к жидкости с получением смеси для гидроразрыва пласта с пониженным трением с помощью системы добавления с низким сдвиговым усилием, в соответствии с вариантами осуществления настоящего изобретения;
[0024] на фиг. 14 представлен эжектор, выполненный с возможностью питания самотеком от системы дозирования твердых частиц или другого механизма транспортировки в соответствии с вариантами осуществления настоящего изобретения;
[0025] на фиг. 15 показан эжектор, выполненный с возможностью пневматической транспортировки и диспергирования воздуха и твердых частиц в движущую жидкость, в соответствии с вариантами осуществления настоящего изобретения;
[0026] на фиг. 16 представлено схематическое изображение системы управления технологическим процессом в соответствии с вариантами осуществления настоящего изобретения;
[0027] на фиг. 17 представлен вид в разрезе трубопровода, который включает наружную трубу и внутреннюю трубу, расположенную концентрически внутри наружной трубы, для транспортировки смеси для гидроразрыва пласта с пониженным трением, в соответствии с вариантами осуществления настоящего изобретения;
[0028] на фиг. 18 представлен вид в разрезе трубопровода, который включает наружную трубу и множество внутренних труб, расположенных внутри наружной трубы, для транспортировки смеси для гидроразрыва пласта с пониженным трением, в соответствии с вариантами осуществления настоящего изобретения.
ПОДРОБНОЕ ОПИСАНИЕ
[0029] Ниже будет описан один или более конкретных вариантов осуществления настоящего изобретения. Эти описанные варианты осуществления изобретения приводятся исключительно в качестве примеров методов, раскрытых в настоящем документе. Кроме того, чтобы предоставить краткое описание этих вариантов осуществления изобретения, все признаки фактической реализации изобретения не могут быть раскрыты в данном описании. Следует понимать, что при разработке любой такой фактической реализации, как в любом инженерном проекте или проекте опытно-конструкторских работ, многочисленные характерные для реализации решения должны приниматься для достижения конкретных целей проектировщика, например, для соответствия связанным с системой или производственным ограничениям, которые могут быть различными для каждой реализации. Более того, следует понимать, что такая опытно-конструкторская разработка может быть сложной и потребовать больших затрат времени, но, тем не менее, будет обычной практикой при конструировании, изготовлении и производстве для специалистов в данной области техники, пользующихся преимуществами настоящего изобретения.
[0030] При введении элементов различных вариантов осуществления настоящего изобретения формы единственного числа предусматривают существование одного или более таких элементов. Термины «содержащий», «включающий» и «имеющий» являются включающими и предполагают, что кроме перечисленных могут быть дополнительные элементы. Кроме того, следует понимать, что ссылки на «один вариант осуществления» или «вариант осуществления настоящего изобретения» в настоящем раскрытии не должны трактоваться как исключающие существование дополнительных вариантов осуществления изобретения, которые также включают изложенные признаки.
[0031] В контексте настоящего документа термины «соединить», «соединение», «соединенный», «в соединении с» и «соединяющий» означают «в непосредственном соединении с» или «в соединении через один или более элементов»; а термин «комплект» означает «один элемент» или «более одного элемента». Кроме того, термины «сцеплять», «сцепление», «сцепленный», «сцепленные между собой» и «сцепленный с» означают «непосредственно сцепленные между собой» или «сцепленные между собой через один или более элементов». В контексте настоящего документа термины «вверх» и «вниз», «вверх по стволу скважины» и «вглубь скважины», «верхний» и «нижний», «верх» и «низ», а также другие подобные термины, обозначающие положения относительно заданной точки или элемента, применяются для более понятного описания некоторых элементов. Обычно эти термины относятся к опорной точке на поверхности, от которой начинают осуществлять буровые работы, при этом она является обозначающей верх (например, расположенной вверх по стволу скважины или верхней) точкой, а общая глубина вдоль оси бурения является самой нижней (например, уходящей вглубь скважины или верхней) точкой, независимо от того, является ли скважина (например, ствол скважины, буровая скважина) вертикальной, горизонтальной или наклонной относительно поверхности.
[0032] В контексте настоящего документа термин «трещина» следует понимать как один или более разломов или поверхностей разрушения в горной породе. Трещины могут значительно увеличить проницаемость горных пород за счет соединения пор друг с другом, и по этой причине в некоторых коллекторах трещины могут быть вызваны механическим способом для интенсификации потока углеводородов. Некоторые трещины также могут называться естественными трещинами, чтобы отличить их от трещин, образовавшихся в результате интенсификации пласта. Трещины также могут быть сгруппированы в кластеры трещин (или «кластеры перфорации»), где трещины данного кластера трещин (кластера перфорации) соединяются со стволом скважины через один интервал перфорации. В контексте настоящего документа термин «гидроразрыв пласта» относится к процессу и способам разрушения геологического пласта и создания трещины (т.е. горной породы вокруг ствола скважины) путем закачки жидкости при относительно высоких давлениях (например, давлении выше определенного давления смыкания пласта) с целью увеличения добычи из углеводородного коллектора.
[0033] Кроме того, в контексте настоящего документа термины «реальное время», «в реальном времени» или «по существу в реальном времени» могут применяться взаимозаменяемо и служат для описания операций (например, вычислительных операций), которые выполняются без какого-либо воспринимаемого человеком прерывания между операциями. Например, в контексте настоящего документа данные, относящиеся к системам, описанным в настоящем документе, могут собираться, передаваться и/или применяться в управляющих вычислениях «в по существу реальном времени», так что этапы считывания данных, передачи данных и/или обработки данных происходят один раз в секунду, один раз в 0,1 секунды, один раз в 0,01 секунды или даже чаще в ходе операций систем (например, во время работы систем). Кроме того, в контексте настоящего документа термины «автоматический» и «автоматизированный» предназначены для описания операций, которые выполняются или вызываются к выполнению, например, системой управления технологическим процессом (т.е. исключительно системой управления технологическим процессом, без вмешательства человека).
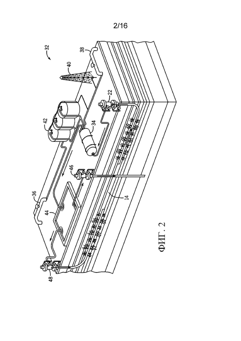
[0034] Как правило, в нефтегазовых скважинах попутно с углеводородами так или иначе добывается вода. Как попутная вода, так и возвращаемая закачиваемая жидкость для гидроразрыва пласта или «обратный приток» (например, обычно 15-50% начального объема возвращается, как правило, постепенно смешиваясь с попутной водой) считаются нефтепромысловыми отходами и, следовательно, подпадают под действие нормативных ограничений в отношении обращения и утилизации. На фиг. 1 представлена буровая площадка 10 с буровой установкой 12, расположенной над подземным пластом 14, который включает один или более нефтяных и/или газовых коллекторов 16. Во время работы вышка и подъемное устройство буровой установки 12 могут поднимать и опускать бурильную колонну 18 в ствол 20 скважины 22 и из него для бурения ствола 20 скважины в подземном пласте 14, а также для позиционирования скважинных инструментов в стволе 20 скважины для облегчения операций по заканчиванию и эксплуатации скважины 22. Например, в некоторых операциях жидкость для гидроразрыва пласта (например, смесь для гидроразрыва пласта) может быть введена в скважину 22 через бурильную колонну 18, как показано стрелкой 24, которая может применяться для создания трещин 26 в подземном пласте 14 для облегчения добычи ресурсов нефти и/или газа из скважины 22. Как более подробно описано в настоящем документе, попутная вода и возвращаемая закачиваемая жидкость для гидроразрыва пласта могут быть возвращены на поверхность 28 буровой площадки 10 (например, через кольцевое пространство между бурильной колонной 18 и стволом 20 скважины), как показано стрелкой 30. При определенных обстоятельствах на каждый баррель нефти, добываемый из скважины 22, также добывается приблизительно три барреля пластовой воды (например, воды с относительно высоким содержанием солей).
[0035] Нефтегазодобывающие предприятия довольно часто заключают контракты на утилизацию и обработку попутной воды со специализированными фирмами, специализирующимися на обработке и утилизации воды (WHD - англ.: water handling and disposal). Во многих случаях добываемую воду обрабатывают и закачивают в скважины для утилизации соленой воды (SWD - англ.: saltwater disposal). На фиг. 2 представлен иллюстративный жизненный цикл 32 попутной воды, вырабатываемой на буровых площадках 10. Как показано на фиг. 2, вода добывается попутно с нефтью и газом в одной или более эксплуатационных скважинах 22. Затем каждый пластовый флюид (например, нефть, газ, попутная вода, возвращенная закачиваемая жидкость для гидроразрыва пласта и т.д.) может быть разделен с помощью одного или более сепараторов 34, при этом большую часть попутной нефти и газа направляют в нефте- и газопроводы 36, 38 соответственно, а остальную часть сжигают через факельную трубу 40, а попутную воду направляют во временное хранилище 42 для локальной (например, на буровой площадке 10) обработки и последующего хранения в, например, поверхностном пруду 44. В целом, большую часть попутной воды повторно закачивают в скважины 46 SWD, при этом только небольшую часть применяют для целей гидроразрыва пласта путем закачки в пласт 14 посредством одной или более скважин 48 гидроразрыва пласта.
[0036] Жизненный цикл 32, представленный на фиг. 2, создает довольно много дополнительных затрат для нефтегазодобывающих предприятий. Например, на каждой буровой площадке 10 должно быть оборудование для складирования химических веществ и песка (например, механизмы хранения, такие как резервуары, контейнеры, бункеры и т.д.) и смесительное оборудование, например, для смешивания химических веществ и песка друг с другом. Кроме того, химические вещества и песок необходимо доставлять к буровым площадкам 10 посредством грузовых автомобилей. Относительно транспортировки песка, песок обычно сначала транспортируют от карьера к перевалочному пункту, где загружают грузовые автомобили, и песок отправляют к буровым площадкам 10. Затем эти грузовые автомобили должны порожняком вернуться на перевалочный пункт, что удваивает расстояние, которое необходимо проходить при каждой доставке. В некоторых регионах на каждую скважину 22 в неделю приходится приблизительно 550 грузовых автомобилей (например, приблизительно 70 грузовых автомобилей в день на скважину 22). Доставка химических веществ к буровым площадкам 10 осуществляется очень схожим с песком образом, за исключением того, что химические вещества могут поступать с нескольких перевалочных пунктов, при этом на каждом из перевалочных пунктов применяют разные способы транспортировки, такие как транспортные контейнеры на безбортовых платформах, транспортные резервуары и/или специализированные резервуары.
[0037] На фиг. 3 представлено схематическое изображение системы 50, в которой смесь для гидроразрыва пласта смешивают на месте на площадках 52 гидроразрыва пласта в соответствии с жизненным циклом 32, представленным на фиг. 2. Следует понимать, что площадки 52 гидроразрыва пласта, описанные в настоящем документе, могут представлять собой подмножество описанных в настоящем документе буровых площадок 10, с той лишь разницей, что площадки 52 гидроразрыва пласта являются буровыми площадками, которые включают скважины 48 гидроразрыва пласта (и, возможно, эксплуатационные скважины 22), тогда как буровые площадки 10 включают эксплуатационные скважины 22 (и, возможно, скважины 48 гидроразрыва пласта).
[0038] Как показано на фиг. 3, на площадках 52 гидроразрыва пласта применяется специальное оборудование для смешивания воды, песка, понизителей трения и других химических веществ (например, средств контроля содержания железа, биоцидов, стабилизаторов глин, поверхностно-активных веществ и т.д.) в определенных соотношениях с получением смеси для гидроразрыва пласта на месте на площадках 52 гидроразрыва пласта. Затем смесь для гидроразрыва пласта транспортируют к оборудованию относительно высокого давления для закачки смеси для гидроразрыва пласта в скважину. Как более подробно описано в настоящем документе, в таких вариантах осуществления химические вещества, применяемые на месте на площадках 52 гидроразрыва пласта, обычно транспортируют по земле с помощью грузовых автомобилей 54 (или безбортовых платформ или любых других контейнеров для химических веществ). Кроме того, песок также транспортируют из песчаных карьеров 56 с помощью грузовых автомобилей 54 (например, аэрожелобы, ящики для песка и т.д.) через пункты 58 распределения песка (например, перевалочные пункты, на некоторых из которых мокрый песок из песчаных карьеров 56 преобразуют в сухой песок до транспортировки) на площадки 52 гидроразрыва пласта. Кроме того, воду часто перекачивают из бассейнов 60 для воды для гидроразрыва пласта и/или из источников 62 пресной воды посредством временных перекачивающих линий к площадкам 52 гидроразрыва пласта, но грузовые автомобили 54 по-прежнему широко применяются в случаях, когда такая инфраструктура или службы не доступны.
[0039] Таким образом, песок доставляют к площадкам 52 гидроразрыва пласта с помощью грузовых автомобилей 54, и песок загружают в бункеры или контейнеры до доставки в специализированные установки, обычно известные как блендеры для смесей для гидроразрыва пласта, с помощью ленточных конвейеров, шнеков и/или самотеком. Кроме того, химические вещества также доставляются к площадкам 52 гидроразрыва пласта с помощью грузовых автомобилей 54, а оттуда к блендерам для смесей для гидроразрыва пласта по мере необходимости. Наконец, блендеры для смесей для гидроразрыва пласта доставляют смесь для гидроразрыва пласта к насосам относительно высокого давления, которые нагнетают смесь для гидроразрыва пласта в пласт. Как показано на фиг. 3, каждый из этих механизмов доставки химических веществ, песка и воды к площадкам 52 гидроразрыва пласта влечет за собой транспортные расходы, а также создает нежелательное загрязнение. Кроме того, потребность в специальном оборудовании для получения смеси для гидроразрыва пласта на месте на площадках 52 гидроразрыва пласта вызывает возникновение еще больших дополнительных затрат.
[0040] С целью устранения некоторых из этих дополнительных затрат варианты осуществления, описанные в настоящем документе, включают новый способ, в котором смесь для гидроразрыва пласта (например, полученная с помощью песка, воды, понизителей трения и/или других химических веществ) смешивают на централизованном объекте и доставляют посредством трубопровода или временных перекачивающих линий (таких как перекачивающие рукава, плоскосворачиваемые рукава, полимерные трубы, металлические трубы и т.д.) к площадкам 52 гидроразрыва пласта по мере необходимости. Такое централизованное получение и доставка смеси для гидроразрыва пласта может называться «смесью по запросу» и устраняет все смесительное оборудование, необходимое на площадках 52 гидроразрыва пласта, устраняет сопутствующие перевозки грузовиками, необходимые для транспортировки песка и химических веществ к площадкам 52 гидроразрыва пласта, устраняет определенное локальное хранение на площадках 52 гидроразрыва пласта и устраняет логистику, связанную с получением песка и химических веществ для доставки к площадкам 52 гидроразрыва пласта.
[0041] Например, на фиг. 4 представлен новый круговой жизненный цикл 64 попутной воды, вырабатываемой на буровых площадках 10, как более подробно описано в настоящем документе. Как показано на фиг. 4, вода добывается попутно с нефтью и газом в одной или более эксплуатационных скважинах 22. Затем каждый пластовый флюид (например, нефть, газ, попутная вода, возвращенная закачиваемая жидкость для гидроразрыва пласта и т.д.) может быть разделен с помощью одного или более сепараторов 34, при этом большую часть попутной нефти и газа направляют в нефте- и газопроводы 36, 38 соответственно, а остальную часть сжигают через факельную трубу 40, а попутную воду направляют во временное хранилище 42 для локальной (например, на буровой площадке 10) обработки и последующего хранения в, например, поверхностном пруду 44. Однако в вариантах осуществления, описанных в настоящем документе, по меньшей мере часть попутной воды может быть доставлена (например, посредством одного или более трубопроводов) к централизованному объекту 66, где попутная вода может повторно кондиционироваться в соответствии с определенной спецификацией и применяться для смешивания жидкости/смеси для гидроразрыва пласта, которая затем может быть доставлена (например, посредством одного или более трубопроводов) к одной или более скважин 48 гидроразрыва пласта, где она может быть закачана в пласт 14 для целей гидроразрыва пласта.
[0042] Хотя централизованный объект 66 изображен как расположенный в относительно непосредственной близости к эксплуатационным скважинам 22 и скважинам 48 гидроразрыва пласта, как более подробно описано в настоящем документе, фактически он может находиться на расстоянии по меньшей мере 0,5 мили от буровых площадок 10 и/или площадок 52 для гидроразрыва пласта, по меньшей мере 1,0 мили от буровых площадок 10 и/или площадок 52 для гидроразрыва пласта, по меньшей мере 2,0 миль от буровых площадок 10 и/или площадок 52 для гидроразрыва пласта, по меньшей мере 5,0 миль от буровых площадок 10 и/или площадок 52 для гидроразрыва пласта, по меньшей мере 10,0 миль от буровых площадок 10 и/или площадок 52 для гидроразрыва пласта или даже дальше от буровых площадок 10 и/или площадок 52 для гидроразрыва пласта. Однако, опять же, в некоторых вариантах осуществления централизованный объект 66 вместо этого может прилегать к (или располагаться в непосредственной близости, например, в пределах 0,1 мили от) одной или более буровых площадок 10 и/или площадок 52 гидроразрыва пласта.
[0043] На фиг. 5 представлено схематическое изображение системы 68 (в соответствии с новым круговым жизненным циклом 64, показанным на фиг. 4), в которой централизованный объект 66 принимает попутную воду от одной или более буровых площадок 10 посредством одного или более трубопроводов 70 для попутной воды, принимает мокрый песок от одного или более песчаных карьеров 56 посредством одного или более трубопроводов 72 для мокрого песка, и доставляет смесь для гидроразрыва пласта к одной или более площадкам 52 гидроразрыва пласта (например, каждая из которых имеет одну или более скважин 48 гидроразрыва пласта) посредством одного или более трубопроводов 74 для смеси для гидроразрыва пласта. Как представлено на фиг. 5 и описано более подробно в настоящем документе, централизованный объект 66 может включать в себя, среди прочего, бассейн 76 для оборотной воды (или другое водохранилище) для хранения попутной воды, принимаемой от одной или более буровых площадок 10, и технологическое оборудование 78 (например, смесительное оборудование для песка и химических веществ) для смешивания попутной воды, принимаемой от одной или более буровых площадок 10, песка, принимаемого от одного или более мобильных песчаных карьеров 56, и химических веществ, хранящихся на централизованном объекте 66, в смесь для гидроразрыва пласта, которую доставляют к одной или более площадкам 52 гидроразрыва пласта.
[0044] Варианты осуществления, описанные в настоящем документе, заменяют применение пресной воды в операциях гидроразрыва пласта (например, на площадках 52 гидроразрыва пласта) на подготовленную попутную воду (например, от буровых площадок 10). Как более подробно описано в настоящем документе, в некоторых вариантах осуществления попутная вода может быть сначала подготовлена и кондиционирована для целей гидроразрыва пласта (например, содержание нефти, органического материала, кальция, магния, Fe2, Fe3 и других минералов доводят до желаемых значений) на централизованном объекте 66. Затем подготовленную и кондиционированную воду можно применять для смешивания смеси для гидроразрыва пласта на централизованном объекте 66. Наконец, смесь для гидроразрыва пласта затем может быть распределена посредством одного или более трубопроводов 74 для смеси для гидроразрыва пласта по одной или более площадкам 52 гидроразрыва пласта, где она будет применяться для операций гидроразрыва пласта. Следует отметить, что смесь для гидроразрыва пласта, поступающая к одной или более площадкам 52 гидроразрыва пласта, будет готова к закачиванию в скважину в пласт 14 без необходимости дополнительного смешивания на одной или более площадках 52 гидроразрыва пласта. Соответственно, как показано на фиг. 2 и 3, эксплуатационные скважины 22, сепараторы 34, поверхностный пруд 44, скважины 46 SWD и т.д. более не будут требоваться на площадках 52 гидроразрыва пласта.
[0045] Как показано на фиг. 5, в некоторых вариантах осуществления мокрый песок (или проппант) будет транспортироваться к централизованному объекту 66 посредством одного или более трубопроводов 72 для мокрого песка. В некоторых вариантах осуществления песок будет смешиваться в конкретном диапазоне концентраций и, при необходимости, разводиться на централизованном объекте 66 (и/или на площадках 52 гидроразрыва пласта) в соответствии с различными требованиями графика закачивания. Таким образом, варианты осуществления, описанные в настоящем документе, устраняют необходимость транспортировки песка с помощью грузовых автомобилей. Как описывалось выше, согласно оценкам, с дорог будет удалено приблизительно 550 грузовых автомобилей на скважину. В дополнение к сокращению количества выбросов парниковых газов, также будет уменьшаться повреждение дорог и будет повышаться безопасность вследствие снижения интенсивности дорожного движения. Кроме того, меньшее загромождение пространства на площадке приведет к повышению безопасности рабочей среды для операций по заканчиванию.
[0046] Кроме того, как более подробно описано в настоящем документе, другие добавки, такие как понизители трения, поверхностно-активные вещества, стабилизаторы глин и т.д., могут быть обработаны и смешаны со смесью для гидроразрыва пласта на централизованном объекте 66. При необходимости концентрацию этих добавок можно регулировать на площадках 52 гидроразрыва пласта в соответствии с изменениями концентрации. Таким образом, варианты осуществления, описанные в настоящем документе, сокращают площади хранения химических веществ на площадках 52 гидроразрыва пласта и позволяют операторам гидроразрыва пласта сосредоточиться на операциях с относительно высоким давлением, повышая безопасность на объекте и одновременно улучшая качество обслуживания.
[0047] Таким образом, система 68, представленная на фиг. 5, и более подробно описанная в настоящем документе, изменяет традиционную логистическую цепочку доставки песка, химических веществ и воды к площадкам гидроразрыва пласта, включая новые способы добычи песка, транспортировки песка посредством трубопроводов, управления плотностью смеси для гидроразрыва пласта и т.д. Как более подробно описано в настоящем документе, варианты осуществления, описанные в настоящем документе, также обеспечивают возможность более эффективного применения оборудования, более стабильного и надежного смешивания жидкости, песка и химических веществ и улучшения экологического следа при аналогичных или более низких затратах. Кроме того, в дополнение к обеспечению возможности устойчивого управления жизненным циклом для попутной воды, варианты осуществления, описанные в настоящем документе, обеспечивают другие экологические преимущества, включающие в себя, помимо прочего, сокращение количества углеродных выбросов на приблизительно 500 тонн на скважину, сокращение количества грузовых автомобилей на дороге на приблизительно 550 грузовых автомобилей на скважину за счет снабжения песком из источника и сокращение количества грузовых автомобилей на дороге на приблизительно 5000 грузовых автомобилей на скважину за счет оптимизированной логистики доставки воды.
[0048] На фиг. 6 представлено схематическое изображение различных операционных компонентов централизованного объекта 66, показанного на фиг. 4 и 5. Как представлено на фиг. 6 и более подробно описано в настоящем документе, мокрый песок 80 может быть принят на централизованном объекте 66 от одного или более песчаных карьеров 56, например, посредством одного или более трубопроводов 72 для мокрого песка (однако в других вариантах осуществления песок может добываться рядом с централизованным объектом 66 или относительно близко к нему) и храниться в хранилище 82 песка, таком как бункеры. Кроме того, химические вещества 84 могут приниматься на централизованном объекте 66, например, с помощью грузовых автомобилей, доставляющих химические вещества 84, как более подробно описано в настоящем документе, при этом химические вещества 84 могут храниться в хранилище 86 для химических веществ, таком как резервуары или контейнеры для химических веществ.
[0049] Кроме того, попутная вода 88 может приниматься на централизованном объекте 66 от одной или более буровых площадок 10, например, посредством одного или более трубопроводов 70 для попутной воды, и храниться в водохранилище 76, таком как резервуары или бассейн для оборотной воды. Несмотря на то, что в настоящем документе в основном описано применение попутной воды 88, принятой от одной или более буровых площадок 10, в других вариантах осуществления централизованный объект 66 может принимать и применять другой источник воды, включая, помимо прочего, пресную воду, воду, предназначенную для закачки через скважины 46 SWD, воду, подготовленную для применения в оборудовании для гидроразрыва пласта, воду, очищенную от определенных загрязнителей, солоноватую воду, воду с относительно высоким общим содержанием растворенных твердых веществ (TDS) и т.д.
[0050] Как более подробно описано в настоящем документе, централизованный объект 66 может находиться на расстоянии по меньшей мере 0,5 мили от песчаных карьеров 56, буровых площадок 10 и/или площадок 52 гидроразрыва пласта, по меньшей мере 1,0 мили от песчаных карьеров 56, буровых площадок 10 и/или площадок 52 гидроразрыва пласта, по меньшей мере 2,0 миль от песчаных карьеров 56, буровых площадок 10 и/или площадок 52 гидроразрыва пласта, по меньшей мере 5,0 миль от песчаных карьеров 56, буровых площадок 10 и/или площадок 52 гидроразрыва пласта, по меньшей мере 10,0 миль от песчаных карьеров 56, буровых площадок 10 и/или площадок 52 гидроразрыва пласта, или даже дальше от песчаных карьеров 56, буровых площадок 10 и/или площадок 52 гидроразрыва пласта. Однако, опять же, в некоторых вариантах осуществления централизованный объект 66 вместо этого может прилегать к (или располагаться в непосредственной близости, например, в пределах 0,1 мили от) одному или более песчаных карьеров 56, буровых площадок 10 и/или площадок 52 гидроразрыва пласта
[0051] Как более подробно описано в настоящем документе, технологическое оборудование 78 централизованного объекта 66 может обрабатывать песок 80, химические вещества 84 и попутную воду 88 с получением, среди прочего, смеси 90 для гидроразрыва пласта, которая может быть доставлена к одной или более площадкам 52 гидроразрыва пласта от централизованного объекта 66, например, посредством одного или более трубопроводов 74 для смеси для гидроразрыва пласта. Как показано, в некоторых вариантах осуществления часть полученной смеси 90 для гидроразрыва пласта может храниться в хранилище 92 для смеси для гидроразрыва пласта, таком как резервуары для смеси. Кроме того, в некоторых вариантах осуществления часть воды от технологического оборудования 78 может быть рециркулирована обратно в водохранилище 76, как более подробно описано в настоящем документе.
[0052] Кроме того, в некоторых вариантах осуществления система 94 управления технологическим процессом может применяться для управления технологическими операциями централизованного объекта 66, как более подробно описано в настоящем документе. Например, в некоторых вариантах осуществления система 94 управления технологическим процессом может отправлять сигналы управления в различное оборудование (например, клапаны, насосы и т.д.) централизованного объекта 66, например, для автоматического управления свойствами (плотностями, химическими концентрациями, расходами, составами воды и т.д.) полученной смеси 90 для гидроразрыва пласта по существу в реальном времени в соответствии с желаемыми заданными значениями на основе параметров песка 80, химических веществ 84 и попутной воды 88, которые могут измеряться с помощью различных датчиков 96, расположенных вокруг централизованного объекта 66. Кроме того, в некоторых вариантах осуществления система 94 управления технологическим процессом может обеспечивать приведение попутной воды 88 в пределы спецификации воды для гидроразрыва пласта до смешивания попутной воды 88 с песком 80 и химическими веществами 84 с получением смеси 90 для гидроразрыва пласта.
[0053] Кроме того, в некоторых вариантах осуществления для облегчения операций добычи на одном или более песчаных карьерах 56 может применяться попутная вода 88, хранящаяся на централизованном объекте 66, а не пресная вода, которая обычно применяется в традиционных песчаных карьерах. Например, в некоторых вариантах осуществления попутная вода 88 может транспортироваться в один или более песчаных карьеров 56 посредством одного или более трубопроводов 95 для подачи воды. В целом, песок 80 может добываться рядом с обслуживаемым участком. От одного или более песчаных карьеров 56 песок 80 может транспортироваться либо непосредственно к одной или более площадкам 52 гидроразрыва пласта, либо к централизованному объекту 66 для обработки. В целом, относительные географические расположения одного или более песчаных карьеров 56 и одной или более площадок 52 гидроразрыва пласта будет определять наиболее эффективные пункты назначения.
[0054] На фиг. 7 представлено схематическое изображение песчаного карьера 56, в котором применяется нетрадиционная вода (например, попутная вода 88 или другая непресная вода) в операциях по добыче песка. Как более подробно описано в настоящем документе, в песчаных карьерах обычно применяется пресная вода для работы карьеров в замкнутой системе, при этом основные потери связаны с влагой, оставшейся в песке при обработке. В традиционных песчаных карьерах обычно применяется пресная вода, поскольку у них обычно нет доступа к попутной воде, а также из-за конкретных спецификаций, обычно получаемых от клиентов. Напротив, варианты осуществления, описанные в настоящем документе, обеспечивают песчаные карьеры 56 (мобильные или стационарные) водой из нетрадиционного источника (например, попутной водой 88 от буровых площадок 10 или площадок 52 гидроразрыва пласта, водой, предназначенной для закачки через скважины 46 SWD, водой, находящейся в процессе повторного применения, и т.д.) и применение источника воды в процессе добычи полезных ископаемых. В вариантах осуществления, описанных в настоящем документе, применяется нетрадиционная вода для промывки песка 80 (например, хранящегося в одном или более карьерных бункерах 98) в промывочной установке 100, а затем выполняется транспортировка песка 80 с помощью воды 88 к приемной площадке (например, площадке 52 гидроразрыва пласта).
[0055] Существует несколько вариантов песчаного карьера 56, представленного на фиг. 7. Например, в некоторых вариантах осуществления песчаный карьер 56 может быть с замкнутым циклом или с незамкнутым циклом. Кроме того, в некоторых вариантах осуществления песчаный карьер 56 может представлять собой стационарную установку или мобильную установку. Кроме того, в некоторых вариантах осуществления промывочная установка 100 может быть расположена отдельно от песчаного карьера 56 или централизованного объекта 66, и ее эксплуатация может осуществляться автономным образом или в комплексе с участком декантации. Кроме того, в некоторых вариантах осуществления процесс добычи полезных ископаемых, осуществляемый в песчаном карьере 56, может включать промывку песка 80 с помощью промывочной установки 100, транспортировку песка 80 в песчаном карьере 56 в виде смеси (например, проппанта) и/или транспортировку песка 80 непосредственно с песчаного карьера 56.
[0056] Кроме того, хотя на фиг. 7 показано, что источник воды, применяемый в песчаном карьере 56, представляет собой попутную воду 88 (например, от буровых площадок 10 или площадок 52 гидроразрыва пласта), в других вариантах осуществления он может включать воду, предназначенную для закачки через скважины 46 SWD, воду, подготовленную для применения в оборудовании гидроразрыва пласта, воду, очищенную от определенных загрязнителей, солоноватую воду, воду с относительно высоким общим содержанием растворенных твердых веществ (TDS) и т.д. Кроме того, хотя на фиг. 6 показано, что попутная вода 88 доставляется от централизованного объекта 66, в других вариантах осуществления она вместо этого может быть принята в песчаном карьере 56 непосредственно от одной или более буровых площадок 10 или одной или более площадок 52 гидроразрыва, или может быть принята от перерабатывающей установки. Кроме того, хотя на фиг. 7 показано, что смесь (например, проппант), полученная в песчаном карьере 56, доставляется к площадке 52 гидроразрыва пласта, в других вариантах осуществления она вместо этого может быть доставлена к резервуарам для смеси для гидроразрыва пласта, погрузочно-разгрузочному пункту, оборудованию для гидроразрыва пласта, участку декантации или к другим местам. Кроме того, в некоторых вариантах осуществления к смеси могут быть добавлены определенные химические вещества, чтобы способствовать транспортировке смеси из песчаного карьера 56.
[0057] Возвращаясь теперь к фиг. 6, как более подробно описано в настоящем документе, технологическое оборудование 78 централизованного объекта 66 может включать в себя различные подсистемы, которые обеспечивают возможность эксплуатации централизованного объекта 66. Например, в некоторых вариантах осуществления различные подсистемы технологического оборудования 78 могут включать в себя, помимо прочего, коллектор разведения для разведения химических веществ 84 и песка 80 в получаемой смеси 90 для гидроразрыва, оборудование для обезвоживания пескосодержащего потока для управления плотностью, относительно длинную трубу для пассивного смешивания песка 80, химических веществ 84 и попутной воды 88, а также систему добавления с низким сдвиговым усилием для добавления понижающих трение добавок. Следует понимать, что любые и все из этих подсистем могут применяться по отдельности или в комбинации с любыми и всеми комбинациями других подсистем. Каждая из этих подсистем будет описана более подробно ниже.
[0058] Например, на фиг. 8 концептуально показано, как коллектор 102 разведения технологического оборудования 78 централизованного объекта 66 может разводить химические вещества 84 и песок 80 в получаемой смеси 90 для гидроразрыва. Как показано на фиг. 8, коллектор 102 разведения выполнен с возможностью автоматического пропорционального распределения двух разных потоков жидкости (например, потока 104 относительно чистой жидкости, не содержащего или содержащего как максимум незначительные количества химических веществ 84 или песка 80, и потока 106 концентрированной жидкости, содержащего относительно большое количество химических веществ 84 и/или песка 80) для достижения конкретных концентраций определенных химических веществ 84 и/или песка 80 в смеси 90 для гидроразрыва пласта на выпуске коллектора 102 разведения.
[0059] На фиг. 9 представлен иллюстративный коллектор 102 разведения, принимающий поток 104 относительно чистой жидкости в первый проточный канал 108 и поток 106 концентрированной жидкости во второй проточный канал 110. Опять же, поток 104 относительно чистой жидкости может не содержать или содержать как максимум незначительные количества (например, менее 5%, менее 3%, менее 1% или даже менее) химических веществ 84 или песка 80, в то время как поток 106 концентрированной жидкости может содержать относительно большие количества (например, более 5%, более 10%, более 15%, более 20% или даже более) химических веществ 84 и/или песка 80.
[0060] В некоторых вариантах осуществления коллектор 102 разведения может включать в себя соответствующие расходомеры 112, плотномеры 114 и клапаны-регуляторы 116 жидкости в обоих проточных каналах 108, 110 для автоматической регулировки соотношений всасывания потоков 104, 106 жидкости для выпуска потока жидкости (например, смеси 90 для гидроразрыва пласта) с желаемыми концентрациями и плотностями химических веществ 84 и/или песка 80 через выпускной канал 118 коллектора 102 разведения. В частности, хотя это и не показано на фиг. 9, в некоторых вариантах осуществления система 94 управления технологическим процессом (см. фиг. 6) может принимать сигналы от расходомеров 112 и плотномеров 114, относящиеся к расходам и плотностям соответствующих потоков 104, 106 жидкостей, и по меньшей мере частично на основе принятых сигналов, генерировать и отправлять сигналы управления в клапаны-регуляторы 116 жидкости для автоматической регулировки смешивания потоков 104, 106 жидкости для поддержания желаемых соотношений жидкостей для достижения желаемых концентраций и плотностей химических веществ 84 и/или песка 80 в потоке жидкости (например, смеси 90 для гидроразрыва пласта), выпускаемом из выпускного канала 118 коллектора 102 разведения. В целом, коллектор 102 разведения использует турбулентность потоков 104, 106 жидкости внутри выпускного канала 118 для гомогенизации конечной смеси без потребности в эжекторах, смесительных камерах или резервуарах, крыльчатках или других механизмах активного смешивания.
[0061] Кроме того, на фиг. 10 представлено оборудование обезвоживания 120 технологического оборудования 78 централизованного объекта 66 для обезвоживания пескосодержащего потока для управления плотностью. В целом, оборудование 120 обезвоживания принимает первую смесь 122 (например, смесь 90 для гидроразрыва пласта), которая содержит относительно высокую концентрацию проппанта (например, песка 80). Первая смесь 122 пропускается через оборудование 120 обезвоживания для удаления воды (например, сточных воды) 124 из первой смеси 122 с получением второй смеси 126 с повышенной концентрацией проппанта, которая может храниться в хранилище 128 для смеси для гидроразрыва пласта (например, хранилище 92, показанном на фиг. 6) в некоторых вариантах осуществления. Хотя это не показано на фиг. 10, в некоторых вариантах осуществления система 94 управления технологическим процессом (см. фиг. 6) может управлять концентрацией проппанта во второй смеси 126 в соответствии с назначенной уставкой посредством, например, отправки сигналов управления в оборудование 120 обезвоживания.
[0062] Затем, в некоторых вариантах осуществления, вторая смесь 126 может смешиваться с водой (например, сточными водами) 130 посредством смесительного оборудования 132, которое разводит концентрацию второй смеси 126 с получением третьей смеси 134 с другой назначенной уставкой концентрации проппанта, которая может доставляться к месту приемки, такому как площадка 52 гидроразрыва пласта. Как и в случае с другим смесительным оборудованием, описанным в настоящем документе, в некоторых вариантах осуществления смесительное оборудование 132, показанное на фиг. 10, может применять пассивное смешивание второй смеси 126 и воды 130. Опять-таки, хотя это не показано на фиг. 10, в некоторых вариантах осуществления система 94 управления технологическим процессом (см. фиг. 6) может управлять концентрацией проппанта в третьей смеси 134 в соответствии с другой назначенной уставкой посредством, например, отправки сигналов управления в различные клапаны для управления соответствующими расходами третьей смеси 126 и воды 130.
[0063] Кроме того, как показано на фиг. 11, в некоторых вариантах осуществления относительно длинная труба 136 может применяться для смешивания песка 80, химических веществ 84 и/или попутной воды 88 с получением смеси 90 для гидроразрыва пласта, описанной в настоящем документе. Как более подробно описано в настоящем документе, традиционные операции доставки смеси для гидроразрыва пласта включают в себя сдвигание смеси для гидроразрыва пласта с помощью механических средств, таких как центробежные насосы, вихревые мешалки, смесительные ванны и т.д. Напротив, варианты осуществления, описанные в настоящем документе, обеспечивают возможность пассивного смешивания посредством трубы 136 вместо применения активного смешивания. Таким образом, в трубе 136 достигается гомогенная смесь 90 для гидроразрыва пласта, применяемая в операциях гидроразрыва пласта на одной или более площадках 52 гидроразрыва пласта без применения специализированного смесительного оборудования для смешивания смеси.
[0064] Как показано на фиг. 12, способ включает пункт сбора (например, централизованный объект 66, описанный в настоящем документе), где материалы (например, песок 80, химические вещества 84 и/или попутная вода 88) добавляются друг к другу в желаемых пропорциях, но не смешиваются друг с другом с помощью традиционных методов активного смешивания. Вместо этого, после сбора гетерогенная смесь материалов возбуждается, чтобы быть направленной через относительно длинную трубу 136 с помощью центробежного насоса 138. В некоторых вариантах осуществления труба 136 может иметь длину более 0,5 мили, более 1,0 мили, более 2,0 миль, более 5,0 миль, более 10,0 миль или даже еще более. В некоторых вариантах осуществления смесь может возбуждаться множество раз вдоль относительно длинной трубы 136 для обеспечения надлежащего расхода при движении по трубе 136 к одному или более пунктов назначения (например, одной или более площадок 52 гидроразрыва пласта). Полагаясь на сдвиговые усилия в относительно длинной трубе 136 и относительно длительное время движения в трубе 136, смесь 90 для гидроразрыва пласта достигает одного или более пунктов назначения в виде гомогенной смеси материалов. В некоторых вариантах осуществления смесь материалов, протекающая через относительно длинную трубу 136, может протекать со скоростью от приблизительно 4 футов в секунду до приблизительно 16 футов в секунду, со скоростью от приблизительно 6 футов в секунду до приблизительно 12 футов в секунду или со скоростью от приблизительно 8 футов в секунду до приблизительно 10 футов в секунду.
[0065] Хотя в настоящем документе в основном описано смешивание песка 80, химических веществ 84 и попутной воды 88 с получением смеси 90 для гидроразрыва пласта, в других вариантах осуществления могут смешиваться другие комбинации материалов с помощью методов, описанных в настоящем документе. Например, в некоторых вариантах осуществления смесь 90 для гидроразрыва пласта может состоять только из песка 80 и попутной воды 88, только из химических веществ 84 и попутной воды 88, только из химических веществ 84 и кислот или из любых других возможных комбинаций. Кроме того, в некоторых вариантах осуществления песок 80, применяемый для получения смеси 90 для гидроразрыва пласта, может представлять собой сухой песок, влажный песок или песок, находящийся в жидкости. Кроме того, в некоторых вариантах осуществления химические вещества 84, применяемые для получения смеси 90 для гидроразрыва пласта, могут представлять собой сухие химические вещества, жидкие химические вещества или некоторую их комбинацию.
[0066] Кроме того, хотя в настоящем документе пункт сбора в основном описан как централизованный объект 66, в других вариантах осуществления пункт сбора, на котором начинается получение смеси 90 для гидроразрыва пласта, может вместо этого представлять собой открытый резервуар или закрытый резервуар. Кроме того, в некоторых вариантах осуществления песок 80, применяемый для получения смеси 90 для гидроразрыва пласта, может приниматься с мобильного песчаного карьера 56 или со стационарного песчаного карьера 56. Кроме того, хотя в настоящем документе пункт назначения в основном описан как одна или более площадок 52 гидроразрыва пласта, в других вариантах осуществления пункт назначения, к которому доставляется смесь 90 для гидроразрыва пласта, может вместо этого представлять собой накопительный резервуар, резервуар с перемешиванием или оборудование, которое закачивает смесь 90 для гидроразрыва пласта в скважину.
[0067] Кроме того, в некоторых вариантах осуществления относительно длинная труба 136, которая может применяться для обеспечения пассивного смешивания, описанная в настоящем документе, может включать в себя перекачивающий рукав, плоскосворачиваемый рукав, полимерную трубу, металлическую трубу (например, временную или постоянную) или трубу, выполненную из других материалов. Кроме того, в некоторых вариантах осуществления относительно длинная труба 136 может иметь внутреннюю поверхность, которая является текстурированной (т.е. не гладкой, но имеющей выступы, углубления и т.д.) для облегчения смешивания материалов. Кроме того, в некоторых вариантах осуществления, смесь 90 для гидроразрыва пласта может распределяться из пункта сбора (например, централизованного объекта 66, в некоторых вариантах осуществления) посредством центробежного насоса, объемного насоса или любого другого подходящего насоса. Кроме того, в некоторых вариантах осуществления, относительно длинная труба 136 может иметь множество бустерных насосов, расположенных вдоль длины трубы 136, для обеспечения повторного возбуждения смеси для обеспечения возможности ее перекачивания на относительно большое расстояние.
[0068] В целом, механизмом транспортировки проппанта по существу выступает скорость, которая достигает максимума по мере того, как достигает максимума расход. Ограничение расхода в целом определяется эффективным давлением обработки на поверхности, на которое влияет горное давление, перепад давления на перфорированной поверхности (например, когда перфорирование выступает механизмом контактирования с коллектором из обсаженной скважины), гидростатический вес смеси для гидроразрыва пласта, потери давления на трение в трубах и т.д. Понизители трения могут применяться в качестве технологии, обеспечивающей возможность уменьшения компоненты потерь давления на трение в трубах на величину до 80% по сравнению с базовой жидкостью и/или смесью. Применение понизителей трения может приводить к более высоким скоростям нагнетания в перфорационных отверстиях, что дает большую скорость и более интенсивную транспортировку песка.
[0069] Большинство водорастворимых полимеров понижают трение; однако было обнаружено, что анионные полиакриламиды особенно хорошо подходят для гидроразрыва пласта с точки зрения оптимизации затрат и характеристик. Для эффективного выбора и применения анионных полиакриламидов требуется определенный уровень знаний. Однако, в целом, они хорошо понимаются и очень эффективны как в плане затрат, так и в плане характеристик понижения трения на фунт материала. В целом, важно согласовать химию полимеров с соленостью воды, и основной определяющей успеха является толерантность двухвалентных катионов (например, Са2+, Mg2+, Fe2+, …) по причине их склонности значительно подавлять радиус инерции полимера в растворе вследствие особенностей процесса связывания зарядов концентрированных катионов с зарядами анионов вдоль основной цепи полимера, тем самым уменьшая суммарный отрицательный заряд и иногда сшивая полимер сам с собой. Соответственно, как более подробно описано в настоящем документе, в некоторых вариантах осуществления для выявления свойств жидкости (например, смеси 90 для гидроразрыва пласта) могут применяться датчики, и эти выявленные свойства могут применяться для определения того, какие полимеры следует применять, а также концентраций полимеров.
[0070] Также было признано, что более высокомолекулярные полимеры являются более эффективными, в расчете фунт на фунт, в понижении трения, чем более низкомолекулярные полимеры. Полимеры высоко гигроскопичны и широко применяются в проектах регулирования водного режима в нефтегазовой, целлюлозно-бумажной сфере и в сфере водоподготовки в качестве флокулянтов/осветлителей и в растворе в качестве сухих продуктов в водопоглощающих решениях, таких как подгузники. Определенные смешанные наборы понизителей трения имеют углеводородную фазу или носитель, который суспендирует либо стабилизированные посредством поверхностно-активных веществ капли концентрированного полимера (например, до 30% от общей массы), либо взвешенные частицы сухого полиакриламида. Углеводородная фаза предназначена для того, чтобы обеспечивать возможность диспергирования высокогигроскопичного полимера в растворе до гидратации, тем самым избегая образования относительно вязких режимов в технологической линии, где концентрация полимера достаточно высока для того, чтобы локальная вязкость предотвращала диспергирование и гидратацию следующего полимера, поступающего в систему.
[0071] Исторически, относительно высокое сдвиговое усилие в точке добавления применялось для обеспечения возможности приготовления однородных смесей, которые являются эффективными при гидроразрыве пласта. Однако недавние усовершенствования в технологии сухих понизителей давления упростили добавление полимеров в условиях с относительно низким сдвиговым усилием без неблагоприятной вязкости при подходящих концентрациях для гидроразрыва пласта, как более подробно описано в настоящем документе. Это обеспечивает возможность экономии затрат на продукты по причине отсутствия углеводородной фазы и поверхностно-активных веществ, а также в сфере логистики путем обеспечения возможности транспортировки сухих добавок, а не жидкостей до места. Эти недавние усовершенствования в свою очередь привели к дополнительному снижению затрат и упрощению посредством централизации приготовления жидкости в точке, где, например, попутная вода 88 собирается и хранится для многих операторов.
[0072] Таким образом, варианты осуществления, описанные в настоящем документе, также в целом включают в себя системы и способы, которые облегчают добавление при низком сдвиговом усилии (или даже без сдвигового усилия) понижающих трение добавок к жидкости (например, смеси 90 для гидроразрыва пласта) на централизованном объекте 66, транспортировку жидкости с пониженным трением к буровой площадке 10 (или площадке 52 гидроразрыва пласта) и закачку воды с пониженным трением в коллектор 16 для интенсификации эксплуатационной скважины 22. В контексте настоящего документа термин «низкое сдвиговое усилие» служит для описания относительно низких уровней сдвигового усилия или даже отсутствия сдвигового усилия (например, такого как пассивное смешивание) по сравнению с другими традиционными методами.
[0073] На фиг. 13 представлена система 140 добавления с низким сдвиговым усилием технологического оборудования 78 централизованного объекта 66, выполненная с возможностью добавления понижающей трение добавки 142 к жидкости 144 с получением смеси 90 для гидроразрыва пласта, которая может доставляться к одной или более площадкам 52 гидроразрыва пласта. В некоторых вариантах осуществления жидкость 144 может представлять собой попутную воду 88, комбинацию попутной воды 88 и песка 80, комбинацию попутной воды 88, песка 80 и химических веществ 84 или любую другую их комбинацию, как более подробно описано в настоящем документе. Кроме того, хотя в настоящем документе в основном описано применение попутной воды 88, принимаемой от одной или более буровых площадок 10, в других вариантах осуществления для получения смеси 90 для гидроразрыва пласта может применяться другой источник воды, включая, помимо прочего, пресную воду, воду, предназначенную для закачки через скважины 46 SWD, воду, подготовленную для применения в оборудовании для гидроразрыва пласта, воду, очищенную от определенных загрязнителей, солоноватую воду, воду с относительно высоким общим содержанием растворенных твердых веществ (TDS) и т.д. Как более подробно описано в настоящем документе, после получения смеси 90 для гидроразрыва пласта она может транспортироваться от централизованного объекта 66 к одной или более площадкам 52 гидроразрыва пласта, например, посредством одного или более трубопроводов 74 для смеси для гидроразрыва пласта, при этом смесь 90 для гидроразрыва пласта может закачиваться в один или более коллекторов (например, с помощью одного или более насосов 146 гидроразрыва пласта) посредством одной или более скважин 48 гидроразрыва пласта на одной или более площадках 52 гидроразрыва пласта для интенсификации одной или более эксплуатационных скважин 22.
[0074] В некоторых вариантах осуществления понижающая трение добавка 142 может включать в себя по меньшей мере полиакриламид и/или частично гидролизованный полиакриламид, и/или сшитый полиакриламид, и/или полиметакриламид, и/или частично гидролизованный полиметакриламид, и/или сшитый полиметакриламид, и/или полиакриловую кислоту, и/или полиметакриловую кислоту, и/или полиакрилат, и/или полиметакрилат, и/или карбоксиметилцеллюлозу, и/или поливинилпирролидон, и/или полисахарид (например, такой как ксантановая камедь, геллановая камедь и диутановая камедь), и/или гуар. Кроме того, в некоторых вариантах осуществления понижающая трение добавка 142 может включать в себя сополимер по меньшей мере полиакриламида и/или частично гидролизованного полиакриламида, и/или сшитого полиакриламида, и/или полиметакриламида, и/или частично гидролизованного полиметакриламида, и/или сшитого полиметакриламида, и/или полиакриловой кислоты, и/или полиметакриловой кислоты, и/или полиакрилата, и/или полиметакрилата, и/или карбоксиметилцеллюлозы, и/или поливинилпирролидона, и/или полисахарида (например, такого как ксантановая камедь, геллановая камедь и диутановая камедь).
[0075] Как представлено на фиг. 13, в некоторых вариантах осуществления один или более перекачивающих насосов 148, находящихся на одной или более буровых площадках 10, могут применяться для перекачки попутной воды 88 из одной или более эксплуатационных скважин 22 посредством одного или более трубопроводов 70 для попутной воды к централизованному объекту 66. Как более подробно описано в настоящем документе, применение попутной воды 88 из одной или более эксплуатационных скважин 22 для получения смеси 90 для гидроразрыва пласта для применения в одной или более скважинах 48 гидроразрыва пласта обеспечивает экономическую и экологическую эффективность, в числе прочих преимуществ. Однако, хотя на фиг. 13 показано и в настоящем документе в основном описано применение попутной воды 88 из одной или более эксплуатационных скважин 22, в других вариантах осуществления вода из других источников воды (например, таких как те, которые описаны в настоящем документе), например находящихся на централизованном объекте 66 или рядом с ним, также может применяться для получения смеси 90 для гидроразрыва пласта, описанной в настоящем документе.
[0076] Как более подробно описано в настоящем документе, система 140 добавления с низким сдвиговым усилием облегчает получение смеси 90 для гидроразрыва пласта с пониженным трением в среде с относительно низким сдвиговым усилием в отличие от традиционных систем, которые включают в себя смесители с относительно высоким сдвиговым усилием, а также применение транспортных единиц для транспортировки жидкостей к буровым площадкам. Могут применяться многие различные виды систем 140 добавления с низким сдвиговым усилием. Например, эжекторы состоят из инструментов, в которые вводится движущая жидкость, и вторичная жидкость приводится в движение (например, для перемешивания жидкостей, для тщательного смешивания двух или более жидкостей, для бестарной транспортировки твердых веществ и т.д.), зачастую под действием эффекта Вентури движущей жидкости. В целом, скорости стремительно согласуются в эжекторах, при этом тесный контакт происходит при относительно низком сдвиговом усилии, но высоком диспергировании. Хотя существует много вариаций, все эжекторы в целом имеют один принцип действия. Эжекторы представляют собой эффективный механизм с низким сдвиговым усилием для подъема посредством воздуха и растворения высоких объемов порошковых твердых веществ в жидкостях (например, смешивания полиакриламидных полимеров в воде, как более подробно описано в настоящем документе). Напротив, другие смесительные системы с низким сдвиговым усилием просто насыпают твердые вещества на жидкую фазу; однако такая практика применима только для твердых веществ, которые легко диспергируются. Однако в некоторых вариантах осуществления полиакриламиды могут гидратироваться с помощью данного механизма при условии медленного добавления в небольших количествах.
[0077] В некоторых вариантах осуществления система 140 добавления с низким сдвиговым усилием может включать в себя один или более эжекторов, выполненных с возможностью добавления понижающей трение добавки 142 к жидкости 144 с получением смеси 90 для гидроразрыва пласта с пониженным трением в среде с относительно низким сдвиговым усилием. На фиг. 14 и 15 представлены примеры эжекторов 150А, 150В, которые могут применяться в системах 140 добавления с низким сдвиговым усилием для диспергирования твердых веществ в жидкую фазу, как описано в настоящем документе. Питание эжектора 150А, представленного на фиг. 14, осуществляется самотеком посредством системы дозирования твердых веществ или другого транспортировочного механизма. Как представлено на фиг. 14, эжектор 150А выполнен с возможностью приема воздуха и твердых веществ (например, включающих в себя понижающую трение добавку 142) через отверстие 152А в верхней части эжектора 150А. В некоторых вариантах осуществления механизм питания редуктора 150А самотеком может дополняться вакуумом 154А, создаваемым в отверстии 152А эжектора 150А. Как также представлено на фиг. 14, движущая жидкость 144, которая была закачана в эжектор 150А), может вводиться в эжектор 150А посредством канала 156А, который включает в себя сопло 158А, через которое жидкость 144 может протекать таким образом, что понижающая трение добавка 142 диспергируется в жидкости 144 в среде 160А с относительно низким сдвиговым усилием внутри главной камеры 162А эжектора 150А до выхода из эжектора 150А в виде смеси 90 для гидроразрыва пласта с пониженным трением и, в некоторых вариантах осуществления, доставляемой к одной или более буровых площадок 10 и/или одной или более площадок 52 гидроразрыва пласта, например посредством одной или более относительно длинных труб 136, как описано в настоящем документе.
[0078] Напротив, эжектор 150В, представленный на фиг. 15, выполнен с возможностью пневматической транспортировки и диспергирования воздуха и твердых веществ (например, включающих в себя понижающую трение добавку 142) в движущую жидкость 144. Например, как представлено на фиг. 15, жидкость 144 может вводиться в эжектор 150В через отверстие 152В в верхней части эжектора 150В. Как также представлено на фиг. 15, эжектор 150В выполнен с возможностью приема воздуха и твердых веществ (например, включающих в себя понижающую трение добавку 142) посредством канала 156В, который включает в себя сопло 158В (например, пистолет для гелеобразных материалов), через которое воздух и твердые вещества могут протекать таким образом, что понижающая трение добавка 142 диспергируется в жидкости 144 в среде 160В с относительно низким сдвиговым усилием внутри главной камеры 162 В эжектора 150В до выхода из эжектора 150В в виде смеси 90 для гидроразрыва пласта с пониженным трением и, в некоторых вариантах осуществления, доставляемой к одной или более буровых площадок 10 и/или одной или более площадок 52 гидроразрыва пласта, например посредством одной или более относительно длинных труб 136, как описано в настоящем документе. В некоторых вариантах осуществления пневматическая природа редуктора 150В может дополняться вакуумом 154В, создаваемым в канале 156В эжектора 150В.
[0079] Кроме того, в других вариантах осуществления в системе 140 добавления с низким сдвиговым усилием могут применяться другие виды механизмов добавления при низком сдвиговым усилии (или без сдвигового усилия). Например, в некоторых вариантах осуществления в системе 140 добавления с низким сдвиговым усилием могут применяться механизмы добавления при низком сдвиговом усилии, в которых понижающая трение добавка 142 подается просто самотеком, такие как система со шнековым питанием самотеком, в канал или резервуар, который включает в себя жидкость 144.
[0080] Независимо от типа применяемой системы 140 добавления с низким сдвиговым усилием, варианты осуществления, описанные в настоящем документе, облегчают получение жидкости для обработки (например, смеси 90 для гидроразрыва пласта с пониженным трением) для гидроразрыва пласта в относительно больших объемах и/или на непрерывной основе на централизованном объекте 66. Централизованное получение смеси 90 для гидроразрыва пласта с пониженным трением, как описано в настоящем документе, позволяет операторам экономить затраты путем достижения экономии за счет масштабов на проппантах (например, песке 80) и химических веществах 84, устранения ручной транспортировки проппантов и химических веществ 84 к/от одной или более буровых площадок 10 и/или одной или более площадок 52 гидроразрыва пласта, снабжения из источника/выбора химических веществ, смешивания проппантов и/или химических веществ, аренды/владения насосами и системами управления для добавления химических веществ на месте и т.д. Экономия затрат также обеспечивается по причине того, что понижающая трение добавка 142 может добавляться посредством системы 140 добавления с низким сдвиговым усилием с получением смеси 90 для гидроразрыва пласта с пониженным трением, для которой обеспечивается возможность кондиционирования по пути к одной или более буровых площадок 10 и/или одной или более площадок 52 гидроразрыва пласта (например, посредством относительно длинных труб 136, описанных в настоящем документе, в некоторых вариантах осуществления) при низком сдвиговом усилии - мягкая подготовка смеси 90 для гидроразрыва пласта с пониженным трением означает, что медианный молекулярный вес понижающей трение добавки 142 в смеси 90 для гидроразрыва пласта с пониженным трением поддерживается в большей мере, чем в смесителях с относительно высоким сдвиговым усилием, повышая эффективность полимеров на целых 15%. Наконец, в некоторых вариантах осуществления экономия затрат обеспечивается по причине того, что плотность попутной воды 88 выше, чем у пресной воды, и, следовательно, вклад гидростатической компоненты (например, веса смеси 90 для гидроразрыва пласта с пониженным трением) в эффективное давление гидроразыва пласта является более высоким, тем самым обеспечивая возможность экономии на дизельном топливе для питания насосов 146 гидроразрыва пласта, применяемых для гидроразрыва пласта в скважинах 22, и/или приводя к завершению этапов в более короткие сроки.
[0081] Варианты осуществления, описанные в настоящем документе, обеспечивают операторам буровых площадок возможность приобретения предварительно изготовленной эффективной смеси 90 для гидроразрыва пласта у той же организации, которой они на текущий момент передают их попутную воду 88 для подготовки/утилизации. Однако варианты осуществления, описанные в настоящем документе, обеспечивают дополнительные конкретные преимущества. Например, в некоторых вариантах осуществления попутная вода 88 может передаваться на централизованный объект 66 и там храниться. Операторы скважин 22 могут затем заключить контракт с операторами централизованного объекта 66, чтобы «забронировать» объем готовой к применению смеси 90 для гидроразрыва пласта с пониженным трением на основе предстоящей деятельности по заканчиванию скважин 22. В ответ на это, централизованный объект 66 может приготовить смесь 90 для гидроразрыва пласта с пониженным трением в нужный момент непосредственно перед выпуском смеси 90 для гидроразрыва пласта с пониженным трением. Такая смесь по запросу покидает централизованный объект 66 и прибывает к буровой площадке 10 и/или площадке 52 гидроразрыва пласта в виде эффективной жидкости, которая, например, может поступать в резервуар для хранения или блендер, как описано в настоящем документе, а затем закачиваться в скважину 48 гидроразрыва пласта без необходимости добавления каких-либо химических веществ на буровой площадке 10 и/или площадке 52 гидроразрыва пласта, в некоторых вариантах осуществления.
[0082] Возвращаясь теперь к фиг. 13, как более подробно описано в настоящем документе, могут применяться различные другие комбинации технологического оборудования 78 для обеспечения того, чтобы смесь 90 для гидроразрыва пласта с пониженным трением адаптировалась к конкретным потребностям одной или более скважин 48 гидроразрыва пласта, в которых применяется смесь 90 для гидроразрыва пласта с пониженным трением. Например, в некоторых вариантах осуществления могут применяться различные комбинации технологических линий для транспортировки смеси 90 для гидроразрыва пласта с пониженным трением от централизованного объекта 66 к одной или более буровых площадок 10 посредством одного или более трубопроводов 74 для смеси для гидроразрыва пласта (например, которые могут включать в себя относительно длинные трубы 136, описанные в настоящем документе, в некоторых вариантах осуществления). Например, как представлено на фиг. 13, в некоторых вариантах осуществления один или более перекачивающих насосов 164, расположенных на централизованном объекте 66, могут применяться для перекачивания смеси 90 для гидроразрыва пласта с пониженным трением от централизованного объекта 66 к одной или более буровых площадок 10 и/или одной или более площадок 52 гидроразрыва пласта посредством одного или более трубопроводов 74 для смеси для гидроразрыва пласта. Кроме того, в некоторых вариантах осуществления один или более бустерных насосов 166, расположенных вдоль одного или более трубопроводов 74 для смеси для гидроразрыва пласта, могут применяться для периодического повышения давления смеси 90 для гидроразрыва пласта с пониженным трением для обеспечения возможности того, чтобы давление смеси 90 для гидроразрыва пласта с пониженным трением оставалось относительно низким, как более подробно описано в настоящем документе. Аналогичным образом, как также представлено на фиг. 13, в некоторых вариантах осуществления один или более перекачивающих насосов 148, расположенных на одной или более буровых площадках 10, могут применяться для перекачивания попутной воды 88 от одной или более буровых площадок 10 к централизованному объекту 66 посредством одного или более трубопроводов 70 для попутной воды.
[0083] Как более подробно описано в настоящем документе, перекачивающие насосы 164 и бустерные насосы 166, которые заставляют смесь 90 для гидроразрыва пласта (и другие жидкости, в некоторых вариантах осуществления) перемещаться от централизованного объекта 66 к одной или более площадкам 52 гидроразрыва пласта, поддерживают давление смеси 90 для гидроразрыва пласта (и других жидкостей) в относительно низком диапазоне от приблизительно 0 фунтов на квадратный дюйм (фунтов/кв. дюйм) до приблизительно 200 фунтов/кв. дюйм, в некоторых вариантах осуществления, по сравнению с относительно высокими диапазонами давления в операциях гидроразрыва пласта на площадках 52 гидроразрыва пласта от приблизительно 1000 фунтов/кв. дюйм до приблизительно 10 000 фунтов/кв. дюйм. Например, в некоторых вариантах осуществления применяемое относительно низкое давление может составлять не более 400 фунтов/кв. дюйм, не более 350 фунтов/кв. дюйм, не более 300 фунтов/кв. дюйм, не более 250 фунтов/кв. дюйм, не более 200 фунтов/кв. дюйм или даже менее.
[0084] Соответственно, центробежные насосы относительно низкого давления могут применяться в качестве перекачивающих насосов 164 и бустерных насосов 166, а перекачивающие рукава, временные плоскосворачиваемые рукава, трубы из полиэтилена высокой плотности (HDPE) (или другие полимерные трубы), полупостоянные или постоянные стальные трубы и другие каналы относительно низкого давления могут применяться в качестве одного или более трубопроводов 74 для смеси для гидроразрыва пласта (например, которые могут включать в себя относительно длинные трубы 136, описанные в настоящем документе). В целом, трубопроводы 74 для смеси для гидроразрыва пласта могут включать в себя любые подходящие перекачивающие линии, достаточно прочные для транспортировки воды и твердых веществ. Аналогично трубопроводам 74 для смеси для гидроразрыва пласта, трубопроводы 72 для мокрого песка, описанные в настоящем документе, также могут включать в себя любые подходящие перекачивающие линии, достаточно прочные для транспортировки воды и твердых веществ.
[0085] Кроме того, в некоторых вариантах осуществления может добавляться дополнительная вода (например, вода с непониженным трением) для регулировки состава смеси 90 для гидроразрыва пласта с пониженным трением. Например, в некоторых вариантах осуществления дополнительная вода из других источников воды (например, таких как те, которые описаны в настоящем документе), расположенных на централизованном объекте 66 или рядом с ним, может добавляться к попутной воде 88, принимаемой от одной или более буровых площадок 10, с получением разведенной попутной воды до добавления понижающей трение добавки 142 к попутной воде 88 с помощью системы 140 добавления с низким сдвиговым усилием, при этом понижающая трение добавка 142 может затем добавляться к разведенной попутной воде с получением смеси 90 для гидроразрыва пласта с пониженным трением с помощью системы 140 добавления с низким сдвиговым усилием. Кроме того, в некоторых вариантах осуществления дополнительная вода из источника воды, расположенного на одной или более площадках 52 гидроразрыва пласта, может добавляться к смеси 90 для гидроразрыва пласта с пониженным трением до закачки смеси 90 для гидроразрыва пласта с пониженным трением в одну или более скважин 48 гидроразрыва пласта. Кроме того, в некоторых вариантах осуществления дополнительная вода из источника воды, расположенного в промежуточном местоположении вдоль одного или более трубопроводов 74 для смеси для гидроразрыва пласта между централизованным объектом 66 и одной или более площадками 52 гидроразрыва пласта может добавляться к смеси 90 для гидроразрыва пласта с пониженным трением до доставки смеси 90 для гидроразрыва пласта с пониженным трением к одной или более площадкам 52 гидроразрыва пласта. Следует понимать, что любая комбинация этих методов добавления воды может применяться в некоторых вариантах осуществления для регулировки состава смеси 90 для гидроразрыва пласта с пониженным трением. Кроме того, как более подробно описано в настоящем документе, в некоторых вариантах осуществления дополнительная вода, другие добавки и другие жидкости могут доставляться от централизованного объекта 66 к одной или более площадкам 52 гидроразрыва пласта одновременно и могут смешиваться друг с другом на одной или более площадках 52 гидроразрыва пласта до закачки смеси 90 для гидроразрыва пласта с пониженным трением в одну или более скважин 48 гидроразрыва пласта.
[0086] Кроме того, в некоторых вариантах осуществления одна или более добавок 168 могут добавляться к смеси 90 для гидроразрыва пласта с пониженным трением на централизованном объекте 66 до транспортировки смеси 90 для гидроразрыва пласта с пониженным трением к одной или более площадкам 52 гидроразрыва пласта. В некоторых вариантах осуществления одна или более добавок 168 могут включать в себя по меньшей мере одно из биоцида и/или поверхностно-активного вещества обратного притока, и/или кислоты, и/или стабилизатора глин, и/или маркерного элемента, и/или ингибитора накипи, и/или поглотителя кислорода, и/или поглотителя сероводорода, и/или восстановительного агента, и/или хелатирующего агента, и/или агента контроля железа, и/или антиэмульсационного агента, и/или деэмульгатора, и/или разжижителя, и/или ингибитора коррозии, и/или средства для чистки трубопроводов, и/или гелевой пробки.
[0087] Кроме того, в некоторых вариантах осуществления смесь 90 для гидроразрыва пласта с пониженным трением может храниться в хранилищах, таких как резервуары, облицованные бассейны и т.д. Например, как представлено на фиг. 7, в некоторых вариантах осуществления смесь 90 для гидроразрыва пласта с пониженным трением может храниться в хранилище (см., например, хранилище 92 на фиг. 6), расположенном на централизованном объекте 66, до транспортировки смеси 90 для гидроразрыва пласта с пониженным трением к одной или более площадкам 52 гидроразрыва пласта. Кроме того, в некоторых вариантах осуществления смесь 90 для гидроразрыва пласта с пониженным трением может храниться в хранилище, расположенном на одной или более площадках 52 гидроразрыва пласта, после приема смеси 90 для гидроразрыва пласта с пониженным трением от централизованного объекта 66 и до закачки смеси 90 для гидроразрыва пласта с пониженным трением в одну или более скважин 48 гидроразрыва пласта. Кроме того, в некоторых вариантах осуществления смесь 90 для гидроразрыва пласта с пониженным трением может храниться в промежуточном местоположении вдоль одного или более трубопроводов 74 для смеси для гидроразрыва пласта (например, которые могут включать в себя относительно длинные трубы 136, описанные в настоящем документе) между централизованным объектом 66 и одной или более площадками 52 гидроразрыва пласта. Следует понимать, что в некоторых вариантах осуществления может применяться любая комбинация таких вариантов хранения.
[0088] Кроме того, в некоторых вариантах осуществления одно или более дополнительных химических веществ и/или проппантов 170 могут добавляться к смеси 90 для гидроразрыва пласта с пониженным трением до закачки смеси 90 для гидроразрыва пласта с пониженным трением в одну или более скважин 48 гидроразрыва пласта. Например, в некоторых вариантах осуществления одно или более химических веществ и/или проппантов 170 могут добавляться к смеси 90 для гидроразрыва пласта с пониженным трением с помощью одного или более блендеров, расположенных на одной или более площадках 52 гидроразрыва пласта, до закачки смеси 90 для гидроразрыва пласта с пониженным трением в одну или более скважин 48 гидроразрыва пласта. Однако в других вариантах осуществления одно или более химических веществ и/или проппантов 170 могут добавляться к смеси 90 для гидроразрыва пласта с пониженным трением с помощью одного или более блендеров, расположенных на площадке, которая является наружной по отношению к одной или более площадкам 52 гидроразрыва пласта (например, включающей в себя централизованный объект 66), до закачки смеси 90 для гидроразрыва пласта с пониженным трением в одну или более скважин 48 гидроразрыва пласта. Следует понимать, что одно или более химических веществ и/или проппантов 170 могут включать в себя любые другие химические вещества и/или проппанты, описанные в настоящем документе.
[0089] Кроме того, в некоторых вариантах осуществления одна или более систем 94 управления технологическим процессом могут применяться для управления любыми рабочими параметрами централизованного объекта 66 и/или одной или более буровых площадок 10, и/или одной или более площадок 52 гидроразрыва пласта для облегчения получения и доставки смеси 90 для гидроразрыва пласта с пониженным трением к одной или более скважинам 48 гидроразрыва пласта одной или более площадок 52 гидроразрыва пласта, как более подробно описано в настоящем документе. В действительности, в некоторых вариантах осуществления одна или более систем 94 управления технологическим процессом могут применяться для автоматической (например, без вмешательства человека) регулировки любых и всех рабочих параметров централизованного объекта 66 и/или одной или более буровых площадок 10, и/или одной или более площадок 52 гидроразрыва пласта для облегчения получения и доставки смеси 90 для гидроразрыва пласта с пониженным трением к одной или более скважинам 48 гидроразрыва пласта одной или более площадок 52 гидроразрыва пласта, как более подробно описано в настоящем документе.
[0090] Например, как представлено на фиг. 7, система 94А управления технологическим процессом может применяться для управления рабочими параметрами технологического оборудования 78, расположенного на централизованном объекте 66, по меньшей мере частично на основе данных измерений в реальном времени, собираемых посредством одного или более датчиков (см., например, датчики 96, представленные на фиг. 6), расположенных вокруг централизованного объекта 66. В некоторых вариантах осуществления рабочие параметры технологического оборудования, расположенного на централизованном объекте 66, управление которыми может осуществляться посредством системы 94А управления технологическим процессом, могут включать в себя, помимо прочего, соотношение смешивания песка 80, химических веществ 84 и попутной воды 88 посредством манипуляций с проточными насосами и/или клапанами централизованного объекта 66, расходы и/или составы понижающей трение добавки 142 и/или жидкости 144, поступающей в систему 140 добавления с низким сдвиговым усилием, посредством манипуляций с проточными насосами и/или клапанами централизованного объекта 66, соотношение смешивания понижающей трение добавки 142 и жидкости 144, поступающей в систему 140 добавления с низким сдвиговым усилием, посредством манипуляций с проточными насосами и/или клапанами централизованного объекта 66, расходы и/или составы одной или более добавок 168, поступающих в смесь 90 для гидроразрыва пласта с пониженным трением, посредством манипуляции с клапанами централизованного объекта 66, расходы смеси 90 для гидроразрыва пласта с пониженным трением, поступающей к одной или более площадкам 52 гидроразрыва пласта, посредством манипуляций с перекачивающими насосами 164 и т.д.
[0091] В некоторых вариантах осуществления данные измерений в реальном времени, которые могут собираться посредством одного или более датчиков (см., например, датчики 96, представленные на фиг. 6), расположенных вокруг централизованного объекта 66, могут включать в себя, помимо прочего, качество воды (например, рН, электропроводность и т.д.) источников воды на централизованном объекте 66 (например, попутной воды 88, принимаемой от одной или более буровых площадок 10, других источников воды и т.д.), удельную плотность песка 80, химических веществ 84, попутной воды 88 и/или смеси 90 для гидроразрыва пласта с пониженным трением, получаемой на централизованном объекте 66, мутность песка 80, химических веществ 84, попутной воды 88 и/или смеси 90 для гидроразрыва пласта с пониженным трением, получаемой на централизованном объекте 66, составы песка 80, химических веществ 84, попутной воды 88 и/или смеси 90 для гидроразрыва пласта с пониженным трением, получаемой на централизованном объекте 66, понижение трения смеси 90 для гидроразрыва пласта с пониженным трением, получаемой на централизованном объекте 66, по сравнению с водой (например, попутной водой 88, принимаемой от одной или более буровых площадок 10, и/или дополнительной водой из источника воды на централизованном объекте 66) и т.д.
[0092] Кроме того, как также представлено на фиг. 7, одна или более систем 94В управления технологическим процессом могут применяться для управления рабочими параметрами технологического оборудования, расположенного на одной или более площадках 52 гидроразрыва пласта и/или одной или более буровых площадках 10, по меньшей мере частично на основе данных измерений в реальном времени, собираемых посредством одного или более датчиков, расположенных вокруг одной или более площадок 52 гидроразрыва пласта и/или одной или более буровых площадок 10. Следует понимать, что в вариантах осуществления, в которых буровые площадки 10 также представляют собой площадки 52 гидроразрыва пласта, может применяться только одна система 94В управления технологическим процессом.
[0093] В некоторых вариантах осуществления рабочие параметры технологического оборудования, расположенного на одной или более площадках 52 гидроразрыва пласта и/или одной или более буровых площадках 10, управление которыми может осуществляться посредством системы 94В управления технологическим процессом, могут включать в себя, помимо прочего, расходы смеси 90 для гидроразрыва пласта с пониженным трением, доставляемой к одной или более площадкам 52 гидроразрыва пласта, посредством манипуляций с проточными насосами и/или клапанами одной или более площадок 52 гидроразрыва пласта, расходы и/или составы одного или более дополнительных химических веществ/проппантов 170, поступающих в один или более блендеров, посредством манипуляций с клапанами для управления смешиванием одного или более проппантов 170 и смеси 90 для гидроразрыва пласта с пониженным трением, осуществляемым посредством одного или более блендеров, расходы дополнительной воды, поступающей в смесь 90 для гидроразрыва пласта с пониженным трением, посредством манипуляций с клапанами одной или более площадок 52 гидроразрыва пласта, расходы смеси 90 для гидроразрыва пласта с пониженным трением, закачиваемой в одну или более скважин 48 гидроразрыва пласта, посредством манипуляций с одним или более насосами 146 гидроразрыва пласта и/или клапанами одной или более площадок 52 гидроразрыва пласта, расходы попутной воды 88 от одной или более буровых площадок 10, поступающей к централизованному объекту 66, посредством манипуляций с перекачивающими насосами 148А одной или более буровых площадок 10 и т.д.
[0094] В некоторых вариантах осуществления данные измерений в реальном времени, которые могут собираться посредством одного или более датчиков, расположенных вокруг одной или более площадок 52 гидроразрыва пласта и/или одной или более буровых площадок 10, могут включать в себя, помимо прочего, давление обработки пласта и другие рабочие параметры одной или более скважин 22 на одной или более буровых площадках 10, качество воды (например, рН, электропроводность и т.д.) на одной или более буровых площадках 10 (например, попутной воды 88), удельную плотность смеси 90 для гидроразрыва пласта с пониженным трением, мутность смеси 90 для гидроразрыва пласта с пониженным трением, составы смеси 90 для гидроразрыва пласта с пониженным трением и т.д.
[0095] Кроме того, в некоторых вариантах осуществления системы 94А, 94В управления технологическим процессом могут взаимодействовать друг с другом таким образом, что управление рабочими параметрами технологического оборудования, расположенного на одной или более площадках 52 гидроразрыва пласта и/или одной или более буровых площадках 10, может осуществляться совокупным образом посредством систем 94А, 94В управления технологическим процессом по меньшей мере частично на основе данных измерений в реальном времени, собираемых посредством одного или более датчиков (см, например, датчики 96, представленные на фиг. 6), расположенными вокруг централизованного объекта 66, и/или управление рабочими параметрами технологического оборудования 78, расположенного на централизованном объекте 66, может осуществляться совокупным образом посредством систем 94А, 94В управления технологическим процессом по меньшей мере частично на основе данных измерений в реальном времени, собираемых посредством одного или более датчиков, расположенных вокруг одной или более площадок 52 гидроразрыва пласта и/или одной или более буровых площадок 10. Кроме того, следует понимать, что управление другими рабочими параметрами технологического оборудования 78, расположенного на централизованном объекте 66 и/или одной или более площадках 52 гидроразрыва пласта, и/или одной или более буровых площадках 10, может осуществляться посредством системы 94А управления технологическим процессом и/или системы 94В управления технологическим процессом по меньшей мере частично на основе других данных измерений в реальном времени, собираемых посредством одного или более датчиков (см. например, датчики 96, представленные на фиг. 6), расположенных вокруг централизованного объекта 66 и/или одной или более площадок 52 гидроразрыва пласта, и/или одной или более буровых площадок 10. В действительности, управление любыми рабочими параметрами технологического оборудования, расположенного на централизованном объекте 66 и/или одной или более площадках 52 гидроразрыва пласта, и/или одной или более буровых площадках 10, может осуществляться посредством системы 94А управления технологическим процессом и/или системы 94В управления технологическим процессом по меньшей мере частично на основе любых данных измерений в реальном времени, собираемых посредством одного или более датчиков (см. например, датчики 96, представленные на фиг. 6), расположенных вокруг централизованного объекта 66 и/или одной или более площадок 52 гидроразрыва пласта, и/или одной или более буровых площадок 10.
[0096] Как представлено на фиг. 16, в некоторых вариантах осуществления каждая (или, в альтернативном случае, все вместе) из систем 94 управления технологическим процессом, описанных в настоящем документе, может включать в себя один или более модулей 172 управления технологическим процессом (например, программу исполняемых компьютером инструкций и связанные данные), которые могут быть выполнены с возможностью выполнения различных функций вариантов осуществления, описанных в настоящем документе. В некоторых вариантах осуществления для выполнения этих различных функций модуль 172 управления технологическим процессом исполняется на одном или более процессорах 174 системы (систем) 94 управления технологическим процессом, которые могут быть подключены к одному или более запоминающим носителям 176 системы (систем) 94 управления технологическим процессом. В действительности, в некоторых вариантах осуществления, один или более модулей 172 управления технологическим процессом могут храниться на одном или более запоминающих носителях 176.
[0097] В некоторых вариантах осуществления один или более процессоров 174 может включать в себя микропроцессор, микроконтроллер, процессорный модуль или подсистему, программируемую интегральную схему, программируемую вентильную матрицу, цифровой сигнальный процессор (ЦСП) или другое управляющее или вычислительное устройство. В некоторых вариантах осуществления один или более запоминающих носителей 176 могут быть реализованы в виде одного или более энергонезависимых компьютерочитаемых или машиночитаемых запоминающих носителей. В некоторых вариантах осуществления один или более запоминающих носителей 176 могут включать в себя одну или более различных форм памяти, включающих в себя полупроводниковые запоминающие устройства, такие как динамические или статические запоминающие устройства с произвольной выборкой (ДЗУПВ или СЗУПВ), стираемые и программируемые постоянные запоминающие устройства (ППЗУ), электрически стираемые и программируемые постоянные запоминающие устройства (ЭСППЗУ) и флэш-память; магнитные диски, такие как несъемные, гибкие и съемные диски; другие магнитные носители, включающие в себя ленту; оптические носители, такие как компакт-диски (CD) или цифровые видеодиски (DVD); или другие виды устройств хранения информации. Следует отметить, что исполняемые компьютером инструкции и связанные данные модуля(-лей) 172 управления технологическим процессом могут быть предоставлены на одном компьютерочитаемом или машиночитаемом запоминающем носителе запоминающих носителей 176 или, альтернативно, могут предоставляться на множестве компьютерочитаемых или машиночитаемых запоминающих носителях, распределенных по большой системе, имеющей, возможно, множество узлов. Такой компьютерочитаемый или машиночитаемый запоминающий носитель или носители считаются частью изделия (или изделия промышленного производства), которое может относиться к любому изготовленному единичному компоненту или множеству компонентов. В некоторых вариантах осуществления один или более запоминающих носителей 176 могут либо находиться в машине, выполняющей машиночитаемые инструкции, либо находиться на удаленном объекте, с которого машиночитаемые инструкции могут загружаться по сети для исполнения.
[0098] В некоторых вариантах осуществления процессор(-ы) 174 могут быть подключены к схеме 178 связи системы (систем) 94 управления технологическим процессом для обеспечения системе (системам) 94 управления технологическим процессом возможности осуществления связи с различными датчиками, различным технологическим оборудованием централизованного объекта 66 и/или одной или более площадок 52 гидроразрыва пласта, и/или одной или более буровых площадок 10 (а также другими системами, описанными в настоящем документе) и т.д. с целью управления работой систем, более подробно описанных в настоящем документе. В некоторых вариантах осуществления схема 178 связи может также содействовать системе (системам) 94 управления технологическим процессом в передаче данных в облачное хранилище 180 (или другую проводную и/или беспроводную сеть связи) для, например, архивирования данных или для обеспечения внешних вычислительных систем 182 возможностью доступа к данным и/или удаленного взаимодействия с системой (системами) 94 управления технологическим процессом.
[0099] В некоторых вариантах осуществления схема 178 связи может представлять собой, включать в себя или быть реализованной посредством различных типов стандартных интерфейсов, таких как интерфейс Ethernet, универсальная последовательная шина (USB), интерфейс ввода/вывода третьего поколения (3GIO), беспроводной интерфейс, интерфейс сети сотовой связи и/или интерфейс сети спутниковой связи, среди прочего. В некоторых вариантах осуществления схема 178 связи может также включать в себя устройство связи, такое как модем или сетевая интерфейсная плата, для облегчения обмена данными с внешними вычислительными устройствами посредством сети (например, Ethernet-соединение, цифровая абонентская линия (DSL), телефонная линия, коаксиальный кабель, система сотовой телефонной сети, спутник и т.д.).
[00100] В некоторых вариантах осуществления смесь для гидроразрыва пласта с пониженным трением, дополнительная вода, одна или более добавок 168 и другие жидкости могут транспортироваться от централизованного объекта 66 к одной или более площадкам 52 гидроразрыва пласта одновременно посредством одного или более трубопроводов 74 для смеси для гидроразрыва пласта. Например, в некоторых вариантах осуществления один или более трубопроводов 74 для смеси для гидроразрыва пласта могут включать в себя множество трубопроводов 74, расположенных параллельно друг другу, при этом каждый из трубопроводов 74 транспортирует жидкость, отличную от других.
[00101] Как представлено на фиг. 17, в некоторых вариантах осуществления один трубопровод 74А может включать в себя наружную трубу 184 с внутренней трубой 186, расположенной концентрически внутри наружной трубы 184. Таким образом, внутренняя часть внутренней трубы 186 образует внутренний объем 188, а кольцевое пространство между наружной трубой 184 и внутренней трубой 186 образует наружный объем 190. В таком варианте осуществления первая жидкость может транспортироваться от централизованного объекта 66 к одной или более площадкам 52 гидроразрыва пласта через внутренний объем 188 трубопровода 74А одновременно со второй жидкостью, транспортируемой от централизованного объекта 66 к одной или более площадкам 52 гидроразрыва пласта через наружный объем 190 трубопровода 74А. Например, в некоторых вариантах осуществления смесь 90 для гидроразрыва пласта с пониженным трением может транспортироваться от централизованного объекта 66 к одной или более площадкам 52 гидроразрыва пласта через внутренний объем 188 трубопровода 74А одновременно дополнительной водой (например, водой с непониженным трением), транспортируемой от централизованного объекта 66 к одной или более площадкам 52 гидроразрыва пласта через наружный объем 190 трубопровода 74А. В других вариантах осуществления дополнительная вода (например, вода с непониженным трением) может транспортироваться от централизованного объекта 66 к одной или более площадкам 52 гидроразрыва пласта через внутренний объем 188 трубопровода 74А одновременно со смесью 90 для гидроразрыва пласта с пониженным трением, транспортируемой от централизованного объекта 66 к одной или более площадкам 52 гидроразрыва пласта через наружный объем 190 трубопровода 74А. В действительности, любые комбинации смеси 90 для гидроразрыва пласта с пониженным трением, дополнительной воды, одной или более добавок 168 и других жидкостей могут транспортироваться от централизованного объекта 66 к одной или более площадкам 52 гидроразрыва пласта через различные объемы 188, 190 трубопровода 74А, представленного на фиг. 17.
[00102] как представлено на фиг. 18, в других вариантах осуществления один трубопровод 74В может включать в себя наружную трубу 184 и множество внутренних труб 186А, 186В, расположенных внутри наружной трубы 184. Таким образом, внутренние части каждой из внутренних труб 186А, 186В образуют соответствующие внутренние объемы 188А, 188В, а кольцевое пространство между наружной трубой 184 и внутренними трубами 186А, 186В образует наружный объем 190. В таком варианте осуществления первая жидкость может транспортироваться от централизованного объекта 66 к одной или более площадкам 52 гидроразрыва пласта через первый внутренний объем 188А трубопровода 74В одновременно со второй жидкостью, транспортируемой от централизованного объекта 66 к одной или более площадкам 52 гидроразрыва пласта через второй внутренний объем 188В трубопровода 74В, одновременно с третьей жидкостью, транспортируемой от централизованного объекта 66 к одной или более площадкам 52 гидроразрыва пласта через наружный объем 190 трубопровода 74В. В частности, любые комбинации смеси 90 для гидроразрыва пласта с пониженным трением, дополнительной воды, одной или более добавок 168 и других жидкостей могут транспортироваться от централизованного объекта 66 к одной или более площадкам 52 гидроразрыва пласта через различные объемы 188, 190 трубопровода 74В, представленного на фиг. 18. Хотя на фиг. 18 трубопровод 74В проиллюстрирован как включающий в себя две внутренние трубы 186А, 186В, в других вариантах осуществления он может включать в себя любое количество (например, две, три, четыре, пять или даже больше) внутренних труб 186.
[00103] В некоторых вариантах осуществления различные объемы 188, 190 трубопроводов 74А, 74В, представленных на фиг. 17 и 18, могут применяться для облегчения многонаправленного потока жидкостей через объемы 188, 190. Например, хотя в некоторых вариантах осуществления определенные жидкости могут течь однонаправленным образом от централизованного объекта 66 к одной или более площадкам 52 гидроразрыва пласта в соответствующих объемах 188, 190 трубопроводов 74А, 74В, в других вариантах осуществления первая жидкость может течь от централизованного объекта 66 к одной или более площадкам 52 гидроразрыва пласта через один из объемов 188, 190, тогда как вторая жидкость может течь в противоположном направлении от одной или более площадок 52 гидроразрыва пласта к централизованному объекту 66 в другом из объемов 188, 190. В качестве лишь одного неограничивающего примера в варианте осуществления, в котором площадка 52 гидроразрыва пласта также выступает площадкой 10 эксплуатационной скважины, попутная вода 88 от площадки 52 гидроразрыва пласта может транспортироваться к централизованному объекту 66 через один из объемов 188, 190 трубопровода 74А, 74В, тогда как смесь 90 для гидроразрыва пласта может транспортироваться от централизованного объекта 66 к площадке 52 гидроразрыва пласта через другой из объемов 188, 190 трубопровода 74, 74В.
[00104] Возвращаясь теперь к фиг. 6, 13 и 16, как более подробно описано в настоящем документе, одна или более систем 94 управления технологическим процессом может быть выполнена с возможностью управления любыми и всеми рабочими параметрами централизованного объекта 66 и/или одной или более буровых площадок 10 и/или одной или более площадок 52 гидроразрыва пласта. Например, в некоторых вариантах осуществления одна или более систем 94 управления технологическим процессом может быть выполнена с возможностью управления расходами множества жидкостей, транспортируемых посредством трубопроводов 74, представленных на фиг. 17 и 18, при этом соотношения смешивания между транспортируемыми в них жидкостями регулируются для достижения желаемого конечного состоянии или конечной концентрации на одной или более площадках 52 гидроразрыва пласта для достижения оптимального понижения трения для конкретных условий эксплуатации одной или более скважин 48 гидроразрыва пласта на одной или более площадках 52 гидроразрыва пласта (например, определяемых посредством одной или более систем 94 управления технологическим процессом на основе данных измерений в реальном времени, собираемых посредством датчиков на централизованном объекте 66 и/или одной или более площадках 52 гидроразрыва пласта, и/или одной или более буровых площадках 10). Например, в некоторых вариантах осуществления, одна или более систем 94 управления технологическим процессом может быть выполнена с возможностью осуществления манипуляций с клапанами, связанными с соответствующими объемами 188, 190 трубопроводов 74, для достижения соответствующих соотношений смешивания между жидкостями, транспортируемыми посредством объемов 188, 190, с получением конечной смеси 90 для гидроразрыва пласта с пониженным трением на основе конкретных условий эксплуатации одной или более скважин 48 гидроразрыва пласта на одной или более площадках 52 гидроразрыва пласта.
[00105] Аналогичным образом, в некоторых вариантах осуществления одна или более систем 94 управления технологическим процессом может быть выполнена с возможностью выбора конкретной понижающей трение добавки 142 (например, из множества понижающих трение добавок 142) для добавления к воде в системе 140 добавления с низким сдвиговым усилием на централизованном объекте 66 с получением смеси 90 для гидроразрыва пласта с пониженным трением на основе конкретных условий эксплуатации одной или более скважин 4 8 гидроразрыва пласта на одной или более площадках 52 гидроразрыва пласта. Например, в некоторых вариантах осуществления одна или более систем 94 управления технологическим процессом может анализировать составы жидкости 144, к которой добавляется понижающая трение добавка 142, и, на основе конкретных условий эксплуатации одной или более скважин 48 гидроразрыва пласта на одной или более площадках 52 гидроразрыва пласта, может определять, что конкретная понижающая трение добавка 142 (например, из множества понижающих трение добавок 142) и/или конкретная концентрация понижающей трение добавки 142 может идеально подходить для преобразования жидкости 144 в смесь 90 для гидроразрыва пласта с пониженным трением, которая будет соответствовать конкретным условиям эксплуатации одной или более скважин 48 гидроразрыва пласта на одной или более площадках 52 гидроразрыва пласта. Кроме того, в некоторых вариантах осуществления выбор конкретной понижающей трение добавки 142 (например, из множества понижающих трение добавок 142) и/или конкретной концентрации понижающей трение добавки 142 может определяться одной или более системами 94 управления технологическим процессом по меньшей мере частично на основе параметров производительности одной или более скважин 22 на одной или более буровых площадках 10, например, которые могут быть выведены посредством одной или более систем 94 управления технологическим процессом исходя из архивированных данных измерений производительности одной или более скважин 22 (например, архивированных в облачном хранилище 180).
[00106] Конкретные варианты осуществления, описанные выше, были представлены в качестве примера, и следует понимать, что эти варианты осуществления могут быть подвержены различным модификациям и могут иметь альтернативные формы. Кроме того, следует понимать, что формула изобретения не предназначена для ограничения конкретными раскрытыми формами, а, скорее, предоставлена для охвата всех модификаций, эквивалентов и альтернатив, соответствующих сущности и объему настоящего изобретения.
| название | год | авторы | номер документа |
|---|---|---|---|
| СИСТЕМА И СПОСОБ ГИДРОРАЗРЫВА ПЛАСТА (ВАРИАНТЫ) | 2021 |
|
RU2835795C1 |
| СПОСОБЫ МИНИМИЗАЦИИ ЧРЕЗМЕРНОГО ВЫТЕСНЕНИЯ РАСКЛИНИВАЮЩЕГО НАПОЛНИТЕЛЯ ПРИ ГИДРАВЛИЧЕСКИХ РАЗРЫВАХ ПЛАСТА | 2014 |
|
RU2666566C2 |
| ИНТЕНСИФИКАЦИЯ С ПОМОЩЬЮ ПРИРОДНОГО ГАЗА | 2014 |
|
RU2632080C2 |
| СИСТЕМА И СПОСОБ ЗАКАЧКИ РАБОЧИХ ЖИДКОСТЕЙ В ЛИНИЮ ЗАКАЧКИ ВЫСОКОГО ДАВЛЕНИЯ | 2017 |
|
RU2747277C2 |
| Техногенный грунт | 2019 |
|
RU2725534C1 |
| СИСТЕМА И СПОСОБ ВЫПОЛНЕНИЯ РАБОТ ПО СТИМУЛЯЦИИ НЕДР | 2013 |
|
RU2591857C1 |
| СИСТЕМА И СПОСОБ ЦЕМЕНТИРОВАНИЯ И ПРЕДОТВРАЩЕНИЯ ПЕСКОПРОЯВЛЕНИЯ | 2020 |
|
RU2822384C2 |
| СИСТЕМА И СПОСОБ ДОСТАВКИ НЕФТЕПРОМЫСЛОВЫХ МАТЕРИАЛОВ | 2013 |
|
RU2639079C2 |
| ВИСКОЗИМЕТР И СПОСОБЫ ЕГО ИСПОЛЬЗОВАНИЯ | 2015 |
|
RU2646943C1 |
| СПОСОБЫ РАЗОБЩЕНИЯ ПЛАСТОВ И ОТКЛОНЕНИЯ ОБРАБОТКИ С ПОМОЩЬЮ ФИГУРНЫХ ЧАСТИЦ | 2014 |
|
RU2679196C2 |
Группа изобретений относится к способу производства смеси для гидроразрыва пласта на централизованном объекте для доставки к одной или более площадкам гидроразрыва пласта. Способ включает прием воды на централизованном объекте, прием песка от одного или более песчаных карьеров на централизованном объекте, прием одного или более химических веществ на централизованном объекте. Применяют технологическое оборудование централизованного объекта для обработки воды, песка и одного или более химических веществ с получением смеси для гидроразрыва пласта. Причем технологическое оборудование включает коллектор разведения, оборудование обезвоживания, смесительное оборудование, или систему добавления с низким сдвиговым усилием для добавления понижающей трение добавки в смесь для гидроразрыва пласта, или их комбинацию. Коллектор разведения предназначен для разведения концентраций песка, одного или более химических веществ или того и другого в площадке гидроразрыва пласта. Оборудование обезвоживания предназначено для удаления воды из смеси для гидроразрыва пласта. Смесительное оборудование предназначено для добавления воды в смесь для гидроразрыва пласта. Осуществляют транспортировку смеси для гидроразрыва пласта от централизованного объекта к одной или более площадкам гидроразрыва пласта. Техническим результатом является повышение эффективности транспортировки смеси для гидроразрыва пласта от централизованного объекта к одной или более площадкам гидроразрыва пласта. 2 н. и 8 з.п. ф-лы, 18 ил.
1. Способ производства смеси для гидроразрыва пласта на централизованном объекте для доставки к одной или более площадкам гидроразрыва пласта, включающий:
прием воды на централизованном объекте;
прием песка от одного или более песчаных карьеров на централизованном объекте;
прием одного или более химических веществ на централизованном объекте;
применение технологического оборудования централизованного объекта для обработки воды, песка и одного или более химических веществ с получением смеси для гидроразрыва пласта, причем применение технологического оборудования включает:
- коллектор разведения для разведения концентраций песка, одного или более химических веществ или того и другого в площадке гидроразрыва пласта;
- оборудование обезвоживания для удаления воды из смеси для гидроразрыва пласта;
- смесительное оборудование для добавления воды в смесь для гидроразрыва пласта; или
- систему добавления с низким сдвиговым усилием для добавления понижающей трение добавки в смесь для гидроразрыва пласта; или
- их комбинацию; и
транспортировку смеси для гидроразрыва пласта от централизованного объекта к одной или более площадкам гидроразрыва пласта.
2. Способ по п. 1, включающий транспортировку смеси для гидроразрыва пласта от централизованного объекта к одной или более площадкам гидроразрыва пласта с помощью одного или более трубопроводов для смеси для гидроразрыва пласта.
3. Способ по п. 2, отличающийся тем, что один или более трубопроводов для смеси для гидроразрыва пласта включают один или более перекачивающих рукавов, один или более временных плоскосворачиваемых рукавов, одну или более полимерных труб или их комбинацию.
4. Способ по п. 2, включающий повышение давления смеси для гидроразрыва пласта в одном или более промежуточных местоположениях вдоль одного или более трубопроводов для смеси для гидроразрыва пласта.
5. Способ по п. 1, включающий применение системы управления технологическим процессом для автоматической регулировки одного или более свойств смеси для гидроразрыва пласта по меньшей мере частично на основе одного или более рабочих параметров, относящихся к воде, песку, или одному или более химическим веществам, или их комбинации.
6. Способ по п. 1, отличающийся тем, что один или более песчаных карьеров содержат один или более мобильных песчаных карьеров.
7. Способ по п. 1, включающий:
транспортировку воды от централизованного объекта к одному или более песчаным карьерам; и
применение воды при операциях добычи на одном или более песчаных карьерах.
8. Способ по п. 2, отличающийся тем, что один или более трубопроводов для смеси для гидроразрыва пласта содержат текстурированную внутреннюю поверхность, которая облегчает пассивное смешивание смеси для гидроразрыва пласта.
9. Способ по п. 1, отличающийся тем, что применение системы добавления с низким сдвиговым усилием для добавления понижающей трение добавки в смесь для гидроразрыва пласта включает применение по меньшей мере одного эжектора для диспергирования понижающей трение добавки в смесь для гидроразрыва пласта.
10. Способ производства смеси для гидроразрыва пласта на централизованном объекте для доставки к одной или более площадкам гидроразрыва пласта, включающий:
прием попутной воды от одной или более буровых площадок на централизованном объекте посредством одного или более трубопроводов для попутной воды;
прием песка от одного или более песчаных карьеров на централизованном объекте посредством одного или более трубопроводов для песка;
прием одного или более химических веществ на централизованном объекте; и
транспортировку попутной воды, песка и одного или более химических веществ от централизованного объекта к одной или более площадкам гидроразрыва пласта посредством одного или более трубопроводов для смеси для гидроразрыва пласта и технологического оборудования централизованного объекта, причем:
движение попутной воды, песка и одного или более химических веществ через один или более трубопроводов для смеси для гидроразрыва пласта и технологическое оборудование пассивно смешивает попутную воду, песок и одно или более химических веществ в смесь для гидроразрыва пласта;
причем технологическое оборудование включает:
- систему добавления с низким сдвиговым усилием для добавления понижающей трение добавки в смесь для гидроразрыва пласта;
- коллектор разведения для разведения концентраций песка, одного или более химических веществ или того и другого в площадке гидроразрыва пласта;
- оборудование обезвоживания для удаления воды из смеси для гидроразрыва пласта; или
- смесительное оборудование для добавления воды в смесь для гидроразрыва пласта; или
- их комбинацию.
| US 2020056457 A1, 20.02.2020 | |||
| ИНТЕГРИРОВАННАЯ ПОДАЧА В ТЕХНОЛОГИЧЕСКОМ ПРОЦЕССЕ НА БУРОВОЙ ПЛОЩАДКЕ | 2015 |
|
RU2692297C2 |
| СПОСОБ ПОЛУЧЕНИЯ И ПОДАЧИ ВЫСОКОКАЧЕСТВЕННОЙ ЖИДКОСТИ ДЛЯ ГИДРОРАЗРЫВА ПЛАСТА | 2015 |
|
RU2713830C2 |
| US 2012325751 A1, 27.12.2012 | |||
| US 2013255941 A1, 03.10.2013 | |||
| CN 105126669 A, 09.12.2015 | |||
| US 20200129934 А1, 30.04.2020. | |||
Авторы
Даты
2025-05-22—Публикация
2021-06-02—Подача