Область техники, к которой относится изобретение
Изобретение относится к испытательным стендам элементов авиационной техники и может быть использовано для испытания винтомоторной группы (мотор с установленным пропеллером) малых беспилотных летательных аппаратов в условиях обледенения.
Уровень техники
Известен стенд для испытания винтомоторной группы в условиях обледенения [1], содержащий аэрохолодильную трубу, внутри которой установлены гидравлические форсунки, распыляющие воду в направлении испытываемой винтомоторной группы, находящейся там же в трубе и закрепленной на вибрационном столе, а также устройство управления оборотами винтомоторной группы, системы мониторинга состояния винтомоторной группы и климата внутри аэрохолодильной трубы.
Недостаток этого стенда заключается в том, что для создания воздушного потока в аэрохолодильной трубе, перемещающего образующиеся капли от форсунок к испытываемой винтомоторной группе, необходим источник сжатого охлажденного воздуха, что приводит к громоздкости стенда и повышенному энергопотреблению.
Известен также компактный стенд [2], состоящий из морозильной камеры, системы управления и мониторинга испытываемой винтомоторной группы, измерителей температуры и влажности воздуха внутри камеры, двухфазной форсунки, распыляющей воду на испытываемую винтомоторную группу, систем подачи воды и сжатого воздуха на двухфазную форсунку, причем последняя состоит из компрессора и регулятора давления. Испытываемая винтомоторная группа и двухфазная форсунка закреплены в морозильной камере внутри узкой прозрачной трубы.
Недостатком этого стенда является отсутствие удаления влаги из сжатого воздуха перед его подачей на двухфазную форсунку, что приводит к неконтролируемому увеличению водности (масса воды в виде капель, содержащиеся в единице объема воздуха) в образующемся аэрозольном облаке. Увеличение водности происходит из-за конденсации, вызванной понижением температуры воздуха в результате его дросселирования через форсунку. Повышенная водность приведет к ускоренному обледенению винтомоторной группы, т.е. к ошибке в условиях испытания. Ошибка также возникает из-за размещения винтомоторной группы в трубе, так как такое размещение приводит к увеличению её тяги на десятки процентов [3]. Во время испытания на данном стенде не поддерживается постоянная тяга винтомоторной группы, что приводит к увеличению водности водовоздушного потока (w) из-за обледенения пропеллера винтомоторной группы и уменьшения скорости потока (u) через него (w=G/u, где G - расход воды через форсунку [4]). С другой стороны, водность водовоздушного потока может уменьшиться во время испытания в результате изменения расхода воды через форсунку из-за уменьшения подачи жидкости под силой тяжести или обмерзания форсунки. Все это как по-отдельности, так и в целом приводит к низкой точности результатов испытаний.
Заявленное изобретение устраняет вышеуказанные недостатки.
Раскрытие изобретения
Задачей изобретения является создание компактного лабораторного стенда для испытания винтомоторной группы малых беспилотников в условиях обледенения.
Технический результат изобретения заключается в повышении точности результатов испытания при компактности и энергоэффективности испытательного стенда.
Технический результат достигается за счет того, что стенд для испытания винтомоторной группы на обледенение содержит морозильную камеру, систему электропитания и управления оборотами испытываемой винтомоторной группы, систему мониторинга состояния испытываемой винтомоторной группы, измерители температуры и влажности воздуха внутри морозильной камеры, двухфазную форсунку, распыляющую воду на испытываемую винтомоторную группу, системы подачи воды и сжатого воздуха на двухфазную форсунку, причем система подачи сжатого воздуха на двухфазную форсунку помимо компрессора с ресивером, трубопровода, фильтра и регулятора давления сжатого воздуха содержит осушитель воздуха.
Кроме того, расстояние между плоскостью вращения пропеллера испытываемой винтомоторной группы и ближайшей стенкой морозильной камеры составляет не менее одного его диаметра.
Кроме того, морозильная камера дополнительно содержит трубу, установленную между форсункой и испытываемой винтомоторной группой таким образом, что ось трубы совпадает с осью вращения пропеллера винтомоторной группы, а эквивалентный диаметр трубы сопоставим или больше диаметра пропеллера винтомоторной группы.
Кроме того, измерители температуры и влажности воздуха установлены в морозильной камере таким образом, чтобы факел распыла двухфазной форсунки не попадал на них.
Кроме того, система мониторинга состояния испытываемой винтомоторной группы содержит тензодатчик, а система электропитания и управления оборотами испытываемой винтомоторной группы содержит ПИД регулятор, который поддерживает постоянную тягу винтомоторной группы во время испытания.
Кроме того, система подачи воды на двухфазную форсунку содержит бак с водой под давлением, кран, трубопровод и ротаметр.
Кроме того, система подачи сжатого воздуха на двухфазную форсунку дополнительно содержит доохладитель сжатого воздуха, установленный между компрессором и фильтром.
Кроме того, двухфазная форсунка имеет либо плоский факел распыла, либо в форме полного конуса.
Кроме того, на двухфазной форсунке установлены нагревающий элемент и термодатчик.
Краткое описание чертежей
На Фиг. 1 изображен заявляемый стенд (вид сбоку);
На Фиг. 2 показана схема системы подачи сжатого воздуха на двухфазную форсунку;
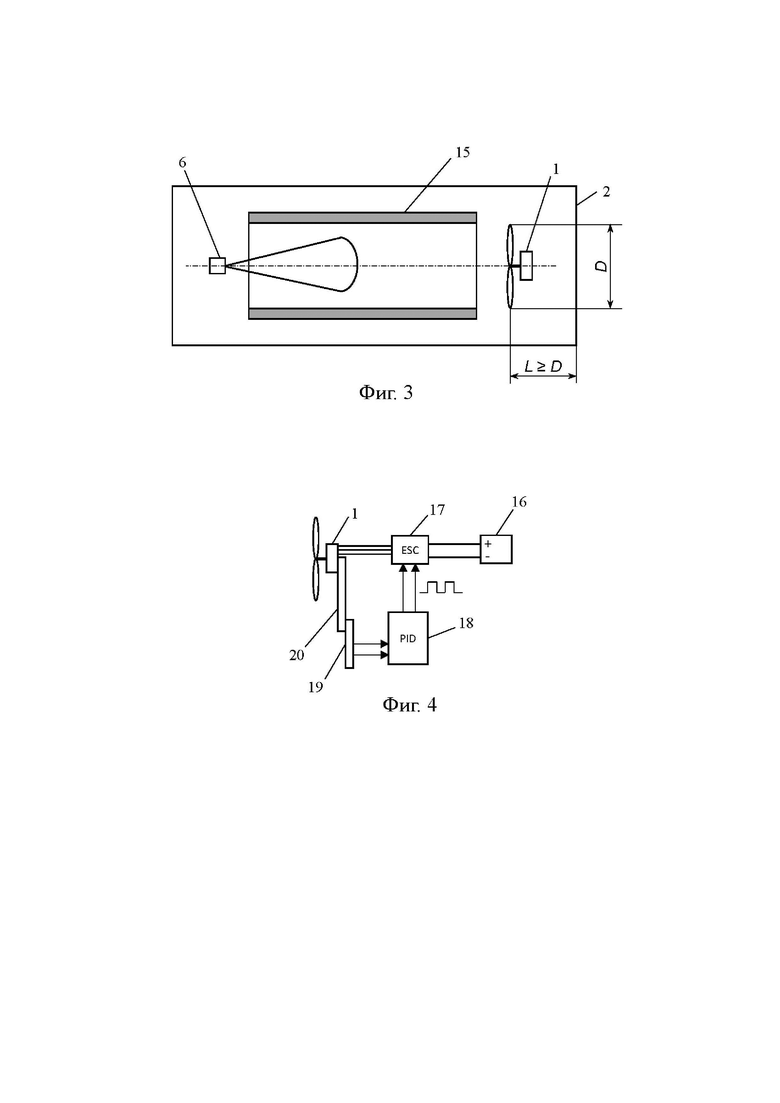
На Фиг. 3 изображен фрагмент стенда, когда между форсункой и винтомоторной группой установлена труба (вид сверху);
На Фиг. 4 показаны система электропитания и управления оборотами испытываемой группы и система мониторинга её состояния.
На фигурах цифрами обозначены следующие элементы:
1 - испытываемая винтомоторная группа;
2 - морозильная камера;
3 - система электропитания и управления оборотами испытываемой винтомоторной группы;
4 - система мониторинга состояния испытываемой винтомоторной группы;
5 - измерители температуры и влажности воздуха;
6 - двухфазная форсунка;
7 - система подачи воды;
8 - система подачи сжатого воздуха;
9 - компрессор с ресивером;
10 - трубопровод;
11 - фильтр сжатого воздуха;
12 - регулятор сжатого воздуха;
13 - осушитель сжатого воздуха;
14 - доохладитель;
15 - труба;
16 - источник питания постоянного тока;
17 - электронный контроллер скорости вращения мотора;
18 - пропорционально-интегрально-дифференцирующий (ПИД) регулятор;
19 - тензодатчик;
20 - луч, на который закреплена испытываемая винтомоторная группа.
Осуществление изобретения
Стенд для испытания (фиг. 1) винтомоторной группы (1) на обледенение содержит морозильную камеру (2), систему электропитания и управления оборотами испытываемой винтомоторной группы (3), систему мониторинга состояния испытываемой винтомоторной группы (4), измерители температуры и влажности воздуха (5) внутри морозильной камеры, двухфазную форсунку (6), распыляющую воду на испытываемую винтомоторную группу, системы подачи воды (7) и сжатого воздуха (8) на двухфазную форсунку.
Система подачи воды (7) на двухфазную форсунку (6) может содержать бак с дистиллированной или деионизированной водой под давлением, кран, трубопровод и ротаметр, задающий расход воды через двухфазную форсунку (не показаны на фиг. 1).
Система подачи сжатого воздуха (8) на двухфазную форсунку (6) состоит из компрессора с ресивером (9) (фиг. 2), трубопровода (10), фильтра (11) и регулятора давления (12) сжатого воздуха, а также осушителя воздуха (13), установленного между фильтром (11) и регулятором давления (12) сжатого воздуха. Также система подачи сжатого воздуха может содержать доохладитель (14), расположенный перед фильтром (11), что позволяет удалить часть влаги из сжатого воздуха с помощью фильтра (в результате конденсации в его пористом элементе) и за счёт этого снизить нагрузку на осушитель. В зависимости от исследуемого диапазона температур воздуха при обледенении осушитель воздуха (13) может быть рефрижераторного или адсорбционного типа. Доохладитель (14) выполняется в виде радиатора с пассивным или активным охлаждением.
Движение и скорость водовоздушного потока задается пропеллером испытуемой винтомоторной группы, при этом отдельного дополнительного вентилятора не предусмотрено, что позволяет достичь компактности и энергоэффективности стенда. При этом расстояние между плоскостью вращения пропеллера испытываемой винтомоторной группы и ближайшей стенкой морозильной камеры составляет не менее одного его диаметра.
Двухфазная форсунка может иметь либо плоский факел распыла, либо в форме полного конуса за счёт использования насадок в форсунке. Плоский факел распыляет воду в линию на перпендикулярную к оси распыления поверхность, а факел в форме полного конуса - в форме круга. Обе формы обеспечат равномерное покрытие каплями вращающегося пропеллера, испытуемой винтомоторной группы.
На корпус двухфазной форсунки может быть приклеен термодатчик и резистивный нагревательный элемент, питание которого идёт через пропорционально-интегрально-дифференциальный (ПИД) регулятор (не показаны на фиг. 1). Питание нагревательного элемента через ПИД позволяет в автоматическом режиме задавать температуру форсунки и подстройку выделяемой мощности на нагревательном элементе при понижении температуры воздуха морозильной камеры, тем самым предотвращать её замерзание при очень низких температурах.
В морозильной камере (2) может быть установлена труба (15) (фиг. 3) между испытываемой винтомоторной группой (1) и двухфазной форсункой (6) таким образом, что ось трубы совпадает с осью вращения пропеллера винтомоторной группы (фиг. 3). При этом диаметр трубы (15) сопоставим или больше диаметра пропеллера винтомоторной группы (1). Если диаметр трубы сопоставим с диаметром пропеллера, или больше диаметра пропеллера, то совпадение оси трубы с осью вращения пропеллера даёт равномерное покрытие каплями пропеллера и соответственно, и его равномерное обледенение.
Система электропитания и управления оборотами испытываемой винтомоторной группы (3 на фиг. 1), как показано на фиг. 4, состоит из источника питания постоянного тока (16), подключенного к электронному контроллеру скорости вращения (17), на который подается широтно-импульсный сигнал, задающий частоту вращения и поступающий, например с микроконтроллера (не показан на фиг. 4). Также широтно-импульсный сигнал может прийти с ПИД регулятора (18), построенного также на микроконтроллере.
Система мониторинга состояния испытываемой винтомоторной группы (4 на фиг. 1) может содержать тензодатчик (19 на фиг. 4). Тензодатчик необходим в случае измерения тяги винтомоторной группы во время эксперимента или поддержания её постоянного значения для моделирования процесса зависания винтокрылого летательного аппарата. В качестве тензодатчика (19) можно взять тензорезистор консольного типа, который, с одной стороны, прикрепляется к неподвижному основанию, например, к неподвижному каркасу в морозильной камере (не показан на фиг. 1 и 4) или к самой морозильной камере, а с другой стороны - либо непосредственно к винтомоторной группе (фиг. 1), либо к лучу (20 на фиг. 4), на котором закреплена винтомоторная группа (1). Луч - это по сути балка, на которую крепится винтомоторная группа. Задачей лучей является разнесение винтомоторных групп в пространстве, чтобы предотвратить столкновение вращающихся пропеллеров, создающих необходимую тягу квадрокоптеру. Напряжение с мостовой схемы тензодатчика подключается к аналого-цифровому преобразователю микроконтроллера (не показан на фиг. 4), сохраняющего измеренные значения в память компьютера или использующего их для ПИД регулировки оборотов двигателя (18 на фиг. 4).
Измерители температуры и влажности воздуха (5 на фиг. 1) установлены внутри морозильной камеры, например, на неподвижный каркас (не показан на фиг.1) или внутреннюю поверхность морозильной камеры, таким образом, чтобы факел распыла двухфазной форсунки не попадал на них, например, рядом или за форсункой. Измерителей температуры и влажности может быть как минимум два: один для измерения температур, второй - для влажности, или они могут быть объединены в один прибор, который периодически их опрашивает, выводит показания на табло и записывает их во внутреннюю память для последующего анализа.
Расположение компонентов стенда и испытываемой винтомоторной группы внутри морозильной камеры осуществляется посредством их крепления друг к другу при их взаимном соприкосновении или к неподвижному каркасу (не показано на фиг. 1, 3, 4). Например, луч (20 на фиг. 4) винтомоторной группы (1) соприкасается и соединен с тензодатчиком посредством, например, болтового соединения. Аналогично винтомоторная группа и луч могут быть соединены между собой, например, с помощью винтового соединения.
Стенд работает следующим образом. В морозильной камере (2) выставляется требуемая температура воздуха. Система электропитания и управления испытываемой винтомоторной группы (3) задает необходимую скорость вращения или тягу, регистрируемую системой мониторинга состояния испытываемой винтомоторной группы (4). На двухфазную форсунку (6) подается сначала сжатый осушенный воздух, а затем на двухфазную форсунку подается дистиллированная или деионизированная вода системой подачи воды. Момент подачи воды на двухфазную форсунку считается началом испытания на обледенение. Во время испытания регистрируется температура и влажность воздуха в морозильной камере с помощью измерителей температуры и влажности воздуха (5), а также регистрируется расход жидкости через двухфазную форсунку, заданный, например ротаметром (не показан на фиг. 1). На основе измеренной температуры и влажности воздуха, расхода воды через двухфазную форсунку (6) и тяги испытываемой винтомоторной группы определяется водность водовоздушного потока во время испытаний. Измеренная водность и температура водовоздушного потока определяет скорость ледообразования на лопастях винтомоторной группы.
Использование осушителя в системе подачи сжатого воздуха на двухфазную форсунку позволяет удалить влагу в сжатом воздухе и предотвратить её конденсацию вовремя дросселирования воздуха через форсунку. Это исключает ошибку в выставлении водности водовоздушного потока и связанную с этим ускоренного обледенения.
Формирование водовоздушного потока за счёт вращения пропеллера испытываемой винтомоторной группы и распыления воды двухфазной форсункой в морозильной камере позволяет реализовать компактный и энергоэффективный испытательный стенд.
Установка расстояния между плоскостью вращения пропеллера винтомоторной группы и ближайшей стенкой морозильной камеры на не менее одного его диаметра позволяет исключить эффект резкого увеличения тяги винтомоторной группы вблизи поверхности (экранный эффект [5]), нехарактерного для свободного полёта. Водность капельно-воздушной смеси, засасываемой пропеллером, определяется скоростью воздушного потока, которая в свою очередь оценивается через тягу пропеллера. Выбор указанного расстояния позволяет исключить влияние экранного эффекта и тем самым корректно оценивать водность, определяющую скорость нарастания льда на лопастях пропеллера, и еще более повысить точность результатов испытания.
Использование трубы в морозильной камере, установленной между двухфазной форсункой и испытываемой винтомоторной группой таким образом, что ось трубы совпадает с осью вращения пропеллера винтомоторной группы, а эквивалентный диаметр трубы сопоставим или больше диаметра пропеллера винтомоторной группы, позволяет исключить снос аэрозольного облака и изменение скорости обледенения в случае, если морозильная камера оснащена воздушной системой охлаждения, а также обеспечить равномерное покрытие переохлажденными каплями поверхности пропеллера.
Установка измерителей температуры и влажности воздуха в морозильной камере таким образом, чтобы факел распыла двухфазной форсунки не попадал на них, позволяет исключить ошибки в определении влажности и температуры воздуха в камере (одни из параметров, которые определяют скорость обледенения) из-за образования наледи на датчиках, что также позволяет дополнительно повысить точность результатов испытания.
Оснащение системы мониторинга состояния испытываемой винтомоторной группы тензодатчиком и системы электропитания и управления оборотами ПИД регулятора позволяют поддерживать постоянную тягу винтомоторной группы во время испытания. Постоянная тяга винтомоторной группы во время обледенения позволяет поддерживать постоянную водность водовоздушного потока (w) во время испытания за счёт того, что скорость воздушного потока (u), создаваемой винтомоторной группой будет поддерживаться постоянной (w=G/u, где G - расход воды через форсунку).
Использование в системе подачи воды на двухфазную форсунку бака с водой под давлением, крана, трубопровода и ротаметра позволяет регулировать и поддерживать постоянный расход воды через форсунку и, соответственно, водность во время испытания.
Установка доохладителя между компрессором и фильтром позволяет охладить сжатый воздух, разогретый в результате его сжатия компрессором, до комнатной температуры и тем самым дополнительно повысить эффективность удаления влаги из сжатого воздуха осушителем, и дополнительно повысить точность результатов испытания.
Использование двухфазной форсунки с плоским или с полноконусным факелом распыла позволяет равномерно покрыть каплями воды вращающийся пропеллер винтомоторной группы и тем самым приблизить условия испытаний к натурным.
Установка нагревающего элемента и термодатчика на двухфазную форсунку позволяет предотвратить её обмерзание во время эксперимента и, соответственно, изменение расхода воды через неё и связанную с ним водность водовоздушной смеси.
Таким образом, предлагаемое техническое решение позволяет создать компактный энергоэффективный испытательный стенд с повышенной точностью результатов испытаний.
Литература
1. Патент № CN 116176859 A, Китайская народная республика, МПК G01M 13/00, G01N 21/84. Propeller vibration icing monitoring system and monitoring method under simulated atmospheric environment: CN 202310174851 A: заявл. 23.02.2023: опубл. 30.05.2023 // He Qiang; Li Anling; Yang Yunyun; Xiong Shenghua; Shi Binghong; Ren Shuaiang; Xu Zehua; Xu Yuan; Jia Yangyang. - 12 c.
2. Модорский В.Я., Калюлин С.Л., Саженков Н.А. Экспериментальная установка для оценки влияния на обледенение и разрушение льда на вибрационное состояние модельного вентилятора малогабаритного летательного аппарата // Вестник Московского авиационного института. - 2023. - т. 30 - №4 - с. 19-26.
3. Кюхеман Д., Вебер И. Аэродинамика авиационных двигателей. Перевод с английского. М., «Издательство иностранной литературы», 1956.
4. Тенишев Р.Х. и др. Противообледенительные системы летательных аппаратов. Основы проектирования и методы расчета, М., «Машиностроение», 1967.
5. Johnson W. Rotorcraft Aeromechanics, Cambridge University Press: Cambridge, UK, 2013.
| название | год | авторы | номер документа |
|---|---|---|---|
| СТЕНД ДЛЯ ИСПЫТАНИЯ ВИНТОКРЫЛЫХ ЛЕТАТЕЛЬНЫХ АППАРАТОВ В УСЛОВИЯХ ИСКУССТВЕННОГО ОБЛЕДЕНЕНИЯ | 2024 |
|
RU2830102C1 |
| Способ регулирования водности в имитируемом атмосферном облаке | 2017 |
|
RU2664932C1 |
| Способ создания искусственного кристаллического облака для испытаний авиационных двигателей и устройство для его осуществления | 2020 |
|
RU2746182C1 |
| Способ имитации обледенения на объекте исследования | 2021 |
|
RU2766927C1 |
| Аэрохолодильная установка | 2020 |
|
RU2745244C1 |
| Способ и устройство для определения водности в условиях обледенения | 2024 |
|
RU2840577C1 |
| УСТРОЙСТВО ДЛЯ ИСПЫТАНИЯ ОБЪЕКТОВ АВИАЦИОННОЙ ТЕХНИКИ, РАБОТАЮЩИХ В УСЛОВИЯХ ОБЛЕДЕНЕНИЯ | 2005 |
|
RU2312320C2 |
| СПОСОБ НАЗЕМНЫХ ИСПЫТАНИЙ ОБЪЕКТОВ АВИАЦИОННОЙ ТЕХНИКИ, ПОДВЕРГАЮЩИХСЯ ОБЛЕДЕНЕНИЮ, И УСТРОЙСТВО ДЛЯ ЕГО ОСУЩЕСТВЛЕНИЯ | 2007 |
|
RU2345345C1 |
| Стенд для испытаний модели жидкостной противообледенительной системы летательного аппарата | 2024 |
|
RU2824830C1 |
| КОМБИНИРОВАННЫЙ КОНДЕНСАТОР С ВОЗДУШНЫМ ОХЛАЖДЕНИЕМ | 2003 |
|
RU2317500C2 |
Изобретение относится к испытательной технике, в частности к стендам испытания элементов авиационной техники, и может быть использовано для испытания винтомоторной группы (мотор с установленным пропеллером) малых беспилотных летательных аппаратов в условиях обледенения. Устройство содержит морозильную камеру, систему электропитания и управления оборотами испытываемой винтомоторной группы, систему мониторинга состояния испытываемой винтомоторной группы, измерители температуры и влажности воздуха внутри морозильной камеры, двухфазную форсунку, распыляющую воду на испытываемую винтомоторную группу, системы подачи воды и сжатого воздуха на двухфазную форсунку. Система подачи сжатого воздуха на двухфазную форсунку, помимо компрессора с ресивером, трубопровода, фильтра и регулятора давления сжатого воздуха, содержит осушитель воздуха. Технический результат заключается в повышении точности результатов испытания при компактности и энергоэффективности испытательного стенда. 8 з.п. ф-лы, 4 ил. 
1. Стенд для испытания винтомоторной группы на обледенение, характеризующийся тем, что содержит морозильную камеру, систему электропитания и управления оборотами испытываемой винтомоторной группы, систему мониторинга состояния испытываемой винтомоторной группы, измерители температуры и влажности воздуха внутри морозильной камеры, двухфазную форсунку, распыляющую воду на испытываемую винтомоторную группу, системы подачи воды и сжатого воздуха на двухфазную форсунку, причем система подачи сжатого воздуха на двухфазную форсунку, помимо компрессора с ресивером, трубопровода, фильтра и регулятора давления сжатого воздуха, содержит осушитель воздуха.
2. Стенд по п.1, характеризующийся тем, что расстояние между плоскостью вращения пропеллера испытываемой винтомоторной группы и ближайшей стенкой морозильной камеры составляет не менее одного его диаметра.
3. Стенд по п.1, характеризующийся тем, что морозильная камера дополнительно содержит трубу, установленную между форсункой и испытываемой винтомоторной группой таким образом, что ось трубы совпадает с осью вращения пропеллера винтомоторной группы, а эквивалентный диаметр трубы сопоставим или больше диаметра пропеллера винтомоторной группы.
4. Стенд по п.1, характеризующийся тем, что измерители температуры и влажности воздуха установлены в морозильной камере таким образом, чтобы факел распыла двухфазной форсунки не попадал на них.
5. Стенд по п.1, характеризующийся тем, что система мониторинга состояния испытываемой винтомоторной группы содержит тензодатчик, а система электропитания и управления оборотами испытываемой винтомоторной группы содержит ПИД регулятор, который поддерживает постоянную тягу винтомоторной группы во время испытания.
6. Стенд по п.1, характеризующийся тем, что система подачи воды на двухфазную форсунку содержит бак с водой под давлением, кран, трубопровод и ротаметр.
7. Стенд по п.1, характеризующийся тем, что система подачи сжатого воздуха на двухфазную форсунку дополнительно содержит доохладитель сжатого воздуха, установленный между компрессором и фильтром.
8. Стенд по п.1, характеризующийся тем, что двухфазная форсунка имеет либо плоский факел распыла, либо в форме полного конуса.
9. Стенд по п.1, характеризующийся тем, что на двухфазной форсунке установлены нагревающий элемент и термодатчик.
| CN 116176859 A, 30.05.2023 | |||
| US 2006273186 A1, 07.12.2006 | |||
| Быстродействующий электродинамический автоматический выключатель | 1960 |
|
SU135938A1 |
| US 2011259974 A1, 27.10.2011 | |||
| DE 69410855 T2, 08.10.1998 | |||
| Аэродинамическая климатическая установка для исследования влияния обледенения на кинематические и силовые параметры лопастей ветрогенераторов | 2023 |
|
RU2824334C1 |
| Установка искусственного намерзания и обледенения с замкнутым контуром | 2023 |
|
RU2798386C1 |
Авторы
Даты
2025-05-26—Публикация
2024-12-27—Подача