Настоящее изобретение относится к картриджу для палочкообразного (стикообразного) изделия для генерирования аэрозоля, которое выполнено для использования с устройством для генерирования аэрозоля с индукционным нагревом. Настоящее изобретение дополнительно относится к такому изделию, а также к системе для генерирования аэрозоля, содержащей такое изделие для генерирования аэрозоля, и такое устройство для генерирования аэрозоля.
Системы для генерирования вдыхаемых аэрозолей путем индукционного нагрева субстратов, образующих аэрозоль, которые способны высвобождать летучие соединения при нагреве, обычно известны из известного уровня техники. Для нагрева субстрата его можно расположить или ввести в тепловую близость или непосредственный физический контакт с токоприемником (сусцептором), который является индукционно нагреваемым под действием переменного магнитного поля. Токоприемник и субстрат могут быть собраны вместе в изделии, образующем аэрозоль, которое выполнено с возможностью размещения в соответствующей полости устройства, генерирующего аэрозоль. Устройство содержит индукционный источник для генерирования переменного магнитного поля внутри полости для индукционного нагрева токоприемника и, таким образом, субстрата, когда изделие размещено в полости. Изделие может дополнительно содержать мундштук, через который пользователь может делать затяжку, для того чтобы вызывать поток воздуха через изделие от субстрата к мундштуку. Следовательно, когда пользователь делает затяжку при эксплуатации устройства, летучие соединения, высвободившиеся из нагретого субстрата, увлекаются потоком воздуха, где они охлаждаются и конденсируются с образованием аэрозоля, который покидает изделие через мундштук. Изделие, генерирующее аэрозоль, и устройство, генерирующее аэрозоль, совместно образуют систему, генерирующую аэрозоль, в которой изделие обычно представляет собой одноразовую расходную часть, тогда как устройство обычно повторно используют с другими изделиями.
Согласно конкретной конструкции такой системы, генерирующей аэрозоль, изделие может иметь цилиндрическую палочкообразную (стикообразную) форму, похожую на форму традиционных сигарет, в которой токоприемник и субстрат расположены в дальней (дистальной) концевой части, например, в дальней заглушке субстрата, а мундштук расположен в ближней (проксимальной) концевой части изделия. Изделия, генерирующие аэрозоль, которые имеют такое зрительное и осязательное подобие традиционным сигаретам, известны главным образом в случае изделий, содержащих твердые субстраты, образующие аэрозоль, в частности, табакосодержащие твердые субстраты, образующие аэрозоль. В системах, где используются другие субстраты, такие как так называемые жидкости для электронных сигарет, по техническим причинам обычно используют другую конструкцию всей системы. Однако было бы желательно иметь в наличии подобную и, в то же время, простую конструкцию для изделия, в котором используются другие субстраты, генерирующие аэрозоль, в частности, жидкие субстраты, для того чтобы расширить диапазон продуктов, совместимых с вышеупомянутыми устройствами, выполненными с возможностью размещения и индукционного нагрева палочкообразных изделий.
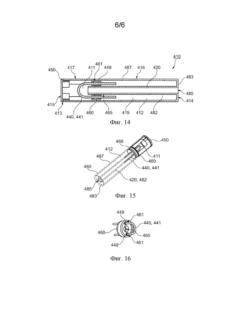
Согласно настоящему изобретению предложен картридж палочкообразного (стикообразного) изделия для генерирования аэрозоля для использования с устройством для генерирования аэрозоля с индукционным нагревом, то есть картридж для палочкообразного изделия для генерирования аэрозоля, в частности, для использования в палочкообразном изделии для генерирования аэрозоля, при этом изделие выполнено для использования с устройством для генерирования аэрозоля с индукционным нагревом. Картридж содержит камеру испарения в дальней концевой части картриджа для испарения в ней жидкости, образующей аэрозоль, а также камеру-резервуар вблизи камеры испарения для хранения жидкости, образующей аэрозоль. Картридж дополнительно содержит мембрану, образующую элемент в виде общей стенки камеры испарения и камеры-резервуара, а также переносящее жидкость токоприемное (сусцепторное) приспособление, выполненное и расположенное для переноса жидкости, образующую аэрозоль, из камеры-резервуара в камеру испарения, а также для ее индукционного нагрева при использовании с устройством для испарения жидкости, образующей аэрозоль, внутри камеры испарения. Дополнительно картридж содержит канал для переноса пара, обеспечивающий сообщение по текучей среде для испаряемой жидкости, образующей аэрозоль, из камеры испарения к области вблизи камеры-резервуара. Мембрана содержит сквозное отверстие, через которое канал для переноса пара проходит, или в котором он удерживается в дальней концевой части.
Согласно настоящему изобретению было обнаружено, что вышеописанная конструкция картриджа оказывается преимущественной в отношении простого и затратоэффективного изготовления палочкообразного изделия, генерирующего аэрозоль, которое можно легко использовать с устройствами, генерирующими аэрозоль, с индукционным нагревом, уже предусмотренными для расходных частей с твердыми субстратами, с целью генерирования аэрозолей также из жидких субстратов. Как будет более подробно дополнительно описано ниже, такое изделие можно просто реализовать, например, путем оснащения картриджа цилиндрическим мундштуком, смежным с камерой-резервуаром, и последующего обертывания обертки вокруг по меньшей мере части картриджа и мундштука для удерживания мундштука и картриджа вместе. Результатом этого является изделие, имеющее палочкообразную наружную форму, аналогичную или идентичную уже предусмотренным изделиям, содержащим твердые субстраты, и которое, таким образом, является совместимым для использования с уже предусмотренными устройствами, генерирующими аэрозоль. Вследствие этого эти устройства можно универсальным образом использовать с разными видами изделий для генерирования аэрозолей из разных видов субстратов, генерирующих аэрозоль, в частности, твердых и жидких субстратов.
Расположение камеры испарения в дальней (дистальной) концевой части картриджа и, таким образом, в дальней концевой части изделия, содержащего такой картридж, соответствует расположению твердого субстрата и токоприемника в дальней заглушке субстрата уже предусмотренных изделий. Преимущественно этим обеспечивается то, что при использовании с устройством, генерирующим аэрозоль, с индукционным нагревом камера испарения размещается почти в том же положении внутри полости устройства, что и дальняя заглушка субстрата уже предусмотренных изделий, то есть в том месте, где внутри полости генерируется переменное магнитное поле. Следовательно, изделие, содержащее такой картридж, является не только размещаемым, но также легко нагреваемым теми устройствами, которые уже существуют для индукционно нагреваемых расходных частей, содержащих твердые субстраты, образующие аэрозоль.
Использование мембраны, образующей элемент в виде общей стенки камеры испарения и камеры-резервуара, преимущественно уменьшает количество компонентов, подлежащих сборке, и, таким образом, упрощает конструирование и сборку картриджей. Предпочтительно мембрана не является выполненной за одно целое с любым другим элементом в виде стенки камеры испарения и камеры-резервуара (является отдельной от любого из них). Преимущественно это облегчает изготовление картриджа, в частности, так как этим может обеспечиваться возможность изготовления других частей картриджа при помощи экструзии, таких как канал для переноса пара или наружная круговая боковая стенка камеры-резервуара и камеры испарения.
В контексте данного документа термин «мембрана» относится к разделительной стенке, разделяющей камеру испарения с камерой-резервуаром, то есть разделяющей часть внутреннего пространства картриджа на камеру испарения и камеру-резервуар.
Во избежание излишнего рассеяния энергии, обеспечиваемой посредством переменного магнитного поля, в мембране, мембрана предпочтительно не является индукционно нагреваемой. То есть мембрана предпочтительно изготовлена из материала, не являющегося индукционно нагреваемым, то есть являющегося неэлектропроводным и немагнитным (не являющегося ферромагнитным или ферромагнитным). Дополнительно это может способствовать снижению риска получения пользователем ожога при прикосновении к изделию, содержащему картридж согласно настоящему изобретению, вскоре после процесса нагрева.
Мембрана может быть изготовлена из пластика или силикона (кремния). Такие материалы обеспечивают надлежащие изоляционные свойства, а также являются дешевыми, что представляет особый интерес в связи с тем, что картридж предпочтительно используется в изделии, генерирующем аэрозоль, выполненном лишь для одноразового использования. Предпочтительно пластик представляет собой термопластический материал, такой как PEEK (полиэфирэфиркетон), для обеспечения удовлетворительной термической стойкости. Мембрана может быть изготовлена при помощи литья под давлением. То есть мембрана может представлять собой мембрану, отлитую под давлением.
Мембрана может содержать ближнее углубление, образующее ближнюю (проксимальную) часть сквозного отверстия, в которой канал для переноса пара удерживается в дальней концевой части. Внутреннее поперечное сечение ближнего углубления может быть больше внутреннего поперечного сечения дальней части сквозного отверстия, отличной от ближней части. Вследствие этого ближнее углубление образует упор для дальней концевой части канала для переноса пара с целью закрепления положения канала для переноса пара по меньшей мере в дальнем направлении. Кроме того, внутреннее поперечное сечение дальней части сквозного отверстия может соответствовать внутреннему поперечному сечению канала для переноса пара. Как следствие, проход для потока воздуха, входящий в канал для переноса пара через сквозное отверстие мембраны, может плавно проходить из камеры испарения в канал для переноса пара. Это является преимущественным в отношении беспрепятственного течения потока воздуха/аэрозоля через картридж. Альтернативно внутреннее поперечное сечение дальней части сквозного отверстия может быть больше или меньше внутреннего поперечного сечения канала для переноса пара. Как следствие, проход для потока воздуха через картридж не является плавным, что может вызывать турбулентность течения потока воздуха/аэрозоля. Турбулентное течение потока воздуха/аэрозоля может требоваться для содействия образованию аэрозоля.
Мембрана может содержать ближнее гнездо для вставки, выступающее в камеру-резервуар, при этом ближнее гнездо для вставки образует ближнюю часть сквозного отверстия, в которой удерживается дальняя концевая часть канала для переноса пара. То есть ближнее гнездо для вставки можно рассматривать как выступ, проходящий в камеру-резервуар, который содержит углубление, образующее ближнюю часть сквозного отверстия. Внутреннее поперечное сечение ближнего гнезда для вставки может быть больше внутреннего поперечного сечения дальней части сквозного отверстия, отличной от ближней части. Вследствие этого, как описано выше в отношении ближнего углубления, ближнее гнездо для вставки образует упор для дальней концевой части канала для переноса пара с целью закрепления положения канала для переноса пара по меньшей мере в дальнем направлении. С целью обеспечения по существу плавного прохода для потока воздуха через картридж внутреннее поперечное сечение дальней части сквозного отверстия может соответствовать внутреннему поперечному сечению канала для переноса пара. Альтернативно внутреннее поперечное сечение дальней части сквозного отверстия может быть больше или меньше внутреннего поперечного сечения канала для переноса пара с целью содействия турбулентному течению потока воздуха/аэрозоля.
Предпочтительно через мембрану проходит переносящее жидкость токоприемное приспособление. Для этого мембрана может содержать одно или более проходных отверстий, через которые проходит переносящее жидкость токоприемное приспособление. Предпочтительно переносящее жидкость токоприемное приспособление неподвижно удерживается мембраной. Преимущественно переносящее жидкость токоприемное приспособление закрепляют в мембране перед сборкой картриджа для облегчения сборки.
Для предотвращения нежелательной утечки жидкости, образующей аэрозоль, картридж может содержать по меньшей мере одно уплотнительное кольцо для каждого одного из одного или более проходных отверстий мембраны, расположенное в соответствующем проходном отверстии или около него. В частности, по меньшей мере одно уплотнительное кольцо может быть выполнено при помощи накладного формования вокруг части переносящего жидкость токоприемного приспособления. Преимущественно это обеспечивает, в частности, удовлетворительную изоляцию и облегчает сборку картриджа. Предпочтительно переносящее жидкость токоприемное приспособление снабжают уплотнительным кольцом при помощи накладного формования перед сборкой картриджа. Предпочтительно по меньшей мере одно уплотнительное кольцо изготовлено из пластика или силикона. Такие материалы обеспечивают надлежащие изоляционные свойства, а также являются дешевыми, что представляет особый интерес в связи с тем, что картридж предпочтительно используется в изделии, генерирующем аэрозоль, выполненном лишь для одноразового использования. Предпочтительно пластик представляет собой термопластический материал, такой как PEEK (полиэфирэфиркетон), для обеспечения удовлетворительной термической стойкости.
Мембрана может содержать по меньшей мере одно отверстие для заполнения, предназначенное для заполнения жидкостью, образующей аэрозоль, камеры-резервуара через камеру испарения. Одно или более отверстий для заполнения могут располагаться смежно со сквозным отверстием мембраны, через которое канал для переноса пара проходит, или в котором он удерживается в дальней концевой части. Например, мембрана может содержать два отверстия для заполнения, расположенные сбоку на противоположных сторонах сквозного отверстия. Для закрытия по меньшей мере одного отверстия для заполнения после заполнения камеры-резервуара жидкостью, образующей аэрозоль, картридж может содержать элемент в виде дальней заглушки, герметично закрывающий по меньшей мере одно отверстие для заполнения мембраны. В случае, когда мембрана содержит более одного отверстия для заполнения, элемент в виде дальней заглушки предпочтительно выполнен для закрытия каждого из отверстий для заполнения. Альтернативно картридж может содержать отдельный элемент в виде дальней заглушки для каждого из отверстий для заполнения. Предпочтительно элемент в виде дальней заглушки прикреплен к колпачку на дальнем конце, который образует по меньшей мере элемент в виде стенки на дальнем конце камеры испарения, в частности, является его неотделимой частью. Подробности в отношении колпачка на дальнем конце будут дополнительно описаны ниже. Альтернативно элемент в виде дальней заглушки может не являться выполненным за одно целое с любым элементом в виде стенки камеры испарения. Подобным образом элемент в виде дальней заглушки может не являться выполненным за одно целое с любым элементом в виде стенки камеры-резервуара. Как и сама мембрана элемент в виде дальней заглушки может быть изготовлен из пластика или силикона, в частности, из РЕЕК (полиэфирэфиркетона), для обеспечения удовлетворительной термической стойкости.
Мембрана может быть установлена в картридже посредством прессовой посадки или посредством соединения на защелках, или посредством сварки, или посредством клеевого соединения. Прессовая посадка или соединение на защелках, в частности, дает возможность простой сборки мембраны. Сварка или клеевые соединения обеспечивают удовлетворительную изоляцию стыка между мембраной и соответствующей сопрягаемой частью соединения. Предпочтительно мембрана установлена в гильзе картриджа, образующей по меньшей мере одно из элемента в виде круговой наружной боковой стенки камеры испарения (или по меньшей мере его части) и элемента в виде круговой наружной боковой стенки камеры-резервуара (или по меньшей мере его части). Подобным образом мембрана может быть установлена в наружной части в виде гильзы цельной основной части картриджа, образующей по меньшей мере элемент в виде круговой наружной боковой стенки камеры-резервуара и предпочтительно также элемент в виде круговой наружной боковой стенки камеры испарения. Подробности гильзы картриджа и цельной основной части будут дополнительно описаны ниже. Также возможно, что картридж содержит чашеобразный колпачок на дальнем конце и чашеобразный колпачок на ближнем конце, при этом чашеобразный колпачок на дальнем конце образует стенку на дальнем конце и круговую наружную боковую стенку камеры испарения, а чашеобразный колпачок на ближнем конце образует стенку на ближнем конце и круговую наружную боковую стенку камеры-резервуара. В этой конфигурации каждый из чашеобразных колпачков на концах прикреплен к мембране так, что мембрана удерживает вместе чашеобразный колпачок на дальнем конце и чашеобразный колпачок на ближнем конце и образует стенку на дальнем конце камеры-резервуара и стенку на ближнем конце камеры испарения. Подробности чашеобразного колпачка на дальнем конце и чашеобразного колпачка на ближнем конце будут дополнительно описаны ниже.
Мембрана может содержать круговую манжету, обеспечивающую герметичную посадку мембраны в картридже. В частности, мембрана может содержать круговую манжету, обеспечивающую герметичную посадку мембраны относительно гильзы картриджа, образующей по меньшей мере одно из элемента в виде круговой стенки камеры испарения и элемента в виде круговой стенки камеры-резервуара, или относительно наружной части в виде гильзы, или относительно по меньшей мере одного из чашеобразного колпачка на дальнем конце и чашеобразного колпачка на ближнем конце.
Как описано выше, картридж может дополнительно содержать колпачок на дальнем конце, образующий по меньшей мере элемент в виде дальней стенки камеры испарения. Предпочтительно колпачок на дальнем конце не является выполненным за одно целое с любым элементом в виде стенки камеры-резервуара. Использование колпачка на дальнем конце преимущественно также облегчает изготовление картриджа. В частности, это дает возможность реализации открытого доступа к тем компонентам, которые расположены во внутреннем пространстве картриджа, таким как переносящее жидкость токоприемное приспособление, перед окончательным закрытием внутреннего пространства картриджа колпачком на дальнем конце.
Предпочтительно камера испарения может быть полностью окружена элементами в виде стенок. Вследствие этого камера испарения является по существу изолированной за исключением возможного одного впускного отверстия для воздуха и сообщения по текучей среде из камеры испарения с областью вблизи камеры-резервуара. Как следствие, картридж является по существу непроницаемым, что оказывается преимущественным в отношении срока хранения изделия, частью которого может являться картридж. В частности, если жидкость, образующая аэрозоль, в конечном итоге протекает из камеры-резервуара в камеру испарения, например, при транспортировке с производства в продажу, жидкость будет по-прежнему удерживаться в камере испарения. Даже более того, жидкость, протекающая в камеру испарения, не растрачивается, но по-прежнему вносит вклад в генерирование аэрозоля, так как она будет по-прежнему испаряться в ходе следующего процесса нагрева. До такой степени термин «камера» в контексте данного документа уже предполагает по существу изолированную камеру. Соответственно, камера-резервуар также является по существу изолированной за исключением сообщения по текучей среде между камерой-резервуаром и камерой испарения посредством переносящего жидкость токоприемного приспособления.
Для предотвращения получения пользователем ожога при прикосновении к изделию, содержащему картридж согласно настоящему изобретению, вскоре после процесса нагрева колпачок на дальнем конце предпочтительно не является индукционно нагреваемым. Дополнительно это предотвращает излишнее рассеяние энергии, обеспечиваемой посредством переменного магнитного поля, в колпачке на дальнем конце. Как следствие, может усиливаться рассеяние энергии в переносящем жидкость токоприемном приспособлении. Соответственно, колпачок на дальнем конце предпочтительно изготовлен из материала, не являющегося индукционно нагреваемым, то есть являющегося неэлектропроводным и немагнитным (не являющегося ферромагнитным или ферромагнитным). Колпачок на дальнем конце может быть изготовлен из пластика или силикона. Такие материалы обеспечивают надлежащие изоляционные свойства, а также являются дешевыми, что представляет особый интерес в связи с тем, что картридж предпочтительно используется в изделии, генерирующем аэрозоль, выполненном лишь для одноразового использования. Предпочтительно пластик представляет собой термопластический материал, такой как PEEK (полиэфирэфиркетон), для обеспечения удовлетворительной термической стойкости. Колпачок на дальнем конце может быть изготовлен при помощи литья под давлением. То есть колпачок на дальнем конце может представлять собой колпачок на дальнем конце, отлитый под давлением.
Предпочтительно любой элемент в виде стенки камеры испарения не является индукционно нагреваемым, то есть он изготовлен из материала, не являющегося индукционно нагреваемым. Подобным образом любой элемент в виде стенки камеры испарения также не является индукционной нагреваемым.
Колпачок на дальнем конце предпочтительно определяет самый дальний конец картриджа. То есть другие компоненты, которые выступают за колпачок на дальнем конце в дальнем направлении, отсутствуют. В частности, дальний конец картриджа может не содержать какой-либо соединитель или соединительное средство, например, для соединения изделия, генерирующего аэрозоль, содержащего такой картридж, с устройством, генерирующим аэрозоль. Например, когда палочкообразный картридж имеет цилиндрическую форму, картридж может иметь плоскую дальнюю поверхность на его самом дальнем конце.
С целью обеспечения поступления воздуха в камеру испарения для образования аэрозоля камера испарения может содержать по меньшей мере одно впускное отверстие для воздуха. Предпочтительно по меньшей мере одно впускное отверстие для воздуха образовано в колпачке на дальнем конце. В качестве примера, по меньшей мере одно впускное отверстие для воздуха может содержать воздушное вентиляционное отверстие, проходящее сквозь колпачок на дальнем конце. В качестве еще одного примера, по меньшей мере одно впускное отверстие для воздуха может содержать воздушную вентиляционную канавку, образованную в поверхности колпачка на дальнем конце, обращенного к элементу в виде стенки камеры испарения, отличного от колпачка на дальнем конце, в частности, элементу в виде круговой наружной боковой стенки камеры испарения.
Согласно одному примеру колпачок на дальнем конце может иметь форму заглушки. Колпачок в форме заглушки на дальнем конце может содержать основную часть в форме заглушки, по меньшей мере часть которой вставлена в элемент в виде круговой наружной боковой стенки камеры испарения. Основная часть в форме заглушки может быть полностью вставлена в элемент в виде круговой наружной боковой стенки камеры испарения. В целом, основная часть в форме заглушки может иметь форму, соответствующую форме внутреннего пространства камеры испарения, в частности, форму поперечного сечения, соответствующую форме поперечного сечения внутреннего пространства камеры испарения. В контексте данного документа термин «форма поперечного сечения» относится к форме основной части в форме заглушки или внутреннего пространства камеры испарения при рассмотрении в поперечном сечении, перпендикулярном продольной оси картриджа. Предпочтительно основная часть в форме заглушки является по существу цилиндрической или усеченно-конической. Основная часть в форме заглушки может содержать круговую манжету, обеспечивающую герметичную посадку колпачка на дальнем конце в картридже, в частности, относительно элемента в виде круговой наружной боковой стенки камеры-резервуара. То есть круговая манжета не вставляется в элемент в виде круговой наружной боковой стенки камеры испарения.
Колпачок в форме заглушки на дальнем конце может также содержать покрывающую пластинку. Для полного закрытия камеры испарения на дальнем конце картриджа покрывающая пластинка может быть либо вставлена в круговую наружную боковую стенку камеры испарения, либо может проходить радиально наружу за пределы формы поперечного сечения внутреннего пространства камеры испарения. В последнем случае покрывающая пластинка может дополнительно содержать выступающую манжету, примыкающую к дальнему переднему концу элемента в виде круговой наружной боковой стенки камеры испарения. Она также может в целом удерживать колпачок в форме заглушки на дальнем конце, то есть колпачок в форме заглушки на дальнем конце может содержать выступающую манжету, примыкающую к дальнему переднему концу элемента в виде круговой наружной боковой стенки камеры испарения.
Колпачок в форме заглушки на дальнем конце может дополнительно содержать, предпочтительно в дополнение к покрывающей пластинке, вставную часть, по меньшей мере частично вставленную в элемент в виде круговой наружной боковой стенки камеры испарения. Вставная часть может содержать вставное кольцо, или вставную трубку, или вставной цилиндр, или вставной полый цилиндр, или множество сегментов вставного кольца, или множество вставных штифтов, или множество вставных ребер. Вставная часть по меньшей мере частично может проходить, в частности, от покрывающей пластинки (если она присутствует) к мембране, образующей элемент в виде общей стенки камеры испарения и камеры-резервуара. Она также может в целом удерживать колпачок в форме заглушки на дальнем конце, то есть колпачок в форме заглушки на дальнем конце может по меньшей мере частично проходить, в частности, от покрывающей пластинки (если она присутствует) к мембране, образующей элемент в виде общей стенки камеры испарения и камеры-резервуара. В частности, колпачок в форме заглушки на дальнем конце может содержать по меньшей мере одну, в частности по меньшей мере две, предпочтительно две, три или четыре, опорных стойки. По меньшей мере одна опорная стойка может проходить предпочтительно от дальнего конца картриджа, в частности, от покрывающей пластинки (если она присутствует), к мембране, образующей элемент в виде общей стенки камеры испарения и камеры-резервуара. Вследствие этого колпачок в форме заглушки на дальнем конце закреплен на месте по меньшей мере в ближнем направлении у мембраны. Наличие по меньшей мере двух, в частности двух, трех или четырех, опорных стоек преимущественно обеспечивает равномерную опору колпачка на дальнем конце на мембрану. Подробности мембраны уже были дополнительно описаны выше. В частности, по меньшей мере одна опорная стойка может проходить вдоль внутренней поверхности элемента в виде круговой наружной боковой стенки камеры испарения. Вследствие этого процессы образования аэрозоля во внутреннем пространстве камеры испарения лишь незначительно подвергаются негативному влиянию.
Дополнительно колпачок в форме заглушки на дальнем конце может содержать на ближнем конце по меньшей мере один элемент в виде заглушки, герметично закрывающий отверстие для заполнения в мембране, которое может использоваться для заполнения жидкостью, образующей аэрозоль, камеры-резервуара через камеру испарения. Преимущественно эта конфигурация дает возможность изоляции отверстия для заполнения и закрытия дальнего конца камеры испарения за один этап путем установки колпачка в форме заглушки на дальнем конце на других частях картриджа. Предпочтительно элемент в виде заглушки расположен на ближнем (проксимальном) конце вставной части (если она присутствует), в частности, на ближнем конце по меньшей мере одной опорной стойки (если она присутствует). Элемент в виде заглушки может быть изготовлен из такого же материала, в частности, выполнен за одно целое с другими частями колпачка в форме заглушки на дальнем конце.
Согласно другому примеру колпачок на дальнем конце может быть чашеобразным. В частности, чашеобразный колпачок на дальнем конце может содержать нижнюю часть, образующую элемент в виде стенки на дальнем конце камеры испарения, и часть в виде гильзы (боковую стенку формы чаши), образующую элемент в виде круговой наружной боковой стенки камеры испарения. В этой конфигурации камера испарения по существу полностью образована колпачком на дальнем конце за исключением элемента в виде стенки на ближнем конце камеры испарения. Элемент в виде стенки на ближнем конце камеры испарения предпочтительно образован вышеупомянутой мембраной. Наличие элемента в виде круговой наружной боковой стенки и элемента в виде стенки на дальнем конце камеры испарения, образованных за одно целое чашеобразным колпачком на дальнем конце, то есть цельным компонентом, преимущественно уменьшает количество компонентов, подлежащих сборке, и, таким образом, упрощает конструирование и сборку картриджей. Дополнительно эта конфигурация обеспечивает максимальный открытый доступ для реализации компонентов во внутреннем пространстве картриджа, таких как переносящее жидкость токоприемное приспособление.
В целом, колпачок на дальнем конце может быть установлен в картридже посредством прессовой посадки или посредством соединения на защелках, или посредством сварки, или посредством клеевого соединения. Прессовая посадка или соединение на защелках, в частности, дает возможность простой сборки колпачка на дальнем конце. Сварка или клеевые соединения обеспечивают удовлетворительную изоляцию стыка между колпачком на дальнем конце и соответствующей сопрягаемой частью соединения. Когда колпачок на дальнем конце имеет форму заглушки или содержит покрывающую пластинку (содержащую или не содержащую вставную часть), колпачок на дальнем конце может быть установлен (предпочтительно при помощи любого из вышеупомянутых средств) на элементе в виде круговой наружной боковой стенки камеры испарения (в качестве соответствующей сопрягаемой части соединения), в частности, на дальнем конце элемента в виде круговой наружной боковой стенки камеры испарения. Когда колпачок на дальнем конце является чашеобразным, колпачок на дальнем конце может быть установлен (предпочтительно при помощи любого из вышеупомянутых средств) на мембране картриджа (в качестве соответствующей сопрягаемой части соединения), при этом мембрана образует элемент в виде общей стенки камеры испарения и камеры-резервуара, в частности, элемент в виде стенки на ближнем конце камеры испарения.
Аналогично колпачку на дальнем конце картридж может дополнительно содержать колпачок на ближнем конце, образующий по меньшей мере элемент в виде ближней стенки камеры-резервуара. Использование колпачка на ближнем конце преимущественно облегчает изготовление картриджа, в частности, так как этим может обеспечиваться возможность изготовления других частей картриджа при помощи экструзии, таких как канал для переноса пара или наружная круговая боковая стенка камеры-резервуара и камеры испарения.
Колпачок на ближнем конце может содержать сквозное отверстие, через которое проходит ближняя концевая часть канала для переноса пара, или в котором она удерживается или заканчивается за одно целое. Это оказывается преимущественным в отношении устойчивого закрепления канала для переноса пара в картридже, а также в отношении надлежащей герметичной посадки между каналом для переноса пара и колпачком на ближнем конце. Надлежащая герметичная посадка, в частности, является важной, когда канал для переноса пара также образует элемент в виде стенки (элемент в виде внутренней стенки) камеры-резервуара. Например, канал для переноса пара может быть образован внутренней трубкой картриджа, которая на ее внутренней стороне обеспечивает сообщение по текучей среде из камеры испарения с областью вблизи камеры-резервуара, а на ее наружной стороне определяет элемент в виде внутренней боковой стенки камеры-резервуара. В этой конфигурации как колпачок на ближнем конце, так и канал для переноса пара образуют элементы в виде стенок камеры-резервуара, и по этой причине стык между обоими компонентами необходимо изолировать для предотвращения утечки жидкости, образующей аэрозоль. В частности, надлежащая герметичная посадка придается самопроизвольно, когда ближний конец канала для переноса пара заканчивается в сквозном отверстии за одно целое, то есть когда по меньшей мере часть канала для переноса пара, предпочтительно весь канал для переноса пара, выполнены за одно целое с колпачком на ближнем конце.
Как установлено выше, колпачок на ближнем конце образует по меньшей мере элемент в виде ближней стенки камеры-резервуара. В частности, колпачок на ближнем конце может образовывать только элемент в виде ближней стенки камеры-резервуара. Соответственно, колпачок на ближнем конце может не являться выполненным за одно целое с любым другим элементом в виде стенки камеры-резервуара, таким как элемент в виде круговой наружной боковой стенки или элемент в виде внутренней боковой стенки камеры-резервуара (являться отдельным от любого из них). Подобным образом колпачок на ближнем конце может не являться выполненным за одно целое с каналом для переноса пара (являться отдельным от него), в частности тогда, когда канал для переноса пара образует элемент в виде стенки (элемент в виде внутренней стенки) камеры-резервуара. То есть колпачок на ближнем конце может являться отдельным от любого элемента в виде стенки камеры-резервуара, отличного от элемента в виде стенки на ближнем конце. И наоборот, в дополнение к элементу в виде ближней стенки камеры-резервуара, колпачок на ближнем конце возможно также образует по меньшей мере одно из элемента в виде круговой наружной боковой стенки и элемента в виде внутренней боковой стенки камеры-резервуара. В этой конфигурации колпачок на ближнем конце может соответствовать цельной основной части, которая дополнительно описана ниже. Также колпачок на ближнем конце может не являться выполненным за одно целое с любым элементом в виде стенки камеры испарения (являться отдельным от любого из них).
Колпачок на ближнем конце может содержать дальнее углубление, образующее дальнюю часть сквозного отверстия, в которой удерживается ближняя концевая часть канала для переноса пара. Внутреннее поперечное сечение дальнего углубления может быть больше внутреннего поперечного сечения ближней части сквозного отверстия, отличной от дальней части. Вследствие этого дальнее углубление образует упор для ближней концевой части канала для переноса пара с целью закрепления положения канала для переноса пара по меньшей мере в ближнем направлении. Кроме того, внутреннее поперечное сечение ближней части сквозного отверстия может соответствовать внутреннему поперечному сечению канала для переноса пара. Как следствие, проход для потока воздуха через канал для переноса пара плавно проходит через ближнюю часть сквозного отверстия, что является преимущественным в отношении беспрепятственного течения потока воздуха/аэрозоля через картридж. Альтернативно внутреннее поперечное сечение ближней части сквозного отверстия может быть больше или меньше внутреннего поперечного сечения канала для переноса пара. Как следствие, проход для потока воздуха через картридж не является плавным, что может вызывать турбулентность течения потока воздуха/аэрозоля. Турбулентное течение потока воздуха/аэрозоля может требоваться для содействия образованию аэрозоля.
Колпачок на ближнем конце может содержать дальнее гнездо для вставки, выступающее в камеру-резервуар, при этом дальнее гнездо для вставки образует дальнюю часть сквозного отверстия, в которой удерживается ближняя концевая часть канала для переноса пара. То есть дальнее гнездо для вставки можно рассматривать как выступ, проходящий в камеру-резервуар, который содержит углубление, образующее дальнюю часть сквозного отверстия. Внутреннее поперечное сечение дальнего гнезда для вставки может быть больше внутреннего поперечного сечения ближней части сквозного отверстия, отличной от дальней части. Вследствие этого, как описано выше в отношении дальнего углубления, дальнее гнездо для вставки образует упор для ближней концевой части канала для переноса пара с целью закрепления положения канала для переноса пара по меньшей мере в ближнем направлении. С целью обеспечения по существу плавного прохода для потока воздуха через картридж, внутреннее поперечное сечение ближней части сквозного отверстия может соответствовать внутреннему поперечному сечению канала для переноса пара. Альтернативно внутреннее поперечное сечение ближней части сквозного отверстия может быть больше или меньше внутреннего поперечного сечения канала для переноса пара с целью содействия турбулентному течению потока воздуха/аэрозоля.
Колпачок на ближнем конце может содержать по меньшей мере одно отверстие для заполнения, предназначенное для заполнения жидкостью, образующей аэрозоль, камеры-резервуара. Отверстие для заполнения в колпачке на ближнем конце обеспечивает удобный доступ во внутреннее пространство релевантной камеры с целью ее заполнения. Для закрытия по меньшей мере одного отверстия для заполнения после заполнения камеры-резервуара жидкостью, образующей аэрозоль, картридж может содержать элемент в виде ближней заглушки, герметично закрывающий по меньшей мере одно отверстие для заполнения колпачка на ближнем конце. В случае, когда колпачок на ближнем конце содержит более одного отверстия для заполнения, элемент в виде ближней заглушки предпочтительно выполнен для закрытия каждого из отверстий для заполнения. Альтернативно картридж может содержать отдельный элемент в виде ближней заглушки для каждого из отверстий для заполнения. Для того чтобы иметь по существу плоскую ближнюю поверхность на ближнем конце картриджа, колпачок на ближнем конце может содержать ближнее углубление, в котором размещается элемент в виде ближней заглушки. Одно или более отверстий для заполнения могут быть расположены смежно со сквозным отверстием колпачка на ближнем конце. Например, колпачок на ближнем конце может содержать два отверстия для заполнения, расположенные сбоку на противоположных сторонах сквозного отверстия. В этой конфигурации элемент в виде ближней заглушки может содержать диск с выступами, герметично посаженными в отверстия для заполнения. Для того чтобы дать аэрозолю возможность свободно покидать картридж в ближнем направлении, элемент в виде ближней заглушки может содержать сквозное отверстие, совпадающее со сквозным отверстием колпачка на ближнем конце. Предпочтительно поперечное сечение сквозного отверстия элемента в виде ближней заглушки соответствует внутреннему поперечному сечению канала для переноса пара для обеспечения плавного прохода для потока воздуха. Альтернативно поперечное сечение сквозного отверстия элемента в виде ближней заглушки может быть больше или меньше внутреннего поперечного сечения канала для переноса пара для содействия турбулентному течению потока воздуха/аэрозоля.
Согласно одному примеру колпачок на ближнем конце может иметь форму заглушки. Колпачок в форме заглушки на ближнем конце может содержать основную часть в форме заглушки, по меньшей мере часть которой вставлена в элемент в виде круговой наружной боковой стенки камеры-резервуара. Основная часть в форме заглушки может также быть полностью вставлена в круговую наружную боковую стенку камеры-резервуара. В целом, основная часть в форме заглушки может иметь форму, в частности форму поперечного сечения, соответствующую форме внутреннего пространства камеры-резервуара, в частности соответствующую форме поперечного сечения внутреннего пространства камеры-резервуара. В контексте данного документа термин «форма поперечного сечения» относится к форме основной части в форме заглушки или внутреннего пространства камеры-резервуара при рассмотрении в поперечном сечении, перпендикулярном продольной оси картриджа. Предпочтительно основная часть в форме заглушки является по существу цилиндрической или усеченно-конической. Основная часть в форме заглушки может содержать круговую манжету, обеспечивающую герметичную посадку колпачка на ближнем конце в картридже, в частности, относительно элемента в виде круговой наружной боковой стенки камеры-резервуара. То есть круговая манжета не вставлена в элемент в виде круговой наружной боковой стенки камеры-резервуара.
Колпачок в форме заглушки на ближнем конце может также содержать покрывающую пластинку. Для полного закрытия камеры-резервуара на ближнем конце картриджа покрывающая пластинка может быть либо вставлена в круговую наружную боковую стенку камеры-резервуара, либо может проходить радиально наружу за пределы формы поперечного сечения внутреннего пространства камеры-резервуара. В последнем случае покрывающая пластинка может дополнительно содержать выступающую манжету, примыкающую к ближнему переднему концу элемента в виде круговой наружной боковой стенки камеры-резервуара. Она также может удерживать колпачок в форме заглушки на ближнем конце в целом, то есть колпачок в форме заглушки на ближнем конце может содержать выступающую манжету, примыкающую к ближнему переднему концу элемента в виде круговой наружной боковой стенки камеры-резервуара.
Колпачок в форме заглушки на ближнем конце может дополнительно содержать, предпочтительно в дополнение к покрывающей пластинке, вставную часть, по меньшей мере частично вставленную в элемент в виде круговой наружной боковой стенки камеры-резервуара. Вставная часть может содержать вставное кольцо, или вставную трубку, или вставной цилиндр, или вставной полый цилиндр, или множество сегментов вставного кольца, или множество вставных штифтов, или множество вставных ребер. Вставная часть по меньшей мере частично может проходить, в частности, от покрывающей пластинки (если она присутствует) к мембране, образующей элемент в виде общей стенки камеры испарения и камеры-резервуара. Она также может удерживать колпачок в форме заглушки на ближнем конце в целом, то есть колпачок в форме заглушки на ближнем конце может по меньшей мере частично проходить, в частности, от покрывающей пластинки (если она присутствует) к мембране, образующей элемент в виде общей стенки камеры испарения и камеры-резервуара. В частности, колпачок в форме заглушки на ближнем конце может содержать по меньшей мере одну, в частности по меньшей мере две, предпочтительно две, три или четыре, опорных стойки. По меньшей мере одна опорная стойка может проходить, предпочтительно, от ближнего конца картриджа, в частности, от покрывающей пластинки (если она присутствует), к мембране, образующей элемент в виде общей стенки камеры испарения и камеры-резервуара. Вследствие этого колпачок в форме заглушки на ближнем конце закреплен на месте по меньшей мере в дальнем направлении у мембраны. Наличие по меньшей мере двух, в частности двух, трех или четырех, опорных стоек преимущественно обеспечивает равномерную опору колпачка на ближнем конце на мембрану. Подробности мембраны уже были дополнительно описаны выше. В частности, по меньшей мере одна опорная стойка может проходить вдоль внутренней поверхности элемента в виде круговой наружной боковой стенки камеры-резервуара.
Согласно другому примеру колпачок на ближнем конце может быть чашеобразным. В частности, чашеобразный колпачок на ближнем конце может содержать нижнюю часть, образующую элемент в виде стенки на ближнем конце камеры-резервуара, и часть в виде гильзы (боковую стенку формы чаши), образующую элемент в виде круговой наружной боковой стенки камеры-резервуара. В этой конфигурации камера-резервуар по существу полностью образована колпачком на ближнем конце за исключением элемента в виде стенки на дальнем конце камеры испарения. Элемент в виде стенки на дальнем конце предпочтительно образован вышеупомянутой мембраной. Наличие элемента в виде круговой наружной боковой стенки и элемента в виде стенки на ближнем конце камеры-резервуара, образованных за одно целое чашеобразным колпачком на ближнем конце, то есть цельным компонентом, преимущественно уменьшает количество компонентов, подлежащих сборке, и, таким образом, упрощает конструирование и сборку картриджей.
В целом, а также в частности тогда, когда колпачок на ближнем конце является отдельным от любого другого элемента в виде стенки камеры-резервуара (не является выполненным за одно целое с любым из них), колпачок на ближнем конце может быть установлен в картридже посредством прессовой посадки или посредством соединения на защелках, или посредством сварки, или посредством клеевого соединения. Прессовая посадка или соединение на защелках, в частности, дает возможность простой сборки колпачка на ближнем конце. Сварка или клеевые соединения обеспечивают удовлетворительную изоляцию стыка между колпачком на ближнем конце и соответствующей сопрягаемой частью соединения. Когда колпачок на ближнем конце имеет форму заглушки или содержит покрывающую пластинку (содержащую или не содержащую вставную часть), колпачок на ближнем конце может быть установлен (предпочтительно при помощи любого из вышеупомянутых средств) на элементе в виде круговой наружной боковой стенки камеры-резервуара (в качестве соответствующей сопрягаемой части соединения), в частности, на дальнем конце элемента в виде круговой наружной боковой стенки камеры-резервуара. Когда колпачок на ближнем конце является чашеобразным, колпачок на ближнем конце может быть установлен (предпочтительно при помощи любого из вышеупомянутых средств) на мембране картриджа (в качестве соответствующей сопрягаемой части соединения), при этом мембрана образует элемент в виде общей стенки камеры испарения и камеры-резервуара, в частности, элемент в виде стенки на дальнем конце камеры-резервуара.
Предпочтительно колпачок на ближнем конце изготовлен из материала, не являющегося индукционно нагреваемым, то есть являющегося неэлектропроводным и немагнитным (не являющегося ферромагнетическим или ферромагнитным). Колпачок на ближнем конце может быть изготовлен из пластика или силикона. Такие материалы обеспечивают надлежащие изоляционные свойства, а также являются дешевыми, что представляет особый интерес в связи с тем, что картридж предпочтительно используется в изделии, генерирующем аэрозоль, выполненном лишь для одноразового использования. Предпочтительно пластик представляет собой термопластический материал, такой как PEEK (полиэфирэфиркетон), для обеспечения удовлетворительной термической стойкости. Колпачок на ближнем конце может быть изготовлен при помощи литья под давлением. То есть колпачок на ближнем конце может представлять собой колпачок на ближнем конце, отлитый под давлением.
Колпачок на ближнем конце предпочтительно определяет самый ближний конец картриджа. То есть другие компоненты, которые выступают за колпачок на ближнем конце в ближнем направлении, отсутствуют. В частности, ближний конец картриджа может не содержать какой-либо соединитель или средство соединения, например, для соединения мундштука с картриджем. Например, когда палочкообразный картридж имеет цилиндрическую форму, картридж может иметь плоскую ближнюю поверхность на его самом ближнем конце.
Картридж может содержать гильзу картриджа. Гильза картриджа может образовывать по меньшей мере одно из элемента в виде круговой наружной боковой стенки камеры испарения (или по меньшей мере его части) и элемента в виде круговой наружной боковой стенки камеры-резервуара (или по меньшей мере его части). В частности, гильза картриджа может проходить вдоль всей протяженности в осевом направлении камеры-резервуара и камеры испарения, то есть предпочтительно вдоль всей протяженности в осевом направлении картриджа.
Гильза картриджа может иметь внутреннее поперечное сечение и наружное поперечное сечение любой формы. В частности, гильза картриджа может иметь круглое, эллиптическое, овальное, треугольное, прямоугольное, квадратное, шестиугольное или многоугольное внутреннее поперечное сечение. Подобным образом гильза картриджа может иметь круглое, эллиптическое, овальное, треугольное, прямоугольное, квадратное, шестиугольное или многоугольное наружное поперечное сечение.
Гильза картриджа может представлять собой трубчатую, в частности цилиндрическую, гильзу или цилиндрическую трубку. Трубчатая гильза, в частности, цилиндрическая гильза или цилиндрическая трубка, является особенно простой для изготовления, в частности, при помощи экструзии. Соответственно, гильза картриджа может представлять собой экструдированную гильзу картриджа.
Предпочтительно гильза картриджа изготовлена из материала, не являющегося индукционно нагреваемым, то есть являющегося неэлектропроводным и немагнитным (не являющегося ферромагнетическим или ферромагнитным). Например, гильза картриджа может быть изготовлена из пластика или силикона. Предпочтительно пластик представляет собой термопластический материал, такой как PEEK (полиэфирэфиркетон), для обеспечения удовлетворительной термической стойкости.
Гильза картриджа может быть скомбинирована с колпачком на дальнем конце, как описано выше, который может быть установлен на дальнем конце гильзы картриджа. Подобным образом гильза картриджа может быть скомбинирована с колпачком на ближнем конце, как описано выше, который может быть установлен на ближнем конце гильзы картриджа. В частности, колпачок на дальнем конце может быть установлен на дальнем конце гильзы картриджа посредством прессовой посадки или посредством соединения на защелках, или посредством сварки, или посредством клеевого соединения. Подобным образом колпачок на ближнем конце может быть установлен на ближнем конце гильзы картриджа посредством прессовой посадки или посредством соединения на защелках, или посредством сварки, или посредством клеевого соединения.
Когда гильза картриджа образует только элемент в виде круговой наружной боковой стенки камеры испарения или элемент в виде круговой наружной боковой стенки обеих из камеры испарения и камеры-резервуара, колпачок на дальнем конце предпочтительно имеет форму заглушки или содержит покрывающую пластинку (содержащую или не содержащую вставную часть), как описано выше. В этой конфигурации колпачок на дальнем конце образует элемент в виде стенки на дальнем конце камеры испарения.
Когда гильза картриджа образует только элемент в виде круговой наружной боковой стенки камеры-резервуара, колпачок на дальнем конце предпочтительно является чашеобразным, как описано выше. В этой конфигурации колпачок на дальнем конце образует как элемент в виде стенки на дальнем конце камеры испарения, так и элемент в виде круговой наружной боковой стенки камеры испарения.
Подобным образом, когда гильза картриджа образует только элемент в виде круговой наружной боковой стенки камеры-резервуара или элемент в виде круговой наружной боковой стенки как камеры испарения, так и камеры-резервуара, колпачок на ближнем конце предпочтительно имеет форму заглушки или содержит покрывающую пластинку (содержащую или не содержащую вставную часть), как описано выше. В этой конфигурации колпачок на ближнем конце образует элемент в виде стенки на ближнем конце камеры-резервуара.
Когда гильза картриджа образует только элемент в виде круговой наружной боковой стенки камеры испарения, колпачок на ближнем конце предпочтительно является чашеобразным, как описано выше. В этой конфигурации колпачок на ближнем конце образует как элемент в виде стенки на ближнем конце камеры-резервуара, так и элемент в виде круговой наружной боковой стенки камеры-резервуара.
Предпочтительно гильза картриджа не является выполненной за одно целое с колпачком на дальнем конце (является отдельной от него). Подобным образом гильза картриджа предпочтительно не является выполненной за одно целое с колпачком на ближнем конце (является отдельной от него).
Для уменьшения количества компонентов, подлежащих сборке, картридж может содержать цельную основную часть, которая содержит ближнюю концевую часть, а также по меньшей мере одну из наружной части в виде гильзы и внутренней части в виде трубки, при этом наружная часть в виде гильзы образует по меньшей мере элемент в виде круговой наружной боковой стенки камеры-резервуара (или по меньшей мере его часть), при этом ближняя концевая часть образует элемент в виде стенки на ближнем конце камеры-резервуара, и при этом внутренняя часть в виде трубки образует канал для переноса пара (или по меньшей мере его часть). Внутренняя часть в виде трубки расположена, в частности соосно, внутри наружной части в виде гильзы и, таким образом, также элемента в виде внутренней стенки камеры-резервуара. Ближняя концевая часть может содержать сквозное отверстие, в которое открывается ближний конец внутренней части в виде трубки канала для переноса пара, в частности, ближний конец внутренней части в виде трубки. Предпочтительно цельная основная часть содержит ближнюю концевую часть и как наружную часть в виде гильзы, так и внутреннюю часть в виде трубки. Преимущественно наружная часть в виде гильзы может также образовывать элемент в виде круговой наружной боковой стенки камеры испарения (или по меньшей мере его часть). Преимущественно такая цельная основная часть облегчает конструирование и сборку картриджа. Ближняя концевая часть может соответствовать вышеописанному колпачку на ближнем конце, образующему элемент в виде стенки на ближнем конце камеры-резервуара.
В частности, наружная часть в виде гильзы может проходить вдоль всей протяженности в длину в осевом направлении камеры-резервуара. Альтернативно наружная часть в виде гильзы может проходить вдоль всей протяженности в длину в осевом направлении камеры-резервуара и камеры испарения, то есть предпочтительно вдоль всей протяженности в осевом направлении картриджа. Внутренняя часть в виде трубки может проходить вдоль всей протяженности в длину в осевом направлении камеры-резервуара, в частности, между ближней концевой частью и мембраной, образующей элемент в виде общей стенки камеры-резервуара и камеры испарения. Дальний конец внутренней части в виде трубки может быть установлен на мембране предпочтительно посредством прессовой посадки или посредством соединения на защелках, или посредством сварки, или посредством клеевого соединения. Подобным образом мембрана может быть установлена на наружной части в виде гильзы предпочтительно посредством прессовой посадки или посредством соединения на защелках, или посредством сварки, или посредством клеевого соединения. Наружная часть в виде гильзы может иметь круглое, эллиптическое, овальное, треугольное, прямоугольное, квадратное, шестиугольное или многоугольное внутреннее поперечное сечение и круглое, эллиптическое, овальное, треугольное, прямоугольное, квадратное, шестиугольное или многоугольное наружное поперечное сечение. Подобным образом внутренняя часть в виде трубки может иметь круглое, эллиптическое, овальное, треугольное, прямоугольное, квадратное, шестиугольное или многоугольное внутреннее поперечное сечение и круглое, эллиптическое, овальное, треугольное, прямоугольное, квадратное, шестиугольное или многоугольное наружное поперечное сечение.
Предпочтительно цельная основная часть скомбинирована с колпачком на дальнем конце, как дополнительно описано выше. То есть цельная основная часть не является выполненной за одно целое с колпачком на дальнем конце (является отдельной от него). Колпачок на дальнем конце может быть установлен на дальнем конце цельной основной части, в частности, посредством прессовой посадки или посредством соединения на защелках, или посредством сварки, или посредством клеевого соединения. Когда наружная часть в виде гильзы образует элемент в виде круговой наружной боковой стенки как камеры испарения, так и камеры-резервуара, колпачок на дальнем конце предпочтительно имеет форму заглушки или содержит покрывающую пластинку (содержащую или не содержащую вставную часть), как описано выше. В этой конфигурации колпачок на дальнем конце образует элемент в виде стенки на дальнем конце камеры испарения. Когда наружная часть в виде гильзы образует только элемент в виде круговой наружной боковой стенки камеры-резервуара, колпачок на дальнем конце предпочтительно является чашеобразным, как описано выше. В этой конфигурации колпачок на дальнем конце образует как элемент в виде стенки на дальнем конце камеры испарения, так и элемент в виде круговой наружной боковой стенки камеры испарения. Предпочтительно цельная основная часть изготовлена из материала, не являющегося индукционно нагреваемым, то есть являющегося неэлектропроводным и немагнитным (не являющегося ферромагнитным или ферромагнитным). Например, цельная основная часть может быть изготовлена из пластика или силикона. Предпочтительно пластик представляет собой термопластический материал, такой как PEEK (полиэфирэфиркетон), для обеспечения удовлетворительной термической стойкости. Цельная основная часть может быть изготовлена при помощи литья под давлением. То есть цельная основная часть может представлять собой цельную основную часть, отлитую под давлением.
Канал для переноса пара может быть расположен внутри элемента в виде круговой наружной боковой стенки элемента в виде резервуара. Когда элемент в виде круговой наружной боковой стенки элемента в виде резервуара образован гильзой картриджа, как описано выше, канал для переноса пара может быть расположен внутри гильзы картриджа, в частности, соосно относительно гильзы картриджа.
Как установлено выше, канал для переноса пара предпочтительно образует элемент в виде внутренней боковой стенки камеры-резервуара. Наличие канала для переноса пара, также образующего элемент в виде внутренней боковой стенки камеры-резервуара, обеспечивает возможность весьма компактной конструкции картриджа. В этой конфигурации объем камеры-резервуара может иметь по существу форму кольца, в частности, полую цилиндрическую форму.
Канал для переноса пара может проходить вдоль протяженности в длину в осевом направлении камеры-резервуара, в частности, между ближним концом камеры-резервуара и дальним концом камеры-резервуара, более конкретно, между колпачком на ближнем конце (как описано выше) и мембраной, образующей элемент в виде общей стенки камеры-резервуара и камеры испарения.
В частности, картридж может содержать внутреннюю трубку, образующую канал для переноса пара. В частности, внутренняя трубка может являться аналогичной внутренней части в виде трубки вышеописанной цельной основной части, также отдельной от любого другого элемента в виде стенки камеры-резервуара, такого как колпачок на ближнем конце и мембрана. То есть внутренняя трубка предпочтительно не является выполненной за одно целое с любым элементом в виде стенки камеры-резервуара, отличным от элемента в виде круговой внутренней боковой стенки камеры-резервуара.
Внутренняя трубка может проходить вдоль всей протяженности в длину в осевом направлении камеры-резервуара, в частности, между колпачком на ближнем конце и мембраной, образующей элемент в виде общей стенки камеры-резервуара и камеры испарения. Дальний конец внутренней трубки может быть установлен на мембране, например, в ближнем углублении или ближнем гнезде для вставки мембраны. Подобным образом ближний конец внутренней трубки может быть установлен в колпачке на ближнем конце, например, в дальнем углублении или дальнем гнезде для вставки колпачка на ближнем конце. Предпочтительно внутренняя трубка может быть установлена на мембране и колпачке на ближнем конце посредством прессовой посадки или посредством соединения на защелках, или посредством сварки, или посредством клеевого соединения.
Канал для переноса пара, в частности внутренняя трубка, может являться цилиндрическим. Цилиндрическая форма является особенно простой для изготовления, в частности, с помощью экструзии. Соответственно, канал для переноса пара может представлять собой экструдированный канал для переноса пара. В частности, внутренняя трубка может представлять собой экструдированную внутреннюю трубку.
Канал для переноса пара, в частности внутренняя трубка, может иметь круглое, эллиптическое, овальное, треугольное, прямоугольное, квадратное, шестиугольное или многоугольное внутреннее поперечное сечение. Подобным образом канал для переноса пара, в частности внутренняя трубка, может иметь круглое, эллиптическое, овальное, треугольное, прямоугольное, квадратное, шестиугольное или многоугольное наружное поперечное сечение.
Предпочтительно канал для переноса пара, в частности внутренняя трубка, изготовлен из материала, не являющегося индукционно нагреваемым, то есть являющегося неэлектропроводным и немагнитным (не являющегося ферромагнитным или ферромагнитным). Например, гильза картриджа может быть изготовлена из пластика или силикона. Предпочтительно пластик представляет собой термопластический материал, такой как PEEK (полиэфирэфиркетон), для обеспечения удовлетворительной термической стойкости.
В контексте данного документа термин «переносящее жидкость токоприемное приспособление» (сусцептор) относится к токоприемному приспособлению, выполненному с возможностью выполнения двух функций: переноса и нагрева жидкости, образующей аэрозоль. Подобным образом переносящее жидкость токоприемное приспособление можно рассматривать как индукционно нагреваемый канал для жидкости. Использование такого переносящего жидкость токоприемного приспособления преимущественно уменьшает количество требуемых компонентов и, таким образом, облегчает изготовление картриджа, так как это позволяет избежать наличия отдельных средств для переноса и нагрева жидкости, образующей аэрозоль. В контексте данного документа термин «токоприемное приспособление» относится к компоненту, содержащему по меньшей мере один токоприемный материал, выполненный с возможностью преобразования электромагнитной энергии в тепло при воздействии на него переменного магнитного поля. Это может быть результатом по меньшей мере одного из потерь на гистерезис или вихревых токов, индуцированных в токоприемном материале, в зависимости от электрических и магнитных свойств токоприемного материала. Потери на гистерезис происходят в ферромагнитных или ферримагнитных токоприемных материалах в связи с переключением магнитных доменов внутри материала под влиянием переменного электромагнитного поля. Вихревые токи индуцируются в электропроводящих токоприемных материалах. В случае электропроводящего ферромагнитного или ферримагнитного токоприемного материала тепло генерируется посредством как вихревых токов, так и потерь на гистерезис.
В целом, переносящее жидкость токоприемное приспособление может иметь любую форму и конфигурацию, которые являются подходящими для переноса жидкости, образующей аэрозоль, из камеры-резервуара в камеру испарения. В частности, переносящее жидкость токоприемное приспособление может содержать фитильный элемент. Конфигурация фитильного элемента может представлять собой многопроволочный провод, многопроволочный канат из материала, сетку, сетчатую трубку, несколько концентрических сетчатых трубок, ткань, листы материала или пеноматериал (или другое пористое твердое вещество) с достаточной пористостью, рулон металлической сетки с мелкими отверстиями или какую-либо другую компоновку металлической фольги, волокна или сетку или любую другую геометрию, которая имеет соответствующий размер и конфигурацию для осуществления капиллярного действия, как описано в данном документе.
В частности, переносящее жидкость токоприемное приспособление может содержать пучок нитей, содержащий множество нитей. Предпочтительно пучок нитей представляет собой пучок нескрученных нитей. В пучке нескрученных нитей нити пучка нитей проходят рядом друг с другом, не пересекаясь друг с другом, предпочтительно по всей протяженности в длину пучка нитей. Подобным образом пучок нитей может содержать скрученную часть, в которой нити пучка нитей скручены. Скрученная часть может повысить механическую стабильность пучка нитей. Использование нитей для переноса жидкостей является особенно преимущественным, поскольку нити по своей природе обеспечивают капиллярное действие. Более того, в пучке нитей капиллярное действие дополнительно усиливается благодаря узким промежуткам, образующимся между множествами нитей при их связывании в пучок. В частности, это относится к параллельному расположению нитей вдоль которой капиллярное действие является постоянным, поскольку узкие промежутки между нитями не изменяются вдоль параллельного расположения.
В качестве примера, пучок нитей может содержать часть пучка с параллельным размещением нитей вдоль по меньшей мере части его протяженности в длину, в которой множество нитей могут быть расположены параллельно друг другу. Часть пучка с параллельным размещением нитей может располагаться на одной концевой части пучка нитей или между обеими концевыми частями пучка нитей. В качестве альтернативы часть пучка с параллельным размещением нитей может проходить по всему размеру по длине пучка нитей.
В качестве другого примера пучок нитей может содержать первый участок пропитки, второй участок пропитки и промежуточный участок между первым участком пропитки и вторым участком пропитки. Вдоль по меньшей мере промежуточного участка множество нитей может быть расположено параллельно друг другу. Что касается конкретной конфигурации изделия, имеющего зону резервуара и зону испарения, каждый из первого участка пропитки и второго участка пропитки может быть расположен по меньшей мере частично в камере-резервуаре, тогда как промежуточный участок может быть расположен в камере испарения. В частности, пучок нитей может иметь по существу U-образную, или C-образную, или V-образную форму, при этом каждый из первого участка пропитки и второго участка пропитки могут по меньшей мере частично образовывать плечо, соответственно, U-образной, или C-образной, или V-образной формы, и при этом промежуточный участок может образовывать основание, соответственно, U-образной, или C-образной, или V-образной формы. То есть плечи U-образного, или C-образного, или V-образного пучка нитей могут быть расположены по меньшей мере частично в камере-резервуаре, тогда как основание U-образного, или C-образного, или V-образного пучка нитей может быть расположено в камере испарения.
Пучок нитей может также представлять собой линейный пучок нитей, то есть по существу прямолинейный, неизогнутый или некриволинейный пучок нитей, при этом одна концевая часть пучка нитей может быть расположена в камере испарения, а другая концевая часть пучка нитей может быть расположена в камере-резервуаре.
Переносящее жидкость токоприемное приспособление может содержать по меньшей мере первый токоприемный материал. Дополнительно переносящее жидкость токоприемное приспособление может содержать второй токоприемный материал. Например, переносящее жидкость токоприемное приспособление может содержать множество первых нитей, содержащих первый токоприемный материал или изготовленных из него, и множество вторых нитей, содержащих второй токоприемный материал или изготовленных из него.
Тогда как первый токоприемный материал может быть оптимизирован относительно потери тепла и, таким образом, эффективности нагрева, второй токоприемный материал может быть использован в качестве температурного маркера. Для этого второй токоприемный материал предпочтительно содержит один из ферримагнитного материала или ферромагнитного материала. В частности, второй токоприемный материал может быть выбран таким образом, чтобы иметь температуру Кюри, соответствующую заданной температуре нагрева. Магнитные свойства второго токоприемного материала при его температуре Кюри изменяются с ферромагнитных или ферримагнитных на парамагнитные, что сопровождается временным изменением его электрического сопротивления. Таким образом, путем отслеживания соответствующего изменения электрического тока, поглощаемого источником индукции, можно обнаружить, когда второй токоприемный материал достиг своей температуры Кюри и, таким образом, когда была достигнута заданная температура нагрева.
Предпочтительно картридж имеет по существу цилиндрическую форму. Картридж может иметь круглое, эллиптическое, овальное, треугольное, прямоугольное, квадратное, шестиугольное или многоугольное наружное поперечное сечение.
Картридж может иметь протяженность в длину в диапазоне от 20 миллиметров до 90 миллиметров, в частности, от 30 миллиметров до 40 миллиметров, например, 38 миллиметров. Подобным образом картридж может иметь диаметр в диапазоне от 4 миллиметров до 12 миллиметров, в частности, от 5 миллиметров до 10 миллиметров, например, 7,5 миллиметра.
Камера-резервуар может иметь протяженность в длину в диапазоне от 10 миллиметров до 60 миллиметров, в частности, от 20 миллиметров до 40 миллиметров, например, 25 миллиметров.
Камера испарения может иметь протяженность в длину в диапазоне от 5 миллиметров до 50 миллиметров, в частности, от 10 миллиметров до 30 миллиметров, например, 12 миллиметров или 13 миллиметров, или 15 миллиметров.
Камера-резервуар может иметь объем в диапазоне от 100 кубических миллиметров до 6000 кубических миллиметров, в частности, от 400 кубических миллиметров до 1000 кубических миллиметров.
Камера испарения может иметь объем в диапазоне от 100 кубических миллиметров до 6000 кубических миллиметров, в частности, от 400 кубических миллиметров до 1000 кубических миллиметров.
Камера-резервуар может быть заполнена по меньшей мере одним жидким субстратом, образующим аэрозоль, то есть жидкостью, образующей аэрозоль. Альтернативно камера-резервуар может являться пустой. В этой конфигурации картридж можно рассматривать как пустой картридж для изготовления изделия, генерирующего аэрозоль, который подлежит заполнению жидким субстратом, образующим аэрозоль, и, возможно, сборке с другими компонентами, например, с мундштуком, результатом чего является готовое изделие. Камера-резервуар может быть выполнена так, что она является повторно заполняемой, например, через отверстия для заполнения в колпачке на ближнем конце или в мембране, как дополнительно упомянуто выше.
В контексте данного документа термин «жидкость, образующая аэрозоль» относится к жидкости, способной высвобождать летучие соединения, которые могут образовывать аэрозоль при нагреве жидкости, образующей аэрозоль. Жидкость, образующая аэрозоль, предназначена для нагрева. Жидкость, образующая аэрозоль, может содержать как твердые, так и жидкие материалы, образующие аэрозоль, или компоненты. Жидкость, образующая аэрозоль, может содержать табакосодержащий материал, содержащий летучие табачные вкусоароматические соединения, которые высвобождаются из жидкости при нагреве. Альтернативно или дополнительно жидкость, образующая аэрозоль, может содержать нетабачный материал. Жидкость, образующая аэрозоль, может дополнительно содержать вещество для образования аэрозоля. Примерами подходящих веществ для образования аэрозоля являются глицерин и пропиленгликоль. Жидкость, образующая аэрозоль, также может содержать другие добавки и ингредиенты, такие как никотин или ароматизаторы. В частности, жидкость, образующая аэрозоль, может содержать воду, растворители, этанол, растительные экстракты и натуральные или искусственные ароматизаторы. Жидкость, образующая аэрозоль, может представлять собой жидкость, образующую аэрозоль, на водной основе или жидкость, образующую аэрозоль, на масляной основе.
Настоящее изобретение дополнительно относится к палочкообразному изделию, генерирующему аэрозоль, для использования с устройством, генерирующим аэрозоль, с индукционным нагревом. Это изделие содержит картридж согласно настоящему изобретению, описанный в данном документе, при этом камера испарения расположена в дальней концевой части изделия.
В контексте данного документа термин «изделие, генерирующее аэрозоль» относится к расходной части, предназначенной для использования с устройством, генерирующим аэрозоль, с индукционным нагревом, в частности, к расходной части, подлежащей утилизации после однократного использования. Альтернативно изделие может быть выполнено для многократных использований. Для этого камера-резервуар картриджа изделия может быть выполнена с возможностью повторного заполнения, как дополнительно описано выше. В частности, изделие может быть выполнено с возможностью вставки в устройство, генерирующее аэрозоль, с индукционным нагревом. Предпочтительно изделие, генерирующее аэрозоль, содержит по меньшей мере одну жидкость, которая хранится в камере-резервуаре картриджа и предназначена для нагрева, а не для сжигания, и которая при нагреве высвобождает летучие соединения, которые могут образовывать аэрозоль.
Изделие может содержать мундштук в ближней концевой части изделия. То есть мундштук предпочтительно расположен вблизи картриджа. В контексте данного документа термин «мундштук» относится к части изделия, которая может быть размещена во рту пользователя для непосредственно вдыхания аэрозоля из изделия. Предпочтительно мундштук расположен смежно с камерой-резервуаром, в частности, смежно с элементом в виде стенки на ближнем конце камеры-резервуара. В частности, мундштук может примыкать к камере-резервуару, в частности, смежно с элементом в виде стенки на ближнем конце камеры-резервуара.
Мундштук может находиться в сообщении по текучей среде с камерой испарения посредством канала для переноса пара. Предпочтительно канал для переноса пара непосредственно открывается в проход для текучей среды через мундштук. Для этого мундштук может содержать впускное отверстие для пара на дальнем конце мундштука и выпускное отверстие для пара на ближнем конце мундштука для высвобождения испаряемой жидкости из изделия. Проход для текучей среды через мундштук проходит от впускного отверстия для пара до выпускного отверстия для пара.
Мундштук может содержать по меньшей мере одно из ацетатной заглушки фильтра, полой ацетатной трубки, пластиковой трубки и элемента, охлаждающего аэрозоль. Фильтр может быть использован для фильтрации от нежелательных компонентов аэрозоля. Мундштук может также содержать дополнительный материал, например, ароматизирующий материал, подлежащий добавлению в аэрозоль. Полая ацетатная трубка или пластиковая трубка может содержать центральный проход для воздуха. Элемент, охлаждающий аэрозоль, может обеспечивать возможность охлаждения аэрозоля, выходящего из канала для переноса пара картриджа. Элемент, охлаждающий аэрозоль, может представлять собой элемент, имеющий большую площадь поверхности и низкое сопротивление затяжке, например, от 15 мм вод.ст. до 20 мм вод.ст.
Мундштук может иметь протяженность в длину в диапазоне от 3 миллиметров до 15 миллиметров, в частности, от 5 миллиметров до 10 миллиметров, например, 7 миллиметров.
Как дополнительно упомянуто выше, изделие может дополнительно содержать первую обертку, обернутую по окружности вокруг камеры испарения и камеры-резервуара и предпочтительно, в случае ее наличия, вокруг по меньшей мере дальней части мундштука. Преимущественно обертка может служить для удерживания мундштука и картриджа вместе. Результатом этого является изделие, имеющее палочкообразную наружную форму, аналогичную или идентичную уже предусмотренным изделиям, содержащим твердые субстраты, и которое, таким образом, является совместимым для использования с уже предусмотренными устройствами, генерирующими аэрозоль. В частности, обертка может способствовать приданию изделию зрительного и осязательного подобия традиционным сигаретам. Для этой же цели изделие может дополнительно содержать вторую обертку, обернутую по окружности вокруг мундштука и предпочтительно вокруг ближней концевой части картриджа поверх первой обертки. Вторая обертка может дополнительно увеличивать зрительное и осязательное подобие традиционным сигаретам. Первая обертка и, если она присутствует, вторая обертка могут представлять собой бумажную обертку. Также может быть возможно, что вторая обертка обернута вокруг мундштука и предпочтительно вокруг ближней концевой части картриджа, и что впоследствии первую обертку обертывают поверх второй обертки вокруг камеры испарения и камеры-резервуара, а также вокруг по меньшей мере дальней части мундштука. Первая и вторая обертки могут быть обернуты вокруг мундштука и картриджа так, что свободные концы соответствующей обертки перекрывают друг друга. Каждая из первой обертки и второй обертки может содержать клей, склеивающий свободные концы соответствующей обертки друг с другом.
Предпочтительно изделие имеет по существу цилиндрическую форму. Гильза изделия может иметь круглое, эллиптическое, овальное, треугольное, прямоугольное, квадратное, шестиугольное или многоугольное наружное поперечное сечение.
Элемент в виде стенки на дальнем конце камеры испарения, в частности, колпачок на дальнем конце картриджа, если он присутствует, может определять самый дальний конец изделия.
Изделие может иметь протяженность в длину в диапазоне от 23 миллиметров до 65 миллиметров, в частности, от 35 миллиметров до 50 миллиметров, например, 45 миллиметров.
Дополнительные признаки и преимущества изделия, генерирующего аэрозоль, согласно настоящему изобретению уже были описаны в отношении картриджа согласно настоящему изобретению и, таким образом, являются в равной степени применимыми.
Согласно настоящему изобретению также предоставлена система, генерирующая аэрозоль, содержащая изделие, генерирующее аэрозоль, согласно настоящему изобретению, которое описано в данном документе как изделие.
В контексте данного документа термин «устройство, генерирующее аэрозоль» описывает электрическое устройство, способное взаимодействовать с по меньшей мере одним изделием, генерирующим аэрозоль, содержащим по меньшей мере одну жидкость, образующую аэрозоль, например, для генерирования аэрозоля посредством индукционного нагрева жидкости, образующей аэрозоль, внутри камеры испарения при помощи токоприемного приспособления изделия. Предпочтительно устройство, генерирующее аэрозоль, представляет собой устройство для затяжки для генерирования аэрозоля, непосредственно вдыхаемого пользователем через рот пользователя. В частности, устройство, генерирующее аэрозоль, является удерживаемым рукой устройством, генерирующим аэрозоль.
Устройство может содержать приемную полость для размещения с возможностью извлечения по меньшей мере части изделия, генерирующего аэрозоль, в частности, по меньшей мере части камеры испарения изделия.
Устройство, генерирующее аэрозоль, содержит приспособление для индукционного нагрева, выполненное и расположенное таким образом, чтобы генерировать переменное магнитное поле в приемной полости с целью индукционного нагрева жидкости, образующей аэрозоль, в изделии, генерирующем аэрозоль, когда изделие размещено в устройстве, генерирующем аэрозоль.
Для генерирования переменного магнитного поля устройство, генерирующее аэрозоль, с индукционным нагревом, в частности, приспособление для индукционного нагрева, может содержать по меньшей мере одну индукционную катушку, окружающую по меньшей мере часть переносящего жидкость токоприемного приспособления, размещенную в камере испарения, когда изделие размещено в полости устройства. В частности, индукционная катушка может окружать исключительно часть переносящего жидкость токоприемного приспособления, которая размещена в камере испарения, когда изделие размещено в полости устройства. Предпочтительно индукционная катушка расположена вокруг приемной полости, в частности, вокруг той части приемной полости, в которой камера испарения размещена тогда, когда изделие размещено в полости устройства, более конкретно, вокруг той части приемной полости, в которой размещена часть камеры испарения, содержащая часть переносящего жидкость токоприемного приспособления, когда изделие размещено в полости устройства. По меньшей мере одна индукционная катушка может представлять собой винтовую катушку или плоскую катушку планарного типа, в частности, дисковую катушку или изогнутую катушку планарного типа.
Приспособление для индукционного нагрева может содержать генератор переменного тока (AC). Генератор переменного тока может получать питание от блока питания устройства, генерирующего аэрозоль. Генератор переменного тока функционально соединен с по меньшей мере одной индукционной катушкой. В частности, по меньшей мере одна индукционная катушка может быть неотделимой частью генератора переменного тока. Генератор переменного тока выполнен с возможностью генерирования высокочастотного колебательного тока для прохождения через по меньшей мере одну индукционную катушку для генерирования переменного магнитного поля. Переменный ток можно подавать на по меньшей мере одну индукционную катушку непрерывно после активации системы или можно подавать с перерывами, например от затяжки к затяжке.
Предпочтительно приспособление для индукционного нагрева содержит преобразователь постоянного тока в переменный, содержащий индуктивно-емкостную сеть, при этом индуктивно-емкостная сеть содержит последовательное соединение конденсатора и индуктора. Преобразователь постоянного тока в переменный может быть подключен к блоку питания постоянного тока.
Приспособление для индукционного нагрева предпочтительно выполнено для генерирования высокочастотного магнитного поля. В контексте данного документа высокочастотное магнитное поле может находиться в диапазоне от 500 кГц (килогерц) до 30 МГц (мегагерц), в частности, от 5 МГц (мегагерц) до 15 МГц (мегагерц), предпочтительно от 5 МГц (мегагерц) до 10 МГц (мегагерц).
Устройство, генерирующее аэрозоль, может дополнительно содержать контроллер, выполненный с возможностью управления ходом процесса нагрева, предпочтительно в конфигурации с обратной связью, в частности, для управления нагревом жидкости, образующей аэрозоль, до заданной рабочей температуры. Рабочая температура, используемая для нагрева жидкости, образующей аэрозоль, может находиться в диапазоне от 100 градусов Цельсия до 300 градусов Цельсия, в частности, от 150 градусов Цельсия до 250 градусов Цельсия, например, быть равной 230 градусов Цельсия.
Контроллер может представлять собой общий контроллер устройства, генерирующего аэрозоль, или может являться его частью. Контроллер может содержать микропроцессор, например, программируемый микропроцессор, микроконтроллер, или специализированную интегральную схему (ASIC), или другую электронную схему, способную обеспечивать управление. Контроллер может содержать дополнительные электронные компоненты, такие как по меньшей мере один преобразователь постоянного тока в переменный и/или усилители мощности, например, усилитель мощности класса С или усилитель мощности класса D, или усилитель мощности класса E. В частности, источник индукции может быть частью контроллера.
Устройство, генерирующее аэрозоль, может содержать блок питания, в частности, блок питания постоянного тока, выполненный с возможностью обеспечения напряжения питания постоянного тока и тока питания постоянного тока для источника индукции. Предпочтительно блок питания представляет собой батарею, такую как литий-железо-фосфатная батарея. Блок питания может быть перезаряжаемым. Блок питания может иметь емкость, которая позволяет накапливать достаточно энергии для одного или более применений пользователем. Например, блок питания может иметь достаточную емкость для обеспечения возможности непрерывного генерирования аэрозоля в течение периода, составляющего приблизительно шесть минут, или в течение периода, который является кратным шести минутам. В другом примере блок питания может иметь достаточную емкость для обеспечения возможности осуществления заданного количества затяжек или отдельных активаций источника индукции.
Устройство, генерирующее аэрозоль, может дополнительно содержать концентратор потока, расположенный вокруг по меньшей мере части индукционной катушки и выполненный с возможностью искажения переменного магнитного поля индукционной катушки в направлении приемной полости. Таким образом, когда изделие размещено в приемной полости, переменное магнитное поле искажается в направлении токоприемного приспособления. Предпочтительно концентратор потока содержит фольгу концентратора потока, в частности, многослойную фольгу концентратора потока.
Дополнительные признаки и преимущества системы, генерирующей аэрозоль, согласно настоящему изобретению уже были описаны в отношении картриджа и изделия, генерирующего аэрозоль, согласно настоящему изобретению и, таким образом, являются в равной степени применимыми.
В целом, в контексте данного документа участки или компоненты картриджа, изделия, генерирующего аэрозоль, или устройства, генерирующего аэрозоль, находящиеся вблизи рта пользователя при использовании системы, обозначены с помощью определения «ближний». Участки, расположенные дальше, обозначены с помощью определения «дальний».
Настоящее изобретение определено в формуле изобретения. Однако ниже предоставлен не являющийся исчерпывающим перечень неограничивающих примеров. Любые один или более из признаков этих примеров можно комбинировать с любыми одним или более признаками другого примера, варианта осуществления или аспекта, описанных в данном документе.
Example Ex1: Картридж палочкообразного изделия, генерирующего аэрозоль, для использования с устройством, генерирующим аэрозоль, с индукционным нагревом, причем картридж содержит:
камеру испарения в дальней концевой части картриджа для испарения в ней жидкости, образующей аэрозоль;
камеру-резервуар вблизи камеры испарения для хранения жидкости, образующей аэрозоль;
мембрану, образующую элемент в виде общей стенки камеры испарения и камеры-резервуара;
переносящее жидкость токоприемное приспособление, выполненное и расположенное так, чтобы переносить жидкость, образующую аэрозоль, из камеры-резервуара в камеру испарения, а также индукционно нагреваться при использовании с устройством для испарения жидкости, образующей аэрозоль, внутри камеры испарения;
канал для переноса пара, обеспечивающий сообщение по текучей среде для испаряемой жидкости, образующей аэрозоль, из камеры испарения к области вблизи камеры-резервуара; при этом мембрана содержит сквозное отверстие, через которое канал для переноса пара проходит, или в котором он удерживается в дальней концевой части.
Example Ex2: Картридж согласно примеру Ex1, в котором мембрана содержит ближнее углубление, образующее ближнюю часть сквозного отверстия, в которой удерживается дальняя концевая часть канала для переноса пара.
Example Ex3: Картридж согласно примеру Ex2, в котором внутреннее поперечное сечение ближнего углубления больше внутреннего поперечного сечения дальней части сквозного отверстия, отличной от ближней части.
Example Ex4: Картридж согласно примеру Ex3, в котором внутреннее поперечное сечение дальней части сквозного отверстия соответствует внутреннему поперечному сечению канала для переноса пара.
Example Ex5: Картридж согласно любому из предыдущих примеров, в котором мембрана содержит ближнее гнездо для вставки, выступающее в камеру-резервуар, при этом ближнее гнездо для вставки образует ближнюю часть сквозного отверстия, в которой удерживается дальняя концевая часть канала для переноса пара.
Example Ex6: Картридж согласно примеру Ex5, в котором внутреннее поперечное сечение ближнего гнезда для вставки больше внутреннего поперечного сечения дальней части сквозного отверстия, отличной от ближней части.
Example Ex7: Картридж согласно примеру Ex6, в котором внутреннее поперечное сечение дальней части сквозного отверстия соответствует внутреннему поперечному сечению канала для переноса пара.
Example Ex8: Картридж согласно любому из предыдущих примеров, в котором мембрана является отдельной от любого другого элемента в виде стенки камеры испарения и камеры-резервуара.
Example Ex9: Картридж согласно любому из предыдущих примеров, в котором мембрана изготовлена из РЕЕК или силикона.
Example Ex10: Картридж согласно любому из предыдущих примеров, в котором переносящее жидкость токоприемное приспособление проходит сквозь мембрану.
Example Ex11: Картридж согласно любому из предыдущих примеров, в котором мембрана содержит одно или более проходных отверстий, через которые проходит переносящее жидкость токоприемное приспособление.
Example Ex12: Картридж согласно примеру Ex11, содержащий по меньшей мере одно уплотнительное кольцо для каждого одного из одного или более проходных отверстий мембраны, расположенное в соответствующем проходном отверстии или около него.
Example Ex13: Картридж согласно примеру Ex12, в котором по меньшей мере одно уплотнительное кольцо выполнено при помощи накладного формования вокруг части переносящего жидкость токоприемного приспособления.
Example Ex14: Картридж согласно любому из примеров Ex12 и Ex13, в котором по меньшей мере одно уплотнительное кольцо изготовлено из РЕЕК или силикона.
Example Ex15: Картридж согласно любому из предыдущих примеров, в котором переносящее жидкость токоприемное приспособление неподвижно удерживается мембраной.
Example Ex16: Картридж согласно любому из предыдущих примеров, в котором мембрана содержит по меньшей мере одно отверстие для заполнения, предназначенное для заполнения жидкостью, образующей аэрозоль, камеры-резервуара через камеру испарения.
Example Ex17: Картридж согласно примеру Ex16, содержащий элемент в виде дальней заглушки, герметично закрывающий по меньшей мере одно отверстие для заполнения мембраны.
Example Ex18: Картридж согласно примеру Ex17, в котором элемент в виде дальней заглушки прикреплен к колпачку на дальнем конце, который образует по меньшей мере элемент в виде стенки на дальнем конце камеры испарения, в частности, является его неотделимой частью.
Example Ex19: Картридж согласно любому из примеров Ex17-Ex18, в котором элемент в виде дальней заглушки не является выполненным за одно целое с любым элементом в виде стенки камеры-резервуара.
Example Ex20: Картридж согласно любому из примеров Ex17-Ex19, в котором элемент в виде дальней заглушки изготовлен из пластика или силикона.
Example Ex21: Картридж согласно любому из предыдущих примеров, в котором мембрана установлена в картридже посредством прессовой посадки или посредством соединения на защелках, или посредством сварки.
Example Ex22: Картридж согласно любому из предыдущих примеров, в котором мембрана содержит круговую манжету, обеспечивающую герметичную посадку мембраны в картридже, в частности, относительно гильзы картриджа, образующей меньшей мере одно из элемента в виде круговой стенки камеры испарения и элемента в виде круговой стенки камеры-резервуара.
Example Ex23: Палочкообразное изделие, генерирующее аэрозоль, для использования с устройством, генерирующим аэрозоль, с индукционным нагревом, причем изделие содержит картридж согласно любому из предыдущих примеров, при этом камера испарения расположена в дальней концевой части изделия.
Example Ex24: Изделие согласно примеру Ex23, дополнительно содержащее мундштук в ближней концевой части изделия.
Example Ex25: Система, генерирующая аэрозоль, содержащая изделие, генерирующее аэрозоль, согласно любому из примеров Ex23-Ex24 и устройство, генерирующее аэрозоль, с индукционным нагревом для использования с изделием.
Example Ex26: Система, генерирующая аэрозоль, согласно примеру 25, в которой устройство, генерирующее аэрозоль, содержит приемную полость для размещения с возможностью извлечения по меньшей мере части изделия, генерирующего аэрозоль, в частности, по меньшей мере части камеры испарения изделия.
Example Ex27: Система, генерирующая аэрозоль, согласно примеру 26, в которой устройство, генерирующее аэрозоль, содержит индукционную катушку, окружающую по меньшей мере часть переносящего жидкость токоприемного приспособления, размещенную в камере испарения, когда изделие размещено в полости устройства.
Теперь будут дополнительно описаны примеры со ссылкой на фигуры, на которых:
на фиг. 1 схематически проиллюстрирована общая конструкция и компоненты изделия, генерирующего аэрозоль, согласно настоящему изобретению;
на фиг. 2 показано изделие, генерирующее аэрозоль, согласно первому варианту осуществления настоящего изобретения;
на фиг. 3 показана система, генерирующая аэрозоль, согласно настоящему изобретению, содержащая устройство, генерирующее аэрозоль, с индукционным нагревом и изделие, генерирующее аэрозоль, согласно фиг. 2;
на фиг. 4-7 показаны подробности картриджа согласно варианту осуществления, который используется в изделии, генерирующем аэрозоль, согласно фиг. 2;
на фиг. 8-11 показаны подробности второго варианта осуществления картриджа, который можно альтернативно использовать в изделии, генерирующем аэрозоль, согласно фиг. 2;
на фиг. 12, 13 показаны подробности третьего варианта осуществления картриджа, который можно альтернативно использовать в изделии, генерирующем аэрозоль, согласно фиг. 2; и
на фиг. 14-16 показаны подробности четвертого варианта осуществления картриджа, который можно альтернативно использовать в изделии, генерирующем аэрозоль, согласно фиг. 2.
На фиг. 1 схематически проиллюстрирован покомпонентный вид общей конструкции и компонентов палочкообразного изделия 1, генерирующего аэрозоль, согласно настоящему изобретению. Как будет более подробно описано ниже в отношении фиг. 3, изделие 1, генерирующее аэрозоль, выполнено для использования с устройством, генерирующим аэрозоль, с индукционным нагревом для испарения жидкости 19, образующей аэрозоль, предоставляемой изделием 1, генерирующим аэрозоль.
Изделие 1, генерирующее аэрозоль, показанное на фиг. 1, содержит два основных компонента: цилиндрический картридж 10 для хранения и испарения в нем жидкости 19, образующей аэрозоль, а также цилиндрический мундштук 90, через который пользователь может делать затяжку для обеспечения потока воздуха через изделие 1 (как указано пунктирной стрелкой 21), которым увлекаются летучие соединения, высвобождающиеся из жидкости 19, образующей аэрозоль, и конденсируются с образованием аэрозоля, покидающего изделие 1 на ближнем конце 92 мундштука 90.
Согласно настоящему изобретению картридж 10 содержит камеру 11 испарения в дальней концевой части картриджа 10 для испарения в ней жидкости, образующей аэрозоль. Камера 11 испарения содержит два впускных отверстия 13 для воздуха, обеспечивающие возможность поступления воздуха в изделие, когда пользователь делает затяжку через мундштук 90. Картридж 10 дополнительно содержит камеру-резервуар 12 вблизи камеры 11 испарения для хранения жидкости 19, образующей аэрозоль. Кроме того, картридж 10 содержит переносящее жидкость токоприемное приспособление 40, выполненное и расположенное так, чтобы переносить жидкость 19, образующую аэрозоль, из камеры-резервуара 12 в камеру 11 испарения. Дополнительно переносящее жидкость токоприемное приспособление 40 выполнено и расположено так, чтобы индукционно нагреваться при подвергании действию переменного магнитного поля при использовании с соответствующим устройством, генерирующим аэрозоль, для испарения жидкости 19, образующей аэрозоль, внутри камеры 11 испарения. Кроме того, картридж 10 содержит канал 20 для переноса пара, обеспечивающий сообщение по текучей среде для воздуха и испаренной жидкости, образующей аэрозоль, из камеры 11 испарения к области вблизи камеры-резервуара 13, то есть к мундштуку 90, который расположен смежно с элементом 14 в виде стенки на ближнем конце камеры-резервуара 12. Как также может быть видно на фиг. 1, мундштук 90 согласно настоящему примеру содержит полую ацетатную трубку, обеспечивающую центральный проход 91 для текучей среды через мундштук 90, в который непосредственно открывается канал 20 для переноса пара, обеспечивая возможность выхода аэрозоля, образующегося внутри изделии, из изделия через выпускное отверстие для пара прохода 91 для текучей среды на ближнем конце 92 мундштука 90.
Картридж 10 и мундштук 90 представляют собой отдельные части, которые могут быть изготовлены отдельно, в частности, в разных местоположениях, а затем собраны друг с другом с образованием изделия 1, генерирующего аэрозоль, согласно настоящему изобретению. Для сборки цилиндрический мундштук 90, имеющий приблизительно такие же форму поперечного сечения и диаметр, как цилиндрический картридж 10, может быть расположен смежно с картриджем 10 вблизи камеры-резервуара 12 так, что он примыкает к элементу 14 в виде стенки на ближнем конце камеры-резервуара 12. Впоследствии, как указано на фиг. 1, первая обертка 95 может быть обернута вокруг по меньшей мере осевой части картриджа 10 и мундштука 90 для удерживания мундштука 90 и картриджа 10 вместе. Как также указано на фиг. 1, вторая обертка 96 может быть круговым образом обернута вокруг мундштука 90 и предпочтительно вокруг ближней концевой части картриджа 10 поверх первой обертки 95. Первая обертка 95 и вторая обертка 96 могут быть обернуты вокруг мундштука 90 и картриджа 10 так, что свободные концы соответствующей обертки 95, 96 перекрывают друг друга. Каждая из первой обертки и второй обертки может содержать клей, склеивающий свободные концы соответствующей обертки друг с другом. В конечном итоге, результатом этого процесса является изделие 1, генерирующее аэрозоль, имеющее палочкообразную наружную форму, аналогичную или идентичную уже предусмотренным изделиям, содержащим твердые субстраты, например, как описано в документе WO 2015/177294 A1.
Первый иллюстративный вариант осуществления такого изделия 101 показан на фиг. 2. Элементы, идентичные или аналогичные элементам общей конструкции изделия, схематически показанной на фиг. 1, обозначены одинаковыми ссылочными позициями, но с увеличением на 100. Дополнительные подробности изделия 101, в частности, картриджа 110 и его компонентов, дополнительно описаны ниже со ссылкой на фиг. 4-7. Согласно общей конструкции изделия изделие 101 содержит цилиндрический картридж 110 и цилиндрический мундштук 190, образованный полой ацетатной трубкой, которые расположены соосно рядом друг с другом и обернуты первой и второй бумажными обертками 195, 196. Картридж 110 содержит цилиндрическую гильзу 170 картриджа, образующую цельный элемент 117 в виде круговой наружной боковой стенки камеры 111 испарения и элемент 116 в виде круговой наружной боковой стенки камеры-резервуара 112. Картридж 110 дополнительно содержит колпачок 130 на ближнем конце, который образует элемент 114 в виде стенки на ближнем конце камеры-резервуара 112. Подобным образом картридж 110 содержит колпачок 150 на дальнем конце, который образует элемент 115 в виде стенки на дальнем конце камеры 111 испарения. Как колпачок 130 на ближнем конце, так и колпачок 150 на дальнем конце установлены при помощи прессовой посадки, соответственно, в ближнем отверстии и дальнем отверстии гильзы 170 картриджа. Картридж дополнительно содержит дискообразную мембрану 160, которая образует элемент в виде общей стенки камеры 111 испарения и камеры-резервуара 112 и, таким образом, разделяет внутреннее пространство камеры 111 испарения с внутренним пространством камеры-резервуара 112. Подобно колпачку 130 на ближнем конце и колпачку 150 на дальнем конце дискообразная мембрана 160 установлена при помощи прессовой посадки в гильзе 170 картриджа между ее обоими концами так, что внутреннее пространство гильзы 170 картриджа делится в отношении приблизительно 1 к 3.
Для переноса жидкости 119, образующей аэрозоль, которая хранится в камере-резервуаре 112, в камеру 111 испарения картридж 110 согласно настоящему варианту осуществления содержит переносящее жидкость токоприемное приспособление 140, образованное U-образным пучком 141 нитей, который содержит множество нитей, расположенных параллельно одна другой. Вследствие параллельного расположения нитей в пучке между множеством нитей образуются узкие пространства, которые обеспечивают капиллярное действие и, таким образом, способны переносить жидкость вдоль протяженности нитей в длину. По меньшей мере часть нитей изготовлена из индукционно нагреваемого материала, например, нержавеющей стали. Поэтому пучок 141 нитей способен выполнять две функции: переноса и нагрева жидкости, образующей аэрозоль. Как может быть видно на фиг. 2, U-образный пучок 141 нитей содержит основание и два плеча, при этом плечи проходят через соответствующие проходные отверстия 161 в мембране 160. Соответствующая дальняя часть каждого плеча расположена в камере-резервуаре 112 для пропитки жидкостью 119, образующей аэрозоль. Поэтому дальние части двух плеч можно обозначить как участки 142 пропитки. Напротив, основание и соответствующая ближняя часть каждого плеча расположены внутри камеры испарения для образования участка 143 испарения, который является индукционно нагреваемым при подвергании действию переменного магнитного поля. При этом жидкость 119, образующая аэрозоль, которая была перенесена из камеры-резервуара 112 посредством участков 142 пропитки к участку 143 испарения, испаряется внутри камеры 111 испарения. Для того чтобы обеспечить возможность поступления воздуха в изделие 101 для генерирования аэрозоля, камера 111 испарения содержит два впускных отверстия 113 для воздуха на дальнем конце изделия 101. Для переноса воздуха и испаренной жидкости в ближнем направлении в мундштук 190 картридж 110 согласно настоящему варианту осуществления содержит внутреннюю трубку 121, которая образует канал 120 для переноса, обеспечивающий сообщение по текучей среде между камерой 111 испарения и центральным проходом 191 мундштука 190. Дополнительные подробности колпачка 130 на ближнем конце, колпачка 150 на дальнем конце, внутренней трубки 121 и мембраны 160 дополнительно описаны ниже со ссылкой на фиг. 4-7.
Вследствие палочкообразной наружной формы и расположения камеры 111 испарения в дальней концевой части цилиндрического изделия 101, изделие 101 является совместимым для использования с устройством 3, генерирующим аэрозоль, с индукционным нагревом, которое уже предусмотрено для расходных частей с твердыми субстратами, как будет описано теперь в отношении фиг. 3. Вследствие этого устройство можно универсальным образом использовать с разными видами изделий для генерирования аэрозолей из разных видов субстратов, образующих аэрозоль, в частности, как из твердых, так и из жидких субстратов.
На фиг. 3 схематически проиллюстрирована система 2, генерирующая аэрозоль, согласно иллюстративному варианту осуществления настоящего изобретения. Система 2 содержит изделие 101, генерирующее аэрозоль, которое показано на фиг. 2, а также устройство 3, генерирующее аэрозоль, с индукционным нагревом, которое способно взаимодействовать с изделием 101 для генерирования аэрозоля. Для этого устройство 3, генерирующее аэрозоль, содержит приемную полость 4, образованную внутри корпуса устройства на ближнем конце устройства 3. Приемная полость 4 выполнена с возможностью размещения с возможностью извлечения по меньшей мере части изделия 101, генерирующего аэрозоль. В частности, устройство 3, генерирующее аэрозоль, выполнено с возможностью индукционного нагрева участка 143 нагрева пучка 141 нитей до температуры, которая является достаточной для испарения жидкости, образующей аэрозоль, переносимой из камеры-резервуара 112 в участок 143 нагрева посредством участков 142 пропитки. Для этого устройство 3 содержит приспособление для индукционного нагрева, содержащее индукционную катушку 5. В настоящем варианте осуществления индукционная катушка 5 представляет собой единственную винтовую катушку, расположенную вокруг ближней концевой части приемной полости 4 так, что она окружает только участок 143 нагрева переносящего жидкость токоприемного приспособления 140, когда изделие 101 размещено в полости 4. Соответственно, при приведении индукционной катушки 5 в действие с помощью переменного тока при использовании устройства 3 индукционная катушка 5 генерирует переменное магнитное поле, проникающее главным образом в участок 143 нагрева в камере 111 испарения изделия 101. В отличие от этого, вследствие местного нагрева участки 142 пропитки U-образного пучка 141 нитей остаются при температурах ниже температуры испарения. Таким образом, предотвращается кипение жидкости 191, образующей аэрозоль, внутри камеры-резервуара 112. Поэтому в ходе работы переносящее жидкость токоприемное приспособление 140 имеет температурный профиль, демонстрирующий повышение температуры от температур ниже температуры испарения жидкости 191, образующей аэрозоль, в участках 142 пропитки до температур выше соответствующей температуры испарения в участке 143 нагрева. Устройство 3, генерирующее аэрозоль, дополнительно содержит контроллер 6 для управления работой всей системы 2, в частности, для управления операцией нагрева. К тому же, устройство 3, генерирующее аэрозоль, содержит блок 7 питания, обеспечивающий электрическую мощность для генерирования переменного магнитного поля. Предпочтительно блок 7 питания представляет собой батарею, такую как литий-железо-фосфатная батарея. Блок 7 питания может иметь емкость, которая позволяет накапливать достаточно энергии для одного или более применений пользователем. Как контроллер 6, так и блок 7 питания расположены в дальней части устройства 3, генерирующего аэрозоль.
При использовании системы 2, когда пользователь делает затяжку через мундштук 190, воздух втягивается в полость 4 на краю отверстия 8 для вставки изделия. Затем поток воздуха проходит в направлении дальнего конца полости 4 через проход, образованный между внутренней поверхностью цилиндрической полости 4 и наружной поверхностью изделия 101. На дальнем конце полости 4 поток воздуха поступает в камеру 111 испарения через впускные отверстия 113 для воздуха. Из нее поток воздуха проходит дальше через канал 120 для переноса пара в мундштук 190, через который он в конечном итоге покидает изделие 101. В камере 111 испарения испаренная жидкость 119, образующая аэрозоль, увлекается потоком воздуха. При дальнейшем прохождении через канал 120 для переноса пара и центральный проход 191 для воздуха мундштука 190 поток воздуха и испаренной жидкости 119 охлаждается с образованием аэрозоля, который покидает изделие 101 через мундштук 190.
Обращаясь к фиг. 4-7, ниже описаны дополнительные подробности картриджа 110 изделия 101 согласно фиг. 2-3. На фиг. 4 представлен увеличенный вид согласно фиг. 2, на котором не показан мундштук 190 и первая и вторая обертки 195, 196. Подобным образом на фиг. 5 представлен вид в изометрии картриджа 110 согласно фиг. 2. На фиг. 6 показан вид спереди мембраны 160 при рассмотрении в ближнем направлении, тогда как на фиг. 7 показан вид в изометрии колпачка 150 на дальнем конце.
Как может быть видно на фиг. 4 и фиг. 5, внутренняя трубка 121, образующая канал 120 для переноса пара, представляет собой цилиндрическую трубку, имеющую круглое внутреннее поперечное сечение и круглое наружное поперечное сечение. Предпочтительно внутренняя трубка 121 изготовлена из пластика. Вследствие цилиндрической формы ее можно преимущественно изготовить при помощи экструзии. Как дополнительно может быть видно на фиг. 4 и фиг. 5, внутренняя трубка 121 проходит соосно с гильзой 170 картриджа от колпачка 130 на ближнем конце к мембране 160 вдоль всей протяженности в длину в осевом направлении камеры-резервуара 112. Таким образом, внутренняя трубка 121 также образует элемент в виде внутренней боковой стенки камеры-резервуара 112. Вследствие этого объем камеры-резервуара 112 является по существу полым цилиндрическим. В частности, внутренняя трубка 121 не является выполненной за одно целое с колпачком 130 в форме заглушки на ближнем конце и дискообразной мембраной 160 (является выполненной отдельно от них). Как лучше всего может быть видно на фиг. 4, колпачок 130 на ближнем конце содержит сквозное отверстие 135 в продолжении сообщения по текучей среде, обеспечиваемого каналом 120 для переноса пара. В частности, колпачок 130 на ближнем конце содержит дальнее углубление 136, образующее дальнюю часть сквозного отверстия 135, в которой удерживается ближняя концевая часть внутренней трубки 121. Внутреннее поперечное сечение дальнего углубления 136 больше внутреннего поперечного сечения остальной ближней части 137 сквозного отверстия 135. Вследствие этого дальнее углубление 136 образует упор для внутренней трубки 121 с целью закрепления ее положения в ближнем направлении. Внутреннее поперечное сечение ближней части 137 сквозного отверстия 135 соответствует внутреннему поперечному сечению внутренней трубки 121, таким образом, проход для потока воздуха через канал 120 для переноса пара плавно продолжается через ближнюю часть 137 сквозного отверстия 135.
Аналогичным образом, дальняя концевая часть внутренней трубки 121 удерживается в сквозном отверстии 165 мембраны 160, которое соединяет канал 120 для переноса пара с камерой 111 испарения. Подобно колпачку 130 на ближнем конце мембрана 160 содержит ближнее углубление 166, образующее ближнюю часть сквозного отверстия 165, в которой в дальней концевой части удерживается канал для переноса пара. Внутреннее поперечное сечение ближнего углубления 166 больше внутреннего поперечного сечения остальной дальней части 167 сквозного отверстия 165, чтобы обеспечивать упор для внутренней трубки 121 в дальнем направлении. Для обеспечения плавного продолжения прохода для потока воздуха из камеры 111 испарения в канал 120 для переноса пара внутреннее поперечное сечение дальней части 167 сквозного отверстия 165 соответствует внутреннему поперечному сечению внутренней трубки 121. То, что оба конца внутренней трубки 121 удерживаются в углублениях 136, 166, оказывается особенно преимущественным в отношении надлежащей герметичной посадки между каналом 140 для переноса пара и элементами в виде стенок на концах камеры-резервуара 112.
Как уже описано выше, мембрана 160 также содержит два проходных отверстия 161, через которые проходят плечи U-образного пучка 141 нитей. Размеры поперечных сечений проходных отверстий 161 выбраны так, что переносящее жидкость токоприемное приспособление 140 неподвижно удерживается мембраной 160. Преимущественно переносящее жидкость токоприемное приспособление 140 закрепляют в мембране 160 перед сборкой картриджа 110 для облегчения сборки. Как показано на фиг. 6, мембрана дополнительно содержит два отверстия 169 для заполнения, расположенные сбоку на противоположных сторонах сквозного отверстия 165 для заполнения жидкостью 191, образующей аэрозоль, камеры-резервуара 112 через камеру 111 испарения перед установкой на дальнем конце гильзы 170 картриджа колпачка 150 на дальнем конце.
Кроме того, мембрана 160 содержит круговую манжету 168, которая имеет форму поперечного сечения, соответствующую форме внутреннего поперечного сечения гильзы 170 картриджа. Таким образом, манжета 168 служит для неподвижной установки мембраны 160 в картридже 110 при помощи прессовой посадки. Дополнительно манжета 168 обеспечивает герметичную посадку мембраны 160 относительно внутренней поверхности гильзы 170 картриджа, предотвращая таким образом утечку жидкости, образующей аэрозоль, из камеры-резервуара 112 в камеру испарения.
Основная часть в форме заглушки колпачка 130 на ближнем конце, которая полностью вставляется в ближний конец гильзы 170 картриджа, также имеет форму поперечного сечения, соответствующую внутреннему поперечному сечению гильзы 170 картриджа. Вследствие этого колпачок 130 на ближнем конце также герметично и неподвижно устанавливается в гильзе 170 картриджа при помощи прессовой посадки.
Как колпачок 130 на ближнем конце, так и мембрана предпочтительно изготовлены из силикона. Силикон имеет надлежащие изоляционные свойства и является дешевым, что представляет особый интерес в связи с тем, что картридж 110 предпочтительно используется в изделии 101, генерирующем аэрозоль, выполненном лишь для одноразового использования. Также силикон не является индукционно нагреваемым, что предотвращает излишнее рассеяние энергии, обеспечиваемой посредством переменного магнитного поля, в мембране 160 и колпачке 130 на ближнем конце.
Как лучше всего может быть видно на фиг. 7 в комбинации с фиг. 4 и фиг. 5, колпачок 150 в форме заглушки на дальнем конце содержит покрывающую пластинку 151 и вставную часть 152. Покрывающая пластинка 151 проходит радиально наружу за пределы вставной части 152 и внутреннего поперечного сечения гильзы 170 картриджа так, что она примыкает к дальнему переднему концу гильзы 170 картриджа. Вставная часть 152 вставлена в дальнюю концевую часть гильзы 170 картриджа, которая образует элемент 117 в виде круговой наружной боковой стенки камеры 111 испарения. В настоящем варианте осуществления вставная часть 152 содержит вставное кольцо 153 и две опорные стойки 154, проходящие вдоль внутренней поверхности элемента 117 в виде круговой наружной боковой стенки камеры 111 испарения. Длина опорных стоек 154 выбрана такой, что стойки 154 примыкают к мембране 160, и покрывающая пластинка 151 примыкает к дальнему переднему концу гильзы 170 картриджа, когда заглушка 150 на дальнем конце установлена в картридже 110. Вследствие этого колпачок 150 на дальнем конце закреплен на месте в ближнем направлении. И наоборот, мембрана 160 закреплена в дальнем направлении, а также посредством внутренней трубки 121 и колпачка на ближнем конце, также в ближнем направлении.
Дополнительно колпачок 150 в форме заглушки на дальнем конце содержит на ближнем конце каждой опорной стойки 154 элемент 159 в виде заглушки для герметичного закрытия отверстий 169 для заполнения в мембране 160, когда заглушка 150 на дальнем конце установлена в картридже 110. Преимущественно эта конфигурация дает возможность изоляции отверстий 169 для заполнения и закрытия дальнего конца камеры 111 испарения за один этап путем установки колпачка 150 в форме заглушки на дальнем конце.
Согласно настоящему варианту осуществления впускные отверстия 113 для воздуха в камере 111 испарения образованы в колпачке 150 на дальнем конце. Как лучше всего может быть видно на фиг. 7, каждое впускное отверстие 113 для воздуха содержит воздушную вентиляционную канавку 157, образованную в наружной поверхности колпачка 150 на дальнем конце, обращенной к гильзе 117 картриджа, то есть в наружной поверхности вставного кольца 153 и наружной части покрывающей пластинки 151.
Предпочтительно колпачок 150 на дальнем конце и картридж 117 изготовлены из РЕЕК для обеспечения удовлетворительной термической стойкости изделия 101. Дополнительно РЕЕК не является индукционно нагреваемым и, таким образом, предотвращает ожог пользователя при прикосновении к изделию 101 вскоре после процесса нагрева.
На фиг. 8-11 показан второй вариант осуществления картриджа 210 согласно настоящему изобретению, который можно альтернативно использовать в изделии, генерирующем аэрозоль, согласно фиг. 2. Общая установка этого картриджа аналогична установке картриджа, показанного на фиг. 4-7. Следовательно, идентичные или подобные признаки обозначены одинаковыми ссылочными позициями, но с увеличением на 100. В отличие от первого варианта осуществления согласно фиг. 4-7, картридж 210 согласно фиг. 8-11 содержит цилиндрическую внутреннюю трубку 221, имеющую эллиптическое внутреннее и наружное поперечные сечения. Преимущественно эллиптическое поперечное сечение обеспечивает больше свободного пространства в камере-резервуаре для расположения участков 242 пропитки пучка 241 нитей по обе стороны от главной оси эллиптической внутренней трубки 221. Соответственно, сквозное отверстие 235 в колпачке 230 на ближнем конце и сквозное отверстие 265 в мембране 260 также имеют эллиптическое поперечное сечение, соответствующее размерам и ориентации эллиптического внутреннего и наружного поперечных сечений внутренней трубки 221.
Кроме того, в отличие от первого варианта осуществления согласно фиг. 4-7, мембрана 260 картриджа 210 согласно фиг. 8-11 содержит ближнее гнездо 266 для вставки, выступающее в камеру-резервуар 212. Подробности мембраны 260, в частности ближнего гнезда 266 для вставки, показаны на фиг. 10. Ближнее гнездо 260 для вставки образует ближнюю часть сквозного отверстия 265, в которой удерживается дальняя концевая часть внутренней трубки 221. Таким образом, ближнее гнездо 266 для вставки можно рассматривать как выступ, проходящий в камеру-резервуар 212, которая содержит углубление, образующее ближнюю часть сквозного отверстия 265. Эллиптическое внутреннее поперечное сечение ближнего гнезда 266 для вставки больше эллиптического внутреннего поперечного сечения остальной дальней части 267 сквозного отверстия 265, таким образом, обеспечивается упор для дальней концевой части внутренней трубки 221 в дальнем направлении. Для обеспечения по существу плавного прохода для потока воздуха через картридж 210 эллиптическое внутреннее поперечное сечение дальней части 267 сквозного отверстия 265 соответствует эллиптическому внутреннему поперечному сечению внутренней трубки 221.
Как дополнительно может быть видно на фиг. 10, мембрана 260 картриджа 210 согласно второму варианту осуществления не содержит какие-либо отверстия для заполнения, в отличие от первого варианта осуществления согласно фиг. 4-7. Вместо этого, как показано на фиг. 11, колпачок 230 на ближнем конце содержит два отверстия 239 для заполнения, расположенные сбоку на противоположных сторонах эллиптического сквозного отверстия 235 для заполнения жидкостью 291, образующей аэрозоль, камеры-резервуара 212 через ближний конец картриджа 210. Для герметичного закрытия отверстий 239 для заполнения после заполнения камеры-резервуара 212 картридж 210 содержит элемент 233 в виде ближней заглушки, подробности которого также показаны на фиг. 11. Для того чтобы иметь по существу плоскую ближнюю поверхность на ближнем конце картриджа 210, колпачок 230 на ближнем конце содержит ближнее углубление 231, в котором размещается элемент 233 в виде ближней заглушки. Одно или более отверстий для заполнения могут быть расположены смежно со сквозным отверстием 235 колпачка на ближнем конце. Например, колпачок на ближнем конце может содержать два отверстия для заполнения, расположенные сбоку на противоположных сторонах сквозного отверстия. Элемент 233 в виде ближней заглушки содержит диск 232 с выступами 238, герметично посаженными в отверстия 239 для заполнения колпачка 230 на ближнем конце. Для того чтобы дать аэрозолю возможность свободно покидать картридж 210 в ближнем направлении, элемент 233 в виде ближней заглушки содержит сквозное отверстие 234 в диске 232, совпадающее со сквозным отверстием 235 колпачка 230 на ближнем конце. Предпочтительно поперечное сечение сквозного отверстия 234 элемента в виде ближней заглушки соответствует внутреннему поперечному сечению канала 220 для переноса пара для обеспечения плавного прохода для потока воздуха.
На фиг. 12, 13 показан третий вариант осуществления картриджа 310 согласно настоящему изобретению, который можно альтернативно использовать в изделии, генерирующем аэрозоль, согласно фиг. 2. Общая установка этого картриджа аналогична установке картриджа, показанного на фиг. 4-7. Следовательно, идентичные или подобные признаки обозначены одинаковыми ссылочными позициями, но с увеличением на 200. В отличие от первого варианта осуществления согласно фиг. 4-7, картридж 310 согласно фиг. 12, 13 не содержит цилиндрическую гильзу картриджа, а чашеобразный колпачок 330 на ближнем конце и чашеобразный колпачок 350 на дальнем конце. Чашеобразный колпачок 330 на ближнем конце содержит нижнюю часть 331, образующую элемент 314 в виде стенки на ближнем конце камеры-резервуара 312, и часть 332 в виде гильзы (боковую стенку формы чаши), образующую элемент 315 в виде круговой наружной боковой стенки камеры-резервуара 312. Подобным образом чашеобразный колпачок 350 на дальнем конце содержит нижнюю часть 351, образующую элемент 315 в виде стенки на дальнем конце камеры 311 испарения, и часть 352 в виде гильзы (боковую стенку формы чаши), образующую элемент 317 в виде круговой наружной боковой стенки камеры 311 испарения. В этой конфигурации камера-резервуар 312 и камера испарения по существу полностью образованы, соответственно, колпачком 330 на ближнем конце и колпачком 350 на дальнем конце. Недостающие элементы в виде стенок образованы мембраной 360, которая также используется в качестве соединительного звена, к которому колпачок 330 на ближнем конце и колпачок 350 на дальнем конце крепятся при помощи прессовой посадки. Как может быть видно на фиг. 12, мембрана 360 содержит круговой выступ 363, к которому примыкают дальняя поверхность части 332 в виде гильзы и ближняя поверхность части 352 в виде гильзы.
Дополнительно, в отличие от первого варианта осуществления согласно фиг. 4-7, чашеобразный колпачок 330 на ближнем конце картриджа 210 согласно фиг. 12, 13, подобно мембране 260 согласно фиг. 8-11, содержит дальнее гнездо 336 для вставки, выступающее в камеру-резервуар 312, которое образует сквозное отверстие 335, и в котором удерживается ближняя концевая часть канала 320 для переноса пара.
На фиг. 14-16 показан четвертый вариант осуществления картриджа 410 согласно настоящему изобретению, который можно альтернативно использовать в изделии, генерирующем аэрозоль, согласно фиг. 2. Общая установка этого картриджа аналогична установке картриджа, показанного на фиг. 4-7. Следовательно, идентичные или подобные признаки обозначены одинаковыми ссылочными позициями, но с увеличением на 300. В отличие от первого варианта осуществления согласно фиг. 4-7, картридж 410 согласно фиг. 14-16 не содержит гильзу картриджа, внутреннюю трубку и колпачок на ближнем конце, которые являются отдельными друг от друга. Вместо этого картридж 410 содержит цельную основную часть 480, содержащую ближнюю концевую часть 483, наружную часть 487 в виде гильзы и внутреннюю часть 482 в виде трубки, расположенную соосно внутри наружной части 487 в виде гильзы. Наружная часть 487 виде гильзы проходит вдоль всей протяженности в длину в осевом направлении камеры-резервуара 412 и камеры 411 испарения и, таким образом, образует элемент 416 в виде круговой наружной боковой стенки камеры-резервуара 412, а также элемент 417 в виде круговой наружной боковой стенки камеры 411 испарения. Ближняя концевая часть 483 образует элемент 414 в виде стенки на ближнем конце камеры-резервуара 412, содержащий сквозное отверстие 485, в которое открывается ближний конец внутренней части 482 в виде трубки. Внутренняя часть 482 в виде трубки образует канал 420 для переноса пара и одновременно элемент в виде внутренней стенки полой цилиндрической камеры-резервуара 412. В настоящем варианте осуществления внутренняя часть 482 в виде трубки проходит вдоль всей протяженности в длину в осевом направлении камеры-резервуара 412 и проходит дальше через сквозное отверстие 465 мембраны 460 в камеру 411 испарения. Преимущественно такая цельная основная часть 410 облегчает конструирование и сборку картриджа 410. Ближняя концевая часть может соответствовать вышеописанному колпачку на ближнем конце, образующему элемент в виде стенки на ближнем конце камеры-резервуара. Подобно другим вариантам осуществления мембрана 460 установлена внутри наружной части 487 в виде гильзы предпочтительно посредством прессовой посадки или посредством соединения на защелках, или посредством сварки, или посредством клеевого соединения с использованием манжеты 468. Цельная основная часть 480 скомбинирована с колпачком 450 на дальнем конце, как дополнительно описано выше, который не является выполненным за одно целое с цельной основной частью 480 и устанавливается на дальнем конце цельной основной части 480 посредством прессовой посадки или посредством соединения на защелках, или посредством сварки, или посредством клеевого соединения. Как цельная основная часть 480, так и колпачок 450 на дальнем конце предпочтительно отлиты под давлением с использованием РЕЕК для предотвращения ожога пользователя при прикосновении к изделию, содержащему картридж 410, вскоре после процесса нагрева.
Обращаясь к фиг. 16, картридж 410 дополнительно содержит уплотнительные кольца 449 для каждого из проходных отверстий 461 мембраны 460. В настоящем варианте осуществления уплотнительные кольца 449 выполнены при помощи накладного формования вокруг тех частей переносящего жидкость токоприемного приспособления 440, которые проходят через проходные отверстия 461. Преимущественно это, в частности, обеспечивает удовлетворительную изоляцию и облегчает сборку картриджа 410. Предпочтительно пучок 441 нитей, образующий переносящее жидкость токоприемное приспособление 440, выполнен при помощи накладного формования с уплотнительными кольцами 449 перед сборкой картриджа 410.
Для целей настоящего описания и приложенной формулы изобретения, за исключением случаев, в которых указано иное, все числа, выражающие величины, количества, процентные доли и т.д., следует понимать как модифицированные во всех случаях термином «приблизительно». Кроме того, все диапазоны включают раскрытые точки максимума и минимума и включают любые промежуточные диапазоны между ними, которые могут быть или не быть конкретно перечислены в данном документе. Поэтому в данном контексте число А следует понимать как А±5 процентов А. В этом контексте число А можно считать включающим численные значения, находящиеся в пределах обычной стандартной ошибки для измерения свойства, которое число А модифицирует. Число А в некоторых случаях при использовании в приложенной формуле изобретения может отклоняться на перечисленные выше процентные доли при условии, что величина, на которую отклоняется А, существенно не влияет на основную и новую характеристику(-и) заявленного изобретения. Кроме того, все диапазоны включают раскрытые точки максимума и минимума и включают любые промежуточные диапазоны между ними, которые могут быть или не быть конкретно перечислены в данном документе.
Изобретение относится к картриджу (110) для палочкообразного изделия, генерирующего аэрозоль, для использования с устройством, генерирующим аэрозоль, с индукционным нагревом. Картридж содержит камеру (111) испарения в дальней концевой части картриджа для испарения в ней жидкости, образующей аэрозоль, а также камеру-резервуар (112) вблизи камеры испарения для хранения жидкости, образующей аэрозоль. Картридж дополнительно содержит мембрану (160), образующую элемент в виде общей стенки камеры испарения и камеры-резервуара, а также переносящее жидкость токоприемное приспособление (140), выполненное и расположенное так, чтобы переносить жидкость, образующую аэрозоль, из камеры-резервуара в камеру испарения, а также индукционно нагреваться при использовании с устройством для испарения жидкости, образующей аэрозоль, внутри камеры испарения. Дополнительно картридж содержит канал (120) для переноса пара, обеспечивающий сообщение по текучей среде для испаряемой жидкости, образующей аэрозоль, из камеры испарения к области вблизи камеры-резервуара. Мембрана содержит сквозное отверстие, через которое канал для переноса пара проходит или в котором он удерживается в дальней концевой части, и по меньшей мере одно отверстие (169) для заполнения, предназначенное для заполнения жидкостью, образующей аэрозоль, камеры-резервуара через камеру испарения. Настоящее изобретение дополнительно относится к изделию, генерирующему аэрозоль, содержащему такой картридж, а также к системе, генерирующей аэрозоль, содержащей такое изделие. Технический результат заключается в упрощении конструкции и ее технологичности. 2 н. и 13 з.п. ф-лы, 16 ил.
1. Картридж для палочкообразного изделия для генерирования аэрозоля, причем изделие предназначено для использования с устройством для генерирования аэрозоля с индукционным нагревом, при этом картридж содержит:
камеру испарения в дистальной концевой части картриджа для испарения в ней жидкости, образующей аэрозоль;
камеру-резервуар у камеры испарения для хранения жидкости, образующей аэрозоль;
мембрану, образующую элемент в виде общей стенки камеры испарения и камеры-резервуара;
переносящее жидкость сусцепторное приспособление, выполненное и расположенное для переноса жидкости, образующей аэрозоль, из камеры-резервуара в камеру испарения и для его индукционного нагрева при использовании с устройством с испарением жидкости, образующей аэрозоль, внутри камеры испарения;
канал для переноса пара, обеспечивающий сообщение по текучей среде для испаряемой жидкости, образующей аэрозоль, из камеры испарения к области у камеры-резервуара; при этом мембрана содержит сквозное отверстие, через которое проходит канал для переноса пара, или в котором он удерживается в дистальной концевой части,
при этом мембрана содержит по меньшей мере одно отверстие для заполнения, предназначенное для заполнения жидкостью, образующей аэрозоль, камеры-резервуара через камеру испарения.
2. Картридж по п. 1, в котором мембрана содержит проксимальное углубление, образующее проксимальную часть сквозного отверстия, в которой удерживается дистальная концевая часть канала для переноса пара.
3. Картридж по п. 2, в котором внутреннее поперечное сечение проксимального углубления больше внутреннего поперечного сечения дистальной части сквозного отверстия, отличной от проксимальной части.
4. Картридж по любому одному из предыдущих пунктов, в котором мембрана содержит проксимальное гнездо для вставки, выступающее в камеру-резервуар, при этом проксимальное гнездо для вставки образует проксимальную часть сквозного отверстия, в которой удерживается дистальная концевая часть канала для переноса пара.
5. Картридж по п. 4, в котором внутреннее поперечное сечение проксимального гнезда для вставки больше внутреннего поперечного сечения дистальной части сквозного отверстия, отличной от проксимальной части.
6. Картридж по любому одному из предыдущих пунктов, в котором мембрана выполнена отдельно от любого другого элемента в виде стенки камеры испарения и камеры-резервуара.
7. Картридж по любому одному из предыдущих пунктов, в котором мембрана содержит одно или более проходных отверстий, через которые проходит переносящее жидкость сусцепторное приспособление.
8. Картридж по п. 7, содержащий по меньшей мере одно уплотнительное кольцо для каждого одного из одного или более проходных отверстий мембраны, расположенное в соответствующем проходном отверстии или у него.
9. Картридж по п. 8, в котором по меньшей мере одно уплотнительное кольцо выполнено посредством накладного формования вокруг части переносящего жидкость сусцепторного приспособления.
10. Картридж по любому одному из предыдущих пунктов, в котором переносящее жидкость сусцепторное приспособление жестко удерживается мембраной.
11. Картридж по любому одному из предыдущих пунктов, дополнительно содержащий элемент в виде дистальной заглушки, герметично закрывающей по меньшей мере одно отверстие для заполнения мембраны.
12. Картридж по п. 11, в котором элемент в виде дистальной заглушки выполнен отдельно от любого элемента в виде стенки камеры-резервуара.
13. Картридж по п. 11, в котором элемент в виде дистальной заглушки прикреплен к колпачку на дистальном конце, который образует по меньшей мере элемент в виде стенки на дистальном конце камеры испарения, или выполнен за одно целое с ним.
14. Картридж по любому одному из предыдущих пунктов, в котором мембрана содержит круговую манжету, обеспечивающую герметичную посадку мембраны в картридже, в частности, относительно гильзы картриджа, образующей по меньшей мере одно из элемента в виде круговой стенки камеры испарения и элемента в виде круговой стенки камеры-резервуара.
15. Палочкообразное изделие для генерирования аэрозоля для использования с устройством для генерирования аэрозоля с индукционным нагревом, причем изделие содержит картридж по любому одному из предыдущих пунктов и мундштук в проксимальной концевой части изделия, при этом камера испарения расположена в дистальной концевой части изделия.
| СИСТЕМА НАГРЕВА И СПОСОБ НАГРЕВА ДЛЯ ИНГАЛЯТОРНОГО УСТРОЙСТВА | 2014 |
|
RU2677617C1 |
| СИСТЕМА НАГРЕВА И СПОСОБ НАГРЕВА ДЛЯ ИНГАЛЯТОРНОГО УСТРОЙСТВА | 2014 |
|
RU2666487C1 |
| НАГРЕВАНИЕ КУРИТЕЛЬНОГО МАТЕРИАЛА | 2013 |
|
RU2643968C2 |
| KR 1950550 B1, 20.02.2019 | |||
| WO 2019224078 A1, 28.11.2019 | |||
| JP 2019509110 W, 04.04.2019 | |||
| DE 102019111218 A1, 05.11.2020 | |||
| CN 106455683 B, 07.04.2020 | |||
| DE 102019204931 A1, 08.10.2020 | |||
| KR 1020200116960 A, 13.10.2020. | |||
Авторы
Даты
2025-05-28—Публикация
2021-12-02—Подача