ХОЛОДИЛЬНИК Российский патент 2025 года по МПК F25D11/00 

Описание патента на изобретение RU2840807C2

Область техники, к которой относится изобретение

[1] Настоящее раскрытие относится к холодильнику.

Уровень техники

[2] В целом, холодильники - это бытовые приборы для хранения продуктов при низкой температуре в камере хранения, которая закрыта дверцей. Холодильник может охлаждать внутреннюю часть пространства для хранения, используя холодный воздух для хранения продуктов в охлажденном или замороженном состоянии. Как правило, в холодильнике имеется льдогенератор. Льдогенератор изготавливает лед путем охлаждения воды после помещения воды, подаваемой из источника водоснабжения или резервуара для воды, в лоток. Льдогенератор может отделять изготовленный лед от лотка для льда посредством нагрева или скручивания. Как описано выше, льдогенератор, через который автоматически подается вода и автоматически отделяется лед, может открываться вверх, так что полученный лед выскакивает вверх. Как описано выше, лед, изготовленный в льдогенераторе, может иметь по меньшей мере одну плоскую поверхность, например, форму полумесяца или куба.

[3] Когда лед имеет сферическую форму, его удобнее использовать, а также можно придать пользователю иное ощущение от использования. Кроме того, даже когда изготовленный лед хранится, площадь контакта между кубиками льда может быть минимизирована, чтобы минимизировать слипание кубиков льда.

[4] Льдогенератор описан в корейской зарегистрированной заявке № 10-1850918 (далее именуемой "документ 1 предшествующего уровня техники"), который является документом предшествующего уровня техники.

[5] Льдогенератор, описанный в документе 1 предшествующего уровня техники, включает в себя верхний лоток, в котором расположено множество верхних ячеек, каждая из которых имеет полусферическую форму, и который включает в себя пару частей с направляющими тягами, проходящих вверх от обоих его боковых краев, нижний лоток, в котором множество верхних ячеек каждая имеет полусферическую форму и соединены с возможностью вращения с верхним лотком, вал вращения, соединенный с задними краями нижнего лотка и верхнего лотка, чтобы позволить нижнему лотку вращаться относительно верхнего лотка, пара тяг, один край которых соединен с нижним лотком, а другой край соединен с направляющей частью тяги, и верхний узел выталкивающего штифта, соединенный с каждой из пары тяг в состоянии, в котором оба их края вставляются в направляющую тяги и поднимаются вместе с верхним узлом выталкивающего штифта.

[6] В документе 1 предшествующего уровня техники, хотя сферический лед образован полусферической верхней ячейкой и полусферической нижней ячейкой, поскольку лед создается одновременно в верхней и нижней ячейках, пузырьки, содержащие воду, не выводятся полностью, а рассеиваются в воде, что делает лед непрозрачным.

[7] Льдогенератор описан в выложенной японской патентной заявке № 9-269172 (далее именуемой "документ 2 предшествующего уровня техники"), которая является документом предшествующего уровня техники.

[8] Льдогенератор, описанный в документе 2 предшествующего уровня техники, включает в себя пластину для изготовления льда и нагреватель для нагрева нижней части воды, подаваемой на пластину для изготовления льда. В случае льдогенератора, описанного в документе 2 предшествующего уровня техники, вода на одной поверхности и нижней поверхности блока для изготовления льда нагревается нагревателем в процессе изготовления льда. Таким образом, когда на поверхности воды происходит затвердевание, а также, в воде происходит конвекция, получается прозрачный лед. Когда рост прозрачного льда продолжается для уменьшения объема воды в блоке для изготовления льда, скорость затвердевания постепенно увеличивается, и, таким образом, может не возникать достаточной конвекции, подходящей для скорости затвердевания. Таким образом, в случае документа 2 предшествующего уровня техники, когда примерно 2/3 воды затвердевает, нагрев нагревателя увеличивается, чтобы подавлять увеличение скорости затвердевания. Однако в документе 2 предшествующего уровня техники раскрыта особенность, в которой, когда объем воды просто уменьшается, увеличивается только нагрев нагревателя, и не раскрывается структура и логика управления нагревателем для изготовления льда, имеющего высокую прозрачность, без уменьшения скорости изготовления льда.

Сущность изобретения

Техническая проблема

[9] Варианты осуществления предоставляют холодильник, способный производить лед, имеющий однородную прозрачность, за счет уменьшения передачи тепла, которое передается на один лоток, расположенный рядом с работающим нагревателем, в ячейку для изготовления льда, предоставленную другим лотком в процессе изготовления льда.

[10] Варианты осуществления предоставляют холодильник, в котором передача тепла нагревателя части, в которой изготавливается лед, уменьшается, чтобы минимизировать снижение в скорости изготовления льда, даже при изготовлении прозрачного льда.

[11] Варианты осуществления предоставляют холодильник, в котором прозрачность на единицу высоты является однородной, даже когда изготавливается прозрачный лед.

Техническое решение

[12] В одном варианте осуществления холодильник может включать в себя узел первого лотка, определяющий часть ячейки для изготовления льда, и узел второго лотка, определяющий другую часть ячейки для изготовления льда. Нагреватель может быть расположен на одном из первого и второго узлов. Узел одного лотка может включать в себя первую часть, которая определяет по меньшей мере часть ячейки для изготовления льда, и вторую часть, проходящую от заданной точки первой части. Эта конфигурация может уменьшать передачу тепла, которое передается от нагревателя к узлу одного лотка, к ячейке для изготовления льда, определенной узлом другого лотка. Заранее заданная точка первой части может быть концом первой части или точкой, в которой узлы первого и второго лотков встречаются друг с другом. Узел лотка может быть определен как лоток. Узел лотка может быть определен как лоток и корпус лотка, окружающий лоток. Узел одного лотка может быть ближе к нагревателю по сравнению с узлом другого лотка. Нагреватель может быть размещен на одном узле лотка.

[13] По меньшей мере часть второй части может проходить в направлении от ячейки для изготовления льда, определяемой узлом другого лотка. Эта конфигурация может уменьшать передачу тепла, которое передается от нагревателя к первой части, к ячейке для изготовления льда, определенной узлом другого лотка. По меньшей мере часть второй части может проходить отдельно для уменьшения теплопередачи в направлении, в котором проходит вторая часть.

[14] Направление может быть горизонтальным направлением, проходящим через центр ячейки для изготовления льда. Направление может быть направлением вниз относительно горизонтальной линии, проходящей через центр ячейки для изготовления льда. Направление может быть направлением вверх относительно горизонтальной линии, проходящей через центр ячейки для изготовления льда.

[15] Вторая часть может включать в себя первую часть, проходящую в горизонтальном направлении от предварительно определенной точки, и вторую часть, проходящую в том же направлении, что и первая часть. Вторая часть может включать в себя первую часть, проходящую в горизонтальном направлении от предварительно определенной точки, и третью часть, проходящую в направлении, отличном от направления первой части.

[16] Вторая часть может включать в себя первую часть, проходящую в горизонтальном направлении от предварительно определенной точки, и вторую и третью части, ответвляющиеся от первой части. Эта конфигурация может уменьшать передачу тепла, которое передается от нагревателя к первой части, к ячейке для изготовления льда, определенной узлом другого лотка. Первая часть может дополнительно включать в себя часть, проходящую от предварительно определенной точки в вертикальном направлении. Третья часть может иметь длину больше длины второй части. Третья часть и первая часть могут иметь высоты, отличающиеся друг от друга. Вторая часть может проходить в том же направлении, что и первая часть. Третья часть может проходить в направлении, отличном от направления первой части.

[17] Кривизна первой части может быть больше кривизны второй части. Радиус кривизны третьей части может быть меньше радиуса кривизны второй части. Третья часть может иметь тот же радиус кривизны. По меньшей мере часть второй части может иметь тот же радиус кривизны относительно центра вращения вала вращения, соединенного с приводом для вращения.

[18] Может быть полезным проектировать длину тракта проведения тепла, определенного второй частью, настолько длинной, насколько возможно. Причина состоит в том, что чем длиннее тракт проведения тепла, тем больше тепла выпускается наружу через тракт проведения тепла, и тепло, передаваемое ячейке для изготовления льда, определенной узлом первого лотка, может быть уменьшено. Вторая часть может проходить до точки, которая равна или выше верхней части ячейки для изготовления льда, определенной узлом другого лотка. Вторая часть может проходить до точки, которая равна или ниже нижней части ячейки для изготовления льда, определенной узлом другого лотка. Вторая часть может проходить до точки, которая равна или ниже самого нижнего края ячейки для изготовления льда, определенной узлом другого лотка. Холодильник может дополнительно включать в себя вал вращения, посредством которого второй лоток вращается, и вторая часть может проходить до точки выше верхнего конца вала вращения.

[19] Тракт проведения тепла, определенный второй частью, может иметь длину больше расстояния от центра ячейки для изготовления льда до внешней окружной поверхности ячейки для изготовления льда.

[20] Узел лотка может включать в себя первую часть, определяющую по меньшей мере часть ячейки для изготовления льда, и первую и вторую расширительные части второй части, соответственно проходящие от первой и второй точек первой части. Один узел лотка может включать в себя первую часть, определяющую по меньшей мере часть ячейки для изготовления льда, первую расширительную часть второй части, проходящую от первой точки первой части, и вторую расширительную часть второй части, проходящую от второй точки первой части. Эта конфигурация может уменьшать передачу тепла, которое передается от нагревателя к узлу одного лотка, к ячейке для изготовления льда, определенной узлом другого лотка. Первая расширительная часть может быть размещена на левой стороне ячейки для изготовления льда. Вторая расширительная часть может быть размещена на правой стороне ячейки для изготовления льда. Первая и вторая расширительные части могут отличаться по форме или быть асимметричны друг другу. Длина второй расширительной части в горизонтальном направлении, проходящем через центр ячейки для изготовления льда, может быть больше длины первой расширительной части в горизонтальном направлении.

[21] Холодильник может дополнительно включать в себя кронштейн, определяющий по меньшей мере часть пространства, размещающего узлы первого и второго лотков. Первая расширительная часть может быть размещена ближе второй расширительной части относительно одного из краев пространства, определенного кронштейном. Длина второй расширительной части в горизонтальном направлении может быть больше длины первой расширительной части в горизонтальном направлении. Эта конфигурация может уменьшать то, насколько первая расширительная часть мешает кронштейну. Причина состоит в том, что тракт проведения тепла, определенный узлом лотка, удлиняется, в то же время минимизируя пространство, в котором узел лотка и компоненты устанавливаются. Ячейка для изготовления льда может быть эксцентрической относительно кронштейна.

[22] Холодильник может дополнительно включать в себя вал вращения, присоединенный к приводу, так что по меньшей мере один из первого и второго лотков является вращаемым. Вторая расширительная часть может быть размещена ближе к центру вала вращения по сравнению с первой расширительной частью. Длина второй расширительной части в горизонтальном направлении может быть больше длины первой расширительной части в горизонтальном направлении. Эта конфигурация может увеличивать силу вращения вращающегося узла лотка. Как описано выше, является желательным увеличивать силу связывания узлов первого и второго лотков с тем, чтобы изготавливать лед, имеющий особую форму, такой как прозрачный лед или сферический лед. Как описано выше, когда лед изготавливается в состоянии, в котором сила связывания между узлами первого и второго лотков увеличивается, сцепление между изготавливаемым льдом и узлом лотка может также увеличиваться. Таким образом, может быть необходим компонент, чтобы предоставлять возможность более легкого отделения льда от узла лотка во время отделения льда, после того как изготовление льда завершено. Например, холодильник может дополнительно включать в себя нагреватель, размещенный на одной стороне узла лотка. Нагреватель может быть нагревателем для отделения льда. В качестве другого примера, холодильник может дополнительно включать в себя толкатель, приспособленный для оказания давления на лед во время процесса отделения льда. Когда по меньшей мере один из толкателя или узла лотка перемещается, лед может быть подвергнут давлению в процессе отделения льда. Перемещение может быть движением в осевом направлении по меньшей мере одной из осей X, Y или Z. Перемещение может быть движением, которое вращается по меньшей мере вокруг одной из осей X, Y или Z. Когда перемещение является вращательным перемещением, толкающая сила, прикладываемая толкателем ко льду, может быть больше, поскольку радиус вращения является большим относительно силы вращения, которая прикладывается по меньшей мере к одному из толкателя или узла лотка приводом. Когда длина второй расширительной части, более близкой к центру вращения, увеличивается, расстояние между центрами вращения увеличивается, прижимающая сила, прикладываемая толкателем ко льду, может увеличиваться, и тракт проведения тепла через вторую расширительную часть, может увеличиваться. Вторая расширительная часть может включать в себя часть, имеющую одинаковую кривизну относительно вала вращения. В результате, помеха во время вращения узла лотка, может не возникать. Первая расширительная часть может включать в себя часть, проходящую вверх относительно горизонтальной линии. Вторая расширительная часть может проходить в направлении от ячейки для изготовления льда, в то же время проходить вверх по горизонтальной линии, тогда как первая расширительная часть может проходить только в верхнем направлении относительно горизонтальной линии. Вследствие формы первой и второй расширительных частей связывающая сила между узлами первого и второго лотков может увеличиваться. Угол вращения вращающегося узла для узла лотка может быть больше приблизительно 90 градусов и меньше приблизительно 180 градусов. Это может увеличивать прижимающую силу, которая прикладывается ко льду толкателем. Центр вращения может быть эксцентрическим в одну сторону относительно кронштейна.

[23] Один узел лотка и другой узел лотка могут контактировать друг с другом. Первая часть одного узла лотка, который определяет ячейку для изготовления льда, и третья часть другого узла лотка, который определяет ячейку для изготовления льда, могут контактировать друг с другом. Причиной для этого является уменьшение утечки воды в ячейке для изготовления льда, определенной узлами первого и второго лотков. Другой узел лотка может включать в себя третью часть, определяющую часть ячейки для изготовления льда и четвертую часть, проходящую от предварительно определенной точки третьей части, и вторая часть может быть размещена за пределами четвертой части. По меньшей мере часть второй части, проходящая от предварительно определенной точки первой части, и четвертая часть, проходящая от предварительно определенной точки третьей части, могут быть разнесены на расстояние друг от друга. Причина состоит в том, что передача тепла, которое передается второй части, к четвертой части является приспособленной для уменьшения.

[24] Узел первого лотка может включать в себя первый лоток и корпус первого лотка, и узел второго лотка может включать в себя второй лоток и корпус второго лотка.

[25] Один из корпусов первого и второго лотка может быть размещен ближе к нагревателю по сравнению с корпусом другого лотка. Корпус одного лотка может включать в себя первую часть, имеющую форму, соответствующую форме ячейки для изготовления льда, чтобы поддерживать лоток, и вторую часть, проходящую от заданной точки первой части. Эта конфигурация может уменьшать передачу тепла, которое передается от нагревателя к корпусу одного лотка, к ячейке для изготовления льда, определенной другим лотком. По меньшей мере часть второй части может проходить в направлении от ячейки для изготовления льда, определенной другим лотком. Эта конфигурация может уменьшать передачу тепла, которое передается от нагревателя к первой части, к ячейке для изготовления льда, определенной другим лотком. Вторая часть может дополнительно включать в себя часть, проходящую от предварительно определенной точки в горизонтальном направлении, и часть, проходящую вниз относительно горизонтальной линии, проходящей через центр (например, центр веса/объема и т.д.) ячейки для изготовления льда. Корпус одного лотка может дополнительно включать в себя часть, проходящую в направлении горизонтальной линии, проходящей через центр ячейки для изготовления льда. Эта конфигурация может уменьшать передачу тепла, которое передается от нагревателя к одному лотку, к ячейке для изготовления льда, определенной другим лотком. Расширительная часть может включать в себя первую расширительную часть, сформированную в одном направлении, и вторую расширительную часть, сформированную в другом направлении. Длина второй расширительной части может быть больше длины первой расширительной части. Вторая расширительная часть может быть расположена ближе к приводу по сравнению с первой расширительной частью. Один лоток может быть сконфигурирован, чтобы вращаться посредством привода. Поскольку длина второй расширительной части больше длины первой расширительной части, радиус вращения одного лотка может увеличиваться. Для этого сила вращения одного лотка, приводимого в действие приводом, может увеличиваться. Может быть возможно преимущественно удалять лед, прилипший к одному лотку, увеличивая силу вращения одного лотка. В частности, когда толкатель надавливает на часть одного лотка, вследствие увеличения в силе вращения одного лотка, представляется возможным более легко удалять лед, прилипший к одному лотку.

[26] Холодильник может дополнительно включать в себя кронштейн, в который усаживается узел лотка. Первая расширительная часть одного лотка может быть расположена ближе к вертикальной стенке кронштейна по сравнению со второй расширительной частью. Поскольку длина первой расширительной части меньше длины второй расширительной части, узел одного лотка может быть расположен ближе к вертикальной стенке кронштейна. Для этого узел лотка может быть компактно размещен в кронштейне. Корпус одного лотка может дополнительно включать в себя третью часть, поддерживающую первую и вторую расширительные части. Вторая часть и третья часть могут быть присоединены к одному лотку в состоянии разделения. После того как одна из второй и третьей части присоединяется к одному лотку, другая из второй и третьей частей может быть присоединена к одному лотку. После того как вторая часть присоединяется к одному лотку, третья часть может быть присоединена к одному лотку. После того как вторая часть присоединяется к одному лотку, третья часть может быть присоединена к одному лотку. Один лоток может включать в себя вторую расширительную часть, вытянутую в горизонтальном направлении. Для этого может быть полезным то, что корпус первого лотка включает в себя вторую и третью часть в разделенном состоянии. Корпус лотка в отделенном состоянии может улучшать удобство при соединении с первым лотком.

[27] В другом варианте осуществления холодильник включает в себя: камеру хранения, выполненную с возможностью хранения продуктов; охладитель, выполненный с возможностью подачи холода в камеру хранения; первый датчик температуры, выполненный с возможностью определения температуры в камере хранения; узел первого лотка, выполненный с возможностью определения части ячейки для изготовления льда, которая представляет собой пространство, в котором вода превращается в лед в результате изменения фазы под действием холода; узел второго лотка, выполненный с возможностью определения другой части ячейки для изготовления льда, узел второго лотка соединен с приводом для контактирования с узлом первого лотка во время процесса изготовления льда и должен быть отдален от узла первого лотка во время процесса отделения льда; часть подачи воды, выполненную с возможностью подачи воды в ячейку для изготовления льда; второй датчик температуры, выполненный с возможностью измерения температуры воды или льда внутри ячейки для изготовления льда; нагреватель, расположенный рядом по меньшей мере с одним из узла первого лотка или узла второго лотка; и контроллер, выполненный с возможностью управления нагревателем и приводом.

[28] Контроллер может управлять охладителем таким образом, чтобы холод подавался к ячейке для изготовления льда после того, как узел второго лотка перемещается в положение для изготовления льда, когда вода полностью подается в ячейку для изготовления льда. Контроллер может управлять узлом второго лотка так, чтобы узел второго лотка перемещался в обратном направлении после перемещения в положение отделения льда в прямом направлении, чтобы извлекать лед из ячейки для изготовления льда, когда лед полностью изготовлен в ячейке для изготовления льда. Контроллер может управлять узлом второго лотка так, чтобы подача воды начиналась после того, как узел второго лотка переместился в положение подачи воды в обратном направлении, когда лед полностью отделился. Контроллер может управлять нагревателем, который должен включаться по меньшей мере в частичной секции, в то время как охладитель подает холод, так что пузырьки, растворенные в воде внутри ячейки для изготовления льда, перемещаются из части, в которой изготавливается лед, к воде, которая находится в жидком состоянии, чтобы сделать лед прозрачным.

[29] Узел первого лотка может включать в себя первый лоток, определяющий часть ячейки для изготовления льда, и корпус первого лотка, поддерживающий первый лоток. Узел второго лотка может включать в себя второй лоток, определяющий другую часть ячейки для изготовления льда, и корпус второго лотка, поддерживающий второй лоток.

[30] Один из корпусов первого и второго лотка может включать в себя первую часть, имеющую форму, соответствующую форме ячейки для изготовления льда, и вторую часть, проходящую от предварительно заданной точки первой части, чтобы поддерживать один из первого лотка и второго лотка.

[31] Корпус одного лотка может быть расположен ближе к нагревателю по сравнению с корпусом другого лотка.

[32] Вторая часть может проходить в направлении от ячейки для изготовления льда, определенной другим лотком из первого и второго лотков. Вторая часть может включать в себя часть, проходящую от предварительно определенной точки в горизонтальном направлении, и часть, проходящую в направлении вниз относительно горизонтальной линии, проходящей через центр ячейки для изготовления льда. Вторая часть может включать в себя первую часть, проходящую от предварительно определенной точки в горизонтальном направлении, и вторую и третью части, сформированные ответвляющимися от первой части. Длина третьей части может быть больше длины второй части. По меньшей мере часть третьей части может иметь постоянную кривизну в продольном направлении. Длина второй части может быть больше радиуса ячейки для изготовления льда.

[33] Один лоток может включать в себя часть, проходящую в направлении, одинаковом или отличающемся от направления горизонтальной линии, проходящей через центр ячейки для изготовления льда, так что передача тепла, которое передается от нагревателя к одному лотку, к ячейке для изготовления льда, определенной другим лотком из первого и второго лотков, уменьшается. Расширительная часть может включать в себя первую расширительную часть, проходящую в первом направлении, и вторую расширительную часть, проходящую во втором направлении. Длина второй расширительной части может быть больше длины первой расширительной части.

[34] Вал вращения, присоединенный к приводу, может дополнительно содержаться, так что узел второго лотка вращается. Вторая расширительная часть может быть размещена ближе к центру вращения вала вращения по сравнению с первой расширительной частью.

[35] Кронштейн, поддерживающий один или более из узла первого лотка и узла второго лотка, может дополнительно содержаться. Первая расширительная часть может быть размещена ближе к какому-либо одному из краев кронштейна по сравнению со второй расширительной частью.

[36] Корпус одного лотка может дополнительно включать в себя третью часть, поддерживающую первую и вторую расширительные части. Вторая часть и третья часть могут быть соответственно соединены с одним лотком в отделенном состоянии. После того как вторая часть и третья часть приводятся в соприкосновение с одним лотком, вторая часть и третья часть могут быть соединены с одним лотком. После того как какая-либо одна из второй части и третьей части соединяется с одним лотком, другой лоток может быть присоединен к первому лотку.

[37] Холодильник согласно другому аспекту может включать в себя узел первого лотка и узел второго лотка. Узел первого лотка может включать в себя первый лоток, определяющий часть ячейки для изготовления льда, и корпус первого лотка, поддерживающий первый лоток, и узел второго лотка может включать в себя второй лоток, определяющий другую часть ячейки для изготовления льда, и корпус второго лотка, поддерживающий второй лоток. Холодильник может включать в себя нагреватель и контроллер, выполненный с возможностью нагревателя. Контроллер может управлять нагревателем таким образом, что, когда величина передачи тепла между холодом для охлаждения ячейки для изготовления льда и водой ячейки для изготовления льда увеличивается, величина нагрева нагревателя увеличивается, и, когда величина передачи тепла между холодом для охлаждения ячейки для изготовления льда и водой ячейки для изготовления льда уменьшается, величина нагрева нагревателя уменьшается с тем, чтобы поддерживать скорость изготовления льда для воды в ячейке для изготовления льда в предварительно определенном диапазоне, который меньше скорости изготовления льда, когда изготовление льда выполняется в состоянии, в котором нагреватель выключен.

[38] Один лоток из первого и второго лотков может быть размещен ближе к нагревателю по сравнению с другим лотком. Один лоток может включать в себя часть, проходящую в том же направлении, что и направление горизонтальной линии, проходящей через центр ячейки для изготовления льда, так что передача тепла, которое передается от нагревателя к одному лотку, к ячейке для изготовления льда, определенной другим лотком из первого и второго лотков, уменьшается.

[39] Корпус одного лотка, поддерживающий один лоток, может включать в себя часть, поддерживающую один лоток, и вторую часть, проходящую в направлении вниз относительно горизонтальной линии, проходящей через центр ячейки для изготовления льда. Корпус одного лотка может дополнительно включать в себя третью часть, проходящую в направлении вверх относительно горизонтальной линии, проходящей через центр ячейки для изготовления льда.

[40] Вторая часть и третья часть могут быть соответственно соединены с одним лотком в разделенном состоянии. Вторая часть и третья часть могут быть присоединены к одному лотку в разделенном состоянии. После того как вторая часть и третья часть приводятся в соприкосновение с одним лотком, вторая часть и третья часть могут быть соединены с одним лотком. После того как какая-либо одна из второй части и третьей части соединяется с одним лотком, другой лоток может быть присоединен к первому лотку.

[41] Контроллер холодильника согласно другому аспекту может управлять нагревателем, который должен включаться по меньшей мере в частичной секции, в то время как охладитель подает холод, так что пузырьки, растворенные в воде внутри ячейки для изготовления льда, перемещаются из части, в которой изготавливается лед, к воде, которая находится в жидком состоянии, чтобы сделать лед прозрачным. Один из корпусов первого и второго лотка может включать в себя первую часть, имеющую форму, соответствующую форме ячейки для изготовления льда, чтобы поддерживать один из первого и второго корпусов, и вторую часть, проходящую от предварительно определенной точки первой части, чтобы уменьшать передачу тепла, которое передается от нагревателя к корпусу одного лотка, к ячейке для изготовления льда, определенной другим лотком. По меньшей мере часть второй части может проходить в направлении от ячейки для изготовления льда, определенной другим лотком.

[42] Вторая часть может дополнительно включать в себя часть, проходящую от предварительно определенной точки в горизонтальном направлении, и часть, проходящую в направлении вниз относительно горизонтальной линии, проходящей через центр ячейки для изготовления льда.

[43] Один лоток может дополнительно включать в себя часть, проходящую в направлении горизонтальной линии, проходящей через центр ячейки для изготовления льда, чтобы уменьшать передачу тепла, которое передается от нагревателя к одному лотку, к ячейке для изготовления льда, определенной другим лотком. Расширительная часть может включать в себя первую расширительную часть, сформированную в одном направлении, и вторую расширительную часть, сформированную в другом направлении, и длина второй расширительной части может быть больше длины первой расширительной части. Вторая расширительная часть может быть расположена ближе к приводу по сравнению с первой расширительной частью.

[44] Холодильник может дополнительно включать в себя кронштейн, в который усаживается узел лотка, и первая расширительная часть может быть размещена ближе к стенке, проходящие в вертикальном направлении кронштейна, по сравнению со второй расширительной частью.

[45] Корпус одного лотка может дополнительно включать в себя третью часть, поддерживающую первую и вторую расширительные части.

Преимущества изобретения

[46] Согласно вариантам осуществления, поскольку нагреватель включен по меньшей мере в части секций, в то время как охладитель подает холод, скорость изготовления льда может уменьшаться за счет тепла нагревателя, так что пузырьки, растворенные в воде внутри ячейки для изготовления льда, двигаются к жидкой воде из части, в которой лед уже получен, тем самым делая лед прозрачным.

[47] Кроме того, по мере передачи тепла от нагревателя к части для изготовления льда в ячейке для изготовления льда во время изготовления льда может быть получен прозрачный лед, сводя к минимуму задержку скорости изготовления льда.

[48] Кроме того, в соответствии с вариантами осуществления, один или более параметров из охлаждающей мощности (холодопроизводительности) охладителя и величины нагрева нагревателя можно регулировать для изменения в соответствии с массой на единицу высоты воды в ячейке для изготовления льда, чтобы лед имел однородную прозрачность, в целом, независимо от формы ячейки для изготовления льда.

[49] Также, величина нагрева нагревателя для прозрачного льда и/или охлаждающая мощность охладителя могут изменяться в ответ на изменение в величине теплопередачи между водой в ячейке для изготовления льда и холодным воздухом в камере хранения, тем самым, изготавливая лед, имеющий равномерную прозрачность в целом.

Краткое описание чертежей

[50] Фиг.1 - вид спереди холодильника согласно варианту осуществления.

[51] Фиг.2 - вид в перспективе льдогенератора согласно варианту осуществления.

[52] Фиг.3 - вид спереди льдогенератора, показанного на фиг.2.

[53] Фиг.4 - вид в перспективе, иллюстрирующий состояние, в котором кронштейн снят с льдогенератора, показанного на фиг.3.

[54] Фиг.5 - покомпонентный вид в перспективе льдогенератора согласно варианту осуществления.

[55] Фиг.6 и 7 - виды в перспективе кронштейна согласно варианту осуществления.

[56] Фиг.8 - вид в перспективе первого лотка, при просмотре с верхней стороны.

[57] Фиг.9 - вид в перспективе первого лотка, при просмотре с нижней стороны.

[58] Фиг.10 - вид сверху первого лотка.

[59] Фиг.11 - вид в разрезе по линии 11-11 на фиг.8.

[60] Фиг.12 - вид снизу первого лотка по фиг.9.

[61] Фиг.13 - вид в разрезе по линии 13-13 на фиг.11.

[62] Фиг.14 - вид в разрезе по линии 14-14 на фиг.11.

[63] Фиг.15 - вид в разрезе по линии 15-15 на фиг.8.

[64] Фиг.16 - вид в перспективе первого лотка.

[65] Фиг.17 - вид снизу в перспективе крышки первого лотка.

[66] Фиг.18 - вид сверху крышки первого лотка.

[67] Фиг.19 - вид сбоку корпуса первого лотка.

[68] Фиг.20 - вид сверху держателя первого лотка.

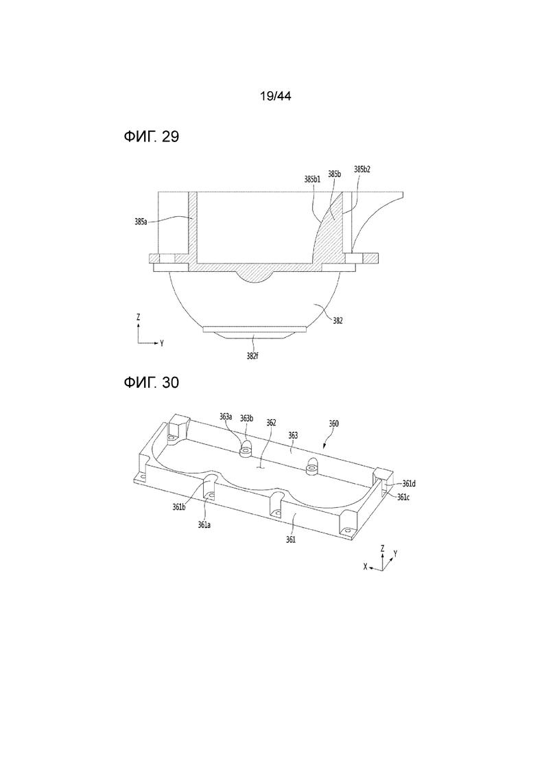
[69] Фиг.21 - вид в перспективе второго лотка согласно варианту осуществления, при просмотре с верхней стороны.

[70] Фиг.22 - вид в перспективе второго лотка, при просмотре с нижней стороны.

[71] Фиг.23 - вид снизу второго лотка.

[72] Фиг.24 - вид сверху второго лотка.

[73] Фиг.25 - вид в разрезе по линии 25-25 на фиг.21.

[74] Фиг.26 - вид в разрезе по линии 26-26 на фиг.21.

[75] Фиг.27 - вид в разрезе по линии 27-27 на фиг.21.

[76] Фиг.28 - вид в разрезе по линии 28-28 на фиг.24.

[77] Фиг.29 - вид в разрезе по линии 29-29 на фиг.25.

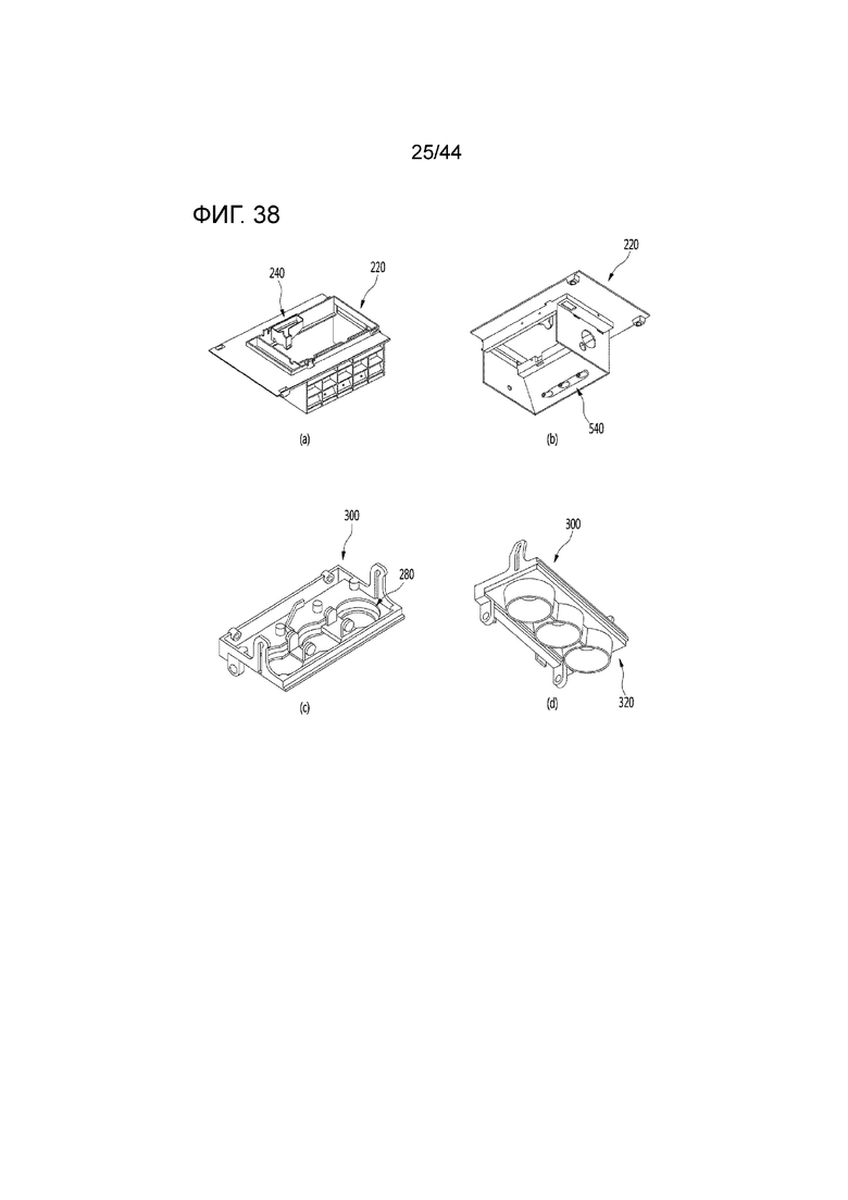
[78] Фиг.30 - вид в перспективе крышки второго лотка.

[79] Фиг.31 - вид сверху крышки второго лотка.

[80] Фиг.32 - вид сверху в перспективе держателя второго лотка.

[81] Фиг.33 - вид снизу в перспективе держателя второго лотка.

[82] Фиг.34 - вид в разрезе по линии 34-34 на фиг.32.

[83] Фиг.35 - вид первого толкателя согласно варианту осуществления.

[84] Фиг.36 - вид, иллюстрирующий состояние, в котором первый толкатель соединен с узлом второго лотка с помощью тяги.

[85] Фиг.37 - вид в перспективе второго толкателя согласно варианту осуществления.

[86] Фиг.38-40 - виды, иллюстрирующие процесс сборки льдогенератора согласно варианту осуществления.

[87] Фиг.41 - вид в разрезе по линии 41-41 на фиг.2.

[88] Фиг.42 - блок-схема, иллюстрирующая управление холодильником согласно варианту осуществления.

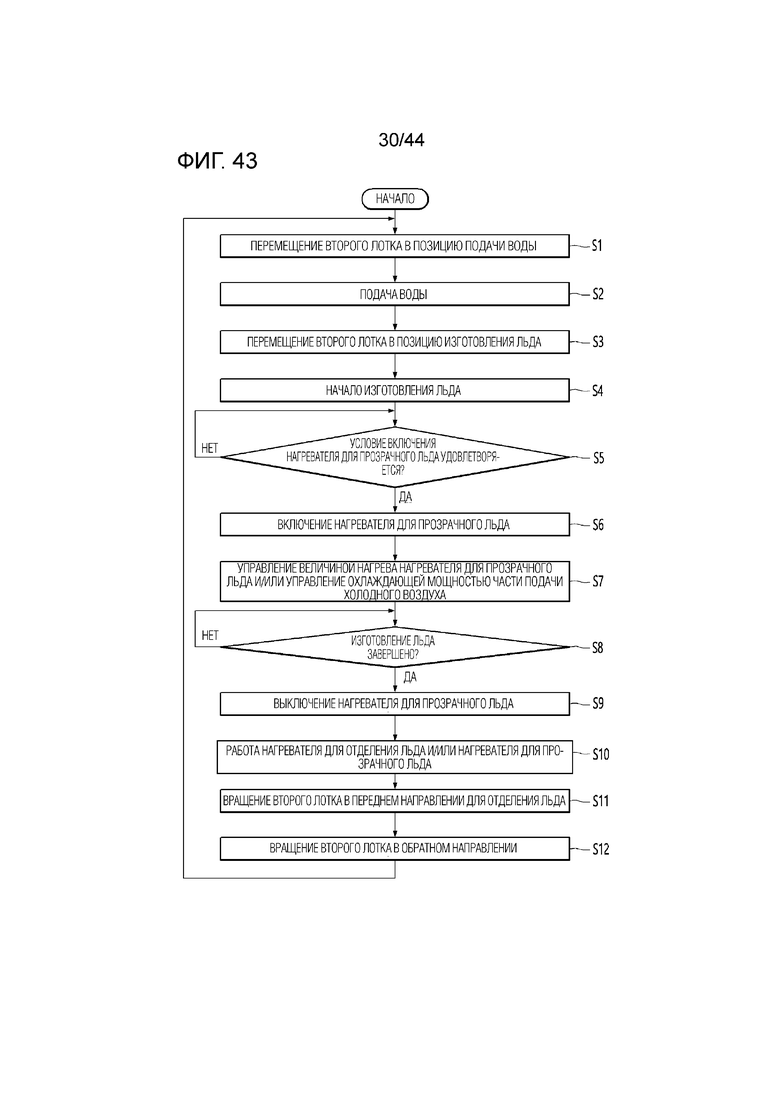
[89] Фиг.43 - блок-схема, поясняющая процесс изготовления льда в льдогенераторе согласно варианту осуществления.

[90] Фиг.44 - вид, поясняющий опорную высоту в зависимости от относительного положения нагревателя для прозрачного льда по отношению к ячейке для изготовления льда.

[91] Фиг.45 - вид, поясняющий выходную мощность нагревателя для прозрачного льда на единицу высоты воды в ячейке для изготовления льда.

[92] Фиг.46 - вид в поперечном разрезе, иллюстрирующий взаимное расположение узла первого лотка и узла второго лотка в положении подачи воды.

[93] Фиг.47 - вид, иллюстрирующий состояние, в котором подача воды на фиг.46 завершена.

[94] Фиг.48 - вид в поперечном разрезе, иллюстрирующий взаимное расположение узла первого лотка и узла второго лотка в положении для изготовления льда.

[95] Фиг.49 - вид, иллюстрирующий состояние, в котором прижимная часть второго лотка деформируется в состоянии, в котором изготовление льда завершено.

[96] Фиг.50 - вид в поперечном разрезе, иллюстрирующий взаимное расположение узла первого лотка и узла второго лотка в процессе отделения льда.

[97] Фиг.51 - вид в поперечном разрезе, иллюстрирующий взаимное расположение узла первого лотка и узла второго лотка в положении отделения льда.

[98] Фиг.52 - вид, иллюстрирующий работу тяги толкателя, когда узел второго лотка перемещается из положения для изготовления льда в положение отделения льда.

[99] Фиг.53 - вид, иллюстрирующий положение первого толкателя в положении подачи воды, при которой льдогенератор установлен в холодильнике.

[100] Фиг.54 - вид в разрезе, иллюстрирующий положение первого толкателя в положении подачи воды, при котором льдогенератор установлен в холодильнике.

[101] Фиг.55 - вид в разрезе, иллюстрирующий положение первого толкателя в положении отделения льда, при котором льдогенератор установлен в холодильнике.

[102] Фиг.56 - вид, иллюстрирующий взаимное расположение сквозного отверстия в кронштейне и канала для холодного воздуха.

[103] Фиг.57 - вид, поясняющий способ управления холодильником, когда величина теплопередачи между холодным воздухом и водой изменяется в процессе изготовления льда.

Описание вариантов осуществления изобретения

[104] В дальнейшем некоторые варианты осуществления настоящего раскрытия будут подробно описаны со ссылкой на прилагаемые чертежи. Следует отметить, что, когда компоненты на чертежах обозначены ссылочными номерами, одни и те же компоненты имеют одинаковые ссылочные номера, насколько это возможно, даже если компоненты проиллюстрированы на разных чертежах. Кроме того, в описании вариантов осуществления настоящего раскрытия, когда определено, что подробные описания хорошо известных конфигураций или функций мешают пониманию вариантов осуществления настоящего раскрытия, подробные описания будут опущены.

[105] Кроме того, в описании вариантов осуществления настоящего раскрытия могут использоваться такие термины, как первый, второй, A, B, (a) и (b). Каждый из терминов используется только для того, чтобы отличить соответствующий компонент от других компонентов, и не ограничивает сущность, порядок или последовательность соответствующего компонента. Следует понимать, что когда один компонент "соединен", "присоединен" или "связан" с другим компонентом, первый может быть напрямую соединен или связан с последним или может быть "соединен", "присоединен" или "связан" с последним с помощью третьего компонента, вставленного между ними.

[106] Холодильник согласно варианту осуществления может включать в себя узел лотка, определяющий часть ячейки для изготовления льда, которая представляет собой пространство, в котором вода превращается в результате изменения фазы в лед, охладитель, подающий холодный воздух в ячейку для изготовления льда, узел подачи воды, подающий воду к ячейке для изготовления льда, и контроллер. Холодильник может дополнительно включать в себя датчик температуры, определяющий температуру воды или льда в ячейке для изготовления льда. Холодильник может дополнительно включать в себя нагреватель, расположенный рядом с узлом лотка. Холодильник может дополнительно включать в себя привод для перемещения узла лотка. Холодильник может дополнительно включать в себя камеру хранения, в которой хранится пища в дополнение к ячейке для изготовления льда. Холодильник может дополнительно включать в себя охладитель, подающий холод в камеру хранения. Холодильник может дополнительно включать в себя датчик температуры, измеряющий температуру в камере хранения. Контроллер может управлять по меньшей мере одним из части подачи воды или охладителя. Контроллер может управлять по меньшей мере одним из нагревателя или привода.

[107] Контроллер может управлять охладителем таким образом, чтобы холод подавался в ячейку для изготовления льда после перемещения узла лотка в положение для изготовления льда. Контроллер может управлять узлом второго лотка, так что узел второго лотка перемещается в положение отделения льда в прямом направлении, чтобы извлекать лед из ячейки для изготовления льда, когда лед полностью изготовлен в ячейке для изготовления льда. Контроллер может управлять узлом лотка так, чтобы подача части подачи воды после узла второго лотка перемещалась в положение подачи воды в обратном направлении, когда лед полностью отделился. Контроллер может управлять узлом лотка для передвижения в положение для изготовления льда после завершения подачи воды.

[108] Согласно варианту осуществления камера хранения может быть определена как пространство, температура которого регулируется до заданной температуры с помощью охладителя. Внешний корпус может быть определен как стенка, которая разделяет камеру хранения и внешнее пространство камеры хранения (т.е. внешнее пространство холодильника). Между внешним корпусом и камерой хранения может быть расположен изоляционный материал. Между изоляционным материалом и камерой хранения может быть расположен внутренний корпус.

[109] Согласно варианту осуществления ячейка для изготовления льда может быть расположена в камере хранения и может быть определена как пространство, в котором вода превращается в результате изменения фазы в лед. Окружение ячейки для изготовления льда относится к внешней поверхности ячейки для изготовления льда независимо от формы ячейки для изготовления льда. В другом аспекте внешняя периферийная поверхность ячейки для изготовления льда может относиться к внутренней поверхности стенки, определяющей ячейку для изготовления льда. Центр ячейки для изготовления льда относится к центру тяжести или объема ячейки для изготовления льда. Центр может проходить через линию симметрии ячейки для изготовления льда.

[110] Согласно варианту осуществления лоток может быть определен как стенка, отделяющая ячейку для изготовления льда от внутренней части камеры хранения. Лоток можно определить как стенку, ограничивающую по меньшей мере часть ячейки для изготовления льда. Лоток может быть сконфигурирован так, чтобы окружать всю или часть ячейки для изготовления льда. Лоток может включать в себя первую часть, которая определяет по меньшей мере часть ячейки для изготовления льда, и вторую часть, проходящую от заданной точки первой части. Лоток может быть предоставлен множеством. Множество лотков могут контактировать друг с другом. Например, лоток, расположенный в нижней части, может включать в себя множество лотков. Лоток, расположенный в верхней части, может включать в себя множество лотков. Холодильник может включать в себя по меньшей мере один лоток, расположенный под ячейкой для изготовления льда. Холодильник может дополнительно включать в себя лоток, расположенный над ячейкой для изготовления льда. Первая часть и вторая часть могут иметь структуру, не учитывающую степень теплопередачи лотка, степень передачи холода лотка, степень сопротивления деформации лотка, степень восстановления лотка, степень переохлаждения лотка, степень прикрепления между лотком и льдом, затвердевшим в лотке, и силу связи между одним лотком и другим лотком из множества лотков.

[111] Согласно варианту осуществления корпус лотка может быть расположен между лотком и камерой хранения. Т.е. корпус лотка может быть расположен так, чтобы по меньшей мере его часть окружала лоток. Корпус лотка может быть предоставлен множеством. Множество корпусов лотков могут контактировать друг с другом. Корпус лотка может контактировать с лотком, поддерживая по меньшей мере часть лотка. Корпус лотка может быть выполнен с возможностью соединения компонентов, не включающих в себя лоток (например, нагревателя, датчика, элемента передачи энергии и т.д.). Корпус лотка может быть непосредственно соединен с компонентом или соединен с компонентом через среду между ними. Например, если стенка, определяющая ячейку для изготовления льда, выполнена в виде тонкой пленки, и предусмотрена структура, окружающая тонкую пленку, тонкая пленка может быть определена как лоток, а структура может быть определена как корпус лотка. В качестве другого примера, если часть стенки, определяющая ячейку для изготовления льда, выполнена в виде тонкой пленки, а структура включает в себя первую часть, определяющую другую часть стенки, определяющую ячейку для изготовления льда, и вторую часть, окружающую тонкую пленку, тонкая пленка и первая часть структуры определены как лотки, а вторая часть структуры определена как корпус лотка.

[112] Согласно варианту осуществления узел лотка может быть определен так, чтобы включать по меньшей мере лоток. Согласно варианту осуществления узел лотка может дополнительно включать в себя корпус лотка.

[113] Согласно варианту осуществления, холодильник может включать в себя по меньшей мере один узел лотка, соединенный с приводом для перемещения. Привод выполнен с возможностью перемещать узел лотка по меньшей мере в одном осевом направлении оси X, Y или Z или вращаться вокруг оси по меньшей мере одной из осей X, Y или Z. Вариант осуществления может включать в себя холодильник, имеющий оставшуюся конфигурацию, за исключением привода и элемента передачи энергии, соединяющего привод с узлом лотка, в содержании, описанном в подробном описании. Согласно варианту осуществления узел лотка может перемещаться в первом направлении.

[114] Согласно варианту осуществления, охладитель может быть определен как часть, сконфигурированная для охлаждения камеры хранения, включающая в себя по меньшей мере одно из испарителя или термоэлектрического элемента.

[115] Согласно варианту осуществления холодильник может включать в себя по меньшей мере один узел лотка, в котором располагается нагреватель. Нагреватель может быть расположен вблизи узла лотка для нагрева ячейки для изготовления льда, определяемой узлом лотка, в котором располагается нагреватель. Нагреватель может включать в себя нагреватель, который должен включаться по меньшей мере в частичной секции, в то время как охладитель подает холод, так что пузырьки, растворенные в воде внутри ячейки для изготовления льда, перемещаются из части, в которой изготавливается лед, к воде, которая находится в жидком состоянии, чтобы сделать лед прозрачным. Нагреватель может включать в себя нагреватель (далее именуемый "нагревателем для отделения льда"), управляемый для включения по меньшей мере в секции после завершения изготовления льда, так что лед легко отделяется от узла лотка. Холодильник может включать в себя множество нагревателей для прозрачного льда. Холодильник может включать в себя множество нагревателей для отделения льда. Холодильник может включать в себя нагреватель для прозрачного льда и нагреватель для отделения льда. В этом случае контроллер может управлять нагревателем для отделения льда так, чтобы величина нагрева нагревателя для отделения льда была больше, чем у нагревателя для прозрачного льда.

[116] Согласно варианту осуществления узел лотка может включать в себя первую область и вторую область, которые определяют внешнюю периферийную поверхность ячейки для изготовления льда. Узел лотка может включать в себя первую часть, которая определяет по меньшей мере часть ячейки для изготовления льда, и вторую часть, проходящую от заданной точки первой части.

[117] Например, первая область может быть определена в первой части узла лотка. Первая и вторая области могут быть определены в первой части узла лотка. Каждая из первой и второй областей может быть частью одного узла лотка. Первая и вторая области могут быть расположены так, чтобы контактировать друг с другом. Первая область может быть нижней частью ячейки для изготовления льда, определяемой узлом лотка. Вторая область может быть верхней частью ячейки для изготовления льда, определяемой узлом лотка. Холодильник может включать в себя узел дополнительного лотка. Одна из первой и второй областей может включать в себя область, контактирующую с узлом дополнительного лотка. Когда узел дополнительного лотка располагается в нижней части первой области, узел дополнительного лотка может контактировать с нижней частью первой области. Когда узел дополнительного лотка располагается в верхней части второй области, узел дополнительного лотка и верхняя часть второй области могут контактировать друг с другом.

[118] В другом примере узел лотка может быть предоставлен во множестве, контактируя друг с другом. Первая область может быть расположена в узле первого лотка из множества узлов лотков, а вторая область может быть расположена в узле второго лотка. Первая область может быть узлом первого лотка. Вторая область может быть узлом второго лотка. Первая и вторая области могут быть расположены так, чтобы контактировать друг с другом. По меньшей мере часть узла первого лотка может быть расположена под ячейкой для изготовления льда, образованной узлами первого и второго лотков. По меньшей мере часть узла второго лотка может быть расположена над ячейкой для изготовления льда, образованной узлами первого и второго лотков.

[119] Первая область может быть областью ближе к нагревателю, чем вторая область. Первая область может быть областью, в которой располагается нагреватель. Вторая область может быть областью, более близкой к теплопоглощающей части (т.е. трубке для хладагента или теплопоглощающей части термоэлектрического модуля) охладителя, чем первая область. Вторая область может быть областью ближе к сквозному отверстию, подающему холод в ячейку для изготовления льда, чем первая область. Чтобы охладитель мог подавать холод через сквозное отверстие, в другом компоненте может быть выполнено дополнительное сквозное отверстие. Вторая область может быть областью ближе к дополнительному сквозному отверстию, чем первая область. Нагреватель может быть нагревателем для прозрачного льда. Степень теплоизоляции второй области по отношению к холоду может быть меньше, чем у первой области.

[120] Нагреватель может быть расположен в одном из узлов первого и второго лотков холодильника. Например, когда нагреватель не располагается на другом, контроллер может управлять включением нагревателя по меньшей мере в одной из частичных секций охладителя для подачи холодного воздуха. В качестве другого примера, когда дополнительный нагреватель располагается на другом, контроллер может управлять нагревателем так, чтобы величина нагрева нагревателя была больше, чем у дополнительного нагревателя по меньшей мере в одной секции охладителя для подачи холодного воздуха. Нагреватель может быть нагревателем для прозрачного льда.

[121] Вариант осуществления может включать в себя холодильник, конфигурация которого исключает нагреватель для прозрачного льда в содержимом, описанном в подробном описании.

[122] Вариант осуществления может включать в себя толкатель, имеющий первый торец, имеющий поверхность, прижимающую лед, или по меньшей мере одну поверхность узла лотка, так что лед легко отделяется от узла лотка. Толкатель может включать в себя стержень, отходящий от первого торца, и второй торец, расположенный на крае стержня. Контроллер может управлять толкателем так, чтобы положение толкателя изменялось путем перемещения по меньшей мере одного из толкателя или узла лотка. Толкатель может быть определен как толкатель проникающего типа, толкатель непроникающего типа, подвижный толкатель или фиксированный толкатель в зависимости от точки зрения.

[123] Сквозное отверстие, через которое перемещается толкатель, может быть образовано в узле лотка, а толкатель может быть выполнен с возможностью прямого вдавливания льда в узел лотка. Толкатель можно определить как толкатель проникающего типа.

[124] Узел лотка может быть снабжен прижимной частью, которая будет прижиматься толкателем, толкатель может быть выполнен с возможностью оказывать давление на одну поверхность узла лотка. Толкатель может быть определен как толкатель непроникающего типа.

[125] Контроллер может управлять перемещением толкателя так, чтобы первый торец толкателя располагался между первой точкой вне ячейки для изготовления льда и второй точкой внутри ячейки для изготовления льда. Толкатель можно определить как подвижный толкатель. Толкатель может быть соединен с приводом, валом вращения привода или узлом лотка, который соединен с приводом и является подвижным.

[126] Контроллер может управлять толкателем для перемещения по меньшей мере одного из узлов лотков, так что первый торец толкателя располагается между первой точкой вне ячейки для изготовления льда и второй точкой внутри ячейки для изготовления льда. Контроллер может управлять по меньшей мере одним из узлов лотков для перемещения к толкателю. В качестве альтернативы, контроллер может управлять относительным положением толкателя и узла лотка, так что толкатель дополнительно прижимает прижимную часть после соприкосновения с прижимной частью в первой точке за пределами ячейки для изготовления льда. Толкатель может быть прикреплен к неподвижному краю. Толкатель можно определить как фиксированный толкатель.

[127] Согласно варианту осуществления ячейка для изготовления льда может охлаждаться посредством холодильника, охлаждающего камеру хранения. Например, камера хранения, в которой располагается ячейка для изготовления льда, может быть морозильным отделением, в которой регулируется температура ниже 0 градусов, а ячейка для изготовления льда может охлаждаться посредством холодильника, охлаждающего морозильное отделение.

[128] Морозильное отделение может быть разделено на множество областей, а ячейка для изготовления льда может быть расположена в одной области из множества областей.

[129] Согласно варианту осуществления ячейка для изготовления льда может охлаждаться другим охладителем, а не охладителем, охлаждающим камеру хранения. Например, камера хранения, в которой располагается ячейка для изготовления льда, представляет собой холодильное отделение, в котором регулируется температура выше 0 градусов, а ячейка для изготовления льда может охлаждаться с помощью охладителя, отличного от охладителя, охлаждающего холодильное отделение. Т.е. холодильник может включать в себя холодильное отделение и морозильное отделение, ячейка для изготовления льда может быть расположена внутри холодильного отделения, и ячейка для изготовления льда может охлаждаться охладителем, который охлаждает морозильное отделение. Ячейка для изготовления льда может быть расположена в дверце, которая открывает и закрывает камеру хранения.

[130] Согласно варианту осуществления ячейка для изготовления льда не располагается внутри камеры хранения и может охлаждаться охладителем. Например, вся камера хранения, определенная внутри внешнего корпуса, может быть ячейкой для изготовления льда.

[131] Согласно варианту осуществления, степень теплопередачи указывает степень теплопередачи от высокотемпературного объекта к низкотемпературному объекту и определяется как величина, определяемая формой, включая толщину объекта, материал объекта, и т.п. Что касается материала объекта, высокая степень теплопередачи объекта может означать, что теплопроводность объекта является высокой. Теплопроводность может быть уникальным свойством материала объекта. Даже если материал объекта один и тот же, степень теплопередачи может варьироваться в зависимости от формы объекта.

[132] Степень теплопередачи может варьироваться в зависимости от формы объекта. На степень теплопередачи из точки А в точку В может влиять длина пути, по которому тепло передается из точки А в точку В (далее именуемого "трактом теплопередачи"). Чем больше увеличивается тракт теплопередачи от точки A к точке B, тем больше может уменьшаться степень теплопередачи от точки A к точке B. Чем больше тракт теплопередачи от точки A к точке B, тем больше может увеличиваться степень теплопередачи от точки A к точке B.

[133] На степень теплопередачи из точки A в точку B может влиять толщина тракта, по которому тепло передается из точки A в точку B. Чем больше толщина в направлении тракта, по которому тепло передается от точки А в точку В, уменьшается, тем больше может уменьшаться степень теплопередачи из точки А в точку Б. Чем больше толщина в направлении тракта, по которому тепло передается от точки A к точке B, тем больше степень теплопередачи от точки A к точке B.

[134] Согласно варианту осуществления, степень передачи холода указывает степень теплопередачи от низкотемпературного объекта к высокотемпературному объекту и определяется как величина, определяемая формой, включая толщину объекта, материал объекта, и т.п. Степень передачи холода - это термин, определяемый с учетом направления, в котором течет холодный воздух, и может рассматриваться как то же понятие, что и степень теплопередачи. То же понятие, что и степень теплопередачи, будет опущено.

[135] Согласно варианту осуществления, степень переохлаждения представляет собой степень переохлаждения жидкости и может быть определена как величина, определяемая материалом жидкости, материалом или формой контейнера, содержащего жидкость, внешними факторами, применяемыми к жидкости, во время процесса затвердевания жидкости и т.п. Увеличение частоты переохлаждения жидкости можно рассматривать как увеличение степени переохлаждения. Снижение температуры, при которой жидкость поддерживается в переохлажденном состоянии, можно рассматривать как увеличение степени переохлаждения. Здесь, переохлаждение относится к состоянию, в котором жидкость находится в жидкой фазе без затвердевания даже при температуре ниже точки замерзания жидкости. Переохлажденная жидкость имеет характеристику, при которой затвердевание происходит быстро с момента времени, когда переохлаждение прекращается. Если желательно поддерживать скорость затвердевания жидкости, целесообразно выполнять проектирование так, чтобы уменьшалось явление переохлаждения.

[136] Согласно варианту осуществления, степень сопротивления деформации представляет собой степень, в которой объект сопротивляется деформации из-за внешней силы, приложенной к объекту, и является значением, определяемым формой, включая толщину объекта, материал объекта и т.п. Например, внешняя сила может включать в себя давление, прикладываемое к узлу лотка в процессе затвердевания и расширения воды в ячейке для изготовления льда. В другом примере внешняя сила может включать в себя давление на лед или часть узла лотка со стороны толкателя для отделения льда от узла лотка. В другом примере, когда выполнено соединение между узлами лотков, она может включать в себя давление, прикладываемое соединением.

[137] Что касается материала объекта, высокая степень сопротивления деформации объекта может означать, что его жесткость является высокой. Теплопроводность может быть уникальным свойством материала объекта. Даже когда материал объекта один и тот же, степень сопротивления деформации может варьироваться в зависимости от формы объекта. На степень сопротивления деформации может влиять часть усиления для сопротивления деформации, проходящая в направлении приложения внешней силы. Чем больше увеличивается жесткость части усиления для сопротивления деформации, тем больше может увеличиваться степень сопротивления деформации. Чем больше увеличивается высота выступающей части усиления для сопротивления деформации, тем больше может увеличиваться степень сопротивления деформации.

[138] Согласно варианту осуществления, степень восстановления указывает степень, в которой объект, деформированный внешней силой, восстанавливается до формы объекта до приложения внешней силы после того, как внешняя сила устранена, и определяется как значение, определяемое формой, включая толщину объекта, материал объекта и т.п. Например, внешняя сила может включать в себя давление, прикладываемое к узлу лотка в процессе затвердевания и расширения воды в ячейке для изготовления льда. В другом примере внешняя сила может включать в себя давление на лед или часть узла лотка со стороны толкателя для отделения льда от узла лотка. В другом примере, когда выполнено соединение между узлами лотков, она может включать в себя давление, прикладываемое силой связи.

[139] Принимая во внимание материал объекта, высокая степень восстановления объекта может означать, что модуль упругости объекта является высоким. Модуль упругости может быть свойством материала, уникальным для объекта. Даже если материал объекта один и тот же, степень восстановления может варьироваться в зависимости от формы объекта. На степень восстановления может влиять усиливающая часть упругого сопротивления, выступающая в направлении приложения внешней силы. Чем больше увеличивается модуль упругости усиливающей части упругого сопротивления, тем больше может увеличиваться степень восстановления.

[140] Согласно варианту осуществления, сила связи представляет собой степень связи между множеством узлов лотков и определяется как величина, определяемая формой, включая толщину узла лотка, материал узла лотка, величину силы, которая присоединяет лотки друг к другу и т.п.

[141] Согласно варианту осуществления, степень прикрепления указывает степень, в которой лед и контейнер прикреплены друг к другу в процессе изготовления льда из воды, содержащейся в контейнере, и определяется как величина, определяемая формой, включая толщину контейнер, материал контейнера, время, прошедшее после того, как в контейнере был изготовлен лед, и т.п.

[142] Холодильник в соответствии с вариантом осуществления включает в себя узел первого лотка, определяющий часть ячейки для изготовления льда, которая представляет собой пространство, в котором вода превращается в лед в результате изменения фазы под действием холода, узел второго лотка, определяющий другую часть ячейки для изготовления льда, и охладитель, подающий холод в ячейку для изготовления льда, часть подачи воды, подающую воду в ячейку для изготовления льда, и контроллер. Холодильник может дополнительно включать в себя камеру хранения в дополнение к ячейке для изготовления льда. Камера хранения может включать в себя пространство для хранения пищи. Ячейка для изготовления льда может быть расположена в камере хранения. Холодильник может дополнительно включать в себя первый датчик температуры, измеряющий температуру в камере хранения. Холодильник может дополнительно включать в себя второй датчик температуры, измеряющий температуру воды или льда в ячейке для изготовления льда. Узел второго лотка может контактировать с узлом первого лотка в процессе изготовления льда и может быть соединен с приводом, чтобы быть отдаленным от узла первого лотка в процессе изготовления льда. Холодильник может дополнительно включать в себя нагреватель, расположенный рядом по меньшей мере с одним из узла первого лотка или узла второго лотка.

[143] Контроллер может управлять по меньшей мере одним из нагревателя или привода. Контроллер может управлять охладителем таким образом, чтобы холод подавался к ячейке для изготовления льда после того, как узел второго лотка перемещается в положение для изготовления льда, когда вода полностью подается в ячейку для изготовления льда. Контроллер может управлять узлом второго лотка так, чтобы узел второго лотка перемещался в обратном направлении после перемещения в положение отделения льда в прямом направлении, чтобы извлекать лед из ячейки для изготовления льда, когда лед полностью изготовлен в ячейке для изготовления льда. Контроллер может управлять узлом второго лотка так, чтобы подача части подачи воды после узла второго лотка перемещалась в положение подачи воды в обратном направлении, когда лед полностью отделился.

[144] Будет описан прозрачный лед. Пузырьки растворяются в воде, и затвердевший с пузырьками лед может иметь низкую прозрачность из-за пузырьков. Следовательно, в процессе затвердевания воды, когда пузырек направляется для перемещения от части замораживания в ячейке для изготовления льда к другой части, которая еще не заморожена, прозрачность льда может увеличиваться.

[145] Сквозное отверстие в узле лотка может влиять на изготовление прозрачного льда. Сквозное отверстие, образованное на одной стороне узла лотка, может влиять на изготовление прозрачного льда. Если в процессе изготовления льда пузырьки перемещаются за пределы ячейки для изготовления льда из замороженной части ячейки для изготовления льда, прозрачность льда может увеличиваться. Сквозное отверстие может быть выполнено на одной стороне узла лотка для направления пузырьков так, чтобы они выходили из ячейки для изготовления льда. Поскольку пузырьки имеют более низкую плотность, чем жидкость, сквозное отверстие (в дальнейшем именуемое "отверстие для выпуска воздуха") для направления пузырьков наружу из ячейки для изготовления льда может быть выполнено в верхней части узла лотка.

[146] Расположение охладителя и нагревателя может влиять на изготовление прозрачного льда. Положение охладителя и нагревателя может влиять на направление изготовления льда, т.е. направление, в котором лед образуется внутри ячейки для изготовления льда.

[147] В процессе изготовления льда, когда пузырьки перемещаются или собираются из области, в которой вода сначала затвердевает в ячейке для изготовления льда, в другую заданную область в жидком состоянии, прозрачность изготовленного льда может увеличиваться. Направление, в котором движутся или собираются пузырьки, может быть аналогичным направлению изготовления льда. Заданная область может быть областью, в которой вода должна затвердевать за последнее время в ячейке для изготовления льда.

[148] Заданная область может быть областью, в которой холод, подаваемый охладителем, достигает ячейки для изготовления льда с опозданием. Например, в процессе изготовления льда, сквозное отверстие, через которое охладитель подает холод в ячейку для изготовления льда, может быть определено ближе к верхней части, чем нижняя часть ячейки для изготовления льда, чтобы перемещать или собирать пузырьки в нижней части ячейки для изготовления льда. В качестве другого примера, теплопоглощающая часть охладителя (т.е. трубка хладагента испарителя или теплопоглощающая часть термоэлектрического элемента) может быть расположена ближе к верхней части, чем нижняя часть ячейки для изготовления льда. Согласно варианту осуществления верхняя и нижняя части ячейки для изготовления льда могут быть определены как верхняя область и нижняя область на основании высоты ячейки для изготовления льда.

[149] Заданная область может быть областью, в которой располагается нагреватель. Например, в процессе изготовления льда нагреватель может быть расположен ближе к нижней части, чем верхняя часть ячейки для изготовления льда, чтобы перемещать или собирать пузырьки в воде в нижней части ячейки для изготовления льда.

[150] Заданная область может быть областью ближе к внешней периферийной поверхности ячейки для изготовления льда, чем к центру ячейки для изготовления льда. Однако не исключена и близость к центру. Если заданная область находится рядом с центром ячейки для изготовления льда, непрозрачная часть из-за пузырьков, перемещенных или собранных около центра, может быть легко видна пользователю, и непрозрачная часть может оставаться до тех пор, пока большая часть льда не растает. Кроме того, может оказаться затруднительным размещение нагревателя внутри ячейки для изготовления льда, содержащей воду. Напротив, когда заданная область определяется на внешней периферийной поверхности ячейки для изготовления льда или рядом с ней, вода может затвердевать от одной стороны внешней периферийной поверхности ячейки для изготовления льда по направлению к другой стороне внешней периферийной поверхности ячейки для изготовления льда, тем самым снимая вышеуказанное ограничение. Нагреватель для прозрачного льда может быть расположен на внешней периферийной поверхности ячейки для изготовления льда или рядом с ней. Нагреватель может быть расположен в узле лотка или рядом с ним.

[151] Заданная область может находиться в положении, ближе к нижней части ячейки для изготовления льда, чем к верхней части ячейки для изготовления льда. Однако не исключается и верхняя часть. В процессе изготовления льда, поскольку жидкая вода имеет большую плотность, чем капли льда, может быть выгодным, чтобы заданная область была определена в нижней части ячейки для изготовления льда.

[152] По меньшей мере одно из степени сопротивления деформации, степени восстановления и силы связи между множеством узлов лотков может повлиять на изготовление прозрачного льда. По меньшей мере одно из степени сопротивления деформации, степени восстановления и силы связи между множеством узлов лотков может влиять на направление изготовления льда, т.е. направление, в котором лед образуется в ячейке для изготовления льда. Как описано выше, узел лотка может включать в себя первую область и вторую область, которые определяют внешнюю периферийную поверхность ячейки для изготовления льда. Например, каждая из первой и второй областей может быть частью одного узла лотка. В другом примере первая область может быть узлом первого лотка. Вторая область может быть узлом второго лотка.

[153] Для изготовления прозрачного льда может оказаться целесообразным, чтобы холодильник был сконфигурирован таким образом, чтобы направление, в котором изготавливается лед в ячейке для изготовления льда, было постоянным. Это связано с тем, что чем более постоянным является направление изготовления льда, тем больше пузырьков в воде перемещается или собирается в заданной области внутри ячейки для изготовления льда. Может быть целесообразным, чтобы деформация части была больше, чем деформация другой части, чтобы вызывать образование льда в направлении другой части в части узла лотка. Лед имеет тенденцию расти по мере того, как лед расширяется к части, в которой степень сопротивления деформации является низкой. Чтобы снова начать изготовление льда после удаления льда, деформированная часть должна быть снова восстановлена, чтобы повторно получать лед, имеющий ту же форму. Следовательно, может быть целесообразным, чтобы часть, имеющая низкую степень сопротивления деформации, имела более высокую степень восстановления, чем часть, имеющая высокую степень сопротивления деформации.

[154] Степень сопротивления деформации лотка по отношению к внешней силе может быть меньше, чем у корпуса лотка по отношению к внешней силе, или жесткость лотка может быть меньше, чем у корпуса лотка. Узел лотка позволяет лотку деформироваться под действием внешней силы, в то время как корпус лотка, окружающий лоток, выполнен с возможностью уменьшения деформации. Например, узел лотка может быть сконфигурирован так, чтобы по меньшей мере часть лотка была окружена корпусом лотка. В этом случае, когда к узлу лотка прикладывается давление, когда вода внутри ячейки для изготовления льда затвердевает и расширяется по меньшей мере часть лотка может деформироваться, а другая часть лотка может поддерживаться корпусом лотка, чтобы ограничивать деформацию. Кроме того, когда внешняя сила снимается, степень восстановления лотка может быть больше, чем у корпуса лотка, или модуль упругости лотка может быть больше, чем у корпуса лотка. Такая конфигурация может быть сконфигурирована так, чтобы деформированный лоток легко восстанавливался.

[155] Степень сопротивления деформации лотка по отношению к внешней силе может быть больше, чем у уплотнителя холодильника по отношению к внешней силе, или жесткость лотка может быть больше, чем у уплотнителя. Когда степень сопротивления деформации лотка является низкой, может существовать ограничение, заключающееся в том, что лоток чрезмерно деформируется, поскольку вода в ячейке для изготовления льда, определяемой лотком, затвердевает и расширяется. Такая деформация лотка может затруднять изготовление льда желаемого типа. Кроме того, степень восстановления лотка при удалении внешней силы может быть меньше, чем у уплотнителя холодильника по отношению к внешней силе, или модуль упругости лотка меньше модуля упругости уплотнителя.

[156] Сопротивление деформации корпуса лотка по отношению к внешней силе может быть меньше, чем у корпуса холодильника по отношению к внешней силе, или жесткость корпуса лотка может быть меньше, чем у корпуса холодильника. Как правило, корпус холодильника может быть выполнен из металлического материала, в том числе из стали. Кроме того, когда внешняя сила снимается, степень восстановления корпуса лотка может быть больше, чем у корпуса холодильника, по отношению к внешней силе, или модуль упругости корпуса лотка больше, чем у корпуса холодильника.

[157] Связь между прозрачным льдом и степенью сопротивления деформации заключается в следующем.

[158] Вторая область может иметь различную степень сопротивления деформации в направлении вдоль внешней периферийной поверхности ячейки для изготовления льда. Степень сопротивления деформации одной части второй области может быть больше, чем у другой части второй области. Такая конфигурация может способствовать стимулированию изготовления льда в направлении от ячейки для изготовления льда, определяемой второй областью, к ячейке для изготовления льда, определяемой первой областью.

[159] Первая и вторая области, предназначенные для контактирования друг с другом, могут иметь разную степень сопротивления деформации в направлении вдоль внешней периферийной поверхности ячейки для изготовления льда. Степень сопротивления деформации одной части второй области может быть больше, чем у одной части первой области. Такая конфигурация может способствовать стимулированию изготовления льда в направлении от ячейки для изготовления льда, определяемой второй областью, к ячейке для изготовления льда, определяемой первой областью.

[160] В этом случае, когда вода затвердевает, объем увеличивается для приложения давления к узлу лотка, что вызывает образование льда в другом направлении второй области или в одном направлении первой области. Степень сопротивления деформации может быть степенью сопротивления деформации под действием внешней силы. Внешняя сила может быть давлением, приложенным к узлу лотка в процессе затвердевания и расширения воды в ячейке для изготовления льда. Внешняя сила может быть силой в вертикальном направлении (направление оси Z) давления. Внешняя сила может быть силой, действующей в направлении от ячейки для изготовления льда, определяемой второй областью, к ячейке для изготовления льда, определяемой первой областью.

[161] Например, по толщине узла лотка в направлении внешней периферийной поверхности ячейки для изготовления льда от центра ячейки для изготовления льда одна часть второй области может быть толще, чем другая часть второй области, или толще, чем одна часть первой области. Одна часть второй области может быть частью, в которой корпус лотка не окружен. Другая часть второй области может быть частью, окруженной корпусом лотка. Одна часть первой области может быть частью, в которой корпус лотка не окружен. Одна часть второй области может быть частью, определяющей самую верхнюю часть ячейки для изготовления льда во второй области. Вторая область может включать в себя лоток и корпус лотка, локально окружающий лоток. Как описано выше, когда по меньшей мере часть второй области толще другой части, степень сопротивления деформации второй области может быть улучшена по отношению к внешней силе. Минимальное значение толщины одной части второй области может быть больше, чем толщина другой части второй области, или больше, чем толщина одной части первой области. Максимальное значение толщины одной части второй области может быть больше, чем толщина другой части второй области, или больше, чем толщина одной части первой области. Когда сквозное отверстие определено в области, минимальное значение представляет минимальное значение в остальных областях, за исключением части, в которой задано сквозное отверстие. Среднее значение толщины одной части второй области может быть больше, чем толщина другой части второй области, или больше, чем толщина одной части первой области. Однородность толщины одной части второй области может быть меньше, чем однородность толщины другой части второй области, или меньше, чем однородность толщины первой области.

[162] В качестве другого примера одна часть второй области может включать в себя первую поверхность, определяющую часть ячейки для изготовления льда, и часть усиления для сопротивления деформации, идущую от первой поверхности в вертикальном направлении от ячейки для изготовления льда, определяемой другой из второй области. Одна часть второй области может включать в себя первую поверхность, определяющую часть ячейки для изготовления льда, и часть усиления для сопротивления деформации, проходящую от первой поверхности в вертикальном направлении от ячейки для изготовления льда, определяемой первой областью. Как описано выше, когда по меньшей мере часть второй области включает в себя часть усиления для сопротивления деформации, степень сопротивления деформации второй области может быть улучшена по отношению к внешней силе.

[163] В другом примере одна часть второй области может дополнительно включать в себя опорную поверхность, соединенную с неподвижным краем холодильника (например, кронштейн, стенку камеры хранения и т.д.), расположенную в направлении от ячейки для изготовления льда, определяемой другой из второй области от первой поверхности. Одна часть второй области может дополнительно включать в себя опорную поверхность, соединенную с неподвижным краем холодильника (например, кронштейн, стенку камеры хранения и т.д.), расположенную в направлении от ячейки для изготовления льда, определяемой первой областью от первой поверхности. Как описано выше, когда по меньшей мере часть второй области включает в себя опорную поверхность, соединенную с фиксированным краем, степень сопротивления деформации второй области может быть улучшена по отношению к внешней силе.

[164] В другом примере узел лотка может включать в себя первую часть, определяющую по меньшей мере часть ячейки для изготовления льда, и вторую часть, проходящую от заданной точки первой части. По меньшей мере часть второй части может проходить в направлении от ячейки для изготовления льда, определяемой первой областью. По меньшей мере часть второй части может включать в себя дополнительную часть усиления для сопротивления деформации. По меньшей мере часть второй части может дополнительно включать в себя опорную поверхность, соединенную с неподвижным краем. Как описано выше, когда по меньшей мере часть второй области дополнительно включает в себя вторую часть, может быть целесообразным повышать степень сопротивления деформации второй области по отношению к внешней силе. Это связано с тем, что дополнительная часть усиления для сопротивления деформации располагается во второй части или вторая часть дополнительно поддерживается фиксированным краем.

[165] В другом примере одна часть второй области может включать в себя первое сквозное отверстие. Как описано выше, когда определено первое сквозное отверстие, лед, затвердевший в ячейке для изготовления льда второй области, расширяется за пределы ячейки для изготовления льда через первое сквозное отверстие, и, таким образом, давление, прикладываемое ко второй области, может быть уменьшено. В частности, когда вода чрезмерно подается в ячейку для изготовления льда, первое сквозное отверстие может использоваться для уменьшения деформации второй области в процессе затвердевания воды.

[166] Одна часть второй области может включать в себя второе сквозное отверстие, обеспечивающее путь, по которому пузырьки, содержащиеся в воде в ячейке для изготовления льда второй области, перемещаются или выходят. Когда второе сквозное отверстие определяется, как описано выше, прозрачность затвердевшего льда может быть улучшена.

[167] В одной части второй области может быть определено третье сквозное отверстие для прижатия проникающего толкателя. Это связано с тем, что толкателю непроникающего типа может быть трудно прижимать поверхность узла лотка, чтобы удалять лед, когда степень сопротивления деформации второй области увеличивается. Первое, второе и третье сквозные отверстия могут перекрывать друг друга. Первое, второе и третье сквозные отверстия могут быть образованы одним сквозным отверстием.

[168] Одна часть второй области может включать в себя монтажную часть, на которой располагается нагреватель для отделения льда. Возникновение льда в ячейке для изготовления льда, определяемой второй областью, в направлении ячейки для изготовления льда, определяемой первой областью, может означать, что лед сначала изготавливается во второй области. В этом случае время, в течение которого лед прикрепляется ко второй области, может быть большим, и может потребоваться нагреватель для отделения льда для отделения льда от второй области. Толщина узла лотка в направлении внешней периферийной поверхности ячейки для изготовления льда от центра ячейки для изготовления льда может быть меньше, чем толщина другой части второй области, в которой установлен нагреватель для отделения льда. Это происходит потому, что количество тепла, подаваемого нагревателем для отделения льда, увеличивается в количестве, передаваемом в ячейку для изготовления льда. Неподвижный край может быть частью стенки, определяющей камеру хранения, или кронштейном.

[169] Соотношение между силой связи прозрачного льда и узла лотка выглядит следующим образом.

[170] Чтобы стимулировать изготовление льда в ячейке для изготовления льда, определяемой второй областью, в направлении ячейки для изготовления льда, определяемой первой областью, может быть целесообразным увеличение силы связи между первой и второй областями, предназначенными для контактирования друг с другом. В процессе затвердевания воды, когда давление, прикладываемое к узлу лотка в расширенном состоянии, превышает силу связи между первой и второй областями, лед может быть изготовлен в направлении, в котором первая и вторая области отделены друг от друга. В процессе затвердевания воды, когда давление, прикладываемое к узлу лотка в расширенном состоянии, является низким, сила связи между первой и второй областями мала. Это также имеет то преимущество, что заставляет лед образовываться так, чтобы лед был образован в направлении области, имеющей наименьшую степень сопротивления деформации в первой и второй областях.

[171] Могут существовать различные примеры способа увеличения силы связи между первой и второй областями. Например, после того, как подача воды завершена, контроллер может изменять положение движения привода в первом направлении, чтобы управлять одной из первой и второй областей, чтобы двигаться в первом направлении, а затем положение движения приводом может управляться для дополнительного изменения в первом направлении, так что сила связи между первой и второй областями увеличивается. В качестве другого примера, поскольку сила связи между первой и второй областями увеличивается, степень сопротивления деформации или степень восстановления первой и второй областей могут отличаться друг от друга относительно силы, приложенной от привода, так что привод уменьшает изменение формы ячейки для изготовления льда за счет расширения льда после запуска процесса изготовления льда (или после включения нагревателя). В другом примере первая область может включать в себя первую поверхность, обращенную ко второй области. Вторая область может включать в себя вторую поверхность, обращенную к первой области. Первая и вторая поверхности могут быть расположены так, чтобы контактировать друг с другом. Первая и вторая поверхности могут быть обращены друг к другу. Первая и вторая поверхности могут быть расположены отделенными друг от друга и соединенными друг с другом. В этом случае площади первой поверхности и второй поверхности могут отличаться друг от друга. В этой конфигурации сила связи первой и второй областей может увеличиваться при уменьшении разрушения части, на которой первая и вторая области контактируют друг с другом. Кроме того, существует преимущество снижения утечки воды, подаваемой между первой и второй областями.

[172] Связь между прозрачным льдом и степенью восстановления заключается в следующем.

[173] Узел лотка может включать в себя первую часть, которая определяет по меньшей мере часть ячейки для изготовления льда, и вторую часть, проходящую от заданной точки первой части. Вторая часть сконфигурирована так, чтобы деформироваться в результате расширения льда, а затем восстанавливаться после удаления льда. Вторая часть может включать в себя горизонтальную расширительную часть, представленную так, что степень восстановления по отношению к горизонтальной внешней силе вспученного льда увеличивается. Вторая часть может включать в себя вертикальную расширительную часть, представленную так, что степень восстановления по отношению к вертикальной внешней силе вспученного льда увеличивается. Такая конфигурация может способствовать стимулированию изготовления льда в направлении от ячейки для изготовления льда, определяемой второй областью, к ячейке для изготовления льда, определяемой первой областью.

[174] Вторая область может иметь различную степень восстановления в направлении вдоль внешней периферийной поверхности ячейки для изготовления льда. Первая область может иметь различную степень сопротивления деформации в направлении вдоль внешней периферийной поверхности ячейки для изготовления льда. Степень восстановления одной части первой области может быть больше, чем степень восстановления другой части первой области. Кроме того, степень сопротивления деформации одной части может быть меньше, чем у другой части. Такая конфигурация может способствовать стимулированию изготовления льда в направлении от ячейки для изготовления льда, определяемой второй областью, к ячейке для изготовления льда, определяемой первой областью.

[175] Первая и вторая области, предназначенные для контактирования друг с другом, могут иметь разную степень восстановления в направлении вдоль внешней периферийной поверхности ячейки для изготовления льда. Кроме того, первая и вторая области могут иметь разную степень сопротивления деформации в направлении вдоль внешней периферийной поверхности ячейки для изготовления льда. Степень восстановления одной из первых областей может быть больше, чем у одной из вторых областей. Кроме того, степень сопротивления деформации одной из первых областей может быть больше, чем у одной из вторых областей. Такая конфигурация может способствовать стимулированию изготовления льда в направлении от ячейки для изготовления льда, определяемой второй областью, к ячейке для изготовления льда, определяемой первой областью.

[176] В этом случае, когда вода затвердевает, объем увеличивается для приложения давления к узлу лотка, что вызывает образование льда в одном направлении первой области, в которой степень сопротивления деформации уменьшается или степень восстановления увеличивается. Здесь степень восстановления может быть степенью восстановления после устранения внешней силы. Внешняя сила может быть давлением, приложенным к узлу лотка в процессе затвердевания и расширения воды в ячейке для изготовления льда. Внешняя сила может быть силой в вертикальном направлении (направление оси Z) давления. Внешняя сила может быть силой, действующей в направлении от ячейки для изготовления льда, определяемой второй областью, к ячейке для изготовления льда, определяемой первой областью.

[177] Например, по толщине узла лотка в направлении внешней периферийной поверхности ячейки для изготовления льда от центра ячейки для изготовления льда одна часть первой области может быть тоньше, чем другая часть первой области, или тоньше, чем одна часть второй области. Одна часть первой области может быть частью, в которой корпус лотка не окружен. Другая часть первой области может быть частью, которая окружена корпусом лотка. Одна часть второй области может быть частью, которая окружена корпусом лотка. Одна часть первой области может быть частью первой области, которая определяет самый нижний край ячейки для изготовления льда. Первая область может включать в себя лоток и корпус лотка, локально окружающий лоток.

[178] Минимальное значение толщины одной части первой области может быть меньше, чем толщина другой части второй области, или меньше, чем толщина одной части второй области. Максимальное значение толщины одной части первой области может быть меньше, чем толщина другой части первой области, или меньше, чем толщина одной части второй области. Когда сквозное отверстие определено в области, минимальное значение представляет минимальное значение в остальных областях, за исключением части, в которой задано сквозное отверстие. Среднее значение толщины одной части первой области может быть меньше, чем толщина другой части первой области, или может быть меньше, чем у одной из толщин второй области. Однородность толщины одной части первой области может быть больше, чем однородность толщины другой части первой области, или больше, чем однородность толщины второй области.

[179] В другом примере форма одной части первой области может отличаться от формы другой части первой области или отличаться от формы одной части второй области. Кривизна одной части первой области может отличаться от кривизны другой части первой области или отличаться от кривизны одной части второй области. Кривизна одной части первой области может быть меньше, чем кривизна другой части первой области, или меньше, чем кривизна одной части второй области. Одна часть первой области может включать в себя плоскую поверхность. Другая часть первой области может включать в себя изогнутую поверхность. Одна часть второй области может включать в себя изогнутую поверхность. Одна часть первой области может иметь форму, которая углублена в направлении, противоположном направлению расширения льда. Одна часть первой области может иметь форму, углубленную в направлении, противоположном направлению, в котором образован лед. В процессе изготовления льда одна часть первой области может быть изменена в направлении, в котором лед расширяется, или в направлении, в котором лед образуется. В процессе изготовления льда, по степени деформации от центра ячейки для изготовления льда к внешней периферийной поверхности ячейки для изготовления льда, одна часть первой области больше, чем другая часть первой области. В процессе изготовления льда, по степени деформации от центра ячейки для изготовления льда к внешней периферийной поверхности ячейки для изготовления льда, одна часть первой области больше, чем одна часть второй области.

[180] В качестве другого примера, чтобы стимулировать изготовление льда в направлении от ячейки для изготовления льда, определяемой второй областью, к ячейке для изготовления льда, определяемой первой областью, одна часть первой области может включать в себя первую поверхность, определяющую часть ячейки для изготовления льда, и вторую поверхность, проходящую от первой поверхности и поддерживаемую одной поверхностью другой части первой области. Первая область может быть сконфигурирована так, чтобы не поддерживаться напрямую другим компонентом, за исключением второй поверхности. Другой компонент может быть неподвижным краем холодильника.

[181] Одна часть первой области может иметь прижимную поверхность, прижимаемую толкателем непроникающего типа. Это связано с тем, что, когда степень сопротивления деформации первой области является низкой или степень восстановления является высокой, сложность удаления льда путем нажатия на поверхность узла лотка может быть уменьшена.

[182] Скорость изготовления льда, при которой лед образуется внутри ячейки для изготовления льда, может повлиять на изготовление прозрачного льда. Скорость изготовления льда может повлиять на прозрачность льда. Факторами, влияющими на скорость изготовления льда, могут быть количество холода и/или тепла, которые подводятся/поступают в ячейку для изготовления льда. Количество холода и/или тепла может повлиять на изготовление прозрачного льда. Количество холода и/или тепла может повлиять на прозрачность льда.

[183] В процессе изготовления прозрачного льда прозрачность льда может быть снижена, поскольку скорость изготовления льда больше, чем скорость, с которой пузырьки в ячейке для изготовления льда перемещаются или собираются. С другой стороны, если скорость изготовления льда меньше скорости, с которой пузырьки перемещаются или собираются, прозрачность льда может увеличиваться. Однако чем больше снижается скорость изготовления льда, тем больше может увеличиваться время, необходимое для изготовления прозрачного льда. Кроме того, прозрачность льда может быть равномерной, поскольку скорость изготовления льда поддерживается в постоянном диапазоне.

[184] Чтобы поддерживать скорость изготовления льда равномерно в пределах заданного диапазона, количество холода и тепла, подаваемых в ячейку для изготовления льда, может быть одинаковым. Однако в реальных условиях использования холодильника может иметь место случай, когда количество холода является переменным, и, таким образом, необходимо обеспечивать изменение количества подаваемого тепла. Например, когда температура камеры хранения достигает области удовлетворения из области неудовлетворения, когда операция размораживания выполняется в отношении охладителя камеры хранения, состояние дверцы камеры хранения может по-разному изменяться в состоянии, таком как открытое состояние. Кроме того, если количество воды на единицу высоты ячейки для изготовления льда отличается, при подаче одинакового холода и тепла на единицу высоты прозрачность на единицу высоты может изменяться.

[185] Чтобы устранять это ограничение, контроллер может управлять нагревателем таким образом, чтобы, когда величина теплопередачи между холодом внутри камеры хранения и водой ячейки для изготовления льда увеличивается, величина нагрева нагревателя для прозрачного льда увеличивалась, а когда величина теплопередачи между холодом внутри камеры хранения и водой в ячейке для изготовления льда уменьшается, величина нагрева нагревателя для прозрачного льда уменьшается, чтобы поддерживать скорость изготовления льда из воды в ячейке для изготовления льда в пределах заданного диапазона, который меньше, чем скорость изготовления льда, когда изготовление льда выполняется в состоянии, в котором нагреватель выключен.

[186] Контроллер может управлять одним или несколькими параметрами из количества подаваемого холода охладителя и количества подаваемого тепла нагревателя для изменения в соответствии с массой воды на единицу высоты в ячейке для изготовления льда. В этом случае может быть предоставлен прозрачный лед, соответствующий изменению формы ячейки для изготовления льда.

[187] Холодильник может дополнительно включать в себя датчик, измеряющий информацию о массе воды на единицу высоты ячейки для изготовления льда, и контроллер может управлять одним из количества подаваемого холода охладителя и количества подаваемого тепла нагревателя на основе информации, введенной из датчика.

[188] Холодильник может включать в себя часть хранения, в которой заранее определенная информация о приведении в действие охладителя записывается на основе информации о массе на единицу высоты ячейки для изготовления льда, и контроллер может управлять изменением количества подаваемого холода охладителя на основе этой информации.

[189] Холодильник может включать в себя часть хранения, в которой заранее определенная информация о приведении в действие нагревателя записывается на основе информации о массе на единицу высоты ячейки для изготовления льда, и контроллер может управлять изменением количества подаваемого тепла нагревателя на основе этой информации. Например, контроллер может управлять по меньшей мере одним из количества подаваемого холода охладителя или количества подаваемого тепла нагревателя для изменения в соответствии с заранее определенным временем на основе информации о массе на единицу высоты ячейки для изготовления льда. Это может быть временем, когда охладитель приводится в действие, или временем, когда нагреватель приводится в действие для изготовления льда. В качестве другого примера, контроллер может управлять по меньшей мере одним из количества подаваемого холода охладителя или количества подаваемого тепла нагревателя для изменения в соответствии с заданной температурой на основе информации о массе на единицу высоты ячейки для изготовления льда. Температура может быть температурой ячейки для изготовления льда или температурой узла лотка, определяющего ячейку для изготовления льда.

[190] Когда датчик, измеряющий массу воды на единицу высоты ячейки для изготовления льда, неисправен или когда количество воды, подаваемой в ячейку для изготовления льда, недостаточно или чрезмерно, форма воды для изготовления льда изменяется, и, таким образом, прозрачность изготовленного льда может уменьшаться. Чтобы устранять это ограничение, требуется способ подачи воды, при котором количество воды, подаваемой в ячейку для изготовления льда, точно регулируется. Кроме того, узел лотка может включать в себя конструкцию, в которой утечка узла лотка уменьшена, чтобы уменьшать утечку воды в ячейке для изготовления льда в положении подачи воды или положении для изготовления льда. Кроме того, необходимо увеличивать силу связи между узлами первого и второго лотка, определяющими ячейку для изготовления льда, чтобы уменьшать изменение формы ячейки для изготовления льда из-за силы расширения льда во время изготовления льда. Кроме того, необходимо уменьшать утечку в способе точной подачи воды и узле лотка и увеличивать силу связи между узлами первого и второго лотков, чтобы получить лед, имеющий форму, близкую к форме лотка.

[191] Степень переохлаждения воды внутри ячейки для изготовления льда может влиять на изготовление прозрачного льда. Степень переохлаждения воды может влиять на прозрачность изготовленного льда.

[192] Для изготовления прозрачного льда может быть желательным спроектировать степень переохлаждения или снизить температуру внутри ячейки для изготовления льда и тем самым поддерживать заданный диапазон. Это связано с тем, что переохлажденная жидкость имеет характеристику, при которой затвердевание происходит быстро с момента времени, когда переохлаждение прекращается. В этом случае прозрачность льда может снизиться.

[193] В процессе затвердевания жидкости, контроллер холодильника может управлять частью сброса переохлаждения, чтобы она работала так, чтобы уменьшать степень переохлаждения жидкости, если время, необходимое для достижения определенной температуры ниже точки замерзания после того, как температура жидкости достигает точки замерзания, меньше контрольного значения. После достижения точки замерзания видно, что температура жидкости понижается ниже точки замерзания, поскольку происходит переохлаждение, и затвердевания не происходит.

[194] Пример части сброса переохлаждения может включать в себя часть, формирующую электрическую искру. Когда искра подводится к жидкости, степень переохлаждения жидкости может быть уменьшена. Другой пример части сброса переохлаждения может включать в себя привод, прикладывающий внешнюю силу, так что жидкость перемещается. Привод может позволить контейнеру перемещаться по меньшей мере в одном направлении между осями X, Y или Z или вращаться по меньшей мере вокруг одной оси между осями X, Y или Z. Когда к жидкости подводится кинетическая энергия, степень переохлаждения жидкости может быть уменьшена. Еще один пример части сброса переохлаждения может включать в себя часть, подающую жидкость в контейнер. После подачи жидкости, имеющей первый объем, меньший, чем у емкости, по истечении заданного времени или когда температура жидкости достигает определенной температуры ниже точки замерзания, контроллер холодильника может контролировать количество жидкости для дополнительной подачи, жидкость, имеет второй объем больше, чем первый объем. Когда жидкость разделяется и подается в контейнер, как описано выше, жидкость, подаваемая первой, может затвердеть, чтобы действовать как ядра замерзания, и, таким образом, степень переохлаждения подаваемой жидкости может быть дополнительно снижена.

[195] Чем больше увеличивается степень теплопередачи контейнера, содержащего жидкость, тем больше может увеличиваться степень переохлаждения жидкости. Чем больше уменьшается степень теплопередачи контейнера, содержащего жидкость, тем сильнее может уменьшаться степень переохлаждения жидкости.

[196] Конструкция и способ нагрева ячейки для изготовления льда в дополнение к теплопередаче узла лотка могут повлиять на изготовление прозрачного льда. Как описано выше, узел лотка может включать в себя первую область и вторую область, которые определяют внешнюю периферийную поверхность ячейки для изготовления льда. Например, каждая из первой и второй областей может быть частью одного узла лотка. В другом примере первая область может быть узлом первого лотка. Вторая область может быть узлом второго лотка.

[197] Холод, подаваемый в ячейку для изготовления льда, и тепло, подаваемое в ячейку для изготовления льда, имеют противоположные свойства. Для увеличения скорости изготовления льда и/или улучшения прозрачности льда, конструкция структуры и управление охладителем и нагревателем, взаимосвязь между охладителем и узлом лотка, а также взаимосвязь между нагревателем и узлом лотка могут быть очень важными.

[198] Для постоянного количества холода, подаваемого охладителем, и постоянного количества тепла, подаваемого нагревателем, может быть целесообразно, чтобы нагреватель локально нагревал ячейку для изготовления льда, чтобы увеличивать скорость изготовления льда в холодильнике и/или для увеличения прозрачности льда. Поскольку тепло, передаваемое от нагревателя к ячейке для изготовления льда, передается в область, отличную от области, на которой располагается нагреватель, скорость изготовления льда может быть улучшена. Поскольку нагреватель нагревает только часть ячейки для изготовления льда, нагреватель может перемещать или собирать пузырьки в область, прилегающую к нагревателю в ячейке для изготовления льда, тем самым увеличивая прозрачность льда.

[199] Когда количество тепла, подаваемого нагревателем в ячейку для изготовления льда, является большим, пузырьки в воде могут перемещаться или собираться в той части, к которой подводится тепло, и, таким образом, прозрачность изготовленного льда может увеличиваться. Однако, если тепло равномерно подводится к внешней периферийной поверхности ячейки для изготовления льда, скорость изготовления льда может снижаться. Следовательно, поскольку нагреватель локально нагревает часть ячейки для изготовления льда, можно повышать прозрачность изготовленного льда и минимизировать снижение скорости изготовления льда.

[200] Нагреватель может быть расположен так, чтобы контактировать с одной стороной узла лотка. Нагреватель может быть расположен между лотком и корпусом лотка. Передача тепла через проводимость может быть полезной для локального нагрева ячейки для изготовления льда.

[201] По меньшей мере часть другой стороны, на которой нагреватель не контактирует с лотком, может быть изолирована теплоизоляционным материалом. Такая конфигурация может уменьшать передачу тепла, подаваемого от нагревателя, в камеру хранения.

[202] Узел лотка может быть сконфигурирован так, чтобы передача тепла от нагревателя к центру ячейки для изготовления льда была больше, чем передача тепла от нагревателя в направлении окружности ячейки для изготовления льда.

[203] Теплопередача лотка к центру ячейки для изготовления льда в лотке может быть больше, чем передача тепла от корпуса лотка в камеру хранения, или теплопроводность лотка может быть больше, чем у корпуса лотка. Такая конфигурация может вызвать увеличение тепла, передаваемого от нагревателя к ячейке для изготовления льда через лоток. Кроме того, представляется возможным уменьшать тепло нагревателя, передаваемое в камеру хранения через корпус лотка.

[204] Теплопередача лотка к центру ячейки для изготовления льда в лотке может быть меньше, чем теплоотдача корпуса холодильника по направлению к камере хранения снаружи корпуса холодильника (например, внутреннего корпуса или внешнего корпуса) или теплопроводность лотка может быть меньше, чем у холодильника. Это связано с тем, что чем больше увеличивается тепло или теплопроводность лотка, тем сильнее может увеличиваться переохлаждение воды, находящейся в лотке. Чем больше увеличивается степень переохлаждения воды, тем больше вода может быстро затвердеть в момент времени, когда происходит переохлаждение. В этом случае может возникнуть ограничение, при котором прозрачность льда неоднородна или прозрачность уменьшается. Как правило, корпус холодильника может быть выполнен из металлического материала, в том числе из стали.

[205] Теплопередача корпуса лотка в направлении от камеры хранения к корпусу лотка может быть больше, чем у теплоизоляционной стенки в направлении от внешнего пространства холодильника к камере хранения, или теплопроводность корпуса лотка может быть больше, чем у теплоизоляционной стенки (например, изоляционного материала, расположенного между внутренним и внешним корпусами холодильника). Здесь теплоизоляционная стенка может представлять собой теплоизоляционную стенку, которая отделяет внешнее пространство от камеры хранения. Если степень теплопередачи корпуса лотка равна или больше, чем у теплоизоляционной стенки, скорость охлаждения ячейки для изготовления льда может быть чрезмерно снижена.

[206] Первая область может иметь различную степень теплопередачи в направлении вдоль внешней периферийной поверхности. Степень теплопередачи одной части первой области может быть меньше, чем у другой части первой области. Такая конфигурация может способствовать уменьшению теплопередачи, передаваемой через узел лотка от первой области ко второй области в направлении вдоль внешней периферийной поверхности.

[207] Первая и вторая области, предназначенные для контактирования друг с другом, могут иметь различную степень теплопередачи в направлении вдоль внешней периферийной поверхности. Степень теплопередачи одной части первой области может быть меньше, чем степень теплопередачи одной части второй области. Такая конфигурация может способствовать уменьшению теплопередачи, передаваемой через узел лотка от первой области ко второй области в направлении вдоль внешней периферийной поверхности. В другом аспекте может быть выгодным уменьшать тепло, передаваемое от нагревателя к одной части первой области, которое должно передаваться в ячейку для изготовления льда, определяемую второй областью. Когда тепло, передаваемое во вторую область, уменьшается, нагреватель может локально нагревать одну часть первой области. Таким образом, можно уменьшать снижение скорости изготовления льда за счет нагрева нагревателя. В другом аспекте пузыри могут перемещаться или собираться в области, в которой нагреватель локально нагревается, тем самым улучшая прозрачность льда. Нагреватель может быть нагревателем для прозрачного льда.

[208] Например, длина пути теплопередачи от первой области ко второй области может быть больше, чем длина пути теплопередачи в направлении от первой области к внешней периферийной поверхности от первой области. В качестве другого примера, при толщине узла лотка в направлении внешней периферийной поверхности ячейки для изготовления льда от центра ячейки для изготовления льда, одна часть первой области может быть тоньше, чем другая часть первой области или тоньше одной части второй области. Одна часть первой области может быть частью, в которой корпус лотка не окружен. Другая часть первой области может быть частью, которая окружена корпусом лотка. Одна часть второй области может быть частью, которая окружена корпусом лотка. Одна часть первой области может быть частью первой области, которая определяет нижний край ячейки для изготовления льда. Первая область может включать в себя лоток и корпус лотка, локально окружающий лоток.

[209] Как описано выше, когда толщина первой области является тонкой, теплопередача в направлении центра ячейки для изготовления льда может увеличиваться при одновременном уменьшении теплопередачи в направлении внешней периферийной поверхности ячейки для изготовления льда. По этой причине ячейка для изготовления льда, определяемая первой областью, может нагреваться локально.

[210] Минимальное значение толщины одной части первой области может быть меньше, чем толщина другой части второй области, или меньше, чем толщина одной части второй области. Максимальное значение толщины одной части первой области может быть меньше, чем толщина другой части первой области, или меньше, чем толщина одной части второй области. Когда сквозное отверстие определено в области, минимальное значение представляет минимальное значение в остальных областях, за исключением части, в которой задано сквозное отверстие. Среднее значение толщины одной части первой области может быть меньше, чем толщина другой части первой области, или может быть меньше, чем у одной из толщин второй области. Однородность толщины одной части первой области может быть больше, чем однородность толщины другой части первой области, или больше, чем однородность толщины второй области.

[211] Например, узел лотка может включать в себя первую часть, определяющую по меньшей мере часть ячейки для изготовления льда, и вторую часть, проходящую от заданной точки первой части. Первая область может быть определена в первой части. Вторая область может быть определена в дополнительном узле лотка, который может контактировать с первой частью. По меньшей мере часть второй части может проходить в направлении от ячейки для изготовления льда, определяемой второй областью. В этом случае тепло, передаваемое от нагревателя к первой области, может быть уменьшено от передачи ко второй области.

[212] Конструкция и способ охлаждения ячейки для изготовления льда в дополнение к степени передачи холода узла лотка могут повлиять на изготовление прозрачного льда. Как описано выше, узел лотка может включать в себя первую область и вторую область, которые определяют внешнюю периферийную поверхность ячейки для изготовления льда. Например, каждая из первой и второй областей может быть частью одного узла лотка. В другом примере первая область может быть узлом первого лотка. Вторая область может быть узлом второго лотка.

[213] Для постоянного количества холода, подаваемого охладителем, и постоянного количества тепла, подаваемого нагревателем, может быть целесообразным сконфигурировать охладитель так, чтобы часть ячейки для изготовления льда охлаждалась более интенсивно, чтобы увеличивать скорость изготовления льда холодильника и/или увеличивать прозрачность льда. Чем больше холода, подаваемого охладителем в ячейку для изготовления льда, тем больше может увеличиваться скорость изготовления льда. Однако, поскольку холод равномерно подается на внешнюю периферийную поверхность ячейки для изготовления льда, прозрачность изготовленного льда может уменьшаться. Следовательно, по мере того, как охладитель более интенсивно охлаждает часть ячейки для изготовления льда, пузырьки могут перемещаться или собираться в другие области ячейки для изготовления льда, тем самым повышая прозрачность изготовленного льда и сводя к минимуму снижение скорости изготовления льда.

[214] Охладитель может быть сконфигурирован так, чтобы количество холода, подаваемого во вторую область, отличалось от количества холода, подаваемого в первую область, чтобы охладитель мог более интенсивно охлаждать часть ячейки для изготовления льда. Количество холода, подаваемого охладителем во вторую область, может быть больше, чем количество холода, подаваемого в первую область.

[215] Например, вторая область может быть изготовлена из металлического материала, имеющего высокую скорость переноса холода, а первая область может быть изготовлена из материала, имеющего меньшую скорость переноса холода, чем у металла.

[216] В качестве другого примера, чтобы увеличивать степень передачи холода, передаваемого от камеры хранения в центр ячейки для изготовления льда через узел лотка, вторая область может варьироваться по степени передачи холода в центральном направлении. Степень передачи холода одной части второй области может быть больше, чем у другой части второй области. Сквозное отверстие может быть образовано в одной части второй области. По меньшей мере часть теплопоглощающей поверхности охладителя может быть расположена в сквозном отверстии. В сквозном отверстии может быть расположен канал, через который проходит холодный воздух, подаваемый из охладителя. Одна часть может быть частью, которая не окружена корпусом лотка. Другая часть может быть частью, окруженной корпусом лотка. Одна часть второй области может быть частью, определяющей самую верхнюю часть ячейки для изготовления льда во второй области. Вторая область может включать в себя лоток и корпус лотка, локально окружающий лоток. Как описано выше, когда часть узла лотка имеет высокую скорость переноса холода, переохлаждение может происходить в узле лотка, имеющем высокую скорость переноса холода. Как описано выше, могут потребоваться конструкции для уменьшения степени переохлаждения.

[217] В дальнейшем конкретный вариант осуществления холодильника согласно варианту осуществления будет описан со ссылкой на чертежи.

[218] Фиг.1 - вид спереди холодильника согласно варианту осуществления.

[219] Ссылаясь на фиг.1, холодильник согласно варианту осуществления может включать в себя шкаф 14, включающий камеру хранения и дверца, которая открывает и закрывает камеру хранения. Камера хранения может включать в себя холодильное отделение 18 и морозильное отделение 32. Холодильное отделение 18 расположено на верхней стороне, а морозильное отделение 32 расположено на нижней стороне. Каждая камера хранения может открываться и закрываться отдельно каждой дверцей. В другом примере морозильное отделение может быть расположено на верхней стороне, а холодильное отделение может быть расположено на нижней стороне. В качестве альтернативы, морозильное отделение может быть расположено на одной стороне левой и правой сторон, а холодильное отделение может быть расположено на другой стороне.

[220] Морозильное отделение 32 может быть разделено на верхнее пространство и нижнее пространство, и ящик 40, который можно извлекать и вставлять в нижнее пространство, может быть предусмотрен в нижнем пространстве.

[221] Дверца может включать в себя множество дверец 10, 20, 30 для открывания и закрывания холодильного отделения 18 и морозильного отделения 32. Множество дверец 10, 20 и 30 может включать в себя некоторые или все дверцы 10 и 20 для открывания и закрывания камеры хранения с возможностью поворота и дверцу 30 для открывания и закрывания камеры хранения с возможностью скольжения. Морозильное отделение 32 может быть разделено на два пространства, даже если морозильное отделение 32 открывается и закрывается одной дверцей 30. В этом варианте осуществления морозильное отделение 32 может называться первой камерой хранения, а холодильное отделение 18 может называться второй камерой хранения.

[222] Морозильное отделение 32 может быть снабжено льдогенератором 200, приспособленным изготавливать лед. Льдогенератор 200 может быть расположен, например, в верхнем пространстве морозильного отделения 32. Резервуар 600 для льда, в который лед, изготовленный льдогенератором 200, падает для хранения, может быть расположен под льдогенератором 200. Пользователь может вынуть резервуар 600 для льда из морозильного отделения 32, чтобы использовать лед, хранящийся в резервуаре 600 для льда. Резервуар 600 для льда может быть установлен на верхней стороне горизонтальной стенки, которая отделяет верхнее пространство и нижнее пространство морозильного отделения 32 друг от друга. Хотя это не показано, шкаф 14 снабжен каналом, по которому холодный воздух подается в льдогенератор 200 (не показан). Канал направляет холодный воздух, который обменялся теплом с хладагентом, протекающим через испаритель, к льдогенератору 200. Например, канал может быть расположен позади шкафа 14 для выпуска холодного воздуха к передней стороне шкафа 14. Льдогенератор 200 может быть расположен на передней стороне канала. Хотя это и не ограничивается, выпускное отверстие канала может быть выполнено в одной или более из задней стенки и верхней стенки морозильного отделения 32.

[223] Хотя вышеописанный льдогенератор 200 предусмотрен в морозильном отделении 32, пространство, в котором располагается льдогенератор 200, не ограничивается морозильным отделением 32. Например, льдогенератор 200 может быть расположен в различных пространствах до тех пор, пока льдогенератор 200 получает холодный воздух. Следовательно, в дальнейшем льдогенератор 200 будет описан как расположенный в камере хранения.

[224] Фиг.2 - вид в перспективе льдогенератора согласно варианту осуществления, а фиг.3 - вид спереди льдогенератора, показанного на фиг.2. Фиг.4 - вид в перспективе, иллюстрирующий состояние, в котором кронштейн снят с льдогенератора по фиг.3 и фиг.5 - покомпонентный вид в перспективе льдогенератора в соответствии с вариантом осуществления.

[225] Ссылаясь на фиг.2-5, каждый компонент льдогенератора 200 может быть расположен внутри или снаружи кронштейна 220, и, таким образом, льдогенератор 200 может составлять один узел.

[226] Льдогенератор 200 может включать в себя узел первого лотка и узел второго лотка. Узел первого лотка может включать в себя первый лоток 320, корпус первого лотка или весь первый лоток 320 и корпус второго лотка. Узел второго лотка может включать в себя второй лоток 380, корпус второго лотка или весь второй лоток 380 и корпус второго лотка. Кронштейн 220 может определять по меньшей мере часть пространства, которое вмещает узел первого лотка и узел второго лотка.

[227] Кронштейн 220 может быть установлен, например, на верхней стенке морозильного отделения 32. Кронштейн 220 может быть снабжен частью 240 подачи воды. Часть 240 подачи воды может направлять воду, подаваемую с верхней стороны на нижнюю сторону части 240 подачи воды. Трубка подачи воды (не показана), в которую подается вода, может быть установлена над частью 240 подачи воды.

[228] Вода, подаваемая в часть 240 подачи воды, может двигаться вниз. Часть 240 подачи воды может предотвращать падение воды, выпускаемой из трубки подачи воды, из высокого положения, тем самым предотвращая разбрызгивание воды. Поскольку часть 240 подачи воды располагается ниже трубки подачи воды, вода может быть направлена вниз без разбрызгивания до части 240 подачи воды, и количество разбрызгиваемой воды может быть уменьшено, даже если вода движется вниз из-за пониженной высоты.

[229] Льдогенератор 200 может включать в себя ячейку 320a для изготовления льда (как показано на фиг.49), в которой вода превращается в лед под действием холодного воздуха. Первый лоток 320 может задавать по меньшей мере часть ячейки 320а для изготовления льда. Второй лоток 380 может включать в себя второй лоток 380, определяющий другую часть ячейки 320а для изготовления льда. Второй лоток 380 может быть расположен относительно подвижным по отношению к первому лотку 320. Второй лоток 380 может вращаться линейно или вращаться. В дальнейшем вращение второго лотка 380 будет описано в качестве примера.

[230] Например, в процессе изготовления льда второй лоток 380 может перемещаться относительно первого лотка 320, так что первый лоток 320 и второй лоток 380 контактируют друг с другом. Когда первый лоток 320 и второй лоток 380 контактируют друг с другом, может быть определена вся ячейка 320а для изготовления льда. С другой стороны, второй лоток 380 может перемещаться относительно первого лотка 320 во время процесса изготовления льда после того, как изготовление льда завершено, а второй лоток 380 может быть отделен от первого лотка 320. В этом варианте осуществления первый лоток 320 и второй лоток 380 могут быть расположены в вертикальном направлении в состоянии, в котором сформирована ячейка 320а для изготовления льда. Соответственно, первый лоток 320 может называться верхним лотком, а второй лоток 380 может называться нижним лотком.

[231] Множество ячеек 320а для изготовления льда может быть образовано первым лотком 320 и вторым лотком 380. Далее на чертеже в качестве примера представлены три ячейки 320а для изготовления льда.

[232] Когда вода охлаждается холодным воздухом, когда вода подается в ячейку 320a для изготовления льда, может быть получен лед, имеющий такую же или аналогичную форму, что и форма ячейки 320a для изготовления льда. В этом варианте осуществления, например, ячейка 320a для изготовления льда может иметь сферическую форму или форму, аналогичную сферической форме. Ячейка 320а для изготовления льда может иметь форму прямоугольного параллелепипеда или многоугольника.

[233] Например, корпус первого лотка может включать в себя держатель 340 первого лотка и крышку 320 первого лотка. Держатель 340 первого лотка и крышка 320 первого лотка могут быть выполнены как единое целое или соединены друг с другом после изготовления в отдельных конфигурациях. Например по меньшей мере часть крышки 300 первого лотка может быть расположена над первым лотком 320. По меньшей мере часть держателя 340 первого лотка может быть расположена под первым лотком 320. Крышка 300 первого лотка может быть изготовлена как отдельная часть от кронштейна 220, а затем может быть соединена с кронштейном 220 или сформирована как единое целое с кронштейном 220. Т.е. корпус первого лотка может включать в себя кронштейн 220.

[234] Льдогенератор 200 может дополнительно включать в себя корпус 280 первого нагревателя. Нагреватель для отделения льда (см. 290 на фиг.42) может быть установлен в корпусе 280 первого нагревателя. Корпус 280 нагревателя может быть выполнен как единое целое с крышкой 300 первого лотка или может быть формироваться отдельно.

[235] Нагреватель 290 для отделения льда может быть расположен рядом с первым лотком 320. Нагреватель 290 для отделения льда может быть, например, нагревателем проволочного типа. Например, нагреватель 290 для отделения льда может быть установлен так, чтобы контактировать с первым лотком 320, или может быть расположен на заданном расстоянии от первого лотка 320. В некоторых случаях нагреватель 290 для отделения льда может подавать тепло к первому лотку 320, и тепло, подаваемое к первому лотку 320, может передаваться в ячейку 320a для изготовления льда. Крышка 300 первого лотка может соответствовать форме ячейки 320a для изготовления льда первого лотка 320 и может контактировать с нижней частью первого лотка 320.

[236] Льдогенератор 200 может включать в себя первый толкатель 260, отделяющий лед во время процесса отделения льда. Первый толкатель 260 может получать мощность от привода 480, что будет описано ниже. Крышка 300 первого лотка может быть снабжена направляющей прорезью 302, направляющей движение первого толкателя 260. Направляющая прорезь 302 может быть предусмотрена в части, проходящей вверх от крышки 300 первого лотка. Направляющая соединительная часть первого толкателя 260, который описан ниже, может быть вставлен в направляющую прорезь 302. Таким образом, направляющая соединительная часть может направляться вдоль направляющей прорези 302.

[237] Первый толкатель 260 может включать в себя по меньшей мере один толкающий стержень 264. Например, первый толкатель 260 может включать в себя толкающий стержень 264, имеющий то же количество, что и количество ячеек 320а для изготовления льда, но не ограничивается этим. Толкающий стержень 264 может выталкивать лед, находящийся в ячейке 320a для изготовления льда, во время процесса отделения льда. Например, толкающий стержень 264 может быть вставлен в ячейку 320a для изготовления льда через крышку 300 первого лотка. Следовательно, в крышке 300 первого лотка может быть предусмотрено отверстие 304 (или сквозное отверстие), через которое часть первого толкателя 260 проходит.

[238] Первый толкатель 260 может быть соединен с тягой 500 толкателя. В этом случае первый толкатель 260 может быть соединен с тягой 500 толкателя с возможностью вращения. Следовательно, когда тяга 500 толкателя перемещается, первый толкатель 260 также может перемещаться по направляющей прорези 302.

[239] Корпус второго лотка может включать в себя, например, крышку 360 второго лотка и держатель 400 второго лотка. Крышка 360 второго лотка и держатель 400 второго лотка могут быть выполнены как одно целое или соединены друг с другом после изготовления в отдельных конфигурациях. Например по меньшей мере часть крышки 360 второго лотка может быть расположена над вторым лотком 380. По меньшей мере часть держателя 400 второго лотка может быть расположена ниже второго лотка 380. Держатель 400 второго лотка может быть расположен на нижней стороне второго лотка для поддержки второго лотка 380.

[240] Например по меньшей мере часть стенки, определяющая вторую ячейку 381a второго лотка 380, может поддерживаться держателем 400 второго лотка. Пружина 402 может быть соединена с одной стороной держателя 400 второго лотка. Пружина 402 может обеспечивать упругую силу держателю 400 второго лотка для поддержания состояния, в котором второй лоток 380 контактирует с первым лотком 320.

[241] Второй лоток 380 может включать в себя периферийную стенку 387, окружающую часть первого лотка 320 в состоянии контакта с первым лотком 320. Крышка 360 второго лотка может покрывать по меньшей мере часть периферийной стенки 387.

[242] Льдогенератор 200 может дополнительно включать в себя корпус 420 второго нагревателя. Нагреватель 430 для прозрачного льда, который будет описан позже, может быть установлен в корпусе 420 второго нагревателя. Корпус 420 второго нагревателя может быть выполнен как одно целое с держателем 400 второго лотка или может быть предоставлен отдельно для соединения с держателем 400 второго лотка.

[243] Льдогенератор 200 может дополнительно включать в себя привод 480, обеспечивающий движущую силу. Второй лоток 380 может перемещаться относительно первого лотка 320, принимая движущую силу привода 480. Первый толкатель 260 может перемещаться, принимая движущую силу привода 480. Сквозное отверстие 282 может быть образовано в расширительной части 281, проходящей вниз на одной стороне крышки 300 первого лотка. Сквозное отверстие 404 может быть образовано в расширительной части 403, проходящей на одной стороне держателя 400 второго лотка. По меньшей мере часть сквозного отверстия 404 может быть расположена выше горизонтальной линии, проходящей через центр ячейки 320a для изготовления льда.

[244] Льдогенератор 200 может дополнительно включать в себя вал 440 (или вал вращения), который проходит через сквозные отверстия 282 и 404 вместе. Поворотный рычаг 460 может быть предусмотрен на каждом из обоих краев вала 440. Вал 440 может вращаться, принимая вращающую силу от привода 480. Один край поворотного рычага 460 может быть соединен с одним краем пружины 402, и таким образом, положение поворотного рычага 460 может перемещаться к начальному значению за счет восстанавливающей силы, когда пружина 402 натягивается.

[245] Привод 480 может включать в себя мотор и множество шестерен. Рычаг 520 обнаружения наполнения льдом может быть соединен с приводом 480. Рычаг 520 обнаружения наполнения льдом может также вращаться под действием силы вращения, обеспечиваемой приводом 480.

[246] Рычаг 520 обнаружения наполнения льдом может иметь форму в целом. Например, рычаг 520 обнаружения наполнения льдом может включать в себя первый рычаг 521 и пару вторых рычагов 522, проходящих в направлении, пересекающем первый рычаг 521 на обоих краях первого рычага 521. Один из пары вторых рычагов 522 может быть соединен с приводом 480, а другой может быть соединен с кронштейном 220 или крышкой 300 первого лотка. Рычаг 520 обнаружения наполнения льдом может вращаться для обнаружения льда, хранящегося в резервуаре 600 для льда.

[247] Привод 480 может дополнительно включать в себя кулачок, который вращается за счет мощности вращения мотора. Льдогенератор 200 может дополнительно включать в себя датчик, который определяет вращение кулачка. Например, кулачок снабжен магнитом, и датчик может быть датчиком Холла, обнаруживающим магнетизм магнита во время вращения кулачка. Датчик может выдавать первый и второй сигналы, которые являются разными выходными сигналами в зависимости от того, воспринимает ли датчик магнит. Один из первого сигнала и второго сигнала может быть сигналом высокого уровня, а другой - сигналом низкого уровня. Контроллер 800, который будет описан ниже, может определять положение второго лотка 380 (или узла второго лотка) на основе типа и формы сигнала, выводимого из датчика. Т.е. поскольку второй лоток 380 и кулачок вращаются мотором, положение второго лотка 380 может быть определено косвенно на основании сигнала обнаружения магнита, предусмотренного в кулачке. Например, положение подачи воды, положение для изготовления льда и положение отделения льда, которые будут описаны ниже, могут различаться и определяться на основе сигналов, выдаваемых датчиком.

[248] Льдогенератор 200 может дополнительно включать в себя второй толкатель 540. Второй толкатель 540 может быть установлен, например, на кронштейне 220. Второй толкатель 540 может включать в себя по меньшей мере один толкающий стержень 544. Например, второй толкатель 540 может включать в себя толкающий стержень 544, имеющий то же количество, что и количество ячеек 320а для изготовления льда, но не ограничивается этим.

[249] Толкающий стержень 544 может выталкивать лед, находящийся в ячейке 320a для изготовления льда. Например, толкающий стержень 544 может проходить через держатель 400 второго лотка для контактирования со вторым лотком 380, образующим ячейку 320a для изготовления льда, и затем прижимать контактирующий второй лоток 380. Крышка 300 первого лотка может быть соединена с возможностью вращения с держателем 400 второго лотка относительно держателя 400 второго лотка, а затем может быть расположена с возможностью изменения угла вокруг вала 440.

[250] В этом варианте осуществления второй лоток 380 может быть изготовлен из неметаллического материала. Например, когда второй лоток 380 прижимается вторым толкателем 540, второй лоток 380 может быть изготовлен из гибкого или мягкого материала, который поддается деформации. Хотя это не ограничивается, второй лоток 380 может быть изготовлен, например, из силиконового материала. Следовательно, когда второй лоток 380 деформируется, в то время как второй лоток 380 прижимается вторым толкателем 540, прижимная сила второго толкателя 540 может передаваться льду. Лед и второй лоток 380 могут быть отделены друг от друга силой нажатия второго толкателя 540.

[251] Когда второй лоток 380 изготовлен из неметаллического материала и гибкого или мягкого материала, сила связи или сила сцепления между льдом и вторым лотком 380 может быть уменьшена, и, таким образом, лед можно легко отделить от второго лотка 380. Кроме того, если второй лоток 380 изготовлен из неметаллического материала и гибкого или мягкого материала, после того, как форма второго лотка 380 деформируется вторым толкателем 540, когда прижимающая сила второго толкателя 540 снимается, второй лоток 380 может быть легко восстановлен до его первоначальной формы.

[252] В другом примере первый лоток 320 может быть изготовлен из металлического материала. В этом случае, поскольку сила связи или сила прикрепления между первым лотком 320 и льдом является большой, льдогенератор 200 согласно этому варианту осуществления может включать в себя по меньшей мере одно из нагревателя 290 для отделения льда или первого толкателя 260. В другом примере первый лоток 320 может быть изготовлен из неметаллического материала. Когда первый лоток 320 изготовлен из неметаллического материала, льдогенератор 200 может включать в себя только одно из нагревателя 290 для отделения льда и первого толкателя 260. В качестве альтернативы, льдогенератор 200 может не включать в себя нагреватель 290 для отделения льда и первый толкатель 260. Хотя это и не ограничивается, первый лоток 320 может быть изготовлен, например, из силиконового материала. Т.е. первый лоток 320 и второй лоток 380 могут быть изготовлены из одного и того же материала.

[253] Когда первый лоток 320 и второй лоток 380 изготовлены из одного и того же материала, первый лоток 320 и второй лоток 380 могут иметь разную твердость для сохранения характеристик уплотнения на части контакта между первым лотком 320 и вторым лотком 380.

[254] В этом варианте осуществления, поскольку второй лоток 380 прижимается вторым толкателем 540 для деформации, второй лоток 380 может иметь твердость меньше, чем у первого лотка 320, чтобы облегчать деформацию второго лотка 380.

[255] Фиг.6 и 7 - виды в перспективе кронштейна согласно варианту осуществления.

[256] Ссылаясь на фиг.6 и 7, кронштейн 220 может быть прикреплен по меньшей мере к одной поверхности камеры хранения или к элементу крышки (будет описан позже), прикрепленному к камере хранения.

[257] Кронштейн 220 может включать в себя первую стенку 221, в которой выполнено сквозное отверстие 221а. По меньшей мере часть первой стенки 221 может проходить в горизонтальном направлении. Первая стенка 221 может включать в себя первую крепежную стенку 221b, которая должна быть прикреплена к одной поверхности камеры хранения или элемента крышки. По меньшей мере часть первой крепежной стенки 221b может проходить в горизонтальном направлении. Первую крепежную стенку 221b можно также называть горизонтальной крепежной стенкой. На первой крепежной стенке 221b могут быть предусмотрены один или более крепежных выступов 221c. На первой крепежной стенке 221b может быть предусмотрено множество крепежных выступов 221c для надежной фиксации кронштейна 220. Первая стенка 221 может дополнительно включать в себя вторую крепежную стенку 221e, которая крепится к одной поверхности камеры хранения или элемента крышки. По меньшей мере часть второй крепежной стенки 221e может проходить в вертикальном направлении. Вторая крепежная стенка 221e также может называться вертикальной крепежной стенкой. Вторая крепежная стенка 221e может проходить вверх от первой крепежной стенки 221b. Вторая крепежная стенка 221e может включать в себя крепежное ребро 221e1 и/или крюк 221e2. В этом варианте осуществления первая стенка 221 может включать в себя по меньшей мере одну из первой крепежной стенки 221b или второй крепежной стенки 221e для фиксации кронштейна 220. Первая стенка 221 может иметь форму, в которой множество стенок ступенчато располагаются в вертикальном направлении. В одном примере множество стенок может быть расположено с разницей по высоте в горизонтальном направлении, и множество стенок может быть соединено вертикальной соединительной стенкой. Первая стенка 221 может дополнительно включать в себя опорную стенку 221d, поддерживающую узел первого лотка. По меньшей мере часть опорной стенки 221d может проходить в горизонтальном направлении. Опорная стенка 221d может быть расположена на той же высоте, что и первая крепежная стенка 221b, или расположена на другой высоте. На фиг.6, например, опорная стенка 221d располагается в положении ниже, чем положение первой крепежной стенки 221b.

[258] Кронштейн 220 может дополнительно включать в себя вторую стенку 222, имеющую сквозное отверстие 222а, через которое проходит холодный воздух, формируемый охлаждающей частью. Вторая стенка 222 может продолжаться от первой стенки 221. По меньшей мере часть второй стенки 222 может проходить в вертикальном направлении. По меньшей мере часть 222a сквозного отверстия может быть расположена в положении выше, чем положение опорной стенки 221d. На фиг.6, например, самый нижний край сквозного отверстия 222а расположен в положении выше, чем положение опорной стенки 221d.

[259] Кронштейн 220 может дополнительно включать в себя третью стенку 223, на которой установлен привод 480. Третья стенка 223 может продолжаться от первой стенки 221. По меньшей мере часть третьей стенки 223 может проходить в вертикальном направлении. По меньшей мере часть третьей стенки 223 может быть расположена так, чтобы быть обращенной ко второй стенке 222, находясь на расстоянии от второй стенки 222. По меньшей мере часть ячейки 320a для изготовления льда может быть расположена между второй стенкой 222 и второй стенкой 223. Привод 480 может быть установлен на третьей стенке 223 между второй стенкой 222 и третьей стенкой 223. В качестве альтернативы, привод 480 может быть установлен на третьей стенке 223, так что третья стенка 223 располагается между второй стенкой 222 и приводом 480. В этом случае отверстие 223а вала, через которое проходит вал мотора, составляющего привод 480, может быть определено в третьей стенке 223. На фиг.7 показано, что отверстие 223а вала определено в третьей стенке 223.

[260] Кронштейн 220 может дополнительно включать в себя четвертую стенку 224, к которой прикреплен второй толкатель 540. Четвертая стенка 224 может проходить от первой стенки 221. Четвертая стенка 224 может соединять вторую стенку 222 с третьей стенкой 223. Четвертая стенка 224 может быть наклонена под углом относительно горизонтальной линии и вертикальной линии. Например, четвертая стенка 224 может быть наклонена в направлении от отверстия 223а вала от верхней стороны к нижней стороне. Четвертая стенка 224 может быть снабжена монтажным пазом 224а, в которой установлен второй толкатель 540. Монтажный паз 224а может быть снабжен соединительным отверстием 224b, через которое проходит соединительная часть, соединенная со вторым толкателем 540.

[261] Второй лоток 380 и второй толкатель 540 могут контактировать друг с другом, в то время как узел второго лотка вращается, в то время как второй толкатель 540 прикреплен к четвертой стенке 224. Лед может отделяться от второго лотка 380, в то время как второй толкатель 540 прижимает второй лоток 380. Когда второй толкатель 540 нажимает на второй лоток 380, лед также нажимает на второй толкатель 540 до того, как лед отделяется от второго лотка 380. Усилие для нажатия второго толкателя 540 может передаваться на четвертую стенку 224. Поскольку четвертая стенка 224 выполнена в форме тонкой пластины, элемент 224c усиления прочности может быть предусмотрен на четвертой стенке 224 для предотвращения деформации или разрушения четвертой стенки 224. Например, элемент 224c усиления прочности может включать в себя ребра, расположенные в форме решетки. Т.е. элемент 224c усиления прочности может включать в себя первое ребро, проходящее в первом направлении, и второе ребро, проходящее во втором направлении, пересекающее первое направление. В этом варианте осуществления две или более стенок с первой по четвертую 221-224 могут определять пространство, в котором располагаются узлы первого и второго лотков.

[262] Фиг.8 - вид в перспективе первого лотка, при просмотре с верхней стороны, а фиг.9 - вид в перспективе первого лотка, при просмотре с нижней стороны. Фиг.10 - вид сверху первого лотка. Фиг.11 - вид в разрезе по линии 11-11 на фиг.8.

[263] Ссылаясь на фиг.8-10, первый лоток 320 может определять первую ячейку 321а, которая является частью ячейки 320а для изготовления льда. Первый лоток 320 может включать в себя первую стенку 321 лотка, определяющую часть ячейки 320а для изготовления льда.

[264] Например, первый лоток 320 может определять множество первых ячеек 321a. Например, множество первых ячеек 321a может быть расположено в линию. Множество первых ячеек 321a может быть расположено в направлении оси X на фиг.9. Например, первая стенка 321 лотка может определять множество первых ячеек 321a.

[265] Первая стенка 321 лотка может включать в себя множество первых стенок 3211 ячеек, которые соответственно определяют множество первых ячеек 321а, и соединительную стенку 3212, соединяющую множество первых стенок 3211 ячеек друг с другом. Первая стенка 321 лотка может быть стенкой, проходящей в вертикальном направлении. Первый лоток 320 может включать в себя отверстие 324. Отверстие 324 может сообщаться с первой ячейкой 321a. Отверстие 324 может позволять подавать холодный воздух в первую ячейку 321a. Отверстие 324 может позволять воде для изготовления льда подаваться в первую ячейку 321a. Отверстие 234 может обеспечивать проход, через который проходит часть первого толкателя 260. Например, в процессе отделения льда часть первого толкателя 260 может быть вставлена в ячейку 320а для изготовления льда через отверстие 234. Первый лоток 320 может включать в себя множество отверстий 324, соответствующих множеству первых ячеек 321a. Одно из множества отверстий 324, 324a может обеспечивать проход холодного воздуха, проход воды и проход первого толкателя 260. В процессе изготовления льда пузырьки могут выходить через отверстие 324.

[266] Первый лоток 320 может включать в себя часть 321b размещения корпуса. Например, часть первой стенки 321 лотка может быть углублена вниз для обеспечения части 321b размещения корпуса. По меньшей мере часть части 321b размещения корпуса может быть расположена вокруг отверстия 324. Нижняя поверхность части 321b размещения корпуса может быть расположена ниже, чем положение отверстия 324.

[267] Первый лоток 320 может дополнительно включать в себя вспомогательную камеру 325 хранения, сообщающуюся с ячейкой 320a для изготовления льда. Например, во вспомогательной камере 325 хранения может храниться вода, переливаемая из ячейки 320a для изготовления льда. Лед, расширенный в процессе изменения фазы подаваемой воды, может быть расположен во вспомогательной камере 325 хранения. Т.е. расширенный лед может проходить через отверстие 304 и располагаться во вспомогательной камере 325 хранения. Вспомогательная камера 325 хранения может быть ограничена стенкой 325а камеры хранения. Стенка 325а камеры хранения может проходить вверх вокруг отверстия 324. Стенка 325а камеры хранения может иметь цилиндрическую форму или многоугольную форму. По существу, первый толкатель 260 может проходить через отверстие 324 после прохождения через стенку 325a камеры хранения. Стенка 325a камеры хранения может ограничивать вспомогательную камеру 325 хранения, а также уменьшать деформацию периферии отверстия 324 в процессе, в котором первый толкатель 260 проходит через отверстие 324 во время процесса отделения льда. Когда первый лоток 320 определяет множество первых ячеек 321a по меньшей мере одна 325b из множества стенок 325a камеры хранения может поддерживать часть 240 подачи воды. Стенка 325b камеры хранения, поддерживающая часть 240 подачи воды, может иметь многоугольную форму. Например, стенка 325b камеры хранения может включать в себя круглую часть, закругленную в горизонтальном направлении, и множество прямых частей. Например, стенка 325b камеры хранения может включать в себя круглую стенку 325b1, пару прямых стенок 325b2 и 325b3, проходящих бок о бок от обоих краев круглой стенки 325b, и соединительную стенку 325b4, соединяющую пару прямых стенок 325b2 друг с другом. Соединительная стенка 325b4 может быть круглой стенкой или прямой стенкой. Верхний край соединительной стенки 325b4 может быть расположен в положении ниже, чем верхний край остальных стенок 325b1, 325b2 и 325b3. Соединительная стенка 325b4 может поддерживать часть 240 подачи воды. Отверстие 324a, соответствующее стенке 325b камеры хранения, поддерживающее часть 240 подачи воды, также может иметь ту же форму, что и стенка 325b камеры хранения.

[268] Первый лоток 320 может дополнительно включать в себя часть 321c размещения нагревателя. Нагреватель 290 для отделения льда может быть размещен в части 321c размещения нагревателя. Нагреватель 290 для отделения льда может контактировать с нижней поверхностью части 321c размещения нагревателя. Часть 321c размещения нагревателя может быть предусмотрена на первой стенке 321 лотка в качестве примера. Часть 321c размещения нагревателя может быть утоплена вниз от части 321b размещения корпуса. Часть 321c размещения нагревателя может быть расположена так, чтобы окружать периферию первой ячейки 321a. Например по меньшей мере часть части 321c размещения нагревателя может быть скруглена в горизонтальном направлении. Нижняя поверхность части 321c размещения нагревателя может быть расположена ниже, чем отверстие 324.

[269] Первый лоток 320 может включать в себя первую контактную поверхность 322c, контактирующую со вторым лотком 380. Нижняя поверхность части 321c размещения нагревателя может быть расположена между отверстием 324 и первой контактной поверхностью 322c. По меньшей мере часть части 321c размещения нагревателя может быть расположена так, чтобы перекрывать ячейку 320a для изготовления льда (или первую ячейку 321a) в вертикальном направлении.

[270] Первый лоток 320 может дополнительно включать в себя первую расширительную стенку 327, проходящую в горизонтальном направлении от первой стенки 321 лотка. Например, первая расширительная стенка 327 может проходить в горизонтальном направлении вокруг верхнего края первой расширительной стенки 327. Одно или более первых соединительных отверстий 327a могут быть предусмотрены в первой расширительной стенке 327. Хотя это не ограничивается, множество первых соединительных отверстий 327a могут быть расположены по одной или более осям из оси X и оси Y. Верхний край стенки 325b камеры хранения может быть расположен на той же высоте или выше, чем верхняя поверхность первой расширительной стенки 327.

[271] Ссылаясь на фиг.10, первая расширительная стенка 327 может включать в себя первую торцевую линию 327b и вторую торцевую линию 327c, которые разнесены друг от друга в направлении Y относительно центральной линии C1 (или вертикальной центральной линии) в направление оси Z в ячейке 320а для изготовления льда. В этом описании "центральная линия" представляет собой линию, проходящую через центр объема ячейки 320a для изготовления льда или центр тяжести воды или льда в ячейке 320a для изготовления льда независимо от осевого направления. Первая торцевая линия 327b и вторая торцевая линия 327c могут быть параллельны друг другу. Расстояние L1 от центральной линии C1 до первой торцевой линии 327b больше, чем расстояние L2 от центральной линии C1 до первой торцевой линии 327b.

[272] Первая расширительная стенка 327 может включать в себя третью торцевую линию 327d и четвертую торцевую линию 327e, которые разнесены друг от друга в направлении X в ячейке 320a для изготовления льда. Третья торцевая линия 327d и четвертая торцевая линия 327e могут быть параллельны друг другу. Длина каждой из третьей торцевой линии 327d и четвертой торцевой линии 327e может быть короче, чем длина каждой из первой торцевой линии 327b и второй торцевой линии 327c.

[273] Длина первого лотка 320 в направлении оси X может упоминаться как длина первого лотка, длина первого лотка 320 в направлении оси Y может упоминаться как ширина первого лотка, и длина первого лотка 320 в направлении оси Z может упоминаться как высота первого лотка 320.

[274] В этом варианте осуществления режущая поверхность по оси X-Y может быть горизонтальной плоскостью.

[275] Когда первый лоток 320 включает в себя множество первых ячеек 321a, длина первого лотка 320 может быть больше, но ширина первого лотка 320 может быть короче, чем длина первого лотка 320, чтобы не допустить увеличения объема первого лотка 320.

[276] Фиг.12 - вид снизу первого лотка фиг.9, фиг.13 - вид в разрезе по линии 13-13 на фиг.11 и фиг.14 - вид в разрезе по линии 14-14 на фиг.11.

[277] Ссылаясь на фиг.11-14, первый лоток 320 может включать в себя первую часть 322, которая определяет часть ячейки 320a для изготовления льда. Например, первая часть 322 может быть частью первой стенки 321 лотка. Первая часть 322 может включать в себя поверхность 322b первой ячейки (или внешнюю периферийную поверхность), определяющую первую ячейку 321a. Первая ячейка 321 может быть разделена на первую область, определенную рядом с нагревателем 430 для прозрачного льда, и вторую область, определенную вдали от нагревателя 430 для прозрачного льда в направлении оси Z.

[278] Первая область может включать в себя первую контактную поверхность 322c, а вторая область может включать в себя отверстие 324. Первая часть 322 может быть определена как область между двумя пунктирными линиями на фиг.11. Первая часть 322 может включать в себя отверстие 324. Кроме того, первая часть 322 может включать в себя часть 321c размещения нагревателя. По степени сопротивления деформации от центра ячейки 320a для изготовления льда в периферийном направлении по меньшей мере часть верхней части первой части 322 больше, чем по меньшей мере часть нижней части. Степень сопротивления деформации по меньшей мере части верхней части первой части 322 больше, чем у самого нижнего края первой части 322. Верхняя и нижняя части первой части 322 могут быть разделены на основе направления протяженности центральной линии C1. Самый нижний край первой части 322 является первой контактной поверхностью 322c, контактирующей со вторым лотком 380.

[279] Первый лоток 320 может дополнительно включать в себя вторую часть 323, проходящую от заранее определенной точки первой части 322. Заранее определенная точка первой части 322 может быть одним краем первой части 322. В качестве альтернативы, заранее определенная точка первой части 322 может быть одной точкой первой контактной поверхности 322c. Часть второй части 323 может определяться первой стенкой 321 лотка, а другая часть второй части 323 может определяться первой расширительной стенкой 327. По меньшей мере часть второй части 323 может проходить в направлении от нагревателя 430 для прозрачного льда. По меньшей мере часть второй части 323 может выходить вверх от первой контактной поверхности 322c. По меньшей мере часть второй части 323 может проходить в направлении от центральной линии С1. Например, вторая часть 323 может проходить в обоих направлениях по оси Y от центральной линии C1. Вторая часть 323 может быть расположена в положении выше или равном самому верхнему краю ячейки 320a для изготовления льда. Самый верхний край ячейки 320a для изготовления льда представляет собой часть, на которой образовано отверстие 324.

[280] Вторая часть 323 может включать в себя первую расширительную часть 323a и вторую расширительную часть 323b, которые проходят в разных направлениях относительно центральной линии C1. Первая стенка 321 лотка может включать в себя одну часть второй расширительной части 323b каждой из первой части 322 и второй части 323. Первая расширительная стенка 327 может включать в себя другую часть каждой из первой расширительной части 323a и второй расширительной части 323b.

[281] Ссылаясь на фиг.11, первая расширительная часть 323а может быть расположена с левой стороны по отношению к центральной линии C1, а вторая расширительная часть 323b может быть расположена с правой стороны по отношению к центральной линии C1.

[282] Первая расширительная часть 323a и вторая расширительная часть 323b могут иметь разные формы в зависимости от центральной линии C1. Первая расширительная часть 323a и вторая расширительная часть 323b могут иметь асимметричную форму относительно центральной линии C1. Длина второй расширительной части 323b в направлении оси Y может быть больше, чем длина первой расширительной части 323a. Следовательно, в то время как лед изготавливается и растет с верхней стороны в процессе изготовления льда, степень сопротивления деформации второй удлиненной части 323b может увеличиваться. Первая расширительная часть 323a может быть расположена ближе к торцевой части, которая располагается на стороне, противоположной части второй стенки 222 или третьей стенки 223 кронштейна 220, который соединен с четвертой стенкой 224, чем вторая расширительная часть 323a.

[283] Вторая расширительная часть 323b может быть расположена ближе к валу 440, который обеспечивает центр вращения узла второго лотка, чем первая расширительная часть 323a. В этом варианте осуществления, поскольку длина второй расширительной части 323b в направлении оси Y больше, чем длина первой расширительной части 323a, узел второго лотка, включающий в себя второй лоток 380, контактирующий с первым лотком 320, может увеличиваться в радиусе вращения. Когда радиус вращения узла второго лотка увеличивается, центробежная сила узла второго лотка может увеличиваться. Таким образом, в процессе отделения льда разделяющая сила для отделения льда от узла второго лотка может увеличиваться для улучшения характеристик отделения льда.

[284] Ссылаясь на фиг.11-14, толщина первой стенки 321 лотка минимизирована на стороне первой контактной поверхности 322c. По меньшей мере часть первой стенки 321 лотка может увеличиваться в толщине от первой контактной поверхности 322c к верхней стороне.

[285] Фиг.13 иллюстрирует толщину первой стенки 321 лотка на первой высоте H1 от первой контактной поверхности 322c, а фиг.14 показывает толщину первой стенки 321 лотка на второй высоте H2 от первой контактной поверхности 322c.

[286] Каждая из толщин t2 и t3 первой стенки 321 лотка на первой высоте H1 от первой контактной поверхности 322c может быть больше, чем толщина t1 на первой контактной поверхности 322c первой стенки 321 лотка. Толщины t2 и t3 первой стенки 321 лотка на первой высоте H1 от первой контактной поверхности 322c могут быть непостоянными в периферийном направлении. На первой высоте H1 от первой контактной поверхности 322c первая стенка 321 лотка дополнительно включает в себя часть второй части 323. Таким образом, толщина t3 части, на которой располагается вторая расширительная часть 323b, может быть больше, чем толщина t2 на противоположной стороне второй расширительной части 323b по отношению к центральной линии C1. Толщины t4 и t5 первой стенки 321 лотка на второй высоте H2 от первой контактной поверхности 322c могут быть больше толщин t2 и t3 первого лотка 321 на первой высоте H1 первой стенки 321 лотка. Толщины t4 и t5 первой стенки 321 лотка на второй высоте H2 от первой контактной поверхности 322c могут не быть постоянными в периферийном направлении. На второй высоте H2 от первой контактной поверхности 322c первая стенка 321 лотка дополнительно включает в себя часть второй части 323. Таким образом, толщина t5 части, на которой располагается вторая расширительная часть 323b, может быть больше, чем толщина t4 на противоположной стороне второй расширительной части 323b по отношению к центральной линии C1.

[287] По меньшей мере часть внешней линии первой стенки 321 лотка может иметь ненулевую кривизну по отношению к режущей поверхности оси X-Y первой стенки 321 лотка, и, таким образом, кривизна может изменяться. В этом варианте осуществления линия представляет собой прямую линию с нулевой кривизной. Кривизна больше нуля представляет собой кривую.

[288] Ссылаясь на фиг.12, окружность внешней линии на первой контактной поверхности 322c первой стенки 321 лотка может иметь постоянную кривизну. Т.е. величина изменения кривизны вокруг внешней линии первой стенки 321 лотка на первой контактной поверхности 322c может быть нулевой.

[289] Ссылаясь на фиг.13, на первой высоте H1 от первой контактной поверхности 322c величина изменения кривизны по меньшей мере части внешней линии первой стенки 321 лотка может быть больше нуля. Т.е. на первой высоте H1 от первой контактной поверхности 322c кривизна по меньшей мере части внешней линии первой стенки 321 лотка может изменяться в периферийном направлении. Например, на первой высоте H1 от первой контактной поверхности 322c кривизна внешней линии 323b1 второй части 323 может быть больше, чем кривизна внешней линии первой части 322.

[290] Ссылаясь на фиг.14, на второй высоте H2 от первой контактной поверхности 322c величина изменения кривизны внешней линии первой стенки 321 лотка может быть больше нуля. Т.е. на второй высоте H2 от первой контактной поверхности 322c кривизна внешней линии первой стенки 321 лотка может изменяться в периферийном направлении. Например, на второй высоте H2 от первой контактной поверхности 322c кривизна внешней линии 323b2 второй части 323 может быть больше, чем кривизна внешней линии первой части 322. Кривизна по меньшей мере части внешней линии 323b2 второй части 323 на второй высоте H2 от первой контактной поверхности 322c больше, чем по меньшей мере у части внешней линии 323b1 второй части 323 на первой высоте H1 от первой контактной поверхности 322c.

[291] Ссылаясь на фиг.11, кривизна внешней линии 322e первой расширительной части 323a в первой части 322 может быть нулевой на режущей поверхности оси Y-Z относительно центральной линии C1. На режущей поверхности оси Y-Z относительно центральной линии C1 кривизна внешней линии 323d второй расширительной части 323b второй части 323 может быть больше нуля. Например, внешняя линия 323d второй расширительной части 323b использует вал 440 в качестве центра кривизны.

[292] Фиг.15 - вид в разрезе по линии 15-15 на фиг.8.

[293] Ссылаясь на фиг.8, 10 и 15, первый лоток 320 может дополнительно включать в себя часть 321e размещения датчика, в которой размещается второй датчик 700 температуры (или датчик температуры лотка). Второй датчик 700 температуры может определять температуру воды или льда в ячейке 320а для изготовления льда. Второй датчик 700 температуры может быть расположен рядом с первым лотком 320 для измерения температуры первого лотка 320, тем самым косвенно определяя температуру воды или температуру льда в ячейке 320а для изготовления льда. В этом варианте осуществления температура воды или температура льда в ячейке 320а для изготовления льда может называться внутренней температурой ячейки 320а для изготовления льда. Часть 321e размещения датчика может быть утоплена вниз от части 321b размещения корпуса. Здесь нижняя поверхность части 321e размещения датчика может быть расположена в положении ниже, чем нижняя поверхность части 321c размещения нагревателя, чтобы предотвращать взаимодействие второго датчика 700 температуры с нагревателем 290 для отделения льда в состоянии, в котором второй датчик 700 температуры размещен в части 321e размещения датчика. Нижняя поверхность части 321e размещения датчика может быть расположена ближе к первой контактной поверхности 322c первого лотка 320, чем нижняя поверхность части 321c размещения нагревателя. Часть 321e размещения датчика может быть расположена между двумя соседними ячейками 320a для изготовления льда. Например, часть 321e размещения датчика может быть расположена между двумя соседними первыми ячейками 321a. Когда часть 321e размещения датчика располагается между двумя ячейками 320a для изготовления льда, второй датчик 700 температуры может быть легко установлен без увеличения объема второго лотка 250. Кроме того, когда часть 321e размещения датчика располагается между двумя ячейками изготовления льда ячеек 320а, может быть оказано влияние на температуру по меньшей мере двух ячеек 320a для изготовления льда. Таким образом, датчик температуры может быть расположен так, чтобы температура, измеренная вторым датчиком температуры, максимально приближалась к фактической температуре внутри ячейки 320a.

[294] Ссылаясь на фиг.10, часть 321e размещения датчика может быть расположена между двумя соседними первыми ячейками 321a среди трех первых ячеек 321a, расположенных в направлении оси X. Часть 321e размещения датчика может быть расположена между первой правой ячейкой и центральной первой ячейкой как с левой, так и с правой стороны среди трех первых ячеек 321a. Здесь расстояние D2 между правой первой ячейкой и центральной первой ячейкой на первой контактной поверхности 322c может быть больше, чем расстояние D1 между центральной первой ячейкой и левой первой ячейкой, так что пространство, в котором располагается часть 321e размещения датчика, может быть закреплено между правой первой ячейкой и центральной первой ячейкой.

[295] Соединительная стенка 3212 может быть предусмотрена во множественном числе для улучшения однородности направления изготовления льда между множеством ячеек 320a для изготовления льда. Например, соединительная стенка 3212 может включать в себя первую соединительную стенку 3212a и вторую соединительную стенку 3212b. Вторая соединительная стенка 3212b может быть расположена дальше от сквозного отверстия 222a кронштейна 220, чем первая соединительная стенка 3212a. Первая соединительная стенка 3212a может включать в себя первую область и вторую область, имеющую более толстое поперечное сечение, чем первая область. Лед может быть получен в направлении от ячейки 320a для изготовления льда, определяемой первой областью, к ячейке 320a для изготовления льда, определяемой второй областью. Вторая соединительная стенка 3212b может включать в себя первую область и вторую область, включая часть 321e размещения датчика, в которой располагается второй датчик 700 температуры.

[296] Фиг.16 - вид в перспективе первого лотка, фиг.17 - вид снизу в перспективе крышки первого лотка, фиг.18 - вид сверху крышки первого лотка, а фиг.19 - вид сбоку корпуса первого лотка.

[297] Ссылаясь на фиг.16-19, крышка 300 первого лотка может включать в себя верхнюю пластину 301, контактирующую с первым лотком 320.

[298] Нижняя поверхность верхней пластины 301 может быть соединена для контактирования с верхней стороной первого лотка 320. Например, верхняя пластина 301 может контактировать по меньшей мере с одной из верхней поверхности первой части 322 и верхней поверхности второй части 323 первого лотка 320. Отверстие 304 пластины (или сквозное отверстие) может быть образовано в верхней пластине 301. Отверстие 304 пластины может включать в себя прямую часть и изогнутую часть.

[299] Вода может подаваться из части 240 подачи воды в первый лоток 320 через отверстие 304 пластины. Кроме того, расширительная часть 264 первого толкателя 260 может проходить через отверстие 304 пластины для отделения льда от первого лотка 320. Кроме того, холодный воздух может проходить через отверстие 304 пластины, чтобы контактировать с первым лотком 320. Первая соединительная часть 301b корпуса, проходящая вверх, может быть расположена на стороне прямой части отверстия 304 пластины в верхней пластине 301. Первая соединительная часть 301b корпуса может быть соединена с корпусом 280 первого нагревателя.

[300] Крышка 300 первого лотка может дополнительно включать в себя периферийную стенку 303, проходящую вверх от торца верхней пластины 301. Периферийная стенка 303 может включать в себя две пары стенок, обращенных друг к другу. Например, пара стенок может быть разнесена друг от друга в направлении оси X, а другая пара стенок может быть разнесена друг от друга в направлении оси Y.

[301] Периферийные стенки 303, разнесенные друг от друга в направлении оси Y на фиг.16, могут включать в себя расширительную стенку 302e, идущую вверх. Расширительная стенка 302e может проходить вверх от верхней поверхности периферийной стенки 303.

[302] Крышка 300 первого лотка может включать в себя пару направляющих прорезей 302, направляющих движение первого толкателя 260. Часть направляющей прорези 302 может быть определена в расширительной стенке 302e, а другая часть может быть определена в периферийной стенке 303, расположенной под расширительной стенкой 302e. Нижняя часть направляющей прорези 302 может быть образована в периферийной стенке 303.

[303] Направляющая прорезь 302 может проходить в направлении оси Z на фиг.16. Первый толкатель 260 может быть вставлен в направляющую прорезь 302 для перемещения. Кроме того, первый толкатель 260 может перемещаться вверх и вниз по направляющей прорези 302.

[304] Направляющая прорезь 302 может включать в себя первую прорезь 302a, проходящую перпендикулярно верхней пластине 301, и вторую прорезь 302b, которая изогнута под углом от верхнего края первой прорези 302a. В качестве альтернативы, направляющая прорезь 302 может включать в себя только первую прорезь 302a, проходящую в вертикальном направлении. Нижний край 302d первой прорези 302a может быть расположен ниже, чем верхний край периферийной стенки 303. Кроме того, верхний край 302c первой прорези 302a может быть расположен выше, чем верхний край периферийной стенки 303. Часть, изогнутая от первой прорези 302a ко второй прорези 302b, может быть расположена в положении выше, чем периферийная стенка 303. Длина первой прорези 302a может быть больше, чем длина второй прорези 302b. Вторая прорезь 302b может быть изогнута в сторону горизонтальной расширительной части 305. Когда первый толкатель 260 перемещается вверх по направляющей прорези 302, первый толкатель 260 вращается или наклоняется на заданный угол в части, перемещающейся вдоль второй прорези 302b.

[305] Когда первый толкатель 260 вращается, толкающий стержень 264 первого толкателя 260 может вращаться так, что толкающий стержень 264 разнесен по вертикали над отверстием 324 первого лотка 320.

[306] Когда первый толкатель 260 перемещается вдоль второй прорези 302b, которая изгибается и выдвигается, край толкающего стержня 264 может быть разнесен так, чтобы не контактировать с водой, подаваемой, когда вода подается к толкающему стержню. Таким образом, вода может охлаждаться на крае 264, чтобы предотвращать вставку толкающего стержня 264 в отверстие 324 первого лотка 320. Крышка 300 первого лотка может включать в себя множество соединительных частей 301а, соединяющих первый лоток 320 с держателем 340 первого лотка (см. фиг.20), который будет описан ниже. Множество соединительных частей 301a может быть расположено на верхней пластине 301. Множество соединительных частей 301a могут быть разнесены друг от друга в направлениях оси X и/или оси Y. Соединительная часть 301a может выступать вверх от верхней поверхности верхней пластины 301. Например, часть множества соединительных частей 301a может быть соединена с периферийной стенкой 303.

[307] Соединительная часть 301a может быть соединена с соединительным элементом для фиксации первого лотка 320. Соединительный элемент, соединенный с соединительной частью 301a, может быть, например, болтом. Соединительный элемент может проходить через соединительное отверстие 341a держателя 340 первого лотка и первое соединительное отверстие 327a первого лотка 320 на нижней поверхности держателя 340 первого лотка, а затем соединяться с соединительной частью 301a.

[308] Горизонтальная расширительная часть 305, проходящая горизонтально от периферийной стенки 303, может быть расположена на одной периферийной стенке 3030 периферийных стенок 303, разнесенных друг от друга и обращенных друг к другу в направлении оси Y на фиг.16. Горизонтальная расширительная часть 305 может проходить от периферийной стенки 303 в направлении от отверстия 304 пластины таким образом, чтобы поддерживаться опорной стенкой 221d кронштейна 220. Множество вертикальных соединительных частей 303a может быть предусмотрено на другой одной из периферийных стенок 303, расположенных на расстоянии друг от друга и обращенных друг к другу в направлении оси Y. Вертикальная соединительная часть 303a может быть соединена с первой стенкой 221 кронштейна 220. Вертикальные соединительные части 303a могут быть расположены на расстоянии друг от друга в направлении оси X.

[309] Верхняя пластина 301 может иметь нижний выступ 306, выступающий вниз. Нижний выступ 306 может проходить по длине верхней пластины 301 и может быть расположен вокруг периферийной стенки 303 другой периферийной стенки 303, разнесенных друг от друга в направлении оси Y. Ступенчатая часть 306a может быть расположена на нижнем выступе 306. Ступенчатая часть 306a может быть расположена между парой расширительных частей 281, описанных ниже. Таким образом, когда второй лоток 380 вращается, второй лоток 380 и крышка 300 первого лотка могут не мешать друг другу.

[310] Крышка 300 первого лотка может дополнительно включать в себя множество крючков 307, прикрепленных к первой стенке 221 кронштейна 220. Например, крючки 307 могут быть предусмотрены на горизонтальном выступе 306. Множество крючков 307 может быть разнесено друг от друга в направлении оси X. Множество крючков 307 может быть расположено между парой расширительных частей 281. Каждый из крючков 307 может включать в себя первую часть 307а, горизонтально идущую от периферийной стенки 303 в направлении, противоположном верхней пластине 301, и вторую часть 307b, отогнутую от края первой части 307а, чтобы проходить вертикально вниз.

[311] Крышка 300 первого лотка может дополнительно включать в себя пару расширительных частей 281, с которыми соединен вал 440. Например, пара расширительных частей 281 может проходить вниз от нижнего выступа 306. Пара расширительных частей 281 может быть разнесена друг от друга в направлении оси X. Каждая из расширительных частей 281 может включать в себя сквозное отверстие 282, через которое проходит вал 440.

[312] Крышка 300 первого лотка может дополнительно включать в себя часть 310 верхней направляющей для провода, направляющую провод, соединенный с нагревателем 290 для отделения льда, который будет описан позже. Часть 310 верхней направляющей для провода может, например, проходить вверх от верхней пластины 301. Часть 310 верхней направляющей для провода может включать в себя первую направляющую 312 и вторую направляющую 314, которые разнесены друг от друга. Например, первая направляющая 312 и вторая направляющая 314 могут проходить вертикально вверх от верхней пластины 310.

[313] Первая направляющая 312 может включать в себя первую часть 312a, проходящую с одной стороны отверстия 304 пластины в направлении оси Y, вторую часть 312b, согнутую и проходящую от первой части 312a, и третью часть 312c, изогнутую от второй части 312b, чтобы проходить в направлении оси X. Третья часть 312c может быть соединена с одной периферийной стенкой 303. Первый выступ 313 может быть расположен на верхнем крае второй части 312b предотвращения отделение провода.

[314] Вторая направляющая 314 может включать в себя первую расширительную часть 314a, расположенную напротив второй части 312b первой направляющей 312, и вторую расширительную часть 314b, изогнутую, чтобы проходить от первой расширительной части 314a и расположенную напротив третьей части 312c. Вторая часть 312b первой направляющей 312 и первая расширительная часть 314a второй направляющей 314, а также третья часть 312c первой направляющей 312 и вторая расширительная часть 314b второй направляющей 314 могут быть параллельны друг другу. Второй выступ 315 может быть расположен на верхнем крае первой расширительной части 314a предотвращения отделения провода.

[315] Прорези 313a и 315a направляющей для провода могут быть определены в верхней пластине 310, чтобы соответствовать первому и второму выступам 313 и 315, и часть провода может быть прорезями 313a и 315a направляющих для провода, чтобы предотвращать разделение провода.

[316] Фиг.20 - вид сверху держателя первого лотка.

[317] Ссылаясь на фиг.20, держатель 340 первого лотка может быть соединен с крышкой 300 первого лотка для поддержки первого лотка 320. Держатель 340 первого лотка включает в себя горизонтальную часть 341, контактирующую с нижней поверхностью верхнего края первого лотка 320, и отверстие 342 для вставки, через которое нижняя часть первого лотка 320 вставляется в центр горизонтальной части 341. Горизонтальная часть 341 может иметь размер, соответствующий верхней пластине 301 крышки 300 первого лотка. Горизонтальная часть 341 может включать в себя множество соединительных отверстий 341a, зацепленных с соединительными частями 301a крышки 300 первого лотка. Множество соединительных отверстий 341a могут быть разнесены друг от друга в направлении оси X и/или оси Y на фиг.20, чтобы соответствовать соединительной части 301a крышки 300 первого лотка.

[318] Когда крышка 300 первого лотка, первый лоток 320 и держатель 340 первого лотка соединены друг с другом, верхняя пластина 301 крышки 300 первого лотка, первая расширительная стенка 327 первого лотка 320 и горизонтальная часть 341 держателя 340 первого лотка могут последовательно контактировать друг с другом. Нижняя поверхность верхней пластины 301 крышки 300 первого лотка и верхняя поверхность первой расширительной стенки 327 первого лотка 320 могут контактировать друг с другом, а нижняя поверхность первой расширительной стенки 327 первого лотка 320 и верхняя поверхность горизонтальной части 341 держателя 340 первого лотка может контактировать друг с другом.

[319] Фиг.21 - вид в перспективе второго лотка согласно варианту осуществления, при просмотре с верхней стороны, а фиг.22 - вид в перспективе второго лотка, при просмотре с нижней стороны. Фиг.23 - вид снизу второго лотка, а фиг.24 - вид сверху второго лотка.

[320] Ссылаясь на фиг.21-24, второй лоток 380 может образовывать вторую ячейку 381а, которая является другой частью ячейки 320а для изготовления льда. Второй лоток 380 может включать в себя вторую стенку 381 лотка, определяющую часть ячейки 320а для изготовления льда. Например, второй лоток 380 может определять множество вторых ячеек 381a. Например, множество вторых ячеек 381a может быть выстроено в линию. Ссылаясь на фиг.24, множество вторых ячеек 381a может быть размещено в направлении оси X. Например, вторая стенка 381 лотка может определять множество вторых ячеек 381a. Вторая стенка 381 лотка может включать в себя множество вторых стенок 3811 ячеек, которые соответственно определяют множество вторых ячеек 381a. Две соседние вторые стенки 3811 ячеек могут быть соединены друг с другом.

[321] Второй лоток 380 может включать в себя периферийную стенку 387, проходящую по окружности верхнего края второй стенки 381 лотка. Периферийная стенка 387 может быть образована как одно целое со второй стенкой 381 лотка и может проходить от верхнего края второй стенки 381 лотка. В качестве другого примера периферийная стенка 387 может быть предусмотрена отдельно от второй стенки 381 лотка и располагается вокруг верхнего края второй стенки 381 лотка. В этом случае периферийная стенка 387 может контактировать со второй стенкой 381 лотка или быть разнесенной от третьей стенки 381 лотка. В любом случае периферийная стенка 387 может окружать по меньшей мере часть первого лотка 320. Если второй лоток 380 включает в себя периферийную стенку 387, второй лоток 380 может окружать первый лоток 320. Когда второй лоток 380 и периферийная стенка 387 предусмотрены отдельно друг от друга, периферийная стенка 387 может быть образована как одно целое с корпусом второго лотка или может быть присоединена к корпусу второго лотка. Например, одна вторая стенка лотка может определять множество вторых ячеек 381a, а одна непрерывная периферийная стенка 387 может окружать первый лоток 250.

[322] Периферийная стенка 387 может включать в себя первую расширительную стенку 387b, проходящую в горизонтальном направлении, и вторую расширительную стенку 387c, проходящую в вертикальном направлении. Первая расширительная стенка 387b может быть снабжена одним или более вторыми соединительными отверстиями 387a для соединения с корпусом второго лотка. Множество вторых соединительных отверстий 387a могут быть расположены по меньшей мере на одной оси из оси X или оси Y. Второй лоток 380 может включать в себя вторую контактную поверхность 382c, контактирующую с первой контактной поверхностью 322c первого лотка 320. Первая контактная поверхность 322c и вторая контактная поверхность 382c могут быть горизонтальными плоскостями. Каждая из первой контактной поверхности 322c и второй контактной поверхности 382c может иметь форму кольца. Когда ячейка 320a для изготовления льда имеет сферическую форму, каждая из первой контактной поверхности 322c и второй контактной поверхности 382c может иметь форму круглого кольца.

[323] Фиг.25 - вид в разрезе по линии 25-25 на фиг.21, фиг.26 - вид в разрезе по линии 26-26 на фиг.21, фиг.27 - вид в разрезе по линии 27-27 на фиг.21, фиг.28 - вид в разрезе по линии 28-28 на фиг.2, а фиг.29 - вид в разрезе по линии 29-29 на фиг.25.

[324] На фиг.25 показана режущая поверхность Y-Z, проходящая через центральную линию C1.

[325] Ссылаясь на фиг.25-29, второй лоток 380 может включать в себя первую часть 382, которая определяет по меньшей мере часть ячейки 320а для изготовления льда. Например, первая часть 382 может быть частью или всей второй стенкой 381 лотка.

[326] В этом описании первая часть 322 первого лотка 320 может упоминаться как третья часть, чтобы отличаться от первой части 382 второго лотка 380. Кроме того, вторая часть 323 первого лотка 320 может быть называется четвертой частью, чтобы отличаться от второй части 383 второго лотка 380.

[327] Первая часть 382 может включать в себя вторую поверхность 382b ячейки (или внешнюю периферийную поверхность), определяющую вторую ячейку 381a ячейки 320a для изготовления льда. Первая часть 382 может быть определена как область между двумя пунктирными линиями на фиг.29. Самый верхний край первой части 382 является второй контактной поверхностью 382c, контактирующей с первым лотком 320.

[328] Второй лоток 380 может дополнительно включать в себя вторую часть 383. Вторая часть 383 может уменьшать передачу тепла, которое передается от нагревателя 430 для прозрачного льда на второй лоток 380, в ячейку 320a для изготовления льда, ограниченную первым лотком 320. Т.е. вторая часть 383 служит для того, чтобы позволить тракту теплопроводности перемещаться в направлении от первого элемента 321a. Вторая часть 383 может быть частью или всей периферийной стенкой 387. Вторая часть 383 может выходить из заданной точки первой части 382. В нижеследующем описании, например, вторая часть 383 соединена с первой частью 382. Заданная точка первой части 382 может быть одним краем первой части 382. Альтернативно, заданная точка первой части 382 может быть одной точкой второй контактной поверхности 382c. Вторая часть 383 может включать в себя другой край, который не контактирует с одним краем, контактирующим с заданной точкой первой части 382. Другой край второй части 383 может быть расположен дальше от первой ячейки 321a, чем один край второй части 383.

[329] По меньшей мере часть второй части 383 может проходить в направлении от первой ячейки 321a. По меньшей мере часть второй части 383 может проходить в направлении от второй ячейки 381a. По меньшей мере часть второй части 383 может выступать вверх от второй контактной поверхности 382c. По меньшей мере часть второй части 383 может проходить горизонтально в направлении от центральной линии С1. Центр кривизны по меньшей мере части второй части 383 может совпадать с центром вращения вала 440, который соединен с приводом 480 для вращения.

[330] Вторая часть 383 может включать в себя первую часть 384a, проходящую от одной точки первой части 382. Вторая часть 383 может дополнительно включать в себя вторую часть 384b, проходящую в том же направлении, что и направление продолжения с первой частью 384a. В качестве альтернативы, вторая часть 383 может дополнительно включать в себя третью часть 384b, проходящую в направлении, отличном от направления прохода первой части 384a. В качестве альтернативы, вторая часть 383 может дополнительно включать в себя вторую часть 384b и третью часть 384c, ответвляющуюся от первой части 384a. Например, первая часть 384a может проходить в горизонтальном направлении от первой части 382. Часть первой части 384a может быть расположена в положении выше, чем вторая контактная поверхность 382c. Т.е. первая часть 384a может включать в себя часть, выступающую в горизонтальном направлении, и часть, выступающую в вертикальном направлении. Первая часть 384a может дополнительно включать в себя часть, проходящую в вертикальном направлении от заданной точки. Например, длина третьей части 384c может быть больше, чем длина второй части 384b.

[331] Направление удлинения по меньшей мере части первой части 384a может быть таким же, как у второй части 384b. Направления удлинения второй части 384b и третьей части 384c могут отличаться друг от друга. Направление удлинения третьей части 384c может отличаться от направления первой части 384a. Третья часть 384a может иметь постоянную кривизну в зависимости от режущей поверхности Y-Z. Т.е. один и тот же радиус кривизны третьей части 384a может быть постоянным в продольном направлении. Кривизна второй части 384b может быть нулевой. Когда вторая часть 384b не является прямой линией, кривизна второй части 384b может быть меньше кривизны третьей части 384a. Радиус кривизны второй части 384b может быть больше, чем у третьей части 384a.

[332] По меньшей мере часть второй части 383 может быть расположена в положении выше или равном положению самого верхнего края ячейки 320а для изготовления льда. В этом случае, поскольку путь теплопроводности, определяемый второй частью 383, является длинным, теплопередача к ячейке 320a для изготовления льда может быть уменьшена. Длина второй части 383 может быть больше, чем радиус ячейки 320а для изготовления льда. Вторая часть 383 может доходить до точки, выше центра вращения C4 вала 440. Например, вторая часть 383 может доходить до точки, выше самого верхнего края вала 440.

[333] Вторая часть 383 может включать в себя первую расширительную часть 383a, проходящую от первой точки первой части 382, и вторую расширительную часть 383b, проходящую от второй точки первой части 382, так что передача тепла нагревателя 430 для прозрачного льда к ячейке 320a для изготовления льда, заданной первым лотком 320, уменьшается. Например, первая расширительная часть 383a и вторая расширительная часть 383b могут проходить в разных направлениях относительно центральной линии C1.

[334] Ссылаясь на фиг.25, первая расширительная часть 383а может быть расположена с левой стороны по отношению к центральной линии C1, а вторая расширительная часть 383b может быть расположена с правой стороны по отношению к центральной линии C1. Первая расширительная часть 383a и вторая расширительная часть 383b могут иметь разные формы в зависимости от центральной линии C1. Первая расширительная часть 383a и вторая расширительная часть 383b могут иметь асимметричную форму относительно центральной линии C1. Длина (горизонтальная длина) второй расширительной части 383b в направлении оси Y может быть больше, чем длина (горизонтальная длина) первой расширительной части 383a. Первая расширительная часть 383a может быть расположена ближе к торцевой части, которая располагается на стороне, противоположной части второй стенки 222 или третьей стенки 223 кронштейна 220, который соединен с четвертой стенкой 224, чем вторая расширительная часть 383a. Вторая расширительная часть 383b может быть расположена ближе к валу 440, который обеспечивает центр вращения узла второго лотка, чем первая расширительная часть 383a.

[335] В этом варианте осуществления длина второй расширительной части 383b в направлении оси Y может быть больше, чем длина первой расширительной части 383a. В этом случае путь теплопроводности может увеличиваться при уменьшении ширины кронштейна 220 по сравнению с пространством, в котором установлен льдогенератор 200. Поскольку длина второй расширительной части 383b в направлении оси Y больше, чем длина первой расширительной части 383a, узел второго лотка, включающий в себя второй лоток 380, контактирующий с первым лотком 320, может увеличиваться в радиусе вращения. Когда радиус вращения узла второго лотка увеличивается, центробежная сила узла второго лотка может увеличиваться. Таким образом, в процессе отделения льда разделяющая сила для отделения льда от узла второго лотка может увеличиваться для улучшения характеристик отделения льда. Центр кривизны по меньшей мере части второй расширительной части 383b может быть центром кривизны вала 440, который соединен с приводом 480 для вращения.

[336] Расстояние между верхней частью первой расширительной части 383a и верхней частью второй расширительной части 383b может быть больше, чем расстояние между нижней частью первой расширительной части 383a и нижней частью второй расширительной части 383b по отношению к режущей поверхности Y-Z, проходящей через центральную линию C1. Например, расстояние между первой расширительной частью 383a и второй расширительной частью 383b может увеличиваться вверх.

[337] Каждая из первой расширительной части 383a и третьей расширительной части 383b может включать в себя с первой по третью части 384a, 384b и 384c.

[338] В другом аспекте третья часть 384c также может быть описана как включающая в себя первую расширительную часть 383a и вторую расширительную часть 383b, проходящие в разных направлениях относительно центральной линии C1.

[339] По меньшей мере часть режущей поверхности X-Y второй расширительной части 383b имеет кривизну больше нуля, а также кривизна может изменяться. Первая горизонтальная область 386a, включающая в себя точку, в которой первая расширительная часть C2, проходящая через центральную линию C1 в направлении оси Y, и вторая расширительная часть 383b встречаются друг с другом, может иметь кривизну, отличную от кривизны второй горизонтальной области 386b третьей части 383b, которая отделена от первой горизонтальной области 386a. Например, кривизна первой горизонтальной области 386a может быть больше, чем кривизна второй горизонтальной области 386b. В третьей части 383b кривизна первой горизонтальной области 386a может быть максимальной.

[340] Третья горизонтальная область 386c, включающая в себя точку, в которой вторая расширительная часть C3, проходящая через центральную линию C1 в направлении оси X, и третья часть 384c встречаются друг с другом, может иметь кривизну, отличную от кривизны второй горизонтальной области 386b третьей части 383b, которая отделена от второй горизонтальной области 386b. Кривизна второй горизонтальной области 386b может быть больше, чем кривизна третьей горизонтальной области 386c. В третьей части 383b кривизна третьей горизонтальной области 386c может быть минимальной.

[341] Вторая расширительная часть 383b может включать в себя внутреннюю линию 383b1 и внешнюю линию 383b2. Кривизна внутренней линии 383b1 может быть больше нуля по отношению к режущей поверхности X-Y. Кривизна внешней линии 383b2 может быть равна или больше нуля.

[342] Вторая расширительная часть 383b может быть разделена на верхнюю часть и нижнюю часть по направлению высоты. Величина изменения кривизны внутренней линии 383b1 верхней части второй расширительной части 383b может быть больше нуля по отношению к режущей поверхности X-Y. Величина изменения кривизны внутренней линии 383b1 нижней части второй расширительной части 383b может быть больше нуля. Максимальная величина изменения кривизны внутренней линии 383b1 верхней части второй расширительной части 383b может быть больше, чем у внутренней линии 383b1 нижней части второй расширительной части 383b. Величина изменения кривизны внешней линии 383b2 верхней части второй расширительной части 383b может быть больше нуля по отношению к режущей поверхности X-Y. Величина изменения кривизны внешней линии 383b2 нижней части второй расширительной части 383b может быть больше нуля. Минимальная величина изменения кривизны внешней линии 383b2 верхней части второй расширительной части 383b может быть больше, чем величина изменения внешней линии 383b2 нижней части второй расширительной части 383b. Внешняя линия нижней части второй расширительной части 383b может включать в себя прямую часть 383b3. Третья часть 384c может включать в себя множество первых расширительных частей 383a и множество вторых расширительных частей 383b, которые соответствуют множеству ячеек 320a для изготовления льда.

[343] Третья часть 384c может включать в себя первую соединительную часть 385a, соединяющую две смежные первые расширительные части 383a друг с другом. Третья часть 384c может включать в себя вторую соединительную часть 385b, соединяющую две соседние вторые расширительные части 383b друг с другом. В этом варианте осуществления, когда льдогенератор включает в себя три ячейки 320a для изготовления льда, третья часть 384c может включать в себя две первые соединительные части 385a.

[344] Как описано выше, ширина (которая является длиной в направлении оси X) W1 двух первых соединительных частей 385a может отличаться друг от друга в соответствии с формированием части 321e размещения датчика. Например, вторая соединительная часть 385b может включать в себя внутреннюю линию 385b1 и внешнюю линию 385b2. В этом варианте осуществления, когда льдогенератор включает в себя три ячейки 320a для изготовления льда, третья часть 384c может включать в себя две вторые соединительные части 385b.

[345] Как описано выше, ширина (которая является длиной в направлении оси X) W2 двух вторых соединительных частей 385b может отличаться друг от друга в соответствии с формированием части 321e размещения датчика. Здесь ширина второй соединительной части 385b, расположенной рядом со вторым датчиком 700 температуры среди двух вторых соединительных частей 385b, может быть больше, чем ширина оставшейся второй соединительной части 385b. Ширина W1 первой соединительной части 385a может быть больше, чем ширина W3 соединительной части двух соседних ячеек 320a для изготовления льда. Ширина W2 второй соединительной части 385b может быть больше, чем ширина W3 соединительной части двух соседних ячеек 320a для изготовления льда.

[346] Первая часть 382 может иметь переменный радиус в направлении оси Y. Первая часть 382 может включать в себя первую область 382d (см. область A на фиг.25) и вторую область 382e. Кривизна по меньшей мере части первой области 382d может отличаться от кривизны по меньшей мере части второй области 382e. Первая область 382d может включать в себя самый нижний край ячейки 320a для изготовления льда. Вторая область 382e может иметь диаметр больше, чем диаметр первой области 382d. Первая область 382d и вторая область 382e могут быть разделены по вертикали.

[347] Нагреватель 430 для прозрачного льда может контактировать с первой областью 382d. Первая область 382d может включать в себя контактную поверхность 382g нагревателя, контактирующую с нагревателем 430 для прозрачного льда. Контактная поверхность 382g нагревателя может быть, например, горизонтальной плоскостью. Контактная поверхность 382g нагревателя может быть расположена в положении выше, чем положение самого нижнего края первой части 382.

[348] Вторая область 382e может включать в себя вторую контактную поверхность 382c. Первая область 382d может иметь форму, углубленную в направлении, противоположном направлению, в котором лед расширяется в ячейке 320a для изготовления льда. Расстояние от центра ячейки 320a для изготовления льда до второй области 382e может быть меньше, чем расстояние от центра ячейки 320a для изготовления льда до части, на которой располагается форма, утопленная в первой области 382d. Например, первая область 382d может включать в себя прижимную часть 382f, которая прижимается вторым толкателем 540 во время процесса отделения льда. Когда прижимающая сила второго толкателя 540 прикладывается к прижимной части 382f, прижимная часть 382f деформируется, и, таким образом, лед отделяется от первой части 382. Когда прижимающая сила, приложенная к прижимной части 382f, снимается, прижимная часть 382f может вернуться к своей первоначальной форме. Центральная линия C1 может проходить через первую область 382d. Например, центральная линия C1 может проходить через прижимную часть 382f. Контактная поверхность 382g нагревателя может быть расположена вокруг прижимного узла 382f. Контактная поверхность 382g нагревателя может быть расположена в положении выше, чем положение самого нижнего края прижимной части 382f. По меньшей мере часть контактной поверхности 382g нагревателя может быть расположена вокруг центральной линии С1. Соответственно по меньшей мере часть нагревателя 430 для прозрачного льда, контактирующая с контактной поверхностью 382g нагревателя, может быть расположена вокруг центральной линии С1. Следовательно, можно предотвращать взаимодействие нагревателя 430 для прозрачного льда со вторым толкателем 540, в то время как второй толкатель 540 нажимает на прижимной блок 382f. Расстояние от центра ячейки 320a для изготовления льда до прижимной части 382f может отличаться от расстояния от центра ячейки 320a для изготовления льда до второй области 382e.

[349] Фиг.30 - вид в перспективе крышки второго лотка, а фиг.35 - вид сверху крышки второго лотка.

[350] Ссылаясь на фиг.30 и 31, крышка 360 второго лотка включает в себя отверстие 362 (или сквозное отверстие), в которое вставляется часть второго лотка 380. Например, когда второй лоток 380 вставлен под крышку 360 второго лотка, часть второго лотка 380 может выступать вверх от крышки 360 второго лотка через отверстие 362.

[351] Крышка 360 второго лотка может включать в себя вертикальную стенку 361 и изогнутую стенку 363, окружающую отверстие 362. Вертикальная стенка 361 может определять три поверхности крышки 360 второго лотка, а изогнутая стенка 363 может определять другую поверхность второго крышки 360 второго лотка. Вертикальная стенка 361 может быть стенкой, продолжающейся вертикально вверх, а изогнутая стенка 363 может быть стенкой, закругленной от отверстия 362 вверх. Вертикальные стенки 361 и изогнутые стенки 363 могут быть снабжены множеством соединительных частей 361a, 361c и 363a для соединения со вторым лотком 380 и корпусом 400 второго лотка. Вертикальная стенка 361 и изогнутая стенка 363 могут дополнительно включать в себя множество соединительных пазов 361b, 361d и 363b, соответствующих множеству соединительных частей 361a, 361c и 363a. Соединительный элемент может быть вставлен во множество соединительных частей 361a, 361c и 363a, чтобы проходить через второй лоток 380, а затем быть соединен с соединительными частями 401a, 401b и 401c держателя 400 второго лотка. Здесь соединительная часть может выступать вверх из вертикальной стенки 361 и изогнутой стенки 363 через множество соединительных пазов 361b, 361d и 363b для предотвращения столкновения с другими компонентами.

[352] Множество первых соединительных частей 361a может быть предусмотрено на стенке, обращенной к изогнутой стенке 363 вертикальной стенки 361. Множество первых соединительных частей 361a могут быть разнесены друг от друга в направлении оси X на фиг.30. Может быть предусмотрен первый соединительный паз 361b, соответствующий каждой из первых соединительных частей 361а. Например, первый соединительный паз 361b может быть образован углублением в вертикальной стенке 361, а первая соединительная часть 361а может быть предусмотрена в углубленной части первого соединительного паза 361b.

[353] Вертикальная стенка 361 может дополнительно включать в себя множество вторых соединительных частей 361c. Множество вторых соединительных частей 361c может быть предусмотрено на вертикальных стенках 361, которые разнесены друг от друга в направлении оси X. Множество вторых соединительных частей 361c может быть расположено ближе к первым соединительным частям 361a, чем к третьим соединительным частям 363a, которые будут описаны позже. Это сделано для предотвращения столкновения с расширением 403 держателя 400 второго лотка, когда оно соединено с держателем 400 второго лотка, который будет описан позже. Например, вертикальная стенка 361, в которой расположено множество вторых соединительных частей 361c, может дополнительно включать в себя второй соединительный паз 361d, образованный разнесенными частями, за исключением вторых соединительных частей 361c, расположенных на расстоянии друг от друга. Изогнутая стенка 363 может быть снабжена множеством третьих соединительных частей 363a, которые должны быть соединены со вторым лотком 380 и держателем 400 второго лотка. Например, множество третьих соединительных частей 363a могут быть разнесены друг от друга в направлении оси X на фиг.34. Изогнутая стенка 363 может быть снабжена третьим соединительным пазом 363b, соответствующим каждой из третьих соединительных частей 363a. Например, третий соединительный паз 363b может быть образован вертикальным углублением изогнутой стенки 363, а третья соединительная часть 363a может быть предусмотрена в углубленной части третьего соединительного паза 363b.

[354] Крышка 360 второго лотка может поддерживать по меньшей мере часть второй части 383 второго лотка 380. Например, крышка 360 второго лотка может поддерживать первую расширительную часть 383а и вторую расширительную часть 383b второй части 383.

[355] Фиг.32 - вид в перспективе сверху держателя второго лотка, а фиг.33 - вид снизу в перспективе держателя второго лотка. Фиг.34 - вид в разрезе по линии 34-34 на фиг.32.

[356] Со ссылкой на фиг.32-34, держатель 400 второго лотка может включать в себя опорный корпус 407, на котором посажена нижняя часть второго лотка 380. Опорный корпус 407 может включать в себя пространство 406а для размещения, в котором размещается часть второго лотка 380. Пространство 406а для размещения может быть определено в соответствии с первой частью 382 второго лотка 380, и может быть предусмотрено множество пространств 406а для размещения.

[357] Опорный корпус 407 может включать в себя нижнее отверстие 406b (или сквозное отверстие), через которое проходит часть второго толкателя 540. Например, три нижних отверстия 406b могут быть предусмотрены в опорном корпусе 407, чтобы соответствовать трем пространствам 406a для размещения. Часть нижней части второго лотка 380 может быть открыта через нижнее отверстие 406b. По меньшей мере часть второго лотка 380 может быть расположена в нижнем отверстии 406b. Часть второго лотка 380 может контактировать с опорным корпусом 404 через нижнее отверстие 406b. В первой части 382 второго лотка 380, определяющего ячейку для изготовления льда, площадь поверхности области, контактирующей с опорным корпусом 407, может быть больше, чем площадь неконтактной области.

[358] Верхняя поверхность 407a опорного корпуса 407 может проходить в горизонтальном направлении. Держатель 400 второго лотка может включать в себя нижнюю пластину 401, которая является ступенчатой с верхней поверхностью 407a опорного корпуса 407. Нижняя пластина 401 может быть расположена в положении выше, чем положение верхней поверхности 407a опорного корпуса 407.

[359] Нижняя пластина 401 может включать в себя множество соединительных частей 401a, 401b и 401c, которые должны быть соединены с крышкой 360 второго лотка. Второй лоток 380 может быть вставлен и соединен между крышкой 360 второго лотка и держателем 400 второго лотка. Например, второй лоток 380 может быть расположен под крышкой 360 второго лотка и второй лоток 380 может быть размещен над держателем 400 второго лотка. Первая расширительная стенка 387b второго лотка 380 может быть соединена с соединительными частями 361a, 361b и 361c крышки 360 второго лотка и соединительными частями 400a, 401b и 401c держателя 400 второго лотка. Множество первых соединительных частей 401a могут быть разнесены друг от друга в направлении оси X на фиг.32. Кроме того, первая соединительная часть 401a и вторая и третья соединительные части 401b и 401c могут быть разнесены друг от друга в направлении оси Y. Третья соединительная часть 401c может быть расположена дальше от первой соединительной части 401a, чем вторая соединительная часть 401b.

[360] Держатель 400 второго лотка может дополнительно включать в себя вертикальную расширительную стенку 405, проходящую вертикально вниз от торца нижней пластины 401. Одна поверхность вертикальной расширительной стенки 405 может быть снабжена парой расширительных частей 403, соединенных с валом 440, чтобы позволять второму лотку 380 вращаться.

[361] Пара расширительных частей 403 может быть разнесена друг от друга в направлении оси X на фиг.32. Кроме того, каждая из расширительных частей 403 может дополнительно включать в себя сквозное отверстие 404. Вал 440 может проходить через сквозное отверстие 404, а расширительная часть 281 крышки 300 первого лотка может быть расположена внутри пары расширительных частей 403. Сквозное отверстие 404 может дополнительно включать в себя центральную часть 404a и расширительное отверстие 404b, продолжающееся симметрично центральной части 404a.

[362] Держатель 400 второго лотка может дополнительно включать в себя пружинную соединительную часть 402a, с которой соединена пружина 402. Пружинная соединительная часть 402a может иметь кольцо, которое можно зацепить за нижний край пружины 402. Одна из стенок, расположенных на расстоянии друг от друга и обращенных друг к другу в направлении оси X вертикальной расширительной стенки 405, снабжена направляющим отверстием 408, направляя нагреватель 430 для прозрачного льда, который будет описан ниже, или провод, соединенный с нагревателем 430 для прозрачного льда.

[363] Держатель 400 второго лотка может дополнительно включать в себя соединительную часть 405a тяги, с которой соединена тяга 500 толкателя. Например, соединительная часть 405a тяги может выступать из вертикальной расширительной стенки 405 в направлении оси X. Соединительная часть 405a тяги может быть расположена в области между центральной линией CL1 и сквозным отверстием 404 относительно фиг.34. Донная поверхность нижней пластины 401 может быть дополнительно снабжена множеством соединительных частей 409 второго нагревателя, соединенных со вторым корпусом 420 нагревателя. Множество соединительных частей 409 второго нагревателя могут быть расположены на расстоянии друг от друга в направлении оси X и/или направлении оси Y.

[364] Ссылаясь на фиг.34, держатель 400 второго лотка может включать в себя первую часть 411, поддерживающую второй лоток 380, определяющую по меньшей мере часть ячейки 320a для изготовления льда. На фиг.34 первая часть 411 может быть областью между двумя пунктирными линиями. Например, опорный корпус 407 может образовывать первую часть 411. Держатель 400 второго лотка может дополнительно включать в себя вторую часть 413, проходящую от заданной точки первой части 411.

[365] Вторая часть 413 может уменьшать передачу тепла, которое передается от нагревателя 430 для прозрачного льда к держателю 400 второго лотка, к ячейке 320a для изготовления льда, определяемой узлом первого лотка. По меньшей мере часть второй части 413 может продолжаться в направлении от первой ячейки 321a, определяемой первым лотком 320. Направление от первой ячейки 321 может быть горизонтальным направлением, проходящим через центр ячейки 320a для изготовления льда. Направление от первой ячейки 321 может быть направлением вниз по отношению к горизонтальной линии, проходящей через центр ячейки 320a для изготовления льда.

[366] Вторая часть 413 может включать в себя первую часть 414a, проходящую в горизонтальном направлении от заданной точки, и вторую часть 414b, проходящую в том же направлении, что и первая часть 414a. Вторая часть 413 может включать в себя первую часть 414a, проходящую в горизонтальном направлении от заданной точки, и третью часть 414c, проходящую в направлении, отличном от направления первой части 414a. Вторая часть 413 может включать в себя первую часть 414a, проходящую в горизонтальном направлении от заданной точки, и вторую часть 414b и третью часть 414c, которые ответвляются от первой части 414a.

[367] Верхняя поверхность 407a опорного корпуса 407 может обеспечивать, например, первую часть 414а. Первая часть 414a может дополнительно включать в себя четвертую часть 414d, проходящую в направлении вертикальной линии. Нижняя пластина 401 может иметь, например, четвертую часть 414d. Вертикальная расширительная стенка 405 может иметь, например, третью часть 414c. Длина третьей части 414c может быть больше, чем длина второй части 414b. Вторая часть 414b может проходить в том же направлении, что и первая часть 414a. Третья часть 414c может проходить в направлении, отличном от направления первой части 414a. Вторая часть 413 может быть расположена на той же высоте, что и самый нижний край первой ячейки 321a, или продолжаться до нижней точки. Длина второй части 413 может быть больше, чем радиус ячейки 320а для изготовления льда. В этом случае длина второй части 413 может быть увеличена, тем самым увеличивая путь теплопередачи.

[368] Вторая часть 413 может включать в себя первую расширительную часть 413a и вторую расширительную часть 413b. Первая расширительная часть 413a может проходить от первой точки первой части 411, а вторая расширительная часть 413b может проходить от второй точки первой части 411. Первая расширительная часть 413a и вторая расширительная часть 413b могут быть расположены напротив относительно друг друга относительно центральной линии C1 ячейки 320а для изготовления льда или центральной линии CL1, соответствующей центральной линии C1. Ссылаясь на фиг.34, первая расширительная часть 413а может быть расположена с левой стороны по отношению к центральной линии CL1, а вторая расширительная часть 413b может быть расположена с правой стороны по отношению к центральной линии CL1.

[369] Первая расширительная часть 413a и вторая расширительная часть 413b могут иметь разные формы относительно центральной линии CL1. Первая расширительная часть 413a и вторая расширительная часть 413b могут иметь формы, которые асимметричны друг другу относительно центральной линии CL1. Длина второй расширительной части 413b может быть больше, чем длина первой расширительной части 413a в горизонтальном направлении. Т.е. длина теплопроводности второй расширительной части 413b больше, чем у первого расширительной части 413a. Когда длина второй расширительной части 413b в горизонтальном направлении увеличивается, радиус вращения узла второго лотка увеличивается. Когда радиус вращения узла второго лотка увеличивается, центробежная сила узла второго лотка может увеличиваться, и, таким образом, сила отделения льда для отделения льда от узла второго лотка в процессе отделения льда может увеличиваться, тем самым улучшая характеристики отделения льда.

[370] Первая расширительная часть 413a может быть расположена ближе к торцевой части, которая располагается на стороне, противоположной части второй стенки 222 или третьей стенки 223 кронштейна 220, который соединен с четвертой стенкой 224, чем вторая расширительная часть 413b. Вторая расширительная часть 413b может быть расположена ближе к валу 440, который обеспечивает центр вращения узла второго лотка, чем первая расширительная часть 413a. Когда длина второй расширительной части 413b в направлении оси Y меньше, чем длина первой расширительной части 413a, можно предотвратить столкновение первой расширительной части 413a с кронштейном 220 в процессе вращения. Центр кривизны по меньшей мере части второй расширительной части 413a может совпадать с центром вращения вала 440, который соединен с приводом 480 для вращения. Соответственно, можно предотвратить столкновение второй расширительной части 413a в соседнюю конфигурацию в процессе вращения узла второго лотка. Первая расширительная часть 413a может включать в себя часть 414e, проходящую вверх относительно горизонтальной линии. Часть 414e может окружать, например, часть второго лотка 380. Соответственно, сила соединения узла первого лотка и узла второго лотка может увеличиваться, тем самым увеличивая эффект предотвращения утечки воды.

[371] В другом аспекте держатель 400 второго лотка может включать в себя первую область 415a, включающую нижнее отверстие 406b, и вторую область 415b, имеющую форму, соответствующую ячейке 320a для изготовления льда, для поддержки второго лотка 380. Например, первая область 415a и вторая область 415b могут быть разделены по вертикали. На фиг.34, например, первая область 415a и вторая область 415b разделены пунктирной линией, проходящей в горизонтальном направлении. Первая область 415a может поддерживать второй лоток 380.

[372] Контроллер управляет льдогенератором, позволяя второму толкателю 540 перемещаться из первой точки вне ячейки 320а для изготовления льда во вторую точку внутри держателя 400 второго лотка через нижнее отверстие 406b.

[373] Степень сопротивления деформации держателя 400 второго лотка может быть больше, чем у второго лотка 380. Степень восстановления держателя 400 второго лотка может быть меньше, чем у второго лотка 380.

[374] В другом аспекте держатель 400 второго лотка включает в себя первую область 415a, включающую в себя нижнее отверстие 406b, и вторую область 415b, расположенную дальше от нагревателя 430 для прозрачного льда, чем первая область 415a.

[375] В держателе 400 второго лотка первая часть 411 может включать в себя первую область 415a и вторую область 415b.

[376] С точки зрения корпуса второго лотка, первая часть 411 держателя 400 второго лотка может соответствовать первой части корпуса второго лотка, а вторая часть 413 держателя 400 второго лотка может соответствовать второй части корпуса второго лотка. Кроме того, крышка 360 второго лотка может соответствовать третьей части корпуса второго лотка. Вторая часть корпуса второго лотка может проходить в направлении вниз относительно горизонтальной линии, проходящей через центр ячейки для изготовления льда. Третья часть корпуса второго лотка может проходить в направлении вверх относительно горизонтальной линии, проходящей через центр ячейки для изготовления льда.

[377] Нагреватель 430 для прозрачного льда будет описан подробно.

[378] Контроллер 800 согласно этому варианту осуществления может управлять нагревателем 430 для прозрачного льда так, чтобы тепло подавалось в ячейку 320а для изготовления льда по меньшей мере в частичной секции, в то время как холодный воздух подается в ячейку 320а для изготовления льда, чтобы изготовить прозрачный лед.

[379] Скорость изготовления льда может быть задержана, так что пузырьки, растворенные в воде внутри ячейки 320a для изготовления льда, могут перемещаться из части, в которой лед образуется, в сторону жидкой воды за счет тепла нагревателя 430 для прозрачного льда, тем самым формируя прозрачный лед в льдогенераторе 200. Т.е. пузырьки, растворенные в воде, могут принудительно выходить за пределы ячейки 320a для изготовления льда или собираться в заданное положение в ячейке 320a для изготовления льда.

[380] Когда часть 900 подачи холодного воздуха, которая будет описана ниже, подает холодный воздух в ячейку 320a для изготовления льда, если скорость изготовления льда является высокой, пузырьки, растворенные в воде внутри ячейки 320a для изготовления льда, могут быть заморожены без выхода из части, в которой лед формируется, в жидкую воду, и, таким образом, прозрачность льда может быть уменьшена.

[381] Напротив, когда часть 900 подачи холодного воздуха подает холодный воздух в ячейку 320a для изготовления льда, если скорость изготовления льда является низкой, вышеупомянутое ограничение может быть устранено для увеличения прозрачности льда. Однако есть ограничение, при котором время изготовления увеличивается.

[382] Соответственно, нагреватель 430 для прозрачного льда может быть расположен на одной стороне ячейки 320a для изготовления льда, так что нагреватель локально подает тепло в ячейку 320a для изготовления льда, тем самым увеличивая прозрачность изготовленного льда при одновременном сокращении времени изготовления льда.

[383] Когда нагреватель 430 для прозрачного льда располагается на одной стороне ячейки 320a для изготовления льда, нагреватель 430 для прозрачного льда может быть изготовлен из материала, имеющего теплопроводность меньше, чем у металла, чтобы предотвращать легкую передачу тепла нагревателя 430 для прозрачного льда на другую сторону ячейки 320а для изготовления льда.

[384] В качестве альтернативы по меньшей мере одно из первого лотка 320 и второго лотка 380 может быть изготовлено из полимера, включающего пластик, так что лед, прикрепленный к лоткам 320 и 380, разделяется в процессе изготовления льда.

[385] По меньшей мере одно из первого лотка 320 или второго лотка 380 может быть изготовлено из гибкого или мягкого материала, так что лоток, деформированный толкателями 260 и 540, легко восстанавливается до своей исходной формы в процессе отделения льда.

[386] Нагреватель 430 для прозрачного льда может быть расположен рядом со вторым лотком 380. Нагреватель 430 для прозрачного льда может быть, например, нагревателем проволочного типа. Например, нагреватель 430 для прозрачного льда может быть установлен так, чтобы контактировать со вторым лотком 380, или может быть расположен на заданном расстоянии от второго лотка 380. В качестве другого примера корпус 420 второго нагревателя может не предоставляться отдельно, но нагреватель 430 для прозрачного льда может быть установлен на держателе 400 второго лотка. В некоторых случаях нагреватель 430 для прозрачного льда может подавать тепло на второй лоток 380, а тепло, подаваемое на второй лоток 380, может передаваться в ячейку 320а для изготовления льда.

[387] Первый толкатель

[388] Фиг.35 - вид первого толкателя согласно варианту осуществления, причем фиг.35(a) - вид в перспективе первого толкателя, а фиг.35(b) - вид сбоку первого толкателя.

[389] Ссылаясь на фиг.35, первый толкатель 260 может включать в себя толкающий стержень 264. Толкающий стержень 264 может включать в себя первый торец 264а, на котором располагается прижимная поверхность, прижимающая лед или лоток в процессе отделения льда, и второй торец 264b, расположенный на стороне, противоположной первому торцу 264а. Например, прижимная поверхность может быть плоской или изогнутой.

[390] Толкающий стержень 264 может проходить в вертикальном направлении и может иметь форму прямой линии или изогнутую форму, в которой по меньшей мере часть толкающего стержня 264 закруглена. Диаметр толкающего стержня 264 меньше диаметра отверстия 324 первого лотка 320. Соответственно, толкающий стержень 264 может быть вставлен в ячейку 320а для изготовления льда через отверстие 324. Таким образом, первый толкатель 260 может быть упомянут в качестве толкателя проникающего типа, проходящего через ячейку 320а для изготовления льда.

[391] Когда льдогенератор включает в себя множество ячеек 320a для изготовления льда, первый толкатель 260 может включать в себя множество толкающих стержней 264. Два соседних толкающих стержня 264 могут быть соединены друг с другом посредством соединительной части 263. Соединительная часть 263 может соединять верхние края толкающих стержней 264 друг с другом. Таким образом, можно предотвращать взаимодействие второго торца 264a и соединительной части 263 с первым лотком 320, когда толкающий стержень 264 вставлен в ячейку 320a для изготовления льда.

[392] Первый толкатель 260 может включать в себя направляющую соединительную часть 265, проходящую через направляющую прорезь 302. Например, направляющая соединительная часть 265 может быть предусмотрена на каждой из обеих сторон первого толкателя 260. Вертикальное поперечное сечение направляющей соединительной части 265 может иметь круглую, овальную или многоугольную форму. Направляющая соединительная часть 265 может быть расположена в направляющей прорези 302. Направляющая соединительная часть 265 может перемещаться в продольном направлении вдоль направляющей прорези 302 в состоянии, когда она располагается в направляющей прорези 302. Например, направляющая соединительная часть 265 может двигаться в вертикальном направлении. Хотя направляющая прорезь 302 была описана как предусмотренная в крышке 300 первого лотка, в качестве альтернативы, она может быть предусмотрена в стенке, определяющей кронштейн 220 или камеру хранения.

[393] Направляющая соединительная часть 265 может дополнительно включать в себя соединительную часть 266 тяги, которая должна быть соединена с тягой 500 толкателя. Соединительная часть 266 тяги может быть расположена в положении ниже, чем положение второго торца 264b. Соединительная часть 266 тяги может иметь цилиндрическую форму, так что соединительная часть 266 тяги вращается в состоянии, в котором соединительная часть 266 тяги соединена с тягой 500 толкателя.

[394] Фиг.36 - вид, иллюстрирующий состояние, в котором первый толкатель соединен с узлом второго лотка посредством тяги.

[395] Как показано на фиг.36, тяга 500 толкателя может соединять первый толкатель 500 с узлом второго лотка. Например, тяга 500 толкателя может быть соединена с первым толкателем 260 и корпусом второго лотка.

[396] Тяга 500 толкателя может включать в себя тело 502 тяги. Тело 502 тяги может иметь округлую форму. Поскольку тело 502 тяги имеет круглую форму, тяга 500 толкателя может позволить первому толкателю 260 вращаться, а также вертикально перемещаться, в то время как узел второго лотка вращается.

[397] Тяга 500 толкателя может включать в себя первую соединительную часть 504, предусмотренную на одном крае тела 502 тяги, и вторую соединительную часть 506, предусмотренную на другом крае тела 502 тяги. Первая соединительная часть 504 может включать в себя первое соединительное отверстие 504a, с которым соединена соединительная часть 266 тяги. Соединительная часть 266 тяги может быть соединена с первой соединительной частью 504 после прохождения через направляющую прорезь 302. Вторая соединительная часть 506 может быть соединена с держателем 400 второго лотка. Вторая соединительная часть 506 может включать в себя второе соединительное отверстие 506a, с которым соединяется соединительная часть 405a тяги, предусмотренная на держателе 400 второго лотка. Вторая соединительная часть 504 может быть соединена с держателем 400 второго лотка в положении, разнесенном от центра C4 вращения вала 440 или центра C4 вращения узла второго лотка. Следовательно, согласно этому варианту осуществления, тяга 500 толкателя, соединенная с узлом второго лотка, вращается вместе за счет вращения узла второго лотка. В то время как тяга 500 толкателя вращается, первый толкатель 260, соединенный с тягой 500 толкателя, перемещается вертикально вдоль направляющей прорези 302. Тяга 502 толкателя может служить для преобразования силы вращения узла второго лотка в силу вертикального перемещения первого толкателя 260. Соответственно, первый толкатель 260 может также называться подвижным толкателем.

[398] Фиг.37 - вид в перспективе второго толкателя согласно варианту осуществления.

[399] Ссылаясь на фиг.37, второй толкатель 540 согласно этому варианту осуществления может включать в себя толкатель 544. Толкающий стержень 544 может включать в себя первый торец 544а, на котором располагается прижимная поверхность, прижимающая второй лоток 380, и второй торец 544b, расположенный на стороне, противоположной первому торцу 544а.

[400] Толкающий стержень 544 может иметь изогнутую форму для увеличения времени, необходимого для прижатия второго лотка 380, не мешая второму лотку 380, который вращается в процессе отделения льда. Первый торец 544а может быть плоским и включать в себя вертикальную или наклонную поверхность. Второй торец 544b может быть соединен с четвертой стенкой 224 кронштейна 220, или второй торец 544b может быть соединен с четвертой стенкой 224 кронштейна 220 с помощью соединительной пластины 542. Соединительная пластина 542 может быть установлена в монтажный паз 224a, образованный в четвертой стенке 224 кронштейна 220.

[401] Когда льдогенератор 200 включает в себя множество ячеек 320a для изготовления льда, второй толкатель 540 может включать в себя множество толкающих стержней 544. Множество толкающих стержней 544 может быть соединено с соединительной пластиной 542, будучи разнесенными друг от друга в горизонтальном направлении. Множество толкающих стержней 544 может быть выполнено как одно целое с соединительной пластиной 542 или может быть соединено с соединительной пластиной 542. Первый торец 544а может быть расположен под наклоном относительно центральной линии С1 ячейки 320а для изготовления льда. Первый торец 544а может быть наклонен в направлении от центральной линии С1 ячейки 320а для изготовления льда от верхнего края к нижнему краю. Угол наклонной поверхности, определяемой первым торцом 544a, относительно вертикальной линии может быть меньше, чем угол наклонной поверхности, определяемой вторым торцом 544b.

[402] Направление, в котором толкающий стержень 544 проходит от центра первого торца 544а к центру второго торца 544а, может включать по меньшей мере два направления. Например, толкающий стержень 544 может включать в себя первую часть, проходящую в первом направлении, и вторую часть, проходящую в направлении, отличном от второй части. По меньшей мере часть линии, соединяющей центр второго торца 544a с центром первого торца 544a вдоль толкающего стержня 544, может быть изогнутой. Первый торец 544a и второй торец 544b могут иметь разную высоту. Первый торец 544а может быть расположен под наклоном по отношению ко второму торцу 544b.

[403] Фиг.38-40 - виды, иллюстрирующие процесс сборки льдогенератора согласно варианту осуществления.

[404] Фиг.38-40 представляют собой виды, последовательно иллюстрирующие процесс сборки, т.е. иллюстрирующие процесс соединения компонентов друг с другом.

[405] Сначала можно собрать узел первого лотка и узел второго лотка.

[406] Чтобы собрать узел первого лотка, нагреватель 290 для отделения льда может быть соединен с корпусом 280 первого нагревателя, а корпус 280 первого нагревателя может быть собран с корпусом первого лотка. Например, корпус первого нагревателя может быть собран с крышкой 300 первого лотка. В качестве альтернативы, когда корпус 280 первого нагревателя выполнен как одно целое с крышкой 300 первого лотка, нагреватель 290 для отделения льда может быть соединен с крышкой 300 первого лотка. Первый лоток 320 и корпус первого лотка могут быть соединены друг с другом. Например, крышка 300 первого лотка располагается над первым лотком 320, держатель 340 первого лотка может быть расположен ниже первого лотка 320, а затем соединительный элемент используется для присоединения крышки 300 первого лотка, первого лотка 320 и держателя 340 первого лотка друг к другу. Чтобы собрать узел второго лотка, нагреватель 430 для прозрачного льда и корпус 420 второго нагревателя могут быть соединены друг с другом. Корпус 420 второго нагревателя может быть соединен с корпусом второго лотка. Например, корпус 420 второго нагревателя может быть соединен с держателем 400 второго лотка. В качестве альтернативы, когда корпус 420 второго нагревателя выполнен как одно целое с держателем 400 второго лотка, нагреватель 430 для прозрачного льда может быть соединен с держателем 400 второго лотка.

[407] Второй лоток 380 и корпус второго лотка могут быть соединены друг с другом. Например, крышка 360 второго лотка располагается над вторым лотком 380, держатель 400 второго лотка может быть расположен ниже второго лотка 380, и затем соединительный элемент используется для присоединения крышки 360 второго лотка, второго лотка 380 и держателя 400 второго лотка друг к другу.

[408] Собранный узел первого лотка и узел второго лотка могут быть выровнены в состоянии контакта друг с другом.

[409] Часть передачи энергии, соединенная с приводом 480, может быть соединена с узлом второго лотка. Например, вал 440 может проходить через пару расширительных частей 403 узла второго лотка. Вал 440 может также проходить через расширительную часть 281 узла первого лотка. Т.е. вал 440 может одновременно проходить через расширительную часть 281 узла первого лотка и расширительную часть 403 узла второго лотка. В этом случае пара расширительных частей 281 узла первого лотка может быть расположена между парой расширительных частей 403 узла второго лотка. Поворотный рычаг 460 может быть соединен с валом 440. Пружина может быть соединена с поворотным рычагом 460 и узлом второго лотка. Первый толкатель 260 может быть соединен с узлом второго лотка с помощью тяги 500 толкателя. Первый толкатель 260 может быть соединен с тягой 500 толкателя в состоянии, в котором первый толкатель 260 располагается с возможностью перемещения в узле первого лотка. Один край тяги 500 толкателя может быть соединен с первым толкателем 260, а другой край может быть соединен с узлом второго лотка. Первый толкатель 260 может быть расположен так, чтобы контактировать с корпусом первого лотка.

[410] Собранный узел первого лотка может быть установлен на кронштейне 220. Например, узел первого лотка может быть соединен с кронштейном 220 в состоянии, в котором узел первого лотка располагается в сквозном отверстии 221a первой стенки 221. В другом примере кронштейн 220 и крышка первого лотка могут быть выполнены как единое целое. Затем узел первого лотка может быть собран путем соединения кронштейна 220, с которым объединена крышка первого лотка, первого лотка 320 и первого держателя лотка друг с другом.

[411] Часть 240 подачи воды может быть соединена с кронштейном 220. Например, часть 240 подачи воды может быть соединена с первой стенкой 221. Привод 480 может быть установлен на кронштейне 220. Например, привод 480 может быть установлен на третьей стенке 223.

[412] Фиг.41 - вид в разрезе по линии 41-41 на фиг.2.

[413] Как показано на фиг.41, льдогенератор 200 может включать в себя узел 201 первого лотка и узел 211 второго лотка, которые соединены друг с другом.

[414] Узел 211 второго лотка может включать в себя первую часть 212, определяющую по меньшей мере часть ячейки 320a для изготовления льда, и вторую часть 213, проходящую от заданной точки первой части 212. Вторая часть 213 может уменьшать передачу тепла от нагревателя 430 для прозрачного льда к ячейке 320a для изготовления льда, образованной узлом 201 первого лотка. Первая часть 212 может быть областью, расположенной между двумя пунктирными линиями на фиг.41.

[415] Заранее заданная точка первой части 212 может быть краем первой части 212 или точкой, в которой узел 201 первого лотка и узел 211 второго лотка встречаются друг с другом. По меньшей мере часть первой части 212 может проходить в направлении от ячейки 320a для изготовления льда, определяемой узлом 201 первого лотка. По меньшей мере две части второй части 213 могут быть разветвлены для уменьшения теплопередачи в направлении, проходящем ко второй части 213. Часть второй части 213 может проходить в горизонтальном направлении, проходя через центр ячейки 320a для изготовления льда. Часть второй части 213 может проходить в направлении вверх по отношению к горизонтальной линии, проходящей через центр ячейки 320a для изготовления льда.

[416] Вторая часть 213 включает в себя первую часть 213c, проходящую в горизонтальном направлении, проходя через центр ячейки 320a для изготовления льда, вторую часть 213d, проходящую вверх относительно горизонтальной линии, проходя через центр ячейки 320a для изготовления льда, а третью часть 213e, проходящую вниз.

[417] Первая часть 212 может иметь различную степень теплопередачи в направлении вдоль внешней периферийной поверхности ячейки 320a для изготовления льда для уменьшения передачи тепла, которое передается от нагревателя 430 для прозрачного льда к узлу 211 второго лотка, к ячейке 320a для изготовления льда, образованной узлом 201 первого лотка. Нагреватель 430 для прозрачного льда может быть расположен с возможностью нагрева обеих сторон по отношению к самому нижнему краю первой части 212.

[418] Первая часть 212 может включать в себя первую область 214a и вторую область 214b. На фиг.41, первая область 214a и вторая область 214b разделены пунктирной линией, проходящей в горизонтальном направлении. Вторая область 214b может быть областью, определенной над первой областью 214a. Степень теплопередачи второй области 214b может быть больше, чем у первой области 214а.

[419] Первая область 214a может включать в себя часть, на которой располагается нагреватель 430 для прозрачного льда. Таким образом, нагреватель 430 для прозрачного льда может быть расположен в первой области 214а. Самый нижний край 214a1 ячейки 320a для изготовления льда в первой области 214a может иметь меньшую скорость теплопередачи, чем у другой части первой области 214a. Вторая область 214b может включать в себя часть, в которой узел 201 первого лотка и узел 211 второго лотка контактируют друг с другом. Первая область 214a может представлять собой часть ячейки 320a для изготовления льда. Вторая область 214b может обеспечивать другую часть ячейки 320a для изготовления льда. Вторая область 214b может быть расположена дальше от нагревателя 430 для прозрачного льда, чем первая область 214a.

[420] Часть первой области 214a может иметь меньшую степень теплопередачи, чем другая часть первой области 214a, для уменьшения передачи тепла, которое передается от нагревателя 430 для прозрачного льда к первой области 314a, к ячейке 320a для изготовления льда, определенной второй областью 214b. Для изготовления льда в направлении от ячейки 320a для изготовления льда, определяемой первой областью 214a, к ячейке 320a для изготовления льда, ограниченной второй областью 214b, часть первой области 214a может иметь степень сопротивления деформации меньше, чем степень сопротивления деформации другой части первой области 214a, и степень восстановления больше, чем степень восстановления другой части первой области 214a.

[421] Часть первой области 214a может быть тоньше, чем другая часть первой области 214a, в направлении толщины от центра ячейки 320a для изготовления льда по направлению внешней периферийной поверхности ячейки 320a для изготовления льда. Например, первая область 214a может включать в себя корпус второго лотка, окружающий по меньшей мере часть второго лотка 380 и по меньшей мере часть второго лотка 380.

[422] Средняя площадь поперечного сечения или средняя толщина узла 201 первого лотка могут быть больше средней площади поперечного сечения или средней толщины узла 211 второго лотка относительно режущей поверхности Y-Z. Максимальная площадь поперечного сечения или максимальная толщина узла 201 первого лотка могут быть больше максимальной площади поперечного сечения или максимальной толщины узла 211 второго лотка относительно режущей поверхности Y-Z. Минимальная площадь поперечного сечения или минимальная толщина узла 201 первого лотка могут быть больше минимальной площади поперечного сечения или минимальной толщины узла 211 второго лотка относительно режущей поверхности Y-Z. Однородность минимальной площади поперечного сечения или минимальной толщины узла 201 первого лотка может быть больше однородности узла 211 второго лотка.

[423] Центр C4 вращения может быть эксцентричным по отношению к линии, разделяющей длину пополам в направлении оси Y кронштейна 220. Ячейка 320a для изготовления льда может быть эксцентричной относительно линии, разделяющей длину пополам в направлении оси Y кронштейна 220. Центр C4 вращения может быть расположен ближе ко второму толкателю 540, чем к ячейке 320a для изготовления льда.

[424] Вторая часть 213 может включать в себя первую расширительную часть 213a и вторую расширительную часть 323b, которые располагаются на сторонах, противоположных друг другу по отношению к центральной линии C1. Первая расширительная часть 213a может быть расположена с левой стороны от центральной линии C1 на фиг.41, а вторая расширительная часть 213b может быть расположена с правой стороны от центральной линии C1 на фиг.41.

[425] Часть 240 подачи воды может быть расположена близко к первой расширительной части 213a. Узел 301 первого лотка может включать в себя пару направляющих прорезей 302, а часть 240 подачи воды может быть расположена в области между парой направляющих прорезей 302. Длина направляющей прорези 320 может быть больше суммы радиуса ячейки 320а для изготовления льда и высоты вспомогательной камеры 325 хранения.

[426] Фиг.42 - блок-схема, иллюстрирующая управление холодильником согласно варианту осуществления.

[427] Ссылаясь на фиг.42, холодильник согласно этому варианту осуществления может включать в себя охладитель, подающий холод в морозильное отделение 32 (или ячейку для изготовления льда).

[428] На фиг.42, например, охладитель включает в себя часть 900 подачи холодного воздуха. Часть 900 подачи холодного воздуха может подавать холодный воздух в морозильное отделение 32 с использованием контура с хладагентом. Например, часть 900 подачи холодного воздуха может включать в себя компрессор, сжимающий хладагент. Температура холодного воздуха, подаваемого в морозильное отделение 32, может изменяться в зависимости от мощности (или частоты) компрессора. В качестве альтернативы, часть 900 подачи холодного воздуха может включать в себя вентилятор, нагнетающий воздух в испаритель. Количество холодного воздуха, подаваемого в морозильное отделение 32, может изменяться в зависимости от мощности (или скорости вращения) вентилятора. В качестве альтернативы, часть 900 подачи холодного воздуха может включать в себя клапан хладагента, регулирующий количество хладагента, протекающего через контур с хладагентом. Количество хладагента, протекающего через контур с хладагентом, может изменяться путем регулирования степени открытия клапаном хладагента, и, таким образом, температура холодного воздуха, подаваемого в морозильное отделение 32, может изменяться. Следовательно, в этом варианте осуществления часть 900 подачи холодного воздуха может включать в себя одно или более из компрессора, вентилятора и клапана хладагента. Часть 900 подачи холодного воздуха может дополнительно включать в себя испаритель, обменивающийся теплом между хладагентом и воздухом. Холодный воздух, который обменялся теплом с испарителем, может подаваться в льдогенератор 200.

[429] Холодильник согласно этому варианту осуществления может дополнительно включать в себя контроллер 800, который управляет частью 900 подачи холодного воздуха. Холодильник может дополнительно включать в себя клапан 242 подачи воды, регулирующий количество воды, подаваемой через часть 240 подачи воды.

[430] Контроллер 800 может управлять частью или всем нагревателем 290 для отделения льда, нагревателем 430 для прозрачного льда, приводом 480, частью 900 подачи холодного воздуха и клапаном 242 подачи воды.

[431] В этом варианте осуществления, когда льдогенератор 200 включает в себя как нагреватель 290 для отделения льда, так и нагреватель 430 для прозрачного льда, выходная мощность нагревателя 290 для отделения льда и выходная мощность нагревателя 430 для прозрачного льда могут отличаться друг от друга. Когда мощности нагревателя 290 для отделения льда и нагревателя 430 для прозрачного льда отличаются друг от друга, выходная клемма нагревателя 290 для отделения льда и выходная клемма нагревателя 430 для прозрачного льда могут иметь разные формы, неправильное подключение двух выходных клемм может быть предотвращено. Хотя это не ограничивается, мощность нагревателя 290 для отделения льда может быть установлена большей, чем мощность нагревателя 430 для прозрачного льда. Соответственно, лед может быть быстро отделен от первого лотка 320 с помощью нагревателя 290 для отделения льда. В этом варианте осуществления, когда нагреватель 290 для отделения льда не предусмотрен, нагреватель 430 для прозрачного льда может быть расположен в положении, смежном со вторым лотком 380, описанным выше, или быть расположен в положении, смежном с первым лотком 320.

[432] Холодильник может дополнительно включать в себя первый датчик 33 температуры (или внутренний датчик температуры), который измеряет температуру морозильного отделения 32. Контроллер 800 может управлять частью 900 подачи холодного воздуха на основе температуры, измеренной первым датчиком 33 температуры. Контроллер 800 может определять, завершено ли изготовление льда, на основе температуры, измеренной вторым датчиком 700 температуры.

[433] Фиг.43 - блок-схема, поясняющая процесс изготовления льда в льдогенераторе согласно варианту осуществления. Фиг.44 - это вид, поясняющий опорную высоту в зависимости от относительного положения нагревателя для прозрачного льда по отношению к ячейке для изготовления льда, а фиг.45 - вид, поясняющий мощность нагревателя для прозрачного льда на единицу высоты воды внутри ячейки для изготовления льда. Фиг.46 - вид в поперечном разрезе, иллюстрирующий взаимное расположение узла первого лотка и узла второго лотка в положении подачи воды. Фиг.47 - вид, иллюстрирующий состояние, в котором подача воды завершена на фиг.46.

[434] Фиг.48 - вид в поперечном разрезе, иллюстрирующий взаимное расположение между узлом первого лотка и узлом второго лотка в положении для изготовления льда, а фиг.49 - вид, иллюстрирующий состояние, в котором прижимная часть второго лотка деформируется в состоянии, в котором изготовление льда завершено. Фиг.50 - вид в поперечном разрезе, иллюстрирующий взаимное расположение между узлом первого лотка и узлом второго лотка в процессе отделения льда, а фиг.51 - вид в разрезе, иллюстрирующий взаимное расположение между узлом первого лотка и узлом второго лотка в положении отделения льда.

[435] Ссылаясь на фиг.43-51, чтобы изготовить лед в льдогенераторе 200, контроллер 800 перемещает узел 211 второго лотка в положение подачи воды (S1). В этом описании направление, в котором узел 211 второго лотка перемещается из положения для изготовления льда на фиг.48 в положение отделения льда на фиг.51, может называться движением вперед (или вращением вперед). С другой стороны, направление от положения отделения льда на фиг.48 к положению подачи воды на фиг.46 может называться обратным движением (или обратным вращением).

[436] Движение в положение подачи воды узла 211 второго лотка обнаруживается датчиком, и когда обнаруживается, что узел 211 второго лотка перемещается в положение подачи воды, контроллер 800 останавливает привод 480. По меньшей мере часть второго лотка 380 может быть отделена от первого лотка 320 в положении подачи воды узла 211 второго лотка.

[437] В положении подачи воды узла 211 второго лотка, узел 201 первого лотка и узел 211 второго лотка определяют первый угол θ1 относительно центра C4 вращения. Т.е. первая контактная поверхность 322c первого лотка 320 и вторая контактная поверхность 382c второго лотка 380 определяют первый угол между ними.

[438] Подача воды начинается, когда второй лоток 380 перемещается в положение подачи воды (S2). Для подачи воды контроллер 800 включает клапан 242 подачи воды, и когда определено, что подано заранее определенное количество воды, контроллер 800 может выключать клапан 242 подачи воды. Например, в процессе подачи воды, когда импульс выводится из датчика расхода (не показан) и выводимый импульс достигает опорного импульса, то может быть определено, что заданное количество воды подается. В положении подачи воды вторая часть 383 второго лотка 380 может окружать первый лоток 320. Например, вторая часть 383 второго лотка 380 может окружать вторую часть 323 первого лотка 320. Соответственно, утечка воды, подаваемой в ячейку 320a для изготовления льда, между узлом 201 первого лотка и узлом 211 второго лотка, в то время как второй лоток 380 перемещается из положения подачи воды в положение для изготовления льда, может быть уменьшена. Кроме того, можно уменьшать явление, при котором вода, расширяющаяся в процессе изготовления льда, протекает между узлом 201 первого лотка и узлом 211 второго лотка и замерзает.

[439] После завершения подачи воды контроллер 800 управляет приводом 480, чтобы позволить узлу 211 второго лотка перейти в положение для изготовления льда (S3). Например, контроллер 800 может управлять приводом 480, чтобы позволить узлу 211 второго лотка перемещаться из положения подачи воды в обратном направлении. Когда узел 211 второго лотка перемещается в обратном направлении, вторая контактная поверхность 382c второго лотка 380 приближается к первой контактной поверхности 322c первого лотка 320. Затем вода между второй контактной поверхностью 382c второго лотка 380 и первой контактной поверхностью 322c первого лотка 320 делится на каждую из множества вторых ячеек 381a, а затем распределяется. Когда вторая контактная поверхность 382c второго лотка 380 и первая контактная поверхность 322c первого лотка 320 контактируют друг с другом, вода заполняется в первой ячейке 321a. Как описано выше, когда вторая контактная поверхность 382c второго лотка 380 контактирует с первой контактной поверхностью 322c первого лотка 320, утечка воды в ячейке 320a для изготовления льда может быть уменьшена. Движение в положение для изготовления льда узла 211 второго лотка обнаруживается датчиком, и когда обнаруживается, что узел 211 второго лотка перемещается в положение для изготовления льда, контроллер 800 останавливает привод 480.

[440] В состоянии, в котором узел 211 второго лотка перемещается в положение для изготовления льда, изготовление льда начинается (S4).

[441] В положении для изготовления льда узла 211 второго лотка вторая часть 383 второго лотка 380 может быть обращена ко второй части 323 первого лотка 320. По меньшей мере часть каждой из второй части 383 второго лотка 380 и второй части 323 первого лотка 320 может проходить в горизонтальном направлении, проходя через центр ячейки 320a для изготовления льда. По меньшей мере часть каждой из второй части 383 второго лотка 380 и второй части 323 первого лотка 320 располагается на той же высоте или выше, чем самый верхний край ячейки 320а для изготовления льда. По меньшей мере часть каждой из второй части 383 второго лотка 380 и второй части 323 первого лотка 320 может быть ниже, чем самый верхний край вспомогательной камеры 325 хранения. В положении для изготовления льда узла 211 второго лотка вторая часть 383 второго лотка 380 может быть отделена от второй части 323 первого лотка 320. Пространство может простираться до части, имеющей высоту, равную или более чем самый верхний край ячейки 320a для изготовления льда, ограниченной первой частью 322 первого лотка 320. Пространство может доходить до точки ниже самого верхнего края вспомогательной камеры 325 хранения.

[442] Нагреватель 290 для отделения льда обеспечивает тепло для уменьшения замерзания воды в пространстве между второй частью 383 второго лотка 380 и второй частью 323 первого лотка 320.

[443] Как описано выше, вторая часть 383 второго лотка 380 служит как часть предотвращения утечки. Предпочтительно, чтобы длина части предотвращения утечки была как можно большей. Это связано с тем, что по мере увеличения длины части предотвращения утечки количество воды, протекающей между узлами первого и второго лотка, уменьшается. Длина части предотвращения утечки, определяемая второй частью 383, может быть больше, чем расстояние от центра ячейки 320a для изготовления льда до внешней периферийной поверхности ячейки 320a для изготовления льда.

[444] Вторая поверхность, обращенная к первой части 322 первого лотка 320 в первой части 382 второго лотка 380, может иметь площадь поверхности больше, чем у первой поверхности, обращенной к первой части 382 второго лотка 380 в первой части 322 первого лотка 320. Из-за разницы в площади поверхности сила связи между узлом 201 первого лотка и узлом 211 второго лотка может увеличиваться.

[445] Производство льда может быть начато, когда второй лоток 380 достигает положения для изготовления льда. В качестве альтернативы, когда второй лоток 380 достигает положения для изготовления льда и время подачи воды истекает, изготовление льда может быть начато. Когда начинается изготовление льда, контроллер 800 может управлять частью 900 подачи холодного воздуха для подачи холодного воздуха в ячейку 320a для изготовления льда.

[446] После начала изготовления льда контроллер 800 может управлять включением нагревателя 430 для прозрачного льда, чтобы он включался по меньшей мере в частичных секциях части 900 подачи холодного воздуха, подающей холодный воздух в ячейку 320a для изготовления льда. Когда нагреватель 430 для прозрачного льда включен, поскольку тепло от нагревателя 430 для прозрачного льда передается в ячейку 320а для изготовления льда, скорость изготовления льда в ячейке 320а для изготовления льда может быть замедлена. В соответствии с этим вариантом осуществления скорость изготовления льда может быть задержана, так что пузырьки, растворенные в воде внутри ячейки 320a для изготовления льда, перемещаются из части, в которой лед образуется, в сторону жидкой воды за счет тепла нагревателя 430 для прозрачного льда, чтобы изготавливать прозрачный лед в льдогенераторе 200.

[447] В процессе изготовления льда контроллер 800 может определять, удовлетворяется ли условие включения нагревателя 430 для прозрачного льда (S5). В этом варианте осуществления нагреватель 430 для прозрачного льда не включается сразу после начала изготовления льда, и нагреватель 430 для прозрачного льда может быть включен только тогда, когда удовлетворяется условие включения нагревателя 430 для прозрачного льда (S6).

[448] Обычно вода, подаваемая в ячейку 320а для изготовления льда, может быть водой с нормальной температурой или водой с температурой ниже нормальной. Температура подаваемой воды выше точки замерзания воды. Таким образом, после подачи воды температура воды понижается холодным воздухом, и когда температура воды достигает точки замерзания воды, вода превращается в лед.

[449] В этом варианте осуществления нагреватель 430 для прозрачного льда нельзя включать до тех пор, пока вода не превратится в лед. Если нагреватель 430 для прозрачного льда включается до того, как температура воды, подаваемой в ячейку 320a для изготовления льда, достигнет точки замерзания, скорость, с которой температура воды достигает точки замерзания за счет тепла нагревателя 430 для прозрачного льда, будет медленной. В результате начало изготовления льда может быть отложено. Прозрачность льда может варьироваться в зависимости от наличия пузырьков воздуха в той части, на которой изготавливается лед, после начала изготовления льда. Если тепло подается в ячейку 320а для изготовления льда до того, как лед будет изготовлен, нагреватель 430 для прозрачного льда может работать независимо от прозрачности льда. Таким образом, согласно этому варианту осуществления, после того как условие включения нагревателя 430 для прозрачного льда выполнено, когда нагреватель 430 для прозрачного льда включен, потребление энергии из-за ненужной работы нагревателя 430 для прозрачного льда может быть предотвращено. В качестве альтернативы, даже если нагреватель 430 для прозрачного льда включается сразу после начала изготовления льда, поскольку прозрачность не изменяется, также возможно включить нагреватель 430 для прозрачного льда после начала изготовления льда.

[450] В этом варианте осуществления контроллер 800 может определять, что условие включения нагревателя 430 для прозрачного льда удовлетворяется, когда истекает заранее определенное время с установленного конкретного момента времени. Конкретный момент времени может быть установлен по меньшей мере в один из моментов времени до включения нагревателя 430 для прозрачного льда. Например, конкретный момент времени может быть установлен на момент времени, в который часть 900 подачи холодного воздуха начинает подавать охлаждающую мощность для изготовления льда, момент времени, в который узел 211 второго лотка достигает положения для изготовления льда, момент времени, в который закончена подача воды, и т.п. В этом варианте осуществления, контроллер 800 определяет, что условие включения нагревателя 430 для прозрачного льда выполняется, когда температура, считанная вторым датчиком 700 температуры, достигает опорной температуры включения. Например, опорная температура включения может быть температурой для определения того, что вода начинает замерзать на самой верхней стороне (стороне отверстия 324) ячейки 320a для изготовления льда.

[451] Когда часть воды замораживается в ячейке 320а для изготовления льда, температура льда в ячейке 320а для изготовления льда ниже нуля. Температура первого лотка 320 может быть выше, чем температура льда в ячейке 320а для изготовления льда. В качестве альтернативы, хотя вода присутствует в ячейке 320a для изготовления льда, после того, как лед начинает изготавливаться в ячейке 320a для изготовления льда, температура, измеренная вторым датчиком 700 температуры, может быть ниже нуля. Таким образом, чтобы определить, что изготовление льда началось в ячейке 320a для изготовления льда, на основе температуры, определенной вторым датчиком 700 температуры, опорная температура включения может быть установлена на отрицательную температуру. Т.е. когда температура, измеряемая вторым датчиком 700 температуры, достигает опорной температуры включения, поскольку опорная температура включения ниже нуля, температура льда ячейки 320a для изготовления льда ниже нуля, т.е. ниже, чем нижняя опорная температура. Следовательно, можно косвенно определить, что лед изготавливается в ячейке 320a для изготовления льда. Как описано выше, когда нагреватель 430 для прозрачного льда не используется, тепло нагревателя 430 для прозрачного льда передается в ячейку 320a для изготовления льда.

[452] В этом варианте осуществления, когда второй лоток 380 располагается под первым лотком 320, нагреватель 430 для прозрачного льда располагается для подачи тепла на второй лоток 380, лед может быть получен с верхней стороны ячейки 320а для изготовления льда.

[453] В этом варианте осуществления, поскольку лед изготавливается с верхней стороны в ячейке 320а для изготовления льда, пузырьки перемещаются вниз от части, в которой лед образуется в ячейке 320а для изготовления льда, к жидкой воде. Поскольку плотность воды больше, чем у льда, вода или пузырьки могут выступать в ячейке 320a для изготовления льда, и пузырьки могут перемещаться к нагревателю 430 для прозрачного льда. В этом варианте осуществления масса (или объем) воды на единицу высоты в ячейке 320а для изготовления льда может быть одинаковой или различной в зависимости от формы ячейки 320а для изготовления льда. Например, когда ячейка 320а для изготовления льда представляет собой прямоугольный параллелепипед, масса (или объем) воды на единицу высоты в ячейке 320а для изготовления льда является одинаковой. С другой стороны, когда ячейка 320a для изготовления льда имеет форму, такую как сфера, перевернутый треугольник, полумесяц и т.д., масса (или объем) на единицу высоты воды отличается.

[454] Когда охлаждающая мощность части 900 подачи холодного воздуха является постоянной, если величина нагрева нагревателя 430 для прозрачного льда является одинаковой, поскольку масса воды на единицу высоты в ячейке 320a для изготовления льда отличается, скорость изготовления льда на единицу высоты может быть разной. Например, если масса на единицу высоты воды является небольшой, скорость изготовления льда является высокой, тогда как если масса на единицу высоты воды является высокой, скорость изготовления льда будет низкой. В результате скорость изготовления льда на единицу высоты воды является непостоянной, и, таким образом, прозрачность льда может изменяться в зависимости от единицы высоты. В частности, когда лед изготавливается с высокой скоростью, пузырьки могут не перемещаться из льда в воду, и лед может содержать пузырьки, снижая прозрачность. Т.е. чем больше уменьшается изменение скорости изготовления льда на единицу высоты воды, тем больше может уменьшаться изменение прозрачности на единицу высоты изготовленного льда.

[455] Следовательно, в этом варианте осуществления часть 800 управления может управлять охлаждающей мощностью и/или величиной нагрева, так что охлаждающая мощность части 900 подачи холодного воздуха и/или величина нагрева нагревателя 430 для прозрачного льда может изменяться в соответствии с массой на единицу высоты воды в ячейке 320а для изготовления льда.

[456] В этом описании переменная охлаждающей мощности части 900 подачи холодного воздуха может включать в себя одно или более из переменной производительности компрессора, переменной производительности вентилятора и переменной степени открытия клапана хладагента. Кроме того, в этом описании изменение величины нагрева нагревателя 430 для прозрачного льда может представлять изменение выходной мощности нагревателя 430 для прозрачного льда или изменение рабочего режима нагревателя 430 для прозрачного льда. В этом случае рабочий режим нагревателя 430 для прозрачного льда представляет собой отношение времени включения и суммы времени включения и времени выключения нагревателя 430 для прозрачного льда за один цикл или отношение времени выключения и суммы времени включения и времени выключения нагревателя 430 для прозрачного льда за один цикл.

[457] В этом описании ссылка на единицу высоты воды в ячейке 320а для изготовления льда может изменяться в соответствии с относительным положением ячейки 320а для изготовления льда и нагревателя 430 для прозрачного льда. Например, как показано на фиг.44 (a), нагреватель 430 для прозрачного льда на нижней поверхности ячейки 320a для изготовления льда может быть расположен так, чтобы иметь ту же высоту. В этом случае линия, соединяющая нагреватель 430 для прозрачного льда, является горизонтальной линией, а линия, проходящая в направлении, перпендикулярном горизонтальной линии, служит ориентиром для единицы высоты воды в ячейке 320a для изготовления льда.

[458] В случае фиг.44 (а) лед изготавливается с самой верхней стороны ячейки 320а для изготовления льда, а затем растет. С другой стороны, как показано на фиг.44 (b), нагреватель 430 для прозрачного льда на нижней поверхности ячейки 320а для изготовления льда может быть расположен на разной высоте. В этом случае, поскольку тепло подается в ячейку 320a для изготовления льда на разной высоте ячейки 320a для изготовления льда, лед изготавливается по схеме, отличной от схемы на фиг.44 (a). Например, на фиг.44 (b) лед может быть получен в позиции, разнесенной от самого верхнего края к левой стороне ячейки 320a для изготовления льда, и лед может расти к правой нижней стороне, на которой нагреватель 430 для прозрачного льда расположен.

[459] Соответственно, на фиг.44 (b) линия (контрольная линия), перпендикулярная линии, соединяющей две точки нагревателя 430 для прозрачного льда, служит ориентиром для единицы высоты воды в ячейке 320a для изготовления льда. Контрольная линия на фиг.44 (b) наклонена под заданным углом от вертикальной линии.

[460] На фиг.45 показано разделение на единицу высоты воды и количество на выходе нагревателя для прозрачного льда на единицу высоты, когда нагреватель для прозрачного льда расположен, как показано на фиг.44 (а).

[461] Далее будет описан пример управления мощностью нагревателя для прозрачного льда, чтобы скорость изготовления льда была постоянной для каждой единицы высоты воды.

[462] Ссылаясь на фиг.45, когда ячейка 320a для изготовления льда сформирована, например, в сферической форме, масса воды на единицу высоты в ячейке 320a для изготовления льда увеличивается от верхней стороны к нижней стороне до достижения максимума, а затем снова уменьшается. Например, вода (или сама ячейка для изготовления льда) в сферической ячейке 320а для изготовления льда, имеющей диаметр около 50 мм, разделена на девять секций (от секции A до секции I) высотой 6 мм (высота единицы). Здесь следует отметить, что нет ограничений на размер единицы высоты и количество разделенных секций.

[463] Когда вода в ячейке 320a для изготовления льда делится на единицы высоты, высота каждой секции, которая должна быть разделена, равна секции A до секции H, а секция I ниже, чем остальные секции. В качестве альтернативы, единицы высоты всех разделенных секций могут быть одинаковыми в зависимости от диаметра ячейки 320a для изготовления льда и количества разделенных секций. Среди множества секций секция E - секция, в которой масса воды на единицу высоты является максимальной. Например, в сечении, в котором масса на единицу высоты воды максимальна, когда ячейка 320а для изготовления льда имеет сферическую форму, диаметр ячейки 320а для изготовления льда, площадь горизонтального поперечного сечения ячейки 320а для изготовления льда или окружность льда могут быть максимальными.

[464] Как описано выше, если предположить, что охлаждающая мощность части 900 подачи холодного воздуха является постоянной, и мощность нагревателя 430 для прозрачного льда является постоянной, скорость изготовления льда в секции E является самой низкой, а скорость изготовления льда в секциях А и I - самой быстрой.

[465] В этом случае, поскольку скорость изготовления льда варьируется по высоте, прозрачность льда может изменяться по высоте. На определенном участке скорость изготовления льда может быть слишком высокой, чтобы в нем не образовывались пузырьки, что снижает прозрачность. Следовательно, в этом варианте осуществления мощность нагревателя 430 для прозрачного льда может регулироваться таким образом, чтобы скорость изготовления льда для каждой единицы высоты была одинаковой или схожей, в то время как пузырьки перемещаются из части, в которой изготавливается лед, к воде в процессе изготовления льда.

[466] В частности, поскольку масса секции E является наибольшей, выходная мощность W5 нагревателя 430 для прозрачного льда в секции E может быть установлена на минимальное значение. Поскольку объем секции D меньше, чем объем секции E, объем льда может уменьшаться по мере уменьшения объема, и, таким образом, необходимо замедлить скорость изготовления льда. Таким образом, выходная мощность W6 нагревателя 430 для прозрачного льда в секции D может быть установлена на значение, превышающее выходную мощность W5 нагревателя 430 для прозрачного льда в секции E.

[467] Поскольку объем в секции C меньше, чем в секции D по той же причине, выходная мощность W3 нагревателя 430 для прозрачного льда в секции C может быть установлена на значение, превышающее выходную мощность W4 нагревателя 430 для прозрачного льда в секции D. Поскольку объем в секции B меньше, чем в секции C, мощность W2 нагревателя 430 для прозрачного льда в секции B может быть установлена на значение, превышающее выходную мощность W3 нагревателя 430 для прозрачного льда в секции C. Поскольку объем в секции A меньше, чем в секции B, выходная мощность W1 нагревателя 430 для прозрачного льда в секции A может быть установлена на значение, превышающее выходную мощность W2 нагревателя 430 для прозрачного льда в секции B.

[468] По той же причине, поскольку масса на единицу высоты уменьшается по направлению к нижней стороне в секции E, выходная мощность нагревателя 430 для прозрачного льда может увеличиваться по мере продвижения к нижней стороне в секции E (см. W6, W7, W8 и W9). Таким образом, согласно схеме изменения выходной мощности нагревателя 430 для прозрачного льда, выходная мощность нагревателя 430 для прозрачного льда постепенно снижается от первой секции к промежуточной секции после того, как нагреватель 430 для прозрачного льда первоначально включен.

[469] Мощность нагревателя 430 для прозрачного льда может быть минимальной в промежуточной секции, в которой масса воды на единицу высоты является минимальной. Мощность нагревателя 430 для прозрачного льда может снова увеличиваться шаг за шагом со следующей секции промежуточной секции.

[470] Мощность нагревателя 430 для прозрачного льда в двух соседних секциях может быть установлена одинаковой в зависимости от типа или массы изготовленного льда. Например, выходные мощности секции C и секции D могут быть одинаковыми. Т.е. мощность нагревателя 430 для прозрачного льда может быть одинаковой по меньшей мере в двух секциях.

[471] В качестве альтернативы, мощность нагревателя 430 для прозрачного льда может быть установлена на минимум в секциях, отличных от секции, в которой масса на единицу высоты является наименьшей. Например, мощность нагревателя 430 для прозрачного льда в секции D или F может быть минимальной. Мощность нагревателя 430 для прозрачного льда в секции E может быть равна минимальной мощности или превышать ее.

[472] Таким образом, в этом варианте осуществления выходная мощность нагревателя 430 для прозрачного льда может иметь максимальную начальную мощность. В процессе изготовления льда мощность нагревателя 430 для прозрачного льда может быть уменьшена до минимальной мощности нагревателя 430 для прозрачного льда.

[473] Мощность нагревателя 430 для прозрачного льда может постепенно уменьшаться в каждой секции или выходная мощность может поддерживаться по меньшей мере в двух секциях. Мощность нагревателя 430 для прозрачного льда может увеличиваться от минимальной мощности до конечной мощности. Конечная мощность может быть такой же, как и начальная мощность, или отличаться от нее. Кроме того, мощность нагревателя 430 для прозрачного льда может постепенно увеличиваться в каждой секции от минимальной мощности до конечной мощности, или выходная мощность может поддерживаться по меньшей мере в двух секциях.

[474] В качестве альтернативы, мощность нагревателя 430 для прозрачного льда может быть конечной мощностью в секции перед последней из множества секций. В этом случае мощность нагревателя 430 для прозрачного льда может поддерживаться как конечная мощность в последней секции. Т.е. после того, как мощность нагревателя 430 для прозрачного льда становится конечной мощностью, конечная мощность может поддерживаться до последней секции.

[475] По мере выполнения изготовления льда, количество льда, имеющегося в ячейке 320а для изготовления льда, может уменьшаться. Таким образом, когда мощность нагревателя 430 для прозрачного льда продолжает увеличиваться до тех пор, пока мощность не достигнет последней секции, тепло, подаваемое в ячейку 320a для изготовления льда, может быть уменьшено. В результате в ячейке 320а для изготовления льда может присутствовать избыток воды даже после окончания последней секции. Следовательно, мощность нагревателя 430 для прозрачного льда может поддерживаться как конечная мощность по меньшей мере в двух секциях, включая последнюю секцию.

[476] Прозрачность льда может быть равномерной для каждой единицы высоты, и пузырьки могут собираться в самой нижней секции с помощью управления мощностью нагревателя 430 для прозрачного льда. Таким образом, если смотреть на лед в целом, пузырьки могут собираться в локализованной части, а оставшаяся часть может стать полностью прозрачной.

[477] Как описано выше, даже если ячейка 320a для изготовления льда не имеет сферической формы, прозрачный лед может быть получен, когда мощность нагревателя 430 для прозрачного льда изменяется в соответствии с массой для каждой единицы высоты воды в ячейке 320a для изготовления льда.

[478] Величина нагрева нагревателя 430 для прозрачного льда, когда масса для каждой единицы высоты воды является большой, может быть меньше, чем величина нагрева нагревателя 430 для прозрачного льда, когда масса воды для каждой единицы высоты является небольшой. Например, при сохранении той же охлаждающей мощности части 900 подачи холодного воздуха, величина нагрева нагревателя 430 для прозрачного льда может изменяться так, чтобы быть обратно пропорциональной массе воды на единицу высоты. Кроме того, можно изготовить прозрачный лед, изменяя охлаждающую мощность части 900 подачи холодного воздуха в соответствии с массой воды на единицу высоты. Например, когда масса воды на единицу высоты является большой, сила охлаждения части 900 подачи холодного воздуха может увеличиваться, а когда масса на единицу высоты является небольшой, сила охлаждения части 900 подачи холодного воздуха может уменьшаться. Например, при поддержании постоянной величины нагрева нагревателя 430 для прозрачного льда, охлаждающая мощность части 900 подачи холодного воздуха может изменяться пропорционально массе воды на единицу высоты.

[479] Что касается модели переменной охлаждающей мощности части 900 подачи холодного воздуха в случае изготовления сферического льда, охлаждающая мощность части 900 подачи холодного воздуха от начальной секции до промежуточной секции во время процесса изготовления льда может увеличиваться.

[480] Охлаждающая мощность части 900 подачи холодного воздуха может быть максимальной в промежуточной секции, в которой масса воды на каждую единицу высоты является минимальной. Охлаждающая мощность части 900 подачи холодного воздуха может быть снова снижена со следующей секции промежуточной секции. В качестве альтернативы, прозрачный лед может быть изготовлен путем изменения охлаждающей мощности части 900 подачи холодного воздуха и величины нагрева нагревателя 430 для прозрачного льда в соответствии с массой воды для каждой единицы высоты. Например, мощность нагрева нагревателя 430 для прозрачного льда может изменяться таким образом, что охлаждающая мощность части 900 подачи холодного воздуха пропорциональна массе воды на единицу высоты и обратно пропорциональна массе воды на каждую единицу высоты.

[481] Согласно этому варианту осуществления, когда один или более параметров из охлаждающей мощности части 900 подачи холодного воздуха и величины нагрева нагревателя 430 для прозрачного льда регулируются в соответствии с массой воды на единицу высоты, скорость изготовления льда на единицу высоты воды может быть практически одинаковой или может поддерживаться в заданном диапазоне.

[482] Как проиллюстрировано на фиг.49, выпуклая часть 382f может деформироваться в направлении от центра ячейки 320a для изготовления льда за счет прижатия льдом. Нижняя часть льда может иметь сферическую форму за счет деформации выпуклой части 382f.

[483] Контроллер 800 может определять, завершено ли изготовление льда, на основании температуры, измеренной вторым датчиком 700 температуры (S8). Когда определено, что изготовление льда завершено, контроллер 800 может выключать нагреватель 430 для прозрачного льда (S9). Например, когда температура, считанная вторым датчиком 700 температуры, достигает первой опорной температуры, контроллер 800 может определять, что изготовление льда завершено, чтобы выключать нагреватель 430 для прозрачного льда.

[484] В этом случае, поскольку расстояние между вторым датчиком 700 температуры и каждой ячейкой 320a для изготовления льда различно, для определения того, что изготовление льда завершено во всех ячейках 320a для изготовления льда, контроллер 800 может выполнять отделение льда после определенного интервала времени, по истечении которого определяется, что изготовление льда завершено, или когда температура, считанная вторым датчиком 700 температуры, достигает второй опорной температуры ниже, чем первая опорная температура.

[485] Когда изготовление льда завершено, контроллер 800 управляет одним или более из нагревателя 290 для отделения льда и нагревателя 430 для прозрачного льда (S10).

[486] Когда по меньшей мере один из нагревателя 290 для отделения льда или нагревателя 430 для прозрачного льда включен, тепло нагревателя передается по меньшей мере одному из первого лотка 320 или второго лотка 380, так что лед может быть отделен от поверхностей (внутренних поверхностей) одного или более из первого лотка 320 и второго лотка 380. Кроме того, тепло нагревателей 290 и 430 передается контактной поверхности первого лотка 320 и второго лотка 380 и, следовательно, первая контактная поверхность 322c первого лотка 320 и вторая контактная поверхность 382c второго лотка 380 могут быть в состоянии, когда они могут быть отделены друг от друга.

[487] Когда по меньшей мере один из нагревателя 290 для отделения льда и нагревателя 430 для прозрачного льда функционируют в течение заданного времени или когда температура, считанная вторым датчиком 700 температуры, равна или выше, чем опорная температура выключения, контроллер 800 выключает нагреватели 290 и 430, которые включены (S10). Хотя это и не ограничивается, опорная температура выключения может быть установлена выше нуля.

[488] Контроллер 800 управляет приводом 480, позволяя узлу 211 второго лотка перемещаться в прямом направлении (S11).

[489] Как проиллюстрировано на фиг.50, когда второй лоток 380 перемещается в прямом направлении, второй лоток 380 отделяется от первого лотка 320. Движущая сила второго лотка 380 передается первому толкателю 260 посредством тяги 500 толкателя. Затем первый толкатель 260 опускается по направляющей прорези 302, а расширительная часть 264 проходит через отверстие 324, чтобы вдавить лед в ячейку 320а для изготовления льда. В этом варианте осуществления лед может отделяться от первого лотка 320 до того, как расширительная часть 264 прижимает лед в процессе изготовления льда. Т.е. лед может быть отделен от поверхности первого лотка 320 включенным нагревателем. В этом случае лед может перемещаться вместе со вторым лотком 380, в то время как лед поддерживается вторым лотком 380. В другом примере, даже когда тепло нагревателя подводится к первому лотку 320, лед не может отделяться от поверхности первого лотка 320. Следовательно, когда узел 211 второго лотка перемещается в прямом направлении, существует вероятность того, что лед отделяется от второго лотка 380 в состоянии, в котором лед контактирует с первым лотком 320.

[490] В этом состоянии, в процессе перемещения второго лотка 380, расширительная часть 264, проходящая через отверстие 324, может прижимать лед, контактирующий с первым лотком 320, и, таким образом, лед может отделяться от лотка 320. Лед, отделенный от первого лотка 320, может снова поддерживаться вторым лотком 380.

[491] Когда лед перемещается вместе со вторым лотком 380, когда лед поддерживается вторым лотком 380, лед может отделяться от лотка 250 под действием собственного веса, даже если ко второму лотку 380 не приложена внешняя сила.

[492] В то время как второй лоток 380 перемещается, даже если лед не падает со второго лотка 380 под действием собственного веса, когда второй толкатель 540 контактирует со вторым лотком 540, как показано на фиг.50 и 51, чтобы прижать второй лоток 380, лед может быть отделен от второго лотка 380, чтобы он упал вниз.

[493] Например, как показано на фиг.50, в то время как узел 311 второго лотка движется в прямом направлении, второй лоток 380 может контактировать с расширительной частью 544 второго толкателя 540. Как проиллюстрировано на фиг.50, когда второй лоток 380 контактирует со вторым толкателем 540, узел 201 первого лотка и узел 211 второго лотка образуют второй угол θ2 между собой относительно центра C4 вращения. Т.е. первая контактная поверхность 322c первого лотка 320 и вторая контактная поверхность 382c второго лотка 380 образуют между собой второй угол. Второй угол может быть больше первого угла и может составлять около 90 градусов.

[494] Когда узел 211 второго лотка непрерывно движется в прямом направлении, расширительная часть 544 может прижимать второй лоток 380, чтобы деформировать второй лоток 380 и расширительную часть 544. Таким образом, прижимающая сила расширительной части 544 может передаваться на лед, так что лед отделяется от поверхности второго лотка 380. Лед, отделенный от поверхности второго лотка 380, может падать вниз и храниться в резервуаре 600 для льда.

[495] В этом варианте осуществления, как показано на фиг.51, положение, в котором второй лоток 380 прижимается вторым толкателем 540 и деформируется, может называться положением отделения льда. Как проиллюстрировано на фиг.51, в положении отделения льда узла 211 второго лотка узел 201 первого лотка и узел 211 второго лотка могут образовывать третий угол θ3 на основе центра C4 вращения. Т.е. первая контактная поверхность 322c первого лотка 320 и вторая контактная поверхность 382c второго лотка 380 образуют третий угол θ3. Третий угол θ3 больше второго угла θ2. Например, третий угол θ3 больше примерно 90 градусов и меньше примерно 180 градусов.

[496] В положении отделения льда расстояние между первым торцом 544a второго толкателя 540 и второй контактной поверхностью 382c второго лотка 380 может быть меньше, чем расстояние между первым торцом 544a второго толкателя 540 и нижним отверстием 406b держателя 400 второго лотка, так что прижимающая сила второго толкателя 540 увеличивается.

[497] Степень прикрепления между первым лотком 320 и льдом больше, чем между вторым лотком 380 и льдом. Таким образом, минимальное расстояние между первым торцом 264a первого толкателя 260 и первой контактной поверхностью 322c первого лотка 320 в положении отделения льда может быть больше минимального расстояния между вторым торцом 544a второго толкателя 540 и второй контактной поверхностью 382c второго лотка 380.

[498] В положении отделения льда расстояние между первым торцом 264a первого толкателя 260 и линией, проходящей через первую контактную поверхность 322c первого лотка 320, может быть больше 0 и может быть меньше примерно 1/2 радиуса ячейки 320a для изготовления льда. Соответственно, поскольку первый торец 264a первого толкателя 260 перемещается в положение, близкое к первой контактной поверхности 322c первого лотка 320, лед легко отделяется от первого лотка 320.

[499] Заполнен ли резервуар 600 для льда, можно определить, когда узел 211 второго лотка перемещается из положения для изготовления льда в положение отделения льда. Например, рычаг 520 обнаружения наполнения льдом вращается вместе с узлом 211 второго лотка, и вращение рычага 520 обнаружения наполнения льдом блокируется льдом, в то время как рычаг 520 обнаружения наполнения льдом вращается. В этом случае может быть определено, что резервуар 600 для льда находится в состоянии наполнения льдом. С другой стороны, если вращению рычага 520 обнаружения наполнения льдом не мешает лед, в то время как рычаг 520 обнаружения наполнения льдом вращается, может быть определено, что резервуар 600 для льда не находится в состоянии наполнения льдом.

[500] После отделения льда от второго лотка 380 контроллер 800 управляет приводом 480, чтобы узел 211 второго лотка мог двигаться в обратном направлении (S11). Затем узел 211 второго лотка перемещается из положения отделения льда в положение подачи воды. Когда узел 211 второго лотка перемещается в положение подачи воды на фиг.46, контроллер 800 останавливает привод 480 (S1).

[501] Когда второй лоток 380 находится на расстоянии от расширительной части 544, в то время как узел 211 второго лотка перемещается в обратном направлении, деформированный второй лоток 380 может быть восстановлен до своей исходной формы.

[502] При обратном движении узла 211 второго лотка движущая сила второго лотка 380 передается первому толкателю 260 посредством тяги 500 толкателя, и, таким образом, первый толкатель 260 поднимается вверх, а расширительная часть 264 удаляется из ячейки 320а для изготовления льда.

[503] Фиг.52 - вид, иллюстрирующий работу тяги толкателя, когда узел второго лотка перемещается из положения для изготовления льда в положение отделения льда. На фиг.52(a) показано положение для изготовления льда, на фиг.52(b) показано положение подачи воды, на фиг.52(c) показано положение, в котором второй лоток контактирует со вторым толкателем, а на фиг.52(d) показано положение отделения льда.

[504] Фиг.53 - вид, иллюстрирующий положение первого толкателя в положении подачи воды, при котором льдогенератор установлен в холодильнике, фиг.54 - вид в разрезе, иллюстрирующий положение первого толкателя в положении подачи воды, при котором льдогенератор установлен в холодильнике, и фиг.55 - вид в разрезе, иллюстрирующий положение первого толкателя в положении отделения льда, при котором льдогенератор установлен в холодильнике.

[505] Ссылаясь на фиг.52-55, толкающий стержень 264 первого толкателя 260 может включать в себя первый торец 264a и второй торец 264b, как описано выше. Первый толкатель 260 может перемещаться, получая мощность от привода 480.

[506] Блок 800 управления может управлять первым торцом 264a, чтобы он располагался в положении, отличном от положения для изготовления льда, так что уменьшается явление, при котором вода, подаваемая в ячейку 320a для изготовления льда в положении подачи воды, присоединяется к первому толкателю 260, а затем замерзает в процессе изготовления льда.

[507] В этой спецификации управление положением контроллером 800 может пониматься как управление положением посредством управления приводом 480.

[508] Контроллер 800 может управлять положением таким образом, чтобы первый торец 264а располагался в разных положениях в положении подачи воды, положении для изготовления льда и положении отделения льда.

[509] Контроллер 800 управляет первым торцом 264a, чтобы позволять первому торцу 264a перемещаться в первом направлении в процессе перемещения из положения отделения льда в положение подачи воды, и чтобы позволять первому торцу 264a дополнительно перемещаться в первом направлении в процессе перемещения из положения подачи воды в положение для изготовления льда. В качестве альтернативы, контроллер 800 управляет первым торцом 264a, чтобы позволять первому торцу 264a перемещаться в первом направлении в процессе перемещения из положения отделения льда в положение подачи воды и позволять первому торцу перемещаться во втором направлении, отличном от первого направления, в процессе перемещения из положения подачи воды в положение для изготовления льда.

[510] Например, первый торец 264a может перемещаться в первом направлении посредством первой прорези 302a направляющей прорези 302, а второй торец 264a может вращаться во втором направлении или перемещаться во втором направлении с наклоном к первому направлению за счет второй прорези 302b. Первый торец 264a может быть расположен в первой точке за пределами ячейки 320a для изготовления льда в положении для изготовления льда и может управляться так, чтобы он располагался во второй точке ячейки 320a для изготовления льда во время процесса отделения льда.

[511] Холодильник дополнительно включает в себя элемент 100 крышки, включающий в себя первую часть 101, определяющую опорную поверхность, поддерживающую кронштейн 220, и третью часть 103, определяющую пространство 104 для размещения. Стенка 32a, определяющая морозильное отделение 32, может поддерживаться на верхней поверхности первой части 101. Первая часть 101 и третья часть 103 могут быть расположены на заданном расстоянии друг от друга и могут быть соединены второй частью 102. Вторая часть 102 и третья часть 103 могут определять пространство 104 для размещения, вмещающее по меньшей мере часть льдогенератора 200. По меньшей мере часть направляющей прорези 302 может быть определена в пространстве 104 для размещения. Например, верхний край 302c направляющей прорези 302 может быть расположен в пространстве 104 для размещения. Нижний край 302d направляющей прорези 302 может быть расположен вне пространства 104 для размещения. Нижний край 302d направляющей прорези 302 может быть выше, чем опорная стенка 221d кронштейна 220 и быть ниже верхней поверхности 303b периферийной стенки 303 крышки 300 первого лотка. Соответственно, длина направляющей прорези 302 может увеличиваться без увеличения высоты льдогенератора 200.

[512] Часть 240 подачи воды может быть соединена с кронштейном 220. Часть 240 подачи воды может включать в себя первую часть 241, вторую часть 242, расположенную под наклоном относительно первой части 241, и третью часть, проходящую с обеих сторон первой части 241. Сквозное отверстие 244 может быть определено в первой части 241. В качестве альтернативы, сквозное отверстие 244 может быть образовано между первой частью 241 и второй частью 242. Вода, подаваемая в часть 240 подачи воды, может протекать вниз по второй части 242, а затем выпускаться из части 240 подачи воды через сквозное отверстие 244. Вода, выходящая из части 244 подачи воды, может подаваться в ячейку 320a через вспомогательную камеру 325 хранения и отверстие 324 первого лотка 320. Сквозное отверстие 244 может быть образовано в направлении, в котором часть 240 подачи воды обращена к ячейке 320a для изготовления льда. Самый нижний край 240a части 240 подачи воды может быть расположен ниже верхнего края вспомогательной камеры 325 хранения. Самый нижний край 240a части 240 подачи воды может быть расположен во вспомогательной камере 325 хранения.

[513] Блок 800 управления может управлять положением первого торца 264a так, чтобы первый торец перемещался в направлении от сквозного отверстия 244 блока 240 подачи воды в процессе разрешения узлу 211 второго лотка перемещаться из положения отделения льда в положение подачи воды. Например, первый торец 264a может вращаться в направлении от сквозного отверстия 244. Когда первый торец 264a отодвигается от сквозного отверстия 244, контакт воды с первым торцом 264a в процессе подачи воды может быть уменьшен, и, таким образом, уменьшается замерзание воды на первом торце 264a.

[514] В процессе разрешения узлу 211 второго лотка перемещаться из положения подачи воды в положение для изготовления льда, второй торец 264b может дополнительно перемещаться во втором направлении.

[515] В положении подачи воды первый торец 264a может быть расположен снаружи ячейки 320a для изготовления льда. В положении подачи воды первый торец 264a может быть расположен вне вспомогательной камеры 325 хранения. В положении подачи воды первый торец 264a может быть расположен выше нижнего края сквозного отверстия 224. В положении подачи воды максимальное значение расстояния между центральной линией C1 ячейки 320a для изготовления льда и первым торцом 264a может быть больше, чем расстояние между центральной линией C1 ячейки 320a для изготовления льда и стенкой 325a камеры хранения. В положении подачи воды первый торец 264a может быть расположен выше, чем верхний край 325c вспомогательной камеры 325 хранения, и быть расположен ниже, чем верхний край 325b периферийной стенки 303 крышки 300 первого лотка. В этом случае, первый торец 264а может быть расположен рядом с ячейкой 320а для изготовления льда, чтобы позволять первому торцу 264а прижимать лед в процессе начального отделения льда, тем самым улучшая характеристики отделения льда.

[516] В положении отделения льда длина первого толкателя 260, вставленного в ячейку 320a для изготовления льда, может быть больше, чем длина второго толкателя 541, вставленного в держатель 400 второго лотка. В положении отделения льда первый торец 264a может быть расположен на участке (участок между двумя пунктирными линиями на фиг.55) между параллельными линиями, проходящими в направлении первой контактной поверхности 322c, проходя через самую высокую и самую низкую точки вала 440. В качестве альтернативы, в положении отделения льда первый торец 264а может быть расположен на линии продолжения, идущей от первой контактной поверхности 322с.

[517] В положении подачи воды второй торец 264b может быть расположен ниже третьей части 103 элемента 100 крышки. В положении подачи воды второй торец 264b может быть расположен выше верхнего края 241b первой части 241 источника 240 подачи воды. В положении подачи воды второй торец 264b может быть выше верхней поверхности 221b1 первой крепежной стенки 221b кронштейна 220.

[518] Контроллер 800 может управлять положением второго торца 264b, чтобы он был ближе к источнику 240 подачи воды, чем первый торец 264a в положении подачи воды. В положении подачи воды второй торец 264b может быть расположен между первой частью 101 элемента 100 крышки и третьей частью 103 элемента 100 крышки. Например, второй торец 264b в положении подачи воды может быть расположен в пространстве 104 для размещения. Соответственно, поскольку часть льдогенератора 200 располагается в пространстве 104 для размещения, пространство для пищевых продуктов в морозильном отделении 32 может быть уменьшено за счет льдогенератора 200, и длина перемещения первого толкателя 260 может увеличиваться. Когда длина перемещения первого толкателя 260 увеличивается, сила сжатия, прижимающая лед первым толкателем 260, может увеличиваться во время процесса изготовления льда.

[519] В положении отделения льда второй торец 264b может быть расположен вне пространства 104 для размещения. В положении отделения льда, второй торец 264b может быть расположен между опорной поверхностью 221d1, поддерживающей узел 201 первого лотка в кронштейне 220, и первой частью элемента 100 крышки. В положении отделения льда второй торец 264b может быть ниже верхней поверхности 221b1 первой крепежной стенки 221b кронштейна 220. В положении отделения льда второй торец 264b может быть расположен вне ячейки 320a для изготовления льда. В положении отделения льда второй торец 264b может быть расположен вне вспомогательной камеры 325 хранения.

[520] В положении отделения льда, второй торец 264b может быть расположен выше, чем опорная поверхность 221d1 опорной стенки 221d. В положении отделения льда второй торец 264b может быть выше сквозного отверстия 241 источника 240 подачи воды. В замороженном положении второй торец 264b может быть расположен выше нижнего края 241a первой части 241 источника 240 подачи воды.

[521] Первая часть 241 части 240 подачи воды может проходить в вертикальном направлении целиком или может частично проходить в вертикальном направлении, а другая часть первой части 241 может проходить в направлении от первого толкателя 260. В качестве альтернативы, первая часть 241 блока 240 подачи воды может быть расположена дальше от первого толкателя 260 от нижнего края 241a до верхнего края 241a. Расстояние между вторым торцом 264b и первой частью 241 источника 240 подачи воды в положении подачи воды может быть больше, чем расстояние между вторым торцом 264b и первой частью 241 части 240 подачи воды в положении для изготовления льда. Расстояние между вторым торцом 264b и частью, на которой первая часть 241 источника 240 подачи воды обращена к первому толкателю 260 в положении подачи воды, может быть больше, чем расстояние между вторым торцом 264b и частью, на которой первая часть 241 части 240 подачи воды обращена к первому толкателю 260 в положении отделения льда.

[522] Фиг.56 - вид, иллюстрирующий взаимное расположение сквозного отверстия кронштейна и канала для холодного воздуха.

[523] Ссылаясь на фиг.56, холодильник может дополнительно включать в себя канал 120 холодного воздуха, направляющий холодный воздух блока 900 подачи холодного воздуха.

[524] Выпускное отверстие 121 канала 120 холодного воздуха может быть совмещено со сквозным отверстием 222a кронштейна 220. Выпускное отверстие 121 канала 120 холодного воздуха может быть расположено так, чтобы не быть обращенным по меньшей мере на направляющую прорезь 302. Когда холодный воздух течет непосредственно в направляющую прорезь 302, в направляющей прорези 302 может произойти замерзание, так что первый толкатель 260 не будет двигаться плавно. По меньшей мере часть выпускного отверстия 121 канала 120 холодного воздуха может быть расположена выше, чем верхний край периферийной стенки 303 крышки 300 первого лотка. Например, выпускное отверстие 121 канала 120 холодного воздуха может быть расположено выше отверстия 324 первого лотка 320. Следовательно, холодный воздух может протекать к отверстию 324 с верхней стороны ячейки 320a для изготовления льда. Площадь выпускного отверстия 121 канала 120 холодного воздуха, которая не перекрывает крышку 300 первого лотка, больше, чем площадь, которая перекрывает крышку 300 первого лотка. Следовательно, холодный воздух может протекать к верхней стороне ячейки 320a для изготовления льда, не мешая крышке 300 первого лотка, для охлаждения воды или льда ячейки 320a для изготовления льда.

[525] Т.е. часть 900 подачи холодного воздуха (или охладитель) располагается так, что количество холодного воздуха (или холода), подаваемого в узел первого лотка, больше, чем количество холодного воздуха, подаваемого в узел второго лотка, в котором расположен нагреватель 430 для прозрачного льда.

[526] Кроме того, часть 900 подачи холодного воздуха (или охладитель) может быть расположена так, чтобы большее количество холодного воздуха (или холода) могло подаваться в область первой ячейки 321a, которая находится дальше от нагревателя для прозрачного льда, чем область первой ячейки 321a, которая находится рядом с нагревателем 430 для прозрачного льда. Например, расстояние между охладителем и областью первой ячейки 321a, которая находится рядом с нагревателем 430 для прозрачного льда, больше, чем расстояние между охладителем и областью первой ячейки 321a, которая находится далеко от нагревателя 430 для прозрачного льда. Расстояние между охладителем и второй ячейкой 381a может быть больше, чем расстояние между охладителем и первой ячейкой 321a.

[527] Фиг.57 - вид, поясняющий способ управления холодильником, когда величина теплопередачи между холодным воздухом и водой изменяется в процессе изготовления льда.

[528] Ссылаясь на фиг.42 и 57, охлаждающая мощность части 900 подачи холодного воздуха может быть определена в соответствии с целевой температурой морозильного отделения 32. Холодный воздух, формируемый частью 900 подачи холодного воздуха, может подаваться в морозильное отделение 32. Вода в ячейке 320a для изготовления льда может быть преобразована в результате изменения фазы в лед за счет теплопередачи между холодной водой, подаваемой в морозильную камеру 32, и водой ячейки 320a для изготовления льда.

[529] В этом варианте осуществления величина нагрева нагревателя 430 для прозрачного льда для каждой единицы высоты воды может быть определена с учетом заданной охлаждающей мощности части 900 подачи холодного воздуха.

[530] В этом варианте осуществления величина нагрева нагревателя 430 для прозрачного льда, определенная с учетом заданной охлаждающей мощности части 900 подачи холодного воздуха, упоминается как опорная величина нагрева. Амплитуда опорной величины нагрева на единицу высоты воды является различной. Однако, когда величина теплопередачи между холодом морозильного отделения 32 и водой в ячейке 320a для изготовления льда является переменной, если величина нагрева нагревателя 430 для прозрачного льда не регулируется, чтобы компенсировать это, прозрачность льда для каждой единицы высоты варьируется.

[531] В этом варианте осуществления случай, в котором величина теплопередачи между холодом и водой увеличивается, может быть случаем, когда охлаждающая мощность части 900 подачи холодного воздуха увеличивается, или случаем, когда воздух, имеющий температуру ниже, чем температура холодного воздуха в морозильном отделении 32, подается в морозильное отделение 32.

[532] С другой стороны, случай, в котором величина теплопередачи между холодом и водой уменьшается, может быть случаем, когда охлаждающая мощность части 900 подачи холодного воздуха уменьшается, или случаем, когда воздух, имеющий температуру выше, чем температура холодного воздуха в морозильном отделении 32, подается в морозильное отделение 32.

[533] Например, целевая температура морозильного отделения 32 понижается, рабочий режим морозильного отделения 32 изменяется с нормального режима на режим быстрого охлаждения, мощность по меньшей мере одного из компрессора или вентилятора увеличивается или степень открытия увеличивается, охлаждающая мощность части 900 подачи холодного воздуха может увеличиваться.

[534] С другой стороны, целевая температура морозильного отделения 32 увеличивается, рабочий режим морозильного отделения 32 изменяется с режима быстрого охлаждения на нормальный режим, мощность по меньшей мере одного из компрессора или вентилятора уменьшается или степень открытия клапана хладагента уменьшается, охлаждающая мощность части 900 подачи холодного воздуха может уменьшаться.

[535] Когда охлаждающая мощность части 900 подачи холодного воздуха увеличивается, температура холодного воздуха вокруг льдогенератора 200 понижается для увеличения скорости изготовления льда. С другой стороны, если охлаждающая мощность части 900 подачи холодного воздуха уменьшается, температура холодного воздуха вокруг льдогенератора 200 увеличивается, скорость изготовления льда уменьшается, а также увеличивается время изготовления льда.

[536] Следовательно, в этом варианте осуществления, когда величина теплопередачи холода и воды увеличивается так, что скорость изготовления льда поддерживается в предварительно определенном диапазоне ниже, чем скорость изготовления льда, когда изготовление льда выполняется с помощью нагревателя 430 для прозрачного льда, который выключен, можно управлять увеличением величины нагрева нагревателя 430 для прозрачного льда.

[537] С другой стороны, когда величина теплопередачи между холодом и водой уменьшается, величину нагрева нагревателя 430 для прозрачного льда можно регулировать для уменьшения.

[538] В этом варианте осуществления, когда скорость изготовления льда поддерживается в пределах заданного диапазона, скорость изготовления льда меньше скорости, с которой пузырьки движутся в той части, в которой изготавливается лед, и пузырьков не существует в той части, в которой изготовлен лед.

[539] Когда охлаждающая мощность части 900 подачи холодного воздуха увеличивается, величина нагрева нагревателя 430 для прозрачного льда может увеличиваться. С другой стороны, когда охлаждающая мощность части 900 подачи холодного воздуха уменьшается, величина нагрева нагревателя 430 для прозрачного льда может уменьшаться.

[540] В дальнейшем случай, в котором целевая температура морозильного отделения 32 изменяется, будет описан на примере.

[541] Контроллер 800 может управлять выходной мощностью нагревателя 430 для прозрачного льда, чтобы скорость изготовления льда могла поддерживаться в пределах заранее определенного диапазона независимо от целевой температуры морозильного отделения 32.

[542] Например, может быть начато изготовление льда (S4), и может быть обнаружено изменение величины теплопередачи холода и воды (S31). Например, может быть обнаружено, что целевая температура морозильного отделения 32 изменяется через входную часть (не показана).

[543] Контроллер 800 может определять, увеличивается ли величина теплопередачи холода и воды (S32). Например, контроллер 800 может определить, увеличивается ли целевая температура.

[544] В результате определения в процессе (S32), когда целевая температура увеличивается, контроллер 800 может уменьшать опорную величину нагрева нагревателя 430 для прозрачного льда, которая предварительно определена в каждой из текущей секции и остальных секций. Переменное управление величиной нагрева нагревателя 430 для прозрачного льда обычно может выполняться до тех пор, пока изготовление льда не будет завершено (S35). С другой стороны, если целевая температура снижается, контроллер 800 может увеличивать опорную величину нагрева нагревателя 430 для прозрачного льда, которая заранее определена в каждой из текущей секции и остальных секций. Переменное управление величиной нагрева нагревателя 430 для прозрачного льда обычно может выполняться до тех пор, пока изготовление льда не будет завершено (S35).

[545] В этом варианте осуществления опорная величина нагрева, которая увеличивается или уменьшается, может быть заранее определена и затем сохранена в памяти. Согласно этому варианту осуществления опорная величина нагрева для каждой секции нагревателя для прозрачного льда увеличивается или уменьшается в ответ на изменение величины теплопередачи холода и воды, и, таким образом, скорость изготовления льда может поддерживаться в пределах заранее определенного диапазона, тем самым реализуя равномерную прозрачность для каждой единицы высоты льда.

Похожие патенты RU2840807C2

название год авторы номер документа
ХОЛОДИЛЬНИК 2019
  • Ли, Донгхоон
  • Ли, Воокионг
  • Сон, Сунггиун
  • Ли, Донгхоон
  • Йеом, Сеунгсеоб
  • Бае, Йонгдзун
  • Парк, Чонгиоунг
RU2765255C1
ХОЛОДИЛЬНИК 2019
  • Ли, Донгхоон
  • Ли, Донгхоон
  • Ли, Воокионг
  • Йеом, Сеунгсеоб
  • Бае, Йонгдзун
  • Сон, Сунггиун
  • Парк, Чонгиоунг
RU2776340C1
ХОЛОДИЛЬНИК 2019
  • Ли, Донгхоон
  • Ли, Воокионг
  • Парк, Чонгиоунг
  • Ли, Донгхоон
  • Йеом, Сеунгсеоб
  • Бае, Йонгдзун
  • Сон, Сунггиун
RU2773313C1
ХОЛОДИЛЬНИК 2019
  • Ли, Донгхоон
  • Ли, Воокионг
  • Йеом, Сеунгсеоб
  • Ли, Донгхоон
  • Бае, Йонгдзун
  • Сон, Сунггиун
  • Парк, Чонгиоунг
RU2765876C1
ХОЛОДИЛЬНИК 2019
  • Ким, Йонгхиун
  • Парк, Хиундзи
  • Ли, Сеунггиун
  • Хонг, Джинил
RU2771782C1
ЛЬДОГЕНЕРАТОР И ХОЛОДИЛЬНИК 2019
  • Ким, Йонгхиун
  • Хонг, Джинил
RU2781073C1
ХОЛОДИЛЬНИК 2020
  • Ким, Йонгхиун
  • Парк, Хиундзи
  • Хонг, Джинил
RU2789484C1
ХОЛОДИЛЬНИК 2006
  • Ли Бок Донг
  • Ли Сеунг Мок
  • Хан Кап Рок
  • Янг Чанг Воан
RU2350859C1
ХОЛОДИЛЬНИК, ИМЕЮЩИЙ УСТРОЙСТВО ДЛЯ ПРИГОТОВЛЕНИЯ ЛЬДА (ВАРИАНТЫ) 2010
  • Ли Донг Хоон
  • Ли Тае Хее
  • Ли Донгхоон
RU2488752C1
ВАКУУМНЫЙ АДИАБАТИЧЕСКИЙ КОРПУС И ХОЛОДИЛЬНИК 2020
  • Ким, Бонгдзин
  • Нам, Хиеунсик
  • Йоун, Деокхиун
  • Баэ, Джэхён
  • Ли, Дзангсеок
RU2807525C2

Иллюстрации к изобретению RU 2 840 807 C2

Реферат патента 2025 года ХОЛОДИЛЬНИК

Группа изобретений относится к холодильникам. Холодильник содержит узел первого лотка, формирующий часть ячейки для изготовления льда, и узел второго лотка, формирующий другую часть ячейки для изготовления льда. Узел первого лотка включает в себя первый лоток, определяющий часть ячейки для изготовления льда, и корпус первого лотка, поддерживающий первый лоток, и узел второго лотка включает в себя второй лоток, определяющий другую часть ячейки для изготовления льда, и корпус второго лотка, поддерживающий второй лоток. Один из корпусов первого и второго лотка включает в себя первую часть, имеющую форму, соответствующую ячейке для изготовления льда, и вторую часть, проходящую от некоторой точки первой части таким образом, чтобы поддерживать один из первого лотка и второго лотка. Повышается прозрачность льда без уменьшения скорости его изготовления. 9 н. и 21 з.п. ф-лы, 57 ил.

Формула изобретения RU 2 840 807 C2

1. Холодильник, содержащий: охладитель, выполненный с возможностью подачи холода; узел первого лотка, выполненный с возможностью определять часть ячейки для изготовления льда, которая является пространством, в котором вода превращается в лед в результате изменения фазы посредством холода; узел второго лотка, выполненный с возможностью определять другую часть ячейки для изготовления льда, причем узел второго лотка находится в контакте с узлом первого лотка в процессе изготовления льда и является разнесенным на расстояние от узла первого лотка в процессе отделения льда; нагреватель, размещенный по меньшей мере рядом с одним из узла первого лотка или узла второго лотка; и контроллер, выполненный с возможностью управления нагревателем и охладителем, при этом контроллер выполнен с возможностью управления нагревателем, который должен включаться по меньшей мере в частичной секции, в то время как охладитель подает холод, так что пузырьки, растворенные в воде внутри ячейки для изготовления льда, перемещаются из части, в которой изготавливается лед, к воде, которая находится в жидком состоянии, чтобы сделать лед прозрачным, узел первого лотка содержит первый лоток, определяющий часть ячейки для изготовления льда, и корпус первого лотка, поддерживающий первый лоток, узел второго лотка содержит второй лоток, определяющий другую часть ячейки для изготовления льда, и корпус второго лотка, поддерживающий второй лоток, один лоток из первого и второго лотков размещается ближе к нагревателю по сравнению с другим лотком из первого и второго лотков, один из корпусов первого или второго лотка содержит первую часть для поддерживания упомянутого одного лотка и вторую часть, проходящую от предварительно определенной точки первой части, и при этом тракт проведения тепла, определенный второй частью, имеет длину, большую чем расстояние от центра ячейки для изготовления льда до внешней периферийной поверхности ячейки для изготовления льда.

2. Холодильник по п.1, в котором вторая часть проходит в направлении от ячейки для изготовления льда, определенной другим лотком из первого и второго лотков.

3. Холодильник по п.1, в котором вторая часть содержит часть, проходящую от предварительно определенной точки в горизонтальном направлении, и часть, проходящую в направлении вниз относительно горизонтальной линии, проходящей через центр ячейки для изготовления льда.

4. Холодильник по п.1, в котором вторая часть содержит первую часть, проходящую от предварительно определенной точки в горизонтальном направлении, и вторую и третью части, сформированные ответвляющимися от первой части.

5. Холодильник по п.4, в котором длина третьей части больше, чем длина второй части.

6. Холодильник, содержащий: охладитель, выполненный с возможностью подачи холода; узел первого лотка, выполненный с возможностью определять часть ячейки для изготовления льда, которая является пространством, в котором вода превращается в лед в результате изменения фазы посредством холода; узел второго лотка, выполненный с возможностью определять другую часть ячейки для изготовления льда, причем узел второго лотка находится в контакте с узлом первого лотка в процессе изготовления льда и является разнесенным на расстояние от узла первого лотка в процессе отделения льда; и контроллер, выполненный с возможностью управления охладителем, при этом узел первого лотка содержит первый лоток, определяющий часть ячейки для изготовления льда, и корпус первого лотка, поддерживающий первый лоток, узел второго лотка содержит второй лоток, определяющий другую часть ячейки для изготовления льда, и корпус второго лотка, поддерживающий второй лоток, один из корпусов первого или второго лотка содержит первую область, включающую в себя отверстие, и вторую область, имеющую форму, соответствующую ячейке для изготовления льда, для поддерживания одного лотка из первого и второго лотков.

7. Холодильник по п.6, в котором первая область и вторая область разделены вертикально.

8. Холодильник по п.6, в котором часть упомянутого одного лотка открыта снаружи посредством отверстия.

9. Холодильник по п.6, дополнительно содержащий толкатель, приспособленный для оказания давления на лед во время процесса отделения льда, при этом контроллер выполнен с возможностью управления холодильником так, чтобы обеспечить перемещение толкателя от первой точки вне ячейки для изготовления льда ко второй точке внутри упомянутого по меньшей мере одного из корпусов первого и второго лотков через отверстие.

10. Холодильник по п.6, дополнительно содержащий нагреватель, размещенный по меньшей мере рядом с одним из узла первого лотка или узла второго лотка, при этом упомянутый один лоток из первого и второго лотков располагается ближе к нагревателю, чем другой лоток из первого и второго лотков, и контроллер выполнен с возможностью управления нагревателем, который должен включаться по меньшей мере в частичной секции, в то время как охладитель подает холод, так что пузырьки, растворенные в воде внутри ячейки для изготовления льда, перемещаются из части, в которой изготавливается лед, к воде, которая находится в жидком состоянии, чтобы сделать лед прозрачным.

11. Холодильник, содержащий: охладитель, выполненный с возможностью подачи холода; узел первого лотка, выполненный с возможностью определять часть ячейки для изготовления льда, которая является пространством, в котором вода превращается в лед в результате изменения фазы посредством холода; узел второго лотка, выполненный с возможностью определять другую часть ячейки для изготовления льда, причем узел второго лотка находится в контакте с узлом первого лотка в процессе изготовления льда и является разнесенным на расстояние от узла первого лотка в процессе отделения льда; нагреватель, размещенный по меньшей мере рядом с одним из узла первого лотка или узла второго лотка; и контроллер, выполненный с возможностью управления нагревателем и охладителем, при этом контроллер выполнен с возможностью управления нагревателем, который должен включаться по меньшей мере в частичной секции, в то время как охладитель подает холод, так что пузырьки, растворенные в воде внутри ячейки для изготовления льда, перемещаются из части, в которой изготавливается лед, к воде, которая находится в жидком состоянии, чтобы сделать лед прозрачным, узел первого лотка содержит первый лоток, определяющий часть ячейки для изготовления льда, и корпус первого лотка, поддерживающий первый лоток, узел второго лотка содержит второй лоток, определяющий другую часть ячейки для изготовления льда, и корпус второго лотка, поддерживающий второй лоток, один лоток из первого и второго лотков размещается ближе к нагревателю по сравнению с другим лотком из первого и второго лотков, и один из корпусов первого или второго лотка содержит первую область, включающую в себя отверстие, и вторую область, расположенную дольше от нагревателя, чем первая область.

12. Холодильник по п.11, в котором первая область и вторая область разделены вертикально.

13. Холодильник по п.11, в котором первая и вторая области поддерживают упомянутый один лоток.

14. Холодильник по п.11, в котором часть упомянутого одного лотка открыта снаружи посредством отверстия.

15. Холодильник по п.11, дополнительно содержащий толкатель, приспособленный для оказания давления на лед во время процесса отделения льда.

16. Холодильник по п.15, в котором контроллер выполнен с возможностью управления холодильником так, чтобы обеспечить перемещение толкателя от первой точки вне ячейки для изготовления льда ко второй точке внутри упомянутого по меньшей мере одного из корпусов первого и второго лотков через отверстие.

17. Холодильник, содержащий: охладитель, выполненный с возможностью подачи холода; узел лотка, выполненный с возможностью определять ячейку для изготовления льда, которая является пространством, в котором вода превращается в лед в результате изменения фазы посредством холода; корпус лотка, выполненный с возможностью поддерживания лотка; нагреватель, размещенный по меньшей мере рядом с одним из корпуса лотка или узла лотка; и контроллер, выполненный с возможностью управления нагревателем и охладителем, при этом контроллер выполнен с возможностью управления нагревателем, который должен включаться по меньшей мере в частичной секции, в то время как охладитель подает холод, так что пузырьки, растворенные в воде внутри ячейки для изготовления льда, перемещаются из части, в которой изготавливается лед, к воде, которая находится в жидком состоянии, чтобы сделать лед прозрачным, и корпус лотка содержит первую часть, имеющую форму, соответствующую форме ячейки для изготовления льда, и вторую часть, проходящую от предварительно определенной точки первой части для поддерживания лотка.

18. Холодильник по п.17, в котором лоток содержит первый лоток, выполненный с возможностью определять часть ячейки для изготовления льда, и второй лоток, выполненный с возможностью определять другую часть ячейки для изготовления льда, при этом контроллер выполнен с возможностью управления охладителем таким образом, чтобы холод подавался к ячейке для изготовления льда после того, как второй лоток перемещается в положение для изготовления льда, когда вода полностью подается в ячейку для изготовления льда, и корпус лотка выполнен с возможностью поддерживания второго лотка.

19. Холодильник, содержащий: охладитель, выполненный с возможностью подачи холода; лоток, выполненный с возможностью определять ячейку для изготовления льда, которая является пространством, в котором вода превращается в лед в результате изменения фазы посредством холода; корпус лотка, выполненный с возможностью поддерживания лотка; нагреватель, размещенный по меньшей мере рядом с одним из корпуса лотка или лотка; и контроллер, выполненный с возможностью управления нагревателем и охладителем, при этом контроллер выполнен с возможностью управления нагревателем, который должен включаться по меньшей мере в частичной секции, в то время как охладитель подает холод, так что пузырьки, растворенные в воде внутри ячейки для изготовления льда, перемещаются из части, в которой изготавливается лед, к воде, которая находится в жидком состоянии, чтобы сделать лед прозрачным, и корпус лотка содержит первую часть, выполненную с возможностью поддерживания лотка, и вторую часть, проходящую в направлении относительно горизонтальной линии, проходящей через центр ячейки для изготовления льда.

20. Холодильник по п.19, в котором лоток содержит первый лоток, выполненный с возможностью определять часть ячейки для изготовления льда, и второй лоток, выполненный с возможностью определять другую часть ячейки для изготовления льда, корпус лотка выполнен с возможностью поддерживания второго лотка, и нагреватель размещен рядом со вторым лотком.

21. Холодильник по п.20, в котором контроллер выполнен с возможностью управления вторым лотком так, чтобы второй лоток перемещался в обратном направлении после перемещения в положение отделения льда в прямом направлении, чтобы извлекать лед из ячейки для изготовления льда, когда лед полностью изготовлен в ячейке для изготовления льда, и контроллер выполнен с возможностью управления вторым лотком так, чтобы подача воды начиналась после того, как второй лоток переместился в положение подачи воды в обратном направлении, когда лед полностью отделился.

22. Холодильник, содержащий: охладитель, выполненный с возможностью подачи холода; узел первого лотка, включающий в себя первый лоток, выполненный с возможностью определять часть ячейки для изготовления льда, которая является пространством, в котором вода превращается в лед в результате изменения фазы посредством холода, и корпус первого лотка, выполненный с возможностью поддерживания первого лотка; узел второго лотка, включающий в себя второй лоток, выполненный с возможностью определять другую часть ячейки для изготовления льда, и корпус второго лотка, причем узел второго лотка находится в контакте с узлом первого лотка в процессе изготовления льда и является разнесенным на расстояние от узла первого лотка в процессе отделения льда; и контроллер, выполненный с возможностью управления охладителем, при этом корпус второго лотка содержит первую часть, имеющую форму, соответствующую форме ячейки для изготовления льда, и вторую часть, проходящую от предварительно определенной точки для поддерживания второго лотка.

23. Холодильник по п.22, в котором вторая часть содержит часть, проходящую от предварительно определенной точки в горизонтальном направлении, и часть, проходящую в направлении вниз относительно горизонтальной линии, проходящей через центр ячейки для изготовления льда.

24. Холодильник по п.21, дополнительно содержащий нагреватель, размещенный по меньшей мере рядом с одним из второго лотка или корпуса второго лотка.

25. Холодильник по п.24, в котором контроллер выполнен с возможностью управления нагревателем, который должен включаться по меньшей мере в частичной секции, в то время как охладитель подает холод, так что пузырьки, растворенные в воде внутри ячейки для изготовления льда, перемещаются из части, в которой изготавливается лед, к воде, которая находится в жидком состоянии, чтобы сделать лед прозрачным.

26. Холодильник, содержащий: узел первого лотка, включающий в себя первый лоток, выполненный с возможностью определять часть ячейки для изготовления льда, которая является пространством, в котором вода превращается в лед в результате изменения фазы посредством холода, и корпус первого лотка, выполненный с возможностью поддерживания первого лотка; и узел второго лотка, включающий в себя второй лоток, выполненный с возможностью определять другую часть ячейки для изготовления льда, и корпус второго лотка, причем узел второго лотка находится в контакте с узлом первого лотка в процессе изготовления льда и является разнесенным на расстояние от узла первого лотка в процессе отделения льда; при этом корпус второго лотка содержит первую часть, выполненную с возможностью поддерживания лотка, и вторую часть, проходящую в направлении от упомянутой другой части ячейки для изготовления льда.

27. Холодильник по п.26, дополнительно содержащий: нагреватель, размещенный по меньшей мере рядом с одним из второго лотка или корпуса второго лотка; и контроллер, выполненный с возможностью управления нагревателем, при этом контроллер выполнен с возможностью управления нагревателем, который должен включаться по меньшей мере в частичной секции, в то время как охладитель подает холод, так что пузырьки, растворенные в воде внутри ячейки для изготовления льда, перемещаются из части, в которой изготавливается лед, к воде, которая находится в жидком состоянии, чтобы сделать лед прозрачным.

28. Холодильник, содержащий: охладитель, выполненный с возможностью подачи холода; лоток, выполненный с возможностью определять ячейку для изготовления льда, которая является пространством, в котором вода превращается в лед в результате изменения фазы посредством холода; корпус лотка, выполненный с возможностью поддерживания лотка; нагреватель, размещенный по меньшей мере рядом с одним из корпуса лотка или лотка; и контроллер, выполненный с возможностью управления нагревателем и охладителем, при этом контроллер выполнен с возможностью управления нагревателем, который должен включаться по меньшей мере в частичной секции, в то время как охладитель подает холод, так что пузырьки, растворенные в воде внутри ячейки для изготовления льда, перемещаются из части, в которой изготавливается лед, к воде, которая находится в жидком состоянии, чтобы сделать лед прозрачным, и корпус лотка содержит первую часть для поддерживания лотка и вторую часть, проходящую от предварительно определенной точки первой части, и при этом тракт проведения тепла, определенный второй частью, имеет длину, большую чем расстояние от центра ячейки для изготовления льда до внешней периферийной поверхности ячейки для изготовления льда.

29. Холодильник по п.28, в котором лоток содержит первый лоток, выполненный с возможностью определять часть ячейки для изготовления льда, и второй лоток, выполненный с возможностью определять другую часть ячейки для изготовления льда, при этом контроллер выполнен с возможностью управления охладителем таким образом, чтобы холод подавался к ячейке для изготовления льда после того, как второй лоток перемещается в положение для изготовления льда, когда вода полностью подается в ячейку для изготовления льда, и корпус лотка выполнен с возможностью поддерживания второго лотка.

30. Холодильник, содержащий: охладитель, выполненный с возможностью подачи холода; лоток, выполненный с возможностью определять ячейку для изготовления льда, которая является пространством, в котором вода превращается в лед в результате изменения фазы посредством холода; корпус лотка, выполненный с возможностью поддерживания лотка; нагреватель, размещенный по меньшей мере рядом с одним из корпуса лотка или лотка; и контроллер, выполненный с возможностью управления нагревателем и охладителем, при этом контроллер выполнен с возможностью управления нагревателем, который должен включаться по меньшей мере в частичной секции, в то время как охладитель подает холод, так что пузырьки, растворенные в воде внутри ячейки для изготовления льда, перемещаются из части, в которой изготавливается лед, к воде, которая находится в жидком состоянии, чтобы сделать лед прозрачным, и корпус лотка содержит первую часть для поддерживания лотка и вторую часть, проходящую от первой части, причем вторая часть включает в себя первую расширительную часть, проходящую от первой точки первой части, и вторую расширительную часть, проходящую от второй точки первой части.

Документы, цитированные в отчете о поиске Патент 2025 года RU2840807C2

KR 101850918 B1, 30.05.2018
JP 9269172 A, 14.10.1997
KR 1020080100426 A, 18.11.2008
ХОЛОДИЛЬНИК, ИМЕЮЩИЙ УСТРОЙСТВО ДЛЯ ПРИГОТОВЛЕНИЯ ЛЬДА (ВАРИАНТЫ) 2010
  • Ли Донг Хоон
  • Ли Тае Хее
  • Ли Донгхоон
RU2488752C1
МАШИНА ДЛЯ ИЗГОТОВЛЕНИЯ ЛЬДА 2003
  • Ким Ох-Бок
  • Накадзо Хидео
RU2229067C1

RU 2 840 807 C2

Авторы

Ли, Донгхоон

Ли, Воокионг

Сон, Сунггиун

Ли, Донгхоон

Йеом, Сеунгсеоб

Бае, Йонгдзун

Парк, Чонгиоунг

Даты

2025-05-28Публикация

2019-10-01Подача