ВАКУУМНОЕ АДИАБАТИЧЕСКОЕ ТЕЛО И ХОЛОДИЛЬНИК Российский патент 2025 года по МПК F25D23/06 

Описание патента на изобретение RU2840876C2

Перекрестная ссылка на родственные заявки

[1] Эта заявка является заявкой национальной стадии согласно 35 U.S.C §371 США РСТ-заявки № РСТ/KR2019/007678, поданной 25 июня 2019 года, которая заявляет преимущество приоритета заявки на патент Кореи № 10-2018-0074172, поданной 27 июня 2018 года, полное содержание которой включено в эту заявку по ссылке.

Область техники

[2] Настоящее раскрытие относится к вакуумному адиабатическому телу и холодильнику.

Уровень техники

[3] Вакуумное адиабатическое тело является изделием для подавления теплопередачи посредством вакуумирования внутренней части его тела. Вакуумное адиабатическое тело может уменьшать теплопередачу посредством конвекции и теплопроводности и, следовательно, применимо к нагревательным устройствам и охлаждающим устройствам. В типичном адиабатическом способе, применимом к холодильнику, хотя он и по-разному применяется при охлаждении и замораживании, обычно обеспечивается пеноуретановая адиабатическая стенка, имеющая толщину около 30 см или более. Однако внутренний объем холодильника вследствие этого уменьшается.

[4] Для увеличения внутреннего объема холодильника, предпринимаются попытки применить вакуумное адиабатическое тело к холодильнику.

[5] Патент Кореи № 10-0343719 (Ссылочный документ 1) настоящего заявителя раскрывает способ, в котором подготавливают вакуумную адиабатическую панель и затем встраивают ее в стенки холодильника, и внешнюю часть вакуумной адиабатической панели отделывают отдельным формовочным материалом, таким как пенополистирол. Согласно этому способу, дополнительное вспенивание не требуется, и адиабатическая характеристика холодильника улучшается. Однако стоимость изготовления увеличивается, и способ изготовления усложняется. В качестве другого примера, технология обеспечения стенок с использованием вакуумного адиабатического материала и, дополнительно, обеспечения адиабатических стенок с использованием вспененного наполнителя была раскрыта в патентной публикации Кореи № 10-2015-0012712 (Ссылочный документ 2). Согласно Ссылочному документу 2, стоимость изготовления увеличивается, и способ изготовления усложняется.

[6] Для решения этой проблемы, настоящий заявитель подал заявку на патент Кореи № 10-2013-0049495 (Ссылочный документ 3). Эта технология обеспечивает вакуумное адиабатическое тело в состоянии пустого вакуума без обеспечения в нем отдельного адиабатического материала. Дополнительно, эта технология обеспечивает технологию, в которой теплообменный трубопровод обеспечен в вакуумном адиабатическом теле. Теплообменный трубопровод является трубопроводом, в котором два трубопровода, т.е., впускной трубопровод испарителя и выпускной трубопровод испарителя, контактируют друг с другом. Теплообменный трубопровод является трубопроводом, в котором холодильные агенты, текущие через внутренние части этих двух трубопроводов, обмениваются теплом друг с другом для улучшения характеристик цикла охлаждения.

[7] Теплообменный трубопровод проходит через внутреннюю часть вакуумной пространственной части для продолжения наружу и вовнутрь холодильника. Таким образом, для сохранения состояния вакуума вакуумной пространственной части, положение, в котором теплообменный трубопровод проходит через вакуумную пространственную часть и пластину внутрь холодильника, и положение, в котором теплообменный трубопровод проходит через вакуумную пространственную часть и пластину наружу холодильника, должны быть уплотнены. Для достижения вышеупомянутых целей, этот заявитель раскрыл конструкцию для уплотнения отдельного трубопровода разветвленного теплообменного трубопровода на фиг. 17 и 18, которая раскрыта в заявке на патент Кореи № 10-2017-0171596 (Ссылочный документ 4).

[8] Согласно Ссылочному документу 4, для сохранения уплотнения, два трубопровода теплообменных трубопроводов могут быть разветвлены для прохождения через вакуумную пространственную часть с обеспечением четырех проходимых-насквозь участков. Однако, когда число проходимых-насквозь участков увеличивается, могут возникнуть теплопотери. Также, если возникнет проблема в уплотнении на каком-либо одном участке, то это будет нежелательным, поскольку трудно будет сохранить вакуум в вакуумной пространственной части. Также, сварная часть двух трубопроводов может быть выставлена в вакуумную пространственную часть, и, таким образом, газ, генерируемый из сварной части, может нарушить состояние вакуума вакуумной пространственной части.

[9] Дополнительно, может возникнуть падение давления холодильного агента вследствие острого угла изгиба в точке разветвления каждого из двух трубопроводов, образующих теплообменные трубопроводы. Угол изгиба теплообменного трубопровода еще увеличивается вследствие шагового интервала (около 200 мм) стержня, образующего опорный блок. Также, поскольку реализуется неоднородное соединение между нержавеющим материалом, образующим вакуумную пространственную часть, и медным материалом, образующим теплообменный трубопровод, на проходимом-насквозь участке, эту работу трудно выполнять.

Техническая задача

[10] Варианты осуществления обеспечивают вакуумное адиабатическое тело, в котором устранены трудности в работе на участке, на котором теплообменный трубопровод проходит через вакуумную пространственную часть, и уменьшено число проходимых-насквозь участков.

[11] Варианты осуществления также обеспечивают вакуумное адиабатическое тело, в котором газ, генерируемый из сварной части двух трубопроводов, образующих теплообменный трубопровод, не влияет на внутреннее пространство вакуумной пространственной части.

[12] Варианты осуществления также обеспечивают вакуумное адиабатическое тело, в котором уменьшено падение давления холодильного агента вследствие острого изгиба теплообменного трубопровода.

[13] Варианты осуществления также обеспечивают вакуумное адиабатическое тело, в котором решены проблемы с утечками и трудностями в работе, которые возникают вследствие неоднородного сварного соединения между теплообменным трубопроводом и вакуумной пространственной частью.

Решение задачи

[14] В одном варианте осуществления, холодильник может включать в себя теплообменный трубопровод, который размещен во внутренней стенке вакуумного адиабатического тела, и в котором осуществляется теплообмен холодильного агента, сквозную часть или отверстие, через которое проходит трубопровод холодильного агента, обеспеченный в по меньшей мере одном из первого пластинного элемента или второго пластинного элемента, для обеспечения теплообменного трубопровода, и уплотнительный элемент, выполненный с возможностью вмещать в себя впускной трубопровод и выпускной трубопровод и соединенный с по меньшей мере одним из первого пластинного элемента или второго пластинного элемента, для ограничения передачи газа между трубопроводом холодильного агента и вакуумной пространственной частью.

[15] Уплотнительный элемент может быть использован для уменьшения числа сварных частей или отдельных случаев сварки, чтобы эта работа была удобной, уменьшения адиабатических потерь, уменьшения падения давления холодильного агента, текущего через теплообменный трубопровод, и уменьшения трудностей в работе из-за сварки неоднородных материалов.

[16] Наполнитель может быть добавлен вовнутрь уплотнительного элемента для предотвращения контакта трубопровода холодильного агента с пластинным элементом, в результате чего уменьшаются адиабатические потери.

[17] В другом варианте осуществления, вакуумное адиабатическое тело может включать в себя первый пластинный элемент, выполненный с возможностью определять по меньшей мере участок стенки для первого пространства, второй пластинный элемент, выполненный с возможностью определять по меньшей мере участок стенки для второго пространства, имеющего температуру, отличную от температуры первого пространства, теплообменный трубопровод, включающий в себя по меньшей мере два трубопровода, размещенные в третьем пространстве и обменивающиеся теплом друг с другом, и единственную сквозную часть или отверстие, которое обеспечено по меньшей мере в одном из первого пластинного элемента или второго пластинного элемента, и через которое проходят вместе упомянутые по меньшей мере два трубопровода.

[18] Число сварных соединений может быть уменьшено для предотвращения негерметичности вакуумной пространственной части и обеспечения удобной работы.

[19] В еще одном варианте осуществления, вакуумное адиабатическое тело может включать в себя первый пластинный элемент, выполненный с возможностью определять по меньшей мере участок стенки для первого пространства, второй пластинный элемент, выполненный с возможностью определять по меньшей мере участок стенки для второго пространства, имеющего температуру, отличную от температуры первого пространства, теплообменный трубопровод, обеспеченный в третьем пространстве таким образом, что по меньшей мере два трубопровода холодильного агента, через которые текут разные текучие среды, контактируют друг с другом для теплообмена, сквозную часть, через которую проходит трубопровод холодильного агента, обеспеченный в каждом из первого пластинного элемента и второго пластинного элемента, для обеспечения теплообменного трубопровода, и уплотнительный элемент, выполненный с возможностью вмещать в себя по меньшей мере два трубопровода холодильного агента и сваренный для соединения по меньшей мере с одним из первого пластинного элемента или второго пластинного элемента для ограничения передачи газа между трубопроводом холодильного агента и третьим пространством.

[20] Трубопровод холодильного агента вакуумной пространственной части может поддерживаться посредством однородной сварки для предотвращения возникновения негерметичности и обеспечения более удобной работы.

Предпочтительные эффекты изобретения

[21] Согласно вариантам осуществления, число проходимых-насквозь участков, через которые теплообменный трубопровод проходит через вакуумную пространственную часть, может быть уменьшено для уменьшения неудобств в работе и уменьшения теплопотерь вполовину. Дополнительно, может быть обеспечено преимущество, состоящее в том, что также уменьшается нарушение или ухудшение вакуума вакуумной пространственной части.

[22] Согласно вариантам осуществления, сварная часть, которая является контактной частью двух трубопроводов, образующих теплообменный трубопровод, может не выставляться в вакуумную пространственную часть для предотвращения увеличения количества газа внутри вакуумной пространственной части, в результате чего увеличивается срок службы изделия.

[23] Согласно вариантам осуществления, поскольку отдельное разветвление трубопровода в проходимом-насквозь участке не требуется, и необходимый изгибающийся участок плавно изогнут, может быть уменьшено падение давления холодильного агента.

[24] Поскольку теплообменный трубопровод и вакуумная пространственная часть и/или пластинные элементы соединены друг с другом посредством однородного сварного соединения, эта работа может быть удобной, и может быть увеличена надежность соединения и сохранения уплотнения.

Краткое описание чертежей

[25] Фиг. 1 является перспективным изображением холодильника согласно одному варианту осуществления.

[26] Фиг. 2 является видом, схематично показывающим вакуумное адиабатическое тело, используемое в основном теле и двери холодильника.

[27] Фиг. 3А-3С являются видами, показывающими различные варианты осуществления внутренней конфигурации вакуумной пространственной части.

[28] Фиг. 4 является диаграммой, показывающей результаты, полученные при испытании полимеров.

[29] Фиг. 5 показывает результаты, полученные при выполнении эксперимента в отношении характеристик полимеров в отношении сохранения вакуума.

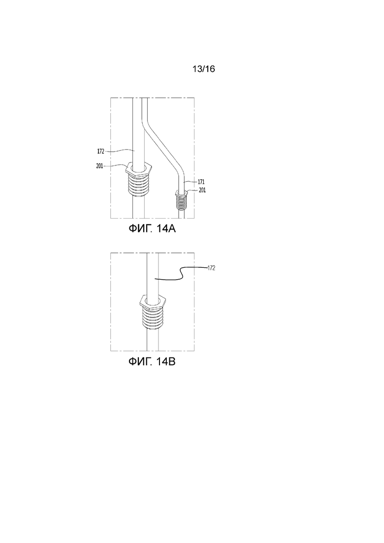
[30] Фиг. 6А-6С показывают результаты, полученные посредством анализа компонентов газов, выпускаемых из PPS и PC с низкой дегазацией.

[31] Фиг. 7 показывает результаты, полученные при измерении максимальных температур деформации, при которых полимеры повреждаются атмосферным давлением при высокотемпературном разрежении.

[32] Фиг. 8 являются видами, показывающими различные варианты осуществления листов сопротивления теплопроводности и их периферийных частей.

[33] Фиг. 9 является частичным вырезанным видом вакуумного адиабатического тела.

[34] Фиг. 10 является видом, показывающим состояние, в котором теплообменный трубопровод обеспеченв вакуумной пространственной части.

[35] Фиг. 11 является частичным вырезанным видом теплообменного трубопровода согласно одному варианту осуществления.

[36] Фиг. 12 является видом, показывающим состояние, в котором теплообменный трубопровод размещен в вакуумной пространственной части.

[37] Фиг. 13А и 13В являются видами, показывающими участок теплообменного трубопровода, который выходит вовнутрь холодильника.

[38] Фиг. 14А и 14В являются видами, показывающими участок теплообменного трубопровода, который выходит наружу холодильника.

[39] Фиг. 15 является поперечным сечением теплообменного трубопровода согласно другому варианту осуществления.

[40] Фиг. 16 является поперечным сечением теплообменного трубопровода согласно еще одному варианту осуществления.

[41] Фиг. 17 является поперечным сечением теплообменного трубопровода согласно еще одному варианту осуществления.

[42] Фиг. 18 является поперечным сечением, взятым вдоль линии А-А’ фиг. 17.

[43] Фиг. 19 является поперечным сечением, взятым вдоль линии В-В’ фиг. 17.

[44] Фиг. 20 является поперечным сечением положения, в котором теплообменный трубопровод проходит через второй пластинный элемент.

Вариант осуществления изобретения

[45] Далее, иллюстративные варианты осуществления будут описаны со ссылкой на сопутствующие чертежи. Настоящее изобретение, однако, может быть реализовано во многих других формах и не должно толковаться как изобретение, ограниченное вариантами осуществления, изложенными здесь, и специалист в данной области техники, который понимает сущность настоящего изобретения, может легко реализовать другие варианты осуществления, содержащиеся в объеме той же самой идеи изобретения, посредством добавления, изменения, удаления, и добавления компонентов; иначе говоря, следует понимать, что они также содержатся в объеме настоящего раскрытия.

[46] Чертежи, показанные ниже, могут быть отображены с отличиями от фактического изделия или преувеличены, или простые или детальные части могут быть удалены, но это преследует цель облегчить понимание технической идеи настоящего раскрытия. Это не следует толковать как ограничение.

[47] Также, номер каждого из компонентов, показанных вместе на чертежах, облегчает понимание идеи изобретения посредством присвоения одинаковых или подобных номеров компонентам, одинаковым или подобным по функции. Подобным образом, в случае выполнения одинаковых или подобных функций, даже если варианты осуществления являются разными, одинаковые или подобные номера присваиваются для облегчения понимания изобретения.

[48] В нижеследующем описании, давление вакуума означает любое состояние давления, меньшее атмосферного давления. Дополнительно, выражение «степень вакуума в А является большей, чем степень вакуума в В» означает, что давление вакуума в А меньше давления вакуума в В.

[49] Фиг. 1 является перспективным изображением холодильника согласно одному варианту осуществления.

[50] Со ссылкой на фиг. 1, холодильник 1 может включать в себя основное тело 2, снабженное полостью 9, способной хранить сохраняемые товары, и дверь 3, обеспеченную для открывания или закрывания основного тела 2. Дверь 3 может быть подвижно расположена с возможностью поворота или скольжения для открывания или закрывания полости 9. Полость 9 может обеспечивать по меньшей мере одно из отделения охлаждения и отделения замораживания.

[51] Полость 9 может быть снабжена частями или устройствами цикла замораживания, в котором холодный воздух подается в полость 9. Например, упомянутые части могут включать в себя компрессор 4 для сжатия холодильного агента, конденсатор 5 для конденсации сжатого холодильного агента, расширитель 6 для расширения конденсированного холодильного агента, и испаритель 7 для испарения расширенного холодильного агента для отбора тепла. В качестве типичной конструкции, вентилятор может быть установлен в положении, смежном с испарителем 7, и текучая среда, выдуваемая из вентилятора, может проходить через испаритель 7 и затем вдуваться в полость 9. Тепловая нагрузка при замораживании управляется настройкой интенсивности дутья и направлением дутья вентилятора, настройкой количества циркулирующего холодильного агента, или настройкой степени сжатия компрессора таким образом, чтобы можно было управлять пространством охлаждения или пространством замораживания.

[52] Фиг. 2 является видом, схематично показывающим вакуумное адиабатическое тело, используемое в основном теле 2 и двери 3 холодильника 1. На фиг. 2, вакуумное адиабатическое тело стороны основного тела показано в состоянии, в котором верхняя и боковая стенки удалены, и вакуумное адиабатическое тело стороны двери показано в состоянии, в котором участок передней стенки удален. Дополнительно, для удобства понимания схематично показаны разрезы участков обеспеченных листов 60 или 63 сопротивления теплопроводности.

[53] Со ссылкой на фиг. 2, вакуумное адиабатическое тело может включать в себя первый пластинный элемент 10 для обеспечения стенки низкотемпературного пространства или первого пространства, второй пластинный элемент 20 для обеспечения стенки высокотемпературного пространства или второго пространства, вакуумную пространственную часть или третье пространство 50, определяемое как зазор между первым и вторым пластинными элементами 10 и 20. Также, вакуумное адиабатическое тело включает в себя листы 60 и 63 сопротивления теплопроводности для предотвращения теплопроводности между первым и вторым пластинными элементами 10 и 20. Уплотнительная или сварная часть 61 может уплотнять листы 60 и 63 сопротивления теплопроводности с первым и вторым пластинными элементами 10 и 20 таким образом, чтобы вакуумная пространственная часть 50 находилась в уплотненном состоянии или состоянии вакуума.

[54] Когда вакуумное адиабатическое тело применяется к холодильнику или нагревательному устройству, первый пластинный элемент 10, обеспечивающий стенку внутреннего пространства холодильника, может называться внутренним корпусом, и второй пластинный элемент 20, обеспечивающий стенку внешнего пространства холодильника, может называться внешним корпусом.

[55] Машинное отделение 8 может включать в себя части, обеспечивающие цикл охлаждения или замораживания. Машинное отделение может быть размещено на нижней задней стороне вакуумного адиабатического тела стороны основного тела, и порт 40 разрежения для образования состояния вакуума посредством разрежения воздуха из вакуумной пространственной части 50 обеспечен на каждой стороне вакуумного адиабатического тела. Дополнительно, трубопровод 64, проходящий через вакуумную пространственную часть 50, может быть дополнительно установлен для установки линии талой воды и электрических линий.

[56] Первый пластинный элемент 10 может определять по меньшей мере один участок стенки для первого пространства, обеспечиваемого при этом. Второй пластинный элемент 20 может определять по меньшей мере один участок стенки для второго пространства, обеспечиваемого при этом. Первое пространство и второе пространство могут быть определены как пространства, имеющие разные температуры. Здесь, стенка для каждого пространства может служить не только в качестве стенки, прямо контактирующей с этим пространством, но и в качестве стенки, не контактирующей с этим пространством. Например, вакуумное адиабатическое тело этого варианта осуществления может быть также применено к изделию, дополнительно имеющему отдельную стенку, контактирующую с каждым пространством.

[57] Факторами теплопередачи, которые вызывают потери адиабатического эффекта вакуумного адиабатического тела, являются: теплопроводность между первым и вторым пластинными элементами 10 и 20, излучение тепла между первым и вторым пластинными элементами 10 и 20, и теплопроводность газа вакуумной пространственной части 50.

[58] Далее будет обеспечен блок или модуль теплового сопротивления, обеспечиваемый для уменьшения адиабатических потерь, связанных с факторами теплопередачи. Вакуумное адиабатическое тело и холодильник этого варианта осуществления не исключают того, что другое адиабатическое средство может быть дополнительно обеспечено по меньшей мере на одной стороне вакуумного адиабатического тела. Таким образом, адиабатическое средство, использующее вспенивание и т.п., может быть дополнительно обеспечено для другой стороны вакуумного адиабатического тела.

[59] Блок теплового сопротивления может включать в себя лист 60 или 63 сопротивления теплопроводности, который сопротивляется проведению тепла, передаваемого вдоль стенки третьего пространства 50, и может дополнительно включать в себя боковую раму, соединенную с листом сопротивления теплопроводности. Лист 60 или 63 сопротивления теплопроводности и боковая рама будут описаны ниже.

[60] Также, блок теплового сопротивления может включать в себя по меньшей мере один лист 32 сопротивления излучению, который обеспечен в форме пластины внутри третьего пространства 50, или может включать в себя пористый материал, который сопротивляется радиационной теплопередаче между вторым пластинным элементом 20 и первым пластинным элементом 10 внутри третьего пространства 50. Лист 32 сопротивления излучению и пористый материал будут описаны ниже.

[61] Фиг. 3А-3В являются я видами, показывающими различные варианты осуществления внутренней конфигурации вакуумной пространственной части или третьего пространства 50.

[62] В первую очередь, со ссылкой на фиг. 3А, вакуумная пространственная часть 50 может иметь давление, отличное от давления в каждом из первого и второго пространств, предпочтительно, состояние вакуума, посредством чего уменьшаются адиабатические потери. Вакуумная пространственная часть 50 может быть обеспечена с температурой между температурой первого пространства и температурой второго пространства. Поскольку вакуумная пространственная часть 50 обеспечена в виде пространства в состоянии вакуума, первый и второй пластинные элементы 10 и 20 находятся под действием силы сжатия в направлении, в котором они приближаются друг к другу, вследствие силы, соответствующей перепаду давлений между первым и вторым пространствами. Таким образом, вакуумная пространственная часть 50 может быть деформирована в направлении, в котором расстояние между пластинными элементами уменьшается. В этом случае, адиабатические потери могут быть вызваны увеличением величины излучения тепла, вызванным сжатием вакуумной пространственной части 50, и увеличением величины теплопроводности, вызванным контактом между пластинными элементами 10 и 20.

[63] Опорный блок или опора 30 может быть обеспечена для уменьшения деформации вакуумной пространственной части 50. Опорный блок 30 включает в себя стержень или стойку 31. Стержень 31 может продолжаться по существу в вертикальном направлении относительно пластинных элементов 10 и 20 для поддержания расстояния между первым пластинным элементом 10 и вторым пластинным элементом 20. Опорная пластина 35 может быть дополнительно обеспечена по меньшей мере на любом конце стержня 31. Опорная пластина 35 может соединять по меньшей мере два или более стержней 31 друг с другом и продолжаться в горизонтальном направлении относительно первого и второго пластинных элементов 10 и 20. Опорная пластина 35 может быть обеспечена в форме пластины или может быть обеспечена в форме решетки таким образом, чтобы площадь опорной пластины, контактирующей с первым и вторым пластинными элементами 10 и 20, уменьшилась, посредством чего уменьшается теплопередача. Стержни 31 и опорная пластина 35 прикреплены друг к другу по меньшей мере на одном участке для вставки вместе между первым и вторым пластинными элементами 10 и 20. Опорная пластина 35 контактирует по меньшей мере с одним из первого и второго пластинных элементов 10 и 20, посредством чего предотвращается деформация первого и второго пластинных элементов 10 и 20. Дополнительно, на основе направления продолжения стержней 31, общая площадь поперечного сечения опорной пластины 35 обеспечена таким образом, что она больше площади поперечного сечения стержней 31, так что тепло, передаваемое через стержни 31, может быть рассеяно через опорную пластину 35.

[64] Теперь будет описан материал опорного блока 30.

[65] Опорный блок 30 может иметь высокую прочность на сжатие, чтобы выдерживать давление вакуума, низкую скорость дегазации и низкую скорость поглощения воды для сохранения состояния вакуума, низкую удельную теплопроводность для уменьшения теплопроводности между пластинными элементами 10 и 20. Также, опорный блок 30 может иметь высокую прочность на сжатие при высокой температуре, чтобы он выдерживал процесс высокотемпературного разрежения, превосходную обрабатываемость, чтобы он мог подвергаться формованию и иметь низкую стоимость для формования. Здесь, время, требуемое для выполнения процесса разрежения, составляет около нескольких дней. Соответственно, если это время уменьшится, то это значительно уменьшит стоимость изготовления и увеличит продуктивность. Поэтому прочность на сжатие должна быть обеспечена для высокой температуры, поскольку скорость разрежения увеличивается, когда температура, при которой выполняется процесс разрежения, становится более высокой. Автор изобретения провел различные испытания при описанных выше условиях.

[66] В первую очередь, керамика или стекло имеют низкую скорость дегазации и низкую скорость поглощения воды, но их обрабатываемость является очень плохой. Таким образом, керамика и стекло не могут использоваться в качестве материала опорного блока 30. В качестве материала опорного блока 30 можно рассматривать полимер.

[67] Фиг. 4 является диаграммой, показывающей результаты, полученные при испытании полимеров.

[68] Со ссылкой на фиг. 4, автор настоящего изобретения испытал различные полимеры, и оказалось, что большинство полимеров использовать нельзя, поскольку их скорости дегазации и скорости поглощения воды являются очень высокими. Соответственно, автор настоящего изобретения испытал полимеры, которые приблизительно удовлетворяют условиям по скорости дегазации и скорости поглощения воды. В результате, полиэтилен (PE) может не использоваться вследствие его высокой скорости дегазации и его низкой прочности на сжатие. Полихлортрифторэтилен (PCTFE) может не использоваться вследствие его очень высокой стоимости. Полиэфирэфиркетон (PEEK) может не использоваться вследствие его высокой скорости дегазации. Полимер, выбранный из группы, состоящей из поликарбоната (polycarbonate - PC), стекловолокнистого PC, PC с низкой дегазацией, полифениленсульфида (PPS), и жидкокристаллического полимера (LCP), может быть использован в качестве материала опорного блока 30. Однако, скорость дегазации PC составляет 0,19, что соответствует низкому уровню. Следовательно, при увеличении до некоторого уровня времени, требуемого для выполнения термообработки, при которой разрежение выполняется при подаче тепла, PC может быть использован в качестве материала опорного блока 30.

[69] Автор настоящего изобретения обнаружил оптимальный материал путем проведения различных исследований полимеров, которые, как можно было ожидать, могли использоваться внутри вакуумной пространственной части 50. Далее, результаты проведенных исследований будут описаны со ссылкой на сопутствующие чертежи.

[70] Фиг. 5 является графиком, показывающим результаты, полученные при выполнении эксперимента в отношении характеристик полимеров в отношении сохранения вакуума.

[71] Со ссылкой на фиг. 5, показан график, показывающий результаты, полученные при изготовлении опорного блока 30 с использованием соответствующих полимеров и, затем, при проверке характеристик полимеров в отношении сохранения вакуума. Сначала, опорный блок 30, изготовленный с использованием выбранного материала, очищали с использованием этанола, выдерживали под низким давлением в течение 48 часов, подвергали воздействию воздуха в течение 2,5 часов, и затем подвергали процессу разрежения при 90°С в течение около 50 часов в состоянии, в котором опорный блок 30 был помещен в вакуумное адиабатическое тело, при этом измеряли характеристику сохранения вакуума опорного блока 30.

[72] Начальная характеристика разрежения LCP является наилучшей, но его характеристика сохранения вакуума является плохой. Это может быть вызвано чувствительностью LCP к температуре. Также, на основании характеристик графика можно ожидать, что, если конечное допустимое давление составляет 5*10-3 торр, то его характеристика вакуума будет сохраняться в течение периода времени, составляющего около 0,5 года. Таким образом, LCP не может использоваться в качестве материала опорного блока 30.

[73] Что касается стекловолокнистого PC (G/F PC), его скорость разрежения является высокой, но его характеристика сохранения вакуума является низкой. Было определено, что на это будет влиять добавка. Также, на основании характеристик графика можно ожидать, что стекловолокнистый PC будет сохранять свою характеристику вакуума при тех же самых условиях в течение периода времени, составляющего около 8,2 лет. Таким образом, PC (G/F PC) не может использоваться в качестве материала опорного блока 30.

[74] Как можно ожидать в случае PC с низкой дегазацией (O/G PC), его характеристика сохранения вакуума является превосходной, и его характеристика вакуума будет сохраняться при тех же самых условиях в течение периода времени, составляющего около 34 лет, в отличие от двух описанных выше материалов. Однако можно увидеть, что начальная характеристика разрежения PC с низкой дегазацией является низкой, и, таким образом, эффективность изготовления PC с низкой дегазацией является низкой.

[75] Можно увидеть, что в случае PPS его характеристика сохранения вакуума является в высшей степени превосходной, и его характеристика разрежения также является превосходной. На основе характеристики сохранения вакуума, PPS может быть использован в качестве материала опорного блока.

[76] Фиг. 6А-6С показывают результаты, полученные посредством анализа компонентов газов, выходящих из PPS и PC с низкой дегазацией, причем горизонтальная ось представляет массовые числа газов, и вертикальная ось представляет концентрации газов. Фиг. 6а показывает результат, полученный посредством анализа газа, выходящего из PC с низкой дегазацией. На фиг. 6а можно увидеть, что серия водорода или Н2-серия(I), серия воды или H2O-серия(II), серия азота/монооксида углерода/диоксида углерода/кислорода или N2/CO/CO2/O2-серия (III), и углеводородная серия (IV) выходят в равной мере. Фиг. 6b показывает результат, полученный посредством анализа газа, выходящего из PPS. На фиг. 6b можно увидеть, что Н2-серия (I), H2O-серия (II), и N2/CO/CO2/O2-серия (III) выходят в малой степени. Фиг. 6с является результатом, полученным посредством анализа газа, выходящего из нержавеющей стали. На фиг. 6с можно увидеть, что из нержавеющей стали выходит газ, подобный газу, выходящему из PPS. Следовательно, можно увидеть, что из PPS выходит газ, подобный газу, выходящему из нержавеющей стали.

[77] В результате анализа можно еще раз подтвердить, что PPS является превосходным в качестве материала опорного блока 30.

[78] Для дополнительного усиления прочности опорного блока 30, вместе с PPS может быть использован материал, в который добавлено несколько десятков % стекловолокна (glass fiber - G/F), предпочтительно, 40% G/F. Для большего увеличения прочности материала PPS+G/F 40%, используемого в опорном блоке, материал PPS+G/F 40% может быть дополнительно подвергнут процессу кристаллизации (выдерживание при атмосфере 150°С или более в течение около 1 часа) в качестве процесса постобработки после впрыска.

[79] Фиг. 7 показывает результаты, полученные при измерении максимальных температур деформации, при которых полимеры повреждаются атмосферным давлением при высокотемпературном разрежении. В этом случае, стержни 31 были обеспечены с диаметром, составляющим 2 мм, на расстоянии, составляющем 30 мм. Со ссылкой на фиг. 7 можно увидеть, что разрушение происходит при 60°С в случае PE, разрушение происходит при 90°С в случае PC с низкой дегазацией, и разрушение происходит при 125°С в случае PPS.

[80] В результате анализа можно увидеть, что PPS может быть использован в качестве полимера, используемого внутри вакуумной пространственной части 50. Однако, PC с низкой дегазацией может быть использован с учетом стоимости изготовления.

[81] Со ссылкой снова на фиг. 3А будет описан лист 32 сопротивления излучению для уменьшения излучения тепла, расположенный между первым и вторым пластинными элементами 10 и 20 на протяжении вакуумной пространственной части 50. Первый и второй пластинные элементы 10 и 20 могут быть изготовлены из нержавеющего материала, способного предотвратить коррозию и обеспечить достаточную прочность. Нержавеющий материал имеет относительно высокий коэффициент излучения, составляющий 0,16, и, следовательно, может передаваться большое количество излучаемого тепла. Дополнительно, опорный блок 30, изготовленный из полимера, имеет меньший коэффициент излучения, чем пластинные элементы, и не полностью обеспечен на внутренних поверхностях первого и второго пластинных элементов 10 и 20. Следовательно, опорный блок 30 не оказывает большого влияния на излучаемое тепло. Таким образом, лист 32 сопротивления излучению может быть обеспечен в форме пластины на протяжении большей части площади вакуумной пространственной части 50 с целью уменьшения излучаемого тепла, передаваемого между первым и вторым пластинными элементами 10 и 20. Изделие, имеющее низкий коэффициент излучения, может быть использовано в качестве материала листа 32 сопротивления излучению. В одном варианте осуществления, алюминиевая фольга, имеющая коэффициент излучения, составляющий 0,02, может быть использована в качестве листа 32 сопротивления излучению. Также, поскольку передача излучаемого тепла может недостаточно блокироваться с использованием одного листа 32 сопротивления излучению, по меньшей мере два листа 32 сопротивления излучению могут быть обеспечены на некотором расстоянии друг от друга таким образом, чтобы они не контактировали друг с другом. Также, по меньшей мере один лист 32 сопротивления излучению может быть обеспечен в состоянии, в котором он контактирует с внутренней поверхностью первого или второго пластинных элементов 10 и 20.

[82] Со ссылкой на фиг. 3В, расстояние между пластинными элементами 10 и 20 сохраняется посредством опорного блока 30, и пористый материал 33 может заполнять вакуумную пространственную часть 50. Пористый материал 33 может иметь больший коэффициент излучения, чем у нержавеющего материала первого и второго пластинных элементов 10 и 20. Однако, поскольку пористый материал 33 заполняет вакуумную пространственную часть 50, пористый материал 33 имеет высокую эффективность для сопротивления радиационной теплопередаче.

[83] В настоящем варианте осуществления, вакуумное адиабатическое тело может быть изготовлено без листа 32 сопротивления излучению.

[84] Со ссылкой на фиг. 3С, опорный блок 30 для сохранения вакуумной пространственной части 50 может не обеспечиваться. Пористый материал 33 может быть обеспечен таким образом, чтобы он был окружен пленкой 34 вместо опорного блока 30. Здесь, пористый материал 33 может быть обеспечен в состоянии, в котором он сжат таким образом, что сохраняется зазор вакуумной пространственной части 50. Пленка 34, изготовленная, например, из PE-материала, обеспечена в состоянии, в котором в пленке 34 пробито отверстие.

[85] В настоящем варианте осуществления, вакуумное адиабатическое тело может быть изготовлено без опорного блока 30. Другими словами, пористый материал 33 может выполнять функцию листа 32 сопротивления излучению и функцию опорного блока 30.

[86] Фиг. 8А-8С являются видами, показывающими различные варианты осуществления листов 60 или 63 сопротивления теплопроводности и их периферийных частей. Конструкции листов 60 или 63 сопротивления теплопроводности кратко показаны на фиг. 2, но будут подробно объяснены со ссылкой на чертежи.

[87] В первую очередь, лист 60 сопротивления теплопроводности, предложенный на фиг. 8А, может применяться к вакуумному адиабатическому телу стороны основного тела. Конкретно, первый и второй пластинные элементы 10 и 20 могут быть уплотнены таким образом, чтобы была вакуумирована внутренняя часть вакуумного адиабатического тела. В этом случае, поскольку первый и второй пластинные элементы 10 и 20 имеют температуры, отличные друг от друга, между первым и вторым пластинными элементами 10 и 20 может возникать теплопередача. Лист 60 сопротивления теплопроводности обеспечен для предотвращения теплопроводности между двумя разными видами пластинных элементов 10 и 20.

[88] Лист 60 сопротивления теплопроводности может быть снабжен уплотнительными или сварными частями 61, на которых уплотнены оба конца листа 60 сопротивления теплопроводности, для определения по меньшей мере одного участка стенки для третьего пространства или вакуумной пространственной части 50 и сохранения состояния вакуума. Лист 60 сопротивления теплопроводности может быть обеспечен в виде тонкой фольги микронной толщины для уменьшения количества тепла, проводимого вдоль стенки, для вакуумной пространственной части 50. Уплотнительные части 61 могут быть обеспечены в виде сварных частей, и лист 60 сопротивления теплопроводности и пластинные элементы 10 и 20 могут быть сплавлены друг с другом. Чтобы вызвать эффект сплавления между листом 60 сопротивления теплопроводности и первым и вторым пластинными элементами 10 и 20, лист 60 сопротивления теплопроводности и первый и второй пластинные элементы 10 и 20 могут быть изготовлены из одного и того же материала (например, нержавеющего материала). Уплотнительные части 61 не ограничены сварными частями и могут быть обеспечены посредством процесса, такого как соединение с перекосом. Лист 60 сопротивления теплопроводности может быть обеспечен в криволинейной форме. Таким образом, расстояние теплопроводности листа 60 сопротивления теплопроводности обеспечивается большим, чем линейное расстояние каждого пластинного элемента 10 и 20, так что величина теплопроводности может быть дополнительно уменьшена.

[89] Изменение температуры возникает вдоль листа 60 сопротивления теплопроводности. Таким образом, для блокирования теплопередачи к внешней части листа 60 сопротивления теплопроводности, экранирующая часть или покрытие 62 может быть обеспечено у внешней части листа 60 сопротивления теплопроводности таким образом, чтобы возникал адиабатический эффект. Другими словами, в холодильнике 1, второй пластинный элемент 20 имеет высокую температуру, и первый пластинный элемент 10 имеет низкую температуру. Дополнительно, теплопроводность от высокой температуры к низкой температуре возникает в листе 60 сопротивления теплопроводности, и, следовательно, температура листа 60 сопротивления теплопроводности быстро изменяется. Таким образом, когда лист 60 сопротивления теплопроводности открыт по отношению к своей внешней части, может действительно возникнуть теплопередача через открытое место. Для уменьшения теплопотерь, экранирующая часть 62 обеспечена на внешней части листа 60 сопротивления теплопроводности. Например, когда лист 60 сопротивления теплопроводности выставлен в любое из низкотемпературного пространства и высокотемпературного пространства, лист 60 сопротивления теплопроводности не может служить в качестве устройства сопротивления теплопроводности на выставленном участке.

[90] Экранирующая часть 62 может быть обеспечена в виде пористого материала, контактирующего с внешней поверхностью листа 60 сопротивления теплопроводности. Экранирующая часть 62 может быть обеспечена в виде адиабатической конструкции, например, отдельной прокладки, которая размещена у внешней части листа 60 сопротивления теплопроводности. Экранирующая часть 62 может быть обеспечена в виде участка вакуумного адиабатического тела, который обеспечен в положении, обращенном к соответствующему листу 60 сопротивления теплопроводности, когда вакуумное адиабатическое тело стороны основного тела закрыто относительно вакуумного адиабатического тела стороны двери. Для уменьшения теплопотерь даже тогда, когда основное тело и дверь открыты, экранирующая часть 62 может быть обеспечена в виде пористого материала или отдельной адиабатической конструкции.

[91] Лист 60 сопротивления теплопроводности, предложенный на фиг. 8В, может быть применен к вакуумному адиабатическому телу стороны двери. На фиг. 8В подробно описаны участки, отличные от участков фиг. 8А, и то же самое описание применимо к участкам, идентичным участкам фиг. 8а. Боковая рама 70 дополнительно обеспечена у наружной стороны листа 60 сопротивления теплопроводности. Часть или уплотнение для уплотнения между дверью 3 и основным телом 2, порт разрежения, необходимый для процесса разрежения, порт газопоглотителя для сохранения вакуума, и т.п., могут быть размещены на боковой раме 70. Это связано с тем, что установка частей удобна в вакуумном адиабатическом теле стороны основного тела, а положения установки частей в вакуумном адиабатическом теле стороны двери ограничены.

[92] В вакуумном адиабатическом теле стороны двери трудно разместить лист 60 сопротивления теплопроводности на переднем концевом участке вакуумной пространственной части 50, т.е. угловом краевом участке вакуумной пространственной части 50. Это связано с тем, что в отличие от основного тела 2, угловой краевой участок двери 3 выставлен на внешнюю сторону. Более конкретно, если лист 60 сопротивления теплопроводности будет размещен на переднем концевом участке вакуумной пространственной части 50, то угловой краевой участок двери 3 будет выставлен на внешнюю сторону, и, следовательно, возникнет недостаток, состоящий в том, что отдельная адиабатическая часть должна быть выполнена с возможностью обеспечивать теплоизоляцию листа 60 сопротивления теплопроводности.

[93] Лист 63 сопротивления теплопроводности, предложенный на фиг. 8С, может быть установлен в трубопровод 64, проходящий через вакуумную пространственную часть 50. На фиг. 8С, участки, отличные от участков фиг. 8А и 8В, описаны подробно, и то же самое описание применимо к участкам, идентичным участкам фиг. 8А и 8В. Лист 63 сопротивления теплопроводности, имеющий форму, подобную форме лист сопротивления теплопроводности фиг. 8А, например, складчатый или зигзагообразный лист 63 сопротивления теплопроводности, может быть обеспечен на периферийном участке трубопровода 64. Соответственно, путь теплопередачи может быть удлинен, и может быть предотвращена деформация, вызываемая перепадом давлений. Дополнительно, отдельная экранирующая часть может быть обеспечена для улучшения адиабатической характеристики листа сопротивления теплопроводности.

[94] Путь теплопередачи между первым и вторым пластинными элементами 10 и 20 будет описан со ссылкой снова на фиг. 8А. Тепло, проходящее через вакуумное адиабатическое тело, может быть подразделено на тепло поверхностной теплопроводности, проводимое вдоль поверхности вакуумного адиабатического тела, более конкретно, листа 60 сопротивления теплопроводности, тепло теплопроводности опоры, проводимое вдоль опорного блока 30, обеспеченного внутри вакуумного адиабатического тела, тепло теплопроводности газа, проводимое через внутренний газ в вакуумной пространственной части, и тепло излучательной передачи, передаваемое через вакуумную пространственную часть.

[95] Передаваемое тепло может изменяться в зависимости от различных конструктивных размеров. Например, опорный блок может быть изменен таким образом, чтобы первый и второй пластинные элементы 10 и 20 могли выдерживать давление вакуума без деформации, может быть изменено давление вакуума, может быть изменено расстояние между первым и вторым пластинными элементами 10 и 20, и может быть изменена длина листа 60 или 63 сопротивления теплопроводности. Передаваемое тепло может изменяться в зависимости от разности температур между пространствами (первым и вторым пространствами), соответственно, обеспеченными пластинными элементами 10 и 20. В этом варианте осуществления, конфигурация вакуумного адиабатического тела была найдена с учетом того, что его общая величина теплопередачи меньше общей величины теплопередачи типичной адиабатической конструкции, образованной вспениванием полиуретана. Можно предположить, что в типичном холодильнике, включающем в себя адиабатическую конструкцию, образованную вспениванием полиуретана, эффективный коэффициент теплопередачи составляет 19,6 мВт/(м*К).

[96] При выполнении сравнительного анализа величин теплопередачи вакуумного адиабатического тела этого варианта осуществления, величина теплопередачи посредством тепла теплопроводности газа может стать наименьшей. Например, величиной теплопередачи посредством тепла теплопроводности газа можно управлять таким образом, чтобы она была меньшей или равной 4% от общей величины теплопередачи. Величина теплопередачи посредством тепла теплопроводности твердого вещества, определяемого как сумма тепла поверхностной теплопроводности и тепла теплопроводности опоры, является наибольшей. Например, величина теплопередачи посредством тепла теплопроводности твердого вещества может достигать 75% от общей величины теплопередачи. Величина теплопередачи посредством тепла излучательной передачи меньше величины теплопередачи посредством тепла теплопроводности твердого вещества, но больше величины теплопередачи тепла теплопроводности газа. Например, величина теплопередачи посредством тепла излучательной передачи может занимать около 20% от общей величины теплопередачи.

[97] Согласно такому распределению теплопередачи, эффективные коэффициенты теплопередачи (eK: эффективный K) (Вт/(м*К)) тепла поверхностной теплопроводности, тепла теплопроводности опоры, тепла теплопроводности газа, и тепла излучательной передачи могут иметь порядок, указанный в математическом Неравенстве 1.

Неравенство 1:

[98] eKтепла теплопроводности твердого вещества >eKтепла радиационной передачи >eKтепла теплопроводности газа

[99] Здесь, эффективный коэффициент теплопередачи (eK) является значением, которое может быть измерено с использованием различий в форме и температуре целевого изделия. Эффективный коэффициент теплопередачи (eK) является значением, которое может быть получено посредством измерения общей величины теплопередачи и температуры по меньшей мере одного участка, на котором передается тепло. Например, калорическое значение (Вт) измеряют с использованием нагревательного источника, который может быть количественно измерен в холодильнике, распределение температуры (K) двери измеряют с использованием тепла, соответственно, передаваемого через основное тело и край двери холодильника, и путь, через который тепло передается, вычисляют в виде значения преобразования (м), в результате чего вычисляют эффективный коэффициент теплопередачи.

[100] Эффективный коэффициент теплопередачи (eK) всего вакуумного адиабатического тела является значением, задаваемым выражением k=QL/AΔT. Здесь, Q обозначает калорическое значение (Вт) и может быть получено с использованием калорического значения нагревателя. А обозначает площадь поперечного сечения (м2) вакуумного адиабатического тела, L обозначает толщину (м) вакуумного адиабатического тела, и ΔТ обозначает разность температур.

[101] Для тепла поверхностной теплопроводности, калорическое значение теплопроводности может быть получено посредством разности температур (ΔТ) между входом и выходом листа 60 или 63 сопротивления теплопроводности, площади поперечного сечения (А) листа сопротивления теплопроводности, длины (L) листа 60 или 63 сопротивления теплопроводности, и удельной теплопроводности (k) листа 60 или 63 сопротивления теплопроводности (удельная теплопроводность листа сопротивления теплопроводности является свойством материала и может быть получена заранее). Для тепла теплопроводности опоры, калорическое значение теплопроводности может быть получено посредством разности температур (ΔТ) между входом и выходом опорного блока 30, площади поперечного сечения (А) опорного блока 30, длины (L) опорного блока 30, и удельной теплопроводности (k) опорного блока 30. Здесь, удельная теплопроводность опорного блока 30 является свойством материала и может быть получена заранее. Сумма тепла теплопроводности газа и тепла излучательной передачи может быть получена посредством вычитания тепла поверхностной теплопроводности и тепла теплопроводности опоры из величины теплопередачи всего вакуумного адиабатического тела. Соотношение тепла теплопроводности газа и тепла излучательной передачи может быть получено посредством вычисления тепла излучательной передачи, когда никакого тепла теплопроводности газа не существует, посредством значительного уменьшения степени вакуума вакуумной пространственной части 50.

[102] Когда пористый материал обеспечивается внутри вакуумной пространственной части 50, тепло теплопроводности пористого материала может быть суммой тепла теплопроводности опоры и тепла излучательной передачи. Тепло теплопроводности пористого материала может изменяться в зависимости от различных переменных, включающих в себя вид, количество, и т.п. пористого материала.

[103] Согласно одному варианту осуществления, разность температур, ΔТ1, между геометрическим центром, образованным смежными стержнями 31, и точкой, в которой каждый из стержней 31 расположен, может быть предпочтительно обеспечена меньшей 0,5°С. Также, разность температур, ΔТ2, между геометрическим центром, образованным смежными стержнями 31, и краевым участком вакуумного адиабатического тела, может быть предпочтительно обеспечена меньшей 0,5°С. Во втором пластинном элементе 20, разность температур между средней температурой второго пластинного элемента 20 и температурой в точке, в которой путь теплопередачи, проходящий через лист 60 или 63 сопротивления теплопроводности, пересекается со вторым пластинным элементом 20, может быть наибольшей. Например, когда второе пространство является областью, более горячей, чем первое пространство, температура в точке, в которой путь теплопередачи, проходящий через лист 60 или 63 сопротивления теплопроводности, пересекается со вторым пластинным элементом 20, становится наименьшей. Подобным образом, когда второе пространство является областью, более холодной, чем первое пространство, температура в точке, в которой путь теплопередачи, проходящий через лист 60 или 63 сопротивления теплопроводности, пересекается со вторым пластинным элементом 20, становится наибольшей.

[104] Это означает, что следует управлять количеством тепла, передаваемого через другие точки, кроме тепла поверхностной теплопроводности, проходящего через лист 60 или 63 сопротивления теплопроводности, и полная величина теплопередачи, приемлемая для вакуумного адиабатического тела, может быть обеспечена только тогда, когда тепло поверхностной теплопроводности занимает наибольшую величину в теплопередаче. Для этой цели, изменением температуры листа 60 или 63 сопротивления теплопроводности можно управлять таким образом, чтобы оно было больше изменения температуры пластинных элементов 10 и 20.

[105] Теперь будут описаны физические характеристики частей, образующих вакуумное адиабатическое тело. В вакуумном адиабатическом теле, сила, обусловленная давлением вакуума, прикладывается ко всем частям. Таким образом, предпочтительно может использоваться материал, имеющий прочность (Н/м2) некоторого уровня.

[106] При таких условиях, пластинные элементы 10 и 20 и боковая рама 70 могут быть изготовлены из материала, имеющего достаточную прочность, с которой они не будут повреждаться даже давлением вакуума. Например, когда число стержней 31 уменьшается, чтобы ограничить тепло теплопроводности опоры, вследствие давления вакуума может возникнуть деформация пластинных элементов 10 и 20, которая может отрицательно повлиять на внешний вид холодильника. Лист 32 сопротивления излучению может быть изготовлен из материала, который имеет низкий коэффициент излучения и может быть легко подвергнут тонкопленочной обработке. Также, лист 32 сопротивления излучению должен обеспечивать прочность, достаточную для того, чтобы он не деформировался внешним ударом. Опорный блок 30 снабжается прочностью, достаточной для выдерживания силы, обусловленной давлением вакуума, и выдерживания внешнего удара, а также должен обеспечивать обрабатываемость. Лист 60 сопротивления теплопроводности может быть изготовлен из материала, который имеет форму тонкой пластины и может выдерживать давление вакуума.

[107] В одном варианте осуществления, пластинные элементы 10 и 20, боковая рама 70, и лист 60 или 63 сопротивления теплопроводности могут быть изготовлены из нержавеющих материалов, имеющих одинаковую прочность. Лист 32 сопротивления излучению может быть изготовлен из алюминия, имеющего меньшую прочность, чем у нержавеющих материалов. Опорный блок 30 может быть изготовлен из полимера, имеющего меньшую прочность, чем у алюминия.

[108] Кроме прочности с точки зрения материалов, требуется анализ с точки зрения жесткости. Жесткость (Н/м) является свойством, которое не допускает легкую деформацию. Хотя может использоваться один и тот же материал, его жесткость может изменяться в зависимости от его формы. Лист 60 или 63 сопротивления теплопроводности может быть изготовлен из материала, имеющего высокую или заданную прочность, но жесткость этого материала может быть низкой для увеличения теплового сопротивления и минимизации излучаемого тепла, когда лист 60 или 63 сопротивления теплопроводности однородно распространяется без каких-либо неровностей при приложении давления вакуума. Листу 32 сопротивления излучению требуется жесткость некоторого уровня, чтобы он не контактировал с другой частью вследствие деформации. В частности, краевой участок листа 32 сопротивления излучению может генерировать тепло теплопроводности вследствие провисания, вызванного собственным весом листа 32 сопротивления излучению. Таким образом, требуется жесткость некоторого уровня. Опорному блоку 30 может требоваться жесткость, достаточная для выдерживания сжимающего напряжения от пластинных элементов 10 и 20 и внешнего удара.

[109] В одном варианте осуществления, пластинные элементы 10 и 20 и боковая рама 70 могут иметь наибольшую жесткость для предотвращения деформации, вызванной давлением вакуума. Опорный блок 30, в частности, стержень 31 может иметь вторую наибольшую жесткость. Лист 32 сопротивления излучению может иметь жесткость, которая меньше жесткости опорного блока 30, но больше жесткости листа 60 или 63 сопротивления теплопроводности. Наконец, лист 60 или 63 сопротивления теплопроводности может быть изготовлен из материала, который легко деформируется давлением вакуума и имеет наименьшую жесткость.

[110] Даже когда пористый материал 33 заполняет вакуумную пространственную часть 50, лист 60 или 63 сопротивления теплопроводности может предпочтительно иметь наименьшую жесткость, и пластинные элементы 10 и 20 и боковая рама 70 могут иметь наибольшую жесткость.

[111] Вакуумная пространственная часть 50 может сопротивляться теплопередаче посредством только опорного блока 30. Здесь, пористый материал 33 может заполняться с опорным блоком 30 внутри вакуумной пространственной части 50 для сопротивления теплопередаче. Теплопередаче в пористый материал 33 можно сопротивляться без применения опорного блока 30.

[112] В приведенном выше описании, в качестве материала, пригодного для опорного блока 30, был предложен полимер PPS. Стержень 31 обеспечен на опорной пластине 35 с интервалами 2-3 см, и стержень 31 имеет высоту 1-2 см. Эти полимеры часто имеют плохую текучесть полимера во время формования. Во многих случаях, отформованное изделие не имеет проектную величину. В частности, форма отформованного изделия, такого как стержень 31, имеющий малую длину, часто не обеспечивается должным образом вследствие неоднородного впрыска полимера в часть, далекую от порта впрыска жидкости.

[113] Позже это может вызывать повреждение опорного блока 30 или дефекты вакуумного адиабатического тела.

[114] Опорный блок 30 может быть по существу двумерной конструкцией, но его площадь является очень большой. Таким образом, если дефект возникает на одном из участков, трудно отбраковать всю конструкцию. Это ограничение становится даже более выраженным, когда холодильники и нагревательные устройства становятся большими по размеру в соответствии с потребностями потребителей.

[115] Со ссылкой на фиг. 9, теплообменный трубопровод обеспечен во внутреннем пространстве вакуумного адиабатического тела, т.е., вакуумной пространственной части 50. Теплообменный трубопровод 117 может быть обеспечен посредством соединения впускного трубопровода 171, через который холодильный агент вводится в испаритель, обеспеченный в холодильнике 1, с выпускным трубопроводом 172, через который холодильный агент выпускается из испарителя. Два трубопровода, которые являются впускным трубопроводом 171 и выпускным трубопроводом 172, могут быть соединены или связаны друг с другом посредством сварки для образования теплообменного трубопровода 117. Впускной трубопровод 171 может быть обеспечен внутри выпускного трубопровода 172. Холодильные агенты, текущие через впускной трубопровод 171 и выпускной трубопровод 172, могут обмениваться теплом друг с другом для улучшения эффективности цикла охлаждения.

[116] Далее будет описана технология для поддержания положения теплообменного трубопровода 117 в вакуумной пространственной части 50.

[117] Фиг. 9 является частичным вырезанным видом вакуумного адиабатического тела, и фиг. 10 является видом, показывающим состояние, в котором теплообменный трубопровод обеспечен в вакуумной пространственной части.

[118] Со ссылкой на фиг. 9 и 10, опорный блок 30 обеспечен между пластинными элементами 10 и 20. Опорный блок 30 включает в себя опорную панель или пластину 35, контактирующую с пластинными элементами 10 или 20, и по меньшей мере два или более стержней 31, предпочтительно, множество стержней 31, сохраняющих зазор между пластинными элементами 10 и 20.

[119] Каждый из стержней 31 может иметь коническую или мужающуюся форму, чтобы нижний участок мог иметь большую площадь А1 поперечного сечения, чем площадь А2 поперечного сечения его верхнего участка на чертеже. В результате, может быть обеспечена хорошая формовочная обрабатываемость.

[120] Теплообменный трубопровод 117 может насколько возможно предотвращать контакт с другими элементами в вакуумной пространственной части 50. Когда трубопровод, изготовленный из металла, например, меди, контактирует с другим элементом, эффективность теплообмена может быть ухудшена вследствие теплопроводности, и, таким образом, могут не реализоваться адиабатические характеристики. Например, когда стержень 31 и теплообменный трубопровод 117 контактируют друг с другом, могут возникнуть теплопотери или теплопередача. Альтернативно, когда пластинный элемент 10 и/или 20 и теплообменный трубопровод контактируют друг с другом, соединение между металлами может вызвать быстрые теплопотери или теплопередачу.

[121] Как показано на чертеже, теплообменный трубопровод 117 обеспечен во внутреннем пространстве вакуумной пространственной части 50. Участок теплообменного трубопровода 117, который проходит изнутри наружу вакуумной пространственной части 50, проходит через первый пластинный элемент 10 и второй пластинный элемент 20.

[122] В вакуумном адиабатическом теле согласно одному варианту осуществления, впускной/выпускной концевые участки теплообменного трубопровода 117 могут проходить один участок первого пластинного элемента 10 и один участок второго пластинного элемента 20. А именно, только одна точка или область каждого из пластинных элементов 10 и 20 может быть открыта для проникания. Таким образом, может быть устранено неудобство работы, состоящей в обеспечении множества сквозных частей или отверстий, и могут быть уменьшены теплопотери через сквозную часть. Дополнительно, поскольку число сквозных частей, которые должны быть уплотнены отдельно, может быть уменьшено, может быть уменьшена вероятность нарушения или ухудшения вакуума вакуумной пространственной части 50.

[123] Фиг. 11 является частичным вырезанным видом теплообменного трубопровода согласно одному варианту осуществления.

[124] Со ссылкой на фиг. 11, в теплообменном трубопроводе 117, впускной трубопровод 171, имеющий меньший диаметр, может быть обеспечен в выпускном трубопроводе 172, имеющем больший диаметр. Как описано выше, холодильный агент, выпускаемый после прохождения через испаритель, может течь через выпускной трубопровод 172, и холодильный агент, подлежащий введению в испаритель, может течь через впускной трубопровод 171.

[125] Теплообменной областью теплообменного трубопровода 117, в которой осуществляется теплообмен холодильного агента, может быть внутренняя часть выпускного трубопровода 172. Таким образом, поскольку не нужно выполнять отдельную операцию, такую как сварка, для содействия теплообмену между впускным трубопроводом 171 и выпускным трубопроводом 172, процесс изготовления может быть удобным. Дополнительно, поскольку газ, генерируемый в сварной части, генерируется сначала, газ, вводимый в вакуумную пространственную часть 50, может быть удален.

[126] Теплообменный трубопровод 117 согласно одному варианту осуществления находится в состоянии, в котором впускной трубопровод 171 и выпускной трубопровод 172 не разветвляются или не отделяются от сквозной части или отверстия каждого из пластинных элементов 10 и 20. А именно, единственный трубопровод 117 может проходить через пластинные элементы 10 и 20. Таким образом, поскольку отдельное или дополнительное ответвление трубопровода 117 в сквозной части не нужно, изогнутый участок для предотвращения помех, связанных со стержнем 31, может не обеспечиваться, и может быть уменьшено падение давления холодильного агента, текущего через трубопровод 117.

[127] Далее будет более подробно описан участок, на котором теплообменный трубопровод 117 проходит через каждый из пластинных элементов 10 и 20.

[128] Фиг. 12 является видом, показывающим состояние, в котором теплообменный трубопровод 117 размещен в вакуумной пространственной части 50.

[129] Со ссылкой на фиг. 9 и 12, теплообменный трубопровод 117 обеспечен во внутреннем пространстве вакуумной пространственной части 50, обеспеченной на задней поверхности холодильника 1. Теплообменный трубопровод 117 может проходить через первый пластинный элемент 10 посредством единственной сквозной части или отверстия и проходить через второй пластинный элемент 20 посредством единственной сквозной части или отверстия.

[130] Теплообменный трубопровод 117 может иметь первый участок, проходящий через второй пластинный элемент 20, для его направления в машинное отделение 8 (фиг. 2), и второй участок, проходящий через первый пластинный элемент 10, для его направления в испаритель внутри холодильника. Теплообменный трубопровод 117 может проходить через каждый из пластинных элементов 10 и 20 посредством единственной сквозной части.

[131] Первый участок теплообменного трубопровода 117 может линейно выходить без изгиба в направлении его продолжения. С другой стороны, второй участок теплообменного трубопровода 117 может выходить под углом около 90 градусов по направлению к внутренней части холодильника.

[132] Фиг. 13А и 13В являются видами, показывающими второй участок теплообменного трубопровода 117, который выходит вовнутрь холодильника, и фиг. 14А и 14В являются видами, показывающими первый участок теплообменного трубопровода, который выходит наружу холодильника, т.е., в машинное отделение 8. Фиг. 13А-В и 14А-В показывают преимущество согласно одному варианту осуществления по сравнению с предшествующим уровнем техники, состоящее в том, что впускной трубопровод 171 и выпускной трубопровод 172 сварены друг с другом.

[133] Со ссылкой на фиг. 13А, каждый из впускного трубопровода 171 и выпускного трубопровода 172, которые разветвлены на две части согласно предшествующему уровню техники, может проходить через первый пластинный элемент 10 посредством сквозной части или проходного модуля 201. Трубопроводы 171 и 172, которые отдельно проходят через две сквозные части 201, направляются в испаритель внутри холодильника. Таким образом, поскольку область трубопровода, в которой происходит теплообмен, уменьшается, если разветвленные впускной трубопровод 171 и выпускной трубопровод 172 не соединены друг с другом, имеется недостаток, состоящий в том, что теплообменный трубопровод, обеспеченный в вакуумной пространственной части 50, должен увеличиться в длину для осуществления достаточного теплообмена.

[134] Со ссылкой на фиг. 13В, в этом варианте осуществления впускной трубопровод 171 может проходить через первый пластинный элемент 10, когда он находится в состоянии, в котором он обеспечен во выпускном трубопроводе 172, без разветвления. Таким образом, теплообменный трубопровод 117 может быть направлен в испаритель внутри холодильника посредством прохождения через единственную сквозную часть или проходной модуль 201. Таким образом, поскольку впускной трубопровод 171 и выпускной трубопровод 172 сохраняются в соединенном или связанном состоянии, операция теплообмена теплообменного трубопровода 117 может выполняться непрерывно даже после выхода вовнутрь холодильника, и, таким образом, теплообменный трубопровод 117 может уменьшиться в длину.

[135] Согласно сравнительным чертежам фиг. 13А-В, число сквозных частей 201, через которые теплообменный трубопровод 117 проходит через вакуумную пространственную часть 50, может быть уменьшено для уменьшения объема неудобных работ и теплопотерь или теплопередачи, а также для уменьшения вероятности нарушения или создания помех состоянию вакуума вакуумной пространственной части 50. Сварная часть, которая является контактной частью двух трубопроводов 171 и 172, образующих теплообменный трубопровод 117, может не выставляться в вакуумную пространственную часть 50 для предотвращения увеличения количества газа внутри вакуумной пространственной части 50, в результате чего увеличивается срок службы изделия.

[136] Со ссылкой на фиг. 14А, каждый из впускного трубопровода 171 и выпускного трубопровода 172, которые разветвлены на две части согласно предшествующему уровню техники, может проходить через второй пластинный элемент 20 посредством сквозной части 201. Трубопроводы 171 и 172, которые отдельно проходят через две сквозные части 201, направляются в машинное отделение 8 снаружи холодильника. Таким образом, поскольку область трубопровода, в которой происходит теплообмен, уменьшается, если разветвленные впускной трубопровод 171 и выпускной трубопровод 172 не соединены друг с другом, имеется недостаток, состоящий в том, что теплообменный трубопровод, обеспеченный в вакуумной пространственной части 50, должен увеличиться в длину для осуществления достаточного теплообмена.

[137] Дополнительно, впускной трубопровод 171 должен быть разветвлен для отделения от выпускного трубопровода 172 таким образом, чтобы впускной трубопровод 171 и выпускной трубопровод 172 проходили через сквозные части 201, отличные друг от друга. В этой области, поскольку впускной трубопровод 171 сильно изогнут для предотвращения контакта со стержнем 31, трубопровод 171 может быть сужен, что может вызвать неожиданное падение давления.

[138] Со ссылкой на фиг. 14В, в этом варианте осуществления впускной трубопровод 171 может проходить через второй пластинный элемент 20, когда он находится в состоянии, в котором он обеспечен в выпускном трубопроводе 172, без разветвления. Таким образом, теплообменный трубопровод 117 может быть направлен в машинное отделение 8 снаружи холодильника посредством прохождения через единственную сквозную часть 201. Таким образом, поскольку впускной трубопровод 171 и выпускной трубопровод 172 сохраняются в состоянии, в котором они соединены друг с другом, операция теплообмена теплообменного трубопровода 117 может выполняться непрерывно даже после его выхода вовнутрь холодильника, и, таким образом, теплообменный трубопровод 117 может уменьшиться в длину.

[139] Согласно сравнительным чертежам фиг. 14А-В, число сквозных частей 201, через которые проходит теплообменный трубопровод 117 через вакуумную пространственную часть 50, может быть уменьшено для уменьшения объема неудобных работ, теплопотери или теплопередача могут быть уменьшены, и может быть уменьшена вероятность нарушения состояния вакуума вакуумной пространственной части 50. Также, сварная часть, которая является контактной частью впускного трубопровода 171 и выпускного трубопровода 172, может не выставляться в вакуумную пространственную часть 50 для предотвращения увеличения количества газа внутри вакуумной пространственной части 50, в результате чего увеличивается срок службы изделия. Также, поскольку единственное трубопроводное тело, т.е., впускной и выпускной трубопроводы 171 и 172, прямо выходит наружу без разветвления впускного трубопровода 171 и выпускного трубопровода 172 друг от друга, может быть уменьшено падение давления холодильного агента, текущего через впускной трубопровод 171.

[140] Фиг. 15 является поперечным сечением теплообменного трубопровода согласно другому варианту осуществления.

[141] Со ссылкой на фиг. 15, впускной трубопровод 171, обеспеченный во внутреннем пространстве выпускного трубопровода 172, может быть складчатым или может иметь складчатую или ребристую форму площади поперечного сечения. Складчатый впускной трубопровод 171 может обмениваться теплом с холодильным агентом внутри выпускного трубопровода 172 на большей площади. Таким образом, более высокая эффективность теплообмена может быть получена посредством теплообменного трубопровода 117, имеющего большую площадь.

[142] В этом варианте осуществления, впускной трубопровод 172 и сквозная часть 201 могут быть соединены друг с другом посредством неоднородной сварки или соединения с прокладкой. Неоднородная сварка может обеспечить преимущество, состоящее в том, что контактная поверхность может быть полностью или лучше уплотнена сваркой. Однако впускной трубопровод 172 изготовлен из меди, а каждый из пластинных элементов 10 и 20 изготовлен из нержавеющей стали. Таким образом, поскольку разные материалы соединяются друг с другом посредством сварки, сварка может быть трудновыполнимой, и стабильность после сварки может быть ухудшена.

[143] Ниже будет описан еще один вариант осуществления, в котором устраняется описанное выше ограничение неоднородной сварки и фактически реализуется описанное выше преимущество теплообменного трубопровода.

[144] Фиг. 16 является поперечным сечением теплообменного трубопровода согласно еще одному варианту осуществления.

[145] Со ссылкой на фиг. 16, в теплообменном трубопроводе 117 согласно этому варианту осуществления, впускной трубопровод 171 и выпускной трубопровод 172 контактируют друг с другом, например, посредством сварки. Впускной трубопровод 171 может находиться смежно с выпускным трубопроводом 172, а не внутри него. Таким образом, впускной трубопровод 171 и выпускной трубопровод 172 могут равномерно обмениваться теплом друг с другом. Впускной трубопровод 171 и выпускной трубопровод 172 могут быть размещены в уплотнительном элементе или материале 173 в состоянии, в котором они соединены или связаны друг с другом. Уплотнительный элемент 173 может иметь заданную прочность и может быть изготовлен из нержавеющей стали, которая является тем же материалом, что и материал каждого из пластинных элементов 10 и 20.

[146] Уплотнительный элемент 173 может быть соединен с каждым из пластинных элементов 10 и 20 посредством однородной сварки. Как описано выше, поскольку одинаковые металлы соединяются друг с другом посредством сварки, прочность соединения двух элементов может быть увеличена, поскольку одинаковые металлы соединяются друг с другом посредством сварки. Таким образом, работы по изготовлению могут быть удобными, и соединение теплообменного трубопровода и надежность уплотнения между пластинными элементами могут быть улучшены.

[147] Также, можно предотвратить сварку друг с другом пластинных элементов 10 и 20, изготовленних из нержавеющей стали, и трубопровода холодильного агента, изготовленного из медного или алюминиевого материала, для получения возможности использования пластинных элементов 10 и 20, изготовленных из нержавеющей стали, для получения достаточной жесткости. Другими словами, неоднородная сварка согласно предшествующему уровню техники может быть заменена однородной сваркой между уплотнительным элементом 173 и пластинными элементами 10 и 20.

[148] Согласно уплотнительному элементу 173, число положений, в которых требуется сварка, может быть уменьшено для большего уменьшения негерметичности.

[149] Наполнитель или разделитель 220 заполняет уплотнительный элемент 173. Наполнитель 220 может заполнять промежуточную часть между внешней поверхностью каждого из впускного трубопровода 171 и выпускного трубопровода 172 и внутренней поверхностью уплотнительного элемента 173. Наполнитель 220 может включать в себя пористый материал, такой как пенополиуретан, стекловолокно, и т.п. Внешняя поверхность каждого из впускного трубопровода 171 и выпускного трубопровода 172 может непрямо контактировать с внутренней поверхностью уплотнительного элемента 173 посредством наполнителя 220. В этом случае, теплообменные потери, которые рассеиваются наружу, в частности, самим уплотнительным элементом 173, могут быть уменьшены. Дополнительно, поскольку впускной трубопровод 171 и выпускной трубопровод 172 не контактируют с внешними наружными элементами, например, пластинными элементами 10 и 20, тепло впускного трубопровода 171 и выпускного трубопровода 172 может не передаваться наружу. Таким образом, может быть улучшена эффективность каждого из впускного трубопровода 171 и выпускного трубопровода 172.

[150] Наполнитель 220 может не обеспечиваться в виде отдельного материала, а может быть обеспечен посредством теплоизоляции с использованием воздуха или вакуума.

[151] Эффект изоляции посредством вакуумной изоляции и воздушной изоляции может быть меньше эффекта изоляции в вышеупомянутом варианте осуществления, в котором отдельно обеспечен наполнитель 220. Также, может оказаться трудным зафиксировать положения впускного трубопровода 171 и выпускного трубопровода 172.

[152] Согласно этому варианту осуществления, подобно варианту осуществления, описанному со ссылкой на фиг. 11, число сквозных частей, через которые трубопровод проходит через вакуумную пространственную часть 50, может быть уменьшено для уменьшения неудобств в работе и уменьшения теплопотерь вполовину, в результате чего уменьшается вероятность нарушения состояния вакуума вакуумной пространственной части. Также, сварная часть, которая является контактной частью двух трубопроводов 171 и 172, образующих теплообменный трубопровод 117, может не выставляться в вакуумную пространственную часть 50 для предотвращения увеличения количества газа внутри вакуумной пространственной части 50. Также, поскольку не нужно разветвлять впускной и выпускной трубопроводы 171 и 172 для прохождения через отдельные сквозные части, может быть уменьшено падение давления холодильного агента.

[153] Согласно этому варианту осуществления, поскольку теплообменный трубопровод 117 и пластинные элементы 10 и 20 связываются друг с другом однородной сваркой, когда теплообменный трубопровод 117 и пластинные элементы 10 и 20 соединяются друг с другом, эта работа может быть удобной, и надежность соединения и сохранения уплотнения могут быть улучшены.

[154] В этом варианте осуществления, поскольку впускной трубопровод 171 и выпускной трубопровод 172 уплотнены внутри уплотнительного элемента 173, полный процесс гибки теплообменного трубопровода 117 может быть затруднительным. Например, когда впускной трубопровод 171 и выпускной трубопровод 172 обеспечены внутри и снаружи центра кривизны изогнутого участка на изогнутом участке теплообменного трубопровода 117 внутри вакуумной пространственной части 50, т.е., когда центры кривизны впускного трубопровода 171 и выпускного трубопровода 172 одни и те же, но радиусы кривизны отличаются друг от друга, большая нагрузка может быть приложена к трубопроводу или уплотнительному элементу 173, обеспеченному снаружи впускного трубопровода 171 и выпускного трубопровода 172.

[155] В этом случае, большая нагрузка, приложенная к трубопроводу, обеспеченному снаружи впускного трубопровода 171 и выпускного трубопровода 172, может вызвать повреждение соответствующего трубопровода и повреждение сварного участка. Это ограничение может быть более выраженным вследствие разных диаметров впускного трубопровода 171 и выпускного трубопровода 172, которые пригодны для протекания холодильного агента.

[156] В этом варианте осуществления, для устранения вышеупомянутого ограничения, возникающего из-за радиусов кривизны разных трубопроводов, относительное соотношение расположений между впускным трубопроводом 171 и выпускным трубопроводом 172 может быть обеспечено внутри уплотнительного элемента 173. Соотношение расположений между впускным трубопроводом 171 и выпускным трубопроводом 172 будет описано более подробно после смены чертежа.

[157] Фиг. 17 является видом теплообменного трубопровода согласно еще одному варианту осуществления.

[158] Со ссылкой на фиг. 17, общее направление продолжения теплообменного трубопровода 117 подобно направлению продолжения на фиг. 12.

[159] Теплообменный трубопровод 117 может проходить через первый пластинный элемент 10 посредством единственной сквозной части и проходить через второй пластинный элемент 20 посредством единственной сквозной части.

[160] Участок, проходящий через второй пластинный элемент 20, может линейно выходить без изгиба в направлении, в котором продолжается теплообменный трубопровод 117. Участок, проходящий через первый пластинный элемент 10, может выходить под углом около 90 градусов в направлении, в котором теплообменный трубопровод 117 направлен вовнутрь холодильника.

[161] Как описано выше, согласно направлению продолжения теплообменного трубопровода 117, теплообменный трубопровод 117 может иметь трехмерное направление продолжения внутри вакуумной пространственной части 50. Более конкретно, три направления или участка 231, 232, и 233 продолжения могут быть определены в одной и той же плоскости, которая является такой же, что и направление продолжения плоскости, посредством которой обеспечена вакуумная пространственная часть 50. Четвертое направление или участок 241 продолжения, продолжающийся от третьего направления 233 продолжения вовнутрь холодильника, т.е., направление, проходящее через первый пластинный элемент 10, продолжается в направлении, пересекающем эту плоскость или перпендикулярном ей, но не продолжается вовнутрь двумерной плоскости, посредством которой обеспечена вакуумная пространственная часть 50. Четвертое направление 241 продолжения может не обеспечиваться на той же плоскости, что и плоскость первого, второго, и третьего направлений 231, 232, и 233 продолжения.

[162] Для предотвращения повреждения впускного трубопровода 171 и выпускного трубопровода 172 в направлении продолжения теплообменного трубопровода 117, впускной трубопровод 171 и выпускной трубопровод 172 могут иметь одинаковый радиус кривизны в изгибающейся части или участке теплообменного трубопровода 117. На фиг. 17, изгибающиеся части представлены ссылочными символами А, В, и С, соответственно.

[163] Изгибающиеся части А, В, и С будут описаны более подробно со ссылкой на фиг. 18 и 19.

[164] Фиг. 18 является поперечным сечением, взятым вдоль линии А-А’ фиг. 17, и фиг. 19 является поперечным сечением, взятым вдоль линии В-В’ фиг. 17.

[165] Со ссылкой на фиг. 17 и 18, впускной трубопровод 171 и выпускной трубопровод 172 может быть обеспечены вертикально в уплотнительном элементе 173. Это расположение может сохраняться до прохождения через изгибающиеся части А, В, и С. Изгиб может возникать по меньшей мере в правую сторону относительно фиг. 18.

[166] Согласно расположению впускного трубопровода 171 и выпускного трубопровода 172, поскольку впускной трубопровод 171 и выпускной трубопровод 172 имеют одинаковый радиус кривизны в изгибающейся части А, В, и С, может быть предотвращено повреждение изгибающихся частей А, В, и С каждого из трубопроводов 171 и 172 и соединенных участков трубопроводов 171 и 172.

[167] Однако, когда расположение трубопроводов фиг. 18 сохраняется вплоть до изгибающейся части С, радиусы кривизны впускного трубопровода 171 и выпускного трубопровода 172 могут быть отличными друг от друга. Другими словами, один из трубопроводов, который обеспечен на дальней стороне относительно радиуса кривизны изгибающейся части, изогнут с большим радиусом кривизны. Один из трубопроводов, который обеспечен на ближней стороне относительно радиуса кривизны, изогнут с малым радиусом кривизны. Таким образом, может быть поврежден сам трубопровод или соединенные участки трубопровода.

[168] Со ссылкой на фиг. 17 и 19, впускной трубопровод 171 и выпускной трубопровод 172, соответственно, расположены в горизонтальном направлении. Расположение трубопроводов 171 и 172 можно понимать как расположение, выполненное ранее перед достижением изгибающейся части С. Другими словами, расположение трубопроводов 171 и 172 может поворачиваться под углом около 90 градусов перед достижением изгибающейся части С от изгибающейся части В. Например, впускной трубопровод 171 может быть выполнен с возможностью поворачиваться под углом около 90 градусов в направлении по часовой стрелке, как показано на фиг. 19.

[169] Когда трубопроводы обеспечены горизонтально, как показано на фиг. 19, даже когда теплообменный трубопровод 117 изогнут от третьего направления 233 к четвертому направлению 241, радиусы кривизны впускного трубопровода 171 и выпускного трубопровода 172 могут быть равномерно сохранены. Таким образом, радиусы кривизны могут быть одними и теми же для предотвращения повреждения трубопроводов 171 и 172 и соединенного участка трубопроводов 171 и 172, даже когда обеспечены изгибающиеся части.

[170] Фиг. 20 является поперечным сечением положения, в котором теплообменный трубопровод проходит через второй пластинный элемент 20.

[171] Со ссылкой на фиг. 20, впускной трубопровод 171 и выпускной трубопровод 172 могут быть обеспечены в уплотнительном элементе 173, и наполнитель 220 заполняет уплотнительный элемент 173 таким образом, что впускной трубопровод 171 и выпускной трубопровод 172 не контактируют с внутренней поверхностью уплотнительного элемента 173. Альтернативно, хотя можно использовать вакуум и воздух вместо наполнителя 220, для предотвращения теплопередачи между впускным трубопроводом 171 и выпускным трубопроводом 172, предотвращения просачивания холодного воздуха, и предотвращения распространения через трубопровод 117 вибраций и шума может быть обеспечено заполнение наполнителем.

[172] Ниже будет описана сквозная часть 201.

[173] Второй пластинный элемент 20 и уплотнительный элемент 173 могут быть сварены друг с другом. Более конкретно, внутренняя поверхность проходимого-насквозь участка второго пластинного элемента 20 и внешняя поверхность уплотнительного элемента 173, который выходит наружу холодильника посредством прохождения через второй пластинный элемент 20, могут быть сварены друг с другом. В этом случае, поскольку второй пластинный элемент 20 и уплотнительный элемент 173 изготовлены из одинакового материала, такого как нержавеющая сталь, и, таким образом, свариваются друг с другом посредством однородной сварки, могут быть увеличены надежность и срок службы. На чертеже, ссылочная позиция 210 представляет однородную сварную часть.

[174] Из однородной сварной части 210 может генерироваться тепло. Это тепло может проводиться вдоль уплотнительного элемента 173 и сжигать наполнитель 220. Для устранения этого ограничения, заданная ширина L1 может быть обеспечена между концевым участком, на котором обеспечен наполнитель 220, и однородной сварной частью 210. Эти ширина может иметь протяженность около 5 см. Таким образом, при осуществлении сварки может быть предотвращено сгорание наполнителя 220 вследствие теплопередачи.

[175] Для увеличения надежности контакта сварной части 210, может быть обеспечен с заданной длиной выдающийся концевой участок 21, выдающийся из второго пластинного элемента 20. Для обеспечения выдающегося концевого участка 21, форма второго пластинного элемента 20 может быть деформирована в ширину или толщину.

[176] После осуществления однородной сварки, однородная сварная часть 210 может быть покрыта отделочным элементом или покрытием 230. Отделочный элемент 230 может не выполнять такую функцию, как сохранение вакуума, а может быть нужен только для предотвращения проникания влаги. Таким образом, отделочный элемент 230 может быть изготовлен из резины или уплотнительного материала, который является стойким к влаге.

[177] Конструкция, показанная на фиг. 20, может быть применена в виде подобной конфигурации даже в положении, в котором теплообменный трубопровод 117 проходит через первый пластинный элемент 10.

Промышленная применимость

[178] Согласно вариантам осуществления, поскольку теплообменный трубопровод, обеспеченный в вакуумной пространственной части, выходит наружу из вакуумной пространственной части без теплопотерь и при этом уменьшается возможность нарушения вакуума, можно ожидать значительный промышленный эффект вследствие быстрого применения.

[179] Более конкретно, обеспечиваются эффекты уменьшения теплопотерь или теплопередачи вследствие уменьшения числа сквозных частей или отверстий, которые повышают удобство работы и уменьшают вероятность нарушения вакуума. Также, поскольку может быть предотвращено генерирование газа из-за сварочного материала, используемого для сварки двух трубопроводов теплообменного трубопровода, может быть обеспечен эффект сохранения вакуума.

[180] Также, посредством уменьшения числа изгибающихся частей трубопровода может быть предотвращено или уменьшено падение давления холодильного агента. Также, можно осуществлять однородную сварку, в результате чего увеличивается надежность впускного и выпускного трубопроводов теплообменного трубопровода.

Похожие патенты RU2840876C2

название год авторы номер документа
ВАКУУМНОЕ АДИАБАТИЧЕСКОЕ ТЕЛО И ХОЛОДИЛЬНИК 2019
  • Дзунг, Вонйеонг
  • Ким, Даевоонг
  • Нам, Хиеунсик
  • Ли, Дзангсеок
RU2765162C1
ВАКУУМНОЕ АДИАБАТИЧЕСКОЕ ТЕЛО И ХОЛОДИЛЬНИК 2019
  • Дзунг, Вонйеонг
  • Ким, Даевоонг
  • Нам, Хиеунсик
  • Йоун, Деокхиун
RU2776222C1
УСТРОЙСТВО, ИМЕЮЩЕЕ ФУНКЦИЮ ОХЛАЖДЕНИЯ И НАГРЕВАНИЯ, И ТРАНСПОРТНОЕ СРЕДСТВО 2018
  • Баэ, Джэхён
  • Ки, Дучан
RU2775367C2
ХОЛОДИЛЬНОЕ ИЛИ НАГРЕВАТЕЛЬНОЕ УСТРОЙСТВО И ТРАНСПОРТНОЕ СРЕДСТВО 2018
  • Баэ, Джэхён
  • Ки, Дучан
RU2729140C1
ВАКУУМНОЕ АДИАБАТИЧЕСКОЕ ТЕЛО И ХОЛОДИЛЬНИК 2019
  • Хан, Соль
  • Ким, Даевоонг
  • Дзунг, Вонйеонг
  • Ли, Дзангсеок
RU2765795C1
ХОЛОДИЛЬНИК, ХОЛОДИЛЬНОЕ ИЛИ НАГРЕВАТЕЛЬНОЕ УСТРОЙСТВО И ВАКУУМНЫЙ АДИАБАТИЧЕСКИЙ КОРПУС 2018
  • Нам, Хиеунсик
  • Ким, Бонгдзин
RU2729320C1
ВАКУУМНОЕ АДИАБАТИЧЕСКОЕ ТЕЛО И ХОЛОДИЛЬНИК 2019
  • Рю, Минсу
  • Баэ, Джэхён
  • Йоун, Деокхиун
RU2771061C1
ВАКУУМНОЕ АДИАБАТИЧЕСКОЕ ТЕЛО И ХОЛОДИЛЬНИК 2019
  • Канг, Миоунгдзу
  • Йоун, Деокхиун
  • Ли, Дзангсеок
RU2769247C1
ХОЛОДИЛЬНИК, УСТРОЙСТВО, ИМЕЮЩЕЕ ФУНКЦИЮ ОХЛАЖДЕНИЯ И НАГРЕВАНИЯ И ВАКУУМНЫЙ АДИАБАТИЧЕСКИЙ КОРПУС 2018
  • Нам, Хиеунсик
  • Ким, Бонгдзин
RU2776533C2
ВАКУУМНОЕ АДИАБАТИЧЕСКОЕ ТЕЛО 2018
  • Ким, Даевоонг
  • Нам, Хиеунсик
RU2755863C2

Иллюстрации к изобретению RU 2 840 876 C2

Реферат патента 2025 года ВАКУУМНОЕ АДИАБАТИЧЕСКОЕ ТЕЛО И ХОЛОДИЛЬНИК

Группа изобретений относится к холодильникам. Вакуумное адиабатическое тело содержит первую пластину для первого пространства, вторую пластину для второго пространства, третье пространство, предусмотренное между первой пластиной и второй пластиной и сконфигурированное как вакуумное пространство, и теплообменный трубопровод, содержащий первый трубопровод и второй трубопровод. При этом первый трубопровод имеет диаметр, превышающий диаметр второго трубопровода, и второй трубопровод находится внутри первого трубопровода или первый трубопровод и второй трубопровод окружены трубкой, соединенной с по меньшей мере одной из первой пластины или второй пластины. Увеличивается срок службы изделия. 6 н. и 9 з.п. ф-лы, 20 ил.

Формула изобретения RU 2 840 876 C2

1. Вакуумное адиабатическое тело, содержащее: первую пластину для первого пространства; вторую пластину для второго пространства; третье пространство, предусмотренное между первой пластиной и второй пластиной и сконфигурированное как вакуумное пространство; и теплообменный трубопровод, содержащий первый трубопровод и второй трубопровод; при этом первый трубопровод имеет диаметр, превышающий диаметр второго трубопровода, и второй трубопровод находится внутри первого трубопровода, или первый трубопровод и второй трубопровод окружены трубкой, соединенной с, по меньшей мере одной из первой пластины или второй пластины.

2. Вакуумное адиабатическое тело по п. 1, в котором первый и второй трубопроводы осуществляют теплообмен друг с другом в третьем пространстве.

3. Вакуумное адиабатическое тело по п. 1, в котором теплообменный трубопровод прямолинейно отведен от первой части без изгиба в направлении прохождения теплообменника, при этом вторая часть примыкает к испарителю первого пространства.

4. Вакуумное адиабатическое тело по п. 1, в котором теплообменный трубопровод отведен от второй части под углом около 90 градусов в направлении прохождения теплообменника, при этом вторая часть примыкает к компрессору во втором пространстве.

5. Вакуумное адиабатическое тело по п. 1, содержащее одно первое отверстие, выполненное в первой пластине, через которое проходит теплообменный трубопровод из первого пространства в третье пространство.

6. Вакуумное адиабатическое тело по п. 1, содержащее одно второе отверстие, выполненное во второй пластине, через которое проходит теплообменный трубопровод из второго пространства в третье пространство.

7. Вакуумное адиабатическое тело по п. 1, в котором теплообменный трубопровод проходит через первую пластину или вторую пластину через сквозную часть.

8. Вакуумное адиабатическое тело по п. 7, в котором сквозная часть выполнена в виде соединения или сварки.

9. Холодильник, содержащий вакуумное адиабатическое тело по любому из пп. 1-8, при этом теплообменный трубопровод расположен во внутреннем пространстве части вакуумного пространства, расположенной на задней стенке холодильника.

10. Вакуумное адиабатическое тело, содержащее: первую пластину для первого пространства; вторую пластину для второго пространства; третье пространство, предусмотренное между первой пластиной и второй пластиной и сконфигурированное как вакуумное пространство; и теплообменный трубопровод, содержащий первый трубопровод и второй трубопровод; при этом теплообменный трубопровод имеет конструкцию с трехмерным направлением продолжения внутри вакуумного пространства, причем конструкция с трехмерным направлением продолжения имеет первое концевое удлинение, проходящее по вертикали до первого пространства, и второе концевое удлинение, проходящее горизонтально ко второму пространству.

11. Вакуумное адиабатическое тело по п. 10, в котором конструкция с трехмерным направлением продолжения имеет по меньшей мере первое, второе и третье удлинения в одной плоскости.

12. Вакуумное адиабатическое тело, содержащее: первую пластину для первого пространства; вторую пластину для второго пространства; третье пространство, предусмотренное между первой пластиной и второй пластиной и сконфигурированное как вакуумное пространство; и теплообменный трубопровод, содержащий первый трубопровод и второй трубопровод; при этом теплообменный трубопровод имеет первую часть, в которой поперечное сечение первого трубопровода и второго трубопровода выровнено в первом направлении, и вторую часть, в которой поперечное сечение первого трубопровода и второго трубопровода выровнено во втором направлении, отличном от направления первой части.

13. Вакуумное адиабатическое тело, содержащее: первую пластину для первого пространства; вторую пластину для второго пространства; третье пространство, предусмотренное между первой пластиной и второй пластиной и сконфигурированное как вакуумное пространство; и теплообменный трубопровод, содержащий первый трубопровод и второй трубопровод; при этом первый трубопровод и второй трубопровод расположены в вертикальном направлении направления удлинения вакуумного пространства, в вакуумном пространстве.

14. Вакуумное адиабатическое тело, содержащее: первую пластину для первого пространства; вторую пластину для второго пространства; третье пространство, предусмотренное между первой пластиной и второй пластиной и сконфигурированное как вакуумное пространство; и по меньшей мере один уплотнительный элемент, включающий в себя первый трубопровод или второй трубопровод, при этом уплотнительный элемент соединен с первой пластиной или второй пластиной посредством сварной части.

15. Вакуумное адиабатическое тело по п. 14, в котором сварная часть закрыта отделочным элементом.

Документы, цитированные в отчете о поиске Патент 2025 года RU2840876C2

KR 1020190070753 A, 21.06.2019
KR 100343719 B1, 20.07.2002
KR 1020130049495 A, 14.05.2013
ТЕПЛОИЗОЛЯЦИОННЫЙ КОРОБЧАТЫЙ КОРПУС И ХОЛОДИЛЬНИК 2014
  • Ханаока Соу
  • Накацу Сатоси
  • Сакамото Кацумаса
  • Иида Саори
  • Накасима Хироси
  • Оиси Такаси
RU2629967C2
ХОЛОДИЛЬНИК 2014
  • Ханаока Соу
  • Накацу Сатоси
  • Сакамото Кацумаса
  • Сугисаки Саори
  • Накасима Хироси
  • Оиси Такаси
RU2632941C2

RU 2 840 876 C2

Авторы

Дзунг, Вонйеонг

Ким, Даевоонг

Нам, Хиеунсик

Ли, Дзангсеок

Даты

2025-05-29Публикация

2019-06-25Подача