Настоящее изобретение относится к колпачку с односторонним клапаном для контейнера для жидкости, предпочтительно к колпачку такого типа, который соединяется с отверстием контейнера, например, ПЭТ-бутылки, хотя он может быть также использован в других типах контейнеров, например, в бутылках, используемых велосипедистами или спортсменами. В частности, колпачок, описанный в заявке, применим к контейнеру для жидкости и содержит мундштук для выпуска жидкости, поднимающийся с поверхности, который также включает в себя отверстие с односторонним клапаном, который позволяет воздуху входить внутрь контейнера, но препятствует выходу жидкости из него. Колпачок также имеет периметральную стенку для установки колпачка на отверстие контейнера для жидкости. Колпачок настоящего изобретения обеспечивает доступ воздуха к отверстию с односторонним клапаном без прерывания, т.е. поддерживает подачу воздуха, даже если это отверстие заблокировано губами пользователя, когда указанный пользователь вставляет мундштук в рот, чтобы попить.
Настоящее изобретение применимо в секторе укупорочных средств для контейнеров для жидкости, в частности укупорочных средств для контейнеров с напитками, в основном водой, изотоническими напитками, прохладительными напитками и соками, а также емкостей для соусов и других пищевых продуктов, которые являются жидкими или частично жидкими, среди прочего.
ПРЕДПОСЫЛКИ ИЗОБРЕТЕНИЯ
В данной области техники известны укупорочные устройства для контейнеров для жидкости, которые включают в себя отверстие для выхода жидкости из контейнера и отверстие для входа в него воздуха, так что указанный вход воздуха облегчает выход жидкости. Примерами указанных укупорочных устройств используются на чашках или бутылках большого диаметра, особенно используемых маленькими детьми и пожилыми людьми.
Аналогичным образом в укупорочное устройство могут быть встроены различные механизмы для предотвращения выхода жидкости через отверстие входа воздуха. Эти механизмы состоят из элементов, которые облегчают пользователю или потребителю питье жидкости. Указанные укупорочные устройства в основном состоят из элементов, соединенных с корпусом колпачка или встроенных в корпус колпачка, в частности, односторонних клапанов, которые предотвращают выход жидкости из внутреннего пространства контейнера при ее потреблении, но позволяют воздуху входить в контейнер для обеспечения плавного выхода жидкости. В случае элементов, соединенных с колпачком, они изготовлены из материалов со специфическими характеристиками, таких как латекс или силикон, тогда как в случае интеграции в корпус колпачка материал клапана такой же, как и материал остальной части колпачка.
Таким образом, в настоящее время существуют колпачки для бутылок указанного выше типа для минеральной воды, безалкогольных напитков и изотонических напитков, которые имеют только отверстие для выхода жидкости, которое настолько мало, что потребителю приходится всасывать, чтобы извлечь жидкость, или сжимать емкость или контейнер, если его материал позволяет это, чтобы пить непосредственно из струи, вытекающей из отверстия выхода жидкости. Если потребитель сосет, то возникают проблемы, вызванные указанным всасыванием, такие как необходимость прекратить всасывание, чтобы сделать вдох и быть способным продолжить питье, а также деформация из-за смятия контейнера, беспорядочное сморщивание и/или смятие во время всасывания, что приводит к изменению формы контейнера, особенно если он изготовлен из ПЭТ, из-за чего его трудно удерживать. Эти проблемы усугубляются, если потребителями являются маленькие дети, выздоравливающие или пожилые люди, которым необходимо остановиться, чтобы сделать вдох, что подвергает их риску проглотить большое количество жидкости из-за неконтролируемого всасывания с последующим риском удушья. Аналогично, в колпачках уровня техники при прекращении питья создается эффект всасывания, который доставляет неудобства потребителю.
Аналогичным образом, колпачок, являющийся объектом изобретения, может быть применен и к емкостям для соусов и других пищевых продуктов.
Известны также колпачки, которые включают на поверхности одного и того же корпуса колпачка или укупорочного устройства отверстие для выхода жидкости и отверстие для входа воздуха с клапаном, который регулирует вхождение воздуха в контейнер и предотвращает выход содержащейся в нем жидкости, или односторонний клапан, указанный клапан встроен в корпус колпачка или укупорочного устройства, образуя единый корпус или часть из одного и того же единого материала, т.е. указанный клапан является частью той же части, что и колпачок с его выходным отверстием. Проблема, которую могут иметь эти колпачки или укупорочные устройства с отверстием выхода жидкости из контейнера и отверстием для входа воздуха в контейнер, с односторонним клапаном или без него, заключается в том, что пользователь, вставляя отверстие для выхода жидкости в рот, блокирует своими губами отверстие для входа воздуха, тем самым препятствуя попаданию воздуха в контейнер одновременно с выходом жидкости. Эта проблема особенно очевидна в колпачках, в которых отверстие выхода жидкости, расположенное в мундштуке, расположено близко к отверстию входа воздуха, поскольку в колпачках такого типа пользователь может блокировать указанное отверстие входа воздуха своими губами.
Таким образом, объектом настоящего изобретения является колпачок, который содержит систему подачи воздуха, обеспечивающую вхождение воздуха в указанное отверстие, где расположен односторонний клапан, позволяя воздуху входить в контейнер независимо от того, заблокировано ли отверстие входа воздуха или нет.
ОПИСАНИЕ ИЗОБРЕТЕНИЯ
Объектом настоящего изобретения является колпачок для контейнера для жидкости согласно п. 1 формулы. В частности, колпачок, являющийся объектом изобретения содержит:
- периметральную стенку, которая может быть установлена на отверстие контейнера для жидкости, и
- первую поверхность, имеющую по меньшей мере один мундштук, который поднимается от указанной поверхности, и с по меньшей мере одним первым отверстием для выхода жидкости из контейнера, первая поверхность также имеет по меньшей мере одно второе отверстие для входа воздуха в контейнер и это второе отверстие имеет односторонний клапан, который позволяет воздуху входить в контейнер, но препятствует выходу жидкости, и
- систему подачи воздуха, которая продолжается от периметральной стенки до второго отверстия для проведения воздуха к указанному второму отверстию от периметральной стенки.
Указанная система подачи воздуха может быть образована:
- Двумя корпусами колпачка, обращенными друг к другу, определяющими камеру или канал, который соединяет вышеупомянутое второе отверстие и односторонний клапан со внешней средой, гарантируя, что воздух достигает указанного второго отверстия, и
- Корпусом колпачка и губами пользователя, образующими камеру или канал между каналом в корпусе колпачка и губами пользователя, так что вышеупомянутое второе отверстие и односторонний клапан сообщаются со внешней средой, когда указанное второе отверстие заблокировано губами пользователя.
Далее будут описаны различные конструктивные варианты колпачка с системой подачи воздуха, обеспечивающей поступление воздуха к указанному второму отверстию.
Первый вариант состоит из периметральной стенки и первой поверхности колпачка, образующих единый корпус, указанная первая поверхность содержит по меньшей мере один первый канал, который по меньшей мере частично окружает мундштук и соединен со вторым отверстием, указанный первый канал соединен с периметральной стенкой через по меньшей мере один второй канал, указанные каналы определяют канал системы подачи воздуха, который позволяет воздуху циркулировать от периметральной стенки ко второму отверстию.
В этом варианте, когда пользователь вставляет мундштук в рот, его или ее губы не только блокируют второе отверстие, но и могут частично покрывать первый канал и даже часть второго канала или каналов. Однако за счет глубины каналов, сообщающихся со вторым отверстием и с односторонним клапаном не только на поверхности последнего, обеспечивается циркуляция воздуха, так как губы не входят в каналы, а остаются на их поверхности. Губы препятствуют проникновению воздуха через верхний участок канала, открытый наружу, но не препятствуют проникновению воздуха через отверстия во вторых каналах, расположенных в периметральной стенке колпачка. Таким образом, между губами и каналами образуется камера или канал, образующий систему циркуляции воздуха колпачка.
В другом варианте колпачок образован двумя корпусами вместо одного, так что первая поверхность с мундштуком и вторым отверстием с односторонним клапаном расположена в первом корпусе, а периметральная стенка расположена во втором корпусе. Указанный второй корпус имеет поверхность с отверстием, в которое вставляется мундштук так, что второй корпус находится над первым корпусом. В этом варианте система подачи воздуха образована по меньшей мере одним каналом или камерой, расположенной между первой поверхностью первого корпуса и второй поверхностью второго корпуса, и указанный канал или камера сообщается со внешней средой колпачка через по меньшей мере одно третье отверстие, расположенное в периметральной стенке второго корпуса, чтобы позволить воздуху входить в указанную систему подачи воздуха. Через указанные третьи отверстия воздух входит в пространство между обоими корпусами, имея возможность доступа ко второму отверстию и одностороннему клапану, поскольку вторая поверхность указанного второго корпуса препятствует вхождению в контакт губ пользователя со вторым отверстием, поскольку они отделены от первой поверхности первого корпуса.
Что касается этого последнего варианта, первая поверхность первого корпуса может быть по существу гладкой или может иметь по меньшей мере один первый канал. Если у него есть первый канал, он будет соединен со вторым отверстием, а также соединен с по меньшей мере третьим отверстием в периметральной стенке второго корпуса через по меньшей мере один второй канал, тем самым определяя систему подачи воздуха, позволяя воздуху циркулировать от третьего отверстия ко второму отверстию через каналы.
Вторая поверхность второго корпуса также может быть по существу гладкой или иметь по меньшей мере один третий канал. Если он имеет указанный третий канал, он будет соединен с по меньшей мере третьим отверстием в периметральной стенке второго корпуса через по меньшей мере один четвертый канал, указанный третий канал по меньшей мере частично перекрывает второе отверстие второго корпуса.
В соответствии с вышеизложенным, возможно иметь первый корпус с каналами или без них и второй корпус с каналами или без них, имея возможность комбинировать их для получения колпачка с системой подачи воздуха снаружи ко второму отверстию с односторонним клапаном.
В альтернативном колпачке с первой комбинацией первого и второго корпуса вторая поверхность второго корпуса содержит на своей нижней стороне третий канал, комплементарный первому каналу первого корпуса, и четвертый канал, комплементарный второму каналу первого корпуса, определяющие канал системы подачи воздуха, второй и четвертый каналы соединены с по меньшей мере третьим отверстием в периметральной стенке, позволяя воздуху циркулировать из третьего отверстия во второе отверстие через канал системы подачи воздуха. Таким образом, первая поверхность первого корпуса контактирует со второй поверхностью второго корпуса по всей ее площади, за исключением площади, занятой каналами, определяющими канал системы подачи воздуха.
В другом варианте колпачка со второй комбинацией первого и второго корпуса первый корпус имеет вышеупомянутые каналы, а второй корпус имеет по существу гладкую поверхность. Как и в предыдущем случае, первая поверхность первого корпуса может контактировать со второй поверхностью второго корпуса по всей ее площади, за исключением площади, занятой каналами, определяющими канал системы подачи воздуха.
В еще одном варианте колпачка со второй комбинацией первого и второго корпуса первый корпус имеет по существу гладкую поверхность, а второй корпус имеет вышеупомянутые каналы. В этом случае первая поверхность первого корпуса может также контактировать со второй поверхностью второго корпуса по всей ее площади, за исключением площади, занятой каналами, определяющими канал системы подачи воздуха.
В другой альтернативной конфигурации колпачка возможно, что первая поверхность первого корпуса и вторая поверхность второго корпуса не контактируют. В этой конфигурации канал системы подачи воздуха определяется второй поверхностью второго корпуса, первой поверхностью первого корпуса и периметральной стенкой второго корпуса, вторая поверхность и первая поверхность отделены друг от друга, а по меньшей мере одно третье отверстие в периметральной стенке расположено в указанном зазоре. Такая конфигурация необходима, когда поверхности корпусов не содержат каналов, но она необязательна, если указанные поверхности, одна или обе, содержат указанные каналы.
Таким образом, и в соответствии с вышеизложенным, система подачи воздуха, состоящая из расположенных в ней корпусов или каналов, в виде воздушной камеры или воздуховода, может быть определена:
- Воздушной камерой или каналом в колпачке, образованном двумя корпусами согласно настоящему изобретению, определенным первой поверхностью первого корпуса, второй поверхностью второго корпуса и периметральной стенкой второго корпуса, первая поверхность и вторая поверхность отделены друг от друга, определяя воздушную камеру или канал, соединенные со внешней средой колпачка через по меньшей мере одно третье отверстие в периметральной стенке. Таким образом, зазор между первой и второй поверхностями первого и второго корпуса соответственно больше высоты по меньшей мере указанного третьего отверстия.
- Воздушной камерой или каналом в колпачке, образованном двумя корпусами согласно настоящему изобретению, определенным первой поверхностью первого корпуса с по меньшей мере одним первым каналом, соединенным со вторым отверстием, определяющим камеру, а также соединенным с по меньшей мере третьим отверстием в периметральной стенке через по меньшей мере один второй канал, позволяя воздуху циркулировать из третьего отверстия во второе отверстие через первый и второй каналы. Канал или камера может быть также определен, если во втором корпусе расположены третий и четвертый каналы.
Предпочтительно, в этом варианте вторая поверхность второго корпуса контактирует с первой верхней поверхностью первого корпуса по всей ее площади, за исключением площади, занятой каналами, которые таким образом определяют воздушную камеру. В любом случае указанные поверхности также могут быть отделены друг от друга.
Эти каналы увеличивают объем воздушной камеры и помогают направлять воздух из третьего отверстия или отверстий ко второму отверстию.
- Воздушная камера или канал в колпачке, образованном двумя корпусами согласно настоящему изобретению, определенный второй поверхностью второго корпуса, которая имеет на своей нижней стороне третий канал, комплементарный первому каналу первого корпуса, и четвертый канал, комплементарный первому каналу первого корпуса, оба канала определяют воздушную камеру, так что второй и четвертый каналы соединены с по меньшей мере третьим отверстием в периметральной стенке, позволяя воздуху циркулировать из третьего отверстия ко второму отверстию через вышеупомянутые комплементарные каналы, первый и третий каналы и второй и четвертый каналы. Предпочтительно, в этом варианте вторая поверхность второго корпуса контактирует с первой верхней поверхностью первого корпуса по всей ее площади, за исключением площади, занятой каналами, которые таким образом определяют воздушную камеру, хотя поверхности также могут быть отделены друг от друга.
- Воздуховод или камера в колпачке, образованном единым корпусом согласно настоящему изобретению, определенным каналами первого корпуса и губами пользователя на указанных каналах.
В общем случае периметральная стенка первого корпуса будет иметь столько третьих отверстий, сколько необходимо для обеспечения входа воздуха в камеру. Предпочтительно, в указанной периметральной стенке будет расположено четыре третьих равноудаленных друг от друга отверстия. Аналогично, третьи отверстия могут иметь одинаковую форму и размер или разные формы и размеры.
Первый и третий каналы, либо в первом корпусе, либо во втором корпусе колпачков, состоящих из двух корпусов, либо первые каналы в колпачке одного корпуса, предпочтительно окружают мундштук.
В колпачках, состоящих из двух частей или корпусов, вторая поверхность второго корпуса может иметь прорезь, отделенную от отверстия, в которое вставляется мундштук. Предпочтительно, эта прорезь совмещена со вторым отверстием первой поверхности, либо для облегчения доступа воздуха в случае, если пользователь не блокирует указанную прорезь, либо для обеспечения прохождения через нее выступа, блокирующего второе отверстие, когда колпачок не используется.
Колпачок может иметь колпак или крышку, закрывающий отверстия, когда он не используется. Указанный колпак или крышка могут иметь внутренние выступы, предназначенные для блокирования первых отверстий, вторых отверстий и прорезей. Указанную крышку или колпачок предпочтительно прикреплена, в случае колпачка с двумя корпусами, ко второму корпусу. Если колпачок имеет только один корпус, то к нему будет прикреплен колпак или крышка.
Колпачок предпочтительно имеет соединительные средства для соединения с контейнером, в частности с отверстием указанного контейнера. Предпочтительно, указанные соединительные средства встроены в периметральную стенку. Более предпочтительно, указанные соединительные средства представляют собой резьбу для их присоединения к контейнеру, расположенную на периметральной стенке колпачка. Более предпочтительно, указанная резьба располагается внутри периметральной стенки, хотя она может располагаться и снаружи нее.
Предпочтительно, отверстие выхода жидкости открыто, хотя оно может иметь клапан некоторого типа, например, из латекса или силикона, для регулирования выхода жидкости при сосании.
Для использования варианта колпачка с двумя корпусами, являющегося объектом настоящего изобретения, пользователь вставляет мундштук выхода жидкости в свой рот, и для обеспечения доступа воздуха ко второму отверстию входа воздуха, даже в колпачках с прорезью входа воздуха в первой поверхности, которая может быть заблокирована губами пользователя, воздух входит в воздушную камеру, расположенную между двумя корпусами, составляющими колпачок, через третьи отверстия в периметральной стенке первого корпуса.
Таким образом, когда пользователь сосет жидкость через первое отверстие, воздух вводится через третье отверстие первого корпуса, достигает воздушной камеры, а оттуда он достигает второго отверстия, через которое он вводится в контейнер.
Как упоминалось, второе отверстие входа воздуха оснащено односторонним клапаном, который позволяет воздуху входить в контейнер, но не допускает выхода жидкости из указанного контейнера. Предпочтительно, этот клапан встроен в корпус второй поверхности и изготовлен из того же материала, что и указанный корпус. В качестве альтернативы это может быть элемент, добавленный к указанному второму корпусу, изготовленный из такого материала, как силикон или латекс. Этот клапан предотвращает выход жидкости из второго отверстия, когда пользователь прекращает сосание через первое отверстие и контейнер поворачивается.
В предпочтительном варианте, когда клапан изготовлен из того же материала, что и корпус второй поверхности, и интегрирован в него, этим материалом будет жесткий или полужесткий пластик, предпочтительно полиэтилен, с высокой прочностью и низкой или нулевой упругостью, в основном по сравнению с материалами типа латекса или силикона, которые обладают значительной упругостью. Аналогично, когда колпачок содержит два корпуса, первый корпус также будет изготовлен из жесткого или полужесткого пластика, предпочтительно полиэтиленового типа, с высокой прочностью и низкой или нулевой упругостью, в основном по сравнению с материалами типа латекса или силикона, которые обладают значительной упругостью.
Односторонний клапан или воздушный регулятор, как уже упоминалось, позволяет воздуху входить во время сосания жидкости, содержащейся внутри емкости или контейнера, но препятствует выходу жидкости, когда сосание отсутствует на первом отверстии выхода жидкости, в этом случае позволяя жидкости выходить только через отверстие, предназначенное для этой цели. Другими словами, когда пользователь сосет через первое отверстие выхода жидкости, чтобы пить, клапан открывается, позволяя воздуху входить внутрь контейнера, тем самым облегчая питье жидкости. Колпачок с односторонним клапаном позволяет при сжатии емкости потоку жидкости выходить через первое отверстие выхода жидкости, удерживая клапан закрытым и предотвращая как выход жидкости из-за точности, оказываемой жидкостью на клапан, так и вхождение воздуха в емкость через второе отверстие входа воздуха.
Предпочтительно, указанный обратный или регулирующий клапан, описанный в патентной заявке ЕР 2743201 А1, изготовлен из того же жесткого или полужесткого материала с низкой или нулевой упругостью в твердом состоянии, как и остальная часть второго корпуса, и состоит из трубчатого, но не обязательно цилиндрического, корпуса с двумя концами, так что первый конец находится в контакте с нижней поверхностью колпачка, при этом стенки трубчатого корпуса или канала окружают отверстие входа воздуха на нижней стороне колпачка, а второй свободный конец, противоположный первому концу, имеет свои стенки в контакте друг с другом, закрывая трубчатый корпус, так что сечение корпуса клапана в закрытом положении имеет приблизительно треугольную форму. Таким образом, при установке колпачка на контейнер указанный трубчатый корпус вставляется в него так, что в состоянии покоя трубчатый корпус, соединенный с нижней поверхностью колпачка, закрыт на своем свободном конце, а в рабочем положении, когда человек пьет, указанный свободный конец открывается, позволяя воздуху циркулировать по направлению ко внутреннему пространству контейнера, имеющему приблизительно прямоугольное сечение.
Колпачок, в основном его первый корпус, является по существу цилиндрическим для соединения с отверстием контейнера для жидкости, обычно также цилиндрическим. В любом случае, формы, отличные от цилиндрической формы, также могут быть рассмотрены путем адаптации соединительных средств между первым корпусом и контейнером. Колпачок устанавливается на контейнере с помощью соединительных средств, которые предпочтительно представляют собой резьбу или прижимные элементы и которые предпочтительно расположены на внутренней поверхности боковой или периметральной стенки колпачка, как указано выше.
Корпуса колпачков изготовлены с использованием метода одноэтапного литья под давлением из одной формы. Аналогично, второй корпус колпачка, если он включает в себя клапан, может быть изготовлен из двух разных материалов или из по меньшей мере двух материалов, но с аналогичными свойствами и, в частности, аналогичной жесткостью, которые образуют единый корпус с интегрированным в него клапаном. После изготовления обоих корпусов их соединяют вставкой мундштука первого корпуса во второй корпус через отверстие в последнем.
Предпочтительно, колпачок, являющийся объектом настоящего изобретения имеет диаметр приблизительно 3,2 см, что является типичным диаметром для емкостей объемом 0,33 и 0,5 литра, содержащих воду, а расстояние между осью отверстия выхода жидкости и осью отверстия входа воздуха составляет приблизительно 1,3 см, это расстояние может варьироваться между 1 и 1,5 см.
Колпачок, являющийся объектом настоящего изобретения, предпочтительно применяется для бутылок для воды или безалкогольных напитков, хотя он также может быть использован для потребления изотонических напитков. Аналогичным образом колпачок, являющийся объектом изобретения, может быть также применен к емкостям для соусов и других пищевых продуктов.
Предпочтительно, материал, используемый для изготовления колпачка, являющегося объектом настоящего изобретения, представляет собой полиэтилен низкой плотности или полипропиленовую смолу с плотностью между 0,85 и 1,2 г/см3, более предпочтительно между 0,9 и 0,95 г/см3. Некоторыми материалами, которые могут быть использованы, среди прочих, являются РР575Р или PP412MN40 от SABIC, PR280P1M от ISPLEN (REPSOL) или LDPE LD 104BR от ExxonMobil, а также полиматериалы и биокомпостируемые материалы.
ОПИСАНИЕ ЧЕРТЕЖЕЙ
В качестве дополнения к описанию объекта создаваемого изобретения и с целью сделать отличительные признаки более понятными, настоящее описание сопровождается чертежами, которые в качестве иллюстрации, а не ограничения, представляют следующее:
На Фиг. 1 показан вид сверху первого варианта выполнения второго корпуса колпачка с крышкой в перспективе, являющегося объектом настоящего изобретения.
На Фиг. 2 показан вид сверху первого варианта выполнения первого корпуса колпачка в перспективе, являющегося объектом настоящего изобретения.
На Фиг. 3 показан вид снизу второго корпуса колпачка в перспективе, показанного на Фиг. 1.
На Фиг. 4 показан вид снизу первого корпуса колпачка в перспективе, показанного на Фиг. 2.
На Фиг. 5 показан вид сверху примерного варианта выполнения колпачка в перспективе, являющегося объектом изобретения, соединенного с контейнером для жидкости, бутылкой или емкостью.
На Фиг. 6 показан пользователь, использующий примерный вариант выполнения колпачка, являющегося объектом изобретения, соединенного с контейнером или емкостью с жидкостью.
На Фиг. 7 показан вид первого варианта выполнения колпачка в сечении в перспективе, являющегося объектом изобретения, включающего потоки воздуха и жидкости во время его использования.
На Фиг. 8 показан вид сверху второго варианта выполнения второго корпуса колпачка с крышкой в перспективе, являющегося объектом настоящего изобретения.
На Фиг. 9 показан вид сверху второго варианта выполнения первого корпуса колпачка в перспективе, являющегося объектом настоящего изобретения.
На Фиг. 10 показан вид снизу второго корпуса колпачка в перспективе, показанного на Фиг. 8.
На Фиг. 11 показано первое сечение первого варианта выполнения колпачка.
На Фиг. 12 показано второе сечение первого варианта выполнения колпачка.
На Фиг. 13 показано первое сечение второго варианта выполнения колпачка.
На Фиг. 14 показано второе сечение второго варианта выполнения колпачка.
На Фиг. 15 показано сечение третьего варианта выполнения колпачка.
На Фиг. 16 показано сечение четвертого варианта выполнения колпачка.
На Фиг. 17 показан вид сверху пятого варианта выполнения колпачка из одного корпуса в перспективе согласно изобретению.
На Фиг. 18 показано сечение пятого варианта выполнения колпачка из одного корпуса в перспективе.
ПРЕДПОЧТИТЕЛЬНЫЕ ВАРИАНТЫ ВЫПОЛНЕНИЯ ИЗОБРЕТЕНИЯ
С учетом вышеупомянутых фигур и в соответствии с принятой нумерацией на них можно рассмотреть предпочтительные примерные варианты выполнения изобретения, которые содержат детали и элементы, подробно описанные ниже. Таким образом, на фигурах прослеживается до пяти предпочтительных вариантов выполнения колпачка, являющегося объектом настоящего изобретения.
Как видно из указанных фигур, колпачок контейнера, емкости или бутылки для жидкости, являющийся объектом настоящей заявки, обычно содержит:
- периметральную стенку (16, 106, 516), которая может быть установлена на отверстие контейнера для жидкости,
- первую поверхность (25, 205, 525), имеющую по меньшей мере один мундштук (24, 204, 524), который поднимается от указанной поверхности (25, 205, 525) и с по меньшей мере одним первым отверстием (21, 201, 521) для выхода жидкости из контейнера, первая поверхность (25, 205, 525) также имеет по меньшей мере одно второе отверстие (22, 202, 522) для входа воздуха в контейнер, и это второе отверстие (22, 202, 522) имеет односторонний клапан (23, 203, 523), который позволяет воздуху входить в контейнер, но препятствует выходу жидкости, и
- систему подачи воздуха (40, 41, 42, 43, 44), которая продолжается от периметральной стенки (16, 106, 516) до второго отверстия (22, 202, 522) для проведения воздуха к указанному второму отверстию (22, 202, 522) от периметральной стенки (16, 106, 516).
Настоящее изобретение демонстрирует на Фиг. 1-16 различные примеры колпачков, содержащих два корпуса, первый корпус (20, 200) и второй корпус (10, 100), тогда как Фиг. 17 и 18 показывают примерный вариант выполнения с одним корпусом (500).
Примеры на Фиг. 1-16 имеют колпачок, в котором:
- первая поверхность (25, 205) расположена в первом корпусе (20, 200),
- периметральная стенка (16, 206) расположена во втором корпусе (10, 100), образованном второй поверхностью (11, 101) с отверстием (13, 103) для вставки мундштука (24, 204) первого корпуса (200), и
- система подачи воздуха (40, 45) представляет собой по меньшей мере один канал (108, 109, 204, 209), расположенный между первой поверхностью (25, 205) первого корпуса (20, 200) и второй поверхностью (11, 101) второго корпуса (10, 100), сообщающийся со внешней средой колпачка через по меньшей мере одно третье отверстие (14, 104), расположенное в периметральной стенке (16, 106) второго корпуса (10, 100) чтобы позволять воздуху (А) входить в указанную систему подачи воздуха (40, 45).
На этих Фиг. 1-16 показано до четырех вариантов выполнения изобретения, в которых воздушная камера 40, 41, 42, 43 расположена между второй поверхностью 11 второго корпуса 10, 100 и первой поверхностью 25, 205 первого корпуса 20, 200, воздушная камера 40, 41, 42, 43, 44 соединена со внешней средой колпачка, когда указанный колпачок соединен с контейнером 30 через третьи отверстия 14, 104, расположенные в периметральной стенке 16, 106 первого корпуса.
Более конкретно, на Фиг. 1 и 3 показан первый вариант выполнения второго корпуса 10, имеющего вторую поверхность 11, по существу плоскую или гладкую, окруженную периметральной стенкой 16, которая включает средства (не показаны) для ее соединения с отверстием контейнера или емкости 30, содержащей жидкость, подлежащую введению через колпачок, являющийся объектом настоящего изобретения. Указанная вторая поверхность 11 имеет отверстие 13 и, предпочтительно, прорезь 15 рядом с отверстием 113. Аналогично, периметральная стенка имеет по меньшей мере одно третье отверстие 14, предпочтительно четыре, расположенных отдельно в указанной периметральной стенке 16. Первый корпус может включать колпак или крышку 12, которая устанавливается на первый корпус 11, блокируя разные отверстия 15, 14. Указанная крышка или колпак 12 могут содержать внутренние выступы 17, которые вставляются по меньшей мере частично в различные отверстия колпачка для их блокировки. Крышка или колпак 12 может содержать закрывающие средства 18, которые дополняются закрывающими средствами 19 в первом корпусе 11. В данном примере показан фланцеобразный выступ 18, вставленный в углубление 19. Материалом второго корпуса 10 колпачка предпочтительно является жесткий или полужесткий пластик в твердом состоянии, предпочтительно полиэтилен, и хотя он гибкий, он не является упругим в указанном состоянии.
Первый вариант выполнения первого корпуса 20, показанный на Фиг. 2 и 4, имеет мундштук 24, который выходит из первой поверхности 25, по существу плоской или гладкой, и имеет первое отверстие выхода жидкости 21, расположенное на свободном конце мундштука 24. Этот первый корпус имеет второе отверстие 22 для входа воздуха, которое в данном примере имеет форму прорези. Это второе отверстие входа воздуха 22 также имеет односторонний клапан 23 в нижнем участке первой поверхности 25, нижний участок, который будет обращен к корпусу контейнера или емкости 30, когда к нему присоединен колпачок. В этом примере клапан 23 образует часть второго корпуса 20 колпачка 1, поскольку он изготовлен из того же материала, что и указанный колпачок, и с использованием того же производственного процесса. Материалом первого корпуса 20 колпачка предпочтительно является жесткий или полужесткий пластик в твердом состоянии, предпочтительно полиэтилен, и хотя он гибкий, он не является упругим в указанном состоянии. В любом случае, первый корпус 20 также может быть из двух или более материалов - по меньшей мере одного для первого корпуса 20 и другого для клапана - и он может быть изготовлен за одну или две инъекции, при условии, что они позволяют изготовить первый корпус 20 таким образом, чтобы компоненты образовали единый корпус или часть.
Односторонний клапан 23 в примерном варианте выполнения состоит из трубчатого корпуса, который образует часть первого корпуса 20 колпачка, при этом стенки первого конца указанного трубчатого корпуса окружают отверстие входа воздуха 22, а стенки второго конца указанного корпуса контактируют друг с другом, закрывая канал клапана 23. Односторонний клапан может быть изготовлен из силиконового или латексного элемента, соединенного с первым корпусом 20 и совпадающего со вторым отверстием 22.
На Фиг. 5 показан пример варианта выполнения колпачка 1 согласно изобретению с первым корпусом 20, соединенным со вторым корпусом 10, после вставки мундштука 24 первого корпуса 20 в отверстие 13 второй поверхности 11 второго корпуса 10. Основание мундштука 24 на первой поверхности первого корпуса 20 установлено в отверстие 13 второй поверхности первого корпуса 10, образуя таким образом колпачок 1. Прорезь 15 второй поверхности 11 второго корпуса 10 совмещена со вторым отверстием входа воздуха 22 на первой поверхности 25 первого корпуса 20. Прорезь 15 является необязательной.
Второй корпус 11 колпачка 1 имеет в качестве крепежного средства для крепления к контейнеру, емкости или бутылке 30 резьбу внутри периметральной стенки 16 второго корпуса 10 для установки на горлышко или отверстие контейнера, емкости или бутылки 30, а также крышку или колпак 12, выполненные за одно целое со вторым корпусом 10 колпачка 1. Как упоминалось, крышка 12 может включать в себя выступы, которые адаптируются к отверстию или отверстиям выхода жидкости 21, а также выступы 17, которые адаптируются к отверстию или отверстиям входа воздуха 22. Для того чтобы выступ 17 мог адаптироваться ко второму отверстию входа воздуха 22, необходимо, чтобы в первой поверхности 11 имелась прорезь 15, так чтобы указанный выступ 17 мог быть вставлен в прорезь 22.
На Фиг. 6 показан пользователь, пьющий из бутылки или контейнера 30 с колпачком, являющимся объектом изобретения. Колпачок позволяет употреблять напиток, находящийся внутри бутылки 30, комфортно и без риска вытекания жидкости через второе отверстие входа воздуха 22, поскольку он оснащен односторонним клапаном. Таким образом, потребитель будет всасывать через первое отверстие выхода жидкости 21 мундштука 24, создавая разрежение внутри контейнера или бутылки 30, что приведет к открытию одностороннего клапана 23 и, следовательно, вхождению воздуха внутрь контейнера или бутылки 30. Когда разрежение не создается, поскольку нет всасывания, клапан 23 закрывается и остается в этом положении.
На Фиг. 7 показано сечение в перспективе примерного варианта выполнения колпачка 1 согласно изобретению с первым корпусом 20, соединенным со вторым корпусом 10. Для обеспечения работы колпачка 1, как описано, необходимо обеспечить, чтобы воздух А достигал второго отверстия входа воздуха А 22 и, следовательно, клапана 23, расположенного в первом корпусе 20 колпачка 1, в то время как пользователь сосет через первое отверстие выхода жидкости L 21. Естественным доступом воздуха А ко второму отверстию входа воздуха А 22 является прорезь 15, расположенная в первом корпусе 10, однако эта прорезь 15 может быть заблокирована губами пользователя, когда указанный пользователь вставляет мундштук 24 в свой рот, чтобы сосать жидкость L через первое отверстие 21.
Таким образом, в случае, если эта прорезь 15 заблокирована или эта прорезь 15 не обеспечена в первом корпусе, необходимо облегчить доступ воздуха А ко второму отверстию входа воздуха А 22, что достигается с учетом расположения третьих отверстий входа воздуха А 14 внутри колпачка. Эти третьи отверстия 14 обеспечивают доступ к воздушной камере 40, образованной при создании канала между вторым корпусом 10 и первым корпусом 20, в частности, между второй поверхностью 11 второго корпуса 10, первой поверхностью 25 первого корпуса 20 и периметральной стенкой 16 второго корпуса. Таким образом, колпачок 1 позволяет, как уже описано выше, употреблять напиток, находящийся внутри бутылки 30, комфортно и без риска вытекания жидкости из бутылки 30 через второе отверстие входа воздуха 22. Когда потребитель или пользователь желает пить непосредственно из бутылки 30, он или она может либо сосать, либо пить из струи напитка.
Если пользователь сосет через первое отверстие выхода жидкости L 21 через мундштук или носик 23, внутри бутылки 30 создается разрежение, которое заставляет односторонний клапан 23 открываться, тем самым позволяя воздуху А входить внутрь бутылки, поскольку указанный воздух проходит через третьи отверстия 14, достигает воздушной камеры 40 и оттуда достигает второго отверстия 22, чтобы после прохождения через клапан 23 достичь внутреннего пространства бутылки 30. Чем больше всасывание, тем больше отверстие клапана 23, тем больше вход воздуха А и, следовательно, больше будет выход жидкости L. Наоборот, происходит то же самое, так как когда разрежение не создается, потому что в отсутствие всасывания клапан 23 закрывается.
Если пользователь желает пить из струи напитка, т.е. непосредственно из струи, которая выходит через первое отверстие выхода жидкости L 21 колпачка 1, он или она может сжать указанную бутылку 30 снаружи, если бутылка 30 позволяет это, так что клапан 23 будет герметизирован сжимающим действием жидкости L внутри бутылки 30 на нее, заставляя жидкость 30 выходить через первое отверстие выхода жидкости L 21, как если бы колпачок 1 имел только одно отверстие в своей поверхности.
Работа колпачка, являющегося объектом изобретения, описанная выше для примерного варианта выполнения, представленного на Фиг. 1-7, применима также к примерным вариантам выполнения колпачков 2, 3, 4, 5, описанным ниже, а также на Фиг. 8-18.
Таким образом, на Фиг. 8 и 10 показан второй вариант выполнения второго корпуса 100 колпачка, являющегося объектом изобретения. Указанный второй корпус 100 имеет на нижней стороне своей второй поверхности 101 третий канал или каналы 109, которые продолжаются вблизи или вокруг отверстия 103 и соединены с третьими отверстиями 104, расположенными в периметральной стенке 106 первого корпуса 100, через четвертые каналы 108. Если второй корпус 101 включает в себя прорезь 105 в своей первой поверхности 101, то третьи каналы 109 будут описывать свою траекторию вблизи отверстия 103 от указанной прорези 105. Второй корпус 100 может включать колпак или крышку 102, которая может иметь выступы 107 в зависимости от отверстий, подлежащих закрытию в колпачке. Указанные третьи каналы 109 и четвертые каналы 108 предпочтительно имеют полукруглое сечение, хотя они также могут быть, например, квадратными или треугольными.
На Фиг. 9 показан второй примерный вариант выполнения первого корпуса 200 колпачка. Он включает в себя первый канал или каналы 209 в верхней стороне первой поверхности 205, которые предпочтительно продолжаются вблизи или вокруг основания мундштука 204 от второго отверстия входа воздуха 202, расположенного в первой поверхности 205 первого корпуса 200. Указанные первые каналы 209 соединяются с периферией или периметром первого корпуса 200 через вторые каналы 208. Указанные первые каналы 209 и вторые каналы 208 предпочтительно имеют полукруглое сечение, хотя оно также может быть, например, квадратным или треугольным.
Первые корпуса 20, 200 и вторые корпуса 10, 100 могут быть скомбинированы друг с другом неотчетливо для образования различных колпачков. Иногда может потребоваться внести небольшие изменения для правильного соединения двух корпусов. На Фиг. 11-16 показаны сечения четырех различных примеров колпачков 1, 2, 3, 4, образованных соединением первых корпусов 20, 200 и вторых корпусов 10, 100.
На Фиг. 11 и 12 показан колпачок 1, образованный первым примерным вариантом выполнения первого корпуса 20 (Фиг. 2 и 4), соединенный с первым примерным вариантом выполнения второго корпуса 10 (Фиг. 1 и 3). Между периметром мундштука 24 и отверстием 13 во втором корпусе 10 имеется посадка. В частности, это два сечения колпачка 1 на Фиг. 7. На этих сечениях система подачи воздуха 40 представлена в виде камеры или канала, расположенного между первой поверхностью 25 первого корпуса 20 и второй поверхностью 11 второго корпуса 10, отделенных друг от друга расстоянием, равным или большим высоты третьих отверстий 14. Аналогичным образом можно видеть как указанная камера 40 сообщается со внешней средой через третьи отверстия 14, расположенные во втором корпусе 10, и, в свою очередь, она сообщается со вторым отверстием 22 в первом корпусе 20 и, следовательно, с односторонним клапаном 23, образованным в самом первом корпусе 20. В этом колпачке 1 второй корпус 20 имеет прорезь 15, совмещенную со вторым отверстием 22, но указанная прорезь 15 может не находиться в указанном втором корпусе или, наоборот, может находиться, но не быть совмещенной со вторым отверстием 22.
На Фиг. 13 и 14 показан колпачок 2, образованный вторым примерным вариантом выполнения первого корпуса 200 (Фиг. 9) и вторым примерным вариантом выполнения второго корпуса 100 (Фиг. 8 и 10). Между периметром мундштука 204 и отверстием 103 во втором корпусе 10 имеется посадка. В указанных сечениях первый канал 209 и вторые каналы 208 первого корпуса 200 можно видеть обращенными, соответственно, к третьему каналу 109 и четвертым каналам 108 второго корпуса 100. Соединение первого канала 209 и третьего канала 109, а также соединение вторых каналов 208 и четвертых каналов 108 образуют систему подачи воздуха 41 колпачка 2, а именно канал или камеру, которая соединяет внешнюю среду колпачка 2 со вторым отверстием 202 первого корпуса 200. Вторые каналы 208 и четвертые каналы 108 сообщаются со внешней средой через третьи отверстия 104, выполненные в периметральной стенке 106 второго корпуса 100. В этом колпачке 2 первая поверхность 205 первого корпуса 200 контактирует со второй поверхностью 101 первого корпуса 100 по всей ее поверхности, за исключением мест расположения каналов 208, 209, 108, 109. Система подачи 41, образованная каналами, которые в свою очередь образованы каналами 208, 209, 108, 109, направляет воздух из третьих отверстий 104 во второе отверстие 202 первого корпуса 200, где расположен односторонний клапан 203, образованный в самом первом корпусе 200. В этом колпачке 2 второй корпус 200 имеет прорезь 105, совмещенную со вторым отверстием 202, но указанная прорезь 105 может отсутствовать в указанном втором корпусе или, наоборот, может находиться, но не быть совмещенной со вторым отверстием 202.
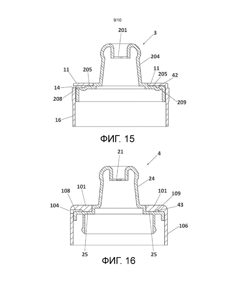
На Фиг. 15 показан колпачок 3, образованный вторым примерным вариантом выполнения первого корпуса 200 (Фиг. 9), соединенным с первым примерным вариантом выполнения второго корпуса 10 (Фиг. 1 и 3). В этом колпачке 3 система подачи воздуха 42 второго отверстия 202 и одностороннего клапана 203 (не показан) образована первым каналом 209 и вторыми каналами 208, выполненными в первой поверхности 205 первого корпуса 200, совмещенной со второй поверхностью 11 второго корпуса 10, первая поверхность 205 первого корпуса 200 контактирует со всей второй поверхностью 11 второго корпуса 10, за исключением мест, где встречаются каналы 209, 208. Сечение каналов 209, 208 может изменяться в зависимости от потребностей воздушного потока, который должен циркулировать через них. Вторые каналы 208 совмещены с третьими отверстиями 14 первого корпуса, чтобы позволять воздуху входить снаружи колпачка 3 во второе отверстие 202 и клапан 203 первого корпуса 200.
На Фиг. 16 показан колпачок 4, образованный первым примерным вариантом выполнения первого корпуса 20 (Фиг. 2 и 4), соединенным со вторым примерным вариантом выполнения второго корпуса 100 (Фиг. 8 и 10). В этом колпачке 4 система подачи воздуха 43 второго отверстия 22 и одностороннего клапана 23 (не показан) образована третьим каналом 109 и четвертыми каналами 108, выполненными во второй поверхности 25 второго корпуса 100, совмещенной с первой поверхностью 25 первого корпуса 20, первая поверхность 25 первого корпуса 20 находится в контакте со всей второй поверхностью 101 второго корпуса 100, за исключением мест, где каналы 109, 108 встречаются. Сечение каналов 109, 108 может изменяться в зависимости от потребностей воздушного потока, который должен циркулировать через них.
Четвертые каналы 108 являются продолжением третьих отверстий 104 по направлению ко внутреннему пространству второго корпуса 100, чтобы позволить воздуху входить снаружи колпачка 4 во второе отверстие 22 и клапан 23 первого корпуса 20, поскольку третий канал 109 проходит над вторым отверстием 22, соединяя указанный третий канал 109 с указанным вторым отверстием 22.
На сечениях Фиг. 11-16 крышка или колпак 12, 102, выполненная как единое целое со вторым корпусом 10, 100, не показана. Аналогично сечения каналов представлены полукруглыми, но они могут иметь и другие сечения с переменной глубиной и шириной в зависимости от потребностей.
На Фиг. 17 и 18 показан другой пример выполнения колпачка 5, который, в отличие от предыдущих, образован единым корпусом 500 с периметральной стенкой 516, которая установлена в отверстие контейнера для жидкости, и первой поверхностью 525. Эта поверхность 525 имеет мундштук 524, который поднимается от указанной поверхности 525 с первым отверстием 521 для выхода жидкости, а также имеет второе отверстие 522 для входа воздуха в контейнер. Это второе отверстие 522 имеет односторонний клапан 523, который позволяет воздуху входить в контейнер, но препятствует выходу жидкости. Колпачок имеет систему подачи воздуха 44, которая продолжается от периметральной стенки 516 до второго отверстия 522 для проведения воздуха к указанному второму отверстию 522 от периметральной стенки 516. В частности, указанная система подачи воздуха 44 образована первым каналом 509, который окружает мундштук 524, и вторыми каналами 508, которые сообщают указанный первый канал 509 с периметральной стенкой 516, в частности с отверстиями или проемами 504, выполненными в указанной стенке 516. Указанные отверстия или проемы 504 имеют большее сечение, чем сечение вторых каналов 508, для облегчения входа воздуха в систему подачи 44. В этом колпачке 5, когда пользователь вставляет мундштук 524 в свой рот, чтобы пить, его или ее губы, вероятно, будут закрывать как первый канал 509, так и второе отверстие входа воздуха 522, так что система подачи воздуха 44 будет состоять из канала, образованного губами пользователя, и дна каналов 509, 508, которые будут иметь достаточную глубину, чтобы гарантировать циркуляцию воздуха из отверстий или проемов 504 и второго отверстия 524 через вторые каналы 508 и первый канал 509. Предпочтительно, этот колпачок 5 имеет вторые каналы 508, сообщающиеся с первым каналом 509. Колпачок 5 также имеет колпак или крышку 512, выполненную за одно целое с корпусом 500 колпачка, со внутренними выступами 517, предназначенными для блокирования первого отверстия 521, расположенного в мундштуке 524, а также второго отверстия 522.
Изобретение относится к колпачку с односторонним клапаном для контейнера для жидкости, предпочтительно к колпачку такого типа, который соединяется с отверстием контейнера. Колпачок содержит по меньшей мере одно отверстие для выхода жидкости из контейнера и по меньшей мере одно отверстие для входа воздуха в контейнер, указанное отверстие входа воздуха включает в себя односторонний клапан, который позволяет воздуху входить, но не позволяет жидкости выходить через него. Технический результат заключается в обеспечении доступа воздуха к отверстию с односторонним клапаном без прерывания, т.е. поддерживается подача воздуха в контейнер независимо от того, заблокировано ли отверстие входа воздуха или нет. 14 з.п. ф-лы, 18 ил.
1. Колпачок для контейнера для жидкости, содержащий
периметральную стенку (16, 106, 516) для установки на отверстие контейнера для жидкости,
первую поверхность (25, 205, 525), имеющую по меньшей мере один мундштук (24, 204, 524), который поднимается от указанной поверхности (25, 205, 525) и с по меньшей мере одним первым отверстием (21, 201, 521) для выхода жидкости из контейнера, первая поверхность (25, 205, 525) также имеет по меньшей мере одно второе отверстие (22, 202, 522) для входа воздуха в контейнер, и это второе отверстие (22, 202, 522) имеет односторонний клапан (23, 203, 523), который позволяет воздуху входить в контейнер, но препятствует выходу жидкости,
отличающийся тем, что он содержит систему подачи воздуха (40, 41, 42, 43, 44), которая продолжается от отверстия или проема, расположенного в периметральной стенке (16, 106, 516), ко второму отверстию (22, 202, 522) для проведения воздуха к указанному второму отверстию (22, 202, 522) от периметральной стенки (16, 106, 516).
2. Колпачок по п. 1, отличающийся тем, что
первая поверхность (25, 205) расположена в первом корпусе (20, 200),
периметральная стенка (16, 206) расположена во втором корпусе (10, 100), образованном второй поверхностью (11, 101) с отверстием (13, 103) для вставки мундштука (24, 204) первого корпуса (200), и
система подачи воздуха (40, 41, 42, 43, 44) представляет собой по меньшей мере один канал (108, 109, 204, 209), расположенный между первой поверхностью (25, 205) первого корпуса (20, 200) и второй поверхностью (11, 101) второго корпуса (10, 100), сообщающийся со внешней средой колпачка через по меньшей мере одно третье отверстие (14, 104), расположенное в периметральной стенке (16, 106) второго корпуса (10, 100), чтобы позволять воздуху (А) входить в указанную систему подачи воздуха (40, 44).
3. Колпачок по п. 2, отличающийся тем, что первая поверхность (205) первого корпуса (200) содержит по меньшей мере один первый канал (209), соединенный со вторым отверстием (202), а также соединенный с по меньшей мере третьим отверстием (104) в периметральной стенке (106) через по меньшей мере один второй канал (208), определяющий систему подачи воздуха (41, 42), позволяющую воздуху (А) циркулировать из третьего отверстия (104) ко второму отверстию (202) через каналы (208, 209).
4. Колпачок по п. 2, отличающийся тем, что вторая поверхность (11) второго корпуса (100) содержит на своей нижней стороне третий канал (109), следующий по меньшей мере за третьим отверстием (104) в периметральной стенке (106) через по меньшей мере один четвертый канал (108); указанный третий канал (109) определяет систему подачи воздуха (41, 43).
5. Колпачок по п. 3, отличающийся тем, что вторая поверхность (11) второго корпуса (100) содержит на своей нижней стороне третий канал (109), комплементарный первому каналу (209) первого корпуса (200), и четвертый канал (108), комплементарный второму каналу (208) первого корпуса (200), определяющие канал системы подачи воздуха (41), второй канал (208) и четвертый канал (108) соединены с по меньшей мере третьим отверстием (104) в периметральной стенке (106), позволяя воздуху (А) циркулировать из третьего отверстия (104) ко второму отверстию (202) через канал системы подачи воздуха (44).
6. Колпачок по любому из пп. 3-5, отличающийся тем, что первая поверхность (205) первого корпуса (200) контактирует со второй поверхностью (101) второго корпуса (100) по всей ее площади, за исключением площади, занятой каналами (108, 109, 208, 209), определяющими канал системы подачи воздуха.
7. Колпачок по любому из пп. 2-5, отличающийся тем, что канал системы подачи воздуха (40) определен второй поверхностью (11) второго корпуса (10), первой поверхностью (25) первого корпуса (20) и периметральной стенкой (16) второго корпуса (10), вторая поверхность (11) и первая поверхность (25) отделены друг от друга, а по меньшей мере одно третье отверстие (14) в периметральной стенке (16) расположено в указанном зазоре.
8. Колпачок (5) по п. 1, отличающийся тем, что периметральная стенка (516) и первая поверхность (525) образуют единый корпус (500), указанная первая поверхность (525) содержит по меньшей мере один первый канал (509), который по меньшей мере частично окружает мундштук (524) и соединен со вторым отверстием (522), указанный первый канал (509) соединен с периметральной стенкой (516) через по меньшей мере один второй канал (508), указанные каналы (508, 509) определяют канал системы подачи воздуха (44), который позволяет воздуху (А) циркулировать от периметральной стенки (516) ко второму отверстию (522).
9. Колпачок по п. 2, отличающийся тем, что вторая поверхность (11, 101) второго корпуса имеет прорезь (15, 105), отделенную от отверстия (13, 103).
10. Колпачок по п. 9, отличающийся тем, что прорезь (15, 105) совмещена со вторым отверстием (22, 202) первой поверхности (25, 205) первого корпуса (20, 200).
11. Колпачок по п. 1, отличающийся тем, что он содержит соединительные средства для соединения с указанным контейнером, которые встроены в периметральную стенку (16, 106, 516).
12. Колпачок по п. 11, отличающийся тем, что указанные соединительные средства представляют собой резьбу для ее установки на контейнер, расположенную на периметральной стенке (16, 106, 516) колпачка.
13. Колпачок по п. 1, отличающийся тем, что он содержит колпак или крышку (12, 102, 512).
14. Колпачок по п. 13, отличающийся тем, что колпак или крышка (12, 102, 512) имеет внутренние выступы (17, 107, 517), предназначенные для блокирования первых отверстий (21, 201, 521), вторых отверстий (22, 202, 522) и прорезей (15, 105).
15. Колпачок по п. 1, отличающийся тем, что отверстие выхода жидкости (21, 201, 521) открыто.
| WO 2013171351 A1, 21.11.2013 | |||
| US 7044316 B1, 16.05.2006 | |||
| US 2020270026 A1, 27.08.2020 | |||
| Крышка | 2012 |
|
RU2631647C2 |
Авторы
Даты
2025-05-29—Публикация
2022-02-11—Подача