УСТРОЙСТВО ДЛЯ ГЕНЕРИРОВАНИЯ АЭРОЗОЛЯ Российский патент 2025 года по МПК A24F40/40 

Описание патента на изобретение RU2841126C2

ОБЛАСТЬ ТЕХНИКИ

[001] Один или несколько вариантов осуществления настоящего изобретения относятся к устройству для генерирования аэрозоля, в частности, к устройству для генерирования аэрозоля, конструкция которого исключает самовольную разборку устройства пользователем.

УРОВЕНЬ ТЕХНИКИ

[002] В последнее время возросла потребность в альтернативных способах преодоления недостатков обычных сигарет. Например, растет потребность в способе генерирования аэрозоля посредством нагревания генерирующего аэрозоль материала в сигарете вместо сжигания сигареты. В связи с этим активно проводились исследования сигарет нагревательного типа или устройств для генерирования аэрозоля нагревательного типа.

[003] Устройство для генерирования аэрозоля без сгорания представляет собой устройство, генерирующее аэрозоль из генерирующего аэрозоль материала, входящего в состав сигареты, путем нагревания сигареты до определенной температуры без сгорания и позволяющее пользователю вдыхать образуемый аэрозоль с воздухом.

[004] Устройство для генерирования аэрозоля без сгорания содержит нагреватель, в котором нагревается сигарета. Поскольку нагреватель нагревается до высокой температуры, пользователь, самостоятельно разбирающий устройство, легко может получить ожоги.

[005] Следует иметь в виду, что вышеописанный уровень техники представляет собой техническую информацию, хранимую заявителями для создания вариантов осуществления настоящего изобретения или полученную в процессе создания вариантов осуществления, в связи с чем уровень техники, возможно, не был известен широкой общественности до применения вариантов осуществления настоящего изобретения.

РАСКРЫТИЕ ВАРИАНТОВ ОСУЩЕСТВЛЕНИЯ ИЗОБРЕТЕНИЯ

ТЕХНИЧЕСКАЯ ЗАДАЧА

[006] Один или несколько вариантов осуществления настоящего изобретения относятся к устройству для генерирования аэрозоля, конструкция которого исключает самостоятельную разборку устройства пользователем.

[007] Кроме того, в одном или нескольких вариантах осуществления настоящего изобретения аэрозоли могут содержать ароматизаторы, никотин и т.п., что достигается путем пропускания через сигарету аэрозолей, генерируемых при нагревании источника, генерирующего аэрозоль.

РЕШЕНИЕ ЗАДАЧИ

[008] В одном из вариантов осуществления настоящего изобретения предложено устройство для генерирования аэрозоля, содержащее: корпус, в котором установлен нагреватель для нагрева сигареты; кронштейн для поддержки компонентов, установленных в корпус; крепежный элемент для крепления корпуса и кронштейна; и колпачок, установленный на внешней поверхности корпуса для скрытия крепежного элемента в корпусе и выполненный без возможности отделения после установки.

[009] В данном варианте осуществления колпачок содержит участок в форме крючка, выступающий в направлении продольной оси сигареты, причем участок в форме крючка может содержать зажимной кулачок, выступающий в сторону внутренней поверхности корпуса.

[0010] В данном варианте осуществления корпус может содержать посадочный участок, выступающий в сторону участка в форме крючка и предназначенный для установки колпачка.

[0011] В данном варианте осуществления, когда колпачок установлен в корпус, посадочный участок может войти в зацепление с зажимным кулачком, ограничивая тем самым движение колпачка вверх.

[0012] В данном варианте осуществления поверхность, на которой посадочный участок и зажимной кулачок соприкасаются друг с другом, может быть ориентирована параллельно направлению ширины сигареты.

[0013] В данном варианте осуществления устройство для генерирования аэрозоля может также содержать стопорное устройство, устанавливаемое на внутренней поверхности корпуса, прижимающее участок в форме крючка в направлении, в котором выступает зажимной кулачок, и тем самым ограничивающее перемещение участка в форме крючка в направлении, в котором выступает посадочный участок.

[0014] В данном варианте осуществления при установленном в корпусе колпачке зажимной кулачок может содержать наклонную поверхность, выполненную с возможностью скольжения вдоль посадочного участка.

[0015] В данном варианте осуществления при установленном в корпусе колпачке посадочный участок может содержать поверхность скольжения, выполненную с возможностью скольжения вдоль зажимного кулачка.

[0016] В данном варианте осуществления устройство для генерирования аэрозоля может дополнительно содержать уплотнительный элемент, расположенный между корпусом и колпачком и предназначенный для герметизации внутренней части корпуса.

[0017] В данном варианте осуществления корпус содержит верхнюю часть корпуса, в которую вставляется сигарета и где она нагревается, и нижнюю часть корпуса, поддерживающую и защищающую различные компоненты, установленные в корпусе, причем поверхности соприкосновения верхней части корпуса и колпачка, а также верхней и нижней части корпуса могут быть соединены ультразвуковой сваркой.

[0018] В данном варианте осуществления участок в форме крючка дополнительно содержит удлиненный участок, выдвинутый в продольном направлении сигареты дальше зажимного кулачка и стопорное устройство может прижимать удлиненный участок в направлении, в котором выступает зажимной кулачок.

[0019] В данном варианте осуществления в продольном направлении сигареты длина удлиненного участка может превышать расстояние от стопорного устройства до поверхности, на которой посадочный участок и колпачок соприкасаются друг с другом.

[0020] В данном варианте осуществления в продольном направлении сигареты ширина зажимного кулачка может быть меньше или равна расстоянию от поверхности, на которой зажимной кулачок и посадочный участок входят в зацепление друг с другом, до стопорного устройства.

[0021] В данном варианте осуществления в поперечном направлении сигареты ширина участка в форме крючка, за исключением зажимного кулачка, может быть меньше расстояния от стопорного устройства до зажимного кулачка.

[0022] В данном варианте осуществления в поперечном направлении сигареты ширина участка в форме крючка, включая зажимной кулачок, может превышать расстояние от стопорного устройства до зажимного кулачка.

[0023] Следует понимать, что настоящее изобретение не ограничивается вышеописанными вариантами осуществления, а прочие признаки и преимущества вариантов осуществления будут более полно раскрыты в последующем подробном описании с ссылкой на сопроводительные чертежи, не выходя за пределы объема и сущности прилагаемой формулы изобретения.

ПОЛЕЗНЫЕ ЭФФЕКТЫ ИЗОБРЕТЕНИЯ

[0024] Как было описано выше, одним или несколькими вариантами настоящего изобретения может быть предложено устройство для генерирования аэрозоля, конструкция которого не допускает самостоятельную разборку устройства пользователем, так как пользователь не может получить доступ к крепежному элементу, установленному в корпусе, вследствие неразъемного соединения корпуса и колпачка.

[0025] Кроме того, устройство для генерирования аэрозоля может содержать аэрозоли, в состав которых входят ароматизаторы, никотин и иные вещества, поступающие к пользователю путем пропускания через сигарету потока аэрозолей, получаемых устройством для генерирования аэрозоля.

КРАТКОЕ ОПИСАНИЕ ЧЕРТЕЖЕЙ

[0026] На ФИГ. 1-3 представлены схемы, иллюстрирующие установку сигареты в устройство для генерирования аэрозоля.

[0027] На ФИГ. 4 показан пример сигареты.

[0028] На ФИГ. 5 в аксонометрии изображено рабочее состояние устройства для генерирования аэрозоля, описываемого изобретением.

[0029] На ФИГ. 6 в аксонометрии изображено рабочее состояние, в котором некоторые компоненты отделены от устройства для генерирования аэрозоля согласно варианту осуществления, показанному на ФИГ. 5.

[0030] На ФИГ. 7 в детальном развернутом виде изображены некоторые компоненты разобранного устройства для генерирования аэрозоля согласно варианту осуществления, показанному на ФИГ. 5.

[0031] На ФИГ. 8 изображен разрез соединения некоторых компонентов устройства для генерирования аэрозоля согласно варианту осуществления, показанному на ФИГ. 5.

[0032] На ФИГ. 9 изображен разрез измененного варианта некоторых компонентов устройства для генерирования аэрозоля согласно варианту осуществления, показанному на ФИГ. 8.

ЛУЧШИЙ ВАРИАНТ

В одном из вариантов осуществления настоящего изобретения предложено устройство для генерирования аэрозоля, содержащее:

корпус, в который установлен нагреватель для нагрева сигареты;

кронштейн для поддержки компонентов, установленных в корпусе;

крепежный элемент для крепления корпуса и кронштейна; и

колпачок, установленный на внешнюю поверхность корпуса для скрытия крепежного элемента в корпусе, и

[0033] выполненный без возможности отделения после установки.

ОСОБЕННОСТИ РАСКРЫТИЯ

[0034] В отношении терминов, в различных вариантах осуществления общие термины, широко используемые в настоящее время, выбирают с учетом функций структурных элементов в различных вариантах осуществления настоящего раскрытия. Однако значения терминов могут быть изменены в соответствии с намерением, судебным прецедентом, появлением новой технологии и тому подобным. Кроме того, в некоторых случаях может быть выбран термин, который обычно не используется. В таком случае значение термина будет подробно раскрыто в соответствующей части настоящего раскрытия. Следовательно, термины, используемые в различных вариантах осуществления настоящего раскрытия, должны быть определены на основе значений терминов и описаний, представленных в настоящем документе.

[0035] Кроме того, если прямо не указано обратное, слово «содержать» и его формы, такие как «содержит» или «содержащий», означают нахождение указанных элементов в составе чего-либо, но не исключение любых других элементов. Кроме того, термины «блок», «часть» и «модуль», указанные в раскрытии, означают блоки для обработки по меньшей мере одной функции и операции и могут быть реализованы аппаратными компонентами или программными компонентами, а также их комбинациями.

[0036] Ниже предложенное изобретение будет раскрыто более полно со ссылкой на сопроводительные чертежи, на которых примеры вариантов осуществления настоящего изобретения изображены таким образом, чтобы специалисту в данной области техники было легко разобраться в настоящем изобретении. Тем не менее, раскрытие может быть реализовано во многих различных формах и не должно рассматриваться как ограничение посредством изложенных здесь вариантов осуществления изобретения.

[0037] Ниже по тексту будут подробно раскрыты некоторые варианты осуществления предложенного изобретения со ссылкой на прилагаемые Фигуры.

[0038] На ФИГ. 1-3 представлены схемы, иллюстрирующие установку сигареты в устройство для генерирования аэрозоля.

[0039] Как показано на ФИГ. 1, устройство 1000 для генерирования аэрозоля может содержать аккумулятор 1010, контроллер 1020 и нагреватель 1030. Как показано на ФИГ. 2 и 3, устройство 1000 для генерирования аэрозоля может дополнительно содержать испаритель 1040. Таким образом, сигарета 2000 может быть вставлена во внутреннее пространство устройства 1000 для генерирования аэрозоля.

[0040] На ФИГ. 1-3 показаны только те компоненты устройства 1000 для генерирования аэрозоля, которые относятся к настоящему варианту осуществления. Таким образом, специалисту в данной области техники понятно, что другие компоненты общего назначения могут быть включены в состав устройства 1000 для генерирования аэрозоля дополнительно к компонентам, показанным на ФИГ. 1-3.

[0041] Таким образом, на ФИГ. 2 и 3 показано устройство 1000 для генерирования аэрозоля, содержащее нагреватель 1030. Тем не менее, при необходимости нагреватель 1030 может быть исключен из конструкции.

[0042] На ФИГ. 1 показано, что аккумулятор 1010, контроллер 1020 и нагреватель 1030 расположены последовательно. На ФИГ. 2 показано, что аккумулятор 1010, контроллер 1020, испаритель 1040 и нагреватель 1030 расположены последовательно. Кроме того, на ФИГ. 3 показано, что испаритель 1040 и нагреватель 1030 расположены параллельно. Тем не менее, внутренняя структура устройства 1000 для генерирования аэрозоля не ограничивается вариантами, показанными на ФИГ. 1-3. Иными словами, в соответствии с конструкцией устройства 1000 для генерирования аэрозоля можно изменять расположение аккумулятора 1010, контроллера 1020, нагревателя 1030 и испарителя 1040.

[0043] Когда сигарету 2000 вставляют в устройство 1000 для генерирования аэрозоля, устройство 1000 для генерирования аэрозоля может приводить в действие нагреватель 1030 и/или испаритель 1040 с целью генерирования аэрозоля из сигареты 2000 и/или испарителя 1040. Аэрозоль, сгенерированный в нагревателе 1030 и/или испарителе 1040, поступает к пользователю через сигарету 2000.

[0044] При необходимости, даже если сигарета 2000 не вставлена в устройство 1000 для генерирования аэрозоля, устройство 1000 для генерирования аэрозоля может нагревать нагреватель 1030.

[0045] Аккумулятор 1010 может подавать энергию для работы устройства 1000 для генерирования аэрозоля. Например, аккумулятор 1010 может подавать питание для нагрева нагревателя 1030 или испарителя 1040 и работы контроллера 1020. Кроме того, аккумулятор 1010 может подавать питание, необходимое для работы дисплея, датчика или мотора, установленных в устройстве 1000 для генерирования аэрозоля.

[0046] Контроллер 1020, по существу, может управлять работой устройства 1000 для генерирования аэрозоля. В частности, контроллер 1020, помимо аккумулятора 1010, нагревателя 1030 и испарителя 1040, может управлять работой прочих компонентов, входящих в состав устройства 1000 для генерирования аэрозоля. Кроме того, контроллер 1020 может проверять состояние каждого компонента устройства 1000 для генерирования аэрозоля, чтобы определить, находится ли устройство 1000 для генерирования аэрозоля в рабочем состоянии.

[0047] Контроллер 1020 может содержать, по меньшей мере, один процессор. Процессор может быть реализован как массив из множества логических элементов или комбинация микропроцессора общего назначения и памяти, в которой размещена программа, исполняемая в микропроцессоре. Специалисту в данной области техники будет понятно, что процессор может быть реализован с использованием других видов аппаратных средств.

[0048] Нагреватель 1030 может нагреваться за счет энергии, поступающей от аккумулятора 1010. Например, когда сигарета 2000 вставлена в устройство 1000 для генерирования аэрозоля, нагреватель 1030 может быть расположен снаружи сигареты 2000. Следовательно, нагретый нагреватель 1030 может повышать температуру материала, генерирующего аэрозоль, в сигарете 2000.

[0049] Нагреватель 1030 может содержать электрорезистивный нагреватель. Например, нагреватель 1030 может содержать электропроводящую дорожку, и нагреватель 1030 может нагреваться, когда по электропроводящей дорожке протекает электрический ток. При этом нагреватель 1030 не ограничивается вышеописанным примером и может представлять собой любой нагреватель, способный нагреваться до требуемой температуры. В данном случае требуемая температура может быть задана в устройстве 1000 для генерирования аэрозоля или установлена пользователем.

[0050] В следующем примере нагреватель 1030 может представлять собой индукционный нагреватель. В частности, нагреватель 1030 может содержать электропроводящую катушку для нагрева сигареты индукционным способом, причем сигарета может содержать токоприемник, который может нагреваться индукционным нагревателем.

[0051] Например, нагреватель 1030 может содержать цилиндрический нагревательный элемент, пластинчатый нагревательный элемент, игольчатый или стержневой нагревательный элемент и может нагревать внутреннюю или внешнюю часть сигареты 2000 в соответствии с формой нагревательного элемента.

[0052] Кроме того, устройство 1000 для генерирования аэрозоля может содержать несколько нагревателей 1030. В этом случае несколько нагревателей 1030 могут быть введены внутрь сигареты 2000 или окружать сигареты 2000 снаружи. В частности, некоторые из нагревателей 1030 могут быть введены внутрь сигареты 2000, а другие могут окружать сигарету 2000 снаружи. Кроме того, форма нагревателя 1030 не ограничивается формой, изображенной на ФИГ. 1-3 и может изменяться.

[0053] Испаритель 1040 может генерировать аэрозоль путем нагревания жидкой смеси, после чего сгенерированный аэрозоль может поступать к пользователю через сигарету 2000. Иными словами, аэрозоль, генерируемый испарителем 1040, может двигаться вдоль воздушного канала устройства 1000 для генерирования аэрозоля, который может быть выполнен с возможностью доставки аэрозоля, генерируемого испарителем 1040, пользователю через сигарету 2000.

[0054] Например, испаритель 1040 может содержать, в частности, накопитель жидкости, элемент подачи жидкости и нагревательный элемент. Например, накопитель жидкости, элемент подачи жидкости и нагревательный элемент могут входить в состав устройства 1000 для генерирования аэрозоля в качестве независимых модулей.

[0055] Накопитель жидкости может хранить жидкую смесь. Например, жидкая смесь может представлять собой жидкость с содержанием табачного материала, в который входит летучий компонент табачного ароматизатора, или жидкость с содержанием другого компонента (без табака). Накопитель жидкости может быть выполнен с возможностью присоединения к испарителю 1040/отсоединения от испарителя 1040 или как единое целое с испарителем 1040.

[0056] Например, жидкий состав может содержать воду, растворители, этанол, растительные экстракты, пряности, ароматические вещества или витаминные смеси. Пряности могут содержать, в том числе, ментол, перечную мяту, масло мяты кудрявой и различные ингредиенты с фруктовыми ароматами, не ограничиваясь вышеперечисленным. Ароматизаторы могут включать в себя ингредиенты, позволяющие пользователю ощущать различные ароматы или вкусы. Витаминные смеси могут представлять собой, в частности, смесь, по меньшей мере, витамина A, витамина B, витамина С или витамина E. Жидкий состав может также содержать вещество для генерирования аэрозоля, например, глицерин и пропиленгликоль.

[0057] Элемент подачи жидкости способен перемещать жидкую смесь из накопителя жидкости к нагревательному элементу. Например, элемент подачи жидкости может представлять собой фитиль, в частности, хлопковое волокно, керамическое волокно, стекловолокно или пористую керамику, но не ограничиваясь вышеперечисленным.

[0058] Нагревательный элемент представляет собой элемент для нагрева жидкой смеси, подаваемой элементом подачи жидкости. Например, нагревательный элемент может представлять собой, в частности, металлический нагревательный провод, металлическую нагревательную пластину, керамический нагреватель или иное подобное устройство. Кроме того, нагревательный элемент может включать в себя токопроводящую нить, в частности, нихромовую проволоку, и может быть намотан вокруг элемента подачи жидкости. Нагревательный элемент может нагреваться за счет подвода тока и может передавать тепло жидкой смеси, контактирующей с нагревательным элементом для нагрева жидкой смеси. В результате может образовываться аэрозоль.

[0059] Например, испаритель 1040 может представлять собой, в частности, картомайзер или распылитель.

[0060] Устройство 1000 для генерирования аэрозоля может также содержать компоненты общего назначения в дополнение к аккумулятору 1010, контроллеру 1020, нагревателю 1030 и испарителю 1040. Например, устройство 1000 для генерирования аэрозоля может содержать дисплей, способный выводить визуальную информацию, и/или мотор для вывода тактильной информации. Кроме того, устройство 1000 для генерирования аэрозоля может содержать, по меньшей мере, один датчик (датчик распознавания затяжки, датчик температуры, датчик введения сигареты и т. п.). Кроме того, устройство 1000 для генерирования аэрозоля может быть выполнено таким образом, чтобы, даже при установленной сигарете 2000 в устройство 1000 для генерирования аэрозоля, внешний воздух может поступать или внутренний воздух может выводиться.

[0061] Хотя это и не показано на ФИГ. 1-3, устройство 1000 для генерирования аэрозоля и дополнительный держатель могут образовывать единую систему. Например, держатель можно использовать для зарядки аккумулятора 1010 устройства 1000 для генерирования аэрозоля. В альтернативном варианте нагреватель 1030 может нагреваться при соединении держателя и устройства 1000 для генерирования аэрозоля друг с другом.

[0062] Сигарета 2000 может быть подобна обычной сигарете сгорающего типа. Например, сигарета 2000 может содержать первую часть, содержащую материал для генерирования аэрозоля, и вторую часть, содержащую фильтр или иной подобный элемент. В альтернативном варианте вторая часть сигареты 2000 также может содержать материал для генерирования аэрозоля. Например, материал для генерирования аэрозоля в виде гранул или капсул может быть введен во вторую часть.

[0063] Первая часть может быть полностью вставлена в устройство 1000 для генерирования аэрозоля, а вторая часть может быть выведена наружу. В альтернативном варианте осуществления только один участок первой части может быть вставлен в устройство 1000 для генерирования аэрозоля, или же вся первая часть и участок второй части могут быть вставлены в устройство 1000 для генерирования аэрозоля. Пользователь может затягиваться аэрозолем, удерживая вторую часть во рту. В этом случае аэрозоль генерируется, когда внешний воздух проходит через первую часть, после чего сгенерированный аэрозоль проходит через вторую часть и поступает в рот пользователя.

[0064] Например, внешний воздух может поступать, по меньшей мере, в один воздушный канал, образованный в устройстве 1000 для генерирования аэрозоля. Например, открытие и закрытие воздушного канала и/или размер воздушного канала, образованного в устройстве 1000 для генерирования аэрозоля, может регулироваться пользователем. Соответственно, количество дыма и впечатление от курения могут быть отрегулированы пользователем. В другом примере внешний воздух может поступать в сигарету 2000, по меньшей мере, через одно отверстие, выполненное на поверхности сигареты 2000.

[0065] Ниже будет раскрыт пример сигареты 2000 со ссылкой на ФИГ. 4.

[0066] На ФИГ. 4 показан пример сигареты.

[0067] Как показано на ФИГ. 4, сигарета 2000 содержит табачный стержень 2050 и фильтрующий стержень 2200. Первая часть, раскрытая выше со ссылкой на ФИГ. 1-3, может содержать табачный стержень 2050, а вторая часть – фильтрующий стержень 2200.

[0068] На ФИГ. 4 показано, что фильтрующий стержень 2200 содержит один сегмент. Тем не менее, исполнение фильтрующего стержня 2200 не ограничивается этим вариантом. Иными словами, фильтрующий стержень 2200 может содержать несколько сегментов. Например, фильтрующий стержень 2200 может содержать первый сегмент, выполненный с возможностью охлаждения аэрозоля, и второй сегмент, выполненный с возможностью фильтрации определенного компонента, содержащегося в аэрозоле. Кроме того, при необходимости, фильтрующий стержень 2200 может дополнительно содержать, по меньшей мере, один сегмент, выполненный с возможностью осуществления других функций.

[0069] Сигарета 2000 может быть упакована, по меньшей мере, в одну оболочку 2350. Оболочка 2350 может содержать, по меньшей мере, одно отверстие, через которое может поступать внешний воздух или внутренний воздух выводиться. Например, сигарета 2000 может быть упакована в одну оболочку 2350. В другом примере сигарета 2000 может быть упакована, по меньшей мере, в две оболочки 2350. Например, табачный стержень 2050 может быть упакован в первую оболочку, а фильтрующий стержень 2200 – во вторую оболочку. Кроме того, табачный стержень 2050 и фильтрующий стержень 2200, упакованные в отдельные оболочки, могут быть соединены друг с другом, а сигарета 2000 в целом может быть упакована в третью оболочку. Если табачный стержень 2050 и фильтрующий стержень 2200 содержат несколько сегментов, каждый сегмент может быть упакован в отдельную оболочку. Кроме того, сигарета 2000 в целом, содержащая несколько сегментов, упакованных, соответственно, в отдельные оболочки и соединенных друг с другом, может быть повторно упакована в другую оболочку.

[0070] Табачный стержень 2050 может содержать материал, генерирующий аэрозоль. Например, материал, генерирующий аэрозоль, может содержать, по меньшей мере, один из следующих компонентов: глицерин, пропиленгликоль, этиленгликоль, дипропиленгликоль, диэтиленгликоль, триэтиленгликоль, тетраэтиленгликоль и олеиловый спирт; возможны и другие составляющие. Кроме того, табачный стержень 2050 может содержать иные добавки, в частности, ароматизаторы, увлажняющее вещество и/или органическую кислоту. Кроме того, табачный стержень 2050 может содержать ароматизированную жидкость, в частности, ментол или увлажнитель, впрыскиваемые в табачный стержень 2050.

[0071] Табачный стержень 2050 может быть изготовлен в различных формах. Например, табачный стержень 2050 может быть сформирован в виде листа или пряди. Кроме того, табачный стержень 2050 может быть сформирован в виде трубочного табака, состоящего из крошечных кусочков, вырезанных из табачного листа. Кроме того, табачный стержень 2050 может быть окружен теплопроводящим материалом. Например, теплопроводящим материалом может служить, в частности, металлическая фольга, например, алюминиевая фольга. Например, теплопроводящий материал, окружающий табачный стержень 2050, может равномерно распределять тепло, передаваемое табачному стержню 2050, что позволяет увеличить теплопроводность, приложенную к табачному стержню, и улучшить вкус табака. Кроме того, теплопроводящий материал, окружающий табачный стержень 2050, может служить токоприемником, нагреваемым индукционным нагревателем. В этом случае, хотя это не показано на чертеже, табачный стержень 2050 может содержать дополнительный токоприемник, помимо теплопроводного материала, окружающего его снаружи.

[0072] Фильтрующий стержень 2200 может содержать фильтр из ацетата целлюлозы. Фильтрующий стержень 2200 может иметь любую форму. Например, фильтрующий стержень 2200 может иметь форму цилиндра или полой трубки. Кроме того, фильтрующий стержень 2200 может представлять собой стержень с выемкой. Если фильтрующий стержень 2200 содержит несколько сегментов, по меньшей мере, один из сегментов может иметь отличающуюся форму.

[0073] Фильтрующий стержень 2200 может быть выполнен с возможностью генерации вкусовых ощущений. В одном из примеров ароматическая жидкость может распыляться в фильтрующий стержень 2200, или же отдельное волокно, покрытое ароматической жидкостью, может быть введено в фильтрующий стержень 2200.

[0074] Кроме того, фильтрующий стержень 2200 может содержать по меньшей мере одну капсулу 2300. В этом случае капсула 2300 может генерировать аромат или аэрозоль. Например, капсула 2300 может иметь структуру, в которой жидкость, содержащая ароматизирующий материал, помещена в пленку. Например, капсула 2300 может иметь, в частности, форму сферы или цилиндра.

[0075] Если фильтрующий стержень 2200 содержит сегмент, выполненный с возможностью охлаждения аэрозоля, охлаждающий сегмент может содержать полимерный или биоразлагаемый полимерный материал. В частности, сегмент охлаждения может содержать только чистую полилактидную кислоту или иные материалы, не ограничиваясь этим вариантом. В некоторых вариантах осуществления сегмент охлаждения может содержать фильтр из ацетата целлюлозы с несколькими отверстиями. Тем не менее, сегмент охлаждения может быть выполнен иным способом при условии сохранения функции охлаждения аэрозоля.

[0076] Несмотря на отсутствие на ФИГ. 4, в одном из вариантов осуществления сигарета 2000 может дополнительно содержать передний фильтр. Передний фильтр может быть расположен на стороне табачного стержня 2050, обращенной к фильтрующему стержню 2200. Передний фильтр может препятствовать выбросу табачного стержня 2050 наружу и попаданию сжиженного аэрозоля в устройство 1000 для генерирования аэрозоля (ФИГ. 1-3) из табачного стержня 2050 во время курения.

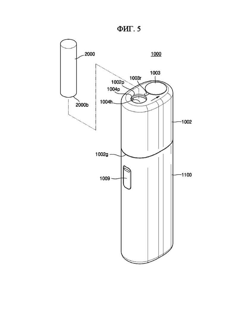
[0077] На ФИГ. 5 в аксонометрии изображено рабочее состояние устройства для генерирования аэрозоля, описываемого изобретением.

[0078] Устройство 1000 для генерирования аэрозоля в соответствии с вариантами осуществления, показанными на ФИГ. 5, может содержать корпус 1100 и крышку 1002. Крышка 1002 соединена с первым концом корпуса 1100, и, таким образом, крышка 1002 формирует внешний вид устройства 1000 для генерирования аэрозоля вместе с корпусом 1100.

[0079] Корпус 1100 формирует внешний вид устройства 1000 для генерирования аэрозоля и служит для размещения и защиты различных компонентов в образованном внутри указанного корпуса пространстве.

[0080] Крышка 1002 и корпус 1100 могут содержать пластиковый материал с низкой теплопроводностью или металл, покрытый теплозащитным материалом на своей поверхности. Крышка 1002 и корпус 1100 могут быть изготовлены, например, способом литья под давлением, способом 3D-печати или способом сборки небольших деталей, изготовленных литьем под давлением.

[0081] Между крышкой 1002 и корпусом 1100 может быть установлено поддерживающее устройство, обеспечивающее соединение между крышкой 1002 и корпусом 1100. Поддерживающее устройство может содержать, например, выступ и паз. Крепление между крышкой 1002 и корпусом 1100 может быть реализовано за счет поддержания состояния, в котором выступ вставлен в паз; также может использоваться конструкция, в которой выступ может перемещаться кнопкой, которая может быть нажата пользователем, и отделяться от паза.

[0082] Поддерживающее устройство может также содержать, например, магнит и металлический элемент, который может быть притянут к магниту. Когда магнит используют для поддерживающего устройства, магнит может быть установлен на крышке 1002 или корпусе 1100, а металл, притягиваемый магнитом, может быть прикреплен к другой части. В альтернативном варианте магниты могут быть установлены как на крышке 1002, так и на корпусе 1100.

[0083] В устройстве 1000 для генерирования аэрозоля в соответствии с вариантом осуществления, показанным на ФИГ. 5, крышка 1002 не является необходимой и может отсутствовать, если этого требуют обстоятельства.

[0084] На верхней поверхности крышки 1002, соединенной с корпусом 1100, выполнено внешнее отверстие 1002p, в которое может быть вставлена сигарета 2000. Кроме того, на верхней поверхности крышки 1002 рядом с внешним отверстием 1002p выполнена направляющая 1003r. Дверца 1003, выполненная с возможностью скольжения вдоль верхней поверхности крышки 1002, установлена на направляющей 1003r. Дверца 1003 может скользить по прямой вдоль направляющей 1003r.

[0085] Когда дверцу 1003 смещают вдоль направляющей 1003r в направлении, указанном стрелкой на ФИГ. 5, внешнее отверстие 1002p и отверстие 1004p для вставки сигареты 2000 в корпус 1100 через крышку 1002 открываются наружу. Внешнее отверстие 1002p крышки 1002 открывает отверстие 1004p для сигареты, представляющее собой часть приемного канала 1004h, с возможностью размещения сигареты 2000 снаружи.

[0086] Когда внешнее отверстие 1002p открыто наружу посредством дверцы 1003, пользователь может вставить концевую часть 2000b сигареты 2000 во внешнее отверстие 1002p и отверстие 1004p для сигареты, тем самым поместив сигарету 2000 в приемный канал 1004h, сформированный внутри корпуса 1002.

[0087] В варианте осуществления изобретения, показанном на ФИГ. 5, дверца 1003 установлена с возможностью перемещения по прямой линии относительно крышки 1002. Однако вариант осуществления изобретения не ограничен конструкцией, в которой дверца 1003 соединена с крышкой 1002. Например, дверца 1003 может быть установлена с возможностью вращения на крышке 1002 посредством шарнирного узла. В случае использования шарнирного узла дверца 1003 может быть повернута в направлении боковой поверхности внешнего отверстия 1002p в направлении, в котором проходит верхняя поверхность крышки 1002, или дверца 1003 может быть повернута в направлении от верхней поверхности крышки 1002.

[0088] Направляющая 1003r имеет форму вогнутой канавки, но вариант осуществления изобретения не ограничен указанной формой направляющей 1003r. Например, направляющая 1003r может иметь выпуклую форму или изогнутую форму вместо прямой формы.

[0089] На корпусе 1100 предусмотрена кнопка 1009. Работой устройства 1000 генерирования аэрозоля можно управлять кнопкой 1009.

[0090] Зазор 1002g для подачи внешнего воздуха, позволяющий воздуху поступать внутрь крышки 1002, образован на участке, где крышка 1002 вступает в контакт с корпусом 1100, когда крышка 1002 соединена с корпусом 1100.

[0091] На ФИГ. 6 в аксонометрии изображено рабочее состояние, в котором некоторые компоненты отделены от устройства для генерирования аэрозоля согласно варианту осуществления, показанному на ФИГ. 5.

[0092] Как показано на ФИГ. 6, пользователь может вдыхать аэрозоли, прикусив сигарету 2000 в состоянии, в котором сигарета 2000 вставлена в устройство 1000 для генерирования аэрозоля.

[0093] Когда сигарета 2000 будет выкурена, пользователь может удалить сигарету 2000 из устройства 1000 для генерирования аэрозоля и выполнить очистку, чтобы удалить остатки табака, которые могли остаться в устройстве 1000 для генерирования аэрозоля.

Очистка устройства 1000 генерирования аэрозоля может быть выполнена следующим образом:

[0094] Пользователь отделяет крышку 1002 от корпуса 1100 устройства 1000 для генерирования аэрозоля и опору (4) сигареты от корпуса 1100, после чего раскрывает внутреннее пространство, нагреватель 1030 и иные составные части устройства 1000 для генерирования аэрозоля, удаляя тем самым остатки табака.

[0095] В частности, корпус 1100 может содержать верхнюю часть 1100a, в которую вставлена и подогревается сигарета 2000, и нижнюю часть 1100b, поддерживающую и защищающую различные компоненты, установленные в корпусе. В дальнейшем под корпусом 1100 понимают как верхнюю часть 1100a, так и нижнюю часть 1100b.

[0096] Крышка 1002 может быть присоединена к корпусу 1100 для закрытия опоры (4) для сигареты, соединенной с корпусом 1100. В альтернативном варианте, при необходимости, крышку 1002 можно отделить от корпуса 1100.

[0097] После того, как сигарета 2000 будет выкурена, пользователь может извлечь сигарету 2000 из корпуса 1100, вращая сигарету 2000 рукой, чтобы вынуть сигарету 2000 из устройства 1000 для генерирования аэрозоля.

[0098] В альтернативном варианте, как показано на ФИГ. 6, когда пользователь вращает сигарету 2000 и вытягивает крышку 1002, крышка 1002 может отделиться от корпуса 1100 вместе с сигаретой 2000, вследствие чего сигарета 2000 будет извлечена из устройства 1000 для генерирования аэрозоля.

[0099] Иными словами, сигарета 2000 и нагреватель 1030 могут быть разъединены, а остатки табака, налипшие на сигарету 2000, могут быть выведены из корпуса 1100 вместе с сигаретой 2000 путем вращения сигареты 2000 и ее отделения от корпуса 1100.

[00100] Если пользователь тянет крышку 1002, не вращая сигарету 2000, сигарета 2000 может быть отделена от корпуса 1100. Тем не менее, часть сигареты, например, табачные вещества, может оставаться в нагревателе 1030, не будучи извлеченной из корпуса 1100. В этом случае пользователь может отделить крышку 1002 от корпуса 1100 и опору (4) сигареты от корпуса 1100. При этом табачные вещества, оставшиеся в нагревателе 1030, извлекаются из корпуса 1100 вместе с опорой (4) сигареты. После этого пользователь может удалить табачные вещества, оставшиеся в опоре (4) сигареты.

[00101] На ФИГ. 7 в детальном развернутом виде в изображены некоторые компоненты разобранного устройства для генерирования аэрозоля согласно варианту осуществления, показанному на ФИГ. 5, а на ФИГ. 8 – разрез соединения некоторых компонентов устройства для генерирования аэрозоля согласно варианту осуществления, показанному на ФИГ. 5.

[00102] Устройство 1000 для генерирования аэрозоля содержит корпус 1100, кронштейн 1200, крепежный элемент 1300 и колпачок 1400 в соответствии с вариантами осуществления, показанными на ФИГ. 7 и 8.

[00103] Нагреватель 1030 можно установить в корпус 1100 для нагрева сигареты 2000. Как было указано выше, корпус 1100 может содержать верхнюю часть 1100a и нижнюю часть 1100b, причем крепежный элемент 1300, колпачок 1400 и уплотнительный элемент 1600, описанный ниже, могут быть установлены в верхней части 1100a.

[00104] Кронштейн 1200 может поддерживать различные компоненты, установленные в корпусе 1100. Например, кронштейн 1200 фиксирует электронные компоненты, в частности, аккумулятор 1010 и контроллер 1020, подающие питание на нагреватель 1030 в нижней части 1100b корпуса, и защищает электронные компоненты.

[00105] Крепежный элемент 1300 может фиксировать корпус 1100 и кронштейн 1200. Предпочтительно, крепежный элемент 1300 может содержать, по меньшей мере, один винт, как показано на ФИГ. 7. В частности, в корпусе 1100 выполнено отверстие для винта (не показанное на фигуре), в которое вставлен крепежный элемент 1300, а в кронштейне 1200 выполнено соединительное отверстие (не показанное на фигуре), с которым совмещается отверстие для винта. Винт вводят в отверстие для винта и соединительное отверстие таким образом, чтобы он проходил через оба отверстия. Таким образом, корпус 1100 и кронштейн 1200 могут быть прикреплены друг к другу.

[00106] Колпачок 1400 установлен на внешнюю поверхность корпуса 1100 для скрытия крепежного элемента 1300 в корпусе 1100 и выполнен без возможности отделения после установки. В данном случае выражение «без возможности отделения после установки» означает, что колпачок 1400 не может быть отделен обычным пользователем без специального оборудования. Тем не менее, варианты осуществления настоящего изобретения не ограничиваются перечисленными. Кроме того, выражение «без возможности отделения после установки» означает, что колпачок 1400 может быть отсоединен только с использованием специального оборудования и может быть принудительно отсоединен при деформации любого из компонентов или нескольких компонентов устройства 1000 для генерирования аэрозоля, например, при разрушении участка 1410 в форме крючка (см. ниже).

[00107] Как показано на ФИГ. 8, колпачок 1400 содержит участок 1410 в форме крючка, выступающий в направлении продольной оси сигареты 2000, причем участок 1410 в форме крючка может содержать зажимной кулачок 1411, выступающий в сторону внутренней поверхности корпуса 1100.

[00108] Корпус 1100 может содержать посадочный участок 1110, выступающий в сторону участка 1410 в форме крючка, для установки колпачка 1400. Когда колпачок 1400 установлен в корпус 1100, посадочный участок 1110 может входить в зацепление с зажимным кулачком 1411, ограничивая тем самым движение колпачка 1400 вверх. Например, поверхность 1411p, на которой посадочный участок 1110 и зажимной кулачок 1411 соприкасаются друг с другом, может быть ориентирована параллельно направлению ширины сигареты. В такой конструкции, даже когда пользователь случайно поднимает колпачок 1400 вверх, зажимной кулачок 1411 колпачка 1400 может зажиматься посадочным участком 1110 корпуса 1100, вследствие чего колпачок 1400 не сможет перемещаться вверх.

[00109] Кроме того, устройство 1000 для генерирования аэрозоля может дополнительно содержать стопорное устройство 1500, устанавливаемое на внутренней поверхности корпуса 1100, прижимающее участок 1410 в форме крючка в направлении, в котором выступает зажимной кулачок 1411 и, тем самым, ограничивающее перемещение участка 1410 в форме крючка в направлении, в котором выступает посадочный участок 1110. В такой конструкции, даже когда пользователь случайно поднимает колпачок 1400 вверх, зажимной кулачок 1411 скользит вдоль посадочного участка 1110, вследствие чего колпачок 1400 может подниматься вверх относительно корпуса 1100. Даже в этом случае можно предотвратить скольжение зажимного кулачка 1411 вдоль посадочного участка 1110 путем фиксации на месте, предотвращая отделение колпачка 1400 от корпуса 1100 и его поднятие вверх.

[00110] Зажимной кулачок 1411 может содержать наклонную поверхность 1411s, выполненную с возможностью скольжения вдоль посадочного участка 1110, когда колпачок 1400 установлен на корпус 1100. Посадочный участок 1110 может содержать поверхность 1110s скольжения, выполненную с возможностью скольжения вдоль зажимного кулачка 1411, когда колпачок 1400 установлен на корпус 1100.

[00111] При использовании такой конструкции установка колпачка 1400 в корпус 1100 может быть выполнена удобным и эффективным способом. При попытке установки колпачка 1400 в корпус 1100 наклонная поверхность 1411s зажимного кулачка 1411 и поверхность 1110s скольжения посадочного участка 1110 скользят друг относительно друга, вследствие чего участок 1410 в форме крючка колпачка 1400 может быть деформирован с определенным интервалом по направлению к центру корпуса 1100. В зависимости от такой деформации введение вниз участка 1410 в форме крючка может быть продолжено.

[00112] После того, как зажимной кулачок 1411 участка 1410 в форме крючка будет опущен дальше посадочного участка 1110 корпуса 1100, участок 1410 в форме крючка возвращается на свое прежнее место, в результате чего участок 1411 в форме крючка и посадочный участок 1110 могут входить в зацепление друг с другом.

[00113] Описанная выше конструкция позволяет легко установить колпачок 1400 в корпус 1100, но не позволяет пользователю произвольно манипулировать колпачком 1400 и отделять колпачок 1400 от корпуса 1100. Так как пользователь не имеет доступа к крепежному элементу 1300, установленному в корпусе 1100, он не может получить доступ к кронштейну 1200, закрепленному в корпусе 1100 крепежным элементом 1300. Кроме того, поскольку пользователь не может произвольно разбирать устройство 1000 для генерирования аэрозоля и получать доступ к различным электронным компонентам или встроенному нагревателю 1030, можно предотвратить ожоги при контакте с нагревателем 1030, нагретым до высокой температуры и поломки электронных компонентов вследствие неправильных действий.

[00114] Устройство 1000 для генерирования аэрозоля может дополнительно содержать уплотнительный элемент 1600, расположенный между корпусом 1100 и колпачком 1400 и предназначенный для герметизации внутренней части корпуса 1100. Предпочтительно, уплотнительный элемент 1600 должен быть выполнен из материала с определенным уровнем упругости, например, резины. Уплотнительный элемент 1600 может предотвратить загрязнение внутренней части корпуса 1100 посторонними веществами, попадающими внутрь между корпусом 1100 и колпачком 1400.

[00115] Зазор между верхней частью 1100а корпуса и колпачком 1400, в котором установлен уплотнительный элемент 1600, а также поверхность UM соприкосновения верхней части 1100а и нижней части 1100b корпуса могут быть соединены ультразвуковой сваркой. Варианты осуществления не ограничиваются перечисленными. Кроме того, все части, в которых соединяются различные компоненты, могут быть соединены друг с другом ультразвуковой сваркой. Иными словами, для предотвращения произвольного доступа пользователя к нагревателю 1030 или электронным компонентам устройства все соприкасающиеся друг с другом части, требующие герметизации, могут быть соединены друг с другом ультразвуковой сваркой. Так как части, соединенные ультразвуковой сваркой соединены между собой без возможности разъединения, пользователь не может произвольно отделять или открывать эти части, если только не сломает их.

[00116] На ФИГ. 9 изображен разрез измененного варианта некоторых компонентов устройства для генерирования аэрозоля согласно варианту осуществления, показанному на ФИГ. 8.

[00117] Как показано на ФИГ. 9, в другом варианте осуществления участок 2410 в форме крючка устройства для генерирования аэрозоля содержит удлиненный участок 2412, выступающий в продольном направлении сигареты дальше зажимного кулачка 2411, а стопорное устройство 2500 может прижимать удлиненный участок 2412 в направлении, в котором выступает зажимной кулачок 2411.

[00118] При использовании описанной выше конструкции в продольном направлении сигареты 2000 длина (b) удлиненного участка 2412 может превышать расстояние (f) от стопорного устройства 2500 до поверхности, на которой верхняя поверхность посадочного участка 2110 и колпачок 2400 соприкасаются друг с другом (то есть b> f).

[00119] Это обусловлено тем, что в случае, когда длина (b) удлиненного участка 2412 в продольном направлении сигареты 2000 меньше или равна расстоянию (f) от стопорного устройства 2500 до поверхности, на которой верхняя поверхность посадочного участка 2110 и колпачок 2400 соприкасаются друг с другом (то есть b <= f), при установке колпачка 2400 между посадочным участком 2110 и стопорным устройством 2500 зажимной кулачок 2411 может смещаться влево на определенное расстояние, скользя относительно посадочного участка 2110, вследствие чего удлиненный участок 2412 смещается влево дальше стопорного устройства 2500, что не позволяет вставить удлиненный участок 2412 в пространство между посадочным участком 2110 и стопорным устройством 2500.

[00120] Кроме того, в продольном направлении сигареты 2000 ширина зажимного кулачка 2411 может быть меньше или равна расстоянию (e) от поверхности 2411p, на которой зажимной кулачок 2411 и посадочный участок 2110 входят в зацепление друг с другом, до стопорного устройства 2500 (то есть a <= e).

[00121] Это обусловлено тем, что в случае, когда ширина (а) зажимного кулачка 2411 в продольном направлении сигареты 2000 превышает расстояние (е) от поверхности 2411p, на которой зажимной кулачок 2411 и посадочный участок 2110 входят в зацепление друг с другом, до стопорного устройства 2500, при установке участка 2410 в форме крючка между посадочным участком 2110 и стопорным устройством 2500 участок, на котором зажимной кулачок 2411 и посадочный участок 2110 скользят друг относительно друга, может быть удлинен, вследствие чего посадочный участок 2100 или колпачок 2400 могут быть повреждены.

[00122] Кроме того, в поперечном направлении сигареты 2000 ширина (c) участка 2410 в форме крючка, за исключением зажимного кулачка 2411, может быть меньше расстояния (g) от стопорного устройства 2500 до зажимного кулачка 2411 (то есть c < g).

[00123] Это обусловлено тем, что в случае, когда ширина (c) участка 2410 в форме крючка, за исключением зажимного кулачка 2411, в поперечном направлении сигареты 2000 больше или равна расстоянию (g) от стопорного устройства 2500 до зажимного кулачка 2411 (то есть c >= g), взаимное расположение участка 2410 в форме крючка, посадочного участка 2110 и стопорного устройства 2500 не может быть реализована способом, показанным на ФИГ. 9. Кроме того, при попытке присоединить участок 2410 в форме крючка путем введения удлиненного участка 2412 в пространство между посадочным участком 2110 и стопорным устройством 2500, участок 2410 в форме крючка не может быть установлен вертикально, вследствие чего колпачок 2400 не может быть установлен в корпус 2100.

[00124] В альтернативном варианте в поперечном направлении сигареты 2000 ширина (d) участка 2410 в форме крючка, включая зажимной кулачок 2411, может превышать расстояние (g) от стопорного устройства 2500 до зажимного кулачка 2411 (то есть d > g).

[00125] Это обусловлено тем, что в случае, когда ширина (d) участка 2410 в форме крючка, включая зажимной кулачок 2411, в поперечном направлении сигареты 2000 меньше или равна расстоянию (g) от стопорного устройства 2500 до зажимного кулачка 2411 (то есть d <= g), участок 2410 в форме крючка может соскользнуть в пространство между посадочным участком 2110 и стопорным устройством 2500 в любое время.

[00126] Хотя варианты осуществления настоящего изобретения были проиллюстрированы и подробно описаны со ссылкой на сопроводительные чертежи, понятно, что настоящее изобретение не ограничивается этими вариантами осуществления. Разнообразные модификации, изменения, вариации, замены и эквиваленты очевидны для специалистов в данной области техники. Подразумевается, что описание изобретения и примеры рассматриваются только в качестве иллюстративных, причем действительный объем и идея изобретения определены в прилагаемой формуле изобретения.

Похожие патенты RU2841126C2

название год авторы номер документа
УСТРОЙСТВО ДЛЯ ГЕНЕРИРОВАНИЯ АЭРОЗОЛЯ 2019
  • Ан Хви Гён
  • Чи Кюн Мун
  • Чнон Ин Сон
  • Син Вон Хви
RU2753545C1
УСТРОЙСТВО ДЛЯ ГЕНЕРИРОВАНИЯ АЭРОЗОЛЯ 2019
  • Ан Хви Гён
  • Чи Кюн Мун
  • Чнон Ин Сон
  • Син Вон Хви
RU2743647C2
НАГРЕВАТЕЛЬ В СБОРЕ, УСТРОЙСТВО ДЛЯ ГЕНЕРИРОВАНИЯ АЭРОЗОЛЯ И СИСТЕМА ДЛЯ ГЕНЕРИРОВАНИЯ АЭРОЗОЛЯ 2020
  • Ан, Хви Кён
RU2789716C1
НАГРЕВАТЕЛЬ В СБОРЕ, УСТРОЙСТВО ДЛЯ ГЕНЕРИРОВАНИЯ АЭРОЗОЛЯ И СИСТЕМА ДЛЯ ГЕНЕРИРОВАНИЯ АЭРОЗОЛЯ 2023
  • Ан, Хви Кён
RU2815718C2
УСТРОЙСТВО ДЛЯ ГЕНЕРИРОВАНИЯ АЭРОЗОЛЯ И СПОСОБ УПРАВЛЕНИЯ ТАКИМ УСТРОЙСТВОМ 2018
  • Лим Хен Иль
RU2738546C2
УСТРОЙСТВО ДЛЯ ГЕНЕРИРОВАНИЯ АЭРОЗОЛЯ И СПОСОБ УПРАВЛЕНИЯ ТАКИМ УСТРОЙСТВОМ 2018
  • Лим Хен Иль
RU2738549C1
УСТРОЙСТВО ДЛЯ ГЕНЕРИРОВАНИЯ АЭРОЗОЛЯ (ВАРИАНТЫ) 2022
  • Чо, Пюсун
  • Пак, Сангю
  • Ли, Чжонсуб
RU2831726C2
УСТРОЙСТВО ДЛЯ ГЕНЕРИРОВАНИЯ АЭРОЗОЛЯ 2022
  • Ан, Хви Кён
  • Чу, Сон Хо
RU2823704C1
ПРОДУКТ ДЛЯ ГЕНЕРИРОВАНИЯ АЭРОЗОЛЯ 2022
  • Пак, Чан Чин
  • Ким, Су О
  • Ан, Ги Чин
  • Чон, Пон Су
  • Хван, Мин Хи
RU2828324C2
УСТРОЙСТВО И СПОСОБ ГЕНЕРИРОВАНИЯ АЭРОЗОЛЯ 2017
  • Хан Чон Хо
  • Ли Чан Ук
  • Лим Хен Иль
  • Ли Чжон Соп
  • Хан Дэ Нам
  • Юн Чжин
  • Ким Леа
  • Чан Чи Су
  • Лим Ван Соп
  • Ли Мун Бон
  • Чжу Сон Хо
  • Пак Ду Чжин
  • Юн Сон Вон
RU2749137C2

Иллюстрации к изобретению RU 2 841 126 C2

Реферат патента 2025 года УСТРОЙСТВО ДЛЯ ГЕНЕРИРОВАНИЯ АЭРОЗОЛЯ

Изобретение относится к устройству для генерирования аэрозоля. Устройство для генерирования аэрозоля содержит корпус, содержащий приемный канал, выполненный с возможность размещения сигареты, крышку, разъемно соединенную с верхней поверхностью корпуса и имеющую внешнее отверстие, выполненное с возможностью вставки в него сигареты, нагреватель, выполненный с возможностью нагрева сигареты, по меньшей мере часть, которая вставлена через приемный канал, кронштейн, установленный в корпусе так, чтобы кронштейн поддерживал электронные компоненты, подающие питание на нагреватель, колпачок, установленный на поверхность корпуса для скрытия элементов в корпусе, дверцу, которая выполнена с возможностью скольжения вдоль верхней поверхности крышки, и шарнирный узел, который соединяет дверцу с крышкой таким образом, что дверца выполнена с возможностью поворота в направлении, в котором проходит верхняя поверхность крышки. Обеспечивается возможность вращения дверцы на крышке с возможностью обеспечения поворота дверцы в направлении боковой поверхности внешнего отверстия в направлении, в котором проходит верхняя поверхность крышки, или поворота дверцы в направлении от верхней поверхности крышки. 12 з.п. ф-лы, 9 ил.

Формула изобретения RU 2 841 126 C2

1. Устройство для генерирования аэрозоля, содержащее: корпус, содержащий приемный канал, выполненный с возможность размещения сигареты, крышку, разъемно соединенную с верхней поверхностью корпуса и имеющую внешнее отверстие, выполненное с возможностью вставки в него сигареты, нагреватель, выполненный с возможностью нагрева сигареты, по меньшей мере часть, которая вставлена через приемный канал, кронштейн, установленный в корпусе так, чтобы кронштейн поддерживал электронные компоненты, подающие питание на нагреватель, колпачок, установленный на поверхность корпуса для скрытия элементов в корпусе, дверцу, которая выполнена с возможностью скольжения вдоль верхней поверхности крышки, и шарнирный узел, который соединяет дверцу с крышкой таким образом, что дверца выполнена с возможностью поворота в направлении, в котором проходит верхняя поверхность крышки.

2. Устройство для генерирования аэрозоля по п. 1, в котором корпус содержит верхнюю часть корпуса и нижнюю часть корпуса, и устройство для генерирования аэрозоля дополнительно содержит крепежный элемент для соединения верхней части корпуса и кронштейна.

3. Устройство для генерирования аэрозоля по п. 2, в котором верхняя часть корпуса содержит первое отверстие, кронштейн содержит второе отверстие, крепежный элемент соединяет верхнюю часть корпуса и кронштейн путем прохождения через первое отверстие и второе отверстие.

4. Устройство для генерирования аэрозоля по п. 1, которое дополнительно содержит уплотнительный элемент, расположенный между корпусом и колпачком, для герметизации внутренней части корпуса.

5. Устройство для генерирования аэрозоля по п. 1, в котором нагреватель содержит электрорезистивный нагреватель, нагревающийся, когда энергия подается на электрорезистивный нагреватель.

6. Устройство для генерирования аэрозоля по п. 1, в котором нагреватель содержит электропроводящую дорожку, нагревающуюся, когда энергия подается на электропроводящую дорожку.

7. Устройство для генерирования аэрозоля по п. 1, в котором электронные компоненты содержат аккумулятор для подачи энергии на нагреватель.

8. Устройство для генерирования аэрозоля по п. 1, в котором одна часть сигареты выведена наружу, когда другая часть сигареты вставлена в приемный канал для возможности осуществления пользователем затяжки одной частью сигареты.

9. Устройство для генерирования аэрозоля по п. 1, в котором крышка соединена с первым концом корпуса, и крышка образует внешний вид устройства для генерирования аэрозоля вместе с корпусом.

10. Устройство для генерирования аэрозоля по п. 1, дополнительно содержащее поддерживающее устройство, установленное между крышкой и корпусом для обеспечения соединения между крышкой и корпусом.

11. Устройство для генерирования аэрозоля по п. 10, в котором поддерживающее устройство содержит первый магнит, расположенный на по меньшей мере одном из крышке и корпусе, и второй магнит или металл, расположенный на по меньшей мере одном из крышке или корпусе и выполненный с возможностью прикрепления к первому магниту.

12. Устройство для генерирования аэрозоля по п. 1, в котором дверца перемещается вдоль верхней поверхности крышки для открытия внешнего отверстия.

13. Устройство для генерирования аэрозоля по п. 1, дополнительно содержащее кнопку, расположенную на корпусе, и управление работой устройства для генерирования аэрозоля осуществляется при нажатии кнопки.

Документы, цитированные в отчете о поиске Патент 2025 года RU2841126C2

WO 2017194764 A1, 16.11.2017
Способ копирования по одному копиру сложной поверхности 1959
  • Фридман Ю.А.
SU134957A1
WO 2013102612 A2, 11.07.2013
CN 207383538 U, 22.05.2018
СИГАРЕТА (ВАРИАНТЫ), КУРИТЕЛЬНАЯ СИСТЕМА (ВАРИАНТЫ), ЗАЖИГАЛКА, НАГРЕВАТЕЛЬНЫЙ ЭЛЕМЕНТ, СПОСОБ ИЗГОТОВЛЕНИЯ ЦЕЛЬНОГО НАГРЕВАТЕЛЬНОГО УЗЛА И ПОСТОЯННЫЙ НАГРЕВАТЕЛЬНЫЙ БЛОК 1993
  • Коллинз Элфред Л.
  • Каунтс Мэри Эллен
  • Дэс Амитаб
  • Дивай Ситарама
  • Флайшхауэр Гриэр С.
  • Хаджалогол Мохаммад Р.
  • Хэйз Патрик
  • Хиггинз Чарлз Т.
  • Хук Уилли Г.
  • Кин Билли Дж.
  • Ларой Бернард К.
  • Ли Роберт Э.
  • Лилли Э. Клифтон
  • Липовиц Питер Дж.
  • Лоузи Д. Брюс
  • Маккэфферти Ху Дж.
  • Майзер Доналд Э.
  • Ничолз Констанс Х.
  • Рэймонд Винн Р.
  • Рипли Роберт Л.
  • Ритт Рензер Р.
  • Скотт Дж. Роберт
  • Спринкел Ф. Мэрфи
  • Стивенз Уильям Х.
  • Саббья Мантарам
  • Атш Фрэнсис В.
  • Уоткинз Майкл Л.
  • Ренн Сьюзен Э.
RU2135054C1

RU 2 841 126 C2

Авторы

Ан Хви Гён

Чи Кюн Мун

Чнон Ин Сон

Син Вон Хви

Даты

2025-06-03Публикация

2021-08-03Подача