УСТРОЙСТВО ДЛЯ ОБРАБОТКИ БЕЛЬЯ Российский патент 2025 года по МПК D06F58/10 

Описание патента на изобретение RU2841302C2

Область техники, к которой относится изобретение

[1] Настоящее раскрытие относится к устройству для обработки белья.

Предпосылки создания изобретения

[2] В основном, устройство для обработки белья выполнено с возможностью выполнения различных процессов, связанных с стиркой. Устройство для обработки белья концептуально включает в себя стиральную машину для стирки белья, сушильную машину для сушки влажного белья и освежитель для удаления запахов или морщин с белья.

[3] Известное устройство для обработки белья предназначено для включения в себя барабана, обеспечивающего область для размещения в нем белья, приводного узла, вращающего барабан, и узел подачи, подающий пар или горячий воздух в барабан. В устройстве для обработки белья вышеуказанной конструкции пар или горячий воздух должны подаваться на белье во время вращения барабана. Таким образом, белье, загруженное в барабан, не находится в растянутом состоянии, так что на белье остаются морщины.

[4] Для решения этой проблемы известное устройство для обработки белья предназначено для включения в себя кожуха, первой камеры, расположенной внутри кожуха, для обеспечения области для размещения в нем белья, второй камеры, расположенной внутри кожуха, для обеспечения области, отдельной от первой камеры, и узла подачи, который расположен во второй камере и подает пар или горячий воздух в первую камеру.

[5] Устройство для обработки белья (раскрытое в публикации корейской патентной заявки № 10-2011-0067833), имеющее вышеописанную конструкцию, обеспечивает поддержание белья в растянутом состоянии внутри первой камеры, таким образом, решая проблему известного устройства, заключающуюся в том, что дезодорация и удаление морщин выполняются при вращении барабана.

[6] Однако, известные устройства для обработки белья, которые подают пар и горячий воздух, в то время как белье размещено в первой камере, имеют недостаток в том, что первая камера не может быть теплоизолирована, поскольку между кожухом и первой камерой не расположен отдельный изоляционный материал. Таким образом, известные устройства для обработки белья могут иметь проблему низкой энергоэффективности.

[7] Кроме того, в известных устройствах для обработки белья кожух, первая камера и вторая камера закреплены на раме, расположенной между кожухом и камерами. Таким образом, когда устройство для обработки белья вибрирует, кожух, выполненный в виде металлической пластины, усиливает вибрацию и шум.

[8] Кроме того, известные устройства для обработки белья имеют недостаток в том, что требуется отдельный элемент для усиления прочности кожуха для минимизации вибрации или шума, вызываемые кожухом.

Раскрытие изобретения

[Техническая задача]

[9] задачей настоящего раскрытия является создание устройства для обработки белья, в котором теплоизолятор расположен в области, образованной между кожухом, образующим внешний вид устройства, и камерой, обеспечивающей область для размещения в ней белья.

[10] Кроме того, задачей настоящего раскрытия является создание устройства для обработки белья, в котором теплоизолятор выполнен в виде пенопласта, вставленного в область, образованную между кожухом и камерой.

[11] Кроме того, задачей настоящего раскрытия является создание устройства для обработки белья, имеющего крепежную конструкцию, обеспечивающую предотвращение утечку пенопласта, вставленного в область, образованную между кожухом и камерой, внутрь камеры или из кожуха.

[12] Кроме того, задачей настоящего раскрытия является создание устройства для обработки белья, в котором пенопласт вставлен между кожухом и камерой для минимизации вибрации кожуха.

[Техническое решение]

[13] Настоящее раскрытие описывает устройство для обработки белья, включающее в себя кожух, имеющий, образованное в нем входное отверстие для белья, первую камеру, закрепленную на кожухе для обеспечения области для размещения в нем белья, причем область сообщается с входным отверстием для белья, вторую камеру, закрепленную на кожухе и расположенную под первой камерой, причем вторая камера имеет область, образованную в ней, отделенную от первой камеры, узел подачи, расположенный внутри второй камеры и выполненный с возможностью подачи воздуха и/или пара в первую камеру, и теплоизолятор, вставленный в область для пенопласта, образованную между кожухом и первой камерой, область для пенопласта, образованную между кожухом и второй камерой, и область пенопласта, образованную между первой камерой и второй камерой. Теплоизолятор может быть выполнен в виде пенопласта. Таким образом, устройство в соответствии с настоящим раскрытием может минимизировать потери тепловой энергии, подаваемой в первую камеру.

[14] Кроме того, теплоизолятор может быть расположен в областях для пенопласта, образованных между кожухом, первой камерой и второй камерой, таким образом, для минимизации вибрации кожуха или камеры во время работы узла подачи.

[15] Настоящее раскрытие описывает устройство для обработки белья, содержащее кожух, включающий в себя первую боковую панель и вторую боковую панель, противоположные друг другу, верхнюю панель и нижнюю панель, соединяющие первую боковую панель и вторую боковую панель друг с другом и образующие верхнюю и нижнюю поверхности кожуха, соответственно, и заднюю панель, соединяющую первую боковую панель и вторую боковую панель друг с другом и образующую заднюю поверхность кожуха, первое основание, включающее в себя переднюю панель, закрепленную на первой боковой панели, вторую боковую панель, верхнюю панель и нижнюю панель и образующую переднюю поверхность кожуха, и входное отверстие для белья, проходящий через переднюю панель, первую камеру, закрепленную на передней панели и расположенную внутри кожуха, причем первая камера имеет область для размещения белья, образованную в ней, сообщающуюся с входным отверстием для белья, второе основание, включающее в себя переднюю раму, расположенную между передней панелью и задней панелью, верхнюю раму, проходящую от передней рамы к задней панели и расположенную на расстоянии от нижней поверхности первой камеры, и первую боковую раму, расположенную на расстоянии от первой боковой панели, и вторую боковую раму, расположенную на расстоянии от второй боковой панели; вторую камеру, образованную передней рамой, верхней рамой, первой боковой рамой, второй боковой рамой, нижней панелью и задней панелью; узел подачи, расположенный внутри второй камеры для подачи воздуха и/или влаги в первую камеру, дверцу, соединенную с возможностью поворота с кожухом или передней панелью для открытия и закрытия входного отверстия для белья, и теплоизолятор, включающий в себя пенопласт, вставленный в область для пенопласта, образованную между кожухом, первым основанием, первой камерой и вторым основанием.

[16] В одном варианте осуществления область для пенопласта включает в себя область, образованную между первой камерой и верхней панелью, область, образованную между первой камерой и первой боковой панелью, область, образованную между первой камерой и второй боковой панелью, область, образованную между первой камерой и задней панелью, область, образованную между первой камерой и верхней рамой; область, образованную между передней панелью и передней рамой, область, образованную между первой боковой рамой и первой боковой панелью, и область, образованную между второй боковой рамой и второй боковой панелью.

[17] В одном варианте осуществления пенопласт включает в себя полиуретан, полистирол и полиолефин.

[18] в одном варианте осуществления устройство дополнительно содержит первое сквозное отверстие камеры и второе сквозное отверстие камеры, проходящее через нижнюю поверхность первой камеры, первое крепежное отверстие и второе крепежное отверстие, проходящее через верхнюю раму, образующий первый канал потока участок, соединяющий первое сквозное отверстие камеры и первое крепежное отверстие друг с другом, и образующий второй канал потока участок, соединяющий второе сквозное отверстие камеры и второе крепежное отверстие друг с другом, причем узел подачи включает в себя циркуляционный канал, расположенный внутри второй камеры для соединения первого крепежного отверстия и второго крепежного отверстия друг с другом, первый теплообменник для осушения воздуха, поданного в циркуляционный канал, второй теплообменник, расположенный внутри циркуляционного канала для нагрева воздуха, проходящего через первый теплообменник, и вентилятор для перемещения воздуха, поданного в первое крепежное отверстие, во второе крепежное отверстие.

[19] В одном варианте осуществления образующий первый канал потока участок включает в себя корпус первого канала потока, выполненный с возможностью поддержания расстояния между нижней поверхностью первой камеры и верхней рамой, и сквозное отверстие первого корпуса, проходящее через корпус первого канала потока и соединяющее первое сквозное отверстие камеры и первое крепежное отверстие друг с другом, причем образующий второй канал потока участок включает в себя корпус второго канала потока, выполненный с возможностью поддержания расстояния между нижней поверхностью первой камеры и верхней рамой, и сквозное отверстие второго корпуса, проходящее через корпус второго канала потока и соединяющее второе сквозное отверстие камеры и второе крепежное отверстие друг с другом.

[20] в одном варианте осуществления устройство дополнительно содержит первое впускное отверстие для наружного воздуха, образованное под входным отверстием для белья и проходящее через переднюю панель, второе впускное отверстие для наружного воздуха, проходящее через переднюю раму, направляющую для наружного воздуха, соединяющую первое впускное отверстие для наружного воздуха и второе впускное отверстие для наружного воздуха друг с другом, и канал для наружного воздуха, соединяющий второе впускное отверстие для наружного воздуха и циркуляционный канал друг с другом.

[21] В одном варианте осуществления циркуляционный канал включает в себя впускной канал, соединенный с первым крепежным отверстием, выпускной канал, соединенный со вторым крепежным отверстием, соединительный канал для направления воздуха, поданного во впускной канал, и воздуха, поданного из наружного канала для наружного воздуха в выпускной канал, первый клапан для открытия и закрытия впускного канала, и второй клапан для открытия и закрытия канала для наружного воздуха.

[22] В одном варианте осуществления направляющая наружного воздуха включает в себя направляющий корпус, имеющий один конец, закрепленный на передней панели, и другой конец, закрепленный на передней раме, для поддержания расстояния между передней панелью и передней рамой, и направляющее сквозное отверстие, проходящее через направляющий корпус и соединяющее первое впускное отверстие для наружного воздуха, и второе впускное отверстие для впуска наружного воздуха друг с другом.

[23] В одном варианте осуществления устройство дополнительно содержит приемную канавку, утопленную на передней панели к передней раме, сообщающееся отверстие второй камеры, проходящее через приемную канавку, сообщающееся отверстие приемной канавки, проходящее через переднюю раму и соединенное с сообщающимся отверстием второй камеры; сливной резервуар, имеющий область для хранения воды, образованную в нем, и размещенный с возможностью съема в приемной канавке, сквозное отверстие сливного резервуара, проходящее через сливной резервуар и сообщающееся с сообщающимся отверстием второй камеры, первую выпускную трубу, соединенную со сквозным отверстием сливного резервуара при вставке сливного резервуара в приемную канавку, причем первая выпускная труба отделена от сквозного отверстия сливного резервуара при удалении сливного резервуара из приемной канавки, и водоотливной насос для подачи водоконденсата, удаленного из первого теплообменника в первую выпускную трубу.

[24] В одном варианте осуществления устройство дополнительно содержит сквозное отверстие камеры, проходящее через нижнюю поверхность первой камеры, сквозное отверстие подающей трубы, проходящее через верхнюю раму, причем узел подачи включает в себя парогенератор, установленный внутри второй камеры, для генерации пара, распылительный корпус, имеющий образованное в нем распылительное отверстие, сообщающееся со сквозным отверстием камеры и подающей трубой, вставленной в сквозное отверстие подающей трубы, соединительную трубу, соединяющую парогенератор и подающую трубу друг с другом.

[25] В одном варианте осуществления устройство дополнительно содержит приемную канавку, утопленную на передней панели к передней раме, сообщающееся отверстие второй камеры, сообщающееся с приемной канавкой, сообщающееся отверстие приемной канавки, проходящее через переднюю раму и сообщающееся с сообщающимся отверстием второй камеры, резервуар для подачи воды, имеющий образованную в нем область для хранения воды и размещенный с возможностью съема в приемной канавке, сквозное отверстие резервуара для подачи воды, проходящее через резервуар для подачи воды и сообщающееся с сообщающимся отверстием второй камеры, первую подающую трубу, соединенную со сквозным отверстием резервуара для подачи воды, когда резервуар для подачи воды вставлен в приемную канавку, причем первая подающая труба отделена от сквозного отверстия резервуара для подачи воды, когда резервуар для подачи воды удален из приемной канавки, и подающий насос для перемещения воды, поданной в первую подающую трубу, во вторую подающую трубу, соединенную с парогенератором.

[26] В одном варианте осуществления устройство дополнительно содержит панель управления, закрепленную на дверцы, причем панель управления включает в себя по меньшей мере одно из дисплея для отображения команды управления или входного интерфейса для приема команды управления, блок управления, расположенный внутри второй камеры, сквозное отверстие панели, проходящее через переднюю панель, сквозное отверстие рамы, проходящее через переднюю раму, и направляющую провода для соединения сквозного отверстия панели и сквозного отверстия рамы друг с другом, причем провод, соединяющий панель управления и блок управления друг с другом, вставлен в направляющую провода.

[27] В одном варианте осуществления устройство дополнительно содержит панель управления, закрепленную на дверцы, причем панель управления включает в себя по меньшей мере одно из дисплея для отображения команды управления или входного интерфейса для приема команды управления, блок управления, расположенный внутри второй камеры, первый шарнир для соединения дверцы с участком передней панели, расположенным над первой камерой, второй шарнир для соединения дверцы с участком передней панели, расположенным под первой камерой, первый установочный участок первого шарнира и второй установочный участок первого шарнира, образованные в левой верхней и правой верхней частях передней панели, соответственно, первый установочный участок второго шарнира и второй установочный участок второго шарнира, образованные в левой нижней и правой нижней частях передней панели, соответственно, первое сквозное отверстие панели, образованное под первым установочным участком второго шарнира, второе сквозное отверстие панели, образованное под вторым установочным участком второго шарнира, первое сквозное отверстие рамы, проходящее через переднюю раму, второе сквозное отверстие рамы, проходящее через переднюю раму, первую направляющую провода для соединения первого сквозного отверстия панели и первого сквозного отверстия рамы друг с другом, причем провод для соединения панели управления и блока управления друг с другом вставлен в первую направляющую провода, и вторую направляющая провода для соединения второго сквозного отверстия панели и второго сквозного отверстия рамы друг с другом, причем провод для соединения панели управления и блока управления друг с другом вставлен во вторую направляющую провода.

[28] В одном варианте осуществления устройство дополнительно содержит опорную раму, закрепленную на верхней панели и расположенную на наружной стороне первой камеры, первое сквозное отверстие опорной рамы и второе сквозное отверстие опорной рамы, проходящее через опорную раму, первое сквозное отверстие стержня, проходящее через верхнюю поверхность первой камеры и расположенное под первым сквозным отверстием опорной рамы, второе сквозное отверстие стержня, проходящее через верхнюю поверхность первой камеры и расположенное под вторым сквозным отверстием опорной рамы, первый опорный корпус, имеющий форму трубы и соединяющий первое сквозное отверстие опорной рамы и первое сквозное отверстие стержня друг с другом и поддерживающий расстояние между опорной рамой и первой камерой, второй опорный корпус, имеющий форму трубы и соединяющий второе сквозное отверстие опорной рамы и сквозное отверстие второго стержня друг с другом и поддерживающий расстояние между опорной рамой и первой камерой, первый соединитель, имеющий один конец, закрепленный на опорной раме, и другой конец, вставленный в первый опорный корпус и расположенный внутри первой камеры, второй соединитель, имеющий один конец, закрепленный на опорной раме, и другой конец, вставленный во второй опорный корпус и расположенный внутри первой камеры, и опорный стержень, имеющий один конец, закрепленный на первом соединителе, и другой конец, закрепленный на втором соединителе и поддерживающий белье.

[29] В одном варианте осуществления устройство дополнительно содержит приводной узел, расположенный на опорной раме, для обеспечения возвратно-поступательного движения опорного стержня по направлению ширины первой камеры, блок управления, расположенный внутри второй камеры, и направляющую опорной рамы, расположенную на опорной раме для направления провода, соединяющего приводной узел и блок управления друг с другом, в область, образованную между первой камерой и кожухом.

[30] В одном варианте осуществления приводной узел включает в себя электродвигатель, закрепленный на опорной раме, вибратор, который поочередно повторяет вращательное движение менее чем на 90° в направлении по часовой стрелке и вращение менее чем на 90° в направлении против часовой стрелки при работе электродвигателя; и силовую передачу для преобразования вращательного движения вибратора в возвратно-поступательное движение опорной стержня.

[31] В одном варианте осуществления первый соединитель включает в себя первый соединительный стержень, имеющий первый свободный конец, соединенный с возможностью поворота с опорной рамой и расположенный на наружной стороне первого сквозного отверстия опорной рамы, и второй свободный конец, расположенный внутри первой камеры, причем один конец опорного стержня закреплен на втором свободном конце. Второй соединитель включает в себя второй соединительный стержень, имеющий первый свободный конец, соединенный с возможностью поворота с опорной рамой и расположенный на наружной стороне второго сквозного отверстия опорной рамы, и второй свободный конец, расположенный внутри первой камеры, причем другой конец опорного стержня закреплен на втором свободном конце. Силовая передача включает в себя передаточный стержень, выполненный с возможностью соединения первого свободного конца первого соединительного стержня и первого свободного конца второго соединительного стержня друг с другом, прорезь, образованную в передаточном стержне и проходящую в направлении, ортогональном к направлению возвратно-поступательного движения опорного стержня, и выступ прорези, расположенный на вибраторе и вставленный в прорезь.

[32] В одном варианте осуществления нижняя панель включает в себя первую нижнюю панель, имеющую переднюю поверхность, закрепленную на передней панели, заднюю поверхность, закрепленную на передней раме, и обе боковые поверхности, закрепленные на первой боковой панели и второй боковой панели, соответственно, вторую нижнюю панель, имеющую переднюю поверхность, соединенную с задней поверхностью первой нижней панели, и обе боковые поверхности, закрепленные на первой боковой поверхности и второй боковой поверхности, соответственно, причем вторая нижняя панель расположена под вторым основанием.

[33] В одном варианте осуществления устройство дополнительно содержит первый передний крепежный элемент, расположенный на первой боковой панели и обращенный к передней панели, второй передний крепежный элемент, расположенный на второй боковой панели и обращенный к передней панели, передний крепежный элемент верхней панели, расположенный на верхней панели и обращенный к передней панели, передний крепежный элемент нижней панели, расположенный на первой нижней панели и обращенный к передней панели, первый крепежный элемент передней панели, расположенный на кромке передней панели и запрессованный с первым передним крепежным элементом, второй крепежный элемент передней панели, расположенная на кромке передней панели и запрессованный со вторым передним крепежным элементом, верхний крепежный элемент передней панели, расположенный на кромке передней панели и запрессованный с передним крепежным элементом верхней панели, и нижний крепежный элемент передней панели, расположенный на кромке передней панели и запрессованный с передним крепежным элементом нижней панели.

[34] В одном варианте осуществления задняя панель включает в себя первую заднюю панель, соединенную с первой боковой панелью, вторую боковую панель, верхнюю панель и заднюю поверхность верхней рамы, и вторую заднюю панель, соединенную с возможностью съема с задней поверхностью первой боковой рамы и задней поверхностью второй боковой рамы, причем вторая задняя панель расположена под первой задней панелью.

[35] В одном варианте осуществления устройство дополнительно содержит задний крепежный элемент верхней панели, расположенный на верхней панели и обращенный к задней панели, первый задний крепежный элемент и первый нижний крепежный элемент, расположенные на первой боковой панели и обращенные к задней панели и нижней панели, соответственно, второй задний крепежный элемент и второй нижний крепежный элемент, расположенные на второй боковой панели и обращенные к задней панели и нижней панели, соответственно, верхний крепежный элемент задней панели, расположенный на кромке первой задней панели и запрессованный с задним крепежным элементом верхней панели, первый крепежный элемент задней панели, расположенный на кромке первой задней панели и запрессованный с первым задним крепежным элементом, второй крепежный элемент задней панели, расположенный на кромке первой задней панели и запрессованный со вторым задним крепежным элементом, первый задний крепежный элемент рамы, расположенный сзади первой боковой рамы и запрессованный с первым задним крепежным элементом, первый нижний крепежный элемент рамы, расположенный под первой боковой рамой и запрессованный с первым нижним крепежным элементом, второй задний крепежный элемент рамы, расположенный сзади второй боковой рамы и запрессованный со вторым задним крепежным элементом, и второй нижний крепежный элемент рамы, расположенный под второй боковой рамой и запрессованный со вторым нижним крепежным элементом.

[36] В одном варианте осуществления устройство дополнительно содержит впускное отверстие для пенопласта, проходящее через первую заднюю панель, причем пенопласт впрыснут через входное отверстие для пенопласта.

[37] в одном варианте осуществления устройство дополнительно содержит газовыпускное отверстие, проходящее через первую заднюю панель, для выпуска газа из кожуха, причем диаметр газовыпускного отверстия меньше диаметра впускное отверстия для пенопласта.

[Технические эффекты]

[38] настоящее раскрытие может реализовать устройство для обработки белья, в котором теплоизолятор расположен в области, образованной между кожухом, образующим внешний вид устройства, и камерой, обеспечивающей область для размещения в нем белья.

[39] Кроме того, настоящее раскрытие может реализовать устройство для обработки белья, в котором теплоизолятор воплощен в виде пенопласта, вставленного в область, образованную между кожухом и камерой.

[40] Кроме того, настоящее раскрытие может реализовать устройство для обработки белья, имеющее крепежную конструкцию, обеспечивающую предотвращение утечки пенопласта, вставленного в область, образованную между кожухом и камерой, во внутреннюю часть камеры или снаружи кожуха.

[41] Кроме того, настоящее раскрытие может реализовать устройство для обработки белья, в котором пенопласт вставлен между кожухом и камерой для минимизации вибрации кожуха.

Краткое описание чертежей

[42] Фиг.1 - пример устройства для обработки белья в соответствии с настоящим раскрытием.

[43] Фиг.2 - пример узла подачи воздуха, включенного в устройство для обработки белья, в соответствии с настоящим раскрытием.

[44] Фиг.3 - пример узла подачи влаги, включенного в устройство для обработки белья, в соответствии с настоящим раскрытием.

[45] Фиг.4 и фиг.5 - один пример опоры для белья, включенной в устройство для обработки белья в соответствии с настоящим раскрытием.

[46] Фиг.6 - один пример каждого из кожуха, образующей первую камеру конструкции, и образующей вторую камеру конструкции, включенных в устройство для обработки белья, в соответствии с настоящим раскрытием.

[47] Фиг.7, 8 и 9 - один пример каждой из верхней панели, первой боковой панели, второй боковой панели, нижней панели и задней панели, образующих кожух.

[48] Фиг.10, 11 и 12 - один пример образующей первую камеру конструкции.

[49] Фиг.13 - один пример каждого из опорной рамы, первого опорного корпуса и второго опорного корпуса, включенных в устройство для обработки белья, в соответствии с настоящим раскрытием.

[50] Фиг.14 - один пример образующей вторую камеру конструкции.

[51] Фиг.15, 16 и 17 - один пример соединительной конструкции кожуха, образующей первую камеру конструкции, и образующей вторую камеру конструкции.

Подробное описание

[52] Ниже, предпочтительный вариант настоящего раскрытия будет подробно описан со ссылкой на прилагаемые чертежи. Конфигурация или способ управления устройством, которые будут описаны ниже, предназначены только для описания варианта осуществления настоящего раскрытия и не предназначены для ограничения объема настоящего раскрытия. Одни и те же ссылочные позиции, используемые в данном документе, представляют одни и те же элементы.

[53] Как показано на фиг.1, устройство 100 для обработки белья в соответствии с настоящим раскрытием включает в себя кожух 1, образующий внешний вид устройства, и первую камеру 29, расположенную внутри кожуха, для обеспечения области для размещения в ней белья. Как показано на фиг.2, вторая камера 39 расположена под первой камерой и образует область, отделенную от первой камеры, и образована внутри кожуха. Вторая камера 39 содержит в себе узлы 7 и 8 подачи, выполненные с возможностью подачи влаги и/или воздуха в первую камеру 29. Фиг.2 и 3 изображают случай, когда как узел 7 подачи воздуха, так и узел 8 подачи влаги расположены во второй камере 39.

[54] Как показано на фиг.2, узел 7 подачи воздуха может быть выполнен с возможностью включения в себя циркуляционного канала 71, 72 и 74, расположенного во второй камере 39, теплообменника 77, который последовательно выполняет осушение и нагрев воздуха, поданного в циркуляционный канал, и водосборник 79, который сливает водоконденсат, образующийся из теплообменника, на наружную сторону второй камеры 39.

[55] Циркуляционный канал может быть выполнен с возможностью включения в себя впускного канала 71, выполненного для сообщения с первой камерой 29, выпускной канал 72, выполненный для сообщения с первой камерой 29, и соединительный канал 74, соединяющий впускной канал и выпускной канал друг с другом.

[56] Вентилятор 741 расположен на циркуляционном канале для последовательного перемещения воздуха из первой камеры 29 по впускному каналу, соединительному каналу и выпускному каналу. На фиг.2 показан пример, в котором вентилятор 741 установлен на соединительном канале 74.

[57] Теплообменник 77 может быть выполнен в виде любого устройства до тех пор, пока устройство осушает воздух, поданный во впускной канал 71, и нагревает осушенный воздух. На фиг.2 показан пример, в котором теплообменник 77 выполнен в виде теплового насоса.

[58] Другими словами, теплообменник 77 на фиг.2 может быть выполнен с возможностью включения в себя трубы 777 хладагента, которая образует циркуляционный канал хладагента, первый теплообменник 771, который закреплен на трубе хладагента и расположен внутри соединительного канала 74, второй теплообменник 773, который закреплен на трубе хладагента и расположен между первым теплообменником 771 и вентилятором 741, компрессор 775, который обеспечивает циркуляцию хладагента между двумя теплообменниками 771 и 773 по трубе хладагента, и регулятор давления (не показан), который регулирует давление трубы хладагента. Компрессор 775 и регулятор давления могут быть расположены снаружи циркуляционного канала 71, 72 и 74.

[59] Первый теплообменник 771 может быть выполнен в виде испарителя, который передает тепло воздуха, проходящего во впускной канал 71, хладагенту для охлаждения воздуха и испарения хладагента. В этом случае влага, содержащаяся в воздухе, будет перемещаться по поверхности первого теплообменника 771 и собираться на нижней поверхности соединительного канала 74.

[60] Второй теплообменник 773 может быть выполнен в виде конденсатора, который передает тепло хладагента, прошедшего через компрессор 775, воздуху, прошедшему через первый теплообменник, таким образом, нагревая воздух и конденсируя хладагент.

[61] как показано на фиг.3, циркуляционный канал 71, 72 и 74 и компрессор 775 могут быть закреплены на приемном корпусе 78, расположенном внутри второй камеры 39. Приемный корпус 78 может быть выполнен с возможностью извлечения из второй камеры 39, когда участок 14b задней панели 14, образующий заднюю поверхность кожуха 1, удален из кожуха.

[62] Пользователь сможет извлекать узел 7 подачи воздуха из второй камеры, посредством извлечения приемного корпуса 78 из второй камеры 39. Таким образом, приемный корпус 78 может облегчать проверку узла 7 подачи воздуха. Кроме того, блок управления 781, который управляет различными устройствами, расположенными в устройстве 100 для обработки белья, включая теплообменник 77, также может быть расположен на приемном корпусе 78. В этом случае блок управления 781 предпочтительно расположен в положении таком, что блок управления открыт на наружную сторону, когда участок 14b задней панели отделен от кожуха 1.

[63] Как показано на фиг.2, водосборник 79 может быть выполнен с возможностью включения в себя сливного резервуара 791, расположенного на наружной стороне второй камеры 39, для обеспечения области для хранения в нем воды, сквозного отверстия сливного резервуара, проходящего через сливной резервуар 791, первой выпускной трубы 799а, вставленной в сквозное отверстие сливного резервуара, второй выпускной трубы 799b, которая сливает водоконденсат, слитый из первого теплообменника 771, на наружную сторону циркуляционного канала, и водоотливного насоса 799, который перемещает водоконденсат, выпущенный во вторую выпускную трубу 799b, в первую выпускную трубу 799а.

[64] Сливной резервуар 791 может быть расположен с возможностью съема на передней поверхности кожуха 1. В этом случае обратный клапан 797 может быть расположен на сквозном отверстии сливного резервуара. Обратный клапан 797 выполнен с возможностью обеспечения вставки первой выпускной трубы 799а в сквозное отверстие сливного резервуара, но предотвращения слива воды из сливного резервуара через сквозное отверстие сливного резервуара. Таким образом, когда сливной резервуар 791 соединен с передней поверхностью кожуха, блок управления 781 сможет передавать водоконденсат из циркуляционного канала в сливной резервуар 791 с помощью водоотливного насоса 799.

[65] Выпускное отверстие 793, через которое выпускается водоконденсат, хранящийся в сливном резервуаре, образовано на одной поверхности сливного резервуара 791. На фиг.2 изображен пример, в котором выпускное отверстие 793 образовано на верхней поверхности сливного резервуара. Выпускное отверстие 793 может открываться и закрываться крышкой 795, расположенной с возможностью съема на сливном резервуаре.

[66] Кроме того, узел 7 подачи воздуха может быть выполнен с возможностью осушения воздуха в помещении, в котором установлено устройство 100 для обработки белья в соответствии с настоящим раскрытием. С этой целью узел 7 подачи воздуха может дополнительно включать в себя канал 76 для наружного воздуха, который сообщается с циркуляционным каналом 71, 72 и 74 с наружной стороны второй камеры 39, первый клапан 711, который управляет открытием и закрытием впускного канала 71, и второй клапан 761, который управляет открытием и закрытием канала 76 для наружного воздуха. Первый клапан 711 и второй клапан 761 могут быть выполнены с возможностью открытия или закрытия соответствующих каналов 71 и 76, соответственно под управлением блока управления 781.

[67] Узел 8 подачи влаги, включенный в устройство для обработки белья в соответствии с настоящим раскрытием, может быть выполнен с возможностью подачи нагретого водяного пара (пара) в первую камеру и может быть выполнен с возможностью подачи ненагретого водяного пара (тумана) в первую камеру. На фиг.3 показан пример, в котором узел 8 подачи влаги выполнен с возможностью подачи пара, генерируемого посредством нагрева воды, в первую камеру.

[68] То есть, узел 8 подачи влаги может включать в себя парогенератор 81, который расположен во второй камере 39, для генерации пара, паровой распылитель 84, который выпускает пар, поданный из парогенератора в первую камеру 29, и узел 86 подачи воды для подачи воды в парогенератор.

[69] Парогенератор 81 может включать в себя емкость 811 для воды, которая обеспечивает область для хранения воды в ней, и нагреватель 813, выполненный с возможностью нагрева воды внутри емкости 811 для воды. Емкость 811 для воды имеет впускное отверстие 811а для воды, через которое вода поступает в емкость 811, и паровыпускное отверстие 811в, которое выпускает пар, из емкости 811 для воды. Емкость 811 для воды может быть закреплена на приемном корпусе 78 и может быть закреплена на соединительном канале 74.

[70] Паровой распылитель 84 может включать в себя распылительный корпус 841, имеющий один конец, закрепленный на нижней поверхности 297 первой камеры, и другой конец, закрепленный на верхней поверхности второй камеры 39, подающую трубу 843 для подачи пара в распылительный корпус 841 и распылительное отверстие 847, которое выпускает пар из распылительного корпуса 841 в первую камеру 29. В этом случае подающая труба 843 может быть соединена с паровыпускным отверстием 811b через соединительную трубу 845.

[71] Когда циркуляционный канал расположен с возможностью съема в сквозных отверстиях (отверстиях, сообщающихся с первой камерой), образованных на верхней поверхности второй камеры 39, и когда соединительная труба 845 является достаточно длинной, пользователь сможет выдвигать приемный корпус 78 из второй камеры 39 для извлечения узла 7 подачи воздуха и узла 8 подачи влаги из второй камеры.

[72] Узел 86 подачи воды может быть выполнен с возможностью включения в себя резервуара 861 для подачи воды, расположенного на наружной стороне второй камеры 39, и подающий насос 869, который подает воду, хранящуюся внутри резервуара 861 для подачи воды, в емкость 811 для воды.

[73] Резервуар 861 для подачи воды может быть расположен с возможностью съема на передней поверхности кожуха 1. В этом случае резервуар 861 для подачи воды может иметь сквозное отверстие резервуара для подачи воды, проходящее через резервуар для подачи воды, и обратный клапан 867 для открытия и закрытия сквозного отверстия резервуара для подачи воды. Узел 86 подачи воды может быть выполнен с возможностью включения в себя первой подающей трубы 869а, вставленной в сквозное отверстие резервуара для подачи воды, второй подающей трубы 869b, соединенной с впускным отверстием 811а для воды, и подающего насоса 869 для перемещения воды, проходящей в первую подающую трубу 869а, во вторую подающую трубу 869b.

[74] Обратный клапан 867 выполнен с возможностью открытия сквозное отверстие резервуара для подачи воды только тогда, когда первая подающая труба 869а вставлена в сквозное отверстие резервуара для подачи воды. Таким образом, когда резервуар 861 для подачи воды соединен с передней поверхностью кожуха, блок управления 781 сможет подавать воду в емкость 811 для воды с помощью подающего насоса 869.

[75] Отверстие 863 для подачи воды образовано на одной поверхности резервуара 861 для подачи воды. На фиг.3 показан пример, в котором отверстие 863 для подачи воды образовано на верхней поверхности резервуара для подачи воды. Отверстие 863 для подачи воды может открываться и закрываться крышкой 865, которая съемно расположена на резервуаре для подачи воды.

[76] Как показано на фиг.1, первая камера 29 может вмещать опору для белья для поддержания белья. Опора для белья может быть выполнена с возможностью включения в себя по меньшей мере одну из первой опоры 6а и второй опоры 6b.

[77] Первая опора 6а может включать в себя опорную пластину, соединенную с возможностью съема со второй камерой 29, и сквозное отверстие опорной пластины, выполненное для прохождения через опорную пластину. Вторая опора 6b может включать в себя опорный стержень 66, на котором поддерживается с возможностью съема крюк H2 подвески H1, первый соединитель 62 и второй соединитель 64 для соединения обоих концов опорного стержня 66 с верхней поверхностью первой камеры 29, соответственно, и приводной узел 67, 68 и 69 для перемещения опорного стержня 66 по направлению ширины (направлению оси X) первой камеры 29.

[78] Как показано на фиг.2, вторая опора 6b может быть закреплена на опорной раме 61, которая расположена неподвижно между верхней поверхностью кожуха 1 и верхней поверхностью первой камеры 29. Как показано на фиг.4, опорная рама 61 может иметь первое сквозное отверстие 611 опорной рамы и второе сквозное отверстие 613 опорной рамы, расположенные на расстоянии друг от друга по направлению ширины (направлению оси X) первой камеры. В этом случае первый соединитель 62 установлен в первом сквозном отверстии 611 опорной рамы. Второй соединитель 64 установлен во втором сквозном отверстии 613 опорной рамы. То есть, первый соединитель 62 может быть выполнен в виде первого соединительного стержня 623, вставленного в первое сквозное отверстие 611 опорной рамы и закрепленного на опорной раме 61. Второй соединитель 64 может быть выполнен в виде второго соединительного стержня 643, вставленного во второе сквозное отверстие 613 опорной рамы и закрепленного на опорной раме 61.

[79] Первый соединительный стержень 623 может быть соединен с возможностью поворота с первым неподвижным участком 621, закрепленным на первом сквозном отверстии 611 опорной рамы. Второй соединительный стержень 643 может быть соединен с возможностью поворота со вторым неподвижным участком 641, закрепленным на втором сквозном отверстии 613 опорной рамы.

[80] Для того, чтобы нижняя часть первого соединительного стержня 623 располагалась внутри первой камеры 29, и верхняя часть первого соединительного стержня 623 располагалась над опорной рамой 61, первый неподвижный участок 621 может иметь форму колонны с открытыми верхней и нижней поверхностями.

[81] Подобным образом, для того чтобы нижняя часть второго соединительного стержня 643 располагалась внутри первой камеры 29, и верхняя часть второго соединительного стержня 643 располагалась над опорной рамой 61, второй неподвижный участок 641 может иметь форму колонны с открытыми верхней и нижней поверхностями.

[82] Опорный стержень 66 может иметь один конец, закрепленный в нижней части первого соединительного стержня 623, и другой конец, закрепленный в нижней части второго соединительного стержня 643. Опорный стержень 66 может иметь канавку 661 для подвесного кронштейна, образованную в нем, в которой крюк H2 подвесного кронштейна размещен с возможностью отсоединения.

[83] Приводной узел 67, 68 и 69 может выполнен с возможностью включения в себя электродвигателя 67, закрепленного на опорной раме 61, вибратора 68, который попеременно и многократно совершает поворот менее чем на 90° по часовой стрелке и менее чем на 90° против часовой стрелки с помощью электродвигателя 67, и силовую передачу 69, которая преобразует вращательное движение вибратора 68 в возвратно-поступательное движение опорного стержня.

[84] Вибратор 68 включает в себя первый корпус 681, расположенный над электродвигателем 67, и второй корпус 682 и третий корпус 683, расположенные на противоположных сторонах первого корпуса 681, соответственно, и закрепленные на первом корпусе 681. Как показано на фиг.5(a), первый корпус 681 вмещает в себя ведущую шестерню 684, вращаемую вращающимся валом 671 электродвигателя, и первую ведомую шестерню 684b и вторую ведомую шестерню 684c, соответственно, расположенные на противоположных сторонах ведущей шестерни.

[85] Первый элемент вибрации расположен внутри второго корпуса 682. Второй элемент вибрации расположен внутри третьего корпуса 683.

[86] Первый элемент вибрации может быть выполнен с возможностью включения в себя первой шестерни 685, которая расположена внутри второго корпуса 682 и вращается первой ведомой шестерней 684b, и первого грузика 686, закрепленного на первой шестерне 685. Подобным образом, второй элемент вибрации может быть выполнен с возможностью включения в себя второй шестерни 687, которая расположена внутри третьего корпуса 683 и вращается второй ведомой шестерней 684с, и второго грузики 688, закрепленного на второй шестерне 687. Первый грузик 686 может относиться к средству для расположения центра тяжести первой шестерни 685 в положении между центром вращения первой шестерни 685 и кромкой первой шестерни. Второй грузик 688 может относиться к средству для расположения центра тяжести второй шестерни 687 в положении между центром вращения второй шестерни 687 и кромкой второй шестерни.

[87] На фиг.5 показан пример, где каждый из первого грузика 686 и второго грузика 688 имеет полукруглую форму. В этом случае первый грузик 686 и второй грузик 688 должны быть расположены на расстоянии друг от друга на 180°. То есть, когда первый грузик 686 может быть закреплен на первой шестерне 685 так, чтобы поверхность была обращена к оси +Х, в то время как второй грузик 688 может быть закреплен на второй шестерне 687 так, чтобы поверхность была обращена к оси -Х.

[88] Силовая передача 69 может включать в себя передаточный стержень 691, расположенный над первым корпусом 681 вибратора и соединяющий первый соединительный стержень 623 и второй соединительный стержень 643 друг с другом, прорезь 693, образованную в передаточном стержне 691, и выступ 695 прорези, выступающий от первого корпуса 681 и вставленный в прорезь 693. Прорезь 693 может проходить по направлению оси Z, ортогональному к направлению перемещения опорного стержня 66. Длина прорези 693 может быть установлена равной смещению в направлении оси Z выступа 695 прорези или может быть установлена большей, чем смещение в направлении оси Z выступа 695 прорези.

[89] Как показано на фиг.5(b), во второй опоре 6b с вышеописанной конструкцией, когда вращающийся вал 671 электродвигателя вращается против часовой стрелки, первый грузик 686 и второй грузик 688 также вращаются против часовой стрелки с помощью шестерен 684а, 684в, 684с, 685 и 687. Первый грузик 686 и второй грузик 688 всегда ориентированы к поверхности в противоположных направлениях. Таким образом, когда ведущая шестерня 684 вращается, первый корпус 681 попеременно повторяет вращение менее, чем на 90° по часовой стрелке и менее, чем на 90° против часовой стрелки. Когда первый корпус 681 повторяет попеременно вращение менее чем на 90° по часовой стрелке и менее, чем на 90° против часовой стрелки, выступ 695 прорези, выступающий от первого корпуса, может совершать возвратно-поступательно движение по дуге.

[90] В одном примере длина прорези 693 установлена больше, чем смещение оси Z выступа 695 прорези, передаточный стержень 691 будет совершать возвратно-поступательное движение по направлению оси X, ортогональному к продольному направлению прорези 693. Поскольку опорный стержень 66, расположенный внутри первой камеры 29, соединен с передаточным стержнем 691 через первый соединительный стержень 623 и второй соединительный стержень 643, опорный стержень 66 будет совершать возвратно-поступательное движение по направлению ширины первой камеры. Таким образом, устройство в соответствии с настоящим раскрытием может встряхивать белье внутри первой камеры 29, и, таким образом, грязь на белье может быть отделена от белья. Кроме того, когда влага подается в первую камеру 29 во время встряхивания белья, морщины на белье могут быть удалены более эффективно.

[91] Как показано на фиг.6, кожух 1 включает в себя корпус 11 кожуха, образующий верхнюю поверхность и обе боковые поверхности. Корпус 11 кожуха включает в себя верхнюю панель 111, образующую верхнюю поверхность устройства 100 для обработки белья, и первую боковую панель 112 и вторую боковую панель 113, соответственно, образующие левую и правую стороны устройства для обработки белья. Верхняя панель 111, первая боковая панель 112 и вторая боковая панель 113 могут быть выполнены как одно целое друг с другом или могут быть собраны друг с другом для образования единого корпуса 11 кожуха. На фиг.6 изображен один пример, в котором верхняя панель, первая боковая панель и вторая боковая панель выполнены как одно целое друг с другом.

[92] Кожух 1 включает в себя нижнюю панель 16, которая образует нижнюю поверхность устройства 100 для обработки белья, и которая соединена с корпусом 11 кожуха, и заднюю панель 14, которая образует заднюю поверхность устройства 100 для обработки белья и соединена с корпусом 11 кожуха.

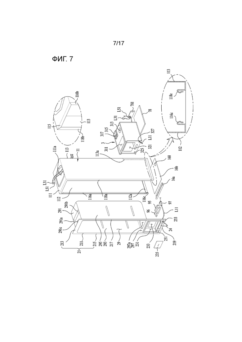
[93] Кожух 1 вмещает образующую первую камеру конструкцию 2, образующую первую камеру 29, и образующую вторую камеру конструкцию 3, образующую вторую камеру, образующую вторую камеру 39.

[94] Образующая вторую камеру конструкция 3 включает в себя первое основание 21, закрепленное на кожухе 1 и расположенное на передней поверхности кожуха, входное отверстие 22 для белья, проходящее через первое основание и сообщающееся со второй камерой 29, приемный участок 23 для резервуара, расположенный под входным отверстием для белья, для обеспечения области для размещения сливного резервуара 791 и резервуара 861 для подачи воды, и первое впускное отверстие 24 для наружного воздуха, образованное под приемным участком для бака и соединенное с каналом 76 для наружного воздуха.

[95] Образующая вторую камеру конструкция 3 может включать в себя второе основание 31, 32, и 34 и 36, определяющее вторую камеру 39 под первой камерой 29. Другими словами, второе основание может включать в себя переднюю раму 32, расположенную между первым основанием 21 и задней панелью 14, верхнюю раму 31, проходящую от передней рамы 32 к панели 14 и расположенную на расстоянии от нижней поверхности первой камеры 29, первую боковую раму 34, закрепленную на двух рамах 31 и 32 и расположенную на расстоянии от первой боковой панели 112, и вторую боковую раму 36, закрепленную на двум рамах 31 и 32 и расположенную на расстоянии от второй боковой панели 113. В этом случае вторая камера 39 будет образована передней рамой 32, верхней рамой 31, первой боковой рамой 34, второй боковой рамой 34, нижней панелью 16 и задней панелью 14.

[96] Задняя панель 14 может включать в себя первую заднюю панель 14а, которая образует верхнюю заднюю поверхность кожуха, и вторую заднюю панель 14b, которая расположена под первой задней панелью и образует нижнюю заднюю поверхность кожуха. Первая задняя панель 14а может быть выполнена с возможностью размещения в задней части первой камеры 29. Вторая задняя панель 14b может быть выполнена с возможностью образования задней поверхности второй камеры 39.

[97] Нижняя панель 16 может быть выполнена с возможностью включения в себя первой нижней панели 16а, на которой поддерживаются ножки 18 и 19, и второй нижней панели 16b, соединенной с первой нижней панелью 16а.

[98] Первая нижняя панель 16а может иметь переднюю поверхность, закрепленную на первом основании 21, заднюю поверхность, закрепленную на передней раме 32 второго основания, и обе боковые поверхности, соответственно, закрепленные в нижней части первой боковой панели 112 и нижней части второй боковой панели 113. Таким образом, первая нижняя панель 16а может поддерживать расстояние между передней панелью 211 и передней рамой 32.

[99] Вторая нижняя панель 16b может быть расположена под вторым основанием 31, 32, 34 и 36 и может иметь переднюю поверхность, соединенную с задней поверхностью первой нижней панели 16a, и обе боковые поверхности, закрепленные на нижней поверхности первой боковой рамы 34 и нижней поверхности второй боковой рамы, соответственно. Однако, обе боковые поверхности второй нижней панели 16b могут быть выполнены с возможностью закрепления на первой боковой панели 112 и второй боковой панели 113, соответственно.

[100] Первая ножка 18 и вторая ножка 19, установленные на нижней поверхности внутреннего помещения для поддержки устройства 100 для обработки белья, закреплены на первой нижней панели 16а. Ролики 168, облегчающие перемещение устройства для обработки белья, могут быть расположены на второй нижней панели 16b. В этом случае вторая камера 39 будет образована передней рамой 32, верхней рамой 31, первой боковой рамой 34, второй боковой рамой 34, второй нижней панелью 16b и второй задней панелью 14b.

[101] Первая ножка 18 и вторая ножка 19 могут быть выполнены в виде конструкции, обеспечивающей регулировку расстояния между нижней поверхностью установочной области, в которой установлено устройство для обработки белья, и первой нижней панелью 16а. В задней панели 14b может быть образовано сообщающееся отверстие 142 для сообщения внутренней части второй камеры 39 с ее наружной стороной.

[102] Как показано на фиг. 7, передний крепежный элемент 114 верхней панели, первый передний крепежный элемент 116А и второй передний крепежный элемент 118а могут быть расположены спереди верхней панели 111, спереди первой боковой панели 112 и спереди второй боковой панели 113, соответственно. Верхняя часть первого основания 21 и обе его боковые стороны могут быть соединены с кожухом 1 с помощью переднего крепежного элемента 114 верхней панели, первого переднего крепежного элемента 116А и второго переднего крепежного элемента 118а, соответственно.

[103] Задний крепежный элемент 115 верхней панели, первый задний крепежный элемент 116b и второй задний крепежный элемент 118b могут быть расположены в задней части верхней панели 111, в задней части первой боковой панели 112 и в задней части второй боковой панели 113, соответственно. Как показано на фиг.8, первая задняя панель 14а имеет верхний крепежный элемент 145 задней панели, соединяющийся с задним крепежным элементом 115 верхней панели, первый крепежный элемент 147 задней панели, соединяющийся с первым задним крепежным элементом 116b, и второй крепежный элемент 149 задней панели, соединяющийся со вторым задним крепежным элементом 118b. В одном примере нижняя часть первой задней панели 14а закреплена на задней поверхности верхней рамы 31, представляющей собой образующую вторую камеру конструкцию 3, с помощью нижнего крепежного элемента 148 задней панели.

[104] В одном примере задние поверхности 343 и 363 второго основания 31, 32, 33 и 34 могут быть закреплены на кожухе 1 с помощью первого заднего крепежного элемента 116b и второго заднего крепежного элемента 118b. Вторая задняя панель 14b может быть соединена с возможностью съема с задними поверхностями 343 и 363 второго основания с помощью крепежного элемента 146 основания. Одним примером крепежного элемента 146 основания может быть болт, который закрепляет вторую заднюю панель 14b на задних поверхностях 343 и 363 второго основания.

[105] Как показано на фиг.9, первый нижний крепежный элемент 116с и второй нижний крепежный элемент 118с могут быть расположены в нижней части первой боковой панели 112 и нижней части второй боковой панели 113, соответственно. Нижние поверхности 347 и 367 первой нижней панели 16А и второго основания могут быть закреплены на кожухе с помощью первого нижнего крепежного элемента 116с и второго нижнего крепежного элемента 118с, соответственно.

[106] То есть, первая нижняя панель 16а включает в себя корпус 161 панели, передний крепежный элемент 162 нижней панели, расположенный на передней поверхности корпуса 161 панели и соединенный с нижней частью первого основания 21, передний крепежный элемент 165 рамы, который расположен на задней поверхности корпуса 161 панели и закреплен на передней раме 32 образующей вторую камеру конструкции, первый крепежный элемент 167 нижней панели, расположенный на одной боковой поверхности корпуса 161 панели и соединяющийся с первым нижним крепежным элементом 116с, и второй крепежный элемент 169 нижней панели, расположенный на противоположной боковой поверхности корпуса 161 панели и соединяющийся со вторым нижним крепежным элементом 118с.

[107] Один конец второй нижней панели 16b может быть соединен с соединителем 163 панели, расположенным на корпусе 161 панели. Соединитель 163 панели может включать в себя выступающую пластину, выступающую от нижней поверхности корпуса 161 панели и обеспечивающую область для размещения в ней переднего конца второй нижней панели 16b.

[108] Как показано на фиг.10, образующая первую камеру конструкция 2, включает в себя первое основание 21, которое закреплено на кожухе 1 и расположено спереди кожуха, вторую камеру 29, которая закреплена на первом основании и обеспечивает область для размещения в ней белья, входное отверстие 22 для белья, которое проходит через первое основание и сообщается со второй камерой 29, и приемный участок 23 для резервуара, расположенный на первом основании и расположенный под входным отверстием для белья, и первое отверстие 24 для впуска наружного воздуха, образованное под приемным участком 23 для резервуара и сообщающееся с каналом 76 для наружного воздуха.

[109] Первое основание 21 может включать в себя переднюю панель 211, образующую переднюю поверхность кожуха 1, и верхний крепежный элемент 213 передней панели, первый крепежный элемент 215 передней панели, второй крепежный элемент 217 передней панели и нижний крепежный элемент 219 передней панели, которые расположены по кромке передней панели.

[110] Верхний крепежный элемент 213 передней панели соединен с передним крепежным элементом 114 верхней панели. Первый крепежный элемент 215 передней панели соединен с первым передним крепежным элементом 116а кожуха. Второй крепежный элемент 217 передней панели соединен со вторым передним крепежным элементом 118а кожуха. Нижний крепежный элемент 219 передней панели соединен с передним крепежным элементом 162 нижней панели.

[111] Входное отверстие 22 для белья может быть выполнено в виде сквозного отверстия, проходящего через переднюю панель 211. Как показано на фиг.7, вторая камера 29 может включать в себя верхнюю поверхность 291 камеры, которая закреплена на передней панели 211 и расположена в верхней части входного отверстия 22 для белья, нижнюю поверхность 297 камеры, которая закреплена на передней панели 211 и расположена в нижней части входного отверстия 22 для белья, первую боковую поверхность 293 камеры и вторую боковую поверхность 295 камеры, которые закреплены на передней панели 211 и соединяют верхнюю поверхность камеры и нижнюю поверхность камеры друг с другом, и заднюю поверхность 298 камеры, закрепленную на четырех поверхностях 291, 293, 295 и 297.

[112] Верхняя поверхность 291 камеры может иметь первое сквозное отверстие 291а стержня, в которое вставлен первый соединительный стержень 623 второй опоры 6b, и второе сквозное отверстие 291b стержня, в которое вставлен второй соединительный стержень 643. Кроме того, верхняя поверхность 291 камеры может иметь отверстие 291с для вставки лампы, через которое вставлена лампа 299, выполненная с возможностью освещения внутренней части первой камеры 29.

[113] Как показано на фиг.10, нижняя поверхность 297 камеры может иметь первое сквозное отверстие 297а камеры, второе сквозное отверстие 297b камеры и третье сквозное отверстие 297с камеры.

[114] Первое сквозное отверстие 297а камеры может относиться к средству подачи воздуха из первой камеры 29 во впускной канал 71, расположенный во второй камере 39. Второе сквозное отверстие 297b камеры может относиться к средству подачи воздуха, выпущенного из выпускного канала 72, расположенного во второй камере 39, в первую камеру 29. Третье сквозное отверстие 297с камеры может относиться к области, в которой неподвижно расположена верхняя поверхность распылительного корпуса 841. Пар, выходящий из распылительного отверстия 847, может подаваться в первую камеру 29 через третье сквозное отверстие 297с камеры.

[115] Приемный участок 23 для резервуара, расположенный под входным отверстием 22 для белья, может включать в себя приемную канавку 231, выполненную в виде канавки, образованной вогнуто, на поверхности передней панели 211 к образующей вторую камеру конструкции 3. Приемная канавка 231 обеспечивает область, в которой размещены с возможностью съема сливной резервуар 761 и резервуар 861 для подачи воды.

[116] Приемная канавка 231 может включать в себя сообщающееся отверстие 233 второй камеры, выполненное с возможностью сообщения со второй камерой 39. Первая выпускная труба 799а узла подачи воздуха и первая подающая труба 869а узла подачи влаги могут быть соединены соответственно с резервуарами 791 и 861 через сообщающееся отверстие 233 второй камеры.

[117] Как показано на фиг.7, сообщающееся отверстие 233 второй камеры может открываться и закрываться крышкой 235 сообщающегося отверстия, которая соединена с возможностью съема с передней панелью 211. В этом случае первая выпускная труба 799а и первая подающая труба 869а должны быть выполнены с возможностью прохождения через крышку 235 сообщающегося отверстия.

[118] Входное отверстие 22 для белья и приемный участок 23 для резервуара могут быть выполнены с возможностью открытия и закрытия дверцей 4, соединенной с возможностью поворота по меньшей мере с одним из первого основания 21 или кожуха 1.

[119] Как показано на фиг.6, дверца 4 выполнена с возможностью одновременного открытия или закрытия входного отверстия 22 для белья и приемного участка 23 для резервуара. С этой целью дверца 4 может включать в себя корпус 41, выполненный в виде конструкции формы, соответствующей форме передней поверхности кожуха 1. Корпус 41 дверцы может быть закреплен с возможностью поворота на кожухе 1 или первом основании 21 с помощью первого шарнира 52 и второго шарнира 58.

[120] На фиг.6 показан один пример, в котором первый шарнир 52 и второй шарнир 58 закрепляют корпус 41 дверцы на первом основании 21. В этом случае первый шарнир 52 может быть расположен в верхней части входного отверстия 22 для белья, в то время как второй шарнир 58 может быть расположен в нижней части приемного участка 23 для резервуара.

[121] Дверца 4 может дополнительно включать в себя панель 43 управления, которая закреплена на корпусе 41 дверцы. Панель 43 управления может включать в себя входной интерфейс 433, 435 и 437 для приема команды управления от пользователя и дисплей 431, отображающий команду управления, выбираемую пользователем, и процесс выполнения команды управления, выбранной пользователем. Входной интерфейс может включать в себя первый входной интерфейс 433, который обеспечивает информирует пользователя о подаче питания на устройство 100 обработки белья, второй входной интерфейс 435, который принимает команду управления от пользователя, и третий входной интерфейс 437, который принимает команду на включение команды управления, выбранной через второй входной интерфейс.

[122] Как показано на фиг.6 и 7, панель 43 управления соединена с блоком 781 управления, установленным во второй камере 39, через первый провод. Первый провод может включать в себя соединительный провод L13 панели управления, соединенный с панелью 43 управления, и первый провод L11 управления, соединяющий блок 781 управления и соединительный провод L13 панели управления друг с другом. Для обеспечения простоты сборки соединительный провод L13 панели управления и первый провод L11 управления могут соединяться друг с другом или отсоединяться друг от друга.

[123] Как показано на фиг.6, первый шарнир 52 и второй шарнир 58 могут быть расположены на правой верхней и правой нижней частях передней панели 211, соответственно, так что корпус 41 дверцы может быть выполнен с возможностью поворота с помощью вращающегося вала, расположенного на правой стороне передней панели. В качестве альтернативы, первый шарнир 52 и второй шарнир 58 могут быть расположены, соответственно, в левой верхней и левой нижней частях передней панели 211, так что корпус 41 дверцы может быть выполнен с возможностью поворота с помощью вращающегося вала, расположенного на левой стороне передней панели.

[124] С этой целью, как показано на фиг.10, передняя панель 211 может включать в себя первый установочный участок 26, который обеспечивает область, в которой установлен первый шарнир 52, и второй установочный участок 27, который обеспечивает область, в которой установлен второй шарнир 58.

[125] Первый установочный участок 26 может включать в себя канавку, образованную вогнуто на передней панели 221, расположенную над входным отверстием 22 для белья к задней панели 14. Второй установочный участок 27 может включать в себя канавку, образованную вогнуто на передней панели 221, расположенную под приемной канавкой 231 к задней панели 14.

[126] Первый установочный участок 261 первого шарнира может быть расположен на левой стороне первого установочного участка 26. Второй установочный участок 263 первого шарнира может быть расположен справа от первого установочного участка 26. Первый шарнир 52 может быть выполнен с возможностью включения в себя корпуса 521 первого шарнира, закрепленного на первом установочном участке 26, и вращающийся вал 523, соединяющий корпус дверцы с корпусом 521 первого шарнира. Корпус 521 первого шарнира симметричен относительно горизонтальной линии (прямой линии X1, параллельной оси X), проходящей через центр первого шарнира. Это предназначено для обеспечения того, чтобы корпус 521 первого шарнира мог быть закреплен на любом из первого установочного участка 261 первого шарнира и второго установочного участка 263 первого шарнира.

[127] Первый установочный участок 271 второго шарнира расположен на левой стороне второго установочного участка 27. Второй установочный участок 273 второго шарнира расположен на правой стороне второго установочного участка 27. Как показано на фиг.9, второй шарнир 58 может быть выполнен с возможностью включения в себя корпуса 581 второго шарнира, который закреплен на втором установочном участке 27, и вращающегося вала 583, который соединяет корпус дверцы со корпусом 581 второго шарнира. Корпус 583 второго шарнира также предпочтительно выполнен симметричным относительно горизонтальной линии X2, проходящей через центр второго шарнира.

[128] В соответствии с настоящим раскрытием, первый шарнир 52 неподвижно расположен в верхнем области передней панели 211. Таким образом, при увеличении нагрузки на корпус 41 дверцы возрастает риск повреждения передней панели 211. Таким образом, для предотвращения повреждения передней панели 211 вследствие нагрузки на корпус 41 дверцы устройство в соответствии с настоящим раскрытием может дополнительно включать в себя первый шарнирный кронштейн 51, поддерживающий первый шарнир, и второй шарнирный кронштейн 54 и 56, поддерживающий второй шарнир.

[129] Первый шарнирный кронштейн 51 может включать в себя корпус 511 кронштейна, который закреплен на передней панели 211 и расположен внутри кожуха 1, первое приемное средство 515, которое расположено на корпусе кронштейна для обеспечения области для размещения в ней первого установочного участка 261 первого шарнира, и второе приемное средство 517, расположенное на корпусе кронштейна для обеспечения области для размещения в ней второго установочного участка 263 первого шарнира.

[130] Каждое из первого приемного средства 515 и второго приемного средства 517 может включать в себя или может быть выполнено в виде канавки, образованной вогнуто на поверхности корпуса 511 кронштейна в направлении от первого установочного участка 26.

[131] Корпус 511 кронштейна может быть закреплен на первом установочном участке 26 с помощью первого крепежного болта шарнира (не показан), который закрепляет первый шарнир 52 на первом установочном участке 26. То есть, первый крепежный болт шарнира проходит через первый шарнир 52 и первый установочный участок 26 и закреплен на корпусе 511 кронштейна.

[132] Для облегчения соединения между корпусом 511 кронштейна и первым установочным участком 26 первый участок 265 для фиксации положения может быть расположен на первом установочном участке 26, и второй участок 513 для фиксации положения 513, закрепленный на первом участке 265 для фиксации положения, может быть расположен на корпусе 511 кронштейна.

[133] В одном примере первый участок 265 для фиксации положения может быть выполнен в виде выступа, выступающего от первого установочного участка 26 к корпусу 511 кронштейна, в то время как второй участок 513 для фиксации положения может быть выполнен в виде сквозного отверстия, образованного в корпусе 511 кронштейна, и в которое вставлен первый участок для фиксации положения.

[134] Как показано на фиг.9, второй шарнирный кронштейн 54 и 56 может включать в себя первый кронштейн 54 второго шарнира, соединяющий первый установочный участок 271 второго шарнира и первую нижнюю панель 16а друг с другом, и второй кронштейн 56а второго шарнира, соединяющий второй установочный участок 273 второго шарнира и первую нижнюю панель 16а друг с другом.

[135] Второй кронштейн 56 второго шарнира может быть выполнен с возможностью включения в себя второй крепежной пластины 561 передней панели, которая закреплена на передней панели 211 и расположена между вторым установочным участком 273 второго шарнира и передней рамой 32, и второй крепежной пластины 563 нижней панели, соединяющей корпус 161 панели со второй крепежной пластиной 561 передней панели. Подобным образом, первый кронштейн 54 второго шарнира может быть выполнен с возможностью включения в себя первой крепежной пластины 541 передней панели, которая закреплена на передней панели 211 и расположена между первым установочным участком 271 второго шарнира и передней рамой 32, и первой крепежной пластины 543 нижней панели, соединяющей первую крепежную пластину 441 передней панели и корпус 161 панели друг с другом. Второй шарнир 58 может быть закреплен на первой крепежной пластине 541 передней панели с помощью второго крепежного болта второго шарнира (не показан).

[136] Когда второй шарнирный кронштейн расположен, первая ножка 18 может проходить через корпус 161 панели и может быть закреплена на первой крепежной пластине 543 нижней панели, в то время как вторая ножка 19 может проходить через корпус 161 панели и быть закреплена на второй крепежной пластине 563 нижней панели.

[137] Как показано на фиг.11, устройство 100 для обработки белья в соответствии с настоящим раскрытием может дополнительно включать в себя первую крышку 267 приемного участка, которая соединена с возможностью съема с первым установочным участком 26.

[138] Первая крышка 267 приемного участка может включать в себя корпус 267а первой крышки, который расположен с возможностью съема на первом установочном участке 26 для предотвращения открытия на наружную сторону первого установочного участка 261 первого шарнира и второго установочного участка 263 первого шарнира, и сквозное отверстие 267b первого шарнира, которое проходит через первый корпус 267а крышки и в которое вставлен первый шарнир 52.

[139] Поскольку первый шарнир 52 может быть закреплен на любом из первого установочного участка 261 первого шарнира и второго установочного участка 263 первого шарнира, каждый из первого корпуса 267а крышки и сквозного отверстия 267b первого шарнира должен быть выполнен симметричным относительно горизонтальной линии, проходящей через центр первого корпуса 267а крышки и центр сквозного отверстия 267b первого шарнира.

[140] Первый корпус 267а крышки может быть закреплен на первом установочном участке 26 с помощью первого крепежного элемента крышки. Первый крепежный элемент крышки может включать в себя крепежный выступ 267d, расположенный на одном из первого установочного участка 26 и первого корпуса 267a крышки, и крепежную канавку 267c, которая образована на другом из первого установочного участка 26 и первого корпуса 267a крышки, и в которую вставлен крепежный выступ. Крепежный выступ 267d может иметь форму такую, что выступ 267d запрессован в крепежную канавку 267c.

[141] для соединения с возможностью съема корпуса 41 дверцы с первым корпусом 267а крышки устройство 100 для обработки белья в соответствии с настоящим раскрытием может дополнительно включать в себя магнит 267е первой крышки, расположенный на первой крышке 267 приемного участка, и первый магнитный корпус 411 дверцы (см. фиг.1), расположенный на корпусе дверцы 41. Корпус 267а первой крышки может быть выполнен в виде магнитного корпуса, выполненного из металла. Первый магнитный корпус 411 дверцы может включать в себя постоянный магнит или металл, расположенный в области корпуса 41 дверцы, в которую выступает магнит 267e первой крышки.

[142] Как показано на фиг.12, вторая крышка 277 приемного участка может быть расположена на втором установочном участке 27. Вторая крышка 277 приемного участка может включать в себя корпус 277А второй крышки, который расположен с возможностью съема на втором установочном участке 271 для предотвращения открытия на наружную сторону первого установочного участка 271 второго шарнира и второго установочного участка 273 второго шарнира, и сквозное отверстие 277b второго шарнира, которое проходит через второй корпус 277А крышки, и в которое вставлен второй шарнир 58.

[143] Второй корпус 277А крышки может быть закреплен на втором установочном участке 27 с помощью крепежного элемента второй крышки. Крепежный элемент второй крышки может включать в себя крепежный выступ 277d, расположенный на одном из второго установочного участка 27 и корпуса 277a второй крышки, и крепежную канавку 277c, образованную на другом из второго установочного участка 27 и корпуса 277a второй крышки, так что крепежный выступ 277d принудительно вставлен в канавку 277c.

[144] В одном примере второй установочный участок 27 имеет первое впускное отверстие 24 для наружного воздуха, которое подает наружный воздух в циркуляционный канал. Таким образом, вторая крышка 277 приемного участка должна иметь сквозное отверстие 279 крышки, которое проходит через корпус 277А второй крышки и сообщается с первым впускным отверстием 24 для наружного воздуха.

[145] Хотя на чертеже это не показано, каждый из корпуса 277А второй крышки и сквозного отверстия 277b второго шарнира может иметь симметричную форму относительно горизонтальной линии, проходящей через центр корпуса 277А второй крышки, центр сквозного отверстия 279 крышки и центр сквозного отверстия 277b второго шарнира.

[146] Третий приемный участок 28 и крышка 281 третьего приемного участка, закрепленная на третьем приемном участке 28, могут быть дополнительно расположены на расстоянии, образованном передней панелью 211, и между входным отверстием 22 для белья и приемным участком 23 для резервуара.

[147] Третий приемный участок 28 может быть выполнен в виде канавки, образованной вогнуто на передней панели 211. Крышка 281 третьего приемного участка может включать в себя третий корпус 281а крышки, который принудительно вставлен в третий приемный участок 28. То есть, третий корпус 281а крышки может быть закреплен на третьем приемном участке 28 с помощью третьего крепежного элемента крышки, выполненного в виде крепежного выступа 281с, который принудительно вставляют в крепежную канавку 281b. Крепежная канавка 281b может быть образована на одном из третьего корпуса 281a крышки и третьего приемного участка 28, и крепежный выступ 281c может выступать на другом из третьего корпуса 281a крышки и третьего приемного участка 28.

[148] Для соединения с возможностью съема корпуса 41 дверцы с третьей крышкой 281 приемного участка устройство в соответствии с настоящим раскрытием может дополнительно включать в себя третий магнит 281d крышки, закрепленный на корпусе 281a третьей крышки, и второй магнитный корпус 413 дверцы (см. фиг.1), расположенный на корпусе дверцы 41. Корпус 281а третьей крышки может быть выполнен в виде магнитного корпуса, выполненного из металла. Второй магнитный корпус 413 дверцы может включать в себя постоянный магнит, или металл, расположенный в области корпуса 41 дверцы, выступает к магниту 281d третьей крышки.

[149] Как показано на фиг.13, опорная рама 61 может быть закреплена на кожухе 1 через сквозное отверстие 111а, проходящее через верхнюю панель 111, первый опорный корпус 91 и второй опорный корпус 92.

[150] Сквозное отверстие 111а может иметь любую форму до тех пор, пока отверстие 111а поддерживает кромку опорной рамы 61. Опорная рама 61 может быть закреплена на кожухе 1 с помощью крепежного элемента, такого как болт, который проходит через опорную раму и закрепляется на верхней панели 111.

[151] Первый опорный корпус 91 может быть выполнен в виде трубы, соединяющей первое сквозное отверстие 611 опорной рамы, проходящее через опорную раму 61, и первое сквозное отверстие 291а стержня, образованное на верхней поверхности 291 первой камеры, друг с другом. Второй опорный корпус 92 может быть выполнен в виде трубы, соединяющей второе сквозное отверстие 613 опорной рамы и второе сквозное отверстие 291b стержня друг с другом. Следовательно, первый соединительный стержень 623 и второй соединительный стержень 643 могут быть вставлены в сквозные отверстия корпуса, образованные в первом опорном корпусе 91 и втором опорном корпусе 92, соответственно, так что один их конец может быть открыт в первую камеру 29, и другой конец может быть расположен над опорной рамой 61. Кроме того, расстояние между опорной рамой 61 и верхней поверхностью 291 первой камеры будет поддерживаться за счет первого опорного корпуса 91 и второго опорного корпуса 92.

[152] В одном примере опорная рама 61 может дополнительно иметь направляющую 615 опорной рамы, которая направляет второй провод, соединяющий электродвигатель 67, расположенный на второй опоре, и блок управления 781 друг с другом в области, образованной между первой камерой 29 и кожухом 1. Второй провод может включать в себя соединительный провод L33 приводного узла, расположенный на электродвигателе 67, и второй провод L31 управления, соединенный с блоком 781 управления и расположенный во второй камере.

[153] Кроме того, сквозное отверстие опорной рамы, через которое проходит соединительный провод L53 лампы, расположенной на лампе 299, может быть дополнительно образовано в опорной раме. Соединительный провод L53 лампы соединен с третьим проводом L51 управления, соединенным с блоком 781 управления. В этом случае направляющая 615 опорной рамы будет выполнять функцию средства для направления второго провода L31 и L33 и третьего провода L51 и L53 в область, образованную между первой камерой 29 и кожухом 1.

[154] На фиг.14 показан один пример образующей вторую камеру конструкции, включенной в устройство для обработки белья в соответствии с настоящим раскрытием. Как показано на фиг.14, передняя панель 211 имеет сообщающееся отверстие 321 приемной канавки, сообщающееся со вторым сообщающимся отверстием 233 камеры, образованным на приемном участке для резервуара. Когда приемная канавка 231 вставлена в сообщающееся отверстие 321 приемной канавки, сообщающееся отверстие 233 второй камеры может быть выполнено с возможностью сообщения с внутренней частью второй камеры 39. Кроме того, сообщающееся отверстие 233 второй камеры и сообщающееся отверстие 321 приемной канавки могут быть соединены друг с другом при закреплении передней панели 211 и передней рама 32 друг с другом с помощью крепежных элементов, таких как болты.

[155] Кроме того, передняя панель 211 может иметь второе впускное отверстие 323 для наружного воздуха, образованное в ней, которое сообщается с первым впускным отверстием 24 для наружного воздуха. Когда первое впускное отверстие 24 для наружного воздуха расположено под приемной канавкой 231, второе впускное отверстие 323 для наружного воздуха может быть расположено под сообщающимся отверстием 321 приемной канавки. Канал 76 для наружного воздуха, расположенный в узле подачи воздуха, выполнен с возможностью соединения второго впускного отверстия 323 для наружного воздуха с впускным каналом 71 или соединительным каналом 74.

[156] Первое впускное отверстие 24 для наружного воздуха и второе впускное отверстие 323 для наружного воздуха могут быть соединены друг с другом с помощью направляющей 95 наружного воздуха. Как показано на фиг.9, направляющая 95 наружного воздуха может включать в себя направляющий корпус 951, один конец которого закреплен на передней панели 211, и другой закреплен которого на передней раме 32, и направляющее сквозное отверстие 953, проходящее через направляющий корпус 951 для соединения двух впускных отверстий 24 и 323 для наружного воздуха друг с другом. Направляющий корпус 951 может относиться к средству поддержания расстояния между передней панелью 211 и передней рамой 32.

[157] Когда дверца 4 может выбирать положение шарниров 52 и 58 в соответствии с выбором пользователя, первое сквозное отверстие 251 панели и второе сквозное отверстие 253 панели могут быть образованы в передней панели 211, и первое сквозное отверстие 325 рамы и второе сквозное отверстие 327 рамы могут быть образованы в передней раме 32, как показано на фиг.7.

[158] Первое сквозное отверстие 251 панели образовано в передней панели 211 и примыкает к первому установочному участку второму шарнира. Второе сквозное отверстие 253 панели образовано в передней панели 211 и примыкает ко второму установочному участку 273 второго шарнира.

[159] Первое сквозное отверстие 325 рамы может быть соединено с первым сквозным отверстием 251 панели с помощью направляющей 96 первого провода. Второе сквозное отверстие 327 рамы может быть соединено со вторым сквозным отверстием 253 панели с помощью направляющей 97 второго провода. Направляющая 96 первого провода и направляющая 97 второго провода могут быть выполнены в виде труб, расположенных между передней панелью 211 и передней рамой 32 и соединяющих сквозные отверстия 251 и 253 панели со сквозными отверстиями 325 и 327 рамы друг с другом, соответственно.

[160] Таким образом, когда шарниры 52 и 58 закреплены на левой стороне передней панели 211, первый провод L11 управления и соединительный провод L13 панели управления будут соединены друг с другом при вставке в первое сквозное отверстие 251 панели, направляющую 96 первого провода и первое сквозное отверстие 325 рамы. И наоборот, когда шарниры 52 и 58 закреплены на правой стороне передней панели 211, первый провод L11 управления и соединительный провод L13 панели управления будут соединены друг с другом при вставке во второе сквозное отверстие 253 панели, направляющую 97 второго провода и второе сквозное отверстие 327 рамы.

[161] Если дверца выполнена с возможностью вставки только на одной из левой и правой сторон передней панели 211, то могут присутствовать только одно сквозное отверстие панели, одно сквозное отверстие рамы и одна направляющая провода.

[162] В одном примере, как показано на фиг.9, для предотвращения помех со стороны первого кронштейна 54 второго шарнира и второго кронштейна 56 второго шарнира направляющей 96 первого провода и 97 второго провода, сквозное отверстие 545 направляющей первого провода может быть образовано в первом кронштейне 54 второго шарнира, и сквозное отверстие 565 направляющей второго провода может быть образовано во втором кронштейне 56 второго шарнира. Сквозное отверстие 565 направляющей второго провода может быть выполнено в виде отверстия, проходящего через вторую крепежную пластину 561 передней панели. Сквозное отверстие 545 направляющей первого провода может быть выполнено в виде отверстия, проходящего через первую крепежную пластину 541 передней панели.

[163] Когда дверца выполнена с возможностью установки только на одной из левой и правой сторон передней панели 211, только одно сквозное отверстие панели, одно сквозное отверстие рамы и одна направляющая провода могут присутствовать.

[164] Как показано на фиг.14, верхняя рама 31 может иметь первое крепежное отверстие 311, второе крепежное отверстие 313 и сквозное отверстие 317 подающей трубы. Впускной канал 71 соединен с возможностью съема с первым крепежным отверстием 311. Выпускной канал 72 соединен с возможностью съема со вторым крепежным отверстием 313. Подающая труба 843 парового распылителя 84 вставлена в сквозное отверстие 317 подающей трубы.

[165] Первое крепежное отверстие 311 и сквозное отверстие 297а первой камеры, образованные на нижней поверхности первой камеры, соединены друг с другом через образующий первый канал потока участок 93. Второе крепежное отверстие 313 и сквозное отверстие 297b второй камеры соединены друг с другом через образующий второй канал потока участок 94.

[166] Образующий первый канал потока участок 93, может быть выполнен с возможностью включения в себя корпуса 931 первого канала потока, выполненного для поддержания расстояния между нижней поверхностью 297 первой камеры и верхней рамой 31, и сквозное отверстие 933 первого корпуса, проходящее через корпус 931 первого канала потока, для соединения сквозного отверстия 297а первой камеры и первого крепежного отверстия 311 друг с другом. Образующий второй канал потока участок 94, может быть выполнен с возможностью включения в себя корпуса 941 второго канала потока, выполненного для поддержания расстояния между нижней поверхностью 297 первой камеры и верхней рамой 31, и сквозное отверстие 943 второго корпуса, проходящее через корпус 941 второго канала потока, для соединения сквозного отверстия 297b второй камеры и второго крепежного отверстия 313 друг с другом.

[167] Сквозное отверстие 317 подающей трубы может быть выполнено для сообщения с приемным средством 315, образованным посредством выступа верхней рамы 31 к нижней поверхности 297 первой камеры. В этом случае приемное средство 315 будет расположено в верхней части второй камеры 39.

[168] Свободный конец подающей трубы 843 предпочтительно может иметь длину, чтобы ее свободный конец не был открыт на наружную сторону приемного средства 315. При изготовлении устройства 100 для обработки белья, устройство, необходимое для изготовления устройства для обработки белья, может быть вставлено во вторую камеру 39. Это связано с тем, что если длина свободного конца подающей трубы 843 больше высоты приемного средства 315 (его длина в направлении оси Y), то подающая труба 843 может быть повреждена при изготовлении устройства для обработки белья.

[169] В задней части верхней рамы 31 может быть расположен второй крепежный элемент 319 нижней панели, согнутый к нижней поверхности 298 камеры. Нижняя часть второй задней панели 14b может быть закреплена на втором крепежном элементе 319 нижней панели с помощью болта.

[170] Первая боковая рама 34 и первая боковая панель 112 кожуха удерживаются на расстоянии друг от друга с помощью первой распорки 343 и 347. Вторая боковая рама 36 и вторая боковая панель 113 удерживаются на расстоянии друг от друга с помощью второй распорки 363 и 367.

[171] Первая распорка включает в себя первый опорный участок 343 задней панели, проходящий от заднего конца первой боковой рамы 34 к первой боковой панели 112, и первый опорный участок 347 нижней панели, проходящий от нижней части первой боковой рамы 34 к первой боковой панели 112. Вторая распорка включает в себя второй опорный участок 363 задней панели, проходящий от заднего конца второй боковой рамы 36 ко второй боковой панели 113, и второй опорный участок 367 нижней панели, проходящий от нижней части второй боковой рамы 36 ко второй боковой панели 113.

[172] Первый опорный участок 343 задней панели и первый опорный участок 347 нижней панели могут быть соединены друг с другом, образуя L-образную форму. Второй опорный участок 363 задней панели и второй опорный участок 367 нижней панели могут быть соединены друг с другом, образуя L-образную форму. Это предназначено для увеличения прочности первой боковой рамы 34 и второй боковой рамы 36.

[173] Вторая задняя панель 14b может быть соединена с возможностью съема с первым опорным участком 343 задней панели и вторым опорным участком 363 задней панели. Вторая нижняя панель 16b может быть соединена с возможностью съема с первым опорным участком 347 нижней панели и вторым опорным участком 367 нижней панели.

[174] Первый задний крепежный элемент 344 рамы расположен на первом опорном участке 343 задней панели. Первый нижний крепежный элемент 349 рамы расположен на первом опорном участке 347 нижней панели. Первый задний крепежный элемент 344 рамы может быть образован посредством сгиба свободного конца первого опорного участка 343 задней панели к передней раме 32. Первый нижний крепежный элемент 349 рамы может быть образован посредством сгиба свободного конца первого опорного участка 347 нижней панели к верхней раме 31.

[175] Первый задний крепежный элемент 344 рамы может быть соединен с первым задним крепежным элементом 116b, расположенным на первой боковой панели 112. Первый нижний крепежный элемент 349 рамы может быть соединен с первым нижним крепежным элементом 116с первой боковой панели.

[176] Второй задний крепежный элемент 364 рамы расположен на втором опорном участке 363 задней панели. Второй нижний крепежный элемент 369 рамы расположен на втором опорном участке 367 нижней панели. Второй крепежный элемент 364 рамы может быть образован посредством сгиба свободного конца второго опорного участка 363 задней панели к передней раме 32. Второй нижний крепежный элемент 369 рамы может быть образован посредством сгиба свободного конца второго опорного участка 367 нижней панели к верхней раме 31.

[177] Второй задний крепежный элемент 364 рамы может быть соединен со вторым задним крепежным элементом 118b первой боковой панели 112. Второй нижний крепежный элемент 369 рамы может быть соединен со вторым нижним крепежным элементом 118с первой боковой панели.

[178] Ниже, со ссылкой на фиг.15-17, будет описан процесс сборки устройства для обработки белья, имеющего вышеописанную конструкцию.

[179] Как показано на фиг.15, для сборки устройства 100 для обработки белья в соответствии с настоящим раскрытием сборщик сначала собирает корпус 11 кожуха и образующую первую камеру конструкцию 2 друг с другом. То есть, сборщик соединяет верхний крепежный элемент 213 передней панели, расположенный на передней панели 211, с передним крепежным элементом 114 верхней панели, расположенным на корпусе 11 кожуха, и соединяет первый крепежный элемент 215 передней панели и второй крепежный элемент 217 передней панели с первым передним крепежным элементом 116a и вторым передним крепежным элементом 118а, соответственно, таким образом, что передняя панель 211 соединена с корпусом 11 кожуха.

[180] Когда верхняя и обе боковые стороны передней панели 211 соединены с верхней панелью и обеими боковыми панелями корпуса 11 кожуха, соответственно, сборщик соединяет первую нижнюю панель 16А с корпусом 11 кожуха и передней панелью 211.

[181] Как показано на фиг. 16, первая нижняя панель 16а закреплена на корпусе 11 кожуха, когда первый крепежный элемент 167 нижней панели и второй крепежный элемент 169 нижней панели, расположенные на обеих боковых поверхностях корпуса 161 панели, соответственно, соединены с первым нижним крепежным элементом 116с и вторым нижним крепежным элементом 118с, расположенными на нижних поверхностях боковых панелей 112 и 113, соответственно.

[182] В одном примере перед корпусом 161 панели расположен передний крепежный элемент 162 нижней панели, который соединен с нижним крепежным элементом 219 передней панели, расположенным в нижней части передней панели 211. Таким образом, первая нижняя панель 16а закреплена в нижней части передней панели 211 с помощью переднего крепежного элемента 162 нижней панели и нижнего крепежного элемента 219 передней панели (см. фиг.9).

[183] Когда первая нижняя панель 16а закреплена в нижней части передней панели 211, сборщик может собирать образующую вторую камеру конструкцию 3 с корпусом 11 кожуха.

[184] Как показано на фиг.16, сборщик соединяет первый задний крепежный элемент 344 рамы, расположенный на задней поверхности образующей вторую камеру конструкции 3 с первым задним крепежным элементом 116b, образованным на задней поверхности первой боковой панели, и соединяет второй задний крепежный элемент 364 рамы, расположенный на задней поверхности образующей вторую камеру конструкции 3 со вторым задним крепежным элементом 118b, образованным на задней поверхности второй боковой панели.

[185] Кроме того, сборщик может соединить первый нижний крепежный элемент 349 рамы и второй нижний крепежный элемент 369 рамы, расположенные на нижней поверхности образующей вторую камеру конструкции 3 с первым нижним крепежным элементом 116с и вторым нижним крепежным элементом 118с, расположенными на нижних поверхностях боковых панелей, соответственно.

[186] Когда корпус 11 кожуха, образующая первую камеру конструкция 2, образующая вторую камеру конструкция 3 и нижняя панель 16 собраны друг с другом, сборщик закрепляет вторую нижнюю панель 16b на нижней поверхности образующей вторую камеру конструкции 3. Вторая нижняя панель 16b может быть закреплена на первом опорном участке 347 нижней панели и втором опорном участке 367 нижней панели образующей вторую камеру конструкции 3 с помощью болтов или тому подобного.

[187] Затем сборщик может соединять первую заднюю панель 14а с корпусом 11 кожуха. Как показано на фиг.15, первая задняя панель 14а может быть соединена с корпусом 11 кожуха с помощью верхнего крепежного элемента 145 задней панели, первого крепежного элемента 147 задней панели и второго крепежного элемента 149 задней панели.

[188] То есть, когда верхний крепежный элемент 145 задней панели соединен с задним крепежным элементом 115 верхней панели корпуса кожуха, первый крепежный элемент 147 задней панели соединен с первым задним крепежным элементом 116b, и второй крепежный элемент 149 задней панели соединен со вторым задним крепежным элементом 118b, первая задняя панель 14а будет закреплена на корпусе 11 кожуха. Кроме того, нижняя часть первой задней панели 14а закреплена на втором крепежном элементе 319 нижней панели, расположенном на задней поверхности верхней рамы 31.

[189] Когда сборка первой задней панели 14а завершена, сборщик закрепляет вторую заднюю панель 14b на образующей вторую камеру конструкции 3. Как показано на фиг.16, вторая задняя панель 14b может быть закреплена на первом опорном участке 343 задней панели и втором опорном участке 363 задней панели с помощью болтов.

[190] Как показано на фиг.15, в вышеописанном процессе верхняя область S1 образована между верхней панелью 111 и верхней поверхностью 291 камеры. Первая боковая область S2 образована между первой боковой панелью 112 и боковой поверхностью 293 первой камеры. Вторая боковая область S3 образована между второй боковой панелью 113 и боковой поверхностью 2395 второй камеры. Задняя область S4 образована между первой задней панелью 14a и задней поверхностью 298 камеры. Верхняя область S1, первая боковая область S2, вторая боковая область S3 и задняя область S4 сообщаются друг с другом.

[191] Как показано на фиг.16, первая соединительная область S5, соединенная с первой боковой областью S2, образована между первой боковой панелью 112 и первой боковой рамой 32. Вторая соединительная область S6, соединенная со второй боковой областью, образована между второй боковой панелью 113 и второй боковой рамой 36. Передняя область S7 образована между передней панелью 11 и передней рамой 31.

[192] Кроме того, третья соединительная область S8 (см. фиг.3) образована верхней рамой 31, нижней поверхностью 297 первой камеры, первой боковой панелью 112, второй боковой панелью 113 и первой задней панелью 14а. Передняя поверхность третьей соединительной области S8 соединена с передней областью S7. Обе боковые поверхности третьей соединительной области S8 соединены с первой соединительной областью S5 и второй соединительной областью S6, соответственно. Задняя поверхность третьей соединительной области S8 соединена с задней областью S4.

[193] Первая соединительная область S5, вторая соединительная область S6, третья соединительная область и передняя область S7 сообщаются друг с другом. Следовательно, области S1, S2, S3, S4, S5, S6, S7 и S8, образованные между кожухом 1, первой камерой 29 и образующей вторую камеру конструкцией 3 могут быть соединены друг с другом, образуя единую область.

[194] Для подачи пенопласта в области S1, S2, S3, S4, S5, S6, S7 и S8 для пенопласта впускное отверстие для пенопласта может быть образовано на первой задней панели 14а. Как показано на фиг.17, впускное отверстие для пенопласта может включать в себя первое впускное отверстие 141 для пенопласта, проходящее через первую заднюю панель 14а и сообщающееся с первой боковой областью S2, и второе впускное отверстие 142 для пенопласта, проходящее через первую заднюю панель 14а и сообщающееся со второй боковой областью S3.

[195] Каждое из первого впускного отверстия 141 для пенопласта и второго впускного отверстия 142 для пенопласта может быть выполнено в виде сквозного отверстия, соединенного с кромкой первой задней панели 14а. Пенопласт, впрыснутый через первое впускное отверстие 141 для пенопласта и второе впускное отверстие 142 для пенопласта, может проходить по боковой поверхности 293 первой камеры и боковой поверхности 295а второй камеры и в нижнюю часть первой боковой области S2 и второй боковой области S3. То есть, поверхность выступа первой задней панели 14а, на которую выступает задняя поверхность 298 камеры, может быть образована для создания помехи первому впускному отверстию 141 для пенопласта и второму впускному отверстию 142 для пенопласта.

[196] Пенопласт означает синтетическую смолу, имеющую пористую структуру. Пористая структура синтетической смолы может быть достигнута с помощью пенообразующего вещества. Пенопласт может быть функциональным композиционным материалом, обеспечивающим легкий вес, амортизацию, звукоизоляцию, теплоизоляцию и т.д. Синтетическая смола, используемая в качестве сырья для пенопласта, может быть одной из полиуретана, полистирола, полиолефина и полиолефина. В дополнение к синтетическим смолам, описанным выше, для пенопласта могут быть использованы фенольные смолы, поливинилхлорид, карбамидные смолы, силиконовые, полиимидные и меламиновые смолы.

[197] Для преобразования полиуретана в форму пены, пенообразующее вещество, включенное в полиуретановую смолу, может подразделяться на химическое пенообразующее вещество и физическое пенообразующее вещество. Химическое пенообразующее вещество образует пузырьки в результате химических реакций. Физическое пенообразующее вещество образует пузырьки путем изменения физического состояния сжатого газа или фазового превращения жидкости (испарения).

[198] Множество газовыпускных отверстий 143 может быть дополнительно образовано в первой задней панели 14а. Когда жидкий пенопласт впрыскивается в области S1, S2, S3, S4, S5, S6, S7 и S8 через первое впускное отверстие 141 для пенопласта и второе впускное отверстие 142 для пенопласта, эти области будут заполняться газом, образующимся в процессе затвердевания пенопласта. Газовыпускное отверстие 143 может относиться к средству для выпуска воздуха и газа из областей на наружную сторону кожуха 1. В соответствии с настоящим раскрытием газовыпускное отверстие 143 может препятствовать расширению или разрушению корпуса 11 кожуха газом. Диаметр газовыпускного отверстия 143 предпочтительно установлено меньшим, чем диаметр каждого из впускных отверстий 141, 142 для пенопласта. Это предназначено для минимизации утечки пенопласта через газовыпускные отверстия.

[199] В одном примере отверстия, образованные в верхней поверхности первой камеры 29, и отверстия, образованные в опорной раме 61, соединены друг с другом через первый опорный корпус 91 и второй опорный корпус 92. Таким образом, пенопласт, поданный в верхнюю область S1, не будет просачиваться во внутреннюю часть первой камеры 29 или на наружную сторону кожуха 1.

[200] Кроме того, поскольку пенопласт, вставленный в верхнюю область S1, будет служить для крепления первого шарнирного кронштейна 51 внутри кожуха 1, устройство в соответствии с настоящим раскрытием может предотвращать повреждение образующей первую камеру конструкции 2, вследствие нагрузки на корпус 41 дверцы.

[201] Отверстия, образованные в первой камере 29, и отверстия, образованные во второй камере 39, соединены друг с другом через образующий первый канал потока участок 93, образующий участок второй канал потока 94, и распылительный корпус 841. Таким образом, пенопласт, впрыснутый в третью соединительную область S8, не будет просачиваться в первую камеру 29 или во вторую камеру 39.

[202] Кроме того, отверстия, образованные в передней панели 211, и отверстия, образованные в передней раме 32, соединены друг с другом через направляющую 95 наружного воздуха и направляющие 96 и 97 проводов. Таким образом, пенопласт, впрыснутый в переднюю область S7, не будет просачиваться во вторую камеру 39 и выходить из кожуха 1.

[203] Поскольку пенопласт, впрыснутый в переднюю область S7, будет служить для закрепления вторых шарнирных кронштейнов 54 и 56 внутри кожуха 1, устройство в соответствии с настоящим раскрытием может предотвращать повреждение образующей первую камеру конструкции 2, вследствие нагрузки на корпус 41 дверцы.

[204] Как показано на фиг.2, при затвердевании пенопласта внутри областей S1, S2, S3, S4, S5, S6, S7 и S8 для пенопласта верхняя панель 111 и верхняя поверхность 291 камеры закрепляются друг с другом с помощью пенопласта, и первая боковая панель 112 и вторая боковая панель 113 закрепляются на первой боковой поверхности 293 камеры и второй боковой поверхности 295 камеры, соответственно, и первая задняя панель 14а закрепляется на задней поверхности 298 камеры. Кроме того, нижняя поверхность 297 камеры закреплена на верхней раме 31, передняя панель 211 закреплена на передней раме 32, и первая боковая рама 34 и вторая боковая рама 36 закреплены на первой боковой панели 112 и второй боковой панели 113, соответственно.

[205] В устройстве 100 для обработки белья в соответствии с настоящим раскрытием области S1, S2, S3, S4, S5, S6, S7 и S8 для пенопласта, образованные между кожухом 1, образующей первую камеру конструкцией 2 и образующей вторую камеру конструкцией 3, заполнены пенопластом, так что вибрация кожуха 1 при работе узла 7 подачи воздуха, узла 8 подачи влаги и второй опоры 6b может быть минимизирована.

[206] Кроме того, в устройстве 100 для обработки белья в соответствии с настоящим раскрытием, поскольку теплоизолятор F в виде пенопласта, вставленного в области для пенопласта, окружает первую камеру 29, таким образом, минимизируя потерю тепловой энергии, подаваемой в первую камеру 29.

[207] До тех пор, пока пенопласт, вставленный в области S1, S2, S3, S4, S5, S6, S7 и S8 для пенопласта, образованные между кожухом 1, образующей первую камеру конструкцией 2, и образующей вторую камеру конструкцией 3, предотвращен от утечки на наружную сторону кожуха, соединительные конструкции крепежных элементов могут быть реализованы различными способами.

[208] На фиг.15-17 показан пример, в котором крепежные элементы запрессованы друг с другом.

[209] Как показано на фиг.15, верхний крепежный элемент 213 передней панели может быть запрессован в передний крепежный элемент 114 верхней панели, первый крепежный элемент 215 передней панели может быть запрессован в первый передний крепежный элемент 116а. Второй крепежный элемент 217 передней панели может быть запрессован во второй передний крепежный элемент 118а.

[210] Каждый из верхнего крепежного элемента 213 передней панели, первого крепежного элемента 215 передней панели и второго крепежного элемента 217 передней панели может быть выполнен в виде крепежной пластины, выступающей от каждого угла передней панели. Каждая крепежная пластина, расположенная на передней панели, может иметь форму, имеющую множество точек сгиба.

[211] Передний крепежный элемент 114 верхней панели может включать в себя образующий переднюю поверхность участок, который согнут от передней кромки верхней панели 111 к входному отверстию 22 для белья, для образования участка передней поверхности кожуха, согнутый участок, согнутый от свободного конца образующего переднюю поверхность участка, к верхней панели 111, и образующий канавку участок, который согнут от свободного конца согнутого участка к верхней поверхности 291 камеры, для образования канавки, в которую вставлен верхний крепежный элемент 213 передней панели.

[212] Первый передний крепежный элемент 116а может включать в себя образующий переднюю поверхность участок, который согнут от передней кромки первой боковой панели 112 к входному отверстию 22 для белья, для образования участка передней поверхности кожуха 1, согнутый участок, согнутый от свободного конца образующего переднюю поверхность участка, к первой боковой панели 112, и образующий канавку участок, который согнут от свободного конца согнутого участка к боковой поверхности 293 первой камеры, для образования канавки, в которую вставлен первый крепежный элемент 215 передней панели.

[213] Второй передний крепежный элемент 118а может включать в себя образующий переднюю поверхность участок, который согнут от передней кромки второй боковой панели 113 к входному отверстию 22 для белья, для образования участка передней поверхности кожуха 1, согнутый участок, согнутый от свободного конца образующего переднюю поверхность участка, ко второй боковой панели 113, и образующий канавку участок, согнутый от свободного конца согнутого участка, к боковой поверхности 295 второй камеры, для образования канавки, в которую вставлен второй крепежный элемент 217 передней панели.

[214] Как показано на фиг.9, нижний крепежный элемент 219 передней панели может быть выполнен с возможностью запрессовки в передний крепежный элемент 162 нижней панели. В этом случае нижний крепежный элемент 219 передней панели выполнен в виде крепежной пластины, проходящей от нижней части передней панели 211 и имеющей множество точек изгиба. Передний крепежный элемент 162 нижней панели может быть выполнен с возможностью образования канавки, в которую вставлен нижний крепежный элемент 219 передней панели.

[215] То есть, передний крепежный элемент 162 нижней панели может включать в себя образующий переднюю поверхность участок, который согнут от передней кромки корпуса 161 панели к передней панели 211, для образования участка передней поверхности кожуха, согнутый участок, согнутый от свободного конца образующего переднюю поверхность участка, к корпусу 161 панели, и образующий канавку участок, которая согнута от кромки согнутого участка к передней панели 211, для образования канавки, в которую вставлен нижний крепежный элемент 219 передней панели.

[216] Как показано на фиг.15, верхний крепежный элемент 145 задней панели, первый крепежный элемент 147 задней панели и второй крепежный элемент 149 задней панели, расположенные на первой задней панели 14а, могут быть выполнены с возможностью запрессовки в задний крепежный элемент 115 верхней панели, первый задний крепежный элемент 116b и второй задний крепежный элемент 118b, соответственно.

[217] Верхний крепежный элемент 145 задней панели может быть выполнен в виде крепежной пластины, согнутой от верхней части первой задней панели 14а к задней поверхности 298 камеры. Первый крепежный элемент 147 задней панели и второй крепежный элемент 149 задней панели могут быть выполнены в виде крепежных пластин, согнутых от левого и правого концов первой задней панели 14а к задней поверхности 298 камеры, соответственно. Крепежная пластина, расположенная на каждой задней панели, может иметь множество точек сгиба.

[218] Задний крепежный элемент 115 верхней панели может включать в себя образующий заднюю поверхность участок, образованный посредством изгиба задней кромки верхней панели к нижней панели 16, для образования участка задней поверхности кожуха 1, согнутый участок, согнутый от свободного конца образующего заднюю поверхность участка, и образующий канавку участок, который согнут от свободного конца согнутого участка к первой задней панели 14а, для образования канавки, в которую вставлен верхний крепежный элемент 145 задней панели.

[219] Первый задний крепежный элемент 116b может включать в себя образующий заднюю поверхность участок, образованный посредством сгиба задней кромки первой боковой панели 112 ко второй боковой панели 113, для образования участка задней поверхности кожуха 1, согнутый участок, согнутый от свободного конца образующего заднюю поверхность участка, к передней поверхности кожуха, и образующий канавку участок, который согнут от свободного конца согнутого участка к первой задней панели 14a, для образования канавки, в которую вставлен первый задний крепежный элемент 147.

[220] Второй задний крепежный элемент 118b может включать в себя образующий заднюю поверхность участок, образованный посредством сгиба задней кромки второй боковой панели 113 к первой боковой панели 112, для образования участка задней поверхности кожуха 1, согнутый участок, согнутый от свободного конца образующего заднюю поверхность участка, к передней поверхности кожуха, и образующий канавку участок, который согнут от свободного конца согнутого участка к первой задней панели 14a, для образования канавки, в которую вставлен второй задний крепежный элемент 149.

[221] Как показано на фиг.16, первый крепежный элемент 167 нижней панели и второй крепежный элемент 169 нижней панели, расположенные на противоположных сторонах первой нижней панели 16а, соответственно, могут быть выполнены с возможностью запрессовки в первый нижний крепежный элемент 116с и второй нижний крепежный элемент 118с, соответственно.

[222] Первый крепежный элемент 167 нижней панели может быть выполнен в виде крепежной пластины, согнутой вверх от одного конца корпуса 161 панели. Второй крепежный элемент 169 нижней панели может быть выполнен в виде крепежной пластины, согнутой вверх от другого конца корпуса 161 панели. Каждая крепежная пластина, расположенная на первой нижней панели, может иметь множество точек сгиба.

[223] Первый нижний крепежный элемент 116с может включать в себя образующий нижнюю поверхность участок, образованный посредством сгиба нижней части первой боковой панели 112 ко второй боковой панели 113, для образования участка нижней поверхности кожуха, согнутый участок, согнутый от свободного конца образующего нижнюю поверхность участка, к верхней панели 111, и образующий канавку участок, который согнут от свободного конца согнутого участка к корпусу 161 панели, для образования канавки, в которую принудительно вставлен первый крепежный элемент 167 нижней панели.

[224] Второй нижний крепежный элемент 118с может включать в себя образующий нижнюю поверхность участок, образованный посредством сгиба нижней части второй боковой панели 113 к первой боковой панели 112, для образования участка нижней поверхности кожуха, согнутый участок, согнутый от свободного конца образующего нижнюю поверхность участка, к верхней панели 111, и образующий канавку участок, который согнут от свободного конца согнутого участка к корпусу 161 панели, для образования канавки, в которую принудительно вставлен второй крепежный элемент 169 нижней панели.

[225] В одном примере первый нижний крепежный элемент 349 рамы, расположенный на первой боковой раме 34, и второй нижний крепежный элемент 369 рамы, расположенный на второй боковой раме 36, могут быть выполнены с возможностью запрессовки во второй нижний крепежный элемент 116с и второй нижний крепежный элемент 118с, соответственно. Первый нижний крепежный элемент 349 рамы может быть выполнен в виде крепежной пластины, образованной посредством сгиба свободного конца первого опорного участка 347 нижней панели к первому нижнему крепежному элементу 116с. Второй нижний крепежный элемент 369 рамы может быть выполнен в виде крепежной пластины, образованной посредством сгиба свободного конца второго опорного участка 367 нижней панели ко второму нижнему крепежному элементу 118с. Каждая крепежная пластина, расположенная на нижней поверхности образующей вторую камеру конструкции, может иметь множество точек сгиба.

[226] Первый задний крепежный элемент 344 рамы и второй задний крепежный элемент 364 рамы могут быть выполнены с возможностью запрессовки в первый нижний крепежный элемент 116с и второй нижний крепежный элемент 118с, соответственно. Первый задний крепежный элемент 344 рамы может быть выполнен в виде крепежной пластины, образованной посредством сгиба свободного конца первого опорного участка 343 задней панели к первому заднему крепежному элементу 116b. Второй задний крепежный элемент 364 рамы может быть выполнен в виде крепежной пластины, образованной посредством сгиба свободного конца второго опорного участка 363 задней панели ко второму заднему крепежному элементу 118b. Каждая крепежная пластина, расположенная на задней поверхности образующей вторую камеру конструкции, может иметь множество точек сгиба.

[227] Как показано на фиг.7, устройство 100 для обработки белья в соответствии с настоящим раскрытием может дополнительно включать в себя первую усиливающую раму 112а и вторую усиливающую раму 113а, соответственно, расположенные в области, образованной между первой боковой рамой 34 и первой боковой панелью 112, и области, образованной между второй боковой рамой 36 и первой боковой панелью 113.

[228] Толщина первой соединительной области S5 (см. фиг.16), образованной между первой боковой рамой 34 и первой боковой панелью 112, может быть меньше толщины второй области S2 (см. фиг.15), образованной между боковой поверхностью 293 первой камеры и первой боковой панелью 112. Первая усиливающая рама 112а может относиться к средству для повышения прочности первой соединительной области S5.

[229] Кроме того, толщина второй соединительной области S6 (см. фиг.16), образованной между второй боковой рамой 34 и второй боковой панелью 112, может быть меньше толщины третьей области S3, образованной между боковой поверхностью 295 второй камеры и второй боковой панелью 113. Следовательно, вторая усиливающая рама 113а может относиться к средству для повышения прочности второй соединительной области S6.

[230] Первая усиливающая рама 112а может быть выполнена в виде L-образного стержня, закрепленного на заднем углу нижней части первой боковой панели 112. Вторая усиливающая рама 113а может быть выполнена в виде L-образного стержня, закрепленного на заднем углу нижней части второй боковой панели 113.

[231] Кроме того, для увеличения прочности третьей соединительной области S8 (см. фиг.3), образованной между нижней поверхностью 297 камеры и верхней рамой 31, множество ребер может быть дополнительно расположено в образующей вторую камеру конструкции 3.

[232] Как показано на фиг.14, ребра могут включать в себя первое верхнее ребро 381 и второе верхнее ребро 383, расположенные на противоположных сторонах верхней рамы 31, соответственно. Первое верхнее ребро 381 может быть выполнено в виде пластины, выступающей от верхней части первой боковой рамы 34 к нижней поверхности 297 камеры. Второе верхнее ребро 383 может быть выполнено в виде пластины, проходящей от верхней части второй боковой рамы 36 к нижней поверхности 297 камеры.

[233] Кроме того, ребра могут дополнительно включать в себя первое боковое ребро 385 и второе боковое ребро 387, расположенные на обеих сторонах передней рамы 32, соответственно. Первое боковое ребро 385 может быть выполнено в виде пластины, выступающей от переднего конца первой боковой рамы 34 к передней панели 211. Второе переднее ребро 387 может быть выполнено в виде пластины, проходящей от переднего конца второй боковой рамы 36 к передней панели 211.

[234] Когда пенопласт, проходящий в третью соединительную область S8, затвердевает, вышеупомянутые ребра 381, 383, 385 и 387 будут увеличивать силу сцепления между нижней поверхностью 297 камеры и второй камерой, определяющей структуру 3. Таким образом, в соответствии с настоящим раскрытием, ребра могут увеличивать прочность третьей соединительной области.

[235] Кроме того, ребра 381, 383, 385 и 387 также будут служить для направления жидкого пенопласта, проходящего в заднюю область S4, в третью соединительную область S8 и переднюю область S7.

[236] как показано на фиг.8, для предотвращения проникновения загрязняющих веществ, таких как вода, в блок управления 781, приемный корпус 78 может дополнительно включать в себя кожух 783 блока управления, который обеспечивает область для размещения в ней блока 781 управления и имеет форму, открытую ко второй задней панели 14а.

[237] Настоящее раскрытие может быть модифицировано и воплощено в различных формах, и объем права не ограничивается вышеописанными вариантами осуществления. Следовательно, когда модифицированный вариант осуществления включает в себя элементы нижеследующей формулы изобретения, модифицированный вариант осуществления следует рассматривать как относящийся к объему настоящего раскрытия.

Похожие патенты RU2841302C2

название год авторы номер документа
УСТРОЙСТВО ДЛЯ ОБРАБОТКИ БЕЛЬЯ 2019
  • Чои, Дзунйоунг
  • Нам, Вансик
  • Парк, Сунгхоо
  • Парк, Хиейонг
RU2757885C1
УСТРОЙСТВО ДЛЯ ОБРАБОТКИ БЕЛЬЯ 2019
  • Чои, Дзунйоунг
  • Нам, Вансик
  • Парк, Сунгхоо
  • Парк, Хиейонг
RU2757766C1
УСТРОЙСТВО ДЛЯ ОБРАБОТКИ ОДЕЖДЫ 2019
  • Чои, Дзунйоунг
  • Нам, Вансик
  • Парк, Сунгхоо
  • Парк, Хиейонг
RU2757887C1
УСТРОЙСТВО ДЛЯ ОБРАБОТКИ БЕЛЬЯ 2019
  • Чои, Дзунйоунг
  • Нам, Вансик
  • Парк, Сунгхоо
  • Парк, Хиейонг
RU2754904C1
УСТРОЙСТВО ДЛЯ ОБРАБОТКИ БЕЛЬЯ 2015
  • Ли Арам
  • Ким Соодзин
  • Ан Йонгдзун
  • Парк Соовон
RU2603614C2
УСТРОЙСТВО ДЛЯ СТИРКИ И ОБРАБОТКИ БЕЛЬЯ 2021
  • Дзунг, Йоунгхо
  • Ким, Минсу
  • Парк, Юнхонг
RU2771266C1
УСТРОЙСТВО ДЛЯ СТИРКИ И ОБРАБОТКИ БЕЛЬЯ 2021
  • Дзунг, Йоунгхо
  • Ким, Минсу
  • Парк, Юнхонг
RU2793111C2
УСТРОЙСТВО ДЛЯ ОБРАБОТКИ БЕЛЬЯ 2019
  • Чои, Дзунйоунг
  • Нам, Вансик
  • Парк, Сунгхоо
  • Парк, Хиейонг
RU2752576C1
УСТРОЙСТВО ДЛЯ ОБРАБОТКИ БЕЛЬЯ 2015
  • Канг Инчеол
  • Парк Соовон
  • Ли Хиунтае
RU2606577C2
УСТРОЙСТВО ДЛЯ ОБРАБОТКИ БЕЛЬЯ 2015
  • Сим Хойеоб
  • Хванг Инхо
  • Ким Йонгил
  • Парк Соовон
RU2598839C2

Иллюстрации к изобретению RU 2 841 302 C2

Реферат патента 2025 года УСТРОЙСТВО ДЛЯ ОБРАБОТКИ БЕЛЬЯ

Настоящее изобретение относится к устройству для обработки одежды, содержащему кожух, имеющий первую боковую панель и вторую боковую панель, которые расположены для обращения друг к другу, верхнюю панель и нижнюю панель, которые соединяют первую боковую панель и вторую боковую панель для соответствующего образования верхней поверхности и нижней поверхности, и заднюю панель, которая соединяет первую боковую панель и вторую боковую панель для образования задней поверхности, первое основание, имеющее переднюю панель, которая закреплена на первой боковой панели, вторую боковую панель, верхнюю панель и нижнюю панель для образования передней поверхности кожуха, и входное отверстие, которое расположено для прохождения через переднюю панель, первую камеру, закрепленную на передней панели с возможностью расположения внутри кожуха и сообщающуюся с входным отверстием для обеспечения области для размещения одежды, второе основание, имеющее переднюю раму, которая расположена между передней панелью и задней панелью, верхнюю раму, которая проходит от передней рамы к задней панели и расположена на расстоянии от нижней поверхности первой камеры, первую боковую раму, которая расположена на расстоянии от первой боковой панели, и вторую боковую раму, которая расположена на расстоянии от второй боковой панели, вторую камеру, образованную за счет передней рамы, верхней рамы, первой боковой рамы, второй боковой рамы, нижней панели и задней панели, узел подачи, расположенный внутри второй камеры и подающий воздух и/или влагу в первую камеру; дверцу, закрепленную с возможностью поворота на кожухе или передней панели и обеспечивающую открытие/закрытие входного отверстия, и изоляционную часть, образованную с помощью пенопласта, вставленного в область для пенопласта, образованную между кожухом, первым основанием, первой камерой и вторым основанием. Технический результат заявленного изобретения направлен на минимизацию вибрации или шума, вызываемые кожухом. 14 з.п. ф-лы, 17 ил.

Формула изобретения RU 2 841 302 C2

1. Устройство для обработки белья, содержащее:

кожух, включающий в себя:

первую боковую панель и вторую боковую панель, расположенные напротив друг друга;

верхнюю панель и нижнюю панель, соединяющие первую боковую панель и вторую боковую панель друг с другом и образующие верхнюю и нижнюю стороны кожуха, соответственно; и

заднюю панель, соединяющую первую боковую панель и вторую боковую панель друг с другом и образующую заднюю сторону кожуха;

первое основание, включающее в себя:

переднюю панель, закрепленную на первой боковой панели, второй боковой панели, верхней панели и нижней панели и образующую переднюю сторону кожуха; и

входное отверстие для белья, проходящее через переднюю панель;

первую камеру, закрепленную на передней панели и расположенную внутри кожуха, причем первая камера имеет область для вмещения белья, образованную в ней, сообщающуюся с входным отверстием для белья;

вторую камеру, отдельно расположенную под первой камерой внутри кожуха;

опорную раму, закрепленную на верхней панели и расположенную на наружной стороне первой камеры; и

теплоизолятор, включающий в себя пенопласт, введенный в область для пенопласта, образованную между кожухом, первым основанием, первой камерой и вторым основанием.

2. Устройство по п.1, в котором кожух включает в себя сквозное отверстие, проходящее через верхнюю панель,

причем сквозное отверстие выполнено с возможностью поддерживания края опорной рамы, когда опорную раму вставляют в сквозное отверстие.

3. Устройство по п.1, опорная рама включает в себя:

первое сквозное отверстие опорной рамы и второе сквозное отверстие опорной рамы, проходящие через опорную раму; и

при этом первое сквозное отверстие опорной рамы и второе сквозное отверстие опорной рамы расположены вдоль направления ширины кожуха.

4. Устройство по п.3, дополнительно содержащее:

первое сквозное отверстие стержня, проходящее через верхнюю сторону первой камеры и расположенное под первым сквозным отверстием опорной рамы;

второе сквозное отверстие стержня, проходящее через верхнюю сторону первой камеры и расположенное под вторым сквозным отверстием опорной рамы;

первый опорный корпус, имеющий форму трубы и соединяющий первое сквозное отверстие опорной рамы и первое сквозное отверстие стержня друг с другом, а также поддерживающий расстояние между опорной рамой и первой камерой; и

второй опорный корпус, имеющий форму трубы и соединяющий второе сквозное отверстие опорной рамы и второе сквозное отверстие стержня друг с другом, а также поддерживающий расстояние между опорной рамой и первой камерой.

5. Устройство по п.4, дополнительно содержащее:

первый соединитель, имеющий один конец, закрепленный на опорной раме, и другой конец, вставленный в первый опорный корпус и расположенный внутри первой камеры;

второй соединитель, имеющий один конец, закрепленный на опорной раме, и другой конец, вставленный во второй опорный корпус и расположенный внутри первой камеры; и

опорный стержень, имеющий один конец, закрепленный на первом соединителе, и другой конец, закрепленный на втором соединителе и поддерживающий белье.

6. Устройство по п.3, в котором опорная рама дополнительно включает в себя:

отверстие рамы, проходящее через опорную раму и расположенное между первым сквозным отверстием опорной рамы и вторым сквозным отверстием опорной рамы.

7. Устройство по п.6, дополнительно содержащее:

опорный стержень, предусмотренный вдоль направления ширины внутри первой камеры для подвешивания на нем белья; и

приводной узел, расположенный на опорной раме для обеспечения возвратно-поступательного движения опорного стержня вдоль направления ширины.

8. Устройство по п.7, дополнительно содержащее:

сквозное отверстие камеры, проходящее через верхнюю сторону первой камеры и выполненное с возможностью передачи силы от приводного узла на опорный стержень через сквозное отверстие камеры.

9. Устройство по п.8, в котором приводной узел включает в себя:

электродвигатель, расположенный на опорной раме;

вибратор, который попеременно и многократно совершает поворот в первом направлении вращения и втором направлении вращения, противоположном первому направлению вращения; и

силовую передачу, которая преобразует вращательное движение вибратора в возвратно-поступательное движение опорного стержня.

10. Устройство по п.9, в котором опорная рама дополнительно включает в себя направляющую опорной рамы, которая направляет провод, соединяющий электродвигатель.

11. Устройство по п.1, в котором опорная рама имеет углубление в направлении вниз.

12. Устройство по п.11, в котором углубленная нижняя сторона опорной рамы включает в себя:

первую нижнюю сторону, поддерживаемую верхней стороной первой камеры; и

вторые нижние стороны, расположенные над первой нижней стороной, причем первая нижняя сторона расположена между вторыми нижними сторонами вдоль направления ширины кожуха.

13. Устройство по п.12, дополнительно содержащее:

первое сквозное отверстие опорной рамы и второе сквозное отверстие опорной рамы, проходящие через опорную раму, и

при этом каждое из первого сквозного отверстия опорной рамы и второго сквозного отверстия опорной рамы расположено во вторых нижних сторонах, соответственно.

14. Устройство по п.1, в котором область для пенопласта включает в себя верхнюю область, образованную между первой камерой и верхней панелью.

15. Устройство по п.14, дополнительно содержащее:

первое сквозное отверстие опорной рамы и второе сквозное отверстие опорной рамы, проходящие через опорную раму;

первое сквозное отверстие стержня, проходящее через верхнюю сторону первой камеры и расположенное под первым сквозным отверстием опорной рамы;

второе сквозное отверстие стержня, проходящее через верхнюю сторону первой камеры и расположенное под вторым сквозным отверстием опорной рамы;

первый опорный корпус, имеющий форму трубы и соединяющий первое сквозное отверстие опорной рамы и первое сквозное отверстие стержня друг с другом, а также поддерживающий расстояние между опорной рамой и первой камерой; и

второй опорный корпус, имеющий форму трубы и соединяющий второе сквозное отверстие опорной рамы и второе сквозное отверстие стержня друг с другом, а также поддерживающий расстояние между опорной рамой и первой камерой,

при этом первый опорный корпус и второй опорный корпус предотвращают утечку пенопласта, вводимого в верхнюю область, внутрь первой камеры.

Документы, цитированные в отчете о поиске Патент 2025 года RU2841302C2

СИСТЕМА ОХЛАЖДЕНИЯ КАМЕРЫ ЖИДКОСТНОГО РАКЕТНОГО ДВИГАТЕЛЯ 2013
  • Болотин Николай Борисович
RU2514863C1
Печь-кухня, могущая работать, как самостоятельно, так и в комбинации с разного рода нагревательными приборами 1921
  • Богач В.И.
SU10A1
Прибор для промывания газов 1922
  • Блаженнов И.В.
SU20A1
СПОСОБ ПРОИЗВОДСТВА КОНСЕРВОВ "САЛАТ ИЗ МЯСА И ВЕТЧИНЫ" 2013
  • Квасенков Олег Иванович
RU2511432C1
УСТРОЙСТВО ДЛЯ ОБРАБОТКИ БЕЛЬЯ 2014
  • Парк Дзийоунг
  • Мин Дзийеон
  • Ли Айеонг
  • Хонг Согкие
RU2576509C2

RU 2 841 302 C2

Авторы

Чои, Дзунйоунг

Нам, Вансик

Парк, Сунгхоо

Парк, Хиейонг

Даты

2025-06-05Публикация

2021-10-13Подача