Область техники
Настоящее изобретение относится к технической области устройств для генерирования аэрозоля, в частности, к устройству для генерирования аэрозоля и входящему в его состав воздухонагревателю.
Уровень техники
Система для генерирования аэрозоля обычно содержит устройство для генерирования аэрозоля и изделие для генерирования аэрозоля. Изделие для генерирования аэрозоля вставляют в устройство для генерирования аэрозоля. Изделие для генерирования аэрозоля нагревают нагревательным устройством устройства для генерирования аэрозоля, чтобы генерировать аэрозоль для вдыхания пользователями. Нагревательный элемент представляет собой ключевой компонент нагревательного устройства. Как правило, его изготавливают из материалов, характеризующихся отличной теплопроводностью и стабильными свойствами. В подложке предусмотрены вентиляционные отверстия для циркуляции воздуха, и нагревательные элементы прикреплены к подложке. В процессе работы нагревательный элемент преобразует электрическую энергию в тепловую и передает ее на подложку, подложка нагревает воздух, и нагретый воздух нагревает изделие для генерирования аэрозоля, тем самым генерируя аэрозоль.
Нагревательные элементы устройств для генерирования аэрозоля раскрыты в патентах RU 2727585, CN 115500559, CN 216568361, CN 217826774. Наиболее близким аналогом заявленного изобретения является известный из источника CN 113729298 A (опубл. 03.12.2021) воздухонагреватель устройства для генерирования аэрозоля, содержащий полость, отверстие для впуска воздуха и отверстие для выпуска, причем полость сообщается с наружной частью воздухонагревателя через отверстие для впуска воздуха и отверстие для выпуска воздуха.
Тем не менее, в уровне техники для быстрого нагрева воздуха требовалось увеличивать мощность нагревательного элемента для поддержания непрерывной работы подложки при более высокой температуре. Это сокращало срок службы подложки, повышало вероятность повреждения оборудования и снижало стабильность.
Сущность изобретения
Для решения изложенных выше технических проблем в вариантах осуществления изобретения предложен воздухонагреватель, который может быть использован в устройстве для генерирования аэрозоля в целях нагрева изделия для генерирования аэрозоля, вставленного в устройство для генерирования аэрозоля; воздухонагреватель содержит полость, отверстие для впуска воздуха в радиальном направлении и отверстие для выпуска воздуха в осевом направлении; полость сообщается с наружной частью воздухонагревателя через отверстие для впуска воздуха и отверстие для выпуска воздуха; причем первая подложка дополнительно расположена в полости воздухонагревателя, тем самым изменяя траекторию потока воздуха в полости; и
воздухонагреватель дополнительно содержит вторую подложку в форме полой трубки, третью подложку и четвертую подложку; отверстие для впуска воздуха выполнено на второй подложке, отверстие для выпуска воздуха выполнено на третьей подложке, первая подложка проходит от четвертой подложки, и третья подложка и четвертая подложка размещены в полой трубке.
В предпочтительном варианте осуществления направление потока входящего воздуха, проходящего через отверстие для впуска воздуха, отличается от направления потока выходящего воздуха, проходящего через отверстие для выпуска воздуха.
В предпочтительном варианте осуществления объем потока входящего воздуха составляет p1, а объем потока выходящего воздуха — p2, причем p1 ≤ p2.
В предпочтительном варианте осуществления первая подложка расположена рядом с отверстием для впуска воздуха, и первая подложка способна изменять траекторию потока входящего воздуха.
В предпочтительном варианте осуществления первая подложка перекрывает или частично перекрывает отверстие для впуска воздуха.
В предпочтительном варианте осуществления полость образована между третьей подложкой и четвертой подложкой.
В предпочтительном варианте осуществления в радиальном направлении второй подложки расстояние между внутренней стенкой первой подложки и внутренней стенкой второй подложки равно d1, а расстояние между центральной осью первой подложки и центральной осью второй подложки равно d2, причем d1≤d2.
В предпочтительном варианте осуществления внешний диаметр ортогональной проекции области, образованной распределением первой подложки в осевом направлении, равен d3, а внешний диаметр области, образованной распределением отверстия для выпуска воздуха, равен d4, причем d3≥d4.
В предпочтительном варианте осуществления отверстие для впуска воздуха сообщается с полостью.
В предпочтительном варианте осуществления отверстие для выпуска воздуха сообщается с полостью, и третья подложка перекрывает или частично перекрывает отверстие для выпуска воздуха.
В предпочтительном варианте осуществления воздухонагреватель дополнительно содержит пятую подложку, причем пятая подложка присоединена между третьей подложкой и четвертой подложкой с возможностью отсоединения.
В предпочтительном варианте осуществления воздухонагреватель дополнительно содержит шестую подложку, причем шестая подложка расположена на третьей подложке для поддержки изделия для генерирования аэрозоля.
Согласно одному из вариантов осуществления изобретения, когда воздухонагреватель используют в устройстве для генерирования аэрозоля, воздух может нагреваться, тем самым нагревая устройство для генерирования аэрозоля, чтобы генерировать аэрозоли для вдыхания пользователями. Наружный воздух подают в полость воздухонагревателя через отверстие для впуска воздуха, а затем выводят через отверстие для выпуска воздуха, при этом воздух нагревают во время движения воздуха. Воздух может находиться в полости в течение длительного времени, что увеличивает время контакта между воздухом и воздухонагревателем, повышает эффективность теплообмена и улучшает эффективность нагрева воздуха. Кроме того, первая подложка, расположенная в полости воздухонагревателя, позволяет изменить направление потока воздуха в полости и таким образом увеличить время контакта воздуха с воздухонагревателем, повысить эффективность теплообмена, улучшить эффективность нагрева воздуха без увеличения мощности воздухонагревателя, добиться достаточного и быстрого нагрева и уменьшить влияние длительно действующих высоких температур на срок службы.
Для решения изложенных выше технических проблем в одном из вариантов осуществления настоящего изобретения дополнительно предложено устройство для генерирования аэрозоля, содержащее основной корпус и крепежный узел, и дополнительно содержащее раскрытый выше воздухонагреватель, установленный в основном корпусе посредством крепежного узла.
Устройство для генерирования аэрозоля в одном из вариантов осуществления настоящего изобретения содержит воздухонагреватель. Когда изделие для генерирования аэрозоля вставлено, оно может нагреваться воздухом, нагреваемым воздухонагревателем. Устройство для генерирования аэрозоля согласно настоящему изобретению может быстро нагревать воздух до необходимой температуры с помощью воздухонагревателя, что позволяет быстро нагревать изделие для генерирования аэрозоля без использования большей мощности нагрева. Устройство отличается высокой стабильностью и хорошей эффективностью нагрева.
Краткое описание чертежей
Для разъяснения технического решения примеров осуществления согласно настоящему изобретению ниже будут кратко описаны чертежи со ссылкой на варианты осуществления настоящего изобретения. Следует понимать, что приведенные ниже чертежи иллюстрируют лишь некоторые примеры осуществления изобретения и поэтому не должны рассматриваться как ограничивающие объем охраны. Специалисты в данной области техники могут преобразовать эти чертежи в другие чертежи, не прилагая каких-либо творческих усилий.
На фиг. 1 изображена структурная схема воздухонагревателя в соответствии с одним из примеров осуществления настоящего изобретения.
На фиг. 2 изображена разнесенная схема воздухонагревателя в соответствии с одним из примеров осуществления настоящего изобретения.
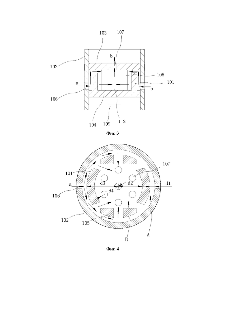
На фиг. 3 изображена структурная схема продольного разреза воздухонагревателя в соответствии с одним из примеров осуществления настоящего изобретения.
На фиг. 4 изображена структурная схема поперечного сечения воздухонагревателя в соответствии с одним из примеров осуществления настоящего изобретения.
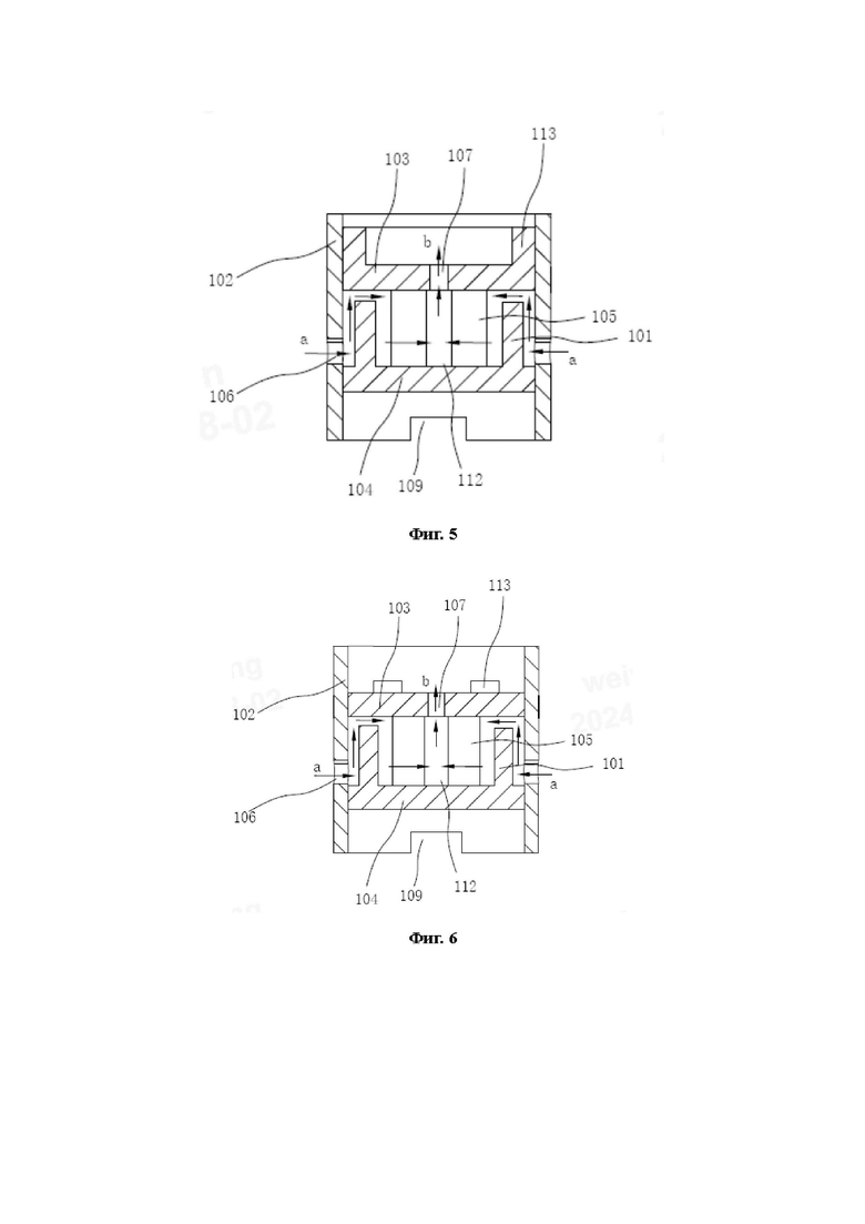
На фиг. 5 изображена структурная схема воздухонагревателя в соответствии с другим примером осуществления настоящего изобретения.
На фиг. 6 изображена структурная схема воздухонагревателя в соответствии с другим примером осуществления настоящего изобретения.
На фиг. 7 изображена разнесенная схема устройства для генерирования аэрозоля в соответствии с одним из примеров осуществления настоящего изобретения.
На фиг. 8 в разрезе изображено устройство для генерирования аэрозоля в соответствии с одним из примеров осуществления настоящего изобретения.
Подробное раскрытие предпочтительных вариантов осуществления изобретения
Здесь и далее будут подробно раскрыты варианты осуществления настоящего изобретения, примеры которых показаны на чертежах. Одинаковые или сходные ссылочные обозначения во всем тексте относятся к одинаковым или сходным элементам или признакам, выполняющим одинаковые или сходные функции. Следующие варианты осуществления изобретения, раскрытые со ссылкой на чертежи, приведены лишь для примера и служат для пояснения заявки; эти примеры не следует считать ограничивающими защищаемый объем заявки.
Как показано на фиг. 1, 2 и 3, в одном из примеров осуществления настоящего изобретения предложен воздухонагреватель 100, который может быть использован в устройстве для генерирования аэрозоля в целях нагрева изделия 200 для генерирования аэрозоля, вставленного в устройство для генерирования аэрозоля; воздухонагреватель 100 содержит полость 112, отверстие 106 для впуска воздуха и отверстие 107 для выпуска воздуха, причем полость 112 сообщается с наружной частью воздухонагревателя 100 через отверстие 106 для впуска воздуха и отверстие 107 для выпуска воздуха; первая подложка 101 дополнительно расположена в полости 112 воздухонагревателя 100, и первая подложка 101 способна изменять траекторию потока воздуха в полости 112.
В одном из примеров осуществления изобретения воздухонагреватель 100 используют в устройстве для генерирования аэрозоля для нагрева воздуха, проходящего через воздухонагреватель, тем самым нагревая изделие 200 для генерирования аэрозоля, генерируя аэрозоль для вдыхания пользователями. В частности, наружный воздух подают в полость 112 воздухонагревателя 100 через отверстие 106 для впуска воздуха, а затем выводят через отверстие 107 для выпуска воздуха, при этом воздух нагревают во время движения потока воздуха. Направление отверстия 107 для выпуска воздуха совпадает с осевым направлением приемной камеры 410, в которой находится изделие 200 для генерирования аэрозоля. Направление отверстия 106 для впуска отличается от направления отверстия 107 для выпуска, что позволяет увеличить время удерживания воздуха в полости, то есть увеличить время теплообмена воздуха, повысить эффективность теплообмена и дополнительно улучшить эффективность нагрева воздуха. Кроме того, первая подложка 101, расположенная в полости 112 воздухонагревателя 100, позволяет изменить направление потока воздуха в полости 112 и таким образом увеличить время контакта воздуха с воздухонагревателем 100, повысить эффективность теплообмена, улучшить эффективность нагрева воздуха без увеличения мощности нагрева воздухонагревателя 100, добиться достаточного и быстрого нагрева и уменьшить влияние длительно действующих высоких температур на срок службы.
Как показано на фиг. 3 и 4, направление потока «а» входящего воздуха, проходящего через отверстие 106 для впуска воздуха, отличается от направления потока «b» выходящего воздуха, проходящего через отверстие 107 для выпуска воздуха.
Понятно, что поток «a» входящего воздуха обычно поступает из отверстия 106 для впуска воздуха полости 112, и поток «b» выходящего воздуха обычно выходит из отверстия 107 для выпуска воздуха полости 112, причем направления потока «a» входящего воздуха и потока «b» выходящего воздуха различаются. По сравнению с вариантом, в котором воздух входит и выходит в одном направлении (быстрое прохождение воздуха), изобретение позволяет воздуху оставаться в полости в течение длительного времени, что улучшает эффективность нагрева воздуха.
Кроме того, объем потока «а» входящего воздуха составляет p1, а объем потока «b» выходящего воздуха — p2, причем p1 ≤ p2.
Понятно, что расположение, количество и размер отверстия 106 для впуска воздуха влияют на величину p1, а расположение, количество и размер отверстия 107 для выпуска воздуха влияют на величину p2. Подбирая расположение, количество и размеры отверстия 106 для впуска воздуха и отверстия 107 для выпуска воздуха, можно изменять потоки входящего и выходящего воздуха. Регулируя объем потока входящего воздуха, можно эффективно предотвращать поступление большого количества холодного воздуха в полость 112, и первая подложка 101 также может блокировать поступление холодного воздуха. Вместе они могут предотвратить воздействие холодного воздуха на горячий воздух в полости 112, что позволит избежать снижения эффективности нагрева горячего воздуха.
Кроме того, первая подложка 101 расположена рядом с отверстием 106 для впуска воздуха, и первая подложка 101 способна изменять траекторию потока входящего воздуха.
Понятно, что к путям прохождения воздуха через воздухонагреватель 100 относится поток «a» входящего воздуха, поток «b» выходящего воздуха и другие пути движения потока в полости 112. Первая подложка 101 расположена близко к отверстию 106 для впуска воздуха, т. е. первая подложка 101 может непосредственно блокировать первый поток воздуха, поступающий из отверстия 106 для впуска воздуха, то есть наружный холодный воздух блокируется первой подложкой 101, как только попадает в полость 112. В частности, направление потока «a» входящего воздуха ориентировано вдоль сквозного направления отверстия 106 для впуска воздуха, а направление потока «b» выходящего воздуха ориентировано вдоль сквозного направления отверстия 107 для выпуска воздуха. Первая подложка 101 изменяет направление потока «a» входящего воздуха, и поток воздуха может быть отклонен сразу после входа в отверстие 106 для впуска воздуха. Когда наружный холодный воздух поступает в полость 112 через отверстие 106 для впуска воздуха, холодный воздух блокируется первой подложкой 101, чтобы избежать снижения эффективности нагрева вследствие прямого поступления в поток «b» выходящего воздуха. Кроме того, первая подложка 101 может проводить тепло к вновь поступающему холодному воздуху, что дает определенный эффект предварительного нагрева. Предварительно нагретый холодный воздух будет поступать в основной поток воздуха и, наконец, будет выводиться в качестве потока «b» выходящего воздуха. Общая эффективность нагрева воздуха улучшается.
Кроме того, первая подложка 101 перекрывает или частично перекрывает отверстие 106 для впуска воздуха.
Понятно, что в одном из примеров осуществления изобретения первая подложка 101 полностью перекрывает отверстие 106 для впуска воздуха. То есть после того, как поток «a» входящего воздуха попадает в полость через отверстие 106 для впуска воздуха, весь воздух сталкивается с первой подложкой 106, и траектория движения потока изменяется. В другом примере осуществления изобретения первая подложка 101 частично перекрывает отверстие 106 для впуска воздуха. То есть после того, как поток «a» входящего воздуха попадает в полость через отверстие 106 для впуска воздуха, часть воздуха сталкивается с первой подложкой 106, и траектория движения потока изменяется.
Как показано на фиг. 3 и 4, а также фиг. 1 и 2, воздухонагреватель 100 в одном из примеров осуществления изобретения содержит вторую подложку 102 в форме полой трубки или столбика со сквозным отверстием, а также третью подложку 103 и четвертую подложку 104, обе в форме пластин. Третья подложка 103 и четвертая подложка 104 расположены во второй подложке 102, и между третьей подложкой 103 и четвертой подложкой 104 имеется пространство, образующее полость 112. Очевидно, что направление отверстия 107 для выпуска воздуха совпадает с осевым направлением второй подложки 102, имеющей форму полой трубки.
В частности, в настоящем варианте осуществления изобретения вторая подложка 102 выполнена полой в форме трубки, третья подложка 103 имеет форму диска, четвертая подложка 104 имеет форму диска, третья подложка 103 и четвертая подложка 104 встроены во вторую подложку 102, и использован способ установки с возможностью отсоединения, который удобен как для изготовления и сборки, так и для последующей замены. Первая подложка 101 проходит в направлении от четвертой подложки 104 к третьей подложке 103.
В некоторых примерах осуществления изобретения первая подложка 101, вторая подложка 102, третья подложка 103 и четвертая подложка 104 изготовлены из керамических материалов, причем керамические материалы обладают высокой термостойкостью и теплопроводностью. В других примерах осуществления изобретения вторая подложка 102, третья подложка 103 и четвертая подложка 104 могут быть изготовлены из других термостойких и теплопроводных материалов, а количество, форма и размер второй подложки 102, третьей подложки 103 и четвертой подложки 104 могут быть определены в соответствии с фактическими потребностями.
Кроме того, нагревательный контур 110 расположен на второй подложке 102 в одном из примеров осуществления настоящего изобретения, и нагревательный контур 110 может быть электрически соединен с блоком питания через электрод 111.
Понятно, что нагревательный контур 110 может быть использован в настоящем изобретении для генерирования тепла, в том числе с расположением на второй подложке 102 путем печати, напыления и т. п. Кроме того, в случае расположения на второй подложке 102 нагревательный контур 110 может быть расположен на внешней стенке второй подложки 102 или на внутренней стенке второй подложки 102, и его расположение может быть определено в соответствии с фактическими потребностями, в том числе по прямой линии, ломаной линии и S-образной линии. В некоторых примерах осуществления изобретения нагревательный контур 110 расположен на внешней стенке второй подложки 102, и нагревательный контур 110 может представлять собой одиночный нагревательный контур. Одиночный нагревательный контур имеет более высокую эффективность нагрева, чем двойной нагревательный контур, поскольку во время нагрева точка максимального нагрева остается в одном и том же положении. Положение установки нагревательного контура 110 на второй подложке 102 относительно смещено назад в осевом направлении по сравнению с третьей подложкой 103. То есть, по сравнению с третьей подложкой 103, нагревательный контур 110 находится дальше от вставленного изделия 200 для генерирования аэрозоля, что позволяет избежать возгорания изделия 200 для генерирования аэрозоля, вызванного высокой температурой в области расположения нагревательного контура 110 на второй подложке 102. В других примерах осуществления настоящего изобретения могут использоваться другие материалы с более высокой эффективностью нагрева, например, нагревательные провода.
Кроме того, в одном из примеров осуществления изобретения в радиальном направлении второй подложки 102 расстояние между внутренней стенкой первой подложки 101 и внутренней стенкой второй подложки 102 равно d1, а расстояние между центральной осью первой подложки 101 и центральной осью второй подложки 102 равно d2, причем d1≤d2.
В других примерах осуществления изобретения первая подложка 101 разделяет полость 112, образуя внешнее пространство A и внутреннее пространство B, причем внешнее пространство A меньше или равно внутреннему пространству B.
Понятно, что первая подложка 101 расположена в полости 112 воздухонагревателя 100. Первая подложка 101 может разделять полость 112, образуя внешнее пространство A и внутреннее пространство B. Воздух, поступающий через отверстие 106 для впуска воздуха, сначала попадает во внешнее пространство A, а затем блокируется первой подложкой 101, изменяющей траекторию движения потока воздуха. Затем воздух обходит первую подложку 101 и попадает во внутреннее пространство B с боковой стороны. Внешнее пространство A можно использовать для предварительного нагрева потока входящего воздуха. Чем меньше расстояние d1, тем быстрее воздух попадает во внешнее пространство A и вступает в контакт с первой подложкой 101, чтобы как можно быстрее провести тепло. Расстояние d1 меньше или равно расстоянию d2, а внутреннее пространство B больше внешнего пространства A. Это может улучшить эффективность предварительного нагрева, особенно для холодного воздуха, и уменьшить влияние поступающего холодного воздуха на эффективность нагрева. Следует отметить, что внешнее и внутреннее пространство в данном случае могут быть выделены из целого пространства или частичного пространства.
Кроме того, в одном из примеров осуществления изобретения внешний диаметр ортогональной проекции области, образованной распределением первой подложки 101 в осевом направлении, равен d3, а внешний диаметр области, образованной распределением отверстия 107 для выпуска воздуха, равен d4, причем d3≥d4.
Понятно, что в случае d3≥d4 размер области, образованной распределением отверстия 107 для выпуска воздуха, попадает в диапазон размеров области, образованной распределением первой подложки 101. После попадания воздуха во внешнее пространство A первая подложка 101 перекрывает и изменяет траекторию потока входящего воздуха. Поток входящего воздуха не может непосредственно выходить из внешнего пространства A через отверстие 107 для выпуска воздуха, и должен продолжать изменять свою траекторию, чтобы обойти первую подложку 101 и войти во внутреннее пространство, а затем выйти из отверстия 107 для выпуска воздуха, чтобы улучшить эффективность нагрева.
Кроме того, в одном из примеров осуществления настоящего изобретения отверстие 106 для впуска воздуха выполнено на стенке второй подложки 102 и сообщается с полостью 112. Другими словами, первая подложка 101 расположена в области, близкой к отверстию 106 для впуска воздуха. Отверстие 106 для впуска воздуха расположено в направлении высоты между третьей подложкой 103 и четвертой подложкой 104. В радиальном направлении второй подложки 102 ортографическая проекция отверстия для впуска воздуха 106 перекрывает или частично перекрывает ортографическую проекцию первой подложки 101, то есть первая подложка 101 перекрывает или частично перекрывает отверстие 106 для впуска воздуха. Очевидно, что направление отверстия 106 для впуска воздуха не совпадает с направлением отверстия 107 для выпуска воздуха. В других примерах осуществления изобретения направление отверстия 106 для впуска воздуха и направление отверстия 107 для выпуска воздуха перпендикулярны друг другу.
В частности, вторая подложка 102 выполнена полой в форме трубки, отверстие 106 для впуска воздуха открыто и проходит вдоль радиального направления второй подложки 102. Поскольку отверстие 106 для впуска воздуха расположено между третьей подложкой 103 и четвертой подложкой 104, поток «a» входящего воздуха, поступающий через отверстие 106 для впуска воздуха, может непосредственно попадать в полость 112. Когда ортогональная проекция отверстия 106 для впуска воздуха перекрывает ортогональную проекцию первой подложки 101, весь поток «a» входящего воздуха после входа будет сталкиваться с первой подложкой 101 и вступать в контакт с ней, и первая подложка 101 будет изменять траекторию потока воздуха. Когда ортографическая проекция отверстия 106 для впуска воздуха частично перекрывается с ортографической проекцией первой подложки 101, часть потока «a» входящего воздуха будет сталкиваться и вступать в контакт с первой подложкой 101, и первая подложка 101 будет изменять траекторию потока воздуха, а другая часть потока «a» входящего воздуха будет непосредственно поступать во внутреннее пространство B из внешнего пространства A.
Кроме того, в одном из примеров осуществления настоящего изобретения отверстие 107 для выпуска воздуха выполнено на третьей подложке 103. В осевом направлении второй подложки 102 ортогональная проекция отверстия 107 для выпуска воздуха и ортогональная проекция первой подложки 101 не перекрываются или перекрываются частично, то есть первая подложка не перекрывает или частично перекрывает отверстие.
В частности, отверстие 107 для выпуска воздуха предусмотрено на третьей подложке 103 вдоль осевого направления второй подложки 102. Понятно, что направление потока «a» входящего воздуха перпендикулярно направлению потока «b» выходящего воздуха, так что воздух, поступающий в полость 112 из отверстия 106 для впуска воздуха, не будет непосредственно выходить из отверстия 107 для выпуска воздуха, а будет нагреваться, соприкасаясь со стенкой полости 112. По сравнению с режимом прямого впуска и выпуска, режим бокового впуска воздуха улучшает эффективность нагрева. Эффективность нагрева дополнительно улучшается за счет сочетания упомянутых других структур. Ортографическая проекция отверстия для выпуска воздуха 107 и ортографическая проекция первой подложки 101 не перекрываются или перекрываются частично в осевом направлении второй подложки 102. Кроме того, d3≥d4 гарантирует, что поток входящего воздуха не может быть непосредственно выведен из внешнего пространства A через отверстие 107 для выпуска воздуха.
В других примерах осуществления изобретения отверстие 106 для впуска воздуха открыто на второй подложке 102, и направление открытия отверстия 106 для впуска воздуха можно регулировать. Отверстие 107 для выпуска воздуха открыто на третьей подложке 103, и направление открытия отверстия 107 для выпуска воздуха можно регулировать.
Кроме того, в некоторых примерах осуществления изобретения первая подложка 101 и четвертая подложка 104 выполнены как единое целое, что удобно при изготовлении и сборке. В некоторых примерах осуществления изобретения между первой подложкой 101 и третьей подложкой 103 оставлен зазор для сообщения между внешним пространством A и внутренним пространством B. В других примерах осуществления изобретения первая подложка 101 может быть выполнена как единое целое с третьей подложкой 103. В других примерах осуществления изобретения первая подложка 101 может быть соединена с четвертой подложкой 104 или третьей подложкой 103 с возможностью отсоединения.
Кроме того, в одном из примеров осуществления изобретения воздухонагреватель 100 дополнительно содержит пятую подложку 105, и пятая подложка 105 присоединена между третьей подложкой 103 и четвертой подложкой 104 с возможностью отсоединения.
В частности, в некоторых примерах осуществления изобретения пятая подложка 105 изготовлена из керамического материала, пятая подложка 105 выполнена как единое целое с третьей подложкой 103, и четвертая подложка 104 содержит зажимной паз, в который может быть вставлена пятая подложка 105.
Понятно, что при наличии нескольких первых подложек 101 и нескольких пятых подложек 105 первые подложки 101 и пятые подложки 105 расположены на некотором удалении друг от друга, вследствие чего остается зазор, сообщающийся с внешним пространством A и внутренним пространством B. В частности, в некоторых примерах осуществления изобретения предусмотрено две первые подложки 101 и четыре пятые подложки 105. Каждая пара пятых подложек 105 объединена в группу, и каждая группа расположена с интервалом от одной первой подложки 101, с промежутком между пятыми подложками 105 в каждой группе. Между первой подложкой и третьей подложкой также имеется зазор, что позволяет пропускать воздух через зазор между первой подложкой и третьей подложкой, в дополнение к зазору между первыми подложками, зазору между пятыми подложками и зазору между первой подложкой и пятой подложкой. В некоторых примерах осуществления изобретения первая подложка имеет форму дуги, выпуклой в сторону второй подложки.
См. фиг. 5 и 6 вместе с фиг. 3 и 4. Кроме того, в одном из примеров осуществления воздухонагреватель 100 содержит шестую подложку 113, причем шестая подложка 113 расположена на третьей подложке 103 для поддержки изделия 200 для генерирования аэрозоля.
В частности, шестая подложка 113 может быть изготовлена из керамического материала, и шестая подложка 113 выполнена как единое целое с третьей подложкой 103. В других примерах осуществления изобретения шестая подложка 113 соединена с третьей подложкой 103 с возможностью отсоединения.
Понятно, что в некоторых примерах осуществления изобретения шестая подложка 113 имеет кольцевую форму. В других примерах осуществления изобретения шестая подложка 113 имеет форму блока. Понятно, что шестая подложка 113 согласно настоящему изобретению может иметь и другие формы и компоновки, а ее основная функция заключается в поддержке изделия 200 для генерирования аэрозоля и увеличении расстояния между изделием 200 для генерирования аэрозоля и нагревательным контуром 110, чтобы избежать ожогов, вызванных перегревом.
См. фиг. 3 и 7. Следует отметить, что вторая подложка 102 согласно настоящему изобретению выполнена полой в форме трубки, а третья подложка 103 и четвертая подложка 104 имеют полость 112. Третья подложка 103 и четвертая подложка 104 также разделяют другие пространства второй подложки 102, образуя полость для размещения и полость для предварительного нагрева. Изделие 200 для генерирования аэрозоля может быть вставлено в полость для размещения и нагрето со всех сторон второй подложкой 102 при нагревании воздухом.
Как показано на фиг. 7 и 8, а также на фиг. 2 и 3, в одном из примеров осуществления настоящего изобретения также предусмотрено устройство для генерирования аэрозоля, содержащее воздухонагреватель 100, как раскрыто выше.
Кроме того, устройство для генерирования аэрозоля содержит основной корпус 300, крепежный узел 400, теплоизоляционную трубку 500, разделительную пластину 600 и батарею 700 питания. Крепежный узел 400 содержит основание 401, несущую трубку 404, первый крепежный элемент 403, второй крепежный элемент 402 и несущую трубку 404.
В частности, основание 401 расположено во внутренней полости 112 основного корпуса 300, несущая трубка 404 расположена на основании 401, второй крепежный элемент 402 расположен между первым крепежным элементом 403 и несущей трубкой 404, воздухонагреватель 100 расположен между вторым крепежным элементом 402 и несущей трубкой 404. В данном случае первый крепежный элемент 403 и второй крепежный элемент 402 могут быть использованы для размещения изделия для генерирования аэрозоля. Второй крепежный элемент 403 содержит первую вставную часть, вторую вставную часть и приемную часть. Первую вставную часть вставляют в несущую трубку, и одна поверхность приемной части упирается в несущую трубку, а вторую вставную часть вставляют в первый крепежный элемент, и этот конец первого крепежного элемента упирается в другую поверхность приемной части.
В частности, основной корпус 300 имеет отверстие и разъем для впуска воздуха, сообщающиеся с внутренней полостью. Отверстие используют для введения изделия для генерирования аэрозоля, а разъем для впуска воздуха — для впуска воздуха. Разделительная пластина 600 делит внутреннее пространство основного корпуса 300 на две части, в нижней части установлена батарея 700 питания, а в верхней части основного корпуса 300 расположены другие структуры. Основание 401 расположено в основном корпусе 300, и первое резиновое уплотнительное кольцо 900 расположено между основанием 401 и внутренней стенкой основного корпуса 300. Несущая трубка 404 установлена на основании 401, а второй крепежный элемент 402 установлен между первым крепежным элементом 403 и несущей трубкой 404. Вторая подложка 102 воздухонагревателя 100 установлена между несущей трубкой 404 и вторым крепежным элементом 402, и для достижения устойчивости предусмотрена ограничительная конструкция.
В частности, теплоизоляционная трубка 500 расположена снаружи крепежного узла 400. Теплоизоляционная трубка 500 закрыта по периферии первым крепежным элементом 403, вторым крепежным элементом 402 и несущей трубкой 404. Второе резиновое уплотнительное кольцо 800 расположено между теплоизоляционной трубкой 500 и первым крепежным элементом 403.
В некоторых примерах осуществления изобретения теплоизоляционная трубка 500 содержит выступ, расположенный на внешней стороне теплоизоляционной трубки 500 в форме кольца. Теплоизоляционная трубка 500 плотно прилегает к внутренней стенке основного корпуса 300 через выступ, что обеспечивает ее фиксацию. При этом внутренняя стенка полости основного корпуса 300 может содержать паз, то есть между теплоизоляционной трубкой 500 и внутренней стенкой полости основного корпуса может быть образован воздушный проход, через который может проходить воздух. Понятно, что теплоизоляционная трубка 500 также может содержать паз, а внутренняя стенка полости основного корпуса 300 содержит выступ. В других примерах осуществления изобретения теплоизоляционная трубка 500 может быть непосредственно прикреплена к внешней стороне первого крепежного элемента 403 через второе резиновое уплотнительное кольцо 800, и непосредственно между теплоизоляционной трубкой 500 и внутренней стенкой полости основного корпуса 300 оставлен зазор для образования воздушного прохода.
Понятно, что наружный воздух может поступать в основной корпус 300 через разъем для впуска воздуха в основном корпусе 300, воздух достигает дна теплоизоляционной трубки 500 вдоль внешней стороны теплоизоляционной трубки 500, а затем поступает в воздухонагреватель 100 из полой области несущей трубки 404 и отверстия 106 для впуска воздуха второй подложки 102 через внутреннюю часть теплоизоляционной трубки 500. При этом воздух может быть предварительно нагрет между нижней частью воздухонагревателя 100 и основанием 401. Расположение полой области несущей трубки 404 позволяет напрямую отводить тепло воздухонагревателя 100, что приводит к определенному предварительному нагреву воздуха между теплоизоляционной трубкой 500 и несущей трубкой 404, а также позволяет уменьшить количество тепла, отводимого к несущей трубке 404, чтобы предотвратить избыточный нагрев руки пользователя вследствие чрезмерного количества тепла, отводимого к основному корпусу 300.
Устройство для генерирования аэрозоля в данном варианте осуществления изобретения содержит раскрытый выше воздухонагреватель. Когда изделие для генерирования аэрозоля вставлено, оно может нагреваться воздухом, нагреваемым воздухонагревателем. Устройство для генерирования аэрозоля согласно настоящему изобретению может быстро нагревать воздух до необходимой температуры с помощью воздухонагревателя, что позволяет быстро нагревать изделие для генерирования аэрозоля без использования большей мощности нагрева. Устройство отличается высокой стабильностью и хорошей эффективностью нагрева.
Выше раскрыты лишь предпочтительные примеры осуществления настоящего изобретения с более конкретными и подробными описаниями. Они не должны считаться ограничивающими объем охраны настоящей заявки. Следует отметить, что специалисты в данной области техники, не отступая от сущности изобретения, могут создать множество вариаций и усовершенствований, которые будут входить в объем охраны изобретения.
Предложенная группа изобретений относится к технической области устройств для генерирования аэрозоля, в частности к устройству для генерирования аэрозоля и входящему в его состав воздухонагревателю. Воздухонагреватель (100) для нагрева изделия (200) для генерирования аэрозоля в устройстве для генерирования аэрозоля содержит полость (112), отверстие (106) для впуска воздуха и отверстие (107) для выпуска воздуха, полость (112) сообщается с наружной частью воздухонагревателя (100) через отверстие (106) для впуска воздуха и отверстие (107) для выпуска воздуха. Воздухонагреватель (100) снабжен первой подложкой (101), расположенной в полости (112) воздухонагревателя (100), тем самым изменяя траекторию потока воздуха в полости (112), второй подложкой (102) в форме полой трубки, третьей подложкой (103) и четвертой подложкой (104). Отверстие (106) для впуска воздуха выполнено на второй подложке (102). Отверстие для выпуска воздуха (107) выполнено на третьей подложке (103). Третья подложка (103) и четвертая подложка (104) размещены в полой трубке. Вышеуказанный воздухонагреватель (100) используется в устройстве для генерирования аэрозоля, содержащем основной корпус (300) и крепежный узел (400). Технический результат - улучшение эффективности нагрева воздуха без увеличения мощности воздухонагревателя, достижение достаточного и быстрого нагрева и уменьшение влияния длительно действующих высоких температур на срок службы. 2 н. и 13 з.п. ф-лы, 8 ил.
1. Воздухонагреватель (100) для нагрева изделия (200) для генерирования аэрозоля в устройстве для генерирования аэрозоля, содержащий полость (112), отверстие (106) для впуска воздуха и отверстие (107) для выпуска воздуха, причем полость (112) сообщается с наружной частью воздухонагревателя (100) через отверстие (106) для впуска воздуха и отверстие (107) для выпуска воздуха, отличающийся тем, что воздухонагреватель (100) снабжен первой подложкой (101), расположенной в полости (112) воздухонагревателя (100), тем самым изменяя траекторию потока воздуха в полости (112),
второй подложкой (102) в форме полой трубки, третьей подложкой (103) и четвертой подложкой (104); при этом отверстие (106) для впуска воздуха выполнено на второй подложке (102), а отверстие для выпуска воздуха (107) выполнено на третьей подложке (103), и третья подложка (103) и четвертая подложка (104) размещены в полой трубке.
2. Воздухонагреватель (100) по п. 1, в котором направление входящего воздуха, проходящего через отверстие (106) для впуска воздуха, отличается от направления выходящего воздуха, проходящего через отверстие (107) для выпуска воздуха.
3. Воздухонагреватель (100) по п. 1, в котором объем потока входящего воздуха составляет p1, а объем потока выходящего воздуха - p2, причем p1≤p2.
4. Воздухонагреватель (100) по п. 1, в котором первая подложка (101) расположена рядом с отверстием (106) для впуска воздуха и выполнена с возможностью изменения траектории потока входящего воздуха.
5. Воздухонагреватель (100) по п. 1, в котором первая подложка (101) перекрывает или частично перекрывает отверстие (106) для впуска воздуха.
6. Воздухонагреватель (100) по п. 1, в котором полость (112) образована между третьей подложкой (103) и четвертой подложкой (104).
7. Воздухонагреватель (100) по п. 6, в котором в радиальном направлении второй подложки (102) расстояние между внутренней стенкой первой подложки (101) и внутренней стенкой второй подложки (102) равно d1, а расстояние между центральной осью первой подложки (101) и центральной осью второй подложки (102) равно d2, причем d1≤d2.
8. Воздухонагреватель (100) по п. 6, в котором внешний диаметр ортогональной проекции области, образованной распределением первой подложки (101) в осевом направлении, равен d3, а внешний диаметр области, образованной распределением отверстия (107) для выпуска воздуха, равен d4, причем d3≥d4.
9. Воздухонагреватель (100) по п. 6, в котором отверстие (106) для впуска воздуха сообщается с полостью (112).
10. Воздухонагреватель (100) по п. 6, в котором отверстие (107) для выпуска воздуха сообщается с полостью (112), и третья подложка (103) перекрывает или частично перекрывает отверстие (107) для выпуска воздуха.
11. Воздухонагреватель (100) по п. 6, в котором воздухонагреватель (100) дополнительно содержит пятую подложку (105), и пятая подложка (105) присоединена между третьей подложкой (103) и четвертой подложкой (104) с возможностью отсоединения.
12. Воздухонагреватель (100) по п. 6, в котором воздухонагреватель (100) дополнительно содержит шестую подложку (113), причем шестая подложка (113) расположена на третьей подложке (103) для поддержки изделия (200) для генерирования аэрозоля.
13. Устройство для генерирования аэрозоля, содержащее основной корпус (300), крепежный узел (400) и воздухонагреватель (100) для нагрева изделия (200) для генерирования аэрозоля, содержащий полость (112), отверстие (106) для впуска воздуха и отверстие (107) для выпуска воздуха, причем воздухонагреватель (100) снабжен первой подложкой (101), расположенной в полости (112) воздухонагревателя (100), второй подложкой (102) в форме полой трубки, третьей (103) и четвертой подложками (104), при этом отверстие (106) для впуска воздуха выполнено на второй подложке (102), а отверстие для выпуска воздуха (107) выполнено на третьей подложке (103), и третья подложка (103) и четвертая подложка (104) размещены в полой трубке.
14. Устройство для генерирования аэрозоля по п. 13, в котором крепежный узел (400) содержит основание (401), несущую трубку (404), первый крепежный элемент (403) и второй крепежный элемент (402); основание (401) расположено во внутренней полости (112) основного корпуса (300), а несущая трубка (404) расположена на основании (401), второй крепежный элемент (402) расположен между первым крепежным элементом (403) и несущей трубкой (404), а воздухонагреватель (100) расположен между вторым крепежным элементом (402) и несущей трубкой (404).
15. Устройство для генерирования аэрозоля по п. 14, дополнительно содержащее теплоизоляционную трубку (500), причем теплоизоляционная трубка (500) расположена снаружи крепежного узла (400).
| CN 113729298 A, 03.12.2021 | |||
| РАСПЫЛИТЕЛЬ В СБОРЕ ДЛЯ ИСПОЛЬЗОВАНИЯ В СИСТЕМЕ, ГЕНЕРИРУЮЩЕЙ АЭРОЗОЛЬ | 2017 |
|
RU2727585C2 |
| CN 115500558 A, 23.12.2022 | |||
| CN 216568361 U, 24.05.2022 | |||
| CN 217826774 U, 18.11.2022. | |||
Авторы
Даты
2025-06-06—Публикация
2023-10-18—Подача