ю
;о со
-vj
Изобретение относится к электротехнике и может быть использовано для дискретного регулирования напряжения постоянного тока на нагрузках, подключенных через тиристорные регуляторы к сети переменного тока.
Известен способ управления тиристорными регуляторами напряжения, заключающийся в том, что подключают регуляторы к сети, формируют импульс управления регуляторов, длительность которых равна длительности работы соответствующего регулятора СП.
Недостатком этого способа является неравномерность загрузки фаз сети за счет отсутствия упорядоченности в последовательности работы регуляторов..
Наиболее близким по технической сущности и достигаемому эффекту к предлагаемому является способ управяения тиристорными регуляторами нашряжения, заключакяцййся в том, что . подключают регуляторы к сети, фитксируют начала полупериодов,, сетевого напряжения, формируют импульсы управлеНИН тиристорами регуляторов С2. ; Однако данный способ характеризу;ется значительным потреблением реактив.ной мощности от сети и наличием ; искажений в сетевого напряжения вносикклх преобразователем при соизмеримой с мощностью сети мощности нагрузок. I Цель изобретения - уменьшение вли|яния на сеть.
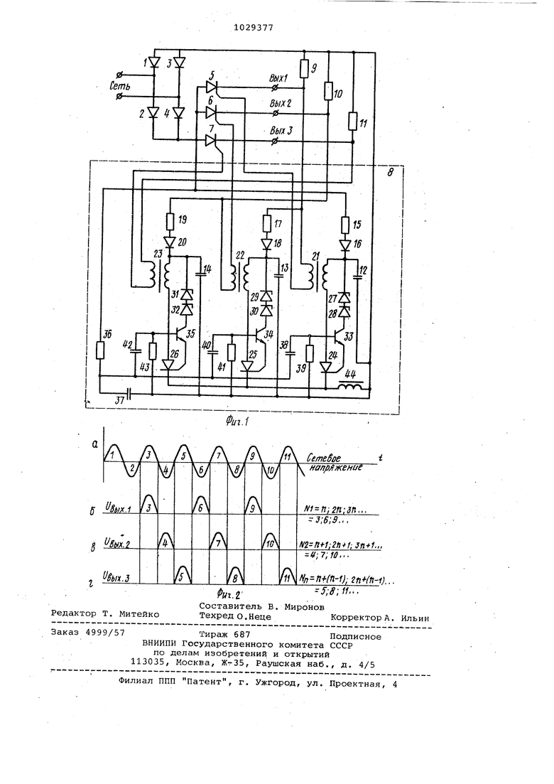
; Прставленная цель достигается тем :что согласно способу управления rpytiпой из п тиристорных регуляторов ;напряжения нумеруют полупёриоды сетевого напряжения по порядку следова ния, считая первым полупёриодсмл nep-i вый полный полупериод после подключения регуляторов к сети, производят указанное формирование импуль-Г; |сов управления тиристорами первого :регулятора в начале первого, ri+i:rr0 |2ti Х-го и т.д. полуперйсдов сетево го нап яжения, тиристорами второго ре|гулятора в начале 2-го, л+ 2-го, 2fi + 2-гго и т.д. полупериодов сетевого напряжения и т.д., тиристорами п -го регулятора - в начале: h -го, 2h-ro, 3h-ro и т.д. полупериодов ; сетевого напряжения, а длительность калдаого импульса управления устанавливают меньшей, чем длительность полупериода сетевого напряжения. ; На фиг. 1 представлена схема регулятора с блоком управления реаг лизукяцим предлагаемый способ; на фиг. 2 - временная диаграмма, поясняющая работу устройства.
Регулятор содержит мостовой выпрямитель на диодах 1,2,3 и 4, тиристоры 5,6 и 7, моменты включения
которых определяет блок 8 управления. Тиристоры подключают выпрямленное напряжение к нагрузкам 9, 10 и 11.
Блок 8 осуществляет включение одного из тиристоров 5 и 6 и 7 в начале соответствующего полупериода сетевого напряжения, В результате каждая из нагрузок подключается к выпрямителю в течение одного полупериода сетевого напряжения, причем в течение каждого полупериода подключается только одна нагрузка.
При п 3 работа устройства осуществляется следующим образом.
Блок 8 содержит три канала по числу регуляторов. В каждом канале блока 8 имеется накопительный конденсатор; в первом - конденсатор 12 во втором - конденсатор 13, в третьеконденсатор 14. Эти конденсаторы заряжаются через резистивно-диодные цепи: резистор 15, диод 16; резистор 17, диод 18; резистор 19, диод 20. Напряжение с накопительных конденсаторов 12, 13 и 14 в каждом канале поступает через первичные обмотки трансформаторов 21, 22 и 23 на аноды тиристоров 24, 25 и 26, через . последователь.но соединенные стабилитроны 27 и 28, 29 и 30, 31 и 32 на коллекторы транзисторов 33, 34 и 35. Эмиттерный ток каждого из транзисторов 33, 34 и 35 обеспечивает включение тиристоров 24, 25 и 26 соответственно. Последовательность выпрямленных полуволн поступает на интегрирующую цепь - резистор 36, конденсатор 37. Напряжение с конденстора 37, не содержащее высокочастотных, составляющих, дифференцируется цепями: конденсатор 38, резистор 39; конденсатор 40, резистор 41, конденстор 42, резистор 43 и подается на базы транзисторов 33, 34 и 35. Дроссел ;44 служит для коммутации тиристоров 24, 25 и 26. При включении выпрямителя в течение одной полуволны выпрямленного напряжения накопитель,ный конденсатор 12 в первом канале через резистор 15 и диод 16 заряжается до напряжения, меньшего чем сум маркое напряжение стабилизации стабилитронов 27 и 28. Поэтому сигнал, сформированный дифференцирующей цепьй, состоящей из конденсатора 28 и резистора 39 в момент окончания первого я начала следующего полупериода, поданный на базу транзистора 33, не может вызвать значительного эмиттерного тока, так как стабилитроны 27 и 28 заперты. Но к концу этого полупериода напряжение на накопительном конденсаторе становится больше, чем суммарное напряжение стабилизации стабилитронов 27 и 28, поэтому в момент начала первого рабочего полупериода транзистор 33 включает тиристор 24. Последний обе печивает протекание тока через первичную обмотку трансформатора 21 и запуск сигналов с вторичной обмотки этого трансформатора тиристора 5. Тиристор 5 подключает нагрузку 9 к выпрямителю регулятора на время 3-е полуволны. Через тиристор 5 напряжение полуволны с помощью зарядной цепи - резистор 17, диод 18 - осуыествляет заряд конденсатора 13 так что к началу следующей полуволны напряжение на нем достаточно для от пирания стабилитронов 29 и 30, поэтому в начале следукщей полуволны включаются тиристоЕ 26 и 6. Тирйг. стор подключает к выпр)1мителю нагрузку 10, а в следующий полуперкрд через зарядную депь - резистор 19, диод 20,подключён накопительный кон денсатор 14,что обеспечивает в спедуквдеМ полупериоде включение тиристоров 26 и 7, Тиристор 7 подключает нагруэку 11. В течение первой рабочей полувол иы тиристбр 24 полиостью разряжает накопительный конденсатор 12. Дня ©го заряда до. нужной величины иёобходимо действие 2 и 3 полуволн номером 4 и 5 с тем, чтобы полуволна с номером и+1 прошла через тиристор 5 на нагрузку 9. Выключение тиристоров 5, б и 7 осуществляется в начале полупериода следующего за полуперирдом, в течение которого каждый изних был включен . Выключение обеспечивается как снижением до нулевого значения напряжения на выходе мостового выпрямителя, так и приложением обратного напряжения вследствие индуктивного характера нагрузки на выходах регуляторов. Для выключения тиристоров 24, 25 и 26 в схеме предусмотрено наличие дросселя 44, При включени:и любого из тиристоров 24, 25 и 26 па- дение напряжения на дросселе 44 обеспечивает выключение ранее включенного тиристора. Предлагаемое устройство реализует частый случай citoсоба. Преимуществом предлагаемого способа является то, что при работе 1регуляторов в любой момент времени к сети подключена одна из нагрузок. В результате режим работы сети существенно улучшается вследствие более равнс 4ерной во времени загрузки, Полная равномерность загрузки сети во времени достигается при равенстве нагрузок на выходах регуляторов. При этом полностью устраняется влияние потребителя на другие потребители энергии этой сети.

| название | год | авторы | номер документа |
|---|---|---|---|
| Устройство для управления регулятором напряжения на одном тиристоре с фазовым управлением | 1990 |
|
SU1725334A1 |
| УСТРОЙСТВО ДЛЯ ПРОВЕРКИ ВНОВЬ РАЗРАБАТЫВАЕМЫХ ЭЛЕКТРОСЧЁТЧИКОВ | 2015 |
|
RU2596626C1 |
| Устройство для токовой защиты от повреждений в сети переменного тока | 1986 |
|
SU1520620A1 |
| УСТРОЙСТВО ДЛЯ РЕГУЛИРОВАНИЯ ТЕМПЕРАТУРЫ | 1992 |
|
RU2032209C1 |
| РЕГУЛЯТОР ПЕРЕМЕННОГО НАПРЯЖЕНИЯ | 1991 |
|
RU2016416C1 |
| Устройство для токовой защиты от повреждений в сети переменного тока | 1988 |
|
SU1720120A1 |
| Устройство для управления симистором | 1987 |
|
SU1483565A1 |
| Устройство для токовой защиты от повреждения в сети переменного тока | 1988 |
|
SU1686567A1 |
| Устройство для регулирования температуры | 1982 |
|
SU1024891A1 |
| Устройство для регулирования температуры | 1987 |
|
SU1493986A1 |
СПОСОБ УПРАВЛЕНИЯ ГРУППОЙ ИЗ П ТИРИСТОРНЕЯХ РЕГУЛЯТОРОВ НАПРЯЖЕНИЯ, заключающийся в том, что подключают регуляторы к сети, фиксируют начала полупериодов сетевого напряжёт ния, формируют импульсы управления тиристорами регуляторов, о т л и ч а- . ю щ. и и с я тем, что, с целью умень|шениЛ влияния на сеть, нумеруют полупериоды сетевого напряжения по порядку следования, считая первым полупериодрм первый полный полупериод после подключения регуляторов к сети, производя Т указанное формирование импульсов управления тиристорами первого регулятора в начале первого, h + 1-го, 2л + 1-го и т.д. полупериодов сетевого напряжения, тиристорами второго регулятора в начале ,2-го, П+2-ГО, 2п +2-ГО и т.д. полуперйодов сетевого напряжения и т.д., тйрйстораот h-го регулятора - в начале п-го, 2 п-го, и т.д. полупериодов сетевого напряжения, а длительность каждого импульса управле- § ния устанавливают меньшей, чем дли(Л тельность полупериода сетевого напряжения.
| Печь для непрерывного получения сернистого натрия | 1921 |
|
SU1A1 |
| 0 |
|
SU403006A1 | |
| Кипятильник для воды | 1921 |
|
SU5A1 |
| Аппарат для очищения воды при помощи химических реактивов | 1917 |
|
SU2A1 |
| Чиженко И | |||
| М., Руденко B.C., Сенько В | |||
| И | |||
| Основы преобразовательной техники | |||
| М., Высшая школа, 1974, с | |||
| Говорящий кинематограф | 1920 |
|
SU111A1 |
| Кипятильник для воды | 1921 |
|
SU5A1 |
Авторы
Даты
1983-07-15—Публикация
1981-08-24—Подача