Область техники, к которой относится изобретение
Изобретение относится к широкополосному частотному детектору, более конкретно к частотному детектору, обнаруживающему все сигналы для управления безопасной эксплуатацией транспортного средства и сигналы радара для определения скоростей транспортного средства.
Уровень техники
В развитых странах большое количество усилий было сконцентрировано на безопасной эксплуатации транспортного средства с помощью различных видов измерителей скорости, работающих с различными сверхвысокими частотами и лазерами и использующих передатчики с целью предварительной предупредительной сигнализации, которая информирует о различных опасных дорожных ситуациях. В частности, в Соединенных Штатах Америки такие измерители скорости и детекторы легально одобрены.
Типы сигналов, используемых в таких измерителях и детекторах, зависят от эксплуатируемого оборудования, и они являются следующими.
Другими словами, радары, предотвращающие превышение скорости транспортного средства, используют X-диапазон (10,525 ГГц), Ku-диапазон (13,450 ГГц), K-диапазон (24,150 ГГц), сверхширокий Ka-диапазон (различным образом распределенный между 33,000 ГГц и 36,000 ГГц) и лазеры (имеющие длины волн между 800 нм и 1100 нм); безопасные системы предупреждения об опасности, предоставляющие дорожную информацию для безопасной эксплуатации транспортного средства, используют частоты между 24,070 ГГц и 24,230 ГГц и передают три типа информации, которыми являются "железнодорожный переезд", "ремонт дороги" и "специальное транспортное средство"; и безопасные системы предупреждения используют частоты между 24,075 ГГц и 24,125 ГГц и передают 64 вида закодированной информации, включающей в себя "туманную область", "ремонт дороги", "школьную зону", "сниженную скорость" и т.п.
Вышеупомянутые связанные с безопасностью приемопередающие системы в настоящее время возрождены в и вокруг Соединенных Штатов Америки и распространяются глобально и, как ожидается, должны сильно взаимодействовать с будущей интеллектуальной транспортной системой (ITS).
Все вышеупомянутые частоты и их использование регулируются Федеральной комиссией по связи (FCC) Соединенных Штатов Америки.
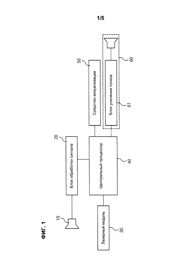
Фиг.1 иллюстрирует традиционный широкополосный радарный детектор. Как показано на фиг.1, широкополосный радарный детектор состоит из: рупорной антенны 10; блока 20 обработки сигнала, обнаруживающего сигнал, принятый посредством рупорной антенны 10; лазерного модуля 30, принимающего лазерный сигнал; центрального процессора 40, управляющего обнаружением сигнала от блока 20 обработки сигнала и лазерного модуля 30; средства 50 визуализации, визуально отображающего обнаруженные сигналы; и голосового средства 60, представляющего обнаруженные сигналы как голос через блок 61 усиления голоса; и принимает сигналы в 9 частотных диапазонах, включающих в себя X, VG2, Ku, K, SA, SWS, сверхширокий Ka и лазер, и выводит принятые сигналы наиболее подходящим образом, соответствующим ситуации пользователя, тем самым помогая пользователю в безопасной эксплуатации транспортного средства.
Кроме того, поскольку традиционные широкополосные радарные детекторы на базе MMIC принимают частоты между 24 ГГц и 36 ГГц, следовательно, частоты Ka-диапазона могут быть обнаружены, однако частоты X-диапазона, VG2-диапазона и Ku-диапазона не могут быть обнаружены. Таким образом, существует необходимость в широкополосном частотном детекторе, который может обнаруживать широкополосные частоты, в то же время используя MMIC в нем.
Сущность изобретения
Техническая задача
Задачей изобретения является предоставление широкополосного детектора, который может обнаруживать множество частотных диапазонов.
Другой задачей изобретения является предоставление способа обнаружения не только для частот X-диапазона, но также для частот K-диапазона или Ka-диапазона с помощью одного частотного детектора.
Еще одной задачей изобретения является предоставление частотного детектора, который может быстро переключаться с частот X-диапазона на частоты K-диапазона или Ka-диапазона и обнаруживать интересующую частоту в них.
Еще одной задачей изобретения является предоставление частотного детектора, который может быстро переключаться с частот K-диапазона или частот Ka-диапазона на частоты X-диапазона и обнаруживать интересующую частоту в нем.
Решение задачи
С этой целью широкополосный частотный детектор изобретения включает в себя: рупорную антенну, выполненную с возможностью принимать сигналы, имеющие конкретные частоты; первый усилитель, выполненный с возможностью принимать сигналы, имеющие конкретные частоты, от рупорной антенны; блок смесителя, выполненный с возможностью принимать сигналы, усиленные с малым уровнем шума, от первого усилителя; второй усилитель, размещенный параллельно с первым усилителем и выполненный с возможностью передавать сигналы, принятые от рупорной антенны, блоку смесителя, выполняя их усиление с малым уровнем шума.
Преимущества изобретения
Широкополосный частотный детектор по изобретению может обнаруживать частоты X-диапазона и частоты K-диапазона или Ka-диапазона также с помощью одного частотного детектора. Кроме того, широкополосный частотный детектор по изобретению имеет преимущество в том, что любая рабочая частота может быстро быть сдвинута с конкретного частотного диапазона на другой частотный диапазон, и интересующая частота обнаруживается в нем с помощью множества блоков гетеродина и переключателя.
Краткое описание чертежей
Фиг.1 иллюстрирует традиционный широкополосный радарный детектор.
Фиг.2 – блок-схема, иллюстрирующая конфигурацию широкополосного частотного детектора согласно примерному варианту осуществления изобретения.
Фиг.3 иллюстрирует форму сигнала напряжения для управления выходным сигналом от первого блока гетеродина согласно примерному варианту осуществления изобретения.
Фиг.4 – форма волны сигнала для управления вторым блоком гетеродина и третьим блоком гетеродина.
Фиг.5 – форма управляющего сигнала для LNA X-диапазона и LNA K/Ka-диапазона согласно примерному варианту осуществления изобретения.
Подробное описание варианта осуществления
Как описано выше, дополнительные признаки изобретения будут более понятны посредством предпочтительных примерных вариантов осуществления со ссылкой на сопровождающие чертежи. Далее в данном документе изобретение будет описано подробно; для обычного специалиста в области техники оно будет понятно и легко воспроизведено посредством таких примерных вариантов осуществления.
Фиг.2 – блок-схема, иллюстрирующая конфигурацию широкополосного частотного детектора согласно примерному варианту осуществления изобретения. Далее в данном документе конфигурация широкополосного частотного детектора в соответствии с примерным вариантом осуществления изобретения будет изучена подробно с помощью фиг.2.
Рупорная антенна 200 принимает сигналы, имеющие конкретные частоты, извне. Как описано подробно, рупорная антенна 200 изобретения принимает широкополосные частоты. Как правило, частотный диапазон приема рупорной антенны 200 находится между 10 ГГц и 36 ГГц.
Сигналы, принятые посредством рупорной антенны 200, передаются усилителю 202 с низким уровнем шума (называемому LNA далее в данном документе) монолитной интегральной схемы СВЧ-диапазона (называемой MMIC далее в данном документе), который является первым усилителем, и усилителю с низким уровнем шума псевдоморфного транзистора с высокой подвижностью электронов (называемого pHEMT далее в данном документе), который является вторым усилителем. MMIC LNA 202 используется для приема частот, имеющих частотный диапазон K-диапазона и частотный диапазон Ka-диапазона, в то время как pHEMT LNA 204 используется для обнаружения частотного диапазона X-диапазона. Другими словами, MMIC LNA 202 выводит сигналы, имеющие полосу частот K-диапазона и Ka-диапазона, после их усиления, в то время как pHEMT LNA 204 выводит сигналы, имеющие полосу частот X-диапазона, после усиления в нем. В частности, pHEMT LNA 204 используется, чтобы обнаруживать сигналы, имеющие частоты около 10 ГГц, в то время как MMIC LNA 202 используется, чтобы обнаруживать сигналы, имеющие частоты выше 20 ГГц.
Кроме того, MMIC LNA 202 и pHEMT LNA 204 принимают сигналы от рупорной антенны 200 и в то же время, принимают управляющий сигнал от блока 216 управления переключением. Работа MMIC LNA 202 и pHEMT LNA 204 управляется с помощью управляющего сигнала. Другими словами, блок 216 управления переключением управляет тем, должны ли MMIC LNA 202 и pHEMT LNA 204 приводиться в действие или нет.
Выходные сигналы от MMIC LNA 202 и pHEMT LNA 204 передаются первому блоку 206 смесителя. Первый блок 206 смесителя выводит сигнал, имеющий первый промежуточный частотный диапазон, который является смешиванием сигнала, принятого от MMIC LNA 202 и pHEMT LNA 204, и сигнала, принятого от первого LNA 208. Другими словами, первый блок 206 смесителя смешивает частоту сигнала, принятого от MMIC LNA 202, и сигнала, принятого от pHEMT LNA 204, с сигналом от первого LNA 208, так что принятые сигналы имеют частоту 1 ГГц.
Первый LNA 208 усиливает сигналы в конкретном частотном диапазоне, которые формируются от первого блока 212 гетеродина, и передает усиленные сигналы первому блоку 206 смесителя.
Первый блок 212 гетеродина управляет (повторно регулирует) напряжениями, чтобы изменять частоты посредством сигналов напряжения развертки DAC, которые формируются от блока 214 управления разверткой. Первый блок 212 гетеродина формирует частоты согласно повторно отрегулированным напряжениям, и когда соответствующий сигнал принимается, как например белый шум, он предоставляет возможность формирования надежного импульса белого шума через сигнал напряжения развертки и устраняет шум средней/высокой частоты.
Выходной сигнал от первого блока 206 смесителя передается к второму LNA 210. Второй LNA 210 усиливает принятый сигнал с низким уровнем шума и передает сигнал третьему LNA 218. Третий LNA 218 усиливает принятый сигнал с низким уровнем шума и передает сигнал четвертому LNA 220. Четвертый LNA 220 усиливает принятый сигнал с низким уровнем шума и передает сигнал второму блоку 224 смесителя. Фиг. 2 иллюстрирует второй-четвертый LNA, но не ограничивается ими. Другими словами, число LNA может изменяться в зависимости от характеристик широкополосных частотных детекторов.
Второй блок 224 смесителя преобразует первую промежуточную частоту во вторую промежуточную частоту согласно диапазону принятого сигнала среди сгенерированных частот от второго блока 226 гетеродина или третьего блока 228 гетеродина, которые предназначены, чтобы принимать все переданные сигналы, имеющие частоты в широком диапазоне частот.
Второй блок 226 гетеродина выводит сигналы, имеющие частоты от 550 МГц до 650 МГц посредством импульсного выходного сигнала от центрального процессора, а третий блок 228 гетеродина выводит сигналы, имеющие частоты от 1500 МГц до 2000 МГц.
Согласно предшествующему уровню техники частоты колебаний являются фиксированными, когда сигнал принимается. Поэтому, когда принимается другой сигнал, он не может быть обнаружен, пока предыдущий принятый сигнал не исчезнет, или частоты должны сканироваться в течение конкретного периода времени для обнаружения сигнала. Однако, как описано ранее, изобретение предоставляет возможность быстрого приема сигналов в различном частотном диапазоне посредством управления частотами колебаний от первого-третьего блоков гетеродина, в то же время принимая сигнал в конкретном частотном диапазоне. Поэтому изобретение может устранять практически бесполезный диапазон сигнала, быстро настраивая приоритеты принятых сигналов в центральном процессоре.
Выходной сигнал от второго блока 224 смесителя передается второму фильтру 230. Среди принятых сигналов только сигнал 10 МГц пропускается через второй фильтр 230 и передается блоку 232 демодуляции. Принятый сигнал обнаруживается посредством блока 232 демодуляции и передается третьему фильтру 234 или четвертому фильтру 236. Третий фильтр 234 пропускает сигналы низкочастотного диапазона, чтобы измерять RSSI из принятых сигналов, а четвертый фильтр 236 пропускает сигналы конкретного частотного диапазона и передает сигналы центральному процессору 238.
Кроме того, широкополосный частотный детектор изобретения включает в себя блок 246 отображения для отображения рабочих состояний детектора или другой необходимой информации, блок 244 ввода для ввода необходимой информации и блок 242 голосового вывода для вывода рабочих состояний детектора или другой необходимой информации. Кроме того, широкополосный частотный детектор включает в себя блок 240 хранения для хранения информации, требуемой для управления широкополосным частотным детектором, или другой необходимой информации.
Фиг.3 иллюстрирует форму сигнала напряжения для управления выходным сигналом от первого блока гетеродина согласно примерному варианту осуществления изобретения. Максимальные и минимальные значения напряжения сохраняются в памяти после надлежащего задания заранее значений, соответствующих частотам, через процесс настройки. Изобретение предназначено, чтобы обнаруживать доплеровские сигналы, сформированные из "способа мгновенного импульса", посредством периодического выполнения коротких качаний частоты (150, 151, 152) для того, чтобы увеличивать вероятность обнаружения. В изобретении крутизна характеристики выходного напряжения (DAC-напряжения) от центрального процессора регулируется для того, чтобы регулировать чувствительности приема для каждой частоты, которая должна быть обнаружена, и, в основном, чувствительности приема уменьшаются, когда крутизна характеристик получается более крутой, в то время как чувствительности приема повышаются, когда крутизна характеристик получается более низкой. Т.е. DAC-напряжение прикладывается к первому блоку гетеродина и смешивается с входной частотой в первом блоке смесителя, при этом время работы этого процесса ассоциируется с чувствительностью, и это управляется посредством крутизны характеристики колебания.
Используя этот принцип, для частотного диапазона (частотного диапазона, исключающего 33,8 ГГц, 34,7 ГГц и 24,150 ГГц), где чувствительность должна быть максимизирована, в то время как скорость операционной реакции регулируется до нормальной, крутизна характеристики колебания понижается.
Между тем, для частот, где чувствительность может уменьшаться более или менее, но короткий сигнал может, возможно, быть приложен, крутизна характеристики колебания скорее задается крутой, а частотный диапазон, которому удовлетворяют частоты, непрерывно и повторяющимся образом колеблется много раз, тем самым увеличивая темп приема частоты.
Фиг.4 показывает форму волны сигнала для управления вторым блоком гетеродина и третьим блоком гетеродина. Согласно фиг.4 сигнал для управления вторым блоком гетеродина или третьим блоком гетеродина управляет частотой, которая смешивается с первой промежуточной частотой, и для выбора каждой соответствующей частоты местного колебания она сохраняется во встроенной флеш-памяти, которая является программной памятью внутри центрального процессора.
Фиг.5 показывает управляющий сигнал для LNA X-диапазона (pHEMT LNA) и LNA K/Ka-диапазона (MMIC LNA). Согласно фиг.5, поскольку только LNA X-диапазона задействуется в течение периода качания частоты для общего обнаружения X-диапазона, возможность неправильного срабатывания, вызванного неудачей распознавания реального сигнала K-диапазона (24,150 ГГц), введенного в интервал исследования X-диапазона, устраняется прежде всего. Т.е., когда обычный пользователь использует оборудование, возможность неправильного распознавания сильного сигнала K-диапазона как сигнала X-диапазона предотвращается. В течение интервала обследования для K-диапазона или Ka-диапазона, LNA X-диапазона выключается, а LNA K/Ka-диапазона включается, тем самым предотвращая возможность неправильного распознавания сильного сигнала X-диапазона как сигнала K-диапазона или Ka-диапазона.
Хотя изобретение описано со ссылкой на один вариант осуществления, как иллюстрировано на чертежах, он является просто примерным, и обычному специалисту в области техники будет понятно, что различные вариации и эквивалентные другие примерные варианты осуществления возможны из вышеизложенного открытия.
| название | год | авторы | номер документа |
|---|---|---|---|
| СПОСОБ ОБНАРУЖЕНИЯ МЕСТОНАХОЖДЕНИЯ ЗАСЫПАННЫХ БИООБЪЕКТОВ ИЛИ ИХ ОСТАНКОВ И УСТРОЙСТВО ДЛЯ ЕГО ОСУЩЕСТВЛЕНИЯ | 2005 |
|
RU2288486C1 |
| СОТОВАЯ ТЕЛЕВИЗИОННАЯ ПЕРЕДАЮЩАЯ СИСТЕМА (СТПС) (ВАРИАНТЫ) | 1999 |
|
RU2152693C1 |
| СПОСОБ ОБНАРУЖЕНИЯ МЕСТОНАХОЖДЕНИЯ ЗАСЫПАННЫХ БИООБЪЕКТОВ ИЛИ ИХ ОСТАНКОВ И УСТРОЙСТВО ДЛЯ ЕГО ОСУЩЕСТВЛЕНИЯ | 2007 |
|
RU2370792C2 |
| СВЧ-ПРИЕМНИК СИГНАЛОВ СПУТНИКОВЫХ РАДИОНАВИГАЦИОННЫХ СИСТЕМ | 1993 |
|
RU2097919C1 |
| НЕДОРОГОЙ ПРИЕМНИК ДЛЯ МИЛЛИМЕТРОВОГО ДИАПАЗОНА ЧАСТОТ И СПОСОБ ЕГО ЭКСПЛУАТАЦИИ | 2018 |
|
RU2755524C2 |
| СПОСОБ И УСТРОЙСТВО ДЛЯ ОБНАРУЖЕНИЯ ЖИЗНЕННЫХ ФУНКЦИЙ ЖИВЫХ ОРГАНИЗМОВ | 1995 |
|
RU2160043C2 |
| СПОСОБ ОБНАРУЖЕНИЯ МЕСТОНАХОЖДЕНИЯ ЗАСЫПАННЫХ БИООБЪЕКТОВ ИЛИ ИХ ОСТАНКОВ И УСТРОЙСТВО ДЛЯ ЕГО ОСУЩЕСТВЛЕНИЯ | 2012 |
|
RU2515191C2 |
| СПОСОБ ОБНАРУЖЕНИЯ МЕСТОНАХОЖДЕНИЯ ЗАСЫПАННЫХ БИООБЪЕКТОВ ИЛИ ИХ ОСТАНКОВ И УСТРОЙСТВО ДЛЯ ЕГО ОСУЩЕСТВЛЕНИЯ | 2010 |
|
RU2434253C1 |
| ИСПОЛЬЗОВАНИЕ ПОЛОСЫ ЧАСТОТ НЕГЕОСТАЦИОНАРНЫХ СПУТНИКОВ ДЛЯ ГЕОСТАЦИОНАРНОЙ СПУТНИКОВОЙ СВЯЗИ БЕЗ ВЗАИМНЫХ ПОМЕХ | 2008 |
|
RU2460212C2 |
| СПОСОБ ОПРЕДЕЛЕНИЯ ЧАСТОТЫ И УСТРОЙСТВО ДЛЯ ЕГО РЕАЛИЗАЦИИ | 2007 |
|
RU2330295C1 |
Изобретение относится к широкополосным частотным обнаружителям и может быть использовано для обнаружения сигналов для управления безопасной эксплуатацией транспортного средства и сигналов радара для определения скоростей транспортного средства. Приемный блок широкополосного частотного детектора содержит рупорную антенну, выполненную с возможностью принимать сигналы, имеющие конкретные частоты, первый усилитель, выполненный с возможностью принимать сигналы, имеющие конкретные частоты, от рупорной антенны, блок смесителя, выполненный с возможностью принимать сигналы, усиленные с низким уровнем шума, от первого усилителя, второй усилитель, размещенный параллельно с первым усилителем и выполненный с возможностью передавать сигналы, принятые от рупорной антенны, блоку смесителя, выполняя их усиление с низким уровнем шума. Первый усилитель и второй усилитель имеют различный частотный диапазон усиления, при этом первый усилитель является усилителем с низким уровнем шума монолитной интегральной схемы СВЧ-диапазона (MMIC LNA), а второй усилитель является усилителем с низким уровнем шума псевдоморфного транзистора с высокой подвижностью электронов (pHEMT LNA), а блок смесителя дополнительно выполнен с возможностью вывода смешанного сигнала. Технический результат - обеспечение обнаружения множества частотных диапазонов. 3 з.п. ф-лы, 4 ил. 
1. Приемный блок широкополосного частотного детектора, содержащий:
рупорную антенну, выполненную с возможностью принимать сигналы, имеющие конкретные частоты;
первый усилитель, выполненный с возможностью принимать сигналы, имеющие конкретные частоты, от рупорной антенны;
блок смесителя, выполненный с возможностью принимать сигналы, усиленные с низким уровнем шума, от первого усилителя;
второй усилитель, размещенный параллельно с первым усилителем и выполненный с возможностью передавать сигналы, принятые от рупорной антенны, блоку смесителя, выполняя их усиление с низким уровнем шума,
причем первый усилитель и второй усилитель имеют различный частотный диапазон усиления,
причем первый усилитель является усилителем с низким уровнем шума монолитной интегральной схемы СВЧ-диапазона (MMIC LNA), а второй усилитель является усилителем с низким уровнем шума псевдоморфного транзистора с высокой подвижностью электронов (pHEMT LNA),
причем блок смесителя дополнительно выполнен с возможностью вывода смешанного сигнала.
2. Приемный блок широкополосного частотного детектора по п. 1, дополнительно содержащий блок управления переключением, выполненный с возможностью управлять работой первого усилителя или второго усилителя так, чтобы усиливать сигналы в желаемом частотном диапазоне среди принятых сигналов от рупорной антенны.
3. Приемный блок широкополосного частотного детектора по п. 1, при этом первый усилитель выполняет усиление с низким уровнем шума частотных сигналов K-диапазона или Ka-диапазона, а первый усилитель выполняет усиление с низким уровнем шума частотных сигналов Х-диапазона.
4. Приемный блок широкополосного частотного детектора по п. 3, при этом блок смесителя смешивает сигналы от первого усилителя и второго усилителя с сигналом, сгенерированным в блоке гетеродина, и выводит смешанные сигналы.
| US 6400305 B1, 04.06.2002 | |||
| US 5852417 A, 22.12.1998 | |||
| JP 3375278 B2, 10.02.2003 | |||
| KR 100999376 B1, 09.12.2010 | |||
| KR 20030049989 A, 25.06.2003 | |||
| KR 20080073804 A, 12.08.2008 | |||
| US 2009016548 A1, 15.01.2009 | |||
| АВТОМОБИЛЬНОЕ УСТРОЙСТВО ОБНАРУЖЕНИЯ СИГНАЛОВ РАДАРНЫХ УСТАНОВОК КОНТРОЛЯ СКОРОСТИ ДВИЖЕНИЯ НА АВТОТРАССАХ | 2003 |
|
RU2254583C2 |
Авторы
Даты
2017-01-27—Публикация
2013-09-09—Подача