ПЕРЕКРЕСТНЫЕ ССЫЛКИ НА РОДСТВЕННЫЕ ЗАЯВКИ
[0001] Эта заявка испрашивает преимущество приоритета предварительной заявки на патент США № 62/289,004, поданной 29 января 2016.
ОБЛАСТЬ ТЕХНИКИ
[0002] Это раскрытие относится, в общем, к области оптических датчиков и, более конкретно, к новой и полезной системе и способу для калибровки оптического датчика расстояния в области оптических датчиков.
КРАТКОЕ ОПИСАНИЕ ЧЕРТЕЖЕЙ
[0003] Фиг. 1 является схематичным изображением системы согласно первому варианту осуществления, описанному здесь;
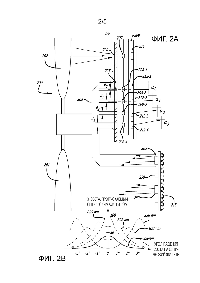
[0004] Фиг. 2А является схематичным изображением согласно второму варианту осуществления, описанному здесь;
[0005] Фиг. 2B, 2C, и 2D являются графическими изображениями второго варианта осуществления, описанного здесь;
[0006] Фиг. 3A и 3B являются схематичными изображениями согласно третьему варианту осуществления, описанному здесь.
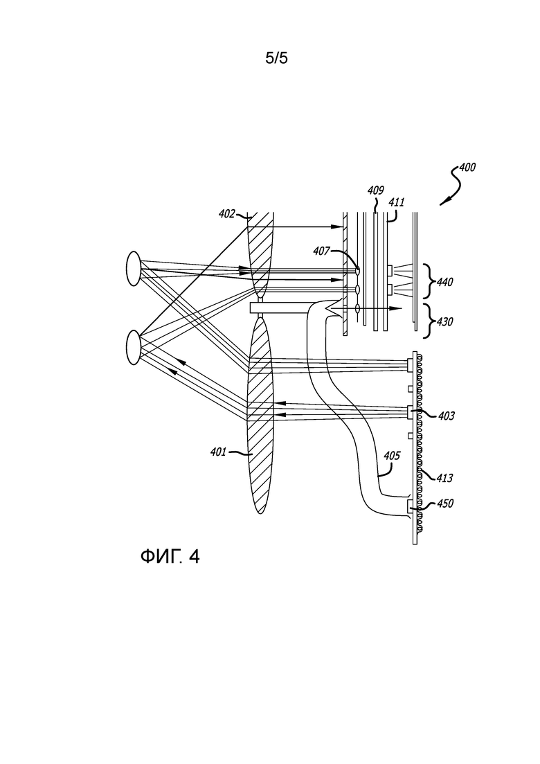
[0007] Фиг. 4 является схематичным изображением согласно четвертому варианту осуществления, описанному здесь.
ОПИСАНИЕ ВАРИАНТОВ ОСУЩЕСТВЛЕНИЯ
[0008] Нижеследующее описание вариантов осуществления настоящего изобретения не предназначено для ограничения настоящего изобретения этими вариантами осуществления, а напротив, предназначено для обеспечения специалистам в данной области техники возможности реализовать и использовать настоящее изобретение. Изменения, конфигурации, реализации, иллюстративные реализации, и примеры, описанные здесь, являются возможными, но не единственными изменениями, конфигурациями, реализациями, иллюстративными реализациями, и примерами того, что они описывают. Изобретение, описанное здесь, может включать в себя любые или все перестановки этих изменений, конфигураций, реализаций, иллюстративных реализаций, и примеров.
1. Система
[0009] Как показано на фиг. 1, в одном варианте осуществления, калибровочная система 100 (например, для калибровки оптического датчика расстояния) включает в себя: объемную пропускающую линзу 101 и объемную принимающую линзу 102. Система 100 может также включать в себя источник 103 освещения, смещенный за объемную пропускающую линзу и выполненный с возможностью выдачи длины волны света как функции температуры; апертурный слой 104, расположенный за объемной принимающей линзой и определяющий воспринимающую апертуру 120 и калибровочную апертуру 125; оптический обводной канал 105, продолжающийся от источника освещения за объемной пропускающей линзой к калибровочной апертуре; линзовый слой 106, расположенный смежно с апертурным слоем напротив объемной принимающей линзы, содержащий воспринимающие линзы 107, по существу аксиально выровненные с воспринимающей апертурой, и содержащий калибровочную линзу 108, по существу аксиально выровненную с калибровочной апертурой; оптический фильтр 109, расположенный смежно с линзовым слоем напротив апертурного слоя; пиксельный слой 110, расположенный смежно с оптическим фильтром напротив линзового слоя, содержащий воспринимающий пиксел 111, по существу аксиально выровненный с воспринимающей линзой, и содержащий калибровочный пиксел 112, по существу аксиально выровненный с калибровочной линзой; и регулятор 113 температуры, соединенный с источником освещения и выполненный с возможностью модифицирования температуры источника освещения на основе мощности света, детектируемой калибровочным пикселом. В варианте осуществления фиг. 1, система 100 может также включать в себя рассеиватель 170, выполненный с возможностью направления света на фотодетекторы. В одном варианте осуществления, рассеиватель может быть включен в необязательный сводящий линзовый слой, выполненный с возможностью сведения света на фотодетекторы. Сводящий линзовый слой может быть расположен между оптическим фильтром и фотодетектором. Сводящий линзовый слой может также содержать микролинзу, множество микролинз, рассеиватель, или любой другой элемент, способный направлять свет на фотодетекторы. Дополнительно, в варианте осуществления фиг. 1, система 100 может быть размещена в корпусе 135. Хотя различные слои были описаны в вышеупомянутом варианте осуществления как смежные с другим слоем, следует понимать, что в состав может быть включено меньшее количество слоев или дополнительные слои. Например, следует понимать, что дополнительные апертурные слои могут быть включены между любыми двумя слоями.
[0010] Как показано на фиг. 3А, система 300 является одним вариантом осуществления одного варианта системы 100, причем система 300 может включать в себя: объемную пропускающую линзу 301; объемную принимающую линзу 302, источник освещения, смещенный за объемную пропускающую линзу и выполненный с возможностью выдачи длины волны света как функции температуры; апертурный слой 304, определяющий первую калибровочную апертуру и вторую калибровочную апертуру; оптический обводной канал 305, продолжающийся от источника освещения за объемной пропускающей линзой к первой калибровочной апертуре и второй калибровочной апертуре; линзовый слой 306, расположенный смежно с апертурным слоем напротив оптического обводного канала, содержащий первую калибровочную линзу, по существу аксиально выровненную с первой калибровочной апертурой, и содержащий вторую калибровочную линзу, аксиально смещенную относительно второй калибровочной апертуры; оптический фильтр 309, расположенный смежно с линзовым слоем напротив апертурного слоя; пиксельный слой, расположенный смежно с оптическим фильтром, напротив линзового слоя, содержащий первый калибровочный пиксел, по существу аксиально выровненный с первой калибровочной линзой, и содержащий второй калибровочный пиксел, выровненный с лучом, продолжающимся через вторую апертуру и вторую калибровочную линзу; и регулятор 313 температуры, соединенный с источником освещения и выполненный с возможностью модифицирования температуры источника освещения на основе мощности света, детектируемой первым калибровочным пикселом и вторым калибровочным пикселом. Система 300 может также включать в себя второй источник 350 освещения, дополнительно к источнику 303 освещения.
2. Применения
[0011] В одном варианте осуществления, система 100 функционирует в качестве датчика изображения, который, при повороте вокруг оси, параллельной столбцу воспринимающих апертур, собирает трехмерные данные о расстоянии из объема, занимаемого системой 100. Подобным образом, система 100 может функционировать в качестве статического датчика изображения, который собирает двумерные и трехмерные данные о расстоянии пространства или объема в поле зрения системы 100. В общем, система 100 может сканировать объем для сбора трехмерных данных о расстоянии, которые затем могут быть восстановлены в виртуальное трехмерное изображение объема, например, на основе записанных интервалов времени между выпуском луча освещения из источника освещения и детектированием фотонов - по всей вероятности, выходящих из источника освещения - падающих на воспринимающий пиксел, на основе технологий измерения фазы, или на основе другой технологии измерения расстояния.
[0012] В одном варианте осуществления, система 100 включает в себя источник освещения, калибровочную схему 130, и воспринимающую схему. Воспринимающая схема включает в себя воспринимающую апертуру, воспринимающую линзу, и оптический фильтр, которые взаимодействуют таким образом, чтобы пропускать только относительно узкий диапазон длин волн света (например, единственную целевую длину волны +/- 0,25 нанометров) к соответствующему воспринимающему пикселу. Поскольку воспринимающая схема выполнена с возможностью детектирования света только в относительно узком диапазоне длин волн, система 100 может настраивать источник освещения таким образом, чтобы он выдавал свет в этом относительно узком диапазоне длин волн. Источник освещения может выдавать узкий диапазон длин волн света с диаграммой распределения, центрированной относительно некоторой длины волны. Центральная частота источника света может быть изменена посредством изменения температуры источника освещения (предпочтительный режим), хотя с другой стороны, это может быть осуществлено посредством изменения рабочего цикла источника, посредством использования пьезоэлектрического эффекта, или любого другого доступного средства. Калибровочная схема может активно управлять температурой источника посредством регулятора - термически соединенного с источником освещения - для управления центральной длиной волны света, выдаваемого источником освещения. В частности, калибровочная схема может согласовывать центральную длину волны света, выдаваемого источником освещения, с центральной длиной волны, пропускаемой и детектируемой воспринимающей схемой, по существу для максимизации энергетической отдачи любой приемной системы, такой как система 100 (т.е. максимизации соотношения между светом, считываемым воспринимающей схемой, и светом, выдаваемым источником освещения).
[0013] Оптический фильтр в воспринимающей схеме может пропускать или ослаблять свет в зависимости от угла падения, и дефекты изготовления могут создавать поперечное и/или продольное смещение между апертурным слоем и линзовым слоем таким образом, что воспринимающая апертура и воспринимающая линза не будут аксиально выровненными, и таким образом, что свет, выходящий из воспринимающей линзы, будет достигать оптического фильтра под некоторым углом, а не перпендикулярно оптическому фильтру. Несогласованность между апертурным слоем и линзовым слоем, допущенная при изготовлении, может, таким образом, создавать воспринимающую схему, которая пропускает и детектирует центральную длину волны света, отличную от номинальной длины волны, которую оптический фильтр способен пропускать (т.е. центральную длину волны, которую оптический фильтр пропускает, для света, падающего на оптический фильтр под углом 90°), как показано на фиг. 2В. Дополнительно, такая несогласованность между апертурными слоями и линзовыми слоями может быть неоднородной от одного элемента системы 100 к следующему и может изменяться с течением времени в пределах одного элемента системы 100, например, вследствие изменений температуры или давления окружающей среды. Подобным образом, источники освещения (например, линейчатые диодные лазеры) могут демонстрировать разные выходные характеристики (например, изменения в центральной или основной выходной длине волны при конкретной рабочей температуре), даже в одной партии источников освещения, вследствие дефектов изготовления.
[0014] Таким образом, вместо реализации модели зависимости специфической-для-источника-освещения центральной выходной длины волны от температуры и эмпирически определяемой целевой центральной длины волны для пакета из апертурного слоя и линзового слоя, система 100 может включать в себя калибровочную схему - подобную воспринимающей схеме - и может активно модифицировать выход регулятора температуры на основе света, детектируемого калибровочной схемой. В частности, калибровочная схема: может включать в себя калибровочную апертуру, встроенную в тот же самый апертурный слой, что и воспринимающая апертура; может включать в себя калибровочную линзу, встроенную в тот же самый линзовый слой, что и воспринимающая линза; может совместно использовать оптический фильтр (например, слой оптического фильтра) вместе с воспринимающей схемой; и может включать в себя калибровочный пиксел, встроенный в тот же самый пиксельный слой, что и воспринимающая схема. Калибровочная схема может, таким образом, имитировать дефекты изготовления, возникающие в воспринимающей схеме таким образом, чтобы настройка источника освещения для достижения максимального падающего света посредством калибровочной схемы подобным образом настраивала источник освещения на воспринимающую схему. В частности, элемент системы 100 может активно управлять регулятором температуры для сохранения максимального числа измерений падающих фотонов в единицу времени на калибровочном пикселе на всем протяжении работы, посредством чего выход оптической системы освещения согласуется как с калибровочной схемой, так и с воспринимающей схемой, и в элементе системы 100 автоматически компенсируются по существу уникальные пакеты дефектов изготовления с использованием модели замкнутой обратной связи, общей для множества элементов системы 100.
[0015] В общем, максимальное число измерений падающих фотонов, записываемое калибровочным пикселом, может возникать, когда выходная длина волны источника освещения согласуется с длиной волны объемной максимальной мощности калибровочной схемы. Калибровочная схема и воспринимающая схема совместно используют общий оптический фильтр, включают в себя апертуры, определяемые общим апертурным слоем, включают в себя линзы общего линзового слоя, и подвергаются общим поперечным и продольным смещениям между апертурами и линзами. Таким образом, длина волны объемной максимальной мощности воспринимающей схемы является по существу идентичной длине волны объемной максимальной мощности калибровочной схемы. Для увеличения (или по существу максимизации) эффективности системы 100 во время работы, система 100 может однозначно откалибровать источник освещения с воспринимающей схемой посредством настройки выходной длины волны источника освещения для достижения максимального числа измерений падающих фотонов в единицу времени на калибровочном пикселе. Например, источник освещения может выдавать свет с центральной длиной волны, которая изменяется пропорционально температуре источника освещения, и система 100 может управлять центральной выходной длиной волны источника освещения посредством активного управления тепловым потоком регулятора температуры, соединенного с источником освещения. На всем протяжении работы, система 100 может реализовывать технологии замкнутой обратной связи для активного управления выходом регулятора температуры - и, таким образом, центральной выходной длиной волны источника освещения - на основе числа измерений падающих фотонов, считываемого из калибровочного пиксела, таким образом, чтобы источник освещения оставался настроенным на воспринимающую схему с течением времени несмотря на изменения внутренней температуры, температуры окружающей среды, давления окружающей среды, и т.д.
[0016] Как показано на фиг. 2А, в одном варианте осуществления, система 200 может включать в себя множественные калибровочные схемы. Система 200 может включать в себя объемную пропускающую линзу 201, объемную принимающую линзу 202, оптический фильтр 209, воспринимающую апертуру 220, воспринимающую линзу 207, воспринимающий пиксел 211, источники 203 и 250 освещения, и оптический обводной канал 205. Эти компоненты могут быть организованы подобно компонентам, описанным выше в связи с фиг. 1. В этом варианте, каждая калибровочная апертура и калибровочная линза (например, калибровочные апертуры 225 и калибровочные линзы 208, или отдельно, калибровочные апертуры 225-1, 225-2, 225-3, 225-4 и калибровочные линзы 208-1, 208-2, 208-3, 208-4) может быть смещена на уникальное расстояние (например, расстояние d0, d1, d2, d3, и т.д.) в этом наборе таким образом, чтобы калибровочная линза выдавала свет по направлению к оптическому фильтру под уникальным номинальным углом (например, под углом α0, α1, α2, α3, и т.д.) в этом наборе. Например, система 100 может включать в себя первый набор из калибровочной апертуры и линзы, второй набор из калибровочной апертуры и линзы, третий набор из калибровочной апертуры и линзы, и четвертый набор из калибровочной апертуры и линзы, собранные с уникальными расстояниями смещения таким образом, чтобы первая, вторая, третья и четвертая калибровочная линза выдавали свет по направлению к оптическому фильтру под углами 0°, 1°, 2°, и 3° к оптическому фильтру, соответственно, как показано на фиг. 2А и 2С. Таким образом, в одном варианте осуществления, калибровочные апертуры могут быть смещены относительно калибровочных линз. Конечно, в других вариантах осуществления, любое число калибровочных схем (например, наборов из калибровочной апертуры, линзы, пиксела) может быть включено в систему. В этом варианте, система 200 может считывать числа измерений падающих фотонов (или интервалы времени между последовательными падающими фотонами, и т.д.) из каждого из калибровочных пикселов 212 (отдельно, из калибровочных пикселов 212-1, 212-2, 212-3, 212-4) в течение периода выборки, определять, является ли центральная выходная длина волны источника освещения большей или меньшей, чем центральная длина волны, считываемая калибровочной схемой (и, таким образом, считываемая воспринимающей схемой) в течение периода выборки, на основе этого набора чисел измерений падающих фотонов, и затем увеличивать или уменьшать температуру источника освещения - посредством регулятора температуры - соответствующим образом, для улучшения выравнивания центральных длин волн, выдаваемых источником освещения и считываемых калибровочной схемой.
3. Воспринимающая схема
[0017] Как показано на фиг. 1 и 4, в некоторых вариантах осуществления, воспринимающая схема системы 100 (и системы 400) может включать в себя: объемную принимающую линзу (например, 102 и 402); апертурный слой, расположенный за объемной принимающей линзой и определяющий воспринимающую апертуру и калибровочную апертуру; линзовый слой (например, 107 и 407), расположенный смежно с апертурным слоем напротив объемной принимающей линзы и определяющий воспринимающую линзу, по существу аксиально выровненную с воспринимающей апертурой; оптический фильтр (например, 109 и 409), расположенный смежно с линзовым слоем напротив апертурного слоя; и пиксельный слой (например, 111 и 411), расположенный смежно с оптическим фильтром напротив линзового слоя и включающий в себя воспринимающий пиксел, по существу аксиально выровненный с воспринимающей линзой. В общем, объемная принимающая линза, воспринимающая апертура, воспринимающая линза, оптический фильтр, и воспринимающий пиксел взаимодействуют для сбора света (например, света окружающей среды и света, выдаваемого источником освещения), для коллимирования света, для ослабления всего света, находящегося за пределами узкого диапазона длин волн, включающего в себя центральную выходную длину волны источника освещения, и для детектирования света, достигающего воспринимающего пиксела. Система 100 (например, процессор внутри системы 100) может, таким образом, преобразовывать число измерений падающих фотонов, интервал времени между падающими фотонами, время падающего фотона относительно времени выхода луча освещения, и т.д., в положение поверхности в поле зрения воспринимающей схемы. Как показано на фиг. 4, подобно системе 100, система 400 может также включать в себя объемную пропускающую линзу 401, источники 403 и 450 освещения, оптический обводной канал 405, регулятор 413 и калибровочную схему 430. Эти компоненты могут быть организованы подобно компонентам, описанным в связи с системой 100 фиг. 1. Как также показано на фиг. 4, система 400 может включать в себя апертурное шаговое расстояние 440.
[0018] В одном варианте осуществления, объемная принимающая линза выполнена с возможностью проецирования лучей падающего света извне системы 100 по направлению к фокальной плоскости внутри системы 100. Например, объемная принимающая линза может определять собирающую линзу и может включать в себя множественные линзы, например, одну или несколько двояковыпуклых линз (показанных на фиг. 1 и 4) и/или плоско-выпуклые линзы, которые взаимодействуют для создания общего объемного фокусного расстояния для центральной или близкой к ней длины волны перпендикулярных лучей света, пропускаемых оптическим фильтром (т.е. для номинальной рабочей длины волны системы 100). Апертурный слой включает в себя относительно тонкую непрозрачную структуру, совпадающую с фокальной плоскостью (т.е. смещенную от объемной принимающей линзы на объемное фокусное расстояние) и определяющую воспринимающую апертуру и ограничительную область вокруг воспринимающей апертуры. Ограничительная область апертурного слоя ослабляет (например, блокирует, поглощает, отражает) лучи падающего света, и воспринимающая апертура пропускает лучи падающего света по направлению к воспринимающей линзе. Например, апертурный слой может определять воспринимающую апертуру с диаметром, приближающимся к ограниченному-дифракцией диаметру, для максимизации геометрической селективности поля зрения воспринимающей схемы.
[0019] В этой реализации, воспринимающая линза, которая характеризуется фокусным расстоянием восприятия, смещена от фокальной плоскости на фокусное расстояние восприятия и коллимирует лучи света, пропускаемые воспринимающей апертурой, и пропускает коллимированные лучи света к оптическому фильтру. Например, воспринимающая линза может включать в себя собирающую линзу, характеризующуюся лучевым конусом, по существу согласующимся с лучевым конусом объемной принимающей линзы, и может быть смещена от фокальной плоскости объемной принимающей линзы на относительно малое фокусное расстояние восприятия для сохранения апертуры объемной принимающей линзы и для коллимирования света, пропускаемого воспринимающей апертурой. Оптический фильтр принимает коллимированный свет - с некоторым спектром длин волн - от воспринимающей линзы, пропускает относительно узкий диапазон длин волн света (например, рабочая длина волны +/- 0,25 нанометров) к воспринимающему пикселу, и блокирует свет, находящийся за пределами этого узкого диапазона длин волн. Например, оптический фильтр может включать в себя узкий оптический полосовой фильтр.
[0020] Например, источник освещения может выдавать свет (преимущественно) на номинальной длине волны, равной 900 нм, и оптический фильтр может определять плоский оптический полосовой фильтр, выполненный с возможностью пропускания света (падающего на оптический фильтр под углом 90°) между 899,95 нм и 900,05 нм и выполненный с возможностью блокирования по существу всего света (падающего на оптический фильтр под углом 90°) за пределами этого диапазона. Воспринимающий пиксел выполнен с возможностью приема света (т.е. «фотонов»), пропускаемого оптическим фильтром, для детектирования этих падающих фотонов и для выдачи сигнала, соответствующего числу или частоте детектированных фотонов. Например, воспринимающий пиксел может включать в себя массив однофотонных лавинных диодных детекторов (ʺSPADʺ), и воспринимающий пиксел может выдавать единственный сигнал или непрерывную последовательность сигналов, соответствующих числу измерений фотонов, падающих на пиксел в течение одного периода выборки пикосекундной, наносекундной, микросекундной или миллисекундной длительности.
[0021] В одном варианте, система 300 включает в себя множественные воспринимающие схемы 340 (или отдельно 340-1, 340-2, 340-3, и 340-4), включающие в себя множественные наборы воспринимающих апертур, воспринимающих линз, и воспринимающих пикселов, как показано на фиг. 3А и 3В. Например, система 300 может включать в себя: столбец смещенных воспринимающих апертур 320 (отдельно 320-1, 320-2, и т.д.), расположенный за единственной объемной принимающей линзой и определяющий дискретные (т.е. неперекрывающиеся за пределами порогового расстояния от системы 100) поля зрения в области перед объемной принимающей линзой. В одном варианте осуществления, каждая из воспринимающих апертур 320, соответственно, выровнена с соответствующей воспринимающей линзой. Система 300 может также включать в себя источник освещения, который проецирует дискретные лучи освещения на рабочей длине волны в поле зрения, определяемое каждой воспринимающей апертурой; столбец воспринимающих линз, которые коллимируют лучи света, пропускаемые соответствующими воспринимающими апертурами; оптический фильтр, который охватывает столбец воспринимающих линз и селективно пропускает относительно узкий диапазон длин волн света; и набор воспринимающих пикселов, которые детектируют падающие фотоны, например, посредством подсчета падающих фотонов и записи интервалов времени между последовательными падающими фотонами. В этом примере, система 100 может селективно проецировать лучи освещения в область перед системой 100 согласно диаграмме распределения освещения, которая по существу согласуется - по размеру и геометрии в некотором диапазоне расстояний от системы 100 - с полями зрения воспринимающих апертур. В частности, источник освещения может освещать по существу только поверхности в области перед системой 100, которые находятся в пределах полей зрения соответствующих воспринимающих пикселов таким образом, чтобы минимальная мощность, выдаваемая системой 100 через источник освещения, тратилась на освещение поверхностей в области, для которой воспринимающие пикселы являются слепыми. Таким образом, система 100 может обеспечивать относительно высокое отношение выходного сигнала (т.е. мощности луча освещения) к входному сигналу (т.е. фотонам, прошедшим и падающим на массив пикселов), в частности, когда центральная выходная длина волны источника освещения согласуется с центральной длиной волны, считываемой воспринимающей схемой.
[0022] В другом варианте, система 100 включает в себя двумерный сеточный массив воспринимающих схем (т.е. наборов из воспринимающей апертуры, воспринимающей линзы, и воспринимающего пиксела) и выполнена с возможностью визуализации объема, занимаемого системой 100, в двух измерениях в каждом периоде выборки. В этом варианте, система 100 может собирать одномерные данные о расстоянии (например, числа измерений падающих фотонов в течение периода выборки и/или интервалы времени между последовательными фотонами, падающими на воспринимающие пикселы, соответствующие известным полям зрения в данной области) по всей двумерной сетке воспринимающих пикселов, и система 100 может объединить эти одномерные данные о расстоянии с известными положениями полей зрения для каждого воспринимающего пиксела для восстановления виртуального трехмерного изображения области перед системой 100. Например, апертурный слой может определять сеточный массив 24-на-24 из воспринимающих апертур с диаметром 200 мкм, смещенных вертикально и поперечно на апертурное шаговое расстояние, равное 300 мкм, и линзовый слой может включать в себя сеточный массив 24-на-24 воспринимающих линз, смещенных вертикально и поперечно на линзовое шаговое расстояние, равное 300 мкм. В этом примере, пиксельный слой может включать в себя сеточный массив 24-на-24 квадратных воспринимающих пикселов со стороной 300 мкм, причем каждый воспринимающий пиксел включает в себя квадратный массив 3*3 из девяти квадратных SPAD со стороной 100 мкм.
[0023] В одной реализации, объемная принимающая линза, апертурный слой, линзовый слой, оптический фильтр, и рассеиватель изготавливают и затем выравнивают и устанавливают на пиксельный слой. В одном примере, оптический фильтр изготавливают посредством нанесения покрытия на подложку из плавленого кварца. Фотоактивный оптический полимер затем осаждают поверх оптического фильтра, линзовую пресс-форму, определяющую массив линзовых форм, размещают поверх фотоактивного оптического полимера, и источник ультрафиолетового света активируют для отверждения фотоактивного оптического полимера в структуре линз по всему оптическому фильтру. Зазоры подобным образом отливают или формуют по всему оптическому фильтру посредством технологий фотолитографии. Апертурный слой изготавливают отдельно посредством селективной металлизации стеклянной пластинки и травления апертур в этом металлическом слое; стеклянную пластинку затем соединяют или иным образом скрепляют с этими зазорами. В этом примере, сборку затем инвертируют, и второй набор зазоров подобным образом изготавливают по всему оптическому фильтру напротив линзового слоя. Пиксельный слой (например, дискретный датчик изображения) выравнивают и соединяют со вторым набором зазоров; объемную принимающую линзу подобным образом устанавливают поверх апертурного слоя для завершения пакета воспринимающей схемы.
[0024] Альтернативно, объемная принимающая линза, апертурный слой, линзовый слой, и оптический фильтр могут быть изготовлены прямо на неразрезанной полупроводниковой пластине - содержащей воспринимающий пиксел - посредством технологий фотолитографии и соединений на уровне пластинки. Однако, объемная принимающая линза, апертурный слой, линзовый слой, оптический фильтр, и пиксельный слой могут быть изготовлены и собраны любым другим образом и с использованием любого другого способа или технологии.
4. Выходная схема
[0025] Как показано на фиг. 1, система 100 включает в себя выходную схему, включающую в себя объемную пропускающую линзу и источник освещения. В одной реализации, объемная пропускающая линза: по существу идентична объемной принимающей линзе по материалу, геометрии (например, по фокусному расстоянию), тепловой изоляции, и т.д.; и является смежной и смещенной поперечно и/или вертикально относительно объемной принимающей линзы. В этой реализации, источник освещения включает в себя монолитный VCSEL-массив оптических излучателей, расположенных за объемной пропускающей линзой. В одном примере, источник освещения может включать в себя линейчатый диодный лазер, определяющий столбец оптических излучателей, характеризующихся шаговым расстоянием излучателей, по существу идентичным шаговому расстоянию воспринимающих апертур; поскольку линейчатый диодный лазер включает в себя оптические излучатели, изготовленные на одном и том же кристалле, оптические излучатели могут демонстрировать по существу подобные характеристики выходной длины волны в зависимости от температуры. В этом примере, каждый оптический излучатель может выдавать луч освещения с исходным диаметром, по существу идентичным диаметру (или немного большим него) соответствующей воспринимающей апертуры в апертурном слое, и источник освещения может быть расположен вдоль фокальной плоскости объемной пропускающей линзы таким образом, чтобы все лучи освещения, проецируемые от объемной пропускающей линзы в данную область, пересекались и имели по существу тот же самый размер и геометрию, что и поле зрения соответствующей воспринимающей схемы на любом расстоянии от системы 400 (например, некоторого варианта системы 100), как показано на фиг. 4. Таким образом, источник освещения и объемная пропускающая линза могут взаимодействовать для проецирования по существу всей выходной мощности в поля зрения воспринимающих схем с относительно минимальной мощностью, теряемой на освещение поверхностей в пространстве за пределами полей зрения воспринимающих схем.
5. Калибровочная схема
[0026] Как показано на фиг. 1, система 100 дополнительно включает в себя калибровочную схему, включающую в себя оптический обводной канал 105, калибровочную апертуру 125, определяемую в апертурном слое 104, калибровочную линзу 108, встроенную в линзовый слой 106, оптический фильтр 109, используемый совместно с воспринимающей схемой (например, воспринимающей апертурой 120, воспринимающей линзой 107, воспринимающим пикселом 111), и калибровочный пиксел 112, встроенный в пиксельный слой 110. В общем, оптический обводной канал 105 функционирует подобно раструбу для пропускания некоторых лучей света, выдаваемых источником освещения 103, к калибровочной апертуре 125; подобно воспринимающей апертуре 120, воспринимающей линзе 107, и оптическому фильтру 109 в воспринимающей схеме, калибровочная апертура 125, калибровочная линза 108, и оптический фильтр 109 в калибровочной схеме пропускают по существу узкий диапазон длин волн света, принимаемого из оптического обводного канала, к калибровочному пикселу. На основе числа падающих фотонов, частоты падающих фотонов, или мощности падающего света, и т.д., детектируемых калибровочным пикселом в течение периода выборки, система 100 может определить, согласуется ли и/или в какой степени согласуется центральная (или основная) выходная длина волны источника 103 освещения с эффективной центральной (или основной) рабочей длиной волны калибровочной схемы 130, и система 100 может модифицировать выход регулятора температуры согласно смещению выходной длины волны источника освещения относительно эффективной рабочей длины волны калибровочной схемы 130.
[0027] Поскольку калибровочная апертура 125, калибровочная линза 108, и калибровочный пиксел 112 встроены в тот же самый апертурный слой 104, линзовый слой 106 и пиксельный слой 110, что и воспринимающая апертура 120, воспринимающая линза 107, и воспринимающий пиксел 111, и поскольку калибровочная схема 130 и воспринимающая схема (например, воспринимающая апертура 120, воспринимающая линза 107, воспринимающий пиксел 111) совместно используют один и тот же оптический фильтр 109, калибровочная схема 130 может совместно использовать по существу идентичные дефекты изготовления (например, дефекты выравнивания) и может поэтому демонстрировать по существу идентичные эффективные рабочие длины волн. Дополнительно, поскольку оптический обводной канал пропускает некоторый свет от того же самого источника освещения, который освещает поле зрения воспринимающего канала, управление регулятором температуры для согласования выходной длины волны источника освещения с эффективной рабочей длиной волны калибровочной схемы также согласует выходную длину волны источника освещения с эффективной рабочей длиной волны воспринимающей схемы, в результате чего увеличивается энергетическая отдача системы 100.
[0028] Таким образом: калибровочная апертура может быть образована в апертурном слое по существу в то же самое время и по существу с той же самой точностью позиционирования, что и воспринимающая апертура; калибровочная линза может быть образована в линзовом слое по существу в то же самое время и по существу с той же самой точностью позиционирования, что и воспринимающая линза; и калибровочный пиксел может быть встроен в пиксельный слой по существу в то же самое время и по существу с той же самой точностью позиционирования, что и воспринимающий пиксел, например, согласно способам и технологиям, описанным выше. Оптический фильтр может также определять сингулярную или унитарную структуру, которая охватывает калибровочную схему и воспринимающую схему, и апертурный слой, линзовый слой, оптический фильтр, и пиксельный слой - в том числе как калибровочная, так и воспринимающая схемы - могут быть собраны, как описано выше.
[0029] В одной реализации, объемная пропускающая линза расположена в одной плоскости с объемной принимающей линзой и поперечно смещена относительно нее, и оптический обводной канал «переправляет» свет от одного конца источника освещения за объемной пропускающей линзой в смежную область за объемной принимающей линзой и в калибровочную апертуру, как показано на фиг. 1 и 4. Например, в реализации, описанной выше, в которой источник освещения включает в себя линейчатый диодный лазер с множественными оптическими излучателями, оптический обводной канал может включать в себя световод или оптический волновод, который продолжается от одного концевого излучателя на линейчатом диодном лазере и оканчивается поверх калибровочной апертуры за объемной принимающей линзой. Однако оптический обводной канал может включать в себя любую другую структуру и может функционировать любым другим образом для передачи света от источника освещения в калибровочную схему.
6. Калибровка
[0030] В варианте осуществления фиг. 2А, система 200 дополнительно включает в себя регулятор 213 температуры, соединенный и источником освещения и выполненный с возможностью модифицирования температуры источника освещения на основе мощности света, детектируемой калибровочным пикселом. В общем, при включении и/или во время работы, система 200 может считывать число падающих фотонов, частоту падающих фотонов, или мощность падающего света, и т.д., детектируемые калибровочным пикселом в течение периода выборки и может реализовать технологии управления с замкнутой обратной связью для модифицирования выхода регулятора температуры - и, таким образом, температуры и центральной (или основной) выходной длины волны источника освещения - на основе выхода калибровочного пиксела.
[0031] В одной реализации, система 200 дополнительно включает в себя датчик 230 температуры, термически связанный с источником освещения. В этой реализации, после включения, система 200: линейно увеличивает рабочий цикл (например, выход тепла) регулятора температуры и реализует управление с замкнутой обратной связью для удерживания источника освещения при низкой рабочей температуре (например, 80°С); и сохраняет число измерений падающих фотонов (или частоту падающих фотонов, и т.д.), записываемое калибровочным пикселом в течение периода выборки, в то время как источник освещения удерживается при низкой рабочей температуре. Система 200 затем ступенчато увеличивает рабочий цикл регулятора температуры для обеспечения дискретных шагов по температуре (например, шагов 0,5°С) от низкой рабочей температуры до высокой рабочей температуры (например, 85°С) в источнике освещения; и сохраняет число измерений падающих фотонов, записываемое калибровочным пикселом в течение периода выборки, при каждом шаге по температуре в пределах диапазона рабочих температур (система 200 может также считывать числа измерений падающих фотонов из калибровочного пиксела в течение множественных периодов выборки при каждом шаге по температуре и записывать медианное или среднее число измерений падающих фотонов для данного шага по температуре). В этом варианте осуществления, система 200 может затем идентифицировать максимальное число измерений падающих фотонов, считанное из калибровочного пиксела по всему набору шагов по температуре, установить соответствующую температуру источника освещения в качестве начальной целевой рабочей температуры, и настроить рабочий цикл регулятора температуры для обеспечения исходной целевой рабочей температуры.
[0032] В вышеупомянутой реализации, на всем протяжении непрерывной работы, система может: считывать числа измерений падающих фотонов из калибровочного пиксела; детектировать изменения в числе измерений падающих фотонов, считываемом калибровочным пикселом, например, за пределами порогового отклонения (например, 5%); и модифицировать выход регулятора температуры соответствующим образом. Система может также: считывать температуру источника освещения с датчика температуры в соответствующие периоды выборки; и определять, следует ли увеличить или уменьшить рабочий цикл регулятора температуры в ответ на изменения в числе измерений падающих фотонов на калибровочном пикселе на основе изменений температуры оптической системы освещения. Например, если число измерений падающих фотонов, записываемое калибровочным пикселом, падает на протяжении двух или более периодов выборки, и датчик температуры указывает на то, что температура источника освещения также упала, то система может увеличить выход тепла регулятора температуры и сохранять температуру источника освещения, когда число измерений падающих фотонов, записываемое пикселом конфигурации, увеличится. Когда число измерений падающих фотонов достигнет максимального значения и затем начнет уменьшаться при увеличении температуры источника освещения, система может идентифицировать новую целевую рабочую температуру источника освещения, соответствующую максимальному числу измерений падающих фотонов, записываемому калибровочным пикселом во время линейного изменения температуры, и затем уменьшить выход регулятора температуры для обеспечения новой целевой рабочей температуры.
[0033] В другом примере, если число измерений падающих фотонов, записываемое калибровочным пикселом, падает на протяжении двух или более периодов выборки, и датчик температуры указывает на то, что температура источника освещения увеличилась в течение этих периодов выборки, то система может уменьшить выход тепла регулятора температуры и сохранять температуру источника освещения, когда число измерений падающих фотонов, записываемое калибровочным пикселом, увеличится. Когда записываемое число измерений падающих фотонов достигнет максимального значения и затем начнет уменьшаться при уменьшении температуры источника освещения, система может идентифицировать новую целевую рабочую температуру, соответствующую максимальному числу измерений падающих фотонов, записываемому калибровочным пикселом, во время падения температуры, и увеличить выход регулятора температуры для обеспечения этой новой целевой рабочей температуры.
[0034] Еще в одном примере, если число измерений падающих фотонов, записываемое калибровочным пикселом, падает за пределы порогового изменения на протяжении двух или более периодов выборки, но никакого существенного изменения температуры не детектируется в источнике освещения на протяжении этих периодов выборки, то система может увеличить выход тепла регулятора температуры для обеспечения одношагового увеличения температуры источника освещения. Если число измерений падающих фотонов, записываемое калибровочным пикселом, увеличится в ответ на увеличение температуры источника освещения, то система может: продолжить увеличивать выход регулятора температуры до тех пор, пока число измерений падающих фотонов не начнет падать, определить новую (более высокую) целевую рабочую температуру, соответствующую новому максимальному числу измерений падающих фотонов, записанному калибровочным пикселом во время этого линейного изменения температуры; и уменьшить выход регулятора температуры для обеспечения этой новой целевой рабочей температуры, как в вышеупомянутом примере. Однако если число измерений падающих фотонов, записываемое калибровочным пикселом, уменьшится в ответ на увеличение температуры источника освещения, то система может ступенчато уменьшить выход тепла регулятора температуры. Когда число измерений падающих фотонов увеличивается и затем начинает уменьшаться при уменьшении температуры источника освещения, система может: определить новую (меньшую) целевую рабочую температуру, соответствующую максимальному числу измерений падающих фотонов, записанному калибровочным пикселом во время этого падения температуры; и увеличить выход регулятора температуры для обеспечения этой новой целевой рабочей температуры, как в вышеупомянутом примере.
[0035] Таким образом, система может реализовать технологии замкнутой обратной связи для обеспечения выхода регулятора температуры, который сохраняет источник освещения при температуре, соответствующей центральной (или основной) выходной длине волны источника освещения, по существу согласующейся с эффективной рабочей длиной волны воспринимающей схемы, на основе числа фотонов (или частоты фотонов, интервала времени между последовательными фотонами, и т.д.), детектируемого единственным калибровочным пикселом.
[0036] В других реализациях, система может изменять выходную длину волны источника освещения посредством: активной настройки толщины внутреннего резонатора Фабри-Перо в лазере, например, посредством исполнительных механизмов MEMS или пьезоэлектрической пленки внутри резонатора; активной настройки длины внешнего резонатора поверхностно-излучающего лазера с вертикальным внешним резонатором (vertical external-cavity surface-emitting laser - VECSEL), например, с использованием исполнительных механизмов MEMS. Еще в других реализациях, система может изменять пропускаемую длину волны (например, центральную длину волны полосы пропускания) приемной схемы посредством: активной настройки центральной длины волны фильтра в приемной схеме посредством настройки по углу, например, посредством поворота фильтра с использованием шарнирного исполнительного механизма MEMS; и т.д. Конечно, в некоторых вариантах осуществления, система может изменять выходную длину волны источника освещения, как обсуждалось выше, дополнительно к изменению пропускаемой длины волны приемной схемы. В вышеупомянутых реализациях, система может реализовать способы и технологии с замкнутой обратной связью для активной и динамической настройки выходной длины волны источника освещения и/или приемной схемы, как описано здесь.
7. Обобщенная одномерная калибровочная схема
[0037] Один вариант системы показан на фиг. 3А и 3В в виде системы 300. В этом варианте осуществления, система 300 включает в себя набор (например, четыре) калибровочных схем на каждую оптическую схему освещения, таких как 330-0, 330-1, 330-2, 330-3. В этом варианте: калибровочные апертуры (например, 325-0, 325-1, и т.д.) в наборе калибровочных схем могут быть образованы в апертурном слое по существу в то же самое время и по существу с той же самой точностью позиционирования, что и воспринимающая апертура; калибровочные линзы в наборе калибровочных схем могут быть образованы в линзовом слое по существу в то же самое время и по существу с той же самой точностью позиционирования, что и воспринимающая линза; и калибровочные пикселы в наборе калибровочных схем могут быть встроены в пиксельный слой по существу в то же самое время и по существу с той же самой точностью позиционирования, что и воспринимающий пиксел, например, согласно способам и технологиям, описанным выше. Оптический фильтр может также определять сингулярную или унитарную структуру, которая охватывает набор калибровочных схем и воспринимающую схему, и апертурный слой, линзовый слой, оптический фильтр, и пиксельный слой - в том числе как калибровочная, так и воспринимающая схемы - могут быть собраны, как описано выше. Дополнительно, в этом варианте, оптический обводной канал может переправлять свет от источника освещения в каждую калибровочную апертуру в наборе калибровочных схем, как показано на фиг. 3А и 3В.
[0038] В этом варианте, калибровочные линзы могут быть расположены в линзовом слое таким образом, чтобы, когда апертурный слой собирается поверх линзового слоя, выбранные пары из калибровочной апертуры и калибровочной линзы были поперечно и/или продольно смещены. Поскольку конкретная калибровочная линза в наборе калибровочных схем, таким образом, преднамеренно смещена относительно спаренной с ней калибровочной апертуры в этой сборочной единице, конкретная калибровочная линза может пропускать свет - принимаемый от апертуры - по направлению к оптическому фильтру под соответствующим углом отклонения от оси. В одном примере номинальной сборочной единицы (т.е. сборочной единицы, в которой первая калибровочная апертура и первая калибровочная линза аксиально выровнены), включающей в себя четыре калибровочные схемы: первая калибровочная линза может быть аксиально выровнена с первой апертурой для выдачи света по направлению к оптическому фильтру под углом 0° от нормали к оптическому фильтру; вторая калибровочная линза может быть поперечно смещена относительно второй апертуры на первое расстояние для выдачи света по направлению к оптическому фильтру под углом 1° от нормали к оптическому фильтру; третья калибровочная линза может быть поперечно смещена относительно третьей апертуры на второе расстояние, большее, чем первое расстояние, для выдачи света по направлению к оптическому фильтру под углом 2° от нормали к оптическому фильтру; и четвертая калибровочная линза может быть поперечно смещена относительно четвертой апертуры на третье расстояние, большее, чем второе расстояние, для выдачи света по направлению к оптическому фильтру под углом 3° от нормали к оптическому фильтру, как показано на фиг. 2А и 2С.
[0039] В этом варианте, система может выполнить способ для калибровки оптического датчика расстояния, включающий в себя: этап вычисления первого числа измерений фотонов для фотонов, детектируемых первым калибровочным пикселом, аксиально выровненным с первой калибровочной линзой, аксиально выровненной с первой калибровочной апертурой; этап вычисления второго числа измерений фотонов для фотонов, детектируемых вторым калибровочным пикселом, аксиально смещенным относительно второй калибровочной линзы, аксиально смещенной относительно второй калибровочной апертуры на первое расстояние смещения; этап преобразования первого числа измерений фотонов и второго числа измерений фотонов в целевое изменение температуры на источнике освещения; и этап приведения в действие регулятора температуры, соединенного с источником освещения, согласно целевому изменению температуры.
[0040] В частности, во время работы, система может считывать числа измерений падающих фотонов (или интервалы времени между последовательными падающими фотонами, и т.д.) из каждого калибровочного пиксела, охарактеризовать различие между эффективной рабочей длиной волны калибровочной схемы и центральной (или основной) выходной длиной волны источника освещения в течение периода выборки на основе диаграммы распределения чисел измерений падающих фотонов, считанных из калибровочных пикселов, и затем сохранять, увеличивать или уменьшать выход регулятора температуры соответствующим образом, как показано на фиг. 2С. В одной реализации, если первая калибровочная схема записывает число измерений падающих фотонов, большее, чем числа измерений падающих фотонов, записанные другими калибровочными схемами в системе, то система может определить, что центральная выходная длина волны источника освещения либо согласуется с эффективной рабочей длиной волны первой калибровочной схемы, либо больше нее. Система может затем определить, что выходная длина волны источника освещения является слишком низкой, если число измерений падающих фотонов (или частота падающих фотонов, и т.д.), записанное первым калибровочным пикселом, является меньшим, чем данное пороговое значение, если число измерений падающих фотонов, записанное четвертым калибровочным пикселом, является меньшим, чем данное пороговое значение, или если различие или соотношение между числами измерений падающих фотонов, считанными первым и вторым калибровочными пикселами является меньшим, чем заданное пороговое значение, и т.д., и уменьшить выход тепла регулятора температуры соответствующим образом, посредством чего уменьшается выходная длина волны источника освещения. Однако в этой реализации, если вторая калибровочная схема записывает число измерений падающих фотонов, большее, чем числа измерений падающих фотонов, записанные другими калибровочными схемами в системе, включающей в себя первую калибровочную схему, то система может определить, что центральная выходная длина волны источника освещения является меньшей, чем эффективная рабочая длина волны первой калибровочной схемы, и увеличить выход тепла регулятора температуры соответствующим образом, посредством чего увеличивается выходная длина волны источника освещения. Дополнительно, в этой реализации, если третья калибровочная схема записывает число измерений падающих фотонов, большее, чем числа измерений падающих фотонов, записанные другими калибровочными схемами в системе, включающей в себя первую и вторую калибровочные схемы, то система может определить, что центральная выходная длина волны источника освещения снова является меньшей, чем эффективная рабочая длина волны первой калибровочной схемы, и увеличить выход тепла регулятора температуры со второй скоростью, большей, чем первая скорость, соответствующим образом, посредством чего выходная длина волны источника освещения увеличится быстрее. Таким образом, система может активно настраивать выход регулятора температуры по существу в реальном времени на основе чисел измерений падающих фотонов, записываемых калибровочными пикселами на всем протяжении работы.
[0041] Альтернативно, система может локально сохранять набор образцов чисел измерений фотонов (или справочных таблиц, и т.д.), причем каждый образец чисел измерений фотонов включает в себя абсолютные или относительные значения чисел измерений падающих фотонов для набора калибровочных схем при конкретном абсолютным или относительным различием между эффективной рабочей длиной волны воспринимающей схемы и центральной (или основной) выходной длиной волны источника освещения. Таким образом, система может реализовать технологии согласования образцов для согласования набора чисел измерений падающих фотонов, записываемых набором калибровочных пикселов в течение периода выборки, с конкретным образцом чисел измерений фотонов в наборе образцов чисел измерений фотонов и, затем, модифицирования выхода тепла источника освещения соответствующим образом, например, на основе цели по изменению выхода тепла, связанной с согласованным образцом чисел измерений фотонов. Однако система может реализовать любой другой способ или технологию для преобразования чисел измерений падающих фотонов, считываемых набором калибровочных схем в течение периода выборки, в новую цель по выходу тепла для источника освещения. Система может повторять этот процесс для каждого периода выборки (или каждого набора последовательных периодов выборки) на всем протяжении работы для сохранения выравнивания между центральной выходной длиной волны источника освещения и эффективной рабочей длиной волны воспринимающей схемы.
8. Компенсация дефектов в обобщенной калибровочной схеме
[0042] В другом примере системы, которая включает в себя четыре калибровочные схемы, реализующие разные углы выхода света на оптическом фильтре, линзовый слой может быть несогласованным с апертурным слоем вследствие дефектов изготовления или ограничений изготовления, таким образом: первая калибровочная линза смещена относительно первой апертуры на первое расстояние и, таким образом, выдает свет по направлению к оптическому фильтру под углом -1° от нормали к оптическому фильтру; вторая калибровочная линза по существу аксиально выровнена со второй апертурой и, таким образом, выдает свет по направлению к оптическому фильтру под углом 0° от нормали к оптическому фильтру; третья калибровочная линза поперечно смещена относительно третьей апертуры на первое расстояние и, таким образом, выдает свет по направлению к оптическому фильтру под углом 1° от нормали к оптическому фильтру; и четвертая калибровочная линза поперечно смещена относительно четвертой апертуры на второе расстояние, большее, чем первое расстояние, и, таким образом, выдает свет по направлению к оптическому фильтру под углом 2° от нормали к оптическому фильтру, как показано на фиг. 2D. В этом примере, система может реализовать способы и технологии, описанные выше, для настройки выхода тепла источника освещения по существу для максимизации числа измерений падающих фотонов (или частоты падающих фотонов, и т.д.), записываемого первым калибровочным пикселом в единицу времени. Как описано выше, если первая и третья калибровочные схемы записывают по существу подобные числа измерений падающих фотонов, которые также является большими, чем числа измерений падающих фотонов, записываемые второй и четвертой калибровочными схемами, то система может определить, что центральная выходная длина волны источника освещения либо согласуется с эффективной рабочей длиной волны первой калибровочной схемы, либо больше нее, как показано на фиг. 2D. Система может затем определить, что выходная длина волны источника освещения является слишком низкой, если число измерений падающих фотонов (или частота падающих фотонов, и т.д.), записываемое первым калибровочным пикселом, является меньшим, чем заданное пороговое значение, или если различие (соотношение) между числами измерений падающих фотонов, считанными первым и вторым калибровочными пикселами, является меньшим, чем заданное пороговое значение, и т.д., и уменьшить выход тепла регулятора температуры соответствующим образом, посредством чего уменьшается выходная длина волны источника освещения. Однако в этой реализации, если четвертая калибровочная схема записывает число измерений падающих фотонов, большее, чем числа измерений падающих фотонов, записываемые другими калибровочными схемами в системе, то система может определить, что центральная выходная длина волны источника освещения является меньшей, чем эффективная рабочая длина волны первой калибровочной схемы, и может увеличить выход тепла регулятора температуры соответствующим образом, как показано на фиг. 2D, посредством чего увеличивается выходная длина волны источника освещения. Альтернативно, система может реализовать технологии согласования образцов для согласования чисел измерений падающих фотонов, записываемых набором калибровочных пикселов в течение периода выборки, с образцом чисел измерений фотонов и модифицировать выход тепла регулятора температуры соответствующим образом, как описано выше.
[0043] В подобном примере, в котором линзовый слой не согласован с апертурным слоем: первая калибровочная линза смещена относительно первой апертуры на первое расстояние и, таким образом, выдает свет по направлению к оптическому фильтру под углом -0,5° от нормали к оптическому фильтру; вторая калибровочная линза смещена относительно второй апертуры на первое расстояние и, таким образом, выдает свет по направлению к оптическому фильтру под углом 0,5° от нормали к оптическому фильтру; третья калибровочная линза поперечно смещена относительно третьей апертуры на второе расстояние, большее, чем первое расстояние, и, таким образом, выдает свет по направлению к оптическому фильтру под углом 1,5° от нормали к оптическому фильтру; и четвертая калибровочная линза поперечно смещена относительно четвертой апертуры на третье расстояние, большее, чем второе расстояние, и, таким образом, выдает свет по направлению к оптическому фильтру под углом 2,5° от нормали к оптическому фильтру.
[0044] В другом примере, система выполняет исходную калибровку посредством: сканирования источника освещения по некоторому диапазону выходных длин волн (например, посредством изменения температуры источника освещения по всему рабочему диапазону); записи чисел измерений падающих фотонов в единицу времени по всему набору калибровочных пикселов в калибровочный образец для различных выходных длин волн источника освещения во время сканирования (или при каждой дискретной температуре источника освещения во время сканирования); записи чисел измерений падающих фотонов в единицу времени по всем воспринимающим пикселам для различных выходных длин волн источника освещения во время сканирования; идентифицирования конкретной длины волны (или температуры) источника освещения, обеспечивающей наибольшие числа измерений падающих фотонов в единицу времени по всем воспринимающим пикселам; и установления конкретного калибровочного образца - соответствующего конкретной длине волны источника освещения - на основании сканирования, в качестве целевого калибровочного образца. Затем, во время работы, система может изменять выходную длину волны источника освещения (например, посредством изменения температуры источника освещения) для согласования чисел измерений падающих фотонов в единицу времени по всему набору калибровочных пикселов с целевым калибровочным образцом.
[0045] Однако калибровочные апертуры и калибровочные линзы могут быть номинально смещены согласно любой другой схеме и могут быть смещены любым другим образом вследствие дефектов изготовления, ограничений изготовления, и т.д. Система может также реализовать любой другой способ или технологию для охарактеризования выравнивания между эффективной рабочей длиной волны калибровочной схемы - и, таким образом, воспринимающей схемы - и источником освещения, и модифицировать выход тепла регулятора температуры соответствующим образом.
9. Обобщенная двумерная калибровочная схема
[0046] В другой реализации, система включает в себя калибровочные схемы, расположенные вдоль множественных осей. Например, система может включать в себя: первую калибровочную схему, расположенную в исходном положении и выполненную с возможностью пропускания света по направлению к оптическому фильтру под углом 0°, в номинальной системной сборочной единице; вторую калибровочную схему, поперечно смещенную (например, смещенную вдоль оси Х) относительно первой калибровочной схемы и выполненную с возможностью пропускания света по направлению к оптическому фильтру под углом 1°, в номинальной системной сборочной единице; третью калибровочную схему, поперечно смещенную относительно второй калибровочной схемы и выполненную с возможностью пропускания света по направлению к оптическому фильтру под углом 2°, в номинальной системной сборочной единице; четвертую калибровочную схему, продольно смещенную (например, смещенную вдоль оси Y) относительно первой калибровочной схемы и выполненную с возможностью пропускания света по направлению к оптическому фильтру под углом 1°, в номинальной системной сборочной единице; и пятую калибровочную схему, продольно смещенную относительно третьей калибровочной схемы и выполненную с возможностью пропускания света по направлению к оптическому фильтру под углом 2°, в номинальной системной сборочной единице. Этот двумерный массив калибровочных схем может, таким образом, собирать данные о падающих фотонах, симптоматичные как для поперечного смещения, так и для продольного смещения линзового слоя относительно апертурного слоя, и система может модифицировать выход тепла регулятора температуры на основе абсолютных или относительных различий между числами измерений падающих фотонов, записываемыми на всех пяти калибровочных пикселах, например, согласно способам и технологиям, описанным выше, для выравнивания центральной выходной длины волны источника освещения с эффективной рабочей длиной волны воспринимающей схемы, посредством чего компенсируется как поперечное, так и продольное смещение линзового слоя относительно апертурного слоя.
10. Множественные источники освещения
[0047] В одном варианте, система дополнительно включает в себя множественные дискретные источники освещения. В этом варианте, каждый источник освещения спарен с: одной дискретной объемной пропускающей линзой; калибровочной схемой (или набором калибровочных схем), встроенной в апертурный слой, линзовый слой, оптический фильтр, и пиксельный слой; и оптическим обводным каналом, расположенным между источником освещения и калибровочной апертурой (апертурами) соответствующей калибровочной схемы (схем). Например, система может включать в себя: первую объемную пропускающую линзу и вторую объемную пропускающую линзу на противоположных продольных сторонах объемной принимающей линзы; первую оптическую систему освещения за первой объемной пропускающей линзой; и вторую оптическую систему освещения за второй объемной пропускающей линзой. В этом примере, каждый источник освещения и его соответствующая объемная пропускающая линза могут проецировать набор лучей освещения в поля зрения соответствующих воспринимающих схем в системе, посредством чего обеспечивается удвоение мощности освещения в каждом поле зрения воспринимающих схем по сравнению с системой с единственным подобным источником освещения.
[0048] Однако в этом варианте, различные источники освещения в системе могут демонстрировать различия в своих выходах во время работы, например, разные центральные выходные длины волн при конкретной рабочей температуре и/или разные изменения центральной выходной длины волны при каждом изменении рабочей температуры. Система может, таким образом, включать в себя дискретный оптический обводной канал и калибровочную схему (схемы) для каждого источника освещения. В частности, в вышеупомянутом примере, система может включать в себя первый оптический обводной канал, продолжающийся от первого источника освещения к первой калибровочной апертуре на первой продольной стороне апертурного слоя; второй оптический обводной канал, продолжающийся от второго источника освещения к второй калибровочной апертуре на второй продольной стороне апертурного слоя, противоположной первой стороне апертурного слоя; первый регулятор температуры, термически соединенный с первым источником освещения; и второй регулятор температуры, термически соединенный со вторым источником освещения и управляемый независимо от первого регулятора температуры. Таким образом, система может реализовать вышеупомянутые способы и технологии для согласования центральной выходной длины волны первого источника освещения с эффективной рабочей длиной волны его соответствующей калибровочной схемы, независимо от второго источника освещения; и наоборот.
[0049] Однако в этом варианте, система может включать в себя любое другое число и конфигурацию источников освещения, объемных пропускающих линз, оптических обводных каналов, регуляторов температуры, и калибровочных схем для освещения полей зрения, определяемых воспринимающими схемами, и для согласования выходной длины волны каждого источника освещения с эффективной рабочей длиной волны воспринимающих схем.
[0050] Системы и способы, описанные здесь, могут быть осуществлены и/или реализованы по меньшей мере частично в виде машины, выполненной с возможностью приема компьютерно-читаемого носителя данных, запоминающего компьютерно-читаемые команды. Эти команды могут быть выполнены компьютерно-исполняемыми компонентами, интегрированными с приложением, апплетом, хостом, сервером, сетью, веб-сайтом, службой связи, интерфейсом связи, аппаратными/ аппаратно-программными/ программными элементами пользовательского компьютера или мобильного устройства, браслета, смартфона, или любой их пригодной комбинацией. Другие системы и способы этого варианта осуществления могут быть осуществлены и/или реализованы по меньшей мере частично в виде машины, выполненной с возможностью приема компьютерно-читаемого носителя данных, запоминающего компьютерно-читаемые команды. Эти команды могут быть выполнены компьютерно-исполняемыми компонентами, интегрированными посредством компьютерно-исполняемых компонентов, интегрированных с устройствами и сетями, описанными выше. Компьютерно-читаемый носитель данных может храниться на любых пригодных компьютерно-читаемых носителях данных, таких как RAM, ROM, флэш-память, EEPROM, оптические устройства (CD или DVD), накопители на жестких дисках, гибкие диски, или на любом пригодном устройстве. Компьютерно-исполняемый компонент может быть процессором, но любое пригодное специальное аппаратное устройство может (альтернативно или дополнительно) выполнять эти команды.
[0051] Как будет понятно специалистам в данной области техники из предшествующего подробного описания и из фигур и из формулы изобретения, модификации и изменения могут быть реализованы для вариантов осуществления настоящего изобретения, не выходя за рамки объема настоящего изобретения, определяемого в нижеследующей формуле изобретения.
Группа изобретений относится к оптическим датчикам расстояния. Оптическая система для выполнения измерений расстояния содержит приемный модуль, содержащий объемную принимающую линзу, апертурный слой, включающий в себя множество воспринимающих апертур, линзовый слой, включающий в себя множество воспринимающих линз, и пиксельный слой, включающий в себя множество воспринимающих пикселов. Причем апертурный слой, линзовый слой и пиксельный слой выполнены с возможностью образования множества воспринимающих схем. Каждая воспринимающая схема в множестве воспринимающих схем определяет дискретное, неперекрывающееся поле зрения за пределами порогового расстояния в области, внешней по отношению к упомянутой оптической системе, и включает в себя воспринимающую апертуру из множества воспринимающих апертур, воспринимающую линзу из множества воспринимающих линз и воспринимающий пиксел из множества воспринимающих пикселов. Технический результат заключается в обеспечении возможности повышения отношения выходного сигнала к входному сигналу. 3 н. и 23 з.п. ф-лы, 4 ил.
1. Оптическая система для выполнения измерений расстояния, причем оптическая система содержит:
приемный модуль, содержащий объемную принимающую линзу, апертурный слой, включающий в себя множество воспринимающих апертур, линзовый слой, включающий в себя множество воспринимающих линз, и пиксельный слой, включающий в себя множество воспринимающих пикселов, причем апертурный слой, линзовый слой и пиксельный слой выполнены с возможностью образования множества воспринимающих схем, причем каждая воспринимающая схема в множестве воспринимающих схем определяет дискретное, неперекрывающееся поле зрения за пределами порогового расстояния в области, внешней по отношению к упомянутой оптической системе, и включает в себя воспринимающую апертуру из множества воспринимающих апертур, воспринимающую линзу из множества воспринимающих линз и воспринимающий пиксел из множества воспринимающих пикселов.
2. Оптическая система для выполнения измерений расстояния по п. 1, в которой каждый воспринимающий пиксел выполнен с возможностью выдачи сигнала или последовательности сигналов, соответствующих числу измерений фотонов, падающих на воспринимающий пиксел в течение единственного периода выборки, и причем система дополнительно содержит процессор и компьютерно-читаемый носитель данных, причем процессор выполнен с возможностью выполнения команд, хранимых на компьютерно-читаемом носителе данных, для преобразования чисел измерений падающих фотонов и информации о синхронизации фотонов с известными положениями полей зрения для каждого воспринимающего пиксела в виртуальное трехмерное изображение области, внешней по отношению к системе.
3. Оптическая система для выполнения измерений расстояния по п. 1, причем система выполнена с возможностью функционирования в качестве статического датчика изображения, который собирает двумерные и трехмерные данные о расстоянии пространства или объема в области, внешней по отношению к системе.
4. Оптическая система для выполнения измерений расстояния по п. 1, причем система выполнена с возможностью функционирования в качестве датчика изображения, который при повороте вокруг оси, параллельной столбцу воспринимающих апертур, собирает трехмерные данные о расстоянии объема, занимаемого системой.
5. Оптическая система для выполнения измерений расстояния по любому из пп. 1-4, в которой воспринимающий пиксел в каждой воспринимающей схеме содержит множество однофотонных лавинных диодных детекторов (SPAD).
6. Оптическая система для выполнения измерений расстояния по любому из пп. 1-5, причем оптическая система дополнительно содержит излучающий модуль, содержащий объемную пропускающую линзу и источник освещения, и причем источник освещения содержит множество излучателей, причем каждый излучатель в множестве излучателей выполнен с возможностью проецирования дискретного луча освещения на рабочей длине волны через объемную пропускающую линзу в область, внешнюю по отношению к оптической системе, и причем каждая воспринимающая схема дополнительно содержит оптический фильтр, расположенный между объемной принимающей линзой и воспринимающим пикселом, причем оптический фильтр выполнен с возможностью пропускания диапазона длин волн света, включающего в себя рабочую длину волны, и блокирования света за пределами этого диапазона.
7. Оптическая система для выполнения измерений расстояния по п. 6, в которой источник освещения содержит множество лазеров.
8. Оптическая система для выполнения измерений расстояния по п. 7, в которой множество лазеров изготовлено на единственном кристалле и демонстрирует по существу подобные характеристики выходных длин волн как функцию температуры.
9. Оптическая система для выполнения измерений расстояния по п. 7, в которой множество лазеров расположено в массиве, характеризующемся шаговым расстоянием излучателей, по существу идентичным шаговому расстоянию воспринимающих апертур.
10. Оптическая система для выполнения измерений расстояния по п. 6, в которой источник освещения содержит монолитный массив поверхностно-излучающих лазеров с вертикальным внешним резонатором (vertical external cavity surface emitting laser, VECSEL) в качестве оптических излучателей.
11. Оптическая система для выполнения измерений расстояния по любому из пп. 6-10, в которой объемная принимающая линза и объемная пропускающая линза расположены в одной плоскости и поперечно смещены относительно друг друга.
12. Оптическая система для выполнения измерений расстояния по п. 11, дополнительно содержащая датчик температуры, термически соединенный с источником освещения.
13. Оптическая система для выполнения измерений расстояния по любому из пп. 6-12, дополнительно содержащая регулятор, функционально соединенный с источником освещения и выполненный с возможностью модифицирования параметра источника освещения.
14. Оптическая система для выполнения измерений расстояния по п. 13, в которой регулятор содержит регулятор температуры, выполненный с возможностью модифицирования температуры источника освещения.
15. Оптическая система для выполнения измерений расстояния по п. 13, в которой
приемный модуль дополнительно содержит калибровочный канал, включающий в себя калибровочную апертуру из апертурного слоя, калибровочную линзу, выровненную с калибровочной апертурой, калибровочный пиксел, по существу выровненный с калибровочной линзой, и оптический фильтр;
источник освещения выполнен с возможностью проецирования первой части света в область перед оптической системой и проецирования второй части света на калибровочный пиксел в калибровочном канале; и
регулятор выполнен с возможностью модифицирования температуры множества излучателей на основе мощности света, детектируемой калибровочным пикселом в калибровочном канале.
16. Оптическая система для выполнения измерений расстояния, причем оптическая система содержит:
излучающий модуль, содержащий объемную пропускающую линзу и источник освещения, и причем источник освещения содержит множество лазеров, причем каждый лазер в упомянутом множестве лазеров выполнен с возможностью проецирования дискретного луча освещения на рабочей длине волны через объемную пропускающую линзу в область, внешнюю по отношению к упомянутой оптической системе; и
приемный модуль, содержащий объемную принимающую линзу, апертурный слой, включающий в себя множество воспринимающих апертур, линзовый слой, включающий в себя множество воспринимающих линз, пиксельный слой, включающий в себя множество воспринимающих пикселов, и слой оптического фильтра, расположенный между объемной принимающей линзой и множеством воспринимающих пикселов, причем слой оптического фильтра выполнен с возможностью пропускания диапазона длин волн света, включающего в себя рабочую длину волны, и блокирования света за пределами этого диапазона;
причем апертурный слой, линзовый слой, слой фильтра и пиксельный слой выполнены с возможностью образования множества воспринимающих схем, причем каждая воспринимающая схема в множестве воспринимающих схем определяет дискретное, неперекрывающееся поле зрения за пределами порогового расстояния в области, внешней по отношению к упомянутой оптической системе, и включает в себя воспринимающую апертуру из множества воспринимающих апертур, воспринимающую линзу из множества воспринимающих линз, оптический фильтр из слоя фильтра, и воспринимающий пиксел из множества воспринимающих пикселов.
17. Оптическая система для выполнения измерений расстояния по п. 16, дополнительно содержащая регулятор температуры, функционально соединенный с источником освещения и выполненный с возможностью модифицирования температуры источника освещения.
18. Оптическая система для выполнения измерений расстояния по п. 17, в которой:
приемный модуль дополнительно содержит калибровочный канал, включающий в себя калибровочную апертуру из апертурного слоя, калибровочную линзу, выровненную с калибровочной апертурой, калибровочный пиксел, по существу выровненный с калибровочной линзой, и оптический фильтр из слоя фильтра;
источник освещения выполнен с возможностью проецирования первой части света в область перед оптической системой и проецирования второй части света на калибровочный пиксел в калибровочном канале; и
регулятор температуры выполнен с возможностью модифицирования температуры множества лазеров на основе мощности света, детектируемой калибровочным пикселом в калибровочном канале.
19. Оптическая система для выполнения измерений расстояния по любому из пп. 16-18, в которой каждый воспринимающий пиксел выполнен с возможностью выдачи сигнала или последовательности сигналов, соответствующих числу измерений фотонов, падающих на воспринимающий пиксел в течение единственного периода выборки, и причем система дополнительно содержит процессор и компьютерно-читаемый носитель данных, причем процессор выполнен с возможностью выполнения команд, хранимых на компьютерно-читаемом носителе данных, для преобразования чисел измерений падающих фотонов и информации о синхронизации фотонов с известными положениями полей зрения для каждого воспринимающего пиксела в виртуальное трехмерное изображение области, внешней по отношению к системе.
20. Оптическая система для выполнения измерений расстояния по п. 19, в которой множество лазеров изготовлено на единственном кристалле и демонстрирует по существу подобные характеристики выходных длин волн как функцию температуры.
21. Оптическая система для выполнения измерений расстояния по любому из пп. 16-20, в которой воспринимающий пиксел в каждой воспринимающей схеме содержит множество однофотонных лавинных диодных детекторов (SPAD), и источник освещения содержит монолитный массив поверхностно-излучающих лазеров с вертикальным внешним резонатором (vertical external cavity surface emitting laser, VECSEL) в качестве оптических излучателей.
22. Оптическая система для выполнения измерений расстояния, причем оптическая система содержит:
приемный модуль, содержащий объемную принимающую линзу, апертурный слой, включающий в себя множество апертур, линзовый слой, включающий в себя множество линз, пиксельный слой, включающий в себя множество пикселов, и слой оптического фильтра, расположенный между объемной принимающей линзой и пиксельным слоем, причем приемный модуль дополнительно включает в себя множество воспринимающих схем и по меньшей мере один калибровочный канал, причем каждая воспринимающая схема в множестве воспринимающих схем определяет дискретное, неперекрывающееся поле зрения за пределами порогового расстояния в области, внешней по отношению к упомянутой оптической системе, и при этом каждая воспринимающая схема в множестве воспринимающих схем и упомянутый по меньшей мере один калибровочный канал включают в себя апертуру из множества апертур, линзу из множества линз, фильтр из слоя фильтра и пиксел из множества пикселов; и
излучающий модуль, содержащий объемную пропускающую линзу, и источник освещения, содержащий множество оптических излучателей, выполненных с возможностью выдачи света на рабочей длине волны как функции температуры, проецирования первой части света через объемную пропускающую линзу в область перед упомянутой оптической системой и проецирования второй части света на пиксел в упомянутом по меньшей мере одном калибровочном канале; и
регулятор, выполненный с возможностью модифицирования температуры множества оптических излучателей на основе мощности света, детектируемой пикселом в калибровочном канале.
23. Оптическая система для выполнения измерений расстояния по п. 22, в которой регулятор содержит регулятор температуры, выполненный с возможностью модифицирования температуры источника освещения на основе мощности света, детектируемой пикселом в упомянутом по меньшей мере одном калибровочном канале.
24. Оптическая система для выполнения измерений расстояния по п. 22, в которой регулятор модифицирует рабочий цикл источника освещения.
25. Оптическая система для выполнения измерений расстояния по п. 22, в которой, для каждой воспринимающей схемы в множестве воспринимающих схем, линза в воспринимающей схеме выровнена с апертурой в воспринимающей схеме, и пиксел в воспринимающей схеме по существу выровнен с линзой в воспринимающей схеме; и в которой каждая воспринимающая схема в множестве воспринимающих схем определяет дискретное, неперекрывающееся поле зрения за пределами порогового расстояния в области, внешней по отношению к оптической системе.
26. Оптическая система для выполнения измерений расстояния по любому из пп. 22-25, дополнительно содержащая оптический обводной канал, продолжающийся от источника освещения к пикселу в упомянутом по меньшей мере одном калибровочном канале.
| US 2015316473 A1, 05.11.2015 | |||
| US 2015260830 A1, 17.09.2015 | |||
| US 2013044187 A1, 21.02.2013 | |||
| US 2012141104 A1, 07.06.2012. |
Авторы
Даты
2021-02-03—Публикация
2017-01-30—Подача