Область техники, к которой относится изобретение
[0001] Настоящее изобретение относится к устройству формирования аэрозоля, к способу управления и к программе.
Уровень техники
[0002] Например, используется устройство формирования аэрозоля, выполненное с возможностью нагревать изделие для формирования аэрозоля посредством электрического нагревательного элемента, такого как электронагреватель, и формировать аэрозоли.
[0003] Устройство формирования аэрозоля включает в себя электрический нагревательный элемент и блок управления, выполненный с возможностью управлять самим электрическим нагревательным элементом или мощностью, которая подается в электрический нагревательный элемент. В устройство формирования аэрозоля монтируется, например, изделие для формирования аэрозоля, такое как карандаш или капсула, включающая в себя сигарету, имеющую форму листа или частиц. Изделие для формирования аэрозоля нагревается посредством электрического нагревательного элемента таким образом, что аэрозоли формируются.
[0004] В качестве способа нагрева изделия для формирования аэрозоля, предусмотрено, например, три следующих способа нагрева.
[0005] В первом способе нагрева, стержневидный электрический нагревательный элемент вставляется в изделие для формирования аэрозоля, и электрический нагревательный элемент, вставленный в изделие для формирования аэрозоля, нагревает изделие для формирования аэрозоля. Патент (Япония) № 6046231, 6125008 и 6062457 и т.п., например, раскрывают технологии управления для нагрева посредством первого способа нагрева.
[0006] Во втором способе нагрева, кольцевой электрический нагревательный элемент, соосный с изделием для формирования аэрозоля, размещается на внешней периферийной части изделия для формирования аэрозоля, и электрический нагревательный элемент нагревает изделие для формирования аэрозоля с внешней периферийной стороны изделия для формирования аэрозоля.
[0007] В третьем способе нагрева, металлический фрагмент (также называемый "сусцептором"), который вырабатывает тепло посредством вихревых токов, сформированных в нем посредством магнитного поля, проникающего через металлический фрагмент, вставляется заранее в изделие для формирования аэрозоля. После этого, изделие для формирования аэрозоля монтируется на устройстве формирования аэрозоля, имеющем катушку, переменному току разрешается протекать через катушку, чтобы формировать магнитное поле, и металлический фрагмент в изделии для формирования аэрозоля, смонтированном на устройстве формирования аэрозоля, нагревается с использованием явления индукционного нагрева (IH).
Сущность изобретения
Техническая задача
[0008] Например, предпочтительно, если период времени от начала нагрева до тех пор, пока пользователь не может вдыхать аэрозоли, является небольшим в устройстве формирования аэрозоля с точки зрения удобства устройства формирования аэрозоля. Кроме того, с точки зрения качества устройства формирования аэрозоля, желательно стабилизировать величину формирования аэрозолей после того, как пользователь может вдыхать аэрозоли до тех пор, пока нагрев не закончен, за счет этого стабилизируя аромат и вкус, которые предоставляются пользователю.
[0009] Настоящее изобретение осуществлено с учетом вышеизложенных ситуаций, и должен предоставлять устройство формирования аэрозоля, способ управления и программу, допускающую соответствующий нагрев изделия для формирования аэрозоля, чтобы за счет этого стабилизировать величину формирования аэрозоля.
Решение задачи
[0010] Устройство формирования аэрозоля первого примера включает в себя нагрузку и блок управления. Нагрузка выполнена с возможностью нагревать изделие для формирования аэрозоля, которое включает в себя формирующую аэрозоли подложку, выполненную с возможностью удерживать или переносить, по меньшей мере, одно из источника аэрозолей и источника аромата, посредством использования мощности, которая подается из источника питания. Блок управления выполнен с возможностью управлять мощностью, которая подается из источника питания в нагрузку, в нескольких фазах, в которых выполняются различные режимы управления.
[0011] Способ управления второго примера представляет собой способ управления мощностью, которая подается из источника питания в нагрузку, которая используется для того, чтобы нагревать изделие для формирования аэрозоля, включающее в себя формирующую аэрозоли подложку, выполненную с возможностью удерживать или переносить, по меньшей мере, одно из источника аэрозолей и источника аромата. Способ управления включает в себя начало подачи мощности из источника питания в нагрузку, и управление мощностью, которая подается из источника питания в нагрузку, в нескольких фазах, в которых выполняются различные режимы управления.
[0012] Устройство формирования аэрозоля третьего примера включает в себя нагрузку и блок управления. Нагрузка выполнена с возможностью нагревать изделие для формирования аэрозоля, которое включает в себя формирующую аэрозоли подложку, выполненную с возможностью удерживать или переносить, по меньшей мере, одно из источника аэрозолей и источника аромата, посредством использования мощности, которая подается из источника питания. Блок управления выполнен с возможностью управлять мощностью, которая подается из источника питания в нагрузку. Блок управления выполнен с возможностью выполнять управление с обратной связью в нескольких фазах, в которых целевые температуры отличаются. По меньшей мере, одно из усиления при управлении с обратной связью и верхнего предельного значения мощности, которая подается из источника питания в нагрузку, отличается в каждой из нескольких фаз.
[0013] Способ управления четвертого примера представляет собой способ управления мощностью, которая подается из источника питания в нагрузку, которая используется для того, чтобы нагревать изделие для формирования аэрозоля, включающее в себя формирующую аэрозоли подложку, выполненную с возможностью удерживать или переносить, по меньшей мере, одно из источника аэрозолей и источника аромата. Способ управления включает в себя начало подачи мощности из источника питания в нагрузку и выполнение управления с обратной связью для мощности, которая подается из источника питания в нагрузку. Управление с обратной связью выполняется в нескольких фазах, в которых целевые температуры отличаются. По меньшей мере, одно из усиления при управлении с обратной связью и верхнего предельного значения мощности отличается в каждой из нескольких фаз.
[0014] Устройство формирования аэрозоля пятого примера включает в себя нагрузку и блок управления. Нагрузка выполнена с возможностью нагревать изделие для формирования аэрозоля, которое включает в себя формирующую аэрозоли подложку, выполненную с возможностью удерживать или переносить, по меньшей мере, одно из источника аэрозолей и источника аромата, посредством использования мощности, которая подается из источника питания. Блок управления выполнен с возможностью управлять мощностью, которая подается из источника питания в нагрузку. Блок управления выполнен с возможностью управлять мощностью, которая подается из источника питания в нагрузку. Усиление при управлении с обратной связью отличается в каждой из нескольких фаз.
[0015] Способ управления шестого примера представляет собой способ управления мощностью, которая подается из источника питания в нагрузку, которая используется для того, чтобы нагревать изделие для формирования аэрозоля, включающее в себя формирующую аэрозоли подложку, выполненную с возможностью удерживать или переносить, по меньшей мере, одно из источника аэрозолей и источника аромата. Способ управления включает в себя начало подачи мощности из источника питания в нагрузку и выполнение управления с обратной связью для мощности, которая подается из источника питания в нагрузку. Управление с обратной связью выполняется в нескольких фазах. Усиление при управлении с обратной связью отличается в каждой из нескольких фаз.
Преимущества изобретения
[0016] Согласно вариантам осуществления настоящего изобретения, можно надлежащим образом нагревать изделие для формирования аэрозоля, за счет этого стабилизируя величину формирования аэрозоля.
Краткое описание чертежей
[0017] Фиг. 1 является блок-схемой, иллюстрирующей пример базовой конфигурации устройства формирования аэрозоля в соответствии с вариантом осуществления.
Фиг. 2 является графиком, иллюстрирующим пример изменений мощности, которая подается в нагрузку, посредством управления в соответствии с вариантом осуществления, и температуры нагрузки.
Фиг. 3 является блок-схемой управления, иллюстрирующей пример управления, которое выполняется посредством блока управления устройства формирования аэрозоля в соответствии с вариантом осуществления.
Фиг. 4 является блок-схемой управления, иллюстрирующей пример управления, которое выполняется посредством блока управления в соответствии с примером 1A.
Фиг. 5 является блок-схемой последовательности операций способа, иллюстрирующей пример обработки в фазе подготовки посредством блока управления в соответствии с примером 1A.
Фиг. 6 является графиком, иллюстрирующим пример состояния, в котором температура нагрузки является неравномерной между фазой подготовки и фазой использования.
Фиг. 7 является графиком, иллюстрирующим пример управления для скважности импульсов в первой подфазе.
Фиг. 8 является блок-схемой последовательности операций способа, иллюстрирующей пример обработки в фазе подготовки посредством блока управления в соответствии с примером 1B.
Фиг. 9 иллюстрирует пример взаимосвязи между током, который протекает из источника питания в нагрузку, и напряжением, которое прикладывается к нагрузке посредством источника питания.
Фиг. 10 является графиком, иллюстрирующим пример взаимосвязей полного зарядного напряжения, напряжения окончания разряда, тока, соответствующего полному зарядному напряжению, и тока, соответствующего напряжению окончания разряда в первой подфазе фазы подготовки.
Фиг. 11 является графиком, иллюстрирующим пример сравнения между изменением температуры нагрузки в фазе подготовки, когда напряжение источника питания представляет собой полное зарядное напряжение в начале первой подфазы, и изменением температуры нагрузки в фазе подготовки, когда напряжение источника питания имеет почти напряжение окончания разряда в начале первой подфазы, в случае если скважность импульсов является постоянной.
Фиг. 12 является графиком, примерно иллюстрирующим взаимосвязь между полным зарядным напряжением и напряжением окончания разряда, реализованным посредством PWM-управления, и взаимосвязь между током, соответствующим полному зарядному напряжению, и током, соответствующим напряжению окончания разряда.
Фиг. 13 является блок-схемой последовательности операций способа, иллюстрирующей пример обработки в фазе подготовки посредством блока управления в соответствии с примером 1C.
Фиг. 14 является графиком, иллюстрирующим пример управления, которое выполняется посредством блока управления в соответствии с примером 1D.
Фиг. 15 является блок-схемой управления, иллюстрирующей пример управления, которое выполняется посредством блока управления в соответствии с примером 1D.
Фиг. 16 является блок-схемой последовательности операций способа, иллюстрирующей пример обработки в фазе подготовки посредством блока управления в соответствии с примером 1D.
Фиг. 17 является блок-схемой последовательности операций способа, иллюстрирующей пример обработки в фазе подготовки посредством блока управления в соответствии с примером 1E.
Фиг. 18 является блок-схемой управления, иллюстрирующей пример управления, которое выполняется посредством блока управления в соответствии с примером 2A.
Фиг. 19 является блок-схемой последовательности операций способа, иллюстрирующей пример обработки в фазе использования посредством блока управления в соответствии с примером 2A.
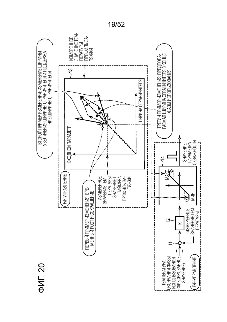
Фиг. 20 является блок-схемой управления, иллюстрирующей пример изменения ширины ограничителя в блоке изменения ограничителя в соответствии с примером 2B.
Фиг. 21 является блок-схемой последовательности операций способа, иллюстрирующей пример обработки в фазе использования посредством блока 8 управления в соответствии с примером 2B.
Фиг. 22 является графиком, иллюстрирующим пример изменения ширины ограничителя, которая используется в блоке ограничителя, и состояния увеличения температуры нагрузки.
Фиг. 23 является графиком, иллюстрирующим пример изменения ширины ограничителя в соответствии с примером 2C.
Фиг. 24 является блок-схемой управления, иллюстрирующей пример управления, которое выполняется посредством блока управления в соответствии с примером 2D.
Фиг. 25 является блок-схемой последовательности операций способа, иллюстрирующей пример обработки в фазе использования посредством блока управления в соответствии с примером 2D.
Фиг. 26 является блок-схемой последовательности операций способа, иллюстрирующей пример фазы использования посредством блока управления в соответствии с примером 2E.
Фиг. 27 является графиком, иллюстрирующим пример сравнения между температурой окончания фазы использования в соответствии со вторым вариантом осуществления и целевой температурой в соответствии с устройством формирования аэрозоля предшествующего уровня техники.
Фиг. 28 является графиком, иллюстрирующим пример сравнения разности между температурой окончания фазы использования и измеренным значением температуры в соответствии со вторым вариантом осуществления и разности между целевой температурой и измеренным значением температуры в соответствии с устройством формирования аэрозоля предшествующего уровня техники.
Фиг. 29 является таблицей, показывающей сравнение фазы подготовки и фазы использования, которые выполняются посредством блока управления в соответствии с третьим вариантом осуществления.
Фиг. 30 является блок-схемой управления, иллюстрирующей пример управления, которое выполняется посредством блока управления в соответствии с примером 4A.
Фиг. 31 является блок-схемой последовательности операций способа, иллюстрирующей пример обработки в фазе использования посредством блока управления в соответствии с примером 4A.
Фиг. 32 является графиком, иллюстрирующим пример состояния формирования перерегулирования температуры нагрузки 3.
Фиг. 33 является блок-схемой управления, иллюстрирующей пример управления, которое выполняется посредством блока управления в соответствии с примером 4B.
Фиг. 34 является блок-схемой последовательности операций способа, иллюстрирующей пример обработки в фазе использования посредством блока управления в соответствии с примером 4B.
Фиг. 35 является блок-схемой управления, иллюстрирующей пример управления, которое выполняется посредством блока управления в соответствии с примером 4C.
Фиг. 36 является блок-схемой последовательности операций способа, иллюстрирующей пример обработки в фазе использования посредством блока управления в соответствии с примером 4C.
Фиг. 37 является блок-схемой управления, иллюстрирующей пример управления, которое выполняется посредством блока управления в соответствии с примером 4D.
Фиг. 38 является блок-схемой последовательности операций способа, иллюстрирующей пример обработки в блоке обнаружения перерегулирования в соответствии с примером 4D.
Фиг. 39 является блок-схемой управления, иллюстрирующей пример управления, которое выполняется посредством блока управления в соответствии с примером 4E.
Фиг. 40 является блок-схемой последовательности операций способа, иллюстрирующей пример обработки в фазе подготовки посредством блока управления в соответствии с примером 4E.
Фиг. 41 является блок-схемой последовательности операций способа, иллюстрирующей пример обработки в фазе использования посредством блока управления в соответствии с примером 4E.
Фиг. 42 является блок-схемой управления, иллюстрирующей пример управления, которое выполняется посредством блока управления в соответствии с примером 5A.
Фиг. 43 является блок-схемой последовательности операций способа, иллюстрирующей пример обработки в фазе использования посредством блока управления в соответствии с примером 5A.
Фиг. 44 является графиком, иллюстрирующим пример изменений температуры нагрузки 3 и ширины ограничителя.
Фиг. 45 иллюстрирует пример блока изменения ограничителя в соответствии с примером 5B.
Фиг. 46 является блок-схемой последовательности операций способа, иллюстрирующей пример обработки в фазе использования посредством блока управления в соответствии с примером 5B.
Фиг. 47 является блок-схемой управления, иллюстрирующей пример управления, которое выполняется посредством блока управления в соответствии с примером 5C.
Фиг. 48 является блок-схемой последовательности операций способа, иллюстрирующей пример обработки в фазе использования посредством блока управления в соответствии с примером 5C.
Фиг. 49 является блок-схемой управления, иллюстрирующей пример управления, которое выполняется посредством блока управления в соответствии с примером 5D.
Фиг. 50 является блок-схемой последовательности операций способа, иллюстрирующей пример обработки в фазе использования посредством блока управления в соответствии с примером 5D.
Фиг. 51 является графиком, иллюстрирующим пример изменений температуры нагрузки и ширины ограничителя в соответствии с примером 5E.
Фиг. 52 является блок-схемой последовательности операций способа, иллюстрирующей пример обработки в фазе использования посредством блока управления в соответствии с примером 5E.
Подробное описание вариантов осуществления
[0018] В дальнейшем в этом документе, описывается настоящий вариант осуществления со ссылкой на чертежи. В нижеприведенных описаниях, функции и составляющие элементы, которые опускаются или являются практически идентичными, обозначаются с помощью идентичных ссылок с номерами и описываются только при необходимости.
[0019] Устройство формирования аэрозоля настоящего варианта осуществления описывается, например, посредством рассмотрения, в качестве примера, устройства формирования аэрозоля для изделия для формирования аэрозоля (для твердого нагрева). Тем не менее, устройство формирования аэрозоля настоящего варианта осуществления также может представлять собой, например, устройство формирования аэрозоля другого типа или варианта использования, такое как медицинский небулайзер (распыляющее устройство).
[0020] Устройство формирования аэрозоля настоящего варианта осуществления описывается посредством рассмотрения, в качестве примера, случая, в котором аэрозоли формируются с использованием первого способа нагрева для нагрева изделия для формирования аэрозоля изнутри посредством использования электрического нагревательного элемента, вставленного в изделие для формирования аэрозоля. Тем не менее, устройство формирования аэрозоля настоящего варианта осуществления также может использовать другой способ нагрева, к примеру, второй способ нагрева для нагрева изделия для формирования аэрозоля снаружи посредством использования кольцевого электрического нагревательного элемента, размещаемого на внешней периферийной части изделия для формирования аэрозоля, либо третий способ нагрева для нагрева изделия для формирования аэрозоля изнутри посредством использования явления индукционного нагрева.
[0021] Фиг. 1 является блок-схемой, иллюстрирующей пример базовой конфигурации устройства 1 формирования аэрозоля в соответствии с вариантом осуществления.
[0022] Устройство 1 формирования аэрозоля включает в себя монтажный блок 2, нагрузку 3, источник 4 питания, таймер 5, блок 6 измерения температуры, измерительный блок 7 источника питания и блок 8 управления.
[0023] Монтажный блок 2 выполнен с возможностью съемно поддерживать изделие 9 для формирования аэрозоля.
[0024] Изделие 9 для формирования аэрозоля включает в себя, например, формирующую аэрозоли подложку 9a, выполненную с возможностью удерживать или переносить, по меньшей мере, одно из источника аэрозолей и источника аромата. Изделие 9 для формирования аэрозоля может представлять собой, например, курительное изделие и может иметь, например, такую форму, как форма карандаша, которая является простой в использовании.
[0025] Источник аэрозолей может быть, например, жидким или твердым, в том числе представлять собой многоатомный спирт, такой как глицерин или пропиленгликоль. Кроме того, источник аэрозолей может дополнительно содержать компонент на основе никотина, например, в дополнение к многоатомному спирту.
[0026] Формирующая аэрозоли подложка 9a представляет собой, например, твердый материал, в который источник аэрозолей добавляется или переносится, и может представлять собой, например, сигаретный лист.
[0027] Формирующая аэрозоли подложка 9a может представлять собой, например, подложку, которая может испускать летучее соединение, допускающее формирование аэрозолей таким образом, что подложка функционирует в качестве источника аэрозолей или источника аромата. Летучее соединение испускается посредством нагрева формирующей аэрозоли подложки 9a. В настоящем варианте осуществления, формирующая аэрозоли подложка 9a составляет часть изделия 9 для формирования аэрозоля.
[0028] Нагрузка 3, например, представляет собой электрический нагревательный элемент и выполнена с возможностью вырабатывать тепло по мере того, как мощность подается из источника 4 питания, за счет этого нагревая изделие 9 для формирования аэрозоля, смонтированное на монтажном блоке 2.
[0029] Источник 4 питания представляет собой аккумулятор или аккумуляторный блок, в котором комбинируются аккумулятор, полевой эмиссионный транзистор (FET), FET для разряда, защитная IC (интегральная схема), устройство мониторинга и т.п., и выполнен с возможностью подавать мощность в нагрузку 3. Источник 4 питания представляет собой заряжаемую аккумуляторную батарею и может представлять собой, например, литий-ионную аккумуляторную батарею. Источник 4 питания может быть включен в устройство 1 формирования аэрозоля или может быть сконфигурирован отдельно от устройства 1 формирования аэрозоля.
[0030] Таймер 5 выполнен с возможностью выводить, в блок 8 управления, значение t таймера, указывающее время с момента, когда мощность подается в нагрузку 3 в нерабочем состоянии.
[0031] В данном документе, нерабочее состояние может представлять собой состояние, в котором источник 4 питания выключен, или состояние, в котором источник 4 питания включен, но не ожидает подачи мощности в нагрузку 3. Нерабочее состояние также может представлять собой состояние ожидания.
[0032] Между тем, значение таймера также может указывать время, подсчитанное от начала формирования аэрозоля, время от начала нагрева нагрузки 3 или время от начала управления посредством блока 8 управления устройства 1 формирования аэрозоля.
[0033] Блок 6 измерения температуры выполнен с возможностью, например, измерять температуру нагрузки 3 (температуру нагревателя) и выводить измеренное значение температуры в блок 8 управления. Между тем, нагреватель, имеющий такую характеристику положительного температурного коэффициента (PTC), что значение сопротивления изменяется в соответствии с температурой, может использоваться для нагрузки 3. В этом случае, блок 6 измерения температуры может быть выполнен с возможностью измерять значение электрического сопротивления нагрузки 3 и извлекать температуру нагрузки 3 (температуру нагревателя) из измеренного значения электрического сопротивления.
[0034] Измерительный блок 7 источника питания выполнен с возможностью измерять значение состояния источника питания, указывающее состояние источника 4 питания, к примеру, значение, связанное с оставшейся величиной источника 4 питания, значение напряжения, которое выводится посредством источника 4 питания, или ток, который разряжается из источника 4 питания, или ток, который заряжается в источнике 4 питания, и выводить значение состояния источника питания в блок 8 управления.
[0035] В данном документе, в качестве значения, связанного с оставшейся величиной источника 4 питания, может использоваться, например, выходное напряжение источника 4 питания. Альтернативно, может использоваться состояние заряда (SOC) источника 4 питания. SOC может оцениваться из напряжения или тока, измеряемого посредством датчика посредством использования способа на основе напряжения при разомкнутой схеме (SOC-OCV) или способа на основе интегрирования тока (способа на основе подсчета Кулона) для интегрирования зарядных и разрядных токов источника 4 питания.
[0036] Блок 8 управления выполнен с возможностью управлять мощностью, которая подается из источника 4 питания в нагрузку 3, например, на основе значения таймера, вводимого из таймера 5, и измеренного значения температуры, вводимого из блока 6 измерения температуры. Кроме того, блок 8 управления может быть выполнен с возможностью выполнять управление, например, посредством использования значения состояния источника питания, вводимого из измерительного блока 7 источника питания. Блок 8 управления включает в себя компьютер, контроллер или процессор и запоминающее устройство, и компьютер, контроллер или процессор могут быть выполнены с возможностью, например, выполнять программу, сохраненную в запоминающем устройстве, чтобы выполнять управление.
[0037] Фиг. 2 является графиком, иллюстрирующим пример изменений мощности, которая подается в нагрузку 3, посредством управления в соответствии с настоящим вариантом осуществления, и температуры нагрузки 3. На фиг. 2, горизонтальная ось указывает значение t таймера, т.е. время, и вертикальная ось указывает мощность, которая подается в нагрузку 3, и температуру нагрузки 3.
[0038] Блок 8 управления выполнен с возможностью главным образом переключать управление между фазой подготовки и фазой использования.
[0039] Например, в фазе подготовки, состояние, в котором нагрузка 3 не может формировать предварительно определенную величину или более аэрозолей из изделия 9 для формирования аэрозоля, упоминается как состояние подготовки. Состояние подготовки также может представлять собой, например, состояние после того, как нагрев нагрузки 3 начинается, в ответ на прием пользовательского ввода до тех пор, пока пользователю не разрешается вдыхать (затягиваться) аэрозоли с помощью устройства 1 формирования аэрозоля. Другими словами, в состоянии подготовки, предполагается, что пользователю не разрешается вдыхать аэрозоли с помощью устройства 1 формирования аэрозоля.
[0040] Предварительно определенная величина соответствует, например, величине формирования аэрозоля, при которой пользователю разрешается вдыхать аэрозоли.
[0041] Более конкретно, предварительно определенная величина может представлять собой, например, величину, при которой эффективная величина аэрозолей может доставляться в рот пользователя. При использовании в данном документе, эффективная величина может представлять собой величину, при которой пользователю может предоставляться аромат и вкус, исходящие из источника аэрозолей или источника аромата, включенного в изделие для формирования аэрозоля. Предварительно определенная величина также может представлять собой, например, величину аэрозолей, которые формируются посредством нагрузки 3 и могут доставляться в рот пользователя. Предварительно определенная величина также может представлять собой, например, величину аэрозолей, которые формируются, когда температура нагрузки 3 равна или выше точки кипения источника аэрозолей. Предварительно определенная величина также может представлять собой, например, величину аэрозолей, которые формируются из изделия 9 для формирования аэрозоля, когда мощность, подаваемая в нагрузку 3, равна или выше мощности, которая должна подаваться в нагрузку 3, с тем чтобы формировать аэрозоли из изделия 9 для формирования аэрозоля. В состоянии подготовки, нагрузка 3 может не формировать аэрозоли из изделия 9 для формирования аэрозоля, т.е. предварительно определенная величина может быть равна нулю.
[0042] При начале подачи мощности в нагрузку 3 в нерабочем состоянии, либо когда нагрузка 3 находится в состоянии подготовки, блок 8 управления может управлять мощностью, которая подается из источника 4 питания в нагрузку 3, посредством управления с прямой связью (F/F-управления).
[0043] Когда нагрузка 3 переключается из состояния подготовки в состояние использования, блок 8 управления может выполнять управление с обратной связью (F/B-управление) либо как управление с обратной связью, так и управление с прямой связью.
[0044] Например, в фазе использования, состояние, в котором нагрузка 3 может формировать предварительно определенную величину или более аэрозолей из изделия 9 для формирования аэрозоля, упоминается как состояние использования. Состояние использования также может представлять собой, например, состояние после того, как пользователю разрешается вдыхать аэрозоли до тех пор, пока формирование аэрозолей не закончено.
[0045] В дальнейшем подробно описывается управление, которое выполняется посредством блока 8 управления, в первом-пятом вариантах осуществления, которые описываются ниже.
[0046] Пунктирная линия L1 указывает состояние, в котором мощность, подаваемая в нагрузку 3, изменяется в соответствии со значением t таймера. Например, блок 8 управления может управлять мощностью, которая подается из источника 4 питания в нагрузку 3, посредством управления с широтно-импульсной модуляцией (PWM) или управления с частотно-импульсной модуляцией (PFM) для переключателя, не показанного на фиг. 1. Альтернативно, блок 8 управления может управлять мощностью, которая подается из источника 4 питания в нагрузку 3, посредством повышения или понижения выходного напряжения источника 4 питания посредством преобразователя постоянного тока в постоянный, не показанного на фиг. 1. В фазе подготовки, в которой нагрузка 3 находится в состоянии подготовки, высокий уровень мощности подается из источника 4 питания в нагрузку 3, и затем мощность, которая подается из источника 4 питания в нагрузку 3, понижается. Когда нагрузка 3 переключается из фазы подготовки в фазу использования, в которой нагрузка находится в состоянии использования, мощность, которая подается из источника 4 питания в нагрузку 3, пошагово увеличивается по мере того, как значение t таймера увеличивается. После этого, когда условие окончания состояния использования нагрузки 3 удовлетворяется, например, когда температура нагрузки 3 достигает температуры окончания фазы использования, либо когда значение t таймера составляет пороговое значение или большее, указывающее конец фазы использования, подача мощности в нагрузку 3 прекращается.
[0047] Сплошная линия L2 указывает состояние, в котором температура нагрузки 3 изменяется в соответствии со значением t таймера. В фазе подготовки, температура нагрузки 3 быстро увеличивается в то время, когда высокий уровень мощности подается из источника 4 питания в нагрузку 3. После того, как мощность, которая подается из источника 4 питания в нагрузку 3 в фазе подготовки, понижается, температура нагрузки 3 поддерживается или немного увеличивается. Когда выполняется переключение в фазу использования, мощность, которая подается из источника 4 питания в нагрузку 3, пошагово увеличивается во времени, и температура нагрузки 3 также постепенно увеличивается. Блок 8 управления выполняет управление с обратной связью на основе измеренного значения температуры, вводимого из блока 6 измерения температуры, таким образом, что температура нагрузки 3 должна представлять собой температуру окончания фазы использования в конце фазы использования.
[0048] Температура окончания фазы использования представляет собой температуру нагрузки 3, которая задается таким образом, чтобы в конечном счете сходиться или достигаться при управлении с обратной связью. Управление с обратной связью настоящего варианта осуществления управляет подачей мощности в нагрузку 3 таким образом, что отсутствует разность между температурой окончания фазы использования и измеренным значением температуры в конце фазы использования.
[0049] Фиг. 3 является блок-схемой управления, иллюстрирующей пример управления, которое выполняется посредством блока 8 управления устройства 1 формирования аэрозоля настоящего варианта осуществления.
[0050] Блок 8 управления включает в себя блок 10 подготовки, дифференциальный блок 11, блок 12 усиления, блок 13 изменения (регулирования) ограничителя, блок 14 ограничителя и блок 15 сравнения. Ниже подробно описываются составляющие элементы блока 8 управления, соответственно.
[0051] Управление, которое выполняется посредством блока 8 управления, имеет главным образом первый-пятый признаки. Мощность, которая подается из источника 4 питания в нагрузку 3, управляется посредством блока 8 управления, так что можно сокращать время фазы подготовки и стабилизировать величину формирования аэрозоля в фазе использования.
[0052] Блок 8 управления имеет первый признак выполнения управления с прямой связью в фазе подготовки.
[0053] Блок 8 управления имеет второй признак роста ширины ограничителя блока 14 ограничителя при управлении с обратной связью в фазе использования.
[0054] Блок 8 управления имеет третий признак использования различных режимов управления между фазой подготовки и фазой использования.
[0055] Блок 8 управления имеет четвертый признак подавления снижения температуры нагрузки 3 после переключения из фазы подготовки в фазу использования.
[0056] Блок 8 управления имеет пятый признак восстановления снижения температуры, когда пользователь вдыхает аэрозоли в фазе использования.
[0057] Устройство 1 формирования аэрозоля настоящего варианта осуществления выполнено с возможностью нагревать изделие 9 для формирования аэрозоля посредством нагрузки 3, например, за счет этого формируя аэрозоли из изделия 9 для формирования аэрозоля. Блок 8 управления выполнен с возможностью управлять подачей мощности в нагрузку 3 таким образом, что аэрозоли, сформированные во время нагрева нагрузки 3, не варьируются в значительной степени.
[0058] Чтобы реализовывать стабильное формирование аэрозолей в одном режиме управления или d одной управляющей фазе, необходимо изменять управляющие параметры, такие как целевая температура во времени, так что может быть затруднительным выполнять стабильное управление.
[0059] Напротив, блок 8 управления настоящего варианта осуществления разделяет и использует множество различных режимов управления, а именно, управление с прямой связью и управление с обратной связью для нагрева нагрузки 3, за счет этого обеспечивая стабильное формирование аэрозолей.
[0060] В дальнейшем подробно описываются первый-пятый признаки в первом-пятом вариантах осуществления, которые описываются ниже.
[0061] В настоящем варианте осуществления и в первом-пятом вариантах осуществления, в качестве примера, управление с прямой связью и управление с обратной связью могут быть сконфигурированы как различные режимы управления. Управление с прямой связью может представлять собой управление, при котором рабочая величина рабочей цели не определяется на основе величины управления цели управления. Другими словами, управление с прямой связью может представлять собой, например, управление, при котором величина управления цели управления не используется в качестве компонента обратной связи. В качестве другого примера, управление с прямой связью также может представлять собой управление, при котором величина управления цели управления определяется только на основе предварительно определенного алгоритма или переменной или на основе комбинации предварительно определенного алгоритма или переменной и любой физической величины, полученной перед выводом команды управления, связанной с рабочей величиной, в рабочую цель. Управление с обратной связью может представлять собой, например, управление, при котором рабочая величина рабочей цели определяется на основе величины управления цели управления. Другими словами, управление с обратной связью может представлять собой, например, управление, при котором величина управления цели управления используется в качестве компонента обратной связи. В качестве другого примера, управление с обратной связью также может представлять собой управление, при котором рабочая величина рабочей цели определяется на основе комбинации любой физической величины, полученной в ходе выполнения управления, в дополнение к предварительно определенному алгоритму или переменной.
[0062] В первом-третьем вариантах осуществления, термин "перегрев" означает состояние, в котором температура цели управления немного выше температуры, которая должна управляться (например, температуры окончания фазы использования или целевой температуры). Таким образом, следует отметить, что это не обязательно означает то, что цель управления находится в избыточно высокотемпературном состоянии.
[0063] Первый вариант осуществления
В первом варианте осуществления, описывается управление с прямой связью в фазе подготовки.
[0064] Блок 8 управления первого варианта осуществления управляет мощностью, которая подается из источника 4 питания в нагрузку 3, посредством управления с прямой связью при начале подачи мощности в нагрузку 3 в нерабочем состоянии, либо когда нагрузка 3 находится в состоянии подготовки, в котором нагрузка 3 не может формировать предварительно определенную величину или более аэрозолей из изделия для формирования аэрозоля. Таким образом, температура нагрузки 3 в состоянии подготовки увеличивается посредством управления с прямой связью, так что можно ускорять увеличение температуры нагрузки 3 до тех пор, пока нагрузка не находится в состоянии использования.
[0065] Блок 8 управления выполнен с возможностью выполнять управление с прямой связью таким образом, чтобы подавать нагрузку 3 с величиной мощности, необходимой для переключения нагрузки 3 из нерабочего состояния или состояния подготовки в состояние использования. Таким образом, температура нагрузки 3 увеличивается до состояния использования посредством управления с прямой связью, так что можно сокращать время, необходимое для нахождения нагрузки 3 в состоянии использования.
[0066] В данном документе, подробно описывается то, что блок 8 управления выполняет управление с прямой связью таким образом, чтобы сокращать время до тех пор, пока нагрузка 3 не находится в состоянии использования. Например, когда блок 8 управления выполняет управление с обратной связью, чтобы переключать нагрузку 3 в нерабочем состоянии или в состоянии подготовки в состояние использования, величина управления влияет на определение рабочей величины. Следовательно, время, необходимое для нахождения нагрузки 3 в состоянии использования, с большой вероятностью должно увеличиваться. В частности, в аспекте, в котором нагрузка 3 подвергается воздействию состояния использования с относительно ранней стадии фазы подготовки посредством управления с обратной связью, когда усиление (передаточная функция) является небольшим, темп увеличения температуры нагрузки 3 замедляется, а когда усиление является большим, нагрузка 3 с трудом сходится к состоянию использования. Кроме того, в аспекте, в котором целевая температура нагрузки 3 постепенно увеличивается во времени посредством управления с обратной связью в фазе подготовки, когда измеренное значение температуры нагрузки 3 обращает в противоположную сторону целевую температуру, может возникать застой в увеличении температуры. Напротив, когда блок 8 управления выполняет управление с прямой связью в фазе подготовки, проблема, которая возникает, когда управление с обратной связью используется в фазе подготовки, как описано выше, не возникает. Следовательно, можно сокращать время до тех пор, пока нагрузка 3 не находится в состоянии использования. По этой причине, относительно управления, которое выполняется посредством блока 8 управления таким образом, чтобы переключать нагрузку 3 в нерабочем состоянии или в состоянии подготовки в состояние использования, можно сказать, что управление с прямой связью является более предпочтительным, чем управление с обратной связью.
[0067] Блок 8 управления может быть выполнен с возможностью выполнять управление с прямой связью таким образом, чтобы подавлять мощность, которая подается из источника 4 питания в нагрузку 3, после подачи требуемой величины мощности в нагрузку 3. В этом случае, чтобы подавлять мощность, например, мощность, которая подается в нагрузку 3, с тем чтобы поддерживать температуру нагрузки 3, может подавляться. Таким образом, после подачи требуемой величины мощности в нагрузку 3, мощность, которая подается из источника 4 питания в нагрузку 3, подавляется, так что можно предотвращать перегрев устройства 1 формирования аэрозоля и изделия 9 для формирования аэрозоля. Между тем, если устройство 1 формирования аэрозоля переходит в перегретое состояние, сроки службы источника 4 питания, блока 8 управления, нагрузки 3, схемы для электрического соединения источника 4 питания и нагрузки 3 и т.п. устройства 1 формирования аэрозоля могут уменьшаться. Кроме того, если изделие 9 для формирования аэрозоля переходит в перегретое состояние, аромат и вкус аэрозолей, сформированных посредством изделия 9 для формирования аэрозоля, может нарушаться.
[0068] Блок 8 управления может быть выполнен с возможностью управлять мощностью, которая подается из источника 4 питания в нагрузку 3, посредством управления с обратной связью после подачи требуемой величины мощности в нагрузку 3. Таким образом, управление с обратной связью выполняется после того, как необходимая величина мощности подается в нагрузку 3, так что можно повышать точность управления после того, как необходимая величина мощности подается в нагрузку 3, посредством управления с обратной связью, стабильность управления которого является превосходной, за счет этого стабилизируя формирование аэрозолей.
[0069] Управление с прямой связью, которое выполняется посредством блока 8 управления, разделяется на первую подфазу и вторую подфазу, и значения переменных, которые используются при управлении с прямой связью в первой подфазе и второй подфазе, может задаваться отличающимися. В этом случае, различные значения переменных могут включать в себя различные управляющие переменные, различные постоянные и различные пороговые значения. Таким образом, управление с прямой связью разделяется на первую подфазу и вторую подфазу, и различные значения переменных используются, так что можно повышать точность управления, по сравнению со случаем, в котором используется одна управляющая фаза. Между тем, функции или алгоритмы, которые используются при управлении с прямой связью в первой подфазе и второй подфазе, могут задаваться отличающимися. Ниже подробно описываются первая подфаза и вторая подфаза со ссылкой на фиг. 4-8.
[0070] Предполагается, что первая подфаза выполняется, например, раньше второй подфазы.
[0071] Мощность (Вт) или величина мощности (Вт*ч), которая подается в нагрузку 3 в первой подфазе, может задаваться превышающей мощность (Вт) или величину мощности (Вт*ч), которая подается в нагрузку 3 во второй подфазе. В силу этого, поскольку темп увеличения температуры нагрузки 3 является пологим, или увеличение температуры нагрузки 3 прекращается во второй подфазе, можно стабилизировать температуру нагрузки 3 после того, как управление с прямой связью закончено.
[0072] Период времени первой подфазы может задаваться большим периода времени второй подфазы. Таким образом, время первой подфазы, в которой состояние (температура) нагрузки 3 доминирующе изменяется, задается большим, чем для второй подфазы, так что можно в результате сокращать общий период времени управления с прямой связью. Другими словами, устройство 1 формирования аэрозоля может более быстро формировать аэрозоли, имеющие требуемый аромат и вкус, из изделия 9 для формирования аэрозоля.
[0073] Блок 8 управления может быть выполнен с возможностью выполнять управление с прямой связью таким образом, что нагрузка 3 находится в состоянии использования в конце второй подфазы. В силу этого, можно стабильно обеспечивать возможность температуре нагрузки 3 достигать температуры, которая требуется в состоянии использования, посредством использования управления с прямой связью до тех пор, пока вторая подфаза не закончена. Кроме того, поскольку величина мощности, которая разряжается посредством источника 4 питания, уменьшается, по сравнению со случаем, в котором нагрузка 3 находится в состоянии использования до того, как вторая подфаза закончена, можно подавлять ухудшение характеристик в источнике 4 питания, в дополнение к улучшению удельного потребления мощности источника 4 питания.
[0074] Блок 8 управления может быть выполнен с возможностью выполнять управление с прямой связью таким образом, чтобы подавать мощность или величину мощности, которая требуется с тем, чтобы переводить нагрузку 3 в состояние использования, в котором могут формироваться аэрозоли, и поддерживать состояние использования нагрузки 3 во второй подфазе. Таким образом, мощность или величина мощности, которая требуется с тем, чтобы поддерживать состояние использования во второй подфазе, подается в нагрузку 3, так что можно не допускать подачи или чрезвычайно низкой мощности или чрезвычайно небольшой величины мощности во второй подфазе. Следовательно, можно подавлять ситуации, когда нагрузка 3 не находится в состоянии использования, устройство 1 формирования аэрозоля не может формировать аэрозоли, имеющие требуемый аромат и вкус, из изделия 9 для формирования аэрозоля в фазе использования, и удельное потребление мощности источника 4 питания понижается.
[0075] Блок 8 управления может быть выполнен с возможностью выполнять управление с прямой связью таким образом, что нагрузка 3 находится в состоянии использования до того, как первая подфаза изменяется на вторую подфазу. В силу этого, можно переводить нагрузку 3 в состояние использования на ранней стадии во время первой подфазы и поддерживать состояние использования посредством регулирования температуры нагрузки 3 во второй подфазе, что повышает стабильность управления.
[0076] Блок 8 управления может быть выполнен с возможностью выполнять управление с прямой связью таким образом, чтобы подавать мощность или величину мощности, которая требуется с тем, чтобы поддерживать состояние использования, в нагрузку 3, которая находится в состоянии использования во второй подфазе. В силу этого, можно подавлять ситуацию, когда чрезвычайно низкая мощность или чрезвычайно небольшая величина мощности подается во второй подфазе, и нагрузка 3 в силу этого не переходит в состояние использования. Как результат, можно стабилизировать нагрузку 3 в состоянии использования. Кроме того, можно подавлять варьирование температуры нагрузки 3 в конце второй подфазы.
[0077] Вторая подфаза может задаваться, например, короче первой подфазы и равной или большей единицы времени управления, которое реализуется (может реализовываться) посредством блока 8 управления. В силу этого, вторая подфаза выполняется в течение надлежащего периода времени, так что можно стабилизировать температуру нагрузки 3.
[0078] Блок 8 управления может быть выполнен с возможностью изменять значения переменных, которые используются при управлении с прямой связью, на основе начального состояния, которое представляет собой состояние в течение или перед выполнением управления с прямой связью нагрузки 3. В этом случае, начальное состояние включает в себя, например, начальную температуру и т.п. Изменение значений переменных включает в себя изменение управляющей переменной, изменение постоянной и изменение порогового значения. Таким образом, значения переменных, которые используются при управлении с обратной связью, изменяются на основе начального состояния, так что можно подавлять варьирование температуры нагрузки 3 в ходе выполнения и/или в конце управления с прямой связью, которое может вызываться вследствие внешних факторов, таких как ошибка продукта, начальное условие, температура атмосферного воздуха и т.п.
[0079] Блок 8 управления может быть выполнен с возможностью изменять значения переменных таким образом, чтобы подавать мощность или величину мощности, которая требуется для переключения нагрузки 3 в начальном состоянии в состояние использования, в нагрузку 3. В силу этого, можно подавлять варьирование температуры нагрузки 3 в состоянии использования в конце управления с обратной связью, которое может вызываться вследствие внешних факторов, таких как ошибка продукта, начальное условие, температура атмосферного воздуха и т.п.
[0080] Блок 8 управления может быть выполнен с возможностью получать значение, связанное с оставшейся величиной источника 4 питания, и изменять значения переменных, которые используются при управлении с прямой связью, на основе значения, связанного с оставшейся величиной в течение или перед выполнением управления с прямой связью. В силу этого, можно подавлять варьирование температуры нагрузки 3, которое может вызываться вследствие разности оставшейся величины источника 4 питания.
[0081] Блок 8 управления может быть выполнен с возможностью увеличивать, по меньшей мере, одно из скважности импульсов, напряжения и времени включения мощности, которая подается из источника 4 питания в нагрузку 3, по мере того, как значение, связанное с оставшейся величиной, становится меньше. Например, в случае если преобразователь постоянного тока в постоянный используется, пульсовая волна может не прикладываться к нагрузке 3 вследствие действия сглаживания сглаживающего конденсатора, предоставленного на выходной стороне преобразователя постоянного тока в постоянный. Следовательно, блок 8 управления может управлять временем (временем включения), в течение которого мощность подается в нагрузку 3, на основе значения, связанного с оставшейся величиной. В силу этого, можно подавлять варьирование температуры нагрузки 3, которое вызывается вследствие разности оставшейся величины источника 4 питания.
[0082] Блок 8 управления может быть выполнен с возможностью изменять значения переменных таким образом, что первая величина мощности, которая подается из источника 4 питания в нагрузку 3 на основе значения, связанного с первой оставшейся величиной, полученной из источника 4 питания, является практически идентичной второй величине мощности, которая подается из источника 4 питания в нагрузку 3 на основе значения, связанного со второй оставшейся величиной, полученной из источника 4 питания, и отличающегося от значения, связанного с первой оставшейся величиной. В силу этого, например, PWM-управление может выполняться таким образом, что постоянная мощность подается в нагрузку 3, независимо от оставшейся величины источника 4 питания. Как результат, можно подавлять варьирование температуры нагрузки 3, которое вызывается вследствие разности оставшейся величины источника 4 питания.
[0083] Блок 8 управления может быть выполнен с возможностью получать значение, связанное с оставшейся величиной источника 4 питания, и изменять значения переменных, которые используются при управлении с прямой связью, на основе состояния нагрузки 3 в течение или перед выполнением управления с прямой связью, и значения, связанного с оставшейся величиной. В силу этого, можно подавлять варьирование температуры нагрузки 3 в ходе выполнения и/или в конце управления с прямой связью, которое может вызываться вследствие внешних факторов, таких как ошибка продукта, начальное условие, температура атмосферного воздуха и т.п., в дополнение к разности оставшейся величины источника 4 питания.
[0084] Блок 8 управления может быть выполнен с возможностью снижать, по меньшей мере, одно из скважности импульсов, напряжения и времени включения мощности, которая подается из источника 4 питания в нагрузку 3, по мере того, как нагрузка 3 находятся ближе к состоянию использования, в котором нагрузка может формировать аэрозоли, и снижать, по меньшей мере, одно из скважности импульсов, напряжения и времени включения мощности по мере того, как значение, связанное с оставшейся величиной, становится больше, на основе состояния нагрузки 3. В этом случае, например, по меньшей мере, одно из скважности импульсов, напряжения и времени включения мощности, полученное из состояния нагрузки 3, такого как начальная температура, может корректироваться с оставшейся величиной источника 4 питания, так что можно подавлять варьирование температуры нагрузки 3 в ходе выполнения и/или в конце управления с прямой связью, которое может вызываться вследствие оставшейся величины источника 4 питания, в дополнение к внешним факторам, таким как ошибка продукта, начальное условие, температура атмосферного воздуха и т.п.
[0085] Блок 8 управления может быть выполнен с возможностью изменять скважность импульсов, напряжение и время включения таким образом, что первая величина мощности, которая подается из источника 4 питания в нагрузку 3 на основе значения, связанного с первой оставшейся величиной, полученной из источника 4 питания, является практически идентичной второй величине мощности, которая подается из источника 4 питания в нагрузку 3 на основе значения, связанного со второй оставшейся величиной, полученной из источника 4 питания и отличающегося от значения, связанного с первой оставшейся величиной. В этом случае, первая величина мощности и вторая величина мощности могут задаваться отличающимися в зависимости от состояния нагрузки 3. В силу этого, например, PWM-управление может выполняться таким образом, что идентичная мощность с точки зрения первой оставшейся величины и второй оставшейся величины подается в нагрузку 3. Как результат, можно подавлять варьирование температуры нагрузки 3 в ходе выполнения и/или в конце управления с прямой связью, которое может вызываться вследствие оставшейся величины источника 4 питания, в дополнение к внешним факторам, таким как ошибка продукта, начальное условие, температура атмосферного воздуха и т.п.
[0086] Блок 8 управления может быть выполнен с возможностью изменять значения переменных, которые используются при управлении с прямой связью, на основе значения сопротивления нагрузки 3 или состояния ухудшения характеристик в нагрузке 3 в течение или перед выполнением управления с прямой связью. В этом случае, блок 8 управления может быть выполнен с возможностью получать состояние ухудшения характеристик, например, на основе числа использований или кумулятивного значения времен использования нагрузки 3. В силу этого, даже когда характеристики нагрузки 3 ухудшаются, и в силу этого значение электрического сопротивления при комнатных температурах и т.п. изменяется по мере того, как число использований устройства 1 формирования аэрозоля увеличивается, температура нагрузки 3 может стабилизироваться. Кроме того, даже когда нагрузка 3, имеющая характеристику положительного температурного коэффициента (PTC-характеристика), используется, и характеристики нагрузки 3 ухудшаются, и ее характеристика изменяется, температура нагрузки 3 может стабилизироваться.
[0087] Разнообразные виды управления посредством блока 8 управления также могут реализовываться, когда блок 8 управления выполняет программу.
[0088] Относительно первого варианта осуществления, конкретные примеры управления дополнительно описываются в нижеприведенных вариантах 1A-1E осуществления.
[0089] Пример 1A
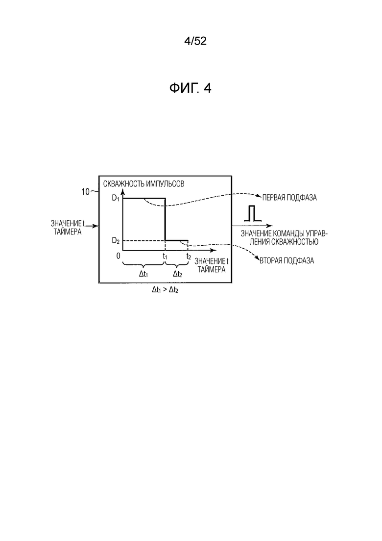
Фиг. 4 является блок-схемой управления, иллюстрирующей пример управления, которое выполняется посредством блока 8 управления в соответствии с примером 1A.
[0090] Блок 10 подготовки блока 8 управления получает значение t таймера, которое выводится посредством таймера 5, и получает значение команды управления скважностью, соответствующее значению t таймера, в фазе подготовки. Блок 8 управления переключает переключатель 25, предоставленный в схеме для электрического соединения нагрузки 3 и источника 4 питания, как показано на фиг. 9, согласно полученному значению команды управления скважностью, за счет этого управляя мощностью, которая подается в нагрузку 3, на основе значения команды управления скважностью.
[0091] В примере 1A, состояние нагрева для нагрузки 3 переключается на основе значения команды управления скважностью, более конкретно, на основе скважности импульсов, указываемой посредством значения команды управления скважностью. Тем не менее, при управлении преобразователем постоянного тока в постоянный, предоставленным в схеме для электрического соединения нагрузки 3 и источника 4 питания, вместо переключателя 25, состояние нагрева для нагрузки 3 может переключаться на основе тока, который подается в нагрузку 3, напряжения, которое прикладывается к нагрузке 3, либо их значений команд управления, например, и значение для инструктирования состояния нагрева для нагрузки 3 может изменяться надлежащим образом.
[0092] Фаза подготовки дополнительно включает в себя первую подфазу и вторую подфазу. Первая подфаза и вторая подфаза также могут отличаться посредством значения команды управления скважностью, более конкретно, скважности импульсов, указываемой посредством значения команды управления скважностью. Кроме того, первая подфаза и вторая подфаза могут отличаться посредством тока, который подается в нагрузку 3, напряжения, которое прикладывается к нагрузке 3, или их значений команд управления.
[0093] Период Δt1 времени первой подфазы представляет собой период времени от начала подачи мощности в нагрузку 3 в нерабочем состоянии во время t1.
[0094] Период Δt2 времени второй подфазы представляет собой период времени от времени t1 до конечного времени t2 фазы подготовки.
[0095] Период Δt1 времени первой подфазы превышает период Δt2 времени второй подфазы.
[0096] Скважность D1 импульсов в первой подфазе превышает скважность D2 импульсов во второй подфазе. В примере 1A, мощность, которая подается из источника 4 питания в нагрузку 3, задается большей по мере того, как скважность импульсов увеличивается. Следовательно, мощность, которая подается из источника 4 питания в нагрузку 3 в первой подфазе, превышает мощность, которая подается из источника 4 питания в нагрузку 3 во второй подфазе.
[0097] В первой подфазе, блок 8 управления управляет мощностью, которая подается в нагрузку 3, на основе значения команды управления скважностью, указывающего большую скважность импульсов до тех пор, пока температура нагрузки 3 (изделия 9 для формирования аэрозоля) не достигает температуры формирования аэрозоля. В силу этого, можно формировать аэрозоли из изделия 9 для формирования аэрозоля на ранней стадии от начала подачи мощности (подачи мощности) из источника 4 питания в нагрузку 3.
[0098] Во второй подфазе, блок 8 управления управляет мощностью, которая подается в нагрузку 3, на основе значения команды управления скважностью, указывающего скважность импульсов, меньшую скважности импульсов первой подфазы, с тем чтобы подавлять варьирование температуры нагрузки 3 до тех пор, пока нагрузка не переключается в фазу использования, и поддерживать температуру нагрузки 3 (изделия 9 для формирования аэрозоля) равной температуре формирования аэрозоля или выше. Даже когда температура в конце первой подфазы немного варьируется, блок 8 управления подавляет и поглощает варьирование посредством управления во второй подфазе. В силу этого, аромат и вкус аэрозолей, которые формируются из изделия 9 для формирования аэрозоля в фазе использования, становятся стабильными.
[0099] Таким образом, в фазе подготовки, высокий уровень мощности подается в нагрузку 3, чтобы быстро увеличивать температуру нагрузки 3 посредством первой подфазы, и низкий уровень мощности для удержания тепла подается в нагрузку 3 посредством второй подфазы, так что можно стабилизировать величину формирования аэрозоля и его аромат и вкус в фазе использования после фазы подготовки.
[0100] Фиг. 5 является блок-схемой последовательности операций способа, иллюстрирующей пример обработки в фазе подготовки посредством блока 8 управления в соответствии с примером 1A.
[0101] На этапе S501, блок 10 подготовки определяет то, имеется или нет запрос на формирование аэрозолей. Когда определяется то, что отсутствует запрос на формирование аэрозолей ("Нет" на этапе S501), блок 10 подготовки повторяет этап S501. В качестве первого примера, блок 10 подготовки на этапе S501 может определять то, имеется или нет запрос на формирование аэрозолей, на основе того, выполняется или нет ввод для начала нагрева нагрузки 3 от пользователя. Более конкретно, когда ввод для начала нагрева нагрузки 3 выполняется от пользователя, блок 10 подготовки может определять то, что имеется запрос на формирование аэрозолей. С другой стороны, когда ввод для начала нагрева нагрузки 3 не выполняется от пользователя, блок 10 подготовки может определять то, что отсутствует запрос на формирование аэрозолей. В качестве второго примера, устройство 1 формирования аэрозоля имеет датчик для обнаружения вдыхания пользователя, который не показан на фиг. 1, и может использовать вдыхание пользователя, обнаруженное посредством датчика, в качестве ввода для начала нагрева нагрузки 3. В качестве третьего примера, устройство 1 формирования аэрозоля имеет, по меньшей мере, одно из кнопки, переключателя, сенсорной панели и пользовательского интерфейса, которые не показаны на фиг. 1, и может использовать операцию на них, в качестве ввода для начала нагрева нагрузки 3.
[0102] Когда определяется то, что имеется запрос на формирование аэрозолей, блок 10 подготовки активирует таймер 5, на этапе S502.
[0103] На этапе S503, ввод значения t таймера из таймера 5 в блок 10 подготовки начинается.
[0104] На этапе S504, блок 10 подготовки переключает переключатель 25, предоставленный в схеме для электрического соединения нагрузки 3 и источника 4 питания, который показывается на фиг. 9, на основе значения команды управления скважностью, указывающего скважность D1 импульсов в первой подфазе, за счет этого управляя мощностью, которая подается в нагрузку 3.
[0105] На этапе S505, блок 10 подготовки определяет то, составляет или нет значение t таймера конечное время t1 или более относительно первой подфазы. Когда определяется то, что значение t таймера не составляет конечное время t1 или более относительно первой подфазы (результат определения на этапе S505 представляет собой "Нет"), блок 10 подготовки повторяет этап S505.
[0106] Когда определяется то, что значение t таймера составляет конечное время t1 или более относительно первой подфазы (результат определения на этапе S505 представляет собой "Да"), блок 10 подготовки управляет мощностью, которая подается в нагрузку 3, на основе значения команды управления скважностью, указывающего скважность D2 импульсов во второй подфазе, на этапе S506.
[0107] На этапе S507, блок 10 подготовки определяет то, составляет или нет значение t таймера конечное время t2 или более относительно второй подфазы. Когда определяется то, что значение t таймера не составляет конечное время t2 или более относительно второй подфазы (результат определения на этапе S507 представляет собой "Нет"), блок 10 подготовки повторяет этап S507. Когда определяется то, что значение t таймера составляет конечное время t2 или более относительно второй подфазы (результат определения на этапе S507 представляет собой "Да"), блок 10 подготовки завершает фазу подготовки и переключается в фазу использования.
[0108] В примере 1A, как описано выше, блок 8 управления управляет нагревом нагрузки 3 посредством использования управления с прямой связью в фазе подготовки. Следовательно, после того, как возникает запрос на формирование аэрозолей, и подача мощности из источника 4 питания в нагрузку 3 начинается, можно увеличивать темп увеличения температуры нагрузки 3.
[0109] В примере 1A, в фазе подготовки, управление с прямой связью увеличивает температуру нагрузки 3 до температуры, при которой аэрозоли могут вдыхаться. Следовательно, можно сокращать время после того, как формирование аэрозолей запрашивается, до тех пор, пока пользователь не может вдыхать аэрозоли.
[0110] В примере 1A, поскольку мощность, которая подается в нагрузку 3 в первой подфазе фазы подготовки, в какой-то момент увеличивается, и затем мощность, которая подается в нагрузку 3 во второй подфазе фазы подготовки, понижается, можно подавлять перегрев нагрузки 3.
[0111] Блок 8 управления управляет нагревом нагрузки 3 посредством использования управления с прямой связью в фазе подготовки, так что можно увеличивать темп увеличения температуры нагрузки 3 после того, как возникает запрос на формирование аэрозолей, и подача мощности из источника 4 питания в нагрузку 3 начинается, можно сокращать время после того, как формирование аэрозолей запрашивается, до тех пор, пока пользователь не может вдыхать аэрозоли, и можно подавлять перегрев нагрузки 3. В данном документе, подробно описываются причины. Например, если блок 8 управления управляет нагревом нагрузки 3 посредством использования управления с обратной связью в фазе подготовки, величина управления влияет на решение относительно рабочей величины, так что темп увеличения температуры нагрузки 3 с большой вероятностью должен быть медленным. Кроме того, вследствие аналогичной причины, время после того, как формирование аэрозолей запрашивается, до тех пор, пока пользователь не может вдыхать аэрозоли, с большой вероятностью должно увеличиваться. В частности, в аспекте, в котором нагрузка 3 нагревается до температуры, при которой аэрозоли могут формироваться из относительно ранней стадии фазы подготовки, когда усиление является небольшим, темп увеличения температуры нагрузки 3 является медленным, и когда усиление является большим, температура нагрузки 3 с трудом сходится к температуре, при которой могут формироваться аэрозоли, так что нагрузка 3 с большой вероятностью должна перегреваться. Кроме того, в аспекте, в котором целевая температура нагрузки 3 постепенно увеличивается во времени, может возникать застой в увеличении температуры, когда измеренное значение температуры нагрузки 3 обращает в противоположную сторону целевую температуру. Тем не менее, когда блок 8 управления управляет нагревом нагрузки 3 посредством использования управления с прямой связью в фазе подготовки, проблемы не возникают. Следовательно, можно увеличивать темп увеличения температуры нагрузки 3 после того, как возникает запрос на формирование аэрозолей, и подача мощности из источника 4 питания в нагрузку 3 начинается. Кроме того, можно сокращать время после того, как формирование аэрозолей запрашивается, до тех пор, пока пользователь не может вдыхать аэрозоли. Помимо этого, можно подавлять перегрев нагрузки 3 и сокращать время до тех пор, пока нагрузка 3 не находится в состоянии использования. Следовательно, можно сказать, что управление с прямой связью является более предпочтительным, чем управление с обратной связью, в качестве управления, которое используется для нагрева нагрузки 3 в фазе подготовки.
[0112] Пример 1B
В примере 1B, описывается управление изменением мощности, которая подается в нагрузку 3 в первой подфазе, на основе измеренного значения температуры, указывающего температуру нагрузки 3.
[0113] Фиг. 6 является графиком, иллюстрирующим пример состояния, в котором температура нагрузки является неравномерной между фазой подготовки и фазой использования. Фиг. 6 является графиком, иллюстрирующим пример взаимосвязи между значением t таймера и температурой нагрузки 3 и взаимосвязи между значением t таймера и мощностью, которая подается из источника 4 питания в нагрузку 3. Горизонтальная ось указывает значение t таймера. Вертикальная ось указывает температуру нагрузки 3 или скважность импульсов мощности, которая подается в нагрузку 3.
[0114] Даже если фаза подготовки закончена, температура нагрузки 3 может быстро варьироваться относительно температуры окончания фазы подготовки, когда нагрузка переключается из фазы подготовки в фазу использования, либо сразу после переключения в фазу использования.
[0115] Когда температура окончания фазы подготовки не является стабильной при или около температуры формирования аэрозоля, температура нагрузки 3 показывает резкое варьирование таким образом, что температура нагрузки 3 может не достигать температуры формирования аэрозоля, по меньшей мере, на ранней стадии фазы использования.
[0116] В качестве факторов, которые вызывают варьирование температуры нагрузки 3, когда фаза подготовки закончена, например, могут предполагаться три следующих фактора.
[0117] Первый фактор представляет собой переключение начального состояния нагрузки 3, например, переключение температуры нагрузки 3 в то время, когда начинается увеличение температуры нагрузки 3.
[0118] Второй фактор представляет собой переключение выходного напряжения источника 4 питания, которое может вызываться вследствие уменьшения оставшейся величины или ухудшения характеристик источника 4 питания.
[0119] Третий фактор представляет собой ошибку продукта для изделия 9 для формирования аэрозоля или устройства 1 формирования аэрозоля.
[0120] Первый и второй факторы могут, по меньшей мере, ослабляться посредством выполнения после управления в первой подфазе.
[0121] Третий фактор может, по меньшей мере, ослабляться посредством управления удержанием тепла во второй подфазе.
[0122] Фиг. 7 является графиком, иллюстрирующим пример управления для скважности D1 импульсов в первой подфазе. Фиг. 7 иллюстрирует взаимосвязь между значением t таймера и температурой нагрузки 3 и взаимосвязь между значением t таймера и скважностью импульсов. Горизонтальная ось указывает значение t таймера. Вертикальная ось указывает температуру нагрузки 3 или скважность импульсов мощности, которая подается в нагрузку 3.
[0123] Если скважность D1 импульсов в первой подфазе задается постоянной, и скважность D2 импульсов во второй подфазе задается постоянной, когда температура нагрузки 3 является низкой или высокой в начале первой подфазы, температура нагрузки 3 также является низкой или высокой в конце второй подфазы, и температура нагрузки 3 варьируется в конце фазы подготовки.
[0124] Напротив, блок 8 управления в соответствии с примером 1B изменяет скважность D1 импульсов в первой подфазе, на основе измеренного значения температуры в начале первой подфазы, за счет этого подавляя варьирование температуры нагрузки 3 в конце фазы подготовки, на основе переключения температуры нагрузки 3 в начале первой подфазы.
[0125] Более конкретно, когда измеренное значение температуры в начале первой подфазы является небольшим, блок 8 управления увеличивает скважность D1 импульсов в первой подфазе. Напротив, когда измеренное значение температуры в начале первой подфазы является большим, блок 8 управления снижает скважность D1 импульсов в первой подфазе.
[0126] Фиг. 8 является блок-схемой последовательности операций способа, иллюстрирующей пример обработки в фазе подготовки посредством блока 8 управления в соответствии с примером 1B.
[0127] Обработка от этапа S801 до этапа S803 является идентичной обработке от этапа S501 до этапа S503 на фиг. 5.
[0128] На этапе S804, измеренное значение Tstart температуры в начале первой подфазы вводится, в качестве начального состояния, из блока 6 измерения температуры в блок 10 подготовки.
[0129] На этапе S805, блок 10 подготовки получает скважность D1(Tstart) импульсов в первой подфазе, на основе измеренного значения Tstart температуры, и переключает переключатель 25, предоставленный в схеме для электрического соединения нагрузки 3 и источника 4 питания, как показано на фиг. 9, на основе значения команды управления скважностью, указывающего скважность D1(Tstart) импульсов в первой подфазе, за счет этого управляя мощностью, которая подается в нагрузку 3.
[0130] Обработка от этапа S806 до этапа S808 является идентичной обработке от этапа S505 до этапа S507 на фиг. 5.
[0131] В примере 1B, как описано выше, можно подавлять варьирование температуры нагрузки 3 в конце фазы подготовки, на основе переключения температуры нагрузки 3 в начале первой подфазы, так что можно стабилизировать величину формирования аэрозоля и его аромат и вкус в фазе использования после фазы подготовки.
[0132] В примере 1B, блок 8 управления изменяет значение команды управления скважностью в первой подфазе, на основе измеренного значения Tstart температуры в начале первой подфазы. Тем не менее, блок 8 управления может изменять значение команды управления скважностью во второй подфазе на основе измеренного значения Tstart температуры или может изменять как значение команды управления скважностью в первой подфазе, так и значение команды управления скважностью во второй подфазе, на основе измеренного значения Tstart температуры.
[0133] Пример 1C
В примере 1C, описывается управление изменением входной мощности первой подфазы на основе SOC источника 4 питания в качестве примера значения, связанного с оставшейся величиной источника 4 питания, или PWM-управление для задания напряжения, приложенного к нагрузке 3, постоянным, даже когда SOC источника 4 питания изменяется.
[0134] Фиг. 9 иллюстрирует пример взаимосвязи между током, который протекает из источника 4 питания в нагрузку 3, и напряжением, которое прикладывается к нагрузке 3 посредством источника 4 питания. Амперметр 23 выводит ток, который вытекает из источника 4 питания в нагрузку 3, и вольтметр 24 выводит напряжение V, которое прикладывается из источника 4 питания к нагрузке 3. Кроме того, блок 8 управления (не показан на фиг. 9) получает значение, выводимое из амперметра 23, и значение, выводимое из вольтметра 24. Между тем, в качестве амперметра 23 и вольтметра 24, могут использоваться амперметр и вольтметр, каждый из которых имеет шунтирующий резистор, имеющий встроенное известное значение сопротивления, либо может использоваться элемент Холла. Между тем, преимущественно использовать амперметр и вольтметр, в которых шунтирующий резистор встраивается, с точки зрения веса или объема, и использовать элемент Холла, с точки зрения точности измерений или меньшего влияния на цель измерений. Кроме того, амперметр 23 или вольтметр 24 может выводить измеренное значение в качестве цифрового значения или аналогового значения. Когда амперметр 23 или вольтметр 24 выводит аналоговое значение, блок 8 управления может преобразовывать аналоговое значение в цифровое значение посредством аналого-цифрового преобразователя.
[0135] Кроме того, источник 4 питания и нагрузка 3 электрически соединяются посредством схемы таким образом, что когда блок 8 управления открывает/закрывает (переключает) переключатель 25, предоставленный в схеме, подача мощности из источника 4 питания в нагрузку 3 управляется. В качестве примера, переключатель 25 может состоять, по меньшей мере, из одного из переключателя, контактора и транзистора. Между тем, схема также может иметь преобразователь постоянного тока в постоянный вместо переключателя 25 или в дополнение к переключателю 25. В этом случае, блок 8 управления управляет преобразователем постоянного тока в постоянный, за счет этого управляя подачей мощности из источника 4 питания в нагрузку 3.
[0136] На фиг. 9, вольтметр 24 предоставляется ближе к нагрузке 3, чем переключатель 25. Тем не менее, для того, чтобы использовать SOC-OCV-способ таким образом, чтобы получать SOC источника 4 питания, другой вольтметр может предоставляться ближе к источнику 4 питания, чем переключатель 25. Другой вольтметр обеспечивает вывод напряжения на открытом конце (OCV) источника 4 питания.
[0137] Фиг. 10 является графиком, иллюстрирующим пример взаимосвязи между выходным напряжением и выходным током, соответствующим оставшейся величине источника 4 питания в первой подфазе фазы подготовки. На фиг. 10, горизонтальная ось указывает значение t таймера, и следует отметить, что вторая подфаза после времени t1 опускается. Вертикальная ось указывает напряжение или ток, который выводится из источника 4 питания. Кроме того, на фиг. 10, пунктирная линия указывает напряжение и ток, когда оставшаяся величина источника 4 питания составляет 100%. Сплошная линия указывает напряжение и ток, когда выводится напряжение окончания разряда или напряжение, близкое к напряжению окончания разряда, поскольку оставшаяся величина источника 4 питания составляет точно или почти 0%. На фиг. 10, Vfull-charged и VE.O.D указывают полное зарядное напряжение и напряжение окончания разряда источника 4 питания, соответственно.
[0138] На фиг. 10, предполагается, что скважность D1 импульсов в первой подфазе составляет 100%.
[0139] Для упрощения, когда предполагается, что электрическое сопротивление схемы для электрического соединения нагрузки 3 и источника 4 питания является пренебрежимо мало небольшим, и схема не является целью, в которую источник 4 питания подает мощность одновременно с нагрузкой 3, выходной ток, соответствующий оставшейся величине источника 4 питания, получается посредством деления выходного напряжения источника 4 питания на значение R сопротивления нагрузки 3.
[0140] Ток Ifull-charged, который выводится, когда выходное напряжение источника 4 питания представляет собой полное зарядное напряжение, получается посредством "полное зарядное напряжение/сопротивление нагрузки 3 (Vfull-charged/R)", когда используется упрощенная модель, как описано выше.
[0141] Ток IE.O.D, который выводится, когда выходное напряжение источника 4 питания представляет собой напряжение окончания разряда, получается посредством "напряжение окончание разряда/сопротивление нагрузки 3 (VE.O.D/R)", когда используется упрощенная модель, как описано выше.
[0142] В первой подфазе фазы подготовки, ток Vfull-charged/R, который выводится, когда выходное напряжение источника 4 питания представляет собой полное зарядное напряжение Vfull-charged, превышает ток VE.O.D/R, который выводится, когда выходное напряжение источника 4 питания представляет собой напряжение VE.O.D окончания разряда.
[0143] Фиг. 11 является графиком, иллюстрирующим пример сравнения между изменением температуры нагрузки 3 в фазе подготовки, когда напряжение источника 4 питания представляет собой полное зарядное напряжение в начале первой подфазы, и изменением температуры нагрузки 4 в фазе подготовки, когда напряжение источника 4 питания имеет почти напряжение окончания разряда в начале первой подфазы, в случае если скважность импульсов является постоянной. На фиг. 11, горизонтальная ось указывает значение t таймера. Вертикальная ось указывает температуру или скважность импульсов мощности, которая подается в нагрузку 3. Как описано выше, ток, который подается из источника 4 питания в нагрузку 3, и напряжение, которое прикладывается, когда источник 4 питания имеет почти напряжение окончания разряда, меньше, по сравнению со случаем, в котором источник 4 питания имеет полное зарядное напряжение. Следовательно, изменение температуры нагрузки 3 в фазе подготовки, когда источник 4 питания имеет полное зарядное напряжение, превышает изменение температуры нагрузки 3 в фазе подготовки, когда источник 4 питания имеет почти напряжение окончания разряда.
[0144] Между тем, когда источник 4 питания имеет полное зарядное напряжение, мощность, которая подается из источника 4 питания в нагрузку 3 в первой подфазе, выражается посредством следующего уравнения.
[0145] W=(Vfull-charged*D)2/R
С другой стороны, когда источник 4 питания имеет почти напряжение окончания разряда, мощность, которая подается из источника 4 питания в нагрузку 3 в первой подфазе, выражается посредством следующего уравнения.
[0146] W=(VE.O.D*D)2/R
В обоих уравнениях, D указывает скважность импульсов мощности, которая подается в нагрузку 3.
[0147] Разность между обоими уравнения получается. Разность между мощностью, которая подается из источника 4 питания в нагрузку 3 в первой подфазе, когда источник 4 питания имеет полное зарядное напряжение, и мощностью, которая подается из источника 4 питания в нагрузку 3 в первой подфазе, когда источник 4 питания имеет почти напряжение окончания разряда, выражается посредством следующего уравнения.
[0148] ΔW={(Vfull-charged*D)2-(VE.O.D*D)2}/R
Например, когда полное зарядное напряжение Vfull-charged составляет 4,2 В, напряжение VE.O.D окончания разряда составляет 3,2 В, значение R электрического сопротивления нагрузки 3 составляет 1,0 Ом, и скважность D импульсов составляет 100%, разность ΔW мощности составляет 7,4 Вт.
[0149] По этой причине, даже когда разнообразные условия, такие как условие (например, контактная область и т.п.), связанное с теплопередачей между нагрузкой 3 и изделием 9 для формирования аэрозоля, начальная температура нагрузки 3, теплоемкость изделия 9 для формирования аэрозоля и т.п. являются идентичными, температура нагрузки 3 в конце фазы подготовки изменяется согласно оставшейся величине источника 4 питания.
[0150] Следовательно, в примере 1C, блок 8 управления изменяет входную мощность первой подфазы, т.е. скважность импульсов, на основе выходного напряжения источника 4 питания, за счет этого подавляя варьирование температуры нагрузки 3 в конце фазы подготовки.
[0151] Кроме того, в примере 1C, блок 8 управления может выполнять PWM-управление для задания напряжения, которое должно прикладываться к нагрузке 3, постоянным, с тем чтобы исключать влияние выходного напряжения источника 4 питания. При PWM-управлении, импульсная форма сигнала напряжения изменяется таким образом, что область формы сигнала действующего напряжения является идентичной. В данном документе, действующее напряжение может получаться из "прикладываемое напряжение * скважность импульсов". В другом примере, действующее напряжение может получаться из среднеквадратического значения (RMS).
[0152] Фиг. 12 является графиком, примерно иллюстрирующим взаимосвязь между выходным напряжением и выходным током источника 4 питания, когда PWM-управление выполняется согласно оставшейся величине источника 4 питания. На фиг. 12, горизонтальная ось указывает значение t таймера, и следует отметить, что вторая подфаза после времени t1 опускается. Вертикальная ось указывает напряжение или ток, который выводится из источника 4 питания.
[0153] В фазе подготовки, блок 8 управления выполняет управление таким образом, что область импульсной формы сигнала напряжения, соответствующей полному зарядному напряжению Vfull-charged, является идентичной области формы сигнала напряжения, соответствующей напряжению VE.O.D окончания разряда.
[0154] Уравнение (1) указывает взаимосвязь между скважностью Dfull-charged импульсов, соответствующей полному зарядному напряжению Vfull-charged, полным зарядным напряжением Vfull-charged, напряжением VE.O.D окончания разряда и скважностью DE.O.D импульсов, соответствующей напряжению VE.O.D окончания разряда.
уравнение 1
[0155] В уравнении (1), когда скважность DE.O.D импульсов, соответствующая напряжению VE.O.D окончания разряда, задается равной 100%, скважность Dfull-charged импульсов, соответствующая полному зарядному напряжению Vfull-charged, составляет 76%.
[0156] Таким образом, блок 8 управления может подавлять варьирование температуры нагрузки 3 в конце фазы подготовки посредством управления скважностью импульсов на основе выходного напряжения источника 4 питания в первой подфазе, включенной в фазу подготовки.
[0157] Фиг. 13 является блок-схемой последовательности операций способа, иллюстрирующей пример обработки в фазе подготовки посредством блока 8 управления в соответствии с примером 1C.
[0158] Обработка от этапа S1301 до этапа S1303 является идентичной обработке от этапа S501 до этапа S503 на фиг. 5.
[0159] На этапе S1304, измерительный блок 7 источника питания измеряет выходное напряжение VBatt (напряжение аккумулятора) источника 4 питания.
[0160] На этапе S1305, блок 10 подготовки получает скважность импульсов D1=(VE.O.D*DE.O.D)/VBatt.
[0161] На этапе S1306, блок 10 подготовки переключает переключатель 25, предоставленный в схеме для электрического соединения нагрузки 3 и источника 4 питания, как показано на фиг. 9, на основе значения команды управления скважностью, указывающего скважность D1 импульсов, за счет этого управляя мощностью, которая подается в нагрузку 3.
[0162] Обработка от этапа S1307 до этапа S1309 является идентичной обработке от этапа S505 до этапа S507 на фиг. 5.
[0163] В примере 1C, как описано выше, скважность D1 импульсов в первой подфазе, включенной в фазу подготовки, изменяется согласно выходному напряжению источника 4 питания, которое представляет собой пример значения, связанного с оставшейся величиной источника 4 питания, так что варьирование температуры нагрузки в конце фазы подготовки может подавляться. Следовательно, можно стабилизировать величину формирования аэрозоля и аромат и вкус в фазе использования после фазы подготовки.
[0164] В примере 1C, описывается аспект, в котором выходное напряжение источника 4 питания используется в качестве примера значения, связанного с оставшейся величиной источника 4 питания. Вместо этого, скважность D1 импульсов в первой подфазе, включенной в фазу подготовки, может изменяться согласно SOC источника 4 питания, в качестве другого примера значения, связанного с оставшейся величиной источника 4 питания.
[0165] В случае если SOC используется в качестве значения, связанного с оставшейся величиной источника 4 питания, SOC задается как 100%, когда напряжение источника 4 питания представляет собой полное зарядное напряжение, как известно. С другой стороны, SOC задается как 0%, когда напряжение источника 4 питания представляет собой напряжение окончания разряда. Кроме того, SOC непрерывно изменяется от 100% до 0% согласно оставшейся величине источника 4 питания. Когда литий-ионная аккумуляторная батарея используется в качестве источника 4 питания, полное зарядное напряжение и напряжение окончания разряда составляют, например, 4,2 В и 3,2 В, соответственно. Тем не менее, полное зарядное напряжение и напряжение окончания разряда источника 4 питания не ограничены этим. Как описано выше, блок 8 управления может получать SOC источника 4 питания посредством SOC-OCV-способа, способа на основе интегрирования тока (способа на основе подсчета Кулона) и т.п.
[0166] Пример 1D
Чтобы управлять температурой нагрузки 3 в конце фазы подготовки с большей точностью, управление предпочтительно выполняется на основе множества начальных условий, например, обоих значений, связанных с температурой нагрузки 3 и оставшейся величиной источника 4 питания.
[0167] В примере 1D, управление с прямой связью для получения скважности DE.O.D(THTR) импульсов, соответствующей напряжению VE.O.D окончания разряда, на основе измеренного значения THTR температуры, для получения скважности D1 импульсов в первой подфазе, на основе напряжения VE.O.D окончания разряда, скважности DE.O.D(THTR) импульсов и напряжения VBatt аккумулятора и для переключения переключателя 25, предоставленного в схеме для электрического соединения нагрузки 3 и источника 4 питания, как показано на фиг. 9, посредством использования скважности D1 импульсов выполняется.
[0168] Фиг. 14 является графиком, иллюстрирующим пример управления, которое выполняется посредством блока 8 управления в соответствии с примером 1D. На фиг. 14, горизонтальная ось указывает значение t таймера. Вертикальная ось указывает температуру или скважность импульсов мощности, которая подается в нагрузку 3.
[0169] Левый график по фиг. 14 графически иллюстрирует взаимосвязь между скважностью импульсов и изменением температуры нагрузки 3. На левом графике по фиг. 14, изменяется только скважность D1 импульсов в первой подфазе из скважности D1 импульсов в первой подфазе и скважности D2 импульсов во второй подфазе. Когда скважность D1 импульсов задается равной, например, большой скважности импульсов, показанной с помощью сплошной жирной линии, температура нагрузки 3 изменяется, как показано с помощью сплошной линии на левом верхнем графике по фиг. 14. С другой стороны, когда скважность D1 импульсов задается равной, например, небольшой скважности импульсов, показанной с помощью сплошной тонкой линии, температура нагрузки 3 изменяется, как показано с помощью пунктирной линии на левом верхнем графике по фиг. 14. Как показано на левом графике по фиг. 14, температура нагрузки 3 изменяется согласно уровню (высоте) скважности D1 импульсов в первой подфазе, т.е. температура нагрузки 3 отличается при каждом значении t таймера.
[0170] Таким образом, даже если начальные условия, такие как значения, связанные с температурой нагрузки 3 и оставшейся величиной источника 4 питания, отличаются, когда скважность D1 импульсов в первой подфазе регулируется, температура нагрузки 3 в конце фазы подготовки может управляться более существенно.
[0171] Следовательно, блок 8 управления в соответствии с примером 1D выполняет управление таким образом, что чем выше температура нагрузки 3 (начальная температура) в начале первой подфазы, тем меньше скважность D1 импульсов в первой подфазе, и чем ниже температура нагрузки 3 в начале первой подфазы, тем больше скважность D1 импульсов в первой подфазе, как показано на правом графике по фиг. 14.
[0172] Между тем, блок 8 управления в соответствии с примером 1D может изменять скважность D1 импульсов, на основе значения (например, выходного напряжения источника 4 питания), связанного с оставшейся величиной источника 4 питания, в дополнение к температуре нагрузки 3 в начале первой подфазы. Таким образом, как показано на правом графике по фиг. 14, даже если начальные условия, такие как значения, связанные с температурой нагрузки 3 и оставшейся величиной источника 4 питания, отличаются, можно управлять более существенно температурой нагрузки 3 в конце фазы подготовки и обеспечивать ее приближение к конкретному значению.
[0173] Фиг. 15 является блок-схемой управления, иллюстрирующей пример управления, которое выполняется посредством блока 8 управления в соответствии с примером 1D.
[0174] В примере 1D, блок 8 управления включает в себя блок 16 начальной настройки и блок 10 подготовки.
[0175] Блок 16 начальной настройки имеет взаимосвязь между температурой нагрузки 3 и скважностью DE.O.D импульсов, соответствующей напряжению VE.O.D окончания разряда.
[0176] Блок 16 начальной настройки принимает измеренное значение THTR температуры в начале первой подфазы из блока 6 измерения температуры и получает скважность DE.O.D(THTR) импульсов, соответствующую напряжению VE.O.D окончания разряда, на основе взаимосвязи между температурой и скважностью импульсов и измеренного значения THTR температуры.
[0177] Кроме того, блок 16 начальной настройки вводит напряжение VBatt из измерительного блока 7 источника питания, получает скважность импульсов D1=VE.O.D*DE.O.D(THTR)/VBatt и выводит значение команды управления скважностью, указывающее скважность D1 импульсов, в блок 10 подготовки.
[0178] Когда значение t таймера вводится из таймера 5 в блок 10 подготовки, блок 10 подготовки определяет то, находится значение t таймера в первой подфазе или второй подфазе, управляет мощностью, которая подается в нагрузку 3, на основе значения команды управления скважностью, указывающего скважность D1 импульсов в первой подфазе, и управляет мощностью, которая подается в нагрузку 3, на основе значения команды управления скважностью, указывающего скважность D2 импульсов во второй подфазе.
[0179] Фиг. 16 является блок-схемой последовательности операций способа, иллюстрирующей пример обработки в фазе подготовки посредством блока 8 управления в соответствии с примером 1D.
[0180] Обработка от этапа S1601 до этапа S1603 является идентичной обработке от этапа S501 до этапа S503 на фиг. 5.
[0181] На этапе S1604, измеренное значение Tstart температуры в начале первой подфазы вводится из блока 6 измерения температуры в блок 16 начальной настройки.
[0182] На этапе S1605, выходное напряжение VBatt источника 4 питания вводится из измерительного блока 7 источника питания в блок 16 начальной настройки.
[0183] На этапе S1606, блок 16 начальной настройки получает скважность DE.O.D(Tstart) импульсов, соответствующую напряжению VE.O.D окончания разряда, на основе взаимосвязи между температурой и скважностью импульсов и измеренного значения Tstart температуры, введенного на этапе S1604, и получает скважность импульсов D1=VE.O.D*DE.O.D(Tstart)/VBatt, на основе напряжения VBatt и скважности DE.O.D(Tstart) импульсов.
[0184] На этапе S1607, блок 10 подготовки переключает переключатель 25, предоставленный в схеме для электрического соединения нагрузки 3 и источника 4 питания, как показано на фиг. 9, на основе скважности D1 импульсов, за счет этого управляя мощностью, которая подается в нагрузку 3.
[0185] Обработка от этапа S1608 до этапа S1610 является идентичной обработке от этапа S505 до этапа S507 на фиг. 5.
[0186] Как описано выше, блок 8 управления в соответствии с примером 1D изменяет скважность D1 импульсов в первой подфазе, на основе значений, связанных с начальной температурой нагрузки 3 и оставшейся величиной источника 4 питания. Более конкретно, блок 16 начальной настройки получает скважность DE.O.D(Tstart) импульсов, соответствующую напряжению VE.O.D окончания разряда, на основе взаимосвязи между температурой и скважностью импульсов и измеренного значения Tstart температуры и получает скважность D1 импульсов, соответствующую первой подфазе, на основе напряжения VE.O.D окончания разряда, скважности DE.O.D(Tstart) импульсов и напряжения VBatt. В силу этого, можно управлять более существенно температурой нагрузки 3 в конце фазы подготовки даже посредством управления с прямой связью, при котором величина управления цели управления не используется в качестве компонента обратной связи для определения рабочей величины.
[0187] Пример 1E
В примере 1E, описывается то, что управление с прямой связью изменяется на основе ухудшения характеристик в нагрузке 3 в фазе подготовки.
[0188] Когда общее число Nsum использований нагрузки 3 увеличивается, нарушение, явление окисления и т.п. возникают, так что характеристики нагрузки 3 ухудшаются. Когда характеристики нагрузки 3 ухудшаются, значение RHTR электрического сопротивления нагрузки 3 имеет тенденцию увеличиваться. Таким образом, имеется корреляция между общим числом Nsum использований, указывающим состояние ухудшения характеристик в нагрузке 3, и значением RHTR электрического сопротивления нагрузки 3.
[0189] Следовательно, в примере 1E, мощность подается в нагрузку 3 таким образом, что температура нагрузки 3 является стабильной, даже когда значение RHTR сопротивления увеличивается вследствие ухудшения характеристик в нагрузке 3. Ниже подробно описывается способ подачи мощности в нагрузку 3 таким образом, что температура нагрузки 3 является стабильной независимо от состояния ухудшения характеристик в нагрузке 3.
[0190] Когда ток, который протекает через нагрузку 3, обозначается как IHTR, напряжение, которое прикладывается к нагрузке 3, обозначается как VHTR, мощность, которая подается в нагрузку 3, обозначается как PHTR, сопротивление нагрузки обозначается как RHTR, выходное напряжение источника 4 питания обозначается как V, и скважность импульсов мощности, которая подается в нагрузку 3, обозначается как D, уравнения (2) и (3) получаются. Между тем, следует отметить, что VHTR представляет собой действующее значение напряжения.
уравнение 2
уравнение 3
[0191] В данном документе, мощность обозначается как PHTR_new, когда нагрузка 3 является новой (без ухудшенных характеристик), сопротивление обозначается как RHTR_new, когда нагрузка 3 является новой, и скважность импульсов обозначается как Dnew, когда нагрузка 3 является новой.
[0192] Кроме того, мощность обозначается как PHTR_used, когда нагрузка 3 является старой (с ухудшенными характеристиками), сопротивление обозначается как RHTR_used, когда нагрузка 3 является старой, и скважность импульсов обозначается как Dused, когда нагрузка 3 является старой.
[0193] Мощность PHTR_new, когда нагрузка 3 является новой, предпочтительно является идентичной мощности PHTR_used, когда нагрузка 3 является старой.
[0194] Следовательно, следующее уравнение (4) получается.
уравнение 4
[0195] Когда корреляция между общим числом Nsum использований, указывающим состояние ухудшения характеристик в нагрузке 3, и значением RHTR электрического сопротивления нагрузки 3 является линейной или может линейно аппроксимироваться, уравнение (4) может перезаписываться в следующее уравнение (5).
уравнение 5
[0196] Следовательно, в случае если корреляция между общим числом Nsum использований, указывающим состояние ухудшения характеристик в нагрузке 3, и значением RHTR электрического сопротивления нагрузки 3 является линейной или может линейно аппроксимироваться, блок 8 управления может получать скважность Dused импульсов, соответствующую ухудшенной нагрузке 3, на основе уравнения (5), когда общее число Nsum использований нагрузки 3 получается.
[0197] С другой стороны, в случае если корреляция между общим числом Nsum использований, указывающим состояние ухудшения характеристик в нагрузке 3, и значением RHTR электрического сопротивления нагрузки 3 является нелинейной, когда значение RHTR электрического сопротивления нагрузки 3 указывается посредством функции общего числа Nsum использований нагрузки 3, уравнение (4), может перезаписываться в следующее уравнение (6).
уравнение 6
[0198] Следовательно, в случае если корреляция между общим числом Nsum использований, указывающим состояние ухудшения характеристик в нагрузке 3, и значением RHTR электрического сопротивления нагрузки 3 является нелинейной, когда общее число Nsum использований нагрузки 3 получается, блок 8 управления может использовать уравнение (6) для того, чтобы получать скважность Dused импульсов, соответствующую ухудшенной нагрузке 3, на основе сопротивления R(0) нагрузки 3, общее число Nsum использований которой равно нулю (нагрузка 3 является новой), сопротивления R(Nsum) нагрузки 3, общее число использований которой составляет Nsum, и скважности Dnew импульсов, когда нагрузка 3 является новой.
[0199] Фиг. 17 является блок-схемой последовательности операций способа, иллюстрирующей пример обработки в фазе подготовки посредством блока 8 управления в соответствии с примером 1E.
[0200] Обработка от этапа S1701 до этапа S1703 является идентичной обработке от этапа S501 до этапа S503 на фиг. 5.
[0201] На этапе S1704, значение RHTR_used сопротивления, когда характеристики нагрузки 3 ухудшаются, вводится из измерительного блока 7 источника питания в блок 10 подготовки.
[0202] На этапе S1705, когда корреляция между общим числом Nsum использований, указывающим состояние ухудшения характеристик в нагрузке 3, и значением RHTR электрического сопротивления нагрузки 3 является линейной или может линейно аппроксимироваться, блок 10 подготовки получает скважность Dused импульсов, соответствующую ухудшенной нагрузке 3, на основе полученного общего числа Nsum использований нагрузки 3 и уравнения (5). С другой стороны, когда корреляция между общим числом Nsum использований, указывающим состояние ухудшения характеристик в нагрузке 3, и значением RHTR электрического сопротивления нагрузки 3 является нелинейной, блок 10 подготовки использует уравнение (6) для того, чтобы получать скважность Dused импульсов, соответствующую ухудшенной нагрузке 3, на основе общего числа Nsum использований нагрузки 3, сопротивления R(0) нагрузки 3, когда общее число Nsum использований равно нулю (нагрузка 3 является новой), сопротивления R(Nsum) нагрузки 3, когда общее число использований составляет Nsum, и скважности Dnew импульсов, когда нагрузка 3 является новой.
[0203] На этапе S1706, блок 10 подготовки переключает переключатель 25, предоставленный в схеме для электрического соединения нагрузки 3 и источника 4 питания, как показано на фиг. 9, на основе значения команды управления скважностью, указывающего скважность Dused импульсов, в первой подфазе, за счет этого управляя мощностью, которая подается в нагрузку 3.
[0204] Обработка от этапа S1707 до этапа S1709 является идентичной обработке от этапа S505 до этапа S507 на фиг. 5.
[0205] В примере 1E, как описано выше, даже когда характеристики нагрузки 3 ухудшаются вследствие таких факторов, как увеличение общего числа Nsum использований нагрузки 3, мощность может подаваться в нагрузку 3 таким образом, что температура нагрузки 3 стабилизируется.
[0206] В настоящем примере, общее число Nsum использований нагрузки 3 используется в качестве физической величины, указывающей состояние ухудшения характеристик в нагрузке 3. Тем не менее, вместо общего числа Nsum использований, например, также может использоваться интегрированное время работы нагрузки 3, интегрированное потребление мощности нагрузки 3, интегрированная величина формирования аэрозоля нагрузки 3, значение электрического сопротивления нагрузки 3 при предварительно определенных температурах, таких как комнатная температура, и т.п.
[0207] Второй вариант осуществления
Во втором варианте осуществления, описывается управление изменением, по меньшей мере, одного из усиления блока 12 усиления и ширины (диапазона) ограничителя, которая используется в блоке 14 ограничителя при управлении с обратной связью, которое выполняется в фазе использования.
[0208] В устройстве 1 формирования аэрозоля, выполненном с возможностью нагревать изделие 9 для формирования аэрозоля, чтобы стабилизировать аэрозоли, сформированные из изделия 9 для формирования аэрозоля, во времени, необходимо постепенно сдвигать позицию формирования аэрозоля изделия 9 для формирования аэрозоля в направлении от окрестности нагрузки 3 посредством постепенного увеличения температуры нагрузки 3 или изделия 9 для формирования аэрозоля. Причина состоит в том, что когда нагрев изделия 9 для формирования аэрозоля начинается, аэрозоли формируются раньше в позиции ближе к нагрузке 3 в изделии 9 для формирования аэрозоля, с учетом теплопередачи из нагрузки 3 в изделие 9 для формирования аэрозоля. Таким образом, когда источник аэрозолей в позиции изделия 9 для формирования аэрозоля, близкой к нагрузке 3, полностью распыляется, и формирование аэрозолей завершается, необходимо распылять источник аэрозолей, удаленный от нагрузки 3, с тем чтобы непрерывно формировать аэрозоли из изделия 9 для формирования аэрозоля. Таким образом, необходимо сдвигать позицию формирования аэрозоля из позиции изделия 9 для формирования аэрозоля, близкой к нагрузке 3, в позицию изделия 9 для формирования аэрозоля, удаленную от нагрузки 3, в которой источник аэрозолей не полностью распыляется, поскольку эффективность теплопередачи из нагрузки 3 снижается.
[0209] Как описано выше, позиция изделия 9 для формирования аэрозоля, удаленная от нагрузки 3, является худшей относительно позиции изделия 9 для формирования аэрозоля, близкой к нагрузке 3, с точки зрения теплопередачи. Следовательно, когда требуется формировать аэрозоли в позиции изделия 9 для формирования аэрозоля, удаленной от нагрузки 3, для нагрузки 3 необходимо переносит много тепла в изделие 9 для формирования аэрозоля, по сравнению со случаем, в котором аэрозоли формируются в позиции изделия 9 для формирования аэрозоля, близкой к нагрузке 3. Другими словами, когда требуется формировать аэрозоли в позиции изделия 9 для формирования аэрозоля, удаленной от нагрузки 3, необходимо увеличивать температуру нагрузки 3, по сравнению со случаем, в котором аэрозоли формируются в позиции изделия 9 для формирования аэрозоля, близкой к нагрузке 3.
[0210] Во втором варианте осуществления, описывается управление стабилизацией величины аэрозолей, сформированных из изделия 9 для формирования аэрозоля во времени, посредством сдвига позиции формирования аэрозоля изделия 9 для формирования аэрозоля из позиции, близкой к нагрузке 3, в позицию, удаленную от нагрузки.
[0211] Например, когда используется первый способ нагрева, в котором нагрузка 3 нагревает изделие 9 для формирования аэрозоля изнутри, центральная часть изделия 9 для формирования аэрозоля представляет собой позицию изделия 9 для формирования аэрозоля, близкую к нагрузке 3. Кроме того, внешняя периферийная часть изделия 9 для формирования аэрозоля представляет собой позицию изделия 9 для формирования аэрозоля, удаленную от нагрузки 3.
[0212] Например, когда используется второй способ нагрева, в котором нагрузка 3 нагревает изделие 9 для формирования аэрозоля снаружи, внешняя периферийная часть изделия 9 для формирования аэрозоля представляет собой позицию изделия 9 для формирования аэрозоля, близкую к нагрузке 3. Кроме того, центральная часть изделия 9 для формирования аэрозоля представляет собой позицию изделия 9 для формирования аэрозоля, удаленную от нагрузки 3.
[0213] Например, когда используется третий способ нагрева, в котором нагрузка 3 нагревает изделие 9 для формирования аэрозоля посредством использования индукционного нагрева (IH), позиция изделия 9 для формирования аэрозоля, которая находится в контакте или близко к сусцептору, представляет собой позицию изделия 9 для формирования аэрозоля, близкую к нагрузке 3. Кроме того, позиция изделия 9 для формирования аэрозоля, которое не находится в контакте или является удаленной от сусцептора, представляет собой позицию изделия 9 для формирования аэрозоля, удаленную от нагрузки 3.
[0214] Тем не менее, когда требуется постепенно увеличивать температуру нагрузки 3 или изделия 9 для формирования аэрозоля посредством постепенного увеличения целевой температуры при управлении с обратной связью, если измеренное значение температуры превышает временно целевую температуру, увеличение температуры в это время является застойным, так что пользователь, который вдыхает аэрозоли, может чувствовать себя некомфортно.
[0215] Следовательно, во втором варианте осуществления, по меньшей мере, одно из усиления блока 12 усиления и ширины ограничителя блока 14 ограничителя в фазе использования постепенно увеличивается, чтобы плавно увеличивать температуру нагрузки 3 или изделия 9 для формирования аэрозоля без задержки, за счет этого стабильно формируя аэрозоли. Между тем, увеличение усиления блока 12 усиления может означать регулирование корреляции между выходным значением и входным значением блока 12 усиления таким образом, что абсолютное значение для выходного значения к входному значению, вводимому в блок 12 усиления после того, как усиление увеличивается, превышает абсолютное значение для выходного значения к входному значению, вводимому в блок 12 усиления до того, как усиление увеличивается. Кроме того, увеличение ширины ограничителя блока 14 ограничителя может означать увеличение максимального значения, которое может рассматриваться в качестве абсолютного значения для выходного значения, которое выводится из блока 14 ограничителя.
[0216] При сравнении управления посредством блока 8 управления в соответствии со вторым вариантом осуществления и управления посредством устройства формирования аэрозоля предшествующего уровня техники, управление посредством блока 8 управления в соответствии со вторым вариантом осуществления имеет признак осуществления управления при настройке температуры окончания фазы использования постоянной, а не управления увеличением, снижением и снова увеличением целевой температуры, которая используется при управлении с обратной связью. Таким образом, во втором варианте осуществления, поскольку температура нагрузки 3 ниже температуры окончания фазы использования, которая используется при управлении с обратной связью в большей части фазы использования, температура нагрузки 3 или изделия 9 для формирования аэрозоля плавно увеличивается без задержки в течение всей фазы использования таким образом, что аэрозоли стабильно формируются.
[0217] Управление посредством блока 8 управления в соответствии со вторым вариантом осуществления имеет такой признак, что оно не представляет собой управление сокращением ширины ограничителя блока 14 ограничителя на основе значения t таймера. Кроме того, управление посредством блока 8 управления в соответствии со вторым вариантом осуществления имеет такой признак, что оно не представляет собой управление увеличением целевой температуры на основе значения t таймера при настройке ширины ограничителя блока 14 ограничителя постоянной. Другими словами, при управлении посредством блока 8 управления в соответствии со вторым вариантом осуществления, ширина ограничителя непрерывно растет или пошагово сокращается без сокращения с протеканием фазы использования.
[0218] Когда температура нагрузки 3 в фазе использования равна или выше значения, при котором предварительно определенная величина или более аэрозолей может формироваться из изделия 9 для формирования аэрозоля, например, блок 8 управления в соответствии со вторым вариантом осуществления может получать температуру нагрузки 3 и степень протекания фазы использования, выполнять управление с обратной связью таким образом, что температура нагрузки 3 сходится к предварительно определенной температуре, и увеличивать усиление при управлении с обратной связью или верхнее предельное значение мощности, которая подается из источника 4 питания в нагрузку 3, по мере того, как степень протекания протекает при управлении с обратной связью. В силу этого, можно постепенно и стабильно увеличивать температуру нагрузки 3 без задержки. Таким образом, можно стабилизировать величину аэрозолей, которые формируются из изделия 9 для формирования аэрозоля, в течение всей фазы использования.
[0219] В данном документе, блок 8 управления может увеличивать усиление при управлении с обратной связью посредством изменения любого элемента пропорционального (P) управления, интегрального (I) управления и дифференциального (D) управления из PID (пропорционально-интегрально-дифференциального) управления. Кроме того, блок 8 управления может увеличивать одно усиление пропорционального управления, интегрального управления и дифференциального управления или может увеличивать множество усилений. Кроме того, блок 8 управления может увеличивать как усиление, так и верхнее предельное значение мощности, которая подается в нагрузку 3.
[0220] Блок 8 управления может быть выполнен с возможностью увеличивать усиление или верхнее предельное значение по мере того, как степень протекания протекает, так что температура нагрузки 3 не снижается с начала фазы использования. В силу этого, можно подавлять уменьшение величины формирования аэрозоля.
[0221] Ширина увеличения усиления или верхнего предельного значения до ширины протекания степени протекания может задаваться постоянной. В силу этого, можно повышать стабильность управления с обратной связью.
[0222] Блок 8 управления может быть выполнен с возможностью изменять темп увеличения усиления или верхнего предельного значения до ширины протекания степени протекания. В силу этого, можно формировать надлежащую величину аэрозолей согласно степени протекания.
[0223] Блок 8 управления может быть выполнен с возможностью увеличивать темп увеличения по мере того, как степень протекания протекает. В силу этого, можно подавлять уменьшение величины формирования аэрозоля. Кроме того, можно сокращать период времени, в течение которого нагрузка 3 имеет высокие температуры, так что можно подавлять перегрев нагрузки 3 и устройства 1 формирования аэрозоля, за счет этого повышая износостойкость нагрузки 3 и устройства 1 формирования аэрозоля. Кроме того, поскольку период времени, в течение которого нагрузка 3 имеет высокие температуры, является небольшим, можно упрощать адиабатическую структуру устройства 1 формирования аэрозоля. В частности, когда устройство 1 формирования аэрозоля приспосабливает второй способ нагрева, можно упрощать адиабатическую структуру.
[0224] Блок 8 управления может быть выполнен с возможностью уменьшать темп увеличения по мере того, как степень протекания протекает. В силу этого, можно продлевать период времени, в течение которого нагрузка 3 имеет высокие температуры, так что можно подавлять уменьшение величины формирования аэрозоля. Поскольку можно продлевать период времени, в течение которого нагрузка 3 имеет высокие температуры, можно увеличивать величину аэрозолей, которые формируются из одного изделия 9 для формирования аэрозоля. Кроме того, поскольку период времени, в течение которого усиление или верхнее предельное значение увеличивается, является большим, можно быстро восстанавливать снижение температуры (например, падение температуры) вследствие вдыхания аэрозолей пользователем, за счет этого компенсируя температуру нагрузки 3. Таким образом, можно стабилизировать величину аэрозолей, которые формируются из одного изделия 9 для формирования аэрозоля, в течение всей фазы использования.
[0225] Блок 8 управления может быть выполнен с возможностью определять усиление или верхнее предельное значение, соответствующее степени протекания, на основе такой первой взаимосвязи (корреляции), что усиление или верхнее предельное значение увеличивается по мере того, как степень протекания протекает, и изменять первую взаимосвязь, на основе изменения на основе временных рядов степени протекания. В силу этого, можно изменять степень увеличения усиления или верхнего предельного значения в соответствии со степенью протекания степени протекания и подавать соответствующую величину мощности в нагрузку 3 в соответствии с фактической степенью протекания, так что можно стабилизировать величину формирования аэрозоля.
[0226] Блок 8 управления может быть выполнен с возможностью изменять первую взаимосвязь таким образом, что усиление или верхнее предельное значение увеличивается по мере того, как степень протекания протекает. В этом случае, поскольку усиление или верхнее предельное значение не снижается, можно подавлять уменьшение величины формирования аэрозоля.
[0227] Когда степень протекания задерживается по сравнению с предварительно определенной степенью протекания, блок 8 управления может изменять первую взаимосвязь таким образом, что ширина увеличения усиления или верхнего предельного значения, соответствующего ширине протекания степени протекания, увеличивается, и может задавать температуру нагрузки 3 в качестве степени протекания. В силу этого, по мере того, как увеличение температуры нагрузки 3 дополнительно задерживается, можно легко увеличивать температуру нагрузки 3, так что можно подавлять уменьшение величины формирования аэрозоля.
[0228] Когда степень протекания дополнительно протекает по сравнению с предварительно определенной степенью протекания, блок 8 управления может изменять первую взаимосвязь таким образом, что ширина увеличения усиления или верхнего предельного значения, соответствующего ширине протекания степени протекания, снижается, и может задавать температуру нагрузки 3 в качестве степени протекания. В силу этого, по мере того, как увеличение температуры нагрузки 3 дополнительно протекает, можно затруднять увеличение температуры нагрузки 3, так что можно подавлять увеличение величины формирования аэрозоля.
[0229] Когда степень протекания задерживается по сравнению с предварительно определенной степенью протекания, блок 8 управления может изменять первую взаимосвязь таким образом, что ширина увеличения усиления или верхнего предельного значения, соответствующего ширине протекания степени протекания, снижается, и может задавать степень протекания таким образом, что она включает в себя, по меньшей мере, одно из числа вдыханий аэрозолей, величины вдыхания аэрозолей и величины формирования аэрозоля. Например, когда вдыхание аэрозолей задерживается по сравнению с предварительно определенной степенью протекания, считается, что источник аэрозолей около нагрузки 3 не истощается. В этом случае, когда ширина увеличения усиления или верхнего предельного значения снижается, можно эффективно использовать источник аэрозолей в изделии 9 для формирования аэрозоля.
[0230] Когда степень протекания дополнительно протекает по сравнению с предварительно определенной степенью протекания, блок 8 управления может изменять первую взаимосвязь таким образом, что ширина увеличения усиления или верхнего предельного значения, соответствующего ширине протекания степени протекания, увеличивается, и может задавать степень протекания таким образом, что она включает в себя, по меньшей мере, одно из числа вдыханий аэрозолей, величины вдыхания аэрозолей и величины формирования аэрозоля. Например, когда степень протекания дополнительно протекает по сравнению с предварительно определенной степенью протекания, считается, что позиция формирования аэрозоля изделия 9 для формирования аэрозоля сдвигается в позицию, удаленную от нагрузки 3 больше ожидаемого. Даже в этом случае, когда ширина увеличения усиления или верхнего предельного значения увеличивается, можно положительно формировать аэрозоли из позиции формирования аэрозоля, удаленной от нагрузки 3.
[0231] Блок 8 управления может быть выполнен с возможностью временно изменять первую взаимосвязь или изменять часть первой взаимосвязи. В этом случае, поскольку ширина увеличения усиления или верхнего предельного значения временно изменяется и затем возвращается к исходной ширине увеличения, можно повышать стабильность управления.
[0232] Блок 8 управления может быть выполнен с возможностью изменять всю часть первой взаимосвязи после последней степени протекания, полученной посредством блока 8 управления. В этом случае, поскольку ширина увеличения усиления или верхнего предельного значения полностью изменяется, можно снижать вероятность того, что необходимо снова выполнять изменение.
[0233] Между тем, блок 8 управления может быть выполнен с возможностью изменять всю первую взаимосвязь, включающую в себя степень протекания, больше раннюю относительно последней степени протекания.
[0234] Блок 8 управления может быть выполнен с возможностью изменять часть первой взаимосвязи после последней степени протекания, полученной посредством блока 8 управления, и может задавать взаимосвязь между степенью протекания и усилением или верхним предельным значением в конце фазы использования как идентичную до и после изменения первой взаимосвязи. В этом случае, поскольку усиление или верхнее предельное значение не изменяется в конце фазы использования, можно подавлять существенное изменение величины мощности, подаваемой в нагрузку 3, за счет этого повышая стабильность управления.
[0235] Предварительно определенная температура может представлять собой температуру нагрузки 3, которая требуется для того, чтобы формировать аэрозоли из источника аэрозолей или формирующей аэрозоли подложки 9a, включенной в смонтированное изделие 9 для формирования аэрозоля и расположенной в позиции, наиболее удаленной от нагрузки 3. В силу этого, можно эффективно формировать аэрозоли из изделия 9 для формирования аэрозоля.
[0236] Когда температура нагрузки 3 достигает предварительно определенной температуры, блок 8 управления может завершать фазу использования. В силу этого, можно подавлять перегрев изделия 9 для формирования аэрозоля.
[0237] Когда температура нагрузки 3 достигает предварительно определенной температуры, либо когда степень протекания достигает предварительно определенного порогового значения, блок 8 управления может завершать фазу использования. В силу этого, можно завершать управление с обратной связью более безопасно и надежно.
[0238] Когда температура нагрузки 3 достигает предварительно определенной температуры, и степень протекания достигает предварительно определенного порогового значения, блок 8 управления может завершать фазу использования. В силу этого, можно формировать большую величину аэрозолей из изделия 9 для формирования аэрозоля при строгом задании условия окончания в соответствующем диапазоне.
[0239] Блок 8 управления может быть выполнен с возможностью увеличивать усиление или верхнее предельное значение таким образом, что период времени, в который температура нагрузки 3 ниже предварительно определенной температуры, превышает период времени, в который температура нагрузки 3 равна или выше предварительно определенной температуры в фазе использования. В этом случае, поскольку период времени, в который температура нагрузки 3 не составляет почти предварительно определенную температуру, превышает период времени, в который температура нагрузки 3 составляет почти предварительно определенную температуру, можно подавлять увеличение величины формирования аэрозоля.
[0240] В качестве степени протекания, истекшее время фазы использования, число вдыханий аэрозолей, величина вдыхания аэрозолей, величины формирования аэрозоля или температура нагрузки 3 могут использоваться согласно управлению блоком 8 управления.
[0241] Блок 8 управления в соответствии со вторым вариантом осуществления, например, выполнен с возможностью увеличивать усиление при управлении с обратной связью или верхнее предельное значение мощности, которая подается из источника 4 питания в нагрузку, так что температура нагрузки 3 постепенно приближается из первой температуры, при которой предварительно определенная величина или более аэрозолей может формироваться из источника аэрозолей или формирующей аэрозоли подложки 9a, включенной в изделие 9 для формирования аэрозоля и расположенной в ближайшей позиции к нагрузке 3, ко второй температуре, при которой предварительно определенная величина или более аэрозолей может формироваться из источника аэрозолей или формирующей аэрозоли подложки 9a, включенной в изделие 9 для формирования аэрозоля и расположенной в позиции, наиболее удаленной от нагрузки 3,. В силу этого, блок 8 управления может эффективно выполнять формирование аэрозолей по всему диапазону от позиции, близкой к нагрузке 3, до позиции изделия 9 для формирования аэрозоля, удаленной от нагрузки 3, посредством управления с обратной связью.
[0242] В случае фазы использования, в которой температура нагрузки 3 равна или выше значения, при котором предварительно определенная величина или более аэрозолей может формироваться из изделия 9 для формирования аэрозоля, например, блок 8 управления в соответствии со вторым вариантом осуществления может получать температуру нагрузки 3 и степень протекания фазы использования, определять мощность, которая подается из источника 4 питания в нагрузку 3, на основе разности между температурой нагрузки 3 и предварительно определенной температурой, и выполнять управление с обратной связью таким образом, что темп изменения величины подачи мощности с протеканием фазы использования превышает темп изменения предварительно определенной температуры с протеканием фазы использования. Между тем, темп изменения также может включать в себя состояние, в котором темп изменения равен нулю, т.е. изменение отсутствует. В силу этого, можно постепенно и стабильно увеличивать температуру нагрузки 3 без задержки.
[0243] В случае фазы использования, в которой температура нагрузки 3 равна или выше значения, при котором предварительно определенная величина или более аэрозолей может формироваться из изделия 9 для формирования аэрозоля, например, блок 8 управления в соответствии со вторым вариантом осуществления может получать температуру нагрузки 3 и степень протекания фазы использования, определять мощность, которая подается из источника 4 питания в нагрузку 3, на основе разности между температурой нагрузки 3 и предварительно определенной температурой, и выполнять управление с обратной связью таким образом, что значение, полученное посредством вычитания температуры нагрузки 3 из предварительно определенной температуры, снижается с протеканием фазы использования, и величина подачи мощности, которая подается из источника 4 питания в нагрузку 3, увеличивается с протеканием фазы использования. В силу этого, можно постепенно и стабильно увеличивать температуру нагрузки 3 без задержки.
[0244] Разнообразные виды управления посредством блока 8 управления также могут реализовываться, когда блок 8 управления выполняет программу.
[0245] Относительно второго варианта осуществления, конкретные примеры управления дополнительно описываются в нижеприведенных вариантах 2A-2F осуществления.
[0246] Пример 2A
Фиг. 18 является блок-схемой управления, иллюстрирующей пример управления, которое выполняется посредством блока 8 управления в соответствии с примером 2A.
[0247] Блок 13 изменения ограничителя блока 8 управления поддерживает первую взаимосвязь, в которой входной параметр, включающий в себя, по меньшей мере, одно из значения t таймера, измеренного значения температуры нагрузки 3 и профиля затяжки, и ширина ограничителя блока 14 ограничителя ассоциированы между собой. Значение t таймера, измеренное значение температуры нагрузки 3 и профиль затяжки представляют собой примеры значения, указывающего степень протекания фазы использования. Вместо этого, также могут использоваться другие физические величины или переменные, которые имеют тенденцию увеличиваться согласно степени протекания фазы использования.
[0248] В примере 2A, описывается случай, в котором значение t таймера, измеренное значение температуры и профиль затяжки используются в качестве входного параметра. Тем не менее, часть значения t таймера, измеренного значения температуры и профиля затяжки также может использоваться в качестве входного параметра.
[0249] Ассоциирование между входным параметром и шириной ограничителя может управляться посредством таблицы или структуры данных, такой как списковая структура, и может использоваться функция, связанная с входным параметром и шириной ограничителя. То же применимо ко множеству ассоциирований, описанных ниже.
[0250] В фазе использования, блок 8 управления вводит значение t таймера из таймера 5 и вводит измеренное значение температуры, указывающее температуру нагрузки 3, из блока 6 измерения температуры.
[0251] Блок 8 управления обнаруживает вдыхание пользователя, на основе выходного значения датчика, выполненного с возможностью обнаруживать физическую величину, которая варьируется в зависимости от вдыхания пользователя, такого как датчик расхода, датчик скорости потока и датчик давления, предоставленные в устройстве 1 формирования аэрозоля, например, и формирует профиль затяжки, указывающий состояние вдыхания, такое как, например, число вдыханий пользователя на основе временных рядов или величина вдыхания.
[0252] Блок 8 управления включает в себя блок 13 изменения ограничителя, дифференциальный блок 11, блок 12 усиления и блок 14 ограничителя.
[0253] Блок 13 изменения ограничителя определяет ширину увеличения ширины ограничителя, которая используется в блоке 14 ограничителя, на основе входного параметра, и постепенно обеспечивает рост ширины ограничителя по мере того, как протекает фаза использования.
[0254] В примере 2A, блок 13 изменения ограничителя, например, может не сокращать ширину ограничителя. Другими словами, при изменении ширины ограничителя, блок 13 изменения ограничителя может только обеспечивать рост ширины ограничителя. Ниже, также в примерах 2B-2F второго варианта осуществления, ширина ограничителя, которая используется в блоке 13 изменения ограничителя, может не сокращаться.
[0255] Более конкретно, блок 13 изменения ограничителя изменяет ширину ограничителя блока 14 ограничителя таким образом, что ширина между максимальным значением для ограничителя и минимальным значением для ограничителя растет по мере того, как значение t таймера увеличивается.
[0256] Дифференциальный блок 11 получает разность между измеренным значением температуры, измеряемым посредством блока 6 измерения температуры, и температурой окончания фазы использования. В примере 2A, предполагается, что температура окончания фазы использования составляет, например, фиксированное значение и представляет собой такое значение, которого температура нагрузки 3 должна достигать в конце фазы использования посредством управления с обратной связью.
[0257] Блок 12 усиления получает, на основе разности между измеренным значением температуры и температурой окончания фазы использования, скважность импульсов, при которой разность удаляется или уменьшается. Другими словами, блок 12 усиления выводит, в блок 14 ограничителя, скважность импульсов, имеющую корреляцию разности между измеренным значением температуры и температурой окончания фазы использования и скважностью импульсов и соответствующую разности между входным измеренным значением температуры и температурой окончания фазы использования.
[0258] Блок 14 ограничителя выполняет управление таким образом, что скважность импульсов, полученная посредством блока 12 усиления, включается в ширину ограничителя. В частности, когда скважность импульсов, полученная посредством блока 12 усиления, превышает максимальное значение ширины ограничителя, полученное посредством блока 13 изменения ограничителя, блок 14 ограничителя задает скважность импульсов в качестве максимального значения ширины ограничителя, и когда полученная скважность импульсов опускается ниже минимального значения ширины ограничителя, полученного посредством блока 13 изменения ограничителя, блок 14 ограничителя ограничивает скважность импульсов минимальным значением ширины ограничителя. Блок 14 ограничителя выводит, например, в качестве результата обработки ограничителем, значение параметра скважности, указывающее скважность импульсов, включенную в ширину ограничителя, в блок 15 сравнения, показанный на фиг. 3. Значение параметра скважности представляет собой значение, полученное в качестве результата управления с обратной связью посредством блока 8 управления.
[0259] Фиг. 19 является блок-схемой последовательности операций способа, иллюстрирующей пример обработки в фазе использования посредством блока 8 управления в соответствии с примером 2A.
[0260] На этапе S1901, блок 8 управления вводит значение t таймера из таймера 5.
[0261] На этапе S1902, блок 8 управления определяет то, равно или выше либо нет значение t таймера времени tthre, указывающего конец фазы использования.
[0262] Когда определяется то, что значение t таймера равно или выше времени tthre (результат определения на этапе S1902 является утвердительным), блок 8 управления прекращает подачу мощности в нагрузку 3 и завершает фазу использования.
[0263] Когда определяется то, что значение t таймера не равно или выше времени tthre (результат определения на этапе S1902 является отрицательным), дифференциальный блок 11 блока 8 управления получает разность ΔTHTR между температурой окончания фазы использования нагрузки 3 и измеренным значением температуры, вводимым из блока 6 измерения температуры, на этапе S1903.
[0264] На этапе S1904, блок 13 изменения ограничителя блока 8 управления определяет ширину увеличения ширины ограничителя, которая используется в блоке 14 ограничителя, на основе, по меньшей мере, одного из значения t таймера, измеренного значения температуры и профиля затяжки и изменяет ширину ограничителя.
[0265] На этапе S1905, блок 12 усиления блока 8 управления получает скважность Dcmd импульсов (значение параметра скважности), на основе разности ΔTHTR. Когда корреляция между входным значением и выходным значением в блоке 12 усиления обозначается как функция K, обработка блока 12 усиления может выражаться посредством Dcmd=K(ΔTHTR). В частности, в случае если корреляция между входным значением и выходным значением в блоке 12 усиления является линейной, когда коэффициент усиления, который представляет собой градиент корреляции, обозначается как K, обработка блока 12 усиления может выражаться посредством Dcmd=K*ΔTHTR.
[0266] На этапе S1906, блок 14 ограничителя блока 8 управления выполняет обработку ограничителем таким образом, что скважность Dcmd импульсов, полученная посредством блока 12 усиления, попадает в ширину ограничителя блока 14 ограничителя, за счет этого получая обработанную ограничителем скважность Dcmdd импульсов.
[0267] На этапе S1907, блок 8 управления управляет мощностью, которая подается в нагрузку 3, на основе значения команды управления скважностью, указывающего скважность Dcmdd импульсов, и после этого обработка возвращается к этапу S1901. Между тем, скважность Dcmdd импульсов также может применяться к переключателю 25, предоставленному между источником 4 питания и нагрузкой 3, либо к преобразователю постоянного тока в постоянный, предоставленному между источником 4 питания и нагрузкой 3.
[0268] В вышеуказанной обработке, последовательность этапа S1904 и этапа S1905 может меняться местами.
[0269] При управлении, которое выполняется посредством блока 8 управления в соответствии с примером 2A, ширина ограничителя, которая используется в блоке 14 ограничителя, изменяется таким образом, что она постепенно растет каждый раз, когда фаза использования протекает, и температура нагрузки 3 управляется на основе скважности Dcmdd импульсов при ширине ограничителя. В силу этого, можно плавно увеличивать температуру нагрузки 3 или изделия 9 для формирования аэрозоля без задержки, так что можно стабильно формировать аэрозоли.
[0270] Пример 2B
В примере 2B, описывается управление, при котором блок 13 изменения ограничителя определяет ширину увеличения ширины ограничителя, на основе определения касательно того, превышает или нет теплоемкость изделия 9 для формирования аэрозоля теплоемкость, ожидаемую с протеканием фазы использования на основе временных рядов, и изменяет ширину ограничителя.
[0271] В примере 2B, теплоемкость изделия 9 для формирования аэрозоля также может строго получаться из массы и удельной теплоемкости изделия 9 для формирования аэрозоля. В качестве другого примера, теплоемкость изделия 9 для формирования аэрозоля может трактоваться в качестве физической величины, которая зависит от составов или структур формирующей аэрозоли подложки 9a, источника аромата и источника аэрозолей, предоставленных в изделии 9 для формирования аэрозоля, и показывает большее значение по мере того, как оставшиеся величины изделия 9 для формирования аэрозоля, источника аромата и источника аэрозолей становятся больше. Таким образом, когда изделие 9 для формирования аэрозоля нагревается посредством нагрузки 3, по меньшей мере, часть формирующей аэрозоли подложки 9a и источника аромата или источника аэрозолей потребляется, так что теплоемкость изделия 9 для формирования аэрозоля имеет тенденцию снижаться с протеканием фазы использования. Другими словами, предполагается, что теплоемкость изделия 9 для формирования аэрозоля указывает величину аэрозолей, которые могут формироваться посредством изделия 9 для формирования аэрозоля, оставшуюся величину аэрозолей, которые могут вдыхаться пользователем устройства 1 формирования аэрозоля, число оставшихся вдыханий или количество тепла, которое может применяться к изделию 9 для формирования аэрозоля посредством устройства 1 формирования аэрозоля. Между тем, следует отметить, что даже когда величина аэрозолей, которые могут формироваться посредством изделия 9 для формирования аэрозоля, оставшаяся величина аэрозолей, которые могут вдыхаться пользователем устройства 1 формирования аэрозоля, или число оставшихся вдыханий равна нулю, теплоемкость изделия 9 для формирования аэрозоля не равна нулю.
[0272] Блок 8 управления и/или блок 13 изменения ограничителя в соответствии с примером 2B могут определять то, превышает или нет теплоемкость изделия 9 для формирования аэрозоля теплоемкость, ожидаемую с протеканием фазы использования на основе временных рядов, на основе измеренного значения температуры или профиля затяжки. В качестве примера, блок 8 управления и/или блок 13 изменения ограничителя в соответствии с примером 2B заранее сохраняют идеальные данные на основе временных рядов относительно температуры нагрузки 3 или изделия 9 для формирования аэрозоля в фазе использования, числа вдыханий пользователем устройства 1 формирования аэрозоля в фазе использования или интегрированного значения величины вдыхания. Посредством сравнения идеальных данных на основе временных рядов и измеренного значения температуры или профиля затяжки, может определяться то, превышает или нет теплоемкость изделия 9 для формирования аэрозоля теплоемкость, ожидаемую с протеканием фазы использования на основе временных рядов.
[0273] В частности, когда измеренное значение температуры задерживается относительно идеальных данных на основе временных рядов, блок 8 управления и/или блок 13 изменения ограничителя могут определять то, что теплоемкость изделия 9 для формирования аэрозоля превышает ожидаемую теплоемкость. С другой стороны, когда измеренное значение температуры протекает относительно идеальных данных на основе временных рядов, блок 8 управления и/или блок 13 изменения ограничителя могут определять то, что теплоемкость изделия 9 для формирования аэрозоля меньше ожидаемой теплоемкости.
[0274] Другими словами, в состоянии, в котором теплоемкость изделия 9 для формирования аэрозоля является большой, оценивается то, что измеренное значение температуры является небольшим. С другой стороны, в состоянии, в котором теплоемкость изделия 9 для формирования аэрозоля не является большой (является небольшой), оценивается то, что измеренное значение температуры является большим.
[0275] Когда измеренное значение температуры является небольшим, блок 13 изменения ограничителя обеспечивает рост ширины увеличения ширины ограничителя.
[0276] Когда измеренное значение температуры является большим, блок 13 изменения ограничителя сокращает ширину увеличения ширины ограничителя.
[0277] Между тем, когда профиль затяжки задерживается относительно идеальных данных на основе временных рядов, блок 8 управления и/или блок 13 изменения ограничителя могут определять то, что теплоемкость изделия 9 для формирования аэрозоля превышает ожидаемую теплоемкость. В этом случае, как можно легко видеть из задержки профиля затяжки, пользователь не вдыхает устройство 1 формирования аэрозоля больше ожидаемого. Следовательно, следует отметить, что в меньшей степени необходимо обеспечивать рост ширины увеличения ширины ограничителя таким образом, чтобы увеличивать или поддерживать величину аэрозолей, которые формируются из изделия 9 для формирования аэрозоля, посредством роста ширины увеличения ширины ограничителя.
[0278] Кроме того, когда профиль затяжки протекает относительно идеальных данных на основе временных рядов, блок 8 управления и/или блок 13 изменения ограничителя могут определять то, что теплоемкость изделия 9 для формирования аэрозоля меньше ожидаемой теплоемкости. В этом случае, как можно легко видеть из протекания профиля затяжки, пользователь вдыхает устройство 1 формирования аэрозоля больше ожидаемого. Следовательно, следует отметить, что необходимо положительно обеспечивать рост ширины увеличения ширины ограничителя таким образом, чтобы увеличивать или поддерживать величину аэрозолей, которые формируются из изделия 9 для формирования аэрозоля, посредством роста ширины увеличения ширины ограничителя.
[0279] Когда профиль затяжки задерживается, блок 13 изменения ограничителя сокращает ширину увеличения ширины ограничителя.
[0280] Когда профиль затяжки протекает, блок 13 изменения ограничителя обеспечивает рост ширины увеличения ширины ограничителя.
[0281] Между тем, как описано выше, даже когда любое из измеренного значения температуры и профиля затяжки используется для степени протекания фазы использования в примере 2B, блок 13 изменения ограничителя не сокращает ширину ограничителя с протеканием фазы использования.
[0282] Фиг. 20 иллюстрирует пример изменения ширины ограничителя в блоке 13 изменения ограничителя в соответствии с примером 2B. На фиг. 20, пунктирная линия с уклоном вверх указывает ширину увеличения ширины ограничителя до изменения. В первом примере изменения ширины ограничителя, показанном с помощью пунктирной линии на фиг. 20, блок 13 изменения ограничителя обеспечивает временной рост или сокращение ширины увеличения ширины ограничителя, на основе входного параметра, и затем возвращает ширину увеличения ширины ограничителя в состояние до изменения, показанное с помощью пунктирной линии с уклоном вверх на фиг. 20. Между тем, следует отметить, что блок 13 изменения ограничителя не выводит ширину увеличения ширины ограничителя до изменения, показанную с помощью пунктирной линии в области, в которой применяется ширина ограничителя, показанная с помощью пунктирной линии в первом примере изменения ширины ограничителя.
[0283] Во втором примере изменения ширины ограничителя, показанном с помощью сплошной линии на фиг. 20, блок 13 изменения ограничителя обеспечивает рост или сокращение ширины увеличения ширины ограничителя, на основе входного параметра, и затем поддерживает изменение ширины ограничителя посредством ширины увеличения. Другими словами, во втором примере изменения, отсекаемые отрезки функции, включающие в себя ширину ограничителя и входной параметр, равномерно изменяются.
[0284] В третьем примере изменения ширины ограничителя, показанном с помощью штрихпунктирной линии на фиг. 20, блок 13 изменения ограничителя обеспечивает рост или сокращение ширины увеличения ширины ограничителя, на основе входного параметра, и затем изменяет ширину увеличения ширины ограничителя таким образом, что она представляет собой ширину ограничителя, ожидаемую в конце фазы использования.
[0285] Фиг. 21 является блок-схемой последовательности операций способа, иллюстрирующей пример обработки в фазе использования посредством блока 8 управления в соответствии с примером 2B. На фиг. 21, примерно иллюстрируется случай, в котором ширина увеличения ширины ограничителя определяется на основе профиля затяжки или измеренного значения температуры, и ширина ограничителя изменяется на основе определенной ширины увеличения.
[0286] Обработка этапа S2101 и этапа S2102 является идентичной обработке этапа S1901 и этапа S1902 на фиг. 19.
[0287] Когда на этапе S2102 определяется то, что значение t таймера не равно или выше времени tthre (результат определения является отрицательным), профиль затяжки или измеренное значение температуры вводится, например, в блок 13 изменения ограничителя на этапе S2103.
[0288] На этапе S2104, блок 13 изменения ограничителя определяет то, находится либо нет входной профиль затяжки или измеренное значение температуры в пределах предполагаемого диапазона (в пределах предварительно определенного диапазона). Между тем, описание "входной профиль затяжки или измеренное значение температуры находится в пределах предполагаемого диапазона" указывает то, что отсутствует отклонение между идеальными данными на основе временных рядов и входным профилем затяжки или измеренным значением температуры либо имеется небольшое отклонение.
[0289] Когда определяется то, что профиль затяжки или измеренное значение температуры находится в пределах предполагаемого диапазона (результат определения на этапе S2104 является утвердительным), обработка переходит к этапу S2106.
[0290] Когда определяется то, что профиль затяжки или измеренное значение температуры не находится в пределах предполагаемого диапазона (результат определения на этапе S2104 является отрицательным), блок 13 изменения ограничителя изменяет ширину увеличения ширины ограничителя на этапе S2105, и обработка переходит к этапу S2106.
[0291] Обработка от этапа S2106 до этапа S2110 является идентичной обработке от этапа S1903 до этапа S1907 на фиг. 19.
[0292] В дальнейшем описываются функциональные преимущества примера 2B, описанного выше.
[0293] Темп вдыхания аэрозолей пользователя посредством устройства 1 формирования аэрозоля отличается в зависимости от пользователей. Кроме того, возникает неизбежная ошибка продукта между устройством 1 формирования аэрозоля и/или изделием 9 для формирования аэрозоля. В примере 2B, чтобы разрешать/поглощать ошибку на основе темпа вдыхания аэрозолей пользователя и ошибки продукта, ширина увеличения ширины ограничителя, которая используется в блоке 14 ограничителя, изменяется на основе степени протекания фазы использования. В силу этого, можно стабилизировать управление для формирования аэрозоля.
[0294] Пример 2C
Можно подавлять перегрев изделия 9 для формирования аэрозоля, например, посредством подавления периода времени, в который нагрузка 3 имеет высокие температуры.
[0295] Между тем, можно стимулировать формирование аэрозолей в позиции изделия 9 для формирования аэрозоля, удаленной от нагрузки 3 посредством продления периода времени, в который нагрузка 3 имеет высокие температуры.
[0296] Следовательно, в примере 2C, описывается то, что ширина увеличения ширины ограничителя растет или сокращается, и температура нагрузки 3 управляется таким образом, чтобы подавлять перегрев изделия 9 для формирования аэрозоля или стимулировать формирование аэрозолей.
[0297] Чтобы стабильно формировать аэрозоли в течение всей фазы использования, необходимо формировать аэрозоли из позиции изделия 9 для формирования аэрозоля, удаленной от нагрузки 3 во времени от начала формирования аэрозоля.
[0298] Как описано выше, когда позиция изделия 9 для формирования аэрозоля, удаленная от нагрузки 3, подвергается воздействию температуры, подходящей для формирования аэрозоля, необходимо задавать нагрузку 3 при более высоких температурах, чем в начале формирования аэрозоля.
[0299] Блок 8 управления выполняет управление таким образом, что нагрузка 3 имеет температуру окончания фазы использования в конце фазы использования. Тем не менее, можно подавлять перегрев нагрузки 3 по мере того, как период времени, в который нагрузка поддерживается при температуре окончания фазы использования, становится меньше.
[0300] Между тем, предусмотрен случай, в котором нагрузка 3 предпочтительно имеет высокие температуры в течение длительного времени таким образом, чтобы формировать достаточную величину аэрозолей даже в позиции, удаленной от нагрузки 3.
[0301] Фиг. 22 является графиком, иллюстрирующим пример изменения ширины ограничителя, которая используется в блоке 14 ограничителя, и состояния увеличения температуры нагрузки 3. На фиг. 22, горизонтальная ось указывает значение t таймера. Вертикальная ось указывает температуру или ширину ограничителя.
[0302] Линия L28A указывает то, что чем меньше значение t таймера (время), тем меньше ширина увеличения ширины ограничителя, и чем больше значение t таймера, тем больше ширина увеличения ширины ограничителя. Изменение температуры, соответствующее линии L28A, представляет собой линию L28B. Линия L28B показывает то, что увеличение температуры нагрузки 3 является медленным, и температура нагрузки 3 увеличивается по мере того, как приближается окончание фазы использования. Блок 13 изменения ограничителя может предотвращать перегретое состояние нагрузки 3 посредством изменения ширины увеличения ширины ограничителя таким образом, что она придерживается линии L28A и линии L28B.
[0303] Между тем, линия L28C указывает то, что чем меньше значение t таймера (время), тем больше ширина увеличения ширины ограничителя, и чем больше значение t таймера, тем меньше ширина увеличения ширины ограничителя. Изменение температуры, соответствующее линии L28C, представляет собой линию L28D. Линия L28D показывает то, что увеличение температуры нагрузки 3 является быстрым, и период времени, в который температура нагрузки 3 поддерживается равной почти температуре окончания фазы использования, продлевается. Блок 13 изменения ограничителя может формировать достаточную величину аэрозолей из позиции изделия 9 для формирования аэрозоля, удаленной от нагрузки 3, посредством изменения ширины увеличения ширины ограничителя таким образом, что она придерживается линии L28C и линии L28D.
[0304] Фиг. 23 является графиком, иллюстрирующим пример изменения ширины ограничителя в соответствии с примером 2C.
[0305] Блок 13 изменения ограничителя изменяет ширину ограничителя, на основе значения t таймера в принципе, например, и определяет ширину увеличения ширины ограничителя во время изменения ширины ограничителя, на основе, по меньшей мере, одного из профиля затяжки и измеренного значения температуры.
[0306] Линия L29A указывает выросшее состояние ширины увеличения ширины ограничителя и линии L29B указывает сокращенное состояние ширины увеличения ширины ограничителя.
[0307] В примере 2C, описанном выше, ширина увеличения ширины ограничителя изменяется согласно степени протекания, за счет этого подавляя перегрев нагрузки 3.
[0308] Кроме того, в примере 2C, можно эффективно формировать аэрозоли в позиции изделия 9 для формирования аэрозоля, удаленной от нагрузки 3.
[0309] Пример 2D
В примерах 2A-2C, блок 13 изменения ограничителя изменяет ширину ограничителя, которая используется в блоке 14 ограничителя.
[0310] Напротив, в примере 2D, усиление блока 12 усиления изменяется на основе входного параметра, включающего в себя, по меньшей мере, одно из значения t таймера, температуры нагрузки 3 и профиля затяжки.
[0311] Фиг. 24 является блок-схемой управления, иллюстрирующей пример управления, которое выполняется посредством блока 8 управления в соответствии с примером 2D.
[0312] Блок 17 изменения усиления, предоставленный в блоке 8 управления в соответствии с примером 2D, изменяет усиление, которое используется в блоке 12 усиления, на основе входного параметра, включающего в себя, по меньшей мере, одно из значения t таймера, измеренного значения температуры и профиля затяжки. Изменение усиления включает в себя, например, изменение характеристики управления, изменение функции усиления и изменение значения, включенного в функцию усиления. Функция усиления, например, имеет вторую взаимосвязь, в которой разность между температурой окончания фазы использования и измеренным значением температуры и скважность импульсов, соответствующая разности, ассоциированы между собой.
[0313] Когда блок 17 изменения усиления изменяет усиление, которое используется в блоке 12 усиления, на основе входного параметра, может изменяться скважность импульсов, которая получается на основе разности, вводимой из дифференциального блока 11.
[0314] Фиг. 25 является блок-схемой последовательности операций способа, иллюстрирующей пример обработки в фазе использования посредством блока 8 управления в соответствии с примером 2D.
[0315] Обработка от этапа S2501 до этапа S2503 является идентичной обработке от этапа S1901 до этапа S1903 на фиг. 19.
[0316] На этапе S2504, блок 17 изменения усиления блока 8 управления изменяет усиление блока 12 усиления, на основе входного параметра.
[0317] Обработка от этапа S2505 до этапа S2507 является идентичной обработке от этапа S1905 до этапа S1907 на фиг. 19.
[0318] В примере 2D, как описано выше, усиление блока 12 усиления, отличное от ширины ограничителя блока 14 ограничителя, изменяется, чтобы стабилизировать управление для формирования аэрозоля.
[0319] Пример 2E
В примере 2E, условие окончания фазы использования заключается в том, что измеренное значение температуры равно или выше предварительно определенной температуры, и описывается управление окончанием фазы использования, когда измеренное значение температуры равно или выше предварительно определенной температуры. В данном документе, например, предварительно определенная температура может быть равной или выше температуры окончания фазы использования нагрузки 3. Предварительно определенная температура может представлять собой, например, температуру нагрузки 3, которая требуется для того, чтобы формировать аэрозоли из источника аэрозолей или формирующей аэрозоли подложки 9a, включенной в изделие 9 для формирования аэрозоля и расположенной в позиции, наиболее удаленной от нагрузки 3, как описано выше.
[0320] Фиг. 26 является блок-схемой последовательности операций способа, иллюстрирующей пример обработки в фазе использования посредством блока 8 управления в соответствии с примером 2E.
[0321] Обработка от этапа S2601 до этапа S2607 является идентичной обработке от этапа S1901 до этапа S1907 на фиг. 19.
[0322] Когда на этапе S2602 определяется то, что значение t таймера равно или выше времени tthre (результат определения является утвердительным), блок 8 управления на этапе S2608 определяет то, равно или выше либо нет измеренное значение температуры предварительно определенной температуры.
[0323] Когда определяется то, что измеренное значение температуры равно или выше предварительно определенной температуры (результат определения на этапе S2608 является утвердительным), блок 8 управления прекращает подачу мощности в нагрузку 3 и завершает фазу использования.
[0324] Когда определяется то, что измеренное значение температуры не равно или выше предварительно определенной температуры (результат определения на этапе S2608 является отрицательным), блок 8 управления повторяет этап S2608.
[0325] В примере 2E, как описано выше, когда измеренное значение температуры равно или выше предварительно определенной температуры, фаза использования завершается.
[0326] В частности, в примере 2E, в качестве условия окончания фазы использования, используется условие, при котором значение t таймера равно или выше времени tthre, и измеренное значение температуры равно или выше предварительно определенной температуры.
[0327] В силу этого, условие окончания строго задается, так что можно формировать большую величину аэрозолей из изделия 9 для формирования аэрозоля при подавлении перегрева изделия 9 для формирования аэрозоля.
[0328] Между тем, в качестве условия окончания фазы использования, также может использоваться условие, при котором значение t таймера равно или выше времени tthre, как описано в примерах 2A-2C.
[0329] Кроме того, в качестве условия окончания фазы использования, также может использоваться любое из условия, при котором значение t таймера равно или выше времени tthre, и условия, при котором измеренное значение температуры равно или выше предварительно определенной температуры. В силу этого, можно завершать фазу использования безопасно и надежно, за счет этого подавляя перегрев изделия 9 для формирования аэрозоля.
[0330] Пример 2F
В примере 2F, описываются признаки управления посредством блока 8 управления в фазе использования во втором варианте осуществления.
[0331] Фиг. 27 является графиком, иллюстрирующим пример сравнения между температурой окончания фазы использования в соответствии со вторым вариантом осуществления и целевой температурой в соответствии с устройством формирования аэрозоля предшествующего уровня техники. На фиг. 27, горизонтальная ось указывает значение t таймера. Вертикальная ось указывает температуру или мощность. Мощность также может указываться, например, посредством скважности импульсов.
[0332] Например, в устройстве формирования аэрозоля предшествующего уровня техники, как показано с помощью линии L33A, управление увеличением целевой температуры нагрузки 3 и/или изделия 9 для формирования аэрозоля во времени выполняется.
[0333] Напротив, при управлении, которое выполняется посредством блока 8 управления второго варианта осуществления, как показано с помощью линии L33B, температура окончания фазы использования является постоянной, т.е. не изменяется. Во втором варианте осуществления, ширина увеличения мощности, которая подается в нагрузку 3, пошагово увеличивается, как показано с помощью линии L33C.
[0334] Другими словами, при управлении, которое выполняется посредством блока 8 управления второго варианта осуществления, темп изменения мощности, которая подается в нагрузку 3 с протеканием фазы использования, превышает темп изменения температуры окончания фазы использования с протеканием фазы использования.
[0335] Фиг. 28 является графиком, иллюстрирующим пример сравнения разности между температурой окончания фазы использования и измеренным значением температуры в соответствии со вторым вариантом осуществления и разности между целевой температурой и измеренным значением температуры в соответствии с устройством формирования аэрозоля предшествующего уровня техники. На фиг. 28, горизонтальная ось указывает значение t таймера. Вертикальная ось указывает разность или мощность.
[0336] Например, в устройстве формирования аэрозоля предшествующего уровня техники, как показано с помощью линии L34A, температура нагрузки 3 немедленно управляется таким образом, что значение, полученное посредством вычитания измеренного значения температуры из целевой температуры, уменьшается.
[0337] Напротив, при управлении, которое выполняется посредством блока 8 управления второго варианта осуществления, как показано с помощью линии L34B, значение, полученное посредством вычитания измеренного значения температуры из температуры окончания фазы использования, уменьшается по мере того, как значение t таймера увеличивается, т.е. во времени.
[0338] Таким образом, при управлении, которое выполняется посредством блока 8 управления второго варианта осуществления, значение, полученное посредством вычитания измеренного значения температуры из температуры окончания фазы использования, уменьшается с протеканием фазы использования, и мощность, которая подается из источника 4 питания в нагрузку 3, увеличивается с протеканием фазы использования одновременно.
[0339] Третий вариант осуществления
В третьем варианте осуществления, описывается случай, в котором устройство 1 формирования аэрозоля выполняет различные виды управления в нескольких фазах, и несколько фаз включают в себя первую фазу, которая выполняется первой, и вторую фазу, которая выполняется после первой фазы.
[0340] Устройство 1 формирования аэрозоля в соответствии с третьим вариантом осуществления включает в себя нагрузку 3, выполненную с возможностью нагревать изделие 9 для формирования аэрозоля посредством использования мощности, которая подается из источника 4 питания, и блок 8 управления, выполненный с возможностью управлять мощностью, которая подается из источника 4 питания в нагрузку 3, в нескольких фазах, в которых выполняются различные режимы управления. Режимы управления отличаются в нескольких фазах, связанных с нагревом изделия 9 для формирования аэрозоля, так что режим управления, имеющий характеристику, подходящую для фазы, может использоваться, и температуры нагрузки 3 и изделия 9 для формирования аэрозоля, которое нагревается посредством нагрузки 3, могут более существенно управляться. Следовательно, даже для изделия 9 для формирования аэрозоля, имеющего сложную конструкцию, можно существенно управлять аэрозолями, которые должны формироваться.
[0341] Как описано в первом и втором вариантах осуществления, например, блок 8 управления может быть выполнен с возможностью выполнять первое управление с прямой связью в первой фазе и выполнять, по меньшей мере, управление с обратной связью второго управления с прямой связью и управление с обратной связью во второй фазе. Таким образом, управление посредством блока 8 управления переключается из управления с прямой связью к управлению с обратной связью, так что можно реализовывать высокоскоростное увеличение температуры нагрузки 3 и изделия 9 для формирования аэрозоля посредством управления с прямой связью и стабильное формирование аэрозолей посредством управления с обратной связью одновременно, что представляет собой конфликтующие преимущества.
[0342] Число режимов управления, которые используются во второй фазе, может превышать число режимов управления, которые используются в первой фазе. В силу этого, после переключения из первой фазы во вторую фазу, можно реализовывать стабильное формирование аэрозолей посредством использования множества режимов управления.
[0343] Время выполнения первой фазы может быть меньше времени выполнения второй фазы, в которой темп увеличения температуры нагрузки 3 ниже, чем в первой фазе. В силу этого, время выполнения сокращается в фазе, в которой увеличение температуры нагрузки 3 и изделия 9 для формирования аэрозоля выполняется быстрее, так что можно заблаговременно формировать аэрозоли.
[0344] Время выполнения первой фазы может быть меньше времени выполнения второй фазы, в которой температура нагрузки или средняя температура нагрузки выше, чем в первой фазе. В силу этого, время выполнения сокращается в фазе, в которой температуры нагрузки 3 и изделия 9 для формирования аэрозоля или средние температуры нагрузки 3 и изделия 9 для формирования аэрозоля являются более низкими, так что можно заблаговременно формировать аэрозоли.
[0345] Величина мощности, которая подается из источника 4 питания в нагрузку 3 в первой фазе, может быть меньше величины мощности, которая подается из источника 4 питания в нагрузку 3 во второй фазе, в которой темп увеличения температуры нагрузки 3 ниже, чем в первой фазе. В силу этого, величина мощности, которая должна потребляться, уменьшается в фазе, в которой темп увеличения температуры нагрузки 3 и изделия 9 для формирования аэрозоля является более высоким, так что можно повышать эффективность использования источника 4 питания для формирования аэрозоля.
[0346] Величина мощности, которая подается из источника 4 питания в нагрузку 3 в первой фазе, может быть меньше величины мощности, которая подается из источника 4 питания в нагрузку 3 во второй фазе, в которой температура нагрузки или средняя температура нагрузки выше, чем в первой фазе. В силу этого, величина мощности, которая должна потребляться, уменьшается в фазе, в которой температуры нагрузки 3 и изделия 9 для формирования аэрозоля или средние температуры нагрузки 3 и изделия 9 для формирования аэрозоля являются более низкими, так что можно повышать эффективность использования источника 4 питания для формирования аэрозоля.
[0347] Мощность, которая подается из источника 4 питания в нагрузку 3 в первой фазе, может превышать мощность, которая подается из источника 4 питания в нагрузку 3 во второй фазе, в которой темп увеличения температуры нагрузки 3 ниже, чем в первой фазе. Таким образом, мощность, которая потребляется в первой фазе, превышает мощность, которая потребляется во второй фазе, так что можно быстро формировать аэрозоли в первой фазе, стабильно формировать предпочтительную величину аэрозолей во второй фазе и подавлять мощность, которая потребляется во второй фазе.
[0348] Мощность, которая подается из источника 4 питания в нагрузку 3 в первой фазе, может превышать мощность, которая подается из источника 4 питания в нагрузку 3 во второй фазе, в которой температура нагрузки или средняя температура нагрузки выше, чем в первой фазе. Таким образом, мощность, которая потребляется в первой фазе, превышает мощность, которая потребляется во второй фазе, так что можно быстро формировать аэрозоли в первой фазе, стабильно формировать предпочтительную величину аэрозолей во второй фазе и подавлять мощность, которая потребляется во второй фазе.
[0349] Темп увеличения температуры нагрузки 3 во второй фазе может быть ниже темпа увеличения температуры нагрузки 3 в первой фазе, и число условий окончания второй фазы при удовлетворении может превышать число условий окончания первой фазы при удовлетворении. В силу этого, можно стабильно завершать формирование аэрозолей.
[0350] Темп увеличения температуры нагрузки 3 во второй фазе может быть ниже темпа увеличения температуры нагрузки 3 в первой фазе, и число условий окончания, которые должны удовлетворяться таким образом, чтобы завершать вторую фазу, может превышать число условий окончания, которые должны удовлетворяться таким образом, чтобы завершать первую фазу. В силу этого, поскольку конец второй фазы более тщательно определяется, можно в достаточной степени обеспечивать время, в течение которого вторая фаза выполняется, за счет этого формируя большую величину аэрозолей из изделия 9 для формирования аэрозоля.
[0351] Температура или средняя температура нагрузки 3 во второй фазе может быть выше температуры или средней температуры нагрузки 3 в первой фазе, и число условий окончания второй фазы при удовлетворении может превышать число условий окончания первой фазы при удовлетворении. В силу этого, можно стабильно завершать формирование аэрозолей.
[0352] Температура или средняя температура нагрузки 3 во второй фазе может быть выше температуры или средней температуры нагрузки 3 в первой фазе, и число условий окончания, которые должны удовлетворяться таким образом, чтобы завершать вторую фазу, может превышать число условий окончания, которые должны удовлетворяться таким образом, чтобы завершать первую фазу. В силу этого, поскольку конец второй фазы более тщательно определяется, можно в достаточной степени обеспечивать время, в течение которого вторая фаза выполняется, за счет этого формируя большую величину аэрозолей из изделия 9 для формирования аэрозоля.
[0353] Несколько фаз включают в себя первую фазу и вторую фазу, в которой темп увеличения температуры нагрузки 3 ниже, чем в первой фазе, и число переменных, которые получаются посредством блока 8 управления перед выполнением первой фазы или перед увеличением температуры нагрузки 3 в первой фазе и используются при управлении для мощности, которая подается из источника 4 питания в нагрузку 3 в первой фазе, может превышать число переменных, которые получаются посредством блока 8 управления перед выполнением второй фазы или перед увеличением температуры нагрузки 3 во второй фазе и используются при управлении для мощности, которая подается из источника 4 питания в нагрузку 3 во второй фазе. В силу этого, настройки окружающей среды в начале фазы увеличиваются в фазе, в которой темп увеличения температуры является более высоким, так что можно увеличивать температуры нагрузки 3 и изделия 9 для формирования аэрозоля более стабильно и более быстро.
[0354] Несколько фаз включают в себя фазу, в которой темп увеличения температуры нагрузки 3 является наименьшим, и блок 8 управления может не получать переменные, которые используются при управлении для мощности, которая подается из источника 4 питания в нагрузку 3 в наименьшей фазе, перед выполнением наименьшей фазы или перед увеличением температуры нагрузки 3 в наименьшей фазе, либо может не выполнять управление для мощности, которая подается из источника 4 питания в нагрузку 3 в наименьшей фазе, на основе переменных, полученных перед выполнением наименьшей фазы или перед увеличением температуры нагрузки 3 в наименьшей фазе. В силу этого, поскольку можно опускать обнаружение переменных для фазы, в которой темп увеличения температуры является наименьшим, можно быстро выполнять фазу, в которой темп увеличения температуры является наименьшим. Кроме того, можно упрощать управление для фазы, в которой темп увеличения температуры является наименьшим.
[0355] Несколько фаз включают в себя первую фазу и вторую фазу, в которой температура или средняя температура нагрузки 3 выше, чем в первой фазе, и число переменных, которые получаются посредством блока 8 управления перед выполнением первой фазы или перед увеличением температуры нагрузки 3 в первой фазе и используются при управлении для мощности, которая подается из источника 4 питания в нагрузку 3 в первой фазе, может превышать число переменных, которые получаются посредством блока 8 управления перед выполнением второй фазы или перед увеличением температуры нагрузки 3 во второй фазе и используются при управлении для мощности, которая подается из источника 4 питания в нагрузку 3 во второй фазе. В силу этого, настройки окружающей среды в начале фазы увеличиваются в фазе, в которой темп увеличения температуры является более высоким, так что можно увеличивать температуры нагрузки 3 и изделия 9 для формирования аэрозоля более стабильно и более быстро.
[0356] Несколько фаз включают в себя фазу, в которой температура или средняя температура нагрузки 3 является наибольшей, и блок 8 управления может не получать переменные, которые используются при управлении для мощности, которая подается из источника 4 питания в нагрузку 3 в наибольшей фазе, перед выполнением наибольшей фазы или перед увеличением температуры нагрузки 3 в наибольшей фазе, либо может не выполнять управление для мощности, которая подается из источника 4 питания в нагрузку 3 в наибольшей фазе, на основе переменных, полученных перед выполнением наибольшей фазы или перед увеличением температуры нагрузки 3 в наибольшей фазе. В силу этого, поскольку можно опускать обнаружение переменных для фазы, в которой температура или средняя температура является наибольшей, можно быстро выполнять фазу, в которой температура или средняя температура является наибольшей. Кроме того, можно упрощать управление для фазы, в которой температура или средняя температура является наибольшей.
[0357] Темп увеличения температуры нагрузки 3 во второй фазе может быть ниже темпа увеличения температуры нагрузки 3 в первой фазе, и число изменений переменных и/или алгоритмов, которые используются при управлении для второй фазы в ходе выполнения управления второй фазы, может превышать число изменений переменных и/или алгоритмов, которые используются при управлении для первой фазы в ходе выполнения управления первой фазы. В силу этого, число изменений в течение фазы увеличивается в фазе, в которой темп увеличения температуры нагрузки 3 является более низким, так что температуры нагрузки 3 и изделия 9 для формирования аэрозоля могут более существенно управляться для того, чтобы стабильно формировать аэрозоли.
[0358] В данном документе, изменение переменных, которые используются при управлении, включает в себя, например, изменение одной переменной на другую переменную и изменение значения, сохраненного в переменной.
[0359] Изменение алгоритма включает в себя, например, изменение одного алгоритма на другой алгоритм, изменение функции, обработки и переменной, которые используются в алгоритме, изменение части функции и изменение части обработки.
[0360] Блок 8 управления может быть выполнен с возможностью не изменять переменную и/или алгоритм, который используется при управлении для фазы из нескольких фаз, в которой темп увеличения температуры нагрузки 3 является наибольшим, в ходе выполнения управления наибольшей фазы. В силу этого, можно опускать обнаружение переменных для фазы, в которой темп увеличения температуры является наибольшим, и упрощать управление для фазы, в которой темп увеличения температуры является наибольшим.
[0361] Температура или средняя температура нагрузки 3 во второй фазе может быть выше температуры или средней температуры нагрузки 3 в первой фазе, и число изменений переменных и/или алгоритмов, которые используются при управлении для второй фазы в ходе выполнения управления второй фазы, может превышать число изменений переменных и/или алгоритмов, которые используются при управлении для первой фазы в ходе выполнения управления первой фазы. В силу этого, число изменений в течение фазы увеличивается в фазе, в которой температура или средняя температура нагрузки 3 является более высокой, так что температуры нагрузки 3 и изделия 9 для формирования аэрозоля могут более существенно управляться для того, чтобы стабильно формировать аэрозоли.
[0362] Блок 8 управления может быть выполнен с возможностью не изменять переменную и/или алгоритм, который используется при управлении для фазы из нескольких фаз, в которой температура или средняя температура нагрузки 3 является наименьшей, в ходе выполнения управления наименьшей фазы. В силу этого, поскольку можно опускать обнаружение переменных для фазы, в которой температура или средняя температура является наименьшей, можно быстро выполнять фазу, в которой температура или средняя температура является наименьшей. Кроме того, можно упрощать управление для фазы, в которой температура или средняя температура является наименьшей.
[0363] Темп увеличения температуры нагрузки 3 во второй фазе может быть ниже темпа увеличения температуры нагрузки 3 в первой фазе, блок 8 управления может быть выполнен с возможностью обнаруживать вдыхание аэрозолей, сформированных из изделия 9 для формирования аэрозоля, и ширина увеличения мощности, которая подается из источника 4 питания в нагрузку 3 в соответствии с вдыханием, обнаруженным во второй фазе, может задаваться превышающей ширину увеличения мощности, которая подается из источника 4 питания в нагрузку 3 в соответствии с вдыханием, обнаруженным в первой фазе. В силу этого, температура может восстанавливаться с большей шириной увеличения относительно снижения температуры вследствие вдыхания в фазе, в которой темп увеличения температуры нагрузки 3 является более низким, так что можно подавлять понижение величины формирования аэрозоля и температуры нагрузки 3 вследствие вдыхания.
[0364] Температура или средняя температура нагрузки 3 во второй фазе может быть выше температуры или средней температуры нагрузки 3 в первой фазе, блок 8 управления может быть выполнен с возможностью обнаруживать вдыхание аэрозолей, сформированных из изделия 9 для формирования аэрозоля, и ширина увеличения мощности, которая подается из источника 4 питания в нагрузку 3 в соответствии с вдыханием, обнаруженным во второй фазе, может задаваться превышающей ширину увеличения мощности, которая подается из источника 4 питания в нагрузку 3 в соответствии с вдыханием, обнаруженным в первой фазе. В силу этого, температура может восстанавливаться с большей шириной увеличения относительно снижения температуры вследствие вдыхания в фазе, в которой температура или средняя температура нагрузки 3 является более высокой, так что можно подавлять понижение величины формирования аэрозоля и температуры нагрузки 3 вследствие вдыхания.
[0365] Блок 8 управления может быть выполнен с возможностью получать степень протекания, на основе различных переменных, для каждой из нескольких фаз. Таким образом, переменная, соответствующая степени протекания, изменяется для каждой фазы, так что можно распознавать протекание фазы более надлежащим образом.
[0366] Блок 8 управления может быть выполнен с возможностью получать степень протекания фазы из нескольких фаз, в которой темп увеличения температуры нагрузки 3 является наибольшим, на основе времени. Таким образом, можно подавлять перегрев нагрузки 3 посредством временного определения степени протекания фазы, в которой темп увеличения температуры является высоким.
[0367] Блок 8 управления может быть выполнен с возможностью получать степень протекания фазы из нескольких фаз, в которой температура или средняя температура нагрузки 3 является наименьшей, на основе времени. Таким образом, можно подавлять перегрев нагрузки 3 посредством временного определения степени протекания фазы, в которой температура или средняя температура нагрузки 3 является наименьшей.
[0368] Блок 8 управления может быть выполнен с возможностью обнаруживать вдыхание аэрозолей, сформированных из изделия 9 для формирования аэрозоля, и получать степень протекания фазы из нескольких фаз, в которой темп увеличения температуры нагрузки 3 является наименьшим, на основе температуры нагрузки 3 или вдыхания. Таким образом, степень протекания определяется на основе температуры нагрузки 3 или вдыхания таким образом, что степень протекания фазы может определяться на основе результата формирования аэрозоля изделия 9 для формирования аэрозоля. Следовательно, можно формировать большую величину аэрозолей из изделия 9 для формирования аэрозоля.
[0369] Блок 8 управления может быть выполнен с возможностью обнаруживать вдыхание аэрозолей, сформированных из изделия 9 для формирования аэрозоля, и получать степень протекания фазы из нескольких фаз, в которой температура или средняя температура нагрузки 3 является наибольшей, на основе температуры нагрузки 3 или вдыхания. Таким образом, степень протекания определяется на основе температуры нагрузки 3 или вдыхания в фазе, в которой температура или средняя температура является наибольшей, так что степень протекания фазы может определяться на основе результата формирования аэрозоля изделия 9 для формирования аэрозоля. Следовательно, можно формировать большую величину аэрозолей из изделия 9 для формирования аэрозоля.
[0370] Блок 8 управления может быть выполнен с возможностью выполнять управление с обратной связью в нескольких фазах, в которых целевые температуры отличаются, и задавать, по меньшей мере, одно из усиления при управлении с обратной связью и верхнего предельного значения мощности, которая подается из источника 4 питания в нагрузку 3, отличающимся в каждой из нескольких фаз. Режимы управления в нескольких фазах, связанных с нагревом, отличаются, так что режим управления, имеющий характеристику, подходящую для фазы, может использоваться, и температуры нагрузки 3 и изделия 9 для формирования аэрозоля, которое нагревается посредством нагрузки 3, могут более существенно управляться. Следовательно, даже для изделия 9 для формирования аэрозоля, имеющего сложную конструкцию, можно существенно управлять аэрозолями, которые должны формироваться.
[0371] В третьем варианте осуществления, фаза использования может дополнительно разделяться на несколько фаз, и несколько фаз могут включать в себя первую фазу и вторую фазу.
[0372] В этом случае, целевая температура первой фазы может быть ниже целевой температуры второй фазы, и, по меньшей мере, одно из усиления и верхнего предельного значения, которые используются в первой фазе посредством блока 8 управления, может задаваться превышающим, по меньшей мере, одно из усиления и верхнего предельного значения, которые используются во второй фазе посредством блока 8 управления. В силу этого, по меньшей мере, одно из усиления и верхнего предельного значения может увеличиваться в фазе, в которой целевая температура является более низкой. Кроме того, в первой фазе, темп увеличения температуры нагрузки 3 может существенно управляться согласно целевой температуре посредством управления с обратной связью вместо управления с прямой связью.
[0373] Ширина изменения температуры нагрузки 3 в первой фазе может превышать ширину изменения температуры нагрузки 3 во второй фазе, и, по меньшей мере, одно из усиления и верхнего предельного значения, которые используются в первой фазе посредством блока 8 управления, может задаваться превышающим, по меньшей мере, одно из усиления и верхнего предельного значения, которые используются во второй фазе посредством блока 8 управления. В силу этого, по меньшей мере, одно из усиления и верхнего предельного значения может увеличиваться в фазе, в которой ширина изменения температуры нагрузки 3 является более высокой. Кроме того, в первой фазе, темп увеличения температуры нагрузки 3 может существенно управляться согласно целевой температуре посредством управления с обратной связью вместо управления с прямой связью.
[0374] Целевая температура второй фазы может быть выше целевой температуры первой фазы, и ширина изменения, по меньшей мере, одного из усиления и верхнего предельного значения, которые используются в первой фазе посредством блока 8 управления, может задаваться меньше ширины изменения, по меньшей мере, одного из усиления и верхнего предельного значения, которые используются во второй фазе посредством блока 8 управления. В силу этого, ширина изменения, по меньшей мере, одного из усиления и верхнего предельного значения может увеличиваться в фазе, в которой целевая температура является более высокой. Кроме того, в первой фазе, темп увеличения температуры нагрузки 3 может существенно управляться согласно целевой температуре посредством управления с обратной связью вместо управления с прямой связью.
[0375] Ширина изменения температуры нагрузки 3 во второй фазе может быть меньше ширины изменения температуры нагрузки 3 в первой фазе, и ширина изменения, по меньшей мере, одного из усиления и верхнего предельного значения, которые используются в первой фазе посредством блока 8 управления, может задаваться меньше, по меньшей мере, одного из усиления и верхнего предельного значения, которые используются во второй фазе посредством блока 8 управления. В силу этого, ширина изменения, по меньшей мере, одного из усиления и верхнего предельного значения может увеличиваться в фазе, в которой ширина изменения температуры нагрузки 3 является меньшей. Кроме того, в первой фазе, темп увеличения температуры нагрузки 3 может существенно управляться согласно целевой температуре посредством управления с обратной связью вместо управления с прямой связью.
[0376] Блок 8 управления может быть выполнен с возможностью изменять, по меньшей мере, одно из целевой температуры, усиления и верхнего предельного значения мощности второй фазы, на основе степени протекания первой фазы. В силу этого, можно изменять значение переменной последующей фазы, на основе степени протекания более ранней фазы. Следовательно, плавное переключение из более ранней фазы в последующую фазу является возможным.
[0377] Блок 8 управления может быть выполнен с возможностью выполнять управление с обратной связью в нескольких фазах и задавать различные усиления при управлении с обратной связью в каждой из нескольких фаз. В силу этого, можно выполнять соответствующее управление в каждой фазе посредством управления с обратной связью.
[0378] Разнообразные виды управления посредством блока 8 управления также могут реализовываться, когда блок 8 управления выполняет программу.
[0379] Фиг. 29 является таблицей, показывающей сравнение фазы подготовки и фазы использования, которые выполняются посредством блока управления в соответствии с третьим вариантом осуществления. Как описано выше, фаза подготовки представляет собой, например, фазу, соответствующую состоянию подготовки, в котором нагрузка 3 не может формировать предварительно определенную величину или более аэрозолей из изделия 9 для формирования аэрозоля. Кроме того, фаза использования представляет собой, например, фазу, соответствующую состоянию использования, в котором нагрузка 3 может формировать предварительно определенную величину или более аэрозолей из изделия 9 для формирования аэрозоля. Следовательно, чтобы формировать аэрозоли из изделия 9 для формирования аэрозоля, для блока 8 управления необходимо сдвигать фазу, которая должна выполняться по порядку, из фазы подготовки в фазу использования.
[0380] Как описано в первом варианте осуществления, режим управления, который используется в фазе подготовки, представляет собой управление с прямой связью. Условие окончания фазы подготовки заключается, например, в том, что предварительно определенное время истекает с момента начала фазы подготовки.
[0381] В фазе подготовки, нагрузка 3 в состоянии подготовки переключается в состояние использования, и аэрозоли быстро формируются из изделия 9 для формирования аэрозоля. Следовательно, время выполнения фазы подготовки меньше времени выполнения фазы использования.
[0382] Фаза подготовки предоставляется таким образом, чтобы переключать нагрузку 3 в состоянии подготовки в состояние использования. В фазе подготовки, формирование аэрозолей не требуется, и потребление мощности в единицу времени в фазе подготовки превышает потребление мощности в единицу времени в фазе использования. Между тем, поскольку фаза подготовки предпочтительно выполняется только в течение короткого времени, общая величина потребления мощности в течение всей фазе подготовки меньше общей величины потребления мощности в течение всей фазы использования.
[0383] При управлении с прямой связью, которое используется в фазе подготовки, затруднительно отражать состояние цели управления при управлении в ходе выполнения управления. Следовательно, в фазе подготовки, как описано выше, настройка окружающей среды для изменения характеристики управления может выполняться на основе измеренного значения температуры в начале фазы подготовки, скорости заряда источника 4 питания и т.п. Посредством настройки окружающей среды, состояние нагрузки 3 и/или изделия 9 для формирования аэрозоля в конце фазы подготовки может задаваться однородным.
[0384] В фазе подготовки, управляющая переменная (управляющий параметр) или функция управления может изменяться или может не изменяться относительно предварительно определенного значения или функции перед выполнением фазы.
[0385] Фаза подготовки предоставляется таким образом, чтобы переключать нагрузку 3 в состоянии подготовки в состояние использования. В фазе подготовки, формирование аэрозолей не требуется, и вдыхание пользователем устройства 1 формирования аэрозоля не предполагается в фазе подготовки. Следовательно, в фазе подготовки, восстановление снижения температуры вследствие вдыхания пользователя не выполняется.
[0386] Фаза подготовки предпочтительно выполняется только в течение короткого времени для своей цели. Следовательно, в качестве входного параметра управления с прямой связью, которое выполняется в фазе подготовки, используется значение t таймера, т.е. время работы. Время работы, которое увеличивается надежно во времени, используется в качестве входного параметра, так что фаза подготовки может надежно протекать, чтобы сокращать время работы в максимально возможной степени.
[0387] Изменение измеренного значения температуры (температурного профиля) в фазе подготовки показывает более линейный тренд увеличения, поскольку оно переключает нагрузку 3 из состояния подготовки в состояние ожидания за максимально возможно короткое время.
[0388] Напротив, как описано во втором варианте осуществления, режим управления, который используется в фазе использования, представляет собой управление с обратной связью, и управление с прямой связью также может частично использоваться.
[0389] Поскольку одна из целей фазы использования состоит в том, чтобы формировать большую величину аэрозолей из изделия 9 для формирования аэрозоля, необходимо более тщательно проектировать условие касательно того, следует или нет завершать фазу использования. Следовательно, в качестве условия окончания фазы использования, например, используется истечение предварительно определенного времени, достижение предварительно определенной температуры либо истечение предварительно определенного времени и достижение предварительно определенной температуры.
[0390] Фаза использования используется таким образом, чтобы формировать большую величину аэрозолей из изделия 9 для формирования аэрозоля. Следовательно, период времени выполнения фазы использования превышает период времени выполнения фазы подготовки.
[0391] Нагрузка 3 уже находится в состоянии использования при выполнении фазы использования. Следовательно, поскольку необязательно значительно увеличивать температуру нагрузки 3 в фазе использования, по сравнению с фазой подготовки, величина мощности, которая используется в фазе использования, меньше величины мощности, которая используется в фазе подготовки, и потребление мощности в фазе использования меньше потребления мощности в фазе подготовки. Между тем, поскольку необходимо формировать много аэрозолей из изделия 9 для формирования аэрозоля в фазе использования, общая величина мощности в течение всей фазы использования превышает общую величину мощности в фазе подготовки. Поскольку управление с обратной связью главным образом выполняется в фазе использования, настройка окружающей среды в начале фазы использования может не требоваться, или измеренное значение температуры в конце фазы подготовки может использоваться в качестве температуры окружающей среды.
[0392] В фазе использования, например, управляющая переменная, такая как усиление может изменяться, чтобы существенно управлять температурой нагрузки 3 и/или температурой изделия 9 для формирования аэрозоля.
[0393] В фазе использования, поскольку необходимо стабилизировать аэрозоли, которые формируются из изделия 9 для формирования аэрозоля, выполняется восстановление снижения температуры вследствие вдыхания.
[0394] При выполнении управления с прямой связью в фазе использования, входной параметр управления с прямой связью в фазе использования может представлять собой, например, любое из значения t таймера, измеренного значения температуры и профиля затяжки либо комбинации вышеозначенного. Поскольку необходимо формировать большую величину аэрозолей из изделия 9 для формирования аэрозоля в фазе использования, необходимо более существенно управлять температурами нагрузки 3 и изделия 9 для формирования аэрозоля. Следовательно, следует отметить, что измеренное значение температуры или профиль затяжки, который увеличивается только тогда, когда фаза протекает, может использоваться в качестве входного параметра управления с прямой связью.
[0395] Поскольку температура нагрузки 3 управляется в фазе использования таким образом, что позиция формирования аэрозоля изделия 9 для формирования аэрозоля изменяется во времени, температура нагрузки 3 изменяется на кривой в фазе использования.
[0396] В третьем варианте осуществления, как описано выше, управление с прямой связью выполняется в фазе подготовки, и управление с обратной связью выполняется в фазе использования таким образом, что аэрозоли формируются. Следовательно, например, по сравнению со случаем, в котором используется только управление с обратной связью, можно повышать удобство для пользователя, который вдыхает аэрозоли, чтобы повышать эффективность по мощности и стабильно формировать аэрозоли.
[0397] Четвертый вариант осуществления
В четвертом варианте осуществления, описывается случай, в котором мощность, которая подается в нагрузку 3, управляется с использованием большего значения из значения операции, полученного в качестве результата управления с обратной связью в фазе использования, и предварительно определенного значения. Посредством управления, например, можно подавлять снижение температуры нагрузки 3, которое возникает после переключения из фазы подготовки в фазу использования.
[0398] Блок 8 управления в соответствии с четвертым вариантом осуществления выполнен с возможностью, например, определять мощность, которая подается из источника 4 питания в нагрузку 3, на основе сравнения между значением операции, полученным при управлении с обратной связью, и предварительно определенным значением. Например, предварительно определенное значение может представлять собой минимальное гарантированное значение. В силу этого, по сравнению со случаем, в котором отсутствует минимальное гарантированное значение, можно подавлять резкое падение температур нагрузки 3 и изделия 9 для формирования аэрозоля.
[0399] Блок 8 управления также может быть выполнен с возможностью определять мощность, которая подается из источника 4 питания в нагрузку 3, на основе большего значения из значения операции и предварительно определенного значения. В силу этого, можно предотвращать ситуацию, когда мощность, которая подается в нагрузку 3, управляется на основе значения, меньшего предварительно определенного значения, и в силу этого температуры нагрузки 3 и изделия 9 для формирования аэрозоля резко падают.
[0400] Блок 8 управления может быть выполнен с возможностью управлять мощностью, которая подается из источника 4 питания в нагрузку 3 в нескольких фазах, несколько фаз могут включать в себя первую фазу и вторую фазу, которая выполняется после первой фазы, и предварительно определенное значение, которое используется во второй фазе, может определяться на основе мощности, которая подается из источника 4 питания в нагрузку 3 в первой фазе. Таким образом, предварительно определенное значение, которое используется во второй фазе, определяется на основе мощности, используемой в первой фазе, так что можно подавлять снижение температур нагрузки 3 и изделия 9 для формирования аэрозоля после переключения из первой фазы во вторую фазу.
[0401] Предварительно определенное значение, которое используется во второй фазе, также может определяться на основе значения, связанного с мощностью, которая в итоге определяется в первой фазе. Таким образом, предварительно определенное значение, которое используется во второй фазе, определяется на основе значения, связанного с мощностью, которая в итоге определяется в первой фазе, так что можно эффективно подавлять снижение температур нагрузки 3 и изделия 9 для формирования аэрозоля после переключения из первой фазы во вторую фазу.
[0402] Блок 8 управления может быть выполнен с возможностью выполнять управление с обратной связью таким образом, что температура нагрузки 3 постепенно увеличивается, и предварительно определенное значение может изменяться с увеличением температуры нагрузки 3. В этом случае, поскольку минимальное гарантированное значение изменяется по мере того, как фаза протекает, можно использовать соответствующее минимальное гарантированное значение, соответствующее протеканию фазы. Следовательно, даже когда фаза протекает, можно подавлять резкое падение температуры нагрузки 3.
[0403] Блок 8 управления также может быть выполнен с возможностью выполнять управление с обратной связью таким образом, что значение операции постепенно увеличивается, и предварительно определенное значение может изменяться с увеличением температуры нагрузки 3. В силу этого, даже когда фаза протекает, и температура нагрузки 3 увеличивается, можно подавлять резкое падение температуры нагрузки 3 посредством использования соответствующего минимального гарантированного значения, соответствующего протеканию фазы.
[0404] Блок 8 управления также может быть выполнен с возможностью постепенно увеличивать усиление при управлении с обратной связью. В силу этого, можно увеличивать значение операции по мере того, как фаза протекает. Следовательно, поскольку можно увеличивать температуру нагрузки 3 и/или изделия 9 для формирования аэрозоля согласно протеканию фазы, можно стабильно формировать аэрозоли из изделия 9 для формирования аэрозоля в течение всей фазы использования, как описано во втором варианте осуществления.
[0405] Блок 8 управления также может быть выполнен с возможностью постепенно увеличивать верхний предел мощности, которая подается из источника 4 питания в нагрузку 3 при управлении с обратной связью. В силу этого, можно увеличивать значение операции по мере того, как фаза протекает. Следовательно, поскольку можно увеличивать температуру нагрузки 3 и/или изделия 9 для формирования аэрозоля согласно протеканию фазы, можно стабильно формировать аэрозоли из изделия 9 для формирования аэрозоля в течение всей фазы использования, как описано во втором варианте осуществления.
[0406] Предварительно определенное значение может постепенно снижаться. В этом случае, можно уменьшать минимальное гарантированное значение с протеканием фазы. В частности, когда минимальное гарантированное значение предоставляется таким образом, чтобы подавлять снижение температуры нагрузки 3, которое возникает после переключения из фазы подготовки в фазу использования, необходимость предоставлять минимальное гарантированное значение снижается с протеканием фазы. Следовательно, можно уменьшать влияние минимального гарантированного значения на управление с протеканием фазы.
[0407] Блок 8 управления может быть выполнен с возможностью изменять предварительно определенное значение до нуля в ходе выполнения управления с обратной связью. В этом случае, можно подавлять влияние минимального гарантированного значения на управление, которое не требуется по мере того, как фаза протекает, как описано выше.
[0408] В данном документе, изменение предварительно определенного значения до нуля включает в себя временное изменение предварительно определенного значения до нуля.
[0409] Блок 8 управления может снижать предварительно определенное значение, когда обнаруживается перерегулирование, при котором за предварительно определенное время температура нагрузки 3 изменяется на пороговое значение или больше. Таким образом, когда перерегулирование температуры нагрузки 3 обнаруживается, минимальное гарантированное значение снижается, чтобы уменьшать влияние минимального гарантированного значения на значение операции, полученное посредством управления с обратной связью, которое выполняется посредством блока 8 управления. Следовательно, можно заблаговременно разрешать перерегулирование.
[0410] Когда перерегулирование разрешается, блок 8 управления может возвращать предварительно определенное значение к значению до того, как обнаруживается перерегулирование. В силу этого, можно возвращать минимальное гарантированное значение, на основе разрешения перерегулирования, и подавлять резкое падение температур нагрузки 3 и изделия 9 для формирования аэрозоля после того, как перерегулирование разрешается.
[0411] Предварительно определенное значение может определяться в качестве значения или больше, необходимого для того, чтобы поддерживать температуру нагрузки 3. В силу этого, минимальное гарантированное значение определяется таким образом, что температура нагрузки 3 не снижается, так что можно подавлять снижение температур нагрузки 3 и изделия 9 для формирования аэрозоля.
[0412] Блок 8 управления также может быть выполнен с возможностью определять или корректировать предварительно определенное значение, на основе температуры нагрузки 3. В силу этого, поскольку минимальное гарантированное значение определяется или корректируется на основе температуры нагрузки 3, минимальное гарантированное значение становится значением, которое отражает состояние нагрузки 3, по сравнению со случаем, в котором минимальное гарантированное значение не определяется или корректируется. Следовательно, можно подавлять снижение температуры нагрузки 3.
[0413] Блок 8 управления также может быть выполнен с возможностью определять или корректировать предварительно определенное значение таким образом, что абсолютное значение разности между температурой нагрузки 3 и предварительно определенной температурой не увеличивается. В силу этого, поскольку минимальное гарантированное значение определяется или корректируется таким образом, что разность между предварительно определенной температурой и температурой нагрузки 3 не увеличивается, минимальное гарантированное значение становится значением, которое отражает протекание фазы использования, по сравнению со случаем, в котором минимальное гарантированное значение не определяется или корректируется. Следовательно, можно подавлять снижение температуры нагрузки 3.
[0414] Блок 8 управления также может быть выполнен с возможностью получать температуру нагрузки 3, управлять мощностью, которая подается из источника 4 питания в нагрузку 3 посредством управления с обратной связью, на основе разности между температурой нагрузки 3 и предварительно определенной температурой и корректировать значение операции, полученное при управлении с обратной связью таким образом, чтобы подавлять снижение температуры нагрузки 3. В силу этого, значение операции корректируется до значения, которое отражает температуру нагрузки 3, которая представляет собой значение управления для управления с обратной связью, которое выполняется посредством блока 8 управления. Следовательно, даже когда небольшое значение операции получается при управлении с обратной связью, можно эффективно подавлять резкое падение температуры нагрузки 3.
[0415] Разнообразные виды управления посредством блока 8 управления также могут реализовываться, когда блок 8 управления выполняет программу.
[0416] Пример 4A
Фиг. 30 является блок-схемой управления, иллюстрирующей пример управления, которое выполняется посредством блока 8 управления в соответствии с примером 4A.
[0417] Блок 15 сравнения, предоставленный в блоке 8 управления в соответствии с примером 4A, сравнивает значение операции, полученное в качестве результата управления с обратной связью, и предварительно определенное значение и выводит большее значение в фазе использования.
[0418] Предварительно определенное значение, например, представляет собой минимальное гарантированное значение для значения команды управления скважностью, указывающего скважность импульсов, связанную с мощностью, которая подается в нагрузку 3. В качестве предварительно определенного значения, например, скважность импульсов в конце фазы подготовки может использоваться в качестве значения, связанного с входной мощностью фазы подготовки.
[0419] В дальнейшем более конкретно описывается блок 15 сравнения. В блок 15 сравнения вводится значение параметра скважности из блока 14 ограничителя и минимальное гарантированное значение в фазе использования. Блок 15 сравнения сравнивает значение параметра скважности и минимальное гарантированное значение и получает большее значение в качестве значения команды управления скважностью. Блок 8 управления управляет мощностью, которая подается в нагрузку 3, на основе значения команды управления скважностью. Между тем, значение команды управления скважностью может применяться к переключателю 25, предоставленному между источником 4 питания и нагрузкой 3, или может применяться к преобразователю постоянного тока в постоянный, предоставленному между источником 4 питания и нагрузкой 3.
[0420] Фиг. 31 является блок-схемой последовательности операций способа, иллюстрирующей пример обработки в фазе использования посредством блока 8 управления в соответствии с примером 4A.
[0421] Обработка от этапа S3101 до этапа S3106 является идентичной обработке от этапа S1901 до этапа S1906 на фиг. 19.
[0422] На этапе S3107, блок 15 сравнения блока 8 управления определяет то, равна или выше либо нет скважность Dcmdd импульсов, указываемая посредством значения параметра скважности, вводимого из блока 14 ограничителя, минимального гарантированного значения.
[0423] Когда определяется то, что скважность Dcmdd импульсов равна или выше минимального гарантированного значения (результат определения на этапе S3107 является утвердительным), блок 8 управления управляет мощностью, которая подается в нагрузку 3, на основе значения команды управления скважностью, указывающего скважность Dcmdd импульсов, на этапе S3108, и после этого обработка возвращается к этапу S3101.
[0424] Когда определяется то, что скважность Dcmdd импульсов не равна или превышает минимальное гарантированное значение (результат определения на этапе S3107 является отрицательным), блок 8 управления управляет мощностью, которая подается в нагрузку 3, на основе минимального гарантированного значения, на этапе S3109, и после этого обработка возвращается к этапу S3101.
[0425] В дальнейшем описываются функциональные преимущества примера 4A, описанного выше.
[0426] Например, чтобы предотвращать некомфортное ощущение пользователя, устройство 1 формирования аэрозоля, выполненное с возможностью нагревать изделие 9 для формирования аэрозоля для формирования аэрозоля, управляет мощностью, которая подается в нагрузку 3, таким образом, что аэрозоли, сформированные посредством нагрева, не варьируются в значительной степени. Как описано выше, управление для мощности, которая подается в нагрузку 3, предпочтительно выполняется, например, в нескольких фазах, к примеру, в фазе подготовки и фазе использования. В качестве примера, как описано в первом варианте осуществления и во втором варианте осуществления, блок 8 управления выполняет фазу использования после фазы подготовки, так что можно достигать как раннего формирования аэрозоля посредством устройства 1 формирования аэрозоля, так и стабильного формирования аэрозоля в дальнейшем.
[0427] Кроме того, при управлении для переключения из одной фазы в другую фазу, предпочтительно подавлять резкое изменение температуры нагрузки 3 при сдвиге фаз. В частности, когда виды управления, используемые до и после сдвига, отличаются в большей степени, время переключения из одной фазы в другую фазу становится переходным периодом управления. Следовательно, можно сказать, что температура нагрузки 3, которая представляет собой общую величину управления, с большой вероятностью должна варьироваться через несколько фаз.
[0428] В примере 4A, при сдвиге фаз, управляющий параметр, используемый в фазе до сдвига, используется в качестве минимального гарантированного значения. Следовательно, по сравнению со случаем, в котором минимальное гарантированное значение не используется, можно подавлять резкое изменение температур нагрузки 3 и изделия 9 для формирования аэрозоля при сдвиге фаз.
[0429] Пример 4B
В примере 4B, описывается управление надлежащим подавлением перерегулирования, даже когда возникает перерегулирование, т.е. резкое увеличение температуры нагрузки 3.
[0430] Фиг. 32 является графиком, иллюстрирующим пример состояния формирования перерегулирования температуры нагрузки 3. На фиг. 32, предполагается, что минимальное гарантированное значение является постоянным.
[0431] Температура нагрузки 3 постепенно увеличивается по мере того, как значение t таймера, которое представляет собой пример индекса, указывающего степень протекания фазы в фазе использования, увеличивается, т.е. во времени.
[0432] Ширина ограничителя увеличивается пошагово по мере того, как значение t таймера увеличивается.
[0433] Блок 12 усиления получает скважность импульсов, на основе разности между измеренным значением температуры и температурой окончания фазы использования.
[0434] Блок 14 ограничителя получает скважность импульсов в пределах диапазона ширины ограничителя, на основе скважности импульсов, полученной посредством блока 12 усиления, и получает значение параметра скважности, указывающее скважность импульсов в пределах диапазона ширины ограничителя. Поскольку ширина ограничителя увеличивается пошагово, скважность импульсов, указываемая посредством значения параметра скважности, также может увеличиваться пошагово.
[0435] Когда возникает перерегулирование температуры нагрузки 3 в фазе использования, блок 8 управления снижает значение команды управления скважностью таким образом, чтобы подавлять перерегулирование. Например, когда температура нагрузки 3 превышает немедленно температуру окончания фазы использования при управлении с обратной связью, блок 8 управления понижает температуру нагрузки 3, которая представляет собой значение управления, посредством снижения скважности импульсов, которая представляет собой значение операции. Тем не менее, поскольку скважность импульсов, указываемая посредством значения команды управления скважностью, не опускается ниже минимального гарантированного значения, имеется вероятность того, что температура нагрузки 3 восстанавливается в недостаточной степени.
[0436] Следовательно, в примере 4B, минимальное гарантированное значение постепенно уменьшается согласно степени протекания фазы использования, на основе входного параметра, включающего в себя, по меньшей мере, одно из значения t таймера, температуры нагрузки 3 и профиля затяжки, так что температура нагрузки 3 может надлежащим образом восстанавливаться, даже когда возникает перерегулирование температуры нагрузки 3. Минимальное гарантированное значение предоставляется таким образом, чтобы подавлять резкое изменение температур нагрузки 3 и изделия 9 для формирования аэрозоля, которое может формироваться после переключения из фазы подготовки в фазу использования. Таким образом, когда блок 8 управления выполняет в какой-то момент фазу использования, необходимость предоставлять минимальное гарантированное значение уменьшается. Следовательно, даже когда минимальное гарантированное значение постепенно уменьшается согласно степени протекания фазы использования, блок 8 управления может управлять существенно температурами нагрузки 3 и изделия 9 для формирования аэрозоля.
[0437] Фиг. 33 является блок-схемой управления, иллюстрирующей пример управления, которое выполняется посредством блока 8 управления в соответствии с примером 4B.
[0438] Блок 18 постепенного снижения, предоставленный в блоке 8 управления в соответствии с примером 4B, постепенно снижает минимальное гарантированное значение, указывающее скважность импульсов в конце фазы подготовки, на основе степени протекания фазы использования, указываемой посредством входного параметра, включающего в себя, например, по меньшей мере, одно из значения t таймера, измеренного значения температуры и профиля затяжки. Между тем, одно из значения t таймера, измеренного значения температуры и профиля затяжки, которые используются, когда блок 18 постепенного снижения указывает степень протекания фазы использования, могут быть идентичными или отличающимися от параметров, которые используются, когда блок 13 изменения ограничителя и/или блок 17 изменения усиления указывают степень протекания фазы использования.
[0439] Блок 15 сравнения сравнивает скважность Dcmdd импульсов, обработанную ограничителем посредством блока 14 ограничителя, и минимальное гарантированное значение, снижаемое постепенно посредством блока 18 постепенного снижения, и получает одно из означенного, указывающее большее значение в качестве результата сравнения, в качестве значения команды управления скважностью.
[0440] Фиг. 34 является блок-схемой последовательности операций способа, иллюстрирующей пример обработки в фазе использования посредством блока 8 управления в соответствии с примером 4B.
[0441] Обработка от этапа S3401 до этапа S3406 является идентичной обработке от этапа S1901 до этапа S1906 на фиг. 19.
[0442] На этапе S3407, блок 8 управления получает входной параметр.
[0443] На этапе S3408, блок 18 постепенного снижения блока 8 управления получает минимальное гарантированное значение, снижаемое постепенно, например, на основе входного параметра. Например, когда входной параметр представляет собой значение t таймера, определяется то, что чем больше значение t таймера, тем больше протекает фаза использования, и минимальное гарантированное значение уменьшается. Между тем, блок 18 постепенного снижения может постепенно снижать минимальное гарантированное значение, на основе, по меньшей мере, одного из измеренного значения температуры и профиля затяжки, вместо значения t таймера или вместе со значением t таймера.
[0444] На этапе S3409, блок 15 сравнения блока 8 управления определяет то, равна или выше либо нет обработанная ограничителем скважность Dcmdd импульсов минимального гарантированного значения, снижаемого постепенно.
[0445] Когда определяется то, что скважность Dcmdd импульсов равна или выше минимального гарантированного значения, снижаемого постепенно (результат определения на этапе S3409 является утвердительным), блок 8 управления управляет мощностью, которая подается в нагрузку 3, на основе значения команды управления скважностью, указывающего скважность Dcmdd импульсов, на этапе S3410, и после этого обработка возвращается к этапу S3401.
[0446] Когда определяется то, что скважность Dcmdd импульсов не равна или превышает минимальное гарантированное значение, снижаемое постепенно (результат определения на этапе S3409 является отрицательным), блок 8 управления управляет мощностью, которая подается в нагрузку 3, на основе минимального гарантированного значения, снижаемого постепенно, на этапе S3411, и после этого обработка возвращается к этапу S3401.
[0447] В примере 4B, как описано выше, степень протекания фазы использования определяется на основе входного параметра, включающего в себя, по меньшей мере, одно из значения t таймера, температуры нагрузки 3 и профиля затяжки, и минимальное гарантированное значение постепенно уменьшается по мере того, как степень протекания фазы использования протекает. В силу этого, когда перерегулирование возникает в нагрузке 3, можно в достаточной степени подавлять мощность, которая подается в нагрузку 3, так что можно разрешать перерегулирование быстро и надлежащим образом.
[0448] Пример 4C
Пример 4C представляет собой модифицированный пример для примера 4B. В примере 4C, когда фаза использования протекает, управление выполняется таким образом, что значение параметра скважности используется в качестве значения команды управления скважностью. Другими словами, при управлении примером 4C, минимальное гарантированное значение признается недостоверным или задается равным нулю, на основе входного параметра, или обработка блока 15 сравнения на основе минимального гарантированного значения отменяется.
[0449] Фиг. 35 является блок-схемой управления, иллюстрирующей пример управления, которое выполняется посредством блока 8 управления в соответствии с примером 4C.
[0450] Блок 19 изменения, предоставленный в блоке 8 управления в соответствии с примером 4C, например, переключает минимальное гарантированное значение на нуль либо признает его недостоверным, когда входной параметр, включающий в себя, по меньшей мере, одно из значения t таймера, измеренного значения температуры и профиля затяжки, указывает предварительно определенную степень протекания.
[0451] Когда минимальное гарантированное значение переключается на нуль посредством блока 19 изменения, блок 15 сравнения задает значение параметра скважности, вводимое из блока 14 ограничителя, в качестве значения команды управления скважностью.
[0452] Блок 8 управления управляет мощностью, которая подается в нагрузку 3, на основе значения команды управления скважностью, соответствующего значению параметра скважности.
[0453] Фиг. 36 является блок-схемой последовательности операций способа, иллюстрирующей пример обработки в фазе использования посредством блока 8 управления в соответствии с примером 4C. На фиг. 36, примерно иллюстрируется случай, в котором степень протекания фазы использования определяется с использованием значения t таймера в качестве входного параметра. Тем не менее, степень протекания фазы использования также может определяться с использованием измеренного значения температуры или профиля затяжки.
[0454] Обработка от этапа S3601 до этапа S3606 является идентичной обработке от этапа S1901 до этапа S1906 на фиг. 19.
[0455] На этапе S3607, блок 19 изменения блока 8 управления, например, определяет то, меньше или нет значение t таймера предварительно определенного времени tthre2.
[0456] Когда определяется то, что значение t таймера меньше предварительно определенного времени tthre2 (результат определения на этапе S3607 является утвердительным), блок 15 сравнения блока 8 управления определяет то, равна или выше либо нет обработанная ограничителем скважность Dcmdd импульсов минимального гарантированного значения, на этапе S3608.
[0457] Когда посредством блока 19 изменения определяется то, что значение t таймера не меньше предварительно определенного времени tthre2 (результат определения на этапе S3607 является отрицательным), либо когда посредством блока 15 сравнения определяется то, что скважность Dcmdd импульсов равна или выше минимального гарантированного значения (результат определения на этапе S3608 является утвердительным), блок 8 управления управляет мощностью, которая подается в нагрузку 3, на основе значения команды управления скважностью, указывающего скважность Dcmdd импульсов, на этапе S3609, и после этого обработка возвращается к этапу S3601.
[0458] Когда посредством блока 15 сравнения определяется то, что скважность Dcmdd импульсов не равна или превышает минимальное гарантированное значение (результат определения на этапе S3608 является отрицательным), блок 8 управления управляет мощностью, которая подается в нагрузку 3, на основе минимального гарантированного значения, на этапе S3610, и после этого обработка возвращается к этапу S3601.
[0459] В примере 4C, как описано выше, определяется то, равно или выше либо нет протекание фазы использования предварительно определенного значения, на основе входного параметра, и когда определяется то, что протекание фазы использования равно или выше предварительно определенного значения, управление переключается на управление, при котором минимальное гарантированное значение не используется. В силу этого, когда возникает возмущающее воздействие в поведении температуры нагрузки 3, такое как перерегулирование температуры, управление с обратной связью функционирует таким образом, чтобы выводить большую рабочую величину, так что можно существенно управлять мощностью, которая подается в нагрузку 3. Следовательно, можно разрешать или обеспечивать схождение быстро и надлежащим образом возмущающего воздействия в поведении температуры нагрузки 3.
[0460] Пример 4D
Пример 4D представляет собой модифицированный пример для примера 4C. В примере 4D, когда перерегулирование температуры обнаруживается, блок 8 управления признает минимальное гарантированное значение недостоверным, задает минимальное гарантированное значение равным нулю или отменяет обработку блока 15 сравнения на основе минимального гарантированного значения.
[0461] Фиг. 37 является блок-схемой управления, иллюстрирующей пример управления, которое выполняется посредством блока 8 управления в соответствии с примером 4D.
[0462] Блок 20 обнаружения перерегулирования, предоставленный в блоке управления в соответствии с примером 4D, признает недостоверным или уменьшает минимальное гарантированное значение, когда перерегулирование температуры обнаруживается, например, и признает достоверным или увеличивает снова минимальное гарантированное значение, когда перерегулирование температуры разрешается.
[0463] Фиг. 38 является блок-схемой последовательности операций способа, иллюстрирующей пример обработки в блоке 20 обнаружения перерегулирования в соответствии с примером 4D.
[0464] На этапе S3801, блок 20 обнаружения перерегулирования выполняет обнаружение перерегулирования температуры и определяет то, обнаруживается или нет перерегулирование.
[0465] Когда определяется то, что перерегулирование не обнаруживается (результат определения на этапе S3801 является отрицательным), обработка этапа S3801 повторяется.
[0466] Когда определяется то, что перерегулирование обнаруживается (результат определения на этапе S3801 является утвердительным), блок 20 обнаружения перерегулирования признает недостоверным или уменьшает минимальное гарантированное значение, на этапе S3802.
[0467] На этапе S3803, блок 20 обнаружения перерегулирования определяет то, разрешено или нет перерегулирование.
[0468] Когда определяется то, что перерегулирование не разрешено (результат определения на этапе S3803 является отрицательным), обработка этапа S3803 повторяется.
[0469] Когда определяется то, что перерегулирование разрешено, блок 20 обнаружения перерегулирования возвращает минимальное гарантированное значение, на этапе S3804.
[0470] В примере 4D, как описано выше, когда перерегулирование температуры обнаруживается, минимальное гарантированное значение признается недостоверным или уменьшается, так что можно разрешать быстро и надлежащим образом перерегулирование температуры.
[0471] Пример 4E
В примере 4E, блок 8 управления получает минимальное гарантированное значение, имеющее скважность импульсов, необходимую для того, чтобы поддерживать температуру нагрузки 3, на основе входного параметра, указывающего степень протекания в фазе использования, задает, в качестве значения команды управления скважностью, большее значение из значения параметра скважности, полученного посредством блока 12 усиления, и минимального гарантированного значения, и управляет мощностью, которая подается в нагрузку 3, на основе значения команды управления скважностью.
[0472] В примере 4E, в качестве примера в дальнейшем описывается случай, в котором измеренное значение температуры используется в качестве входного параметра, указывающего степень протекания в фазе использования. Тем не менее, значение t таймера или профиль затяжки также может использоваться в качестве входного параметра.
[0473] Фиг. 39 является блок-схемой управления, иллюстрирующей пример управления, которое выполняется посредством блока 8 управления в соответствии с примером 4E.
[0474] Блок 21 управления удержанием тепла, предоставленный в блоке 8 управления в соответствии с примером 4E, получает минимальное гарантированное значение, которое представляет собой скважность импульсов, необходимую для того, чтобы поддерживать температуру нагрузки 3, на основе измеренного значения температуры, например, и выводит минимальное гарантированное значение, необходимое для удержания тепла, в блок 15 сравнения. Например, измеренное значение температуры и минимальное гарантированное значение, которое представляет собой скважность импульсов, необходимую для удержания тепла нагрузки 3, соответствующей измеренному значению температуры, аналитически или экспериментально. Затем блок 21 управления удержанием тепла также может использовать, например, формулу для модели или таблицу, связанную с корреляцией между измеренным значением температуры и минимальным гарантированным значением, извлекаемым из результата анализа или результата эксперимента. Между тем, блок 21 управления удержанием тепла также может использовать корреляцию между другим входным параметром, таким как значение t таймера или профиль затяжки, указывающий степень протекания в фазе использования, и минимальным гарантированным значением.
[0475] Таким образом, скважность импульсов, необходимая для того, чтобы поддерживать температуру нагрузки 3, используется в качестве минимального гарантированного значения, так что вторая подфаза, включенная в фазу подготовки, может быть включена в фазу использования. В силу этого, вторая подфаза может опускаться из фазы подготовки. Следовательно, в примере 4E, период времени фазы подготовки может сокращаться, и снижение температуры нагрузки 3 может подавляться, поскольку температура нагрузки 3 поддерживается согласно минимальному гарантированному значению.
[0476] Фиг. 40 является блок-схемой последовательности операций способа, иллюстрирующей пример обработки в фазе подготовки посредством блока 8 управления в соответствии с примером 4E.
[0477] Обработка от этапа S4001 до этапа S4005 на фиг. 40 является идентичной обработке от этапа S501 до этапа S505 на фиг. 5.
[0478] В обработке по фиг. 40, следует отметить, что обработка этапа S4006 и этапа S4007, соответствующих этапу S506 и этапу S507, опускается из обработки по фиг. 5.
[0479] Фиг. 41 является блок-схемой последовательности операций способа, иллюстрирующей пример обработки в фазе использования посредством блока 8 управления в соответствии с примером 4E.
[0480] На этапе S4101, блок 21 управления удержанием тепла блока 8 управления вводит измеренное значение THTR температуры из блока 6 измерения температуры.
[0481] На этапе S4102, блок 21 управления удержанием тепла получает скважность импульсов, необходимую для того, чтобы поддерживать температуру, указываемую посредством измеренного значения THTR температуры, и выводит минимальное гарантированное значение Dlim(THTR), указывающее скважность импульсов, необходимую для удержания тепла, в блок 15 сравнения. В качестве примера, когда блок 21 управления удержанием тепла имеет корреляцию между входным параметром и минимальным гарантированным значением, в качестве формулы для модели, Dlim(THTR) представляет собой функцию. В качестве примера, когда блок 21 управления удержанием тепла имеет корреляцию между входным параметром и минимальным гарантированным значением, в качестве таблицы, Dlim(THTR) представляет собой запрос на таблицу.
[0482] Обработка от этапа S4103 до этапа S4111 является идентичной обработке от этапа S3101 до этапа S3109 на фиг. 31. Между тем, после этапа 4110 и этапа S4111, обработка может возвращаться к этапу S4103 или этапу S4101.
[0483] В примере 4E, как описано выше, можно разрешать надлежащим образом изменение температуры, к примеру, перерегулирование, при обеспечении удержания тепла нагрузки 3. Кроме того, в примере 4E, можно опускать вторую подфазу из фазы подготовки, за счет этого сокращая фазу подготовки.
[0484] Пятый вариант осуществления
В электронной сигарете или нагреваемой сигарете, чтобы не нарушать величину и аромат и вкус аэрозолей, формируемых из изделия 9 для формирования аэрозоля, даже когда температура нагрузки 3 управляется с обратной связью, и температура нагрузки 3 снижается вследствие вдыхания пользователя, предпочтительно быстро восстанавливать снижение температуры и компенсировать температуру нагрузки 3.
[0485] Тем не менее, например, когда рабочая величина, полученная посредством управления с обратной связью, является небольшой, достаточная мощность не подается в нагрузку 3, температура которой снижена, так что может требоваться время для того, чтобы восстанавливать снижение температуры нагрузки 3.
[0486] Следовательно, в пятом варианте осуществления, когда вдыхание пользователя обнаруживается, рабочая величина, полученная посредством управления с обратной связью, временно увеличивается, чтобы быстро восстанавливать снижение температуры нагрузки 3 вследствие вдыхания. Более конкретно, когда снижение температуры возникает вследствие вдыхания аэрозолей в фазе использования, например, блок 8 управления пятого варианта осуществления выполняет управление ростом ширины ограничителя блока 14 ограничителя, используемого при управлении с обратной связью, по сравнению с шириной ограничителя до того, как возникает снижение температуры. В силу этого, в пятом варианте осуществления, снижение температуры нагрузки 3 при вдыхании быстро восстанавливается, чтобы компенсировать температуру нагрузки 3. Следовательно, даже когда вдыхание пользователя выполняется, можно подавлять нарушение величины и аромата и вкуса аэрозолей, сформированных из изделия 9 для формирования аэрозоля.
[0487] Когда падение температуры нагрузки 3 обнаруживается в ходе выполнения управления с обратной связью, блок 8 управления пятого варианта осуществления может изменять значение переменной, которая используется при управлении с обратной связью таким образом, чтобы увеличивать мощность, которая подается из источника 4 питания в нагрузку 3. В силу этого, по сравнению со случаем, в котором значение переменной, которая используется при управлении с обратной связью, не изменяется, можно быстро восстанавливать температуру нагрузки 3. В данном документе, изменение переменной, которая используется при управлении, включает в себя, например, изменение одной переменной на другую переменную и изменение значения, сохраненного в переменной.
[0488] Когда падение обнаруживается, блок 8 управления может увеличивать, по меньшей мере, одно из усиления, которое используется при управлении с обратной связью, и верхнего предельного значения мощности, которая подается из источника 4 питания в нагрузку 3. В силу этого, по сравнению со случаем, в котором как усиление, так и верхнее предельное значение мощности не увеличиваются, температура нагрузки 3 может быстро восстанавливаться.
[0489] Когда падение обнаруживается, блок 8 управления может увеличивать целевую температуру, которая используется при управлении с обратной связью. В силу этого, по сравнению со случаем, в котором целевая температура не увеличивается, температура нагрузки 3 может быстро восстанавливаться.
[0490] Блок 8 управления может быть выполнен с возможностью выполнять управление с обратной связью таким образом, что температура нагрузки 3 постепенно увеличивается, и может изменять переменную на значение, которое отличается от значения до изменения, на основе обнаружения падения, когда разрешается падение. В силу этого, например, можно подавать большую величину мощности в нагрузку 3, чем до того, как падение обнаруживается. Как описано во втором варианте осуществления, чтобы стабилизировать величину аэрозолей, сформированных из изделия 9 для формирования аэрозоля, необходимо увеличивать температуру нагрузки 3 и температуру изделия 9 для формирования аэрозоля, нагретого посредством нагрузки 3 во времени. Следовательно, большая величина мощности, чем до того, как падение обнаруживается, подается в нагрузку 3, так что можно подавлять снижение величины формирования аэрозоля до и после падения.
[0491] Блок 8 управления может быть выполнен с возможностью выполнять управление с обратной связью таким образом, что мощность, которая подается из источника 4 питания в нагрузку 3, постепенно увеличивается, и может изменять переменную на значение, которое отличается от значения до изменения, на основе обнаружения падения, когда разрешается падение. В силу этого, например, можно подавать большую величину мощности в нагрузку 3, чем до того, как падение обнаруживается. Как описано выше, большая величина мощности, чем до того, как падение обнаруживается, подается в нагрузку 3, так что можно подавлять снижение величины формирования аэрозоля до и после падения.
[0492] Блок 8 управления может быть выполнен с возможностью постепенно увеличивать, по меньшей мере, одно из усиления, которое используется при управлении с обратной связью, и верхнего предельного значения мощности, которая подается из источника 4 питания в нагрузку 3 по мере того, как управление с обратной связью протекает, может увеличивать, по меньшей мере, одно из усиления и верхнего предельного значения посредством приращения или более, соответствующего протеканию управления с обратной связью, когда падение обнаруживается, и может изменять, по меньшей мере, одно из усиления и верхнего предельного значения на значение, которое отличается от значения перед увеличением, на основе обнаружения падения, когда разрешается падение. В силу этого, например, можно подавать большую величину мощности в нагрузку 3, чем до того, как падение обнаруживается. Следовательно, можно подавлять снижение величины формирования аэрозоля до и после падения.
[0493] Блок 8 управления может изменять, по меньшей мере, одно из усиления и верхнего предельного значения таким образом, что оно не снижается, когда падение обнаруживается, либо когда падение разрешается. В силу этого, можно подавлять застой температуры нагрузки 3. Следовательно, величина формирования аэрозоля с трудом снижается во времени.
[0494] Блок 8 управления может изменять, по меньшей мере, одно из усиления и верхнего предельного значения таким образом, что оно увеличивается, когда падение обнаруживается, либо когда падение разрешается. В силу этого, можно подавлять уменьшение величины формирования аэрозоля.
[0495] Блок 8 управления может увеличивать, по меньшей мере, одно из усиления и верхнего предельного значения посредством приращения, соответствующего протеканию управления с обратной связью, когда разрешается падение. В силу этого, поскольку можно увеличивать температуру нагрузки 3 в соответствии с идентичным управлением до того, как падение обнаруживается, после того, как падение разрешается, можно стабильно формировать аэрозоли без влияния посредством состояния вдыхания. Следовательно, пользователь устройства 1 формирования аэрозоля не чувствует себя некомфортно относительно величины и аромата и вкуса аэрозолей, сформированных из изделия 9 для формирования аэрозоля в течение всей фазы использования. Следовательно, можно повышать качество устройства 1 формирования аэрозоля.
[0496] Когда падение разрешается, блок 8 управления может изменять, по меньшей мере, одно из усиления и верхнего предельного значения на значение, которое отличается от значения перед увеличением на основе обнаружения падения таким образом, что более высокий уровень мощности, чем перед тем, как падение обнаруживается, подается из источника 4 питания в нагрузку 3. В силу этого, можно подавлять уменьшение величины формирования аэрозоля.
[0497] Блок 8 управления может быть выполнен с возможностью уменьшать величину изменения переменной с протеканием управления с обратной связью. В силу этого, управление с обратной связью функционирует таким образом, чтобы выводить большую рабочую величину с протеканием фазы, так что можно подавлять влияние на управление изменения переменной, степень важности которой понижается.
[0498] Когда управление с обратной связью протекает посредством предварительно определенной степени протекания или более, и падение обнаруживается, блок 8 управления может задавать величину изменения переменной равной нулю. В силу этого, даже если падение возникает после того, как фаза протекает в некоторой степени, переменная может не изменяться. Между тем, после того, как фаза протекает в некоторой степени, падение немедленно разрешается посредством управления с обратной связью, допускающего вывод большой рабочей величины. Следовательно, подавляется уменьшение величины формирования аэрозоля.
[0499] Блок 8 управления может быть выполнен с возможностью уменьшать величину увеличения, по меньшей мере, одного из усиления и верхнего предельного значения с протеканием управления с обратной связью. В силу этого, управление с обратной связью функционирует таким образом, чтобы выводить большую рабочую величину с протеканием фазы, так что когда степень важности изменения, по меньшей мере, одного из усиления и верхнего предельного значения понижается, можно подавлять влияние на управление изменения, по меньшей мере, одного из усиления и верхнего предельного значения.
[0500] Когда управление с обратной связью протекает посредством предварительно определенной степени протекания или более, и падение обнаруживается, блок 8 управления может задавать величину изменения, по меньшей мере, одного из усиления и верхнего предельного значения равной нулю. В силу этого, управление с обратной связью нормально функционирует с возможностью выводить большую рабочую величину с протеканием фазы, так что когда изменение, по меньшей мере, одного из усиления и верхнего предельного значения не требуется, изменение, по меньшей мере, одного из усиления и верхнего предельного значения может подавляться.
[0501] Блок 8 управления может быть выполнен с возможностью выполнять управление с обратной связью таким образом, что температура нагрузки 3 является постоянной, и может изменять измененную переменную на значение до изменения, на основе обнаружения падения, когда разрешается падение. В силу этого, можно быстро разрешать падение и возвращать состояние управления в состояние до того, как падение обнаруживается.
[0502] Блок 8 управления может быть выполнен с возможностью обнаруживать, в качестве падения, то, что температура нагрузки 3 снижается на первое пороговое значение или больше, или то, что мощность, которая подается из источника 4 питания в нагрузку 3, увеличивается на второе пороговое значение или больше, первое пороговое значение может представлять собой значение, посредством которого можно отличать снижение температуры нагрузки 3 при вдыхании аэрозолей из изделия 9 для формирования аэрозоля и снижение температуры нагрузки 3 при невдыхании аэрозолей, и второе пороговое значение может представлять собой значение, посредством которого можно отличать увеличение мощности, которая подается из источника 4 питания в нагрузку 3 при вдыхании аэрозолей из изделия 9 для формирования аэрозоля, и увеличение мощности, которая подается из источника 4 питания в нагрузку 3 при невдыхании аэрозолей. В силу этого, когда падение вызывается вследствие вдыхания аэрозолей, можно быстро подавлять уменьшение величины формирования аэрозоля.
[0503] Когда падение температуры нагрузки 3 обнаруживается в ходе выполнения управления с обратной связью, блок 8 управления может признавать недостоверным верхнее предельное значение мощности, которая используется при управлении с обратной связью и подается из источника 4 питания в нагрузку 3. В силу этого, можно увеличивать мощность, которая подается в нагрузку 3, на основе обнаружения падения, так что можно быстро подавлять уменьшение величины формирования аэрозоля вследствие падения.
[0504] Разнообразные виды управления посредством блока 8 управления также могут реализовываться, когда блок 8 управления выполняет программу.
[0505] Пример 5A
Фиг. 42 является блок-схемой управления, иллюстрирующей пример управления, которое выполняется посредством блока 8 управления в соответствии с примером 5A.
[0506] Блок 13 изменения ограничителя блока 8 управления управляет шириной увеличения ширины ограничителя посредством управления с прямой связью, на основе входного параметра.
[0507] Когда пользователь вдыхает аэрозоли, воздушный поток, сформированный в устройстве 1 формирования аэрозоля, проходит рядом с окрестностью нагрузки 3, так что температура нагрузки 3 временно снижается. Когда вдыхание аэрозолей обнаруживается, блок 13 изменения ограничителя примера 5A обеспечивает временный рост ширины увеличения ширины ограничителя, за счет этого быстро восстанавливая снижение температуры нагрузки 3 вследствие вдыхания.
[0508] Фиг. 43 является блок-схемой последовательности операций способа, иллюстрирующей пример обработки в фазе использования посредством блока 8 управления в соответствии с примером 5A.
[0509] Обработка от этапа S4301 до этапа S4303 является идентичной обработке от этапа S1901 до этапа S1903 на фиг. 19.
[0510] На этапе S4304, блок 8 управления определяет то, обнаруживается или нет вдыхание. Вдыхание обнаруживается, например, на основе выходного значения датчика, выполненного с возможностью обнаруживать физическую величину, которая варьируется в зависимости от вдыхания пользователя, такого как датчик расхода, датчик скорости потока и датчик давления, предоставленные в устройстве 1 формирования аэрозоля.
[0511] Когда определяется то, что вдыхание не обнаруживается (результат определения на этапе S4304 является отрицательным), обработка переходит к этапу S4306.
[0512] Когда определяется то, что вдыхание обнаруживается (результат определения на этапе S4304 является утвердительным), блок 13 изменения ограничителя изменяет корреляцию для изменения ширины ограничителя таким образом, что ширина увеличения ширины ограничителя, используемой в блоке 14 ограничителя, является большой относительно входного профиля, на этапе S4305, и переходит к этапу S4306.
[0513] Обработка от этапа S4306 до этапа S4309 является идентичной обработке от этапа S1904 до этапа S1907 на фиг. 19.
[0514] В примере 5A, как описано выше, когда вдыхание обнаруживается, ширина увеличения ширины ограничителя, которая используется в блоке 14 ограничителя, растет, с тем чтобы увеличивать значение параметра скважности, которое получается посредством управления с обратной связью, так что можно быстро восстанавливать снижение температуры нагрузки 3 вследствие вдыхания. Следовательно, даже когда пользователь выполняет вдыхание, можно подавлять нарушение величины и аромата и вкуса аэрозолей, сформированных из изделия 9 для формирования аэрозоля.
[0515] Пример 5B
В примере 5B, описывается управление дополнительным увеличением ширины увеличения ширины ограничителя, когда вдыхание обнаруживается, по сравнению с шириной увеличения ширины ограничителя, когда вдыхание не обнаруживается.
[0516] Фиг. 44 является графиком, иллюстрирующим пример изменений температуры нагрузки 3 и ширины ограничителя. На фиг. 44, горизонтальная ось указывает значение t таймера, и вертикальная ось указывает температуру или ширину ограничителя.
[0517] Блок 13 изменения ограничителя блока 8 управления управляет шириной увеличения ширины ограничителя таким образом, чтобы увеличивать температуру нагрузки 3 после того, как вдыхание обнаруживается, больше, чем до того, как вдыхание обнаруживается.
[0518] Когда вдыхание не обнаруживается, блок 13 изменения ограничителя увеличивает ширину ограничителя по мере того, как значение t таймера увеличивается, т.е. во времени, как показано с помощью линии L50A.
[0519] Когда вдыхание обнаруживается, блок 13 изменения ограничителя изменяет ширину ограничителя таким образом, что она превышает изменение линии L50A, как показано с помощью линии L50B, после того, как температура нагрузки 3 восстанавливается.
[0520] Между тем, как показано с помощью линии L50C, блок 13 изменения ограничителя может изменять ширину ограничителя после конца восстановления температуры таким образом, что она меньше ширины ограничителя, в то время как снижение температуры вследствие вдыхания разрешается. В этом случае, блок 13 изменения ограничителя может задавать ширину ограничителя после конца восстановления температуры большей ширины ограничителя перед обнаружением вдыхания. Кроме того, блок 13 изменения ограничителя может возвращать ширину ограничителя после конца восстановления температуры в состояние перед обнаружением вдыхания.
[0521] В качестве примера, когда блок 8 управления оценивает степень протекания фазы использования посредством температуры нагрузки 3, если снижение температуры возникает вследствие вдыхания, степень протекания фазы использования является застойной. После того, как температура нагрузки 3 восстанавливается, когда ширина ограничителя изменяется, как показано с помощью линии L50A, степень протекания фазы использования задерживается, по сравнению со случаем, в котором вдыхание не обнаруживается, поскольку линия L50A указывает ширину увеличения, когда вдыхание не обнаруживается. Следовательно, когда вдыхание обнаруживается, блок 13 изменения ограничителя изменяет ширину ограничителя таким образом, что она превышает изменение линии L50A, как показано с помощью линии L50B, после того, как восстанавливается температура нагрузки 3. В силу этого, можно восстанавливать задержку в степени протекания фазы использования вследствие вдыхания.
[0522] Между тем, блок 13 изменения ограничителя может изменять ширину ограничителя таким образом, что она превышает изменение, когда вдыхание не обнаруживается, как показано с помощью линии L50B, каждый раз, когда вдыхание обнаруживается. В силу этого, даже когда пользователь устройства 1 формирования аэрозоля выполняет вдыхание в любом профиле затяжки, степень протекания фазы использования может задаваться однородной. Следовательно, аромат и вкус аэрозолей, которые формируются из изделия 9 для формирования аэрозоля, могут задаваться стабильными, независимо от профиля затяжки, так что можно повышать качество устройства формирования аэрозоля.
[0523] Фиг. 45 иллюстрирует пример блока 13 изменения ограничителя в соответствии с примером 5B.
[0524] Блок 13 изменения ограничителя в соответствии с примером 5B определяет ширину увеличения ширины ограничителя, на основе входного параметра, включающего в себя, по меньшей мере, одно из значения t таймера, измеренного значения температуры и профиля затяжки.
[0525] Блок 13 изменения ограничителя, например, обеспечивает рост ширины ограничителя, когда вдыхание обнаруживается, из снижения температуры нагрузки 3 или профиля затяжки. Чем больше ширина увеличения ширины ограничителя (степень роста), тем больше можно стимулировать восстановление температуры нагрузки 3. Таким образом, степень восстановления температуры нагрузки 3 отличается между случаем, в котором ширина увеличения ширины ограничителя, показанной на фиг. 45, растет таким образом, что она является небольшой, и случаем, в котором она растет таким образом, что она является большой, в соответствии с областью A51, которая представляет собой разность. Следовательно, чем больше степень снижения температуры нагрузки 3, или чем больше необходимость восстанавливать температуру нагрузки 3, тем предпочтительно больше область, заданная посредством ширины увеличения ширины ограничителя, показанной с помощью пунктирной линии с уклоном вверх, когда вдыхание не обнаруживается, и выросшей ширины увеличения, показанной с помощью пунктирной линии.
[0526] Фиг. 46 является блок-схемой последовательности операций способа, иллюстрирующей пример обработки в фазе использования посредством блока 8 управления в соответствии с примером 5B.
[0527] Обработка от этапа S4601 до этапа S4603 является идентичной обработке от этапа S4301 до этапа S4303 на фиг. 43.
[0528] На этапе S4604, блок 13 изменения ограничителя блока 8 управления, например, определяет то, уже изменена или нет третья взаимосвязь входного параметра и ширины ограничителя (ниже называется "корреляцией для изменения ширины ограничителя"). В данном документе, корреляция для изменения ширины ограничителя также может выражаться посредством корреляционных данных или корреляционной функции.
[0529] Когда определяется то, что корреляция для изменения ширины ограничителя еще не изменена (результат определения на этапе S4604 является отрицательным), обработка переходит к этапу S4607.
[0530] Когда определяется то, что корреляция для изменения ширины ограничителя уже изменена (результат определения на этапе S4604 является утвердительным), блок 13 изменения ограничителя определяет то, восстановлено или нет снижение температуры нагрузки 3, например, то, истекло или нет предварительно определенное время с момента снижения температуры нагрузки 3, на этапе S4605.
[0531] Когда определяется то, что снижение температуры нагрузки 3 не восстановлено (результат определения на этапе S4605 является отрицательным), обработка переходит к этапу S4607.
[0532] Когда определяется то, что снижение температуры нагрузки 3 восстановлено (результат определения на этапе S4605 является утвердительным), блок 13 изменения ограничителя возвращает корреляцию для изменения ширины ограничителя в исходное состояние перед обнаружением вдыхания, на этапе S4606, и обработка переходит к этапу S4607.
[0533] Обработка от этапа S4607 до этапа S4612 является идентичной обработке от этапа S4304 до этапа S4309 на фиг. 43.
[0534] В примере 5B, как описано выше, когда вдыхание обнаруживается, ширина ограничителя может расти, и температура нагрузки 3 может дополнительно увеличиваться после вдыхания, чем до того, как температура нагрузки 3 снижается вследствие вдыхания. В силу этого, можно восстанавливать задержку при нагреве после того, как температура нагрузки 3 восстанавливается, и оптимизировать нагрев нагрузки 3.
[0535] Кроме того, в примере 5B, после того, как снижение температуры восстанавливается, корреляция для изменения ширины ограничителя возвращается в состояние перед снижением температуры, так что можно реализовывать стабильное формирование аэрозолей.
[0536] Пример 5C
В примере 5C, в фазе использования, блок 8 управления стабильно управляет температурой нагрузки 3 посредством управления с обратной связью посредством уменьшения влияния управления с прямой связью изменения ширины ограничителя, когда ширина ограничителя растет в некоторой степени.
[0537] Фиг. 47 является блок-схемой управления, иллюстрирующей пример управления, которое выполняется посредством блока 8 управления в соответствии с примером 5C.
[0538] Блок 8 управления обнаруживает вдыхание из выходного значения датчика, выполненного с возможностью обнаруживать физическую величину, которая варьируется в зависимости от вдыхания пользователя, такого как датчик расхода, датчик скорости потока и датчик давления, предоставленные в устройстве 1 формирования аэрозоля.
[0539] В фазе использования, блок 13 изменения ограничителя постепенно обеспечивает рост ширины ограничителя посредством управления с прямой связью, на основе входного параметра. Когда вдыхание обнаруживается, блок 13 изменения ограничителя обеспечивает рост ширины увеличения ширины ограничителя для восстановления температуры нагрузки 3.
[0540] Блок 22 управления шириной ограничителя, предоставленный в блоке 8 управления, подавляет рост ширины ограничителя при обнаружении вдыхания, когда ширина ограничителя увеличивается в некоторой степени.
[0541] Более конкретно, блок 22 управления шириной ограничителя имеет, например, четвертую взаимосвязь (ниже называется компенсирующей взаимосвязью), при которой ширина ограничителя и коэффициент компенсации, соответствующий ширине ограничителя, ассоциированы между собой. Коэффициент компенсации указывает степень роста ширины ограничителя, чтобы восстанавливать температуру при обнаружении вдыхания. При компенсирующей взаимосвязи, например, ширина ограничителя и коэффициент компенсации имеют обратную корреляцию. Таким образом, при компенсирующей взаимосвязи, например, чем меньше ширина ограничителя, тем больше коэффициент компенсации, и чем больше ширина ограничителя, тем меньше коэффициент компенсации. Чем меньше коэффициент компенсации, тем больше подавляется ширина увеличения ширины ограничителя, которая изменяется при обнаружении вдыхания. Как результат, чем больше коэффициент компенсации, тем более чувствительно растет ширина ограничителя относительно обнаружения вдыхания, и чем меньше коэффициент компенсации, тем больше ограничивается рост ширины ограничителя относительно обнаружения вдыхания.
[0542] В качестве примера, как показано на фиг. 47, в четвертой взаимосвязи, когда ширина ограничителя увеличивается до порогового значения или больше, соответствующий коэффициент компенсации может быть равен нулю. В качестве примера, как показано на фиг. 47, в четвертой взаимосвязи, коэффициент компенсации может иметь верхний предел.
[0543] В примере 5C, по мере того, как ширина ограничителя растет, эффект восстановления после снижения температуры посредством роста ширины ограничителя при обнаружении вдыхания уменьшается, и эффект восстановления после снижения температуры посредством управления с обратной связью при обнаружении вдыхания увеличивается. Более конкретно, когда ширина ограничителя растет, вероятность того, что скважность импульсов, выводимая из блока 12 усиления, представляет собой значение параметра скважности, увеличивается. В качестве примера, скважность импульсов, которая выводится из блока 12 усиления, зависит от разности между температурой окончания фазы использования и измеренным значением температуры. Следовательно, когда отсутствует влияние блока 14 ограничителя, снижение температуры эффективно разрешается посредством управления с обратной связью. В силу этого, можно стабильно осуществлять управление.
[0544] Фиг. 48 является блок-схемой последовательности операций способа, иллюстрирующей пример обработки в фазе использования посредством блока 8 управления в соответствии с примером 5C. На фиг. 48, определяется то, следует или нет изменять ширину ограничителя при обнаружении вдыхания, на основе того, меньше или нет значение t таймера порогового значения tthre3. Тем не менее, также может определяться то, следует или нет изменять ширину ограничителя при обнаружении вдыхания, на основе, по меньшей мере, одного из измеренного значения температуры и профиля затяжки, вместо значения t таймера или вместе со значением t таймера.
[0545] Обработка от этапа S4801 до этапа S4803 является идентичной обработке от этапа S4301 до этапа S4303 на фиг. 43.
[0546] На этапе S4804, блок 22 управления шириной ограничителя определяет то, меньше или нет значение t таймера порогового значения tthre3, указывающего протекающее состояние фазы использования.
[0547] Когда определяется то, что значение t таймера не меньше порогового значения tthre3 (результат определения на этапе S4804 является отрицательным), блок 22 управления шириной ограничителя не изменяет корреляцию для изменения ширины ограничителя, и обработка переходит к этапу S4807.
[0548] Когда определено то, что значение t таймера меньше порогового значения tthre3, блок 13 изменения ограничителя определяет то, обнаруживается или нет вдыхание, на этапе S4805.
[0549] Когда определено то, что вдыхание не обнаруживается (результат определения на этапе S4805 является отрицательным), обработка переходит к этапу S4807.
[0550] Когда определено то, что вдыхание обнаруживается, блок 13 изменения ограничителя изменяет корреляцию для изменения ширины ограничителя, которое используется в блоке 13 изменения ограничителя, на основе значения t таймера, на этапе S4806, и обработка переходит к этапу S4807.
[0551] Обработка от этапа S4807 до этапа S4810 является идентичной обработке от этапа S4306 до этапа S4309 на фиг. 43.
[0552] В дальнейшем описываются функциональные преимущества примера 5C, описанного выше.
[0553] Когда фаза использования протекает, ширина ограничителя растет, и ограничение на абсолютную величину значения параметра скважности, полученного посредством блока 14 ограничителя, ослабляется. Таким образом, когда ширина ограничителя, которая используется в блоке 14 ограничителя, растет в достаточной степени, управление с обратной связью с большой вероятностью должно эффективно функционировать, так что можно восстанавливать снижение температуры нагрузки 3 при вдыхании посредством управления с обратной связью, даже если ширина ограничителя не растет с вдыханием. В этом случае, когда ширина ограничителя растет, управление, которое выполняется в фазе использования, может быть достаточно сложным.
[0554] В примере 5C, чтобы восстанавливать снижение температуры нагрузки 3, которое возникает при вдыхании, степень роста ширины ограничителя с вдыханием постепенно уменьшается, так что можно обеспечивать стабильность температуры нагрузки 3 посредством использования управления с обратной связью с большой рабочей величиной, которая может выводиться.
[0555] Пример 5D
В примере 5D, описывается управление восстановлением снижения температуры нагрузки 3 при обнаружении вдыхания посредством изменения усиления блока 12 усиления. В данном документе, изменение усиления включает в себя, например, изменение функции усиления, изменение значения, включенного в функцию усиления, и т.п.
[0556] Фиг. 49 является блок-схемой управления, иллюстрирующей пример управления, которое выполняется посредством блока 8 управления в соответствии с примером 5D.
[0557] Блок 17 изменения усиления, предоставленный в блоке 8 управления в соответствии с примером 5D, например, изменяет усиление, которое используется в блоке 12 усиления, когда вдыхание обнаруживается. Более конкретно, когда вдыхание обнаруживается, блок 17 изменения усиления изменяет усиление блока 12 усиления, более конкретно, увеличивает усиление блока 12 усиления таким образом, чтобы получать большую скважность импульсов, чем тогда, когда вдыхание не обнаруживается, на основе разности, вводимой из дифференциального блока 11.
[0558] В силу этого, можно восстанавливать снижение температуры нагрузки 3 при вдыхании.
[0559] Фиг. 50 является блок-схемой последовательности операций способа, иллюстрирующей пример обработки в фазе использования посредством блока 8 управления в соответствии с примером 5D.
[0560] Обработка от этапа S5001 до этапа S5004 является идентичной обработке от этапа S4301 до этапа S4304 на фиг. 43.
[0561] Когда на этапе S5004 определяется то, что вдыхание не обнаруживается (результат определения является отрицательным), обработка переходит к этапу S5006.
[0562] Когда на этапе S5004 определяется то, что вдыхание обнаруживается (результат определения является утвердительным), блок 17 изменения усиления изменяет корреляцию для изменения усиления, которое указывает корреляцию между усилением и входным параметром, на этапе S5005, и обработка переходит к этапу S5006.
[0563] На этапе S5006, блок 17 изменения усиления изменяет усиление блока 12 усиления, на основе входного параметра.
[0564] Обработка от этапа S5007 до этапа S5009 является идентичной обработке от этапа S4307 до этапа S4309 на фиг. 43.
[0565] В примере 5D, как описано выше, когда вдыхание возникает, усиление блока 12 усиления изменяется, чтобы заблаговременно восстанавливать снижение температуры нагрузки 3.
[0566] Между тем, когда вдыхание обнаруживается, блок 8 управления может изменять температуру окончания фазы использования таким образом, чтобы увеличивать значение параметра скважности, которое получается посредством управления с обратной связью, вместо ширины увеличения ширины ограничителя, которая используется в блоке 14 ограничителя, или усиления блока 12 усиления либо вместе с шириной увеличения ширины ограничителя или усилением. Когда температура окончания фазы использования увеличивается, разность, которая выводится из дифференциального блока 11, увеличивается таким образом, что скважность импульсов, выводимая посредством блока 12 усиления, увеличивается. Как результат, значение параметра скважности, которое выводится посредством управления с обратной связью, может увеличиваться.
[0567] Пример 5E
В примере 5E, описывается управление ростом ширины ограничителя при обнаружении вдыхания и возврат ширины ограничителя к значению перед обнаружением вдыхания после того, как снижение температуры нагрузки 3 вследствие вдыхания восстанавливается.
[0568] Фиг. 51 является графиком, иллюстрирующим пример изменений температуры нагрузки 3 и ширины ограничителя в соответствии с примером 5E. На графике, горизонтальная ось указывает значение t таймера, и вертикальная ось указывает температуру нагрузки 3 и ширины ограничителя.
[0569] Как описано выше, температура нагрузки 3 снижается при вдыхании. Когда вдыхание обнаруживается, блок 13 изменения ограничителя блока 8 управления обеспечивает рост ширины ограничителя таким образом, что блок 8 управления восстанавливает пониженную температуру нагрузки 3.
[0570] Блок 13 изменения ограничителя обнаруживает восстановление температуры нагрузки 3, например, когда температура нагрузки 3 возвращается в состояние перед обнаружением вдыхания, либо когда истекает предварительно определенное время с момента обнаружения вдыхания. Затем блок 13 изменения ограничителя возвращает ширину ограничителя к значению до того, как вдыхание обнаруживается.
[0571] Управление примером 5E также может применяться к случаю, в котором температура нагрузки 3 поддерживается постоянной.
[0572] Фиг. 52 является блок-схемой последовательности операций способа, иллюстрирующей пример обработки в фазе использования посредством блока 8 управления в соответствии с примером 5E.
[0573] Обработка от этапа S5201 до этапа S5205 является идентичной обработке от этапа S4601 до этапа S4605 на фиг. 46.
[0574] На этапе S5204, когда определяется то, что корреляция для изменения ширины ограничителя не уже изменена (результат определения является отрицательным), обработка переходит к этапу S5207.
[0575] Когда на этапе S5205 также определяется то, что снижение температуры нагрузки 3 не восстановлено (результат определения является отрицательным), обработка переходит к этапу S5207.
[0576] Когда на этапе S5205 определяется то, что снижение температуры нагрузки 3 восстановлено (результат определения является утвердительным), блок 13 изменения ограничителя возвращает ширину ограничителя в исходное состояние на этапе S5206, и обработка переходит к этапу S5207.
[0577] На этапе S5207, блок 8 управления определяет то, обнаруживается или нет вдыхание.
[0578] Когда определяется то, что вдыхание не обнаруживается (результат определения на этапе S5207 является отрицательным), обработка переходит к этапу S5209.
[0579] Когда определяется то, что вдыхание обнаруживается (результат определения на этапе S5207 является утвердительным), блок 13 изменения ограничителя обеспечивает рост ширины ограничителя, которая используется в блоке 14 ограничителя, на этапе S5208 и переходит к этапу S5209.
[0580] Обработка от этапа S5209 до этапа S5212 является идентичной обработке от этапа S4609 до этапа S4612 на фиг. 46.
[0581] В примере 5E, как описано выше, когда вдыхание обнаруживается, температура нагрузки 3 может восстанавливаться быстро и надлежащим образом, и после того, как температура нагрузки 3 восстанавливается, ширина ограничителя, которая используется в блоке 14 ограничителя, может снова возвращаться к значению до того, как вдыхание обнаруживается. В силу этого, температура нагрузки 3 может стабилизироваться.
[0582] Вышеуказанные варианты осуществления могут свободно комбинироваться. Варианты осуществления являются примерными и не имеют намерение ограничивать объем изобретения. Варианты осуществления могут реализовываться в других разнообразных формах и могут различным образом опускаться, заменяться и изменяться без отступления от сущности изобретения. Варианты осуществления и их модификации включаются в формулу изобретения и ее эквивалентный объем, а также в объем и сущность изобретения.
Группа изобретений относится к устройствам формирования аэрозоля, способам управления мощностью, которая подается из источника питания в нагрузку, и к носителю данных. Устройство формирования аэрозоля содержит нагрузку, выполненную с возможностью нагревать изделие для формирования аэрозоля посредством использования мощности, которая подается из источника питания. Изделие для формирования аэрозоля содержит формирующую аэрозоли подложку, выполненную с возможностью удерживать или переносить по меньшей мере одно из источника аэрозолей и источника аромата. Также изделие для формирования аэрозоля содержит блок управления, выполненный с возможностью управлять мощностью, которая подается из источника питания в нагрузку, в нескольких фазах, в которых выполняются различные режимы управления. Несколько фаз включают в себя фазу подготовки и фазу использования. Блок управления выполнен с возможностью выполнять управление с прямой связью в фазе подготовки и с возможностью выполнять управление с обратной связью в фазе использования. Технический результат – уменьшение периода времени от начала нагрева до тех пор, пока пользователь не может вдыхать аэрозоли, а также стабилизация величин формирования аэрозолей, таких как аромат и вкус, после того, как пользователь может вдыхать аэрозоли до тех пор, пока нагрев не закончен. 7 н. и 32 з.п. ф-лы, 52 ил., 22 пр.
1. Устройство формирования аэрозоля, содержащее:
нагрузку, выполненную с возможностью нагревать изделие для формирования аэрозоля посредством использования мощности, которая подается из источника питания, причем изделие для формирования аэрозоля содержит формирующую аэрозоли подложку, выполненную с возможностью удерживать или переносить по меньшей мере одно из источника аэрозолей и источника аромата; и
блок управления, выполненный с возможностью управлять мощностью, которая подается из источника питания в нагрузку, в нескольких фазах, в которых выполняются различные режимы управления, причем
несколько фаз включают в себя фазу подготовки и фазу использования,
блок управления выполнен с возможностью выполнять управление с прямой связью в фазе подготовки, и
блок управления выполнен с возможностью выполнять управление с обратной связью в фазе использования.
2. Устройство формирования аэрозоля по п. 1, в котором блок управления выполнен с возможностью выполнять первое управление с прямой связью в первой фазе из нескольких фаз и выполнять по меньшей мере управление с обратной связью второго управления с прямой связью и управление с обратной связью во второй фазе из нескольких фаз, которая выполняется после первой фазы.
3. Устройство формирования аэрозоля по п. 1, в котором число режимов управления, которые используются во второй фазе из нескольких фаз, превышает число режимов управления, которые используются в первой фазе из нескольких фаз, причем вторая фаза выполняется после первой фазы.
4. Устройство формирования аэрозоля по п. 1, в котором период времени выполнения первой фазы из нескольких фаз меньше периода времени выполнения второй фазы из нескольких фаз, в которой темп увеличения температуры нагрузки ниже, чем в первой фазе.
5. Устройство формирования аэрозоля по п. 1, в котором период времени выполнения первой фазы из нескольких фаз меньше периода времени выполнения второй фазы из нескольких фаз, в которой температура или средняя температура нагрузки выше, чем в первой фазе.
6. Устройство формирования аэрозоля по п. 1, в котором величина мощности, которая подается из источника питания в нагрузку в первой фазе из нескольких фаз, меньше величины мощности, которая подается из источника питания в нагрузку во второй фазе из нескольких фаз, в которой темп увеличения температуры нагрузки ниже, чем в первой фазе.
7. Устройство формирования аэрозоля по п. 1, в котором величина мощности, которая подается из источника питания в нагрузку в первой фазе из нескольких фаз, меньше величины мощности, которая подается из источника питания в нагрузку во второй фазе из нескольких фаз, в которой температура или средняя температура нагрузки выше, чем в первой фазе.
8. Устройство формирования аэрозоля по п. 1, в котором мощность, которая подается из источника питания в нагрузку в первой фазе из нескольких фаз, превышает мощность, которая подается из источника питания в нагрузку во второй фазе из нескольких фаз, в которой темп увеличения температуры нагрузки ниже, чем в первой фазе.
9. Устройство формирования аэрозоля по п. 1, в котором мощность, которая подается из источника питания в нагрузку в первой фазе из нескольких фаз, превышает мощность, которая подается из источника питания в нагрузку во второй фазе из нескольких фаз, в которой температура или средняя температура нагрузки выше, чем в первой фазе.
10. Устройство формирования аэрозоля по п. 1, в котором несколько фаз содержат первую фазу и вторую фазу,
при этом темп увеличения температуры нагрузки во второй фазе ниже темпа увеличения температуры нагрузки в первой фазе, и
при этом число условий окончания второй фазы при удовлетворении превышает число условий окончания первой фазы при удовлетворении.
11. Устройство формирования аэрозоля по п. 1, в котором несколько фаз содержат первую фазу и вторую фазу,
при этом темп увеличения температуры нагрузки во второй фазе ниже темпа увеличения температуры нагрузки в первой фазе, и
при этом число условий окончания, которые должны удовлетворяться, чтобы завершить вторую фазу, превышает число условий окончания, которые должны удовлетворяться, чтобы завершить первую фазу.
12. Устройство формирования аэрозоля по п. 1, в котором несколько фаз содержат первую фазу и вторую фазу,
при этом температура или средняя температура нагрузки во второй фазе выше температуры или средней температуры нагрузки в первой фазе, и
при этом число условий окончания второй фазы при удовлетворении превышает число условий окончания первой фазы при удовлетворении.
13. Устройство формирования аэрозоля по п. 1, в котором несколько фаз содержат первую фазу и вторую фазу,
при этом температура или средняя температура нагрузки во второй фазе выше температуры или средней температуры нагрузки в первой фазе, и
при этом число условий окончания, которые должны удовлетворяться, чтобы завершить вторую фазу, превышает число условий окончания, которые должны удовлетворяться, чтобы завершить первую фазу.
14. Устройство формирования аэрозоля по п. 1, в котором несколько фаз содержат первую фазу и вторую фазу, в которой темп увеличения температуры нагрузки ниже, чем в первой фазе, и
при этом число переменных, которые получаются блоком управления перед выполнением первой фазы или перед увеличением температуры нагрузки в первой фазе и используются при управлении мощностью, которая подается из источника питания в нагрузку в первой фазе, превышает число переменных, которые получаются блоком управления перед выполнением второй фазы или перед увеличением температуры нагрузки во второй фазе и используются при управлении мощностью, которая подается из источника питания в нагрузку во второй фазе.
15. Устройство формирования аэрозоля по п. 14, в котором несколько фаз содержат фазу, в которой темп увеличения температуры нагрузки является наименьшим, и
при этом блок управления не получает переменную, которая используется при управлении мощностью, которая подается из источника питания в нагрузку в наименьшей фазе, перед выполнением наименьшей фазы или перед увеличением температуры нагрузки в наименьшей фазе, либо не выполняет управление мощностью, которая подается из источника питания в нагрузку в наименьшей фазе, на основе переменной, полученной перед выполнением наименьшей фазы или перед увеличением температуры нагрузки в наименьшей фазе.
16. Устройство формирования аэрозоля по п. 1, в котором несколько фаз содержат первую фазу и вторую фазу, в которой температура или средняя температура нагрузки выше, чем в первой фазе, и
при этом число переменных, которые получаются блоком управления перед выполнением первой фазы или перед увеличением температуры нагрузки в первой фазе и используются при управлении мощностью, которая подается из источника питания в нагрузку в первой фазе, превышает число переменных, которые получаются блоком управления перед выполнением второй фазы или перед увеличением температуры нагрузки во второй фазе и используются при управлении мощностью, которая подается из источника питания в нагрузку во второй фазе.
17. Устройство формирования аэрозоля по п. 16, в котором несколько фаз содержат фазу, в которой температура или средняя температура нагрузки является наибольшей, и
при этом блок управления не получает переменную, которая используется при управлении мощностью, которая подается из источника питания в нагрузку в наибольшей фазе, перед выполнением наибольшей фазы или перед увеличением температуры нагрузки в наибольшей фазе, либо не выполняет управление мощностью, которая подается из источника питания в нагрузку в наибольшей фазе, на основе переменной, полученной перед выполнением наибольшей фазы или перед увеличением температуры нагрузки в наибольшей фазе.
18. Устройство формирования аэрозоля по п. 1, в котором несколько фаз содержат первую фазу и вторую фазу,
при этом темп увеличения температуры нагрузки во второй фазе ниже темпа увеличения температуры нагрузки в первой фазе, и
при этом число изменений переменных и/или алгоритмов, которые используются при управлении второй фазы в ходе выполнения управления второй фазы, превышает число изменений переменных и/или алгоритмов, которые используются при управлении для первой фазы в ходе выполнения управления первой фазы.
19. Устройство формирования аэрозоля по п. 18, в котором блок управления выполнен с возможностью не изменять переменную и/или алгоритм, которая/который используется при управлении фазы из нескольких фаз, в которой темп увеличения температуры нагрузки является наибольшим, в ходе выполнения управления наибольшей фазы.
20. Устройство формирования аэрозоля по п. 1, в котором несколько фаз содержат первую фазу и вторую фазу,
при этом температура или средняя температура нагрузки во второй фазе выше температуры или средней температуры нагрузки в первой фазе, и
при этом число изменений переменных и/или алгоритмов, которые используются при управлении второй фазы в ходе выполнения управления второй фазы, превышает число изменений переменных и/или алгоритмов, которые используются при управлении первой фазы в ходе выполнения управления первой фазы.
21. Устройство формирования аэрозоля по п. 20, в котором блок управления выполнен с возможностью не изменять переменную и/или алгоритм, которая/который используется при управлении фазы из нескольких фаз, в которой температура или средняя температура нагрузки является наименьшей, в ходе выполнения управления наименьшей фазы.
22. Устройство формирования аэрозоля по п. 1, в котором несколько фаз содержат первую фазу и вторую фазу,
при этом темп увеличения температуры нагрузки во второй фазе ниже темпа увеличения температуры нагрузки в первой фазе, и
при этом блок управления выполнен с возможностью обнаруживать вдыхание аэрозолей, сформированных из изделия для формирования аэрозоля, и ширина увеличения мощности, которая подается из источника питания в нагрузку в соответствии с вдыханием, обнаруженным во второй фазе, превышает ширину увеличения мощности, которая подается из источника питания в нагрузку в соответствии с вдыханием, обнаруженным в первой фазе.
23. Устройство формирования аэрозоля по п. 1, в котором несколько фаз содержат первую фазу и вторую фазу,
при этом температура или средняя температура нагрузки во второй фазе выше температуры или средней температуры нагрузки в первой фазе, и
при этом блок управления выполнен с возможностью обнаруживать вдыхание аэрозолей, сформированных из изделия для формирования аэрозоля, и ширина увеличения мощности, которая подается из источника питания в нагрузку в соответствии с вдыханием, обнаруженным во второй фазе, превышает ширину увеличения мощности, которая подается из источника питания в нагрузку в соответствии с вдыханием, обнаруженным в первой фазе.
24. Устройство формирования аэрозоля по п. 1, в котором блок управления выполнен с возможностью получать степень протекания, на основе различных переменных, для каждой из нескольких фаз.
25. Устройство формирования аэрозоля по п. 24, в котором блок управления выполнен с возможностью получать степень протекания фазы из нескольких фаз, в которой темп увеличения температуры нагрузки является наибольшим, на основе времени.
26. Устройство формирования аэрозоля по п. 24, в котором блок управления выполнен с возможностью получать степень протекания фазы из нескольких фаз, в которой температура или средняя температура нагрузки является наименьшей, на основе времени.
27. Устройство формирования аэрозоля по п. 24, в котором блок управления выполнен с возможностью обнаруживать вдыхание аэрозолей, сформированных из изделия для формирования аэрозоля, и получать степень протекания фазы из нескольких фаз, в которой темп увеличения температуры нагрузки является наименьшим, на основе температуры нагрузки или вдыхания.
28. Устройство формирования аэрозоля по п. 24, в котором блок управления выполнен с возможностью обнаруживать вдыхание аэрозолей, сформированных из изделия для формирования аэрозоля, и получать степень протекания фазы из нескольких фаз, в которой температура или средняя температура нагрузки является наибольшей, на основе температуры нагрузки или вдыхания.
29. Способ управления мощностью, которая подается из источника питания в нагрузку, которая используется для того, чтобы нагревать изделие для формирования аэрозоля, содержащее формирующую аэрозоли подложку, выполненную с возможностью удерживать или переносить по меньшей мере одно из источника аэрозолей и источника аромата, при этом способ управления содержит этапы, на которых:
начинают подачу мощности из источника питания в нагрузку;
управляют мощностью, которая подается из источника питания в нагрузку, в нескольких фазах, в которых выполняют различные режимы управления, причем
несколько фаз включают в себя фазу подготовки и фазу использования,
в фазе подготовки выполняют управление с прямой связью, а
в фазе использования выполняют управление с обратной связью.
30. Устройство формирования аэрозоля, содержащее:
нагрузку, выполненную с возможностью нагревать изделие для формирования аэрозоля посредством использования мощности, которая подается из источника питания, причем изделие для формирования аэрозоля содержит формирующую аэрозоли подложку, выполненную с возможностью удерживать или переносить по меньшей мере одно из источника аэрозолей и источника аромата; и
блок управления, выполненный с возможностью управлять мощностью, которая подается из источника питания в нагрузку,
при этом блок управления выполнен с возможностью выполнять управление с обратной связью в нескольких фазах, в которых целевые температуры отличаются,
при этом по меньшей мере одно из усиления при управлении с обратной связью и верхнего предельного значения мощности, которая подается из источника питания в нагрузку, отличается в каждой из нескольких фаз,
при этом несколько фаз включают в себя фазу подготовки и фазу использования, и
при этом блок управления выполнен с возможностью выполнять управление с прямой связью в фазе подготовки, и блок управления выполнен с возможностью выполнять управление с обратной связью в фазе использования.
31. Устройство формирования аэрозоля по п. 30, в котором несколько фаз содержат первую фазу и вторую фазу,
при этом целевая температура первой фазы ниже целевой температуры второй фазы, и
при этом по меньшей мере одно из усиления и верхнего предельного значения, которые используются в первой фазе посредством блока управления, превышает по меньшей мере одно из усиления и верхнего предельного значения, которые используются во второй фазе посредством блока управления.
32. Устройство формирования аэрозоля по п. 30, в котором несколько фаз содержат первую фазу и вторую фазу,
при этом ширина изменения температуры нагрузки в первой фазе превышает ширину изменения температуры нагрузки во второй фазе, и
при этом по меньшей мере одно из усиления и верхнего предельного значения, которые используются в первой фазе посредством блока управления, превышает по меньшей мере одно из усиления и верхнего предельного значения, которые используются во второй фазе посредством блока управления.
33. Устройство формирования аэрозоля по п. 30, в котором несколько фаз содержат первую фазу и вторую фазу,
при этом целевая температура второй фазы выше целевой температуры первой фазы, и
при этом ширина изменения по меньшей мере одного из усиления и верхнего предельного значения, которые используются в первой фазе посредством блока управления, меньше ширины изменения по меньшей мере одного из усиления и верхнего предельного значения, которые используются во второй фазе посредством блока управления.
34. Устройство формирования аэрозоля по п. 30, в котором несколько фаз содержат первую фазу и вторую фазу,
при этом ширина изменения температуры нагрузки во второй фазе меньше ширины изменения температуры нагрузки в первой фазе, и
при этом ширина изменения по меньшей мере одного из усиления и верхнего предельного значения, которые используются в первой фазе посредством блока управления, меньше ширины изменения по меньшей мере одного из усиления и верхнего предельного значения, которые используются во второй фазе посредством блока управления.
35. Устройство формирования аэрозоля по любому из пп. 30-34, в котором несколько фаз содержат первую фазу и вторую фазу, и
при этом блок управления выполнен с возможностью изменять по меньшей мере одно из целевой температуры, усиления и верхнего предельного значения мощности второй фазы, на основе степени протекания первой фазы.
36. Способ управления мощностью, которая подается из источника питания в нагрузку, которая используется для того, чтобы нагревать изделие для формирования аэрозоля, содержащее формирующую аэрозоли подложку, выполненную с возможностью удерживать или переносить по меньшей мере одно из источника аэрозолей и источника аромата, при этом способ управления содержит этапы, на которых:
начинают подачу мощности из источника питания в нагрузку, и
выполняют управление с обратной связью для мощности, которая подается из источника питания в нагрузку,
при этом управление с обратной связью выполняют в нескольких фазах, в которых целевые температуры отличаются,
при этом по меньшей мере одно из усиления при управлении с обратной связью и верхнего предельного значения мощности отличается в каждой из нескольких фаз,
при этом несколько фаз включают в себя фазу подготовки и фазу использования, и
при этом в фазе подготовки выполняют управление с прямой связью, а управление с обратной связью выполняют в фазе использования.
37. Устройство формирования аэрозоля, содержащее:
нагрузку, выполненную с возможностью нагревать изделие для формирования аэрозоля посредством использования мощности, которая подается из источника питания, причем изделие для формирования аэрозоля содержит формирующую аэрозоли подложку, выполненную с возможностью удерживать или переносить по меньшей мере одно из источника аэрозолей и источника аромата; и
блок управления, выполненный с возможностью управлять мощностью, которая подается из источника питания в нагрузку,
при этом блок управления выполнен с возможностью выполнять управление с обратной связью в нескольких фазах,
при этом усиление при управлении с обратной связью отличается в каждой из нескольких фаз,
при этом несколько фаз включают в себя фазу подготовки и фазу использования, и
при этом блок управления выполнен с возможностью выполнять управление с прямой связью в фазе подготовки, и блок управления выполнен с возможностью выполнять управление с обратной связью в фазе использования.
38. Способ управления мощностью, которая подается из источника питания в нагрузку, которая используется для того, чтобы нагревать изделие для формирования аэрозоля, содержащее формирующую аэрозоли подложку, выполненную с возможностью удерживать или переносить по меньшей мере одно из источника аэрозолей и источника аромата, при этом способ управления содержит этапы, на которых:
начинают подачу мощности из источника питания в нагрузку, и
выполняют управление с обратной связью для мощности, которая подается из источника питания в нагрузку,
при этом управление с обратной связью выполняют в нескольких фазах,
при этом усиление при управлении с обратной связью отличается в каждой из нескольких фаз,
при этом несколько фаз включают в себя фазу подготовки и фазу использования, и
при этом в фазе подготовки выполняют управление с прямой связью, а управление с обратной связью выполняют в фазе использования.
39. Носитель данных, содержащий программу для обеспечения возможности компьютеру выполнять способ управления по любому из пп. 29, 36 и 38.
| US 2015230521 A1, 20.08.2015 | |||
| JP 2011045204 A, 03.03.2011 | |||
| US 6040560 A, 21.03.2000 | |||
| JP 2015524260 A, 24.08.2015 | |||
| ГЕНЕРИРУЮЩИЙ АЭРОЗОЛЬ МАТЕРИАЛ И УСТРОЙСТВА, ВКЛЮЧАЮЩИЕ В СЕБЯ ТАКОЙ ГЕНЕРИРУЮЩИЙ АЭРОЗОЛЬ МАТЕРИАЛ | 2014 |
|
RU2637980C2 |
Авторы
Даты
2021-10-01—Публикация
2018-03-26—Подача