УСТРОЙСТВО ДЛЯ ГЕНЕРИРОВАНИЯ АЭРОЗОЛЯ Российский патент 2024 года по МПК A24F40/40 

Описание патента на изобретение RU2830156C2

[Область техники]

[1] Настоящее изобретение относится к устройству для генерирования аэрозоля.

[Предшествующий уровень техники]

[2] Устройство для генерирования аэрозоля представляет собой устройство, извлекающее определенные компоненты из среды или вещества путем образования аэрозоля. Среда может содержать многокомпонентное вещество. Вещество, содержащееся в среде, может представлять собой многокомпонентное вкусо-ароматизирующее вещество. Например, вещество, содержащееся в среде, может содержать никотиновый компонент, растительный компонент и/или кофейный компонент. В последнее время проводятся различные исследования устройств для генерирования аэрозоля.

[Сущность изобретения]

[Техническая задача]

[3] Задачей настоящего изобретения является устранение вышеупомянутых и других проблем.

[4] Другой задачей настоящего изобретения является разработка устройства для генерирования аэрозоля, выполненного с возможностью распознавания повторного использования стика.

[5] Другой задачей настоящего изобретения является разработка устройства для генерирования аэрозоля, способного предотвращать утечку жидкости.

[Техническое решение]

[6] Согласно одному из аспектов настоящего изобретения, поставленные задачи решены устройством для генерирования аэрозоля, содержащим корпус, содержащий пространство для введения, сообщающееся с внешней стороной корпуса; удлиненный зонд, соединенный с корпусом и содержащий первый конец, причем удлиненный зонд выполнен с возможностью перемещения из пространства для введения вовнутрь корпуса; и датчик давления, соединенный с корпусом и расположенный рядом с первым концом удлиненного зонда.

[Полезные эффекты изобретения]

[7] По меньшей мере в одном из вариантов осуществления настоящего изобретения можно определить, использовался ли уже стик.

[8] По меньшей мере в одном из вариантов осуществления настоящего изобретения может быть предложена конструкция картриджа, позволяющего предотвратить утечку жидкости.

[9] Дополнительные варианты осуществления настоящего изобретения станут очевидными из следующего подробного описания. Тем не менее, поскольку специалистам в данной области техники будут несомненно понятны различные изменения и модификации в рамках сущности и объема настоящего изобретения, следует понимать, что подробное описание и конкретные варианты осуществления изобретения, такие как предпочтительные варианты осуществления настоящего изобретения, приведены только в качестве примера.

[Описание чертежей]

[10] Вышеприведенные и другие цели, признаки и другие преимущества согласно настоящему изобретению следуют из приведенного ниже подробного описания изобретения со ссылкой на прилагаемые чертежи, на которых изображено:

[11] На ФИГ. 1-24 изображены виды, иллюстрирующие устройство для генерирования аэрозоля согласно вариантам осуществления настоящего изобретения.

[Принцип изобретения]

[12] Здесь и далее варианты осуществления, раскрытые в настоящей спецификации, будут подробно описаны со ссылкой на сопроводительные чертежи, причем одинаковые или подобные элементы имеют одинаковые ссылочные обозначения, даже если они изображены на разных чертежах, а их излишние описания будут опущены.

[13] В отношении составляющих элементов, используемых в последующем описании, термины «модуль» и «блок» используются только с точки зрения облегчения описания и не имеют взаимно различающихся значений или функций.

[14] Кроме того, в последующем описании вариантов осуществления изобретения в настоящем документе подробное описание известных функций и конфигураций, являющихся частью настоящего раскрытия, будет опущено, если это может сделать предмет раскрытых вариантов осуществления изобретения неясным. Кроме того, прилагаемые чертежи предоставлены только для лучшего понимания раскрытых вариантов осуществления изобретения, и не предназначены для ограничения раскрытых технических идей. Следовательно, следует понимать, что прилагаемые чертежи содержат все модификации, эквиваленты и замены в пределах объема и сущности настоящего изобретения.

[15] Следует понимать, что, хотя термины «первый», «второй» и т.д. могут использоваться для описания различных компонентов, эти компоненты не могут ограничиваться этими терминами. Эти термины используются исключительно для различения одного компонента от другого.

[16] Следует понимать, что, когда компонент упоминается как «соединенный с» или «связанный с» другим компонентом, он может быть непосредственно соединен или связан с другим компонентом, или могут присутствовать промежуточные компоненты. С другой стороны, когда компонент упоминается как «непосредственно соединенный с» или «непосредственно связанный с» другим компонентом, промежуточные компоненты отсутствуют.

[17] Форма единственного числа подразумевает как единственное, так и множественное число существительных, за исключением случаев, когда контекстом явно определено иное.

[18] Как показано на ФИГ. 1, устройство 1 для генерирования аэрозоля может содержать крышку 20, верхний корпус 30 и нижний корпус 60, и стик 10 может быть вставлен в крышку 20.

[19] Крышка 20, верхний корпус 30 и нижний корпус 60 совместно могут формировать внешний вид устройства 1 для генерирования аэрозоля. Нижний корпус 60 может быть соединен с нижней стороной верхнего корпуса 30. Крышка 20 может покрывать верхнюю поверхность верхнего корпуса 30. Отверстие 21 для введения (см. ФИГ. 6) может быть выполнено в крышке 20, и стик 10 для вдыхания аэрозоля может быть вставлен в отверстие 21 для введения. Пользователь может удерживать верхний корпус 30 или нижний корпус 60, чтобы вдыхать аэрозоль, сгенерированный в устройстве 1 для генерирования аэрозоля, через вставленный в устройство стик 10. Другие компоненты могут быть размещены в верхнем корпусе 30 и нижнем корпусе 60.

[20] Как показано на ФИГ. 2-4, устройство 1 для генерирования аэрозоля может содержать крышку 20, верхний корпус 30, картридж 40, корпус 50 и нижний корпус 60. Стик 10 может быть вставлен в крышку 20.

[21] Верхний корпус 30 может быть установлен снаружи корпуса 50. Нижний корпус 60 может быть установлен снаружи корпуса 50. Картридж 40 может быть установлен внутри корпуса 50. Крышка 20 может быть установлена на верхнем корпусе 30. Стик 10 может быть вставлен в картридж 40 через крышку 20 и верхний корпус 30.

[22] Картридж 40 может быть установлен внутри корпуса 50. Корпус 50 может содержать крепление 51, на котором установлен картридж 40. Корпус 50 может содержать колонку 52, через которую проходит воздух. Электронные компоненты, необходимые для генерирования аэрозоля, могут быть установлены внутри корпуса 50. Кроме того, в корпус 50 может быть помещен контроллер 100 (см. ФИГ. 22) для управления генерированием аэрозоля и работой устройства 1 для генерирования аэрозоля.

[23] В креплении 51 может быть предусмотрено пространство для размещения картриджа 40. На внутренней стороне крепления 51 может быть сформирован выступ 512, а на внешней стороне картриджа 40 может быть сформирована выемка 456, входящая в зацепление с выступом 512 крепления 51. Выступ 512 крепления 51 может быть введен в выемку 456 картриджа 40. Крепление 51 может быть выполнено как единое целое с колонкой 52. Крепление 51 может быть расположено на верхней стороне корпуса 50. Внутреннее пространство 513 в креплении 51, в которое помещают картридж 40, может сообщаться с внешней средой.

[24] В колонке 52 может быть выполнено первое сквозное отверстие 521 и второе сквозное отверстие 522, через которые внутренняя часть колонки 52 сообщается с внешней средой. Колонка 52 может быть расположена рядом с верхним корпусом 41 (см. ФИГ. 8) и нижним корпусом 43 (см. ФИГ. 8). Колонка 52 может выступать вверх от корпуса 50. Колонка 52 может быть ориентирована в продольном направлении верхнего корпуса 41. Колонка 52 может содержать проточный канал. Воздух, поступающий в колонку 52 через первое сквозное отверстие 521, может быть выпущен наружу из колонки 52 через второе сквозное отверстие 522.

[25] Корпус 50 может содержать несколько выступов 54 и 55, сформированных на его внешней поверхности таким образом, чтобы они соединялись с верхним корпусом 30 и нижним корпусом 60. Выступ 54 корпуса 50 может быть введен в выемку (не показанную на фигуре), выполненную в верхнем корпусе 30. Выступ 55, образованный на внешней поверхности корпуса 50, может быть введен в выемку 61, выполненную в нижнем корпусе 60. Верхний корпус 30 и нижний корпус 60 могут защищать картридж 40 и корпус 50. Верхний корпус 30 может быть соединен с верхней стороной корпуса 50 таким образом, чтобы он окружал верхнюю часть корпуса 50. Нижний корпус 60 может быть соединен с нижней стороной корпуса 50 таким образом, чтобы он окружал нижнюю часть корпуса 50.

[26] Как показано на ФИГ. 5, вышеупомянутый стик 10 может содержать среднюю часть 11. Стик 10 может содержать охлаждающую часть 12. Стик 10 может содержать фильтрующую часть 13. Охлаждающая часть 12 может быть расположена между частью 11 среды и фильтрующей частью 13. Стик 10 может содержать обертку 14. Обертка 14 может обертывать часть 11 среды. Обертка 14 может обертывать охлаждающую часть 12. Обертка 14 может обертывать фильтрующую часть 13. Стик 10 может иметь цилиндрическую форму.

[27] Часть 11 среды может содержать среду 114. Часть 11 среды может содержать первую крышку 115 среды. Часть 11 среды может содержать вторую крышку 116 среды. Среда 114 может быть расположена между первой крышкой 115 среды и второй крышкой 116 среды. Первая крышка 115 среды может быть расположена на одном конце стика 10. Длина части 11 среды может составлять 24 мм.

[28] Среда 114 может содержать многокомпонентное вещество. Вещество, содержащееся в среде, может представлять собой многокомпонентное вкусо-ароматизирующее вещество. Среда 114 может содержать множество гранул. Размер каждой из множества гранул может составлять от 0,4 мм до 1,12 мм. На гранулы может приходиться примерно 70% объема среды 114. Длина L2 среды 114 может составлять 10 мм. Первая крышка 115 среды может быть изготовлена из ацетатного материала. Вторая крышка 116 среды может быть изготовлена из ацетатного материала. Первая крышка 115 среды может быть изготовлена из бумажного материала. Вторая крышка 116 среды может быть изготовлена из бумажного материала. Первая крышка 115 среды и / или вторая крышка 116 среды могут быть изготовлены из бумажного материала и могут быть смяты с образованием складок, и между складками может быть образовано множество зазоров таким образом, чтобы через них проходил воздух. Каждый из зазоров может быть меньше каждой гранулы среды 114. Длина L1 первой крышки 115 среды может быть меньше длины L2 среды 114. Длина L3 второй крышки 115 среды может быть меньше длины L2 среды 114. Длина L1 первой крышки 115 среды может составлять 7 мм. Длина L2 второй крышки 115 среды может составлять 7 мм.

[29] Соответственно, можно предотвратить отделение каждой гранулы среды 114 от части 11 среды и стика 10.

[30] Охлаждающая часть 12 может иметь цилиндрическую форму. Охлаждающая часть 12 может иметь полую форму. Охлаждающая часть 12 может быть размещена между частью 11 среды и фильтрующей частью 13. Охлаждающая часть 12 может быть размещена между второй крышкой 116 среды и фильтрующей частью 13. Охлаждающая часть 12 может быть выполнена в форме трубки, окружающей сформированный в ней охлаждающий канал 121. Охлаждающая часть 12 может быть толще обертки 14. Охлаждающая часть 12 может быть изготовлена из бумажного материала, толщина которого превышает толщину обертки 14. Длина L4 охлаждающей части 12 может быть равна или подобна длине L2 среды 114. Длина L4 охлаждающей части 12 и охлаждающего канала 121 может составлять 10 мм. Когда стик 10 вставлен в устройство для генерирования аэрозоля (см. ФИГ. 3), по меньшей мере часть охлаждающей части 12 может выступать наружу из устройства для генерирования аэрозоля.

[31] Соответственно, охлаждающая часть 12 может поддерживать часть 11 среды и фильтрующую часть 13 и обеспечивать жесткость стика 10. Кроме того, охлаждающая часть 12 может поддерживать обертку 14 между частью 11 среды и фильтрующей частью 13 и может образовывать часть, к которой прилегает обертка 14. Кроме того, нагретый воздух и аэрозоль могут охлаждаться при прохождении по охлаждающему каналу 121 в охлаждающей части 12.

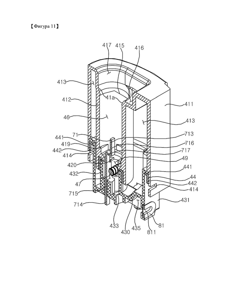
[32] Фильтрующая часть 13 может представлять собой фильтр, изготовленный из ацетатного материала. Фильтрующая часть 13 может быть размещена на другом конце стика 10. Когда стик 10 вставлен в устройство для генерирования аэрозоля (см. ФИГ. 3), фильтрующая часть 13 может выступать наружу из устройства для генерирования аэрозоля. Пользователь может вдыхать воздух, удерживая фильтрующую часть 13 во рту. Длина L5 фильтрующей части 13 может составлять 14 мм.

[33] Обертка 14 может обертывать или окружать часть 11 среды, охлаждающую часть 12 и фильтрующую часть 13. Обертка 14 может формировать внешний вид стика 10. Обертка 14 может быть изготовлена из бумажного материала. Клейкая часть 140 может быть сформирована вдоль одного края обертки 14. Обертка 14 может окружать часть 11 среды, охлаждающую часть 12 и фильтрующую часть 13, и клейкая часть 140, сформированная вдоль одного края обертки 14, и другой край обертки могут быть приклеены друг к другу. Обертка 14 может окружать часть 11 среды, охлаждающую часть 12 и фильтрующую часть 13, но может не покрывать один или другой конец стика 10.

[34] Соответственно, обертка 14 может фиксировать часть 11 среды, охлаждающую часть 12 и фильтрующую часть 13 и предотвращать отделение этих компонентов от стика 10.

[35] Первая тонкая пленка 141 может быть размещена в положении, соответствующем первой крышке 115 среды. Первая тонкая пленка 141 может быть размещена между оберткой 14 и первой крышкой 115 среды или может быть размещена снаружи обертки 14. Первая тонкая пленка 141 может окружать первую крышку 115 среды. Первая тонкая пленка 141 может быть изготовлена из металлического материала. Первая тонкая пленка 141 может быть изготовлена из алюминиевого материала. Первая тонкая пленка 141 может находиться в тесном контакте с оберткой 14 или быть нанесена на нее.

[36] Вторая тонкая пленка 142 может быть размещена в положении, соответствующем второй крышке 116 среды. Вторая тонкая пленка 142 может быть размещена между оберткой 14 и второй крышкой 116 среды или снаружи обертки 14. Вторая тонкая пленка 142 может быть изготовлена из металлического материала. Вторая тонкая пленка 142 может быть изготовлена из алюминиевого материала. Вторая тонкая пленка 142 может находиться в тесном контакте с оберткой 14 или быть нанесена на нее.

[37] Как показано на ФИГ. 6 и 7, крышка 20 может содержать отверстие 21 для введения, в которое вставляют стик 10, и колпачок 22 для открывания и закрывания отверстия 21 для введения.

[38] Отверстие 21 для введения может быть выполнено в крышке 20. Отверстие 21 для введения может иметь форму, соответствующую окружности стика 10. Стик 10 может проходить через отверстие 21 для введения. Между стиком 10, вставленным в отверстие 21 для введения, и отверстием 21 для введения может быть образован первый зазор 225. Воздух может проходить через первый зазор 225.

[39] Колпачок 22 может быть расположен ниже отверстия 21 для введения. Колпачок 22 может быть соединен с крышкой 20 посредством поворотного вала 224. Колпачок 22 может содержать крышку 221, закрывающую отверстие 21 для введения и соединенную с поворотным валом 224, упругий элемент 223, прилагающий упругое усилие к крышке 221, и защелку 222, выполненную на крышке 221 и фиксирующую упругий элемент 223. Упругий элемент 223 может вступать в контакт с защелкой 222. Упругий элемент 223, зафиксированный защелкой 222, может прилагать упругое усилие к крышке 221. Крышка 221 может удерживаться в тесном контакте с отверстием 21 для введения под действием упругого усилия.

[40] Между тем, когда стик 10 вставлен в отверстие 21 для введения, крышка 221 может вращаться с помощью стика 10, а упругий элемент 223 может быть сжат. Когда стик 10 извлекают из устройства 1 для генерирования аэрозоля, сжатый упругий элемент 223 прилагает восстанавливающее усилие к защелке 222, и крышка 221, соединенная с защелкой 222, может поворачиваться и приводиться в плотный контакт с отверстием 21 для введения под действием восстанавливающего усилия.

[41] Как показано на ФИГ. 8 и 9, картридж 40 может содержать верхний корпус 41, нижний корпус 43, основание 45, первую прокладку 42, вторую прокладку 44, пространство 46 для введения, фитиль 47, нагреватель 48 и пространство 49 для испарения жидкости. Удлиненный зонд 71 (см. ФИГ. 9) может быть установлен внутри картриджа 40. Первое уплотнение 81 может быть размещено в картридже 40.

[42] Верхний корпус 41 может содержать первую внешнюю стенку 411, первую внутреннюю стенку 412, контейнер 413, соединительную выемку 414, опорное ребро 415, часть 416 для установки колпачка, отверстие 417 и уклон 41a.

[43] Первая внешняя стенка 411 может иметь продолговатую форму. Первая внешняя стенка 411 может быть вытянута по вертикали. Первая внешняя стенка 411 может формировать внешнюю поверхность верхней части картриджа 40. Первая внешняя стенка 411 может быть выполнена как единое целое с первой внутренней стенкой 412. Первая внешняя стенка 411 может иметь плоскую внешнюю поверхность. Первая внешняя стенка 411 может иметь форму, соответствующую форме первой внутренней стенки 412. Первая внешняя стенка 411 может определять внешний вид верхнего корпуса 41.

[44] Первая внутренняя стенка 412 может быть расположена внутри первой внешней стенки 411. Первая внутренняя стенка 412 может иметь продолговатую форму. Первая внутренняя стенка 412 может быть вытянута по вертикали. Первая внутренняя стенка 412 может определять пространство 46 для введения, сообщающееся с внешней средой. Первая внутренняя стенка 412 может иметь плоскую внутреннюю поверхность. Стик 10 может быть вставлен в пространство 46 для введения, определяемое первой внутренней стенкой 412. Первая внутренняя стенка 412 может содержать пространство 46 для введения, имеющее продолговатую форму. Пространство 46 для введения может быть вытянуто в продольном направлении удлиненного зонда 71.

[45] При этом первая внутренняя стенка 412 может быть наклонена в продольном направлении верхнего корпуса 41. Первая внутренняя стенка 412 может быть наклонена внутрь от своей верхней стороны к своей нижней стороне. Внутренний диаметр D1 нижней части первой внутренней стенки 412 может быть меньше внутреннего диаметра D2 верхней части первой внутренней стенки 412. Поскольку первая внутренняя стенка 412 наклонена, нижняя часть стика 10, вставленного в пространство 46 для введения, может опираться на первую внутреннюю стенку 412. Площадь сечения первой внутренней стенки 412 и пространства 46 для введения может постепенно уменьшаться от опорного ребра 415 к стопорному устройству 419.

[46] Кроме того, поскольку зазор между окружностью нижней части вставленного стика 10 и первой внутренней стенкой 412 герметизирован, можно предотвратить утечку аэрозоля, образованного в нижней части стика 10, через зазор между стиком 10 и первой внутренней стенкой 412.

[47] Контейнер 413 может быть образован первой внешней стенкой 411, первой внутренней стенкой 412, второй внешней стенкой 431 нижнего корпуса 43 и второй внутренней стенкой 432 нижнего корпуса 43. Контейнер 413 может быть расположен между верхним корпусом 41 и нижним корпусом 43. Контейнер 413 может содержать жидкость, используемую для генерирования аэрозоля. Контейнер 413 может быть герметично закрыт с внутренней стороны картриджа 40 первой прокладкой 42. Контейнер 413 может быть герметично закрыт с внешней стороны картриджа 40 второй прокладкой 44. Жидкость, хранящаяся в контейнере 413, может проникать через фитиль 47.

[48] Соединительная выемка 414 может быть выполнена в первой внешней стенке 411. Соединительная выемка 414 может быть выполнена в форме отверстия. Соединительная выемка 414 может быть соединена с соединительным выступом 454 основания 45. Несколько соединительных выемок 414 может быть выполнено по окружности верхнего корпуса 41. Несколько соединительных выемок 414 может быть размещено на одинаковом расстоянии друг от друга.

[49] Опорное ребро 415 может быть сформировано на первой внутренней стенке 412. Опорное ребро 415 может быть расположено рядом с верхним концом пространства 46 для введения. Опорное ребро 415 может выступать из первой внутренней стенки 412 в сторону пространства 46 для введения. Когда стик 10 вставлен в пространство 46 для введения, опорное ребро 415 может входить в контакт со стиком 10, вставленным в пространство 46 для введения. Опорное ребро 415 может поддерживать боковую поверхность вставленного стика 10. Фиксирующее усилие для фиксации вставленного стика 10 может изменяться в зависимости от степени выступания опорного ребра 415 или его формы.

[50] Может быть предусмотрено несколько опорных ребер 415, и несколько опорных ребер 415 могут быть последовательно расположены вдоль внутренней окружности первой внутренней стенки 412. Несколько опорных ребер 415 могут быть соединены друг с другом в единое целое.

[51] При этом, как показано на ФИГ. 16, несколько опорных ребер 415 могут быть соединены друг с другом, образуя многоугольную форму. Например, опорные ребра 415 могут иметь правильную шестиугольную форму. Соответственно, можно реализовать надежную поддержку окружности стика 10, вставленного в пространство 46 для введения.

[52] Часть 416 для установки колпачка может быть выполнена в верхнем корпусе 41. Часть 416 для установки колпачка может быть расположена ниже колпачка 22. При повороте колпачка 22 крышки 20 колпачок 22 может входить в часть 416 для установки колпачка. Часть 416 для установки колпачка может быть выполнена путем углубления части верхнего корпуса 41. Часть 416 для установки колпачка может быть выполнена путем углубления первой внутренней стенки 412. Часть 416 для установки колпачка может быть сформирована в верхней части верхнего корпуса 41. Часть 416 для установки колпачка может сообщаться с отверстием 417. Часть 416 для установки колпачка может иметь форму, соответствующую форме колпачка 22. Часть 416 для установки колпачка может входить в зацепление с колпачком 22, который был повернут.

[53] Отверстие 417 может сообщаться с пространством 46 для введения. Отверстие 417 может сообщаться с внешней стороной картриджа 40. Отверстие 417 может сообщаться с частью 416 для установки колпачка. Отверстие 417 может быть выполнено на верхней поверхности верхнего корпуса 41. Стик 10 может быть вставлен в пространство 46 для введения через отверстие 417. Стик 10 может быть вставлен через отверстие 417 в направлении сверху вниз.

[54] Уклон 41a может быть сформирован на первой внутренней стенке 412. Уклон 41a может быть сформирован между отверстием 417 и опорным ребром 415. Уклон 41a может быть образован между частью 416 для установки колпачка и опорным ребром 415. Уклон 41a может соединять опорное ребро 415 и отверстие 417. Уклон 41a может быть отклонен внутрь в направлении сверху вниз. Часть 416 для установки колпачка может быть соединена с верхней стороной уклона 41a, а опорное ребро 415 может быть соединено с нижней стороной уклона 41a. Уклон 41a позволяет плавно вставлять стик 10 в пространство 46 для введения вдоль уклона 41a.

[55] Нижний корпус 43 может содержать вторую внешнюю стенку 431, вторую внутреннюю стенку 432 и второе впускное отверстие 433. Нижний корпус 43 может быть соединен с нижней стороной верхнего корпуса 41. Нижний корпус 43 может быть вытянут в продольном направлении верхнего корпуса 41. В альтернативном варианте нижний корпус 43 может быть вытянут в вертикальном направлении.

[56] Вторая внешняя стенка 431 может быть соединена с первой внешней стенкой 411. Вторая внешняя стенка 431 может быть соединена с нижней стороной первой внешней стенки 411. Вторая внешняя стенка 431 может быть выполнена как единое целое со второй внутренней стенкой 432. Вторая внешняя стенка 431 может быть расположена внутри картриджа 40. Вторая внешняя стенка 431 может формировать внешний вид нижнего корпуса 43. Вторая внешняя стенка 431 и вторая внутренняя стенка 432 могут быть соединены друг с другом.

[57] Вторая внутренняя стенка 432 может быть соединена с первой внутренней стенкой 412. Вторая внутренняя стенка 432 может быть соединена с нижней стороной первой внутренней стенки 412. Вторая внутренняя стенка 432 может быть расположена ниже пространства 46 для введения. Внутренняя часть второй внутренней стенки 432 может сообщаться с пространством 46 для введения. Фитиль 47 и нагреватель 48 могут быть размещены внутри второй внутренней стенки 432.

[58] Пространство 49 для испарения жидкости может быть расположено внутри второй внутренней стенки 432. Аэрозоль, образованный в пространстве 49 для испарения жидкости, может поступать на стик 10, вставленный в пространство 46 для введения. Пользователь может вдыхать аэрозоль, образованный в пространстве для испарения жидкости, через стик 10.

[59] Второе впускное отверстие 433 может быть сформировано в нижнем корпусе 43. Пространство 49 для испарения жидкости может сообщаться с внешней стороной нижнего корпуса 43 через второе впускное отверстие. Воздух может поступать к фитилю 47 и нагревателю 48 через второе впускное отверстие 433. Второе впускное отверстие 433 может быть расположено рядом с фитилем 47. Второе впускное отверстие 433 может быть расположено ниже фитиля 47. Второе впускное отверстие 433 может быть сформировано на нижней поверхности 430 нижнего корпуса 43.

[60] Нижний корпус 43 может быть установлен в основании 45. Нижний корпус 43 может быть размещен в основании 45. Внешняя сторона основания 45 может быть вставлена в зазор между первой внешней стенкой 411 и второй внешней стенкой 431. Основание 45 может быть соединено с верхним корпусом 41. Основание 45 может иметь продолговатую форму. Основание 45 может быть вытянуто в продольном направлении верхнего корпуса 43. Основание 45 может окружать нижний корпус 43. Основание 45 может находиться на некотором удалении от нижней поверхности 430 нижнего корпуса 43.

[61] Основание 45 может содержать первое впускное отверстие 451. Первое впускное отверстие 451 может быть образовано на боковой поверхности 458 основания 45. Внутренняя часть основания 45 и внешняя часть основания 45 могут сообщаться друг с другом через первое впускное отверстие 451. Первое впускное отверстие 451 может сообщаться со вторым впускным отверстием 433. Первое впускное отверстие 451 может находиться на некотором удалении от нижней поверхности 457 основания 45. Первое впускное отверстие 451 может находиться на некотором удалении в верхнем направлении от нижней поверхности 457 основания 45, тем самым предотвращая утечку капель, оставшихся в нижней части основания 45.

[62] Основание 45 может содержать соединительный выступ 454. Соединительный выступ 454 может выступать из боковой поверхности 458 основания 45. Соединительный выступ 454 может быть сформирован на верхней части основания 45 и может быть введен в соединительную выемку 414, выполненную в нижней части первой внешней стенки 411.

[63] Фитиль 47 может быть расположен в пространстве 49 для испарения жидкости внутри нижнего корпуса 43. Часть фитиля 47 может быть соединена с внутренней частью контейнера 413. Фитиль 47 может быть соединен с внутренней частью контейнера 413 для поглощения жидкости, содержащейся в контейнере 413. Фитиль 47 может иметь продолговатую форму. Фитиль 47 может сообщаться с пространством 46 для введения. Фитиль 47 может быть расположен ниже пространства 46 для введения.

[64] При этом фитиль 47 может проходить в направлении нижней стороны контейнера 413. Поэтому, когда в контейнере 413 остается небольшое количество жидкости, жидкость может пропитывать фитиль 47, даже если пользователь не встряхивает или не переворачивает устройство 1 для генерирования аэрозоля.

[65] Нагреватель 48 может быть расположен в пространстве 49 для испарения жидкости. Нагреватель 48 может быть расположен рядом с фитилем 47. Нагреватель 48 может получать питание от аккумулятора 58 (см. ФИГ. 14) для выработки тепла. Нагреватель 48 может подавать тепло на фитиль 47. Нагреватель 48 может быть сформирован путем намотки вокруг фитиля 47. Нагреватель 48 может быть расположен внутри второй внутренней стенки 432.

[66] Когда нагреватель 48 передает тепло на фитиль 47, жидкость, пропитавшая фитиль 47, может испаряться с образованием аэрозоля. Полученный аэрозоль может подниматься в пространство 46 для введения. Пользователь может вдыхать полученный аэрозоль через стик 10, вставленный в пространство 46 для введения.

[67] Как показано на ФИГ. 9 и 10, устройство 1 для генерирования аэрозоля может содержать первую прокладку 42 и вторую прокладку 44.

[68] Первая внешняя стенка 411 верхнего корпуса 41 может содержать ступенчатую часть 418. Первая внутренняя стенка 412 верхнего корпуса 41 может содержать сжимающий выступ 410 и ограничитель 419. Вторая внешняя стенка 431 нижнего корпуса 43 может содержать фланец 434.

[69] Первая прокладка 42 может быть вставлена в зазор между первой внутренней стенкой 412 и второй внутренней стенкой 432 таким образом, чтобы стенки сжимали эту прокладку. Первая прокладка 42 может быть вставлена в зазор между нижним концом первой внутренней стенки 412 и верхним концом второй внутренней стенки 432. Первая прокладка 42 может быть расположена по окружности верхней части второй внутренней стенки 432. Первая прокладка 42 может быть выполнена из упругого материала. Первая прокладка 42 может предотвращать утечку жидкости, содержащейся в контейнере 413, в пространство 49 для испарения жидкости.

[70] Первая прокладка 42 может проходить вдоль второй внутренней стенки 432 в продольном направлении второй внутренней стенки 432. Кроме того, удлиненная первая прокладка 42 и первая внутренняя стенка 412 могут соприкасаться друг с другом. Удлинительная часть 421 первой прокладки 42 (см. ФИГ. 13) может быть вставлена в зазор между второй внутренней стенкой 432 и первой внутренней стенкой 412 таким образом, чтобы эти стенки сжимали прокладку. Соответственно, можно предотвратить утечку жидкости из контейнера 413 в пространство 49 для испарения жидкости.

[71] Вторая прокладка 44 может быть вставлена в зазор между первой внешней стенкой 411 и второй внешней стенкой 431 таким образом, чтобы стенки сжимали эту прокладку. Вторая прокладка 44 может проходить по окружности основания 45. Вторая прокладка 44 может быть вставлена в зазор между второй внешней стенкой 431 и основанием 45. Вторая прокладка 44 может быть вставлена в зазор между первой внешней стенкой 411 и основанием 45. Вторая прокладка 44 может предотвращать утечку жидкости, содержащейся в контейнере 413, из картриджа 40.

[72] Вторая прокладка 44 может содержать сжатую часть 441, вставленную в зазор между фланцем 434 и боковой поверхностью 458 основания 45, и удлинительную часть 442, проходящую от сжатой части 441 вдоль боковой поверхности 458 основания 45 и вставленную в зазор между основанием 45 и первой внешней стенкой 411. Соответственно, можно предотвратить утечку жидкости из контейнера 413 в зазор между нижним корпусом 43 и основанием 45 или в зазор между основанием 45 и верхним корпусом 41.

[73] Ступенчатая часть 418 может быть сформирована на внутренней поверхности первой внешней стенки 411. Ступенчатая часть 418 может входить в зацепление с фланцем 434. Ступенчатая часть 418 может прижимать фланец 434 второй внешней стенки 431. Ступенчатая часть 418 может сжимать вторую прокладку 44. Когда первая внешняя стенка 411 верхнего корпуса 41 соединена с основанием 45, ступенчатая часть 418 первой внешней стенки 411 может прижимать фланец 434 второй внешней стенки 431 и вторую прокладку 44. Соответственно, когда верхний корпус 41 и основание 45 соединены друг с другом, вторая прокладка 44 может быть сжата и находиться в тесном контакте с первой внешней стенкой 411, второй внешней стенкой 431 и основанием 45.

[74] Фланец 434 может быть выполнен таким образом, чтобы концевая часть второй внешней стенки 431 изгибалась и выступала наружу из нижнего корпуса 43. Фланец 434 может быть выполнен таким образом, чтобы верхний конец второй внешней стенки 431 изгибался и выступал наружу. Фланец 434 может быть соединен с ступенчатой частью 418. Фланец 434 может соприкасаться с ступенчатой частью 418. Когда первая внешняя стенка 411 соединена с основанием 45, фланец 434 может быть прижат ступенчатой частью 418. Нижняя сторона фланца 434 может соприкасаться со второй прокладкой 44.

[75] Сжимающий выступ 410 может выступать из первой внутренней стенки 412 внутрь верхнего корпуса 41. Первая прокладка 42 может быть вставлена в зазор между сжимающим выступом 410 и второй внутренней стенкой 432. Нижняя поверхность сжимающего выступа 410 может сжимать первую прокладку 42. Сжимающий выступ 410 может сжимать сжатую часть 423 первой прокладки 42.

[76] Сжимающий выступ 410 может быть ориентирован таким образом, чтобы он окружал внутреннюю окружность сжатой части 423 первой прокладки 42. Сжимающий выступ 410, проходящий вдоль первой прокладки 42, может примыкать ко второй внутренней стенке 432. Сжимающий выступ 410, проходящий вдоль первой прокладки 42, может соприкасаться со второй внутренней стенкой 432. Соответственно, можно предотвратить утечку жидкости из контейнера 413 в пространство 49 для испарения жидкости.

[77] Ограничитель 419 может быть сформирован на внутренней стороне первой внутренней стенки 412. Ограничитель 419 может быть выполнен как единое целое со сжимающим выступом 410. Ограничитель может быть сформирован на верхней стороне сжимающего выступа 410. Ограничитель 419 может быть сформирован ниже опорного ребра 415. Ограничитель 419 может быть сформирован между сжимающим выступом 410 и опорным ребром 415. Ограничитель 419 может быть расположен рядом с сжимающим выступом 410.

[78] Верхняя поверхность ограничителя 419 может поддерживать стик 10, вставленный в пространство 46 для введения. Ограничитель 419 может предотвращать введение стика 10 в пространство 46 для введения на величину, превышающую предварительно заданную глубину. Может быть предусмотрено несколько ограничителей 419. Несколько ограничителей 419 могут быть выполнены как единое целое. Несколько ограничителей 419 могут быть расположены в одном и том же вертикальном положении в продольном направлении верхнего корпуса 41. Несколько ограничителей 419 могут быть расположены вдоль внутренней окружности верхнего корпуса 41. Несколько ограничителей 419 могут соприкасаться с нижней поверхностью стика 10.

[79] Как показано на ФИГ. 11 и 12, устройство 1 для генерирования аэрозоля может содержать удлиненный зонд 71, первое уплотнение 81 и второе уплотнение 82. Верхний корпус 41 может содержать опору 420. Нижний корпус 43 может содержать вдавленную часть 435, держатель 436 и отверстие 437.

[80] Удлиненный зонд 71 может иметь вытянутую форму. Удлиненный зонд 71 может быть вытянут в продольном направлении верхнего корпуса 41. Удлиненный зонд 71 может быть выполнен с возможностью перемещения в продольном направлении верхнего корпуса 41. Удлиненный зонд 71 может входить в нижний корпус 43. Удлиненный зонд 71 может входить в основание 45. Удлиненный зонд 71 может перемещаться из пространства 46 для введения к внешней стороне нижнего корпуса 43.

[81] Удлиненный зонд 71 может содержать один конец 714, находящийся рядом с датчиком 72 давления (см. ФИГ. 14), первую часть 715, вытянутую от конца 714 и перемещающуюся через отверстие 437 в держателе 436, противоположный конец 713, сформированный напротив конца 714 и расположенный в пространстве 46 для введения, вторую часть 716, вытянутую от противоположного конца 713 и перемещающуюся в продольном направлении пространства 46 для введения, третью часть 717, соединяющую первую часть 715 и вторую часть 716 и пересекающую продольное направление первой части 715 или второй части 716, и фиксирующее ребро 712.

[82] Противоположный конец 713 удлиненного зонда 71 может быть расположен в центре сечения пространства 46 для введения, вытянутого в продольном направлении удлиненного зонда 71. Противоположный конец 713 удлиненного зонда 71 может соприкасаться с центром стика 10, вставленного в пространство 46 для введения. Противоположный конец 713 удлиненного зонда 71 может быть вставлен в центр стика 10. Соответственно, удлиненный зонд 71 может перемещаться в продольном направлении удлиненного зонда 71 на расстояние, соответствующее длине введения стика 10, и может передавать усилие, с которым стик 10 толкает удлиненный зонд 71 в процессе введения, на датчик 72 давления.

[83] Конец 714 удлиненного зонда 71 может примыкать ко второй внутренней стенке 432 нижнего корпуса 43. Конец 714 и противоположный конец 713 удлиненного зонда 71 могут быть расположены на разных осях, если смотреть в продольном направлении удлиненного зонда 71. Если смотреть в продольном направлении удлиненного зонда 71, конец 714 удлиненного зонда 71 может быть расположен вне пространства 46 для введения, а противоположный конец 713 удлиненного зонда 71 может быть расположен внутри пространства 46 для введения (в его центре).

[84] Первая часть 715 может быть вытянута от конца 714 удлиненного зонда 71. Первая часть 715 может перемещаться через отверстие 437 в держателе 436. Первая часть 715 может быть вытянута в продольном направлении пространства 46 для введения.

[85] Вторая часть 716 может быть вытянута от противоположного конца 713 удлиненного зонда 71. Вторая часть 716 может проходить в продольном направлении пространства 46 для введения. Вторая часть 716 может перемещаться в пространстве 46 для введения в продольном направлении пространства 46 для введения.

[86] Третья часть 717 может быть изогнута таким образом, чтобы она пересекала конец 714 удлиненного зонда 71, расположенный в центре пространства 46 для введения, и противоположный конец 713 удлиненного зонда 71, расположенный рядом со второй внутренней стенкой 432. Третья часть 717 может быть вытянута в направлении, пересекающем продольное направление удлиненного зонда 71. Например, третья часть 717 может быть вытянута в направлении, перпендикулярном продольному направлению удлиненного зонда 71.

[87] При этом третья часть 717 может быть расположена над фитилем 47. Соответственно, можно предотвратить утечку жидкости или капель, падающих с фитиля 47, из картриджа 40 вдоль третьей части 717.

[88] Фиксирующее ребро 712 может выступать из боковой поверхности удлиненного зонда 71 в направлении, пересекающем направление движения удлиненного зонда 71. Фиксирующее ребро 712 может входить в зацепление с опорой 420 первой внутренней стенки 412. Фиксирующее ребро 712 может быть вытянуто в продольном направлении удлиненного зонда 71. Фиксирующее ребро 712 может быть расположено ниже опоры 420. Фиксирующее ребро 712 может быть расположено между верхним корпусом 41 и датчиком 72 давления. Фиксирующее ребро 712 может препятствовать перемещению удлиненного зонда 71 на предварительно заданное или превышающее его расстояние в направлении пространства 46 для введения.

[89] Первое уплотнение 81 может содержать тонкую пленку 811. Первое уплотнение 81 может соприкасаться с первым впускным отверстием 451 в основании 45. Первое уплотнение 81 может проходить по окружности первого впускного отверстия 451. Первое уплотнение 81 может быть вставлено в нижний корпус 43. Первое уплотнение 81 может быть вставлено в зазор между второй внешней стенкой 431 нижнего корпуса 43 и основанием 45. Первое уплотнение 81 может быть вставлено в зазор между второй внешней стенкой 431 нижнего корпуса 43 и первым впускным отверстием 451. Первое уплотнение 81 может быть выполнено из упругого материала.

[90] Первое уплотнение 81 может предотвращать утечку жидкости из контейнера 413 в первое впускное отверстие 451 через зазор между нижним корпусом 43 и основанием 45. Кроме того, поскольку первое уплотнение 81 герметично перекрывает окружность первого впускного отверстия 451, можно поддерживать давление воздуха в первом впускном отверстии 451 во время вдоха, выполняемого пользователем.

[91] Тонкая пленка 811 может быть расположена в первом впускном отверстии 451. Тонкая пленка 811 может быть расположена в канале для воздуха, всасываемого через первое впускное отверстие 451. В тонкой пленке 811 может быть сформировано множество пор. Соответственно, поскольку жидкость не проходит через множество пор, можно предотвратить утечку жидкости из картриджа 40.

[92] Удлиненный зонд 71 может быть вставлен во второе уплотнение 82. Второе уплотнение 82 может опираться на основание 45. Второе уплотнение 82 может опираться на нижний корпус 43. Второе уплотнение 82 может предотвращать утечку жидкости из картриджа 40 вдоль удлиненного зонда 71.

[93] Опора 420 может выступать внутрь из первой внутренней стенки 412 верхнего корпуса 41. Опора 420 может выступать в сторону удлиненного зонда 71. Опора 420 может быть расположена рядом с боковой поверхностью удлиненного зонда 71. Опора 420 может поддерживать боковую поверхность удлиненного зонда 71, когда удлиненный зонд 71 наклонен.

[94] Вдавленная часть 435 может быть выполнена таким образом, чтобы нижняя поверхность 430 нижнего корпуса 43 была углублена в нижний корпус 43. Когда устройство 1 для генерирования аэрозоля перевернуто, капли, оставшиеся между нижним корпусом 43 и основанием 45, могут скапливаться во вдавленной части 435. Вдавленная часть 435 может предотвращать утечку капель в первое впускное отверстие 451.

[95] Держатель 436 может быть сформирован на нижнем корпусе 43. Держатель 436 может быть сформирован на второй внутренней стенке 432 нижнего корпуса 43. Держатель 436 может быть выполнен как единое целое с нижним корпусом 43. В держателе 436 может быть выполнено отверстие 437, через которое скользит удлиненный зонд 71. Удлиненный зонд 71 может проходить через держатель 436. Держатель 436 может быть вытянут в продольном направлении удлиненного зонда 71. Отверстие 437 в держателе 436 может быть вытянуто в продольном направлении удлиненного зонда 71. Отверстие 437 в держателе 436 может иметь форму, соответствующую сечению удлиненного зонда 71. Держатель 436 может поддерживать боковую поверхность удлиненного зонда 71.

[96] При этом опора 420 может быть расположена над фиксирующим ребром 712 удлиненного зонда 71. Опора 420, фиксирующее ребро 712 и держатель 436 могут быть последовательно размещены в продольном направлении верхнего корпуса 41. Опора 420 может располагаться над фиксирующим ребром 712. Держатель 436 может быть расположен ниже фиксирующего ребра 712. Соответственно, когда удлиненный зонд 71 перемещают в его продольном направлении, опора 420 и держатель 436 могут ограничивать чрезмерное перемещение удлиненного зонда 71.

[97] Как показано на ФИГ. 13, вторая внутренняя стенка 432 нижнего корпуса 43 может содержать паз 439. Первая прокладка 42 может содержать удлинительную часть 421, часть 422 для введения и сжатую часть 423.

[98] Паз 439 может быть выполнен на одном конце второй внутренней стенки 432. Паз 439 может быть углублен в продольном направлении верхнего корпуса 41. То есть паз 439, выполненный на верхнем конце второй внутренней стенки 432, может быть углублен вниз. Фитиль 47 может быть вставлен и посажен в паз 439. Паз 439 может иметь форму, соответствующую внешней форме фитиля 47. Соответственно, фитиль 47 может быть размещен между пазом 439 и частью 422 для введения таким образом, чтобы он плотно соприкасался с ними, тем самым предотвращая утечку жидкости.

[99] Первая прокладка 42 может содержать удлинительную часть 421, проходящую от сжатой части 423 вдоль внешней поверхности второй внутренней стенки 432 и вставленную в зазор между первой внутренней стенкой 412 и второй внутренней стенкой 432, сжатую часть 423, вставленную в зазор между первой внутренней стенкой 412 и второй внутренней стенкой 432, и часть 422 для введения, проходящую от сжатой части 423 и вставленную в паз 439.

[100] Удлинительная часть 421 может выходить из сжатой части 423. Удлинительная часть 421 может проходить вдоль второй внутренней стенки 432 в продольном направлении второй внутренней стенки 432. Первая внутренняя стенка 412 верхнего корпуса 41 может проходить вдоль удлинительной части 421. Удлинительная часть 421 может быть вставлена в зазор между второй внутренней стенкой 432 и удлиненной первой внутренней стенкой 412.

[101] Часть 422 для введения может проходить вниз от сжатой части 423 первой прокладки 42. Часть 422 для введения может соприкасаться с фитилем 47, посаженным в паз 439. Часть 422 для введения может иметь форму, соответствующую внешнему виду фитиля 47. Соответственно, часть 422 для введения может находиться в тесном контакте с фитилем 47, тем самым предотвращая утечку жидкости вдоль внешней поверхности фитиля 47.

[102] Как показано на ФИГ. 14, устройство 1 для генерирования аэрозоля может содержать первый проточный канал 91, второй проточный канал 92 и третий проточный канал 93. Кроме того, устройство 1 для генерирования аэрозоля может содержать первый зазор 225, второй зазор 520, первое сквозное отверстие 521, датчик 53 распознавания вдыхания, второе сквозное отверстие 522, первое впускное отверстие 451, второе впускное отверстие 433, аккумулятор 58 и клемму 59.

[103] Первый проточный канал 91 может быть образован первым зазором 225, расположенным между отверстием 21 для введения в крышке 20 и стиком 10, и вторым зазором 520, образованным между верхним корпусом 30 и колонкой 52. Воздух для генерирования аэрозоля может всасываться через первый зазор 225. Воздух, всасываемый из отверстия 21 для введения, может быть введен во второй зазор 520 между верхним корпусом 30 и колонкой 52. Воздух, поступающий во второй зазор 520, может проходить через первое сквозное отверстие 521, выполненное в колонке 52. То есть первый проточный канал 91 может последовательно соединять отверстие 21 для введения, второй зазор 520 и первое сквозное отверстие 521.

[104] Второй проточный канал 92 может соединять первое сквозное отверстие 521 и второе сквозное отверстие 522, выполненные в колонке 52. Второй проточный канал 92 может быть расположен внутри колонки 52. Второй проточный канал 92 может быть соединен с первым проточным каналом 91.

[105] Третий проточный канал 93 может проходить через первое впускное отверстие 451 в основании 45, второе впускное отверстие 433 в нижнем корпусе 43 и область рядом с фитилем 47. Третье впускное отверстие 433 может быть образовано в третьем проточном канале 93. Третий проточный канал 93 может быть соединен со вторым проточным каналом 92. Третий проточный канал 93 может вести к вставленному стику 10 от первого впускного отверстия 451. Поскольку третий проточный канал 93 проходит рядом с фитилем 47, жидкость, испаряемая нагревателем 48, может смешиваться с воздухом. Соответственно, пользователь может вдыхать аэрозоль через стик 10.

[106] Третий проточный канал 93 может быть расположен между нижней поверхностью 430 нижнего корпуса 43 и основанием 45. Третий проточный канал 93 может образовывать широкий проточный канал между нижним корпусом 43 и основанием 45 и обеспечивать достаточный расход.

[107] Аккумулятор 58 (см. ФИГ. 22) может быть установлен в корпусе 50. Аккумулятор 58 может быть расположен в нижней части корпуса 50. Аккумулятор 58 может подавать питание на нагреватель 48. Аккумулятор 58 может подавать питание на контроллер 100. Аккумулятор 58 может подавать питание на электронное устройство, входящее в состав устройства 1 для генерирования аэрозоля. Аккумулятор 58 может подавать питание на блок 110 вывода, датчик 72 давления и память 120.

[108] Клемма 59 может быть соединена с аккумулятором 58. Клемма 59 может быть подключена к внешнему источнику питания. Аккумулятор 58 может получать питание извне через клемму 59.

[109] Первый проточный канал 91 и второй проточный канал 92 будут описаны со ссылкой на ФИГ. 15-18.

[110] Первый зазор 225 может быть образован между отверстием 21 для введения и стиком 10, вставленным в отверстие 21 для введения. Воздух может проходить через первый зазор 225. Воздух, прошедший через первый зазор 225, может быть введен в колонку 52 через второй зазор 520.

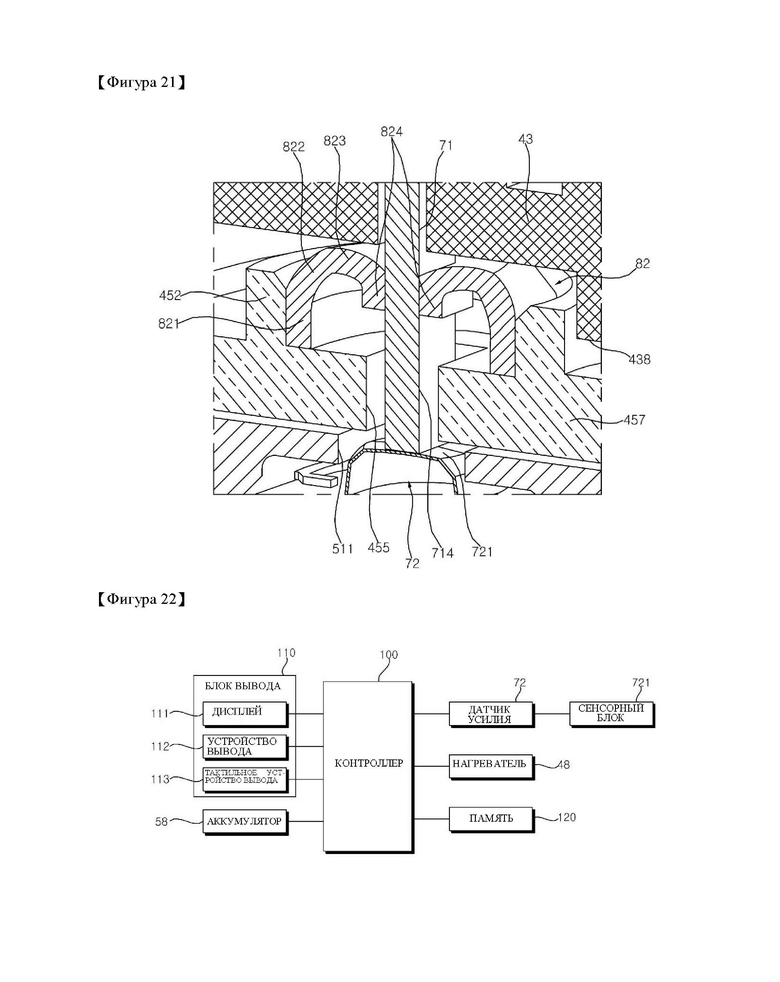
[111] Второй зазор 520 может быть образован между верхним корпусом 30 и колонкой 52. Второй зазор 520 может быть образован рядом со колонкой 52. Поверхность 32 верхнего корпуса 30, верхняя поверхность верхнего корпуса 41 и поверхность 523 колонки 52, совместно образующие второй зазор 520, могут быть выполнены плоскими. Второй зазор 520 может сообщаться с первым сквозным отверстием 521. Второй зазор 520 может быть образован распорным выступом 31 верхнего корпуса 30.

[112] Распорный выступ 31 может образовывать второй зазор 520. Распорный выступ 31 может примыкать к первому сквозному отверстию 521. Распорный выступ 31 может выступать из части верхнего корпуса 30, обращенной к первому сквозному отверстию 521. Распорный выступ 31 может вступать в контакт с верхним корпусом 41 или колонкой 52. Распорный выступ 31 может отделять верхний корпус 30 и колонку 52 друг от друга. Распорный выступ 31 может определять ширину второго зазора 520.

[113] Первое сквозное отверстие 521 может позволять соединять первый проточный канал 91 и второй проточный канал 92 друг с другом. Первое сквозное отверстие 521 может обеспечивать сообщение второго зазора 520 с внутренней частью колонки 52. Первое сквозное отверстие 521 может быть выполнено на внешней поверхности колонки 52. Первое сквозное отверстие 521 может быть выполнено на верхней поверхности колонки 52. Первое сквозное отверстие 521 может быть расположено рядом с верхним корпусом 41 и верхним корпусом 30.

[114] Датчик 53 распознавания вдыхания может определять, делает ли пользователь вдох. Датчик 53 распознавания вдыхания может быть установлен в первом проточном канале 91, втором проточном канале 92 или третьем проточном канале 93.

[115] Датчик 53 распознавания вдыхания может быть установлен во втором проточном канале 92. Датчик 53 распознавания вдыхания может находиться на некотором расстоянии вверх от второго сквозного отверстия 522. Датчик 53 распознавания вдыхания может быть установлен между первым сквозным отверстием 521 и вторым сквозным отверстием 522. Датчик 53 распознавания вдыхания может быть расположен на внутренней поверхности колонки 52, примыкающей к картриджу 40. Соответственно, можно предотвратить неисправность датчика 53 распознавания вдыхания, которая может быть вызвана проникновением в него жидкости при наклоне или повороте устройства 1 для генерирования аэрозоля.

[116] Датчик 53 распознавания вдыхания может распознавать поток воздуха. Датчик 53 распознавания вдыхания может представлять собой датчик давления или датчик потока воздуха. Датчик 53 распознавания вдыхания может быть расположен рядом с первым сквозным отверстием 521 или вторым сквозным отверстием 522. Датчик 53 распознавания вдыхания может распознавать поток воздуха, проходящий через второй проточный канал 92.

[117] Второе сквозное отверстие 522 может обеспечивать соединение второго проточного канала 92 с третьим проточным каналом 93. Второе сквозное отверстие 522 может быть выполнено на поверхности колонки 52, обращенной к нижнему корпусу 43 или основанию 45. Второе сквозное отверстие 522 может быть расположено рядом с нижним корпусом 43 или основанием 45. Второе сквозное отверстие 522 может быть обращено к первому впускному отверстию 451 в основании 45. Второе сквозное отверстие 522 может быть соединено с первым впускным отверстием 451 в основании 45. Уплотнительный элемент (не показанный на фигуре) может быть вставлен в зазор между вторым сквозным отверстием 522 и первым впускным отверстием 451. Второе сквозное отверстие 522 может находиться в тесном контакте с первым впускным отверстием 451.

[118] При этом второе впускное отверстие 433 может быть смещено от фитиля 47 в продольном направлении верхнего корпуса 41 (или вертикальном направлении) таким образом, чтобы оно было расположено на разных осях. То есть второе впускное отверстие 433 может находиться на некотором расстоянии от фитиля 47 в радиальном направлении второго впускного отверстия 433. Соответственно, поскольку жидкость, падающая с фитиля 47, не поступает непосредственно во второе впускное отверстие 433, можно предотвратить утечку жидкости из картриджа 40.

[119] При этом отверстие 437 в держателе 436 может быть смещено относительно фитиля 47 в продольном направлении верхнего корпуса 41 (или вертикальном направлении) таким образом, чтобы они располагались на разных осях. То есть отверстие 437 может находиться на некотором расстоянии от фитиля 47 в радиальном направлении отверстия 437. Фитиль 47 может быть расположен между отверстием 437 и вторым впускным отверстием 433 в радиальном направлении отверстия 437. Кроме того, отверстие 437 в держателе 436 и второе впускное отверстие 433 могут быть расположены симметрично друг другу относительно фитиля 47. Соответственно, поскольку жидкость, падающая с фитиля 47, не поступает непосредственно в отверстие 437 держателя 436, можно предотвратить утечку жидкости.

[120] Как показано на ФИГ. 19 и 20, устройство 1 для генерирования аэрозоля может содержать первое утолщение 452, второе утолщение 438, стенку 453, первое сквозное отверстие 455, второе сквозное отверстие 511, датчик 72 давления, второе уплотнение 82, контроллер 100, блок 110 вывода и память 120.

[121] Первое сквозное отверстие 455 может быть выполнено в основании 45. Первое сквозное отверстие 455 может быть выполнено на нижней поверхности 457 основания 45. Конец 714 удлиненного зонда 71 может проходить через первое сквозное отверстие 455. Первое сквозное отверстие 455 может быть расположено ниже держателя 436. Первое сквозное отверстие 455 и второе сквозное отверстие 511 могут быть расположены в продольном направлении удлиненного зонда 71.

[122] Второе сквозное отверстие 511 может быть выполнено в креплении 51 корпуса 50. Конец 714 удлиненного зонда 71 может проходить через второе сквозное отверстие 511. Второе сквозное отверстие 511 может быть расположено ниже первого сквозного отверстия 455. Часть датчика 72 давления может быть расположена во втором сквозном отверстии 511.

[123] Датчик 72 давления может быть установлен в корпусе 50. Датчик 72 давления может быть расположен рядом с концом 714 удлиненного зонда 71. Датчик 72 давления может быть расположен ниже удлиненного зонда 71. Датчик 72 давления может содержать сенсорный блок 721, соприкасающийся с концом 714 удлиненного зонда 71, когда удлиненный зонд 71 перемещают из пространства 46 для введения внутрь нижнего корпуса 43. Сенсорный блок 721 датчика 72 давления может быть зажат концом 714 удлиненного зонда 71.

[124] Датчик 72 давления может измерять значение давления, создаваемого, когда датчик 72 давления соприкасается с удлиненным зондом 71. Датчик 72 давления может передавать измеренное значение давления на контроллер 100. Предварительно заданное значение давления может быть сохранено в контроллере 100, и контроллер 100 может сравнивать по величине значение давления, измеренного датчиком 72 давления, с предварительно заданным значением давления.

[125] Поверхность сенсорного блока 721, соприкасающаяся с концом 714 удлиненного зонда 71, может быть выполнена в виде криволинейной поверхности. Например, сенсорный блок 721 может содержать криволинейную поверхность, выпуклую по направлению к удлиненному зонду 71. Поэтому, даже если удлиненный зонд 71 будет наклонен во время его перемещения, точка контакта между концом 714 и сенсорным блоком 721 может быть сформирована в центре сенсорного блока 721. Кроме того, поскольку формируется одна точка контакта, точность датчика 72 давления может быть повышена.

[126] Второе уплотнение 82 может содержать первую опорную часть 821, опирающуюся на основание 45, вторую опорную часть 823, опирающуюся на нижний корпус 43, соединительную часть 822, соединяющую первую опорную часть 821 и вторую опорную часть 823, и контактную часть 824, соприкасающуюся с удлиненным зондом 71.

[127] Первая опорная часть 821 может поддерживаться первым утолщением 452, выступающим из основания 45. Нижняя поверхность первой опорной части 821 может опираться на основание 45, а боковая поверхность первой опорной части 821 может опираться на первое утолщение 452. Первая опорная часть 821 может быть приклеена к основанию 45.

[128] Вторая опорная часть 823 может соприкасаться с нижним корпусом 43. Вторая опорная часть 823 может проходить вдоль нижней поверхности 430 нижнего корпуса 43. Вторая опорная часть 823 может окружать отверстие 437 в держателе 436. Вторая опорная часть 823 и контактная часть 824 могут герметично перекрывать отверстие 437 в держателе 436, тем самым предотвращая утечку жидкости из нижнего корпуса 43 через отверстие 437 в держателе 436.

[129] Первая опорная часть 821 и вторая опорная часть 823 могут соответственно поддерживать нижнюю поверхность и верхнюю поверхность второго уплотнения 82. Соответственно, даже если удлиненный зонд 71 перемещается в своем продольном направлении, исходное положение второго уплотнения 82 в продольном направлении удлиненного зонда 71 может сохраняться.

[130] Контактная часть 824 может окружать внешнюю поверхность удлиненного зонда 71. Контактная часть 824 может быть расположена на окружности удлиненного зонда 71. Контактная часть 824 может быть приклеена к удлиненному зонду 71. Контактная часть 824 может быть ориентирована в продольном направлении удлиненного зонда 71. Контактная часть 824 может предотвращать утечку жидкости, вытекшей из нижнего корпуса 43, из основания 45 вдоль удлиненного зонда 71.

[131] При этом устройство 1 для генерирования аэрозоля может содержать несколько выступов (не показанных на фигуре), выступающих из основания 45 и предназначенных для поддержки боковой поверхности второго уплотнения 82. Несколько выступов могут быть расположены симметрично относительно удлиненного зонда 71. Несколько выступов могут быть сформированы как единое целое друг с другом, образуя форму утолщения.

[132] Первое утолщение 452 может выступать из основания 45. Первое утолщение 452 может выступать из основания 45 в сторону нижнего корпуса 43. Первое утолщение 452 может поддерживать боковую поверхность второго уплотнения 82. Первое утолщение 452 может поддерживать внешнюю поверхность первой опорной части 821. Первое утолщение 452 может сохранять исходное положение второго уплотнения 82 в направлении, перпендикулярном продольному направлению удлиненного зонда 71.

[133] Второе утолщение 438 может выступать из нижнего корпуса 43. Второе утолщение 438 может выступать в сторону основания 45. Второе утолщение 438 может окружать первое утолщение 452. Второе утолщение 438 может окружать внешнюю сторону первого утолщения 452. Второе утолщение 438 и первое утолщение 452 могут перекрывать друг друга в направлении, пересекающем продольное направление удлиненного зонда 71. Например, второе утолщение 438 и первое утолщение 452 могут перекрывать друг друга в направлении, перпендикулярном продольному направлению удлиненного зонда 71. Соответственно, можно предотвратить проникновение жидкости или капель через первое утолщение 452 с внешней стороны второго утолщения 438.

[134] Стенка 453 может быть сформирована на основании 45. Стенка 453 может выступать от основания 45 в направлении второго проточного канала 92. Стенка 453 может выступать в сторону нижнего корпуса 43. Стенка 453 может быть расположена между вторым впускным отверстием 433 и первым впускным отверстием 451. Стенка 453 может предотвращать обратное движение капель в первое впускное отверстие 451 по второму проточному каналу 92.

[135] При этом стенка 453 может быть изогнута вдоль второго проточного канала 92 или в направлении, противоположном второму проточному каналу 92. Стенка 453 может быть изогнута в направлении второго впускного отверстия 433 или первого впускного отверстия 451. Соответственно, когда устройство 1 для генерирования аэрозоля опускают или наклоняют, можно эффективно предотвратить утечку жидкости в первое впускное отверстие 451.

[136] На ФИГ. 21 показан случай, в котором удлиненный зонд 71 перемещают из пространства 46 для введения к внешней стороне нижнего корпуса 43, и его конец 714 соприкасается с сенсорным блоком 721 датчика 72 давления.

[137] Когда стик 10 вставлен в пространство 46 для введения, удлиненный зонд 71, соприкасающийся со стиком 10, может перемещаться в продольном направлении удлиненного зонда 71. Второе уплотнение 82, окружающее удлиненный зонд 71, может перемещаться в направлении движения удлиненного зонда 71 по мере перемещения удлиненного зонда 71. Даже в случае утечки жидкости или капель из нижнего корпуса 43 вдоль удлиненного зонда 71 второе уплотнение 82 может предотвратить утечку жидкости или капель из основания 45.

[138] Когда конец удлиненного зонда 71 соприкасается с сенсорным блоком 721, значение давления, распознанное датчиком 72 давления, может быть передано на контроллер 100. Контроллер 100 может сравнивать измеренное значение давления с предварительно заданным значением давления и определять, использовался ли уже стик 10.

[139] Как показано на ФИГ. 22, устройство 1 для генерирования аэрозоля может содержать контроллер 100, блок 110 вывода и память 120.

[140] Когда значение давления, измеренное сенсорным блоком 721, превышает предварительно заданное значение, контроллер 100 может определить, что стик 10 является новым. Если измеренное значение давления ниже предварительно заданного значения, контроллер 100 может определить, что стик 10 уже использовался. То есть, контроллер 100 может определить, использовался ли уже стик 10, вставленный в устройство 1 для генерирования аэрозоля, на основании значения давления, регистрируемого датчиком 72 давления.

[141] Блок 110 вывода может содержать дисплей 111, устройство 112 вывода звука и тактильное устройство 113 вывода. Блок 110 вывода может управляться контроллером 100. Определив, что стик 10 уже использован, контроллер 100 может выводить информацию, указывающую на повторное использование стика 10, на дисплей 111. Определив, что стик 10 уже использован, контроллер 100 может уведомить пользователя о повторном использовании стика 10 посредством устройства 112 вывода звука. Определив, что стик 10 уже использован, контроллер 100 может передать пользователю вибрацию через тактильное устройство 113 вывода.

[142] В памяти 120 может храниться предварительно заданное значение давления. Память 120 может быть соединена с контроллером 100. Контроллер 100 может сравнивать предварительно заданное значение давления, сохраненное в памяти 120, со значением давления, измеренным датчиком 72 давления, и определять, использовался ли уже стик 10.

[143] Повторное использование стика 10 нежелательно, так как снижается качество курения и увеличивается риск воспламенения стика 10. Следовательно, датчик 72 давления можно использовать для улучшения качества курения в устройстве 1 для генерирования аэрозоля и для предотвращения воспламенения при повторном использовании стика 10.

[144] На ФИГ. 23 показан ряд процессов, в которых стик 10 вставляют в устройство 1 для генерирования аэрозоля и затем извлекают из него. На ФИГ. 24 показан ряд процессов, в которых использованный стик 10' вставляют в устройство 1 для генерирования аэрозоля и затем извлекают из него.

[145] Как показано на ФИГ. 23 и 24, стик 10 может быть вставлен в устройство 1 для генерирования аэрозоля. Противоположный конец 713 удлиненного зонда 71 может быть вставлен в стик 10, вставленный в пространство 46 для введения. Вставленный стик 10 может прижимать удлиненный зонд 71. Когда стик 10 прижимает удлиненный зонд 71, удлиненный зонд 71 может перемещаться в продольном направлении. Удлиненный зонд 71, который был перемещен, может соприкасаться с датчиком 72 давления.

[146] Когда стик 10 вставлен в устройство 1 для генерирования аэрозоля, может сохраняться контакт удлиненного зонда 71 с датчиком 72 давления. Таким образом, датчик 72 давления может постоянно измерять значение давления. Контроллер 100 может определить, что стик 10 вставлен, на основании значения давления, непрерывно измеряемого датчиком 72 давления.

[147] Когда удлиненный зонд 71 вставлен в стик 10, на одной поверхности стика 10 может быть выполнено отверстие 10''. Например, отверстие 10'' может быть выполнено в нижней поверхности использованного стика 10'. Отверстие 10'' может быть расположено в центре сечения стика 10'. Отверстие 10'' может иметь форму, соответствующую внешней поверхности противоположного конца 713 удлиненного зонда 71.

[148] Когда использованный стик 10' снова вставляют в устройство 1 для генерирования аэрозоля, использованный стик 10' может прижимать удлиненный зонд 71. В процессе установки стика 10 или 10' в устройство 1 для генерирования аэрозоля сила, с которой новый стик 10 прижимает удлиненный зонд 71, может превышать силу, с которой использованный стик 10' прижимает удлиненный зонд 71. Поскольку отверстие 10'' уже выполнено в использованном стике 10', удлиненный зонд 71 может быть плавно вставлен в использованный стик 10'.

[149] Таким образом, контроллер 100 может выполнять сравнение по величине значения давления, измеренного в процессе введения стика 10, и предварительно заданного значения давления, и может определить, использовался ли уже стик 10, вставленный в устройство 1 для генерирования аэрозоля.

[150] Как показано на ФИГ. 1-24, устройство 1 для генерирования аэрозоля согласно одному из аспектов настоящего изобретения может содержать корпус 40 и 50, содержащий пространство 46 для введения, сообщающееся с внешней стороной корпуса, удлиненный зонд 71, соединенный с корпусом 40 и 50, и содержащий первый конец 714, причем удлиненный зонд 71 выполнен с возможностью перемещения из пространства 46 для введения внутрь корпуса 40 и 50, и датчик 72 давления, соединенный с корпусом 40 и 50 и расположенный рядом с первым концом 714 удлиненного зонда 71.

[151] Кроме того, в соответствии с другим аспектом настоящего изобретения, корпус 40 и 50 может содержать опору 420, выступающую в сторону удлиненного зонда 71 и расположенную рядом с боковой поверхностью удлиненного зонда 71 для поддержки удлиненного зонда 71.

[152] Кроме того, в соответствии с другим аспектом настоящего изобретения, удлиненный зонд 71 может содержать ребро 712, выступающее из его боковой поверхности, а опора 420 и ребро 712 могут находиться на одной линии в продольном направлении относительно удлиненного зонда 71.

[153] Кроме того, в соответствии с другим аспектом настоящего изобретения, ребро 712 может быть расположено между опорой 420 и датчиком 72 давления, и когда удлиненный зонд 71 перемещают в пространство 46 для введения, ребро 712 может входить в зацепление с опорой 420.

[154] Кроме того, в соответствии с другим аспектом настоящего изобретения, когда удлиненный зонд 71 перемещают из пространства 46 для введения вовнутрь корпусов 40 и 50, сенсорный блок 721 может соприкасаться с первым концом 714 удлиненного зонда 71.

[155] Кроме того, в соответствии с другим аспектом настоящего изобретения, датчик 72 давления может иметь выпуклую поверхность по направлению к удлиненному зонду 71.

[156] Кроме того, в соответствии с другим аспектом настоящего изобретения, устройство для генерирования аэрозоля может дополнительно содержать контейнер 413, расположенный в корпусе 40 и 50 для хранения жидкости, фитиль 47, расположенный в пространстве 46 для введения и имеющий часть, соединенную с контейнером 413, и нагреватель 48, расположенный рядом с фитилем 47 для подачи тепла на фитиль 47.

[157] Кроме того, в соответствии с другим аспектом настоящего изобретения, корпус 40 и 50 могут дополнительно содержать держатель 436 с отверстием 437 для приема удлиненного зонда 71.

[158] Кроме того, в соответствии с другим аспектом настоящего изобретения фитиль 47 может быть расположен на некотором расстоянии от отверстия 437 в радиальном направлении отверстия 437.

[159] Кроме того, в соответствии с другим аспектом настоящего изобретения, отверстие 437 может иметь форму, соответствующую сечению удлиненного зонда 71.

[160] Кроме того, в соответствии с другим аспектом настоящего изобретения, пространство 46 для введения может быть вытянуто в продольном направлении удлиненного зонда 71, и удлиненный зонд 71 может содержать второй конец 713, расположенный напротив первого конца 714 удлиненного зонда 71 и расположенного в центре сечения пространства 46 для введения.

[161] Кроме того, в соответствии с другим аспектом настоящего изобретения, удлиненный зонд 71 может содержать первую часть 715, вытянутую от своего первого конца 714 с возможностью перемещения через отверстие 437, вторую часть 716, вытянутую от своего второго конца 713 с возможностью перемещения в продольном направлении пространства 46 для введения, и третью часть 717, соединяющую первую часть 715 и вторую часть 716 и пересекающую продольное направление первой части 715 или второй части 716.

[162] Некоторые варианты осуществления или другие варианты осуществления изобретения, раскрытые выше, не являются взаимоисключающими или отличными друг от друга. Любые или все элементы вариантов осуществления раскрытого выше изобретения могут быть объединены с другими или объединены друг с другом по конфигурации или функции.

[163] Например, конфигурация «А», раскрытая в одном варианте осуществления изобретения и чертежах, и конфигурация «В», раскрытая в другом варианте осуществления изобретения и чертежах, могут быть объединены друг с другом. А именно, хотя комбинация конфигураций прямо не раскрыта, комбинация возможна, за исключением случая, когда раскрыта невозможность такой комбинации.

[164] Хотя варианты осуществления изобретения были раскрыты со ссылкой на ряд иллюстративных вариантов осуществления изобретения, следует понимать, что специалисты в данной области техники могут разработать множество других модификаций и вариантов осуществления изобретения, которые будут подпадать под действие принципов настоящего изобретения. В частности, возможны различные варианты и изменения составных частей и/или компоновок рассматриваемого комбинированного устройства в пределах объема раскрытия, чертежей и прилагаемой формулы изобретения. Помимо вариантов и изменений составных частей и/или компоновок, специалистам в данной области техники также будут очевидны альтернативные варианты использования.

Похожие патенты RU2830156C2

название год авторы номер документа
УСТРОЙСТВО ДЛЯ ГЕНЕРИРОВАНИЯ АЭРОЗОЛЯ 2022
  • Лим, Хениль
  • Ким, Тэхун
RU2812794C1
УСТРОЙСТВО ДЛЯ ГЕНЕРИРОВАНИЯ АЭРОЗОЛЯ (ВАРИАНТЫ) 2022
  • Ли, Чжонсоп
  • Ким, Минкю
  • Пак, Чуон
  • Чо, Пюнсун
RU2811532C1
УСТРОЙСТВО ДЛЯ ГЕНЕРИРОВАНИЯ АЭРОЗОЛЯ 2022
  • Ким, Тэхун
RU2808407C1
УСТРОЙСТВО ДЛЯ ГЕНЕРИРОВАНИЯ АЭРОЗОЛЯ 2022
  • Пак, Чуон
  • Ким, Минкю
  • Ли, Чжонсоб
  • Чо, Пюнсун
RU2822055C2
УСТРОЙСТВО ДЛЯ ГЕНЕРИРОВАНИЯ АЭРОЗОЛЯ 2022
  • Ли, Чжонсоп
  • Ким, Минкю
  • Пак, Чуон
  • Чо, Пюнсун
RU2808405C1
УСТРОЙСТВО ДЛЯ ГЕНЕРИРОВАНИЯ АЭРОЗОЛЯ 2022
  • Ли, Чжонсоп
  • Ким, Минкю
  • Пак, Чуон
  • Чо, Пюнсун
RU2808406C1
УСТРОЙСТВО ДЛЯ ГЕНЕРИРОВАНИЯ АЭРОЗОЛЯ (ВАРИАНТЫ) 2022
  • Чо, Пюсун
  • Пак, Сангю
  • Ли, Чжонсуб
RU2831726C2
УСТРОЙСТВО ДЛЯ ГЕНЕРИРОВАНИЯ АЭРОЗОЛЯ 2022
  • Чо, Пюсун
  • Ли, Чжонсуб
  • Пак, Сангю
  • Чун, Вусок
  • Хан, Тэнам
RU2839354C2
КАРТРИДЖ И УСТРОЙСТВО ДЛЯ ГЕНЕРИРОВАНИЯ АЭРОЗОЛЯ, СОДЕРЖАЩЕЕ ТАКОЙ КАРТРИДЖ 2022
  • Ли, Чжонсоб
  • Ким, Минкю
  • Пак, Чуон
  • Чо, Пюнсун
RU2830108C2
УСТРОЙСТВО ДЛЯ ГЕНЕРИРОВАНИЯ АЭРОЗОЛЯ (ВАРИАНТЫ) 2022
  • Ли, Чжонсоб
  • Ким, Минкю
  • Пак, Чуон
  • Чо, Пюнсун
RU2829096C2

Иллюстрации к изобретению RU 2 830 156 C2

Реферат патента 2024 года УСТРОЙСТВО ДЛЯ ГЕНЕРИРОВАНИЯ АЭРОЗОЛЯ

Устройство для генерирования аэрозоля, содержит корпус, имеющий пространство для введения, сообщающееся с внешней стороной корпуса, зонд, соединенный с корпусом и содержащий первый конец, при этом зонд выполнен с возможностью перемещения из пространства для введения во внутреннюю часть корпуса; и датчик давления, соединенный с корпусом и расположенный под первым концом зонда, при этом, когда зонд перемещают из пространства для введения во внутреннюю часть корпуса, датчик давления соприкасается с первым концом зонда. Техническим результатом является возможность распознавания повторного использования стика и способность предотвращать утечку жидкости. 11 з.п. ф-лы, 24 ил.

Формула изобретения RU 2 830 156 C2

1. Устройство для генерирования аэрозоля, содержащее:

корпус, содержащий пространство для введения, сообщающееся с внешней стороной корпуса;

зонд, соединенный с корпусом и содержащий первый конец, при этом зонд выполнен с возможностью перемещения из пространства для введения во внутреннюю часть корпуса; и

датчик давления, соединенный с корпусом и расположенный под первым концом зонда;

при этом, когда зонд перемещают из пространства для введения во внутреннюю часть корпуса, датчик давления соприкасается с первым концом зонда.

2. Устройство для генерирования аэрозоля по п. 1, в котором корпус содержит опору, выступающую в сторону зонда, причем опора расположена на боковой поверхности зонда для поддержки зонда.

3. Устройство для генерирования аэрозоля по п. 2, в котором зонд содержит ребро, выступающее из боковой поверхности зонда, и

при этом опора расположена над ребром в продольном направлении относительно зонда.

4. Устройство для генерирования аэрозоля по п. 3, в котором ребро расположено между опорой и датчиком давления, и

при этом, когда зонд перемещают в пространство для введения, ребро входит в зацепление с опорой.

5. Устройство для генерирования аэрозоля по п. 1, в котором, когда зонд перемещают из пространства для введения вовнутрь корпуса, датчик давления соприкасается с первым концом зонда.

6. Устройство для генерирования аэрозоля по п. 5, в котором датчик давления имеет поверхность, выпуклую по направлению к зонду.

7. Устройство для генерирования аэрозоля по п. 1, дополнительно содержащее:

контейнер, расположенный в корпусе, причем контейнер выполнен с возможностью хранения жидкости;

фитиль, расположенный в пространстве для введения, при этом фитиль содержит часть, соединенную с контейнером; и

нагреватель, выполненный с возможностью подачи тепла на фитиль.

8. Устройство для генерирования аэрозоля по п. 7, в котором корпус дополнительно содержит держатель с отверстием для приема зонда.

9. Устройство для генерирования аэрозоля по п. 8, в котором отверстие смещено от фитиля в продольном направлении относительно корпуса.

10. Устройство для генерирования аэрозоля по п. 8, в котором отверстие имеет форму, соответствующую сечению зонда.

11. Устройство для генерирования аэрозоля по п. 8, в котором пространство для введения вытянуто в продольном направлении зонда, и

при этом зонд содержит второй конец, расположенный напротив первого конца зонда и в центре сечения пространства для введения.

12. Устройство для генерирования аэрозоля по п. 11, в котором зонд содержит:

первую часть, вытянутую от первого конца зонда, причем упомянутая первая часть выполнена с возможностью перемещения через отверстие;

вторую часть, вытянутую от второго конца зонда, причем упомянутая вторая часть выполнена с возможностью перемещения в продольном направлении пространства для введения; и

третью часть, соединяющую первую часть и вторую часть и пересекающую продольное направление первой или второй части;

при этом третья часть расположена над фитилем в продольном направлении относительно корпуса.

Документы, цитированные в отчете о поиске Патент 2024 года RU2830156C2

CN 110652040 A, 07.01.2020
KR 1020190143725 A, 31.12.2019
Курительное изделие 1991
  • Джерри Уэйн Лоусон
  • Вильям Джеймс Казей Ш
SU1836038A3
ИЗДЕЛИЕ, ИСПОЛЬЗУЕМОЕ С УСТРОЙСТВОМ ДЛЯ НАГРЕВА КУРИТЕЛЬНОГО МАТЕРИАЛА 2016
  • Бландино, Томас П.
  • Уилки, Эндрю П.
  • Фратер, Джеймс Дж.
  • Папроки, Бенджамин Дж.
RU2687802C1
Курительное изделие 1991
  • Марк А.Серрано
  • Кеннет С.Хоутон
  • Харри Л.Ланзиллоти
  • Эдвард Б.Сандерс
  • Лилли А.Клифтон(Младший)
  • Чарльз Р.Хайвард
  • Джон Р.Херн
  • Лосе Д.Брюс(Младший)
  • Гриер С.Флейшауер
  • Вилли Г.Хоук
SU1836039A3

RU 2 830 156 C2

Авторы

Пак, Чуон

Ким, Минкю

Ли, Чжонсоб

Чо, Пюнсун

Даты

2024-11-14Публикация

2022-04-28Подача